USRE42678E1 - Reconfigurable optical add-drop multiplexers with servo control and dynamic spectral power management capabilities - Google Patents

Reconfigurable optical add-drop multiplexers with servo control and dynamic spectral power management capabilities Download PDF

Info

Publication number
USRE42678E1
USRE42678E1 US12/815,930 US81593010A USRE42678E US RE42678 E1 USRE42678 E1 US RE42678E1 US 81593010 A US81593010 A US 81593010A US RE42678 E USRE42678 E US RE42678E
Authority
US
United States
Prior art keywords
wavelength
channel
output ports
spectral
spectral channels
Prior art date
Legal status (The legal status is an assumption and is not a legal conclusion. Google has not performed a legal analysis and makes no representation as to the accuracy of the status listed.)
Ceased
Application number
US12/815,930
Inventor
Jeffrey P. Wilde
Joseph E. Davis
Current Assignee (The listed assignees may be inaccurate. Google has not performed a legal analysis and makes no representation or warranty as to the accuracy of the list.)
Capella Photonics Inc
Original Assignee
Capella Photonics Inc
Priority date (The priority date is an assumption and is not a legal conclusion. Google has not performed a legal analysis and makes no representation as to the accuracy of the date listed.)
Filing date
Publication date
Family has litigation
First worldwide family litigation filed litigation Critical https://patents.darts-ip.com/?family=44720436&utm_source=google_patent&utm_medium=platform_link&utm_campaign=public_patent_search&patent=USRE42678(E1) "Global patent litigation dataset” by Darts-ip is licensed under a Creative Commons Attribution 4.0 International License.
Application filed by Capella Photonics Inc filed Critical Capella Photonics Inc
Priority to US12/815,930 priority Critical patent/USRE42678E1/en
Application granted granted Critical
Publication of USRE42678E1 publication Critical patent/USRE42678E1/en
Assigned to DBD CREDIT FUNDING LLC; C/O FORTRESS INVESTMENT GROUP LLC reassignment DBD CREDIT FUNDING LLC; C/O FORTRESS INVESTMENT GROUP LLC SECURITY AGREEMENT Assignors: CAPELLA PHOTONICS, INC.
Priority to US16/023,183 priority patent/USRE47906E1/en
Anticipated expiration legal-status Critical
Ceased legal-status Critical Current

Links

Images

Classifications

    • GPHYSICS
    • G02OPTICS
    • G02BOPTICAL ELEMENTS, SYSTEMS OR APPARATUS
    • G02B6/00Light guides; Structural details of arrangements comprising light guides and other optical elements, e.g. couplings
    • G02B6/24Coupling light guides
    • G02B6/26Optical coupling means
    • G02B6/28Optical coupling means having data bus means, i.e. plural waveguides interconnected and providing an inherently bidirectional system by mixing and splitting signals
    • G02B6/293Optical coupling means having data bus means, i.e. plural waveguides interconnected and providing an inherently bidirectional system by mixing and splitting signals with wavelength selective means
    • G02B6/29379Optical coupling means having data bus means, i.e. plural waveguides interconnected and providing an inherently bidirectional system by mixing and splitting signals with wavelength selective means characterised by the function or use of the complete device
    • G02B6/2938Optical coupling means having data bus means, i.e. plural waveguides interconnected and providing an inherently bidirectional system by mixing and splitting signals with wavelength selective means characterised by the function or use of the complete device for multiplexing or demultiplexing, i.e. combining or separating wavelengths, e.g. 1xN, NxM
    • G02B6/29382Optical coupling means having data bus means, i.e. plural waveguides interconnected and providing an inherently bidirectional system by mixing and splitting signals with wavelength selective means characterised by the function or use of the complete device for multiplexing or demultiplexing, i.e. combining or separating wavelengths, e.g. 1xN, NxM including at least adding or dropping a signal, i.e. passing the majority of signals
    • G02B6/29385Channel monitoring, e.g. by tapping
    • GPHYSICS
    • G02OPTICS
    • G02BOPTICAL ELEMENTS, SYSTEMS OR APPARATUS
    • G02B6/00Light guides; Structural details of arrangements comprising light guides and other optical elements, e.g. couplings
    • G02B6/24Coupling light guides
    • G02B6/26Optical coupling means
    • G02B6/28Optical coupling means having data bus means, i.e. plural waveguides interconnected and providing an inherently bidirectional system by mixing and splitting signals
    • G02B6/293Optical coupling means having data bus means, i.e. plural waveguides interconnected and providing an inherently bidirectional system by mixing and splitting signals with wavelength selective means
    • G02B6/29304Optical coupling means having data bus means, i.e. plural waveguides interconnected and providing an inherently bidirectional system by mixing and splitting signals with wavelength selective means operating by diffraction, e.g. grating
    • G02B6/29305Optical coupling means having data bus means, i.e. plural waveguides interconnected and providing an inherently bidirectional system by mixing and splitting signals with wavelength selective means operating by diffraction, e.g. grating as bulk element, i.e. free space arrangement external to a light guide
    • G02B6/2931Diffractive element operating in reflection
    • GPHYSICS
    • G02OPTICS
    • G02BOPTICAL ELEMENTS, SYSTEMS OR APPARATUS
    • G02B6/00Light guides; Structural details of arrangements comprising light guides and other optical elements, e.g. couplings
    • G02B6/24Coupling light guides
    • G02B6/26Optical coupling means
    • G02B6/28Optical coupling means having data bus means, i.e. plural waveguides interconnected and providing an inherently bidirectional system by mixing and splitting signals
    • G02B6/293Optical coupling means having data bus means, i.e. plural waveguides interconnected and providing an inherently bidirectional system by mixing and splitting signals with wavelength selective means
    • G02B6/29304Optical coupling means having data bus means, i.e. plural waveguides interconnected and providing an inherently bidirectional system by mixing and splitting signals with wavelength selective means operating by diffraction, e.g. grating
    • G02B6/29305Optical coupling means having data bus means, i.e. plural waveguides interconnected and providing an inherently bidirectional system by mixing and splitting signals with wavelength selective means operating by diffraction, e.g. grating as bulk element, i.e. free space arrangement external to a light guide
    • G02B6/29313Optical coupling means having data bus means, i.e. plural waveguides interconnected and providing an inherently bidirectional system by mixing and splitting signals with wavelength selective means operating by diffraction, e.g. grating as bulk element, i.e. free space arrangement external to a light guide characterised by means for controlling the position or direction of light incident to or leaving the diffractive element, e.g. for varying the wavelength response
    • GPHYSICS
    • G02OPTICS
    • G02BOPTICAL ELEMENTS, SYSTEMS OR APPARATUS
    • G02B6/00Light guides; Structural details of arrangements comprising light guides and other optical elements, e.g. couplings
    • G02B6/24Coupling light guides
    • G02B6/26Optical coupling means
    • G02B6/28Optical coupling means having data bus means, i.e. plural waveguides interconnected and providing an inherently bidirectional system by mixing and splitting signals
    • G02B6/293Optical coupling means having data bus means, i.e. plural waveguides interconnected and providing an inherently bidirectional system by mixing and splitting signals with wavelength selective means
    • G02B6/29379Optical coupling means having data bus means, i.e. plural waveguides interconnected and providing an inherently bidirectional system by mixing and splitting signals with wavelength selective means characterised by the function or use of the complete device
    • G02B6/2938Optical coupling means having data bus means, i.e. plural waveguides interconnected and providing an inherently bidirectional system by mixing and splitting signals with wavelength selective means characterised by the function or use of the complete device for multiplexing or demultiplexing, i.e. combining or separating wavelengths, e.g. 1xN, NxM
    • G02B6/29382Optical coupling means having data bus means, i.e. plural waveguides interconnected and providing an inherently bidirectional system by mixing and splitting signals with wavelength selective means characterised by the function or use of the complete device for multiplexing or demultiplexing, i.e. combining or separating wavelengths, e.g. 1xN, NxM including at least adding or dropping a signal, i.e. passing the majority of signals
    • G02B6/29383Adding and dropping
    • GPHYSICS
    • G02OPTICS
    • G02BOPTICAL ELEMENTS, SYSTEMS OR APPARATUS
    • G02B6/00Light guides; Structural details of arrangements comprising light guides and other optical elements, e.g. couplings
    • G02B6/24Coupling light guides
    • G02B6/26Optical coupling means
    • G02B6/28Optical coupling means having data bus means, i.e. plural waveguides interconnected and providing an inherently bidirectional system by mixing and splitting signals
    • G02B6/293Optical coupling means having data bus means, i.e. plural waveguides interconnected and providing an inherently bidirectional system by mixing and splitting signals with wavelength selective means
    • G02B6/29379Optical coupling means having data bus means, i.e. plural waveguides interconnected and providing an inherently bidirectional system by mixing and splitting signals with wavelength selective means characterised by the function or use of the complete device
    • G02B6/29391Power equalisation of different channels, e.g. power flattening
    • GPHYSICS
    • G02OPTICS
    • G02BOPTICAL ELEMENTS, SYSTEMS OR APPARATUS
    • G02B6/00Light guides; Structural details of arrangements comprising light guides and other optical elements, e.g. couplings
    • G02B6/24Coupling light guides
    • G02B6/26Optical coupling means
    • G02B6/28Optical coupling means having data bus means, i.e. plural waveguides interconnected and providing an inherently bidirectional system by mixing and splitting signals
    • G02B6/293Optical coupling means having data bus means, i.e. plural waveguides interconnected and providing an inherently bidirectional system by mixing and splitting signals with wavelength selective means
    • G02B6/29379Optical coupling means having data bus means, i.e. plural waveguides interconnected and providing an inherently bidirectional system by mixing and splitting signals with wavelength selective means characterised by the function or use of the complete device
    • G02B6/29395Optical coupling means having data bus means, i.e. plural waveguides interconnected and providing an inherently bidirectional system by mixing and splitting signals with wavelength selective means characterised by the function or use of the complete device configurable, e.g. tunable or reconfigurable
    • GPHYSICS
    • G02OPTICS
    • G02BOPTICAL ELEMENTS, SYSTEMS OR APPARATUS
    • G02B6/00Light guides; Structural details of arrangements comprising light guides and other optical elements, e.g. couplings
    • G02B6/24Coupling light guides
    • G02B6/26Optical coupling means
    • G02B6/35Optical coupling means having switching means
    • G02B6/351Optical coupling means having switching means involving stationary waveguides with moving interposed optical elements
    • G02B6/3512Optical coupling means having switching means involving stationary waveguides with moving interposed optical elements the optical element being reflective, e.g. mirror
    • GPHYSICS
    • G02OPTICS
    • G02BOPTICAL ELEMENTS, SYSTEMS OR APPARATUS
    • G02B6/00Light guides; Structural details of arrangements comprising light guides and other optical elements, e.g. couplings
    • G02B6/24Coupling light guides
    • G02B6/26Optical coupling means
    • G02B6/35Optical coupling means having switching means
    • G02B6/3586Control or adjustment details, e.g. calibrating
    • G02B6/3588Control or adjustment details, e.g. calibrating of the processed beams, i.e. controlling during switching of orientation, alignment, or beam propagation properties such as intensity, size or shape
    • GPHYSICS
    • G02OPTICS
    • G02BOPTICAL ELEMENTS, SYSTEMS OR APPARATUS
    • G02B26/00Optical devices or arrangements for the control of light using movable or deformable optical elements
    • G02B26/08Optical devices or arrangements for the control of light using movable or deformable optical elements for controlling the direction of light
    • G02B26/0816Optical devices or arrangements for the control of light using movable or deformable optical elements for controlling the direction of light by means of one or more reflecting elements
    • G02B26/0833Optical devices or arrangements for the control of light using movable or deformable optical elements for controlling the direction of light by means of one or more reflecting elements the reflecting element being a micromechanical device, e.g. a MEMS mirror, DMD
    • GPHYSICS
    • G02OPTICS
    • G02BOPTICAL ELEMENTS, SYSTEMS OR APPARATUS
    • G02B6/00Light guides; Structural details of arrangements comprising light guides and other optical elements, e.g. couplings
    • G02B6/24Coupling light guides
    • G02B6/26Optical coupling means
    • G02B6/32Optical coupling means having lens focusing means positioned between opposed fibre ends
    • GPHYSICS
    • G02OPTICS
    • G02BOPTICAL ELEMENTS, SYSTEMS OR APPARATUS
    • G02B6/00Light guides; Structural details of arrangements comprising light guides and other optical elements, e.g. couplings
    • G02B6/24Coupling light guides
    • G02B6/26Optical coupling means
    • G02B6/34Optical coupling means utilising prism or grating
    • GPHYSICS
    • G02OPTICS
    • G02BOPTICAL ELEMENTS, SYSTEMS OR APPARATUS
    • G02B6/00Light guides; Structural details of arrangements comprising light guides and other optical elements, e.g. couplings
    • G02B6/24Coupling light guides
    • G02B6/26Optical coupling means
    • G02B6/35Optical coupling means having switching means
    • G02B6/354Switching arrangements, i.e. number of input/output ports and interconnection types
    • G02B6/35543D constellations, i.e. with switching elements and switched beams located in a volume
    • G02B6/3556NxM switch, i.e. regular arrays of switches elements of matrix type constellation
    • GPHYSICS
    • G02OPTICS
    • G02BOPTICAL ELEMENTS, SYSTEMS OR APPARATUS
    • G02B6/00Light guides; Structural details of arrangements comprising light guides and other optical elements, e.g. couplings
    • G02B6/24Coupling light guides
    • G02B6/26Optical coupling means
    • G02B6/35Optical coupling means having switching means
    • G02B6/354Switching arrangements, i.e. number of input/output ports and interconnection types
    • G02B6/356Switching arrangements, i.e. number of input/output ports and interconnection types in an optical cross-connect device, e.g. routing and switching aspects of interconnecting different paths propagating different wavelengths to (re)configure the various input and output links
    • GPHYSICS
    • G02OPTICS
    • G02BOPTICAL ELEMENTS, SYSTEMS OR APPARATUS
    • G02B6/00Light guides; Structural details of arrangements comprising light guides and other optical elements, e.g. couplings
    • G02B6/24Coupling light guides
    • G02B6/26Optical coupling means
    • G02B6/35Optical coupling means having switching means
    • G02B6/3586Control or adjustment details, e.g. calibrating
    • GPHYSICS
    • G02OPTICS
    • G02BOPTICAL ELEMENTS, SYSTEMS OR APPARATUS
    • G02B6/00Light guides; Structural details of arrangements comprising light guides and other optical elements, e.g. couplings
    • G02B6/24Coupling light guides
    • G02B6/26Optical coupling means
    • G02B6/35Optical coupling means having switching means
    • G02B6/3592Means for removing polarization dependence of the switching means, i.e. polarization insensitive switching

Definitions

  • This invention relates generally to optical communication systems. More specifically, it relates to a novel class of dynamically reconfigurable optical add-drop multiplexers (OADMs) for wavelength division multiplexed optical networking applications.
  • OADMs dynamically reconfigurable optical add-drop multiplexers
  • Contemporary fiber-optic communications networks commonly employ wavelength division multiplexing (WDM), for it allows multiple information (or data) channels to be simultaneously transmitted on a single optical fiber by using different wavelengths and thereby significantly enhances the information-bandwidth of the fiber.
  • WDM wavelength division multiplexing
  • An optical add-drop multiplexer (OADM) serves to selectively remove (or drop) one or more wavelengths from a multiplicity of wavelengths on an optical fiber, hence taking away one or more data channels from the traffic stream on the fiber. It further adds one or more wavelength back onto the fiber, thereby inserting new data channels in the same stream of traffic.
  • an OADM makes it possible to launch and retrieve multiple data channels (each characterized by a distinct wavelength) onto and from an optical fiber respectively, without disrupting the overall traffic flow along the fiber. Indeed, careful placement of the OADMs can dramatically improve an optical communication network's flexibility and robustness, while providing significant cost advantages.
  • OADMs in the art typically employ multiplexers/demultiplexers (e.g. waveguide grating routers or arrayed-waveguide gratings), tunable filters, optical switches, and optical circulators in a parallel or serial architecture to accomplish the add and drop functions.
  • a demultiplexer e.g., a waveguide grating router
  • a wavelength switching/routing means e.g., a combination of optical switches and optical circulators
  • a multiplexer combines the remaining (i.e., the pass-through) wavelengths into an output multi-wavelength optical signal.
  • tunable filters e.g., Bragg fiber gratings
  • optical circulators are used to separate the drop wavelength from the pass-through wavelengths and subsequently launch the add channels into the pass-through path.
  • additional multiplexers and demultiplexers are required to demultiplex the drop wavelengths and multiplex the add wavelengths, respectively.
  • the OADMs currently in the art are characteristically high in cost, and prone to significant optical loss accumulation.
  • the designs of these OADMs are such that it is inherently difficult to reconfigure them in a dynamic fashion.
  • U.S. Pat. No. 6,204,946 to Askyuk et al. discloses an OADM that makes use of free-space optics in a parallel construction.
  • a multi-wavelength optical signal emerging from an input port is incident onto a ruled diffraction grating.
  • the constituent spectral channels thus separated are then focused by a focusing lens onto a linear array of binary micromachined mirrors.
  • Each micromirror is configured to operate between two discrete states, such that it either retrofits its corresponding spectral channel back into the input port as a pass-through channel, or directs its spectral channel to an output port as a drop channel.
  • the pass-through signal (i.e., the combined pass-through channels) shares the same input port as the input signal.
  • An optical circulator is therefore coupled to the input port, to provide necessary routing of these two signals.
  • the drop channels share the output port with the add channels.
  • An additional optical circulator is thereby coupled to the output port, from which the drop channels exit and the add channels are introduced into the output ports.
  • the add channels are subsequently combined with the pass-through signal by way of the diffraction grating and the binary micromirrors.
  • the aforementioned OADM disclosed by Askyuk et al. has the advantage of performing wavelength separating and routing in free space and thereby incurring less optical loss, it suffers a number of limitations.
  • An optical circulator therefore has to be implemented, to provide necessary routing of these two signals.
  • all the add and drop channels enter and leave the OADM through the same output port, hence the need for another optical circulator.
  • additional means must be provided to multiplex the add channels before entering the system and to demultiplex the drop channels after exiting the system. This additional multiplexing/demultiplexing requirement adds more cost and complexity that can restrict the versatility of the OADM thus-constructed.
  • the optical circulators implemented in this OADM for various routing purposes introduce additional optical losses, which can accumulate to a substantial amount.
  • the constituent optical components must be in a precise alignment, in order for the system to achieve its intended purpose. There are, however, no provisions provided for maintaining the requisite alignment; and no mechanisms implemented for overcoming degradation in the alignment owing to environmental effects such as thermal and mechanical disturbances over the course of operation.
  • U.S. Pat. No. 5,906,133 to Tomlinson discloses an OADM that makes use of a design similar to that of Aksyuk et al.
  • each micromirror notwithstanding switchable between two discrete positions, either reflects its corresponding channel (coming from the input port) to the output port, or concomitantly reflects its channel to the drop port and an incident add channel to the output port.
  • this OADM is able to perform both the add and drop functions without involving additional optical components (such as optical circulators and in the system of the Aksyuk et al.).
  • the present invention provides a wavelength-separating-routing (WSR) apparatus and method which employ an array of fiber collimators serving as an input port and a plurality of output ports; a wavelength-separator; a beam-focuser; and an array of channel micromirrors.
  • WSR wavelength-separating-routing
  • a multi-wavelength optical signal emerges from the input port.
  • the wavelength-separator separates the multi-wavelength optical signal into multiple spectral channels, each characterized by a distinct center wavelength and associated bandwidth.
  • the beam-focuser focuses the spectral channels into corresponding spectral spots.
  • the channel micromirrors are positioned such that each channel micromirror receives one of the spectral channels.
  • the channel micromirrors are individually controllable and movable, e.g., continuously pivotable (or rotatable), so as to reflect the spectral channels into selected ones of the output ports.
  • each channel micromirror is assigned to a specific spectral channel, hence the name “channel micromirror”.
  • each output port may receive any number of the reflected spectral channels.
  • a distinct feature of the channel micromirrors in the present invention is that the motion, e.g., pivoting (or rotation), of each channel micromirror is under analog control such that its pivoting angle can be continouously adjusted. This enables each channel micromirror to scan its corresponding spectral channel across all possible output ports and thereby direct the spectral channel to any desired output ports.
  • the wavelength-separator may be provided by a ruled diffraction grating, a holographic diffraction grating, an echelle grating, a curved diffraction grating, a dispersing prism, or other wavelength-separating means known in the art.
  • the beam-focuser may be a single lens, an assembly of lenses, or other beam-focusing means known in the art.
  • the channel micromirrors may be provided by silicon micromachined mirrors, reflective ribbons (or membranes), or other types of beam-deflecting means known in the art. And each channel micromirror may be pivotable about one or two axes.
  • the fiber collimators serving as the input and output ports may be arranged in a one-dimensional or two-dimensional array. In the latter case, the channel micromirrors must be pivotable biaxially.
  • the WSR apparatus of the present invention may further comprise an array of collimator-alignment mirrors, in optical communication with the wavelength-separator and the fiber collimators, for adjusting the alignment of the input multi-wavelength signal and directing the spectral channels into the selected output ports by way of angular control of the collimated beams.
  • Each collimator-alignment mirror may be rotatable about one or two axes.
  • the collimator-alignment mirrors may be arranged in a one-dimensional or two-dimensional array.
  • First and second arrays of imaging lenses may additionally be optically interposed between the collimator-alignment mirrors and the fiber collimators in a telecentric arrangement, thereby “imaging” the collimator-alignment mirrors onto the corresponding fiber collimators to ensure an optimal alignment.
  • the WSR apparatus of the present invention may further include a servo-control assembly, in communication with the channel micromirrors and the output ports.
  • the servo-control assembly serves to monitor the power levels of the spectral channels coupled into the output ports and further provide control of the channel micromirrors on an individual basis, so as to maintain a predetermined coupling efficiency of each spectral channel in one of the output ports.
  • the servo-control assembly provides dynamic control of the coupling of the spectral channels into the respective output ports and actively manages the power levels of the spectral channels coupling into the output ports.
  • the servo-control assembly may additionally provide dynamic control of the collimator-alignment mirrors.
  • the utilization of such a servo-control assembly effectively relaxes the requisite fabrication tolerances and the precision of optical alignment during assembly of a WSR apparatus of the present invention, and further enables the system to correct for shift in optical alignment over the course of operation.
  • a WSR apparatus incorporating a servo-control assembly thus described is termed a WSR-S apparatus, thereinafter in the present invention.
  • the WSR-S (or WSR) apparatus of the present invention may be used to construct a variety of optical devices, including a novel class of dynamically reconfigurable optical add-drop multiplexers (OADMs), as exemplified in the following embodiments.
  • OADMs dynamically reconfigurable optical add-drop multiplexers
  • an OADM of the present invention comprises an aforementioned WSR-S (or WSR) apparatus and an optical combiner.
  • the output ports of the WSR-S apparatus include a pass-through port and one or more drop ports, each carrying any number of the spectral channels.
  • the optical combiner is coupled to the pass-through port, serving to combine the pass-through channels with one or more add spectral channels.
  • the combined optical signal constitutes an output signal of the system.
  • the optical combiner may be an N ⁇ 1 (N ⁇ 2) broadband fiber-optic coupler, for instance, which also serves the purpose of multiplexing a multiplicity of add spectral channels to be coupled into the system.
  • a first WSR-S (or WSR) apparatus is cascaded with a second WSR-S (or WSR) apparatus.
  • the output ports of the first WSR-S (or WSR) apparatus include a pass-through port and one or more drop ports.
  • the second WSR-S (or WSR) apparatus includes a plurality of input ports and an exiting port. The configuration is such that the pass-through channels from the first WSR-S apparatus and one or more add channels are directed into the input ports of the second WSR-S apparatus, and consequently multiplexed into an output multi-wavelength optical signal directed into the exiting port of the second WSR-S apparatus.
  • one WSR-S apparatus e.g., the first one
  • the other WSR-R apparatus e.g., the second one
  • the underlying OADM architecture thus presented is intrinsically scalable and can be readily extended to any number of the WSR-S (or WSR) systems, if so desired for performing intricate add and drop functions in a network environment.
  • OADMs of the present invention provide many advantages over the prior art devices, notably:
  • FIGS. 1A-1D show a first embodiment of a wavelength-separating-routing (WSR) apparatus according to the present invention, and the modeling results demonstrating the performance of the WSR apparatus;
  • WSR wavelength-separating-routing
  • FIGS. 2A-2C depict second and third embodiments of a WSR apparatus according to the present invention
  • FIG. 3 shows a fourth embodiment of a WSR apparatus according to the present invention
  • FIGS. 4A-4B show schematic illustration of two embodiments of a WSR-S apparatus comprising a WSR apparatus and a servo-control assembly, according to the present invention
  • FIG. 5 depicts an exemplary embodiment of an optical add-drop multiplexer (OADM) according to the present invention.
  • FIG. 6 shows an alternative embodiment of an OADM according to the present invention.
  • spectral channel is characterized by a distinct center wavelength and associated bandwidth. Each spectral channel may carry a unique information signal, as in WDM optical networking applications.
  • FIG. 1A depicts a first embodiment of a wavelength-separating-routing (WSR) apparatus according to the present invention.
  • the WSR apparatus 100 comprises multiple input/output ports which may be in the form of an array of fiber collimators 110, providing an input port 110-1 and a plurality of output ports 110-2 through 110-N (N ⁇ 3); a wavelength-separator which in one form may be a diffraction grating 101; a beam-focuser in the form of a focusing lens 102; and an array of channel micromirrors 103.
  • a multi-wavelength optical signal emerges from the input port 110-1.
  • the diffraction grating 101 angularly separates the multi-wavelength optical signal into multiple spectral channels, which are in turn focused by the focusing lens 102 into a spatial array of distinct spectral spots (not shown in FIG. 1A) in a one-to-one correspondence.
  • the channel micromirrors 103 are positioned in accordance with the spatial array formed by the spectral spots, such that each channel micromirror receives one of the spectral channels.
  • the channel micromirrors 103 are individually controllable and movable, e.g., pivotable (or rotatable) under analog (or continuous) control, such that, upon reflection, the spectral channels are directed into selected ones of the output ports 110-2 through 110-N by way of the focusing lens 102 and the diffraction grating 101.
  • each channel micromirror is assigned to a specific spectral channel, hence the name “channel micromirror”.
  • Each output port may receive any number of the reflected spectral channels.
  • FIG. 1A For purposes of illustration and clarity, only a selective few (e.g., three) of the spectral channels, along with the input multi-wavelength optical signal, are graphically illustrated in FIG. 1A and the following figures. It should be noted, however, that there can be any number of the spectral channels in a WSR apparatus of the present invention (so long as the number of spectral channels does not exceed the number of channel mirrors employed in the system). It should also be noted that the optical beams representing the spectral channels shown in FIG. 1A and the following figures are provided for illustrative purpose only. That is, their sizes and shapes may not be drawn according to scale. For instance, the input beam and the corresponding diffracted beams generally have different cross-sectional shapes, so long as the angle of incidence upon the diffraction grating is not equal to the angle of diffraction, as is known to those skilled in the art.
  • the diffracting grating 101 and the channel micromirrors 103 are placed respectively at the first and second (i.e., the front and back) focal points (on the opposing sides) of the focusing lens 102.
  • Such a telecentric arrangement allows the chief rays of the focused beams to be parallel to each other and generally parallel to the optical axis.
  • the telecentric configuration further allows the reflected spectral channels to be efficiently coupled into the respective output ports, thereby minimizing various translational walk-off effects that may otherwise arise.
  • the input multi-wavelength optical signal is preferably collimated and circular in cross-section.
  • the corresponding spectral channels diffracted from the diffraction grating 101 are generally elliptical in cross-section; they may be of the same size as the input beam in one dimension and elongated in the other dimension.
  • a quarter-wave plate 104 may be optically interposed between the diffraction grating 101 and the channel micromirrors 103, and preferably placed between the diffraction grating 101 and the focusing lens 102 as is shown in FIG. 1A.
  • each spectral channel experiences a total of approximately 90-degree rotation in polarization upon traversing the quarter-wave plate 104 twice. (That is, if a beam of light has P-polarization with first encountering the diffraction grating, it would have predominantly (if not all) S-polarization upon the second encountering, and vice versa.) This ensures that all the spectral channels incur nearly the same amount of round-trip polarization dependent loss.
  • the diffraction grating 101 is oriented such that the focused spots of the spectral channels fall onto the channel micromirrors 103 in a horizontal array, as illustrated in FIG. 1B.
  • FIG. 1B Depicted in FIG. 1B is a close-up view of the channel micromirrors 103 shown in the embodiment of FIG. 1A.
  • the channel micromirrors 103 are arranged in a one-dimensional array along the x-axis (i.e., the horizontal direction in the figure), so as to receive the focused spots of the spatially separated spectral channels in a one-to-one correspondence. (As in the case of FIG.
  • each channel is a spectral channel.
  • the reflective surface of each channel micromirror lie in the x-y plane as defined in the figure and be movable, e.g., pivotable (or deflectable) about the x-axis in an analog (or continuous) manner.
  • Each spectral channel upon reflection, is deflected in the y-direction (e.g., downward) relative to its incident direction, so to be directed into one of the output ports 110-2 through 110-N shown in FIG. 1A.
  • each channel micromirror is individually and continuously controllable, such that its position, e.g., pivoting angle, can be continuously adjusted.
  • This enables each channel micromirror to scan its corresponding spectral channel across all possible output ports and thereby direct the spectral channel to any desired output port.
  • FIG. 1C shows a plot of coupling efficiency as a function of a channel micromirror's pivoting angle ⁇ , provided by a ray-tracing model of a WSR apparatus in the embodiment of FIG. 1A.
  • the coupling efficiency for a spectral channel is defined as the ratio of the amount of optical power coupled into the fiber core in an output port to the total amount of optical power incident upon the entrance surface of the fiber (associated with the fiber collimator grating serving as the output port).
  • the input optical signal is incident upon a diffraction grating with 700 lines per millimeter at a grazing angle of 85 degrees, where the grating is blazed to optimize the diffraction efficiency for the “ ⁇ 1” order.
  • the focusing lens has a focal length of 100 mm.
  • Each output port is provided by a quarter-pitch GRIN lens (2 mm in diameter) coupled to an optical fiber (see FIG. 1D). As displayed in FIG.
  • each spectral channel may practically acquire any coupling efficiency value by way of controlling the pivoting angle of its corresponding channel micromirror. This is also to say that variable optical attenuation at the granularity of a single wavelength can be obtained in a WSR apparatus of the present invention.
  • FIG. 1D provides ray-tracing illustrations of two extreme points on the coupling efficiency vs. ⁇ curve of FIG.
  • FIG. 1A provides one of many embodiments of a WSR apparatus according to the present invention.
  • the wavelength-separator is a wavelength-separating means that may be a ruled diffraction grating, a holographic diffraction grating, an echelle grating, a dispersing prism, or other types of spectral-separating means known in the art.
  • the beam-focuser may be a focusing lens, an assembly of lenses, or other beam-focusing means known in the art.
  • the focusing function may also be accomplished by using a curved diffraction grating as the wavelength-separator.
  • the channel micromirrors may be provided by silicon micromachined mirrors, reflective ribbons (or membranes), or other types of beam-deflecting elements known in the art. And each micromirror may be pivoted about one or two axes. What is important is that the pivoting (or rotational) motion of each channel micromirror be individually controllable in an analog manner, whereby the pivoting angle can be continuously adjusted so as to enable the channel micromirror to scan a spectral channel across all possible output ports.
  • the underlying fabrication techniques for micromachined mirrors and associated actuation mechanism are well documented in the art, see U.S. Pat. No. 5,629,790 for example.
  • a fiber collimator is typically in the form of a collimating lens (such as a GRIN lens) and a ferrule-mounted fiber packaged together in a mechanically rigid stainless steel (or glass) tube.
  • the fiber collimators serving as the input and output ports may be arranged in a one-dimensional array, a two-dimensional array, or other desired spatial pattern. For instance, they may be conveniently mounted in a linear array along a V-groove fabricated on a substrate made of silicon, plastic, or ceramic, as commonly practiced in the art. It should be noted, however, that the input port and the output ports need not necessarily be in close spatial proximity with each other, such as in an array configuration (although a close packing would reduce the rotational range required for each channel micromirror). Those skilled in the art will know how to design a WSR apparatus according to the present invention, to best suit a given application.
  • a WSR apparatus of the present invention may further comprise an array of collimator-alignment mirrors, for adjusting the alignment of the input multi-wavelength optical signal and facilitating the coupling of the spectral channels into the respective output ports, as shown in FIGS. 2A-2B and 3.
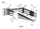
  • FIG. 2A Depicted in FIG. 2A is a second embodiment of a WSR apparatus according to the present invention.
  • WSR apparatus 200 is built upon and hence shares a number of the elements used in the embodiment of FIG. 1A, as identified by those labeled with identical numerals.
  • a one-dimensional array 220 of collimator-alignment mirrors 220-1 through 220-N is optically interposed between the diffraction grating 101 and the fiber collimator array 110.
  • the collimator-alignment mirror 220-1 is designated to correspond with the input port 110-1, for adjusting the alignment of the input multi-wavelength optical signal and therefore ensuring that the spectral channels impinge onto the corresponding channel micromirrors.
  • the collimator-alignment mirrors 220-2 through 220-N are designated to the output ports 110-2 through 110-N in a one-to-one correspondence, serving to provide angular control of the collimator beams of the reflected spectral channels and thereby facilitating the coupling of the spectral channels into the respective output ports according to desired coupling efficiencies.
  • Each collimator-alignment mirror may be rotatable about one axis, or two axes.
  • FIG. 2A The embodiment of FIG. 2A is attractive in applications where the fiber collimators (serving as the input and output ports) are desired to be placed in close proximity to the collimator-alignment mirror array 220.
  • arrays of imaging lenses may be implemented between the collimator-alignment mirror array 220 and the fiber collimator array 110, as depicted in FIG. 2B.
  • WSR apparatus 250 of FIG. 2B is built upon and hence shares many of the elements used in the embodiment of FIG. 2A, as identified by those labeled with identical numerals.
  • first and second arrays 260, 270 of imaging lenses are placed in a 4-f telecentric arrangement with respect to the collimator-alignment mirror array 220 and the fiber collimator array 110.
  • the dashed box 280 shown in FIG. 2C provides a top view of such a telecentric arrangement.
  • the imaging lenses in the first and second arrays 260, 270 all have the same focal length f.
  • the collimator-alignment mirrors 220-1 through 220-N are placed at the respective first (or front) focal points of the imaging lenses in the first array 260.
  • the fiber collimators 110-1 through 110-N are placed at the respective second (or back) focal points of the imaging lenses in the second array 270.
  • the separation between the first and second arrays 260, 270 of imaging lenses is 2f.
  • the collimator-alignment mirrors 220-1 through 220-N are effectively imaged onto the respective entrance surfaces (i.e., the front focal planes) of the GRIN lenses in the corresponding fiber collimators 110-1 through 110-N.
  • Such a telecentric imaging system substantially eliminates translational walk-off of the collimated beams at the output ports that may otherwise occur as the mirror angles change.
  • FIG. 3 shows a fourth embodiment of a WSR apparatus according to the present invention.
  • WSR apparatus 300 is built upon and hence shares a number of the elements used in the embodiment of FIG. 2B, as identified by those labeled with identical numerals.
  • the one-dimensional fiber collimator array 110 of FIG. 2B is replaced by a two-dimensional array 350 of fiber collimators, providing for an input-port and a plurality of output ports.
  • the one-dimensional collimator-alignment mirror array 220 of FIG. 2B is replaced by a two-dimensional array 320 of collimator-alignment mirrors, and first and second one-dimensional arrays 260, 270 of imaging lenses of FIG.
  • first and second two-dimensional arrays 360, 370 of imaging lenses are likewise replaced by first and second two-dimensional arrays 360, 370 of imaging lenses respectively.
  • the first and second two-dimensional arrays 360, 370 of imaging lenses are placed in a 4-f telecentric arrangement with respect to the two-dimensional collimator-alignment mirror array 320 and the two-dimensional fiber collimator array 350.
  • the channel micromirror 103 must be pivotable biaxially in this case (in order to direct its corresponding spectral channel to any one of the output ports).
  • the WSR apparatus 300 is equipped to a support a greater number of the output ports.
  • the collimator-alignment mirrors in the above embodiments also serve to compensate for misalignment (e.g., due to fabricated and assembly errors) in the fiber collimators that provide for the input and output ports.
  • misalignment e.g., due to fabricated and assembly errors
  • the collimator-alignment mirrors are preferably rotatable about two axes. They may be silicon micromachined mirrors, for fast rotational speeds. They may also be other types of mirrors or beam-deflecting elements known in the art.
  • a WSR apparatus of the present invention may incorporate a servo-control assembly, for providing dynamic control of the coupling of the spectral channels into the respective output ports on a channel-by-channel basis.
  • a WSR apparatus incorporating a servo-control assembly is termed a WSR-S apparatus, thereinafter in this specification.
  • FIG. 4A depicts a schematic illustration of a first embodiment of a WSR-S apparatus according to the present invention.
  • the WSR-S apparatus 400 comprises a WSR apparatus 410 and a servo-control assembly 440.
  • the WSR 410 may be in the embodiment of FIG. 1A, or any other embodiment in accordance with the present invention.
  • the servo-control assembly 440 includes a spectral monitor 460, for monitoring the power levels of the spectral channels coupled into the output ports 420-1 through 420-N of the WSR apparatus 410.
  • the spectral monitor 460 is coupled to the output ports 420-1 through 420-N by way of fiber-optic couplers 420-1 through 420-N-C, wherein each fiber-optic coupler serves to tap off a predetermined fraction of the optical signal in the corresponding output port.
  • the servo-control assembly 440 further includes a processing unit 470, in communication with the spectral monitor 460 and the channel micromirrors 430 of the WSR apparatus 410.
  • the processing unit 470 uses the power measurements from the spectral monitor 460 to provide feedback control of the channel micromirrors 430 on an individual basis, so as to maintain a desired coupling efficiency for each spectral channel into a selected output port.
  • the servo-control assembly 440 provides dynamic control of the coupling of the spectral channels into the respective output ports on a channel-by-channel basis and thereby manages the power levels of the spectral channels coupled into the output ports.
  • the power levels of the spectral channels in the output ports may be dynamically managed according to demand, or maintained at desired values (e.g., equalized at a predetermined value) in the present invention.
  • desired values e.g., equalized at a predetermined value
  • FIG. 4B depicts a schematic illustration of a second embodiment of a WSR-S apparatus according to the present invention.
  • the WSR-S apparatus 450 comprises a WSR apparatus 480 and a servo-control assembly 490.
  • the WSR apparatus 480 further includes a plurality of collimator-alignment mirrors 485, and may be configured according to the embodiments of FIGS. 2A, 2B, 3, or any other embodiment in accordance with the present invention.
  • the servo-control assembly 490 includes the spectral monitor 460 as described in the embodiment of FIG. 4A, and a processing unit 495.
  • the processing unit 495 is in communication with the channel micromirrors 430 and the collimator-alignment mirrors 485 of the WSR apparatus 480, as well as the spectral monitor 460.
  • the processing unit 495 uses the power measurements from the spectral monitor 460 to provide dynamic control of the channel micromirrors 430 along with the collimator-alignment mirrors 485, so to maintain the coupling efficiencies of the spectral channels into the output ports at desired values.
  • the spectral monitor 460 may be one of spectral power monitoring devices known in the art that is capable of detecting the power levels of spectral components in a multi-wavelength optical signal.
  • Such devices are typically in the form of a wavelength-separating means (e.g., a diffraction grating) that spatially separates a multi-wavelength optical signal by wavelength into constituent spectral components, and one or more optical sensors (e.g., an array of photodiodes) that are configured such to detect the power levels of these spectral components.
  • the processing unit 470 in FIG. 4A (or the processing unit 495 in FIG.
  • the spectral monitor 460 typically includes electrical circuits and signal processing programs for processing the power measurements received from the spectral monitor 460 and generating appropriate control signals to be applied to the channel micromirrors 430 (and the collimator-alignment mirrors 485 in the case of FIG. 4B), so to maintain the coupling efficiencies of the spectral channels into the output ports at desired values.
  • the electronic circuitry and the associated signal processing algorithm/software for such processing unit in a servo-control system are known in the art. A skilled artisan will know how to implement a suitable spectral monitor along with an appropriate processing unit to provide a servo-control assembly in a WSP-S apparatus according to the present invention, for a given application.
  • the incorporation of a servo-control assembly provides additional advantages of effectively relaxing the requisite fabrication tolerances and the precision of optical alignment during initial assembly of a WSR apparatus of the present invention, and further enabling the system to correct for shift in the alignment over the course of operation.
  • the WSR-S apparatus thus constructed in simpler and more adaptable in structure, more robust in performance, and lower in cost and optical loss. Accordingly, the WSR-S (or WSR) apparatus of the present invention may be used to construct a variety of operable devices and utilized in many applications.
  • a dynamic and versatile spectral power monitor (or channel analyzer) is provided, which would be highly desired in WDM optical networking applications.
  • OADMs optical add-drop multiplexers
  • FIG. 5 depicts an exemplary embodiment of an optical add-drop multiplexer (OADM) according to the present invention.
  • OADM 500 comprises a WSR-S (or WSR) apparatus 510 and an optical combiner 550.
  • An input port 520 of the WSR-S apparatus 510 transmits a multi-wavelength optical signal.
  • the constituent spectral channels are subsequently separated and routed into a plurality of output ports, including a pass-through port 530 and one or more drop ports 540-1 through 540-N (N ⁇ 1).
  • the pass-through port 530 may receive any number of the spectral channels (i.e., the pass-through spectral channels).
  • Each drop port may also receive any number of the spectral channels (i.e., the drop spectral channels).
  • the pass-through port 530 is optically coupled to the optical combiner 550, which serves to combine the pass-through spectral channels with one or more add spectral channels provided by one or more add ports 560-1 through 560-M (M ⁇ 1).
  • the combined optical signal is then routed into an existing port 570, providing an output multi-wavelength optical signal.
  • the optical combiner 550 may be a K ⁇ 1 (K ⁇ 2) broadband fiber-optic coupler, wherein there are K input-ends and one output-end.
  • the pass-through spectral channels and the add spectral channels are fed into the K input-ends (e.g., in a one-to-one correspondence) and the combined optical signal exits from the output-end of the K ⁇ 1 fiber-optic coupler as the output multi-wavelength optical signal of the system.
  • Such a multiple-input coupler also serves the purpose of multiplexing a multiplicity of add spectral channels to be coupled into the OADM 500.
  • the first spectral monitor may receive optical signals tapped off from the pass-through port 530 and the drop ports 540-1 through 540-N (e.g., by way of fiber-optic couplers as depicted in FIG. 4A or 4B).
  • the second spectral monitor receives optical signals tapped off from the exiting port 570.
  • a servo-control system may be constructed accordingly for monitoring and controlling the pass-through, drop and add spectral channels.
  • the embodiment of FIG. 5 provides a versatile optical add-drop multiplexer in a simple and low-cost assembly, while providing multiple physically separate drop/add ports in a dynamically reconfigurable fashion.
  • FIG. 6 depicts an alternative embodiment of an optical add-drop multiplexer (OADM) according to the present invention.
  • OADM 600 comprises a first WSR-S apparatus 610 optically coupled to a second WSR-S apparatus 650.
  • Each WSR-S apparatus may be in the embodiment of FIG. 4A or 4B.
  • a WSR apparats of the embodiment of FIG. 1A, 2A, 2B, or 3 may be alternatively implemented.
  • the first WSR-S apparatus 610 includes an input port 620, a pass-through port 630, and one or more drop ports 640-1 through 640-N (N ⁇ 1).
  • the pass-through spectral channels from the pass-through port 630 are further coupled to the second WSR-S apparatus 650, along with one or more add spectral channels emerging from add ports 660-1 through 660-M (M ⁇ 1).
  • the pass-through port 630 and the add ports 660-1 through 660-M constitute the input ports for the second WSR-S apparatus 650.
  • the second WSR-R apparatus 650 serves to multiplex the pass-through spectral channels and the add spectral channels, and route the multiplexed optical signal into an exiting port 770 to provide an output signal of the system.
  • one WSR-S apparatus e.g., the first WSR-S apparatus 610 effectively performs dynamic drop function
  • the other WSR-S apparatus e.g., the second WSR-S apparatus 650
  • carries out dynamic add function there are essentially no fundamental restrictions on the wavelengths that can be added or dropped (other than those imposed by the overall communication system).
  • the underlying OADM architecture thus presented is intrinsically scalable and can be readily extended to any number of cascaded WSR-S (or WSR) systems, if so desired for performing intricate add and drop functions.
  • the OADM of FIG. 6 may be operated in reverse direction, by using the input ports as the output ports, the drop ports as the add ports, and vice versa.

Landscapes

  • Physics & Mathematics (AREA)
  • General Physics & Mathematics (AREA)
  • Optics & Photonics (AREA)
  • Mechanical Light Control Or Optical Switches (AREA)
  • Optical Communication System (AREA)

Abstract

This invention provides a novel wavelength-separating-routing (WSR) apparatus that uses a diffraction grating to separate a multi-wavelength optical signal by wavelength into multiple spectral characters, which are then focused onto an array of corresponding channel micromirrors. The channel micromirrors are individually controllable and continuously pivotable to reflect the spectral channels into selected output ports. As such, the inventive WSR apparatus is capable of routing the spectral channels on a channel-by-channel basis and coupling any spectral channel into any one of the output ports. The WSR apparatus of the present invention may be further equipped with servo-control and spectral power-management capabilities, thereby maintaining the coupling efficiencies of the spectral channels into the output ports at desired values. The WSR apparatus of the present invention can be used to construct a novel class of dynamically reconfigurable optical add-drop multiplexers (OADMs) for WDM optical networking applications.

Description

CROSS-REFERENCE TO RELATED APPLICATIONS
This application claims priority of U.S. Provisional Patent Application No. 60/277,217, filed Mar. 19, 2001 which is incorporated herein by reference.
FIELD OF THE INVENTION
This invention relates generally to optical communication systems. More specifically, it relates to a novel class of dynamically reconfigurable optical add-drop multiplexers (OADMs) for wavelength division multiplexed optical networking applications.
BACKGROUND
As fiber-optic communication networks rapidly spread into every walk of modern life, there is a growing demand for optical components and subsystems that enable the fiber-optic communications networks to be increasingly scalable, versatile, robust, and cost-effective.
Contemporary fiber-optic communications networks commonly employ wavelength division multiplexing (WDM), for it allows multiple information (or data) channels to be simultaneously transmitted on a single optical fiber by using different wavelengths and thereby significantly enhances the information-bandwidth of the fiber. The prevalence of WDM technology has made optical add-drop multiplexers indispensable building blocks of modern fiber-optic communication networks. An optical add-drop multiplexer (OADM) serves to selectively remove (or drop) one or more wavelengths from a multiplicity of wavelengths on an optical fiber, hence taking away one or more data channels from the traffic stream on the fiber. It further adds one or more wavelength back onto the fiber, thereby inserting new data channels in the same stream of traffic. As such, an OADM makes it possible to launch and retrieve multiple data channels (each characterized by a distinct wavelength) onto and from an optical fiber respectively, without disrupting the overall traffic flow along the fiber. Indeed, careful placement of the OADMs can dramatically improve an optical communication network's flexibility and robustness, while providing significant cost advantages.
Conventional OADMs in the art typically employ multiplexers/demultiplexers (e.g. waveguide grating routers or arrayed-waveguide gratings), tunable filters, optical switches, and optical circulators in a parallel or serial architecture to accomplish the add and drop functions. In the parallel architecture, as exemplified in U.S. Pat. No. 5,974,207, a demultiplexer (e.g., a waveguide grating router) first separates a multi-wavelength signal into its constituent spectral components. A wavelength switching/routing means (e.g., a combination of optical switches and optical circulators) then serves to drop selective wavelengths and add others. Finally, a multiplexer combines the remaining (i.e., the pass-through) wavelengths into an output multi-wavelength optical signal. In the serial architecture, as exemplified in U.S. Pat. No. 6,205,269, tunable filters (e.g., Bragg fiber gratings) in combination with optical circulators are used to separate the drop wavelength from the pass-through wavelengths and subsequently launch the add channels into the pass-through path. And if multiple wavelengths are to be added and dropped, additional multiplexers and demultiplexers are required to demultiplex the drop wavelengths and multiplex the add wavelengths, respectively. Irrespective of the underlying architecture, the OADMs currently in the art are characteristically high in cost, and prone to significant optical loss accumulation. Moreover, the designs of these OADMs are such that it is inherently difficult to reconfigure them in a dynamic fashion.
U.S. Pat. No. 6,204,946 to Askyuk et al. discloses an OADM that makes use of free-space optics in a parallel construction. In this case, a multi-wavelength optical signal emerging from an input port is incident onto a ruled diffraction grating. The constituent spectral channels thus separated are then focused by a focusing lens onto a linear array of binary micromachined mirrors. Each micromirror is configured to operate between two discrete states, such that it either retrofits its corresponding spectral channel back into the input port as a pass-through channel, or directs its spectral channel to an output port as a drop channel. As such, the pass-through signal (i.e., the combined pass-through channels) shares the same input port as the input signal. An optical circulator is therefore coupled to the input port, to provide necessary routing of these two signals. Likewise, the drop channels share the output port with the add channels. An additional optical circulator is thereby coupled to the output port, from which the drop channels exit and the add channels are introduced into the output ports. The add channels are subsequently combined with the pass-through signal by way of the diffraction grating and the binary micromirrors.
Although the aforementioned OADM disclosed by Askyuk et al. has the advantage of performing wavelength separating and routing in free space and thereby incurring less optical loss, it suffers a number of limitations. First, it requires that the pass-through signal share the same port/fiber as the input signal. An optical circulator therefore has to be implemented, to provide necessary routing of these two signals. Likewise, all the add and drop channels enter and leave the OADM through the same output port, hence the need for another optical circulator. Moreover, additional means must be provided to multiplex the add channels before entering the system and to demultiplex the drop channels after exiting the system. This additional multiplexing/demultiplexing requirement adds more cost and complexity that can restrict the versatility of the OADM thus-constructed. Second, the optical circulators implemented in this OADM for various routing purposes introduce additional optical losses, which can accumulate to a substantial amount. Third, the constituent optical components must be in a precise alignment, in order for the system to achieve its intended purpose. There are, however, no provisions provided for maintaining the requisite alignment; and no mechanisms implemented for overcoming degradation in the alignment owing to environmental effects such as thermal and mechanical disturbances over the course of operation.
U.S. Pat. No. 5,906,133 to Tomlinson discloses an OADM that makes use of a design similar to that of Aksyuk et al. There are input, output, drop and add ports implemented in this case. By positioning the four ports in a specific arrangement, each micromirror, notwithstanding switchable between two discrete positions, either reflects its corresponding channel (coming from the input port) to the output port, or concomitantly reflects its channel to the drop port and an incident add channel to the output port. As such, this OADM is able to perform both the add and drop functions without involving additional optical components (such as optical circulators and in the system of the Aksyuk et al.). However, because a single drop port is designated for all the drop channels and a single add port is designated for all the add channels, the add channels would have to be multiplexed before entering the add port and the drop channels likewise need to be demultiplexed upon exiting from the drop port. Moreover, as in the case of Askyuk et al., there are no provisions provided for maintaining requisite optical alignment in the system, and no mechanisms implemented for combating degradation in the alignment due to environmental effects over the course of operation.
As such, the prevailing drawbacks suffered by the OADMs currently in the art are summarized as follows:
  • 1) The wavelength routing is intrinsically static, rendering it difficult to dynamically reconfigure these OADMs.
  • 2) Add and/or drop channels often need to be multiplexed and/or demultiplexed, thereby imposing additional complexity and cost.
  • 3) Stringent fabrication tolerance and painstaking optical alignments are required. Moreover, the optical alignment is not actively maintained, rendering it susceptible to environmental effects such as thermal and mechanical disturbances over the course of operation.
  • 4) In an optical communication network, OADMs are typically in a ring or cascaded configuration. In order to mitigate the interference amongst OADMs, which often adversely affects the overall performance of the network, it is essential that the power levels of spectral channels entering and exiting each OADM be managed in a systematic way, for instance, by introducing power (or gain) equalization at each stage. Such a power equalization capability is also needed for compensating for nonuniform gain caused by optical amplifiers (e.g., erbium doped fiber amplifiers) in the network. There lacks, however, a systematic and dynamic management of the power levels of various spectral channels in these OADMs.
  • 5) The inherent high cost and heavy optical loss further impede the wide application of these OADMs.
In view of the foregoing, there is an urgent need in the art for optical add-drop multiplexers that overcome the aforementioned shortcomings, in a simple, effective, and economical construction.
SUMMARY
The present invention provides a wavelength-separating-routing (WSR) apparatus and method which employ an array of fiber collimators serving as an input port and a plurality of output ports; a wavelength-separator; a beam-focuser; and an array of channel micromirrors.
In operation, a multi-wavelength optical signal emerges from the input port. The wavelength-separator separates the multi-wavelength optical signal into multiple spectral channels, each characterized by a distinct center wavelength and associated bandwidth. The beam-focuser focuses the spectral channels into corresponding spectral spots. The channel micromirrors are positioned such that each channel micromirror receives one of the spectral channels. The channel micromirrors are individually controllable and movable, e.g., continuously pivotable (or rotatable), so as to reflect the spectral channels into selected ones of the output ports. As such, each channel micromirror is assigned to a specific spectral channel, hence the name “channel micromirror”. And each output port may receive any number of the reflected spectral channels.
A distinct feature of the channel micromirrors in the present invention, in contrast to those used in the prior art, is that the motion, e.g., pivoting (or rotation), of each channel micromirror is under analog control such that its pivoting angle can be continouously adjusted. This enables each channel micromirror to scan its corresponding spectral channel across all possible output ports and thereby direct the spectral channel to any desired output ports.
In the WSR apparatus of the present invention, the wavelength-separator may be provided by a ruled diffraction grating, a holographic diffraction grating, an echelle grating, a curved diffraction grating, a dispersing prism, or other wavelength-separating means known in the art. The beam-focuser may be a single lens, an assembly of lenses, or other beam-focusing means known in the art. The channel micromirrors may be provided by silicon micromachined mirrors, reflective ribbons (or membranes), or other types of beam-deflecting means known in the art. And each channel micromirror may be pivotable about one or two axes. The fiber collimators serving as the input and output ports may be arranged in a one-dimensional or two-dimensional array. In the latter case, the channel micromirrors must be pivotable biaxially.
The WSR apparatus of the present invention may further comprise an array of collimator-alignment mirrors, in optical communication with the wavelength-separator and the fiber collimators, for adjusting the alignment of the input multi-wavelength signal and directing the spectral channels into the selected output ports by way of angular control of the collimated beams. Each collimator-alignment mirror may be rotatable about one or two axes. The collimator-alignment mirrors may be arranged in a one-dimensional or two-dimensional array. First and second arrays of imaging lenses may additionally be optically interposed between the collimator-alignment mirrors and the fiber collimators in a telecentric arrangement, thereby “imaging” the collimator-alignment mirrors onto the corresponding fiber collimators to ensure an optimal alignment.
The WSR apparatus of the present invention may further include a servo-control assembly, in communication with the channel micromirrors and the output ports. The servo-control assembly serves to monitor the power levels of the spectral channels coupled into the output ports and further provide control of the channel micromirrors on an individual basis, so as to maintain a predetermined coupling efficiency of each spectral channel in one of the output ports. As such, the servo-control assembly provides dynamic control of the coupling of the spectral channels into the respective output ports and actively manages the power levels of the spectral channels coupling into the output ports. (If the WSR apparatus includes an array of collimator-alignment mirrors as described above, the servo-control assembly may additionally provide dynamic control of the collimator-alignment mirrors.) Moreover, the utilization of such a servo-control assembly effectively relaxes the requisite fabrication tolerances and the precision of optical alignment during assembly of a WSR apparatus of the present invention, and further enables the system to correct for shift in optical alignment over the course of operation. A WSR apparatus incorporating a servo-control assembly thus described is termed a WSR-S apparatus, thereinafter in the present invention.
Accordingly, the WSR-S (or WSR) apparatus of the present invention may be used to construct a variety of optical devices, including a novel class of dynamically reconfigurable optical add-drop multiplexers (OADMs), as exemplified in the following embodiments.
One embodiment of an OADM of the present invention comprises an aforementioned WSR-S (or WSR) apparatus and an optical combiner. The output ports of the WSR-S apparatus include a pass-through port and one or more drop ports, each carrying any number of the spectral channels. The optical combiner is coupled to the pass-through port, serving to combine the pass-through channels with one or more add spectral channels. The combined optical signal constitutes an output signal of the system. The optical combiner may be an N×1 (N≦2) broadband fiber-optic coupler, for instance, which also serves the purpose of multiplexing a multiplicity of add spectral channels to be coupled into the system.
In another embodiment of an OADM of the present invention, a first WSR-S (or WSR) apparatus is cascaded with a second WSR-S (or WSR) apparatus. The output ports of the first WSR-S (or WSR) apparatus include a pass-through port and one or more drop ports. The second WSR-S (or WSR) apparatus includes a plurality of input ports and an exiting port. The configuration is such that the pass-through channels from the first WSR-S apparatus and one or more add channels are directed into the input ports of the second WSR-S apparatus, and consequently multiplexed into an output multi-wavelength optical signal directed into the exiting port of the second WSR-S apparatus. That is to say that in this embodiment, one WSR-S apparatus (e.g., the first one) effectively performs a dynamic drop function, whereas the other WSR-R apparatus (e.g., the second one) carries out a dynamic add function. And there are essentially no fundamental restrictions on the wavelengths that can be added or dropped, other than those imposed by the overall communication system. Moreover, the underlying OADM architecture thus presented is intrinsically scalable and can be readily extended to any number of the WSR-S (or WSR) systems, if so desired for performing intricate add and drop functions in a network environment.
Those skilled in the art will recognize that the aforementioned embodiments provide only two of many embodiments of a dynamically reconfigurable OADM according to the present invention. Various changes, substitutions, and alternations can be made herein, without departing from the principles and the scope of the invention. Accordingly, a skilled artisan can design an OADM in accordance with the present invention, to best suit a given application.
All in all, the OADMs of the present invention provide many advantages over the prior art devices, notably:
  • 1) By advantageously employing an array of channel micromirrors that are individually and continuously controllable, an OADM of the present invention is capable of routing the spectral channels on a channel-by-channel basis and directing any spectral channel into any one of the output ports. As such, its underlying operation is dynamically reconfigurable, and its underlying architecture is intrinsically scalable to a large number of channel counts.
  • 2) The add and drop spectral channels need not be multiplexed and demultiplexed before entering and after leaving the OADM respectively. And there are not fundamental restrictions on the wavelengths to be added or dropped.
  • 3) The coupling of the spectral channels into the output ports is dynamically controlled by a servo-control assembly, rendering the OADM less susceptible to environmental effects (such as thermal and mechanical disturbances) and therefore more robust in performance. By maintaining an optimal optical alignment, the optical losses incurred by the spectral channels are also significantly reduced.
  • 4) The power levels of the spectral channels coupled into the output ports can be dynamically managed according to demand, or maintained at desired values (e.g., equalized at a predetermined value) by way of the servo-control assembly. This spectral power-management capability as an integral part of the OADM will be particularly desirable in WDM optical networking applications.
  • 5) The use of free-space optics provides a simple, low loss, and cost-effective construction. Moreover, the utilization of the servo-control assembly effectively relaxes the requisite fabrication tolerances and the precision of optical alignment during initial assembly, enabling the OADM to be simpler and more adaptable in structure, lower in cost and optical loss.
  • 6) The underlying OADM architecture allows a multiplicity of the OADMs according to the present invention to be readily assembled (e.g., cascaded) for WDM optical networking applications.
The novel features of this invention, as well as the invention itself, will be best understood from the following drawings and detailed description.
BRIEF DESCRIPTION OF THE FIGURES
FIGS. 1A-1D show a first embodiment of a wavelength-separating-routing (WSR) apparatus according to the present invention, and the modeling results demonstrating the performance of the WSR apparatus;
FIGS. 2A-2C depict second and third embodiments of a WSR apparatus according to the present invention;
FIG. 3 shows a fourth embodiment of a WSR apparatus according to the present invention;
FIGS. 4A-4B show schematic illustration of two embodiments of a WSR-S apparatus comprising a WSR apparatus and a servo-control assembly, according to the present invention;
FIG. 5 depicts an exemplary embodiment of an optical add-drop multiplexer (OADM) according to the present invention; and
FIG. 6 shows an alternative embodiment of an OADM according to the present invention.
DETAILED DESCRIPTION
In this specification and appending claims, a “spectral channel” is characterized by a distinct center wavelength and associated bandwidth. Each spectral channel may carry a unique information signal, as in WDM optical networking applications.
FIG. 1A depicts a first embodiment of a wavelength-separating-routing (WSR) apparatus according to the present invention. By way of example to illustrate the general principles and the topological structure of a wavelength-separating-routing (WSR) apparatus of the present invention, the WSR apparatus 100 comprises multiple input/output ports which may be in the form of an array of fiber collimators 110, providing an input port 110-1 and a plurality of output ports 110-2 through 110-N (N≦3); a wavelength-separator which in one form may be a diffraction grating 101; a beam-focuser in the form of a focusing lens 102; and an array of channel micromirrors 103.
In operation, a multi-wavelength optical signal emerges from the input port 110-1. The diffraction grating 101 angularly separates the multi-wavelength optical signal into multiple spectral channels, which are in turn focused by the focusing lens 102 into a spatial array of distinct spectral spots (not shown in FIG. 1A) in a one-to-one correspondence. The channel micromirrors 103 are positioned in accordance with the spatial array formed by the spectral spots, such that each channel micromirror receives one of the spectral channels. The channel micromirrors 103 are individually controllable and movable, e.g., pivotable (or rotatable) under analog (or continuous) control, such that, upon reflection, the spectral channels are directed into selected ones of the output ports 110-2 through 110-N by way of the focusing lens 102 and the diffraction grating 101. As such, each channel micromirror is assigned to a specific spectral channel, hence the name “channel micromirror”. Each output port may receive any number of the reflected spectral channels.
For purposes of illustration and clarity, only a selective few (e.g., three) of the spectral channels, along with the input multi-wavelength optical signal, are graphically illustrated in FIG. 1A and the following figures. It should be noted, however, that there can be any number of the spectral channels in a WSR apparatus of the present invention (so long as the number of spectral channels does not exceed the number of channel mirrors employed in the system). It should also be noted that the optical beams representing the spectral channels shown in FIG. 1A and the following figures are provided for illustrative purpose only. That is, their sizes and shapes may not be drawn according to scale. For instance, the input beam and the corresponding diffracted beams generally have different cross-sectional shapes, so long as the angle of incidence upon the diffraction grating is not equal to the angle of diffraction, as is known to those skilled in the art.
In the embodiment of FIG. 1A, it is preferable that the diffracting grating 101 and the channel micromirrors 103 are placed respectively at the first and second (i.e., the front and back) focal points (on the opposing sides) of the focusing lens 102. Such a telecentric arrangement allows the chief rays of the focused beams to be parallel to each other and generally parallel to the optical axis. In this application, the telecentric configuration further allows the reflected spectral channels to be efficiently coupled into the respective output ports, thereby minimizing various translational walk-off effects that may otherwise arise. Moreover, the input multi-wavelength optical signal is preferably collimated and circular in cross-section. The corresponding spectral channels diffracted from the diffraction grating 101 are generally elliptical in cross-section; they may be of the same size as the input beam in one dimension and elongated in the other dimension.
It is known that the diffraction efficiency of a diffraction grating is generally polarization-dependent. That is, the diffraction efficiency of a grating in a standard mounting configuration may be considerably higher for P-polarization that is perpendicular to the groove lines on the grating than for S-polarization that is orthogonal to P-polarization, especially as the number of groove lines (per unit length) increases. To mitigate such polarization-sensitive effects, a quarter-wave plate 104 may be optically interposed between the diffraction grating 101 and the channel micromirrors 103, and preferably placed between the diffraction grating 101 and the focusing lens 102 as is shown in FIG. 1A. In this way, each spectral channel experiences a total of approximately 90-degree rotation in polarization upon traversing the quarter-wave plate 104 twice. (That is, if a beam of light has P-polarization with first encountering the diffraction grating, it would have predominantly (if not all) S-polarization upon the second encountering, and vice versa.) This ensures that all the spectral channels incur nearly the same amount of round-trip polarization dependent loss.
In the WSR apparatus 100 of FIG. 1A, the diffraction grating 101, by way of example, is oriented such that the focused spots of the spectral channels fall onto the channel micromirrors 103 in a horizontal array, as illustrated in FIG. 1B.
Depicted in FIG. 1B is a close-up view of the channel micromirrors 103 shown in the embodiment of FIG. 1A. By way of example, the channel micromirrors 103 are arranged in a one-dimensional array along the x-axis (i.e., the horizontal direction in the figure), so as to receive the focused spots of the spatially separated spectral channels in a one-to-one correspondence. (As in the case of FIG. 1A, only three spectral channels are illustrated, each represented by a converging beam.) Let the reflective surface of each channel micromirror lie in the x-y plane as defined in the figure and be movable, e.g., pivotable (or deflectable) about the x-axis in an analog (or continuous) manner. Each spectral channel, upon reflection, is deflected in the y-direction (e.g., downward) relative to its incident direction, so to be directed into one of the output ports 110-2 through 110-N shown in FIG. 1A.
As described above, a unique feature of the present invention is that the motion of each channel micromirror is individually and continuously controllable, such that its position, e.g., pivoting angle, can be continuously adjusted. This enables each channel micromirror to scan its corresponding spectral channel across all possible output ports and thereby direct the spectral channel to any desired output port. To illustrate this capability, FIG. 1C shows a plot of coupling efficiency as a function of a channel micromirror's pivoting angle θ, provided by a ray-tracing model of a WSR apparatus in the embodiment of FIG. 1A. As used herein, the coupling efficiency for a spectral channel is defined as the ratio of the amount of optical power coupled into the fiber core in an output port to the total amount of optical power incident upon the entrance surface of the fiber (associated with the fiber collimator grating serving as the output port). In the ray-tracing model, the input optical signal is incident upon a diffraction grating with 700 lines per millimeter at a grazing angle of 85 degrees, where the grating is blazed to optimize the diffraction efficiency for the “−1” order. The focusing lens has a focal length of 100 mm. Each output port is provided by a quarter-pitch GRIN lens (2 mm in diameter) coupled to an optical fiber (see FIG. 1D). As displayed in FIG. 1C, the coupling efficiency varies with the pivoting angle θ, and it requires about a 0.2-degree change in θ for the coupling efficiency to become practically negligible in this exemplary case. As such, each spectral channel may practically acquire any coupling efficiency value by way of controlling the pivoting angle of its corresponding channel micromirror. This is also to say that variable optical attenuation at the granularity of a single wavelength can be obtained in a WSR apparatus of the present invention. FIG. 1D provides ray-tracing illustrations of two extreme points on the coupling efficiency vs. θ curve of FIG. 1C; on-axis coupling corresponding to θ=0, where the coupling efficiency is maximum; and off-axis coupling corresponding to θ=0.2 degrees, where the representative collimated beam (representing an exemplary spectral channel) undergoes a significant translational walk-off and renders the coupling efficiency practically negligible. All in all, the exemplary modeling results thus described demonstrate the unique capabilities of the WSR apparatus of the present invention.
FIG. 1A provides one of many embodiments of a WSR apparatus according to the present invention. In general, the wavelength-separator is a wavelength-separating means that may be a ruled diffraction grating, a holographic diffraction grating, an echelle grating, a dispersing prism, or other types of spectral-separating means known in the art. The beam-focuser may be a focusing lens, an assembly of lenses, or other beam-focusing means known in the art. The focusing function may also be accomplished by using a curved diffraction grating as the wavelength-separator. The channel micromirrors may be provided by silicon micromachined mirrors, reflective ribbons (or membranes), or other types of beam-deflecting elements known in the art. And each micromirror may be pivoted about one or two axes. What is important is that the pivoting (or rotational) motion of each channel micromirror be individually controllable in an analog manner, whereby the pivoting angle can be continuously adjusted so as to enable the channel micromirror to scan a spectral channel across all possible output ports. The underlying fabrication techniques for micromachined mirrors and associated actuation mechanism are well documented in the art, see U.S. Pat. No. 5,629,790 for example. Moreover, a fiber collimator is typically in the form of a collimating lens (such as a GRIN lens) and a ferrule-mounted fiber packaged together in a mechanically rigid stainless steel (or glass) tube. The fiber collimators serving as the input and output ports may be arranged in a one-dimensional array, a two-dimensional array, or other desired spatial pattern. For instance, they may be conveniently mounted in a linear array along a V-groove fabricated on a substrate made of silicon, plastic, or ceramic, as commonly practiced in the art. It should be noted, however, that the input port and the output ports need not necessarily be in close spatial proximity with each other, such as in an array configuration (although a close packing would reduce the rotational range required for each channel micromirror). Those skilled in the art will know how to design a WSR apparatus according to the present invention, to best suit a given application.
A WSR apparatus of the present invention may further comprise an array of collimator-alignment mirrors, for adjusting the alignment of the input multi-wavelength optical signal and facilitating the coupling of the spectral channels into the respective output ports, as shown in FIGS. 2A-2B and 3.
Depicted in FIG. 2A is a second embodiment of a WSR apparatus according to the present invention. By way of example, WSR apparatus 200 is built upon and hence shares a number of the elements used in the embodiment of FIG. 1A, as identified by those labeled with identical numerals. Moreover, a one-dimensional array 220 of collimator-alignment mirrors 220-1 through 220-N is optically interposed between the diffraction grating 101 and the fiber collimator array 110. The collimator-alignment mirror 220-1 is designated to correspond with the input port 110-1, for adjusting the alignment of the input multi-wavelength optical signal and therefore ensuring that the spectral channels impinge onto the corresponding channel micromirrors. The collimator-alignment mirrors 220-2 through 220-N are designated to the output ports 110-2 through 110-N in a one-to-one correspondence, serving to provide angular control of the collimator beams of the reflected spectral channels and thereby facilitating the coupling of the spectral channels into the respective output ports according to desired coupling efficiencies. Each collimator-alignment mirror may be rotatable about one axis, or two axes.
The embodiment of FIG. 2A is attractive in applications where the fiber collimators (serving as the input and output ports) are desired to be placed in close proximity to the collimator-alignment mirror array 220. To best facilitate the coupling of the spectral channels into the output ports, arrays of imaging lenses may be implemented between the collimator-alignment mirror array 220 and the fiber collimator array 110, as depicted in FIG. 2B. By way of example, WSR apparatus 250 of FIG. 2B is built upon and hence shares many of the elements used in the embodiment of FIG. 2A, as identified by those labeled with identical numerals. Additionally, first and second arrays 260, 270 of imaging lenses are placed in a 4-f telecentric arrangement with respect to the collimator-alignment mirror array 220 and the fiber collimator array 110. The dashed box 280 shown in FIG. 2C provides a top view of such a telecentric arrangement. In this case, the imaging lenses in the first and second arrays 260, 270 all have the same focal length f. The collimator-alignment mirrors 220-1 through 220-N are placed at the respective first (or front) focal points of the imaging lenses in the first array 260. Likewise, the fiber collimators 110-1 through 110-N are placed at the respective second (or back) focal points of the imaging lenses in the second array 270. And the separation between the first and second arrays 260, 270 of imaging lenses is 2f. In this way, the collimator-alignment mirrors 220-1 through 220-N are effectively imaged onto the respective entrance surfaces (i.e., the front focal planes) of the GRIN lenses in the corresponding fiber collimators 110-1 through 110-N. Such a telecentric imaging system substantially eliminates translational walk-off of the collimated beams at the output ports that may otherwise occur as the mirror angles change.
FIG. 3 shows a fourth embodiment of a WSR apparatus according to the present invention. By way of example, WSR apparatus 300 is built upon and hence shares a number of the elements used in the embodiment of FIG. 2B, as identified by those labeled with identical numerals. In this case, the one-dimensional fiber collimator array 110 of FIG. 2B is replaced by a two-dimensional array 350 of fiber collimators, providing for an input-port and a plurality of output ports. Accordingly, the one-dimensional collimator-alignment mirror array 220 of FIG. 2B is replaced by a two-dimensional array 320 of collimator-alignment mirrors, and first and second one- dimensional arrays 260, 270 of imaging lenses of FIG. 2B are likewise replaced by first and second two- dimensional arrays 360, 370 of imaging lenses respectively. As in the case of the embodiment of FIG. 2B, the first and second two- dimensional arrays 360, 370 of imaging lenses are placed in a 4-f telecentric arrangement with respect to the two-dimensional collimator-alignment mirror array 320 and the two-dimensional fiber collimator array 350. The channel micromirror 103 must be pivotable biaxially in this case (in order to direct its corresponding spectral channel to any one of the output ports). As such, the WSR apparatus 300 is equipped to a support a greater number of the output ports.
In addition to facilitating the coupling of the spectral channels into the respective output ports as described above, the collimator-alignment mirrors in the above embodiments also serve to compensate for misalignment (e.g., due to fabricated and assembly errors) in the fiber collimators that provide for the input and output ports. For instance, relative misalignment between the fiber cores and their respective collimating lenses in the fiber collimators can lead to pointing errors in the collimated beams, which may be corrected for by the collimator-alignment mirrors. For these reasons, the collimator-alignment mirrors are preferably rotatable about two axes. They may be silicon micromachined mirrors, for fast rotational speeds. They may also be other types of mirrors or beam-deflecting elements known in the art.
To optimize the coupling of the spectral channels into the output ports and further maintain the optimal optical alignment against environment effects such as temperature variations and mechanical instabilities over the course of operation, a WSR apparatus of the present invention may incorporate a servo-control assembly, for providing dynamic control of the coupling of the spectral channels into the respective output ports on a channel-by-channel basis. A WSR apparatus incorporating a servo-control assembly is termed a WSR-S apparatus, thereinafter in this specification.
FIG. 4A depicts a schematic illustration of a first embodiment of a WSR-S apparatus according to the present invention. The WSR-S apparatus 400 comprises a WSR apparatus 410 and a servo-control assembly 440. The WSR 410 may be in the embodiment of FIG. 1A, or any other embodiment in accordance with the present invention. The servo-control assembly 440 includes a spectral monitor 460, for monitoring the power levels of the spectral channels coupled into the output ports 420-1 through 420-N of the WSR apparatus 410. By way of example, the spectral monitor 460 is coupled to the output ports 420-1 through 420-N by way of fiber-optic couplers 420-1 through 420-N-C, wherein each fiber-optic coupler serves to tap off a predetermined fraction of the optical signal in the corresponding output port. The servo-control assembly 440 further includes a processing unit 470, in communication with the spectral monitor 460 and the channel micromirrors 430 of the WSR apparatus 410. The processing unit 470 uses the power measurements from the spectral monitor 460 to provide feedback control of the channel micromirrors 430 on an individual basis, so as to maintain a desired coupling efficiency for each spectral channel into a selected output port. As such, the servo-control assembly 440 provides dynamic control of the coupling of the spectral channels into the respective output ports on a channel-by-channel basis and thereby manages the power levels of the spectral channels coupled into the output ports. The power levels of the spectral channels in the output ports may be dynamically managed according to demand, or maintained at desired values (e.g., equalized at a predetermined value) in the present invention. Such a spectral power-management capability is essential in WDM optical networking applications, as discussed above.
FIG. 4B depicts a schematic illustration of a second embodiment of a WSR-S apparatus according to the present invention. The WSR-S apparatus 450 comprises a WSR apparatus 480 and a servo-control assembly 490. In addition to the channel micromirrors 430 (and other elements identified by the same numerals as those used in FIG. 4A), the WSR apparatus 480 further includes a plurality of collimator-alignment mirrors 485, and may be configured according to the embodiments of FIGS. 2A, 2B, 3, or any other embodiment in accordance with the present invention. By way of example, the servo-control assembly 490 includes the spectral monitor 460 as described in the embodiment of FIG. 4A, and a processing unit 495. In this case, the processing unit 495 is in communication with the channel micromirrors 430 and the collimator-alignment mirrors 485 of the WSR apparatus 480, as well as the spectral monitor 460. The processing unit 495 uses the power measurements from the spectral monitor 460 to provide dynamic control of the channel micromirrors 430 along with the collimator-alignment mirrors 485, so to maintain the coupling efficiencies of the spectral channels into the output ports at desired values.
In the embodiment of FIG. 4A or 4B, the spectral monitor 460 may be one of spectral power monitoring devices known in the art that is capable of detecting the power levels of spectral components in a multi-wavelength optical signal. Such devices are typically in the form of a wavelength-separating means (e.g., a diffraction grating) that spatially separates a multi-wavelength optical signal by wavelength into constituent spectral components, and one or more optical sensors (e.g., an array of photodiodes) that are configured such to detect the power levels of these spectral components. The processing unit 470 in FIG. 4A (or the processing unit 495 in FIG. 4B) typically includes electrical circuits and signal processing programs for processing the power measurements received from the spectral monitor 460 and generating appropriate control signals to be applied to the channel micromirrors 430 (and the collimator-alignment mirrors 485 in the case of FIG. 4B), so to maintain the coupling efficiencies of the spectral channels into the output ports at desired values. The electronic circuitry and the associated signal processing algorithm/software for such processing unit in a servo-control system are known in the art. A skilled artisan will know how to implement a suitable spectral monitor along with an appropriate processing unit to provide a servo-control assembly in a WSP-S apparatus according to the present invention, for a given application.
The incorporation of a servo-control assembly provides additional advantages of effectively relaxing the requisite fabrication tolerances and the precision of optical alignment during initial assembly of a WSR apparatus of the present invention, and further enabling the system to correct for shift in the alignment over the course of operation. By maintaining an optimal optical alignment, the optical losses incurred by the spectral channels are also significantly reduced. As such, the WSR-S apparatus thus constructed in simpler and more adaptable in structure, more robust in performance, and lower in cost and optical loss. Accordingly, the WSR-S (or WSR) apparatus of the present invention may be used to construct a variety of operable devices and utilized in many applications.
For instance, by directing the spectral channels into the output ports in a one-channel-per-port fashion and coupling the output ports of a WSR-S (or WSR) apparatus to an array of optical sensors (e.g., photodiodes), or a single optical sensor that is capable of scanning across the output ports, a dynamic and versatile spectral power monitor (or channel analyzer) is provided, which would be highly desired in WDM optical networking applications. Moreover, a novel class of optical add-drop multiplexers (OADMs) may be built upon the WSR-S (or WSR) apparatus of the present invention, as exemplified in the following embodiments.
FIG. 5 depicts an exemplary embodiment of an optical add-drop multiplexer (OADM) according to the present invention. By way of example, OADM 500 comprises a WSR-S (or WSR) apparatus 510 and an optical combiner 550. An input port 520 of the WSR-S apparatus 510 transmits a multi-wavelength optical signal. The constituent spectral channels are subsequently separated and routed into a plurality of output ports, including a pass-through port 530 and one or more drop ports 540-1 through 540-N (N≧1). The pass-through port 530 may receive any number of the spectral channels (i.e., the pass-through spectral channels). Each drop port may also receive any number of the spectral channels (i.e., the drop spectral channels). The pass-through port 530 is optically coupled to the optical combiner 550, which serves to combine the pass-through spectral channels with one or more add spectral channels provided by one or more add ports 560-1 through 560-M (M≧1). The combined optical signal is then routed into an existing port 570, providing an output multi-wavelength optical signal.
In the above embodiment, the optical combiner 550 may be a K×1 (K≧2) broadband fiber-optic coupler, wherein there are K input-ends and one output-end. The pass-through spectral channels and the add spectral channels are fed into the K input-ends (e.g., in a one-to-one correspondence) and the combined optical signal exits from the output-end of the K×1 fiber-optic coupler as the output multi-wavelength optical signal of the system. Such a multiple-input coupler also serves the purpose of multiplexing a multiplicity of add spectral channels to be coupled into the OADM 500. If the power levels of the spectral channels in the output multi-wavelength optical signal are desired to be actively managed, such as being equalized at a predetermined value, two spectral monitors may be utilized. As a way of example, the first spectral monitor may receive optical signals tapped off from the pass-through port 530 and the drop ports 540-1 through 540-N (e.g., by way of fiber-optic couplers as depicted in FIG. 4A or 4B). The second spectral monitor receives optical signals tapped off from the exiting port 570. A servo-control system may be constructed accordingly for monitoring and controlling the pass-through, drop and add spectral channels. As such, the embodiment of FIG. 5 provides a versatile optical add-drop multiplexer in a simple and low-cost assembly, while providing multiple physically separate drop/add ports in a dynamically reconfigurable fashion.
FIG. 6 depicts an alternative embodiment of an optical add-drop multiplexer (OADM) according to the present invention. By way of example, OADM 600 comprises a first WSR-S apparatus 610 optically coupled to a second WSR-S apparatus 650. Each WSR-S apparatus may be in the embodiment of FIG. 4A or 4B. (A WSR apparats of the embodiment of FIG. 1A, 2A, 2B, or 3 may be alternatively implemented.) The first WSR-S apparatus 610 includes an input port 620, a pass-through port 630, and one or more drop ports 640-1 through 640-N (N≧1). The pass-through spectral channels from the pass-through port 630 are further coupled to the second WSR-S apparatus 650, along with one or more add spectral channels emerging from add ports 660-1 through 660-M (M≧1). In this exemplary case, the pass-through port 630 and the add ports 660-1 through 660-M constitute the input ports for the second WSR-S apparatus 650. By way of its constituent wavelength-separator (e.g., a diffraction grinding) and channel micromirrors (not shown in FIG. 6), the second WSR-R apparatus 650 serves to multiplex the pass-through spectral channels and the add spectral channels, and route the multiplexed optical signal into an exiting port 770 to provide an output signal of the system.
In the embodiment of FIG. 6, one WSR-S apparatus (e.g., the first WSR-S apparatus 610) effectively performs dynamic drop function, whereas the other WSR-S apparatus (e.g., the second WSR-S apparatus 650) carries out dynamic add function. And there are essentially no fundamental restrictions on the wavelengths that can be added or dropped (other than those imposed by the overall communication system). Moreover, the underlying OADM architecture thus presented is intrinsically scalable and can be readily extended to any number of cascaded WSR-S (or WSR) systems, if so desired for performing intricate add and drop functions. Additionally, the OADM of FIG. 6 may be operated in reverse direction, by using the input ports as the output ports, the drop ports as the add ports, and vice versa.
Those skilled in the art will recognize that the aforementioned embodiments provide only two of many embodiments of a dynamically reconfigurable OADM according to the present invention. Those skilled in the art will also appreciate that various changes, substitutions, and alternations can be made herein without departing from the principles and the scope of the invention as defined in the appended claims. Accordingly, a skilled artisan can design an OADM in accordance with the principles of the present invention, to best suit a given application.
Although the present invention and its advantages have been described in detail, it should be understood that various changes, substitutions, and alternations can be made herein without departing from the principles and the scope of the invention. Accordingly, the scope of the present invention should be determined by the following claims and their legal equivalents.

Claims (67)

What is claimed is:
1. A wavelength-separating-routing apparatus, comprising:
a) multiple fiber collimators, providing an input port for a multi-wavelength optical signal and a plurality of output ports;
b) a wavelength-separator, for separating said multi-wavelength optical signal from said input port into multiple spectral channels;
c) a beam-focuser, for focusing said spectral channels into corresponding spectral spots; and
d) a spatial array of channel micromirrors positioned such that each channel micromirror receives one of said spectral channels, said channel micromirrors being pivotal about two axes and being individually and continuously controllable to reflect said corresponding received spectral channels into any selected ones of said output ports and to control the power of said received spectral channels coupled into said output ports.
2. The wavelength-separating-routing apparatus of claim 1 further comprising a servo-control assembly, in communication with said channel micromirrors and said output ports, for providing control of said channel micromirrors and thereby maintaining a predetermined coupling of each reflected spectral channel into one of said output ports.
3. The wavelength-separating-routing apparatus of claim 2 wherein said servo-control assembly comprises a spectral monitor for monitoring power levels of said spectral channels coupled into said output ports, and a processing unit responsive to said power levels for providing control of said channel micromirrors.
4. The wavelength-separating-routing apparatus of claim 3 wherein said servo-control assembly maintains said power levels at a predetermined value.
5. The wavelength-separating-routing apparatus of claim 1 further comprising an array of collimator-alignment mirrors, in optical communication with said wavelength-separator and said fiber collimators, for adjusting an alignment of said multi-wavelength optical signal from said input port and directing said reflected spectral channels into said output ports.
6. The wavelength-separating-routing apparatus of claim 5 wherein each collimator-alignment mirror is rotatable about one axis.
7. The wavelength-separating-routing apparatus of claim 5 wherein each collimator-alignment mirror is rotatable about two axes.
8. The wavelength-separating-routing apparatus of claim 5 further comprising first and second arrays of imaging lenses, in a telecentric arrangement with said collimator-alignment mirrors and said fiber collimators.
9. The wavelength-separating-routing apparatus of claim 1 wherein each channel micromirror is continuously pivotable about one axis.
10. The wavelength-separating-routing apparatus of claim 1 wherein each channel micromirror is pivotable about two axes.
11. The wavelength-separating-routing apparatus of claim 10 wherein said fiber collimators are arranged in a two-dimensional array.
12. The wavelength-separating-routing apparatus of claim 1 wherein each channel micromirror is a silicon micromachined mirror.
13. The wavelength-separating-routing apparatus of claim 1 wherein said fiber collimators are arranged in a one-dimensional array.
14. The wavelength-separating-routing apparatus of claim 1 wherein said beam-focuser comprises a focusing lens having first and second focal points.
15. The wavelength-separating-routing apparatus of claim 14 wherein said wavelength-separator and said channel micromirrors are placed respectively at said first and second focal points of said focusing lens.
16. The wavelength-separating-routing apparatus of claim 1 wherein said beam-focuser comprises an assembly of lenses.
17. The wavelength-separating-routing apparatus of claim 1 wherein said wavelength-separator comprises an element selected from the group consisting of ruled diffraction gratings, halographic diffraction gratings, echelle gratings, curved diffraction gratings, and dispersing gratings.
18. The wavelength-separating-routing apparatus of claim 1 further comprising a quarter-wave plate optically interposed between said wavelength-separator and said channel micromirrors.
19. The wavelength-separating-routing apparatus of claim 1 wherein each output port carries a single one of said spectral channels.
20. The wavelength-separating-routing apparatus of claim 19 further comprising one or more optical sensors, optically coupled to said output ports.
21. A servo-based optical apparatus comprising:
a) multiple fiber collimators, providing an input port for a multi-wavelength optical signal and a plurality of output ports;
b) a wavelength-separator, for separating said multi-wavelength optical signal from said input port into multiple spectral channels;
c) a beam-focuser, for focusing said spectral channels into corresponding spectral spots; and
d) a spatial array of channel micromirrors positioned such that each channel micromirror receives one of said spectral channels, said channel micromirrors being individually controllable to reflect said spectral channels into selected ones of said output ports; and
e) a servo-control assembly, in communication with said channel micromirrors and said output ports, for maintaining a predetermined coupling of each reflected spectral channel into one of said output ports.
22. The servo-based optical apparatus of claim 21 wherein said servo-control assembly comprises a spectral monitor for monitoring power levels of said spectral channels coupled into said output ports, and a processing unit responsive to said power levels for providing control of said channel micromirrors.
23. The servo-based optical apparatus of claim 22 wherein said servo-control assembly maintains said power levels at a predetermined value.
24. The servo-based optical apparatus of claim 21 further comprising an array of collimator-alignment mirrors, in optical communication with said wavelength-separator and said fiber collimators, for adjusting an alignment of said multi-wavelength optical signal from said input port and directing said reflected spectral channels into said output ports.
25. The servo-based optical apparatus of claim 24 further comprising first and second arrays of imaging lenses, in a telecentric arrangement with said collimator-alignment mirrors and said fiber collimators.
26. The servo-based optical apparatus of claim 24 wherein each collimator-alignment mirror is rotatable about at least one axis.
27. The servo-based optical apparatus of claim 21 wherein each channel micromirror is continuously pivotable about at least one axis.
28. The servo-based optical apparatus of claim 21 wherein each channel micromirror is a silicon micromachined mirror.
29. The servo-based optical apparatus of claim 21 wherein said wavelength-separator comprises an element selected from the group consisting of ruled diffraction gratings, holographic diffraction gratings, echelle gratings, curved diffraction gratings, and dispersing prisms.
30. The servo-based optical apparatus of claim 21 wherein said beam-focuser comprises one or more lenses.
31. An optical apparatus comprising:
a) an array of fiber collimators, providing an input port for a multi-wavelength optical signal and a plurality of output ports;
b) a wavelength-separator, for separating said multi-wavelength optical signal from said input port into multiple spectral channels;
c) a beam-focuser, for focusing said spectral channels into corresponding spectral spots;
d) a spatial array of channel micromirrors positioned such that each channel micromirror receives one of said spectral channels, said channel micromirrors being individually and continuously controllable to reflect said spectral channels into selected ones of said output ports; and
e) a one-dimensional array of collimator-alignment mirrors, for adjusting an alignment of said multi-wavelength optical signal from said input port and directing said reflected spectral channels into said output ports.
32. The optical apparatus of claim 31 further comprising a servo-control assembly, in communication with said channel micromirrors, said collimator-alignment mirrors, and said output ports, for providing control of said channel micromirrors along with said collimator-alignment mirrors and thereby maintaining a predetermined coupling of each reflected spectral channel into one of said output ports.
33. The optical apparatus of claim 32 wherein said servo-control assembly comprises a spectral monitor for monitoring power levels of said spectral channels coupled into said output ports, and a processing unit responsive to said power levels for providing control of said channel micromirrors and said collimator-alignment mirrors.
34. The optical apparatus of claim 31 wherein each channel micromirror is continuously pivotable about at least one axis.
35. The optical apparatus of claim 31 wherein each collimator-alignment mirror is rotatable about at least one axis.
36. The optical apparatus of claim 31 further comprising first and second arrays of imaging lenses, in a telecentric arrangement with said collimator-alignment mirrors and said fiber collimators.
37. An optical apparatus comprising:
a) an array of fiber collimators, providing an input port for a multi-wavelength optical signal and a plurality of output ports;
b) a wavelength-separator, for separating said multi-wavelength optical signal from said input port into multiple spectral channels;
c) a beam-focuser, for focusing said spectral channels into corresponding spectral spots;
d) a spatial array of channel micromirrors positioned such that each channel micromirror receives one of said spectral channels, said channel micromirrors being individually and continuously controllable to reflect said spectral channels into selected ones of said output ports; and
e) a two-dimensional array of collimator-alignment mirrors, for adjusting an alignment of said multi-wavelength optical signal from said input port and directing said reflected spectral channels into said output ports.
38. The optical apparatus of claim 37 further comprising a servo-control assembly, in communication with said channel micromirrors, and collimator-alignment mirrors, and said output ports, for providing control of said channel micromirrors along with said collimator-alignment mirrors and thereby maintaining a predetermined coupling of each reflected spectral channel into one of said output ports.
39. The optical apparatus of claim 38 wherein said servo-control assembly comprises a spectral monitor for monitoring power levels of said spectral channels coupled into said output ports, and a processing unit responsive to said power levels for providing control of said channel micromirrors and said collimator-alignment mirrors.
40. The optical apparatus of claim 37 wherein each collimator-alignment mirror is rotatable about at least one axis.
41. The optical apparatus of claim 37 wherein each channel micromirror is continuously pivotable about at least one axis.
42. The optical apparatus of claim 41 wherein each channel micromirrors is pivotable about two axes, and wherein said fiber collimators are arranged in a two-dimensional array.
43. The optical apparatus of claim 37 further comprising first and second arrays of imaging lenses, in a telecentric arrangement with said collimator-alignment mirrors and said fiber collimators.
44. An optical system comprising a wavelength-separating-routing apparatus, wherein said wavelength-separating-routing apparatus includes:
a) an array of fiber collimators, providing an input port for a multi-wavelength optical signal and a plurality of output ports including a pass-through port and one or more drop ports;
b) a wavelength-separator, for separating said multi-wavelength optical signal from said input port into multiple spectral channels;
c) a beam-focuser, for focusing said spectral channels into corresponding spectral spots; and
d) a spatial array of channel micromirrors positioned such that each channel micromirror receives one of said spectral channels, said channel micromirrors being pivotal about two axes and being individually and continuously pivotable controllable to reflect said corresponding received spectral channels into any selected ones of said output ports and to control the power of said received spectral channels coupled into said output ports, whereby said pass-through port receives a subset of said spectral channels.
45. The optical system of claim 44 further comprising a servo-control assembly, in communication with said channel micromirrors and said output ports, for providing control of said channel micromirrors and thereby maintaining a predetermined coupling of each reflected spectral channel into one of said output ports.
46. The optical system of claim 45 wherein said servo-control assembly comprises a spectral monitor for monitoring power levels of said spectral channels coupled into said output ports, and a processing unit responsive to said power levels for providing control of said channel micromirrors.
47. The optical system of claim 44 further comprising an array of collimator-alignment mirrors, in optical communication with said wavelength-separator and said fiber collimators, for adjusting an alignment of said multi-wavelength optical signal from said input port and directing said reflected spectral channels into said output ports.
48. The optical system of claim 47 further comprising first and second arrays of imaging lenses, in a telecentric arrangement with said collimator-alignment mirrors and said fiber collimators.
49. The optical system of claim 47 wherein each collimator-alignment mirror is rotatable about at least one axis.
50. The optical system of claim 44 wherein each channel micromirror is pivotable about at least one axis.
51. The optical system of claim 44 wherein each channel micromirror is a silicon micromachined mirror.
52. The optical system of claim 44 wherein said beam-focuser comprises a focusing lens having first and second focal points, and wherein said wavelength-separator and said channel micromirrors are placed respectively at said first and second focal points.
53. The optical system of claim 44 wherein said wavelength-separator comprises an element selected from the group consisting of ruled diffraction gratings, holographic diffraction gratings, echelle gratings, curved diffraction gratings, and dispersing prisms.
54. The optical system of claim 44 further comprising a quarter-wave plate optically interposed between said wavelength-separator and said channel micromirrors.
55. The optical system of claim 44 further comprising an auxiliary wavelength-separating-routing apparatus, including:
a) multiple auxiliary fiber collimators, providing a plurality of auxiliary input ports and an exiting port;
b) an auxiliary wavelength-separator;
c) an auxiliary beam-focuser; and
d) a spatial array of auxiliary channel micromirrors;
wherein said subset of said spectral channels in said pass-through port and one or more add spectral channels are directed into said auxiliary input ports, and multiplexed into an output optical signal directed into said exiting port by way of said auxiliary wavelength-separator, said auxiliary beam-focuser and said auxiliary channel micromirrors.
56. The optical system of claim 55 wherein said auxiliary channel micromirrors are individually pivotable.
57. The optical system of claim 55 wherein each auxiliary channel micromirror is pivotable continuously about at least one axis.
58. The optical system of claim 55 wherein each auxiliary channel micromirror is a silicon micromachined mirror.
59. The optical system of claim 55 wherein said auxiliary wavelength-separator comprises an element selected from the group consisting of ruled diffraction gratings, holographic diffraction gratings, echelle gratings, curved diffraction gratings, and dispersing prisms.
60. The optical system of claim 55 wherein said pass-through port constitutes one of said auxiliary input ports.
61. A method of performing dynamic wavelength separating and routing, comprising:
a) receiving a multi-wavelength optical signal from an input port;
b) separating said multi-wavelength optical signal into multiple spectral channels;
c) focusing said spectral channels onto a spatial array of corresponding beam-deflecting elements, whereby each beam-deflecting element receives one of said spectral channels; and
d) dynamically and continuously controlling said beam-deflecting elements, thereby directing in two dimensions to direct said spectral channels into a plurality any selected ones of said output ports and to control the power of the spectral channels coupled into said selected output ports.
62. The method of claim 61 further comprising the step of providing feedback control of said beam-deflecting elements, thereby maintaining to maintain a predetermining coupling of each spectral channel directed into one of said output ports.
63. The method of claim 62 further comprising the step of maintaining power levels of said spectral channels directed into said output ports at a predetermining value.
64. The method of claim 61 wherein each spectral channel is directed into a separate output port.
65. The method of claim 61 wherein a subset of said spectral channels is directed into one of said output ports, thereby providing one or more pass-through spectral channels.
66. The method of claim 65 further comprising the step of multiplexing said pass-through spectral channels with one or more add spectral channels, so as to provide an output optical signal.
67. The method of claim 61 wherein said beam-deflecting elements comprise an array of silicon micromachined mirrors.
US12/815,930 2001-03-19 2010-06-15 Reconfigurable optical add-drop multiplexers with servo control and dynamic spectral power management capabilities Ceased USRE42678E1 (en)

Priority Applications (2)

Application Number Priority Date Filing Date Title
US12/815,930 USRE42678E1 (en) 2001-03-19 2010-06-15 Reconfigurable optical add-drop multiplexers with servo control and dynamic spectral power management capabilities
US16/023,183 USRE47906E1 (en) 2001-03-19 2018-06-29 Reconfigurable optical add-drop multiplexers with servo control and dynamic spectral power management capabilities

Applications Claiming Priority (4)

Application Number Priority Date Filing Date Title
US27721701P 2001-03-19 2001-03-19
US09/938,426 US6625346B2 (en) 2001-03-19 2001-08-23 Reconfigurable optical add-drop multiplexers with servo control and dynamic spectral power management capabilities
US11/027,586 USRE39397E1 (en) 2001-03-19 2004-12-31 Reconfigurable optical add-drop multiplexers with servo control and dynamic spectral power management capabilities
US12/815,930 USRE42678E1 (en) 2001-03-19 2010-06-15 Reconfigurable optical add-drop multiplexers with servo control and dynamic spectral power management capabilities

Related Parent Applications (1)

Application Number Title Priority Date Filing Date
US11/027,586 Reissue USRE39397E1 (en) 2001-03-19 2004-12-31 Reconfigurable optical add-drop multiplexers with servo control and dynamic spectral power management capabilities

Related Child Applications (1)

Application Number Title Priority Date Filing Date
US16/023,183 Reissue USRE47906E1 (en) 2001-03-19 2018-06-29 Reconfigurable optical add-drop multiplexers with servo control and dynamic spectral power management capabilities

Publications (1)

Publication Number Publication Date
USRE42678E1 true USRE42678E1 (en) 2011-09-06

Family

ID=44720436

Family Applications (11)

Application Number Title Priority Date Filing Date
US09/938,426 Ceased US6625346B2 (en) 2001-03-19 2001-08-23 Reconfigurable optical add-drop multiplexers with servo control and dynamic spectral power management capabilities
US10/005,714 Ceased US6687431B2 (en) 2001-03-19 2001-11-07 Reconfigurable optical add-drop multiplexers with servo control and dynamic spectral power management capabilities
US10/143,651 Ceased US6661948B2 (en) 2001-03-19 2002-05-08 Reconfigurable optical add and drop modules with servo control and dynamic spectral power management capabilities
US10/745,364 Ceased US6879750B2 (en) 2001-03-19 2003-12-22 Reconfigurable optical add-drop multiplexers with servo control and dynamic spectral power management capabilities
US11/027,587 Expired - Lifetime USRE39525E1 (en) 2001-03-19 2004-12-31 Reconfigurable optical add and drop modules with servo control and dynamic spectral power management capabilities
US11/027,584 Expired - Lifetime USRE39331E1 (en) 2001-03-19 2004-12-31 Reconfigurable optical add-drop multiplexers with servo control and dynamic spectral power management capabilities
US11/027,586 Ceased USRE39397E1 (en) 2001-03-19 2004-12-31 Reconfigurable optical add-drop multiplexers with servo control and dynamic spectral power management capabilities
US12/816,084 Ceased USRE42368E1 (en) 2001-03-19 2010-06-15 Reconfigurable optical add-drop multiplexers with servo control and dynamic spectral power management capabilities
US12/815,930 Ceased USRE42678E1 (en) 2001-03-19 2010-06-15 Reconfigurable optical add-drop multiplexers with servo control and dynamic spectral power management capabilities
US16/023,127 Expired - Lifetime USRE47905E1 (en) 2001-03-19 2018-06-29 Reconfigurable optical add-drop multiplexers with servo control and dynamic spectral power management capabilities
US16/023,183 Expired - Lifetime USRE47906E1 (en) 2001-03-19 2018-06-29 Reconfigurable optical add-drop multiplexers with servo control and dynamic spectral power management capabilities

Family Applications Before (8)

Application Number Title Priority Date Filing Date
US09/938,426 Ceased US6625346B2 (en) 2001-03-19 2001-08-23 Reconfigurable optical add-drop multiplexers with servo control and dynamic spectral power management capabilities
US10/005,714 Ceased US6687431B2 (en) 2001-03-19 2001-11-07 Reconfigurable optical add-drop multiplexers with servo control and dynamic spectral power management capabilities
US10/143,651 Ceased US6661948B2 (en) 2001-03-19 2002-05-08 Reconfigurable optical add and drop modules with servo control and dynamic spectral power management capabilities
US10/745,364 Ceased US6879750B2 (en) 2001-03-19 2003-12-22 Reconfigurable optical add-drop multiplexers with servo control and dynamic spectral power management capabilities
US11/027,587 Expired - Lifetime USRE39525E1 (en) 2001-03-19 2004-12-31 Reconfigurable optical add and drop modules with servo control and dynamic spectral power management capabilities
US11/027,584 Expired - Lifetime USRE39331E1 (en) 2001-03-19 2004-12-31 Reconfigurable optical add-drop multiplexers with servo control and dynamic spectral power management capabilities
US11/027,586 Ceased USRE39397E1 (en) 2001-03-19 2004-12-31 Reconfigurable optical add-drop multiplexers with servo control and dynamic spectral power management capabilities
US12/816,084 Ceased USRE42368E1 (en) 2001-03-19 2010-06-15 Reconfigurable optical add-drop multiplexers with servo control and dynamic spectral power management capabilities

Family Applications After (2)

Application Number Title Priority Date Filing Date
US16/023,127 Expired - Lifetime USRE47905E1 (en) 2001-03-19 2018-06-29 Reconfigurable optical add-drop multiplexers with servo control and dynamic spectral power management capabilities
US16/023,183 Expired - Lifetime USRE47906E1 (en) 2001-03-19 2018-06-29 Reconfigurable optical add-drop multiplexers with servo control and dynamic spectral power management capabilities

Country Status (1)

Country Link
US (11) US6625346B2 (en)

Cited By (2)

* Cited by examiner, † Cited by third party
Publication number Priority date Publication date Assignee Title
US20130336615A1 (en) * 2011-02-21 2013-12-19 Huawei Technologies Co., Ltd. Optical switch system and feedback control method of signal light
USRE47905E1 (en) * 2001-03-19 2020-03-17 Capella Photonics, Inc. Reconfigurable optical add-drop multiplexers with servo control and dynamic spectral power management capabilities

Families Citing this family (88)

* Cited by examiner, † Cited by third party
Publication number Priority date Publication date Assignee Title
US6760511B2 (en) 2001-03-19 2004-07-06 Capella Photonics, Inc. Reconfigurable optical add-drop multiplexers employing polarization diversity
US6636654B2 (en) * 2001-03-30 2003-10-21 Optical Research Associates Programmable optical switching add/drop multiplexer
CN1228655C (en) * 2001-04-03 2005-11-23 株式会社藤仓 Parallel light pipe lens, fibre parallel light pipe and optical component
US6956687B2 (en) * 2001-04-03 2005-10-18 Cidra Corporation Optical blocking filter having an array of micro-mirrors
US6657770B2 (en) * 2001-06-22 2003-12-02 Lucent Technologies Inc. Programmable optical multiplexer/demultiplexer
US6707959B2 (en) * 2001-07-12 2004-03-16 Jds Uniphase Inc. Wavelength switch
US7298540B2 (en) * 2001-08-22 2007-11-20 Avanex Corporation Equalizing optical wavelength routers
US6952510B1 (en) * 2001-08-31 2005-10-04 Nlight Photonics Corporation Optically corrected intracavity fiber coupled multigain element laser
US7016098B2 (en) * 2001-08-31 2006-03-21 Lucent Technologies Inc. Optical device with configurable channel allocation
GB0121308D0 (en) 2001-09-03 2001-10-24 Thomas Swan & Company Ltd Optical processing
US6900932B2 (en) * 2001-09-20 2005-05-31 Bayspec, Inc. Optical gain flattening filter using VPG-based optical elements
US6804428B1 (en) 2001-11-14 2004-10-12 Capella Photonics, Inc. Optical spectral power monitors employing polarization deversity scheme
CA2460975C (en) * 2001-09-20 2010-08-10 Capella Photonics, Inc. Free-space optical systems for wavelength switching and spectral monitoring applications
US6507685B1 (en) * 2001-09-20 2003-01-14 Capella Photonics, Inc. Method and apparatus for servo-based spectral array alignment in optical systems
WO2003027739A1 (en) * 2001-09-28 2003-04-03 Optical Research Associates Littrow grating based oadm
US7203421B2 (en) * 2001-09-28 2007-04-10 Optical Research Associates Littrow grating based OADM
US6909822B2 (en) * 2001-10-05 2005-06-21 General Atomics Wavelength separation elements for dense wavelength division multiplexing systems
US6753960B1 (en) * 2001-12-05 2004-06-22 Capella Photonics, Inc. Optical spectral power monitors employing frequency-division-multiplexing detection schemes
TW569048B (en) * 2001-12-31 2004-01-01 Delta Electronics Inc Reconfigurable optical add/drop multiplexer
US20040208584A1 (en) * 2002-01-29 2004-10-21 Keller Robert C. Reconfigurable optical add-drop multiplexer using an analog mirror device
AU2003236545A1 (en) * 2002-06-12 2003-12-31 Optical Research Associates Wavelength selective optical switch
AU2003254156A1 (en) * 2002-07-23 2004-02-09 Optical Research Associates East-west separable, reconfigurable optical add/drop multiplexer
WO2004015469A1 (en) * 2002-08-08 2004-02-19 The Regents Of The University Of California Wavelength-selective 1xn2 switches with two-dimensional input/output fiber arrays
US6825981B2 (en) * 2002-10-10 2004-11-30 Sumitomo Electric Industries, Ltd. Optical signal processor
US7043110B1 (en) * 2002-12-10 2006-05-09 Silicon Light Machines Corporation Wavelength-selective switch and equalizer
US7203398B2 (en) * 2003-03-20 2007-04-10 Texas Instruments Incorporated Compact DMD-based optical module
CA2523555A1 (en) * 2003-04-25 2004-11-11 Nikon Corporation Attenuator device and optical switching device
US7187485B2 (en) * 2003-07-31 2007-03-06 Corning Incorporated Integrated continuous spectrum spatial light modulator
US7184666B1 (en) 2003-10-01 2007-02-27 Ciena Corporation Reconfigurable optical add-drop multiplexer
CN1890903A (en) * 2003-12-11 2007-01-03 西门子公司 Arrangement for the compensation of raman scattering
US6909819B1 (en) * 2004-04-16 2005-06-21 Capella Photonics, Inc. System and method for canceling disturbance MEMS devices
US7277607B2 (en) * 2004-04-19 2007-10-02 Sumitomo Electric Industries, Ltd. Optical multiplexer/demultiplexer, optical device, and optical transmission system
WO2005119313A2 (en) 2004-05-29 2005-12-15 Polatis Ltd Optical switches & actuators
US7787720B2 (en) * 2004-09-27 2010-08-31 Optium Australia Pty Limited Wavelength selective reconfigurable optical cross-connect
JP4530805B2 (en) * 2004-11-02 2010-08-25 富士通株式会社 Optical switch and optical transmission device
US8204374B2 (en) * 2004-12-10 2012-06-19 Ciena Corporation Reconfigurable multichannel (WDM) optical ring network with optical shared protection
US7539371B2 (en) 2005-04-11 2009-05-26 Capella Photonics, Inc. Optical apparatus with reduced effect of mirror edge diffraction
US7362930B2 (en) * 2005-04-11 2008-04-22 Capella Photonics Reduction of MEMS mirror edge diffraction in a wavelength selective switch using servo-based rotation about multiple non-orthogonal axes
US7346234B2 (en) * 2005-04-11 2008-03-18 Capella Photonics Reduction of MEMS mirror edge diffraction in a wavelength selective switch using servo-based multi-axes rotation
US7352927B2 (en) 2005-04-11 2008-04-01 Capella Photonics Optical add-drop multiplexer architecture with reduced effect of mirror edge diffraction
US7263253B2 (en) * 2005-04-11 2007-08-28 Capella Photonics, Inc. Optimized reconfigurable optical add-drop multiplexer architecture with MEMS-based attenuation or power management
US7756368B2 (en) * 2005-04-11 2010-07-13 Capella Photonics, Inc. Flex spectrum WSS
US20060262304A1 (en) * 2005-04-22 2006-11-23 Keith Carron Apparatus for automated real-time material identification
JP2007010966A (en) * 2005-06-30 2007-01-18 Olympus Corp Optical switch apparatus
FR2889318B1 (en) * 2005-07-26 2007-12-28 Commissariat Energie Atomique RECONFIGURABLE OPTICAL BEAM PROCESSING DEVICE
US7567756B2 (en) * 2005-08-03 2009-07-28 Capella Photonics Method of automatic adjustment of dither amplitude of MEMS mirror arrays
US7289697B2 (en) * 2005-09-27 2007-10-30 Lucent Technologies Inc. Optical pulse shaper having hybrid planar lightwave circuit and free-space optics with MEMS piston-motion micromirrors and feedback control
US20080174777A1 (en) * 2006-04-11 2008-07-24 University Of Wyoming Spectrometers using 2-dimensional microelectromechanical digital micromirror devices
JP2008051992A (en) * 2006-08-24 2008-03-06 Olympus Corp Micro mirror array device
US7769255B2 (en) * 2006-11-07 2010-08-03 Olympus Corporation High port count instantiated wavelength selective switch
US7702194B2 (en) * 2006-11-07 2010-04-20 Olympus Corporation Beam steering element and associated methods for manifold fiberoptic switches
US7873246B2 (en) * 2006-11-07 2011-01-18 Olympus Corporation Beam steering element and associated methods for manifold fiberoptic switches and monitoring
US8000568B2 (en) * 2006-11-07 2011-08-16 Olympus Corporation Beam steering element and associated methods for mixed manifold fiberoptic switches
US7720329B2 (en) * 2006-11-07 2010-05-18 Olympus Corporation Segmented prism element and associated methods for manifold fiberoptic switches
US8131123B2 (en) * 2006-11-07 2012-03-06 Olympus Corporation Beam steering element and associated methods for manifold fiberoptic switches and monitoring
JP4729473B2 (en) * 2006-11-30 2011-07-20 富士通株式会社 Light switch
KR100908239B1 (en) * 2006-12-06 2009-07-20 한국전자통신연구원 Channel Pass / Coupling Optical Module and Channel Pass / Coupling Method in OMD Node Using the Same
US7920794B1 (en) 2007-01-05 2011-04-05 Lockheed Martin Corporation Free space optical communication
US7885548B1 (en) 2007-01-24 2011-02-08 Lockheed Martin Corporation Free space optical communication
DE102007004514A1 (en) 2007-01-24 2008-07-31 Schleifring Und Apparatebau Gmbh Two-channel multimode rotary transmitter
DE102007004517A1 (en) * 2007-01-24 2008-07-31 Schleifring Und Apparatebau Gmbh Two-channel multimode rotary transformer
JP4651635B2 (en) * 2007-03-29 2011-03-16 富士通株式会社 Wavelength selective switch
US8351789B2 (en) * 2007-07-23 2013-01-08 Nistica, Inc. High resolution digital optical encoder/decoder
US8086080B2 (en) * 2007-07-23 2011-12-27 Nistica, Inc. Multiple function digital optical switch
US7574079B1 (en) 2007-10-05 2009-08-11 Tremaine Brian P Exogenous tone dither rejection in optical switching
US8135280B2 (en) * 2007-10-08 2012-03-13 Nec Laboratories America, Inc. Method and system for power stability control in wavelength division multiplexing networks
KR100899808B1 (en) 2007-11-01 2009-05-28 한국전자통신연구원 Wavelength selective switch
US8301032B2 (en) * 2008-02-12 2012-10-30 Arun Kumar Majumdar Wide field-of-view amplified fiber-retro for secure high data rate communications and remote data transfer
US8190025B2 (en) * 2008-02-28 2012-05-29 Olympus Corporation Wavelength selective switch having distinct planes of operation
US7912331B1 (en) 2008-07-15 2011-03-22 Capella Photonics, Inc. Integrated fiber collimator and passive components
JP5040842B2 (en) * 2008-07-24 2012-10-03 富士通株式会社 Wavelength selective switch
US8948592B2 (en) * 2009-02-27 2015-02-03 Jds Uniphase Corporation Method for auto-configuration of a wavelength selective switch in an optical network
JP5299209B2 (en) * 2009-10-14 2013-09-25 富士通株式会社 Wavelength selective switch and optical transmission device
JP5537260B2 (en) * 2010-05-25 2014-07-02 ジェイディーエス ユニフェイズ コーポレーション Wavelength selective switch
US8315490B1 (en) 2010-06-22 2012-11-20 Capella Photonics, Inc. Port array topology for high port count wavelength selective switch
EP2707766A4 (en) 2011-05-10 2015-07-08 Invensys Sys Inc MULTIPOINT OPTICAL COMMUNICATION
US8890072B2 (en) * 2011-12-08 2014-11-18 Raytheon Company Advance spatial and spectral target generation for hardware in the loop systems
US9008470B2 (en) 2012-01-30 2015-04-14 Huawei Technologies Co., Ltd. Method and apparatus for wavelength selective switch
US9235097B2 (en) 2012-02-03 2016-01-12 Micron Technology, Inc. Active alignment of optical fiber to chip using liquid crystals
US9188831B2 (en) * 2012-02-17 2015-11-17 Alcatel Lucent Compact wavelength-selective cross-connect device having multiple input ports and multiple output ports
US9369783B2 (en) 2012-02-17 2016-06-14 Alcatel Lucent Wavelength-selective cross-connect device having astigmatic optics
GB2504970A (en) 2012-08-15 2014-02-19 Swan Thomas & Co Ltd Optical device and methods to reduce cross-talk
US20140341504A1 (en) * 2013-05-16 2014-11-20 Alcatel-Lucent Usa Inc. Optical cross-connect switch with configurable optical input/output ports
CN105409140B (en) * 2014-04-22 2017-12-08 华为技术有限公司 Apparatus and method for optical communication
CN106162384B (en) * 2015-04-03 2020-02-21 华为技术有限公司 Roaming authentication method for optical network access equipment and related equipment
CN108169858B (en) * 2018-01-08 2020-01-17 贝耐特光学科技(昆山)有限公司 Multi-wavelength selection switch
CN112526678B (en) 2019-09-17 2022-05-24 华为技术有限公司 Spectrum processing device and reconfigurable optical add-drop multiplexer
CN112636141B (en) * 2020-12-18 2022-05-31 中国工程物理研究院上海激光等离子体研究所 Self-adaptive spectrum synthesis system

Citations (27)

* Cited by examiner, † Cited by third party
Publication number Priority date Publication date Assignee Title
US5414540A (en) 1993-06-01 1995-05-09 Bell Communications Research, Inc. Frequency-selective optical switch employing a frequency dispersive element, polarization dispersive element and polarization modulating elements
US5629790A (en) * 1993-10-18 1997-05-13 Neukermans; Armand P. Micromachined torsional scanner
US5745271A (en) 1996-07-31 1998-04-28 Lucent Technologies, Inc. Attenuation device for wavelength multiplexed optical fiber communications
US5835458A (en) * 1994-09-09 1998-11-10 Gemfire Corporation Solid state optical data reader using an electric field for routing control
US5960133A (en) * 1998-01-27 1999-09-28 Tellium, Inc. Wavelength-selective optical add/drop using tilting micro-mirrors
US5974207A (en) * 1997-12-23 1999-10-26 Lucent Technologies, Inc. Article comprising a wavelength-selective add-drop multiplexer
US6028689A (en) 1997-01-24 2000-02-22 The United States Of America As Represented By The Secretary Of The Air Force Multi-motion micromirror
US6205269B1 (en) * 1999-04-06 2001-03-20 Ciena Corporation Optical add/drop multiplexer
US6204946B1 (en) * 1997-08-21 2001-03-20 Lucent Technologies Inc. Reconfigurable wavelength division multiplex add/drop device using micromirrors
US6222954B1 (en) * 1999-09-17 2001-04-24 Light Bytes, Inc. Fault-tolerant fiber-optical beam control modules
US6253135B1 (en) 2000-02-10 2001-06-26 International Business Machines Corporation Power window regulator for automobiles
US6256430B1 (en) 1998-11-23 2001-07-03 Agere Systems Inc. Optical crossconnect system comprising reconfigurable light-reflecting devices
US6263135B1 (en) * 1997-12-13 2001-07-17 Lightchip, Inc. Wavelength division multiplexing/demultiplexing devices using high index of refraction crystalline lenses
US6289155B1 (en) * 1997-12-13 2001-09-11 Lightchip, Inc. Wavelength division multiplexing/demultiplexing devices using dual high index of refraction crystalline lenses
US6307657B1 (en) 1998-07-17 2001-10-23 Lucent Technologies Inc. Optomechanical platform
US6418250B1 (en) * 2000-02-28 2002-07-09 Corning Incorporated Apparatus and method of making a blockless optical multiplexing device
US20020131691A1 (en) * 2001-03-19 2002-09-19 Garrett Mark H. Reconfigurable optical add-drop multiplexers employing polarization diversity
US6498872B2 (en) 2000-02-17 2002-12-24 Jds Uniphase Inc. Optical configuration for a dynamic gain equalizer and a configurable add/drop multiplexer
US20030043471A1 (en) * 2001-08-29 2003-03-06 Belser Karl Arnold Free-space dynamic wavelength routing systems with interleaved channels for enhanced performance
US6567574B1 (en) 2000-10-06 2003-05-20 Omm, Inc. Modular three-dimensional optical switch
US6600851B2 (en) 2001-01-05 2003-07-29 Agere Systems Inc. Electrostatically actuated micro-electro-mechanical system (MEMS) device
US6625346B2 (en) * 2001-03-19 2003-09-23 Capella Photonics, Inc. Reconfigurable optical add-drop multiplexers with servo control and dynamic spectral power management capabilities
US6631222B1 (en) 2000-05-16 2003-10-07 Photuris, Inc. Reconfigurable optical switch
US6634810B1 (en) 1999-10-08 2003-10-21 Lucent Technologies Inc. Free-space multi-port wavelength router with broad wavelength passbands
US6898348B2 (en) 2000-12-04 2005-05-24 Jds Uniphase Corporation Spectral power equalizer for wavelength-multiplexed optical fiber communication links
US6989921B2 (en) 2000-08-27 2006-01-24 Corning Incorporated Magnetically actuated micro-electro-mechanical apparatus and method of manufacture
US7183633B2 (en) 2001-03-01 2007-02-27 Analog Devices Inc. Optical cross-connect system

Family Cites Families (76)

* Cited by examiner, † Cited by third party
Publication number Priority date Publication date Assignee Title
US4367040A (en) 1979-05-29 1983-01-04 Tokyo Shibaura Denki Kabushiki Kaisha Multi-channel optical sensing system
DE3446726A1 (en) 1984-12-21 1986-06-26 Fa. Carl Zeiss, 7920 Heidenheim OPTICAL ARRANGEMENT WITH A CONCAVE MIRROR OR CONCAVE GRID
US4839884A (en) 1988-03-04 1989-06-13 General Electric Company Multiple wavelength optical source and multiplexed light communication system
US5233405A (en) 1991-11-06 1993-08-03 Hewlett-Packard Company Optical spectrum analyzer having double-pass monochromator
JPH05224158A (en) 1992-02-14 1993-09-03 Matsushita Electric Ind Co Ltd Optical filter and optical amplification device using the optical filter
US5477350A (en) 1993-06-01 1995-12-19 General Electric Company Interferometric spatial switch for polarized or unpolarized light using liquid crystal
US5526155A (en) 1993-11-12 1996-06-11 At&T Corp. High-density optical wavelength division multiplexing
US6732358B1 (en) * 1994-03-24 2004-05-04 Ncr Corporation Automatic updating of computer software
US5600851A (en) 1994-05-26 1997-02-11 Mcleod; James M. Necktie construction
US5740288A (en) 1995-02-22 1998-04-14 E-Tek Dynamics, Inc. Variable polarization beam splitter, combiner and mixer
JPH08314836A (en) * 1995-05-19 1996-11-29 Hitachi Ltd Management service object provision method
US5875272A (en) 1995-10-27 1999-02-23 Arroyo Optics, Inc. Wavelength selective optical devices
US5661591A (en) 1995-09-29 1997-08-26 Texas Instruments Incorporated Optical switch having an analog beam for steering light
US5936752A (en) 1996-05-28 1999-08-10 Lucent Technologies, Inc. WDM source for access applications
US5847831A (en) 1996-05-29 1998-12-08 Bell Communcations Research, Inc. Apparatus for monitoring the state of a liquid-crystal polarization
US5872880A (en) 1996-08-12 1999-02-16 Ronald S. Maynard Hybrid-optical multi-axis beam steering apparatus
US5881199A (en) 1996-12-02 1999-03-09 Lucent Technologies Inc. Optical branching device integrated with tunable attenuators for system gain/loss equalization
US5868480A (en) 1996-12-17 1999-02-09 Compaq Computer Corporation Image projection apparatus for producing an image supplied by parallel transmitted colored light
TW373083B (en) * 1996-12-20 1999-11-01 Corning Inc Reflective coupling array for optical waveguide
US6097859A (en) 1998-02-12 2000-08-01 The Regents Of The University Of California Multi-wavelength cross-connect optical switch
US5859717A (en) 1997-02-14 1999-01-12 Corning Oca Corporation Multiplexing device with precision optical block
US6069719A (en) 1997-07-30 2000-05-30 Ciena Corporation Dynamically reconfigurable optical add-drop multiplexers for WDM optical communication systems
US6134359A (en) 1997-11-24 2000-10-17 Jds Uniphase Inc. Optical multiplexing/demultiplexing device having a wavelength dispersive element
US6018603A (en) 1997-09-05 2000-01-25 Lundgren; Kent R. Optical demultiplexing/multiplexing device having a wavelength dependent element
US6172777B1 (en) 1997-09-23 2001-01-09 Lsa, Inc. Optical interconnection for holographic memories and method for using the same
US5867264A (en) 1997-10-15 1999-02-02 Pacific Advanced Technology Apparatus for image multispectral sensing employing addressable spatial mask
US6011884A (en) 1997-12-13 2000-01-04 Lightchip, Inc. Integrated bi-directional axial gradient refractive index/diffraction grating wavelength division multiplexer
US6193376B1 (en) 1998-02-27 2001-02-27 Minolta Co., Ltd. Display apparatus
EP0942267B1 (en) 1998-03-11 2006-08-30 Gretag-Macbeth AG Spectrometer
US6208345B1 (en) * 1998-04-15 2001-03-27 Adc Telecommunications, Inc. Visual data integration system and method
US5943158A (en) 1998-05-05 1999-08-24 Lucent Technologies Inc. Micro-mechanical, anti-reflection, switched optical modulator array and fabrication method
MXPA00012022A (en) 1998-06-05 2003-04-22 Astarte Fiber Networks Inc Mirror based fiber optic switch and control system.
US6178284B1 (en) 1998-09-30 2001-01-23 Lucent Technologies, Inc. Variable single-mode attenuators by spatial interference
JP4286351B2 (en) 1998-11-13 2009-06-24 富士通株式会社 Optical add / drop circuit
US6343862B1 (en) 1998-11-20 2002-02-05 Minolta Co., Ltd. Projecting image display device
US20010039594A1 (en) * 1999-02-03 2001-11-08 Park Britt H. Method for enforcing workflow processes for website development and maintenance
US6178033B1 (en) 1999-03-28 2001-01-23 Lucent Technologies Micromechanical membrane tilt-mirror switch
US6415070B1 (en) * 1999-03-31 2002-07-02 International Business Machines Corporation Method and apparatus for switching optical signals within an optoelectric computer network
US6263127B1 (en) * 1999-05-13 2001-07-17 Lucent Technologies Inc. Free-space/arrayed-waveguide router
US6721713B1 (en) * 1999-05-27 2004-04-13 Andersen Consulting Llp Business alliance identification in a web architecture framework
US6243507B1 (en) 1999-06-07 2001-06-05 At&T Corp. Connection-verification in optical MEMS crossconnects via mirror-dither
US6285500B1 (en) 1999-06-29 2001-09-04 Corning Incorporated Wavelength selective switch
US6275623B1 (en) 1999-07-12 2001-08-14 Corning Incorporated Dynamically configurable spectral filter
US6169624B1 (en) 1999-08-11 2001-01-02 Asif A. Godil Achromatic optical modulators
US6304692B1 (en) 1999-09-03 2001-10-16 Zolo Technologies, Inc. Echelle grating dense wavelength division multiplexer/demultiplexer with two dimensional single channel array
US6507421B1 (en) 1999-10-08 2003-01-14 Lucent Technologies Inc. Optical monitoring for OXC fabric
US6697825B1 (en) * 1999-11-05 2004-02-24 Decentrix Inc. Method and apparatus for generating and modifying multiple instances of element of a web site
US6798992B1 (en) 1999-11-10 2004-09-28 Agere Systems Inc. Method and device for optically crossconnecting optical signals using tilting mirror MEMS with drift monitoring feature
US6501877B1 (en) 1999-11-16 2002-12-31 Network Photonics, Inc. Wavelength router
US6928244B1 (en) 1999-12-20 2005-08-09 At&T Corp. System and method of wavelength add/drop multiplexing having client configurability
US6345133B1 (en) 1999-12-23 2002-02-05 Jds Uniphase Corporation Functional device based on focusing-concave gratings for multi-wavelength channel manipulation
US6625340B1 (en) 1999-12-29 2003-09-23 Nortel Networks Limited Optical switch attenuator
US6253001B1 (en) * 2000-01-20 2001-06-26 Agilent Technologies, Inc. Optical switches using dual axis micromirrors
US7023604B2 (en) * 2000-03-25 2006-04-04 Analog Devices, Inc. Three dimensional optical switches and beam steering modules
US6415073B1 (en) * 2000-04-10 2002-07-02 Lightchip, Inc. Wavelength division multiplexing/demultiplexing devices employing patterned optical components
US6453087B2 (en) 2000-04-28 2002-09-17 Confluent Photonics Co. Miniature monolithic optical add-drop multiplexer
US6381387B1 (en) * 2000-08-02 2002-04-30 Networks Photonics, Inc. Athermalization of a wavelength routing element
WO2002025358A2 (en) 2000-09-22 2002-03-28 Movaz Networks, Inc. Variable transmission multi-channel optical switch
US6442307B1 (en) 2000-11-03 2002-08-27 Lucent Technologies Inc. Solder-packaged optical MEMs device and method for making the same
US20020081070A1 (en) 2000-11-30 2002-06-27 Tew Claude E. Micromirror wavelength equalizer
US6560020B1 (en) * 2001-01-16 2003-05-06 Holotek, Llc Surface-relief diffraction grating
US6625350B2 (en) * 2001-01-22 2003-09-23 Osaki Electric Co., Ltd. Fiber collimator array
US6543286B2 (en) 2001-01-26 2003-04-08 Movaz Networks, Inc. High frequency pulse width modulation driver, particularly useful for electrostatically actuated MEMS array
US6603894B1 (en) * 2001-01-26 2003-08-05 Tellium, Inc. MEMS mirror arrays and external lens system in an optical switch
US20020105692A1 (en) 2001-02-07 2002-08-08 Richard Lauder Hierarchical WDM in client-server architecture
US6549699B2 (en) 2001-03-19 2003-04-15 Capella Photonics, Inc. Reconfigurable all-optical multiplexers with simultaneous add-drop capability
US6973626B1 (en) * 2001-06-22 2005-12-06 I2 Technologies Us, Inc. Automatically generating graphical user interface elements at a client system according to a current configuration model
US6657770B2 (en) 2001-06-22 2003-12-02 Lucent Technologies Inc. Programmable optical multiplexer/demultiplexer
US6950609B2 (en) 2001-06-22 2005-09-27 Lucent Technologies Inc. Tunable, multi-port optical add-drop multiplexer
US6842549B2 (en) * 2001-08-20 2005-01-11 Texas Instruments Incorporated Optical system and method
US6439728B1 (en) 2001-08-28 2002-08-27 Network Photonics, Inc. Multimirror stack for vertical integration of MEMS devices in two-position retroreflectors
US6984917B2 (en) 2002-06-06 2006-01-10 Lucent Technologies Inc. Optical element having two axes of rotation for use in tightly spaced mirror arrays
US6768571B2 (en) 2002-09-30 2004-07-27 Lucent Technologies Inc. Orientation stabilization for MEMS devices
JP4393774B2 (en) * 2003-02-28 2010-01-06 株式会社日立製作所 Job management method, information processing system, program, and recording medium
US7676126B2 (en) 2007-12-12 2010-03-09 Jds Uniphase Corporation Optical device with non-equally spaced output ports
US8233794B2 (en) 2008-09-09 2012-07-31 Paul Colbourne Hitless MxN wavelength selective switch

Patent Citations (29)

* Cited by examiner, † Cited by third party
Publication number Priority date Publication date Assignee Title
US5414540A (en) 1993-06-01 1995-05-09 Bell Communications Research, Inc. Frequency-selective optical switch employing a frequency dispersive element, polarization dispersive element and polarization modulating elements
US5629790A (en) * 1993-10-18 1997-05-13 Neukermans; Armand P. Micromachined torsional scanner
US5835458A (en) * 1994-09-09 1998-11-10 Gemfire Corporation Solid state optical data reader using an electric field for routing control
US5745271A (en) 1996-07-31 1998-04-28 Lucent Technologies, Inc. Attenuation device for wavelength multiplexed optical fiber communications
US6028689A (en) 1997-01-24 2000-02-22 The United States Of America As Represented By The Secretary Of The Air Force Multi-motion micromirror
US6204946B1 (en) * 1997-08-21 2001-03-20 Lucent Technologies Inc. Reconfigurable wavelength division multiplex add/drop device using micromirrors
US6263135B1 (en) * 1997-12-13 2001-07-17 Lightchip, Inc. Wavelength division multiplexing/demultiplexing devices using high index of refraction crystalline lenses
US6289155B1 (en) * 1997-12-13 2001-09-11 Lightchip, Inc. Wavelength division multiplexing/demultiplexing devices using dual high index of refraction crystalline lenses
US5974207A (en) * 1997-12-23 1999-10-26 Lucent Technologies, Inc. Article comprising a wavelength-selective add-drop multiplexer
US5960133A (en) * 1998-01-27 1999-09-28 Tellium, Inc. Wavelength-selective optical add/drop using tilting micro-mirrors
US6307657B1 (en) 1998-07-17 2001-10-23 Lucent Technologies Inc. Optomechanical platform
US6256430B1 (en) 1998-11-23 2001-07-03 Agere Systems Inc. Optical crossconnect system comprising reconfigurable light-reflecting devices
US6205269B1 (en) * 1999-04-06 2001-03-20 Ciena Corporation Optical add/drop multiplexer
US6222954B1 (en) * 1999-09-17 2001-04-24 Light Bytes, Inc. Fault-tolerant fiber-optical beam control modules
US6634810B1 (en) 1999-10-08 2003-10-21 Lucent Technologies Inc. Free-space multi-port wavelength router with broad wavelength passbands
US6253135B1 (en) 2000-02-10 2001-06-26 International Business Machines Corporation Power window regulator for automobiles
US6498872B2 (en) 2000-02-17 2002-12-24 Jds Uniphase Inc. Optical configuration for a dynamic gain equalizer and a configurable add/drop multiplexer
US6810169B2 (en) 2000-02-17 2004-10-26 Jds Uniphase Inc. Wavelength switch with independent channel equalization
US6418250B1 (en) * 2000-02-28 2002-07-09 Corning Incorporated Apparatus and method of making a blockless optical multiplexing device
US6631222B1 (en) 2000-05-16 2003-10-07 Photuris, Inc. Reconfigurable optical switch
US6989921B2 (en) 2000-08-27 2006-01-24 Corning Incorporated Magnetically actuated micro-electro-mechanical apparatus and method of manufacture
US6567574B1 (en) 2000-10-06 2003-05-20 Omm, Inc. Modular three-dimensional optical switch
US6898348B2 (en) 2000-12-04 2005-05-24 Jds Uniphase Corporation Spectral power equalizer for wavelength-multiplexed optical fiber communication links
US6600851B2 (en) 2001-01-05 2003-07-29 Agere Systems Inc. Electrostatically actuated micro-electro-mechanical system (MEMS) device
US7183633B2 (en) 2001-03-01 2007-02-27 Analog Devices Inc. Optical cross-connect system
US6625346B2 (en) * 2001-03-19 2003-09-23 Capella Photonics, Inc. Reconfigurable optical add-drop multiplexers with servo control and dynamic spectral power management capabilities
US20020131691A1 (en) * 2001-03-19 2002-09-19 Garrett Mark H. Reconfigurable optical add-drop multiplexers employing polarization diversity
USRE39397E1 (en) * 2001-03-19 2006-11-14 Capella Photonics, Inc. Reconfigurable optical add-drop multiplexers with servo control and dynamic spectral power management capabilities
US20030043471A1 (en) * 2001-08-29 2003-03-06 Belser Karl Arnold Free-space dynamic wavelength routing systems with interleaved channels for enhanced performance

Cited By (4)

* Cited by examiner, † Cited by third party
Publication number Priority date Publication date Assignee Title
USRE47905E1 (en) * 2001-03-19 2020-03-17 Capella Photonics, Inc. Reconfigurable optical add-drop multiplexers with servo control and dynamic spectral power management capabilities
USRE47906E1 (en) * 2001-03-19 2020-03-17 Capella Photonics, Inc. Reconfigurable optical add-drop multiplexers with servo control and dynamic spectral power management capabilities
US20130336615A1 (en) * 2011-02-21 2013-12-19 Huawei Technologies Co., Ltd. Optical switch system and feedback control method of signal light
US8891915B2 (en) * 2011-02-21 2014-11-18 Huawei Technologies Co., Ltd. Optical switch system and feedback control method of signal light

Also Published As

Publication number Publication date
US20020131687A1 (en) 2002-09-19
USRE42368E1 (en) 2011-05-17
US20040136648A1 (en) 2004-07-15
US20020131698A1 (en) 2002-09-19
US6687431B2 (en) 2004-02-03
USRE47905E1 (en) 2020-03-17
USRE47906E1 (en) 2020-03-17
US6879750B2 (en) 2005-04-12
USRE39331E1 (en) 2006-10-10
USRE39525E1 (en) 2007-03-20
US6661948B2 (en) 2003-12-09
US6625346B2 (en) 2003-09-23
US20020131688A1 (en) 2002-09-19
USRE39397E1 (en) 2006-11-14

Similar Documents

Publication Publication Date Title
USRE47906E1 (en) Reconfigurable optical add-drop multiplexers with servo control and dynamic spectral power management capabilities
US6549699B2 (en) Reconfigurable all-optical multiplexers with simultaneous add-drop capability
USRE39515E1 (en) Reconfigurable optical add-drop multiplexers employing polarization diversity
EP1377858B1 (en) Reconfigurable optical add-drop multiplexers
AU2002255773A1 (en) Reconfigurable optical add-drop multiplexers
US7177496B1 (en) Optical spectral power monitors employing time-division-multiplexing detection schemes
US7164859B2 (en) Free-space dynamic wavelength routing systems with interleaved channels for enhanced performance
JP6609789B2 (en) Wavelength selective switch array
JP6068478B2 (en) Optical signal processor
US7676126B2 (en) Optical device with non-equally spaced output ports
CA2389622A1 (en) Wavelength router
US7529441B2 (en) Wavelength routing optical switch
CA2363624C (en) Optical switch

Legal Events

Date Code Title Description
AS Assignment

Owner name: DBD CREDIT FUNDING LLC; C/O FORTRESS INVESTMENT GROUP LLC, NEW YORK

Free format text: SECURITY AGREEMENT;ASSIGNOR:CAPELLA PHOTONICS, INC.;REEL/FRAME:031947/0056

Effective date: 20140108

Owner name: DBD CREDIT FUNDING LLC; C/O FORTRESS INVESTMENT GR

Free format text: SECURITY AGREEMENT;ASSIGNOR:CAPELLA PHOTONICS, INC.;REEL/FRAME:031947/0056

Effective date: 20140108

IPR Aia trial proceeding filed before the patent and appeal board: inter partes review

Free format text: TRIAL NO: IPR2014-01276

Opponent name: CISCO SYSTEMS, INC.

Effective date: 20140812

IPR Aia trial proceeding filed before the patent and appeal board: inter partes review

Free format text: TRIAL NO: IPR2015-00727

Opponent name: FUJITSU NETWORK COMMUNICATIONS, INC.

Effective date: 20150212

Free format text: TRIAL NO: IPR2015-00739

Opponent name: JDS UNIPHASE CORPORATION

Effective date: 20150214

REMI Maintenance fee reminder mailed
IPR Aia trial proceeding filed before the patent and appeal board: inter partes review

Free format text: TRIAL NO: IPR2015-00894

Opponent name: CIENA CORPORATION,CORIANT OPERATIONS, INC.,CORIANT

Effective date: 20150317

FPAY Fee payment

Year of fee payment: 12

SULP Surcharge for late payment

Year of fee payment: 11

IPR Aia trial proceeding filed before the patent and appeal board: inter partes review

Free format text: TRIAL NO: IPR2015-01971

Opponent name: CORIANT OPERATIONS, INC. ANDFUJITSU LIMITED

Effective date: 20150925

Free format text: TRIAL NO: IPR2015-01961

Opponent name: CIENA CORPORATION,CORIANT OPERATIONS, INC. (&#X020

Effective date: 20150924

RF Reissue application filed

Effective date: 20180629

IPRC Trial and appeal board: inter partes review certificate

Kind code of ref document: K1

Free format text: INTER PARTES REVIEW CERTIFICATE; TRIAL NO. IPR2014-01276, AUG. 12, 2015; TRIAL NO. IPR2015-00894, MAR. 17, 2015; TRIAL NO. IPR2015-00727, FEB. 12, 2015; TRIAL NO. IPR2015-01961, SEP. 24, 2015; TRIAL NO. IPR2015-00739, FEB. 14, 2015; TRIAL NO. IPR2015-01971, SEP. 25, 2015INTER PARTES REVIEW CERTIFICATE FOR PATENT RE42,678, ISSUED SEP. 6, 2011, APPL. NO. 12/815,930, JUN. 15, 2010INTER PARTES REVIEW CERTIFICATE ISSUED DEC. 10, 2018

Effective date: 20181210

RF Reissue application filed

Effective date: 20200313