USRE41038E1 - Securing device for transparent documents in a flatbed scanning system - Google Patents

Securing device for transparent documents in a flatbed scanning system Download PDF

Info

Publication number
USRE41038E1
USRE41038E1 US11/262,556 US26255605A USRE41038E US RE41038 E1 USRE41038 E1 US RE41038E1 US 26255605 A US26255605 A US 26255605A US RE41038 E USRE41038 E US RE41038E
Authority
US
United States
Prior art keywords
concave
securing
cover
frame
opening
Prior art date
Legal status (The legal status is an assumption and is not a legal conclusion. Google has not performed a legal analysis and makes no representation as to the accuracy of the status listed.)
Expired - Lifetime
Application number
US11/262,556
Inventor
Jenn-Tsair Tsai
Chieng-Ming Tsaur
Bill Chen
Current Assignee (The listed assignees may be inaccurate. Google has not performed a legal analysis and makes no representation or warranty as to the accuracy of the list.)
92104 LLC
Original Assignee
Individual
Priority date (The priority date is an assumption and is not a legal conclusion. Google has not performed a legal analysis and makes no representation as to the accuracy of the date listed.)
Filing date
Publication date
Application filed by Individual filed Critical Individual
Priority to US11/262,556 priority Critical patent/USRE41038E1/en
Application granted granted Critical
Publication of USRE41038E1 publication Critical patent/USRE41038E1/en
Assigned to TRANSPACIFIC OPTICS LLC reassignment TRANSPACIFIC OPTICS LLC ASSIGNMENT OF ASSIGNORS INTEREST (SEE DOCUMENT FOR DETAILS). Assignors: MUSTEK SYSTEMS, INC.
Assigned to INTELLECTUAL VENTURES ASSETS 109 LLC reassignment INTELLECTUAL VENTURES ASSETS 109 LLC NUNC PRO TUNC ASSIGNMENT (SEE DOCUMENT FOR DETAILS). Assignors: TRANSPACIFIC OPTICS LLC
Assigned to TRANSPACIFIC OPTICS LLC reassignment TRANSPACIFIC OPTICS LLC ASSIGNMENT OF ASSIGNORS INTEREST (SEE DOCUMENT FOR DETAILS). Assignors: MUSTEK SYSTEMS, INC.
Assigned to 92104 LLC reassignment 92104 LLC ASSIGNMENT OF ASSIGNORS INTEREST (SEE DOCUMENT FOR DETAILS). Assignors: INTELLECTUAL VENTURES ASSETS 109 LLC
Anticipated expiration legal-status Critical
Expired - Lifetime legal-status Critical Current

Links

Images

Classifications

    • HELECTRICITY
    • H04ELECTRIC COMMUNICATION TECHNIQUE
    • H04NPICTORIAL COMMUNICATION, e.g. TELEVISION
    • H04N1/00Scanning, transmission or reproduction of documents or the like, e.g. facsimile transmission; Details thereof
    • H04N1/04Scanning arrangements, i.e. arrangements for the displacement of active reading or reproducing elements relative to the original or reproducing medium, or vice versa
    • H04N1/10Scanning arrangements, i.e. arrangements for the displacement of active reading or reproducing elements relative to the original or reproducing medium, or vice versa using flat picture-bearing surfaces
    • HELECTRICITY
    • H04ELECTRIC COMMUNICATION TECHNIQUE
    • H04NPICTORIAL COMMUNICATION, e.g. TELEVISION
    • H04N2201/00Indexing scheme relating to scanning, transmission or reproduction of documents or the like, and to details thereof
    • H04N2201/04Scanning arrangements
    • H04N2201/0402Arrangements not specific to a particular one of the scanning methods covered by groups H04N1/04 - H04N1/207
    • H04N2201/0404Scanning transparent media, e.g. photographic film
    • YGENERAL TAGGING OF NEW TECHNOLOGICAL DEVELOPMENTS; GENERAL TAGGING OF CROSS-SECTIONAL TECHNOLOGIES SPANNING OVER SEVERAL SECTIONS OF THE IPC; TECHNICAL SUBJECTS COVERED BY FORMER USPC CROSS-REFERENCE ART COLLECTIONS [XRACs] AND DIGESTS
    • Y10TECHNICAL SUBJECTS COVERED BY FORMER USPC
    • Y10STECHNICAL SUBJECTS COVERED BY FORMER USPC CROSS-REFERENCE ART COLLECTIONS [XRACs] AND DIGESTS
    • Y10S353/00Optics: image projectors
    • Y10S353/05Transparency holder accessories

Definitions

  • the present invention generally relates to an apparatus for mounting transparent documents.
  • the present invention is a securing device for securing a transparent document during scanning processes in a flatbed scanner.
  • the flatbed scanner can scan colorful documentation and black-white documentation into computer files in order to preserve ordinary images or pictures.
  • the flatbed scanner can also scan particular transparent documents, such as slides or films, by changing the light path from other direction.
  • the transparent scanning operation can be well done in the same manner as ordinary scanning operation.
  • the sizes of the documents usually are regular sizes, such as A4, A3, Letter or B5.
  • the flatbed scanner is therefore comprising a document glass for positioning an original document to be scanned.
  • the user simply follows the instructions, such as placing the original document to a predetermined position of the document glass of the scanner, selecting a corresponding size of the original document, and setting parameters of the scanning conditions in a driver program.
  • the scanner will scan the original document by the settings.
  • the scanner is therefore able to scan different documents by acquiring different settings.
  • the sizes of transparent documents are regulated but differing from A3, A4, B4, or Letter size. Actually, the sizes of slides are much smaller than the area of the document glass.
  • the users can scan several transparent documents at one time in order to save scanning time. Problems are occurring by this kind of operation.
  • the user is usually unable to align several transparent documents on the document glass. Therefore, referring to FIG. 1 , it is necessary to preselect the positions of each transparent document from the selection feature provided by the driver program, before main scanning process. By this preselection, the scanner can scan the transparent documents. Nonetheless, the auxiliary process of preselecting transparent documents from the driver program consumes the operation time and causes user's inconvenience.
  • a driver software implementing an automatic transparent document locating feature is available on the market.
  • it still takes lots time to locate and scan the transparent documents. Because the sizes of transparent documents are regulated, it is still not efficient if a process of preselecting transparent documents' location is needed.
  • the locating device 2 is provided for the scanning process in a flatbed scanner.
  • the locating device 2 comprises a frame 22 and at least one opening 23 .
  • the frame 22 is positioned on the document glass 13 .
  • transparent documents are placed in the opening 23 (transparent documents not shown) in order.
  • start the scanning program by a predetermined scanning mode. The scanned images are then acquired.
  • the frame 22 of the locating device is usually made by soft plastic material. There are several openings as the similar size of transparent documents. However, there is not featured any fixation mechanism in the mentioned locating device. Therefore, the locating device cannot provide precise positions of transparent documents during scanning. Moreover, even though the size of transparent documents is regulated, the thickness of the frame of the transparent documents will vary in different framing brands. The variant thickness of the transparent document frames will cause diffusion of the scanned image because the scanner cannot precisely focus on transparent documents which have different thickness.
  • Taiwan Utility Patent Public of China Utility Patent No. 294,428, there is disclosed a fixation device.
  • the frame is placed into a holding member.
  • the holding member is then inserted to a dedicated scanner for transparent scanning process.
  • the holding member needs an upper and a lower portions for holding the frame.
  • the dedicated scanner must implement a particular apparatus in order to scan transparent documents via a particular method. This operation is too complicated and inconvenient to the user.
  • the transparent document is only secured by one clip, the transparent document is able to slip to another position. It causes differences between the actual transparent document position and predetermined position in the driver program. The actual transparent document position therefore cannot be acquired. Further, the focus of the scanner cannot be precisely achieved since the transparent documents are not fully secured in a predetermined position and at a fixed height.
  • the securing cell includes a concave for containing transparent documents such as a film. Besides, there is a cover able to close the concave in order to fix the transparent documents.
  • the scanner is able to directly scan the transparent documents by a predetermined scanning mode in order to save scanning time. Further, the present invention secures transparent documents at a fixed height. The scanner can scan transparent documents by a fixed focus. The scanning quality is therefore improved.
  • FIG. 1 is a general scheme of prior transparent document scanning process
  • FIG. 2 is another transparent document scanning process of prior art
  • FIG. 3A shows the assembly of the cover and the concave of the present invention
  • FIG. 3B shows the protrusion of the present invention
  • FIG. 3C shows the hole for the protrusion of the present invention
  • FIG. 4A shows the mounting clip and the mounting slot of the present invention
  • FIG. 4B shows the enlarged diagram of the cushion aperture of the present invention
  • FIG. 5A shows the open status of the cover of the present invention
  • FIG. 5B shows the transparent document being placed into the concave of the present invention.
  • FIG. 5C shows the close status of the cover of the present invention.
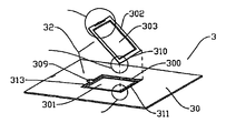
  • the transparent document securing device 3 for securing transparent documents on the document glass of the flatbed scanner.
  • the transparent document securing device 3 includes a frame 30 and at least one securing cell 32 which is located in the frame 30 .
  • the frame 30 can be placed on the document glass of the flatbed scanner, as the convention method illustrated in FIG. 2 .
  • the securing cell 32 comprises a concave 300 and a cover 302 .
  • the concave 300 is larger than a transparent document (not shown in FIG. 3 A). Therefore, the transparent document can be placed in the concave 300 .
  • the concave 300 further comprises a first opening 301 which is smaller than the transparent document such as a regulated size of a film.
  • the first opening 301 is positioned in the central portion of the concave 300 .
  • the cover 302 further comprises a second opening 303 .
  • the second opening 303 is smaller than the transparent document.
  • the second opening 303 is positioned at the central portion of the cover 302 .
  • the area of the second opening 303 is same as the area of the first opening 301 in order to let the light passing through.
  • the cover 302 in order to open and close the cover 302 in the concave 300 , the cover 302 contains two protrusions 307 in the first side 310 . There are also two holes 308 in the first side 311 of the concave 300 . The protrusions 307 of the cover 302 can be placed in the holes 308 . Therefore, the first side 310 of the cover 302 can contact linearly with the first side 311 of the concave 300 . Thus, the cover 302 can rotate along the first side 310 as an axis in the concave 300 .
  • FIGS. 4A and 4B show an embodiment to the mounting issue of the cover.
  • FIG. 4A demonstrates a mounting clip and a mounting slot.
  • FIG. 4B shows the cushion aperture.
  • the cover 302 includes a mounting clip 306 .
  • the mounting clip 306 extends along the surface of the cover 302 perpendicularly.
  • the concave 300 also includes a mounting slot 305 for receiving the mounting clip 306 .
  • the mounting clip 306 is made by elastic material. Therefore, when the cover 302 closes at the concave 300 , the mounting clip 306 will click on the mounting slot 305 smoothly.
  • the tip 320 of the mounting clip 306 will hook on the mounting slot 305 .
  • the cover 302 is therefore mounted on the concave 300 .
  • the cushion aperture 304 is further employed.
  • the cushion aperture 304 is located on the second side 312 of the cover 302 .
  • the second side 312 is parallel elastic along the cover 302 .
  • the mounting clip 306 is elastic.
  • the cover 302 is opened, the user can enforce the second side 312 slightly moved to the cover 302 .
  • the mounting clip 306 will therefore be moved slightly.
  • the tip 320 of the mounting clip 306 will be released from the mounting slot 305 .
  • the cover 302 is able to be opened and the transparent document is able to be removed.
  • the concave 300 further includes an open slot 309 .
  • the open slot 309 is located on the second side 313 of the concave 300 .
  • the purpose of the open slot 309 is for putting user's finger in the slot to enforce the second 312 of the cover 302 to the direction of the cover 302 .
  • the cover 302 is therefore easily removed to take the transparent document out of the concave 300 .
  • FIGS. 5A , 5 B and 5 C show the precesses of inserting a transparent document into a securing device, wherein the transparent document 4 could be a film, a regulated slide (such as A4, A5 or B5 sizes) or any document which the light can go through.
  • the securing cell 32 is selected to match the size of the transparent document 4 . If the size of the transparent document is much smaller than the securing frame 30 , there could be implemented many securing cells 32 in one securing frame 30 .
  • the concave 300 of the securing cell 32 should be larger than the transparent document 4 .
  • the first opening 301 of the concave 300 should be smaller than the transparent document 4 .
  • the first opening 301 of the concave 300 should be large enough to let the light be transmitted through.
  • the user can close the cover 302 .
  • a clip mechanism 315 is employed to secure the cover 302 in the concave 300 .
  • the transparent document 4 is also mounted in the concave 300 . Therefore, the user directly places the securing device 3 in the document glass of a scanning machine. Further the scanning is processed by a predetermined mode. Moreover, the scanning mode is adjusted by referencing the depth of the concave 300 of the securing cell 32 in order to obtain a clear and precise scanning result.
  • the securing frame 30 could be designed the same size as the document glass, such as shown in FIG. 2 .
  • the user can easily place securing frame 30 on the document glass of a scanner. In this concern, the misplacement of the securing frame 30 would be avoided and the scanner would scan right positions of the transparent documents.
  • the thickness of the cover 302 is usually not larger than the sums of the depth of the concave 300 and the general thickness of the transparent document.
  • the securing device 3 can be molded as one piece to reduce the cost and processes of manufacture. By this way, the cost is down and the manufacturing steps are simplified to benefit the competition on the market.

Landscapes

  • Engineering & Computer Science (AREA)
  • Multimedia (AREA)
  • Signal Processing (AREA)
  • Facsimile Scanning Arrangements (AREA)

Abstract

A transparent document securing device, using in a flatbed scanner, includes a securing frame. The securing frame comprises at least a securing cell, wherein the securing cell further includes a concave, a cover and a clip mechanism. The concave includes a least a first opening and an open slot. The cover includes at least a second opening. The securing device employs the cover to mount a transparent document in a concave. A user is therefore be able to place the securing device along with the transparent document in the document glass of a scanning system. By a predetermined mode, the scanning system is able to directly scan the transparent document; no need to preview the scanned image to adjust the scanning area. Thus, the time for scanning is saved. Further the fixed depth of the concave is utilized to proved a precise focus of the scanning system. The quality of the scanned image is therefore improved.

Description

This application is a continuation of Application Ser. No. 09/586,566 filed Jun. 2, 2000, now abandoned.
BACKGROUND OF THE INVENTION
1. Field of the Invention
The present invention generally relates to an apparatus for mounting transparent documents. Specifically, the present invention is a securing device for securing a transparent document during scanning processes in a flatbed scanner.
2. Background Description
Nowadays flatbed scanners are fully developed computer accessories available on the consumer market. The flatbed scanner can scan colorful documentation and black-white documentation into computer files in order to preserve ordinary images or pictures. The flatbed scanner can also scan particular transparent documents, such as slides or films, by changing the light path from other direction. The transparent scanning operation can be well done in the same manner as ordinary scanning operation.
In the operation for scanning general colorful or black-white documents, the sizes of the documents usually are regular sizes, such as A4, A3, Letter or B5. The flatbed scanner is therefore comprising a document glass for positioning an original document to be scanned. Thus, for the regular sizes, the user simply follows the instructions, such as placing the original document to a predetermined position of the document glass of the scanner, selecting a corresponding size of the original document, and setting parameters of the scanning conditions in a driver program. The scanner will scan the original document by the settings. The scanner is therefore able to scan different documents by acquiring different settings.
However, in case of scanning transparent documents, for examples films, the sizes of transparent documents are regulated but differing from A3, A4, B4, or Letter size. Actually, the sizes of slides are much smaller than the area of the document glass. Thus, the users can scan several transparent documents at one time in order to save scanning time. Problems are occurring by this kind of operation. The user is usually unable to align several transparent documents on the document glass. Therefore, referring to FIG. 1, it is necessary to preselect the positions of each transparent document from the selection feature provided by the driver program, before main scanning process. By this preselection, the scanner can scan the transparent documents. Nonetheless, the auxiliary process of preselecting transparent documents from the driver program consumes the operation time and causes user's inconvenience.
To solve the above-mentioned problem, a driver software implementing an automatic transparent document locating feature is available on the market. However, it still takes lots time to locate and scan the transparent documents. Because the sizes of transparent documents are regulated, it is still not efficient if a process of preselecting transparent documents' location is needed.
Thus, there is a locating device provided for scanning original objects which have regulated sizes, for example, transparent documents. The locating device is provided for the scanning process in a flatbed scanner. Referring to FIG. 2, the locating device 2 comprises a frame 22 and at least one opening 23. First, the frame 22 is positioned on the document glass 13. Next, transparent documents are placed in the opening 23 (transparent documents not shown) in order. After placing down the cover 12, start the scanning program by a predetermined scanning mode. The scanned images are then acquired.
The frame 22 of the locating device is usually made by soft plastic material. There are several openings as the similar size of transparent documents. However, there is not featured any fixation mechanism in the mentioned locating device. Therefore, the locating device cannot provide precise positions of transparent documents during scanning. Moreover, even though the size of transparent documents is regulated, the thickness of the frame of the transparent documents will vary in different framing brands. The variant thickness of the transparent document frames will cause diffusion of the scanned image because the scanner cannot precisely focus on transparent documents which have different thickness.
In Taiwan Utility Patent (Republic of China Utility Patent) No. 294,428, there is disclosed a fixation device. Once a frame holds several transparent documents, the frame is placed into a holding member. The holding member is then inserted to a dedicated scanner for transparent scanning process. Thus, the holding member needs an upper and a lower portions for holding the frame. In addition, the dedicated scanner must implement a particular apparatus in order to scan transparent documents via a particular method. This operation is too complicated and inconvenient to the user. In addition, because the transparent document is only secured by one clip, the transparent document is able to slip to another position. It causes differences between the actual transparent document position and predetermined position in the driver program. The actual transparent document position therefore cannot be acquired. Further, the focus of the scanner cannot be precisely achieved since the transparent documents are not fully secured in a predetermined position and at a fixed height.
SUMMARY OF THE INVENTION
It is therefore an object of the present invention to provide an apparatus for securing transparent documents on a scanning system in order to acquire precise quality of scanned images.
According to the present invention, the securing cell includes a concave for containing transparent documents such as a film. Besides, there is a cover able to close the concave in order to fix the transparent documents. The scanner is able to directly scan the transparent documents by a predetermined scanning mode in order to save scanning time. Further, the present invention secures transparent documents at a fixed height. The scanner can scan transparent documents by a fixed focus. The scanning quality is therefore improved.
BRIEF DESCRIPTION OF THE DRAWINGS
The foregoing and other objects, aspects and advantages will be better understood from the following detailed description of a preferred embodiment of the invention with reference to the drawings, in which:
FIG. 1 is a general scheme of prior transparent document scanning process;
FIG. 2 is another transparent document scanning process of prior art;
FIG. 3A shows the assembly of the cover and the concave of the present invention;
FIG. 3B shows the protrusion of the present invention;
FIG. 3C shows the hole for the protrusion of the present invention;
FIG. 4A shows the mounting clip and the mounting slot of the present invention;
FIG. 4B shows the enlarged diagram of the cushion aperture of the present invention;
FIG. 5A shows the open status of the cover of the present invention;
FIG. 5B shows the transparent document being placed into the concave of the present invention; and
FIG. 5C shows the close status of the cover of the present invention.
DETAILED DESCRIPTION OF A PREFERRED EMBODIMENT OF THE INVENTION
The following shows further description of the best mode of the present invention.
Please referring to FIG. 3A, there is shown the transparent document securing device 3 for securing transparent documents on the document glass of the flatbed scanner. The transparent document securing device 3 includes a frame 30 and at least one securing cell 32 which is located in the frame 30. The frame 30 can be placed on the document glass of the flatbed scanner, as the convention method illustrated in FIG. 2. The securing cell 32 comprises a concave 300 and a cover 302. The concave 300 is larger than a transparent document (not shown in FIG. 3A). Therefore, the transparent document can be placed in the concave 300. The concave 300 further comprises a first opening 301 which is smaller than the transparent document such as a regulated size of a film. Usually, the first opening 301 is positioned in the central portion of the concave 300. During the scanning process, the light can be projected through the first opening 301. The cover 302 further comprises a second opening 303. The second opening 303 is smaller than the transparent document. Usually, the second opening 303 is positioned at the central portion of the cover 302. The area of the second opening 303 is same as the area of the first opening 301 in order to let the light passing through. When the cover 302 flaps to the concave 300, the first opening 301 and the second opening 303 are aligned. In this case, the light will pass through the transparent document to reflect the image of the transparent document.
On the other hand, please refer to FIGS. 3B and 3C, in order to open and close the cover 302 in the concave 300, the cover 302 contains two protrusions 307 in the first side 310. There are also two holes 308 in the first side 311 of the concave 300. The protrusions 307 of the cover 302 can be placed in the holes 308. Therefore, the first side 310 of the cover 302 can contact linearly with the first side 311 of the concave 300. Thus, the cover 302 can rotate along the first side 310 as an axis in the concave 300.
When the cover 302 closes at the concave 300, it would be better that the cover 302 can mount on the concave 300. Please refer to FIGS. 4A and 4B, the present invention shows an embodiment to the mounting issue of the cover. FIG. 4A demonstrates a mounting clip and a mounting slot. FIG. 4B shows the cushion aperture. The cover 302 includes a mounting clip 306. The mounting clip 306 extends along the surface of the cover 302 perpendicularly. The concave 300 also includes a mounting slot 305 for receiving the mounting clip 306. The mounting clip 306 is made by elastic material. Therefore, when the cover 302 closes at the concave 300, the mounting clip 306 will click on the mounting slot 305 smoothly. The tip 320 of the mounting clip 306 will hook on the mounting slot 305. In this case, the cover 302 is therefore mounted on the concave 300. When the users remove the transparent document from the concave 300, the cushion aperture 304 is further employed. The cushion aperture 304 is located on the second side 312 of the cover 302. Thus, the second side 312 is parallel elastic along the cover 302. In this case, the mounting clip 306 is elastic. When the cover 302 is opened, the user can enforce the second side 312 slightly moved to the cover 302. The mounting clip 306 will therefore be moved slightly. Then the tip 320 of the mounting clip 306 will be released from the mounting slot 305. The cover 302 is able to be opened and the transparent document is able to be removed.
On the purpose of the convenient usage to open the cover 302, the concave 300 further includes an open slot 309. The open slot 309 is located on the second side 313 of the concave 300. The purpose of the open slot 309 is for putting user's finger in the slot to enforce the second 312 of the cover 302 to the direction of the cover 302. The cover 302 is therefore easily removed to take the transparent document out of the concave 300.
For the detailed description of the present invention, please refer to FIGS. 5A, 5B and 5C. FIGS. 5A, 5B and 5C show the precesses of inserting a transparent document into a securing device, wherein the transparent document 4 could be a film, a regulated slide (such as A4, A5 or B5 sizes) or any document which the light can go through. However, the securing cell 32 is selected to match the size of the transparent document 4. If the size of the transparent document is much smaller than the securing frame 30, there could be implemented many securing cells 32 in one securing frame 30. The concave 300 of the securing cell 32 should be larger than the transparent document 4. However, the first opening 301 of the concave 300 should be smaller than the transparent document 4. The first opening 301 of the concave 300 should be large enough to let the light be transmitted through. After placing the transparent document 4 in the concave 300, the user can close the cover 302. A clip mechanism 315 is employed to secure the cover 302 in the concave 300. In this case, the transparent document 4 is also mounted in the concave 300. Therefore, the user directly places the securing device 3 in the document glass of a scanning machine. Further the scanning is processed by a predetermined mode. Moreover, the scanning mode is adjusted by referencing the depth of the concave 300 of the securing cell 32 in order to obtain a clear and precise scanning result.
In consideration of the convenient usage of the securing device 3, the securing frame 30 could be designed the same size as the document glass, such as shown in FIG. 2. The user can easily place securing frame 30 on the document glass of a scanner. In this concern, the misplacement of the securing frame 30 would be avoided and the scanner would scan right positions of the transparent documents.
Moreover, when the whole securing device along with the transparent document is placed on the document glass, in order to avoid that the thickness of the securing device is too large and therefore the cover of the scanner can be closed, the thickness of the cover 302 is usually not larger than the sums of the depth of the concave 300 and the general thickness of the transparent document. Thus, when the cover 302 is closed, the above mentioned problem will not occur. The securing device 3 can be molded as one piece to reduce the cost and processes of manufacture. By this way, the cost is down and the manufacturing steps are simplified to benefit the competition on the market.
Although preferred embodiments of the present invention have been described in the forgoing description and illustrated in the accompanying drawings, it will be understood that the invention is not limited to the embodiments disclosed, but is capable of numerous rearrangements, modifications, and substituting of parts and elements without departing from the spirit and scope of the invention. Accordingly, the present invention is intended to encompass such rearrangements, modifications, and substitutions of parts and elements as fall within the scope of the appended claims.

Claims (23)

1. A securing device for transparent documents in a scanning system, comprising:
a securing frame, placed on a document glass of a scanner; and
a securing cell, formed in said securing frame, comprising,
a concave having a larger size than the size of a transparent document in order to contain said transparent document in said concave, wherein said concave further comprises a first opening having a smaller size than the size of said transparent document, and
a cover, wherein a first side of said cover linearly contacts a first side of said concave in order to let said cover be able to close said concave, said cover further comprising a second opening, wherein the area of said second opening is smaller than the area of said transparent document.
2. The securing device of claim 1, wherein the size of said frame is same as the size of said document glass.
3. The securing device of claim 1, wherein said securing cell further comprises:
a clip mechanism, located on a second side of said concave and a second side of said cover, the second side of said cover opposite to the first side of said cover, the second side of said concave opposite to the first side of said concave, wherein said cover can be mounted on said concave by said clip mechanism when said cover is closed in said concave.
4. The securing device of claim 3, wherein said clip mechanism comprises:
a mounting clip, located on the second side of said cover, wherein the second side of said cover is opposite to the first side of said cover, the extending direction of said mounting clip being perpendicular to the surface of said cover; and
a mounting slot, located on the second side of said concave, wherein the position of said mounting slot is the same as the position of said mounting clip when said cover closes on said concave in order to mount said mounting clip on said mounting slot.
5. The securing device of claim 3, wherein said clip mechanism further comprises:
a cushion aperture, located on the second side of said cover, for providing an elastic force in a parallel direction of the surface of said cover.
6. The securing device of claim 1, wherein the side of said cover is smaller than the size of said concave, the thickness of said cover is less than the thickness of said concave in order to make the surface of said cover the same as the surface of said concave when said cover is closed in said concave.
7. The securing device of claim 1, wherein the area of said first opening is same as the area of said second opening; the position of said first opening is same as the position of said second opening.
8. The securing device of claim 1, wherein said concave comprises:
an open slot, located on the second side of said concave, the second side of said concave being opposite to the first side of said concave, for convenient usage of opening said cover from said concave.
9. The securing device of claim 1, wherein said securing frame and securing cell are made in one piece during manufacture.
10. An apparatus for securing a transparent document on a document glass in a scanning system, the apparatus comprising:
a securing frame configured to be placed on the document glass; and
a securing cell in the securing frame, the securing cell including
a concave for receiving the transparent document; and
a cover configured to close over the concave and secure the transparent document in the concave, wherein the cover pivots about an inner edge portion of the concave to close over the concave.
11. The apparatus of claim 10 wherein the securing frame is at least approximately the same size as the document glass.
12. The apparatus of claim 10 wherein the securing cell further includes a clip mechanism for securing the cover over the concave.
13. The apparatus of claim 10 wherein the securing cell further includes a clip mechanism for securing the cover over the concave, the clip mechanism including
at least one mounting clip carried by the cover; and
at least one mounting slot carried by the securing frame, wherein the mounting slot receives the at least one mounting clip.
14. The apparatus of claim 10 wherein the securing cell further includes a cushion aperture for cushioning at least a portion of the cover on the securing frame.
15. The apparatus of claim 10 wherein the cover has an area that is smaller than an area of the concave, and wherein the cover has a thickness that is less than a depth of the concave.
16. The apparatus of claim 10 wherein the securing frame and the concave form a unitary structure.
17. A scanning apparatus, comprising:
a frame for supporting a transparent document in a scanning system during scanning;
means for receiving the transparent document in a recessed opening in the frame, wherein the receiving means is carried by the frame; and
means for securing the transparent document within the opening, wherein the securing means rotates about an inner edge portion of the opening.
18. The apparatus of claim 17, further comprising a document glass member for receiving the frame, wherein the frame has an area that is at least approximately the same size as an area of the document glass member.
19. The apparatus of claim 17, further comprising means for releasably attaching the securing means over the opening.
20. The apparatus of claim 17, further comprising means for releasably attaching the securing means over the opening, wherein the releasably attaching means includes
at least one mounting clip; and
at least one mounting slot for receiving the at least one mounting clip, wherein the at least one mounting clip engages the at least one mounting slot.
21. The apparatus of claim 17, further comprising means for cushioning the securing means against at least a portion of the frame.
22. The apparatus of claim 17 wherein the securing means has a size that is smaller than a size of the recessing means, and the securing means has a thickness that is less than a depth of the opening.
23. The apparatus of claim 17, wherein the supporting means and the receiving means form a unitary structure.
US11/262,556 2000-06-02 2005-10-28 Securing device for transparent documents in a flatbed scanning system Expired - Lifetime USRE41038E1 (en)

Priority Applications (1)

Application Number Priority Date Filing Date Title
US11/262,556 USRE41038E1 (en) 2000-06-02 2005-10-28 Securing device for transparent documents in a flatbed scanning system

Applications Claiming Priority (3)

Application Number Priority Date Filing Date Title
US58656600A 2000-06-02 2000-06-02
US10/233,684 US6637897B2 (en) 2000-06-02 2002-09-04 Securing device for transparent documents in a flatbed scanning system
US11/262,556 USRE41038E1 (en) 2000-06-02 2005-10-28 Securing device for transparent documents in a flatbed scanning system

Related Parent Applications (1)

Application Number Title Priority Date Filing Date
US10/233,684 Reissue US6637897B2 (en) 2000-06-02 2002-09-04 Securing device for transparent documents in a flatbed scanning system

Publications (1)

Publication Number Publication Date
USRE41038E1 true USRE41038E1 (en) 2009-12-15

Family

ID=24346260

Family Applications (2)

Application Number Title Priority Date Filing Date
US10/233,684 Ceased US6637897B2 (en) 2000-06-02 2002-09-04 Securing device for transparent documents in a flatbed scanning system
US11/262,556 Expired - Lifetime USRE41038E1 (en) 2000-06-02 2005-10-28 Securing device for transparent documents in a flatbed scanning system

Family Applications Before (1)

Application Number Title Priority Date Filing Date
US10/233,684 Ceased US6637897B2 (en) 2000-06-02 2002-09-04 Securing device for transparent documents in a flatbed scanning system

Country Status (1)

Country Link
US (2) US6637897B2 (en)

Cited By (1)

* Cited by examiner, † Cited by third party
Publication number Priority date Publication date Assignee Title
USD702245S1 (en) * 2012-01-11 2014-04-08 Victor Susman Scanning frame

Families Citing this family (3)

* Cited by examiner, † Cited by third party
Publication number Priority date Publication date Assignee Title
TWM240747U (en) * 2003-07-08 2004-08-11 Lite On Technology Corp Scanner structure for aligning a scanned object
US7570399B2 (en) * 2003-08-25 2009-08-04 Hewlett-Packard Development Company, L.P. Focal point shifter for scanning applications
US10576768B2 (en) 2016-09-12 2020-03-03 Hewlett-Packard Development Company, L.P. Frame with transparent panel

Citations (8)

* Cited by examiner, † Cited by third party
Publication number Priority date Publication date Assignee Title
US4467541A (en) * 1980-09-04 1984-08-28 Pettersson Sven G Transparency mount
US4477991A (en) * 1981-12-24 1984-10-23 Polaroid Corporation Frame for transparency film
US4980781A (en) * 1987-08-20 1990-12-25 Dainippon Screen Mfg. Co., Ltd. Method of and apparatus for setting original in image
US5285237A (en) * 1991-09-16 1994-02-08 Eastman Kodak Company Photoprint retaining platen for digitizing image scanner
US5392548A (en) * 1991-08-01 1995-02-28 Pakon, Inc. Slide mount with pin lock registration
US5546144A (en) * 1994-04-18 1996-08-13 Microtek Lab, Inc. Transparency holder
US5685626A (en) * 1996-03-08 1997-11-11 Inaba; Minuro Stereo slide mount and masking-amount guide device
US5814809A (en) * 1995-02-21 1998-09-29 Microtek International, Inc. Apparatus for optically scanning images using transmissive and reflective light sources

Patent Citations (8)

* Cited by examiner, † Cited by third party
Publication number Priority date Publication date Assignee Title
US4467541A (en) * 1980-09-04 1984-08-28 Pettersson Sven G Transparency mount
US4477991A (en) * 1981-12-24 1984-10-23 Polaroid Corporation Frame for transparency film
US4980781A (en) * 1987-08-20 1990-12-25 Dainippon Screen Mfg. Co., Ltd. Method of and apparatus for setting original in image
US5392548A (en) * 1991-08-01 1995-02-28 Pakon, Inc. Slide mount with pin lock registration
US5285237A (en) * 1991-09-16 1994-02-08 Eastman Kodak Company Photoprint retaining platen for digitizing image scanner
US5546144A (en) * 1994-04-18 1996-08-13 Microtek Lab, Inc. Transparency holder
US5814809A (en) * 1995-02-21 1998-09-29 Microtek International, Inc. Apparatus for optically scanning images using transmissive and reflective light sources
US5685626A (en) * 1996-03-08 1997-11-11 Inaba; Minuro Stereo slide mount and masking-amount guide device

Cited By (1)

* Cited by examiner, † Cited by third party
Publication number Priority date Publication date Assignee Title
USD702245S1 (en) * 2012-01-11 2014-04-08 Victor Susman Scanning frame

Also Published As

Publication number Publication date
US20030038926A1 (en) 2003-02-27
US6637897B2 (en) 2003-10-28

Similar Documents

Publication Publication Date Title
US6678075B1 (en) Slide securing device for flatbed scanning system
JP3962746B2 (en) Image reading device
USRE41038E1 (en) Securing device for transparent documents in a flatbed scanning system
US6791724B2 (en) Imaging device with media clamp
EP1677509B1 (en) Image reading apparatus having support structure
US8773730B2 (en) Scan assisting fixing device and scanner using the same
JPH07131591A (en) Fax machine
JP3854980B2 (en) Image reading device
US7505183B2 (en) Media feeding device with scanning and fixing functions for transparent documents
US7570397B2 (en) Imaging system and method to enable scanning a variety of types of media objects
US20080137057A1 (en) Film holder for supporting positive film or negative film
TWI241124B (en) Clamp capable of fixing a positive and a negative
JPH096950A (en) Business card reader
JP3013390B2 (en) Image processing device
US20050133599A1 (en) Image capture apparatus
JP2000075423A (en) Original image reading device
JP4154642B2 (en) Platen glass positioning method and platen glass positioning apparatus for image reading apparatus
US20030117610A1 (en) Film holder
JP3669145B2 (en) Transparent document reader
US20080043216A1 (en) Film holder and film scan module using the same and multi-functional peripheral using the same
JP2004020987A (en) Image reading apparatus
JP3678859B2 (en) Image reading device
JP3678826B2 (en) Image reading device
JPH09233274A (en) Original holder and image reader and original tray used for the same
JP3642856B2 (en) Image reading device

Legal Events

Date Code Title Description
FPAY Fee payment

Year of fee payment: 8

FPAY Fee payment

Year of fee payment: 12

AS Assignment

Owner name: TRANSPACIFIC OPTICS LLC, DELAWARE

Free format text: ASSIGNMENT OF ASSIGNORS INTEREST;ASSIGNOR:MUSTEK SYSTEMS, INC.;REEL/FRAME:047705/0192

Effective date: 20051202

AS Assignment

Owner name: INTELLECTUAL VENTURES ASSETS 109 LLC, DELAWARE

Free format text: NUNC PRO TUNC ASSIGNMENT;ASSIGNOR:TRANSPACIFIC OPTICS LLC;REEL/FRAME:048014/0511

Effective date: 20181128

AS Assignment

Owner name: TRANSPACIFIC OPTICS LLC, DELAWARE

Free format text: ASSIGNMENT OF ASSIGNORS INTEREST;ASSIGNOR:MUSTEK SYSTEMS, INC.;REEL/FRAME:048222/0946

Effective date: 20060616

AS Assignment

Owner name: 92104 LLC, TEXAS

Free format text: ASSIGNMENT OF ASSIGNORS INTEREST;ASSIGNOR:INTELLECTUAL VENTURES ASSETS 109 LLC;REEL/FRAME:050114/0570

Effective date: 20181221