USRE40537E1 - Automotive fuel tank electrical fitting - Google Patents

Automotive fuel tank electrical fitting Download PDF

Info

Publication number
USRE40537E1
USRE40537E1 US11/119,498 US11949805A USRE40537E US RE40537 E1 USRE40537 E1 US RE40537E1 US 11949805 A US11949805 A US 11949805A US RE40537 E USRE40537 E US RE40537E
Authority
US
United States
Prior art keywords
diameter
pin
glass
pins
seal
Prior art date
Legal status (The legal status is an assumption and is not a legal conclusion. Google has not performed a legal analysis and makes no representation as to the accuracy of the status listed.)
Expired - Lifetime
Application number
US11/119,498
Inventor
Daniel A. Gilmour
Current Assignee (The listed assignees may be inaccurate. Google has not performed a legal analysis and makes no representation or warranty as to the accuracy of the list.)
TI Group Automotive Systems LLC
Original Assignee
TI Group Automotive Systems LLC
Priority date (The priority date is an assumption and is not a legal conclusion. Google has not performed a legal analysis and makes no representation as to the accuracy of the date listed.)
Filing date
Publication date
Priority to US11/119,498 priority Critical patent/USRE40537E1/en
Application filed by TI Group Automotive Systems LLC filed Critical TI Group Automotive Systems LLC
Assigned to JPMORGAN CHASE BANK, N.A. reassignment JPMORGAN CHASE BANK, N.A. SECURITY AGREEMENT Assignors: HANIL USA, L.L.C., TI AUTOMOTIVE, L.L.C., TI GROUP AUTOMOTIVE SYSTEMS, L.L.C.
Application granted granted Critical
Publication of USRE40537E1 publication Critical patent/USRE40537E1/en
Assigned to WALBRO CORPORATION reassignment WALBRO CORPORATION ASSIGNMENT OF ASSIGNORS INTEREST (SEE DOCUMENT FOR DETAILS). Assignors: GILMOUR, DANIEL A.
Assigned to TI GROUP AUTOMOTIVE SYSTEMS, L.L.C. reassignment TI GROUP AUTOMOTIVE SYSTEMS, L.L.C. ASSIGNMENT OF ASSIGNORS INTEREST (SEE DOCUMENT FOR DETAILS). Assignors: WALBRO CORPORATION
Assigned to WILMINGTON TRUST (LONDON) LIMITED reassignment WILMINGTON TRUST (LONDON) LIMITED ASSIGNMENT OF SECURITY INTEREST Assignors: JP MORGAN CHASE BANK, N.A.
Assigned to HANIL USA, L.L.C., TI AUTOMOTIVE, L.L.C., TI GROUP AUTOMOTIVE SYSTEMS, L.L.C. reassignment HANIL USA, L.L.C. RELEASE AND TERMINATION OF PATENT SECURITY INTEREST Assignors: WILMINGTON TRUST (LONDON) LIMITED (AS SUCCESSOR IN INTEREST TO JP MORGAN CHASE BANK, N.A.)
Assigned to CITIBANK N.A. reassignment CITIBANK N.A. TERM PATENT SECURITY AGREEMENT Assignors: TI GROUP AUTOMOTIVE SYSTEMS, L.L.C.
Assigned to CITIBANK N.A. reassignment CITIBANK N.A. ABL PATENT SECURITY AGREEMENT Assignors: TI GROUP AUTOMOTIVE SYSTEMS, L.L.C.
Assigned to JPMORGAN CHASE BANK, N.A. reassignment JPMORGAN CHASE BANK, N.A. SECURITY AGREEMENT Assignors: HANIL USA, L.L.C., TI AUTOMOTIVE CANADA, INC., TI AUTOMOTIVE LIMITED, TI AUTOMOTIVE, L.L.C., TI GROUP AUTOMOTIVE SYSTEMS S DE R.L. DE C.V., TI GROUP AUTOMOTIVE SYSTEMS, L.L.C.
Assigned to TI GROUP AUTOMOTIVE SYSTEMS, L.L.C. reassignment TI GROUP AUTOMOTIVE SYSTEMS, L.L.C. RELEASE BY SECURED PARTY (SEE DOCUMENT FOR DETAILS). Assignors: CITIBANK, N.A.
Assigned to JPMORGAN CHASE BANK, N.A., AS THE COLLATERAL AGENT reassignment JPMORGAN CHASE BANK, N.A., AS THE COLLATERAL AGENT SECURITY AGREEMENT Assignors: HANIL USA, L.L.C., TI AUTOMOTIVE, L.L.C., TI GROUP AUTOMOTIVE SYSTEMS, L.L.C.
Assigned to HANIL USA L.L.C., TI GROUP AUTOMOTIVE SYSTEMS, L.L.C., TI GROUP AUTOMOTIVE SYSTEMS S DE R.L. DE C.V., TI AUTOMOTIVE, L.L.C., TI AUTOMOTIVE CANADA, INC., TI AUTOMOTIVE LIMITED reassignment HANIL USA L.L.C. TERMINATION AND RELEASE Assignors: JPMORGAN CHASE BANK, N.A., AS ADMINISTRATIVE AGENT
Anticipated expiration legal-status Critical
Assigned to TI GROUP AUTOMOTIVE SYSTEMS, L.L.C., HANIL USA, L.L.C., TI AUTOMOTIVE, L.L.C., MILLENIUM INDUSTRIES CORPORATION reassignment TI GROUP AUTOMOTIVE SYSTEMS, L.L.C. RELEASE OF SECURITY INTEREST (REEL 036013, FRAME 0666) Assignors: JPMORGAN CHASE BANK, N.A., AS COLLATERAL AGENT
Expired - Lifetime legal-status Critical Current

Links

Images

Classifications

    • BPERFORMING OPERATIONS; TRANSPORTING
    • B60VEHICLES IN GENERAL
    • B60KARRANGEMENT OR MOUNTING OF PROPULSION UNITS OR OF TRANSMISSIONS IN VEHICLES; ARRANGEMENT OR MOUNTING OF PLURAL DIVERSE PRIME-MOVERS IN VEHICLES; AUXILIARY DRIVES FOR VEHICLES; INSTRUMENTATION OR DASHBOARDS FOR VEHICLES; ARRANGEMENTS IN CONNECTION WITH COOLING, AIR INTAKE, GAS EXHAUST OR FUEL SUPPLY OF PROPULSION UNITS IN VEHICLES
    • B60K15/00Arrangement in connection with fuel supply of combustion engines or other fuel consuming energy converters, e.g. fuel cells; Mounting or construction of fuel tanks
    • B60K15/03Fuel tanks
    • BPERFORMING OPERATIONS; TRANSPORTING
    • B60VEHICLES IN GENERAL
    • B60KARRANGEMENT OR MOUNTING OF PROPULSION UNITS OR OF TRANSMISSIONS IN VEHICLES; ARRANGEMENT OR MOUNTING OF PLURAL DIVERSE PRIME-MOVERS IN VEHICLES; AUXILIARY DRIVES FOR VEHICLES; INSTRUMENTATION OR DASHBOARDS FOR VEHICLES; ARRANGEMENTS IN CONNECTION WITH COOLING, AIR INTAKE, GAS EXHAUST OR FUEL SUPPLY OF PROPULSION UNITS IN VEHICLES
    • B60K15/00Arrangement in connection with fuel supply of combustion engines or other fuel consuming energy converters, e.g. fuel cells; Mounting or construction of fuel tanks
    • B60K15/03Fuel tanks
    • B60K2015/03328Arrangements or special measures related to fuel tanks or fuel handling
    • B60K2015/03453Arrangements or special measures related to fuel tanks or fuel handling for fixing or mounting parts of the fuel tank together
    • YGENERAL TAGGING OF NEW TECHNOLOGICAL DEVELOPMENTS; GENERAL TAGGING OF CROSS-SECTIONAL TECHNOLOGIES SPANNING OVER SEVERAL SECTIONS OF THE IPC; TECHNICAL SUBJECTS COVERED BY FORMER USPC CROSS-REFERENCE ART COLLECTIONS [XRACs] AND DIGESTS
    • Y10TECHNICAL SUBJECTS COVERED BY FORMER USPC
    • Y10STECHNICAL SUBJECTS COVERED BY FORMER USPC CROSS-REFERENCE ART COLLECTIONS [XRACs] AND DIGESTS
    • Y10S439/00Electrical connectors
    • Y10S439/933Special insulation
    • Y10S439/935Glass or ceramic contact pin holder

Definitions

  • the present invention relates to an automotive fuel tank electrical fitting, and more particularly to a glass-sealed electrical fitting for an automotive fuel tank.
  • the fuel pump is typically part of a fuel dispensing unit which includes a fuel level sensor, a fuel filter and a structural member such as a flange mounted sealably to a fuel tank.
  • a fuel level sensor e.g., a fuel level sensor
  • a fuel filter e.g., a fuel filter
  • a structural member such as a flange mounted sealably to a fuel tank.
  • the fuel pump and level sensor are inserted through an opening in the fuel tank as one assembled unit, and the flange is engaged sealably to an exterior side of the fuel tank.
  • An elastomeric O-ring provides the seal between the flange and the fuel tank.
  • Electrical power typically routes to the internal devices within the fuel tank (pump and sensor) through an electrical fitting mounted to the flange.
  • the present invention is a glass-sealed electrical fitting for an automotive fuel tank.
  • the fitting has a plurality of pins which penetrate a wall of the fuel tank and thereby provide the electrical connections for a fuel pump, fuel level sensor, etc. located inside the fuel tank.
  • a glass seal hermetically engages the metallic surfaces of the pins and a metallic surface interconnected to the fuel tank wall.
  • the metallic surface interconnected to the fuel tank wall is an inner surface of a housing which surrounds and extends longitudinally of the pins.
  • An outer surface of the housing engages an inner edge of a flange which mounts to a circumferential edge of the opening of the fuel tank.
  • Objects, features and advantages of the invention include the elimination of fuel vapor permeation through an electrical fitting of an automotive fuel tank, a permeation barrier capable of withstanding environmental temperature fluctuations and aging, and an electrical fitting which is rugged, durable, of economical manufacture and assembly and in service has a long useful life.
  • FIG. 1 is a perspective view of a vehicle with a fuel tank having an electrical fitting according to a preferred embodiment of the present invention
  • FIG. 2 is an exploded perspective view of the electrical fitting
  • FIG. 3 is a top view of the electrical fitting
  • FIG. 4 is a cross sectional view of the electrical fitting taken along line 4 — 4 of FIG. 3 ;
  • FIG. 5 is an exploded perspective view of a second embodiment of the electrical fitting
  • FIG. 7 is a cross-sectional view of the electrical fitting taken along line 7 — 7 of FIG. 6 ;
  • FIG. 8 is a cross-sectional view of a third embodiment of the electrical fitting.
  • FIG. 1 shows a vehicle 10 having a fuel tank 12 mounted in the rear.
  • An electric fuel pump 14 is mounted within the fuel tank 12 and delivers excess fuel to an engine 16 some of which returns to the tank via a pair of supply and return fuel lines 18 .
  • a battery 22 powers both the fuel pump 14 and a fuel level sensor 20 mounted inside the fuel tank 12 .
  • the electrical power is transferred via a plurality of electrical wires 24 .
  • the fuel lines 18 and the wires 24 commonly enter the fuel tank 12 through a fuel tank flange portion 26 .
  • the flange portion 26 commonly supports, usually in a suspended fashion, both the fuel pump 14 and the fuel level sensor 20 .
  • the flange portion 26 becomes an integral part of a fuel tank wall 30 of the fuel tank 12 after fitting the fuel sender module 29 to the fuel tank 12 .
  • a substantial portion of the fuel sender module 29 inserts through an opening 32 of the fuel tank wall 30 which is defined by a circumferential edge 34 .
  • Engaging the circumferential edge 34 , or an outward surface of the tank wall 30 about edge 34 is a peripheral edge or lip 36 of the flange portion 26 .
  • An o-ring 38 is compressed sealably between the flange portion 26 and the fuel tank wall 30 providing a vapor proof seal or barrier. Any variety of vapor barriers other than an o-ring may also be applied, including gaskets and sealants.
  • the thermal expansion rate of the flange portion 26 and the tubular housing 44 is greater than the thermal expansion rate of the glass seal 52 .
  • the seal requires electrical insulating properties which the glass seal 52 provides.
  • the glass material must be capable of resisting thermal transients without breaking the bond to either the housing 44 or the pins 54 .
  • Preferable glass materials are barium alkali, borosilicate or soda lime.
  • the housing 44 has an outward or top portion 62 disposed above the glass seal 52 and an inward or bottom portion 64 disposed below the glass seal 52 .
  • the outward portion 62 has an axially extending elongated nubbin 66 which mates with a terminal plug end of the electrical wires 24 (not shown). Nubbin 66 assures that the pins 54 are not damaged by improper insertion of the terminal plug.
  • the plug engages the plurality of pins 54 and preferably snaps in place via a plurality of orifices or holes 68 which penetrate the outward and inward portions 62 , 64 of the housing 44 on either axial side of the recess 61 .
  • a similar plug engages the inward portion 64 of the housing 44 to electrically connect the fuel pump 14 and fuel level sensor 20 .
  • the collars 245 extend outward or upward from the fuel tank 12 .
  • the shoulder 249 is disposed about and extends outward along the periphery of tray 244 .
  • the shoulder 249 terminates at the peripheral edge 246 .
  • each seal 252 preferably is substantially at least two and one half times greater than the diameter 256 of the pin.
  • the transverse separation 259 between adjacent collars preferably is substantially at least as great as the seal outer diameter 257 .
  • the transverse minimum distance 261 between the inner surface of the shoulder 249 and each collar 245 preferably is substantially at least as large as the outside diameter 257 of the seal.
  • Each seal 252 has an axial length 263 which is preferably substantially equal to the seal outer diameter 257 .
  • FIG. 8 illustrates a third embodiment of the present invention which is similar to the second embodiment except that the tray 244 is omitted and the plurality of collars 345 of the third embodiment are formed directly in the flange 326 . Therefore, the flange 326 no longer contains the hole 40 of the flange 26 or the inner edge 42 of the flange 26 ′ of the first and second embodiments.

Landscapes

  • Engineering & Computer Science (AREA)
  • Life Sciences & Earth Sciences (AREA)
  • Sustainable Development (AREA)
  • Sustainable Energy (AREA)
  • Chemical & Material Sciences (AREA)
  • Combustion & Propulsion (AREA)
  • Transportation (AREA)
  • Mechanical Engineering (AREA)
  • Cooling, Air Intake And Gas Exhaust, And Fuel Tank Arrangements In Propulsion Units (AREA)
  • Connections Arranged To Contact A Plurality Of Conductors (AREA)

Abstract

A glass-sealed electrical fitting for an automotive fuel tank is mounted on a flange which supports an internal fuel pump and fuel level sensor within the fuel tank. In one form, the glass seal surrounds a plurality of pins longitudinally disposed within an elongated housing which penetrates a fuel tank wall. An outer surface of the housing engages rigidly to the flange, and an inner surface of the housing engages to the glass seal. In another form each pin is sealed to a housing by a separate glass seal.

Description

FIELD OF THE INVENTION
The present invention relates to an automotive fuel tank electrical fitting, and more particularly to a glass-sealed electrical fitting for an automotive fuel tank.
BACKGROUND OF THE INVENTION
It is not unusual to mount fuel pumps inside a fuel tank for automotive vehicles. The fuel pump is typically part of a fuel dispensing unit which includes a fuel level sensor, a fuel filter and a structural member such as a flange mounted sealably to a fuel tank. During assembly, the fuel pump and level sensor are inserted through an opening in the fuel tank as one assembled unit, and the flange is engaged sealably to an exterior side of the fuel tank. An elastomeric O-ring provides the seal between the flange and the fuel tank. Electrical power typically routes to the internal devices within the fuel tank (pump and sensor) through an electrical fitting mounted to the flange.
Stringent government environmental regulations are persuading the automotive industry to make a closer study of fuel vapor permeation through a fuel tank. In many instances, the once popular, light weight, plastic fuel tank is being replaced with impermeable steel tanks. Aside from the walls of a plastic fuel tank, another source of permeation is through the electrical fitting which penetrates the flange. A multitude of wires electrically connect to the internal devices of the fuel tank; therefore, a corresponding multiple of terminal pins penetrate the flange. Each pin penetration is a potential source for vapor leakage. Existing electrical fittings do not provide a hermetic seal, but use rubberized seals or elastic grommets to minimize permeation. However, temperature variations and aging degrade the integrity of the seals, resulting in a loss of the permeation barrier.
SUMMARY OF THE INVENTION
Accordingly, the present invention is a glass-sealed electrical fitting for an automotive fuel tank. The fitting has a plurality of pins which penetrate a wall of the fuel tank and thereby provide the electrical connections for a fuel pump, fuel level sensor, etc. located inside the fuel tank. A glass seal hermetically engages the metallic surfaces of the pins and a metallic surface interconnected to the fuel tank wall. Preferably, the metallic surface interconnected to the fuel tank wall is an inner surface of a housing which surrounds and extends longitudinally of the pins. An outer surface of the housing engages an inner edge of a flange which mounts to a circumferential edge of the opening of the fuel tank.
Objects, features and advantages of the invention include the elimination of fuel vapor permeation through an electrical fitting of an automotive fuel tank, a permeation barrier capable of withstanding environmental temperature fluctuations and aging, and an electrical fitting which is rugged, durable, of economical manufacture and assembly and in service has a long useful life.
BRIEF DESCRIPTION OF THE DRAWINGS
These and other objects, features and advantages of the invention will be apparent from the following detailed description of the preferred embodiments and best modes, appended claims and accompanying drawings in which:
FIG. 1 is a perspective view of a vehicle with a fuel tank having an electrical fitting according to a preferred embodiment of the present invention;
FIG. 2 is an exploded perspective view of the electrical fitting;
FIG. 3 is a top view of the electrical fitting;
FIG. 4 is a cross sectional view of the electrical fitting taken along line 44 of FIG. 3;
FIG. 5 is an exploded perspective view of a second embodiment of the electrical fitting;
FIG. 6 is a top view of the second embodiment of the electrical fitting;
FIG. 7 is a cross-sectional view of the electrical fitting taken along line 77 of FIG. 6; and
FIG. 8 is a cross-sectional view of a third embodiment of the electrical fitting.
DETAILED DESCRIPTION OF THE PREFERRED EMBODIMENTS
Referring in more detail to the drawings, FIG. 1 shows a vehicle 10 having a fuel tank 12 mounted in the rear. An electric fuel pump 14 is mounted within the fuel tank 12 and delivers excess fuel to an engine 16 some of which returns to the tank via a pair of supply and return fuel lines 18. A battery 22 powers both the fuel pump 14 and a fuel level sensor 20 mounted inside the fuel tank 12. The electrical power is transferred via a plurality of electrical wires 24. The fuel lines 18 and the wires 24 commonly enter the fuel tank 12 through a fuel tank flange portion 26. The flange portion 26 commonly supports, usually in a suspended fashion, both the fuel pump 14 and the fuel level sensor 20. More specifically, the wires 24 electrically communicate through the flange portion 26 via an electrical fitting 28 of the present invention which is mounted on and penetrates through the flange portion 26. The fuel pump 14, the fuel level sensor 20, the flange portion 26 and the electrical fitting 28 preferably comprise a fuel sender module 29 which is manufactured separate from the fuel tank 12.
Referring to FIG. 2, the flange portion 26 becomes an integral part of a fuel tank wall 30 of the fuel tank 12 after fitting the fuel sender module 29 to the fuel tank 12. A substantial portion of the fuel sender module 29 inserts through an opening 32 of the fuel tank wall 30 which is defined by a circumferential edge 34. Engaging the circumferential edge 34, or an outward surface of the tank wall 30 about edge 34, is a peripheral edge or lip 36 of the flange portion 26. An o-ring 38 is compressed sealably between the flange portion 26 and the fuel tank wall 30 providing a vapor proof seal or barrier. Any variety of vapor barriers other than an o-ring may also be applied, including gaskets and sealants. Furthermore, the flange portion 26 can be a unitary part of the fuel tank wall 30 thereby alleviating the need for a vapor seal altogether. However, if the flange portion 26 is unitary to the fuel tank wall 30, the fuel sender module 29 is no longer manufactured separately from the fuel tank 12.
The flange portion 26 is penetrated by the pair of fuel lines 18 and the electrical fitting 28. The electrical fitting 28 transverses through a hole 40 of the flange portion 26. The hole 40 is defined by an inner edge 42. A tubular housing 44 of the electrical fitting 28 has an outer surface 46 which engages the inner edge 42 of the flange 26. Housing 44 is substantially perpendicular to the flange 26. The outer surface 46 and the inner edge 42 of the flange portion 26 form a seam 48, shown in FIG. 4. The seam 48 is preferably a brazed, soldered, or welded joint preventing vapor permeation through the seam. The housing 44 and the flange portion 26 are metallic, preferably stainless steel or steel.
A plurality of elongated pins 54 are preferably circumferentially spaced apart and parallel to the axis of the housing 44 and extend longitudinally within the elongated housing 44. A glass seal 52, when in a molten state, is formed about the pins 54 inside the housing 44. The pins 54 are substantially perpendicular to the glass seal 52. When solidified, the glass seal 52 is in a compressed state and prevents fuel vapor permeation through the electrical fitting 28 by engaging a metallic inner surface 50 of the housing 44 and a metallic surface of the pins 54. The solidification of the glass to the metallic surfaces also provides a chemical bond. For the glass seal 52 to achieve or maintain a compressive state, the thermal expansion rate of the flange portion 26 and the tubular housing 44 is greater than the thermal expansion rate of the glass seal 52. Because the plurality of pins 54 electrically engage the respective plurality of wires 24, the seal requires electrical insulating properties which the glass seal 52 provides. Furthermore, the glass material must be capable of resisting thermal transients without breaking the bond to either the housing 44 or the pins 54. Preferable glass materials are barium alkali, borosilicate or soda lime.
Referring to FIGS. 3 and 4 the transverse separation of the pins 54 from one another and the separation of the pins 54 from the housing 44 will have an impact on the exposure of the electrical fitting 28 to thermal stresses during temperature fluctuations. To ensure vapor barrier integrity is not breached as a result of thermal stress, the diameter 56 of each pin 54 is preferably equal to or less than the transverse distance or separation 58 between adjacent pins. Furthermore, a perimeter-edge-to-pin transverse minimum distance 60, measured generally from the inner surface 50 of the housing to the pin 54 surface, is preferably equal to or greater than the diameter 56 of the pin 54. To minimize the amount of glass material required and to provide easy external connector or plug locking capability to the housing 44, the housing 44 preferably has a circumferential recess 61 which protrudes radially inward and aligns axially with the glass seal 52.
The housing 44 has an outward or top portion 62 disposed above the glass seal 52 and an inward or bottom portion 64 disposed below the glass seal 52. The outward portion 62 has an axially extending elongated nubbin 66 which mates with a terminal plug end of the electrical wires 24 (not shown). Nubbin 66 assures that the pins 54 are not damaged by improper insertion of the terminal plug. The plug engages the plurality of pins 54 and preferably snaps in place via a plurality of orifices or holes 68 which penetrate the outward and inward portions 62, 64 of the housing 44 on either axial side of the recess 61. A similar plug engages the inward portion 64 of the housing 44 to electrically connect the fuel pump 14 and fuel level sensor 20.
The plurality of pins 54 commonly comprise four to five pins. The first pin is a hot lead for the fuel pump 14 and a second pin is the ground. A third pin provides the hot lead for the fuel sensor 20 and a fourth pin provides the ground. If the fuel pump 14 is of a variable speed type, a fifth pin is needed. Essentially, the electrical fitting 28 may contain any number of pins 54 depending upon the electrical devices and required electrical loads contained within the fuel tank 12.
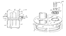
FIGS. 5-7 illustrate a second embodiment of the present invention with a separate glass seal 252 of each pin. Each one of the plurality of pins 254 correspond to and penetrate each respective one of the plurality of glass seals 252. An aperture plate or tray 244 has a plurality of collars 245, each defining an aperture 247 for a glass seal 252 which engages and seals between its associated collar 245 and pin 254. The tray 244 has a shoulder or rise 249 with a peripheral edge 246 similar to the outer surface 46 of the housing 44. The peripheral edge 246 and the inner edge 42 of the flange portion 26′ form a seam 248. As in the first embodiment, seam 248 is formed and sealed by welding, soldering or brazing. Preferably, the collars 245 extend outward or upward from the fuel tank 12. The shoulder 249 is disposed about and extends outward along the periphery of tray 244. Preferably, the shoulder 249 terminates at the peripheral edge 246.
Referring to FIGS. 6 and 7, the spacing of the pins 254, seals 252, and tray 244 are relevant to prevent stress cracking within the seal 252 or bond separation from the pins 254 or the collars 245. The outer diameter 257 of each seal 252 preferably is substantially at least two and one half times greater than the diameter 256 of the pin. The transverse separation 259 between adjacent collars preferably is substantially at least as great as the seal outer diameter 257. The transverse minimum distance 261 between the inner surface of the shoulder 249 and each collar 245 preferably is substantially at least as large as the outside diameter 257 of the seal. Each seal 252 has an axial length 263 which is preferably substantially equal to the seal outer diameter 257.
FIG. 8 illustrates a third embodiment of the present invention which is similar to the second embodiment except that the tray 244 is omitted and the plurality of collars 345 of the third embodiment are formed directly in the flange 326. Therefore, the flange 326 no longer contains the hole 40 of the flange 26 or the inner edge 42 of the flange 26′ of the first and second embodiments.
While the forms of the invention herein disclosed constitute presently preferred embodiments, many others are possible. It is not intended herein to mention all the possible embodiments of the invention which will be apparent to those skilled in the art. It is understood that the terms used herein are merely descriptive rather than limiting, in that various changes may be made without departing from the spirit or scope of this invention as defined by the following claims.

Claims (22)

1. A sealed electrical fitting for a vehicle fuel tank comprising:
a metal wall of the fuel tank having at least one opening through the wall with a circumferentially continuous edge;
at least two elongate electrically conductive metal pins extending through the at least one opening and each of the pins having a diameter and a longitudinal length greater than the diameter;
at least one seal of glass received in the at least one opening and bonded to at least one of the pins;
adjacent surfaces of adjacent pins being spaced apart a distance equal to or greater than the diameter of the pin, the minimum spacing between a peripheral edge of the glass seal and each immediately adjacent pin being at least equal to the diameter of the pin, the coefficient of thermal expansion of the metal wall being greater than the coefficient of thermal expansion of the glass of the glass seal, the metal wall and the glass seal being configured so that the glass is in a compressed state, and
the same glass seal is bonded to at least two of the pins and the edge of the same opening through the metal wall.
2. The electrical fitting of claim 1 wherein the circumferentially continuous edge of the opening has an axial length at least equal to the diameter of the pin and the glass seal has an axial length at least equal to the diameter of the pin.
3. A sealed electrical fitting for a vehicle fuel tank comprising:
a metal wall of the fuel tank having a metal flange, a metal tubular housing fixed to the flange, extending through the flange, and defining an opening through the wall;
at least two elongate electrically conductive metal pins extending through the opening and each of the pins having a diameter and a longitudinal length greater than the diameter;
a seal of glass received in the opening and bonded to the pins;
adjacent surfaces of adjacent pins being spaced apart a distance equal to or greater than the diameter of the pin, the minimum spacing between a peripheral edge of the glass seal and each immediately adjacent pin being at least equal to the diameter of the pin, the coefficient of thermal expansion of the metal wall being greater than the coefficient of thermal expansion of the glass of the glass seal, the metal wall and the glass seal being configured so that the glass is in a compressed state; and
all of the pins are received in the housing and the glass seal is bonded to all of the pins and the housing.
4. The electrical fitting of claim 3 wherein the axial length of the glass seal is substantially equal to the diameter of the pin.
5. The electrical fitting of claim 3 wherein a circumferential edge of the opening has an axial length at least equal to the diameter of the pin and the glass seal has an axial length at least equal to the diameter of the pin.
6. A sealed electrical fitting for a vehicle fuel tank comprising:
a metal wall of the fuel tank having a metal flange, at least two metal collars carried by the flange and each defining a through opening having an inner circumferentially continuous edge;
an electrically conductive metal pin extending through each of the openings and each of the pins having a diameter and a longitudinal length greater than the diameter;
a seal of glass received in each of the openings and bonded to the associated pin received therein and the inner edge of the collar in which the pin is received; and
adjacent surfaces of adjacent pins being spaced apart a distance equal to or greater than the diameter of the pin, the minimum spacing between a peripheral edge of the glass seal and each immediately adjacent pin being at least equal to the diameter of the pin, the coefficient of thermal expansion of the metal wall being greater than the coefficient of thermal expansion of the glass of the glass seal, and the metal wall and the glass seal being configured so that the glass of each seal is in a compressed state.
7. The electrical fitting of claim 6 wherein the inner edge of each collar has an axial length at least equal to the diameter of the pin received therein and the axial length of the seal received in the collar is at least equal to the diameter of its associated pin.
8. The electrical fitting of claim 6 wherein the collars are homogeneously integral with the flange.
9. The electrical fitting of claim 6 wherein the wall also comprises a metal tray having a circumferentially continuous outer peripheral edge, the collars are homogeneously integral with the tray, the flange has another through opening defined by a circumferentially continuous edge which bears on the outer peripheral edge of the tray and these mating edges are fixed and sealed together by one of welding, soldering and brazing.
10. The electrical fitting of claim 6 wherein each seal is an annular ring with an outside diameter of at least two and one-half times the diameter of its associated pin.
11. The electrical fitting of claim 10 wherein the spacing between immediately adjacent seals is at least equal to the outside diameter of the pins.
12. A sealed electrical fitting for a vehicle fuel tank, comprising:
a metal body having at least one opening;
at least two elongate electrically conductive metal pins extending through the at least one opening and each of the pins having a diameter and a longitudinal length greater than the diameter;
at least one seal of glass received in the at least one opening and bonded to at least one of the pins;
adjacent surfaces of adjacent pins being spaced apart a distance equal to or greater than the diameter of the pin, the minimum spacing between a peripheral edge of the glass seal and each immediately adjacent pin being at least equal to the diameter of the pin, the coefficient of thermal expansion of the metal body being greater than the coefficient of thermal expansion of the glass of the glass seal, the metal body and the glass seal being configured so that the glass is in a compressed state, and
the same glass seal is bonded to at least two of the pins and the edge of the same opening through the metal body.
13. The electrical fitting of claim 12 wherein the circumferentially continuous edge of the opening has an axial length at least equal to the diameter of the pin and the glass seal has an axial length at least equal to the diameter of the pin.
14. A sealed electrical fitting for a vehicle fuel tank, comprising:
a metal flange, a metal tubular housing fixed to the flange, extending through the flange, and defining an opening;
at least two elongate electrically conductive metal pins extending through the opening and each of the pins having a diameter and a longitudinal length greater than the diameter;
a seal of glass received in the opening and bonded to the pins;
adjacent surfaces of adjacent pins being spaced apart a distance equal to or greater than the diameter of the pin, the minimum spacing between a peripheral edge of the glass seal and each immediately adjacent pin being at least equal to the diameter of the pin, the coefficient of thermal expansion of the housing being greater than the coefficient of thermal expansion of the glass of the glass seal, the housing and the glass seal being configured so that the glass is in a compressed state; and
all of the pins are received in the housing and the glass seal is bonded to all of the pins and the housing.
15. The electrical fitting of claim 14 wherein the axial length of the glass seal is substantially equal to the diameter of the pin.
16. The electrical fitting of claim 14 wherein a circumferential edge of the opening has an axial length at least equal to the diameter of the pin and the glass seal has an axial length at least equal to the diameter of the pin.
17. A sealed electrical fitting for a vehicle fuel tank, comprising:
a metal flange, at least two metal collars carried by the flange and each defining a through opening having an inner circumferentially continuous edge;
an electrically conductive metal pin extending through each of the openings and each of the pins having a diameter and a longitudinal length greater than the diameter;
a seal of glass received in each of the openings and bonded to the associated pin received therein and the inner edge of the collar in which the pin is received; and
adjacent surfaces of adjacent pins being spaced apart a distance equal to or greater than the diameter of the pin, the minimum spacing between a peripheral edge of the glass seal and each immediately adjacent pin being at least equal to the diameter of the pin, the coefficient of thermal expansion of the metal collars being greater than the coefficient of thermal expansion of the glass of the glass seal, and the metal collars and the glass seal being configured so that the glass of each seal is in a compressed state.
18. The electrical fitting of claim 17 wherein the inner edge of each collar has an axial length at least equal to the diameter of the pin received therein and the axial length of the seal received in the collar is at least equal to the diameter of its associated pin.
19. The electrical fitting of claim 17 wherein the collars are homogeneously integral with the flange.
20. The electrical fitting of claim 17 which also comprises a metal tray having a circumferentially continuous outer peripheral edge, the collars are homogeneously integral with the tray, and the flange has a through opening defined by a circumferentially continuous edge which bears on the outer peripheral edge of the tray and these mating edges are fixed and sealed together by one of welding, soldering and brazing.
21. The electrical fitting of claim 17 wherein each seal is an annular ring with an outside diameter of at least two and one-half times the diameter of its associated pin.
22. The electrical fitting of claim 21 wherein the spacing between immediately adjacent seals is at least equal to the outside diameter of the pins.
US11/119,498 2001-01-18 2005-04-29 Automotive fuel tank electrical fitting Expired - Lifetime USRE40537E1 (en)

Priority Applications (1)

Application Number Priority Date Filing Date Title
US11/119,498 USRE40537E1 (en) 2001-01-18 2005-04-29 Automotive fuel tank electrical fitting

Applications Claiming Priority (2)

Application Number Priority Date Filing Date Title
US09/765,252 US6555754B2 (en) 2001-01-18 2001-01-18 Automotive fuel tank electrical fitting
US11/119,498 USRE40537E1 (en) 2001-01-18 2005-04-29 Automotive fuel tank electrical fitting

Related Parent Applications (1)

Application Number Title Priority Date Filing Date
US09/765,252 Reissue US6555754B2 (en) 2001-01-18 2001-01-18 Automotive fuel tank electrical fitting

Publications (1)

Publication Number Publication Date
USRE40537E1 true USRE40537E1 (en) 2008-10-14

Family

ID=25073042

Family Applications (2)

Application Number Title Priority Date Filing Date
US09/765,252 Ceased US6555754B2 (en) 2001-01-18 2001-01-18 Automotive fuel tank electrical fitting
US11/119,498 Expired - Lifetime USRE40537E1 (en) 2001-01-18 2005-04-29 Automotive fuel tank electrical fitting

Family Applications Before (1)

Application Number Title Priority Date Filing Date
US09/765,252 Ceased US6555754B2 (en) 2001-01-18 2001-01-18 Automotive fuel tank electrical fitting

Country Status (4)

Country Link
US (2) US6555754B2 (en)
JP (1) JP2002317723A (en)
BR (1) BR0200029A (en)
DE (1) DE10200507A1 (en)

Cited By (1)

* Cited by examiner, † Cited by third party
Publication number Priority date Publication date Assignee Title
US20240102842A1 (en) * 2022-09-28 2024-03-28 Huan Zheng Laser fuel measurement device

Families Citing this family (22)

* Cited by examiner, † Cited by third party
Publication number Priority date Publication date Assignee Title
DE10117976A1 (en) * 2001-01-25 2002-08-22 Siemens Ag Device for the passage of electrical lines through the wall of a fuel tank
DE10260242A1 (en) * 2002-12-20 2004-07-22 Siemens Ag Circuit module for motor vehicles
US20040183552A1 (en) * 2003-03-21 2004-09-23 Hossein Aghamehdi Fuel measuring cell
DE10313985A1 (en) * 2003-03-27 2004-10-07 Siemens Ag Connector for a fuel pump
ITTO20030230A1 (en) * 2003-03-27 2004-09-28 Fiat Ricerche CONNECTOR ORGAN FOR ELECTRICAL CONNECTIONS THROUGH
US20060076964A1 (en) * 2004-10-07 2006-04-13 Hossein Aghamehdi Fuel measuring cell
WO2006096390A2 (en) * 2005-03-04 2006-09-14 Siemens Vdo Automotive Corporation Plastic flange with molded-over wire harness
US7520736B2 (en) * 2005-03-29 2009-04-21 Liberty Pumps Inc. Sewage handling system, cover, and controls
US8523532B1 (en) 2005-03-29 2013-09-03 Liberty Pumps, Inc. Sewage handling system, cover, and controls
US7581874B2 (en) * 2005-03-31 2009-09-01 Hays George F Apparatuses and systems for monitoring fouling of aqueous systems including enhanced heat exchanger tubes
US20060292913A1 (en) * 2005-06-23 2006-12-28 Siemens Vdo Automotive Corporation Integrated direct fuel pump connector
US7416415B2 (en) * 2006-06-12 2008-08-26 Corning Gilbert Inc. Multiple position push-on electrical connector and a mating connector therefor
DE102006034210A1 (en) * 2006-07-25 2008-01-31 GM Global Technology Operations, Inc., Detroit Fuel tank for motor vehicle i.e. car, has electronic logic unit provided in housing, and flange exhibiting electrical plug connections for contacting logic unit, where logic unit is designed to pre-process signals of sensor
US20080115772A1 (en) * 2006-11-21 2008-05-22 Ti Group Automotive Systems, L.L.C. Fluid encapsulant for protecting electronics
JP5370113B2 (en) * 2009-12-09 2013-12-18 株式会社デンソー Fuel supply device
DE102011011631B4 (en) * 2011-02-17 2014-10-16 Continental Automotive Gmbh Tank device for storing a liquid pollutant-reducing medium
DE102011080277A1 (en) * 2011-08-02 2013-02-07 Robert Bosch Gmbh Implementation device by a metal sheet for at least one electrical connection element to an electronic circuit
EP2963321B1 (en) 2013-02-27 2018-09-12 Zhejiang Sanhua Climate & Appliance Controls Group Co., Ltd. Electronic expansion valve and connection assembly therefor
CN104006164B (en) * 2013-02-27 2017-06-30 浙江三花制冷集团有限公司 A kind of electric expansion valve and its connector assembly
US11041487B2 (en) 2013-03-15 2021-06-22 Franklin Electric Company, Inc. Wastewater sump assembly
US11208992B2 (en) 2017-12-22 2021-12-28 Franklin Electric Co., Inc. Sewage basin pump control support
FR3085631B1 (en) 2018-09-11 2022-03-18 Plastic Omnium Advanced Innovation & Res ELECTRICAL CONNECTION ELEMENT FOR A MOTOR VEHICLE TANK

Citations (31)

* Cited by examiner, † Cited by third party
Publication number Priority date Publication date Assignee Title
DE2036201A1 (en) 1969-07-22 1971-02-04 Bunker Ramo Hermetically sealed connection
DE2309825A1 (en) 1972-03-02 1973-09-06 Gen Electric CONNECTION ARRANGEMENTS
US3780204A (en) * 1972-05-25 1973-12-18 Itt Electrical penetration assembly
US3825669A (en) * 1973-05-29 1974-07-23 Westinghouse Electric Corp High temperature, high pressure electrical penetration assembly
US3898731A (en) * 1973-05-01 1975-08-12 Sandiford Ring Method of making electrical connectors
US4213004A (en) * 1978-06-30 1980-07-15 The United States Of America As Represented By The Secretary Of The Air Force Hermetic electrical feedthrough for aluminum housing and method of making same
JPS58147174A (en) 1982-02-26 1983-09-01 Fujitsu Ltd Manufacture of semiconductor device
US4458108A (en) * 1979-12-26 1984-07-03 Sumitomo Electric Industries, Ltd. Piercing fluid-tight connector
US4700999A (en) * 1983-07-07 1987-10-20 Gmt Novotny Gmbh Current leadthrough
JPS63211577A (en) 1987-02-26 1988-09-02 株式会社デンソー Connector for fuel tank
US4822294A (en) * 1987-02-13 1989-04-18 General Motors Corporation Sealing grommet assembly for wiring harness
US4921437A (en) * 1989-03-29 1990-05-01 Amp Incorporated Sealed electrical connector assembly with terminal retainer
US4924031A (en) * 1987-12-24 1990-05-08 Jidosha Kiki Co., Ltd. Water-tight structure for multicore cable
US4964788A (en) * 1990-03-21 1990-10-23 Tecumseh Products Company Hermetic terminal with terminal pin assemblies having fusible links and motor compressor unit including same
JPH02309574A (en) 1989-05-24 1990-12-25 Shinko Electric Ind Co Ltd Airtight glass terminal
US5170017A (en) * 1991-02-15 1992-12-08 Augat Inc. Connector and method for sealed pass-through of insulated electrical conductors
JPH05242922A (en) 1992-02-28 1993-09-21 Nippondenso Co Ltd Vessel for electric circuit and fuel pump for vehicle
US5266051A (en) * 1992-11-27 1993-11-30 General Motors Corporation One piece grommet
US5290191A (en) * 1991-04-29 1994-03-01 Foreman Kevin G Interface conditioning insert wafer
US5631445A (en) * 1994-10-07 1997-05-20 Ford Motor Company Automotive fuel tank electrical fitting
US5669763A (en) * 1994-08-11 1997-09-23 The Whitaker Corporation Fuel pump unit and an electrical connector therefor
US5683108A (en) * 1996-05-01 1997-11-04 Trw Vehicle Safety Systems Inc. Air bag inflator
US5768083A (en) * 1996-10-30 1998-06-16 Tekna Seal, Inc. Method of suppressing electrostatic energy in glass-to-metal hermetic seal devices
DE19701246A1 (en) 1997-01-16 1998-07-23 Mannesmann Vdo Ag Level sensor
US5861577A (en) * 1992-06-05 1999-01-19 Hitachi Construction Machinery Co., Ltd. Seal structure for member-passing-through hole bored in metal partition member
US5920029A (en) * 1997-05-30 1999-07-06 Emerson Electric Company Igniter assembly and method
DE69508145T2 (en) 1994-05-31 1999-10-28 Emerson Electric Co., St. Louis Insulation arrangement for a welded hermetic end piece
DE29918994U1 (en) 1999-10-28 2000-01-20 Alfmeier Präzision AG Baugruppen und Systemlösungen, 91757 Treuchtlingen Cable duct for sheet fuel tanks
JP2000158957A (en) 1998-10-29 2000-06-13 Kautex Textron Gmbh & Co Kg Fuel tank device for motor vehicle
US6213101B1 (en) * 1999-10-29 2001-04-10 James W. Numbers Method and apparatus for blocking fluid and fuel vapors
DE10038268A1 (en) 2000-08-04 2002-02-28 Audi Ag Closure flange for liquid containers, in particular, fuel tanks of motor vehicles comprises a sealing ring which is formed of a thin-walled metal profile and is coated with a sealing layer

Patent Citations (32)

* Cited by examiner, † Cited by third party
Publication number Priority date Publication date Assignee Title
DE2036201A1 (en) 1969-07-22 1971-02-04 Bunker Ramo Hermetically sealed connection
DE2309825A1 (en) 1972-03-02 1973-09-06 Gen Electric CONNECTION ARRANGEMENTS
US3780204A (en) * 1972-05-25 1973-12-18 Itt Electrical penetration assembly
US3898731A (en) * 1973-05-01 1975-08-12 Sandiford Ring Method of making electrical connectors
US3825669A (en) * 1973-05-29 1974-07-23 Westinghouse Electric Corp High temperature, high pressure electrical penetration assembly
US4213004A (en) * 1978-06-30 1980-07-15 The United States Of America As Represented By The Secretary Of The Air Force Hermetic electrical feedthrough for aluminum housing and method of making same
US4458108A (en) * 1979-12-26 1984-07-03 Sumitomo Electric Industries, Ltd. Piercing fluid-tight connector
JPS58147174A (en) 1982-02-26 1983-09-01 Fujitsu Ltd Manufacture of semiconductor device
US4700999A (en) * 1983-07-07 1987-10-20 Gmt Novotny Gmbh Current leadthrough
US4822294A (en) * 1987-02-13 1989-04-18 General Motors Corporation Sealing grommet assembly for wiring harness
JPS63211577A (en) 1987-02-26 1988-09-02 株式会社デンソー Connector for fuel tank
US4924031A (en) * 1987-12-24 1990-05-08 Jidosha Kiki Co., Ltd. Water-tight structure for multicore cable
US4921437A (en) * 1989-03-29 1990-05-01 Amp Incorporated Sealed electrical connector assembly with terminal retainer
JPH02309574A (en) 1989-05-24 1990-12-25 Shinko Electric Ind Co Ltd Airtight glass terminal
US4964788A (en) * 1990-03-21 1990-10-23 Tecumseh Products Company Hermetic terminal with terminal pin assemblies having fusible links and motor compressor unit including same
US5170017A (en) * 1991-02-15 1992-12-08 Augat Inc. Connector and method for sealed pass-through of insulated electrical conductors
DE69213274T2 (en) 1991-02-15 1997-03-20 Augat Inc Connector and method for waterproofing insulated electrical conductors
US5290191A (en) * 1991-04-29 1994-03-01 Foreman Kevin G Interface conditioning insert wafer
JPH05242922A (en) 1992-02-28 1993-09-21 Nippondenso Co Ltd Vessel for electric circuit and fuel pump for vehicle
US5861577A (en) * 1992-06-05 1999-01-19 Hitachi Construction Machinery Co., Ltd. Seal structure for member-passing-through hole bored in metal partition member
US5266051A (en) * 1992-11-27 1993-11-30 General Motors Corporation One piece grommet
DE69508145T2 (en) 1994-05-31 1999-10-28 Emerson Electric Co., St. Louis Insulation arrangement for a welded hermetic end piece
US5669763A (en) * 1994-08-11 1997-09-23 The Whitaker Corporation Fuel pump unit and an electrical connector therefor
US5631445A (en) * 1994-10-07 1997-05-20 Ford Motor Company Automotive fuel tank electrical fitting
US5683108A (en) * 1996-05-01 1997-11-04 Trw Vehicle Safety Systems Inc. Air bag inflator
US5768083A (en) * 1996-10-30 1998-06-16 Tekna Seal, Inc. Method of suppressing electrostatic energy in glass-to-metal hermetic seal devices
DE19701246A1 (en) 1997-01-16 1998-07-23 Mannesmann Vdo Ag Level sensor
US5920029A (en) * 1997-05-30 1999-07-06 Emerson Electric Company Igniter assembly and method
JP2000158957A (en) 1998-10-29 2000-06-13 Kautex Textron Gmbh & Co Kg Fuel tank device for motor vehicle
DE29918994U1 (en) 1999-10-28 2000-01-20 Alfmeier Präzision AG Baugruppen und Systemlösungen, 91757 Treuchtlingen Cable duct for sheet fuel tanks
US6213101B1 (en) * 1999-10-29 2001-04-10 James W. Numbers Method and apparatus for blocking fluid and fuel vapors
DE10038268A1 (en) 2000-08-04 2002-02-28 Audi Ag Closure flange for liquid containers, in particular, fuel tanks of motor vehicles comprises a sealing ring which is formed of a thin-walled metal profile and is coated with a sealing layer

Cited By (1)

* Cited by examiner, † Cited by third party
Publication number Priority date Publication date Assignee Title
US20240102842A1 (en) * 2022-09-28 2024-03-28 Huan Zheng Laser fuel measurement device

Also Published As

Publication number Publication date
US20020092663A1 (en) 2002-07-18
DE10200507A1 (en) 2002-08-01
BR0200029A (en) 2002-10-22
US6555754B2 (en) 2003-04-29
JP2002317723A (en) 2002-10-31

Similar Documents

Publication Publication Date Title
USRE40537E1 (en) Automotive fuel tank electrical fitting
US6286995B1 (en) Temperature sensor
US5580266A (en) High voltage low current connector interface
US7935235B2 (en) Gas sensor with sealing structure
JP2004517457A (en) Device for guiding electrical conductors through the wall of a fuel tank
US7371092B2 (en) Waterproof connector with a filter impermeable to liquid but permeable to air and a seal member impermeable to both liquid and air
KR20090118986A (en) 14MM extended spark plug
US5823070A (en) Automatic transmission
US11371504B2 (en) Scroll compressor
US9160120B2 (en) Spark plug connector
US5273845A (en) Terminal structure and seal
US4690480A (en) Tubular bi-metal connector
GB2281822A (en) Sealingly connecting an electrical component
US9719884B2 (en) Intake gas sensor for internal combustion engine
EP0554045A1 (en) Spark plug
EP2895702A1 (en) Hard lead egress adapter for an instrumentation component
JP4106107B2 (en) Plug-in connector for igniter
JPH06510839A (en) Diaphragm accumulator with mounting ring
US20200386624A1 (en) Sensor
US20140273573A1 (en) Vehicle lamp socket assembly
US7525072B2 (en) Heated O-ring
JPH0711771U (en) Automatic transmission terminal connection device
CN218977082U (en) Shell assembly and power adapter
CN104165362A (en) Portable burner
JPH0532695Y2 (en)

Legal Events

Date Code Title Description
AS Assignment

Owner name: JPMORGAN CHASE BANK, N.A.,NEW YORK

Free format text: SECURITY AGREEMENT;ASSIGNORS:HANIL USA, L.L.C.;TI AUTOMOTIVE, L.L.C.;TI GROUP AUTOMOTIVE SYSTEMS, L.L.C.;REEL/FRAME:019733/0933

Effective date: 20070629

Owner name: JPMORGAN CHASE BANK, N.A., NEW YORK

Free format text: SECURITY AGREEMENT;ASSIGNORS:HANIL USA, L.L.C.;TI AUTOMOTIVE, L.L.C.;TI GROUP AUTOMOTIVE SYSTEMS, L.L.C.;REEL/FRAME:019733/0933

Effective date: 20070629

AS Assignment

Owner name: TI GROUP AUTOMOTIVE SYSTEMS, L.L.C., MICHIGAN

Free format text: ASSIGNMENT OF ASSIGNORS INTEREST;ASSIGNOR:WALBRO CORPORATION;REEL/FRAME:023594/0380

Effective date: 20031105

Owner name: WALBRO CORPORATION, MICHIGAN

Free format text: ASSIGNMENT OF ASSIGNORS INTEREST;ASSIGNOR:GILMOUR, DANIEL A.;REEL/FRAME:023594/0338

Effective date: 20010110

AS Assignment

Owner name: WILMINGTON TRUST (LONDON) LIMITED, UNITED KINGDOM

Free format text: ASSIGNMENT OF SECURITY INTEREST;ASSIGNOR:JP MORGAN CHASE BANK, N.A.;REEL/FRAME:024055/0633

Effective date: 20100208

Owner name: WILMINGTON TRUST (LONDON) LIMITED,UNITED KINGDOM

Free format text: ASSIGNMENT OF SECURITY INTEREST;ASSIGNOR:JP MORGAN CHASE BANK, N.A.;REEL/FRAME:024055/0633

Effective date: 20100208

AS Assignment

Owner name: TI GROUP AUTOMOTIVE SYSTEMS, L.L.C., MICHIGAN

Free format text: RELEASE AND TERMINATION OF PATENT SECURITY INTEREST;ASSIGNOR:WILMINGTON TRUST (LONDON) LIMITED (AS SUCCESSOR IN INTEREST TO JP MORGAN CHASE BANK, N.A.);REEL/FRAME:024891/0671

Effective date: 20100825

Owner name: TI AUTOMOTIVE, L.L.C., MICHIGAN

Free format text: RELEASE AND TERMINATION OF PATENT SECURITY INTEREST;ASSIGNOR:WILMINGTON TRUST (LONDON) LIMITED (AS SUCCESSOR IN INTEREST TO JP MORGAN CHASE BANK, N.A.);REEL/FRAME:024891/0671

Effective date: 20100825

Owner name: HANIL USA, L.L.C., MICHIGAN

Free format text: RELEASE AND TERMINATION OF PATENT SECURITY INTEREST;ASSIGNOR:WILMINGTON TRUST (LONDON) LIMITED (AS SUCCESSOR IN INTEREST TO JP MORGAN CHASE BANK, N.A.);REEL/FRAME:024891/0671

Effective date: 20100825

Owner name: CITIBANK N.A., DELAWARE

Free format text: TERM PATENT SECURITY AGREEMENT;ASSIGNOR:TI GROUP AUTOMOTIVE SYSTEMS, L.L.C.;REEL/FRAME:024896/0057

Effective date: 20100825

Owner name: CITIBANK N.A., DELAWARE

Free format text: ABL PATENT SECURITY AGREEMENT;ASSIGNOR:TI GROUP AUTOMOTIVE SYSTEMS, L.L.C.;REEL/FRAME:024895/0956

Effective date: 20100825

FPAY Fee payment

Year of fee payment: 8

AS Assignment

Owner name: JPMORGAN CHASE BANK, N.A., NEW YORK

Free format text: SECURITY AGREEMENT;ASSIGNORS:TI GROUP AUTOMOTIVE SYSTEMS, L.L.C.;TI AUTOMOTIVE LIMITED;TI AUTOMOTIVE CANADA, INC.;AND OTHERS;REEL/FRAME:027864/0968

Effective date: 20120314

Owner name: TI GROUP AUTOMOTIVE SYSTEMS, L.L.C., MICHIGAN

Free format text: RELEASE BY SECURED PARTY;ASSIGNOR:CITIBANK, N.A.;REEL/FRAME:027865/0016

Effective date: 20120314

FPAY Fee payment

Year of fee payment: 12

AS Assignment

Owner name: TI GROUP AUTOMOTIVE SYSTEMS S DE R.L. DE C.V., MEX

Free format text: TERMINATION AND RELEASE;ASSIGNOR:JPMORGAN CHASE BANK, N.A., AS ADMINISTRATIVE AGENT;REEL/FRAME:036013/0775

Effective date: 20150630

Owner name: JPMORGAN CHASE BANK, N.A., AS THE COLLATERAL AGENT

Free format text: SECURITY AGREEMENT;ASSIGNORS:TI GROUP AUTOMOTIVE SYSTEMS, L.L.C.;HANIL USA, L.L.C.;TI AUTOMOTIVE, L.L.C.;REEL/FRAME:036013/0666

Effective date: 20150630

Owner name: TI GROUP AUTOMOTIVE SYSTEMS, L.L.C., MICHIGAN

Free format text: TERMINATION AND RELEASE;ASSIGNOR:JPMORGAN CHASE BANK, N.A., AS ADMINISTRATIVE AGENT;REEL/FRAME:036013/0775

Effective date: 20150630

Owner name: TI AUTOMOTIVE CANADA, INC., CANADA

Free format text: TERMINATION AND RELEASE;ASSIGNOR:JPMORGAN CHASE BANK, N.A., AS ADMINISTRATIVE AGENT;REEL/FRAME:036013/0775

Effective date: 20150630

Owner name: TI AUTOMOTIVE LIMITED, UNITED KINGDOM

Free format text: TERMINATION AND RELEASE;ASSIGNOR:JPMORGAN CHASE BANK, N.A., AS ADMINISTRATIVE AGENT;REEL/FRAME:036013/0775

Effective date: 20150630

Owner name: TI AUTOMOTIVE, L.L.C., MICHIGAN

Free format text: TERMINATION AND RELEASE;ASSIGNOR:JPMORGAN CHASE BANK, N.A., AS ADMINISTRATIVE AGENT;REEL/FRAME:036013/0775

Effective date: 20150630

Owner name: HANIL USA L.L.C., ALABAMA

Free format text: TERMINATION AND RELEASE;ASSIGNOR:JPMORGAN CHASE BANK, N.A., AS ADMINISTRATIVE AGENT;REEL/FRAME:036013/0775

Effective date: 20150630

AS Assignment

Owner name: MILLENIUM INDUSTRIES CORPORATION, MICHIGAN

Free format text: RELEASE OF SECURITY INTEREST (REEL 036013, FRAME 0666);ASSIGNOR:JPMORGAN CHASE BANK, N.A., AS COLLATERAL AGENT;REEL/FRAME:070917/0957

Effective date: 20250422

Owner name: TI AUTOMOTIVE, L.L.C., MICHIGAN

Free format text: RELEASE OF SECURITY INTEREST (REEL 036013, FRAME 0666);ASSIGNOR:JPMORGAN CHASE BANK, N.A., AS COLLATERAL AGENT;REEL/FRAME:070917/0957

Effective date: 20250422

Owner name: HANIL USA, L.L.C., ALABAMA

Free format text: RELEASE OF SECURITY INTEREST (REEL 036013, FRAME 0666);ASSIGNOR:JPMORGAN CHASE BANK, N.A., AS COLLATERAL AGENT;REEL/FRAME:070917/0957

Effective date: 20250422

Owner name: TI GROUP AUTOMOTIVE SYSTEMS, L.L.C., MICHIGAN

Free format text: RELEASE OF SECURITY INTEREST (REEL 036013, FRAME 0666);ASSIGNOR:JPMORGAN CHASE BANK, N.A., AS COLLATERAL AGENT;REEL/FRAME:070917/0957

Effective date: 20250422