US9462947B2 - Measurement method and arrangement utilizing electromagnetic waves - Google Patents

Measurement method and arrangement utilizing electromagnetic waves Download PDF

Info

Publication number
US9462947B2
US9462947B2 US14/785,603 US201414785603A US9462947B2 US 9462947 B2 US9462947 B2 US 9462947B2 US 201414785603 A US201414785603 A US 201414785603A US 9462947 B2 US9462947 B2 US 9462947B2
Authority
US
United States
Prior art keywords
mechanical wave
eye
location
electromagnetic waves
recording
Prior art date
Legal status (The legal status is an assumption and is not a legal conclusion. Google has not performed a legal analysis and makes no representation as to the accuracy of the status listed.)
Active
Application number
US14/785,603
Other versions
US20160066786A1 (en
Inventor
Antti Kontiola
Current Assignee (The listed assignees may be inaccurate. Google has not performed a legal analysis and makes no representation or warranty as to the accuracy of the list.)
Photono Oy
Original Assignee
Photono Oy
Priority date (The priority date is an assumption and is not a legal conclusion. Google has not performed a legal analysis and makes no representation as to the accuracy of the date listed.)
Filing date
Publication date
Application filed by Photono Oy filed Critical Photono Oy
Assigned to PHOTONO OY reassignment PHOTONO OY ASSIGNMENT OF ASSIGNORS INTEREST (SEE DOCUMENT FOR DETAILS). Assignors: KONTIOLA, ANTTI
Publication of US20160066786A1 publication Critical patent/US20160066786A1/en
Application granted granted Critical
Publication of US9462947B2 publication Critical patent/US9462947B2/en
Active legal-status Critical Current
Anticipated expiration legal-status Critical

Links

Images

Classifications

    • AHUMAN NECESSITIES
    • A61MEDICAL OR VETERINARY SCIENCE; HYGIENE
    • A61BDIAGNOSIS; SURGERY; IDENTIFICATION
    • A61B3/00Apparatus for testing the eyes; Instruments for examining the eyes
    • A61B3/10Objective types, i.e. instruments for examining the eyes independent of the patients' perceptions or reactions
    • A61B3/16Objective types, i.e. instruments for examining the eyes independent of the patients' perceptions or reactions for measuring intraocular pressure, e.g. tonometers
    • A61B3/165Non-contacting tonometers
    • AHUMAN NECESSITIES
    • A61MEDICAL OR VETERINARY SCIENCE; HYGIENE
    • A61BDIAGNOSIS; SURGERY; IDENTIFICATION
    • A61B3/00Apparatus for testing the eyes; Instruments for examining the eyes
    • A61B3/10Objective types, i.e. instruments for examining the eyes independent of the patients' perceptions or reactions
    • A61B3/1005Objective types, i.e. instruments for examining the eyes independent of the patients' perceptions or reactions for measuring distances inside the eye, e.g. thickness of the cornea
    • AHUMAN NECESSITIES
    • A61MEDICAL OR VETERINARY SCIENCE; HYGIENE
    • A61BDIAGNOSIS; SURGERY; IDENTIFICATION
    • A61B3/00Apparatus for testing the eyes; Instruments for examining the eyes
    • A61B3/10Objective types, i.e. instruments for examining the eyes independent of the patients' perceptions or reactions
    • A61B3/102Objective types, i.e. instruments for examining the eyes independent of the patients' perceptions or reactions for optical coherence tomography [OCT]
    • AHUMAN NECESSITIES
    • A61MEDICAL OR VETERINARY SCIENCE; HYGIENE
    • A61BDIAGNOSIS; SURGERY; IDENTIFICATION
    • A61B3/00Apparatus for testing the eyes; Instruments for examining the eyes
    • A61B3/10Objective types, i.e. instruments for examining the eyes independent of the patients' perceptions or reactions
    • A61B3/107Objective types, i.e. instruments for examining the eyes independent of the patients' perceptions or reactions for determining the shape or measuring the curvature of the cornea
    • AHUMAN NECESSITIES
    • A61MEDICAL OR VETERINARY SCIENCE; HYGIENE
    • A61BDIAGNOSIS; SURGERY; IDENTIFICATION
    • A61B5/00Measuring for diagnostic purposes; Identification of persons
    • A61B5/0059Measuring for diagnostic purposes; Identification of persons using light, e.g. diagnosis by transillumination, diascopy, fluorescence
    • A61B5/0062Arrangements for scanning
    • A61B5/0066Optical coherence imaging
    • AHUMAN NECESSITIES
    • A61MEDICAL OR VETERINARY SCIENCE; HYGIENE
    • A61BDIAGNOSIS; SURGERY; IDENTIFICATION
    • A61B5/00Measuring for diagnostic purposes; Identification of persons
    • A61B5/0093Detecting, measuring or recording by applying one single type of energy and measuring its conversion into another type of energy
    • A61B5/0095Detecting, measuring or recording by applying one single type of energy and measuring its conversion into another type of energy by applying light and detecting acoustic waves, i.e. photoacoustic measurements

Definitions

  • the invention relates to measurement of physical eye properties by utilizing photo-acoustic (PA) excitation of electromagnetic wave signals in eye.
  • PA photo-acoustic
  • the excitation and/or detection of electromagnetic wave signals is to be performed by means of a beam of electromagnetic wave or impulse waveform, produced e.g. by a laser or pulsed laser source, which is for example mediated via electromagnetic waveguide (e.g. an optical fibre, collimator, lenses, masks and/or an arrangement of mirrors) and targeted onto an eye of a patient.
  • electromagnetic waveguide e.g. an optical fibre, collimator, lenses, masks and/or an arrangement of mirrors
  • An input of the electromagnetic wave into the eye is followed by electromagnetic-mechanical conversion (e.g. photo-acoustic conversion) which generates heat and mechanical vibration into the eye tissue.
  • electromagnetic-mechanical conversion e.g. photo-acoustic conversion
  • mechanical vibrations of the eye tissue are detected (e.g. by means of optical interferometry, optical coherence tomography or laser Doppler vibrometry).
  • the objective is thereby to generate mechanical waves (e.g. ultrasonic waves) to the eye and to detect said waves from the
  • Intraocular pressure measurement is one of the key measurements in ophthalmology, because glaucoma disease is a leading cause of blindness in western countries. Higher intraocular pressure is considered to be one of the key factors in pathophysiology of glaucoma.
  • the object of the present invention is to accomplish an improved pressure measurement method and arrangement being accurate and practical to use in pressure measurement applications.
  • This is achieved by a method for measuring pressure under a flexible cover by utilizing electromagnetic waves.
  • laser radiation is directed to the cover from a distance to generate vibration or mechanical wave to the cover at at least one generation location in the cover on the basis of photoacoustic phenomena, the generation location being at least one point where the laser radiation hits the cover, and in the method is detected on the basis of electromagnetic waves cover vibrations due to the mechanical wave, is recorded the detected mechanical wave at at least one recording location to form mechanical wave information, and in the method is determined pressure information of pressure under the flexible cover based on at least one recorded signal.
  • An object of the invention is also an arrangement for measuring pressure under a flexible cover by utilizing electromagnetic waves.
  • the arrangement comprises means for forming and directing laser radiation to the cover from a distance to generate vibration or mechanical wave to the cover at at least one generation location in the cover on the basis of photoacoustic phenomena, the generation location being at least one point where the laser radiation hits the cover, and means for detecting on the basis of electromagnetic waves cover vibrations due to the mechanical wave, means for recording the detected mechanical wave at at least one recording location to form mechanical wave information, and means for determining pressure information of pressure under the flexible cover based on at least one recorded signal.
  • the invention is based on utilization of vibration or mechanical wave to a cover generated by laser radiation to at least one generation location in the cover on the basis of photoacoustic phenomena.
  • the invention is detected on the basis of electromagnetic waves cover vibrations due to the mechanical wave, and recorded the detected mechanical wave at at least one recording location to form mechanical wave information on the basis of which is determined pressure information of pressure under the flexible cover.
  • the benefit of the invention is that error sources related to pressure measurements are minimized because distance information is not relevant and because the invention is not sensitive to temperature variations in human body measurements e.g. in intraocular pressure measurements or in blood pressure measurements.
  • the invention enables practical and fast pressure measurements which have less error sources than prior art measurements.
  • FIG. 1 presents a preferred embodiment according to the present invention.
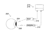
  • FIG. 1 is presented schematically an arrangement according to the present invention for measuring pressure under a flexible cover 202 by utilizing electromagnetic waves.
  • the arrangement is formed and directed laser radiation to the cover 202 from a distance 200 to generate vibration or mechanical wave to the cover 202 at at least one generation location 204 in the cover on the basis of photoacoustic phenomena.
  • the generation location is at least one point 206 where the laser radiation hits the cover 202 .
  • the laser radiation is formed and directed by means 210 , which comprise for example laser diodes and focusing and directing means to form and direct the laser radiation preferably to a scale of different frequencies.
  • the means 210 can generate the mechanical wave for example by tuning at least one of centre frequency and pattern of the mechanical wave to facilitate an in vivo excitation through the cover ( 202 ).
  • the arrangement of FIG. 1 comprises means 212 for detecting on the basis of electromagnetic waves cover vibrations due to the mechanical wave and means 214 for recording the detected mechanical wave at at least one recording location to form mechanical wave information.
  • the distance of said at least one recording location 206 from said at least one generation location 204 is known for example by being fixed in the arrangement or by distance measurement(s).
  • the means 212 can be constructed for example by using at least one of optical interferometry device, optical coherence tomography device and laser Doppler vibrometry device.
  • the means 212 can detect cover 202 vibrations for example based on the detection of first arriving signal (FAS).
  • FAS first arriving signal
  • the arrangement of FIG. 1 further comprises means 216 for determining pressure information of the pressure under the flexible cover 202 based on the recorded signal(s).
  • the means 214 and 216 can be realized by one or more preferably digital processor(s). In the example of FIG. 1 the means 214 , 216 are located in a same computer unit 214 , 216 .
  • pressure under a flexible cover 202 is intraocular pressure
  • the flexible cover 202 is surface 202 of an eye.
  • the arrangement according to the invention can also comprise means for measuring at least one of curvature of the eye, thickness of a cornea of the eye and water content of the eye to form additional measurement information to be utilized in the determination of the intraocular pressure information.
  • pressure under a flexible cover 202 is blood pressure
  • the flexible cover 202 is wall 202 of a blood vessel.
  • Blood pressure is one of the most important parameters in emergency and intensive care units treating critically ill or injured patients.
  • chronic elevated blood pressure is one of the pathophysiological factors causing arterial diseases, stroke and myocardial infarct.
  • Laser radiation excitation can be performed by different frequencies to the eye 202 or to the blood vessel 202 or to other flexible cover 202 of the embodiments according to the invention in order to obtain vibration and/or resonance information in different frequencies for the determination of pressure information of eye or blood vessel or other flexible cover.
  • frequency response information can be utilized in the pressure information determination with or without velocity information of mechanical wave (e.g. ultrasound wave) in the eye 202 or in the blood vessel 202 or under or in other flexible cover 202 .
  • FIG. 1 a more detailed preferred embodiment according to the present invention, said embodiment being especially related to eye pressure, i.e. intraocular pressure measurements.
  • means 210 is generated by utilizing electromagnetic waves at least one mechanical wave at at least one generation location 204 into the eye tissue.
  • the eye 202 can be open or closed. Measurement can be made from cornea or sclera of the eye.
  • the preferred arrangement comprises means 212 for detecting the electromagnetic output. In said detection is detected by means of electromagnetic waves eye tissue vibrations due to at least one mechanical wave.
  • laser beam is guided through an optical fiber where after it is absorbed to the eye tissue and generates for example an ultrasound wave. Time-delayed excitation is attained by employing a time delay (t 0 ) between trigger signals of for example laser diodes.
  • the arrangement comprises means 214 for recording the detected at least one mechanical wave at at least one recording location to form mechanical wave information. Distance of said at least one recording location from said at least one generation location is known.
  • the arrangement comprises means 216 for determining intraocular pressure based on at least one recorded signal. Said means 214 , 216 are arranged for example in a computer processor utilizing calculative programs, when needed.
  • the computer processor 214 , 216 is presented schematically in the FIG. 1 . Wired or wireless data transmission is used between the computer processor 214 , 216 and the means 210 , 212 to perform data transmissions between them.
  • the method according to the preferred embodiment is generated by means of electromagnetic waves at least one mechanical wave at at least one generation location into the eye 202 directly or through an eyelid.
  • the second method step is detected by means of electromagnetic waves ocular vibrations due to at least one mechanical wave, is recorded the detected at least one mechanical wave at at least one recording location to form mechanical wave information, and distance of said at least one recording location from said at least one generation location is known, and further in the second method step is determined eye properties based on at least one recorded signal. If the recorded signal is analyzed based on signal amplitude in different frequencies, said distance information and/or location information is not necessarily relevant.
  • the preferred arrangement can also comprise means 100 for tuning at least one of centre frequency and pattern of the mechanical wave to facilitate an in vivo excitation into the eye 202 .
  • the second means 103 for detecting ( FIG. 2 ) by means of electromagnetic waves ocular vibrations comprise at least one of a optical interferometer 103 , optical coherence tomography device 103 and laser Doppler vibrometer 103 , and correspondingly the detection of ocular vibrations is based on at least one of optical interferometry, optical coherence tomography and laser Doppler vibrometry.
  • the optical interferometer 103 , optical coherence tomography device 103 and laser Doppler vibrometer 103 can also be named as electromagnetic wave sensors 103 .
  • the preferred detection of ocular vibrations by the second means 103 is based on the detection of at least one of first arriving signal (FAS).
  • FAS first arriving signal
  • Eye can be excited to different frequencies and the amplitude of the mechanical wave detected.
  • Different intraocular pressures output different pattern of amplitudes at different frequencies.
  • Used frequencies can be for example ultrasound frequencies or lower frequencies such as even infrasound frequencies.
  • Photo-acoustic means, i.e. electromagnetic wave sensors, essentially enable flexible tuning of the excitation and detection which, by a number of ways, can facilitate the in vivo excitation and detection of vibrations of the surface of the eye.
  • the idea is to generate a mode that is strong and easy to recognize at the receiver. This mode should also be able to differentiate between intraocular pressures.
  • Tuning of excitation and/or detection by PA can be comprised of the following aspects: A. Tuning of optical wavelength (wavelength of the electromagnetic beam) so as to provide maximal light absorption in the eye conditioned on minimizing the absorption in the covering soft tissue. The photoacoustic source (i.e. source of mechanical waves) is thereby generated into the eye. B. Tuning of the shape of an illuminated surface so as to produce the strongest possible targeted mode at the receiver. Optimal shape can be, e.g., a sphere, line or crest. C. Tuning of the mechanical (e.g. ultrasonic) centre frequency of excitation, so as to provide (a) optimal excitability and (2) sufficient (or optimal) sensitivity to intraocular pressure. D. Tuning of the magnitude of phase delay in the case of phase delayed excitation, so as to facilitate selective excitation of one particular mode.
  • A. Tuning of optical wavelength (wavelength of the electromagnetic beam) so as to provide maximal light absorption in the eye conditioned on minimizing the absorption in the covering soft tissue.

Landscapes

  • Health & Medical Sciences (AREA)
  • Life Sciences & Earth Sciences (AREA)
  • Physics & Mathematics (AREA)
  • Public Health (AREA)
  • Veterinary Medicine (AREA)
  • Biophysics (AREA)
  • Engineering & Computer Science (AREA)
  • Biomedical Technology (AREA)
  • Heart & Thoracic Surgery (AREA)
  • Medical Informatics (AREA)
  • Molecular Biology (AREA)
  • Surgery (AREA)
  • Animal Behavior & Ethology (AREA)
  • General Health & Medical Sciences (AREA)
  • Ophthalmology & Optometry (AREA)
  • Pathology (AREA)
  • Radiology & Medical Imaging (AREA)
  • Nuclear Medicine, Radiotherapy & Molecular Imaging (AREA)
  • Acoustics & Sound (AREA)
  • Eye Examination Apparatus (AREA)
  • Investigating Or Analyzing Materials By The Use Of Ultrasonic Waves (AREA)
  • Ultra Sonic Daignosis Equipment (AREA)
  • Investigating Or Analysing Materials By Optical Means (AREA)
  • Measuring Fluid Pressure (AREA)
  • Measurement Of Mechanical Vibrations Or Ultrasonic Waves (AREA)

Abstract

A method is disclosed for measuring pressure under a flexible cover by utilizing electromagnetic waves. Laser radiation is directed to the cover from a distance to generate vibration or a mechanical wave at the cover at at least one generation location of the cover on the basis of photoacoustic phenomena. Based on the electromagnetic waves, cover vibrations are detected due to the mechanical wave, and recorded to detect the mechanical wave at at least one recording location and to form mechanical wave information. Pressure information of pressure under the flexible cover is detected based on at least one recorded signal.

Description

THE FIELD OF THE INVENTION
The invention relates to measurement of physical eye properties by utilizing photo-acoustic (PA) excitation of electromagnetic wave signals in eye.
THE STATE OF THE ART
Essentially, the excitation and/or detection of electromagnetic wave signals is to be performed by means of a beam of electromagnetic wave or impulse waveform, produced e.g. by a laser or pulsed laser source, which is for example mediated via electromagnetic waveguide (e.g. an optical fibre, collimator, lenses, masks and/or an arrangement of mirrors) and targeted onto an eye of a patient. An input of the electromagnetic wave into the eye is followed by electromagnetic-mechanical conversion (e.g. photo-acoustic conversion) which generates heat and mechanical vibration into the eye tissue. Correspondingly, at an output of electromagnetic waves, mechanical vibrations of the eye tissue are detected (e.g. by means of optical interferometry, optical coherence tomography or laser Doppler vibrometry). The objective is thereby to generate mechanical waves (e.g. ultrasonic waves) to the eye and to detect said waves from the eye. The potential applications relate especially to determination of an intraocular pressure, i.e. an eye pressure.
Intraocular pressure measurement is one of the key measurements in ophthalmology, because glaucoma disease is a leading cause of blindness in western countries. Higher intraocular pressure is considered to be one of the key factors in pathophysiology of glaucoma.
In US patent application US 2010/0249569A1 is presented a non-contact ultrasonic tonometer for intraocular pressure measurements, in which is used piezo-electrical transducers to perform excitation of frequency signals into the eye. The positions of said transducers have to be exactly measured, which causes complexity and slowness to the intraocular pressure measurement procedure. Also temperature variations can be error sources in the intraocular pressure measurement information together with possible errors in said position measurements.
SHORT DESCRIPTION OF THE INVENTION
The object of the present invention is to accomplish an improved pressure measurement method and arrangement being accurate and practical to use in pressure measurement applications. This is achieved by a method for measuring pressure under a flexible cover by utilizing electromagnetic waves. In the method laser radiation is directed to the cover from a distance to generate vibration or mechanical wave to the cover at at least one generation location in the cover on the basis of photoacoustic phenomena, the generation location being at least one point where the laser radiation hits the cover, and in the method is detected on the basis of electromagnetic waves cover vibrations due to the mechanical wave, is recorded the detected mechanical wave at at least one recording location to form mechanical wave information, and in the method is determined pressure information of pressure under the flexible cover based on at least one recorded signal.
An object of the invention is also an arrangement for measuring pressure under a flexible cover by utilizing electromagnetic waves. The arrangement comprises means for forming and directing laser radiation to the cover from a distance to generate vibration or mechanical wave to the cover at at least one generation location in the cover on the basis of photoacoustic phenomena, the generation location being at least one point where the laser radiation hits the cover, and means for detecting on the basis of electromagnetic waves cover vibrations due to the mechanical wave, means for recording the detected mechanical wave at at least one recording location to form mechanical wave information, and means for determining pressure information of pressure under the flexible cover based on at least one recorded signal.
The invention is based on utilization of vibration or mechanical wave to a cover generated by laser radiation to at least one generation location in the cover on the basis of photoacoustic phenomena. In the invention is detected on the basis of electromagnetic waves cover vibrations due to the mechanical wave, and recorded the detected mechanical wave at at least one recording location to form mechanical wave information on the basis of which is determined pressure information of pressure under the flexible cover.
The benefit of the invention is that error sources related to pressure measurements are minimized because distance information is not relevant and because the invention is not sensitive to temperature variations in human body measurements e.g. in intraocular pressure measurements or in blood pressure measurements. Thus the invention enables practical and fast pressure measurements which have less error sources than prior art measurements.
SHORT DESCRIPTION OF FIGURES
FIG. 1 presents a preferred embodiment according to the present invention.
DETAILED DESCRIPTION OF THE INVENTION
In FIG. 1 is presented schematically an arrangement according to the present invention for measuring pressure under a flexible cover 202 by utilizing electromagnetic waves. In the arrangement is formed and directed laser radiation to the cover 202 from a distance 200 to generate vibration or mechanical wave to the cover 202 at at least one generation location 204 in the cover on the basis of photoacoustic phenomena. The generation location is at least one point 206 where the laser radiation hits the cover 202. The laser radiation is formed and directed by means 210, which comprise for example laser diodes and focusing and directing means to form and direct the laser radiation preferably to a scale of different frequencies. The means 210 can generate the mechanical wave for example by tuning at least one of centre frequency and pattern of the mechanical wave to facilitate an in vivo excitation through the cover (202).
The arrangement of FIG. 1 comprises means 212 for detecting on the basis of electromagnetic waves cover vibrations due to the mechanical wave and means 214 for recording the detected mechanical wave at at least one recording location to form mechanical wave information. In some embodiments of the invention the distance of said at least one recording location 206 from said at least one generation location 204 is known for example by being fixed in the arrangement or by distance measurement(s). The means 212 can be constructed for example by using at least one of optical interferometry device, optical coherence tomography device and laser Doppler vibrometry device. The means 212 can detect cover 202 vibrations for example based on the detection of first arriving signal (FAS).
The arrangement of FIG. 1 further comprises means 216 for determining pressure information of the pressure under the flexible cover 202 based on the recorded signal(s). The means 214 and 216 can be realized by one or more preferably digital processor(s). In the example of FIG. 1 the means 214, 216 are located in a same computer unit 214, 216.
In one embodiment according to the invention pressure under a flexible cover 202 is intraocular pressure, and the flexible cover 202 is surface 202 of an eye. The arrangement according to the invention can also comprise means for measuring at least one of curvature of the eye, thickness of a cornea of the eye and water content of the eye to form additional measurement information to be utilized in the determination of the intraocular pressure information.
In another embodiment according to the invention pressure under a flexible cover 202 is blood pressure, and the flexible cover 202 is wall 202 of a blood vessel. Blood pressure is one of the most important parameters in emergency and intensive care units treating critically ill or injured patients. Also chronic elevated blood pressure is one of the pathophysiological factors causing arterial diseases, stroke and myocardial infarct.
Laser radiation excitation can be performed by different frequencies to the eye 202 or to the blood vessel 202 or to other flexible cover 202 of the embodiments according to the invention in order to obtain vibration and/or resonance information in different frequencies for the determination of pressure information of eye or blood vessel or other flexible cover. Thus frequency response information can be utilized in the pressure information determination with or without velocity information of mechanical wave (e.g. ultrasound wave) in the eye 202 or in the blood vessel 202 or under or in other flexible cover 202.
Next will be discussed related to FIG. 1 a more detailed preferred embodiment according to the present invention, said embodiment being especially related to eye pressure, i.e. intraocular pressure measurements. By means 210 is generated by utilizing electromagnetic waves at least one mechanical wave at at least one generation location 204 into the eye tissue. The eye 202 can be open or closed. Measurement can be made from cornea or sclera of the eye. The preferred arrangement comprises means 212 for detecting the electromagnetic output. In said detection is detected by means of electromagnetic waves eye tissue vibrations due to at least one mechanical wave. In a preferred phase delayed embodiment laser beam is guided through an optical fiber where after it is absorbed to the eye tissue and generates for example an ultrasound wave. Time-delayed excitation is attained by employing a time delay (t0) between trigger signals of for example laser diodes.
The arrangement comprises means 214 for recording the detected at least one mechanical wave at at least one recording location to form mechanical wave information. Distance of said at least one recording location from said at least one generation location is known. The arrangement comprises means 216 for determining intraocular pressure based on at least one recorded signal. Said means 214, 216 are arranged for example in a computer processor utilizing calculative programs, when needed. The computer processor 214, 216 is presented schematically in the FIG. 1. Wired or wireless data transmission is used between the computer processor 214, 216 and the means 210, 212 to perform data transmissions between them.
In the method according to the preferred embodiment is generated by means of electromagnetic waves at least one mechanical wave at at least one generation location into the eye 202 directly or through an eyelid. In the second method step is detected by means of electromagnetic waves ocular vibrations due to at least one mechanical wave, is recorded the detected at least one mechanical wave at at least one recording location to form mechanical wave information, and distance of said at least one recording location from said at least one generation location is known, and further in the second method step is determined eye properties based on at least one recorded signal. If the recorded signal is analyzed based on signal amplitude in different frequencies, said distance information and/or location information is not necessarily relevant.
Different frequencies can be used. The preferred arrangement can also comprise means 100 for tuning at least one of centre frequency and pattern of the mechanical wave to facilitate an in vivo excitation into the eye 202. The second means 103 for detecting (FIG. 2) by means of electromagnetic waves ocular vibrations comprise at least one of a optical interferometer 103, optical coherence tomography device 103 and laser Doppler vibrometer 103, and correspondingly the detection of ocular vibrations is based on at least one of optical interferometry, optical coherence tomography and laser Doppler vibrometry. The optical interferometer 103, optical coherence tomography device 103 and laser Doppler vibrometer 103 can also be named as electromagnetic wave sensors 103. The preferred detection of ocular vibrations by the second means 103 is based on the detection of at least one of first arriving signal (FAS). Eye can be excited to different frequencies and the amplitude of the mechanical wave detected. Different intraocular pressures output different pattern of amplitudes at different frequencies. Used frequencies can be for example ultrasound frequencies or lower frequencies such as even infrasound frequencies.
In following description is described in details one of the preferred modes of the present invention. Photo-acoustic (=PA, later on in this description) means, i.e. electromagnetic wave sensors, essentially enable flexible tuning of the excitation and detection which, by a number of ways, can facilitate the in vivo excitation and detection of vibrations of the surface of the eye. The idea is to generate a mode that is strong and easy to recognize at the receiver. This mode should also be able to differentiate between intraocular pressures.
Tuning of excitation and/or detection by PA can be comprised of the following aspects: A. Tuning of optical wavelength (wavelength of the electromagnetic beam) so as to provide maximal light absorption in the eye conditioned on minimizing the absorption in the covering soft tissue. The photoacoustic source (i.e. source of mechanical waves) is thereby generated into the eye. B. Tuning of the shape of an illuminated surface so as to produce the strongest possible targeted mode at the receiver. Optimal shape can be, e.g., a sphere, line or crest. C. Tuning of the mechanical (e.g. ultrasonic) centre frequency of excitation, so as to provide (a) optimal excitability and (2) sufficient (or optimal) sensitivity to intraocular pressure. D. Tuning of the magnitude of phase delay in the case of phase delayed excitation, so as to facilitate selective excitation of one particular mode.
  • 1. Photoacoustic (PA) means (e.g. optical fibre and/or lasers diodes) enables to increase the number of sources due to a smaller element diameter. The accuracy of assessment of vibration or the accuracy of assessment of mechanical wave velocity can thus be increased.
  • 2. Position of the photo-acoustic source or an array of photo-acoustic sources can easily be scanned, so as to further increase the accuracy of velocity determination.
  • 3. PA means can enable rapid tuning of the acoustic centre frequency of excitation, so as to enable assessment of dispersion of the first arriving signal (FAS) velocity, successively from rapidly iterated measurements by scanning the centre frequency.
  • 4. Proper choice of the optical wavelength to minimize optical absorption in the eyelid in case the measurement is performed through the eyelid. The lower the optical absorption the weaker the PA source is. When the PA source is weak in the soft tissue, energy excited into interference modes in the soft tissue is also weak.
  • 5. Proper choice of the optical wavelength to minimize optical scattering, so as to enable sharp beam towards the eye.
  • 6. Proper choice of optical wavelength to maximize the optical absorption in the eye, so as to produce a strong PA source to the eye.
  • 7. Proper tuning of the acoustic excitation frequency, so as to facilitate the excitation of A0 through the soft tissue coating. The A0 is most efficiently excited at very low ultrasonic frequencies, preferably at 20-120 kHz, however, piezo elements of such frequencies have inappropriately large diameter for the purpose. PA means enable point sources at such frequencies.
  • 8. In the method and arrangement according to the present invention is preferably properly adjusted the shape and size of area irradiated by the laser (preferably a narrow line), so as to maximize the amount of photoacoustic energy within the safety limits for the human tissue, but to minimize the surface area to facilitate the excitation into the eye. The excitation power is a function of the beam intensity and the surface area irradiated.
  • 9. Phase delayed excitation by an array of sources can be used to further facilitate the excitation of A0.
  • 10. Implementation of a point or narrow line detector, also enabled by PA means.
  • 11. Important features are convenient position adjustments and appropriate feedback based on the ultrasound signal being measured during the fine adjustments of the position. The main requirements are reasonably rapid and reproducible positioning.
  • 12. According to the experience from present US devices, a hand-held probe together with instant response from the measured signal enable intuitive positioning.
    • Alternatively, the PA source can be packed together with one or two PA receivers inside a hand-held probe, wherein the source is implemented by a laser diode or an array of laser diodes and the receiver by, e.g., a pair of interferometric detectors. Such a design can provide a potential embodiment for the entire photoacoustic (PA) device, which is suitable for clinical use.
  • 13. If measurements are made through for example an eyelid it may be preferred to carefully choice several parameters (such as for example optical wavelength and beam intensity, tuning the PA source for optimal acoustic wavelength, and potentially hampering the propagation of interference modes) simultaneously or partly simultaneously.
  • 14. A means enable flexible tuning of the excitation (and detection).
    • a. Point or point-like (including thin line) sources are enabled also at very low frequencies (f=20-120 kHz). PA means also enable implementation of point-like detectors. The point-like source and receivers are known to be optimal for facilitating the excitation and detection.
    • b. Instantaneous tuning of the centre frequency of ultrasonic excitation by certain PA sources (laser diodes), so as to enable dispersion assessment of transient ultrasound modes (such as the FAS).
    • c. Phase-delayed excitation to further facilitate the excitation of ultrasonic modes. Advantages of PA arise from the possibility to point-like sensor elements, which enable inclusion of several sensor elements inside a short clinical array probe.
  • 15. Device design which may be of critical importance for the success with clinical applications of the method proposed.
Although the invention has been presented in reference to the attached figures and specification, the invention is by no means limited to those, as the invention is subject to variations within the scope allowed for by the claims.

Claims (18)

The invention claimed is:
1. A method for measuring intraocular pressure under a surface of an eye by utilizing electromagnetic waves, comprising:
directing laser radiation to the surface from a distance to generate vibration or a mechanical wave at the surface at at least one generation location of the surface based on a photoacoustic phenomena, the generation location being at least one point where the laser radiation hits the surface;
detecting, based on electromagnetic waves, surface vibrations due to the mechanical wave by using at least one of optical interferometry, optical coherence tomography and laser Doppler vibrometry;
recording detected surface vibrations at at least one recording location to form mechanical wave information; and
determining pressure information of intraocular pressure under the surface of the eye based on at least one recorded signal of the recording location.
2. A method according to claim 1, comprising:
measuring at least one of curvature of an eye, thickness of a cornea of an eye and water content of an eye to form additional measurement information for determining intraocular pressure information.
3. A method according to claim 2, wherein a distance of said at least one recording location from said at least one generation location is known.
4. A method according to claim 3, wherein the detecting of surface vibrations is based on a detection of a first arriving signal (FAS).
5. A method according to claim 4, comprising:
generating the mechanical wave by tuning at least one of a centre frequency and a pattern of the mechanical wave to facilitate an in vivo excitation through the surface.
6. A method according to claim 1, wherein a distance of said at least one recording location from said at least one generation location is known.
7. A method according to claim 1, wherein the detecting of surface vibrations is based on a detection of a first arriving signal (FAS).
8. A method according to claim 1, comprising:
generating the mechanical wave by tuning at least one of a centre frequency and a pattern of the mechanical wave to facilitate an in vivo excitation through the surface.
9. A method according to claim 1, wherein the generation location is a cornea or schlera of an eyeball.
10. A method according to claim 1, wherein the generation location is a cornea or schlera of an eyeball.
11. An arrangement for measuring intraocular pressure under a surface of an eye by utilizing electromagnetic waves, the arrangement comprising:
means for forming and directing laser radiation to a surface from a distance to generate vibration or a mechanical wave at the surface at at least one generation location of the surface based on photoacoustic phenomena, the generation location being at least one point where the laser radiation hits the surface;
means for detecting, based on electromagnetic waves, surface vibrations due to the mechanical wave by using at least one of an optical interferometer, an optical coherence tomography device and a laser Doppler vibrometer;
means for recording detected surface vibrations at at least one recording location to form mechanical wave information; and
means for determining intraocular pressure under surface of an eye based on at least one recorded signal of the recording location.
12. An arrangement according to claim 11, comprising:
means for measuring at least one of curvature of an eye, thickness of a cornea of an eye and water content of an eye to form additional measurement information for determination of intraocular pressure information.
13. An arrangement according to claim 12, wherein a distance of said at least one recording location from said at least one generation location is known.
14. An arrangement according to claim 13, wherein the means for detecting surface vibrations is configured to detect a first arriving signal (FAS).
15. An arrangement according to claim 14, wherein the means for forming and directing laser radiation is configured to generate a mechanical wave by tuning at least one of centre frequency and pattern of the mechanical wave to facilitate an in vivo excitation through a surface of an eye.
16. An arrangement according to claim 11, wherein a distance of said at least one recording location from said at least one generation location is known.
17. An arrangement according to claim 11, wherein the means for detecting surface vibrations is configured to detect a first arriving signal (FAS).
18. An arrangement according to claim 11, wherein the means for forming and directing laser radiation is configured to generate a mechanical wave by tuning at least one of a centre frequency and pattern of the mechanical wave to facilitate an in vivo excitation through a surface of an eye.
US14/785,603 2013-04-19 2014-04-17 Measurement method and arrangement utilizing electromagnetic waves Active US9462947B2 (en)

Applications Claiming Priority (3)

Application Number Priority Date Filing Date Title
FI20135401A FI20135401L (en) 2013-04-19 2013-04-19 Measurement method and measurement arrangement for utilizing electromagnetic waves
FI20135401 2013-04-19
PCT/FI2014/050287 WO2014170556A1 (en) 2013-04-19 2014-04-17 A measurement method and arrangement utilizing electromagnetic waves

Publications (2)

Publication Number Publication Date
US20160066786A1 US20160066786A1 (en) 2016-03-10
US9462947B2 true US9462947B2 (en) 2016-10-11

Family

ID=50780485

Family Applications (1)

Application Number Title Priority Date Filing Date
US14/785,603 Active US9462947B2 (en) 2013-04-19 2014-04-17 Measurement method and arrangement utilizing electromagnetic waves

Country Status (8)

Country Link
US (1) US9462947B2 (en)
EP (1) EP2986200B1 (en)
JP (1) JP6437525B2 (en)
CN (1) CN105120736B (en)
AU (1) AU2014255586B2 (en)
ES (1) ES2665447T3 (en)
FI (1) FI20135401L (en)
WO (1) WO2014170556A1 (en)

Cited By (4)

* Cited by examiner, † Cited by third party
Publication number Priority date Publication date Assignee Title
US20160174933A1 (en) * 2014-12-18 2016-06-23 National Taiwan University Acoustic wave intraocular pressure detecting device and method thereof
DE102022201297A1 (en) 2022-02-08 2023-08-10 Carl Zeiss Meditec Ag Tonometer for measuring intraocular pressure
DE102022201296A1 (en) 2022-02-08 2023-08-10 Carl Zeiss Meditec Ag Arrangement for obtaining diagnostic information from the eye
WO2023174812A1 (en) 2022-03-17 2023-09-21 Carl Zeiss Meditec Ag Appliance for collecting ophthalmic diagnostic information

Families Citing this family (13)

* Cited by examiner, † Cited by third party
Publication number Priority date Publication date Assignee Title
US10456044B2 (en) * 2013-11-22 2019-10-29 Massachusetts Institute Of Technology Systems and methods for generating non-contact ultrasound images using photoacoustic energy
FI20145205A7 (en) 2014-03-04 2015-09-05 Photono Oy Method and arrangement for eye pressure measurements
TW201703722A (en) * 2015-07-21 2017-02-01 明達醫學科技股份有限公司 Measurement apparatus and operating method thereof
US10602931B2 (en) 2016-03-14 2020-03-31 Massachusetts Institute Of Technology System and method for non-contact ultrasound with enhanced safety
US10925767B2 (en) 2018-03-06 2021-02-23 Lutronic Vision Inc Laser doppler vibrometry for eye surface vibration measurement to determine cell damage
CN109217914B (en) * 2018-09-13 2019-08-20 徐州时空思维智能科技有限公司 A kind of electromagnetic wave data transmission method and system
FI128150B (en) * 2018-11-29 2019-11-15 Photono Oy A system and a method for measuring pressure of an eye
CN111345777A (en) * 2018-12-21 2020-06-30 中国科学院半导体研究所 Wearable intraocular pressure detection device and detection method based on contact lens grating
FI20195098A1 (en) * 2019-02-12 2020-08-13 Photono Oy System and method for detecting a wave occurring in/on a membrane
US20210076944A1 (en) * 2019-09-18 2021-03-18 Massachusetts Institute Of Technology System and method for non-contact ultrasound image reconstruction
FI129285B (en) * 2020-02-11 2021-11-15 Photono Oy Device and method for detecting motion of a surface
EP4342362A4 (en) * 2021-05-18 2024-07-24 Quovisu LLC DEVICE FOR CONTACTLESS MEASUREMENT OF PHYSICAL PROPERTIES OF THE EYEBALL
CN114587266B (en) * 2022-03-15 2025-08-26 深圳大学 Method, system, electronic device and storage medium for determining eye tissue information

Citations (17)

* Cited by examiner, † Cited by third party
Publication number Priority date Publication date Assignee Title
DE3918629A1 (en) 1989-06-07 1990-12-13 Juergen Spahn Contactlessly registering internal pressure of eye - illuminating eye by modulated IR radiation to use photo-acoustic effects
US6110110A (en) 1993-08-04 2000-08-29 Dublin, Jr.; Wilbur Leslie Apparatus and method for monitoring intraocular and blood pressure by non-contact contour measurement
US20030187342A1 (en) 2002-03-28 2003-10-02 Oscar Cuzzani Non-contacting tonometer
US6671043B1 (en) 1999-07-12 2003-12-30 Medizinisches Laserzentrum Luebeck Gmbh Process and apparatus for measuring density fluctuations occurring with pulsed irradiation of a material
US20050279369A1 (en) * 2004-06-21 2005-12-22 Lin J T Method and apparatus for the treatment of presbyopia and glaucoma by ciliary body ablation
WO2006067699A1 (en) 2004-12-20 2006-06-29 Koninklijke Philips Electronics N.V. Investigation of body structures
US20080255433A1 (en) 2007-04-11 2008-10-16 The Board Of Regents Of The University Of Texas Syatem Optoacoustic monitoring of multiple parameters
WO2010031395A1 (en) 2008-09-19 2010-03-25 Fraunhofer-Gesellschaft zur Förderung der angewandten Forschung e.V. Laser-based apparatus and method for the non-contact scanning of eyes
US20100249562A1 (en) 2009-03-17 2010-09-30 Zhang Hao F Ultrasonic imaging device
US20100249569A1 (en) 2009-03-31 2010-09-30 Nidek Co., Ltd. Non-contact ultrasonic tonometer
US20120150013A1 (en) 2005-10-14 2012-06-14 Peyman Gholam A Photoacoustic measurement of analyte concentration in the eye
WO2012101644A2 (en) 2011-01-28 2012-08-02 Bar Ilan University Method and system for non-invasively monitoring biological or biochemical parameters of individual
US20120302862A1 (en) 2011-04-29 2012-11-29 The General Hospital Corporation Methods and arrangements for obtaining information and providing analysis for biological tissues
US20130085370A1 (en) 2011-10-02 2013-04-04 Avedro, Inc. Systems and methods for applying and monitoring eye therapy
WO2013063540A1 (en) 2011-10-28 2013-05-02 Covidien Lp Methods and systems for continuous non-invasive blood pressure measurement using photoacoustics
US20140148658A1 (en) 2011-01-28 2014-05-29 Universitat De Valencia Method and system for non-invasively monitoring biological or biochemical parameters of individual
US20150085249A1 (en) * 2001-02-23 2015-03-26 Geelux Holding, Ltd. Noninvasive measurement of chemical substances

Family Cites Families (8)

* Cited by examiner, † Cited by third party
Publication number Priority date Publication date Assignee Title
JPS60119919A (en) * 1983-12-03 1985-06-27 キヤノン株式会社 Ophthalmological examination device
US5830139A (en) * 1996-09-04 1998-11-03 Abreu; Marcio M. Tonometer system for measuring intraocular pressure by applanation and/or indentation
FR2814935B1 (en) * 2000-10-10 2003-03-28 Chru Lille METHOD AND DIPOSITIVE FOR DETECTING OWN EYE VIBRATION MODES, BY LASER INTERFEROMETRY, AND THEIR APPLICATION TO MEASUREMENT OF INTRAOCULAR PRESSURE
AU2003214592A1 (en) * 2002-03-05 2003-09-16 Microsense Cardiovascular Systems 1996 Implantable passive intraocular pressure sensor
FI119096B (en) * 2004-12-21 2008-07-31 Tiolat Oy Arrangement at an eye pressure gauge
JP4490386B2 (en) * 2006-03-27 2010-06-23 日本電信電話株式会社 Component concentration measuring device
ES2396088T3 (en) * 2006-04-26 2013-02-19 Eastern Virginia Medical School Systems to monitor and control the internal pressure of an eye or a body part
CN101190122B (en) * 2006-11-30 2012-01-11 蒂奥拉特公司 Method for measuring intraocular pressure

Patent Citations (20)

* Cited by examiner, † Cited by third party
Publication number Priority date Publication date Assignee Title
DE3918629A1 (en) 1989-06-07 1990-12-13 Juergen Spahn Contactlessly registering internal pressure of eye - illuminating eye by modulated IR radiation to use photo-acoustic effects
US6110110A (en) 1993-08-04 2000-08-29 Dublin, Jr.; Wilbur Leslie Apparatus and method for monitoring intraocular and blood pressure by non-contact contour measurement
US6671043B1 (en) 1999-07-12 2003-12-30 Medizinisches Laserzentrum Luebeck Gmbh Process and apparatus for measuring density fluctuations occurring with pulsed irradiation of a material
US20150085249A1 (en) * 2001-02-23 2015-03-26 Geelux Holding, Ltd. Noninvasive measurement of chemical substances
US20030187342A1 (en) 2002-03-28 2003-10-02 Oscar Cuzzani Non-contacting tonometer
US20050279369A1 (en) * 2004-06-21 2005-12-22 Lin J T Method and apparatus for the treatment of presbyopia and glaucoma by ciliary body ablation
WO2006067699A1 (en) 2004-12-20 2006-06-29 Koninklijke Philips Electronics N.V. Investigation of body structures
US20090292202A1 (en) 2004-12-20 2009-11-26 Koninklijke Philips Electronics, N.V. Investigation of body structures
US20120150013A1 (en) 2005-10-14 2012-06-14 Peyman Gholam A Photoacoustic measurement of analyte concentration in the eye
US20080255433A1 (en) 2007-04-11 2008-10-16 The Board Of Regents Of The University Of Texas Syatem Optoacoustic monitoring of multiple parameters
WO2010031395A1 (en) 2008-09-19 2010-03-25 Fraunhofer-Gesellschaft zur Förderung der angewandten Forschung e.V. Laser-based apparatus and method for the non-contact scanning of eyes
DE102008049692A1 (en) 2008-09-19 2010-04-01 Fraunhofer-Gesellschaft zur Förderung der angewandten Forschung e.V. Laser-based device for non-contact scanning of eyes and corresponding laser-based scanning method
US20100249562A1 (en) 2009-03-17 2010-09-30 Zhang Hao F Ultrasonic imaging device
US20100249569A1 (en) 2009-03-31 2010-09-30 Nidek Co., Ltd. Non-contact ultrasonic tonometer
WO2012101644A2 (en) 2011-01-28 2012-08-02 Bar Ilan University Method and system for non-invasively monitoring biological or biochemical parameters of individual
US20140148658A1 (en) 2011-01-28 2014-05-29 Universitat De Valencia Method and system for non-invasively monitoring biological or biochemical parameters of individual
US20120302862A1 (en) 2011-04-29 2012-11-29 The General Hospital Corporation Methods and arrangements for obtaining information and providing analysis for biological tissues
US20130085370A1 (en) 2011-10-02 2013-04-04 Avedro, Inc. Systems and methods for applying and monitoring eye therapy
WO2013063540A1 (en) 2011-10-28 2013-05-02 Covidien Lp Methods and systems for continuous non-invasive blood pressure measurement using photoacoustics
US20130109947A1 (en) 2011-10-28 2013-05-02 Nellcor Puritan Bennett Llc Methods and systems for continuous non-invasive blood pressure measurement using photoacoustics

Non-Patent Citations (5)

* Cited by examiner, † Cited by third party
Title
"Thermoacoustic imaging", Wikipedia article [online], Nov. 3, 2011, http://en.wikipedia.org/w/index.php?title=Thermoacoustic-imaging&oldid=458756500, 4 pages.
Finnish Search Report for FI 20135401 dated Feb. 4, 2014 (3 pages).
International Search Report (PCT/ISA/210) mailed on Aug. 5, 2014, by the European Patent Office as the International Searching Authority for International Application No. PCT/FI2014/050287.
Office Action (Opinion on Patentability) issued on Apr. 18, 2016, by the Finnish Patent Office in corresponding Finnish Patent Application No. 20135401. (6 pages).
Written Opinion (PCT/ISA/237) mailed on Aug. 5, 2014, by the European Patent Office as the International Searching Authority for International Application No. PCT/FI2014/050287.

Cited By (8)

* Cited by examiner, † Cited by third party
Publication number Priority date Publication date Assignee Title
US20160174933A1 (en) * 2014-12-18 2016-06-23 National Taiwan University Acoustic wave intraocular pressure detecting device and method thereof
US10194886B2 (en) * 2014-12-18 2019-02-05 National Taiwan University Acoustic wave intraocular pressure detecting device and method thereof
DE102022201297A1 (en) 2022-02-08 2023-08-10 Carl Zeiss Meditec Ag Tonometer for measuring intraocular pressure
DE102022201296A1 (en) 2022-02-08 2023-08-10 Carl Zeiss Meditec Ag Arrangement for obtaining diagnostic information from the eye
WO2023152037A1 (en) 2022-02-08 2023-08-17 Carl Zeiss Meditec Ag Tonometer for measuring intraocular pressure
WO2023152121A1 (en) 2022-02-08 2023-08-17 Carl Zeiss Meditec Ag Arrangement for obtaining diagnostic information from the eye
WO2023174812A1 (en) 2022-03-17 2023-09-21 Carl Zeiss Meditec Ag Appliance for collecting ophthalmic diagnostic information
DE102022202637A1 (en) 2022-03-17 2023-09-21 Carl Zeiss Meditec Ag Device for obtaining eye diagnostic information

Also Published As

Publication number Publication date
EP2986200B1 (en) 2018-01-31
CN105120736B (en) 2017-07-04
AU2014255586B2 (en) 2018-05-17
AU2014255586A1 (en) 2015-10-15
EP2986200A1 (en) 2016-02-24
FI20135401A7 (en) 2014-10-20
WO2014170556A1 (en) 2014-10-23
US20160066786A1 (en) 2016-03-10
JP6437525B2 (en) 2018-12-12
JP2016518909A (en) 2016-06-30
FI20135401L (en) 2014-10-20
ES2665447T3 (en) 2018-04-25
CN105120736A (en) 2015-12-02

Similar Documents

Publication Publication Date Title
US9462947B2 (en) Measurement method and arrangement utilizing electromagnetic waves
US11659994B2 (en) Method and arrangement for eye pressure measurements
ES2865731T3 (en) Skeletal procedure and arrangement using electromagnetic waves
JP5397670B2 (en) Non-contact ultrasonic tonometer
US20170281125A1 (en) Processing system, signal processing method, and non-transitory storage medium
US20220047168A1 (en) Device for optoacoustic imaging and corresponding control method
CN119643289A (en) Non-contact type hydrogel mixture elastic property measurement system

Legal Events

Date Code Title Description
AS Assignment

Owner name: PHOTONO OY, FINLAND

Free format text: ASSIGNMENT OF ASSIGNORS INTEREST;ASSIGNOR:KONTIOLA, ANTTI;REEL/FRAME:037528/0331

Effective date: 20151028

STCF Information on status: patent grant

Free format text: PATENTED CASE

MAFP Maintenance fee payment

Free format text: PAYMENT OF MAINTENANCE FEE, 4TH YEAR, LARGE ENTITY (ORIGINAL EVENT CODE: M1551); ENTITY STATUS OF PATENT OWNER: LARGE ENTITY

Year of fee payment: 4

MAFP Maintenance fee payment

Free format text: PAYMENT OF MAINTENANCE FEE, 8TH YEAR, LARGE ENTITY (ORIGINAL EVENT CODE: M1552); ENTITY STATUS OF PATENT OWNER: LARGE ENTITY

Year of fee payment: 8