US9129798B1 - Methods of forming semiconductor structures comprising aluminum oxide - Google Patents

Methods of forming semiconductor structures comprising aluminum oxide Download PDF

Info

Publication number
US9129798B1
US9129798B1 US14/184,452 US201414184452A US9129798B1 US 9129798 B1 US9129798 B1 US 9129798B1 US 201414184452 A US201414184452 A US 201414184452A US 9129798 B1 US9129798 B1 US 9129798B1
Authority
US
United States
Prior art keywords
aluminum
metal
aluminum oxide
titanium
forming
Prior art date
Legal status (The legal status is an assumption and is not a legal conclusion. Google has not performed a legal analysis and makes no representation as to the accuracy of the status listed.)
Active
Application number
US14/184,452
Other versions
US20150235841A1 (en
Inventor
Difeng Zhu
Current Assignee (The listed assignees may be inaccurate. Google has not performed a legal analysis and makes no representation or warranty as to the accuracy of the list.)
Micron Technology Inc
Original Assignee
Micron Technology Inc
Priority date (The priority date is an assumption and is not a legal conclusion. Google has not performed a legal analysis and makes no representation as to the accuracy of the date listed.)
Filing date
Publication date
Application filed by Micron Technology Inc filed Critical Micron Technology Inc
Priority to US14/184,452 priority Critical patent/US9129798B1/en
Assigned to MICRON TECHNOLOGY, INC. reassignment MICRON TECHNOLOGY, INC. ASSIGNMENT OF ASSIGNORS INTEREST (SEE DOCUMENT FOR DETAILS). Assignors: ZHU, DIFENG
Priority to US14/826,447 priority patent/US9450067B2/en
Publication of US20150235841A1 publication Critical patent/US20150235841A1/en
Application granted granted Critical
Publication of US9129798B1 publication Critical patent/US9129798B1/en
Active legal-status Critical Current
Anticipated expiration legal-status Critical

Links

Images

Classifications

    • HELECTRICITY
    • H10SEMICONDUCTOR DEVICES; ELECTRIC SOLID-STATE DEVICES NOT OTHERWISE PROVIDED FOR
    • H10DINORGANIC ELECTRIC SEMICONDUCTOR DEVICES
    • H10D64/00Electrodes of devices having potential barriers
    • H10D64/60Electrodes characterised by their materials
    • H10D64/66Electrodes having a conductor capacitively coupled to a semiconductor by an insulator, e.g. MIS electrodes
    • H10D64/68Electrodes having a conductor capacitively coupled to a semiconductor by an insulator, e.g. MIS electrodes characterised by the insulator, e.g. by the gate insulator
    • H10D64/691Electrodes having a conductor capacitively coupled to a semiconductor by an insulator, e.g. MIS electrodes characterised by the insulator, e.g. by the gate insulator comprising metallic compounds, e.g. metal oxides or metal silicates 
    • HELECTRICITY
    • H01ELECTRIC ELEMENTS
    • H01LSEMICONDUCTOR DEVICES NOT COVERED BY CLASS H10
    • H01L21/00Processes or apparatus adapted for the manufacture or treatment of semiconductor or solid state devices or of parts thereof
    • H01L21/02Manufacture or treatment of semiconductor devices or of parts thereof
    • H01L21/02104Forming layers
    • H01L21/02107Forming insulating materials on a substrate
    • H01L21/02109Forming insulating materials on a substrate characterised by the type of layer, e.g. type of material, porous/non-porous, pre-cursors, mixtures or laminates
    • H01L21/02112Forming insulating materials on a substrate characterised by the type of layer, e.g. type of material, porous/non-porous, pre-cursors, mixtures or laminates characterised by the material of the layer
    • H01L21/02172Forming insulating materials on a substrate characterised by the type of layer, e.g. type of material, porous/non-porous, pre-cursors, mixtures or laminates characterised by the material of the layer the material containing at least one metal element, e.g. metal oxides, metal nitrides, metal oxynitrides or metal carbides
    • H01L21/02175Forming insulating materials on a substrate characterised by the type of layer, e.g. type of material, porous/non-porous, pre-cursors, mixtures or laminates characterised by the material of the layer the material containing at least one metal element, e.g. metal oxides, metal nitrides, metal oxynitrides or metal carbides characterised by the metal
    • H01L21/02178Forming insulating materials on a substrate characterised by the type of layer, e.g. type of material, porous/non-porous, pre-cursors, mixtures or laminates characterised by the material of the layer the material containing at least one metal element, e.g. metal oxides, metal nitrides, metal oxynitrides or metal carbides characterised by the metal the material containing aluminium, e.g. Al2O3
    • HELECTRICITY
    • H01ELECTRIC ELEMENTS
    • H01LSEMICONDUCTOR DEVICES NOT COVERED BY CLASS H10
    • H01L21/00Processes or apparatus adapted for the manufacture or treatment of semiconductor or solid state devices or of parts thereof
    • H01L21/02Manufacture or treatment of semiconductor devices or of parts thereof
    • H01L21/02041Cleaning
    • H01L21/02057Cleaning during device manufacture
    • H01L21/0206Cleaning during device manufacture during, before or after processing of insulating layers
    • HELECTRICITY
    • H01ELECTRIC ELEMENTS
    • H01LSEMICONDUCTOR DEVICES NOT COVERED BY CLASS H10
    • H01L21/00Processes or apparatus adapted for the manufacture or treatment of semiconductor or solid state devices or of parts thereof
    • H01L21/02Manufacture or treatment of semiconductor devices or of parts thereof
    • H01L21/02104Forming layers
    • H01L21/02107Forming insulating materials on a substrate
    • H01L21/02109Forming insulating materials on a substrate characterised by the type of layer, e.g. type of material, porous/non-porous, pre-cursors, mixtures or laminates
    • H01L21/02112Forming insulating materials on a substrate characterised by the type of layer, e.g. type of material, porous/non-porous, pre-cursors, mixtures or laminates characterised by the material of the layer
    • H01L21/02172Forming insulating materials on a substrate characterised by the type of layer, e.g. type of material, porous/non-porous, pre-cursors, mixtures or laminates characterised by the material of the layer the material containing at least one metal element, e.g. metal oxides, metal nitrides, metal oxynitrides or metal carbides
    • H01L21/02175Forming insulating materials on a substrate characterised by the type of layer, e.g. type of material, porous/non-porous, pre-cursors, mixtures or laminates characterised by the material of the layer the material containing at least one metal element, e.g. metal oxides, metal nitrides, metal oxynitrides or metal carbides characterised by the metal
    • H01L21/02186Forming insulating materials on a substrate characterised by the type of layer, e.g. type of material, porous/non-porous, pre-cursors, mixtures or laminates characterised by the material of the layer the material containing at least one metal element, e.g. metal oxides, metal nitrides, metal oxynitrides or metal carbides characterised by the metal the material containing titanium, e.g. TiO2
    • HELECTRICITY
    • H01ELECTRIC ELEMENTS
    • H01LSEMICONDUCTOR DEVICES NOT COVERED BY CLASS H10
    • H01L21/00Processes or apparatus adapted for the manufacture or treatment of semiconductor or solid state devices or of parts thereof
    • H01L21/02Manufacture or treatment of semiconductor devices or of parts thereof
    • H01L21/02104Forming layers
    • H01L21/02107Forming insulating materials on a substrate
    • H01L21/02109Forming insulating materials on a substrate characterised by the type of layer, e.g. type of material, porous/non-porous, pre-cursors, mixtures or laminates
    • H01L21/02205Forming insulating materials on a substrate characterised by the type of layer, e.g. type of material, porous/non-porous, pre-cursors, mixtures or laminates the layer being characterised by the precursor material for deposition
    • HELECTRICITY
    • H01ELECTRIC ELEMENTS
    • H01LSEMICONDUCTOR DEVICES NOT COVERED BY CLASS H10
    • H01L21/00Processes or apparatus adapted for the manufacture or treatment of semiconductor or solid state devices or of parts thereof
    • H01L21/02Manufacture or treatment of semiconductor devices or of parts thereof
    • H01L21/02104Forming layers
    • H01L21/02107Forming insulating materials on a substrate
    • H01L21/02296Forming insulating materials on a substrate characterised by the treatment performed before or after the formation of the layer
    • H01L21/02318Forming insulating materials on a substrate characterised by the treatment performed before or after the formation of the layer post-treatment
    • H01L21/02334Forming insulating materials on a substrate characterised by the treatment performed before or after the formation of the layer post-treatment in-situ cleaning after layer formation, e.g. removing process residues
    • HELECTRICITY
    • H01ELECTRIC ELEMENTS
    • H01LSEMICONDUCTOR DEVICES NOT COVERED BY CLASS H10
    • H01L21/00Processes or apparatus adapted for the manufacture or treatment of semiconductor or solid state devices or of parts thereof
    • H01L21/02Manufacture or treatment of semiconductor devices or of parts thereof
    • H01L21/027Making masks on semiconductor bodies for further photolithographic processing not provided for in group H01L21/18 or H01L21/34
    • H01L21/033Making masks on semiconductor bodies for further photolithographic processing not provided for in group H01L21/18 or H01L21/34 comprising inorganic layers
    • H01L21/0334Making masks on semiconductor bodies for further photolithographic processing not provided for in group H01L21/18 or H01L21/34 comprising inorganic layers characterised by their size, orientation, disposition, behaviour, shape, in horizontal or vertical plane
    • HELECTRICITY
    • H01ELECTRIC ELEMENTS
    • H01LSEMICONDUCTOR DEVICES NOT COVERED BY CLASS H10
    • H01L21/00Processes or apparatus adapted for the manufacture or treatment of semiconductor or solid state devices or of parts thereof
    • H01L21/02Manufacture or treatment of semiconductor devices or of parts thereof
    • H01L21/04Manufacture or treatment of semiconductor devices or of parts thereof the devices having potential barriers, e.g. a PN junction, depletion layer or carrier concentration layer
    • H01L21/18Manufacture or treatment of semiconductor devices or of parts thereof the devices having potential barriers, e.g. a PN junction, depletion layer or carrier concentration layer the devices having semiconductor bodies comprising elements of Group IV of the Periodic Table or AIIIBV compounds with or without impurities, e.g. doping materials
    • H01L21/28Manufacture of electrodes on semiconductor bodies using processes or apparatus not provided for in groups H01L21/20 - H01L21/268
    • H01L21/28008Making conductor-insulator-semiconductor electrodes
    • H01L21/28017Making conductor-insulator-semiconductor electrodes the insulator being formed after the semiconductor body, the semiconductor being silicon
    • H01L21/28158Making the insulator
    • HELECTRICITY
    • H01ELECTRIC ELEMENTS
    • H01LSEMICONDUCTOR DEVICES NOT COVERED BY CLASS H10
    • H01L21/00Processes or apparatus adapted for the manufacture or treatment of semiconductor or solid state devices or of parts thereof
    • H01L21/02Manufacture or treatment of semiconductor devices or of parts thereof
    • H01L21/04Manufacture or treatment of semiconductor devices or of parts thereof the devices having potential barriers, e.g. a PN junction, depletion layer or carrier concentration layer
    • H01L21/18Manufacture or treatment of semiconductor devices or of parts thereof the devices having potential barriers, e.g. a PN junction, depletion layer or carrier concentration layer the devices having semiconductor bodies comprising elements of Group IV of the Periodic Table or AIIIBV compounds with or without impurities, e.g. doping materials
    • H01L21/28Manufacture of electrodes on semiconductor bodies using processes or apparatus not provided for in groups H01L21/20 - H01L21/268
    • H01L21/28008Making conductor-insulator-semiconductor electrodes
    • H01L21/28017Making conductor-insulator-semiconductor electrodes the insulator being formed after the semiconductor body, the semiconductor being silicon
    • H01L21/28158Making the insulator
    • H01L21/28167Making the insulator on single crystalline silicon, e.g. using a liquid, i.e. chemical oxidation
    • H01L21/28194Making the insulator on single crystalline silicon, e.g. using a liquid, i.e. chemical oxidation by deposition, e.g. evaporation, ALD, CVD, sputtering, laser deposition
    • HELECTRICITY
    • H01ELECTRIC ELEMENTS
    • H01LSEMICONDUCTOR DEVICES NOT COVERED BY CLASS H10
    • H01L21/00Processes or apparatus adapted for the manufacture or treatment of semiconductor or solid state devices or of parts thereof
    • H01L21/02Manufacture or treatment of semiconductor devices or of parts thereof
    • H01L21/04Manufacture or treatment of semiconductor devices or of parts thereof the devices having potential barriers, e.g. a PN junction, depletion layer or carrier concentration layer
    • H01L21/18Manufacture or treatment of semiconductor devices or of parts thereof the devices having potential barriers, e.g. a PN junction, depletion layer or carrier concentration layer the devices having semiconductor bodies comprising elements of Group IV of the Periodic Table or AIIIBV compounds with or without impurities, e.g. doping materials
    • H01L21/30Treatment of semiconductor bodies using processes or apparatus not provided for in groups H01L21/20 - H01L21/26
    • H01L21/31Treatment of semiconductor bodies using processes or apparatus not provided for in groups H01L21/20 - H01L21/26 to form insulating layers thereon, e.g. for masking or by using photolithographic techniques; After treatment of these layers; Selection of materials for these layers
    • H01L21/3205Deposition of non-insulating-, e.g. conductive- or resistive-, layers on insulating layers; After-treatment of these layers
    • H01L21/321After treatment
    • H01L21/3213Physical or chemical etching of the layers, e.g. to produce a patterned layer from a pre-deposited extensive layer
    • H01L21/32133Physical or chemical etching of the layers, e.g. to produce a patterned layer from a pre-deposited extensive layer by chemical means only
    • H01L21/32134Physical or chemical etching of the layers, e.g. to produce a patterned layer from a pre-deposited extensive layer by chemical means only by liquid etching only
    • H01L29/511
    • H01L29/517
    • H10D64/01342
    • HELECTRICITY
    • H10SEMICONDUCTOR DEVICES; ELECTRIC SOLID-STATE DEVICES NOT OTHERWISE PROVIDED FOR
    • H10DINORGANIC ELECTRIC SEMICONDUCTOR DEVICES
    • H10D64/00Electrodes of devices having potential barriers
    • H10D64/20Electrodes characterised by their shapes, relative sizes or dispositions 
    • H10D64/27Electrodes not carrying the current to be rectified, amplified, oscillated or switched, e.g. gates
    • H10D64/311Gate electrodes for field-effect devices
    • H10D64/411Gate electrodes for field-effect devices for FETs
    • H10D64/511Gate electrodes for field-effect devices for FETs for IGFETs
    • H10D64/514Gate electrodes for field-effect devices for FETs for IGFETs characterised by the insulating layers
    • HELECTRICITY
    • H10SEMICONDUCTOR DEVICES; ELECTRIC SOLID-STATE DEVICES NOT OTHERWISE PROVIDED FOR
    • H10DINORGANIC ELECTRIC SEMICONDUCTOR DEVICES
    • H10D64/00Electrodes of devices having potential barriers
    • H10D64/20Electrodes characterised by their shapes, relative sizes or dispositions 
    • H10D64/27Electrodes not carrying the current to be rectified, amplified, oscillated or switched, e.g. gates
    • H10D64/311Gate electrodes for field-effect devices
    • H10D64/411Gate electrodes for field-effect devices for FETs
    • H10D64/511Gate electrodes for field-effect devices for FETs for IGFETs
    • H10D64/517Gate electrodes for field-effect devices for FETs for IGFETs characterised by the conducting layers
    • HELECTRICITY
    • H10SEMICONDUCTOR DEVICES; ELECTRIC SOLID-STATE DEVICES NOT OTHERWISE PROVIDED FOR
    • H10DINORGANIC ELECTRIC SEMICONDUCTOR DEVICES
    • H10D64/00Electrodes of devices having potential barriers
    • H10D64/60Electrodes characterised by their materials
    • H10D64/66Electrodes having a conductor capacitively coupled to a semiconductor by an insulator, e.g. MIS electrodes
    • H10D64/667Electrodes having a conductor capacitively coupled to a semiconductor by an insulator, e.g. MIS electrodes the conductor comprising a layer of alloy material, compound material or organic material contacting the insulator, e.g. TiN workfunction layers
    • HELECTRICITY
    • H10SEMICONDUCTOR DEVICES; ELECTRIC SOLID-STATE DEVICES NOT OTHERWISE PROVIDED FOR
    • H10DINORGANIC ELECTRIC SEMICONDUCTOR DEVICES
    • H10D64/00Electrodes of devices having potential barriers
    • H10D64/60Electrodes characterised by their materials
    • H10D64/66Electrodes having a conductor capacitively coupled to a semiconductor by an insulator, e.g. MIS electrodes
    • H10D64/68Electrodes having a conductor capacitively coupled to a semiconductor by an insulator, e.g. MIS electrodes characterised by the insulator, e.g. by the gate insulator
    • H10D64/681Electrodes having a conductor capacitively coupled to a semiconductor by an insulator, e.g. MIS electrodes characterised by the insulator, e.g. by the gate insulator having a compositional variation, e.g. multilayered
    • H10D64/685Electrodes having a conductor capacitively coupled to a semiconductor by an insulator, e.g. MIS electrodes characterised by the insulator, e.g. by the gate insulator having a compositional variation, e.g. multilayered being perpendicular to the channel plane
    • HELECTRICITY
    • H10SEMICONDUCTOR DEVICES; ELECTRIC SOLID-STATE DEVICES NOT OTHERWISE PROVIDED FOR
    • H10DINORGANIC ELECTRIC SEMICONDUCTOR DEVICES
    • H10D84/00Integrated devices formed in or on semiconductor substrates that comprise only semiconducting layers, e.g. on Si wafers or on GaAs-on-Si wafers
    • H10D84/01Manufacture or treatment
    • H10D84/0123Integrating together multiple components covered by H10D12/00 or H10D30/00, e.g. integrating multiple IGBTs
    • H10D84/0126Integrating together multiple components covered by H10D12/00 or H10D30/00, e.g. integrating multiple IGBTs the components including insulated gates, e.g. IGFETs
    • H10D84/0165Integrating together multiple components covered by H10D12/00 or H10D30/00, e.g. integrating multiple IGBTs the components including insulated gates, e.g. IGFETs the components including complementary IGFETs, e.g. CMOS devices
    • H10D84/0172Manufacturing their gate conductors
    • H10D84/0177Manufacturing their gate conductors the gate conductors having different materials or different implants
    • HELECTRICITY
    • H10SEMICONDUCTOR DEVICES; ELECTRIC SOLID-STATE DEVICES NOT OTHERWISE PROVIDED FOR
    • H10DINORGANIC ELECTRIC SEMICONDUCTOR DEVICES
    • H10D84/00Integrated devices formed in or on semiconductor substrates that comprise only semiconducting layers, e.g. on Si wafers or on GaAs-on-Si wafers
    • H10D84/01Manufacture or treatment
    • H10D84/0123Integrating together multiple components covered by H10D12/00 or H10D30/00, e.g. integrating multiple IGBTs
    • H10D84/0126Integrating together multiple components covered by H10D12/00 or H10D30/00, e.g. integrating multiple IGBTs the components including insulated gates, e.g. IGFETs
    • H10D84/0165Integrating together multiple components covered by H10D12/00 or H10D30/00, e.g. integrating multiple IGBTs the components including insulated gates, e.g. IGFETs the components including complementary IGFETs, e.g. CMOS devices
    • H10D84/0181Manufacturing their gate insulating layers
    • HELECTRICITY
    • H10SEMICONDUCTOR DEVICES; ELECTRIC SOLID-STATE DEVICES NOT OTHERWISE PROVIDED FOR
    • H10DINORGANIC ELECTRIC SEMICONDUCTOR DEVICES
    • H10D84/00Integrated devices formed in or on semiconductor substrates that comprise only semiconducting layers, e.g. on Si wafers or on GaAs-on-Si wafers
    • H10D84/01Manufacture or treatment
    • H10D84/02Manufacture or treatment characterised by using material-based technologies
    • H10D84/03Manufacture or treatment characterised by using material-based technologies using Group IV technology, e.g. silicon technology or silicon-carbide [SiC] technology
    • H10D84/038Manufacture or treatment characterised by using material-based technologies using Group IV technology, e.g. silicon technology or silicon-carbide [SiC] technology using silicon technology, e.g. SiGe
    • H10P14/61
    • H10P14/6339
    • H10P14/69391
    • H10P50/267
    • H10P50/667
    • H10P70/23
    • H10D64/01318

Definitions

  • Embodiments disclosed herein relate to semiconductor structures including aluminum oxide and methods of forming such semiconductor structures. More specifically, embodiments disclosed herein relate to the semiconductor structures and to methods for forming semiconductor structures comprising self-aligned aluminum oxide structures.
  • Fabrication of conventional semiconductor structures requires forming aligned features within the semiconductor structure. Frequently, photolithography or other lithographic techniques are used to form the aligned features within the semiconductor structure. However, as the number of patterning and photolithography acts increases, the processing time and cost of fabricating the semiconductor structure, as well as the potential for contamination and structural defects, increases. Accordingly, reducing the number of patterning steps is often a goal of semiconductor fabrication methods.
  • FIG. 1A illustrates a semiconductor structure 100 at an intermediate processing stage.
  • Aluminum oxide 116 may be formed over a substrate 110 including isolation regions 112 . While the aluminum oxide 116 is only desired at a specific location (see FIG. 1C ), the aluminum oxide 116 is initially formed over the entire substrate 110 and portions subsequently removed. Additional semiconductor materials 114 may be formed between the aluminum oxide 116 and the substrate 110 .
  • a bottom anti-reflective coating (BARC) 140 and a photoresist 150 may be formed over the aluminum oxide 116 . Referring to FIG. 1B , portions of the photoresist 150 and the BARC 140 may be removed to produce a desired pattern, which is transferred to the aluminum oxide 116 .
  • BARC bottom anti-reflective coating
  • the aluminum oxide 116 may be removed through the patterned photoresist 150 and BARC 140 .
  • removing the aluminum oxide 116 may result in undesired damage to exposed materials of the semiconductor structure 100 .
  • etching aluminum oxide 116 often requires aggressive etch chemistries that may damage materials of the semiconductor structure 100 , such as a dielectric material or a gate oxide.
  • aluminum oxide may be removed by etching with a solution of ammonium hydroxide, hydrogen peroxide, and water.
  • the ammonium hydroxide and hydrogen peroxide may have concentrations up to about thirty weight percent (30 wt. %).
  • Aluminum oxide may also be removed with etchants such as Br 2 in a methanol solution, or with etchants including strong acids such as HF, HCl, phosphoric acid, sulfuric acid, and combinations thereof.
  • the etch chemistries may also undercut the aluminum oxide 116 in regions where the aluminum oxide 116 is desired. Because of the aggressive nature of such etchants, it may be difficult to control the thickness of the aluminum oxide and to prevent damage to materials of the semiconductor structure 100 , such as materials underlying the aluminum oxide. Thus, forming aluminum oxide in desired locations on a semiconductor structure is a challenge.
  • FIG. 1A through FIG. 1C are simplified cross-sectional views showing processing acts for faulting an aluminum oxide material on desired locations of a substrate;
  • FIG. 2 is a simplified cross-sectional view showing a semiconductor structure with an aluminum oxide material according to embodiments of the present disclosure
  • FIG. 3A through FIG. 3F are simplified cross-sectional views showing processing acts for forming the semiconductor structure of FIG. 2 according to some embodiments of the present disclosure
  • FIG. 4A through FIG. 4C are simplified cross-sectional views showing processing acts for forming an aluminum oxide material on a semiconductor structure according to other embodiments of the present disclosure.
  • FIG. 5A and FIG. 5B are simplified cross-sectional views showing an aluminum oxide material on a semiconductor structure according to other embodiments of the present disclosure.
  • the aluminum-containing material may be formed by atomic layer deposition (ALD), chemical vapor deposition (CVD), plasma enhanced chemical vapor deposition (PECVD), low pressure chemical vapor deposition (LPCVD), physical vapor deposition (PVD), or other film deposition processes.
  • ALD atomic layer deposition
  • CVD chemical vapor deposition
  • PECVD plasma enhanced chemical vapor deposition
  • LPCVD low pressure chemical vapor deposition
  • PVD physical vapor deposition
  • the aluminum-containing material is formed by ALD.
  • the aluminum-containing material may be aluminum oxide or a metal-aluminum compound.
  • the aluminum-containing material formed over a metal nitride material may form an aluminum-containing metal compound including aluminum, the metal, oxygen, and nitrogen.
  • the term “metal-aluminum compound” refers to a compound including aluminum, the metal over which the aluminum-containing material is formed, oxygen, and nitrogen atoms.
  • the metal-aluminum compound is a reaction product of the aluminum, metal, oxygen, and nitrogen.
  • the aluminum-containing material formed over other materials of the semiconductor structures may be aluminum oxide.
  • the aluminum-containing material formed over the metal nitride may have a different composition than the aluminum-containing material formed over a different material, such as silicon, silicon dioxide, a high-k dielectric material, or other material.
  • the metal-aluminum compound and the aluminum oxide may exhibit a different etch selectivity to various etchants, enabling the metal-aluminum compound to be selectively removed from the semiconductor structure.
  • the metal-aluminum compound is formed over a titanium nitride material.
  • the semiconductor structure 200 includes a substrate 210 that may include isolation regions 212 .
  • Isolation regions 212 may be shallow trench isolation regions formed of a dielectric material, such as silicon dioxide.
  • the substrate 210 may be a base material or construction upon which additional materials are formed.
  • the substrate 210 may be a semiconductor substrate, a base semiconductor layer on a supporting structure, a metal electrode or a semiconductor substrate having one or more layers, structures or regions formed thereon.
  • the substrate 210 may be a conventional silicon substrate or other bulk substrate comprising a layer of semiconductive material.
  • the term “bulk substrate” means and includes not only silicon wafers, but also silicon-on-insulator (“SOI”) substrates, such as silicon-on-sapphire (“SOS”) substrates and silicon-on-glass (“SOG”) substrates, epitaxial layers of silicon on a base semiconductor foundation, and other semiconductor or optoelectronic materials, such as silicon-germanium, germanium, gallium arsenide, gallium nitride, and indium phosphide.
  • SOI silicon-on-insulator
  • SOS silicon-on-sapphire
  • SOOG silicon-on-glass
  • epitaxial layers of silicon on a base semiconductor foundation and other semiconductor or optoelectronic materials, such as silicon-germanium, germanium, gallium arsenide, gallium nitride, and indium phosphide.
  • the substrate may be doped or undoped.
  • the semiconductor structure 200 may include at least two regions, such as region 205 and region 215 . Although only one region 205 and one region 215 is shown in FIG. 2 , the semiconductor structure 200 may include several alternating portions of region 205 and region 215 .
  • Region 205 may, for example, include an n-type channel, such as an NMOS transistor having an n-channel
  • region 215 may, for example, include a p-type channel, such as a PMOS transistor having a p-channel in a complementary-metal-on-semiconductor (CMOS) structure.
  • CMOS complementary-metal-on-semiconductor
  • n-channel region 205 may also include n-doped source and drain regions 202
  • p-channel region 215 may include p-doped source and drain regions 204 .
  • only p-channel region 215 may include aluminum oxide 224 .
  • N-channel region 205 of the semiconductor structure 200 may include a gate oxide 214 overlying the substrate 210 .
  • the gate oxide 214 may include an oxide, such as a deposited or a thermally grown silicon dioxide material.
  • a high-k dielectric material 216 may overlie the gate oxide 214 .
  • Non-limiting examples of high-k dielectric material 216 include, but are not limited to, hafnium oxide (such as, for example, HfO 2 ), titanium oxide (such as, for example, TiO 2 ), tantalum oxide (such as, for example, Ta 2 O 5 ), zirconium oxide (such as, for example, ZrO 2 ), niobium oxide (such as, for example, NbO, NbO 2 , or Nb 2 O 5 ), molybdenum oxide (such as, for example, MoO 2 or MoO 3 ), ruthenium oxide (RuO 2 ), strontium oxide (such as, for example, SrO), barium oxide (such as, for example, BaO), strontium titanium oxide (SrTiO 3 , also known as STO), magnesium oxide (such as, for example, MgO), or combinations thereof.
  • hafnium oxide such as, for example, HfO 2
  • titanium oxide such as, for example, TiO 2
  • tantalum oxide such
  • a gate stack 225 may overlie the high-k dielectric material 216 .
  • the gate stack 225 may include a first metal material 218 , a capping material 220 , and a second metal material 222 .
  • the first metal material 218 and the second metal material 222 may be formed of the same metal or different metals.
  • the first metal material 218 may be selected to provide adhesion to the underlying high-k dielectric material 216 .
  • each of the first metal material 218 and the second metal material 222 is a metal nitride, such as titanium nitride.
  • the first metal material 218 may include copper, tungsten, aluminum, titanium, tantalum, ruthenium, platinum, alloys thereof, nitrides thereof, heavily doped semiconductor material, a conductive silicide, or combinations thereof, and the second metal material may include a metal nitride.
  • P-channel region 215 may include the gate oxide 214 overlying the substrate 210 and the high-k dielectric material 216 overlying the gate oxide 214 .
  • the gate oxide 214 and the dielectric material 216 in p-channel region 215 may be the same as those in n-channel region 205 .
  • Aluminum oxide 224 may overlie the high-k dielectric material 216 .
  • the aluminum oxide 224 may increase the work function of the gate in region 215 .
  • the aluminum oxide 224 may be located only in p-channel region 215 of the semiconductor structure 200 .
  • a semiconductor structure comprising an aluminum oxide material.
  • the semiconductor structure comprises a dielectric material overlying a substrate.
  • the structure includes a first region comprising aluminum oxide overlying the dielectric material.
  • the semiconductor structure includes a second region comprising a first titanium nitride portion overlying the dielectric material, magnesium over the first titanium nitride portion, and a second titanium nitride portion overlying the magnesium.
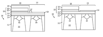
  • isolation regions 312 may be formed in a substrate 310 by conventional techniques, which are not described in detail herein.
  • a gate oxide material 314 may be formed over the substrate 310 .
  • the gate oxide material 314 may be thermally grown or may be deposited, and may include a material such as silicon dioxide. While not shown, other materials may, optionally, intervene between the substrate 310 and the gate oxide material 314 depending on the desired application of the semiconductor structure 300 .
  • the substrate 310 may include source and drain regions.
  • n-channel region 305 of the substrate 310 may include n-doped source and drain regions 302 and p-channel region 315 may include p-doped source and drain regions 304 located adjacent the isolation regions 312 .
  • Source and drain regions 302 may be formed by doping the semiconductor substrate 310 with n-type dopants, such as boron, as known in the art.
  • Source and drain regions 304 may be formed by doping the semiconductor substrate 310 with p-type dopants, such as phosphorus, as known in the art.
  • a dielectric material 316 may be formed over the gate oxide material 314 .
  • the dielectric material 316 may be a dielectric material such as a silicon oxide or a high-k dielectric material similar to high-k dielectric material described above with reference to high-k dielectric material 216 .
  • the dielectric material 316 is hafnium oxide.
  • the dielectric material 316 may be formed by ALD, CVD, PECVD, LPCVD, PVD, or other film deposition processes.
  • a first metal material 318 may be formed over the dielectric material 316 .
  • the first metal material 318 may be selected to provide adhesion to the dielectric material 316 .
  • the first metal material 318 is a metal nitride, such as titanium nitride.
  • the first metal material 318 may have a thickness of between about 10 angstroms (A) and about 30 ⁇ , such as between about 15 ⁇ and about 25 ⁇ . In some embodiments, the first metal material 318 has a thickness of about 20 ⁇ .
  • a capping material 320 may overlie the first metal material 318 .
  • the capping material 320 may include a metal such as magnesium, magnesium oxide, lanthanum, lanthanum oxide, or combinations thereof. In some embodiments, the capping material 320 is magnesium.
  • the capping material 320 may be selected to provide a decreased work function of the NMOS device in n-channel region 305 .
  • the capping material 320 may be formed to a thickness of between about 5 ⁇ and about 15 ⁇ , such as between about 5 ⁇ and about 10 ⁇ . In some embodiments, the capping material 320 has a thickness of about 8 ⁇ .
  • the capping material 320 may be formed by ALD, CVD, PECVD, LPCVD, PVD, or other deposition processes.
  • a second metal material 322 may be formed over the capping material 320 .
  • the second metal material 322 may be formed of the same metal as the first metal material 318 .
  • the second metal material 322 is titanium nitride.
  • the second metal material 322 may include a lower portion foiined of a metal material or metal nitride and an exposed portion formed of a metal nitride.
  • a lower portion of the second metal material 322 is a metal material and an exposed portion of the second metal material 322 is titanium nitride.
  • the second metal material 322 may be formed to a greater thickness than the first metal material 318 .
  • the second metal material 322 may have a thickness of between about 20 ⁇ and about 60 ⁇ , such as between about 30 ⁇ and about 50 ⁇ , or between about 35 ⁇ and about 45 ⁇ . In some embodiments, the second metal material 322 has a thickness of about 40 ⁇ .
  • the second metal material 322 may be formed by similar methods as the first metal material 318 .
  • the second metal material 322 may be formed by ALD, CVD, PECVD, LPCVD, PVD, or other suitable deposition process.
  • the first metal material 318 , capping material 320 , and second metal material 322 may form a gate stack 325 in the n-channel region 305 .
  • a mask material 340 and a photoresist material 350 may be formed over the semiconductor structure 300 and patterned to expose the second metal material 322 in the p-channel region 315 of the semiconductor structure 300 .
  • the mask material 340 may include a hardmask material or other suitable masking material and may have a thickness of about 15 nm. In some embodiments, the mask material 340 is a silicon nitride hardmask.
  • the photoresist material 350 may be any conventional photoresist material.
  • the mask material 340 and photoresist material 350 may be patterned by conventional techniques, which are not described in detail herein.
  • the second metal material 322 , the capping material 320 , and the first metal material 318 may be removed from the p-channel region 315 by reactive ion etching, such as with an oxygen or a nitrogen based plasma.
  • the plasma may be, for example, a mixture including nitrogen, boron trichloride, and argon (N 2 /BCl 3 /Ar), a mixture including nitrogen, methane, and argon (N 2 /CH 4 /Ar), or a mixture including oxygen, chlorine, and helium, (O 2 /Cl 2 /He).
  • the second metal material 322 , the capping material 320 , and the first metal material 318 in the p-channel region 315 may be removed with a solution including ammonium hydroxide (NH 4 OH), hydrogen peroxide (H 2 O 2 ), and water.
  • the mask material 340 and photoresist material 350 may protect the materials of the n-channel region 305 from being removed.
  • the etchant may be nonreactive with the dielectric material 316 and, therefore, the dielectric material 316 may function as an etch stop.
  • the dielectric material 316 of p-channel region 315 may be exposed after removing the second metal material 322 , the capping material 320 , and the first metal material 318 .
  • the photoresist material 350 and mask material 340 may be removed from n-channel region 305 to expose the second metal material 322 of n-channel region 305 .
  • the dielectric material 316 may be crystallized to increase the etch selectivity of the mask material 340 relative to the dielectric material 316 .
  • the dielectric material 316 may be annealed to crystallize the dielectric material 316 .
  • the mask material 340 may be removed from n-channel region 305 without substantially removing the dielectric material 316 exposed in p-channel region 315 .
  • the second metal material 322 may be exposed in the n-channel region.
  • an aluminum-containing material 327 may be formed over exposed surfaces of the semiconductor structure 300 .
  • the aluminum-containing material 327 may be conformally formed over the dielectric material 316 of p-channel region 315 and over the second metal material 322 of n-channel region 305 .
  • the aluminum-containing material 327 may be formed by conventional techniques, such as by an ALD process, a CVD process, a PECVD process, an LPCVD process, a PVD process, or other deposition process, using appropriately selected aluminum precursors and oxygen precursors.
  • the aluminum-containing material 327 may form as an aluminum oxide 324 on the dielectric material 316 of p-channel region 315 and as a metal-aluminum compound 326 on the second metal material 322 of n-channel region 305 .
  • the aluminum of the aluminum-containing material 327 formed on the second metal material 322 may react with the metal of the second metal material 322 , forming the metal-aluminum compound 326 .
  • the metal-aluminum compound 326 may also form on the sidewalls of the gate stack 325 where the first metal material 318 and the second metal material 322 are exposed.
  • the metal-aluminum compound 326 may be a reaction product of aluminum from the aluminum-containing material 327 , the metal from the second metal material 322 , oxygen from the aluminum-containing material 327 , and nitrogen from the second metal material 322 .
  • the second metal material 322 is titanium nitride.
  • the metal-aluminum compound 326 may include aluminum, titanium, nitrogen, and oxygen atoms.
  • the aluminum compound 326 is a material such as AlTiO x N y , where x is between one (1) and four (4) and y is between one-half (1 ⁇ 2) and two (2). In other embodiments, x is about 2.5 and y is about 0.8.
  • the metal-aluminum compound 326 may include about nineteen atomic percent (19 at. %) of each of aluminum and titanium, about forty-seven atomic percent (47 at. %) of oxygen, and about fifteen atomic percent (15 at. %) of nitrogen.
  • exposing the semiconductor substrate 300 to the aluminum precursor and the oxygen precursor may form different aluminum-containing materials on n-channel region 305 and p-channel region 315 of the semiconductor structure 300 .
  • Aluminum oxide 324 may be formed on p-channel region 315 and the metal-aluminum compound 326 may be foimed on n-channel region 305 of the semiconductor structure 300 .
  • the aluminum oxide 324 and the metal-aluminum compound 326 may be foiined by exposing the semiconductor structure 300 to the aluminum precursor and the oxygen precursor.
  • the aluminum oxide 324 and the metal-aluminum compound 326 may be foiined by a deposition process including an aluminum precursor and an oxygen precursor.
  • the aluminum precursor may include tris(diethylamino) aluminum (TDEAA), alkyl aluminum precursors such as tri-methyl aluminum (TMA), aluminum alkoxides such as aluminum isopropoxide (AIP), aluminum tri-sec-butoxide (ATSB), aluminum ethoxide, dimethylaluminumhydride (DMAH), aluminum tris(2,2,6,6-tetramethyl-3,5-heptanedionate), triisobutylaluminum (TIBA), tris(dimethylamido)aluminum (III), or combinations thereof.
  • the oxygen precursor may include oxygen (O 2 ), ozone (O 3 ), water, or combinations thereof.
  • the aluminum precursor is TMA and the oxygen containing precursor is water.
  • the aluminum-containing material may be formed by ALD.
  • the aluminum-containing material 327 may be formed by performing between one ALD cycle and ten ALD cycles. For example, between one ALD cycle and five ALD cycles or between five ALD cycles and ten ALD cycles may be performed.
  • the aluminum oxide 324 may be formed to a thickness of between about 5 ⁇ and about 10 ⁇ , such as between about 5 ⁇ and about 8 ⁇ .
  • the metal-aluminum compound 326 may be formed to a greater thickness than the aluminum oxide 324 . Without being bound by any theory, it is believed that the thickness of the metal-aluminum compound 326 may be greater than the thickness of the aluminum oxide 324 because of the incorporation of the second metal material 322 and nitrogen in the metal-aluminum compound 326 .
  • the deposition process may be performed at a temperature from between about 200° C. and about 400° C., such as between about 250° C. and about 350° C. In some embodiments, the deposition is performed at a temperature of about 300° C., which enhances the formation of the metal-aluminum compound 326 over the second metal material 322 .
  • the aluminum oxide 324 may be formed only in p-channel region 315 and the metal-aluminum compound 326 may be formed only in n-channel region 305 of the semiconductor structure 300 .
  • the aluminum oxide 324 may be selectively formed over only the dielectric material 316 of p-channel region 315 .
  • the metal-aluminum compound 326 and the aluminum oxide 324 are formed concurrently, the composition of the metal-aluminum compound 326 may be different than the composition of the aluminum oxide 324 .
  • the formation of the different aluminum-containing materials may be self-aligned on the respective regions of the semiconductor structure 300 .
  • the metal-aluminum compound 326 may be selectively removed from the semiconductor structure 300 such that only the aluminum oxide 324 of the aluminum-containing material 327 ( FIG. 3D ) remains in p-channel region 315 of the semiconductor structure 300 .
  • the aluminum oxide 324 and the metal-aluminum compound 326 may exhibit different etch rates when exposed to various etchants.
  • the metal-aluminum compound 326 may be removed using an aqueous solution of H 2 O 2 , whereas the aluminum oxide 324 may exhibit a low removal rate upon exposure to the aqueous H 2 O 2 solution.
  • the metal-aluminum compound 326 may have an etch rate that is at least about 10 times greater than that of the aluminum oxide 324 when exposed to the H 2 O 2 solution.
  • the metal-aluminum compound 326 may be removed by exposing the semiconductor structure 300 to H 2 O 2 .
  • exposing the aluminum oxide 324 to the H 2 O 2 solution may not remove any or may remove only a small portion of the aluminum oxide 324 . Because the aluminum oxide 324 is not removed by exposure to the H 2 O 2 solution, the aluminum oxide 324 may also protect underlying materials from being damaged by the H 2 O 2 solution. The H 2 O 2 solution may also clean the surface of the semiconductor structure 300 prior to forming additional materials thereover.
  • the metal-aluminum compound 326 may be removed at a rate of approximately 50 ⁇ per minute when exposed to the H 2 O 2 solution.
  • an metal-aluminum compound 326 having a thickness of between about 10 ⁇ and about 20 ⁇ may be removed by exposing the metal-aluminum compound 326 to the H 2 O 2 solution for less than approximately one minute, such as less than about thirty seconds.
  • the semiconductor structure 300 is exposed to a solution of H 2 O 2 for a period of time ranging from between about ten seconds to about three minutes, such as between about thirty seconds and about one minute, or between about one minute and about two minutes.
  • the semiconductor structure 300 is exposed to an H 2 O 2 solution for about one minute to substantially remove the metal-aluminum compound 326 while the aluminum oxide 324 remains in p-channel region 315 .
  • the H 2 O 2 solution may be formed of H 2 O 2 and water.
  • the H 2 O 2 solution may have a H 2 O 2 concentration ranging from between about one weight percent (1 wt. %) to about ten weight percent (10 wt. %), such as between about three weight percent (3 wt. %) and about seven weight percent (7 wt. %).
  • the H 2 O 2 solution includes between about three weight percent (3 wt. %) and about five weight percent (5 wt. %) H 2 O 2 .
  • the semiconductor structure 300 may be exposed to the H 2 O 2 solution at a temperature of between about 20° C. and about 100° C., such as between about 25° C. and about 75° C. In some embodiments, the H 2 O 2 solution is applied at a temperature of about room temperature (e.g., between about 20° C. and about 25° C.). In other embodiments, the H 2 O 2 solution is applied at a temperature of about 65° C.
  • the aluminum oxide 324 remains on p-channel region 315 of the semiconductor structure 300 while no aluminum-containing material 327 is present on the n-channel region 305 .
  • the aluminum oxide 324 may be formed at a desired location on the semiconductor structure 300 and may be self-aligned without using an additional photolithography act to pattern the aluminum oxide 324 .
  • the complexity and cost of the method of the present disclosure may be reduced compared to conventional techniques of forming and patterning aluminum oxide 324 .
  • the use of extra materials, such as a photoresist and BARC is avoided.
  • the methods of embodiments of the present disclosure may also enable reduction in the number of etch acts and etchants used. Since no photoresist and BARC are used, only a single etchant, aqueous H 2 O 2 , is needed, which further reduces the complexity and cost of the methods of embodiments of the present disclosure.
  • a conductive material 328 may be conformally formed over the semiconductor structure 300 .
  • the conductive material 328 may be formed over the second metal material 322 in n-channel region 305 and over the aluminum oxide 324 in p-channel region 315 .
  • the conductive material 328 may be formed by ALD, CVD, PECVD, LPCVD, PVD, or other deposition method.
  • the conductive material 328 may have a thickness of between about 40 ⁇ and about 60 ⁇ , such as between about 45 ⁇ and about 55 ⁇ . In some embodiments, the thickness of the conductive material 328 is about 50 ⁇ .
  • the conductive material 328 may include a metal or a metal nitride.
  • the conductive material 328 may include the same metal as the first metal material 318 or the second metal material 322 .
  • the conductive material 328 , the first metal material 318 , and the second metal material 322 are the same material.
  • the conductive material 328 is titanium nitride.
  • a silicon material 330 may be formed over the conductive material 328 .
  • the silicon material 330 may be formed by suitable methods, such as PVD, ALD, CVD, PECVD, LPCVD, PVD, or other deposition methods.
  • the silicon material 330 may have a thickness of between about 2 nm and about 10 nm, such as between about 3 nm and about 8 nm, and between about 4 nm and about 6 nm. In some embodiments, the silicon material 330 has a thickness of about 5 nm.
  • N-channel region 305 may be implanted with arsenic to form arsenic implanted regions (not shown) at an interface between the first metal material 318 and the capping material 320 and at an interface between the capping material 320 and the second metal material 322 .
  • the mask material may be removed from the semiconductor structure 300 .
  • a polysilicon material 332 may be formed over the silicon material 330 .
  • the polysilicon material 332 may be doped with boron or doped with phosphorus. In some embodiments, the polysilicon material 332 is doped with phosphorus.
  • the polysilicon material 332 may be formed by forming polysilicon and then doping with phosphorus, or the polysilicon material 332 may be formed in situ. In some embodiments, the polysilicon material 332 is formed in situ by including dopant gases such as phosphine or diborane in the deposition precursor gas recipe.
  • a second conductive material 334 may be formed over the polysilicon material 332 .
  • the second conductive material 334 may include a conductive metal such as copper, tungsten, aluminum, titanium, tantalum, platinum, alloys thereof, heavily doped semiconductor material, a conductive silicide, or combinations thereof.
  • the second conductive material 334 is tungsten.
  • a silicon nitride material 336 may overlie the second conductive material 334 .
  • the silicon nitride material 336 may be formed by a suitable deposition process, such as ALD, CVD, PECVD, LPCVD, PVD, or other deposition process.
  • Additional processing acts may be performed by conventional techniques to produce a complete semiconductor device, such as a CMOS device or DRAM memory cell, according to the desired end use of the semiconductor structure 300 .
  • a method of forming a semiconductor structure comprises exposing a dielectric material and a metal nitride on a substrate to an aluminum precursor and an oxygen precursor to form aluminum oxide over the dielectric material and a metal-aluminum compound over the metal nitride.
  • the aluminum oxide and the metal-aluminum compound are exposed to a solution comprising hydrogen peroxide.
  • titanium nitride 420 may be formed over a substrate 410 .
  • intervening materials between the titanium nitride 420 and the substrate 410 such as at least one of a dielectric material, conductive material, work function modifier, or other materials.
  • a conductive material such as copper, tungsten, aluminum, titanium, tantalum, platinum, alloys thereof, heavily doped semiconductor material, a conductive silicide, or combinations thereof may underlie the titanium nitride 420 .
  • the titanium nitride 420 may be patterned with a photomask or a hardmask material by conventional techniques, which are not described in detail herein. Desired portions of the titanium nitride 420 may be removed through openings in the mask. For example, the titanium nitride 420 may be exposed to an aqueous solution of H 2 O 2 or a solution of ammonium hydroxide. In some embodiments, the titanium nitride 420 is removed with an H 2 O 2 solution at a rate of about 10 ⁇ per minute.
  • an aluminum-containing material 427 may be conformally formed on the semiconductor structure 400 .
  • the substrate 410 (or intervening materials, if present) and the titanium nitride 420 may be exposed to the aluminum precursor and the oxygen precursor at a temperature of between about 200° C. and about 400° C., such as between about 250° C. and about 300° C., or between about 300° C. and about 350° C.
  • the aluminum-containing material 427 includes a metal-aluminum compound 440 and aluminum oxide 430 . In some embodiments, the temperature is about 300° C.
  • Exposing the substrate 410 to the aluminum precursor and the oxygen precursor may form the aluminum oxide 430 over the substrate 410 and the metal-aluminum compound 440 over the titanium nitride 420 .
  • the metal-aluminum compound 440 may be AlTiN y O x , where x is between one (1) and four (4) and y is between one-half (1 ⁇ 2) and two (2). In other embodiments, x is about 2.5 and y is about 0.8.
  • the metal-aluminum compound 440 may comprise about nineteen atomic percent (19 at. %) of each of aluminum and titanium, about forty-seven atomic percent (47 at. %) of oxygen, and about fifteen atomic percent (15 at. %) of nitrogen.
  • the aluminum-containing material 427 is formed by ALD.
  • the aluminum-containing material 427 may be formed by performing between one ALD cycle and ten ALD cycles. For example, between one ALD cycle and five ALD cycles or between five ALD cycles and ten ALD cycles may be performed.
  • the aluminum oxide 430 may have a thickness of between about 5 ⁇ and about 15 ⁇ , such as between about 5 ⁇ and about 10 ⁇ , or between about 10 ⁇ and about 15 ⁇ .
  • the metal-aluminum compound 440 may have a thickness that is greater than the thickness of the aluminum oxide 430 .
  • the metal-aluminum compound 440 may be removed by exposing the semiconductor structure 400 to a solution of H 2 O 2 , as described above with reference to FIG. 3E .
  • the metal-aluminum compound 440 may be removed by exposing the semiconductor structure 400 to a solution of between about three weight percent (3 wt. %) and about ten weight percent (10 wt. %) H 2 O 2 for between about ten seconds and about three minutes.
  • the aluminum oxide 430 may remain on the substrate 410 .
  • additional processing acts may be performed to remove the titanium nitride 420 from the semiconductor structure 400 .
  • the titanium nitride 420 may be removed at a rate of about 10 ⁇ per minute by exposing the titanium nitride 420 to the H 2 O 2 solution.
  • the resulting semiconductor structure 400 may include aluminum oxide 430 on desired portions of the substrate 410 .
  • the resulting semiconductor structure 400 may include the intervening materials.
  • a method of forming aluminum oxide comprises forming titanium nitride on portions of a substrate.
  • a titanium-aluminum compound is formed over the titanium nitride and aluminum oxide is formed over the substrate.
  • the titanium-aluminum compound and the aluminum oxide are exposed to hydrogen peroxide to remove the titanium-aluminum compound from over the titanium nitride.
  • Titanium nitride 520 may be patterned as described above with reference to FIG. 4A .
  • the titanium nitride 520 and a substrate 510 may be exposed to precursors for forming aluminum oxide, such as an aluminum precursor and an oxygen precursor, to form aluminum oxide 530 over the substrate 510 and over the titanium nitride 520 .
  • the aluminum oxide 530 may be formed to a thickness greater than about 10 ⁇ , such as up to about 30 ⁇ , up to about 50 ⁇ , or up to about 100 ⁇ .
  • Forming greater than about 20 ⁇ of aluminum oxide 530 over a semiconductor structure 500 may form an aluminum oxide 530 over the titanium nitride 520 rather than an metal-aluminum compound 440 as described above with reference to FIG. 4B .
  • Aluminum oxide 530 may not be formed over on the sidewalls of the titanium nitride 520 .
  • the titanium nitride 520 may be removed by exposing the semiconductor structure 500 to an H 2 O 2 solution.
  • the H 2 O 2 solution may remove exposed portions of the titanium nitride 520 , such as side portions extending above the aluminum oxide 530 in between the titanium nitride 520 .
  • a self-patterned aluminum oxide 530 having a thickness greater than approximately 10 ⁇ may be formed.
  • the aluminum oxide 530 between the titanium nitride 520 may have a thickness that is less than a thickness of the titanium nitride 520 .
  • a method of forming an aluminum oxide material comprises subjecting exposed portions of a substrate and titanium nitride to an aluminum precursor and an oxygen precursor to form aluminum oxide on the exposed portions of the substrate and a titanium-aluminum compound on the exposed portions of the titanium nitride.
  • the titanium-aluminum compound is removed from the titanium nitride.
  • a self-aligned lanthanum oxide (La 2 O 3 ) or magnesium oxide (MgO) may be formed by methods similar to the above disclosed methods of forming aluminum oxide.
  • a semiconductor structure may comprise exposed portions of a metal nitride and exposed portions comprising another material.
  • the semiconductor structure may be exposed to a lanthanum precursor and an oxygen precursor to form a metal-lanthanum compound over the metal nitride and lanthanum oxide over the other exposed portions of the semiconductor structure.
  • the metal-lanthanum compound and the lanthanum oxide may be formed by ALD, CVD, PECVD, LPCVD, PVD, or other deposition process.
  • the metal-lanthanum compound may comprise lanthanum, titanium, nitrogen, and oxygen atoms, and may exhibit a different etch rate than the lanthanum oxide upon exposure to various etchants.
  • a metal-magnesium compound may be formed over a metal nitride and a magnesium oxide may be formed over other exposed portions of a semiconductor structure by exposing the semiconductor structure to a magnesium precursor and an oxygen precursor.
  • the magnesium oxide may be formed by ALD, CVD, PECVD, LPCVD, PVD, or other deposition process.
  • a titanium-magnesium compound comprising magnesium, titanium, nitrogen, and oxygen may be formed over the titanium nitride and magnesium oxide may be fomied over other exposed portions of the semiconductor structure.

Landscapes

  • Engineering & Computer Science (AREA)
  • Physics & Mathematics (AREA)
  • Power Engineering (AREA)
  • Condensed Matter Physics & Semiconductors (AREA)
  • General Physics & Mathematics (AREA)
  • Manufacturing & Machinery (AREA)
  • Computer Hardware Design (AREA)
  • Microelectronics & Electronic Packaging (AREA)
  • Chemical & Material Sciences (AREA)
  • Chemical Kinetics & Catalysis (AREA)
  • General Chemical & Material Sciences (AREA)
  • Insulated Gate Type Field-Effect Transistor (AREA)
  • Internal Circuitry In Semiconductor Integrated Circuit Devices (AREA)
  • Materials Engineering (AREA)
  • Crystallography & Structural Chemistry (AREA)
  • Composite Materials (AREA)
  • Inorganic Chemistry (AREA)
  • Plasma & Fusion (AREA)
  • Semiconductor Memories (AREA)
  • Formation Of Insulating Films (AREA)

Abstract

A semiconductor structure comprising aluminum oxide. The semiconductor structure comprises a dielectric material overlying a substrate. The aluminum oxide overlies the dielectric material in a first region of the structure. A second region of the structure includes a first titanium nitride portion overlying the dielectric material, magnesium over the first titanium nitride portion, and a second titanium nitride portion over the magnesium. Methods of forming the semiconductor structure including aluminum oxide are also disclosed.

Description

FIELD
Embodiments disclosed herein relate to semiconductor structures including aluminum oxide and methods of forming such semiconductor structures. More specifically, embodiments disclosed herein relate to the semiconductor structures and to methods for forming semiconductor structures comprising self-aligned aluminum oxide structures.
BACKGROUND
Fabrication of conventional semiconductor structures requires forming aligned features within the semiconductor structure. Frequently, photolithography or other lithographic techniques are used to form the aligned features within the semiconductor structure. However, as the number of patterning and photolithography acts increases, the processing time and cost of fabricating the semiconductor structure, as well as the potential for contamination and structural defects, increases. Accordingly, reducing the number of patterning steps is often a goal of semiconductor fabrication methods.
It may be desired to form aluminum oxide at select locations of a semiconductor structure. FIG. 1A illustrates a semiconductor structure 100 at an intermediate processing stage. Aluminum oxide 116 may be formed over a substrate 110 including isolation regions 112. While the aluminum oxide 116 is only desired at a specific location (see FIG. 1C), the aluminum oxide 116 is initially formed over the entire substrate 110 and portions subsequently removed. Additional semiconductor materials 114 may be formed between the aluminum oxide 116 and the substrate 110. A bottom anti-reflective coating (BARC) 140 and a photoresist 150 may be formed over the aluminum oxide 116. Referring to FIG. 1B, portions of the photoresist 150 and the BARC 140 may be removed to produce a desired pattern, which is transferred to the aluminum oxide 116. Referring to FIG. 1C, the aluminum oxide 116 may be removed through the patterned photoresist 150 and BARC 140. However, removing the aluminum oxide 116 may result in undesired damage to exposed materials of the semiconductor structure 100. For example, etching aluminum oxide 116 often requires aggressive etch chemistries that may damage materials of the semiconductor structure 100, such as a dielectric material or a gate oxide. As an example, aluminum oxide may be removed by etching with a solution of ammonium hydroxide, hydrogen peroxide, and water. The ammonium hydroxide and hydrogen peroxide may have concentrations up to about thirty weight percent (30 wt. %). Aluminum oxide may also be removed with etchants such as Br2 in a methanol solution, or with etchants including strong acids such as HF, HCl, phosphoric acid, sulfuric acid, and combinations thereof. The etch chemistries may also undercut the aluminum oxide 116 in regions where the aluminum oxide 116 is desired. Because of the aggressive nature of such etchants, it may be difficult to control the thickness of the aluminum oxide and to prevent damage to materials of the semiconductor structure 100, such as materials underlying the aluminum oxide. Thus, forming aluminum oxide in desired locations on a semiconductor structure is a challenge.
Therefore, it would be desirable to have a method of forming a self-aligned aluminum oxide material without damaging the materials proximate to the aluminum oxide or undercutting the aluminum oxide. It would also be desirable to be able to form a self-aligned aluminum oxide material that does not require etching aluminum oxide and does not require a wet BARC and photoresist material.
BRIEF DESCRIPTION OF THE DRAWINGS
FIG. 1A through FIG. 1C are simplified cross-sectional views showing processing acts for faulting an aluminum oxide material on desired locations of a substrate;
FIG. 2 is a simplified cross-sectional view showing a semiconductor structure with an aluminum oxide material according to embodiments of the present disclosure;
FIG. 3A through FIG. 3F are simplified cross-sectional views showing processing acts for forming the semiconductor structure of FIG. 2 according to some embodiments of the present disclosure;
FIG. 4A through FIG. 4C are simplified cross-sectional views showing processing acts for forming an aluminum oxide material on a semiconductor structure according to other embodiments of the present disclosure; and
FIG. 5A and FIG. 5B are simplified cross-sectional views showing an aluminum oxide material on a semiconductor structure according to other embodiments of the present disclosure.
DETAILED DESCRIPTION
The illustrations included herewith are not meant to be actual views of any particular systems or memory structures, but are merely idealized representations that are employed to describe embodiments described herein. Elements and features common between figures may retain the same numerical designation except that, for ease of following the description, for the most part, reference numerals begin with the number of the drawing on which the elements are introduced or most fully discussed.
The following description provides specific details, such as material types, material thicknesses, and processing conditions, in order to provide a thorough description of embodiments described herein. However, a person of ordinary skill in the art will understand that the embodiments disclosed herein may be practiced without employing these specific details. Indeed, the embodiments may be practiced in conjunction with conventional fabrication techniques employed in the semiconductor industry. In addition, the description provided herein does not form a complete process flow for manufacturing semiconductor structures, and the structures described below do not form a complete semiconductor device. Only those process acts and structures necessary to understand the embodiments described herein are described in detail below. Additional acts to form a complete semiconductor device including the structures described herein may be performed by conventional techniques.
Methods of forming an aluminum-containing material on a semiconductor structure are disclosed, as are semiconductor structures including aluminum oxide. The aluminum-containing material may be formed by atomic layer deposition (ALD), chemical vapor deposition (CVD), plasma enhanced chemical vapor deposition (PECVD), low pressure chemical vapor deposition (LPCVD), physical vapor deposition (PVD), or other film deposition processes. In some embodiments, the aluminum-containing material is formed by ALD. Depending on the material over which the aluminum-containing material is initially formed, the aluminum-containing material may be aluminum oxide or a metal-aluminum compound. In some embodiments disclosed herein, the aluminum-containing material formed over a metal nitride material may form an aluminum-containing metal compound including aluminum, the metal, oxygen, and nitrogen. As used herein, the term “metal-aluminum compound” refers to a compound including aluminum, the metal over which the aluminum-containing material is formed, oxygen, and nitrogen atoms. The metal-aluminum compound is a reaction product of the aluminum, metal, oxygen, and nitrogen. The aluminum-containing material formed over other materials of the semiconductor structures may be aluminum oxide. Thus, the aluminum-containing material formed over the metal nitride may have a different composition than the aluminum-containing material formed over a different material, such as silicon, silicon dioxide, a high-k dielectric material, or other material. The metal-aluminum compound and the aluminum oxide may exhibit a different etch selectivity to various etchants, enabling the metal-aluminum compound to be selectively removed from the semiconductor structure. In some embodiments, the metal-aluminum compound is formed over a titanium nitride material.
Referring to FIG. 2, a semiconductor structure 200 is shown. The semiconductor structure 200 includes a substrate 210 that may include isolation regions 212. Isolation regions 212 may be shallow trench isolation regions formed of a dielectric material, such as silicon dioxide. The substrate 210 may be a base material or construction upon which additional materials are formed. The substrate 210 may be a semiconductor substrate, a base semiconductor layer on a supporting structure, a metal electrode or a semiconductor substrate having one or more layers, structures or regions formed thereon. The substrate 210 may be a conventional silicon substrate or other bulk substrate comprising a layer of semiconductive material. As used herein, the term “bulk substrate” means and includes not only silicon wafers, but also silicon-on-insulator (“SOI”) substrates, such as silicon-on-sapphire (“SOS”) substrates and silicon-on-glass (“SOG”) substrates, epitaxial layers of silicon on a base semiconductor foundation, and other semiconductor or optoelectronic materials, such as silicon-germanium, germanium, gallium arsenide, gallium nitride, and indium phosphide. The substrate may be doped or undoped.
The semiconductor structure 200 may include at least two regions, such as region 205 and region 215. Although only one region 205 and one region 215 is shown in FIG. 2, the semiconductor structure 200 may include several alternating portions of region 205 and region 215. Region 205 may, for example, include an n-type channel, such as an NMOS transistor having an n-channel, and region 215 may, for example, include a p-type channel, such as a PMOS transistor having a p-channel in a complementary-metal-on-semiconductor (CMOS) structure. For convenience, region 205 is also referred to herein as the n-channel region 205 and region 215 is also referred to herein as the p-channel region 215. By way of example, n-channel region 205 may also include n-doped source and drain regions 202, and p-channel region 215 may include p-doped source and drain regions 204. As explained in more detail below, only p-channel region 215 may include aluminum oxide 224.
N-channel region 205 of the semiconductor structure 200 may include a gate oxide 214 overlying the substrate 210. The gate oxide 214 may include an oxide, such as a deposited or a thermally grown silicon dioxide material. A high-k dielectric material 216 may overlie the gate oxide 214. Non-limiting examples of high-k dielectric material 216 include, but are not limited to, hafnium oxide (such as, for example, HfO2), titanium oxide (such as, for example, TiO2), tantalum oxide (such as, for example, Ta2O5), zirconium oxide (such as, for example, ZrO2), niobium oxide (such as, for example, NbO, NbO2, or Nb2O5), molybdenum oxide (such as, for example, MoO2 or MoO3), ruthenium oxide (RuO2), strontium oxide (such as, for example, SrO), barium oxide (such as, for example, BaO), strontium titanium oxide (SrTiO3, also known as STO), magnesium oxide (such as, for example, MgO), or combinations thereof.
A gate stack 225 may overlie the high-k dielectric material 216. The gate stack 225 may include a first metal material 218, a capping material 220, and a second metal material 222. The first metal material 218 and the second metal material 222 may be formed of the same metal or different metals. The first metal material 218 may be selected to provide adhesion to the underlying high-k dielectric material 216. In some embodiments, each of the first metal material 218 and the second metal material 222 is a metal nitride, such as titanium nitride. However, in other embodiments, the first metal material 218 may include copper, tungsten, aluminum, titanium, tantalum, ruthenium, platinum, alloys thereof, nitrides thereof, heavily doped semiconductor material, a conductive silicide, or combinations thereof, and the second metal material may include a metal nitride.
P-channel region 215 may include the gate oxide 214 overlying the substrate 210 and the high-k dielectric material 216 overlying the gate oxide 214. The gate oxide 214 and the dielectric material 216 in p-channel region 215 may be the same as those in n-channel region 205. Aluminum oxide 224 may overlie the high-k dielectric material 216. The aluminum oxide 224 may increase the work function of the gate in region 215. The aluminum oxide 224 may be located only in p-channel region 215 of the semiconductor structure 200.
Accordingly, a semiconductor structure comprising an aluminum oxide material is disclosed. The semiconductor structure comprises a dielectric material overlying a substrate. The structure includes a first region comprising aluminum oxide overlying the dielectric material. The semiconductor structure includes a second region comprising a first titanium nitride portion overlying the dielectric material, magnesium over the first titanium nitride portion, and a second titanium nitride portion overlying the magnesium.
A method of faulting a semiconductor structure 300 including an aluminum oxide material is described with reference to FIG. 3A through FIG. 3F. Referring to FIG. 3A, isolation regions 312 may be formed in a substrate 310 by conventional techniques, which are not described in detail herein. A gate oxide material 314 may be formed over the substrate 310. The gate oxide material 314 may be thermally grown or may be deposited, and may include a material such as silicon dioxide. While not shown, other materials may, optionally, intervene between the substrate 310 and the gate oxide material 314 depending on the desired application of the semiconductor structure 300. The substrate 310 may include source and drain regions. For example, n-channel region 305 of the substrate 310 may include n-doped source and drain regions 302 and p-channel region 315 may include p-doped source and drain regions 304 located adjacent the isolation regions 312. Source and drain regions 302 may be formed by doping the semiconductor substrate 310 with n-type dopants, such as boron, as known in the art. Source and drain regions 304 may be formed by doping the semiconductor substrate 310 with p-type dopants, such as phosphorus, as known in the art.
A dielectric material 316 may be formed over the gate oxide material 314. The dielectric material 316 may be a dielectric material such as a silicon oxide or a high-k dielectric material similar to high-k dielectric material described above with reference to high-k dielectric material 216. In some embodiments, the dielectric material 316 is hafnium oxide. The dielectric material 316 may be formed by ALD, CVD, PECVD, LPCVD, PVD, or other film deposition processes.
Referring to FIG. 3B, a first metal material 318 may be formed over the dielectric material 316. The first metal material 318 may be selected to provide adhesion to the dielectric material 316. In some embodiments, the first metal material 318 is a metal nitride, such as titanium nitride. The first metal material 318 may have a thickness of between about 10 angstroms (A) and about 30 Å, such as between about 15 Å and about 25 Å. In some embodiments, the first metal material 318 has a thickness of about 20 Å.
A capping material 320 may overlie the first metal material 318. The capping material 320 may include a metal such as magnesium, magnesium oxide, lanthanum, lanthanum oxide, or combinations thereof. In some embodiments, the capping material 320 is magnesium. The capping material 320 may be selected to provide a decreased work function of the NMOS device in n-channel region 305. The capping material 320 may be formed to a thickness of between about 5 Å and about 15 Å, such as between about 5 Å and about 10 Å. In some embodiments, the capping material 320 has a thickness of about 8 Å. The capping material 320 may be formed by ALD, CVD, PECVD, LPCVD, PVD, or other deposition processes.
A second metal material 322 may be formed over the capping material 320. The second metal material 322 may be formed of the same metal as the first metal material 318. In some embodiments, the second metal material 322 is titanium nitride. In other embodiments, the second metal material 322 may include a lower portion foiined of a metal material or metal nitride and an exposed portion formed of a metal nitride. For example, in some embodiments, a lower portion of the second metal material 322 is a metal material and an exposed portion of the second metal material 322 is titanium nitride.
The second metal material 322 may be formed to a greater thickness than the first metal material 318. The second metal material 322 may have a thickness of between about 20 Å and about 60 Å, such as between about 30 Å and about 50 Å, or between about 35 Å and about 45 Å. In some embodiments, the second metal material 322 has a thickness of about 40 Å. The second metal material 322 may be formed by similar methods as the first metal material 318. For example, the second metal material 322 may be formed by ALD, CVD, PECVD, LPCVD, PVD, or other suitable deposition process. As described in more detail below, the first metal material 318, capping material 320, and second metal material 322 may form a gate stack 325 in the n-channel region 305.
A mask material 340 and a photoresist material 350 may be formed over the semiconductor structure 300 and patterned to expose the second metal material 322 in the p-channel region 315 of the semiconductor structure 300. The mask material 340 may include a hardmask material or other suitable masking material and may have a thickness of about 15 nm. In some embodiments, the mask material 340 is a silicon nitride hardmask. The photoresist material 350 may be any conventional photoresist material. The mask material 340 and photoresist material 350 may be patterned by conventional techniques, which are not described in detail herein.
Referring to FIG. 3C, the second metal material 322, the capping material 320, and the first metal material 318 may be removed from the p-channel region 315 by reactive ion etching, such as with an oxygen or a nitrogen based plasma. The plasma may be, for example, a mixture including nitrogen, boron trichloride, and argon (N2/BCl3/Ar), a mixture including nitrogen, methane, and argon (N2/CH4/Ar), or a mixture including oxygen, chlorine, and helium, (O2/Cl2/He). In other embodiments, the second metal material 322, the capping material 320, and the first metal material 318 in the p-channel region 315 may be removed with a solution including ammonium hydroxide (NH4OH), hydrogen peroxide (H2O2), and water. The mask material 340 and photoresist material 350 may protect the materials of the n-channel region 305 from being removed. The etchant may be nonreactive with the dielectric material 316 and, therefore, the dielectric material 316 may function as an etch stop. The dielectric material 316 of p-channel region 315 may be exposed after removing the second metal material 322, the capping material 320, and the first metal material 318.
After the dielectric material 316 of p-channel region 315 is exposed, the photoresist material 350 and mask material 340 may be removed from n-channel region 305 to expose the second metal material 322 of n-channel region 305. Prior to removing the mask material 340, the dielectric material 316 may be crystallized to increase the etch selectivity of the mask material 340 relative to the dielectric material 316. For example, the dielectric material 316 may be annealed to crystallize the dielectric material 316. Thereafter, the mask material 340 may be removed from n-channel region 305 without substantially removing the dielectric material 316 exposed in p-channel region 315. After removing the mask material 340, the second metal material 322 may be exposed in the n-channel region.
Referring to FIG. 3D, an aluminum-containing material 327 may be formed over exposed surfaces of the semiconductor structure 300. By way of example, the aluminum-containing material 327 may be conformally formed over the dielectric material 316 of p-channel region 315 and over the second metal material 322 of n-channel region 305. As explained in more detail below, the aluminum-containing material 327 may be formed by conventional techniques, such as by an ALD process, a CVD process, a PECVD process, an LPCVD process, a PVD process, or other deposition process, using appropriately selected aluminum precursors and oxygen precursors.
As a result of the conditions used to form the aluminum-containing material 327, such as, for example, deposition temperature, the aluminum-containing material 327 may form as an aluminum oxide 324 on the dielectric material 316 of p-channel region 315 and as a metal-aluminum compound 326 on the second metal material 322 of n-channel region 305. Without being bound by any theory, it is believed that the aluminum of the aluminum-containing material 327 formed on the second metal material 322 may react with the metal of the second metal material 322, forming the metal-aluminum compound 326. In some embodiments, the metal-aluminum compound 326 may also form on the sidewalls of the gate stack 325 where the first metal material 318 and the second metal material 322 are exposed. The metal-aluminum compound 326 may be a reaction product of aluminum from the aluminum-containing material 327, the metal from the second metal material 322, oxygen from the aluminum-containing material 327, and nitrogen from the second metal material 322. In some embodiments, the second metal material 322 is titanium nitride. Thus, the metal-aluminum compound 326 may include aluminum, titanium, nitrogen, and oxygen atoms. In some embodiments, the aluminum compound 326 is a material such as AlTiOxNy, where x is between one (1) and four (4) and y is between one-half (½) and two (2). In other embodiments, x is about 2.5 and y is about 0.8. The metal-aluminum compound 326 may include about nineteen atomic percent (19 at. %) of each of aluminum and titanium, about forty-seven atomic percent (47 at. %) of oxygen, and about fifteen atomic percent (15 at. %) of nitrogen.
Thus, exposing the semiconductor substrate 300 to the aluminum precursor and the oxygen precursor may form different aluminum-containing materials on n-channel region 305 and p-channel region 315 of the semiconductor structure 300. Aluminum oxide 324 may be formed on p-channel region 315 and the metal-aluminum compound 326 may be foimed on n-channel region 305 of the semiconductor structure 300.
The aluminum oxide 324 and the metal-aluminum compound 326 may be foiined by exposing the semiconductor structure 300 to the aluminum precursor and the oxygen precursor. The aluminum oxide 324 and the metal-aluminum compound 326 may be foiined by a deposition process including an aluminum precursor and an oxygen precursor. The aluminum precursor may include tris(diethylamino) aluminum (TDEAA), alkyl aluminum precursors such as tri-methyl aluminum (TMA), aluminum alkoxides such as aluminum isopropoxide (AIP), aluminum tri-sec-butoxide (ATSB), aluminum ethoxide, dimethylaluminumhydride (DMAH), aluminum tris(2,2,6,6-tetramethyl-3,5-heptanedionate), triisobutylaluminum (TIBA), tris(dimethylamido)aluminum (III), or combinations thereof. The oxygen precursor may include oxygen (O2), ozone (O3), water, or combinations thereof. In some embodiments, the aluminum precursor is TMA and the oxygen containing precursor is water.
In some embodiments, the aluminum-containing material may be formed by ALD. The aluminum-containing material 327 may be formed by performing between one ALD cycle and ten ALD cycles. For example, between one ALD cycle and five ALD cycles or between five ALD cycles and ten ALD cycles may be performed. The aluminum oxide 324 may be formed to a thickness of between about 5 Å and about 10 Å, such as between about 5 Å and about 8 Å. The metal-aluminum compound 326 may be formed to a greater thickness than the aluminum oxide 324. Without being bound by any theory, it is believed that the thickness of the metal-aluminum compound 326 may be greater than the thickness of the aluminum oxide 324 because of the incorporation of the second metal material 322 and nitrogen in the metal-aluminum compound 326.
The deposition process may be performed at a temperature from between about 200° C. and about 400° C., such as between about 250° C. and about 350° C. In some embodiments, the deposition is performed at a temperature of about 300° C., which enhances the formation of the metal-aluminum compound 326 over the second metal material 322.
With continued reference to FIG. 3D, the aluminum oxide 324 may be formed only in p-channel region 315 and the metal-aluminum compound 326 may be formed only in n-channel region 305 of the semiconductor structure 300. Thus, the aluminum oxide 324 may be selectively formed over only the dielectric material 316 of p-channel region 315. Although the metal-aluminum compound 326 and the aluminum oxide 324 are formed concurrently, the composition of the metal-aluminum compound 326 may be different than the composition of the aluminum oxide 324. Since the aluminum oxide 324 only forms over the dielectric material 316 and the metal-aluminum compound 326 only forms over the second metal material 322, the formation of the different aluminum-containing materials may be self-aligned on the respective regions of the semiconductor structure 300.
Referring to FIG. 3E, after the aluminum oxide 324 and the metal-aluminum compound 326 are formed, the metal-aluminum compound 326 may be selectively removed from the semiconductor structure 300 such that only the aluminum oxide 324 of the aluminum-containing material 327 (FIG. 3D) remains in p-channel region 315 of the semiconductor structure 300.
The aluminum oxide 324 and the metal-aluminum compound 326 may exhibit different etch rates when exposed to various etchants. For example, the metal-aluminum compound 326 may be removed using an aqueous solution of H2O2, whereas the aluminum oxide 324 may exhibit a low removal rate upon exposure to the aqueous H2O2 solution. By way of example only, the metal-aluminum compound 326 may have an etch rate that is at least about 10 times greater than that of the aluminum oxide 324 when exposed to the H2O2 solution. Thus, the metal-aluminum compound 326 may be removed by exposing the semiconductor structure 300 to H2O2. However, exposing the aluminum oxide 324 to the H2O2 solution may not remove any or may remove only a small portion of the aluminum oxide 324. Because the aluminum oxide 324 is not removed by exposure to the H2O2 solution, the aluminum oxide 324 may also protect underlying materials from being damaged by the H2O2 solution. The H2O2 solution may also clean the surface of the semiconductor structure 300 prior to forming additional materials thereover.
The metal-aluminum compound 326 may be removed at a rate of approximately 50 Å per minute when exposed to the H2O2 solution. Thus, an metal-aluminum compound 326 having a thickness of between about 10 Å and about 20 Å may be removed by exposing the metal-aluminum compound 326 to the H2O2 solution for less than approximately one minute, such as less than about thirty seconds. In some embodiments, the semiconductor structure 300 is exposed to a solution of H2O2 for a period of time ranging from between about ten seconds to about three minutes, such as between about thirty seconds and about one minute, or between about one minute and about two minutes. In some embodiments, the semiconductor structure 300 is exposed to an H2O2 solution for about one minute to substantially remove the metal-aluminum compound 326 while the aluminum oxide 324 remains in p-channel region 315.
The H2O2 solution may be formed of H2O2 and water. The H2O2 solution may have a H2O2 concentration ranging from between about one weight percent (1 wt. %) to about ten weight percent (10 wt. %), such as between about three weight percent (3 wt. %) and about seven weight percent (7 wt. %). In some embodiments, the H2O2 solution includes between about three weight percent (3 wt. %) and about five weight percent (5 wt. %) H2O2.
The semiconductor structure 300 may be exposed to the H2O2 solution at a temperature of between about 20° C. and about 100° C., such as between about 25° C. and about 75° C. In some embodiments, the H2O2 solution is applied at a temperature of about room temperature (e.g., between about 20° C. and about 25° C.). In other embodiments, the H2O2 solution is applied at a temperature of about 65° C.
Referring to FIG. 3E, the aluminum oxide 324 remains on p-channel region 315 of the semiconductor structure 300 while no aluminum-containing material 327 is present on the n-channel region 305. Thus, the aluminum oxide 324 may be formed at a desired location on the semiconductor structure 300 and may be self-aligned without using an additional photolithography act to pattern the aluminum oxide 324. By eliminating the need for the additional photolithography act, the complexity and cost of the method of the present disclosure may be reduced compared to conventional techniques of forming and patterning aluminum oxide 324. In addition, the use of extra materials, such as a photoresist and BARC, is avoided. The methods of embodiments of the present disclosure may also enable reduction in the number of etch acts and etchants used. Since no photoresist and BARC are used, only a single etchant, aqueous H2O2, is needed, which further reduces the complexity and cost of the methods of embodiments of the present disclosure.
Referring to FIG. 3F, a conductive material 328 may be conformally formed over the semiconductor structure 300. The conductive material 328 may be formed over the second metal material 322 in n-channel region 305 and over the aluminum oxide 324 in p-channel region 315. The conductive material 328 may be formed by ALD, CVD, PECVD, LPCVD, PVD, or other deposition method. The conductive material 328 may have a thickness of between about 40 Å and about 60 Å, such as between about 45 Å and about 55 Å. In some embodiments, the thickness of the conductive material 328 is about 50 Å. The conductive material 328 may include a metal or a metal nitride. The conductive material 328 may include the same metal as the first metal material 318 or the second metal material 322. Thus, in some embodiments, the conductive material 328, the first metal material 318, and the second metal material 322 are the same material. In some embodiments, the conductive material 328 is titanium nitride.
With continued reference to FIG. 3F, a silicon material 330 may be formed over the conductive material 328. The silicon material 330 may be formed by suitable methods, such as PVD, ALD, CVD, PECVD, LPCVD, PVD, or other deposition methods. The silicon material 330 may have a thickness of between about 2 nm and about 10 nm, such as between about 3 nm and about 8 nm, and between about 4 nm and about 6 nm. In some embodiments, the silicon material 330 has a thickness of about 5 nm.
After the silicon material 330 is formed, a mask may be foimed over p-channel region 315. N-channel region 305 may be implanted with arsenic to form arsenic implanted regions (not shown) at an interface between the first metal material 318 and the capping material 320 and at an interface between the capping material 320 and the second metal material 322. After the arsenic implant is complete, the mask material may be removed from the semiconductor structure 300.
A polysilicon material 332 may be formed over the silicon material 330. The polysilicon material 332 may be doped with boron or doped with phosphorus. In some embodiments, the polysilicon material 332 is doped with phosphorus. The polysilicon material 332 may be formed by forming polysilicon and then doping with phosphorus, or the polysilicon material 332 may be formed in situ. In some embodiments, the polysilicon material 332 is formed in situ by including dopant gases such as phosphine or diborane in the deposition precursor gas recipe.
A second conductive material 334 may be formed over the polysilicon material 332. The second conductive material 334 may include a conductive metal such as copper, tungsten, aluminum, titanium, tantalum, platinum, alloys thereof, heavily doped semiconductor material, a conductive silicide, or combinations thereof. In some embodiments, the second conductive material 334 is tungsten.
A silicon nitride material 336 may overlie the second conductive material 334. The silicon nitride material 336 may be formed by a suitable deposition process, such as ALD, CVD, PECVD, LPCVD, PVD, or other deposition process.
Additional processing acts may be performed by conventional techniques to produce a complete semiconductor device, such as a CMOS device or DRAM memory cell, according to the desired end use of the semiconductor structure 300.
Accordingly, a method of forming a semiconductor structure is disclosed. The method comprises exposing a dielectric material and a metal nitride on a substrate to an aluminum precursor and an oxygen precursor to form aluminum oxide over the dielectric material and a metal-aluminum compound over the metal nitride. The aluminum oxide and the metal-aluminum compound are exposed to a solution comprising hydrogen peroxide.
A method of forming a semiconductor structure 400 having an aluminum oxide material with a thickness less than about 20 Å, such as less than about 10 Å, is described with respect to FIG. 4A through FIG. 4C. Referring to FIG. 4A, titanium nitride 420 may be formed over a substrate 410. Although not shown, there may be intervening materials between the titanium nitride 420 and the substrate 410, such as at least one of a dielectric material, conductive material, work function modifier, or other materials. For example, a conductive material such as copper, tungsten, aluminum, titanium, tantalum, platinum, alloys thereof, heavily doped semiconductor material, a conductive silicide, or combinations thereof may underlie the titanium nitride 420. The titanium nitride 420 may be patterned with a photomask or a hardmask material by conventional techniques, which are not described in detail herein. Desired portions of the titanium nitride 420 may be removed through openings in the mask. For example, the titanium nitride 420 may be exposed to an aqueous solution of H2O2 or a solution of ammonium hydroxide. In some embodiments, the titanium nitride 420 is removed with an H2O2 solution at a rate of about 10 Å per minute.
Referring to FIG. 4B, an aluminum-containing material 427 may be conformally formed on the semiconductor structure 400. The substrate 410 (or intervening materials, if present) and the titanium nitride 420 may be exposed to the aluminum precursor and the oxygen precursor at a temperature of between about 200° C. and about 400° C., such as between about 250° C. and about 300° C., or between about 300° C. and about 350° C. The aluminum-containing material 427 includes a metal-aluminum compound 440 and aluminum oxide 430. In some embodiments, the temperature is about 300° C. Exposing the substrate 410 to the aluminum precursor and the oxygen precursor may form the aluminum oxide 430 over the substrate 410 and the metal-aluminum compound 440 over the titanium nitride 420. As previously described, the metal-aluminum compound 440 may be AlTiNyOx, where x is between one (1) and four (4) and y is between one-half (½) and two (2). In other embodiments, x is about 2.5 and y is about 0.8. The metal-aluminum compound 440 may comprise about nineteen atomic percent (19 at. %) of each of aluminum and titanium, about forty-seven atomic percent (47 at. %) of oxygen, and about fifteen atomic percent (15 at. %) of nitrogen.
In some embodiments, the aluminum-containing material 427 is formed by ALD. The aluminum-containing material 427 may be formed by performing between one ALD cycle and ten ALD cycles. For example, between one ALD cycle and five ALD cycles or between five ALD cycles and ten ALD cycles may be performed. The aluminum oxide 430 may have a thickness of between about 5 Å and about 15 Å, such as between about 5 Å and about 10 Å, or between about 10 Å and about 15 Å. The metal-aluminum compound 440 may have a thickness that is greater than the thickness of the aluminum oxide 430.
Referring to FIG. 4C, the metal-aluminum compound 440 may be removed by exposing the semiconductor structure 400 to a solution of H2O2, as described above with reference to FIG. 3E. For example, the metal-aluminum compound 440 may be removed by exposing the semiconductor structure 400 to a solution of between about three weight percent (3 wt. %) and about ten weight percent (10 wt. %) H2O2 for between about ten seconds and about three minutes. The aluminum oxide 430 may remain on the substrate 410. In some embodiments, additional processing acts may be performed to remove the titanium nitride 420 from the semiconductor structure 400. For example, the titanium nitride 420 may be removed at a rate of about 10 Å per minute by exposing the titanium nitride 420 to the H2O2 solution.
Thus, the resulting semiconductor structure 400 may include aluminum oxide 430 on desired portions of the substrate 410. In embodiments including intervening materials between the substrate 410 and the titanium nitride 420, the resulting semiconductor structure 400 may include the intervening materials.
Accordingly, a method of forming aluminum oxide is disclosed. The method comprises forming titanium nitride on portions of a substrate. A titanium-aluminum compound is formed over the titanium nitride and aluminum oxide is formed over the substrate. The titanium-aluminum compound and the aluminum oxide are exposed to hydrogen peroxide to remove the titanium-aluminum compound from over the titanium nitride.
Referring to FIG. 5A, a method of forming an aluminum oxide comprising a thickness greater than about 10 Å, such as greater than about 20 Å, is described. Titanium nitride 520 may be patterned as described above with reference to FIG. 4A. The titanium nitride 520 and a substrate 510 may be exposed to precursors for forming aluminum oxide, such as an aluminum precursor and an oxygen precursor, to form aluminum oxide 530 over the substrate 510 and over the titanium nitride 520. The aluminum oxide 530 may be formed to a thickness greater than about 10 Å, such as up to about 30 Å, up to about 50 Å, or up to about 100 Å. Forming greater than about 20 Å of aluminum oxide 530 over a semiconductor structure 500 may form an aluminum oxide 530 over the titanium nitride 520 rather than an metal-aluminum compound 440 as described above with reference to FIG. 4B. Aluminum oxide 530 may not be formed over on the sidewalls of the titanium nitride 520.
Referring to FIG. 5B, the titanium nitride 520 may be removed by exposing the semiconductor structure 500 to an H2O2 solution. The H2O2 solution may remove exposed portions of the titanium nitride 520, such as side portions extending above the aluminum oxide 530 in between the titanium nitride 520. Accordingly, a self-patterned aluminum oxide 530 having a thickness greater than approximately 10 Å may be formed. The aluminum oxide 530 between the titanium nitride 520 may have a thickness that is less than a thickness of the titanium nitride 520.
Accordingly, a method of forming an aluminum oxide material is disclosed. The method comprises subjecting exposed portions of a substrate and titanium nitride to an aluminum precursor and an oxygen precursor to form aluminum oxide on the exposed portions of the substrate and a titanium-aluminum compound on the exposed portions of the titanium nitride. The titanium-aluminum compound is removed from the titanium nitride.
In some embodiments, a self-aligned lanthanum oxide (La2O3) or magnesium oxide (MgO) may be formed by methods similar to the above disclosed methods of forming aluminum oxide. For example, a semiconductor structure may comprise exposed portions of a metal nitride and exposed portions comprising another material. The semiconductor structure may be exposed to a lanthanum precursor and an oxygen precursor to form a metal-lanthanum compound over the metal nitride and lanthanum oxide over the other exposed portions of the semiconductor structure. The metal-lanthanum compound and the lanthanum oxide may be formed by ALD, CVD, PECVD, LPCVD, PVD, or other deposition process. Where the metal nitride comprises titanium nitride, the metal-lanthanum compound may comprise lanthanum, titanium, nitrogen, and oxygen atoms, and may exhibit a different etch rate than the lanthanum oxide upon exposure to various etchants. Similarly, a metal-magnesium compound may be formed over a metal nitride and a magnesium oxide may be formed over other exposed portions of a semiconductor structure by exposing the semiconductor structure to a magnesium precursor and an oxygen precursor. The magnesium oxide may be formed by ALD, CVD, PECVD, LPCVD, PVD, or other deposition process. Where the metal nitride of the semiconductor structure comprises titanium nitride, a titanium-magnesium compound comprising magnesium, titanium, nitrogen, and oxygen may be formed over the titanium nitride and magnesium oxide may be fomied over other exposed portions of the semiconductor structure.
While certain illustrative embodiments have been described in connection with the figures, those of ordinary skill in the art will recognize and appreciate that embodiments encompassed by the disclosure are not limited to those embodiments explicitly shown and described herein. Rather, many additions, deletions, and modifications to the embodiments described herein may be made without departing from the scope of embodiments encompassed by the disclosure, such as those hereinafter claimed, including legal equivalents. In addition, features from one disclosed embodiment may be combined with features of another disclosed embodiment while still being encompassed within the scope of the disclosure as contemplated by the inventors.

Claims (20)

What is claimed is:
1. A method of forming a semiconductor structure, the method comprising:
exposing a dielectric material and a metal nitride on a substrate to an aluminum precursor and an oxygen precursor to form aluminum oxide over the dielectric material and a metal-aluminum compound over the metal nitride; and
exposing the aluminum oxide and the metal-aluminum compound to a solution comprising hydrogen peroxide.
2. The method of claim 1, wherein exposing a dielectric material and a metal nitride on a substrate to an aluminum precursor and an oxygen precursor comprises exposing a dielectric material comprising hafnium oxide to the aluminum precursor and the oxygen precursor.
3. The method of claim 1, wherein exposing a dielectric material and a metal nitride on a substrate to an aluminum precursor and an oxygen precursor comprises exposing the dielectric material and the metal nitride to the aluminum precursor and the oxygen precursor at a temperature of between about 300° C. and about 350° C.
4. The method of claim 1, wherein exposing a dielectric material and a metal nitride to an aluminum precursor comprises exposing the dielectric material and the metal nitride to tri-methyl aluminum (TMA).
5. The method of claim 1, wherein exposing a dielectric material and a metal nitride to an oxygen precursor comprises exposing the dielectric material and the metal nitride to at least one of oxygen, ozone, and water.
6. The method of claim 1, wherein exposing the aluminum oxide and the metal-aluminum compound to a solution comprising hydrogen peroxide comprises exposing the aluminum oxide and the metal-aluminum compound to a solution comprising between about one weight percent (1 wt. %) hydrogen peroxide and about ten weight percent (10 wt. %) hydrogen peroxide.
7. The method of claim 1, wherein exposing the aluminum oxide and the metal-aluminum compound to a solution comprising hydrogen peroxide comprises removing the metal-aluminum compound from over the metal nitride while leaving the aluminum oxide on the dielectric material.
8. The method of claim 1, wherein exposing a dielectric material and a metal nitride on a substrate to an aluminum precursor and an oxygen precursor comprises exposing the dielectric material and the metal nitride on the substrate to an atomic layer deposition aluminum precursor and an atomic layer deposition oxygen precursor.
9. A method of forming aluminum oxide, the method comprising:
forming titanium nitride on portions of a substrate;
forming a titanium-aluminum compound over the titanium nitride and forming aluminum oxide over the substrate; and
exposing the titanium-aluminum compound and the aluminum oxide to hydrogen peroxide to remove the titanium-aluminum compound from over the titanium nitride.
10. The method of claim 9, wherein forming titanium nitride on portions of a substrate comprises forming the titanium nitride over the substrate, forming openings in a mask material over the titanium nitride, and removing portions of the titanium nitride through the mask material.
11. The method of claim 9, wherein forming a titanium-aluminum compound over the titanium nitride comprises forming a compound comprising aluminum, titanium, oxygen, and nitrogen atoms over the titanium nitride.
12. The method of claim 9, wherein forming aluminum oxide comprises forming the aluminum oxide to have a thickness greater than about 10 Å.
13. The method of claim 9, wherein forming titanium nitride and forming aluminum oxide comprises forming the titanium nitride to have a greater thickness than a thickness of the aluminum oxide.
14. The method of claim 9, wherein exposing the titanium-aluminum compound and the aluminum oxide to hydrogen peroxide comprises exposing the titanium-aluminum compound and the aluminum oxide to hydrogen peroxide for between about thirty seconds and about one minute.
15. The method of claim 9, further comprising forming a conductive material over the aluminum oxide and the titanium nitride.
16. A method of forming an aluminum oxide material, the method comprising:
subjecting exposed portions of a substrate and exposed portions of titanium nitride to an aluminum precursor and an oxygen precursor to form aluminum oxide on the exposed portions of the substrate and a titanium-aluminum compound on the exposed portions of the titanium nitride; and
removing the titanium-aluminum compound from the titanium nitride.
17. The method of claim 16, wherein forming a titanium-aluminum compound on the exposed portions of the titanium nitride comprises forming the titanium-aluminum compound to a thickness of between about 10 Å and about 20 Å.
18. The method of claim 16, wherein forming aluminum oxide on the exposed portions of the substrate comprises forming aluminum oxide on the exposed portions of the substrate to a thickness of between about 1 Å and about 10 Å.
19. The method of claim 16, wherein removing the titanium-aluminum compound from the titanium nitride comprises exposing the aluminum oxide and the titanium-aluminum compound to a solution comprising hydrogen peroxide.
20. The method of claim 16, further comprising removing the titanium nitride after removing the titanium-aluminum compound.
US14/184,452 2014-02-19 2014-02-19 Methods of forming semiconductor structures comprising aluminum oxide Active US9129798B1 (en)

Priority Applications (2)

Application Number Priority Date Filing Date Title
US14/184,452 US9129798B1 (en) 2014-02-19 2014-02-19 Methods of forming semiconductor structures comprising aluminum oxide
US14/826,447 US9450067B2 (en) 2014-02-19 2015-08-14 Semiconductor devices comprising aluminum oxide

Applications Claiming Priority (1)

Application Number Priority Date Filing Date Title
US14/184,452 US9129798B1 (en) 2014-02-19 2014-02-19 Methods of forming semiconductor structures comprising aluminum oxide

Related Child Applications (1)

Application Number Title Priority Date Filing Date
US14/826,447 Division US9450067B2 (en) 2014-02-19 2015-08-14 Semiconductor devices comprising aluminum oxide

Publications (2)

Publication Number Publication Date
US20150235841A1 US20150235841A1 (en) 2015-08-20
US9129798B1 true US9129798B1 (en) 2015-09-08

Family

ID=53798708

Family Applications (2)

Application Number Title Priority Date Filing Date
US14/184,452 Active US9129798B1 (en) 2014-02-19 2014-02-19 Methods of forming semiconductor structures comprising aluminum oxide
US14/826,447 Active US9450067B2 (en) 2014-02-19 2015-08-14 Semiconductor devices comprising aluminum oxide

Family Applications After (1)

Application Number Title Priority Date Filing Date
US14/826,447 Active US9450067B2 (en) 2014-02-19 2015-08-14 Semiconductor devices comprising aluminum oxide

Country Status (1)

Country Link
US (2) US9129798B1 (en)

Cited By (1)

* Cited by examiner, † Cited by third party
Publication number Priority date Publication date Assignee Title
US10358719B2 (en) 2016-11-23 2019-07-23 Applied Materials, Inc. Selective deposition of aluminum oxide on metal surfaces

Families Citing this family (3)

* Cited by examiner, † Cited by third party
Publication number Priority date Publication date Assignee Title
US10957644B2 (en) * 2018-02-02 2021-03-23 Micron Technology, Inc. Integrated structures with conductive regions having at least one element from group 2 of the periodic table
WO2022005696A1 (en) * 2020-07-03 2022-01-06 Applied Materials, Inc. Methods for refurbishing aerospace components
TW202248447A (en) * 2021-03-08 2022-12-16 荷蘭商Asm Ip私人控股有限公司 Methods and systems for forming a layer comprising aluminum, titanium, and carbon

Citations (8)

* Cited by examiner, † Cited by third party
Publication number Priority date Publication date Assignee Title
US20070098892A1 (en) * 2005-08-31 2007-05-03 Samsung Electronics Co., Ltd. Method of forming a layer and method of manufacturing a capacitor using the same
US20080113160A1 (en) 2006-11-14 2008-05-15 Glimmerglass Networks, Inc. Method And Apparatus For Localized Bonding
US20080272438A1 (en) 2007-05-02 2008-11-06 Doris Bruce B CMOS Circuits with High-K Gate Dielectric
US7592678B2 (en) 2004-06-17 2009-09-22 Infineon Technologies Ag CMOS transistors with dual high-k gate dielectric and methods of manufacture thereof
US7598142B2 (en) 2007-03-15 2009-10-06 Pushkar Ranade CMOS device with dual-epi channels and self-aligned contacts
US20130154019A1 (en) 2011-12-16 2013-06-20 International Business Machines Corporation Low threshold voltage cmos device
US8530974B2 (en) 2011-09-08 2013-09-10 International Business Machines Corporation CMOS structure having multiple threshold voltage devices
US8536654B2 (en) 2010-01-13 2013-09-17 Texas Instruments Incorporated Structure and method for dual work function metal gate CMOS with selective capping

Family Cites Families (1)

* Cited by examiner, † Cited by third party
Publication number Priority date Publication date Assignee Title
US20100213555A1 (en) * 2009-02-23 2010-08-26 Advanced Micro Devices, Inc. Metal oxide semiconductor devices having capping layers and methods for fabricating the same

Patent Citations (8)

* Cited by examiner, † Cited by third party
Publication number Priority date Publication date Assignee Title
US7592678B2 (en) 2004-06-17 2009-09-22 Infineon Technologies Ag CMOS transistors with dual high-k gate dielectric and methods of manufacture thereof
US20070098892A1 (en) * 2005-08-31 2007-05-03 Samsung Electronics Co., Ltd. Method of forming a layer and method of manufacturing a capacitor using the same
US20080113160A1 (en) 2006-11-14 2008-05-15 Glimmerglass Networks, Inc. Method And Apparatus For Localized Bonding
US7598142B2 (en) 2007-03-15 2009-10-06 Pushkar Ranade CMOS device with dual-epi channels and self-aligned contacts
US20080272438A1 (en) 2007-05-02 2008-11-06 Doris Bruce B CMOS Circuits with High-K Gate Dielectric
US8536654B2 (en) 2010-01-13 2013-09-17 Texas Instruments Incorporated Structure and method for dual work function metal gate CMOS with selective capping
US8530974B2 (en) 2011-09-08 2013-09-10 International Business Machines Corporation CMOS structure having multiple threshold voltage devices
US20130154019A1 (en) 2011-12-16 2013-06-20 International Business Machines Corporation Low threshold voltage cmos device

Non-Patent Citations (1)

* Cited by examiner, † Cited by third party
Title
Chou et al., Imprint of Sub-25 nm Vias and Trenches in Polymers, Appl. Phys. Lett., vol. 67, No. 21, Nov. 20, 1995, pp. 3114-3116.

Cited By (2)

* Cited by examiner, † Cited by third party
Publication number Priority date Publication date Assignee Title
US10358719B2 (en) 2016-11-23 2019-07-23 Applied Materials, Inc. Selective deposition of aluminum oxide on metal surfaces
US11060188B2 (en) 2016-11-23 2021-07-13 Applied Materials, Inc. Selective deposition of aluminum oxide on metal surfaces

Also Published As

Publication number Publication date
US9450067B2 (en) 2016-09-20
US20150235841A1 (en) 2015-08-20
US20150349082A1 (en) 2015-12-03

Similar Documents

Publication Publication Date Title
US10367062B2 (en) Co-integration of silicon and silicon-germanium channels for nanosheet devices
US6667246B2 (en) Wet-etching method and method for manufacturing semiconductor device
US9252058B2 (en) Semiconductor device and method of fabricating the same
US10109534B2 (en) Multi-threshold voltage (Vt) workfunction metal by selective atomic layer deposition (ALD)
CN109427873A (en) The structures and methods of metal gates with coarse barrier layer
US8846540B2 (en) Semiconductor device with silicon-containing hard mask and method for fabricating the same
US10504795B2 (en) Method for patterning a lanthanum containing layer
US9450067B2 (en) Semiconductor devices comprising aluminum oxide
TWI478246B (en) Forming a channel semiconductor alloy by forming a hard mask layer stack and using a plasma-based mask patterning process
US20110217833A1 (en) Method of manufacturing a semiconductor device using an etchant
US10224329B2 (en) Forming gates with varying length using sidewall image transfer
US10020202B2 (en) Fabrication of multi threshold-voltage devices
US7323419B2 (en) Method of fabricating semiconductor device
US9018066B2 (en) Method of fabricating semiconductor device structure
JP2007036116A (en) Semiconductor device manufacturing method
US12494423B2 (en) Semiconductor device including stacked via contact and method for manufacturing the same
JP2011187498A (en) Semiconductor device manufacturing method
CN101355029B (en) Method for forming grids of semiconductor device
CN113097136A (en) Method for forming semiconductor structure
KR20120039136A (en) Method of manufacturing a semiconductor device
WO2011104788A1 (en) Method for manufacturing a semiconductor device

Legal Events

Date Code Title Description
AS Assignment

Owner name: MICRON TECHNOLOGY, INC., IDAHO

Free format text: ASSIGNMENT OF ASSIGNORS INTEREST;ASSIGNOR:ZHU, DIFENG;REEL/FRAME:032248/0939

Effective date: 20140218

FEPP Fee payment procedure

Free format text: PAYOR NUMBER ASSIGNED (ORIGINAL EVENT CODE: ASPN); ENTITY STATUS OF PATENT OWNER: LARGE ENTITY

STCF Information on status: patent grant

Free format text: PATENTED CASE

CC Certificate of correction
AS Assignment

Owner name: U.S. BANK NATIONAL ASSOCIATION, AS COLLATERAL AGENT, CALIFORNIA

Free format text: SECURITY INTEREST;ASSIGNOR:MICRON TECHNOLOGY, INC.;REEL/FRAME:038669/0001

Effective date: 20160426

Owner name: U.S. BANK NATIONAL ASSOCIATION, AS COLLATERAL AGEN

Free format text: SECURITY INTEREST;ASSIGNOR:MICRON TECHNOLOGY, INC.;REEL/FRAME:038669/0001

Effective date: 20160426

AS Assignment

Owner name: MORGAN STANLEY SENIOR FUNDING, INC., AS COLLATERAL AGENT, MARYLAND

Free format text: PATENT SECURITY AGREEMENT;ASSIGNOR:MICRON TECHNOLOGY, INC.;REEL/FRAME:038954/0001

Effective date: 20160426

Owner name: MORGAN STANLEY SENIOR FUNDING, INC., AS COLLATERAL

Free format text: PATENT SECURITY AGREEMENT;ASSIGNOR:MICRON TECHNOLOGY, INC.;REEL/FRAME:038954/0001

Effective date: 20160426

AS Assignment

Owner name: U.S. BANK NATIONAL ASSOCIATION, AS COLLATERAL AGENT, CALIFORNIA

Free format text: CORRECTIVE ASSIGNMENT TO CORRECT THE REPLACE ERRONEOUSLY FILED PATENT #7358718 WITH THE CORRECT PATENT #7358178 PREVIOUSLY RECORDED ON REEL 038669 FRAME 0001. ASSIGNOR(S) HEREBY CONFIRMS THE SECURITY INTEREST;ASSIGNOR:MICRON TECHNOLOGY, INC.;REEL/FRAME:043079/0001

Effective date: 20160426

Owner name: U.S. BANK NATIONAL ASSOCIATION, AS COLLATERAL AGEN

Free format text: CORRECTIVE ASSIGNMENT TO CORRECT THE REPLACE ERRONEOUSLY FILED PATENT #7358718 WITH THE CORRECT PATENT #7358178 PREVIOUSLY RECORDED ON REEL 038669 FRAME 0001. ASSIGNOR(S) HEREBY CONFIRMS THE SECURITY INTEREST;ASSIGNOR:MICRON TECHNOLOGY, INC.;REEL/FRAME:043079/0001

Effective date: 20160426

AS Assignment

Owner name: JPMORGAN CHASE BANK, N.A., AS COLLATERAL AGENT, ILLINOIS

Free format text: SECURITY INTEREST;ASSIGNORS:MICRON TECHNOLOGY, INC.;MICRON SEMICONDUCTOR PRODUCTS, INC.;REEL/FRAME:047540/0001

Effective date: 20180703

Owner name: JPMORGAN CHASE BANK, N.A., AS COLLATERAL AGENT, IL

Free format text: SECURITY INTEREST;ASSIGNORS:MICRON TECHNOLOGY, INC.;MICRON SEMICONDUCTOR PRODUCTS, INC.;REEL/FRAME:047540/0001

Effective date: 20180703

AS Assignment

Owner name: MICRON TECHNOLOGY, INC., IDAHO

Free format text: RELEASE BY SECURED PARTY;ASSIGNOR:U.S. BANK NATIONAL ASSOCIATION, AS COLLATERAL AGENT;REEL/FRAME:047243/0001

Effective date: 20180629

MAFP Maintenance fee payment

Free format text: PAYMENT OF MAINTENANCE FEE, 4TH YEAR, LARGE ENTITY (ORIGINAL EVENT CODE: M1551); ENTITY STATUS OF PATENT OWNER: LARGE ENTITY

Year of fee payment: 4

AS Assignment

Owner name: MICRON TECHNOLOGY, INC., IDAHO

Free format text: RELEASE BY SECURED PARTY;ASSIGNOR:MORGAN STANLEY SENIOR FUNDING, INC., AS COLLATERAL AGENT;REEL/FRAME:050937/0001

Effective date: 20190731

AS Assignment

Owner name: MICRON SEMICONDUCTOR PRODUCTS, INC., IDAHO

Free format text: RELEASE BY SECURED PARTY;ASSIGNOR:JPMORGAN CHASE BANK, N.A., AS COLLATERAL AGENT;REEL/FRAME:051028/0001

Effective date: 20190731

Owner name: MICRON TECHNOLOGY, INC., IDAHO

Free format text: RELEASE BY SECURED PARTY;ASSIGNOR:JPMORGAN CHASE BANK, N.A., AS COLLATERAL AGENT;REEL/FRAME:051028/0001

Effective date: 20190731

MAFP Maintenance fee payment

Free format text: PAYMENT OF MAINTENANCE FEE, 8TH YEAR, LARGE ENTITY (ORIGINAL EVENT CODE: M1552); ENTITY STATUS OF PATENT OWNER: LARGE ENTITY

Year of fee payment: 8