US7212020B2 - Device and method for isolating a short-circuited integrated circuit (IC) from other ICs on a semiconductor wafer - Google Patents
Device and method for isolating a short-circuited integrated circuit (IC) from other ICs on a semiconductor wafer Download PDFInfo
- Publication number
- US7212020B2 US7212020B2 US11/410,126 US41012606A US7212020B2 US 7212020 B2 US7212020 B2 US 7212020B2 US 41012606 A US41012606 A US 41012606A US 7212020 B2 US7212020 B2 US 7212020B2
- Authority
- US
- United States
- Prior art keywords
- short
- sensing
- circuitry
- ics
- circuited
- Prior art date
- Legal status (The legal status is an assumption and is not a legal conclusion. Google has not performed a legal analysis and makes no representation as to the accuracy of the status listed.)
- Expired - Fee Related
Links
- 239000004065 semiconductor Substances 0.000 title abstract description 19
- 238000000034 method Methods 0.000 title description 9
- 238000002955 isolation Methods 0.000 claims 4
- 239000000523 sample Substances 0.000 abstract description 30
- 238000012360 testing method Methods 0.000 abstract description 30
- 235000012431 wafers Nutrition 0.000 description 29
- 238000010586 diagram Methods 0.000 description 5
- 238000004519 manufacturing process Methods 0.000 description 5
- XUIMIQQOPSSXEZ-UHFFFAOYSA-N Silicon Chemical compound [Si] XUIMIQQOPSSXEZ-UHFFFAOYSA-N 0.000 description 2
- 230000003014 reinforcing effect Effects 0.000 description 2
- 230000000630 rising effect Effects 0.000 description 2
- 229910052710 silicon Inorganic materials 0.000 description 2
- 239000010703 silicon Substances 0.000 description 2
- 238000007514 turning Methods 0.000 description 2
- 230000001934 delay Effects 0.000 description 1
- 239000000463 material Substances 0.000 description 1
- 238000005459 micromachining Methods 0.000 description 1
- 230000003068 static effect Effects 0.000 description 1
Images
Classifications
-
- G—PHYSICS
- G01—MEASURING; TESTING
- G01R—MEASURING ELECTRIC VARIABLES; MEASURING MAGNETIC VARIABLES
- G01R31/00—Arrangements for testing electric properties; Arrangements for locating electric faults; Arrangements for electrical testing characterised by what is being tested not provided for elsewhere
- G01R31/28—Testing of electronic circuits, e.g. by signal tracer
- G01R31/2851—Testing of integrated circuits [IC]
- G01R31/2884—Testing of integrated circuits [IC] using dedicated test connectors, test elements or test circuits on the IC under test
-
- G—PHYSICS
- G01—MEASURING; TESTING
- G01R—MEASURING ELECTRIC VARIABLES; MEASURING MAGNETIC VARIABLES
- G01R31/00—Arrangements for testing electric properties; Arrangements for locating electric faults; Arrangements for electrical testing characterised by what is being tested not provided for elsewhere
- G01R31/28—Testing of electronic circuits, e.g. by signal tracer
- G01R31/317—Testing of digital circuits
- G01R31/3181—Functional testing
- G01R31/3185—Reconfiguring for testing, e.g. LSSD, partitioning
- G01R31/318505—Test of Modular systems, e.g. Wafers, MCM's
- G01R31/318511—Wafer Test
-
- G—PHYSICS
- G01—MEASURING; TESTING
- G01R—MEASURING ELECTRIC VARIABLES; MEASURING MAGNETIC VARIABLES
- G01R31/00—Arrangements for testing electric properties; Arrangements for locating electric faults; Arrangements for electrical testing characterised by what is being tested not provided for elsewhere
- G01R31/50—Testing of electric apparatus, lines, cables or components for short-circuits, continuity, leakage current or incorrect line connections
- G01R31/52—Testing for short-circuits, leakage current or ground faults
Definitions
- This invention relates in general to integrated circuits (ICs) fabricated on semiconductor wafers and, more specifically, to devices and methods for isolating a short-circuited IC from other ICs on a semiconductor wafer so that, for example, probe testing may proceed on the other ICs on the wafer despite the presence of the short-circuited IC.
- ICs integrated circuits
- integrated circuits (ICs) 10 are small electronic circuits formed on the surface of a wafer 12 of semiconductor material, such as silicon, in an IC manufacturing process referred to as “fabrication.” Once fabricated, ICs 10 are electronically probed to evaluate a variety of their electronic characteristics. Probing typically involves positioning needle-like probes (not shown) onto bond pads 14 on the surfaces of ICs 10 to test the ICs 10 using various electronic signals supplied through the probes. As described in U.S. Pat. Nos.
- ICs 10 are tested using test probes that contact probe pads 16 positioned on the surface of a semiconductor wafer 12 rather than, or in addition to, contacting bond pads 14 on the ICs 10 .
- a supply voltage V CC provided to ICs 10 on a wafer 12 through probes contacting bond pads 14 on the ICs 10 or probe pads 16 on the wafer 12 , may be shorted to ground through one of the ICs 10 .
- over-current protection circuitry such as a fuse
- present in testing equipment that provides the supply voltage V CC to the probes will likely “trip” the equipment off-line, causing a brief but significant delay in the manufacturing of ICs 10 while the equipment is reset.
- V CC -to-ground short in an IC 10 may make the entire wafer 12 untestable until the IC 10 with the short is identified and either repaired or disconnected, which involves a separate manual process that can cause additional delays in the manufacturing process.
- a test signal V TEST supplied to a group of ICs 10 on a semiconductor wafer 12 through a probe pad 16 on the wafer 12 may be distorted for all of the ICs 10 in the group by, for example, a V TEST -to-ground or a V TEST -to-V CC short in one of the ICs 10 in the group.
- This distortion may interfere with probe testing of all of the ICs 10 in the group, and may require that the IC 10 with the short be manually identified and repaired or disconnected before the ICs 10 in the group can be successfully probe tested.
- a device and method for isolating a short-circuited IC on a semiconductor wafer from other ICs on the wafer Preferably, such a device and method should isolate a short-circuited IC before the IC interferes with probe testing of other ICs so the probe testing can continue uninterrupted.
- An inventive device for isolating a short-circuited integrated circuit (IC) from other ICs formed on the surface of a semiconductor wafer that are interconnected with the short-circuited IC includes control circuitry within the short-circuited IC for sensing the short circuit.
- the control circuitry may sense the short circuit in a variety of ways, including sensing excessive current drawn by the short-circuited IC, and sensing an abnormally low or high voltage within the short-circuited IC.
- Switching circuitry also within the short-circuited IC selectively isolates the short-circuited IC from the other ICs on the wafer in response to the control circuitry sensing the short circuit. As a result, if the wafer is under probe test, for example, testing can continue uninterrupted on the other ICs while the short-circuited IC is isolated.
- FIG. 1 An IC including the control and switching circuitry described above, a semiconductor wafer including many of these ICs, and an electronic system, such as a computer system, including at least one of these ICs.
- control circuitry is provided in the ICs for sensing shorts in the ICs.
- the ICs are then tested, and if the control circuitry in one of the ICs senses a short, the short-circuiting IC is automatically switchably isolated from the other ICs.
- FIG. 1 is a prior art top view of a conventional semiconductor wafer showing interconnected integrated circuits (ICs) formed on the surface of the wafer;
- ICs integrated circuits
- FIG. 2 is a block diagram and a schematic of an IC including circuitry for isolating a short-circuiting circuit internal to the IC from a supply voltage V CC bond pad on the IC in accordance with the present invention
- FIG. 3 is a top view of a semiconductor wafer including interconnected ICs formed on its surface that are identical to the IC shown in FIG. 2 ;
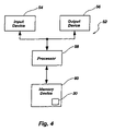
- FIG. 4 is a block diagram of an electronic system including the IC of FIG. 2 ;
- FIG. 5 is a block diagram and a schematic of an IC including an alternative embodiment of circuitry for isolating a short-circuiting circuit internal to the IC from a supply voltage V CC bond pad on the IC in accordance with the present invention
- FIG. 6 is a block diagram and a schematic of another alternative embodiment of circuitry for isolating a short-circuiting circuit internal to an IC from a supply voltage V CC bond pad on the IC in accordance with the present invention.
- FIG. 7 is a block diagram and a schematic of still another alternative embodiment of circuitry for isolating a short-circuiting circuit internal to an IC from a supply voltage V CC bond pad on the IC in accordance with the present invention.
- an integrated circuit (IC) 20 in accordance with the present invention includes control circuitry 22 for sensing a short in a circuit 24 internal to the IC 20 and switching circuitry 26 for isolating the internal circuit 24 from a supply voltage V CC bond pad 28 on the IC 20 in response to the control circuitry 22 sensing the short.
- the present invention can prevent the short from “tripping” probe test equipment (not shown) supplying the supply voltage V CC to a semiconductor wafer (not shown) during probe testing of the wafer.
- the IC may comprise any IC, including, for example, a Dynamic Random Access Memory (DRAM) IC and a Static RAM (SRAM) IC.
- DRAM Dynamic Random Access Memory
- SRAM Static RAM
- the control circuitry and switching circuitry will be described with respect to specific circuitry, the present invention includes within its scope any control circuitry and any switching circuitry capable of performing the functions as described.
- the control circuitry will be described as sensing the short in the internal circuit by sensing excess current drawn by the internal circuit, the control circuitry may instead be constructed to sense abnormally high or low voltages within the internal circuit indicative of a short circuit.
- the present invention is considered most applicable to probe testing, its applicability is not limited to probe testing.
- the present invention can be used to isolate short-circuiting internal circuitry of an IC from a wide variety of circuitry external to the IC, and thus is not limited to isolating internal circuitry from a supply voltage V CC bond pad.
- a ground voltage V SS applied at the gate of a switching PMOS transistor 32 through a large resistance device 34 turns the switching PMOS transistor 32 on.
- the ground voltage V SS is also applied at the input of an inverter 36 , which then outputs a high voltage at the gate of a hysteresis PMOS transistor 38 , causing the hysteresis PMOS transistor 38 to be off. Because the switching PMOS transistor 32 is on, the supply voltage V CC applied at the bond pad 28 causes a current I to flow through a sensing resistance device 40 and the switching PMOS transistor 32 to the internal circuit 24 .
- the amount of resistance R of the sensing resistance device 40 is selected so that, under normal probe testing conditions, the current I drawn by the internal circuit 24 causes a voltage drop V (equal to I ⁇ R) across the sensing resistance device 40 that is less than the threshold voltage
- the internal circuit 24 When a short circuit (e.g., a short circuit to ground) does exist in the internal circuit 24 , the internal circuit 24 rapidly draws excessive current I through the sensing resistance device 40 , causing the voltage drop V across the sensing resistance device 40 to exceed the threshold voltage
- a short circuit e.g., a short circuit to ground
- the switching PMOS transistor 32 remains off, because feedback of the supply voltage V CC from the drain of the hysteresis PMOS transistor 38 to the input of the inverter 36 causes the inverter 36 to continue to output a low voltage at the gate of the hysteresis PMOS transistor 38 , thereby causing the hysteresis PMOS transistor 38 to remain on and to continue to apply the supply voltage V CC to the gate of the switching PMOS transistor 32 .
- the IC 20 remains in this state, with the short-circuited internal circuit 24 isolated from the bond pad 28 , and hence from other ICs under test, by the switching PMOS transistor 32 until the supply voltage V CC is no longer applied to the bond pad 28 , at which point the control circuitry 22 is reset.
- an electronic system 52 such as a computer system, includes an input device 54 , an output device 56 , a processor 58 , and a memory device 60 incorporating the IC 20 of FIGS. 2 and 3 .
- an IC 70 in accordance with an alternative embodiment of the present invention includes a fuse 72 for sensing a short in a circuit 74 internal to the IC 70 and for isolating the internal circuit 74 from a supply voltage V CC bond pad 78 on the IC 70 when excessive current is drawn by the short.
- an IC 80 includes control circuitry 82 for sensing a short in a circuit 84 internal to the IC 80 and switching circuitry 86 for isolating the internal circuit 84 from a supply voltage V CC bond pad 88 on the IC 80 in response to the control circuitry 82 sensing the short.
- the present invention can prevent the short from “tripping” probe test equipment (not shown) supplying the supply voltage V CC to a semiconductor wafer (not shown) during probe testing of the wafer.
- a series of biasing resistors 90 , 92 , and 94 biases the base 96 of a switching bipolar junction transistor (BJT) 98 at a voltage intermediate the supply voltage V CC and a ground voltage V SS so that the BJT 98 is on.
- a voltage taken from between the biasing resistors 92 and 94 and applied at the input of an inverter 100 causes the inverter 100 to output a high voltage to the gate of a hysteresis PMOS transistor 102 , causing the hysteresis PMOS transistor 102 to be off. Because the switching BJT 98 is on, the supply voltage V CC applied at the bond pad 88 causes a current I to flow through a resistor 104 and the BJT 98 to the internal circuit 84 .
- the amount of resistance R of the resistor 104 is selected so that, under normal probe testing conditions, the current I drawn by the internal circuit 84 causes a voltage drop V (equal to I ⁇ R) across the resistor 104 that is less than the threshold voltage
- the internal circuit 84 When a short circuit (e.g., a short circuit to ground) does exist in the internal circuit 84 , the internal circuit 84 rapidly draws excessive current I through the resistor 104 , causing the voltage drop V across the resistor 104 to exceed the threshold voltage
- a short circuit e.g., a short circuit to ground
- the rising voltage at the input of the inverter 100 causes the inverter 100 to output a low voltage at the gate of the hysteresis PMOS transistor 102 , thereby turning the hysteresis PMOS transistor 102 on and reinforcing application of the supply voltage V CC at the base 96 of the switching BJT 98 .
- This causes the switching BJT 98 to turn off, thereby interrupting the excessive current I and isolating the short-circuited internal circuit 84 from the bond pad 88 .
- the switching BJT 98 remains off, because the raised voltage at the input to the inverter 100 causes the inverter 100 to keep the hysteresis PMOS transistor 102 on, allowing the hysteresis PMOS transistor 102 to continue to apply the supply voltage V CC to the base 96 of the BJT 98 .
- the IC 80 remains in this state, with the short-circuited internal circuit 84 isolated from the bond pad 88 , and hence from other ICs under test, by the switching BJT 98 until the supply voltage V CC is no longer applied to the bond pad 88 , at which point the control circuitry 82 is reset.
- the switching BJT 98 may be implemented on the IC 80 , as is shown in FIG. 6 , in a BiCMOS configuration or, alternatively, may be implemented on a probe card contacting the bond pad 88 or between ICs on a semiconductor wafer.
- an IC 110 includes control circuitry 112 for sensing a short in a circuit 114 internal to the IC 110 and a micro-relay 116 for isolating the internal circuit 114 from a supply voltage V CC bond pad 118 on the IC 110 in response to the control circuitry 112 sensing the short.
- the present invention can prevent the short from “tripping” probe test equipment (not shown) supplying the supply voltage V CC to a semiconductor wafer (not shown) during probe testing of the wafer.
- control circuitry 112 senses no short in the internal circuit 114 , so it causes the micro-relay 116 to close and allow a current I to flow to the internal circuit 114 .
- the internal circuit 114 When a short circuit (e.g., a short circuit to ground) does exist in the internal circuit 114 , the internal circuit 114 rapidly draws excessive current I.
- the control circuitry 112 detects this excessive current I and, as a result, causes the micro-relay 116 to open, thereby isolating the internal circuit 114 from the bond pad 118 .
- the control circuitry 112 remains in this state until reset by the voltage at the bond pad 118 dropping to zero and then rising again to the supply voltage V CC .
- micro-relay may be created using silicon micro-machining techniques, and may comprise a capacitively or inductively controlled relay.
Landscapes
- Physics & Mathematics (AREA)
- General Physics & Mathematics (AREA)
- Engineering & Computer Science (AREA)
- General Engineering & Computer Science (AREA)
- Computer Hardware Design (AREA)
- Microelectronics & Electronic Packaging (AREA)
- Semiconductor Integrated Circuits (AREA)
- Testing Or Measuring Of Semiconductors Or The Like (AREA)
- Tests Of Electronic Circuits (AREA)
Abstract
A circuit for isolating a short-circuited integrated circuit (IC) formed on the surface of a semiconductor wafer from other ICs formed on the wafer that are interconnected with the short-circuited IC includes control circuitry within the short-circuited IC for sensing the short circuit. The control circuitry may sense the short circuit in a variety of ways, including sensing excessive current drawn by the short-circuited IC, and sensing an abnormally low or high voltage within the short-circuited IC. Switching circuitry also within the short-circuited IC selectively isolates the short-circuited IC from the other ICs on the wafer in response to the control circuitry sensing the short circuit. As a result, if the wafer is under probe test, for example, testing can continue uninterrupted on the other ICs while the short-circuited IC is isolated.
Description
This application is a continuation of application Ser. No. 11/009,829, filed Dec. 10, 2004, now U.S. Pat. No. 7,034,561, issued Apr. 25, 2006, which is a continuation of application Ser. No. 10/690,496, filed Oct. 21, 2003, now U.S. Pat. No. 6,831,475, issued Dec. 14, 2004, which is a continuation of application Ser. No. 10/218,279, filed Aug. 13, 2002, now U.S. Pat. No. 6,636,068, issued Oct. 21, 2003, which is a continuation of application Ser. No. 09/944,509, filed Aug. 30, 2001, now U.S. Pat. No. 6,452,415, issued Sep. 17, 2002, which is a continuation of application Ser. No. 09/083,819, filed May 22, 1998, now U.S. Pat. No. 6,313,658, issued Nov. 6, 2001.
1. Field of the Invention
This invention relates in general to integrated circuits (ICs) fabricated on semiconductor wafers and, more specifically, to devices and methods for isolating a short-circuited IC from other ICs on a semiconductor wafer so that, for example, probe testing may proceed on the other ICs on the wafer despite the presence of the short-circuited IC.
2. State of the Art
As shown in FIG. 1 , integrated circuits (ICs) 10 are small electronic circuits formed on the surface of a wafer 12 of semiconductor material, such as silicon, in an IC manufacturing process referred to as “fabrication.” Once fabricated, ICs 10 are electronically probed to evaluate a variety of their electronic characteristics. Probing typically involves positioning needle-like probes (not shown) onto bond pads 14 on the surfaces of ICs 10 to test the ICs 10 using various electronic signals supplied through the probes. As described in U.S. Pat. Nos. 5,059,899 and 5,214,657 to Farnworth et al., in some cases, ICs 10 are tested using test probes that contact probe pads 16 positioned on the surface of a semiconductor wafer 12 rather than, or in addition to, contacting bond pads 14 on the ICs 10.
Sometimes shorts develop in some of the ICs 10 on a semiconductor wafer 12 as a result of fabrication errors. These shorts can interfere with the probe testing described above in a variety of ways. For example, in some instances, a supply voltage VCC, provided to ICs 10 on a wafer 12 through probes contacting bond pads 14 on the ICs 10 or probe pads 16 on the wafer 12, may be shorted to ground through one of the ICs 10. As a result, over-current protection circuitry, such as a fuse, present in testing equipment that provides the supply voltage VCC to the probes, will likely “trip” the equipment off-line, causing a brief but significant delay in the manufacturing of ICs 10 while the equipment is reset. In addition, such a VCC-to-ground short in an IC 10 may make the entire wafer 12 untestable until the IC 10 with the short is identified and either repaired or disconnected, which involves a separate manual process that can cause additional delays in the manufacturing process.
In other instances, a test signal VTEST supplied to a group of ICs 10 on a semiconductor wafer 12 through a probe pad 16 on the wafer 12 may be distorted for all of the ICs 10 in the group by, for example, a VTEST-to-ground or a VTEST-to-VCC short in one of the ICs 10 in the group. This distortion may interfere with probe testing of all of the ICs 10 in the group, and may require that the IC 10 with the short be manually identified and repaired or disconnected before the ICs 10 in the group can be successfully probe tested.
Therefore, there is a need in the art for a device and method for isolating a short-circuited IC on a semiconductor wafer from other ICs on the wafer. Preferably, such a device and method should isolate a short-circuited IC before the IC interferes with probe testing of other ICs so the probe testing can continue uninterrupted.
An inventive device for isolating a short-circuited integrated circuit (IC) from other ICs formed on the surface of a semiconductor wafer that are interconnected with the short-circuited IC includes control circuitry within the short-circuited IC for sensing the short circuit. The control circuitry may sense the short circuit in a variety of ways, including sensing excessive current drawn by the short-circuited IC, and sensing an abnormally low or high voltage within the short-circuited IC. Switching circuitry also within the short-circuited IC selectively isolates the short-circuited IC from the other ICs on the wafer in response to the control circuitry sensing the short circuit. As a result, if the wafer is under probe test, for example, testing can continue uninterrupted on the other ICs while the short-circuited IC is isolated.
Further embodiments of the present invention are directed to an IC including the control and switching circuitry described above, a semiconductor wafer including many of these ICs, and an electronic system, such as a computer system, including at least one of these ICs.
In an inventive method for testing ICs formed on the surface of a semiconductor wafer, control circuitry is provided in the ICs for sensing shorts in the ICs. The ICs are then tested, and if the control circuitry in one of the ICs senses a short, the short-circuiting IC is automatically switchably isolated from the other ICs.
As shown in FIG. 2 , an integrated circuit (IC) 20 in accordance with the present invention includes control circuitry 22 for sensing a short in a circuit 24 internal to the IC 20 and switching circuitry 26 for isolating the internal circuit 24 from a supply voltage VCC bond pad 28 on the IC 20 in response to the control circuitry 22 sensing the short. By isolating the short-circuited internal circuit 24 from the supply voltage VCC bond pad 28, the present invention can prevent the short from “tripping” probe test equipment (not shown) supplying the supply voltage VCC to a semiconductor wafer (not shown) during probe testing of the wafer.
It should be understood that the IC may comprise any IC, including, for example, a Dynamic Random Access Memory (DRAM) IC and a Static RAM (SRAM) IC. It should also be understood that although the control circuitry and switching circuitry will be described with respect to specific circuitry, the present invention includes within its scope any control circuitry and any switching circuitry capable of performing the functions as described. Also, although the control circuitry will be described as sensing the short in the internal circuit by sensing excess current drawn by the internal circuit, the control circuitry may instead be constructed to sense abnormally high or low voltages within the internal circuit indicative of a short circuit. Further, it should be understood that while the present invention is considered most applicable to probe testing, its applicability is not limited to probe testing. In addition, it should be understood that the present invention can be used to isolate short-circuiting internal circuitry of an IC from a wide variety of circuitry external to the IC, and thus is not limited to isolating internal circuitry from a supply voltage VCC bond pad.
Under normal probe testing conditions of the IC 20, when a short circuit does not exist in the internal circuit 24, a ground voltage VSS applied at the gate of a switching PMOS transistor 32 through a large resistance device 34 (e.g., more than 1 MΩ) turns the switching PMOS transistor 32 on. The ground voltage VSS is also applied at the input of an inverter 36, which then outputs a high voltage at the gate of a hysteresis PMOS transistor 38, causing the hysteresis PMOS transistor 38 to be off. Because the switching PMOS transistor 32 is on, the supply voltage VCC applied at the bond pad 28 causes a current I to flow through a sensing resistance device 40 and the switching PMOS transistor 32 to the internal circuit 24.
The amount of resistance R of the sensing resistance device 40 is selected so that, under normal probe testing conditions, the current I drawn by the internal circuit 24 causes a voltage drop V (equal to I×R) across the sensing resistance device 40 that is less than the threshold voltage |VT| of a sensing PMOS transistor 42. As a result, the sensing PMOS transistor 42 is off.
When a short circuit (e.g., a short circuit to ground) does exist in the internal circuit 24, the internal circuit 24 rapidly draws excessive current I through the sensing resistance device 40, causing the voltage drop V across the sensing resistance device 40 to exceed the threshold voltage |VT| of the sensing PMOS transistor 42. As a result, the sensing PMOS transistor 42 turns on, thereby applying the supply voltage VCC at the gate of the switching PMOS transistor 32 and at the input of the inverter 36. Application of the supply voltage VCC at the input of the inverter 36 causes the inverter 36 to output a low voltage at the gate of the hysteresis PMOS transistor 38, thereby turning the hysteresis PMOS transistor 38 on and reinforcing application of the supply voltage VCC at the gate of the switching PMOS transistor 32. This causes the switching PMOS transistor 32 to turn off, thereby interrupting the excessive current I and isolating the short-circuited internal circuit 24 from the bond pad 28.
Because the current I is interrupted, the voltage drop V across the sensing resistance device 40 drops to zero, causing the sensing PMOS transistor 42 to turn off. Despite this, the switching PMOS transistor 32 remains off, because feedback of the supply voltage VCC from the drain of the hysteresis PMOS transistor 38 to the input of the inverter 36 causes the inverter 36 to continue to output a low voltage at the gate of the hysteresis PMOS transistor 38, thereby causing the hysteresis PMOS transistor 38 to remain on and to continue to apply the supply voltage VCC to the gate of the switching PMOS transistor 32. The IC 20 remains in this state, with the short-circuited internal circuit 24 isolated from the bond pad 28, and hence from other ICs under test, by the switching PMOS transistor 32 until the supply voltage VCC is no longer applied to the bond pad 28, at which point the control circuitry 22 is reset.
As shown in FIG. 3 , multiple ICs 20 are formed and interconnected on the surface of a semiconductor wafer 50 in accordance with the present invention. As shown in FIG. 4 , an electronic system 52, such as a computer system, includes an input device 54, an output device 56, a processor 58, and a memory device 60 incorporating the IC 20 of FIGS. 2 and 3 .
As shown in FIG. 5 , an IC 70 in accordance with an alternative embodiment of the present invention includes a fuse 72 for sensing a short in a circuit 74 internal to the IC 70 and for isolating the internal circuit 74 from a supply voltage VCC bond pad 78 on the IC 70 when excessive current is drawn by the short.
As shown in FIG. 6 in another alternative embodiment of the present invention, an IC 80 includes control circuitry 82 for sensing a short in a circuit 84 internal to the IC 80 and switching circuitry 86 for isolating the internal circuit 84 from a supply voltage VCC bond pad 88 on the IC 80 in response to the control circuitry 82 sensing the short. By isolating the short-circuited internal circuit 84 from the supply voltage VCC bond pad 88, the present invention can prevent the short from “tripping” probe test equipment (not shown) supplying the supply voltage VCC to a semiconductor wafer (not shown) during probe testing of the wafer.
Under normal probe testing conditions of the IC 80, when a short circuit does not exist in the internal circuit 84, a series of biasing resistors 90, 92, and 94 biases the base 96 of a switching bipolar junction transistor (BJT) 98 at a voltage intermediate the supply voltage VCC and a ground voltage VSS so that the BJT 98 is on. A voltage taken from between the biasing resistors 92 and 94 and applied at the input of an inverter 100 causes the inverter 100 to output a high voltage to the gate of a hysteresis PMOS transistor 102, causing the hysteresis PMOS transistor 102 to be off. Because the switching BJT 98 is on, the supply voltage VCC applied at the bond pad 88 causes a current I to flow through a resistor 104 and the BJT 98 to the internal circuit 84.
The amount of resistance R of the resistor 104 is selected so that, under normal probe testing conditions, the current I drawn by the internal circuit 84 causes a voltage drop V (equal to I×R) across the resistor 104 that is less than the threshold voltage |VT| of a sensing PMOS transistor 106. As a result, the sensing PMOS transistor 106 is off.
When a short circuit (e.g., a short circuit to ground) does exist in the internal circuit 84, the internal circuit 84 rapidly draws excessive current I through the resistor 104, causing the voltage drop V across the resistor 104 to exceed the threshold voltage |VT| of the sensing PMOS transistor 106. As a result, the sensing PMOS transistor 106 turns on, thereby applying the supply voltage VCC at the base 96 of the switching BJT 98 and raising the voltage applied at the input to the inverter 100. The rising voltage at the input of the inverter 100 causes the inverter 100 to output a low voltage at the gate of the hysteresis PMOS transistor 102, thereby turning the hysteresis PMOS transistor 102 on and reinforcing application of the supply voltage VCC at the base 96 of the switching BJT 98. This causes the switching BJT 98 to turn off, thereby interrupting the excessive current I and isolating the short-circuited internal circuit 84 from the bond pad 88.
Because the current I is interrupted, the voltage drop V across the resistor 104 drops to zero, causing the sensing PMOS transistor 106 to turn off. Despite this, the switching BJT 98 remains off, because the raised voltage at the input to the inverter 100 causes the inverter 100 to keep the hysteresis PMOS transistor 102 on, allowing the hysteresis PMOS transistor 102 to continue to apply the supply voltage VCC to the base 96 of the BJT 98. The IC 80 remains in this state, with the short-circuited internal circuit 84 isolated from the bond pad 88, and hence from other ICs under test, by the switching BJT 98 until the supply voltage VCC is no longer applied to the bond pad 88, at which point the control circuitry 82 is reset.
It should be understood that the switching BJT 98 may be implemented on the IC 80, as is shown in FIG. 6 , in a BiCMOS configuration or, alternatively, may be implemented on a probe card contacting the bond pad 88 or between ICs on a semiconductor wafer.
As shown in FIG. 7 in still another alternative embodiment of the present invention, an IC 110 includes control circuitry 112 for sensing a short in a circuit 114 internal to the IC 110 and a micro-relay 116 for isolating the internal circuit 114 from a supply voltage VCC bond pad 118 on the IC 110 in response to the control circuitry 112 sensing the short. By isolating the short-circuited internal circuit 114 from the supply voltage VCC bond pad 118, the present invention can prevent the short from “tripping” probe test equipment (not shown) supplying the supply voltage VCC to a semiconductor wafer (not shown) during probe testing of the wafer.
Under normal probe testing conditions of the IC 110, when a short circuit does not exist in the internal circuit 114, the control circuitry 112 senses no short in the internal circuit 114, so it causes the micro-relay 116 to close and allow a current I to flow to the internal circuit 114.
When a short circuit (e.g., a short circuit to ground) does exist in the internal circuit 114, the internal circuit 114 rapidly draws excessive current I. The control circuitry 112 detects this excessive current I and, as a result, causes the micro-relay 116 to open, thereby isolating the internal circuit 114 from the bond pad 118. The control circuitry 112 remains in this state until reset by the voltage at the bond pad 118 dropping to zero and then rising again to the supply voltage VCC.
It should be understood that the micro-relay may be created using silicon micro-machining techniques, and may comprise a capacitively or inductively controlled relay.
Although the present invention has been described with reference to particular embodiments, the invention is not limited to these described embodiments. For example, while the various steps of operating the inventive device, and hence the various steps of the inventive method, have been described as occurring in a particular order, it will be understood that these steps need not necessarily occur in the described order to fall within the scope of the present invention. Thus, the invention is limited only by the appended claims, which include within their scope all equivalent devices and methods that operate according to the principles of the invention as described.
Claims (4)
1. An isolation device for isolating a circuit and an external terminal comprising:
control circuitry for sensing current to ground in an internal circuit and outputting a control signal in response thereto, the control circuitry including one of circuitry for sensing current drawn by the internal circuit exceeding a predetermined threshold and outputting the control signal in response thereto, circuitry for sensing a voltage applied to the internal circuit below the predetermined threshold and outputting the control signal in response thereto, or circuitry for sensing a voltage applied to the internal circuit above the predetermined threshold and outputting the control signal in response thereto, the control circuitry comprising:
a first transistor having a source coupled to a supply terminal, a gate coupled to an output terminal, and a drain coupled to a control signal terminal;
a first resistive device coupled between the supply terminal and the output terminal;
a second resistive device coupled between the control signal terminal and a reference voltage bond pad;
a second transistor having a source coupled to the supply terminal, a gate, and a drain coupled to the control signal terminal;
an inverter coupled between the control signal terminal and the gate of the second transistor; and
circuitry for sensing the voltage applied to the internal circuit.
2. The isolation device of claim 1 , wherein the external terminal comprises a supply voltage bond pad for receiving supply voltage from circuitry external to the internal circuit, wherein the supply terminal is coupled to the supply voltage bond pad for receiving the supply voltage, the output terminal for outputting the received supply voltage, and the control signal terminal for outputting the control signal in response to a current flow between the supply terminal and the output terminal exceeding the predetermined threshold.
3. The isolation device of claim 1 , wherein the control circuitry for sensing a voltage further comprises circuitry for sensing a voltage applied to the internal circuit below the predetermined threshold and for outputting the control signal in response thereto.
4. The isolation device of claim 1 , wherein the control circuitry further comprises circuitry for sensing a voltage applied to the internal circuit above the predetermined threshold and for outputting the control signal in response thereto.
Priority Applications (7)
| Application Number | Priority Date | Filing Date | Title |
|---|---|---|---|
| US11/410,126 US7212020B2 (en) | 1998-05-22 | 2006-04-24 | Device and method for isolating a short-circuited integrated circuit (IC) from other ICs on a semiconductor wafer |
| US11/607,367 US7276927B2 (en) | 1998-05-22 | 2006-12-01 | Device and method for isolating a short-circuited integrated circuit (IC) from other ICs on a semiconductor wafer |
| US11/607,162 US7323896B2 (en) | 1998-05-22 | 2006-12-01 | Device and method for isolating a short-circuited integrated circuit (IC) from other ICs on a semiconductor wafer |
| US11/607,267 US7276926B2 (en) | 1998-05-22 | 2006-12-01 | Method for isolating a short-circuited integrated circuit (IC) from other ICs on a semiconductor wafer |
| US11/607,272 US7315179B2 (en) | 1998-05-22 | 2006-12-01 | System for isolating a short-circuited integrated circuit (IC) from other ICs on a semiconductor wafer |
| US12/017,262 US7567091B2 (en) | 1998-05-22 | 2008-01-21 | Method for isolating a short-circuited integrated circuit (IC) from other ICs on a semiconductor wafer |
| US12/504,001 US20090273360A1 (en) | 1998-05-22 | 2009-07-16 | SYSTEM FOR ISOLATING A SHORT-CIRCUITED INTEGRATED CIRCUIT (IC) FROM OTHER ICs ON A SEMICONDUCTOR WAFER |
Applications Claiming Priority (6)
| Application Number | Priority Date | Filing Date | Title |
|---|---|---|---|
| US09/083,819 US6313658B1 (en) | 1998-05-22 | 1998-05-22 | Device and method for isolating a short-circuited integrated circuit (IC) from other IC's on a semiconductor wafer |
| US09/944,509 US6452415B1 (en) | 1998-05-22 | 2001-08-30 | Device and method for isolating a short-circuited integrated circuit (IC) from other ICs on a semiconductor wafer |
| US10/218,279 US6636068B2 (en) | 1998-05-22 | 2002-08-13 | Device and method for isolating a short-circuited integrated circuit (IC) from other ICs on a semiconductor wafer |
| US10/690,496 US6831475B2 (en) | 1998-05-22 | 2003-10-21 | Device and method for isolating a short-circuited integrated circuit (IC) from other ICs on a semiconductor wafer |
| US11/009,829 US7034561B2 (en) | 1998-05-22 | 2004-12-10 | Device and method for isolating a short-circuited integrated circuit (IC) from other ICs on a semiconductor wafer |
| US11/410,126 US7212020B2 (en) | 1998-05-22 | 2006-04-24 | Device and method for isolating a short-circuited integrated circuit (IC) from other ICs on a semiconductor wafer |
Related Parent Applications (1)
| Application Number | Title | Priority Date | Filing Date |
|---|---|---|---|
| US11/009,829 Continuation US7034561B2 (en) | 1998-05-22 | 2004-12-10 | Device and method for isolating a short-circuited integrated circuit (IC) from other ICs on a semiconductor wafer |
Related Child Applications (4)
| Application Number | Title | Priority Date | Filing Date |
|---|---|---|---|
| US11/607,272 Division US7315179B2 (en) | 1998-05-22 | 2006-12-01 | System for isolating a short-circuited integrated circuit (IC) from other ICs on a semiconductor wafer |
| US11/607,162 Division US7323896B2 (en) | 1998-05-22 | 2006-12-01 | Device and method for isolating a short-circuited integrated circuit (IC) from other ICs on a semiconductor wafer |
| US11/607,267 Division US7276926B2 (en) | 1998-05-22 | 2006-12-01 | Method for isolating a short-circuited integrated circuit (IC) from other ICs on a semiconductor wafer |
| US11/607,367 Division US7276927B2 (en) | 1998-05-22 | 2006-12-01 | Device and method for isolating a short-circuited integrated circuit (IC) from other ICs on a semiconductor wafer |
Publications (2)
| Publication Number | Publication Date |
|---|---|
| US20060192582A1 US20060192582A1 (en) | 2006-08-31 |
| US7212020B2 true US7212020B2 (en) | 2007-05-01 |
Family
ID=22180907
Family Applications (12)
| Application Number | Title | Priority Date | Filing Date |
|---|---|---|---|
| US09/083,819 Expired - Fee Related US6313658B1 (en) | 1998-05-22 | 1998-05-22 | Device and method for isolating a short-circuited integrated circuit (IC) from other IC's on a semiconductor wafer |
| US09/944,509 Expired - Fee Related US6452415B1 (en) | 1998-05-22 | 2001-08-30 | Device and method for isolating a short-circuited integrated circuit (IC) from other ICs on a semiconductor wafer |
| US10/218,279 Expired - Fee Related US6636068B2 (en) | 1998-05-22 | 2002-08-13 | Device and method for isolating a short-circuited integrated circuit (IC) from other ICs on a semiconductor wafer |
| US10/690,496 Expired - Fee Related US6831475B2 (en) | 1998-05-22 | 2003-10-21 | Device and method for isolating a short-circuited integrated circuit (IC) from other ICs on a semiconductor wafer |
| US11/009,829 Expired - Fee Related US7034561B2 (en) | 1998-05-22 | 2004-12-10 | Device and method for isolating a short-circuited integrated circuit (IC) from other ICs on a semiconductor wafer |
| US11/410,126 Expired - Fee Related US7212020B2 (en) | 1998-05-22 | 2006-04-24 | Device and method for isolating a short-circuited integrated circuit (IC) from other ICs on a semiconductor wafer |
| US11/607,267 Expired - Fee Related US7276926B2 (en) | 1998-05-22 | 2006-12-01 | Method for isolating a short-circuited integrated circuit (IC) from other ICs on a semiconductor wafer |
| US11/607,162 Expired - Fee Related US7323896B2 (en) | 1998-05-22 | 2006-12-01 | Device and method for isolating a short-circuited integrated circuit (IC) from other ICs on a semiconductor wafer |
| US11/607,367 Expired - Fee Related US7276927B2 (en) | 1998-05-22 | 2006-12-01 | Device and method for isolating a short-circuited integrated circuit (IC) from other ICs on a semiconductor wafer |
| US11/607,272 Expired - Fee Related US7315179B2 (en) | 1998-05-22 | 2006-12-01 | System for isolating a short-circuited integrated circuit (IC) from other ICs on a semiconductor wafer |
| US12/017,262 Expired - Fee Related US7567091B2 (en) | 1998-05-22 | 2008-01-21 | Method for isolating a short-circuited integrated circuit (IC) from other ICs on a semiconductor wafer |
| US12/504,001 Abandoned US20090273360A1 (en) | 1998-05-22 | 2009-07-16 | SYSTEM FOR ISOLATING A SHORT-CIRCUITED INTEGRATED CIRCUIT (IC) FROM OTHER ICs ON A SEMICONDUCTOR WAFER |
Family Applications Before (5)
| Application Number | Title | Priority Date | Filing Date |
|---|---|---|---|
| US09/083,819 Expired - Fee Related US6313658B1 (en) | 1998-05-22 | 1998-05-22 | Device and method for isolating a short-circuited integrated circuit (IC) from other IC's on a semiconductor wafer |
| US09/944,509 Expired - Fee Related US6452415B1 (en) | 1998-05-22 | 2001-08-30 | Device and method for isolating a short-circuited integrated circuit (IC) from other ICs on a semiconductor wafer |
| US10/218,279 Expired - Fee Related US6636068B2 (en) | 1998-05-22 | 2002-08-13 | Device and method for isolating a short-circuited integrated circuit (IC) from other ICs on a semiconductor wafer |
| US10/690,496 Expired - Fee Related US6831475B2 (en) | 1998-05-22 | 2003-10-21 | Device and method for isolating a short-circuited integrated circuit (IC) from other ICs on a semiconductor wafer |
| US11/009,829 Expired - Fee Related US7034561B2 (en) | 1998-05-22 | 2004-12-10 | Device and method for isolating a short-circuited integrated circuit (IC) from other ICs on a semiconductor wafer |
Family Applications After (6)
| Application Number | Title | Priority Date | Filing Date |
|---|---|---|---|
| US11/607,267 Expired - Fee Related US7276926B2 (en) | 1998-05-22 | 2006-12-01 | Method for isolating a short-circuited integrated circuit (IC) from other ICs on a semiconductor wafer |
| US11/607,162 Expired - Fee Related US7323896B2 (en) | 1998-05-22 | 2006-12-01 | Device and method for isolating a short-circuited integrated circuit (IC) from other ICs on a semiconductor wafer |
| US11/607,367 Expired - Fee Related US7276927B2 (en) | 1998-05-22 | 2006-12-01 | Device and method for isolating a short-circuited integrated circuit (IC) from other ICs on a semiconductor wafer |
| US11/607,272 Expired - Fee Related US7315179B2 (en) | 1998-05-22 | 2006-12-01 | System for isolating a short-circuited integrated circuit (IC) from other ICs on a semiconductor wafer |
| US12/017,262 Expired - Fee Related US7567091B2 (en) | 1998-05-22 | 2008-01-21 | Method for isolating a short-circuited integrated circuit (IC) from other ICs on a semiconductor wafer |
| US12/504,001 Abandoned US20090273360A1 (en) | 1998-05-22 | 2009-07-16 | SYSTEM FOR ISOLATING A SHORT-CIRCUITED INTEGRATED CIRCUIT (IC) FROM OTHER ICs ON A SEMICONDUCTOR WAFER |
Country Status (1)
| Country | Link |
|---|---|
| US (12) | US6313658B1 (en) |
Cited By (1)
| Publication number | Priority date | Publication date | Assignee | Title |
|---|---|---|---|---|
| US20080111574A1 (en) * | 1998-05-22 | 2008-05-15 | Micron Technology, Inc. | Method for Isolating a Short-Circuited Integrated Circuit (IC) From Other ICs on a Semiconductor Wafer |
Families Citing this family (45)
| Publication number | Priority date | Publication date | Assignee | Title |
|---|---|---|---|---|
| US6240535B1 (en) * | 1995-12-22 | 2001-05-29 | Micron Technology, Inc. | Device and method for testing integrated circuit dice in an integrated circuit module |
| US5927512A (en) | 1997-01-17 | 1999-07-27 | Micron Technology, Inc. | Method for sorting integrated circuit devices |
| US6100486A (en) | 1998-08-13 | 2000-08-08 | Micron Technology, Inc. | Method for sorting integrated circuit devices |
| US5844803A (en) * | 1997-02-17 | 1998-12-01 | Micron Technology, Inc. | Method of sorting a group of integrated circuit devices for those devices requiring special testing |
| US5915231A (en) | 1997-02-26 | 1999-06-22 | Micron Technology, Inc. | Method in an integrated circuit (IC) manufacturing process for identifying and redirecting IC's mis-processed during their manufacture |
| US5856923A (en) * | 1997-03-24 | 1999-01-05 | Micron Technology, Inc. | Method for continuous, non lot-based integrated circuit manufacturing |
| US5907492A (en) * | 1997-06-06 | 1999-05-25 | Micron Technology, Inc. | Method for using data regarding manufacturing procedures integrated circuits (IC's) have undergone, such as repairs, to select procedures the IC's will undergo, such as additional repairs |
| US7120513B1 (en) | 1997-06-06 | 2006-10-10 | Micron Technology, Inc. | Method for using data regarding manufacturing procedures integrated circuits (ICS) have undergone, such as repairs, to select procedures the ICS will undergo, such as additional repairs |
| US6049624A (en) | 1998-02-20 | 2000-04-11 | Micron Technology, Inc. | Non-lot based method for assembling integrated circuit devices |
| US6275058B1 (en) * | 1999-01-26 | 2001-08-14 | Micron Technology, Inc. | Method and apparatus for properly disabling high current parts in a parallel test environment |
| JP3506377B2 (en) * | 2001-04-09 | 2004-03-15 | 松下電器産業株式会社 | Semiconductor device and manufacturing method thereof |
| US6573113B1 (en) * | 2001-09-04 | 2003-06-03 | Lsi Logic Corporation | Integrated circuit having dedicated probe pads for use in testing densely patterned bonding pads |
| US6740821B1 (en) * | 2002-03-01 | 2004-05-25 | Micron Technology, Inc. | Selectively configurable circuit board |
| US20030234659A1 (en) * | 2002-06-20 | 2003-12-25 | Promos Technologies | Electrical isolation between pins sharing the same tester channel |
| US6967348B2 (en) * | 2002-06-20 | 2005-11-22 | Micron Technology, Inc. | Signal sharing circuit with microelectric die isolation features |
| US7026646B2 (en) | 2002-06-20 | 2006-04-11 | Micron Technology, Inc. | Isolation circuit |
| US6898138B2 (en) * | 2002-08-29 | 2005-05-24 | Micron Technology, Inc. | Method of reducing variable retention characteristics in DRAM cells |
| US20040051550A1 (en) * | 2002-09-12 | 2004-03-18 | Ma David Suitwai | Semiconductor die isolation system |
| US6744067B1 (en) * | 2003-01-17 | 2004-06-01 | Micron Technology, Inc. | Wafer-level testing apparatus and method |
| JP2005283432A (en) * | 2004-03-30 | 2005-10-13 | Denso Corp | Semiconductor wafer and method of manufacturing semiconductor device using the semiconductor wafer |
| KR100648275B1 (en) * | 2004-12-09 | 2006-11-23 | 삼성전자주식회사 | Semiconductor test equipment |
| DE102005005101A1 (en) * | 2005-02-04 | 2006-08-17 | Infineon Technologies Ag | Integrated circuit`s semiconductor components testing system, has control unit that switches switching device based on power consumption information to connect or separate integrated circuits with or from supply unit |
| JP5061593B2 (en) * | 2005-11-21 | 2012-10-31 | 富士通セミコンダクター株式会社 | Control device, semiconductor integrated circuit device, and supply control system |
| CN100495057C (en) * | 2005-12-22 | 2009-06-03 | 中芯国际集成电路制造(上海)有限公司 | Method and system for device representation using array and decoder |
| KR100877323B1 (en) * | 2008-06-19 | 2009-01-07 | (주) 아이알로봇 | Robot drive power plate |
| WO2010007472A1 (en) * | 2008-07-17 | 2010-01-21 | Freescale Semiconductor, Inc. | An integrated circuit die, an integrated circuit package and a method for connecting an integrated circuit die to an external device |
| JP2011027453A (en) * | 2009-07-22 | 2011-02-10 | Renesas Electronics Corp | Semiconductor test apparatus and semiconductor test method |
| US8876849B2 (en) | 2010-07-20 | 2014-11-04 | Cook Medical Technologies Llc | False lumen occluder |
| JP5363437B2 (en) * | 2010-09-08 | 2013-12-11 | 株式会社アドバンテスト | Test equipment |
| JP5492728B2 (en) * | 2010-09-28 | 2014-05-14 | 株式会社ジャパンディスプレイ | Display device |
| WO2014186765A1 (en) * | 2013-05-17 | 2014-11-20 | Cirrus Logic, Inc. | Single pin control of bipolar junction transistor (bjt)-based power stage |
| US9735671B2 (en) | 2013-05-17 | 2017-08-15 | Cirrus Logic, Inc. | Charge pump-based drive circuitry for bipolar junction transistor (BJT)-based power supply |
| WO2015017315A1 (en) | 2013-07-29 | 2015-02-05 | Cirrus Logic, Inc. | Compensating for a reverse recovery time period of a bipolar junction transistor (bjt) in switch-mode operation of a light-emitting diode (led)-based bulb |
| WO2015017317A2 (en) | 2013-07-29 | 2015-02-05 | Cirrus Logic, Inc. | Two terminal drive of bipolar junction transistor (bjt) for switch-mode operation of a light emitting diode (led)-based bulb |
| US9504118B2 (en) | 2015-02-17 | 2016-11-22 | Cirrus Logic, Inc. | Resistance measurement of a resistor in a bipolar junction transistor (BJT)-based power stage |
| US9603206B2 (en) | 2015-02-27 | 2017-03-21 | Cirrus Logic, Inc. | Detection and control mechanism for tail current in a bipolar junction transistor (BJT)-based power stage |
| US9609701B2 (en) | 2015-02-27 | 2017-03-28 | Cirrus Logic, Inc. | Switch-mode drive sensing of reverse recovery in bipolar junction transistor (BJT)-based power converters |
| US10838016B2 (en) * | 2018-07-06 | 2020-11-17 | Texas Instruments Incorporated | Short detect scheme for an output pin |
| US11780142B2 (en) * | 2018-08-31 | 2023-10-10 | Compagnie Generale Des Etablissements Michelin | Extrusion system for tire tread manufacturing with horizontally arranged extrusion barrels |
| US11204384B1 (en) | 2018-09-21 | 2021-12-21 | Apple Inc. | Methods and systems for switchable logic to recover integrated circuits with short circuits |
| CN110672975B (en) * | 2019-10-15 | 2020-07-14 | 浙江中控太阳能技术有限公司 | Automatic detection method and device for heliostat power supply cable connection reliability |
| WO2022272032A1 (en) * | 2021-06-25 | 2022-12-29 | Ic Analytica, Llc | Apparatus and method for probing multiple test circuits in wafer scribe lines |
| CN117916876A (en) * | 2021-06-25 | 2024-04-19 | Ic分析有限责任公司 | Apparatus and method for setting precise voltage on a test circuit |
| CN113884862B (en) * | 2021-12-03 | 2022-02-22 | 北京壁仞科技开发有限公司 | Chip and chip test method |
| US12292470B2 (en) * | 2023-02-22 | 2025-05-06 | Globalfoundries U.S. Inc. | Defect detection system for cavity in integrated circuit |
Citations (15)
| Publication number | Priority date | Publication date | Assignee | Title |
|---|---|---|---|---|
| US4743841A (en) | 1985-05-20 | 1988-05-10 | Fujitsu Limited | Semiconductor integrated circuit including circuit elements evaluating the same and having means for testing the circuit elements |
| US4935645A (en) | 1988-03-02 | 1990-06-19 | Dallas Semiconductor Corporation | Fusing and detection circuit |
| US4967151A (en) | 1988-08-17 | 1990-10-30 | International Business Machines Corporation | Method and apparatus for detecting faults in differential current switching logic circuits |
| US4970454A (en) | 1986-12-09 | 1990-11-13 | Texas Instruments Incorporated | Packaged semiconductor device with test circuits for determining fabrication parameters |
| US5059899A (en) | 1990-08-16 | 1991-10-22 | Micron Technology, Inc. | Semiconductor dies and wafers and methods for making |
| US5105362A (en) | 1987-04-03 | 1992-04-14 | Mitsubishi Denki Kabushiki Kaisha | Method for producing semiconductor devices |
| US5214657A (en) | 1990-09-21 | 1993-05-25 | Micron Technology, Inc. | Method for fabricating wafer-scale integration wafers and method for utilizing defective wafer-scale integration wafers |
| US5289113A (en) | 1989-08-01 | 1994-02-22 | Analog Devices, Inc. | PROM for integrated circuit identification and testing |
| US5294883A (en) | 1992-08-04 | 1994-03-15 | International Business Machines Corporation | Test detector/shutoff and method for BiCMOS integrated circuit |
| US5397984A (en) | 1992-01-30 | 1995-03-14 | Nec Corporation | Integrated circuit for protecting internal circuitry from high voltage input test signals |
| US5568408A (en) | 1993-11-22 | 1996-10-22 | Nec Corporation | Automatic repair data editing system associated with repairing system for semiconductor integrated circuit device |
| US5838163A (en) | 1992-07-02 | 1998-11-17 | Lsi Logic Corporation | Testing and exercising individual, unsingulated dies on a wafer |
| US5898700A (en) | 1995-11-16 | 1999-04-27 | Samsung Electronics, Co., Ltd. | Test signal generator and method for testing a semiconductor wafer having a plurality of memory chips |
| US5994912A (en) | 1995-10-31 | 1999-11-30 | Texas Instruments Incorporated | Fault tolerant selection of die on wafer |
| US6313658B1 (en) | 1998-05-22 | 2001-11-06 | Micron Technology, Inc. | Device and method for isolating a short-circuited integrated circuit (IC) from other IC's on a semiconductor wafer |
Family Cites Families (4)
| Publication number | Priority date | Publication date | Assignee | Title |
|---|---|---|---|---|
| FR2715772B1 (en) * | 1994-01-28 | 1996-07-12 | Sgs Thomson Microelectronics | Analog voltage output circuit. |
| US5619462A (en) * | 1995-07-31 | 1997-04-08 | Sgs-Thomson Microelectronics, Inc. | Fault detection for entire wafer stress test |
| US5808947A (en) * | 1995-08-21 | 1998-09-15 | Sgs-Thomson Microelectronics, Inc. | Integrated circuit that supports and method for wafer-level testing |
| US5928869A (en) * | 1997-05-30 | 1999-07-27 | Becton, Dickinson And Company | Detection of nucleic acids by fluorescence quenching |
-
1998
- 1998-05-22 US US09/083,819 patent/US6313658B1/en not_active Expired - Fee Related
-
2001
- 2001-08-30 US US09/944,509 patent/US6452415B1/en not_active Expired - Fee Related
-
2002
- 2002-08-13 US US10/218,279 patent/US6636068B2/en not_active Expired - Fee Related
-
2003
- 2003-10-21 US US10/690,496 patent/US6831475B2/en not_active Expired - Fee Related
-
2004
- 2004-12-10 US US11/009,829 patent/US7034561B2/en not_active Expired - Fee Related
-
2006
- 2006-04-24 US US11/410,126 patent/US7212020B2/en not_active Expired - Fee Related
- 2006-12-01 US US11/607,267 patent/US7276926B2/en not_active Expired - Fee Related
- 2006-12-01 US US11/607,162 patent/US7323896B2/en not_active Expired - Fee Related
- 2006-12-01 US US11/607,367 patent/US7276927B2/en not_active Expired - Fee Related
- 2006-12-01 US US11/607,272 patent/US7315179B2/en not_active Expired - Fee Related
-
2008
- 2008-01-21 US US12/017,262 patent/US7567091B2/en not_active Expired - Fee Related
-
2009
- 2009-07-16 US US12/504,001 patent/US20090273360A1/en not_active Abandoned
Patent Citations (18)
| Publication number | Priority date | Publication date | Assignee | Title |
|---|---|---|---|---|
| US4743841A (en) | 1985-05-20 | 1988-05-10 | Fujitsu Limited | Semiconductor integrated circuit including circuit elements evaluating the same and having means for testing the circuit elements |
| US4970454A (en) | 1986-12-09 | 1990-11-13 | Texas Instruments Incorporated | Packaged semiconductor device with test circuits for determining fabrication parameters |
| US5105362A (en) | 1987-04-03 | 1992-04-14 | Mitsubishi Denki Kabushiki Kaisha | Method for producing semiconductor devices |
| US4935645A (en) | 1988-03-02 | 1990-06-19 | Dallas Semiconductor Corporation | Fusing and detection circuit |
| US4967151A (en) | 1988-08-17 | 1990-10-30 | International Business Machines Corporation | Method and apparatus for detecting faults in differential current switching logic circuits |
| US5289113A (en) | 1989-08-01 | 1994-02-22 | Analog Devices, Inc. | PROM for integrated circuit identification and testing |
| US5059899A (en) | 1990-08-16 | 1991-10-22 | Micron Technology, Inc. | Semiconductor dies and wafers and methods for making |
| US5214657A (en) | 1990-09-21 | 1993-05-25 | Micron Technology, Inc. | Method for fabricating wafer-scale integration wafers and method for utilizing defective wafer-scale integration wafers |
| US5397984A (en) | 1992-01-30 | 1995-03-14 | Nec Corporation | Integrated circuit for protecting internal circuitry from high voltage input test signals |
| US5838163A (en) | 1992-07-02 | 1998-11-17 | Lsi Logic Corporation | Testing and exercising individual, unsingulated dies on a wafer |
| US5294883A (en) | 1992-08-04 | 1994-03-15 | International Business Machines Corporation | Test detector/shutoff and method for BiCMOS integrated circuit |
| US5568408A (en) | 1993-11-22 | 1996-10-22 | Nec Corporation | Automatic repair data editing system associated with repairing system for semiconductor integrated circuit device |
| US5994912A (en) | 1995-10-31 | 1999-11-30 | Texas Instruments Incorporated | Fault tolerant selection of die on wafer |
| US5898700A (en) | 1995-11-16 | 1999-04-27 | Samsung Electronics, Co., Ltd. | Test signal generator and method for testing a semiconductor wafer having a plurality of memory chips |
| US6313658B1 (en) | 1998-05-22 | 2001-11-06 | Micron Technology, Inc. | Device and method for isolating a short-circuited integrated circuit (IC) from other IC's on a semiconductor wafer |
| US6452415B1 (en) | 1998-05-22 | 2002-09-17 | Micron Technology, Inc. | Device and method for isolating a short-circuited integrated circuit (IC) from other ICs on a semiconductor wafer |
| US6636068B2 (en) | 1998-05-22 | 2003-10-21 | Micron Technology Inc | Device and method for isolating a short-circuited integrated circuit (IC) from other ICs on a semiconductor wafer |
| US6831475B2 (en) | 1998-05-22 | 2004-12-14 | Micron Technology, Inc. | Device and method for isolating a short-circuited integrated circuit (IC) from other ICs on a semiconductor wafer |
Cited By (3)
| Publication number | Priority date | Publication date | Assignee | Title |
|---|---|---|---|---|
| US20080111574A1 (en) * | 1998-05-22 | 2008-05-15 | Micron Technology, Inc. | Method for Isolating a Short-Circuited Integrated Circuit (IC) From Other ICs on a Semiconductor Wafer |
| US7567091B2 (en) | 1998-05-22 | 2009-07-28 | Micron Technology, Inc. | Method for isolating a short-circuited integrated circuit (IC) from other ICs on a semiconductor wafer |
| US20090273360A1 (en) * | 1998-05-22 | 2009-11-05 | Micron Technology, Inc. | SYSTEM FOR ISOLATING A SHORT-CIRCUITED INTEGRATED CIRCUIT (IC) FROM OTHER ICs ON A SEMICONDUCTOR WAFER |
Also Published As
| Publication number | Publication date |
|---|---|
| US20080111574A1 (en) | 2008-05-15 |
| US7315179B2 (en) | 2008-01-01 |
| US6452415B1 (en) | 2002-09-17 |
| US20050093566A1 (en) | 2005-05-05 |
| US7323896B2 (en) | 2008-01-29 |
| US20070075725A1 (en) | 2007-04-05 |
| US6313658B1 (en) | 2001-11-06 |
| US20070103167A1 (en) | 2007-05-10 |
| US20090273360A1 (en) | 2009-11-05 |
| US7276926B2 (en) | 2007-10-02 |
| US20070075723A1 (en) | 2007-04-05 |
| US7276927B2 (en) | 2007-10-02 |
| US20020190707A1 (en) | 2002-12-19 |
| US6636068B2 (en) | 2003-10-21 |
| US20020030507A1 (en) | 2002-03-14 |
| US20060192582A1 (en) | 2006-08-31 |
| US20070075722A1 (en) | 2007-04-05 |
| US7034561B2 (en) | 2006-04-25 |
| US6831475B2 (en) | 2004-12-14 |
| US20040130345A1 (en) | 2004-07-08 |
| US7567091B2 (en) | 2009-07-28 |
Similar Documents
| Publication | Publication Date | Title |
|---|---|---|
| US7212020B2 (en) | Device and method for isolating a short-circuited integrated circuit (IC) from other ICs on a semiconductor wafer | |
| US7525332B2 (en) | On-chip substrate regulator test mode | |
| US5508631A (en) | Semiconductor test chip with on wafer switching matrix | |
| US20110051301A1 (en) | Method for Designing Integrated Electronic Circuits Having Electrostatic Discharge Protection and Circuits Obtained Thereof | |
| US20030107391A1 (en) | Semiconductor device test arrangement with reassignable probe pads | |
| US8004297B2 (en) | Isolation circuit | |
| US6262580B1 (en) | Method and testing system for measuring contact resistance for pin of integrated circuit | |
| US6492832B2 (en) | Methods for testing a group of semiconductor devices simultaneously, and devices amenable to such methods of testing | |
| EP1353187A2 (en) | Measuring junction leakage | |
| JP2956855B2 (en) | Monitor device and monitor method for integrated circuit | |
| EP0505511A1 (en) | A zero power dissipation laser fuse signature circuit for redundancy in vlsi design. | |
| US6819161B2 (en) | Structure for temporarily isolating a die from a common conductor to facilitate wafer level testing | |
| JP2673092B2 (en) | Integrated circuit device test method | |
| US20010050576A1 (en) | On-chip substrate regulator test mode | |
| US7135868B1 (en) | Method and apparatus for testing gate oxide with fuse | |
| JPH05211214A (en) | Ic marking circuit |
Legal Events
| Date | Code | Title | Description |
|---|---|---|---|
| FEPP | Fee payment procedure |
Free format text: PAYOR NUMBER ASSIGNED (ORIGINAL EVENT CODE: ASPN); ENTITY STATUS OF PATENT OWNER: LARGE ENTITY |
|
| CC | Certificate of correction | ||
| REMI | Maintenance fee reminder mailed | ||
| LAPS | Lapse for failure to pay maintenance fees | ||
| STCH | Information on status: patent discontinuation |
Free format text: PATENT EXPIRED DUE TO NONPAYMENT OF MAINTENANCE FEES UNDER 37 CFR 1.362 |
|
| FP | Lapsed due to failure to pay maintenance fee |
Effective date: 20110501 |