US5881822A - Pneumatic tool and vibration isolator therefor - Google Patents

Pneumatic tool and vibration isolator therefor Download PDF

Info

Publication number
US5881822A
US5881822A US08/890,961 US89096197A US5881822A US 5881822 A US5881822 A US 5881822A US 89096197 A US89096197 A US 89096197A US 5881822 A US5881822 A US 5881822A
Authority
US
United States
Prior art keywords
compressed air
air conduit
support member
vibration isolator
vibration
Prior art date
Legal status (The legal status is an assumption and is not a legal conclusion. Google has not performed a legal analysis and makes no representation as to the accuracy of the status listed.)
Expired - Fee Related
Application number
US08/890,961
Inventor
Robert A. Sienkiewycz
Robert J. Michael
Current Assignee (The listed assignees may be inaccurate. Google has not performed a legal analysis and makes no representation or warranty as to the accuracy of the list.)
Chicago Pneumatic Tool Co LLC
Lord Corp
Original Assignee
Chicago Pneumatic Tool Co LLC
Lord Corp
Priority date (The priority date is an assumption and is not a legal conclusion. Google has not performed a legal analysis and makes no representation as to the accuracy of the date listed.)
Filing date
Publication date
Application filed by Chicago Pneumatic Tool Co LLC, Lord Corp filed Critical Chicago Pneumatic Tool Co LLC
Priority to US08/890,961 priority Critical patent/US5881822A/en
Application granted granted Critical
Publication of US5881822A publication Critical patent/US5881822A/en
Assigned to CHICAGO PNEUMATIC TOOL COMPANY LLC reassignment CHICAGO PNEUMATIC TOOL COMPANY LLC MERGER (SEE DOCUMENT FOR DETAILS). Assignors: CHICAGO PNEUMATIC TOOL COMPANY
Anticipated expiration legal-status Critical
Expired - Fee Related legal-status Critical Current

Links

Images

Classifications

    • BPERFORMING OPERATIONS; TRANSPORTING
    • B25HAND TOOLS; PORTABLE POWER-DRIVEN TOOLS; MANIPULATORS
    • B25DPERCUSSIVE TOOLS
    • B25D17/00Details of, or accessories for, portable power-driven percussive tools
    • B25D17/24Damping the reaction force
    • BPERFORMING OPERATIONS; TRANSPORTING
    • B25HAND TOOLS; PORTABLE POWER-DRIVEN TOOLS; MANIPULATORS
    • B25FCOMBINATION OR MULTI-PURPOSE TOOLS NOT OTHERWISE PROVIDED FOR; DETAILS OR COMPONENTS OF PORTABLE POWER-DRIVEN TOOLS NOT PARTICULARLY RELATED TO THE OPERATIONS PERFORMED AND NOT OTHERWISE PROVIDED FOR
    • B25F5/00Details or components of portable power-driven tools not particularly related to the operations performed and not otherwise provided for
    • B25F5/006Vibration damping means
    • BPERFORMING OPERATIONS; TRANSPORTING
    • B25HAND TOOLS; PORTABLE POWER-DRIVEN TOOLS; MANIPULATORS
    • B25DPERCUSSIVE TOOLS
    • B25D17/00Details of, or accessories for, portable power-driven percussive tools
    • B25D17/04Handles; Handle mountings
    • B25D17/043Handles resiliently mounted relative to the hammer housing
    • YGENERAL TAGGING OF NEW TECHNOLOGICAL DEVELOPMENTS; GENERAL TAGGING OF CROSS-SECTIONAL TECHNOLOGIES SPANNING OVER SEVERAL SECTIONS OF THE IPC; TECHNICAL SUBJECTS COVERED BY FORMER USPC CROSS-REFERENCE ART COLLECTIONS [XRACs] AND DIGESTS
    • Y10TECHNICAL SUBJECTS COVERED BY FORMER USPC
    • Y10STECHNICAL SUBJECTS COVERED BY FORMER USPC CROSS-REFERENCE ART COLLECTIONS [XRACs] AND DIGESTS
    • Y10S173/00Tool driving or impacting
    • Y10S173/02Sound muffling

Definitions

  • This invention generally relates to vibration isolator mounts for pneumatic tools.
  • this invention relates to a pneumatic tool vibration isolator mount adapted for mounting between the handle of a pneumatic tool and the tool housing to thereby reduce vibration.
  • Various problems associated with arriving at a vibratory isolator for use with a power tool include where to place the vibratory isolator in the tool and how to manufacture it so that it can withstand the intense vibrations involved with such a tool.
  • the isolator must separate the tool into two pieces such that one can move relative to the other to therefore minimize the transfer of vibration. Difficulties arise in that the vibration isolator mount must also be strong enough to hold the two pieces together and, in the case of pneumatic tools, allow compressed air to pass therethrough.
  • U.S. Pat. No. 5,453,577 issued to Everett et al. on Sep. 26, 1995 entitled "Pneumatic Tool and Vibration Isolator Mounts Therefor” teaches vibration mounting devices between the handle of a pneumatic tool and the tool housing.
  • the patent teaches placing a resilient vibration isolator between two support members and then passing a compressed air conduit therebetween. To achieve reduced vibration, the support members' openings remain sealed to the compressed air conduit while the vibration isolators themselves remain spaced from the conduit.
  • the present invention provides a pneumatic tool with vibration isolator mounts for mounting between a handle of the pneumatic tool and the tool housing to reduce the amount of vibration.
  • the vibration mount in particular utilizes a first and second support member each having an opening with a compressed air conduit running therethrough.
  • the second support member utilizes a sleeved opening that does not come in contact with the compressed air conduit.
  • Placed between the two support members is a vibration isolator.
  • the vibration isolator covers the interior surface of the sleeved opening and directly contacts the compressed air conduit.
  • the vibration isolator also includes a gap dividing the vibration isolator into an inner portion and an outer portion such that the inner portion is secured to the compressed air conduit and the outer portion separates the two support members in a spacial relationship.
  • the gap also separates the sleeved opening from the compressed air conduit.
  • FIG. 1 is a top view of a pneumatic tool illustrating a plurality of vibration isolator mounts of a preferred embodiment of the present invention for isolating one of a plurality of handles from a vibratory source on a pneumatic tool;
  • FIG. 2 is a side view of a pneumatic tool illustrating a plurality of vibration isolator mounts of a preferred embodiment of the present invention for mounting handles to a pneumatic tool;
  • FIG. 3 is a side view of a vibration isolator mount of a preferred embodiment of the present invention.
  • FIG. 4 is a front view of a vibration isolator mount of a preferred embodiment of the present invention.
  • FIG. 5 is a side sectional view of a throttle vibration isolator mount of a preferred embodiment of the present invention as taken through section 5--5 of FIG. 4;
  • FIG. 6 is a sectional view of the vibration isolator mount of a preferred embodiment of the present invention as taken through section 6--6 of FIG. 4.
  • FIG. 1 illustrates a top view of a pneumatic tool 10 such as a grinder, sander or polisher.
  • the tool 10 includes a housing 12, a throttle handle 20, and a support handle 30.
  • the support handle 30 may be substituted for a support handle 35 with a muffler 36 extending therefrom.
  • the throttle handle 20 is attached to the body of the housing 12 by throttle handle vibration isolator mount 22 and the support handle 30 is attached to the housing 12 by support handle vibration isolator mount 32.
  • An air hose (not shown) is coupled to the end of the throttle handle 20 at inlet bushing 27.
  • the inlet bushing 27 includes a tool engagement surface 26 such as a hex surface.
  • the tool engagement surface 26 are proximate male threads (internal of handle 20 in FIG. 1) for coupling the inlet bushing 27 into the handle 20.
  • Concentrically internal of the inlet bushing 27 are female threads for coupling an air hose to the handle 20.
  • Air from the air passage 34 then returns into the housing 12 where it is eventually expelled through an outlet (not shown) in the housing 12.
  • a support handle 35 with a muffler 36 may be attached to the housing 12.
  • the foraminous openings 38 in the muffler 36 expel air that has passed through air passage 34.
  • FIG. 2 depicts a side view of the pneumatic tool 10 of the present invention.
  • the pneumatic tool 10 includes a throttle lever 28 having a lock 29 thereon.
  • the lock acts as a safety feature to prevent unintended operation of the tool 10.
  • the support handle 30 also includes a handle grip 33 made of material such as foam rubber to enhance frictional grip of the user during use of the pneumatic tool 10.
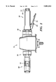
  • FIG. 3 shows a side view of the handle vibration isolator mount 32.
  • the mount 32 includes the following: a conduit extension sleeve 70, suitable for attachment to a tool handle; a tubular sleeved opening 46, suitable for attachment to a tool housing; and a vibration isolator body 72, suitable for reducing vibration from the tool housing to the tool handle.
  • attachment of the isolator mount 32 to the tool housing is accomplished with bolts or the like (see FIG. 6), and attachment of the mount 32 to the tool handle is accomplished with pins that mount, for example, into cavity 74.
  • the tubular sleeved opening 46 may include a hole 76 and a U-shaped clearance groove 78 suitable for holding a roll pin for use as a backup safety mechanism.
  • the entire mount is manufactured into a single self-contained unit suitable for easy installation or replacement.
  • FIG. 4 shows a front view of the support handle vibration isolator mount 32.
  • the mount 32 includes a mounting plate or a support member 60 having a compressed air passage 56 and mounting holes 42 therein.
  • a vibration isolator is attached thereto (see FIG. 5).
  • Centrally located on support member 60 is sleeved opening 46 which projects orthogonally toward the viewer from mounting plate 60 (see FIG. 5).
  • An outer portion 48 of the vibration isolator and an inner portion 50 of the vibration isolator also extend orthogonally toward the viewer interior to the sleeved opening 46.
  • the outer and inner portions 48 and 50 of the vibration isolator are separated by a gap 52 positioned therebetween.
  • the inner portion of the vibration isolator 50 is secured to the exterior surface of compressed air conduit 54.
  • the inner portion of vibration isolator 50 will be sealed in a fixed manner to compressed air conduit 54 and outer vibration isolator 48 will be sealed in a fixed manner to sleeved opening 46.
  • Mounting holes 42 provide a passage means for a bolt or the like to pass through and secure the mount 32 to the tool housing (see FIG. 6).
  • FIG. 5 a sectional side view of support handle vibration isolator mount 32 is depicted as taken through section line 5--5 of FIG. 4.
  • the sectional view shows first and second mounting plates or support members 58 and 60 with a vibration isolator 62 having first and second lateral surfaces secured therebetween.
  • the support members 58 and 60, and the vibration isolator 62 are situated about the circumference of compressed air conduit 54.
  • Compressed air conduit 54 has a compressed air passage 56 that includes a substantially uniform opening therein for the passage of compressed air.
  • the vibration isolator material utilizes injection molding or some other similar process to "fuse" the vibration isolator to the support members and compressed air conduit.
  • compressed air conduit 54 and the first support member 58 could be forged or integrated from a single piece of material.
  • the second support member 60 includes a sleeved opening 46 which projects orthogonally away from the first support member 58.
  • sleeved opening 46 is tubular in shape and is forged from the same piece of material as the second support member 60.
  • sleeved opening 46 may have some other cross section (e.g. oval, rectangular, etc.) and it may be forged from an entirely separate piece of material than that of support member 60.
  • vibration isolator 62 includes an inner portion 50 and an outer portion 48 separated by gap 52.
  • First support member 58 and inner vibration isolator 50 provide exclusive securement of mount 32 about compressed air conduit 54.
  • compressed air conduit 54 may include a recessed edge 64 within which first support member 58 may be mounted.
  • the second support member 60 and its sleeve opening 46 do not directly contact the compressed air conduit 54. Rather, the gap 52 separates the second support member and its sleeved opening from the compressed air conduit 54.
  • the interior surface of the sleeved opening 46 may have the outer portion of the vibration isolator material 48 affixed in a sealed or fused manner thereto (see FIG. 6). Additionally, the inner portion of the vibration isolator 50 may be sealed or fused to the compressed air conduit within the sleeved opening portion of vibration mount 32 (see FIG. 6).
  • FIG. 6 a second sectional side view of support handle vibration isolator mount 32 of the present invention is depicted as taken through section 6--6 of FIG. 4.
  • FIG. 6 shows a first opening 41 through first support member 58 and a second opening 42 through second support member 60.
  • Vibration isolator 62 includes a passageway 43 connecting first opening 41 and second opening 42. These holes and passage way provide a means for securing the vibration mount to a pneumatic tool housing.
  • bolt 80 can be inserted through hole 41, into passageway 43, and extend through hole 42 such that the head of the bolt 82 fastens to the inside surface of second support member 60.
  • this preferred embodiment discloses the use of bolts and pins as a securement means, any combination of bolts, rods, pins, screws, clamping devices or the like may be utilized.

Landscapes

  • Engineering & Computer Science (AREA)
  • Mechanical Engineering (AREA)
  • Vibration Prevention Devices (AREA)
  • Auxiliary Devices For Machine Tools (AREA)
  • Percussive Tools And Related Accessories (AREA)

Abstract

A pneumatic tool is disclosed which includes vibration mounts to reduce the amount of vibration transferred to the user. The vibration mounts include a pair of support members and at least one resilient vibration isolator connecting the support member in a spaced relationship. A compressed air conduit passes through the support member openings but is only directly fastened to one of the support members.

Description

This application is a continuation of application Ser. No. 08/585,213, filed Jan. 11, 1996 now abandoned.
BACKGROUND OF THE INVENTION
1. Field of the Invention
This invention generally relates to vibration isolator mounts for pneumatic tools. In particular, this invention relates to a pneumatic tool vibration isolator mount adapted for mounting between the handle of a pneumatic tool and the tool housing to thereby reduce vibration.
2. Description of Relevant Art
Various problems associated with arriving at a vibratory isolator for use with a power tool include where to place the vibratory isolator in the tool and how to manufacture it so that it can withstand the intense vibrations involved with such a tool. The isolator must separate the tool into two pieces such that one can move relative to the other to therefore minimize the transfer of vibration. Difficulties arise in that the vibration isolator mount must also be strong enough to hold the two pieces together and, in the case of pneumatic tools, allow compressed air to pass therethrough.
U.S. Pat. No. 5,453,577 issued to Everett et al. on Sep. 26, 1995 entitled "Pneumatic Tool and Vibration Isolator Mounts Therefor" teaches vibration mounting devices between the handle of a pneumatic tool and the tool housing. In particular, the patent teaches placing a resilient vibration isolator between two support members and then passing a compressed air conduit therebetween. To achieve reduced vibration, the support members' openings remain sealed to the compressed air conduit while the vibration isolators themselves remain spaced from the conduit.
Although the aforementioned patent provides an improved system of locating vibration dampening mounts, it incorporates numerous parts. Thus, a simplified vibration isolator system for mounting between a tool handle and housing is desirable which will produce the same or better vibration dampening results. The above-mentioned relevant art is hereby incorporated by reference.
SUMMARY OF THE INVENTION
The present invention provides a pneumatic tool with vibration isolator mounts for mounting between a handle of the pneumatic tool and the tool housing to reduce the amount of vibration. The vibration mount in particular utilizes a first and second support member each having an opening with a compressed air conduit running therethrough. The second support member utilizes a sleeved opening that does not come in contact with the compressed air conduit. Placed between the two support members is a vibration isolator. The vibration isolator covers the interior surface of the sleeved opening and directly contacts the compressed air conduit. The vibration isolator also includes a gap dividing the vibration isolator into an inner portion and an outer portion such that the inner portion is secured to the compressed air conduit and the outer portion separates the two support members in a spacial relationship. The gap also separates the sleeved opening from the compressed air conduit. This simplified system reduces the number of parts by about 75% and therefore substantially reduces the cost of assembly.
In accordance with the above, it is an advantage of the present invention to provide a vibration isolator mount for mounting between the handle of the pneumatic tool and the tool housing to thereby reduce vibration transferred to the user.
In accordance with the above, it is a further advantage of the present invention to provide a vibration isolator mount which reduces the number of parts required.
In accordance with the above, it is a further advantage of the present invention to provide a vibration isolator mount that is inexpensive to manufacture.
In accordance with the above, it is a further advantage of the present invention to provide a vibration isolator mount through which an air conduit may pass.
The foregoing and other features and advantages of the invention will be apparent from the following more particular description of a preferred embodiment of the invention, as illustrated in the accompanying drawings.
BRIEF DESCRIPTION OF DRAWINGS
The preferred exemplary embodiment of the present invention will hereinafter be described in conjunction with the appended drawings where like designations denote like elements, and:
FIG. 1 is a top view of a pneumatic tool illustrating a plurality of vibration isolator mounts of a preferred embodiment of the present invention for isolating one of a plurality of handles from a vibratory source on a pneumatic tool;
FIG. 2 is a side view of a pneumatic tool illustrating a plurality of vibration isolator mounts of a preferred embodiment of the present invention for mounting handles to a pneumatic tool;
FIG. 3 is a side view of a vibration isolator mount of a preferred embodiment of the present invention;
FIG. 4 is a front view of a vibration isolator mount of a preferred embodiment of the present invention;
FIG. 5 is a side sectional view of a throttle vibration isolator mount of a preferred embodiment of the present invention as taken through section 5--5 of FIG. 4; and
FIG. 6 is a sectional view of the vibration isolator mount of a preferred embodiment of the present invention as taken through section 6--6 of FIG. 4.
DETAILED DESCRIPTION OF THE PREFERRED EMBODIMENT
FIG. 1 illustrates a top view of a pneumatic tool 10 such as a grinder, sander or polisher. The tool 10 includes a housing 12, a throttle handle 20, and a support handle 30. Optionally, the support handle 30 may be substituted for a support handle 35 with a muffler 36 extending therefrom. The throttle handle 20 is attached to the body of the housing 12 by throttle handle vibration isolator mount 22 and the support handle 30 is attached to the housing 12 by support handle vibration isolator mount 32.
An air hose (not shown) is coupled to the end of the throttle handle 20 at inlet bushing 27. The inlet bushing 27 includes a tool engagement surface 26 such as a hex surface. The tool engagement surface 26 are proximate male threads (internal of handle 20 in FIG. 1) for coupling the inlet bushing 27 into the handle 20. Concentrically internal of the inlet bushing 27 are female threads for coupling an air hose to the handle 20. During operation, air passes through handle 20 via air passage 24 and then through the throttle handle vibration isolator mount 22 into a pneumatic motor inside the housing 12. Air is expelled from the motor in housing 12 into the air passage 34 in support handle 30 via support handle vibration isolator mount 32. Air from the air passage 34 then returns into the housing 12 where it is eventually expelled through an outlet (not shown) in the housing 12. Optionally, a support handle 35 with a muffler 36 may be attached to the housing 12. The foraminous openings 38 in the muffler 36 expel air that has passed through air passage 34.
FIG. 2 depicts a side view of the pneumatic tool 10 of the present invention. The pneumatic tool 10 includes a throttle lever 28 having a lock 29 thereon. The lock acts as a safety feature to prevent unintended operation of the tool 10. The support handle 30 also includes a handle grip 33 made of material such as foam rubber to enhance frictional grip of the user during use of the pneumatic tool 10.
FIG. 3 shows a side view of the handle vibration isolator mount 32. The mount 32 includes the following: a conduit extension sleeve 70, suitable for attachment to a tool handle; a tubular sleeved opening 46, suitable for attachment to a tool housing; and a vibration isolator body 72, suitable for reducing vibration from the tool housing to the tool handle. In the preferred embodiment, attachment of the isolator mount 32 to the tool housing is accomplished with bolts or the like (see FIG. 6), and attachment of the mount 32 to the tool handle is accomplished with pins that mount, for example, into cavity 74. The tubular sleeved opening 46 may include a hole 76 and a U-shaped clearance groove 78 suitable for holding a roll pin for use as a backup safety mechanism. Preferably, the entire mount is manufactured into a single self-contained unit suitable for easy installation or replacement.
FIG. 4 shows a front view of the support handle vibration isolator mount 32. The mount 32 includes a mounting plate or a support member 60 having a compressed air passage 56 and mounting holes 42 therein. On the opposite side of support member 60, a vibration isolator is attached thereto (see FIG. 5). Centrally located on support member 60 is sleeved opening 46 which projects orthogonally toward the viewer from mounting plate 60 (see FIG. 5). An outer portion 48 of the vibration isolator and an inner portion 50 of the vibration isolator also extend orthogonally toward the viewer interior to the sleeved opening 46. The outer and inner portions 48 and 50 of the vibration isolator are separated by a gap 52 positioned therebetween. The inner portion of the vibration isolator 50 is secured to the exterior surface of compressed air conduit 54. Preferably, the inner portion of vibration isolator 50 will be sealed in a fixed manner to compressed air conduit 54 and outer vibration isolator 48 will be sealed in a fixed manner to sleeved opening 46. Mounting holes 42 provide a passage means for a bolt or the like to pass through and secure the mount 32 to the tool housing (see FIG. 6).
Referring now to FIG. 5, a sectional side view of support handle vibration isolator mount 32 is depicted as taken through section line 5--5 of FIG. 4. The sectional view shows first and second mounting plates or support members 58 and 60 with a vibration isolator 62 having first and second lateral surfaces secured therebetween. The support members 58 and 60, and the vibration isolator 62 are situated about the circumference of compressed air conduit 54. Compressed air conduit 54 has a compressed air passage 56 that includes a substantially uniform opening therein for the passage of compressed air. In the preferred embodiment, the vibration isolator material utilizes injection molding or some other similar process to "fuse" the vibration isolator to the support members and compressed air conduit. It is recognized however that any other means for maintaining placement of these parts (e.g., grooves, notches, tight-fitting parts, glue, etc.) would be suitable. Moreover, it also envisioned that the compressed air conduit 54 and the first support member 58 could be forged or integrated from a single piece of material.
The second support member 60 includes a sleeved opening 46 which projects orthogonally away from the first support member 58. In the preferred embodiment, sleeved opening 46 is tubular in shape and is forged from the same piece of material as the second support member 60. However, it is recognized that sleeved opening 46 may have some other cross section (e.g. oval, rectangular, etc.) and it may be forged from an entirely separate piece of material than that of support member 60.
As previously noted, vibration isolator 62 includes an inner portion 50 and an outer portion 48 separated by gap 52. First support member 58 and inner vibration isolator 50 provide exclusive securement of mount 32 about compressed air conduit 54. To improve securement, compressed air conduit 54 may include a recessed edge 64 within which first support member 58 may be mounted.
In this preferred embodiment, the second support member 60 and its sleeve opening 46 do not directly contact the compressed air conduit 54. Rather, the gap 52 separates the second support member and its sleeved opening from the compressed air conduit 54. However, the interior surface of the sleeved opening 46 may have the outer portion of the vibration isolator material 48 affixed in a sealed or fused manner thereto (see FIG. 6). Additionally, the inner portion of the vibration isolator 50 may be sealed or fused to the compressed air conduit within the sleeved opening portion of vibration mount 32 (see FIG. 6).
Referring now to FIG. 6, a second sectional side view of support handle vibration isolator mount 32 of the present invention is depicted as taken through section 6--6 of FIG. 4. FIG. 6 shows a first opening 41 through first support member 58 and a second opening 42 through second support member 60. Vibration isolator 62 includes a passageway 43 connecting first opening 41 and second opening 42. These holes and passage way provide a means for securing the vibration mount to a pneumatic tool housing. In particular, bolt 80 can be inserted through hole 41, into passageway 43, and extend through hole 42 such that the head of the bolt 82 fastens to the inside surface of second support member 60. Although this preferred embodiment discloses the use of bolts and pins as a securement means, any combination of bolts, rods, pins, screws, clamping devices or the like may be utilized.
It is further recognized that while the above disclosure is drawn closely to a vibration isolator mount for a support handle, it is meant to be generic for all types of mounts including a throttle handle vibration isolator mount. Moreover, it is further envisioned that this invention could be utilized on other locations within power tools. Although a pneumatic grinder, sander, or polisher 10 is illustrated, other types of rotary or reciprocating pneumatic tools may be used with the vibration isolator mounts such as a rotary handle, a hammer drill,. a drill, or the like. The embodiments disclosed herein have been discussed for the purpose of familiarizing the reader with the novel aspects of the invention. Although the preferred embodiments of the invention have been shown, many changes, modifications and substitutions may be made by one having ordinary skill in the art without necessarily departing from the spirit and scope of the invention as described in the following claims.

Claims (32)

We claim:
1. A vibration mount for use with a pneumatic tool, said mount comprising:
a compressed air conduit having an inner surface and an outer surface;
a first support member situated around and in nonsliding contact with said outer surface of said compressed air conduit;
a second support member situated around and spaced from said outer surface of said compressed air conduit; and
a vibration isolator mounted between said first and said second support members wherein said vibration isolator includes a gap that divides said vibration isolator into an inner portion that contacts said outer surface of said compressed air conduit and an outer portion that is spaced from said compressed air conduit.
2. The vibration mount of claim 1, wherein said vibration isolator extends concentrically around the outer surface of said compressed air conduit.
3. The vibration mount of claim 2, wherein said gap extends concentrically around the outer surface of said compressed air conduit.
4. The vibration mount of claim 1, wherein said second support member includes a tubular sleeve situated around and concentrically spaced from said compressed air conduit.
5. A vibration mount for use with a pneumatic tool, said mount comprising:
a compressed air conduit;
a first support member, said first support member situated around and in contact with said compressed air conduit;
a second support member, said second support member situated around and spaced from said compressed air conduit;
a vibration isolator situated around said compressed air conduit, said vibration isolator having a first surface in contact with said first support member and having a second surface in contact with said second support member; and
a tubular sleeve connected to said second support member and concentrically spaced from said compressed air conduit, said tubular sleeve extending axially away from said second surface of said vibration isolator.
6. The vibration mount of claim 5, wherein said tubular sleeve includes an interior surface in contact with said vibration isolator.
7. The vibration mount of claim 5, wherein said vibration isolator includes a gap that divides said vibration isolator into an outer portion and an inner portion.
8. The vibration mount of claim 5, wherein said vibration isolator extends concentrically around an exterior surface of said compressed air conduit.
9. A vibration mount for use with a pneumatic tool, said vibration mount comprising:
a compressed air conduit;
a first support member, said first support member being situated around and in nonsliding contact with said compressed air conduit;
a second support member, said second support member being situated around and spaced from said compressed air conduit; and
a vibration isolator placed concentrically around said compressed air conduit, said vibration isolator having a first lateral surface in contact with said first support member and having a second lateral surface in contact with said second support member.
10. The vibration mount of claim 9, further including a plurality of mounting holes extending through said first support member, said vibration isolator and said second support member.
11. The vibration mount of claim 9, wherein said vibration isolator includes a gap that divides said vibration isolator into an inner portion and an outer portion.
12. The vibration mount of claim 9, wherein said second support member includes a tubular sleeve concentrically spaced from said compressed air conduit.
13. A pneumatic tool comprising:
a housing;
a handle having a pneumatic air coupling; and
a vibration mount for connecting said housing to said handle, said vibration mount including:
a compressed air conduit having an inner surface and an outer surface;
a first support member situated around and in nonsliding contact with said outer surface of said compressed air conduit;
a second support member situated around and spaced from said outer surface of said compressed air conduit; and
a vibration isolator mounted between said first and said second support members wherein said vibration isolator includes a gap that divides said vibration isolator into an inner portion that contacts said outer surface of said compressed air conduit and an outer portion that is spaced from said compressed air conduit.
14. The pneumatic tool of claim 13 wherein said vibration isolator extends concentrically around the outer surface of said compressed air conduit.
15. The pneumatic tool of claim 14 wherein said gap extends concentrically around the outer surface of said compressed air conduit.
16. The pneumatic tool of claim 13 wherein said second support member includes a tubular sleeve concentrically spaced around said compressed air conduit.
17. A vibration mount for use with a pneumatic tool, said mount comprising:
a compressed air conduit having an inner surface and an outer surface;
a first support member situated around and in contact with said outer surface of said compressed air conduit;
a second support member situated around and spaced from said outer surface of said compressed air conduit;
a vibration isolator mounted between said first and said second support members wherein said vibration isolator includes a gap that divides said vibration isolator into an inner portion that contacts said outer surface of said compressed air conduit and an outer portion that is spaced from said compressed air conduit; and
means for fastening the vibration mount to the pneumatic tool, the means for fastening extending through one of the support members, and at least a portion of the vibration isolator.
18. The vibration mount of claim 17, wherein said vibration isolator extends concentrically around the outer surface of said compressed air conduit.
19. The vibration mount of claim 18, wherein said gap extends concentrically around the outer surface of said compressed air conduit.
20. The vibration mount of claim 17, wherein said second support member includes a tubular sleeve situated around and concentrically spaced from said compressed air conduit.
21. A vibration mount for use with a pneumatic tool, said mount comprising:
a compressed air conduit;
a first support member, said first support member situated around and in contact with said compressed air conduit;
a second support member including a tubular sleeve concentrically spaced from said compressed air conduit and a radially outward portion extending radially from said tubular sleeve; and
a vibration isolator situated around said compressed air conduit, said vibration isolator having a first surface in contact with said first support member and having a second surface in contact with said second support member.
22. The vibration mount of claim 21, wherein said tubular sleeve includes an interior surface in contact with said vibration isolator.
23. The vibration mount of claim 21, wherein said vibration isolator includes a gap that divides said vibration isolator into an outer portion and an inner portion.
24. The vibration mount of claim 21, wherein said vibration isolator extends concentrically around an exterior surface of said compressed air conduit.
25. A vibration mount for use with a pneumatic tool, said vibration mount comprising:
a compressed air conduit;
a first support member situated around and in contact with said compressed air conduit along a contact surface of said first support member;
a second support member situated around and spaced from said compressed air conduit; and
a vibration isolator having a first surface in contact with said first support member, a second surface in contact with said second support member, and a third surface in contact with said compressed air conduit, and wherein said contact surface is shorter than said third surface.
26. The vibration mount of claim 25, further including a plurality of mounting holes extending through said first support member, said vibration isolator and said second support member.
27. The vibration mount of claim 25, wherein said vibration isolator includes a gap that divides said vibration isolator into an inner portion and an outer portion.
28. The vibration mount of claim 25, wherein said second support member includes a tubular sleeve concentrically spaced from said compressed air conduit.
29. A pneumatic tool comprising:
a housing;
a handle having a pneumatic air coupling; and
a vibration mount for connecting said housing to said handle, said vibration mount including:
a compressed air conduit having an inner surface, an outer surface and a shoulder portion;
a first support member situated around and in contact with the shoulder portion of said outer surface of said compressed air conduit;
a second support member situated around and spaced from said outer surface of said compressed air conduit; and
a vibration isolator mounted between said first and said second support members wherein said vibration isolator includes a gap that divides said vibration isolator into an inner portion that contacts said outer surface of said compressed air conduit and an outer portion that is spaced from said compressed air conduit.
30. The pneumatic tool of claim 29, wherein said vibration isolator extends concentrically around the outer surface of said compressed air conduit.
31. The pneumatic tool of claim 30, wherein said gap extends concentrically around the outer surface of said compressed air conduit.
32. The pneumatic tool of claim 29, wherein said second support member includes a tubular sleeve concentrically spaced around said compressed air conduit.
US08/890,961 1996-01-11 1997-07-08 Pneumatic tool and vibration isolator therefor Expired - Fee Related US5881822A (en)

Priority Applications (1)

Application Number Priority Date Filing Date Title
US08/890,961 US5881822A (en) 1996-01-11 1997-07-08 Pneumatic tool and vibration isolator therefor

Applications Claiming Priority (2)

Application Number Priority Date Filing Date Title
US58521396A 1996-01-11 1996-01-11
US08/890,961 US5881822A (en) 1996-01-11 1997-07-08 Pneumatic tool and vibration isolator therefor

Related Parent Applications (1)

Application Number Title Priority Date Filing Date
US58521396A Continuation 1996-01-11 1996-01-11

Publications (1)

Publication Number Publication Date
US5881822A true US5881822A (en) 1999-03-16

Family

ID=24340484

Family Applications (1)

Application Number Title Priority Date Filing Date
US08/890,961 Expired - Fee Related US5881822A (en) 1996-01-11 1997-07-08 Pneumatic tool and vibration isolator therefor

Country Status (8)

Country Link
US (1) US5881822A (en)
EP (1) EP0814942A4 (en)
KR (1) KR19980702910A (en)
CN (1) CN1176615A (en)
AU (1) AU1467997A (en)
BR (1) BR9607809A (en)
CA (1) CA2212126A1 (en)
WO (1) WO1997025186A1 (en)

Cited By (15)

* Cited by examiner, † Cited by third party
Publication number Priority date Publication date Assignee Title
US6220367B1 (en) * 1998-01-13 2001-04-24 Chicago Pneumatic Tool Company Power tool and vibration isolator therefor
EP1308247A1 (en) * 2001-10-31 2003-05-07 Ingersoll-Rand Company Interchangeable extended grip for pneumatic tools
US20040016082A1 (en) * 2002-04-30 2004-01-29 Zhiyong Yi Power tool with at least one handle
US20040231867A1 (en) * 2003-05-21 2004-11-25 Reimund Becht Vibration reduction apparatus for power tool and power tool incorporating such apparatus
US20050082072A1 (en) * 2003-10-15 2005-04-21 Nicolantonio Aldo D. Auxiliary handle, and hand power tool provided therewith
US20060166613A1 (en) * 2002-10-18 2006-07-27 Justus Lamprecht Hand-operated machine-tool comprising a vibration-damping rotary handle
US20060219419A1 (en) * 2005-03-31 2006-10-05 Makita Corporation Handle
US20080148525A1 (en) * 2000-02-04 2008-06-26 Harald Krondorfer Hand power tool with at least one handle
US20080173460A1 (en) * 2007-01-22 2008-07-24 Sun Yung-Yung Air tool with double exhaust pipes
US20080190631A1 (en) * 2005-12-29 2008-08-14 Joerg Lemmel Vibration Reduction in Electric Tools
EP2161106A1 (en) * 2008-09-07 2010-03-10 Josef Kihlberg AB Fastener driving tool with a handle portion
US20130228606A1 (en) * 2012-03-02 2013-09-05 Stanley Fastening Systems, L.P. Fastening Tool With Dual Pneumatic Handles
US8966773B2 (en) 2012-07-06 2015-03-03 Techtronic Power Tools Technology Limited Power tool including an anti-vibration handle
US9938672B2 (en) 2016-09-14 2018-04-10 Caterpillar Inc. Vibration isolator with hydraulic pass-thru
US20240227149A1 (en) * 2023-01-09 2024-07-11 Crown Equipment Corporation Pneumatic tool

Citations (19)

* Cited by examiner, † Cited by third party
Publication number Priority date Publication date Assignee Title
US2058583A (en) * 1935-12-23 1936-10-27 Independent Pneumatic Tool Co Cushioned handle for tools
US2500036A (en) * 1945-12-22 1950-03-07 Cleveland Pneumatic Tool Co Cushioned handle for portable percussive tools
US2831463A (en) * 1955-07-07 1958-04-22 Atlas Copco Ab Cushioning device for hammer tools
US3372759A (en) * 1964-10-28 1968-03-12 Hermann Wacker And Peter Wacke Means for suppressing blows, shocks or vibrations in the operation of an apparatus such as a power driven hammer or tamper
US3525373A (en) * 1966-12-10 1970-08-25 Kyoritsu Noki Co Ltd Chain saw
US3968843A (en) * 1975-02-21 1976-07-13 Caterpillar Tractor Co. Pneumatic percussion tool having a vibration dampened handle
US4401167A (en) * 1980-07-18 1983-08-30 Hitachi Koki Company, Limited Vibratory tool with a vibration proof mechanism for the handle thereof
US4611671A (en) * 1984-05-07 1986-09-16 Atlas Copco Aktiebolag Vibration insulating handle
EP0207034A1 (en) * 1985-06-19 1986-12-30 Eskil Sundström A vibration-absorbing handle
US4643263A (en) * 1983-09-16 1987-02-17 Atlas Copco Aktiebolag Portable power tool
US4867366A (en) * 1984-10-26 1989-09-19 Kleinholz Edward O Pneumatic fastener-driving tool and method
US4936394A (en) * 1988-04-30 1990-06-26 Hitachi Koko Company, Limited Vibroisolating handle joint structure for power tool
US5027910A (en) * 1990-05-02 1991-07-02 Honsa Ergonomic Technologies, Inc. Vibration-isolated rotary tool
US5050689A (en) * 1988-03-29 1991-09-24 Politechnika Poznanska Compressed air supply system of vibro-isolated tools
US5157807A (en) * 1990-04-06 1992-10-27 Metabowerke Gmbh & Co. Vibration-cushioned handle
US5213167A (en) * 1992-06-16 1993-05-25 Ingersoll-Rand Company Apparatus for reducing vibration transmission in hand-held tool
US5322131A (en) * 1993-05-20 1994-06-21 Chicago Pneumatic Tool Company Vibration-reduced pneumatic tool
WO1994016864A1 (en) * 1993-01-27 1994-08-04 Lord Corporation Vibration isolator for hand-held vibrating devices
US5453577A (en) * 1994-01-11 1995-09-26 Chicago Pneumatic Tool Company Pneumatic tool and vibration isolator mounts therefor

Patent Citations (20)

* Cited by examiner, † Cited by third party
Publication number Priority date Publication date Assignee Title
US2058583A (en) * 1935-12-23 1936-10-27 Independent Pneumatic Tool Co Cushioned handle for tools
US2500036A (en) * 1945-12-22 1950-03-07 Cleveland Pneumatic Tool Co Cushioned handle for portable percussive tools
US2831463A (en) * 1955-07-07 1958-04-22 Atlas Copco Ab Cushioning device for hammer tools
US3372759A (en) * 1964-10-28 1968-03-12 Hermann Wacker And Peter Wacke Means for suppressing blows, shocks or vibrations in the operation of an apparatus such as a power driven hammer or tamper
US3525373A (en) * 1966-12-10 1970-08-25 Kyoritsu Noki Co Ltd Chain saw
US3968843A (en) * 1975-02-21 1976-07-13 Caterpillar Tractor Co. Pneumatic percussion tool having a vibration dampened handle
US4401167A (en) * 1980-07-18 1983-08-30 Hitachi Koki Company, Limited Vibratory tool with a vibration proof mechanism for the handle thereof
US4643263A (en) * 1983-09-16 1987-02-17 Atlas Copco Aktiebolag Portable power tool
US4611671A (en) * 1984-05-07 1986-09-16 Atlas Copco Aktiebolag Vibration insulating handle
US4867366A (en) * 1984-10-26 1989-09-19 Kleinholz Edward O Pneumatic fastener-driving tool and method
EP0207034A1 (en) * 1985-06-19 1986-12-30 Eskil Sundström A vibration-absorbing handle
US5050689A (en) * 1988-03-29 1991-09-24 Politechnika Poznanska Compressed air supply system of vibro-isolated tools
US4936394A (en) * 1988-04-30 1990-06-26 Hitachi Koko Company, Limited Vibroisolating handle joint structure for power tool
US5052500A (en) * 1988-04-30 1991-10-01 Hitachi Koki Company, Limited Vibroisolating handle joint structure for power tool
US5157807A (en) * 1990-04-06 1992-10-27 Metabowerke Gmbh & Co. Vibration-cushioned handle
US5027910A (en) * 1990-05-02 1991-07-02 Honsa Ergonomic Technologies, Inc. Vibration-isolated rotary tool
US5213167A (en) * 1992-06-16 1993-05-25 Ingersoll-Rand Company Apparatus for reducing vibration transmission in hand-held tool
WO1994016864A1 (en) * 1993-01-27 1994-08-04 Lord Corporation Vibration isolator for hand-held vibrating devices
US5322131A (en) * 1993-05-20 1994-06-21 Chicago Pneumatic Tool Company Vibration-reduced pneumatic tool
US5453577A (en) * 1994-01-11 1995-09-26 Chicago Pneumatic Tool Company Pneumatic tool and vibration isolator mounts therefor

Cited By (21)

* Cited by examiner, † Cited by third party
Publication number Priority date Publication date Assignee Title
US6220367B1 (en) * 1998-01-13 2001-04-24 Chicago Pneumatic Tool Company Power tool and vibration isolator therefor
US20080148525A1 (en) * 2000-02-04 2008-06-26 Harald Krondorfer Hand power tool with at least one handle
US8210276B2 (en) * 2000-02-04 2012-07-03 Robert Bosch Gmbh Hand power tool with at least one handle
EP1308247A1 (en) * 2001-10-31 2003-05-07 Ingersoll-Rand Company Interchangeable extended grip for pneumatic tools
US6669543B2 (en) 2001-10-31 2003-12-30 Ingersoll-Rand Company Interchangeable handle grip assembly, conversion kit, and tools incorporating same
US20040016082A1 (en) * 2002-04-30 2004-01-29 Zhiyong Yi Power tool with at least one handle
US20060166613A1 (en) * 2002-10-18 2006-07-27 Justus Lamprecht Hand-operated machine-tool comprising a vibration-damping rotary handle
US7204744B2 (en) * 2002-10-18 2007-04-17 Robert Bosch Gmbh Hand-operated machine-tool comprising a vibration-damping rotary handle
US20040231867A1 (en) * 2003-05-21 2004-11-25 Reimund Becht Vibration reduction apparatus for power tool and power tool incorporating such apparatus
US20050082072A1 (en) * 2003-10-15 2005-04-21 Nicolantonio Aldo D. Auxiliary handle, and hand power tool provided therewith
US8430183B2 (en) * 2003-10-15 2013-04-30 Robert Bosch Gmbh Auxiliary handle, and hand power tool provided therewith
US7252156B2 (en) * 2005-03-31 2007-08-07 Makita Corporation Vibration isolation handle
US20060219419A1 (en) * 2005-03-31 2006-10-05 Makita Corporation Handle
US20080190631A1 (en) * 2005-12-29 2008-08-14 Joerg Lemmel Vibration Reduction in Electric Tools
US20080173460A1 (en) * 2007-01-22 2008-07-24 Sun Yung-Yung Air tool with double exhaust pipes
EP2161106A1 (en) * 2008-09-07 2010-03-10 Josef Kihlberg AB Fastener driving tool with a handle portion
US20130228606A1 (en) * 2012-03-02 2013-09-05 Stanley Fastening Systems, L.P. Fastening Tool With Dual Pneumatic Handles
US9242359B2 (en) * 2012-03-02 2016-01-26 Stanley Fastening Systems, L.P. Fastening tool with dual pneumatic handles
US8966773B2 (en) 2012-07-06 2015-03-03 Techtronic Power Tools Technology Limited Power tool including an anti-vibration handle
US9938672B2 (en) 2016-09-14 2018-04-10 Caterpillar Inc. Vibration isolator with hydraulic pass-thru
US20240227149A1 (en) * 2023-01-09 2024-07-11 Crown Equipment Corporation Pneumatic tool

Also Published As

Publication number Publication date
EP0814942A4 (en) 2000-11-29
CN1176615A (en) 1998-03-18
AU1467997A (en) 1997-08-01
WO1997025186A1 (en) 1997-07-17
CA2212126A1 (en) 1997-07-17
BR9607809A (en) 1999-11-30
KR19980702910A (en) 1998-09-05
EP0814942A1 (en) 1998-01-07

Similar Documents

Publication Publication Date Title
US5881822A (en) Pneumatic tool and vibration isolator therefor
JP3566964B2 (en) Pneumatic impact breaker
US5975862A (en) Portable power tool with vibration-proof member
EP1358968A1 (en) Power tool with a vibration absorbing handle
JP3825802B2 (en) Fluid force impact tool
US2746493A (en) Telescoped driving connection for power tools
US4921053A (en) Vibro-isolation of connections of structural units of hand tools
US6619409B2 (en) Vibration-isolating member and vibration-isolating device
US5453577A (en) Pneumatic tool and vibration isolator mounts therefor
US20030085499A1 (en) Mount with replaceable load bearing and rebound members
US20020162421A1 (en) Nutrunner safety sleeve
CA2157786A1 (en) Pneumatic hammer
US20040094315A1 (en) Shock-absorbing structure for pneumatic tool
US3918214A (en) Vibrating sander
MXPA97006118A (en) Pneumatic tool and isolation assemblies of lavibration for the mi
US5558167A (en) Percussion boring machine
US6131390A (en) Rear exhaust device for pneumatic tool
JPH02108786A (en) Ram boring machine
CN201048489Y (en) Hand-held type garden tool
JP4194032B2 (en) Anti-vibration coil spring holder
US6676499B1 (en) Male/female abrasive disk/wheel mounting member and subsequent abrasive mounting systems
JPS6117815Y2 (en)
JPH05169375A (en) Vibro-isolating handle of hand hummering tool
KR20020004720A (en) Mounting Tool for body of vehicle
CN221186379U (en) Auxiliary handles and power tools

Legal Events

Date Code Title Description
FEPP Fee payment procedure

Free format text: PAYOR NUMBER ASSIGNED (ORIGINAL EVENT CODE: ASPN); ENTITY STATUS OF PATENT OWNER: LARGE ENTITY

FEPP Fee payment procedure

Free format text: PAYER NUMBER DE-ASSIGNED (ORIGINAL EVENT CODE: RMPN); ENTITY STATUS OF PATENT OWNER: LARGE ENTITY

Free format text: PAYOR NUMBER ASSIGNED (ORIGINAL EVENT CODE: ASPN); ENTITY STATUS OF PATENT OWNER: LARGE ENTITY

FPAY Fee payment

Year of fee payment: 4

REMI Maintenance fee reminder mailed
AS Assignment

Owner name: CHICAGO PNEUMATIC TOOL COMPANY LLC, SOUTH CAROLINA

Free format text: MERGER;ASSIGNOR:CHICAGO PNEUMATIC TOOL COMPANY;REEL/FRAME:018866/0337

Effective date: 20061127

LAPS Lapse for failure to pay maintenance fees
LAPS Lapse for failure to pay maintenance fees

Free format text: PATENT EXPIRED FOR FAILURE TO PAY MAINTENANCE FEES (ORIGINAL EVENT CODE: EXP.); ENTITY STATUS OF PATENT OWNER: LARGE ENTITY

STCH Information on status: patent discontinuation

Free format text: PATENT EXPIRED DUE TO NONPAYMENT OF MAINTENANCE FEES UNDER 37 CFR 1.362

FP Lapsed due to failure to pay maintenance fee

Effective date: 20070316