US20180098220A1 - Verifying a user utilizing gyroscopic movement - Google Patents

Verifying a user utilizing gyroscopic movement Download PDF

Info

Publication number
US20180098220A1
US20180098220A1 US15/283,093 US201615283093A US2018098220A1 US 20180098220 A1 US20180098220 A1 US 20180098220A1 US 201615283093 A US201615283093 A US 201615283093A US 2018098220 A1 US2018098220 A1 US 2018098220A1
Authority
US
United States
Prior art keywords
mobile device
user
response
utilizing
processor
Prior art date
Legal status (The legal status is an assumption and is not a legal conclusion. Google has not performed a legal analysis and makes no representation as to the accuracy of the status listed.)
Granted
Application number
US15/283,093
Other versions
US9942768B1 (en
Inventor
Brandon Z. Frank
Joseph A. Latone
Current Assignee (The listed assignees may be inaccurate. Google has not performed a legal analysis and makes no representation or warranty as to the accuracy of the list.)
International Business Machines Corp
Original Assignee
International Business Machines Corp
Priority date (The priority date is an assumption and is not a legal conclusion. Google has not performed a legal analysis and makes no representation as to the accuracy of the date listed.)
Filing date
Publication date
Application filed by International Business Machines Corp filed Critical International Business Machines Corp
Priority to US15/283,093 priority Critical patent/US9942768B1/en
Assigned to INTERNATIONAL BUSINESS MACHINES CORPORATION reassignment INTERNATIONAL BUSINESS MACHINES CORPORATION ASSIGNMENT OF ASSIGNORS INTEREST (SEE DOCUMENT FOR DETAILS). Assignors: LATONE, JOSEPH A., FRANK, BRANDON Z.
Publication of US20180098220A1 publication Critical patent/US20180098220A1/en
Application granted granted Critical
Publication of US9942768B1 publication Critical patent/US9942768B1/en
Active legal-status Critical Current
Anticipated expiration legal-status Critical

Links

Images

Classifications

    • HELECTRICITY
    • H04ELECTRIC COMMUNICATION TECHNIQUE
    • H04WWIRELESS COMMUNICATION NETWORKS
    • H04W12/00Security arrangements; Authentication; Protecting privacy or anonymity
    • H04W12/12Detection or prevention of fraud
    • HELECTRICITY
    • H04ELECTRIC COMMUNICATION TECHNIQUE
    • H04WWIRELESS COMMUNICATION NETWORKS
    • H04W12/00Security arrangements; Authentication; Protecting privacy or anonymity
    • H04W12/06Authentication
    • GPHYSICS
    • G06COMPUTING OR CALCULATING; COUNTING
    • G06FELECTRIC DIGITAL DATA PROCESSING
    • G06F1/00Details not covered by groups G06F3/00 - G06F13/00 and G06F21/00
    • G06F1/16Constructional details or arrangements
    • G06F1/1613Constructional details or arrangements for portable computers
    • G06F1/1633Constructional details or arrangements of portable computers not specific to the type of enclosures covered by groups G06F1/1615 - G06F1/1626
    • G06F1/1684Constructional details or arrangements related to integrated I/O peripherals not covered by groups G06F1/1635 - G06F1/1675
    • G06F1/1694Constructional details or arrangements related to integrated I/O peripherals not covered by groups G06F1/1635 - G06F1/1675 the I/O peripheral being a single or a set of motion sensors for pointer control or gesture input obtained by sensing movements of the portable computer
    • GPHYSICS
    • G06COMPUTING OR CALCULATING; COUNTING
    • G06FELECTRIC DIGITAL DATA PROCESSING
    • G06F21/00Security arrangements for protecting computers, components thereof, programs or data against unauthorised activity
    • G06F21/30Authentication, i.e. establishing the identity or authorisation of security principals
    • G06F21/31User authentication
    • GPHYSICS
    • G06COMPUTING OR CALCULATING; COUNTING
    • G06FELECTRIC DIGITAL DATA PROCESSING
    • G06F3/00Input arrangements for transferring data to be processed into a form capable of being handled by the computer; Output arrangements for transferring data from processing unit to output unit, e.g. interface arrangements
    • G06F3/01Input arrangements or combined input and output arrangements for interaction between user and computer
    • G06F3/017Gesture based interaction, e.g. based on a set of recognized hand gestures
    • HELECTRICITY
    • H04ELECTRIC COMMUNICATION TECHNIQUE
    • H04LTRANSMISSION OF DIGITAL INFORMATION, e.g. TELEGRAPHIC COMMUNICATION
    • H04L43/00Arrangements for monitoring or testing data switching networks
    • H04L43/16Threshold monitoring
    • HELECTRICITY
    • H04ELECTRIC COMMUNICATION TECHNIQUE
    • H04LTRANSMISSION OF DIGITAL INFORMATION, e.g. TELEGRAPHIC COMMUNICATION
    • H04L63/00Network architectures or network communication protocols for network security
    • HELECTRICITY
    • H04ELECTRIC COMMUNICATION TECHNIQUE
    • H04LTRANSMISSION OF DIGITAL INFORMATION, e.g. TELEGRAPHIC COMMUNICATION
    • H04L67/00Network arrangements or protocols for supporting network services or applications
    • H04L67/2866Architectures; Arrangements
    • H04L67/30Profiles
    • H04L67/306User profiles
    • GPHYSICS
    • G06COMPUTING OR CALCULATING; COUNTING
    • G06FELECTRIC DIGITAL DATA PROCESSING
    • G06F2221/00Indexing scheme relating to security arrangements for protecting computers, components thereof, programs or data against unauthorised activity
    • G06F2221/21Indexing scheme relating to G06F21/00 and subgroups addressing additional information or applications relating to security arrangements for protecting computers, components thereof, programs or data against unauthorised activity
    • G06F2221/2133Verifying human interaction, e.g., Captcha
    • HELECTRICITY
    • H04ELECTRIC COMMUNICATION TECHNIQUE
    • H04LTRANSMISSION OF DIGITAL INFORMATION, e.g. TELEGRAPHIC COMMUNICATION
    • H04L63/00Network architectures or network communication protocols for network security
    • H04L63/08Network architectures or network communication protocols for network security for authentication of entities
    • HELECTRICITY
    • H04ELECTRIC COMMUNICATION TECHNIQUE
    • H04LTRANSMISSION OF DIGITAL INFORMATION, e.g. TELEGRAPHIC COMMUNICATION
    • H04L67/00Network arrangements or protocols for supporting network services or applications
    • H04L67/01Protocols
    • H04L67/02Protocols based on web technology, e.g. hypertext transfer protocol [HTTP]
    • HELECTRICITY
    • H04ELECTRIC COMMUNICATION TECHNIQUE
    • H04WWIRELESS COMMUNICATION NETWORKS
    • H04W12/00Security arrangements; Authentication; Protecting privacy or anonymity
    • H04W12/60Context-dependent security
    • H04W12/68Gesture-dependent or behaviour-dependent

Definitions

  • the present invention relates to user verification, and more specifically, this invention relates to verifying a user utilizing gyroscopic movement of a device.
  • the ability to verify a presence of a human operator of a device is of high importance. For example, many services may desire a confirmation that received input comes from a human operator and not a machine.
  • current methods for differentiating between human and machine input are intrusive, cumbersome, and fail to integrate deeply with a native operating system (OS) of a device.
  • Current verification methods also are easily solved via advanced image processing algorithms and other means.
  • a computer-implemented method includes requesting input from a user of a mobile device, receiving gyroscope data at the mobile device, in response to the requesting, verifying the gyroscope data, and performing one or more actions, in response to the verifying.
  • a computer program product for verifying a user of a mobile device comprises a computer readable storage medium having program instructions embodied therewith, wherein the computer readable storage medium is not a transitory signal per se, and where the program instructions are executable by a processor to cause the processor to perform a method comprising requesting input from the user of the mobile device, utilizing the processor, receiving, utilizing the processor, gyroscope data at the mobile device, in response to the requesting, verifying the gyroscope data, utilizing the processor, and performing, utilizing the processor, one or more actions, in response to the verifying.
  • a system includes a processor and logic integrated with and/or executable by the processor, where the logic is configured to request input from a user of a mobile device, receive gyroscope data at the mobile device, in response to the request, verify the gyroscope data, and perform one or more actions, in response to the verification.
  • FIG. 1 illustrates a network architecture, in accordance with one embodiment.
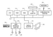
  • FIG. 2 shows a representative hardware environment that may be associated with the servers and/or clients of FIG. 1 , in accordance with one embodiment.
  • FIG. 3 illustrates a tiered data storage system in accordance with one embodiment.
  • FIG. 4 illustrates a method for verifying a user utilizing gyroscopic movement, in accordance with one embodiment.
  • FIG. 5 illustrates a method for verifying a presence of a human operator of a mobile device, in accordance with one embodiment.
  • a computer-implemented method includes requesting input from a user of a mobile device, receiving gyroscope data at the mobile device, in response to the requesting, verifying the gyroscope data, and performing one or more actions, in response to the verifying.
  • a computer program product for verifying a user of a mobile device comprises a computer readable storage medium having program instructions embodied therewith, wherein the computer readable storage medium is not a transitory signal per se, and where the program instructions are executable by a processor to cause the processor to perform a method comprising requesting input from the user of the mobile device, utilizing the processor, receiving, utilizing the processor, gyroscope data at the mobile device, in response to the requesting, verifying the gyroscope data, utilizing the processor, and performing, utilizing the processor, one or more actions, in response to the verifying.
  • a system in another general embodiment, includes a processor and logic integrated with and/or executable by the processor, where the logic is configured to request input from a user of a mobile device, receive gyroscope data at the mobile device, in response to the request, verify the gyroscope data, and perform one or more actions, in response to the verification.
  • FIG. 1 illustrates an architecture 100 , in accordance with one embodiment.
  • a plurality of remote networks 102 are provided including a first remote network 104 and a second remote network 106 .
  • a gateway 101 may be coupled between the remote networks 102 and a proximate network 108 .
  • the networks 104 , 106 may each take any form including, but not limited to a LAN, a WAN such as the Internet, public switched telephone network (PSTN), internal telephone network, etc.
  • PSTN public switched telephone network
  • the gateway 101 serves as an entrance point from the remote networks 102 to the proximate network 108 .
  • the gateway 101 may function as a router, which is capable of directing a given packet of data that arrives at the gateway 101 , and a switch, which furnishes the actual path in and out of the gateway 101 for a given packet.
  • At least one data server 114 coupled to the proximate network 108 , and which is accessible from the remote networks 102 via the gateway 101 .
  • the data server(s) 114 may include any type of computing device/groupware. Coupled to each data server 114 is a plurality of user devices 116 .
  • User devices 116 may also be connected directly through one of the networks 104 , 106 , 108 . Such user devices 116 may include a desktop computer, lap-top computer, hand-held computer, printer or any other type of logic.
  • a user device 111 may also be directly coupled to any of the networks, in one embodiment.
  • a peripheral 120 or series of peripherals 120 may be coupled to one or more of the networks 104 , 106 , 108 . It should be noted that databases and/or additional components may be utilized with, or integrated into, any type of network element coupled to the networks 104 , 106 , 108 . In the context of the present description, a network element may refer to any component of a network.
  • methods and systems described herein may be implemented with and/or on virtual systems and/or systems which emulate one or more other systems, such as a UNIX system which emulates an IBM z/OS environment, a UNIX system which virtually hosts a MICROSOFT WINDOWS environment, a MICROSOFT WINDOWS system which emulates an IBM z/OS environment, etc.
  • This virtualization and/or emulation may be enhanced through the use of VMWARE software, in some embodiments.
  • one or more networks 104 , 106 , 108 may represent a cluster of systems commonly referred to as a “cloud.”
  • cloud computing shared resources, such as processing power, peripherals, software, data, servers, etc., are provided to any system in the cloud in an on-demand relationship, thereby allowing access and distribution of services across many computing systems.
  • Cloud computing typically involves an Internet connection between the systems operating in the cloud, but other techniques of connecting the systems may also be used.
  • FIG. 2 shows a representative hardware environment associated with a user device 116 and/or server 114 of FIG. 1 , in accordance with one embodiment.
  • Such figure illustrates a typical hardware configuration of a workstation having a central processing unit 210 , such as a microprocessor, and a number of other units interconnected via a system bus 212 .
  • a central processing unit 210 such as a microprocessor
  • the workstation shown in FIG. 2 includes a Random Access Memory (RAM) 214 , Read Only Memory (ROM) 216 , an I/O adapter 218 for connecting peripheral devices such as disk storage units 220 to the bus 212 , a user interface adapter 222 for connecting a keyboard 224 , a mouse 226 , a speaker 228 , a microphone 232 , and/or other user interface devices such as a touch screen and a digital camera (not shown) to the bus 212 , communication adapter 234 for connecting the workstation to a communication network 235 (e.g., a data processing network) and a display adapter 236 for connecting the bus 212 to a display device 238 .
  • a communication network 235 e.g., a data processing network
  • display adapter 236 for connecting the bus 212 to a display device 238 .
  • the workstation may have resident thereon an operating system such as the Microsoft Windows® Operating System (OS), a MAC OS, a UNIX OS, etc. It will be appreciated that a preferred embodiment may also be implemented on platforms and operating systems other than those mentioned.
  • OS Microsoft Windows® Operating System
  • a preferred embodiment may be written using XML, C, and/or C++ language, or other programming languages, along with an object oriented programming methodology.
  • Object oriented programming (OOP) which has become increasingly used to develop complex applications, may be used.
  • the storage system 300 may include a storage system manager 312 for communicating with a plurality of media on at least one higher storage tier 302 and at least one lower storage tier 306 .
  • the higher storage tier(s) 302 preferably may include one or more random access and/or direct access media 304 , such as hard disks in hard disk drives (HDDs), nonvolatile memory (NVM), solid state memory in solid state drives (SSDs), flash memory, SSD arrays, flash memory arrays, etc., and/or others noted herein or known in the art.
  • the lower storage tier(s) 306 may preferably include one or more lower performing storage media 308 , including sequential access media such as magnetic tape in tape drives and/or optical media, slower accessing HDDs, slower accessing SSDs, etc., and/or others noted herein or known in the art.
  • One or more additional storage tiers 316 may include any combination of storage memory media as desired by a designer of the system 300 .
  • any of the higher storage tiers 302 and/or the lower storage tiers 306 may include some combination of storage devices and/or storage media.
  • the storage system manager 312 may communicate with the storage media 304 , 308 on the higher storage tier(s) 302 and lower storage tier(s) 306 through a network 310 , such as a storage area network (SAN), as shown in FIG. 3 , or some other suitable network type.
  • the storage system manager 312 may also communicate with one or more host systems (not shown) through a host interface 314 , which may or may not be a part of the storage system manager 312 .
  • the storage system manager 312 and/or any other component of the storage system 300 may be implemented in hardware and/or software, and may make use of a processor (not shown) for executing commands of a type known in the art, such as a central processing unit (CPU), a field programmable gate array (FPGA), an application specific integrated circuit (ASIC), etc.
  • a processor not shown
  • CPU central processing unit
  • FPGA field programmable gate array
  • ASIC application specific integrated circuit
  • the storage system 300 may include any number of data storage tiers, and may include the same or different storage memory media within each storage tier.
  • each data storage tier may include the same type of storage memory media, such as HDDs, SSDs, sequential access media (tape in tape drives, optical disk in optical disk drives, etc.), direct access media (CD-ROM, DVD-ROM, etc.), or any combination of media storage types.
  • a higher storage tier 302 may include a majority of SSD storage media for storing data in a higher performing storage environment, and remaining storage tiers, including lower storage tier 306 and additional storage tiers 316 may include any combination of SSDs, HDDs, tape drives, etc., for storing data in a lower performing storage environment.
  • additional storage tiers 316 may include any combination of SSDs, HDDs, tape drives, etc., for storing data in a lower performing storage environment.
  • more frequently accessed data, data having a higher priority, data needing to be accessed more quickly, etc. may be stored to the higher storage tier 302 , while data not having one of these attributes may be stored to the additional storage tiers 316 , including lower storage tier 306 .
  • one of skill in the art upon reading the present descriptions, may devise many other combinations of storage media types to implement into different storage schemes, according to the embodiments presented herein.
  • the storage system (such as 300 ) may include logic configured to receive a request to open a data set, logic configured to determine if the requested data set is stored to a lower storage tier 306 of a tiered data storage system 300 in multiple associated portions, logic configured to move each associated portion of the requested data set to a higher storage tier 302 of the tiered data storage system 300 , and logic configured to assemble the requested data set on the higher storage tier 302 of the tiered data storage system 300 from the associated portions.
  • this logic may be implemented as a method on any device and/or system or as a computer program product, according to various embodiments.
  • FIG. 4 a flowchart of a method 400 is shown according to one embodiment.
  • the method 400 may be performed in accordance with the present invention in any of the environments depicted in FIGS. 1-3 and 5 , among others, in various embodiments. Of course, more or less operations than those specifically described in FIG. 4 may be included in method 400 , as would be understood by one of skill in the art upon reading the present descriptions.
  • each of the steps of the method 400 may be performed by any suitable component of the operating environment.
  • the method 400 may be partially or entirely performed by one or more servers, computers, or some other device having one or more processors therein.
  • the processor e.g., processing circuit(s), chip(s), and/or module(s) implemented in hardware and/or software, and preferably having at least one hardware component may be utilized in any device to perform one or more steps of the method 400 .
  • Illustrative processors include, but are not limited to, a central processing unit (CPU), an application specific integrated circuit (ASIC), a field programmable gate array (FPGA), etc., combinations thereof, or any other suitable computing device known in the art.
  • method 400 may initiate with operation 402 , where input from a user of a mobile device is requested.
  • the mobile device may include a mobile computing device such as a tablet computer, a mobile telephone, a personal digital assistant (PDA), a laptop computer, etc.
  • the input may be requested utilizing the mobile device.
  • requesting the input may include displaying one or more images to the user utilizing a display of the mobile device of the user (e.g. a screen of the mobile device, etc.).
  • a requested movement of the mobile device may be displayed by the mobile device.
  • the requested movement may include one or more paths (e.g., one or more shapes, letters, patterns) to be replicated by the user using the mobile device.
  • the one or more paths may be two dimensional, three dimensional, etc.
  • requesting the input may include displaying an image or video by the mobile device, where the image or video indicates a requested movement of the mobile device by the user.
  • requesting the input may include outputting one or more audio signals to the user, using the mobile device. For example, one or more audible commands that request a movement of the mobile device may be output via one or more speakers of the mobile device.
  • requesting the user input may include outputting one or more tactile signals to the user, using the mobile device.
  • one or more tactile commands e.g., vibrations, etc.
  • the input may be requested and received by the mobile device when the mobile device is online, when the mobile device is offline (e.g., without access to a server or network, etc.), etc.
  • the input may be requested in response to a request to verify the user of the device.
  • the request to verify the user of the device may include a request to verify a human operator of the device that is made in response to an identification of an attempt to purchase a good or service using the mobile device, an attempt to access data using the mobile device, an attempt to access an application using the mobile device, etc.
  • the identification of the attempt may be made by the mobile device or by another device separate from the mobile device.
  • the request to verify the user of the device may be created by the mobile device or may be received by the mobile device from a device other than the mobile device (e.g., as part of a challenge and response question, etc.).
  • method 400 may proceed with operation 404 , where gyroscope data is received at the mobile device, in response to the requesting.
  • the gyroscope data may include data created utilizing a hardware gyroscope of the mobile device.
  • the gyroscope may include one or more hardware sensors located within the mobile device that measure a rotation of the device around an axis (e.g., an angular rotational velocity, etc.), detect an orientation of the device (e.g., with respect to a predetermined plane, etc.), etc.
  • the gyroscope data may be created in response to one or more movements of the mobile device by the user.
  • the gyroscope data may be created in response to a tilting of the device by the user, a rotating of the device by the user, a three-dimensional manipulation of the device by the user, etc.
  • verifying the gyroscope data may include comparing the gyroscope data to predetermined data.
  • the predetermined data may indicate a desired movement or movements of the mobile device.
  • the results of the comparing may include an accuracy of the gyroscope data (e.g., how accurate the gyroscope data is when compared to the predetermined data, etc.).
  • verification of the gyroscope data may be successful when the gyroscope data has an accuracy that exceeds a predetermined threshold.
  • the verifying of the gyroscope data may be performed by the mobile device.
  • the verifying of the gyroscope data may be performed by a device other than the mobile device.
  • the gyroscope data may be sent to a location other than the mobile device to be compared to the predetermined data.
  • method 400 may proceed with operation 408 , where one or more actions are performed in response to the verifying.
  • the one or more actions may be performed by the mobile device.
  • the one or more actions may include allowing the performance of a requested activity, utilizing the mobile device, when it is determined that the verification is successful. For example, in response to a successful verification, a good or service may be purchased using the device, data or an application may be accessed using the device, etc.
  • the one or more actions may include preventing the performance of the requested activity, utilizing the mobile device, when it is determined that the verification is unsuccessful. For example, in response to an unsuccessful verification, a purchase of a good or service may be prevented using the device, an access of data or an application may be prohibited using the device, etc.
  • the one or more actions may include sending a response from the mobile device to another device, when it is determined that the verification is successful.
  • the one or more actions may include sending a valid response from the mobile device to another device separate from the mobile device as part of a challenge and response sequence with the other device, in response to a successful verification (e.g., as part of a CAPTCHA test, etc.).
  • the one or more actions may include sending a verification failure notice to another device, utilizing the mobile device, when it is determined that the verification is unsuccessful.
  • the one or more actions may include sending an invalid response from the mobile device to another device separate from the mobile device as part of a challenge and response sequence with the other device, in response to a successful verification.
  • the gyroscope of the mobile device may be used to verify the user of the mobile device.
  • FIG. 5 a flowchart of a method 500 for verifying a presence of a human operator of a mobile device is shown according to one embodiment.
  • the method 500 may be performed in accordance with the present invention in any of the environments depicted in FIGS. 1-4 , among others, in various embodiments. Of course, more or less operations than those specifically described in FIG. 5 may be included in method 500 , as would be understood by one of skill in the art upon reading the present descriptions.
  • Each of the steps of the method 500 may be performed by any suitable component of the operating environment.
  • the method 500 may be partially or entirely performed by one or more servers, computers, or some other device having one or more processors therein.
  • the processor e.g., processing circuit(s), chip(s), and/or module(s) implemented in hardware and/or software, and preferably having at least one hardware component may be utilized in any device to perform one or more steps of the method 500 .
  • Illustrative processors include, but are not limited to, a central processing unit (CPU), an application specific integrated circuit (ASIC), a field programmable gate array (FPGA), etc., combinations thereof, or any other suitable computing device known in the art.
  • method 500 may initiate with operation 502 , where a mobile device identifies an attempt to perform a predetermined action utilizing the mobile device.
  • the predetermined action may include viewing data stored within the mobile device, sending data such as an email using the mobile device, purchasing a good or service using the mobile device, accessing predetermined software within the mobile device, accessing a web page utilizing the mobile device, etc.
  • method 500 may proceed with operation 504 , where the mobile device requests a movement of the mobile device by a user of the device.
  • the requested movement may be presented visually, audibly, tactilely, etc.
  • the user may be required to trace out a shape presented on a screen of the mobile device.
  • the requested movement may be presented to the user in response to a determination by the mobile device that the mobile device is in the hands of the user (e.g., by using gyroscopic feedback data created by a gyroscope within the mobile device, etc.).
  • the mobile device may audibly dictate a shape to be drawn by the user using the mobile device (e.g., by explicitly stating the shape, by suggesting the correct motion, etc.).
  • audible dictation may be enabled by the mobile device by reading accessibility settings stored within the mobile device.
  • the requested movement may correspond to a planar shape (e.g., a square, a circle, etc.).
  • the requested movement may correspond to a non-planar, three-dimensional shape (e.g., a sphere, a cube, etc.). In this way, the mobile device may implement a user verification system utilizing little, if any, screen space on the mobile device.
  • method 500 may proceed with operation 506 , where the mobile device receives gyroscopic movement data created by a gyroscope of the mobile device in response to movement of the mobile device by the user.
  • the movement of the mobile device by the user may include a manipulation of the mobile device by the user (e.g., tilting the mobile device, rotating the mobile device, etc.).
  • tactile and/or visual feedback may be provided by the mobile device to assist the movement of the mobile device by the user.
  • an image displayed by the mobile device may trace the requested movement as the user manipulates the mobile device.
  • the mobile device may vibrate when all or a portion of the requested movement is achieved by the movement of the mobile device by the user, then the movement of the mobile device by the user deviates from the requested movement by a predetermined amount, etc.
  • method 500 may proceed with operation 508 , where the mobile device compares the gyroscopic movement data to the requested movement in order to determine an accuracy of the received gyroscopic movement data.
  • method 500 may proceed with operation 510 , where the mobile device allows the predetermined action to be performed utilizing the mobile device, when it is determined that the accuracy of the gyroscopic movement data exceeds a predetermined threshold.
  • the mobile device may determine that verification is successful when the gyroscopic movement data matches the requested movement with a predetermined percentage of accuracy.
  • the mobile device may prevent the predetermined action from being performed utilizing the mobile device, when it is determined that the accuracy of the gyroscopic movement data does not exceed the predetermined threshold.
  • the mobile device may be offline (e.g., not connected to a communications network, etc.) during all or a portion of the aforementioned method.
  • the mobile device may be located in a means of transportation that creates a change in gravity with respect to the mobile device (e.g., an airplane that is currently in flight, etc.) during all or a portion of the aforementioned method.
  • the gyroscope of the mobile device may confirm a human operator of the mobile device with high certainty, while verifying the integrity of the mobile device and minimizing interference with a display of the mobile device.
  • the present invention may be a system, a method, and/or a computer program product.
  • the computer program product may include a computer readable storage medium (or media) having computer readable program instructions thereon for causing a processor to carry out aspects of the present invention.
  • the computer readable storage medium can be a tangible device that can retain and store instructions for use by an instruction execution device.
  • the computer readable storage medium may be, for example, but is not limited to, an electronic storage device, a magnetic storage device, an optical storage device, an electromagnetic storage device, a semiconductor storage device, or any suitable combination of the foregoing.
  • a non-exhaustive list of more specific examples of the computer readable storage medium includes the following: a portable computer diskette, a hard disk, a random access memory (RAM), a read-only memory (ROM), an erasable programmable read-only memory (EPROM or Flash memory), a static random access memory (SRAM), a portable compact disc read-only memory (CD-ROM), a digital versatile disk (DVD), a memory stick, a floppy disk, a mechanically encoded device such as punch-cards or raised structures in a groove having instructions recorded thereon, and any suitable combination of the foregoing.
  • RAM random access memory
  • ROM read-only memory
  • EPROM or Flash memory erasable programmable read-only memory
  • SRAM static random access memory
  • CD-ROM compact disc read-only memory
  • DVD digital versatile disk
  • memory stick a floppy disk
  • a mechanically encoded device such as punch-cards or raised structures in a groove having instructions recorded thereon
  • a computer readable storage medium is not to be construed as being transitory signals per se, such as radio waves or other freely propagating electromagnetic waves, electromagnetic waves propagating through a waveguide or other transmission media (e.g., light pulses passing through a fiber-optic cable), or electrical signals transmitted through a wire.
  • Computer readable program instructions described herein can be downloaded to respective computing/processing devices from a computer readable storage medium or to an external computer or external storage device via a network, for example, the Internet, a local area network, a wide area network and/or a wireless network.
  • the network may comprise copper transmission cables, optical transmission fibers, wireless transmission, routers, firewalls, switches, gateway computers and/or edge servers.
  • a network adapter card or network interface in each computing/processing device receives computer readable program instructions from the network and forwards the computer readable program instructions for storage in a computer readable storage medium within the respective computing/processing device.
  • Computer readable program instructions for carrying out operations of the present invention may be assembler instructions, instruction-set-architecture (ISA) instructions, machine instructions, machine dependent instructions, microcode, firmware instructions, state-setting data, or either source code or object code written in any combination of one or more programming languages, including an object oriented programming language such as Smalltalk, C++ or the like, and conventional procedural programming languages, such as the “C” programming language or similar programming languages.
  • the computer readable program instructions may execute entirely on the user's computer, partly on the user's computer, as a stand-alone software package, partly on the user's computer and partly on a remote computer or entirely on the remote computer or server.
  • the remote computer may be connected to the user's computer through any type of network, including a local area network (LAN) or a wide area network (WAN), or the connection may be made to an external computer (for example, through the Internet using an Internet Service Provider).
  • electronic circuitry including, for example, programmable logic circuitry, field-programmable gate arrays (FPGA), or programmable logic arrays (PLA) may execute the computer readable program instructions by utilizing state information of the computer readable program instructions to personalize the electronic circuitry, in order to perform aspects of the present invention.
  • These computer readable program instructions may be provided to a processor of a general purpose computer, special purpose computer, or other programmable data processing apparatus to produce a machine, such that the instructions, which execute via the processor of the computer or other programmable data processing apparatus, create means for implementing the functions/acts specified in the flowchart and/or block diagram block or blocks.
  • These computer readable program instructions may also be stored in a computer readable storage medium that can direct a computer, a programmable data processing apparatus, and/or other devices to function in a particular manner, such that the computer readable storage medium having instructions stored therein includes an article of manufacture including instructions which implement aspects of the function/act specified in the flowchart and/or block diagram block or blocks.
  • the computer readable program instructions may also be loaded onto a computer, other programmable data processing apparatus, or other device to cause a series of operational steps to be performed on the computer, other programmable apparatus or other device to produce a computer implemented process, such that the instructions which execute on the computer, other programmable apparatus, or other device implement the functions/acts specified in the flowchart and/or block diagram block or blocks.
  • each block in the flowchart or block diagrams may represent a module, segment, or portion of instructions, which includes one or more executable instructions for implementing the specified logical function(s).
  • the functions noted in the block may occur out of the order noted in the figures.
  • two blocks shown in succession may, in fact, be executed substantially concurrently, or the blocks may sometimes be executed in the reverse order, depending upon the functionality involved.
  • a system may include a processor and logic integrated with and/or executable by the processor, the logic being configured to perform one or more of the process steps recited herein.
  • the processor has logic embedded therewith as hardware logic, such as an application specific integrated circuit (ASIC), a FPGA, etc.
  • ASIC application specific integrated circuit
  • FPGA field-programmable gate array
  • executable by the processor what is meant is that the logic is hardware logic; software logic such as firmware, part of an operating system, part of an application program; etc., or some combination of hardware and software logic that is accessible by the processor and configured to cause the processor to perform some functionality upon execution by the processor.
  • Software logic may be stored on local and/or remote memory of any memory type, as known in the art. Any processor known in the art may be used, such as a software processor module and/or a hardware processor such as an ASIC, a FPGA, a central processing unit (CPU), an integrated circuit (IC), a graphics processing unit (GPU), etc.
  • embodiments of the present invention may be provided in the form of a service deployed on behalf of a customer to offer service on demand.

Landscapes

  • Engineering & Computer Science (AREA)
  • Theoretical Computer Science (AREA)
  • General Engineering & Computer Science (AREA)
  • Computer Hardware Design (AREA)
  • Computer Security & Cryptography (AREA)
  • Signal Processing (AREA)
  • Computer Networks & Wireless Communication (AREA)
  • Physics & Mathematics (AREA)
  • General Physics & Mathematics (AREA)
  • Human Computer Interaction (AREA)
  • Software Systems (AREA)
  • Computing Systems (AREA)
  • User Interface Of Digital Computer (AREA)

Abstract

A computer-implemented method according to one embodiment includes requesting input from a user of a mobile device, receiving gyroscope data at the mobile device, in response to the requesting, verifying the gyroscope data, and performing one or more actions, in response to the verifying.

Description

    BACKGROUND
  • The present invention relates to user verification, and more specifically, this invention relates to verifying a user utilizing gyroscopic movement of a device.
  • The ability to verify a presence of a human operator of a device is of high importance. For example, many services may desire a confirmation that received input comes from a human operator and not a machine. However, current methods for differentiating between human and machine input are intrusive, cumbersome, and fail to integrate deeply with a native operating system (OS) of a device. Current verification methods also are easily solved via advanced image processing algorithms and other means.
  • SUMMARY
  • A computer-implemented method according to one embodiment includes requesting input from a user of a mobile device, receiving gyroscope data at the mobile device, in response to the requesting, verifying the gyroscope data, and performing one or more actions, in response to the verifying.
  • According to another embodiment, a computer program product for verifying a user of a mobile device comprises a computer readable storage medium having program instructions embodied therewith, wherein the computer readable storage medium is not a transitory signal per se, and where the program instructions are executable by a processor to cause the processor to perform a method comprising requesting input from the user of the mobile device, utilizing the processor, receiving, utilizing the processor, gyroscope data at the mobile device, in response to the requesting, verifying the gyroscope data, utilizing the processor, and performing, utilizing the processor, one or more actions, in response to the verifying.
  • A system according to another embodiment includes a processor and logic integrated with and/or executable by the processor, where the logic is configured to request input from a user of a mobile device, receive gyroscope data at the mobile device, in response to the request, verify the gyroscope data, and perform one or more actions, in response to the verification.
  • Other aspects and embodiments of the present invention will become apparent from the following detailed description, which, when taken in conjunction with the drawings, illustrate by way of example the principles of the invention.
  • BRIEF DESCRIPTION OF THE DRAWINGS
  • FIG. 1 illustrates a network architecture, in accordance with one embodiment.
  • FIG. 2 shows a representative hardware environment that may be associated with the servers and/or clients of FIG. 1, in accordance with one embodiment.
  • FIG. 3 illustrates a tiered data storage system in accordance with one embodiment.
  • FIG. 4 illustrates a method for verifying a user utilizing gyroscopic movement, in accordance with one embodiment.
  • FIG. 5 illustrates a method for verifying a presence of a human operator of a mobile device, in accordance with one embodiment.
  • DETAILED DESCRIPTION
  • The following description discloses several preferred embodiments of systems, methods and computer program products for verifying a user utilizing gyroscopic movement. Various embodiments provide a method to create and utilize a profile to assist in providing accurate recommendations to a user.
  • The following description is made for the purpose of illustrating the general principles of the present invention and is not meant to limit the inventive concepts claimed herein. Further, particular features described herein can be used in combination with other described features in each of the various possible combinations and permutations.
  • Unless otherwise specifically defined herein, all terms are to be given their broadest possible interpretation including meanings implied from the specification as well as meanings understood by those skilled in the art and/or as defined in dictionaries, treatises, etc.
  • It must also be noted that, as used in the specification and the appended claims, the singular forms “a,” “an” and “the” include plural referents unless otherwise specified. It will be further understood that the terms “includes” and/or “comprising,” when used in this specification, specify the presence of stated features, integers, steps, operations, elements, and/or components, but do not preclude the presence or addition of one or more other features, integers, steps, operations, elements, components, and/or groups thereof.
  • The following description discloses several preferred embodiments of systems, methods and computer program products for verifying a user utilizing gyroscopic movement.
  • In one general embodiment, a computer-implemented method includes requesting input from a user of a mobile device, receiving gyroscope data at the mobile device, in response to the requesting, verifying the gyroscope data, and performing one or more actions, in response to the verifying.
  • In another general embodiment, a computer program product for verifying a user of a mobile device comprises a computer readable storage medium having program instructions embodied therewith, wherein the computer readable storage medium is not a transitory signal per se, and where the program instructions are executable by a processor to cause the processor to perform a method comprising requesting input from the user of the mobile device, utilizing the processor, receiving, utilizing the processor, gyroscope data at the mobile device, in response to the requesting, verifying the gyroscope data, utilizing the processor, and performing, utilizing the processor, one or more actions, in response to the verifying.
  • In another general embodiment, a system includes a processor and logic integrated with and/or executable by the processor, where the logic is configured to request input from a user of a mobile device, receive gyroscope data at the mobile device, in response to the request, verify the gyroscope data, and perform one or more actions, in response to the verification.
  • FIG. 1 illustrates an architecture 100, in accordance with one embodiment. As shown in FIG. 1, a plurality of remote networks 102 are provided including a first remote network 104 and a second remote network 106. A gateway 101 may be coupled between the remote networks 102 and a proximate network 108. In the context of the present architecture 100, the networks 104, 106 may each take any form including, but not limited to a LAN, a WAN such as the Internet, public switched telephone network (PSTN), internal telephone network, etc.
  • In use, the gateway 101 serves as an entrance point from the remote networks 102 to the proximate network 108. As such, the gateway 101 may function as a router, which is capable of directing a given packet of data that arrives at the gateway 101, and a switch, which furnishes the actual path in and out of the gateway 101 for a given packet.
  • Further included is at least one data server 114 coupled to the proximate network 108, and which is accessible from the remote networks 102 via the gateway 101. It should be noted that the data server(s) 114 may include any type of computing device/groupware. Coupled to each data server 114 is a plurality of user devices 116. User devices 116 may also be connected directly through one of the networks 104, 106, 108. Such user devices 116 may include a desktop computer, lap-top computer, hand-held computer, printer or any other type of logic. It should be noted that a user device 111 may also be directly coupled to any of the networks, in one embodiment.
  • A peripheral 120 or series of peripherals 120, e.g., facsimile machines, printers, networked and/or local storage units or systems, etc., may be coupled to one or more of the networks 104, 106, 108. It should be noted that databases and/or additional components may be utilized with, or integrated into, any type of network element coupled to the networks 104, 106, 108. In the context of the present description, a network element may refer to any component of a network.
  • According to some approaches, methods and systems described herein may be implemented with and/or on virtual systems and/or systems which emulate one or more other systems, such as a UNIX system which emulates an IBM z/OS environment, a UNIX system which virtually hosts a MICROSOFT WINDOWS environment, a MICROSOFT WINDOWS system which emulates an IBM z/OS environment, etc. This virtualization and/or emulation may be enhanced through the use of VMWARE software, in some embodiments.
  • In more approaches, one or more networks 104, 106, 108, may represent a cluster of systems commonly referred to as a “cloud.” In cloud computing, shared resources, such as processing power, peripherals, software, data, servers, etc., are provided to any system in the cloud in an on-demand relationship, thereby allowing access and distribution of services across many computing systems. Cloud computing typically involves an Internet connection between the systems operating in the cloud, but other techniques of connecting the systems may also be used.
  • FIG. 2 shows a representative hardware environment associated with a user device 116 and/or server 114 of FIG. 1, in accordance with one embodiment. Such figure illustrates a typical hardware configuration of a workstation having a central processing unit 210, such as a microprocessor, and a number of other units interconnected via a system bus 212.
  • The workstation shown in FIG. 2 includes a Random Access Memory (RAM) 214, Read Only Memory (ROM) 216, an I/O adapter 218 for connecting peripheral devices such as disk storage units 220 to the bus 212, a user interface adapter 222 for connecting a keyboard 224, a mouse 226, a speaker 228, a microphone 232, and/or other user interface devices such as a touch screen and a digital camera (not shown) to the bus 212, communication adapter 234 for connecting the workstation to a communication network 235 (e.g., a data processing network) and a display adapter 236 for connecting the bus 212 to a display device 238.
  • The workstation may have resident thereon an operating system such as the Microsoft Windows® Operating System (OS), a MAC OS, a UNIX OS, etc. It will be appreciated that a preferred embodiment may also be implemented on platforms and operating systems other than those mentioned. A preferred embodiment may be written using XML, C, and/or C++ language, or other programming languages, along with an object oriented programming methodology. Object oriented programming (OOP), which has become increasingly used to develop complex applications, may be used.
  • Now referring to FIG. 3, a storage system 300 is shown according to one embodiment. Note that some of the elements shown in FIG. 3 may be implemented as hardware and/or software, according to various embodiments. The storage system 300 may include a storage system manager 312 for communicating with a plurality of media on at least one higher storage tier 302 and at least one lower storage tier 306. The higher storage tier(s) 302 preferably may include one or more random access and/or direct access media 304, such as hard disks in hard disk drives (HDDs), nonvolatile memory (NVM), solid state memory in solid state drives (SSDs), flash memory, SSD arrays, flash memory arrays, etc., and/or others noted herein or known in the art. The lower storage tier(s) 306 may preferably include one or more lower performing storage media 308, including sequential access media such as magnetic tape in tape drives and/or optical media, slower accessing HDDs, slower accessing SSDs, etc., and/or others noted herein or known in the art. One or more additional storage tiers 316 may include any combination of storage memory media as desired by a designer of the system 300. Also, any of the higher storage tiers 302 and/or the lower storage tiers 306 may include some combination of storage devices and/or storage media.
  • The storage system manager 312 may communicate with the storage media 304, 308 on the higher storage tier(s) 302 and lower storage tier(s) 306 through a network 310, such as a storage area network (SAN), as shown in FIG. 3, or some other suitable network type. The storage system manager 312 may also communicate with one or more host systems (not shown) through a host interface 314, which may or may not be a part of the storage system manager 312. The storage system manager 312 and/or any other component of the storage system 300 may be implemented in hardware and/or software, and may make use of a processor (not shown) for executing commands of a type known in the art, such as a central processing unit (CPU), a field programmable gate array (FPGA), an application specific integrated circuit (ASIC), etc. Of course, any arrangement of a storage system may be used, as will be apparent to those of skill in the art upon reading the present description.
  • In more embodiments, the storage system 300 may include any number of data storage tiers, and may include the same or different storage memory media within each storage tier. For example, each data storage tier may include the same type of storage memory media, such as HDDs, SSDs, sequential access media (tape in tape drives, optical disk in optical disk drives, etc.), direct access media (CD-ROM, DVD-ROM, etc.), or any combination of media storage types. In one such configuration, a higher storage tier 302, may include a majority of SSD storage media for storing data in a higher performing storage environment, and remaining storage tiers, including lower storage tier 306 and additional storage tiers 316 may include any combination of SSDs, HDDs, tape drives, etc., for storing data in a lower performing storage environment. In this way, more frequently accessed data, data having a higher priority, data needing to be accessed more quickly, etc., may be stored to the higher storage tier 302, while data not having one of these attributes may be stored to the additional storage tiers 316, including lower storage tier 306. Of course, one of skill in the art, upon reading the present descriptions, may devise many other combinations of storage media types to implement into different storage schemes, according to the embodiments presented herein.
  • According to some embodiments, the storage system (such as 300) may include logic configured to receive a request to open a data set, logic configured to determine if the requested data set is stored to a lower storage tier 306 of a tiered data storage system 300 in multiple associated portions, logic configured to move each associated portion of the requested data set to a higher storage tier 302 of the tiered data storage system 300, and logic configured to assemble the requested data set on the higher storage tier 302 of the tiered data storage system 300 from the associated portions.
  • Of course, this logic may be implemented as a method on any device and/or system or as a computer program product, according to various embodiments.
  • Now referring to FIG. 4, a flowchart of a method 400 is shown according to one embodiment. The method 400 may be performed in accordance with the present invention in any of the environments depicted in FIGS. 1-3 and 5, among others, in various embodiments. Of course, more or less operations than those specifically described in FIG. 4 may be included in method 400, as would be understood by one of skill in the art upon reading the present descriptions.
  • Each of the steps of the method 400 may be performed by any suitable component of the operating environment. For example, in various embodiments, the method 400 may be partially or entirely performed by one or more servers, computers, or some other device having one or more processors therein. The processor, e.g., processing circuit(s), chip(s), and/or module(s) implemented in hardware and/or software, and preferably having at least one hardware component may be utilized in any device to perform one or more steps of the method 400. Illustrative processors include, but are not limited to, a central processing unit (CPU), an application specific integrated circuit (ASIC), a field programmable gate array (FPGA), etc., combinations thereof, or any other suitable computing device known in the art.
  • As shown in FIG. 4, method 400 may initiate with operation 402, where input from a user of a mobile device is requested. In one embodiment, the mobile device may include a mobile computing device such as a tablet computer, a mobile telephone, a personal digital assistant (PDA), a laptop computer, etc. In another embodiment, the input may be requested utilizing the mobile device.
  • Additionally, in one embodiment, requesting the input may include displaying one or more images to the user utilizing a display of the mobile device of the user (e.g. a screen of the mobile device, etc.). For example, a requested movement of the mobile device may be displayed by the mobile device. For instance, the requested movement may include one or more paths (e.g., one or more shapes, letters, patterns) to be replicated by the user using the mobile device. In another embodiment, the one or more paths may be two dimensional, three dimensional, etc.
  • Further, in one embodiment, requesting the input may include displaying an image or video by the mobile device, where the image or video indicates a requested movement of the mobile device by the user. In another embodiment, requesting the input may include outputting one or more audio signals to the user, using the mobile device. For example, one or more audible commands that request a movement of the mobile device may be output via one or more speakers of the mobile device.
  • Further still, in one embodiment, requesting the user input may include outputting one or more tactile signals to the user, using the mobile device. For example, one or more tactile commands (e.g., vibrations, etc.) may be output via one or more motors of the mobile device, one or more servos of the mobile device, etc. In another embodiment, the input may be requested and received by the mobile device when the mobile device is online, when the mobile device is offline (e.g., without access to a server or network, etc.), etc.
  • Also, in one embodiment, the input may be requested in response to a request to verify the user of the device. For example, the request to verify the user of the device may include a request to verify a human operator of the device that is made in response to an identification of an attempt to purchase a good or service using the mobile device, an attempt to access data using the mobile device, an attempt to access an application using the mobile device, etc. In one embodiment, the identification of the attempt may be made by the mobile device or by another device separate from the mobile device. In another example, the request to verify the user of the device may be created by the mobile device or may be received by the mobile device from a device other than the mobile device (e.g., as part of a challenge and response question, etc.).
  • In addition, as shown in FIG. 4, method 400 may proceed with operation 404, where gyroscope data is received at the mobile device, in response to the requesting. In one embodiment, the gyroscope data may include data created utilizing a hardware gyroscope of the mobile device. For example, the gyroscope may include one or more hardware sensors located within the mobile device that measure a rotation of the device around an axis (e.g., an angular rotational velocity, etc.), detect an orientation of the device (e.g., with respect to a predetermined plane, etc.), etc.
  • Furthermore, in one embodiment, the gyroscope data may be created in response to one or more movements of the mobile device by the user. For example, the gyroscope data may be created in response to a tilting of the device by the user, a rotating of the device by the user, a three-dimensional manipulation of the device by the user, etc.
  • Further still, as shown in FIG. 4, method 400 may proceed with operation 406, where the gyroscope data is verified. In one embodiment, verifying the gyroscope data may include comparing the gyroscope data to predetermined data. For example, the predetermined data may indicate a desired movement or movements of the mobile device. In another embodiment, the results of the comparing may include an accuracy of the gyroscope data (e.g., how accurate the gyroscope data is when compared to the predetermined data, etc.). In yet another embodiment, verification of the gyroscope data may be successful when the gyroscope data has an accuracy that exceeds a predetermined threshold.
  • Also, in one embodiment, the verifying of the gyroscope data may be performed by the mobile device. In another embodiment, the verifying of the gyroscope data may be performed by a device other than the mobile device. For example, the gyroscope data may be sent to a location other than the mobile device to be compared to the predetermined data.
  • Additionally, as shown in FIG. 4, method 400 may proceed with operation 408, where one or more actions are performed in response to the verifying. In one embodiment, the one or more actions may be performed by the mobile device. In another embodiment, the one or more actions may include allowing the performance of a requested activity, utilizing the mobile device, when it is determined that the verification is successful. For example, in response to a successful verification, a good or service may be purchased using the device, data or an application may be accessed using the device, etc.
  • In yet another embodiment, the one or more actions may include preventing the performance of the requested activity, utilizing the mobile device, when it is determined that the verification is unsuccessful. For example, in response to an unsuccessful verification, a purchase of a good or service may be prevented using the device, an access of data or an application may be prohibited using the device, etc.
  • Further, in one embodiment, the one or more actions may include sending a response from the mobile device to another device, when it is determined that the verification is successful. For example, the one or more actions may include sending a valid response from the mobile device to another device separate from the mobile device as part of a challenge and response sequence with the other device, in response to a successful verification (e.g., as part of a CAPTCHA test, etc.). In another embodiment, the one or more actions may include sending a verification failure notice to another device, utilizing the mobile device, when it is determined that the verification is unsuccessful. For example, the one or more actions may include sending an invalid response from the mobile device to another device separate from the mobile device as part of a challenge and response sequence with the other device, in response to a successful verification.
  • In this way, the gyroscope of the mobile device may be used to verify the user of the mobile device.
  • Now referring to FIG. 5, a flowchart of a method 500 for verifying a presence of a human operator of a mobile device is shown according to one embodiment. The method 500 may be performed in accordance with the present invention in any of the environments depicted in FIGS. 1-4, among others, in various embodiments. Of course, more or less operations than those specifically described in FIG. 5 may be included in method 500, as would be understood by one of skill in the art upon reading the present descriptions.
  • Each of the steps of the method 500 may be performed by any suitable component of the operating environment. For example, in various embodiments, the method 500 may be partially or entirely performed by one or more servers, computers, or some other device having one or more processors therein. The processor, e.g., processing circuit(s), chip(s), and/or module(s) implemented in hardware and/or software, and preferably having at least one hardware component may be utilized in any device to perform one or more steps of the method 500. Illustrative processors include, but are not limited to, a central processing unit (CPU), an application specific integrated circuit (ASIC), a field programmable gate array (FPGA), etc., combinations thereof, or any other suitable computing device known in the art.
  • As shown in FIG. 5, method 500 may initiate with operation 502, where a mobile device identifies an attempt to perform a predetermined action utilizing the mobile device. In one embodiment, the predetermined action may include viewing data stored within the mobile device, sending data such as an email using the mobile device, purchasing a good or service using the mobile device, accessing predetermined software within the mobile device, accessing a web page utilizing the mobile device, etc.
  • Additionally, method 500 may proceed with operation 504, where the mobile device requests a movement of the mobile device by a user of the device. In one embodiment, the requested movement may be presented visually, audibly, tactilely, etc. For example, the user may be required to trace out a shape presented on a screen of the mobile device. In another embodiment, the requested movement may be presented to the user in response to a determination by the mobile device that the mobile device is in the hands of the user (e.g., by using gyroscopic feedback data created by a gyroscope within the mobile device, etc.).
  • Further, in one embodiment, the mobile device may audibly dictate a shape to be drawn by the user using the mobile device (e.g., by explicitly stating the shape, by suggesting the correct motion, etc.). In another embodiment, audible dictation may be enabled by the mobile device by reading accessibility settings stored within the mobile device. In yet another embodiment, the requested movement may correspond to a planar shape (e.g., a square, a circle, etc.). In still another embodiment, the requested movement may correspond to a non-planar, three-dimensional shape (e.g., a sphere, a cube, etc.). In this way, the mobile device may implement a user verification system utilizing little, if any, screen space on the mobile device.
  • Further still, method 500 may proceed with operation 506, where the mobile device receives gyroscopic movement data created by a gyroscope of the mobile device in response to movement of the mobile device by the user. In one embodiment, the movement of the mobile device by the user may include a manipulation of the mobile device by the user (e.g., tilting the mobile device, rotating the mobile device, etc.). In another embodiment, tactile and/or visual feedback may be provided by the mobile device to assist the movement of the mobile device by the user. For example, an image displayed by the mobile device may trace the requested movement as the user manipulates the mobile device. In another example, the mobile device may vibrate when all or a portion of the requested movement is achieved by the movement of the mobile device by the user, then the movement of the mobile device by the user deviates from the requested movement by a predetermined amount, etc.
  • Also, method 500 may proceed with operation 508, where the mobile device compares the gyroscopic movement data to the requested movement in order to determine an accuracy of the received gyroscopic movement data.
  • In addition, method 500 may proceed with operation 510, where the mobile device allows the predetermined action to be performed utilizing the mobile device, when it is determined that the accuracy of the gyroscopic movement data exceeds a predetermined threshold. In one embodiment, the mobile device may determine that verification is successful when the gyroscopic movement data matches the requested movement with a predetermined percentage of accuracy.
  • Furthermore, in one embodiment, the mobile device may prevent the predetermined action from being performed utilizing the mobile device, when it is determined that the accuracy of the gyroscopic movement data does not exceed the predetermined threshold. In another embodiment, the mobile device may be offline (e.g., not connected to a communications network, etc.) during all or a portion of the aforementioned method. In yet another embodiment, the mobile device may be located in a means of transportation that creates a change in gravity with respect to the mobile device (e.g., an airplane that is currently in flight, etc.) during all or a portion of the aforementioned method.
  • In this way, the gyroscope of the mobile device may confirm a human operator of the mobile device with high certainty, while verifying the integrity of the mobile device and minimizing interference with a display of the mobile device.
  • The present invention may be a system, a method, and/or a computer program product. The computer program product may include a computer readable storage medium (or media) having computer readable program instructions thereon for causing a processor to carry out aspects of the present invention.
  • The computer readable storage medium can be a tangible device that can retain and store instructions for use by an instruction execution device. The computer readable storage medium may be, for example, but is not limited to, an electronic storage device, a magnetic storage device, an optical storage device, an electromagnetic storage device, a semiconductor storage device, or any suitable combination of the foregoing. A non-exhaustive list of more specific examples of the computer readable storage medium includes the following: a portable computer diskette, a hard disk, a random access memory (RAM), a read-only memory (ROM), an erasable programmable read-only memory (EPROM or Flash memory), a static random access memory (SRAM), a portable compact disc read-only memory (CD-ROM), a digital versatile disk (DVD), a memory stick, a floppy disk, a mechanically encoded device such as punch-cards or raised structures in a groove having instructions recorded thereon, and any suitable combination of the foregoing. A computer readable storage medium, as used herein, is not to be construed as being transitory signals per se, such as radio waves or other freely propagating electromagnetic waves, electromagnetic waves propagating through a waveguide or other transmission media (e.g., light pulses passing through a fiber-optic cable), or electrical signals transmitted through a wire.
  • Computer readable program instructions described herein can be downloaded to respective computing/processing devices from a computer readable storage medium or to an external computer or external storage device via a network, for example, the Internet, a local area network, a wide area network and/or a wireless network. The network may comprise copper transmission cables, optical transmission fibers, wireless transmission, routers, firewalls, switches, gateway computers and/or edge servers. A network adapter card or network interface in each computing/processing device receives computer readable program instructions from the network and forwards the computer readable program instructions for storage in a computer readable storage medium within the respective computing/processing device.
  • Computer readable program instructions for carrying out operations of the present invention may be assembler instructions, instruction-set-architecture (ISA) instructions, machine instructions, machine dependent instructions, microcode, firmware instructions, state-setting data, or either source code or object code written in any combination of one or more programming languages, including an object oriented programming language such as Smalltalk, C++ or the like, and conventional procedural programming languages, such as the “C” programming language or similar programming languages. The computer readable program instructions may execute entirely on the user's computer, partly on the user's computer, as a stand-alone software package, partly on the user's computer and partly on a remote computer or entirely on the remote computer or server. In the latter scenario, the remote computer may be connected to the user's computer through any type of network, including a local area network (LAN) or a wide area network (WAN), or the connection may be made to an external computer (for example, through the Internet using an Internet Service Provider). In some embodiments, electronic circuitry including, for example, programmable logic circuitry, field-programmable gate arrays (FPGA), or programmable logic arrays (PLA) may execute the computer readable program instructions by utilizing state information of the computer readable program instructions to personalize the electronic circuitry, in order to perform aspects of the present invention.
  • Aspects of the present invention are described herein with reference to flowchart illustrations and/or block diagrams of methods, apparatus (systems), and computer program products according to embodiments of the invention. It will be understood that each block of the flowchart illustrations and/or block diagrams, and combinations of blocks in the flowchart illustrations and/or block diagrams, can be implemented by computer readable program instructions.
  • These computer readable program instructions may be provided to a processor of a general purpose computer, special purpose computer, or other programmable data processing apparatus to produce a machine, such that the instructions, which execute via the processor of the computer or other programmable data processing apparatus, create means for implementing the functions/acts specified in the flowchart and/or block diagram block or blocks. These computer readable program instructions may also be stored in a computer readable storage medium that can direct a computer, a programmable data processing apparatus, and/or other devices to function in a particular manner, such that the computer readable storage medium having instructions stored therein includes an article of manufacture including instructions which implement aspects of the function/act specified in the flowchart and/or block diagram block or blocks.
  • The computer readable program instructions may also be loaded onto a computer, other programmable data processing apparatus, or other device to cause a series of operational steps to be performed on the computer, other programmable apparatus or other device to produce a computer implemented process, such that the instructions which execute on the computer, other programmable apparatus, or other device implement the functions/acts specified in the flowchart and/or block diagram block or blocks.
  • The flowchart and block diagrams in the Figures illustrate the architecture, functionality, and operation of possible implementations of systems, methods, and computer program products according to various embodiments of the present invention. In this regard, each block in the flowchart or block diagrams may represent a module, segment, or portion of instructions, which includes one or more executable instructions for implementing the specified logical function(s). In some alternative implementations, the functions noted in the block may occur out of the order noted in the figures. For example, two blocks shown in succession may, in fact, be executed substantially concurrently, or the blocks may sometimes be executed in the reverse order, depending upon the functionality involved. It will also be noted that each block of the block diagrams and/or flowchart illustration, and combinations of blocks in the block diagrams and/or flowchart illustration, can be implemented by special purpose hardware-based systems that perform the specified functions or acts or carry out combinations of special purpose hardware and computer instructions.
  • Moreover, a system according to various embodiments may include a processor and logic integrated with and/or executable by the processor, the logic being configured to perform one or more of the process steps recited herein. By integrated with, what is meant is that the processor has logic embedded therewith as hardware logic, such as an application specific integrated circuit (ASIC), a FPGA, etc. By executable by the processor, what is meant is that the logic is hardware logic; software logic such as firmware, part of an operating system, part of an application program; etc., or some combination of hardware and software logic that is accessible by the processor and configured to cause the processor to perform some functionality upon execution by the processor. Software logic may be stored on local and/or remote memory of any memory type, as known in the art. Any processor known in the art may be used, such as a software processor module and/or a hardware processor such as an ASIC, a FPGA, a central processing unit (CPU), an integrated circuit (IC), a graphics processing unit (GPU), etc.
  • It will be clear that the various features of the foregoing systems and/or methodologies may be combined in any way, creating a plurality of combinations from the descriptions presented above.
  • It will be further appreciated that embodiments of the present invention may be provided in the form of a service deployed on behalf of a customer to offer service on demand.
  • While various embodiments have been described above, it should be understood that they have been presented by way of example only, and not limitation. Thus, the breadth and scope of a preferred embodiment should not be limited by any of the above-described exemplary embodiments, but should be defined only in accordance with the following claims and their equivalents.

Claims (20)

1. A computer-implemented method, comprising:
attempting to access a web page, utilizing a mobile device;
receiving, via a network from a device other than the mobile device, a request to verify a user of the mobile device in response to the attempting, where the request is included within a CAPTCHA challenge and response sequence between the mobile device and the device other than the mobile device;
requesting, based on the request to verify the user of the mobile device, input from the user of the mobile device while the mobile device is disconnected from the network, the requesting including audibly stating a three-dimensional shape to be drawn by the user using the mobile device;
receiving gyroscope data at the mobile device while the mobile device is disconnected from the network, in response to the requesting, the gyroscope data indicating a three-dimensional movement of the mobile device by the user;
verifying the gyroscope data; and
performing one or more actions, in response to the verifying, the one or more actions including sending, via the network, a valid response to the device other than the mobile device as part of the CAPTCHA challenge and response sequence.
2. The computer-implemented method of claim 1, wherein requesting the input further includes displaying one or more images to the user utilizing a display of the mobile device, and requesting a three-dimensional path to be replicated by the user using the mobile device.
3. The computer-implemented method of claim 1, further comprising providing tactile feedback to the user of the mobile device to assist the three-dimensional movement of the mobile device by the user, the tactile feedback including a vibration of the mobile device in response to determining that the three-dimensional movement of the mobile device deviates by a predetermined amount from the input requested from the user.
4. The computer-implemented method of claim 1, wherein requesting the input from the user of the mobile device, receiving the gyroscope data at the mobile device, and verifying the gyroscope data are performed while the mobile device is located in a means of transportation that creates a change in gravity with respect to the mobile device.
5. The computer-implemented method of claim 1, wherein the gyroscope data includes data created utilizing a hardware gyroscope of the mobile device, including an angular rotational velocity and an orientation of the device with respect to a predetermined plane.
6. The computer-implemented method of claim 1, further comprising determining that the mobile device is being held by the user, utilizing gyroscopic feedback data, and requesting the input from the user of the mobile device in response to determining that the mobile device is being held by the user.
7. The computer-implemented method of claim 1, wherein verifying the gyroscope data includes comparing the gyroscope data to predetermined data indicating a desired movement or movements of the mobile device.
8. The computer-implemented method of claim 1, wherein the verifying of the gyroscope data is successful when the gyroscope data has an accuracy that exceeds a predetermined threshold.
9. (canceled)
10. The computer-implemented method of claim 1, wherein the one or more actions include preventing the performance of a requested activity, including preventing the access of the web page utilizing the mobile device, when it is determined that the verifying is unsuccessful.
11. A computer program product for verifying a user of a mobile device, the computer program product comprising a computer readable storage medium having program instructions embodied therewith, wherein the computer readable storage medium is not a transitory signal per se, the program instructions executable by a processor to cause the processor to perform a method comprising:
attempting to access a web page, utilizing the mobile device;
receiving, via a network from a device other than the mobile device a request to verify the user of the mobile device in response to the attempting, utilizing the processor, where the request is included within a CAPTCHA challenge and response sequence between the mobile device and the device other than the mobile device;
requesting, based on the request to verify the user of the mobile device, input from the user of the mobile device while the mobile device is disconnected from the network, the requesting including audibly stating a three-dimensional shape to be drawn by the user using the mobile device, utilizing the processor;
receiving, utilizing the processor, gyroscope data at the mobile device while the mobile device is disconnected from the network, in response to the requesting, the gyroscope data indicating a three-dimensional movement of the mobile device by the user;
verifying the gyroscope data, utilizing the processor; and
performing, utilizing the processor, one or more actions, in response to the verifying, the one or more actions including sending, via the network, a valid response to the device other than the mobile device as part of the CAPTCHA challenge and response sequence.
12. The computer program product of claim 11, wherein requesting the input further includes displaying, utilizing the processor, one or more images to the user utilizing a display of the mobile device.
13. The computer program product of claim 11, further comprising providing, utilizing the processor, tactile feedback to the user of the mobile device to assist the three-dimensional movement of the mobile device by the user, the tactile feedback including a vibration of the mobile device in response to determining that the three-dimensional movement of the mobile device deviates by a predetermined amount from the input requested from the user.
14. The computer program product of claim 11, wherein the mobile device is located in a means of transportation that creates a change in gravity with respect to the mobile device.
15. The computer program product of claim 11, wherein the gyroscope data includes data created utilizing a hardware gyroscope of the mobile device.
16. The computer program product of claim 11, further comprising determining, utilizing the processor, that the mobile device is being held by the user, utilizing gyroscopic feedback data, and requesting the input from the user of the mobile device in response to determining that the mobile device is being held by the user.
17. The computer program product of claim 11, wherein verifying the gyroscope data includes comparing, utilizing the processor, the gyroscope data to predetermined data indicating a desired movement or movements of the mobile device.
18. The computer program product of claim 11, wherein the verifying of the gyroscope data is successful when the gyroscope data has an accuracy that exceeds a predetermined threshold.
19. (canceled)
20. A system, comprising:
a processor; and
logic integrated with the processor, logic executable by the processor, or logic integrated with and executable by the processor, the logic being configured to:
attempt to access a web page, utilizing a mobile device;
receive, via a network from a device other than the mobile device, a request to verify a user of the mobile device in response to the attempt, where the request is included within a CAPTCHA challenge and response sequence between the mobile device and the device other than the mobile device;
request, based on the request to verify the user of the mobile device, input from the user of the mobile device while the mobile device is disconnected from the network, the request including audibly stating a three-dimensional shape to be drawn by the user using the mobile device;
receive gyroscope data at the mobile device while the mobile device is disconnected from the network, in response to the request, the gyroscope data indicating a three-dimensional movement of the mobile device by the user;
verify the gyroscope data; and
perform one or more actions, in response to the verification, the one or more actions including sending, via the network, a valid response to the device other than the mobile device as part of the CAPTCHA challenge and response sequence.
US15/283,093 2016-09-30 2016-09-30 Verifying a user utilizing gyroscopic movement Active US9942768B1 (en)

Priority Applications (1)

Application Number Priority Date Filing Date Title
US15/283,093 US9942768B1 (en) 2016-09-30 2016-09-30 Verifying a user utilizing gyroscopic movement

Applications Claiming Priority (1)

Application Number Priority Date Filing Date Title
US15/283,093 US9942768B1 (en) 2016-09-30 2016-09-30 Verifying a user utilizing gyroscopic movement

Publications (2)

Publication Number Publication Date
US20180098220A1 true US20180098220A1 (en) 2018-04-05
US9942768B1 US9942768B1 (en) 2018-04-10

Family

ID=61757429

Family Applications (1)

Application Number Title Priority Date Filing Date
US15/283,093 Active US9942768B1 (en) 2016-09-30 2016-09-30 Verifying a user utilizing gyroscopic movement

Country Status (1)

Country Link
US (1) US9942768B1 (en)

Cited By (5)

* Cited by examiner, † Cited by third party
Publication number Priority date Publication date Assignee Title
US20190163891A1 (en) * 2013-05-08 2019-05-30 Jpmorgan Chase Bank, N.A. Systems and methods for high fidelity multi-modal out-of-band biometric authentication with human cross-checking
CN112395576A (en) * 2021-01-18 2021-02-23 北京芯盾时代科技有限公司 Verification method and device
US11537694B2 (en) 2020-07-23 2022-12-27 International Business Machines Corporation Motion-based challenge-response authentication mechanism
US20230262066A1 (en) * 2022-02-15 2023-08-17 Bank Of America Corporation System and method for authenticating the receiving end of data transmission via lifi and holochain network
US12381626B2 (en) 2022-02-15 2025-08-05 Bank Of America Corporation System and method for secured data transmission using LiFi and holochain network

Families Citing this family (1)

* Cited by examiner, † Cited by third party
Publication number Priority date Publication date Assignee Title
US11282285B1 (en) 2021-01-08 2022-03-22 International Business Machines Corporation Real-world object location identification using 5G network technology

Citations (21)

* Cited by examiner, † Cited by third party
Publication number Priority date Publication date Assignee Title
US20120007713A1 (en) * 2009-11-09 2012-01-12 Invensense, Inc. Handheld computer systems and techniques for character and command recognition related to human movements
US20130057496A1 (en) * 2011-09-01 2013-03-07 Samsung Electronics Co., Ltd. Mobile terminal for performing screen unlock based on motion and method thereof
US20130179958A1 (en) * 2010-09-28 2013-07-11 Rakuten, Inc. Authentication system, authentication method, authentication device, information terminal, program and information recording medium
US20130314204A1 (en) * 2012-05-25 2013-11-28 Hon Hai Precision Industry Co., Ltd. Portable electronic device and method of unlocking thereof
US20140065960A1 (en) * 2012-08-31 2014-03-06 Pantech Co., Ltd. Device and method for sharing content
US20140187204A1 (en) * 2012-12-27 2014-07-03 Vodafone Holding Gmbh Unlocking a screen of a portable device
US20140204017A1 (en) * 2013-01-21 2014-07-24 Chiun Mai Communication Systems, Inc. Electronic device and method for controlling access to the electronic device
US20140244712A1 (en) * 2013-02-25 2014-08-28 Artificial Solutions Iberia SL System and methods for virtual assistant networks
US20140273987A1 (en) * 2013-03-14 2014-09-18 Google Inc. Challenge Response System to Detect Automated Communications
US20150007289A1 (en) * 2013-06-26 2015-01-01 Yahoo Inc. Motion-based human verification system and method
US20150002423A1 (en) * 2013-06-26 2015-01-01 Hon Hai Precision Industry Co., Ltd. Unlocking device and method for mobile terminal
US20150040209A1 (en) * 2013-07-31 2015-02-05 8318808 Canada Inc. System and method for application specific locking
US20150242601A1 (en) * 2014-02-23 2015-08-27 Qualcomm Incorporated Trust broker authentication method for mobile devices
US20150248551A1 (en) * 2014-03-03 2015-09-03 Kwang-hyuk Bae Method of unlocking an electronic device based on motion recognitions, motion recognition unlocking system, and electronic device including the same
US20150312719A1 (en) * 2014-04-24 2015-10-29 Samsung Electronics Co., Ltd. Method and apparatus for estimating location of electronic device
US20160055328A1 (en) * 2011-05-19 2016-02-25 Microsoft Technology Licensing, Llc Usable security of online password managment with sensor-based authentication
US20160173493A1 (en) * 2014-09-17 2016-06-16 Simless, Inc. Apparatuses, methods and systems for configuring a trusted java card virtual machine using biometric information
US20160180073A1 (en) * 2013-07-26 2016-06-23 Zte Corporation Captcha processing method and device, terminal and server
US20160180083A1 (en) * 2012-04-24 2016-06-23 Behaviosec Method, computer program and system that uses behavioral biometric algorithms
US20160286401A1 (en) * 2015-03-27 2016-09-29 Saginaw Valley State University Motion based unlocking method for electronic devices
US20170098068A1 (en) * 2015-10-06 2017-04-06 Verizon Patent And Licensing Inc. User authentication based on physical movement information

Family Cites Families (5)

* Cited by examiner, † Cited by third party
Publication number Priority date Publication date Assignee Title
US8601538B2 (en) 2006-08-22 2013-12-03 Fuji Xerox Co., Ltd. Motion and interaction based CAPTCHA
US8214891B2 (en) 2008-03-26 2012-07-03 International Business Machines Corporation Using multi-touch gestures to protect sensitive content using a completely automated public turing test to tell computers and humans apart (CAPTCHA)
US8776173B2 (en) 2011-03-24 2014-07-08 AYAH, Inc. Method for generating a human likeness score
US8826382B2 (en) 2012-09-14 2014-09-02 Apple Inc. Antibot mechanisms optimized for mobile computing
WO2014185861A1 (en) 2013-05-14 2014-11-20 National University Of Singapore System and method for authenticating a user

Patent Citations (21)

* Cited by examiner, † Cited by third party
Publication number Priority date Publication date Assignee Title
US20120007713A1 (en) * 2009-11-09 2012-01-12 Invensense, Inc. Handheld computer systems and techniques for character and command recognition related to human movements
US20130179958A1 (en) * 2010-09-28 2013-07-11 Rakuten, Inc. Authentication system, authentication method, authentication device, information terminal, program and information recording medium
US20160055328A1 (en) * 2011-05-19 2016-02-25 Microsoft Technology Licensing, Llc Usable security of online password managment with sensor-based authentication
US20130057496A1 (en) * 2011-09-01 2013-03-07 Samsung Electronics Co., Ltd. Mobile terminal for performing screen unlock based on motion and method thereof
US20160180083A1 (en) * 2012-04-24 2016-06-23 Behaviosec Method, computer program and system that uses behavioral biometric algorithms
US20130314204A1 (en) * 2012-05-25 2013-11-28 Hon Hai Precision Industry Co., Ltd. Portable electronic device and method of unlocking thereof
US20140065960A1 (en) * 2012-08-31 2014-03-06 Pantech Co., Ltd. Device and method for sharing content
US20140187204A1 (en) * 2012-12-27 2014-07-03 Vodafone Holding Gmbh Unlocking a screen of a portable device
US20140204017A1 (en) * 2013-01-21 2014-07-24 Chiun Mai Communication Systems, Inc. Electronic device and method for controlling access to the electronic device
US20140244712A1 (en) * 2013-02-25 2014-08-28 Artificial Solutions Iberia SL System and methods for virtual assistant networks
US20140273987A1 (en) * 2013-03-14 2014-09-18 Google Inc. Challenge Response System to Detect Automated Communications
US20150007289A1 (en) * 2013-06-26 2015-01-01 Yahoo Inc. Motion-based human verification system and method
US20150002423A1 (en) * 2013-06-26 2015-01-01 Hon Hai Precision Industry Co., Ltd. Unlocking device and method for mobile terminal
US20160180073A1 (en) * 2013-07-26 2016-06-23 Zte Corporation Captcha processing method and device, terminal and server
US20150040209A1 (en) * 2013-07-31 2015-02-05 8318808 Canada Inc. System and method for application specific locking
US20150242601A1 (en) * 2014-02-23 2015-08-27 Qualcomm Incorporated Trust broker authentication method for mobile devices
US20150248551A1 (en) * 2014-03-03 2015-09-03 Kwang-hyuk Bae Method of unlocking an electronic device based on motion recognitions, motion recognition unlocking system, and electronic device including the same
US20150312719A1 (en) * 2014-04-24 2015-10-29 Samsung Electronics Co., Ltd. Method and apparatus for estimating location of electronic device
US20160173493A1 (en) * 2014-09-17 2016-06-16 Simless, Inc. Apparatuses, methods and systems for configuring a trusted java card virtual machine using biometric information
US20160286401A1 (en) * 2015-03-27 2016-09-29 Saginaw Valley State University Motion based unlocking method for electronic devices
US20170098068A1 (en) * 2015-10-06 2017-04-06 Verizon Patent And Licensing Inc. User authentication based on physical movement information

Cited By (7)

* Cited by examiner, † Cited by third party
Publication number Priority date Publication date Assignee Title
US20190163891A1 (en) * 2013-05-08 2019-05-30 Jpmorgan Chase Bank, N.A. Systems and methods for high fidelity multi-modal out-of-band biometric authentication with human cross-checking
US10628571B2 (en) * 2013-05-08 2020-04-21 Jpmorgan Chase Bank, N.A. Systems and methods for high fidelity multi-modal out-of-band biometric authentication with human cross-checking
US11537694B2 (en) 2020-07-23 2022-12-27 International Business Machines Corporation Motion-based challenge-response authentication mechanism
CN112395576A (en) * 2021-01-18 2021-02-23 北京芯盾时代科技有限公司 Verification method and device
US20230262066A1 (en) * 2022-02-15 2023-08-17 Bank Of America Corporation System and method for authenticating the receiving end of data transmission via lifi and holochain network
US12052261B2 (en) * 2022-02-15 2024-07-30 Bank Of America Corporation System and method for authenticating the receiving end of data transmission via LiFi and holochain network
US12381626B2 (en) 2022-02-15 2025-08-05 Bank Of America Corporation System and method for secured data transmission using LiFi and holochain network

Also Published As

Publication number Publication date
US9942768B1 (en) 2018-04-10

Similar Documents

Publication Publication Date Title
US9942768B1 (en) Verifying a user utilizing gyroscopic movement
US9930051B1 (en) Remote management of hardware hosts in cloud infrastructure
US20200294293A1 (en) Persistent augmented reality objects
US20220027439A1 (en) Motion-based challenge-response authentication mechanism
US20200356387A1 (en) Dynamic parallelism adjustment
US10032115B2 (en) Estimating file level input/output operations per second (IOPS)
US20200150986A1 (en) Path-sensitive contextual help system
US20170126650A1 (en) Detecting Social Login Security Flaws Using Database Query Features
US20180278482A1 (en) Policy driven network probe for determining internet protocol selection
US11120118B2 (en) Location validation for authentication
US10313214B2 (en) Cross-tenant analysis of similar storage environments to recommend storage policy changes
US9405890B1 (en) Easy login on wearable device and wearable device applications
US20200117472A1 (en) Rack level server boot
WO2023232616A1 (en) Attestation of logic loader code and integrity checking service logic code in a trusted execution environment (tee)
US10248784B2 (en) Sequential object set passwords
US10303380B2 (en) Extent-level reserve and release for a direct access storage device (DASD) volumes
US12506889B2 (en) Codec management at an information handling system
US11204735B2 (en) Receiving audio from a listening device associated with a selected geographic area
US10216439B2 (en) Protecting unallocated data within a storage volume
US20220164023A1 (en) Dynamically switching user input devices
US10740035B1 (en) System and method for controlling management commands at devices
US11188440B2 (en) Monitoring task output within a system
US12407515B2 (en) Codec management at an information handling system
US20200120086A1 (en) Single use passcode authentication
US11061588B2 (en) Using generic volume entries to add specific volumes managed by a storage management subsystem (SMS) to a volume list definition

Legal Events

Date Code Title Description
AS Assignment

Owner name: INTERNATIONAL BUSINESS MACHINES CORPORATION, NEW Y

Free format text: ASSIGNMENT OF ASSIGNORS INTEREST;ASSIGNORS:FRANK, BRANDON Z.;LATONE, JOSEPH A.;SIGNING DATES FROM 20160924 TO 20160927;REEL/FRAME:039925/0847

STCF Information on status: patent grant

Free format text: PATENTED CASE

MAFP Maintenance fee payment

Free format text: PAYMENT OF MAINTENANCE FEE, 4TH YEAR, LARGE ENTITY (ORIGINAL EVENT CODE: M1551); ENTITY STATUS OF PATENT OWNER: LARGE ENTITY

Year of fee payment: 4

MAFP Maintenance fee payment

Free format text: PAYMENT OF MAINTENANCE FEE, 8TH YEAR, LARGE ENTITY (ORIGINAL EVENT CODE: M1552); ENTITY STATUS OF PATENT OWNER: LARGE ENTITY

Year of fee payment: 8