US20120249498A1 - Image display apparatus, image display method, and magnetic resonance imaging apparatus - Google Patents

Image display apparatus, image display method, and magnetic resonance imaging apparatus Download PDF

Info

Publication number
US20120249498A1
US20120249498A1 US13/493,242 US201213493242A US2012249498A1 US 20120249498 A1 US20120249498 A1 US 20120249498A1 US 201213493242 A US201213493242 A US 201213493242A US 2012249498 A1 US2012249498 A1 US 2012249498A1
Authority
US
United States
Prior art keywords
image
display
images
unit
control unit
Prior art date
Legal status (The legal status is an assumption and is not a legal conclusion. Google has not performed a legal analysis and makes no representation as to the accuracy of the status listed.)
Abandoned
Application number
US13/493,242
Inventor
Atsuko Sugiyama
Hitoshi Yamagata
Current Assignee (The listed assignees may be inaccurate. Google has not performed a legal analysis and makes no representation or warranty as to the accuracy of the list.)
Toshiba Corp
Canon Medical Systems Corp
Original Assignee
Toshiba Corp
Toshiba Medical Systems Corp
Priority date (The priority date is an assumption and is not a legal conclusion. Google has not performed a legal analysis and makes no representation as to the accuracy of the date listed.)
Filing date
Publication date
Application filed by Toshiba Corp, Toshiba Medical Systems Corp filed Critical Toshiba Corp
Priority to US13/493,242 priority Critical patent/US20120249498A1/en
Publication of US20120249498A1 publication Critical patent/US20120249498A1/en
Abandoned legal-status Critical Current

Links

Images

Classifications

    • AHUMAN NECESSITIES
    • A61MEDICAL OR VETERINARY SCIENCE; HYGIENE
    • A61BDIAGNOSIS; SURGERY; IDENTIFICATION
    • A61B5/00Measuring for diagnostic purposes; Identification of persons
    • A61B5/05Detecting, measuring or recording for diagnosis by means of electric currents or magnetic fields; Measuring using microwaves or radio waves
    • A61B5/055Detecting, measuring or recording for diagnosis by means of electric currents or magnetic fields; Measuring using microwaves or radio waves involving electronic [EMR] or nuclear [NMR] magnetic resonance, e.g. magnetic resonance imaging
    • AHUMAN NECESSITIES
    • A61MEDICAL OR VETERINARY SCIENCE; HYGIENE
    • A61BDIAGNOSIS; SURGERY; IDENTIFICATION
    • A61B5/00Measuring for diagnostic purposes; Identification of persons
    • A61B5/40Detecting, measuring or recording for evaluating the nervous system
    • A61B5/4058Detecting, measuring or recording for evaluating the nervous system for evaluating the central nervous system
    • A61B5/4064Evaluating the brain
    • AHUMAN NECESSITIES
    • A61MEDICAL OR VETERINARY SCIENCE; HYGIENE
    • A61BDIAGNOSIS; SURGERY; IDENTIFICATION
    • A61B5/00Measuring for diagnostic purposes; Identification of persons
    • A61B5/70Means for positioning the patient in relation to the detecting, measuring or recording means
    • A61B5/704Tables
    • AHUMAN NECESSITIES
    • A61MEDICAL OR VETERINARY SCIENCE; HYGIENE
    • A61BDIAGNOSIS; SURGERY; IDENTIFICATION
    • A61B6/00Apparatus or devices for radiation diagnosis; Apparatus or devices for radiation diagnosis combined with radiation therapy equipment
    • A61B6/02Arrangements for diagnosis sequentially in different planes; Stereoscopic radiation diagnosis
    • A61B6/03Computed tomography [CT]
    • A61B6/032Transmission computed tomography [CT]
    • AHUMAN NECESSITIES
    • A61MEDICAL OR VETERINARY SCIENCE; HYGIENE
    • A61BDIAGNOSIS; SURGERY; IDENTIFICATION
    • A61B6/00Apparatus or devices for radiation diagnosis; Apparatus or devices for radiation diagnosis combined with radiation therapy equipment
    • A61B6/46Arrangements for interfacing with the operator or the patient
    • A61B6/461Displaying means of special interest
    • A61B6/463Displaying means of special interest characterised by displaying multiple images or images and diagnostic data on one display
    • AHUMAN NECESSITIES
    • A61MEDICAL OR VETERINARY SCIENCE; HYGIENE
    • A61BDIAGNOSIS; SURGERY; IDENTIFICATION
    • A61B6/00Apparatus or devices for radiation diagnosis; Apparatus or devices for radiation diagnosis combined with radiation therapy equipment
    • A61B6/46Arrangements for interfacing with the operator or the patient
    • A61B6/467Arrangements for interfacing with the operator or the patient characterised by special input means
    • A61B6/469Arrangements for interfacing with the operator or the patient characterised by special input means for selecting a region of interest [ROI]
    • GPHYSICS
    • G01MEASURING; TESTING
    • G01RMEASURING ELECTRIC VARIABLES; MEASURING MAGNETIC VARIABLES
    • G01R33/00Arrangements or instruments for measuring magnetic variables
    • G01R33/20Arrangements or instruments for measuring magnetic variables involving magnetic resonance
    • G01R33/44Arrangements or instruments for measuring magnetic variables involving magnetic resonance using nuclear magnetic resonance [NMR]
    • G01R33/48NMR imaging systems
    • G01R33/483NMR imaging systems with selection of signals or spectra from particular regions of the volume, e.g. in vivo spectroscopy
    • GPHYSICS
    • G01MEASURING; TESTING
    • G01RMEASURING ELECTRIC VARIABLES; MEASURING MAGNETIC VARIABLES
    • G01R33/00Arrangements or instruments for measuring magnetic variables
    • G01R33/20Arrangements or instruments for measuring magnetic variables involving magnetic resonance
    • G01R33/44Arrangements or instruments for measuring magnetic variables involving magnetic resonance using nuclear magnetic resonance [NMR]
    • G01R33/48NMR imaging systems
    • G01R33/54Signal processing systems, e.g. using pulse sequences ; Generation or control of pulse sequences; Operator console
    • G01R33/56Image enhancement or correction, e.g. subtraction or averaging techniques, e.g. improvement of signal-to-noise ratio and resolution
    • GPHYSICS
    • G01MEASURING; TESTING
    • G01RMEASURING ELECTRIC VARIABLES; MEASURING MAGNETIC VARIABLES
    • G01R33/00Arrangements or instruments for measuring magnetic variables
    • G01R33/20Arrangements or instruments for measuring magnetic variables involving magnetic resonance
    • G01R33/44Arrangements or instruments for measuring magnetic variables involving magnetic resonance using nuclear magnetic resonance [NMR]
    • G01R33/48NMR imaging systems
    • G01R33/54Signal processing systems, e.g. using pulse sequences ; Generation or control of pulse sequences; Operator console
    • G01R33/56Image enhancement or correction, e.g. subtraction or averaging techniques, e.g. improvement of signal-to-noise ratio and resolution
    • G01R33/563Image enhancement or correction, e.g. subtraction or averaging techniques, e.g. improvement of signal-to-noise ratio and resolution of moving material, e.g. flow contrast angiography
    • G01R33/56366Perfusion imaging
    • GPHYSICS
    • G06COMPUTING OR CALCULATING; COUNTING
    • G06TIMAGE DATA PROCESSING OR GENERATION, IN GENERAL
    • G06T7/00Image analysis
    • G06T7/0002Inspection of images, e.g. flaw detection
    • G06T7/0012Biomedical image inspection
    • GPHYSICS
    • G06COMPUTING OR CALCULATING; COUNTING
    • G06TIMAGE DATA PROCESSING OR GENERATION, IN GENERAL
    • G06T7/00Image analysis
    • G06T7/30Determination of transform parameters for the alignment of images, i.e. image registration
    • GPHYSICS
    • G06COMPUTING OR CALCULATING; COUNTING
    • G06TIMAGE DATA PROCESSING OR GENERATION, IN GENERAL
    • G06T9/00Image coding
    • G06T9/20Contour coding, e.g. using detection of edges
    • AHUMAN NECESSITIES
    • A61MEDICAL OR VETERINARY SCIENCE; HYGIENE
    • A61BDIAGNOSIS; SURGERY; IDENTIFICATION
    • A61B5/00Measuring for diagnostic purposes; Identification of persons
    • A61B5/74Details of notification to user or communication with user or patient; User input means
    • A61B5/742Details of notification to user or communication with user or patient; User input means using visual displays
    • A61B5/7425Displaying combinations of multiple images regardless of image source, e.g. displaying a reference anatomical image with a live image
    • AHUMAN NECESSITIES
    • A61MEDICAL OR VETERINARY SCIENCE; HYGIENE
    • A61BDIAGNOSIS; SURGERY; IDENTIFICATION
    • A61B6/00Apparatus or devices for radiation diagnosis; Apparatus or devices for radiation diagnosis combined with radiation therapy equipment
    • A61B6/48Diagnostic techniques
    • A61B6/481Diagnostic techniques involving the use of contrast agents
    • AHUMAN NECESSITIES
    • A61MEDICAL OR VETERINARY SCIENCE; HYGIENE
    • A61BDIAGNOSIS; SURGERY; IDENTIFICATION
    • A61B6/00Apparatus or devices for radiation diagnosis; Apparatus or devices for radiation diagnosis combined with radiation therapy equipment
    • A61B6/50Apparatus or devices for radiation diagnosis; Apparatus or devices for radiation diagnosis combined with radiation therapy equipment specially adapted for specific body parts; specially adapted for specific clinical applications
    • A61B6/507Apparatus or devices for radiation diagnosis; Apparatus or devices for radiation diagnosis combined with radiation therapy equipment specially adapted for specific body parts; specially adapted for specific clinical applications for determination of haemodynamic parameters, e.g. perfusion CT
    • AHUMAN NECESSITIES
    • A61MEDICAL OR VETERINARY SCIENCE; HYGIENE
    • A61BDIAGNOSIS; SURGERY; IDENTIFICATION
    • A61B8/00Diagnosis using ultrasonic, sonic or infrasonic waves
    • A61B8/08Clinical applications
    • A61B8/0808Clinical applications for diagnosis of the brain
    • GPHYSICS
    • G01MEASURING; TESTING
    • G01RMEASURING ELECTRIC VARIABLES; MEASURING MAGNETIC VARIABLES
    • G01R33/00Arrangements or instruments for measuring magnetic variables
    • G01R33/20Arrangements or instruments for measuring magnetic variables involving magnetic resonance
    • GPHYSICS
    • G01MEASURING; TESTING
    • G01RMEASURING ELECTRIC VARIABLES; MEASURING MAGNETIC VARIABLES
    • G01R33/00Arrangements or instruments for measuring magnetic variables
    • G01R33/20Arrangements or instruments for measuring magnetic variables involving magnetic resonance
    • G01R33/28Details of apparatus provided for in groups G01R33/44 - G01R33/64
    • G01R33/285Invasive instruments, e.g. catheters or biopsy needles, specially adapted for tracking, guiding or visualization by NMR
    • GPHYSICS
    • G01MEASURING; TESTING
    • G01RMEASURING ELECTRIC VARIABLES; MEASURING MAGNETIC VARIABLES
    • G01R33/00Arrangements or instruments for measuring magnetic variables
    • G01R33/20Arrangements or instruments for measuring magnetic variables involving magnetic resonance
    • G01R33/44Arrangements or instruments for measuring magnetic variables involving magnetic resonance using nuclear magnetic resonance [NMR]
    • G01R33/48NMR imaging systems
    • G01R33/4806Functional imaging of brain activation
    • GPHYSICS
    • G01MEASURING; TESTING
    • G01RMEASURING ELECTRIC VARIABLES; MEASURING MAGNETIC VARIABLES
    • G01R33/00Arrangements or instruments for measuring magnetic variables
    • G01R33/20Arrangements or instruments for measuring magnetic variables involving magnetic resonance
    • G01R33/44Arrangements or instruments for measuring magnetic variables involving magnetic resonance using nuclear magnetic resonance [NMR]
    • G01R33/48NMR imaging systems
    • G01R33/54Signal processing systems, e.g. using pulse sequences ; Generation or control of pulse sequences; Operator console
    • G01R33/56Image enhancement or correction, e.g. subtraction or averaging techniques, e.g. improvement of signal-to-noise ratio and resolution
    • G01R33/5602Image enhancement or correction, e.g. subtraction or averaging techniques, e.g. improvement of signal-to-noise ratio and resolution by filtering or weighting based on different relaxation times within the sample, e.g. T1 weighting using an inversion pulse
    • GPHYSICS
    • G01MEASURING; TESTING
    • G01RMEASURING ELECTRIC VARIABLES; MEASURING MAGNETIC VARIABLES
    • G01R33/00Arrangements or instruments for measuring magnetic variables
    • G01R33/20Arrangements or instruments for measuring magnetic variables involving magnetic resonance
    • G01R33/44Arrangements or instruments for measuring magnetic variables involving magnetic resonance using nuclear magnetic resonance [NMR]
    • G01R33/48NMR imaging systems
    • G01R33/54Signal processing systems, e.g. using pulse sequences ; Generation or control of pulse sequences; Operator console
    • G01R33/56Image enhancement or correction, e.g. subtraction or averaging techniques, e.g. improvement of signal-to-noise ratio and resolution
    • G01R33/5608Data processing and visualization specially adapted for MR, e.g. for feature analysis and pattern recognition on the basis of measured MR data, segmentation of measured MR data, edge contour detection on the basis of measured MR data, for enhancing measured MR data in terms of signal-to-noise ratio by means of noise filtering or apodization, for enhancing measured MR data in terms of resolution by means for deblurring, windowing, zero filling, or generation of gray-scaled images, colour-coded images or images displaying vectors instead of pixels
    • GPHYSICS
    • G01MEASURING; TESTING
    • G01RMEASURING ELECTRIC VARIABLES; MEASURING MAGNETIC VARIABLES
    • G01R33/00Arrangements or instruments for measuring magnetic variables
    • G01R33/20Arrangements or instruments for measuring magnetic variables involving magnetic resonance
    • G01R33/44Arrangements or instruments for measuring magnetic variables involving magnetic resonance using nuclear magnetic resonance [NMR]
    • G01R33/48NMR imaging systems
    • G01R33/54Signal processing systems, e.g. using pulse sequences ; Generation or control of pulse sequences; Operator console
    • G01R33/56Image enhancement or correction, e.g. subtraction or averaging techniques, e.g. improvement of signal-to-noise ratio and resolution
    • G01R33/563Image enhancement or correction, e.g. subtraction or averaging techniques, e.g. improvement of signal-to-noise ratio and resolution of moving material, e.g. flow contrast angiography
    • G01R33/56341Diffusion imaging
    • GPHYSICS
    • G01MEASURING; TESTING
    • G01RMEASURING ELECTRIC VARIABLES; MEASURING MAGNETIC VARIABLES
    • G01R33/00Arrangements or instruments for measuring magnetic variables
    • G01R33/20Arrangements or instruments for measuring magnetic variables involving magnetic resonance
    • G01R33/44Arrangements or instruments for measuring magnetic variables involving magnetic resonance using nuclear magnetic resonance [NMR]
    • G01R33/48NMR imaging systems
    • G01R33/54Signal processing systems, e.g. using pulse sequences ; Generation or control of pulse sequences; Operator console
    • G01R33/56Image enhancement or correction, e.g. subtraction or averaging techniques, e.g. improvement of signal-to-noise ratio and resolution
    • G01R33/563Image enhancement or correction, e.g. subtraction or averaging techniques, e.g. improvement of signal-to-noise ratio and resolution of moving material, e.g. flow contrast angiography
    • G01R33/5635Angiography, e.g. contrast-enhanced angiography [CE-MRA] or time-of-flight angiography [TOF-MRA]

Definitions

  • the present exemplary embodiments relate to an image display apparatus, an image display method, and a magnetic resonance imaging apparatus, and particularly relate to an image display apparatus, an image display method, and a magnetic resonance imaging apparatus according to which change in details due to a difference of the imaging methods can be easily observed without moving an observation point between images.
  • MRI Magnetic Resonance Imaging
  • T 1 W image longitudinal relaxation weighted image
  • T 2 W image transverse relaxation weighted image
  • proton density image a flair image
  • f-MRI functional Magnetic Resonance Imaging
  • MRS Magnetic Resonance Spectroscopy
  • CT X-ray Computed Tomography
  • functional image such as a functional image of a blood flow, as well as a usual anatomical image based on CT values.
  • an ultrasound diagnosis apparatus uses a method of superimposing and displaying a monochrome image and a color image, onto both of which the same portion is imaged, which is called a fusion method.
  • a fusion method a method of superimposing and displaying a monochrome image and a color image, onto both of which the same portion is imaged.
  • another method is proposed for enabling a comparative reading without movement of an observation point when there is a plurality of images taken of the same portion, by displaying the images in the substantially same position on a screen by switching the images one by one (for example, see JP-A 2006-95279 (KOKAI)).
  • an image display apparatus includes a region-of-interest setting unit that sets a region of interest on each of a plurality of images that is imaged by a diagnostic imaging apparatus and includes a same portion of a subject; a feature analysis unit that performs a feature analysis on each of the images based on pixel values of pixels included in the region of interest set by the region-of-interest setting unit; and a display control unit that causes a display unit to display the images in a substantially same position in a display area included in the display unit by switching the images in an order prescribed, and to display a result of the feature analysis obtained by the feature analysis unit in same display area.
  • an image display apparatus includes a mode changing unit that changes a display mode of image with respect to each of a plurality of images that is imaged by a diagnostic imaging apparatus and includes a same portion of a subject; and a display control unit that causes a display unit to display the images of each of which the display mode is changed by the mode changing unit in a substantially same position in a display area included in the display unit by switching the images in an order prescribed.
  • an image display method includes setting a region of interest on each of a plurality of images that is imaged by a diagnostic imaging apparatus and includes a same portion of a subject; performing a feature analysis on each of the images based on pixel values of pixels included in the region of interest; and causing a display unit to display the images in a substantially same position in a display area included in the display unit by switching the images in an order prescribed, and to display a result of the feature analysis in same display area.
  • an image display method includes changing a display mode of image with respect to each of a plurality of images that is imaged by a diagnostic imaging apparatus and includes a same portion of a subject; and causing a display unit to display the images of each of which the display mode is changed, by switching the images in an order prescribed, in a substantially same position in a display area included in the display unit.
  • a magnetic resonance imaging apparatus includes an imaging unit that takes a plurality of images that includes a same portion of a subject; a region-of-interest setting unit that sets a region of interest on each of the images taken by the imaging unit; a feature analysis unit that performs a feature analysis on each of the images based on pixel values of pixels included in the region of interest set by the region-of-interest setting unit; and a display control unit that causes a display unit to display the images in a substantially same position in a display area included in the display unit by switching the images in an order prescribed, and to display a result of the feature analysis obtained by the feature analysis unit in same display area.
  • a magnetic resonance imaging apparatus includes an imaging unit that takes a plurality of images that includes a same portion of a subject; a mode changing unit that changes a display mode of image with respect to each of the images taken by the imaging unit; and a display control unit that causes a display unit to display the images of which the display mode is changed by the mode changing unit, by switching the images in an order prescribed, in a substantially same position in a display area included in the display unit.
  • FIG. 1 is a schematic diagram of a general configuration of a Magnetic Resonance Imaging (MRI) apparatus according to a first embodiment of the present invention
  • FIG. 2 is a functional block diagram of a configuration of a control unit according to the first embodiment
  • FIGS. 3A to 3E are schematic diagrams for explaining an example of an image registration method performed by a registration processing unit according to the first embodiment
  • FIG. 4 is a schematic diagram for explaining another example of an image registration method performed by the registration processing unit according to the first embodiment
  • FIG. 5 is a flowchart of a process/procedure of image display performed by a control unit according to the first embodiment
  • FIG. 6 is a schematic diagram of a flow of image display performed by the control unit according to the first embodiment
  • FIG. 7 is a schematic diagram of another flow of image display performed by the control unit according to the first embodiment.
  • FIG. 8 is a flowchart of a process/procedure of image display performed by a control unit according to a second embodiment of the present invention.
  • FIG. 9 is a schematic diagram of a flow of image display performed by the control unit according to the second embodiment.
  • FIG. 10 is a schematic diagram of another flow of image display performed by the control unit according to the second embodiment.
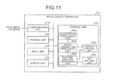
  • FIG. 11 is a functional block diagram of a configuration of an image display apparatus according to a third embodiment of the present invention.
  • FIG. 12 is a flowchart of a process/procedure of image display performed by a control unit according to the third embodiment.
  • FIG. 13 is a schematic diagram of a flow of image display performed by the control unit according to the third embodiment.
  • MRI apparatus a Magnetic Resonance Imaging apparatus
  • FIG. 1 is a schematic diagram of a general configuration of the MRI apparatus 100 according to the first embodiment.
  • the MRI apparatus 100 includes a static magnetic-field magnet 1 , a gradient magnetic-field coil 2 , a gradient magnetic-field power source 3 , a couch 4 , a couch control unit 5 , a Radio Frequency (RF) transmitting coil 6 , a transmitting unit 7 , an RF receiving coil 8 , a receiving unit 9 , a sequence control unit 10 and a computer system 20 .
  • RF Radio Frequency
  • the static magnetic-field magnet 1 is a magnet formed in a hollow drum shape, and generates a uniform static magnetic field in its inside space.
  • a permanent magnet or a superconducting magnet is used as the static magnetic-field magnet 1 .
  • the gradient magnetic-field coil 2 is a coil formed in a hollow drum shape, and is arranged on the inner side of the static magnetic-field magnet 1 .
  • the gradient magnetic-field coil 2 is formed of three coils in combination corresponding to x, y and z axes orthogonal to one another, and the three coils generate gradient magnetic fields of which field strengths vary along three directions of the x, y and z axes, respectively, by individually receiving a current supply from the gradient magnetic-field power source 3 , which will be described later. It is assumed that the z axis direction is the same direction as that of the static magnetic field.
  • the gradient magnetic-field power source 3 is a device that supplies a current to the gradient magnetic-field coil 2 .
  • the gradient magnetic fields of the x, y and z axes generated by the gradient magnetic-field coil 2 correspond to, for example, a slice-selective gradient magnetic field Gs, a phase-encoding gradient magnetic field Ge, and a readout gradient magnetic field Gr, respectively.
  • the slice-selective gradient magnetic field Gs is used for arbitrarily setting a scan cross-section.
  • the phase-encoding gradient magnetic field Ge is used for changing the phase of a magnetic resonance signal in accordance with a spatial position.
  • the readout gradient magnetic field Gr is used for changing the frequency of a magnetic resonance signal in accordance with a spatial position.
  • the couch 4 is a device that includes a top plate 4 a on which a subject P is to be placed; and under the control of the couch control unit 5 , which will be described later.
  • the couch 4 inserts the top plate 4 a on which the subject P is placed into a hole (a scanning space) of the gradient magnetic-field coil 2 .
  • the couch 4 is placed such that the longitudinal direction of the couch 4 is to be parallel to the central axis of the static magnetic-field magnet 1 .
  • the couch control unit 5 is a device that controls the couch 4 under the control of a control unit 26 , and moves the top plate 4 a in the longitudinal direction and upward and downward by driving the couch 4 .
  • the RF transmitting coil 6 is a coil arranged on the inner side of the gradient magnetic-field coil 2 , and generates a radio-frequency magnetic field by receiving supply of a radio-frequency pulse from the transmitting unit 7 .
  • the transmitting unit 7 is a device that transmits a radio-frequency pulse corresponding to a Larmor frequency to the RF transmitting coil 6 .
  • the RF receiving coil 8 is a coil arranged on the inner side of the gradient magnetic-field coil 2 , and receives a magnetic resonance signal emitted from the subject P owing to an influence of the radio-frequency magnetic field described above. Upon receiving a magnetic resonance signal, the RF receiving coil 8 outputs the magnetic resonance signal to the receiving unit 9 .
  • the receiving unit 9 creates k-space data based on the magnetic resonance signal output by the RF receiving coil 8 . Specifically, the receiving unit 9 creates k-space data by converting a magnetic resonance signal output from the RF receiving coil 8 into digital. The k-space data is associated with information about spatial frequencies of a PE direction, an RO direction, and an SE direction by the slice-selective gradient magnetic field Gs, the phase-encoding gradient magnetic field Ge, and the readout gradient magnetic field Gr. After creating k-space data, the receiving unit 9 transmits the k-space data to the sequence control unit 10 .
  • the sequence control unit 10 performs scanning of the subject P by activating the gradient magnetic-field power source 3 , the transmitting unit 7 and the receiving unit 9 , based on sequence information transmitted from the computer system 20 .
  • the sequence information defines a procedure for scanning, such as the strength of power to be supplied to the gradient magnetic-field coil 2 by the gradient magnetic-field power source 3 and the timing of supplying the power, the strength of an RF signal to be transmitted to the RF transmitting coil 6 by the transmitting unit 7 and the timing of transmitting the RF signal, and the timing of detecting a magnetic resonance signal by the receiving unit 9 .
  • the sequence control unit 10 transfers the k-space data to the computer system 20 .
  • the computer system 20 performs total control of the MRI apparatus 100 , data collection, image reconstruction, and the like.
  • the computer system 20 particularly includes an interface unit 21 , an image reconstructing unit 22 , a storage unit 23 , an input unit 24 , a display unit 25 and the control unit 26 .
  • the interface unit 21 controls input and output of various signals that are given and received to and from the sequence control unit 10 .
  • the interface unit 21 transmits sequence information to the sequence control unit 10 , and receives k-space data from the sequence control unit 10 .
  • the interface unit 21 stores k-space data in the storage unit 23 with respect to each subject P.
  • the image reconstructing unit 22 creates spectrum data of a desired nuclear spin inside the subject P or image data by performing post-processing, i.e., reconstruction processing, such as Fourier transform processing, on k-space data stored in the storage unit 23 .
  • post-processing i.e., reconstruction processing, such as Fourier transform processing
  • the storage unit 23 stores k-space data received by the interface unit 21 , and image data created by the image reconstructing unit 22 , with respect to each subject P.
  • the input unit 24 receives various instructions and information input from an operator.
  • a pointing device such as a mouse or a trackball
  • a selecting device such as a mode switch
  • an input device such as a keyboard
  • the display unit 25 displays various information, such as spectrum data or image data, under the control of the control unit 26 .
  • a display device such as a liquid crystal display, can be used as the display unit 25 .
  • the control unit 26 includes a Central Processing Unit (CPU) and a memory (neither of which is shown) and carries out total control of the MRI apparatus 100 . Specifically, the control unit 26 controls a scan by creating sequence information based on imaging conditions input by the operator via the input unit 24 , and transmitting the created sequence information to the sequence control unit 10 , and controls reconstruction of an image performed based on k-space data sent from the sequence control unit 10 as a result of the scan.
  • CPU Central Processing Unit
  • memory either of which is shown
  • Magnetic Resonance (MR) imaging is performed by using a protocol in which a plurality of different sequences is combined, different kinds of images are generally obtained through one time of imaging.
  • a perfusion imaging protocol can be listed as follows: a T 1 weighted image (T 1 W image) imaging sequence, a T 2 weighted image (T 2 W image) imaging sequence, and a protocol in which a flair-image imaging sequence and a dynamic-image imaging sequence are combined.
  • the control unit 26 sets a Region Of Interest (ROI) on each of a plurality of images that includes the same portion of a subject, and performs a feature analysis on each of the images based on pixel values of pixels included in the set ROI.
  • the control unit 26 then causes the display unit 25 to display each of the images in the substantially same position in a display area included in the display unit 25 by switching the images in a certain order, and to display a result of the feature analysis in the same display area. Consequently, according to the first embodiment, change in details due to a difference of the imaging methods can be easily observed without moving an observation point between images.
  • ROI Region Of Interest
  • FIG. 2 is a functional block diagram of a configuration of the control unit 26 according to the first embodiment.
  • the control unit 26 particularly includes a registration processing unit 26 a, an image-correction processing unit 26 b, an ROI setting unit 26 c , a feature-analysis processing unit 26 d and a display control unit 26 e.
  • the registration processing unit 26 a performs registration between a plurality of images on which a portion of a subject to be examined is imaged. Specifically, the registration processing unit 26 a reads from the storage unit 23 a plurality of images on which the same portion of a subject to be examined is imaged, and aligns the sizes and the positions of the read images.
  • any of various generally-known image-registration methods for example, registration based on anatomical information, can be used.
  • the registration processing unit 26 a performs registration by reading a plurality of medical images, for example, different kinds of images and images along different time sequences that are taken by the same kind of diagnostic imaging apparatus through different imaging methods, or images taken by different diagnostic imaging apparatuses.
  • the registration processing unit 26 a performs registration by reading images taken through different imaging methods, such as, a T 1 W image, a T 2 W image, a proton density image, a flair image, a fat suppression image, a diffusion image, a perfusion image, a functional Magnetic Resonance Imaging (f-MRI) image and/or an MR spectroscopy.
  • images taken through different imaging methods such as, a T 1 W image, a T 2 W image, a proton density image, a flair image, a fat suppression image, a diffusion image, a perfusion image, a functional Magnetic Resonance Imaging (f-MRI) image and/or an MR spectroscopy.
  • f-MRI Magnetic Resonance Imaging
  • the registration processing unit 26 a performs registration by reading images taken under imaging conditions that include a different setting value among imaging parameters.
  • the imaging parameters include an Echo Time (TE), a Repetition Time (TR) and a b factor that indicates the strength of a Motion Probing Gradient (MPG) pulse.
  • TE Echo Time
  • TR Repetition Time
  • MPG Motion Probing Gradient
  • an MRI apparatus can image a cross-section of a subject in an arbitrary direction among three-dimensional directions. Therefore, positional information about an image taken by the MRI apparatus is expressed in a coordinate system that is uniquely determined based on a pose of a patient during a scan.
  • a coordinate system is called “a patient coordinate system”, and is determined with respect to each scan based on a posture of the patient (a supine position, a prone position, a right recumbent position, or a left recumbent position), and an insert direction into the apparatus (from the head, or from the foot).
  • an apparatus coordinate system is unique to an apparatus, has the origin point at the center of the magnetic field, and is expressed with three coordinate axes respectively along three directions in the apparatus, namely, an upward-and-downward direction, a right-and-left direction, and a fore-and-aft direction of the apparatus.
  • Morphological images for example, a T 1 W image and a T 2 W image, are often taken of the same area in the same examination in many cases. Consequently, positions of the morphological images, such as a T 1 W image and a T 2 W image, are indicated in the same patient coordinate system. For this reason, morphological images can be easily registered by using positional information with respect to a patient coordinate system generally attached to an image.
  • FIGS. 3A to 3E are schematic diagrams for explaining an example of an image registration method performed by the registration processing unit 26 a according to the first embodiment.
  • DWI Diffusion Weighted Imaging
  • PWI Perfusion Weighted Imaging
  • the registration processing unit 26 a extracts the region of a portion subjected to registration from both a DWI image and a PWI image. Specifically, the registration processing unit 26 a extracts the region of a portion subjected to registration from among voxels included in both the DWI image and the PWI image by performing generally-known segmentation processing. The registration processing unit 26 a then extracts voxels positioned on the boundary of the extracted region as boundary voxels 31 , as shown in FIG. 3A .
  • FIG. 3A depicts part of the boundary voxels 31 .
  • the registration processing unit 26 a extracts shape voxels that express the shape of each region extracted from the DWI image and the PWI image. Specifically, the registration processing unit 26 a selects a certain number of voxels as shape voxels 32 from among boundary voxels included in both the DWI image and the PWI image, as shown in FIG. 3B . For example, the registration processing unit 26 a selects the shape voxels 32 with certain intervals from among a plurality of boundary voxels arranged along the boundary of the region.
  • the registration processing unit 26 a associates the shape voxels between the DWI image and the PWI image. Specifically, as shown in FIG. 3C , the registration processing unit 26 a makes every combination of the shape voxels 32 between the DWI image and the PWI image in every pattern, and calculates a distance between combined voxels in every combination. The registration processing unit 26 a then specifies a pattern of combinations of the shape voxels 32 in which the total of distances between the voxels becomes the minimum. When calculating, for example, the registration processing unit 26 a calculates the position of each voxel based on the patient coordinates included in information attached to each image, and then calculates a distance between voxels based on the calculated positions.
  • the registration processing unit 26 a then registers the position of each voxel by each pair of associated shape voxels. Specifically, as shown in FIG. 3D , the registration processing unit 26 a moves the position of each of the shape voxels 32 in the PWI image to match up with the position of a corresponding one of the shape voxels 32 in the DWI image, by each combination of the shape voxels 32 , according to the combinations of the shape voxels 32 in which the total of the distances between the voxels is the minimum.
  • the registration processing unit 26 a then registers the position of each voxel included in the region of a portion subjected to registration based on a transformation matrix. Specifically, the registration processing unit 26 a calculates the transformation matrix between voxels 33 and the boundary voxels 31 in the region extracted from the PWI image by weighting the transformation of an adjacent shape voxel. The registration processing unit 26 a then moves each voxel based on the transformation matrix, as shown in FIG. 3E . Each of the arrows shown in FIGS. 3D and 3E indicates a vector representing the transformation of the transformation matrix.
  • the registration processing unit 26 a can precisely perform registration of an image that has a distortion, such as a diffusion image and a perfusion image, by changing a style, such as the size and/or the shape, of a portion included in the image subjected to registration.
  • a distortion such as a diffusion image and a perfusion image
  • a method of performing registration of an image is not limited to this.
  • registration of each image can be performed by receiving from an operator an operation of setting an arbitrary number of reference points on each image subjected to registration, and associating the reference points set by the operator. Accordingly, for example, as the operator sets reference points along the contour of the same portion drawn on each image, registration of each image can be performed so as to match up the position of the portion.
  • FIG. 4 is a schematic diagram for explaining another example of an image registration method performed by the registration processing unit 26 a according to the first embodiment.
  • FIG. 4 it is assumed that six T 1 W images I 11 to I 16 and five T 2 W images I 21 to I 25 are taken of the same portion in a slice direction.
  • the slice direction is a z-axis direction of the patient coordinate system.
  • the slice direction is an x-axis direction of the patient coordinate system.
  • the slice direction is a y-axis direction of the patient coordinate system. It is assumed that the T 1 W images I 11 to I 16 are taken at slice intervals different from those for the T 2 W images I 21 to I 25 . Moreover, it is assumed that the position of the T 1 W image I 11 matches the position of the T 2 W image I 21 , and the position of the T 1 W image I 16 matches the position of the T 2 W image I 25 .
  • the registration processing unit 26 a creates an interpolation image I 33 to be in the same position as that of the T 1 W image I 13 in the slice direction by using the T 2 W image I 22 and the T 2 W image I 24 on the opposite sides of the T 2 W image I 23 .
  • the registration processing unit 26 a performs registration of the interpolation image I 33 and the T 1 W image I 13 in the direction orthogonal to the slice direction, as required. Any known technology can be used as a method of creating the interpolation image I 33 .
  • the image-correction processing unit 26 b performs a correction of an image registered by the registration processing unit 26 a.
  • the image-correction processing unit 26 b performs a distortion correction, or a correction for eliminating noise, on an image registered by the registration processing unit 26 a.
  • any of generally-known various methods of image correction can be used.
  • the image-correction processing unit 26 b can change a display style of each image by performing correction processing. For example, the image-correction processing unit 26 b changes the size of each image, or changes the shape of each image.
  • the ROI setting unit 26 c sets an ROI on each image corrected by the image-correction processing unit 26 b. For example, to begin with, the ROI setting unit 26 c receives an operation of specifying a point of interest on one of a plurality of images displayed on the display unit 25 , from the operator via the input unit 24 . The ROI setting unit 26 c then sets on the image an ROI of a certain size that has the center at the received point of interest, and applies the same ROI to each of the other images.
  • the ROI setting unit 26 c receives an operation of specifying a region (for example, a region of a rectangle or a circle) on one of the images displayed on the display unit 25 via the input unit 24 .
  • the ROI setting unit 26 c sets on the image the received region as an ROI, and applies the same ROI to each of the other images.
  • the ROI setting unit 26 c sets similarly the ROI on the other images, thereby omitting a procedure of setting a point of interest and an ROI on each of the images.
  • the feature-analysis processing unit 26 d performs a feature analysis on each image corrected by the image-correction processing unit 26 b based on pixel values of pixels included in each ROI set by the ROI setting unit 26 c. For example, the feature-analysis processing unit 26 d performs a feature analysis by calculating statistics about pixel values, such as an average and a standard deviation of the pixel values.
  • the display control unit 26 e causes the display unit 25 to display each image corrected by the image-correction processing unit 26 b in substantially the same position in the display area included in the display unit 25 by switching the images in a certain order (like turning pages), and to display a result of the feature analysis obtained by the feature-analysis processing unit 26 d in the same display area.
  • the display control unit 26 e can cause display of a portion of an image on which an ROI is set by the ROI setting unit 26 c, for example, in an enlarged manner under a certain magnification. Accordingly, a region subjected to a diagnosis can be more precisely observed.
  • FIG. 5 is a flowchart of a process/procedure of image display performed by the control unit 26 according to the first embodiment.
  • FIG. 6 is a schematic diagram of a flow of image display performed by the control unit 26 according to the first embodiment.
  • processing when displaying a T 1 W image, a T 2 W image, and a flair image of a brain.
  • the registration processing unit 26 a receives input of a T 1 W image, a T 2 W image, and a flair image of a brain of the same subject (Step S 101 ), and registers each of the input images (Step S 102 ).
  • the image-correction processing unit 26 b then corrects each of the images registered by the registration processing unit 26 a (Step S 103 ).
  • the registration processing unit 26 a When performing registration, the registration processing unit 26 a performs registration of each of the images based on, for example, positional information with respect to a patient coordinate system attached to each image. When performing the registration, the registration processing unit 26 a stores the amount of movement of the coordinates generated through the registration into a storage unit, such as an internal memory, with respect to each of the images. If a style of an image, such as the size or the shape, is changed through the correction processing, the image-correction processing unit 26 b stores information indicating the size and the shape of the changed image into the storage unit with respect to each of the images.
  • the display control unit 26 e causes the display unit 25 to display one of the images corrected by the image-correction processing unit 26 b, for example, the T 1 W image, in the display area included in the display unit 25 (Step S 104 ).
  • the image to be displayed at Step S 104 is hereinafter referred to as a “reference image”. Different images can be set for respective kinds of diseases as a reference image, which can be arbitrarily changed in accordance with an instruction made by the operator.
  • the ROI setting unit 26 c sets an ROI on each of the images based on the point of interest (Step S 106 ).
  • the example shown in FIG. 6 depicts a case in which an ROI is set on “superior frontal gyrus” in terms of anatomy.
  • the ROI setting unit 26 c When setting each ROI, stores positional information indicating the position of the set ROI into the storage unit with respect to each of the images. Furthermore, the ROI setting unit 26 c calculates a magnification when enlarging an image in the set ROI to a certain size for enlarged display and stores the calculated magnification into the storage unit with respect to each of the images.
  • the feature-analysis processing unit 26 d creates a histogram of pixel values in the ROI as a feature analysis.
  • the feature-analysis processing unit 26 d creates a histogram of statistics, such as an average value and an integrated value of the pixel values (Step S 107 ).
  • the display control unit 26 e creates an enlarged image of the ROI image by image (Step S 108 ) and, furthermore, as shown in FIG. 6 , causes the display unit 25 to display an enlarged image 42 of the T 1 W image on which the histogram created by the feature-analysis processing unit 26 d is superimposed, in the display area included in the display unit 25 (Step S 109 ).
  • the display control unit 26 e makes the histogram transparent and superimposes the transparent histogram on the enlarged image 42 .
  • the display control unit 26 e can make the histogram opaque and superimpose the opaque histogram on the enlarged image 42 .
  • the display control unit 26 e specifies the position and the size of the ROI with respect to each of the images based on the amount of movement of the coordinates, information indicating the size and the shape of image changed through correction processing, and positional information about the ROI, which are stored in the storage unit. Moreover, the display control unit 26 e creates the enlarged image, image-by-image, by enlarging an image in the ROI of which the position and the size are specified, based on the magnification stored in the storage unit.
  • the operator then performs a certain operation of image switching on the displayed enlarged image 42 via the keyboard or the mouse of the input unit 24 (Yes at Step S 110 ), and then the display control unit 26 e causes the display unit 25 to display the enlarged image 42 of the T 1 W image, an enlarged image 43 of the T 2 W image, or an enlarged image 44 of the flair image, on each of which the histogram created by the feature-analysis processing unit 26 d is superimposed, by switching the enlarged images, in the substantially same position in the display area included in the display unit 25 (Step S 111 ), as shown in FIG. 6 .
  • FIG. 6 depicts an example when displaying the histogram created from the pixel values of the respective images by arranging it on each of the images.
  • the display control unit 26 e causes display of a flame of an image and display of a histogram in the same color with respect to each type of image.
  • the display control unit 26 e displays the flame and the histogram of the T 1 W image in red, those of the T 2 W image in green, and those of the flair image in blue. Accordingly, the operator can easily establish associations between the histograms and the respective images.
  • the ROI setting unit 26 c included in the control unit 26 sets an ROI on each of a T 1 W image, a T 2 W image, and a flair image of the brain of the subject P.
  • the feature-analysis processing unit 26 d creates a histogram of statistics with respect to each of the images based on pixel values of pixels included in the ROIs set by the ROI setting unit 26 c.
  • the display control unit 26 e then causes the display unit 25 to display one of the images in substantially the same position in the display area included in the display unit 25 by switching the images in a certain order, and to display the histogram created by the feature-analysis processing unit 26 d in the same display area.
  • FIG. 7 is a schematic diagram of another flow of image display performed by the control unit 26 according to the first embodiment.
  • the display control unit 26 e displays the reference image 41 indicating an ROI in parallel with one of the enlarged images 42 to 44 . Accordingly, the position of a region displayed in an enlarged manner can be easily grasped in the portion to be examined. For example, a relative position of the ROI in the brain region can be easily grasped.
  • the first embodiment is explained above in a case of arranging and displaying a histogram created from pixel values of respective images on each of the images.
  • the present invention is not limited to this and, for example, it can be configured such that the display control unit 26 e displays a corresponding result of a feature analysis (a histogram) on each of the images.
  • the display control unit 26 e displays one of results of feature analyses by switching them image-by-image in accordance with switching of display of the images. Accordingly, the feature values of each of the images can be easily grasped by associating it with the image.
  • the display control unit 26 e switches the images in accordance with an operation performed by an operator by using a keyboard and/or a mouse
  • it can be configured to switch images automatically at certain time intervals. Accordingly, comparative reading of a plurality of images can be performed by switching them even under a situation where the keyboard and the mouse cannot be operated.
  • the display control unit 26 e can change the order of switching images in accordance with an instruction from the operator. Accordingly, the operator can change the order of image display so as to perform comparative reading easily in accordance with the type of each image on which the operator performs comparative reading.
  • the first embodiment is explained above in a case of displaying a T 1 W image, a T 2 W image, and a flair image of a brain.
  • the present invention is not limited to this, and can be similarly applied to a case of displaying other kinds of images.
  • ischemic penumbra area a region that does not match when superimposing the extracted segmentation regions.
  • the specified region is called an “ischemic penumbra area”, and considered as a region that can be relieved by an early recovery of blood flow. For this reason, it is meaningful to specify the ischemic penumbra area accurately, for performing a diagnosis and a treatment of cerebral infarction.
  • a case of displaying a diffusion image and a perfusion image of a brain is explained below as a second embodiment according to the present invention.
  • a diffusion image and a perfusion image are displayed by switching them, while constantly superimposing the boundary of a segmentation region. Accordingly, an ischemic penumbra area can be accurately and easily specified, and a diagnosis and a treatment of cerebral infarction can be promptly performed.
  • An MRI apparatus basically includes a configuration similar to that shown in FIGS. 1 and 2 , except that only processing to be performed by the control unit 26 is different; therefore, a flow of image display performed by the control unit 26 is explained below with reference to FIGS. 8 and 9 .
  • FIG. 8 is a flowchart of a process/procedure of image display performed by the control unit 26 according to the second embodiment.
  • FIG. 9 is a schematic diagram of a flow of image display performed by the control unit 26 according to the second embodiment.
  • processing when displaying separately a diffusion image and a perfusion image of a brain taken four hours after an episode of a symptom.
  • the registration processing unit 26 a receives input of a diffusion image and a perfusion image of a brain of the same subject taken four hours after an episode of a symptom (Step S 201 ), and then registers each of the input images (Step S 202 ).
  • the image-correction processing unit 26 b then corrects each of the images registered by the registration processing unit 26 a (Step S 203 ).
  • the registration processing unit 26 a When performing registration, the registration processing unit 26 a performs registration of the images based on, for example, positional information with respect to a patient coordinate system attached to each image. When performing the registration, the registration processing unit 26 a stores the amount of movement of the coordinates (for example, using a transformation matrix) generated through the registration into a storage unit, such as an internal memory, with respect to each of the images. If a style of an image, such as the size or the shape, is changed through the correction processing, the image-correction processing unit 26 b stores information that indicates the size and the shape of the changed image into the storage unit with respect to each of the images.
  • a style of an image such as the size or the shape
  • the display control unit 26 e arranges the images corrected by the image-correction processing unit 26 b, and then causes the display unit 25 to display the images in the display area included in the display unit 25 (Step S 204 ).
  • the ROI setting unit 26 c sets a point of interest in the same position on the other image on which the operator does not specify a point of interest.
  • the ROI setting unit 26 c extracts a segmentation region as an ROI from each of the images with reference to a pixel at each point of interest (Step S 206 ).
  • a segmentation region performed at Step S 206 , one of generally-known various region-extraction methods, for example, a Region Growing method, can be used.
  • the ROI setting unit 26 c When extracting the segmentation region, stores positional information indicating the position of the extracted segmentation region into the storage unit with respect to each of the images.
  • the feature-analysis processing unit 26 d extracts the boundary of the segmentation region created by the ROI setting unit 26 c from each of the images as a feature analysis (Step S 207 ).
  • the display control unit 26 e displays the perfusion image 52 on which the segmentation regions extracted from the respective images are superimposed (Step S 208 ).
  • the display control unit 26 e can display the diffusion image on which the segmentation regions extracted from the respective images are superimposed.
  • the display control unit 26 e specifies the position of each segmentation region on each image based on the amount of movement of the coordinates, information indicating the size and the shape of image that is changed through correction processing, and positional information about the segmentation region, which are stored in the storage unit, and then superimposes the segmentation regions.
  • Step S 209 The operator then performs a certain operation of image switching on a displayed image via the keyboard or the mouse of the input unit 24 (Yes at Step S 209 ), and then the display control unit 26 e causes the display unit 25 to display the diffusion image 51 or the perfusion image 52 on which the segmentation regions extracted from the respective images by the feature-analysis processing unit 26 d are superimposed, by switching the images, in substantially the same position in the display area included in the display unit 25 (Step S 210 ).
  • FIG. 9 depicts an example of the perfusion image 52 on which the segmentation regions are superimposed.
  • the ROI setting unit 26 c included in the control unit 26 creates segmentation regions from a diffusion image and a perfusion image of a brain as an ROI by performing certain region-extracting processing, and the feature-analysis processing unit 26 d extracts a boundary of each segmentation created by the ROI setting unit 26 c with respect to each of the images, as a feature analysis.
  • the display control unit 26 e then superimposes one on another of respective boundaries of the segmentation regions in the respective images extracted by the feature-analysis processing unit 26 d, and causes display of the superimposed boundaries on an image in a superimposed manner.
  • a region indicated by using segmentation regions in a plurality of images for example, an ischemic penumbra area in a brain, can be accurately and easily specified, a diagnosis and a treatment can be promptly and effectively performed.
  • FIG. 10 is a schematic diagram of another flow of image display performed by the control unit 26 according to the second embodiment.
  • the display control unit 26 e when displaying a diffusion image 61 taken four hours after an episode of a symptom, a perfusion image 62 taken four hours after the episode, and a T 2 W image 63 taken 14 days after the episode, the display control unit 26 e superimposes a boundary A of a segmentation region extracted from the diffusion image 61 , a boundary B of a segmentation region extracted from the perfusion image 62 , and a boundary C of a segmentation region extracted from the T 2 W image 63 , on the respective images, and then displays each of the images by switching them.
  • the boundary C indicates a region in which tissue is necrosis.
  • FIG. 10 depicts an example of the T 2 W image 63 taken 14 days after the episode on which the boundaries A to C are superimposed.
  • a tissue image for example, a T 2 W image
  • a functional image for example, a diffusion image and/or a perfusion image
  • the display control unit 26 e can vary the colors of the boundaries when displaying the boundaries in a superimposed manner. Accordingly, each of the boundaries can be easily identified.
  • the exemplary embodiments are not limited to this, and can be similarly applied to other diagnostic imaging apparatuses.
  • the exemplary embodiments can be similarly applied to, for example, an X-ray diagnosis apparatus, an X-ray Computed Tomography (CT) apparatus, an ultrasound diagnosis apparatus, a Single Photon Emission Computed Tomography (SPECT) apparatus, and a Positron Emission Tomography (PET) apparatus.
  • CT X-ray Computed Tomography
  • SPECT Single Photon Emission Computed Tomography
  • PET Positron Emission Tomography
  • the first embodiment and the second embodiment are explained above in cases where after performing registration of a plurality of images, a segmentation region is extracted from each of the images, and then the extracted segmentation regions are displayed on each of the images in a superimposed manner.
  • a segmentation region is extracted from each of the images, and then registration can be performed only between the extracted segmentation regions.
  • the display control unit 26 e registers one with another of segmentation regions extracted from respective images by the feature-analysis processing unit 26 d, and then superimposes them on one another.
  • the display control unit 26 e then performs registration of the superimposed segmentation regions with an image to be displayed, and then superimposes them on one another and displays them. Accordingly, registration of the whole image does not need to be performed with respect to each of the images, so that the load of processing related to the registration can be reduced.
  • the first embodiment and the second embodiment are explained above in cases where the present invention is applied to an MRI apparatus; however, the present invention is not limited to this, and can be similarly applied to an image display apparatus (also called a viewer) that displays images taken by various diagnostic imaging apparatuses, such as an MRI apparatus, an X-ray diagnosis apparatus, an X-ray CT apparatus, an ultrasound diagnosis apparatus, a SPECT apparatus, a PET apparatus, and an endoscope.
  • an MRI apparatus an X-ray diagnosis apparatus
  • an X-ray CT apparatus an ultrasound diagnosis apparatus
  • SPECT apparatus SPECT apparatus
  • PET apparatus SPECT apparatus
  • endoscope an endoscope
  • FIG. 11 is a functional block diagram of a configuration of an image display apparatus 200 according to the third embodiment.
  • the image display apparatus 200 according to the third embodiment includes a communication unit 210 , a storage unit 220 , an input unit 230 , a display unit 240 , and a control unit 250 .
  • the communication unit 210 controls transmission and reception of information that is exchanged between the image display apparatus 200 and a Picture Archiving and Communication System (PACS), an image database, or the like, via a network.
  • PACS Picture Archiving and Communication System
  • the PACS is an image administration system included in various diagnostic imaging apparatuses and image storage devices connected via a network.
  • the image database is a database that stores various images taken by various diagnostic imaging apparatuses.
  • Such image data transmitted from the PACS or the image database are typically tomographic images or projection images, and further includes tomographic images of multiple cross-sections, and volume data expressed with voxels.
  • the transmitted image data can be data obtained before image creation.
  • an MRI apparatus performs registration in some cases by calculating the amount of movement by measuring correlation between data in frequency space.
  • image data can be attached with information, such as imaging parameters, slice (scanning) position, imaging time and imaging conditions.
  • the storage unit 220 stores various information, for example, an image received from the PACS or an image database via the communication unit 210 , and various programs to be executed by the control unit 250 .
  • the input unit 230 receives various instructions and information input from an operator.
  • a pointing device such as a mouse or a trackball
  • an input device such as a keyboard
  • the display unit 240 displays various information, such as an image taken by a diagnostic imaging apparatus.
  • a display device such as a liquid crystal display, can be used as the display unit 240 , as required.
  • the control unit 250 includes a CPU and a memory (neither of which are shown) and carries out total control of the image display apparatus 200 .
  • the control unit 250 sets an ROI on each of a plurality of images that includes the same portion of a subject, and performs a feature analysis on each of the images based on pixel values of pixels included in the set ROI.
  • the control unit 250 then causes the display unit 240 to display each of the images in substantially the same position in a display area included in the display unit 240 by switching the images in a certain order, and to display a result of the feature analysis in the same display area. Consequently, according to the third embodiment, change in details due to a difference of the imaging methods can be easily observed without moving an observation point between images.
  • control unit 250 particularly includes a registration processing unit 250 a, an image-correction processing unit 250 b, an ROI setting unit 250 c, a feature-analysis processing unit 250 d and a display control unit 250 e. Respective functions of the units are basically similar to those of the registration processing unit 26 a , the image-correction processing unit 26 b, the ROI setting unit 26 c, the feature-analysis processing unit 26 d, and the display control unit 26 e shown in FIG. 2 ; therefore, detailed explanations are omitted below.
  • FIG. 12 is a flowchart of a process/procedure of image display performed by the control unit 250 according to the third embodiment.
  • FIG. 13 is a schematic diagram of a flow of image display performed by the control unit 250 according to the third embodiment.
  • timings include an artery phase, a portal-venous phase and an equilibrium phase.
  • the equilibrium phase is the late phase enhanced after several minutes.
  • concentration of residual contrast agent in each of the phases is meaningful information.
  • the third embodiment is explained below in a case of displaying respective images of the liver in the artery phase, the portal-venous phase and the equilibrium phase, obtained through a dynamic CT scan.
  • the registration processing unit 250 a receives input of respective images of a liver of the same subject in an artery phase, a portal-venous phase and an equilibrium phase, obtained through a dynamic CT scan (Step S 301 ), and registers each of the input images (Step S 302 ).
  • the registration processing of images performed at Step S 302 can be omitted. Accordingly, processing time for calculation can be reduced.
  • the image-correction processing unit 250 b then corrects each of the images registered by the registration processing unit 250 a (Step S 303 ).
  • the display control unit 250 e causes the display unit 240 to display (a) an image 71 in the artery phase of the liver, (b) an image 72 in the portal-venous phase, and (c) an image 73 in the equilibrium phase, each of which is corrected by the image-correction processing unit 250 b, in an arranged manner in the display area included in the display unit 240 (Step S 304 ).
  • the ROI setting unit 250 c similarly sets the ROI in the same position on each of the images in the other phases on which the operator does not specify an ROI.
  • the feature-analysis processing unit 250 d sets an abnormal area and a normal area on each of the images based on the ROI set by the ROI setting unit 250 c (Step S 306 ). Specifically, as shown in FIG. 13 , the feature-analysis processing unit 250 d sets the ROI set by the ROI setting unit 250 c to an abnormal area, and sets an extended area extended from the abnormal area by a certain distance to a normal area.
  • the feature-analysis processing unit 250 d then calculates a Time Density Curve (TDC) of each of the abnormal area and the normal area based on pixel values of each of the images, as a feature analysis (Step S 307 ).
  • TDC Time Density Curve
  • the feature-analysis processing unit 250 d can calculate a TDC that indicates pixel values, and otherwise can calculate a TDC that indicates differences from reference values that are pixel values of an image taken before a contrast agent is injected.
  • the display control unit 250 e causes the display unit 240 to display a graph 75 of the TDCs created by the feature-analysis processing unit 250 d in the display area included in the display unit 240 (Step S 308 ).
  • a curve H denotes the TDC of the normal area
  • a curve G denotes the TDC of the abnormal area.
  • the display control unit 250 e can display the respective ROIs set on (a) the image 71 in the artery phase, (b) the image 72 in the portal-venous phase, and (c) the image 73 in the equilibrium phase (regions D, E, F, on the images 71 to 73 ) and respective lines indicating the artery phase, the portal-venous phase, and the equilibrium phase in the graph 75 of the TDCs (lines D, E and F) in the same colors phase by phase. Accordingly, the image in each phase and the concentration in each phase (corresponding to the level of a pixel value) can be easily observed in an associated manner.
  • the display control unit 250 e creates enlarged images including the abnormal area and the normal area respectively from the image 71 in the artery phase, the image 72 in the portal-venous phase, and the image 73 in the equilibrium phase (Step S 309 ); and then causes the display unit 240 to display an enlarged image 74 in the artery phase on which the abnormal area and the normal area set by the ROI setting unit 250 c are superimposed in the display area included in the display unit 240 (Step S 310 ). Otherwise, the display control unit 250 e can cause display of an enlarged image in the portal-venous phase or in the equilibrium phase, instead of the enlarged image 74 in the artery phase.
  • the display control unit 250 e causes the display unit 240 to display one of the respective enlarged images in the artery phase, the portal-venous phase and the equilibrium phase, on each of which the abnormal area and the normal area set by the ROI setting unit 250 c are superimposed, by switching the enlarged images, in substantially the same position in the display area included in the display unit 240 (Step S 312 ).
  • the display control unit 250 e can display a line indicating the abnormal area on the enlarged image (line G on the enlarged image 74 ) and a curve indicating the TDC of the abnormal area in the graph 75 of the TDCs (curve G in the graph 75 ) in the same color, and a line indicating the normal area on the enlarged image (line H on the enlarged image 74 ) and a curve indicating the TDC of the normal area in the graph 75 of the TDCs (curve H in the graph 75 ) in the same color.
  • the curves in the graph 75 of the TDCs and the abnormal area and the normal area superimposed on the image 71 in the artery phase, the image 72 in the portal-venous phase, and the image 73 in the equilibrium phase can be easily observed in an associated manner.
  • one of the regions D, E and F in FIG. 13 corresponding to a switched and displayed image can be displayed in a highlighted manner.
  • the ROI setting unit 250 c of the control unit 250 sets an ROI on each of a plurality of images of a liver obtained through a dynamic CT scan; and the feature-analysis processing unit 250 d sets an abnormal area and a normal area on each of the images based on pixel values of pixels included in the ROI set by the ROI setting unit 250 c, and calculates TDCs of the set abnormal area and the set normal area.
  • the display control unit 250 e then causes the display unit 240 to display the images in substantially the same position in the display area included in the display unit 240 by switching the images in a certain order, and to display the abnormal area and the normal area, and the TDCs of the respective areas, in the same display area. Consequently, according to the third embodiment, change in details due to a difference of the imaging methods can be easily observed without moving an observation point between images. Specifically, the degree of remaining contrast agent in a liver can be visually confirmed.
  • the image switching display and the display of feature values of ROI described in the above embodiments can be similarly applied to, for example, a plurality of CT images, MR images, ultrasound images, SPECT images, PET images and endoscope images, taken under different imaging conditions (including imaging time).
  • the above display can be similarly applied to display of a combined image of some of those images.
  • Examples of such combination include CT and MR, CT and PET, CT and SPECT, Digital Subtraction Angiographies (DSA) and MR, PET and MR, PET and an ultrasound diagnosis apparatus (US), SPECT and MR, SPECT and US, US and CT, US and MR, an X-ray diagnosis apparatus (X-ray) and CT, X-ray and MR, and X-ray and US.
  • DSA Digital Subtraction Angiographies
  • US ultrasound diagnosis apparatus
  • SPECT and MR SPECT and US
  • US and CT US and MR
  • X-ray diagnosis apparatus X-ray
  • CT X-ray and MR
  • X-ray and US X-ray and US.
  • a plurality of kinds of images taken of the same portion through various methods is displayed in substantially the same position on a screen by being switched, and feature values are additionally displayed, so that change in details due to a difference of imaging methods can be easily observed while fixing an observation point at a screen position of a portion of interest. Accordingly, an image reader can improve the efficiency of image reading, and can perform a diagnosis and a treatment promptly. Moreover, because a statistical result is also displayed, a diagnosis that is quantitative, but not qualitative, can be performed.
  • anatomical details (ROI) on each image can be comparatively read without moving the observation point, and a determination on presence or absence of diseases, screening between benign and malign characteristics, and a decision about a treatment flow, can be performed.
  • ROI anatomical details
  • the image display apparatus, the image display method and the magnetic resonance imaging apparatus according to the embodiments of the present invention are useful when performing comparative reading of various images, and particularly suitable when one needs to perform a quantitative diagnosis based on a grasp of features of various images.

Landscapes

  • Health & Medical Sciences (AREA)
  • Engineering & Computer Science (AREA)
  • Life Sciences & Earth Sciences (AREA)
  • Physics & Mathematics (AREA)
  • Nuclear Medicine, Radiotherapy & Molecular Imaging (AREA)
  • Medical Informatics (AREA)
  • General Health & Medical Sciences (AREA)
  • High Energy & Nuclear Physics (AREA)
  • Radiology & Medical Imaging (AREA)
  • Animal Behavior & Ethology (AREA)
  • Pathology (AREA)
  • Heart & Thoracic Surgery (AREA)
  • Biophysics (AREA)
  • Public Health (AREA)
  • Veterinary Medicine (AREA)
  • Molecular Biology (AREA)
  • Surgery (AREA)
  • Biomedical Technology (AREA)
  • General Physics & Mathematics (AREA)
  • Optics & Photonics (AREA)
  • Condensed Matter Physics & Semiconductors (AREA)
  • Theoretical Computer Science (AREA)
  • Human Computer Interaction (AREA)
  • Signal Processing (AREA)
  • Neurology (AREA)
  • Pulmonology (AREA)
  • Vascular Medicine (AREA)
  • Computer Vision & Pattern Recognition (AREA)
  • Quality & Reliability (AREA)
  • Spectroscopy & Molecular Physics (AREA)
  • Psychology (AREA)
  • Neurosurgery (AREA)
  • Physiology (AREA)
  • Multimedia (AREA)
  • Magnetic Resonance Imaging Apparatus (AREA)
  • Apparatus For Radiation Diagnosis (AREA)
  • Measuring And Recording Apparatus For Diagnosis (AREA)

Abstract

In a Magnetic Resonance Imaging (MRI) apparatus, a Region Of Interest (ROI) setting unit included in a control unit sets an ROI on each of a T1 weighted image, a T2 weighted image, and a flair image of a brain of a subject, and a feature-analysis processing unit creates a histogram of statistics with respect to each of a plurality of images based on pixel values of pixels included in the ROI set by the ROI setting unit. A display control unit then causes a display unit to display the images in substantially the same position in a display area included in the display unit by switching the images in a certain order, and to display the histogram created by the feature-analysis processing unit in the same display area.

Description

    CROSS-REFERENCE TO RELATED APPLICATIONS
  • This is a division of U.S. Ser. No. 12/603,961 filed Oct. 22, 2009, the entire content of which is incorporated herein by reference.
  • This application is also based upon and claims the benefit of priority from prior Japanese Patent Application No. 2008-274842 filed on Oct. 24, 2008, and No. 2009-208519 filed on Sep. 9, 2009, the entire contents of both of which are incorporated herein by reference.
  • BACKGROUND
  • 1. Technical Field
  • The present exemplary embodiments relate to an image display apparatus, an image display method, and a magnetic resonance imaging apparatus, and particularly relate to an image display apparatus, an image display method, and a magnetic resonance imaging apparatus according to which change in details due to a difference of the imaging methods can be easily observed without moving an observation point between images.
  • 2. Description of Related Art
  • Conventionally, various diagnoses and treatments are carried out in medical practice with the use of various images that are taken by using various diagnostic imaging apparatuses. For example, when using a Magnetic Resonance Imaging (MRI) apparatus, it can take various kinds of images, for example, a longitudinal relaxation weighted image (T1W image), a transverse relaxation weighted image (T2W image), a proton density image, a flair image, a fat suppression image, a diffusion image, a perfusion image, a functional Magnetic Resonance Imaging (f-MRI) image, and a Magnetic Resonance Spectroscopy (MRS); the list is endless. Moreover, when using an X-ray Computed Tomography (CT) apparatus, it can take a functional image, such as a functional image of a blood flow, as well as a usual anatomical image based on CT values.
  • Usually, when reading a plurality of different images, for example, films are arranged on a schaukasten, or images are arranged on a monitor; and then a diagnosis is carried out while moving an observer's eyes from a point to a point corresponding to the same anatomical portion between respective images. According to such diagnosis, because images are read by moving the observer's eyes to respective regions of interest among several kinds of arranged images, it takes a long time to read the images. It is also very difficult to perform a diagnosis while comparing anatomical details between images because it is carried out with a movement of an observation point.
  • For this reason, for example, an ultrasound diagnosis apparatus uses a method of superimposing and displaying a monochrome image and a color image, onto both of which the same portion is imaged, which is called a fusion method. Apart from this, another method is proposed for enabling a comparative reading without movement of an observation point when there is a plurality of images taken of the same portion, by displaying the images in the substantially same position on a screen by switching the images one by one (for example, see JP-A 2006-95279 (KOKAI)).
  • However, according to conventional technology, it is difficult to observe easily changes in details due to a difference of imaging methods. For example, according to display by a fusion method, because at least two images are superimposed, one of the superimposed images is limited to an image of a small spatial resolution, such as a monochrome image, or a topical image. According to the method of displaying images in the substantially same position by switching them, although reduction in movement of an observation point is taken into account, an observation of change in details due to a difference of imaging methods is not considered.
  • BRIEF SUMMARY
  • According to one aspect of the exemplary embodiments, an image display apparatus includes a region-of-interest setting unit that sets a region of interest on each of a plurality of images that is imaged by a diagnostic imaging apparatus and includes a same portion of a subject; a feature analysis unit that performs a feature analysis on each of the images based on pixel values of pixels included in the region of interest set by the region-of-interest setting unit; and a display control unit that causes a display unit to display the images in a substantially same position in a display area included in the display unit by switching the images in an order prescribed, and to display a result of the feature analysis obtained by the feature analysis unit in same display area.
  • According to another aspect of the exemplary embodiments, an image display apparatus includes a mode changing unit that changes a display mode of image with respect to each of a plurality of images that is imaged by a diagnostic imaging apparatus and includes a same portion of a subject; and a display control unit that causes a display unit to display the images of each of which the display mode is changed by the mode changing unit in a substantially same position in a display area included in the display unit by switching the images in an order prescribed.
  • According to still another aspect of the exemplary embodiments, an image display method includes setting a region of interest on each of a plurality of images that is imaged by a diagnostic imaging apparatus and includes a same portion of a subject; performing a feature analysis on each of the images based on pixel values of pixels included in the region of interest; and causing a display unit to display the images in a substantially same position in a display area included in the display unit by switching the images in an order prescribed, and to display a result of the feature analysis in same display area.
  • According to yet another aspect of the exemplary embodiments, an image display method includes changing a display mode of image with respect to each of a plurality of images that is imaged by a diagnostic imaging apparatus and includes a same portion of a subject; and causing a display unit to display the images of each of which the display mode is changed, by switching the images in an order prescribed, in a substantially same position in a display area included in the display unit.
  • According to an additional aspect the exemplary embodiments, a magnetic resonance imaging apparatus includes an imaging unit that takes a plurality of images that includes a same portion of a subject; a region-of-interest setting unit that sets a region of interest on each of the images taken by the imaging unit; a feature analysis unit that performs a feature analysis on each of the images based on pixel values of pixels included in the region of interest set by the region-of-interest setting unit; and a display control unit that causes a display unit to display the images in a substantially same position in a display area included in the display unit by switching the images in an order prescribed, and to display a result of the feature analysis obtained by the feature analysis unit in same display area.
  • According to a still further aspect of the exemplary embodiment, a magnetic resonance imaging apparatus includes an imaging unit that takes a plurality of images that includes a same portion of a subject; a mode changing unit that changes a display mode of image with respect to each of the images taken by the imaging unit; and a display control unit that causes a display unit to display the images of which the display mode is changed by the mode changing unit, by switching the images in an order prescribed, in a substantially same position in a display area included in the display unit.
  • BRIEF DESCRIPTION OF THE DRAWINGS
  • FIG. 1 is a schematic diagram of a general configuration of a Magnetic Resonance Imaging (MRI) apparatus according to a first embodiment of the present invention;
  • FIG. 2 is a functional block diagram of a configuration of a control unit according to the first embodiment;
  • FIGS. 3A to 3E are schematic diagrams for explaining an example of an image registration method performed by a registration processing unit according to the first embodiment;
  • FIG. 4 is a schematic diagram for explaining another example of an image registration method performed by the registration processing unit according to the first embodiment;
  • FIG. 5 is a flowchart of a process/procedure of image display performed by a control unit according to the first embodiment;
  • FIG. 6 is a schematic diagram of a flow of image display performed by the control unit according to the first embodiment;
  • FIG. 7 is a schematic diagram of another flow of image display performed by the control unit according to the first embodiment;
  • FIG. 8 is a flowchart of a process/procedure of image display performed by a control unit according to a second embodiment of the present invention;
  • FIG. 9 is a schematic diagram of a flow of image display performed by the control unit according to the second embodiment;
  • FIG. 10 is a schematic diagram of another flow of image display performed by the control unit according to the second embodiment;
  • FIG. 11 is a functional block diagram of a configuration of an image display apparatus according to a third embodiment of the present invention;
  • FIG. 12 is a flowchart of a process/procedure of image display performed by a control unit according to the third embodiment; and
  • FIG. 13 is a schematic diagram of a flow of image display performed by the control unit according to the third embodiment.
  • DETAILED DESCRIPTION
  • Exemplary embodiments of an image display apparatus, an image display method, and a magnetic resonance imaging apparatus according to the present invention will be explained below in detail with reference to the accompanying drawings. Hereinafter, a Magnetic Resonance Imaging apparatus is referred to as an MRI apparatus.
  • A first embodiment according to the present invention is explained below about an MRI apparatus to which the present invention is applied. First of all, a general configuration of an MRI apparatus 100 according to the first embodiment is explained below with reference to FIG. 1. FIG. 1 is a schematic diagram of a general configuration of the MRI apparatus 100 according to the first embodiment. As shown in FIG. 1, the MRI apparatus 100 includes a static magnetic-field magnet 1, a gradient magnetic-field coil 2, a gradient magnetic-field power source 3, a couch 4, a couch control unit 5, a Radio Frequency (RF) transmitting coil 6, a transmitting unit 7, an RF receiving coil 8, a receiving unit 9, a sequence control unit 10 and a computer system 20.
  • The static magnetic-field magnet 1 is a magnet formed in a hollow drum shape, and generates a uniform static magnetic field in its inside space. For example, a permanent magnet or a superconducting magnet is used as the static magnetic-field magnet 1.
  • The gradient magnetic-field coil 2 is a coil formed in a hollow drum shape, and is arranged on the inner side of the static magnetic-field magnet 1. The gradient magnetic-field coil 2 is formed of three coils in combination corresponding to x, y and z axes orthogonal to one another, and the three coils generate gradient magnetic fields of which field strengths vary along three directions of the x, y and z axes, respectively, by individually receiving a current supply from the gradient magnetic-field power source 3, which will be described later. It is assumed that the z axis direction is the same direction as that of the static magnetic field. The gradient magnetic-field power source 3 is a device that supplies a current to the gradient magnetic-field coil 2.
  • The gradient magnetic fields of the x, y and z axes generated by the gradient magnetic-field coil 2 correspond to, for example, a slice-selective gradient magnetic field Gs, a phase-encoding gradient magnetic field Ge, and a readout gradient magnetic field Gr, respectively. The slice-selective gradient magnetic field Gs is used for arbitrarily setting a scan cross-section. The phase-encoding gradient magnetic field Ge is used for changing the phase of a magnetic resonance signal in accordance with a spatial position. The readout gradient magnetic field Gr is used for changing the frequency of a magnetic resonance signal in accordance with a spatial position.
  • The couch 4 is a device that includes a top plate 4 a on which a subject P is to be placed; and under the control of the couch control unit 5, which will be described later. The couch 4 inserts the top plate 4 a on which the subject P is placed into a hole (a scanning space) of the gradient magnetic-field coil 2. Usually, the couch 4 is placed such that the longitudinal direction of the couch 4 is to be parallel to the central axis of the static magnetic-field magnet 1. The couch control unit 5 is a device that controls the couch 4 under the control of a control unit 26, and moves the top plate 4 a in the longitudinal direction and upward and downward by driving the couch 4.
  • The RF transmitting coil 6 is a coil arranged on the inner side of the gradient magnetic-field coil 2, and generates a radio-frequency magnetic field by receiving supply of a radio-frequency pulse from the transmitting unit 7. The transmitting unit 7 is a device that transmits a radio-frequency pulse corresponding to a Larmor frequency to the RF transmitting coil 6.
  • The RF receiving coil 8 is a coil arranged on the inner side of the gradient magnetic-field coil 2, and receives a magnetic resonance signal emitted from the subject P owing to an influence of the radio-frequency magnetic field described above. Upon receiving a magnetic resonance signal, the RF receiving coil 8 outputs the magnetic resonance signal to the receiving unit 9.
  • The receiving unit 9 creates k-space data based on the magnetic resonance signal output by the RF receiving coil 8. Specifically, the receiving unit 9 creates k-space data by converting a magnetic resonance signal output from the RF receiving coil 8 into digital. The k-space data is associated with information about spatial frequencies of a PE direction, an RO direction, and an SE direction by the slice-selective gradient magnetic field Gs, the phase-encoding gradient magnetic field Ge, and the readout gradient magnetic field Gr. After creating k-space data, the receiving unit 9 transmits the k-space data to the sequence control unit 10.
  • The sequence control unit 10 performs scanning of the subject P by activating the gradient magnetic-field power source 3, the transmitting unit 7 and the receiving unit 9, based on sequence information transmitted from the computer system 20. The sequence information defines a procedure for scanning, such as the strength of power to be supplied to the gradient magnetic-field coil 2 by the gradient magnetic-field power source 3 and the timing of supplying the power, the strength of an RF signal to be transmitted to the RF transmitting coil 6 by the transmitting unit 7 and the timing of transmitting the RF signal, and the timing of detecting a magnetic resonance signal by the receiving unit 9.
  • When k-space data is transmitted from the receiving unit 9 as a result of scanning the subject P by activating the gradient magnetic-field power source 3, the transmitting unit 7 and the receiving unit 9, the sequence control unit 10 transfers the k-space data to the computer system 20.
  • The computer system 20 performs total control of the MRI apparatus 100, data collection, image reconstruction, and the like. The computer system 20 particularly includes an interface unit 21, an image reconstructing unit 22, a storage unit 23, an input unit 24, a display unit 25 and the control unit 26.
  • The interface unit 21 controls input and output of various signals that are given and received to and from the sequence control unit 10. For example, the interface unit 21 transmits sequence information to the sequence control unit 10, and receives k-space data from the sequence control unit 10. When having received k-space data, the interface unit 21 stores k-space data in the storage unit 23 with respect to each subject P.
  • The image reconstructing unit 22 creates spectrum data of a desired nuclear spin inside the subject P or image data by performing post-processing, i.e., reconstruction processing, such as Fourier transform processing, on k-space data stored in the storage unit 23.
  • The storage unit 23 stores k-space data received by the interface unit 21, and image data created by the image reconstructing unit 22, with respect to each subject P.
  • The input unit 24 receives various instructions and information input from an operator. As the input unit 24, a pointing device, such as a mouse or a trackball, a selecting device, such as a mode switch, and an input device, such as a keyboard, can be used as required.
  • The display unit 25 displays various information, such as spectrum data or image data, under the control of the control unit 26. A display device, such as a liquid crystal display, can be used as the display unit 25.
  • The control unit 26 includes a Central Processing Unit (CPU) and a memory (neither of which is shown) and carries out total control of the MRI apparatus 100. Specifically, the control unit 26 controls a scan by creating sequence information based on imaging conditions input by the operator via the input unit 24, and transmitting the created sequence information to the sequence control unit 10, and controls reconstruction of an image performed based on k-space data sent from the sequence control unit 10 as a result of the scan.
  • Because Magnetic Resonance (MR) imaging is performed by using a protocol in which a plurality of different sequences is combined, different kinds of images are generally obtained through one time of imaging. Examples of a perfusion imaging protocol can be listed as follows: a T1 weighted image (T1W image) imaging sequence, a T2 weighted image (T2W image) imaging sequence, and a protocol in which a flair-image imaging sequence and a dynamic-image imaging sequence are combined.
  • The general configuration of the MRI apparatus 100 according to the first embodiment has been explained above. Under such configuration, according to the first embodiment, the control unit 26 sets a Region Of Interest (ROI) on each of a plurality of images that includes the same portion of a subject, and performs a feature analysis on each of the images based on pixel values of pixels included in the set ROI. The control unit 26 then causes the display unit 25 to display each of the images in the substantially same position in a display area included in the display unit 25 by switching the images in a certain order, and to display a result of the feature analysis in the same display area. Consequently, according to the first embodiment, change in details due to a difference of the imaging methods can be easily observed without moving an observation point between images.
  • Details of the control unit 26 according to the first embodiment are explained below. First of all, a configuration of the control unit 26 according to the first embodiment is explained below with reference to FIG. 2. FIG. 2 is a functional block diagram of a configuration of the control unit 26 according to the first embodiment. As shown in FIG. 2, the control unit 26 particularly includes a registration processing unit 26 a, an image-correction processing unit 26 b, an ROI setting unit 26 c, a feature-analysis processing unit 26 d and a display control unit 26 e.
  • The registration processing unit 26 a performs registration between a plurality of images on which a portion of a subject to be examined is imaged. Specifically, the registration processing unit 26 a reads from the storage unit 23 a plurality of images on which the same portion of a subject to be examined is imaged, and aligns the sizes and the positions of the read images. For the registration of images to be performed here, any of various generally-known image-registration methods, for example, registration based on anatomical information, can be used.
  • The registration processing unit 26 a performs registration by reading a plurality of medical images, for example, different kinds of images and images along different time sequences that are taken by the same kind of diagnostic imaging apparatus through different imaging methods, or images taken by different diagnostic imaging apparatuses. For example, the registration processing unit 26 a performs registration by reading images taken through different imaging methods, such as, a T1W image, a T2W image, a proton density image, a flair image, a fat suppression image, a diffusion image, a perfusion image, a functional Magnetic Resonance Imaging (f-MRI) image and/or an MR spectroscopy.
  • Moreover, for example, the registration processing unit 26 a performs registration by reading images taken under imaging conditions that include a different setting value among imaging parameters. The imaging parameters include an Echo Time (TE), a Repetition Time (TR) and a b factor that indicates the strength of a Motion Probing Gradient (MPG) pulse.
  • Generally, an MRI apparatus can image a cross-section of a subject in an arbitrary direction among three-dimensional directions. Therefore, positional information about an image taken by the MRI apparatus is expressed in a coordinate system that is uniquely determined based on a pose of a patient during a scan. Such coordinate system is called “a patient coordinate system”, and is determined with respect to each scan based on a posture of the patient (a supine position, a prone position, a right recumbent position, or a left recumbent position), and an insert direction into the apparatus (from the head, or from the foot). On the other hand, a coordinate system called “an apparatus coordinate system” is unique to an apparatus, has the origin point at the center of the magnetic field, and is expressed with three coordinate axes respectively along three directions in the apparatus, namely, an upward-and-downward direction, a right-and-left direction, and a fore-and-aft direction of the apparatus.
  • Morphological images, for example, a T1W image and a T2W image, are often taken of the same area in the same examination in many cases. Consequently, positions of the morphological images, such as a T1W image and a T2W image, are indicated in the same patient coordinate system. For this reason, morphological images can be easily registered by using positional information with respect to a patient coordinate system generally attached to an image.
  • On the other hand, functional images, for example, a diffusion image and a perfusion image, generally have a distortion, so that it is difficult to perform registration simply based on a patient coordinate system. Therefore, the registration processing unit 26 a extracts a region that indicates a characteristic portion from each image, and performs registration with reference to the extracted region. FIGS. 3A to 3E are schematic diagrams for explaining an example of an image registration method performed by the registration processing unit 26 a according to the first embodiment. Explained below is a case of registration between a Diffusion Weighted Imaging (DWI) image and a Perfusion Weighted Imaging (PWI) image.
  • For example, to begin with, the registration processing unit 26 a extracts the region of a portion subjected to registration from both a DWI image and a PWI image. Specifically, the registration processing unit 26 a extracts the region of a portion subjected to registration from among voxels included in both the DWI image and the PWI image by performing generally-known segmentation processing. The registration processing unit 26 a then extracts voxels positioned on the boundary of the extracted region as boundary voxels 31, as shown in FIG. 3A. FIG. 3A depicts part of the boundary voxels 31.
  • Furthermore, the registration processing unit 26 a extracts shape voxels that express the shape of each region extracted from the DWI image and the PWI image. Specifically, the registration processing unit 26 a selects a certain number of voxels as shape voxels 32 from among boundary voxels included in both the DWI image and the PWI image, as shown in FIG. 3B. For example, the registration processing unit 26 a selects the shape voxels 32 with certain intervals from among a plurality of boundary voxels arranged along the boundary of the region.
  • Subsequently, the registration processing unit 26 a associates the shape voxels between the DWI image and the PWI image. Specifically, as shown in FIG. 3C, the registration processing unit 26 a makes every combination of the shape voxels 32 between the DWI image and the PWI image in every pattern, and calculates a distance between combined voxels in every combination. The registration processing unit 26 a then specifies a pattern of combinations of the shape voxels 32 in which the total of distances between the voxels becomes the minimum. When calculating, for example, the registration processing unit 26 a calculates the position of each voxel based on the patient coordinates included in information attached to each image, and then calculates a distance between voxels based on the calculated positions.
  • The registration processing unit 26 a then registers the position of each voxel by each pair of associated shape voxels. Specifically, as shown in FIG. 3D, the registration processing unit 26 a moves the position of each of the shape voxels 32 in the PWI image to match up with the position of a corresponding one of the shape voxels 32 in the DWI image, by each combination of the shape voxels 32, according to the combinations of the shape voxels 32 in which the total of the distances between the voxels is the minimum.
  • The registration processing unit 26 a then registers the position of each voxel included in the region of a portion subjected to registration based on a transformation matrix. Specifically, the registration processing unit 26 a calculates the transformation matrix between voxels 33 and the boundary voxels 31 in the region extracted from the PWI image by weighting the transformation of an adjacent shape voxel. The registration processing unit 26 a then moves each voxel based on the transformation matrix, as shown in FIG. 3E. Each of the arrows shown in FIGS. 3D and 3E indicates a vector representing the transformation of the transformation matrix.
  • In this way, the registration processing unit 26 a can precisely perform registration of an image that has a distortion, such as a diffusion image and a perfusion image, by changing a style, such as the size and/or the shape, of a portion included in the image subjected to registration.
  • A method of performing registration of an image is not limited to this. For example, registration of each image can be performed by receiving from an operator an operation of setting an arbitrary number of reference points on each image subjected to registration, and associating the reference points set by the operator. Accordingly, for example, as the operator sets reference points along the contour of the same portion drawn on each image, registration of each image can be performed so as to match up the position of the portion.
  • Registration of an image is not limited to two-dimensional directions, and can be performed in three-dimensional directions. FIG. 4 is a schematic diagram for explaining another example of an image registration method performed by the registration processing unit 26 a according to the first embodiment. For example, as shown in FIG. 4, it is assumed that six T1W images I11 to I16 and five T2W images I21 to I25 are taken of the same portion in a slice direction. When each of the images is an axial image, the slice direction is a z-axis direction of the patient coordinate system. When each of the images is a sagittal image, the slice direction is an x-axis direction of the patient coordinate system. When each of the images is a coronal image, the slice direction is a y-axis direction of the patient coordinate system. It is assumed that the T1W images I11 to I16 are taken at slice intervals different from those for the T2W images I21 to I25. Moreover, it is assumed that the position of the T1W image I11 matches the position of the T2W image I21, and the position of the T1W image I16 matches the position of the T2W image I25.
  • In such case, for example, if performing registration between the T1W image I13 and the T2W image I23, the images are different in position in the slice direction. In such case, for example, the registration processing unit 26 a creates an interpolation image I33 to be in the same position as that of the T1W image I13 in the slice direction by using the T2W image I22 and the T2W image I24 on the opposite sides of the T2W image I23. After that, the registration processing unit 26 a performs registration of the interpolation image I33 and the T1W image I13 in the direction orthogonal to the slice direction, as required. Any known technology can be used as a method of creating the interpolation image I33.
  • The image-correction processing unit 26 b performs a correction of an image registered by the registration processing unit 26 a. For example, the image-correction processing unit 26 b performs a distortion correction, or a correction for eliminating noise, on an image registered by the registration processing unit 26 a. For such correction of an image, any of generally-known various methods of image correction can be used.
  • The image-correction processing unit 26 b can change a display style of each image by performing correction processing. For example, the image-correction processing unit 26 b changes the size of each image, or changes the shape of each image.
  • The ROI setting unit 26 c sets an ROI on each image corrected by the image-correction processing unit 26 b. For example, to begin with, the ROI setting unit 26 c receives an operation of specifying a point of interest on one of a plurality of images displayed on the display unit 25, from the operator via the input unit 24. The ROI setting unit 26 c then sets on the image an ROI of a certain size that has the center at the received point of interest, and applies the same ROI to each of the other images.
  • Moreover, the ROI setting unit 26 c receives an operation of specifying a region (for example, a region of a rectangle or a circle) on one of the images displayed on the display unit 25 via the input unit 24. The ROI setting unit 26 c then sets on the image the received region as an ROI, and applies the same ROI to each of the other images.
  • In this way, when setting an ROI on one of a plurality of images, the ROI setting unit 26 c sets similarly the ROI on the other images, thereby omitting a procedure of setting a point of interest and an ROI on each of the images.
  • The feature-analysis processing unit 26 d performs a feature analysis on each image corrected by the image-correction processing unit 26 b based on pixel values of pixels included in each ROI set by the ROI setting unit 26 c. For example, the feature-analysis processing unit 26 d performs a feature analysis by calculating statistics about pixel values, such as an average and a standard deviation of the pixel values.
  • The display control unit 26 e causes the display unit 25 to display each image corrected by the image-correction processing unit 26 b in substantially the same position in the display area included in the display unit 25 by switching the images in a certain order (like turning pages), and to display a result of the feature analysis obtained by the feature-analysis processing unit 26 d in the same display area.
  • The display control unit 26 e can cause display of a portion of an image on which an ROI is set by the ROI setting unit 26 c, for example, in an enlarged manner under a certain magnification. Accordingly, a region subjected to a diagnosis can be more precisely observed.
  • A flow of image display performed by the control unit 26 according to the first embodiment is explained below with reference to FIGS. 5 and 6. FIG. 5 is a flowchart of a process/procedure of image display performed by the control unit 26 according to the first embodiment. FIG. 6 is a schematic diagram of a flow of image display performed by the control unit 26 according to the first embodiment. Explained below is an example of processing when displaying a T1W image, a T2W image, and a flair image of a brain.
  • As shown in FIG. 5, according to the control unit 26 of the first embodiment, to begin with, the registration processing unit 26 a receives input of a T1W image, a T2W image, and a flair image of a brain of the same subject (Step S101), and registers each of the input images (Step S102). The image-correction processing unit 26 b then corrects each of the images registered by the registration processing unit 26 a (Step S103).
  • When performing registration, the registration processing unit 26 a performs registration of each of the images based on, for example, positional information with respect to a patient coordinate system attached to each image. When performing the registration, the registration processing unit 26 a stores the amount of movement of the coordinates generated through the registration into a storage unit, such as an internal memory, with respect to each of the images. If a style of an image, such as the size or the shape, is changed through the correction processing, the image-correction processing unit 26 b stores information indicating the size and the shape of the changed image into the storage unit with respect to each of the images.
  • Subsequently, the display control unit 26 e causes the display unit 25 to display one of the images corrected by the image-correction processing unit 26 b, for example, the T1W image, in the display area included in the display unit 25 (Step S104). The image to be displayed at Step S104 is hereinafter referred to as a “reference image”. Different images can be set for respective kinds of diseases as a reference image, which can be arbitrarily changed in accordance with an instruction made by the operator.
  • As shown in FIG. 6, when the operator then specifies a point of interest on a reference image 41 of the displayed T1W image (Yes at Step S105), the ROI setting unit 26 c sets an ROI on each of the images based on the point of interest (Step S106). The example shown in FIG. 6 depicts a case in which an ROI is set on “superior frontal gyrus” in terms of anatomy.
  • When setting each ROI, the ROI setting unit 26 c stores positional information indicating the position of the set ROI into the storage unit with respect to each of the images. Furthermore, the ROI setting unit 26 c calculates a magnification when enlarging an image in the set ROI to a certain size for enlarged display and stores the calculated magnification into the storage unit with respect to each of the images.
  • Subsequently, the feature-analysis processing unit 26 d creates a histogram of pixel values in the ROI as a feature analysis. For example, the feature-analysis processing unit 26 d creates a histogram of statistics, such as an average value and an integrated value of the pixel values (Step S107).
  • After that, the display control unit 26 e creates an enlarged image of the ROI image by image (Step S108) and, furthermore, as shown in FIG. 6, causes the display unit 25 to display an enlarged image 42 of the T1W image on which the histogram created by the feature-analysis processing unit 26 d is superimposed, in the display area included in the display unit 25 (Step S109). For example, the display control unit 26 e makes the histogram transparent and superimposes the transparent histogram on the enlarged image 42. The display control unit 26 e can make the histogram opaque and superimpose the opaque histogram on the enlarged image 42.
  • When creating an enlarged image at Step S108, the display control unit 26 e specifies the position and the size of the ROI with respect to each of the images based on the amount of movement of the coordinates, information indicating the size and the shape of image changed through correction processing, and positional information about the ROI, which are stored in the storage unit. Moreover, the display control unit 26 e creates the enlarged image, image-by-image, by enlarging an image in the ROI of which the position and the size are specified, based on the magnification stored in the storage unit.
  • The operator then performs a certain operation of image switching on the displayed enlarged image 42 via the keyboard or the mouse of the input unit 24 (Yes at Step S110), and then the display control unit 26 e causes the display unit 25 to display the enlarged image 42 of the T1W image, an enlarged image 43 of the T2W image, or an enlarged image 44 of the flair image, on each of which the histogram created by the feature-analysis processing unit 26 d is superimposed, by switching the enlarged images, in the substantially same position in the display area included in the display unit 25 (Step S111), as shown in FIG. 6.
  • FIG. 6 depicts an example when displaying the histogram created from the pixel values of the respective images by arranging it on each of the images. In such case, for example, it can be configured such that the display control unit 26 e causes display of a flame of an image and display of a histogram in the same color with respect to each type of image. In such case, for example, the display control unit 26 e displays the flame and the histogram of the T1W image in red, those of the T2W image in green, and those of the flair image in blue. Accordingly, the operator can easily establish associations between the histograms and the respective images.
  • As described above, according to the MRI apparatus 100 of the first embodiment, the ROI setting unit 26 c included in the control unit 26 sets an ROI on each of a T1W image, a T2W image, and a flair image of the brain of the subject P. The feature-analysis processing unit 26 d creates a histogram of statistics with respect to each of the images based on pixel values of pixels included in the ROIs set by the ROI setting unit 26 c. The display control unit 26 e then causes the display unit 25 to display one of the images in substantially the same position in the display area included in the display unit 25 by switching the images in a certain order, and to display the histogram created by the feature-analysis processing unit 26 d in the same display area. Consequently, according to the first embodiment, change in details due to a difference of the imaging methods can be easily observed without moving an observation point between images. Specifically, by displaying a histogram of statistics together with an image, a diagnosis that is quantitative, but not qualitative, can be performed.
  • The first embodiment is explained above in a case of displaying only an enlarged image after an ROI is set. However, the present invention is not limited to this and, for example, it can be configured to display a reference image in parallel with an enlarged image. FIG. 7 is a schematic diagram of another flow of image display performed by the control unit 26 according to the first embodiment.
  • In this case, for example, as shown in FIG. 7, the display control unit 26 e displays the reference image 41 indicating an ROI in parallel with one of the enlarged images 42 to 44. Accordingly, the position of a region displayed in an enlarged manner can be easily grasped in the portion to be examined. For example, a relative position of the ROI in the brain region can be easily grasped.
  • Moreover, as shown in FIG. 6, the first embodiment is explained above in a case of arranging and displaying a histogram created from pixel values of respective images on each of the images. However, the present invention is not limited to this and, for example, it can be configured such that the display control unit 26 e displays a corresponding result of a feature analysis (a histogram) on each of the images. In such case, the display control unit 26 e displays one of results of feature analyses by switching them image-by-image in accordance with switching of display of the images. Accordingly, the feature values of each of the images can be easily grasped by associating it with the image.
  • Furthermore, although explained above is a case where the display control unit 26 e switches the images in accordance with an operation performed by an operator by using a keyboard and/or a mouse, it can be configured to switch images automatically at certain time intervals. Accordingly, comparative reading of a plurality of images can be performed by switching them even under a situation where the keyboard and the mouse cannot be operated.
  • Moreover, the display control unit 26 e can change the order of switching images in accordance with an instruction from the operator. Accordingly, the operator can change the order of image display so as to perform comparative reading easily in accordance with the type of each image on which the operator performs comparative reading.
  • The first embodiment is explained above in a case of displaying a T1W image, a T2W image, and a flair image of a brain. However, the present invention is not limited to this, and can be similarly applied to a case of displaying other kinds of images.
  • Conventionally, the usefulness of an evaluation performed in combination on a diffusion image and a perfusion image taken by an MRI apparatus has gained recognition, particularly in examinations of cerebral infarction. Specifically in an examination of cerebral infarction by using a diffusion image and a perfusion image, a segmentation region including a portion in doubt about cerebral infarction is extracted from each of the diffusion image and the perfusion image, and then a region that does not match when superimposing the extracted segmentation regions (hereinafter, “mismatch area”) is specified. The specified region is called an “ischemic penumbra area”, and considered as a region that can be relieved by an early recovery of blood flow. For this reason, it is meaningful to specify the ischemic penumbra area accurately, for performing a diagnosis and a treatment of cerebral infarction.
  • A case of displaying a diffusion image and a perfusion image of a brain is explained below as a second embodiment according to the present invention. According to the second embodiment, a diffusion image and a perfusion image are displayed by switching them, while constantly superimposing the boundary of a segmentation region. Accordingly, an ischemic penumbra area can be accurately and easily specified, and a diagnosis and a treatment of cerebral infarction can be promptly performed.
  • An MRI apparatus according to the second embodiment basically includes a configuration similar to that shown in FIGS. 1 and 2, except that only processing to be performed by the control unit 26 is different; therefore, a flow of image display performed by the control unit 26 is explained below with reference to FIGS. 8 and 9.
  • FIG. 8 is a flowchart of a process/procedure of image display performed by the control unit 26 according to the second embodiment. FIG. 9 is a schematic diagram of a flow of image display performed by the control unit 26 according to the second embodiment. Explained below is an example of processing when displaying separately a diffusion image and a perfusion image of a brain taken four hours after an episode of a symptom.
  • As shown in FIG. 8, according to the control unit 26 of the second embodiment, to begin with, the registration processing unit 26 a receives input of a diffusion image and a perfusion image of a brain of the same subject taken four hours after an episode of a symptom (Step S201), and then registers each of the input images (Step S202). The image-correction processing unit 26 b then corrects each of the images registered by the registration processing unit 26 a (Step S203).
  • When performing registration, the registration processing unit 26 a performs registration of the images based on, for example, positional information with respect to a patient coordinate system attached to each image. When performing the registration, the registration processing unit 26 a stores the amount of movement of the coordinates (for example, using a transformation matrix) generated through the registration into a storage unit, such as an internal memory, with respect to each of the images. If a style of an image, such as the size or the shape, is changed through the correction processing, the image-correction processing unit 26 b stores information that indicates the size and the shape of the changed image into the storage unit with respect to each of the images.
  • Subsequently, the display control unit 26 e arranges the images corrected by the image-correction processing unit 26 b, and then causes the display unit 25 to display the images in the display area included in the display unit 25 (Step S204). As shown in FIG. 9, when the operator specifies a point of interest on one of a diffusion image 51 and a perfusion image 52, both of which are displayed (Yes at Step S205), the ROI setting unit 26 c sets a point of interest in the same position on the other image on which the operator does not specify a point of interest.
  • Furthermore, the ROI setting unit 26 c extracts a segmentation region as an ROI from each of the images with reference to a pixel at each point of interest (Step S206). For the extraction of a segmentation region performed at Step S206, one of generally-known various region-extraction methods, for example, a Region Growing method, can be used.
  • When extracting the segmentation region, the ROI setting unit 26 c stores positional information indicating the position of the extracted segmentation region into the storage unit with respect to each of the images.
  • Subsequently, the feature-analysis processing unit 26 d extracts the boundary of the segmentation region created by the ROI setting unit 26 c from each of the images as a feature analysis (Step S207).
  • After that, as shown in FIG. 9, the display control unit 26 e displays the perfusion image 52 on which the segmentation regions extracted from the respective images are superimposed (Step S208). At Step S208, instead of the perfusion image, the display control unit 26 e can display the diffusion image on which the segmentation regions extracted from the respective images are superimposed.
  • When superimposing the segmentation regions, the display control unit 26 e specifies the position of each segmentation region on each image based on the amount of movement of the coordinates, information indicating the size and the shape of image that is changed through correction processing, and positional information about the segmentation region, which are stored in the storage unit, and then superimposes the segmentation regions.
  • The operator then performs a certain operation of image switching on a displayed image via the keyboard or the mouse of the input unit 24 (Yes at Step S209), and then the display control unit 26 e causes the display unit 25 to display the diffusion image 51 or the perfusion image 52 on which the segmentation regions extracted from the respective images by the feature-analysis processing unit 26 d are superimposed, by switching the images, in substantially the same position in the display area included in the display unit 25 (Step S210). FIG. 9 depicts an example of the perfusion image 52 on which the segmentation regions are superimposed.
  • As described above, according to the second embodiment, in the MRI apparatus 100, the ROI setting unit 26 c included in the control unit 26 creates segmentation regions from a diffusion image and a perfusion image of a brain as an ROI by performing certain region-extracting processing, and the feature-analysis processing unit 26 d extracts a boundary of each segmentation created by the ROI setting unit 26 c with respect to each of the images, as a feature analysis. The display control unit 26 e then superimposes one on another of respective boundaries of the segmentation regions in the respective images extracted by the feature-analysis processing unit 26 d, and causes display of the superimposed boundaries on an image in a superimposed manner. Consequently, according to the second embodiment, because a region indicated by using segmentation regions in a plurality of images, for example, an ischemic penumbra area in a brain, can be accurately and easily specified, a diagnosis and a treatment can be promptly and effectively performed.
  • The second embodiment is explained above in a case of displaying a diffusion image and a perfusion image taken at the same timing (four hours after an episode of a symptom). However, the present invention is not limited to this and, for example, can be similarly applied to a case of displaying a plurality of images taken at different timings. FIG. 10 is a schematic diagram of another flow of image display performed by the control unit 26 according to the second embodiment.
  • For example, as shown in FIG. 10, when displaying a diffusion image 61 taken four hours after an episode of a symptom, a perfusion image 62 taken four hours after the episode, and a T2W image 63 taken 14 days after the episode, the display control unit 26 e superimposes a boundary A of a segmentation region extracted from the diffusion image 61, a boundary B of a segmentation region extracted from the perfusion image 62, and a boundary C of a segmentation region extracted from the T2W image 63, on the respective images, and then displays each of the images by switching them. The boundary C indicates a region in which tissue is necrosis. FIG. 10 depicts an example of the T2W image 63 taken 14 days after the episode on which the boundaries A to C are superimposed.
  • In this way, by constantly displaying the boundary of a segmentation region in a tissue image (for example, a T2W image) taken after the elapse of a certain time period from an episode of a symptom, and further displaying the boundary of a segmentation in a functional image (for example, a diffusion image and/or a perfusion image) taken immediately after the episode in a superimposed manner, a progress of the symptom about a lesion portion from immediately after the episode can be efficiently observed.
  • Furthermore, the display control unit 26 e can vary the colors of the boundaries when displaying the boundaries in a superimposed manner. Accordingly, each of the boundaries can be easily identified.
  • Although the first embodiment and the second embodiment are explained above in cases where the present invention is applied to an MRI apparatus, the exemplary embodiments are not limited to this, and can be similarly applied to other diagnostic imaging apparatuses. The exemplary embodiments can be similarly applied to, for example, an X-ray diagnosis apparatus, an X-ray Computed Tomography (CT) apparatus, an ultrasound diagnosis apparatus, a Single Photon Emission Computed Tomography (SPECT) apparatus, and a Positron Emission Tomography (PET) apparatus.
  • Moreover, the first embodiment and the second embodiment are explained above in cases where after performing registration of a plurality of images, a segmentation region is extracted from each of the images, and then the extracted segmentation regions are displayed on each of the images in a superimposed manner. In contrast, for example, before registration of the images, a segmentation region is extracted from each of the images, and then registration can be performed only between the extracted segmentation regions.
  • In such case, for example, at first, the display control unit 26 e registers one with another of segmentation regions extracted from respective images by the feature-analysis processing unit 26 d, and then superimposes them on one another. The display control unit 26 e then performs registration of the superimposed segmentation regions with an image to be displayed, and then superimposes them on one another and displays them. Accordingly, registration of the whole image does not need to be performed with respect to each of the images, so that the load of processing related to the registration can be reduced.
  • Furthermore, the first embodiment and the second embodiment are explained above in cases where the present invention is applied to an MRI apparatus; however, the present invention is not limited to this, and can be similarly applied to an image display apparatus (also called a viewer) that displays images taken by various diagnostic imaging apparatuses, such as an MRI apparatus, an X-ray diagnosis apparatus, an X-ray CT apparatus, an ultrasound diagnosis apparatus, a SPECT apparatus, a PET apparatus, and an endoscope.
  • A case of applying the present invention to an image display apparatus is explained below as a third embodiment according to the present invention. At first, a configuration of the image display apparatus according to the third embodiment is explained below with reference to FIG. 11. FIG. 11 is a functional block diagram of a configuration of an image display apparatus 200 according to the third embodiment. As shown in FIG. 11, the image display apparatus 200 according to the third embodiment includes a communication unit 210, a storage unit 220, an input unit 230, a display unit 240, and a control unit 250.
  • The communication unit 210 controls transmission and reception of information that is exchanged between the image display apparatus 200 and a Picture Archiving and Communication System (PACS), an image database, or the like, via a network. The PACS is an image administration system included in various diagnostic imaging apparatuses and image storage devices connected via a network. The image database is a database that stores various images taken by various diagnostic imaging apparatuses.
  • Such image data transmitted from the PACS or the image database are typically tomographic images or projection images, and further includes tomographic images of multiple cross-sections, and volume data expressed with voxels. Moreover, the transmitted image data can be data obtained before image creation. For example, an MRI apparatus performs registration in some cases by calculating the amount of movement by measuring correlation between data in frequency space. Furthermore, such image data can be attached with information, such as imaging parameters, slice (scanning) position, imaging time and imaging conditions.
  • The storage unit 220 stores various information, for example, an image received from the PACS or an image database via the communication unit 210, and various programs to be executed by the control unit 250.
  • The input unit 230 receives various instructions and information input from an operator. A pointing device, such as a mouse or a trackball, and an input device, such as a keyboard, can be used as the input unit 230, as required.
  • The display unit 240 displays various information, such as an image taken by a diagnostic imaging apparatus. A display device, such as a liquid crystal display, can be used as the display unit 240, as required.
  • The control unit 250 includes a CPU and a memory (neither of which are shown) and carries out total control of the image display apparatus 200. According to the third embodiment, the control unit 250 sets an ROI on each of a plurality of images that includes the same portion of a subject, and performs a feature analysis on each of the images based on pixel values of pixels included in the set ROI. The control unit 250 then causes the display unit 240 to display each of the images in substantially the same position in a display area included in the display unit 240 by switching the images in a certain order, and to display a result of the feature analysis in the same display area. Consequently, according to the third embodiment, change in details due to a difference of the imaging methods can be easily observed without moving an observation point between images.
  • Specifically, the control unit 250 particularly includes a registration processing unit 250 a, an image-correction processing unit 250 b, an ROI setting unit 250 c, a feature-analysis processing unit 250 d and a display control unit 250 e. Respective functions of the units are basically similar to those of the registration processing unit 26 a, the image-correction processing unit 26 b, the ROI setting unit 26 c, the feature-analysis processing unit 26 d, and the display control unit 26 e shown in FIG. 2; therefore, detailed explanations are omitted below.
  • A flow of image display performed by the control unit 250 according to the third embodiment is explained below with reference to FIGS. 12 and 13. FIG. 12 is a flowchart of a process/procedure of image display performed by the control unit 250 according to the third embodiment. FIG. 13 is a schematic diagram of a flow of image display performed by the control unit 250 according to the third embodiment. Explained below is an example of processing when displaying images of a liver taken along a time sequence by dynamic imaging with the use of an X-ray CT apparatus (hereinafter, “dynamic CT scan”).
  • According to dynamic imaging of a liver, imaging is carried out at a plurality of different timings after a contrast agent is injected into a subject. The timings include an artery phase, a portal-venous phase and an equilibrium phase. The equilibrium phase is the late phase enhanced after several minutes. The concentration of residual contrast agent in each of the phases is meaningful information. The third embodiment is explained below in a case of displaying respective images of the liver in the artery phase, the portal-venous phase and the equilibrium phase, obtained through a dynamic CT scan.
  • As shown in FIG. 12, according to the control unit 250 of the third embodiment, to begin with, the registration processing unit 250 a receives input of respective images of a liver of the same subject in an artery phase, a portal-venous phase and an equilibrium phase, obtained through a dynamic CT scan (Step S301), and registers each of the input images (Step S302). The registration processing of images performed at Step S302 can be omitted. Accordingly, processing time for calculation can be reduced.
  • The image-correction processing unit 250 b then corrects each of the images registered by the registration processing unit 250 a (Step S303).
  • Subsequently, as shown in FIG. 13, the display control unit 250 e causes the display unit 240 to display (a) an image 71 in the artery phase of the liver, (b) an image 72 in the portal-venous phase, and (c) an image 73 in the equilibrium phase, each of which is corrected by the image-correction processing unit 250 b, in an arranged manner in the display area included in the display unit 240 (Step S304).
  • As shown in FIG. 13, when the operator then specifies an ROI on one of (a) the image 71 in the artery phase, (b) the image 72 in the portal-venous phase, and (c) the image 73 in the equilibrium phase (D on the image 71, E on the image 72, or F on the image 73) (Yes at Step S305), the ROI setting unit 250 c similarly sets the ROI in the same position on each of the images in the other phases on which the operator does not specify an ROI.
  • Subsequently, the feature-analysis processing unit 250 d sets an abnormal area and a normal area on each of the images based on the ROI set by the ROI setting unit 250 c (Step S306). Specifically, as shown in FIG. 13, the feature-analysis processing unit 250 d sets the ROI set by the ROI setting unit 250 c to an abnormal area, and sets an extended area extended from the abnormal area by a certain distance to a normal area.
  • The feature-analysis processing unit 250 d then calculates a Time Density Curve (TDC) of each of the abnormal area and the normal area based on pixel values of each of the images, as a feature analysis (Step S307). At Step S307, the feature-analysis processing unit 250 d can calculate a TDC that indicates pixel values, and otherwise can calculate a TDC that indicates differences from reference values that are pixel values of an image taken before a contrast agent is injected.
  • After that, as shown in FIG. 13, the display control unit 250 e causes the display unit 240 to display a graph 75 of the TDCs created by the feature-analysis processing unit 250 d in the display area included in the display unit 240 (Step S308). According to the graph 75, a curve H denotes the TDC of the normal area, and a curve G denotes the TDC of the abnormal area.
  • As shown in FIG. 13, the display control unit 250 e can display the respective ROIs set on (a) the image 71 in the artery phase, (b) the image 72 in the portal-venous phase, and (c) the image 73 in the equilibrium phase (regions D, E, F, on the images 71 to 73) and respective lines indicating the artery phase, the portal-venous phase, and the equilibrium phase in the graph 75 of the TDCs (lines D, E and F) in the same colors phase by phase. Accordingly, the image in each phase and the concentration in each phase (corresponding to the level of a pixel value) can be easily observed in an associated manner.
  • Subsequently, the display control unit 250 e creates enlarged images including the abnormal area and the normal area respectively from the image 71 in the artery phase, the image 72 in the portal-venous phase, and the image 73 in the equilibrium phase (Step S309); and then causes the display unit 240 to display an enlarged image 74 in the artery phase on which the abnormal area and the normal area set by the ROI setting unit 250 c are superimposed in the display area included in the display unit 240 (Step S310). Otherwise, the display control unit 250 e can cause display of an enlarged image in the portal-venous phase or in the equilibrium phase, instead of the enlarged image 74 in the artery phase.
  • When the operator performs a certain operation of image switching on a displayed image via the keyboard or the mouse of the input unit 230 (Yes at Step S311), the display control unit 250 e causes the display unit 240 to display one of the respective enlarged images in the artery phase, the portal-venous phase and the equilibrium phase, on each of which the abnormal area and the normal area set by the ROI setting unit 250 c are superimposed, by switching the enlarged images, in substantially the same position in the display area included in the display unit 240 (Step S312).
  • As shown in FIG. 13, the display control unit 250 e can display a line indicating the abnormal area on the enlarged image (line G on the enlarged image 74) and a curve indicating the TDC of the abnormal area in the graph 75 of the TDCs (curve G in the graph 75) in the same color, and a line indicating the normal area on the enlarged image (line H on the enlarged image 74) and a curve indicating the TDC of the normal area in the graph 75 of the TDCs (curve H in the graph 75) in the same color. Accordingly, the curves in the graph 75 of the TDCs and the abnormal area and the normal area superimposed on the image 71 in the artery phase, the image 72 in the portal-venous phase, and the image 73 in the equilibrium phase can be easily observed in an associated manner.
  • Alternatively, one of the regions D, E and F in FIG. 13 corresponding to a switched and displayed image can be displayed in a highlighted manner.
  • As described above, according to the third embodiment, in the image display apparatus 200, the ROI setting unit 250 c of the control unit 250 sets an ROI on each of a plurality of images of a liver obtained through a dynamic CT scan; and the feature-analysis processing unit 250 d sets an abnormal area and a normal area on each of the images based on pixel values of pixels included in the ROI set by the ROI setting unit 250 c, and calculates TDCs of the set abnormal area and the set normal area. The display control unit 250 e then causes the display unit 240 to display the images in substantially the same position in the display area included in the display unit 240 by switching the images in a certain order, and to display the abnormal area and the normal area, and the TDCs of the respective areas, in the same display area. Consequently, according to the third embodiment, change in details due to a difference of the imaging methods can be easily observed without moving an observation point between images. Specifically, the degree of remaining contrast agent in a liver can be visually confirmed.
  • In addition to the image used in the above embodiments, the image switching display and the display of feature values of ROI described in the above embodiments can be similarly applied to, for example, a plurality of CT images, MR images, ultrasound images, SPECT images, PET images and endoscope images, taken under different imaging conditions (including imaging time). Moreover, the above display can be similarly applied to display of a combined image of some of those images. Examples of such combination include CT and MR, CT and PET, CT and SPECT, Digital Subtraction Angiographies (DSA) and MR, PET and MR, PET and an ultrasound diagnosis apparatus (US), SPECT and MR, SPECT and US, US and CT, US and MR, an X-ray diagnosis apparatus (X-ray) and CT, X-ray and MR, and X-ray and US.
  • As described above, according to the first, the second, or the third embodiment, a plurality of kinds of images taken of the same portion through various methods is displayed in substantially the same position on a screen by being switched, and feature values are additionally displayed, so that change in details due to a difference of imaging methods can be easily observed while fixing an observation point at a screen position of a portion of interest. Accordingly, an image reader can improve the efficiency of image reading, and can perform a diagnosis and a treatment promptly. Moreover, because a statistical result is also displayed, a diagnosis that is quantitative, but not qualitative, can be performed.
  • In other words, according to the first, the second, or the third embodiment, by displaying an image effective for an image diagnosis and its feature values, with the use of a plurality of medical images, anatomical details (ROI) on each image can be comparatively read without moving the observation point, and a determination on presence or absence of diseases, screening between benign and malign characteristics, and a decision about a treatment flow, can be performed.
  • As described above, the image display apparatus, the image display method and the magnetic resonance imaging apparatus according to the embodiments of the present invention are useful when performing comparative reading of various images, and particularly suitable when one needs to perform a quantitative diagnosis based on a grasp of features of various images.
  • Additional advantages and modifications will readily occur to those skilled in the art. Therefore, the invention in its broader aspects is not limited to the specific details and representative embodiments shown and described herein. Accordingly, various modifications may be made without departing from the spirit or scope of the general inventive concept as defined by the appended claims and their equivalents.

Claims (5)

1. An image display apparatus comprising:
a mode changing unit that changes a display mode of image with respect to each of a plurality of images that is imaged by a diagnostic imaging apparatus and includes a same portion of a subject; and
a display control unit that causes a display unit to display the images of each of which the display mode is changed by the mode changing unit in a substantially same position in a display area included in the display unit by switching the images in an order prescribed.
2. The image display apparatus according to claim 1, wherein the mode changing unit changes a size of image with respect to each of the images.
3. The image display apparatus according to claim 1, wherein the mode changing unit changes a shape of image with respect to each of the images.
4. An image display method comprising:
changing a display mode of image with respect to each of a plurality of images that is imaged by a diagnostic imaging apparatus and includes a same portion of a subject; and
causing a display unit to display the images of each of which the display mode is changed, by switching the images in an order prescribed, in a substantially same position in a display area included in the display unit.
5. A magnetic resonance imaging apparatus comprising:
an imaging unit that takes a plurality of images that includes a same portion of a subject;
a mode changing unit that changes a display mode of image with respect to each of the images taken by the imaging unit; and
a display control unit that causes a display unit to display the images of which the display mode is changed by the mode changing unit, by switching the images in an order prescribed, in a substantially same position in a display area included in the display unit.
US13/493,242 2008-10-24 2012-06-11 Image display apparatus, image display method, and magnetic resonance imaging apparatus Abandoned US20120249498A1 (en)

Priority Applications (1)

Application Number Priority Date Filing Date Title
US13/493,242 US20120249498A1 (en) 2008-10-24 2012-06-11 Image display apparatus, image display method, and magnetic resonance imaging apparatus

Applications Claiming Priority (6)

Application Number Priority Date Filing Date Title
JP2008-274842 2008-10-24
JP2008274842 2008-10-24
JP2009-208519 2009-09-09
JP2009208519A JP5562598B2 (en) 2008-10-24 2009-09-09 Image display apparatus, image display method, and magnetic resonance imaging apparatus
US12/603,961 US9706943B2 (en) 2008-10-24 2009-10-22 Image display apparatus, image display method, and magnetic resonance imaging apparatus
US13/493,242 US20120249498A1 (en) 2008-10-24 2012-06-11 Image display apparatus, image display method, and magnetic resonance imaging apparatus

Related Parent Applications (1)

Application Number Title Priority Date Filing Date
US12/603,961 Division US9706943B2 (en) 2008-10-24 2009-10-22 Image display apparatus, image display method, and magnetic resonance imaging apparatus

Publications (1)

Publication Number Publication Date
US20120249498A1 true US20120249498A1 (en) 2012-10-04

Family

ID=42118145

Family Applications (2)

Application Number Title Priority Date Filing Date
US12/603,961 Active 2030-03-07 US9706943B2 (en) 2008-10-24 2009-10-22 Image display apparatus, image display method, and magnetic resonance imaging apparatus
US13/493,242 Abandoned US20120249498A1 (en) 2008-10-24 2012-06-11 Image display apparatus, image display method, and magnetic resonance imaging apparatus

Family Applications Before (1)

Application Number Title Priority Date Filing Date
US12/603,961 Active 2030-03-07 US9706943B2 (en) 2008-10-24 2009-10-22 Image display apparatus, image display method, and magnetic resonance imaging apparatus

Country Status (3)

Country Link
US (2) US9706943B2 (en)
JP (1) JP5562598B2 (en)
CN (2) CN102525467B (en)

Cited By (5)

* Cited by examiner, † Cited by third party
Publication number Priority date Publication date Assignee Title
US20160239988A1 (en) * 2015-02-12 2016-08-18 Miriam Keil Evaluation of a dynamic contrast medium distribution
US20170071497A1 (en) * 2015-09-10 2017-03-16 Toshiba Medical Systems Corporation Magnetic resonance imaging apparatus and image processing apparatus
CN106510707A (en) * 2015-09-10 2017-03-22 东芝医疗系统株式会社 Magnetic resonance imaging apparatus and image processing apparatus
US9987018B2 (en) 2009-12-22 2018-06-05 Cook Medical Technologies Llc Medical devices with detachable pivotable jaws
US11733335B2 (en) 2016-11-21 2023-08-22 Siemens Healthcare Gmbh Method for recording diagnostic measurement data of a head of an examination object in head imaging via a magnetic resonance device

Families Citing this family (43)

* Cited by examiner, † Cited by third party
Publication number Priority date Publication date Assignee Title
US7944207B2 (en) * 2005-06-14 2011-05-17 Hitachi Medical Corporation Magnetic resonance imaging apparatus and method
JP5562598B2 (en) * 2008-10-24 2014-07-30 株式会社東芝 Image display apparatus, image display method, and magnetic resonance imaging apparatus
CN102754125B (en) * 2009-12-10 2016-05-25 皇家飞利浦电子股份有限公司 The system of assessing for the quick accurate quantification of traumatic brain injury
JP5819300B2 (en) * 2010-07-15 2015-11-24 株式会社日立メディコ Medical image imaging apparatus and imaging slice determination method
JP5765899B2 (en) * 2010-08-30 2015-08-19 キヤノン株式会社 Control apparatus and control method
US20120113146A1 (en) * 2010-11-10 2012-05-10 Patrick Michael Virtue Methods, apparatus and articles of manufacture to combine segmentations of medical diagnostic images
JP5292440B2 (en) * 2011-06-03 2013-09-18 富士フイルム株式会社 Ultrasonic diagnostic equipment
JP5173053B2 (en) * 2011-07-19 2013-03-27 株式会社東芝 Image processing system, apparatus, method, and medical image diagnostic apparatus
US10049445B2 (en) * 2011-07-29 2018-08-14 Canon Kabushiki Kaisha Image processing apparatus and image processing method of a three-dimensional medical image
WO2013191036A1 (en) 2012-06-20 2013-12-27 株式会社 東芝 Medical image processing device, magnetic resonance imaging device, medical image processing method, and magnetic resonance imaging method
DE102012222073B4 (en) * 2012-12-03 2014-12-18 Siemens Aktiengesellschaft Method for evaluating image data sets and combination image recording device
CN104103083A (en) * 2013-04-03 2014-10-15 株式会社东芝 Image processing device, method and medical imaging device
WO2014184887A1 (en) * 2013-05-15 2014-11-20 株式会社日立製作所 Image diagnosis support system
CN103793908A (en) * 2014-01-17 2014-05-14 首都医科大学 Method for constructing prediction model of multifunctional veins based on brain nuclear magnetic resonance image
PL2933743T3 (en) * 2014-04-18 2019-10-31 Univ Rennes Method of characterizing molecular diffusion within a body from a set of diffusion-weighted magnetic resonance signals and apparatus for carrying out such a method
JP6510189B2 (en) * 2014-06-23 2019-05-08 キヤノンメディカルシステムズ株式会社 Medical image processing device
CN105989596B (en) * 2015-02-12 2019-09-10 东芝医疗系统株式会社 Medical image processing devices and method and MR imaging apparatus
JP6501647B2 (en) * 2015-06-23 2019-04-17 キヤノン株式会社 IMAGE PROCESSING APPARATUS, CONTROL METHOD THEREOF, AND PROGRAM
JP6615603B2 (en) * 2015-12-24 2019-12-04 キヤノンメディカルシステムズ株式会社 Medical image diagnostic apparatus and medical image diagnostic program
JP6745633B2 (en) * 2016-04-13 2020-08-26 キヤノン株式会社 Image processing apparatus, image processing method, and program
JP2018000374A (en) * 2016-06-29 2018-01-11 ゼネラル・エレクトリック・カンパニイ Image processor and program
JP2018143287A (en) * 2017-03-01 2018-09-20 株式会社日立製作所 Image display control apparatus, X-ray CT apparatus, and image display method
JP6885896B2 (en) * 2017-04-10 2021-06-16 富士フイルム株式会社 Automatic layout device and automatic layout method and automatic layout program
US10733730B2 (en) 2017-06-19 2020-08-04 Viz.ai Inc. Method and system for computer-aided triage
WO2018236905A1 (en) 2017-06-19 2018-12-27 Viz.ai, Inc. A method and system for computer-aided triage
EP3653106B1 (en) * 2017-07-14 2025-07-09 FUJIFILM Corporation Medical image processing device, endoscope system, diagnosis assistance device, and medical operation assistance device
DE102017220697A1 (en) * 2017-11-20 2019-05-23 Siemens Healthcare Gmbh Method for operating an MRI system and MRI system
EP3495832A1 (en) * 2017-12-11 2019-06-12 Koninklijke Philips N.V. Diffusion mr imaging with fat suppression
EP4579590A1 (en) * 2017-12-13 2025-07-02 Washington University System and method for determining segments for ablation
KR102107893B1 (en) * 2018-02-14 2020-05-07 가톨릭대학교 산학협력단 Medical image information reading apparatus and reading method
CN108414957A (en) * 2018-03-06 2018-08-17 莒县人民医院 A kind of real-time magnetic resonance image-forming data acquisition analysis method and system
JP7084193B2 (en) * 2018-04-10 2022-06-14 ザイオソフト株式会社 Medical image processing equipment, medical image processing methods, and medical image processing programs
US11462318B2 (en) 2019-06-27 2022-10-04 Viz.ai Inc. Method and system for computer-aided triage of stroke
WO2021021641A1 (en) * 2019-07-30 2021-02-04 Viz.ai Inc. Method and system for computer-aided triage of stroke
CN111798410A (en) * 2020-06-01 2020-10-20 深圳市第二人民医院(深圳市转化医学研究院) Cancer cell pathological grading method, device, equipment and medium based on deep learning model
CN118285839A (en) * 2020-06-17 2024-07-05 深圳迈瑞生物医疗电子股份有限公司 Ultrasonic contrast imaging method and ultrasonic imaging device
IL300047A (en) 2020-07-24 2023-03-01 Viz Ai Inc A method and system for the initial screening of an aneurysm using a computer
EP3985605A1 (en) * 2020-10-15 2022-04-20 Koninklijke Philips N.V. Image segmentation methods and systems
US11694807B2 (en) 2021-06-17 2023-07-04 Viz.ai Inc. Method and system for computer-aided decision guidance
CN114166849B (en) * 2021-11-29 2022-12-20 广州海谷电子科技有限公司 Method for detecting defects of printed carbon lines and moisture-sensitive film of humidity sensor
CN115170543A (en) * 2022-07-26 2022-10-11 上海联影医疗科技股份有限公司 Magnetic resonance image processing method, device, equipment and storage medium
JP2024157166A (en) * 2023-04-25 2024-11-07 キヤノンメディカルシステムズ株式会社 Magnetic resonance imaging apparatus and magnetic resonance imaging method
JP7769261B1 (en) * 2024-12-11 2025-11-13 キヤノンマーケティングジャパン株式会社 Information processing system, information processing method and program

Citations (4)

* Cited by examiner, † Cited by third party
Publication number Priority date Publication date Assignee Title
US20020072672A1 (en) * 2000-12-07 2002-06-13 Roundhill David N. Analysis of cardiac performance using ultrasonic diagnostic images
US20060058624A1 (en) * 2004-08-30 2006-03-16 Kabushiki Kaisha Toshiba Medical image display apparatus
US20080086028A1 (en) * 2005-04-08 2008-04-10 Olympus Corporation Image display apparatus
US20090240136A9 (en) * 2001-10-04 2009-09-24 Ying Sun Contrast-invariant registration of cardiac and renal magnetic resonance perfusion images

Family Cites Families (18)

* Cited by examiner, † Cited by third party
Publication number Priority date Publication date Assignee Title
JPS63317144A (en) * 1987-06-22 1988-12-26 Hitachi Ltd Magnetic resonance image synthesizing system
JPH01291826A (en) * 1988-05-20 1989-11-24 Toshiba Corp Imaging diagnostic device
JPH0876741A (en) * 1994-09-02 1996-03-22 Konica Corp Image display device
JPH10305015A (en) * 1997-05-09 1998-11-17 Toshiba Iyou Syst Eng Kk Image display method and apparatus using afterimage effect
JP3453085B2 (en) 1998-07-23 2003-10-06 ジーイー横河メディカルシステム株式会社 X-ray CT system
JP4087517B2 (en) * 1998-11-25 2008-05-21 株式会社日立製作所 Region extraction method
JP2000172391A (en) * 1998-12-09 2000-06-23 Nec Corp Pointing device, method for arranging selected frame and recording medium capable of executing method
JP2005028051A (en) * 2003-07-11 2005-02-03 Matsushita Electric Ind Co Ltd Image display device and image display method
JP4891577B2 (en) * 2004-08-30 2012-03-07 株式会社東芝 Medical image display device
JP2007029248A (en) * 2005-07-25 2007-02-08 Hitachi Medical Corp Comparative interpretation support apparatus and image processing program
WO2007052634A1 (en) * 2005-11-02 2007-05-10 Hitachi Medical Corporation Image analyzing device and method
US8019142B2 (en) * 2005-11-21 2011-09-13 Agency For Science, Technology And Research Superimposing brain atlas images and brain images with delineation of infarct and penumbra for stroke diagnosis
JP4936865B2 (en) * 2006-01-06 2012-05-23 株式会社東芝 Magnetic resonance imaging apparatus, coil system of magnetic resonance imaging apparatus, and received signal processing method in magnetic resonance imaging apparatus
JP4745080B2 (en) 2006-02-20 2011-08-10 猛 中浦 X-ray diagnostic apparatus, image processing apparatus, and program
FR2918868A1 (en) * 2006-06-06 2009-01-23 Guerbet Sa METHOD OF DIAGNOSTIC IMAGING USING IN COMBINATION WITH WATER DIFFUSION IMAGING, CONTRAST AGENTS
US20080009707A1 (en) * 2006-06-15 2008-01-10 Theriault Richard H Three-dimensional rendering of MRI results using automatic segmentation
US7355407B1 (en) * 2006-12-03 2008-04-08 Toshiba Medical Systems Corp. Methods and apparatus for single-shot magnetic resonance imaging with optimized isotropic diffusion weighting
JP5562598B2 (en) * 2008-10-24 2014-07-30 株式会社東芝 Image display apparatus, image display method, and magnetic resonance imaging apparatus

Patent Citations (4)

* Cited by examiner, † Cited by third party
Publication number Priority date Publication date Assignee Title
US20020072672A1 (en) * 2000-12-07 2002-06-13 Roundhill David N. Analysis of cardiac performance using ultrasonic diagnostic images
US20090240136A9 (en) * 2001-10-04 2009-09-24 Ying Sun Contrast-invariant registration of cardiac and renal magnetic resonance perfusion images
US20060058624A1 (en) * 2004-08-30 2006-03-16 Kabushiki Kaisha Toshiba Medical image display apparatus
US20080086028A1 (en) * 2005-04-08 2008-04-10 Olympus Corporation Image display apparatus

Cited By (7)

* Cited by examiner, † Cited by third party
Publication number Priority date Publication date Assignee Title
US9987018B2 (en) 2009-12-22 2018-06-05 Cook Medical Technologies Llc Medical devices with detachable pivotable jaws
US10813650B2 (en) 2009-12-22 2020-10-27 Cook Medical Technologies Llc Medical devices with detachable pivotable jaws
US20160239988A1 (en) * 2015-02-12 2016-08-18 Miriam Keil Evaluation of a dynamic contrast medium distribution
US20170071497A1 (en) * 2015-09-10 2017-03-16 Toshiba Medical Systems Corporation Magnetic resonance imaging apparatus and image processing apparatus
CN106510707A (en) * 2015-09-10 2017-03-22 东芝医疗系统株式会社 Magnetic resonance imaging apparatus and image processing apparatus
US10080508B2 (en) * 2015-09-10 2018-09-25 Toshiba Medical Systems Corporation Magnetic resonance imaging apparatus and image processing apparatus
US11733335B2 (en) 2016-11-21 2023-08-22 Siemens Healthcare Gmbh Method for recording diagnostic measurement data of a head of an examination object in head imaging via a magnetic resonance device

Also Published As

Publication number Publication date
CN101721211A (en) 2010-06-09
US20100106002A1 (en) 2010-04-29
CN102525467B (en) 2016-01-20
CN102525467A (en) 2012-07-04
JP5562598B2 (en) 2014-07-30
US9706943B2 (en) 2017-07-18
JP2010119831A (en) 2010-06-03

Similar Documents

Publication Publication Date Title
US9706943B2 (en) Image display apparatus, image display method, and magnetic resonance imaging apparatus
US10307077B2 (en) Medical image display apparatus
US8571288B2 (en) Image display apparatus and magnetic resonance imaging apparatus
US11903745B2 (en) Image processing apparatus
CN102525466B (en) Image processing apparatus and MR imaging apparatus
US10672126B2 (en) Image processing apparatus and magnetic resonance imaging apparatus
US20190223750A1 (en) Medical image diagnostic apparatus and medical image display apparatus for volume image correlations
US8301225B2 (en) Magnetic resonance imaging apparatus, image processing apparatus, and image processing method
US20120283546A1 (en) Automatic or Semi-Automatic Whole Body MR Scanning System
JP2019005557A (en) Image processing apparatus, magnetic resonance imaging apparatus, and image processing program
CN104717920B (en) Magnetic resonance imaging apparatus and magnetic resonance imaging method
US10492687B2 (en) Magnetic resonance imaging apparatus and image processing apparatus
US8855382B2 (en) MRI mammography with facilitated comparison to other mammography images
US20080212863A1 (en) Image processing apparatus, image processing method, and magnetic resonance imaging apparatus
JP2011139799A (en) Image processor and magnetic resonance imaging apparatus
US10168852B2 (en) Magnetic resonance imaging apparatus
US20240090791A1 (en) Anatomy Masking for MRI
US20170071497A1 (en) Magnetic resonance imaging apparatus and image processing apparatus
US12171612B2 (en) Imaging assisting apparatus and storage medium storing therein imaging assisting computer program
US9629569B2 (en) Magnetic resonance imaging apparatus and image generation method for guidance and positioning
US10976397B2 (en) MRI apparatus utilizing non-ultrashort TE(UTE) imaging to generate a mask image for performance of mask processing
US20160089103A1 (en) Systems and methods for optimized image acquisition with image-guided decision support
JP6181381B2 (en) Image analysis apparatus and magnetic resonance imaging apparatus
JP2019146788A (en) Magnetic resonance imaging apparatus
JP7106292B2 (en) Magnetic resonance imaging system

Legal Events

Date Code Title Description
STCB Information on status: application discontinuation

Free format text: ABANDONED -- FAILURE TO RESPOND TO AN OFFICE ACTION