US20080098437A1 - System and method for reserving preference event of broadcasting program - Google Patents

System and method for reserving preference event of broadcasting program Download PDF

Info

Publication number
US20080098437A1
US20080098437A1 US11/874,256 US87425607A US2008098437A1 US 20080098437 A1 US20080098437 A1 US 20080098437A1 US 87425607 A US87425607 A US 87425607A US 2008098437 A1 US2008098437 A1 US 2008098437A1
Authority
US
United States
Prior art keywords
event
preference
program
reservation
broadcasting
Prior art date
Legal status (The legal status is an assumption and is not a legal conclusion. Google has not performed a legal analysis and makes no representation as to the accuracy of the status listed.)
Granted
Application number
US11/874,256
Other versions
US8407742B2 (en
Inventor
Ji-Young Lee
Current Assignee (The listed assignees may be inaccurate. Google has not performed a legal analysis and makes no representation or warranty as to the accuracy of the list.)
Altimedia Corp
Original Assignee
Alticast Corp
Priority date (The priority date is an assumption and is not a legal conclusion. Google has not performed a legal analysis and makes no representation as to the accuracy of the date listed.)
Filing date
Publication date
Application filed by Alticast Corp filed Critical Alticast Corp
Assigned to ALTICAST CO. LTD. reassignment ALTICAST CO. LTD. ASSIGNMENT OF ASSIGNORS INTEREST (SEE DOCUMENT FOR DETAILS). Assignors: LEE, JI-YOUNG
Publication of US20080098437A1 publication Critical patent/US20080098437A1/en
Application granted granted Critical
Publication of US8407742B2 publication Critical patent/US8407742B2/en
Assigned to ALTIMEDIA CORPORATION reassignment ALTIMEDIA CORPORATION ASSIGNMENT OF ASSIGNORS INTEREST (SEE DOCUMENT FOR DETAILS). Assignors: ALTICAST CO., LTD.
Active legal-status Critical Current
Adjusted expiration legal-status Critical

Links

Images

Classifications

    • HELECTRICITY
    • H04ELECTRIC COMMUNICATION TECHNIQUE
    • H04NPICTORIAL COMMUNICATION, e.g. TELEVISION
    • H04N7/00Television systems
    • H04N7/16Analogue secrecy systems; Analogue subscription systems
    • H04N7/173Analogue secrecy systems; Analogue subscription systems with two-way working, e.g. subscriber sending a programme selection signal
    • H04N7/17309Transmission or handling of upstream communications
    • H04N7/17318Direct or substantially direct transmission and handling of requests
    • HELECTRICITY
    • H04ELECTRIC COMMUNICATION TECHNIQUE
    • H04NPICTORIAL COMMUNICATION, e.g. TELEVISION
    • H04N21/00Selective content distribution, e.g. interactive television or video on demand [VOD]
    • H04N21/40Client devices specifically adapted for the reception of or interaction with content, e.g. set-top-box [STB]; Operations thereof
    • H04N21/47End-user applications
    • H04N21/472End-user interface for requesting content, additional data or services; End-user interface for interacting with content, e.g. for content reservation or setting reminders, for requesting event notification, for manipulating displayed content
    • HELECTRICITY
    • H04ELECTRIC COMMUNICATION TECHNIQUE
    • H04HBROADCAST COMMUNICATION
    • H04H20/00Arrangements for broadcast or for distribution combined with broadcast
    • H04H20/86Arrangements characterised by the broadcast information itself
    • H04H20/93Arrangements characterised by the broadcast information itself which locates resources of other pieces of information, e.g. URL [Uniform Resource Locator]
    • HELECTRICITY
    • H04ELECTRIC COMMUNICATION TECHNIQUE
    • H04HBROADCAST COMMUNICATION
    • H04H60/00Arrangements for broadcast applications with a direct linking to broadcast information or broadcast space-time; Broadcast-related systems
    • H04H60/68Systems specially adapted for using specific information, e.g. geographical or meteorological information
    • H04H60/73Systems specially adapted for using specific information, e.g. geographical or meteorological information using meta-information
    • H04H60/74Systems specially adapted for using specific information, e.g. geographical or meteorological information using meta-information using programme related information, e.g. title, composer or interpreter
    • HELECTRICITY
    • H04ELECTRIC COMMUNICATION TECHNIQUE
    • H04NPICTORIAL COMMUNICATION, e.g. TELEVISION
    • H04N21/00Selective content distribution, e.g. interactive television or video on demand [VOD]
    • H04N21/40Client devices specifically adapted for the reception of or interaction with content, e.g. set-top-box [STB]; Operations thereof
    • H04N21/43Processing of content or additional data, e.g. demultiplexing additional data from a digital video stream; Elementary client operations, e.g. monitoring of home network or synchronising decoder's clock; Client middleware
    • H04N21/434Disassembling of a multiplex stream, e.g. demultiplexing audio and video streams, extraction of additional data from a video stream; Remultiplexing of multiplex streams; Extraction or processing of SI; Disassembling of packetised elementary stream
    • HELECTRICITY
    • H04ELECTRIC COMMUNICATION TECHNIQUE
    • H04NPICTORIAL COMMUNICATION, e.g. TELEVISION
    • H04N21/00Selective content distribution, e.g. interactive television or video on demand [VOD]
    • H04N21/40Client devices specifically adapted for the reception of or interaction with content, e.g. set-top-box [STB]; Operations thereof
    • H04N21/47End-user applications
    • H04N21/472End-user interface for requesting content, additional data or services; End-user interface for interacting with content, e.g. for content reservation or setting reminders, for requesting event notification, for manipulating displayed content
    • H04N21/47214End-user interface for requesting content, additional data or services; End-user interface for interacting with content, e.g. for content reservation or setting reminders, for requesting event notification, for manipulating displayed content for content reservation or setting reminders; for requesting event notification, e.g. of sport results or stock market
    • HELECTRICITY
    • H04ELECTRIC COMMUNICATION TECHNIQUE
    • H04NPICTORIAL COMMUNICATION, e.g. TELEVISION
    • H04N21/00Selective content distribution, e.g. interactive television or video on demand [VOD]
    • H04N21/80Generation or processing of content or additional data by content creator independently of the distribution process; Content per se
    • H04N21/81Monomedia components thereof
    • H04N21/8126Monomedia components thereof involving additional data, e.g. news, sports, stocks, weather forecasts
    • H04N21/8133Monomedia components thereof involving additional data, e.g. news, sports, stocks, weather forecasts specifically related to the content, e.g. biography of the actors in a movie, detailed information about an article seen in a video programme
    • HELECTRICITY
    • H04ELECTRIC COMMUNICATION TECHNIQUE
    • H04NPICTORIAL COMMUNICATION, e.g. TELEVISION
    • H04N21/00Selective content distribution, e.g. interactive television or video on demand [VOD]
    • H04N21/40Client devices specifically adapted for the reception of or interaction with content, e.g. set-top-box [STB]; Operations thereof
    • H04N21/45Management operations performed by the client for facilitating the reception of or the interaction with the content or administrating data related to the end-user or to the client device itself, e.g. learning user preferences for recommending movies, resolving scheduling conflicts
    • H04N21/4508Management of client data or end-user data
    • H04N21/4532Management of client data or end-user data involving end-user characteristics, e.g. viewer profile, preferences

Definitions

  • the present invention relates to a preference event monitoring system of a broadcasting program and a method of monitoring a preference event of a broadcasting program, and more particularly, to a preference event reservation system of a broadcasting program, which allows for real time provision of information on a preference event of a specific program, and a method of reserving a preference event of a broadcasting program.
  • the former method is disadvantageous in that part of the primary screen needs to be allocated to view the sub screen and the secondary screen can not give any voice information, thus leading to a difficulty in recognizing the program) content.
  • the secondary screen should be always checked by a viewer to identify whether at viewer's preference event shows up, and this may distract viewer's attention to the primary screen.
  • the latter method may let a viewer know the start of a program of another channel by making a reservation, but fails to show the content or point of time of a preference event in the program.
  • the present invention has been designed to overcome the above problems, and an aspect of the present invention provides a preference event reservation system which is capable of enabling a viewer to identify whether a viewer's preference event of a program is on the air while watching other channel's program by transmitting event information on the program along with a program.
  • a preference event reservation system of a broadcasting program comprises: a head end inserting event information into a broadcasting program and broadcasting the broadcasting program containing the event information and an event information list; and a client terminal the client terminal having, a controller displaying the event information list transferred from the head end, controlling a reservation for a preference event out of the event information list, and controlling execution of the reservation when event information that corresponds to the preference event is transferred from the head end; and a memory storing the reservation for the preference event.
  • a preference event reservation system of a broadcasting program comprises: a head end inserting event information into a broadcasting program and broadcasting the broadcasting program containing the event information and an event information list; and a client terminal, the client terminal having, a controller controlling setup of a preference program, monitoring the broadcasting program, displaying the event information list for the preference program when the preference program is broadcast, controlling a reservation of a preference event out of the event information list, and controlling execution of the reservation when event information that corresponds to the preference event is transferred from the head end; and a memory storing the reservation for the preference event.
  • a method of reserving a preference event of a broadcasting program comprises: transferring an event information list from a head end to a client terminal; displaying the event information list to make a reservation for a preference event out of the event information list; broadcasting a broadcasting program containing event information from the head end to the client terminal; and executing the reservation when event information that corresponds to the preference event is transferred.
  • a method of reserving a preference event of a broadcasting program comprises: setting up a preference channel or preference program and storing die preference channel or preference program at a memory; transferring event information lists from a head end to a client terminal; determining whether an event information list for the preference channel or preference program is transferred; displaying the event information list for the channel or preference program to make a reservation for a preference event out of the event information list when the event information list for the preference channel or preference program is transferred; broadcasting a broadcasting program containing event information from the head end to the client terminal; and executing the reservation when event information that corresponds to the preference event is transferred.
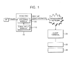
  • FIG. 1 is a block diagram schematically illustrating a preference event reservation system of a broadcasting program according to an exemplary embodiment of the present invention
  • FIG. 2 is a block diagram of a controller in a client terminal according to a first exemplary embodiment of the present invention
  • FIG. 3 is a block diagram of a controller in a client terminal according to a second exemplary embodiment of the present invention.
  • FIG. 4 is a flowchart schematically illustrating a method of reserving a preference event of a broadcasting program according to the first exemplary embodiment of the present invention.
  • FIG. 5 is a flowchart schematically illustrating a method of reserving a preference event of a broadcasting program according to the second exemplary embodiment of the present invention.
  • FIG. 1 is a block diagram schematically illustrating a preference event reservation system of a broadcasting program according to an exemplary embodiment of the present invention
  • FIG. 2 is a block diagram of a controller in a client terminal according to a first exemplary embodiment of the present invention.
  • a preference event reservation system includes a head end 10 and a client terminal 20 .
  • the head end 10 inserts event information into a broadcasting program and transfers the broadcasting program and an event information list to the client terminal 20 over a broadcasting network.
  • the client terminal 20 includes a controller 240 and a memory 250 .
  • the controller 240 displays the event information list transferred from the head end 10 , makes a reservation for a preference event of the event information list and stores the reservation, and provides a user interface according to the reservation when the event information on the reserved preference event is transferred from the head end 10 .
  • the memory 250 stores the transferred event information, and reserved preference event and the reservation.
  • the “event information list” refers to a list of events used for setting up viewer's preference events, which includes an event ID, a program ID, a channel ID, and the content of each event.
  • the “event Information” refers to information to specify the details of each event about the current program, which includes an event ID, a start time of the event, an end time of the event, and details of the event.
  • the “event” refers to a sub program included in a broadcasting program, such as an entertainment program, a documentary program, and the like.
  • the reservation may be any one of preference event notification, a preference event recording, and an automatic channel change.
  • the head end 10 includes an event input module 110 for receiving detailed event information on a broadcasting program, and an event encoding module 120 for encoding the broadcasting program containing the event information and transferring them as broadcast signals.
  • the event encoding module 120 encodes the broadcasting program and the event information inserted into the broadcasting program by the event input module 110 , and transfers them to the client terminal 20 .
  • the head end 10 receives an event information list through the event input module 110 , encodes the event information list by the event encoding module 120 , and transfers them to the client terminal 20 over a broadcasting network.
  • Transferring the event information list and event information may be determined depending on digital broadcasting captions, data broadcasting technology, a network property, and the like.
  • broadcast signals are transmitted from the head end 10 in a bit stream, which is compressed according to a prescribed compression standard, and received at the tuner 210 of the client terminal 20 . Desired one out of the received broadcast signals is selected by a key operation unit, such as a remote controller, and extracted by the channel decoder 220 that is controlled by the controller 240 .
  • a key operation unit such as a remote controller
  • the extracted broadcast signal is de-multiplexed into video, audio, and information data by the demux 230 , transferred to a video decoder, an audio decoder, and an information data decoder, undergoes a signal process, and then displayed on the displaying unit 270 .
  • the controller 240 includes a preference event reservation module 241 , a monitoring module 242 , and a preference event setup control module 243 .
  • the preference event reservation module 242 receives a key input from a viewer, makes a reservation for a viewer's preference event, and stores the reservation at a memory 250 .
  • the monitoring module 242 checks whether the reserved preference event is broadcast.
  • the preference event setup control module 243 displays the event information transferred from the head end 10 and executes the reservation when it is notified by the monitoring module 242 that the preference event is on the air.
  • the preference event reservation module 241 provides an interface that enables a viewer to search for the event information list transferred from the head end 10 , select a desired preference event, and determine the reservation.
  • the monitoring module 242 provides a real-time check to evaluate whether there is any event information, e.g. event ID, that conforms to the event information on the preference event stored in the memory 250 and, if any, notifies it to the preference event setup control module 243 .
  • event information e.g. event ID
  • the preference event setup control module 243 executes the preinstalled reservation.
  • the memory 250 stores and manages a programs for controlling the client terminal 20 , the event information transferred from the head end 10 , and the reservation.
  • a preference event reservation system of a second exemplary embodiment is the same as the preference event reservation system of the list exemplary embodiment, except that a controller 290 registers a preference channel or preference program, displays an event information list for the preference channel or preference program, mid makes a reservation for a preference event. Accordingly, the description of the same parts as the first exemplary embodiment will be omitted.
  • FIG. 3 is a block diagram of a controller in a client terminal according to a second exemplary embodiment of the present invention.
  • a controller 290 in a client terminal includes a preference channel setup module 291 , a preference event reservation module 292 , a monitoring module 293 , and a preference event setup control module 294 .
  • the preference channel setup module 291 receives a key input from a viewer, sets up a viewer's preference channel or preference program, and stores it to a memory 250 .
  • the preference event reservation module 292 makes a reservation for a viewer's preference event out of an even information list for the preference channel or preference program and stores the reservation at the memory 250 .
  • the monitoring module 293 evaluates whether a broadcasting program that conforms to the preference channel or preference program and an event that corresponds to the preference event are transmitted.
  • the preference event setup control module 294 displays the event information list transferred from the head end 10 and executes the reservation when it is notified by the monitoring module 293 that the preference channel or preference program is transferred.
  • the preference channel setup module 291 identifies the program information from EPG and stores at the memory 250 the preference channel or preference program selected by a viewer.
  • the preference channel setup module 291 stores channel information including a channel ID at the memory 250 when a preference channel is set up, and stores program information including a program ID at the memory 250 when a preference program is set up.
  • the monitoring module 293 determines whether there is the event information on the preference channel or preference program by evaluating whether there is any event information that conforms to the channel ID and program ID contained in the event information list.
  • the preference event reservation module 292 displays the event information list, provides a viewer with an interface for allowing the viewer to make a reservation for the preference event and select the reservation, and stores the reserved preference event information and the reservation at the memory 250 .
  • the preference channel setup module 291 sets up the current channel as another preference channel.
  • FIG. 4 is a flowchart schematically illustrating a method of reserving a preference event of a broadcasting program according to the first exemplary embodiment of the present invention.
  • am event information list is transferred from the head end 10 to the client terminal 20 (Step 100 ).
  • the event information list includes an event ID, a channel ID, a program ID, and the content of an event.
  • the client terminal 20 allows a viewer to view the event information list (Step 110 ) to select a preference event (S 120 ), make a reservation for tile preference event, and stores the reservation (Step 130 ).
  • the controller 240 displays the event information list, so that a desired preference event may be selected by searchingly for event information through a key input.
  • the preference event reservation module 241 provides an interface for making a reservation for the selected preference event.
  • the selected preference event information and the reservation are stored at the memory 250 .
  • the reservation may be any one of preference event notification, a preference event recording, and an automatic channel change.
  • the broadcasting program containing the event information is broadcast from the head end 10 to the client terminal 20 (Step 140 ).
  • the event information is inserted by the event information input module 110 , encoded by the encoding module 120 , and transferred to the client terminal 20 over a broadcasting network.
  • the event information includes an event ID, a start time of an event, an end time of in event, and a detail on an event.
  • the preference event information stored at the memory 250 includes an event ID, a channel ID, a program ID, and the content of the event and the event information inserted into a program includes an event ID. Therefore the monitoring module 242 evaluates if the program that includes an event ID that conforms to the event ID of the preference event stored at the memory 250 is broadcast (Step 150 ).
  • the preference event setup control module 243 executes the reservation when the preference event is broadcast (Step 160 ). More specifically, when the program containing the event ID that corresponds to the preference event is on the air, the start time of the event is extracted by the preference event setup control module 243 . At this time, the preference event setup control module 243 creates a window that indicates the start of the preference event when the reservation is set up as preference event notification at the start time, records the preference event when the reservation is set up as a preference event recording, and automatically changes current event to the preference event when the reservation is set up as an automatic channel change. The preference event setup control module 243 extracts the start time of the event and creates a window that indicates the start time of the preference event before the preference event begins (e.g. 10 seconds before the start of the preference event) in order to allow a viewer to determine whether he/she will watch the preference event.
  • FIG. 5 is a flowclart schematically illustrating a method of reserving a preference event of a broadcasting program according to the second exemplary embodiment of the present invention.
  • the second exemplary embodiment of the present invention is the same as the first exemplary embodiment of the present invention, except that the preference event for the preference channel or preference program is only displayed to a viewer by setting up preference channel or preference program and an interface for making a reservation for the preference event reservation is provided.
  • a preference channel or preference program is set up and stored at the memory 250 (Step 200 ).
  • the information on the channel or program may be viewed by EPG to set up and store the preference channel or preference program.
  • the preference channel or preference program is set up by the preference channel setup module 291 and the information on the preference channel or preference program is stored at the memory 250 .
  • the information on the preference program includes a program ID.
  • Next event information lists are transferred from the head end 10 to the client terminal 20 (Step 202 ).
  • Step 204 it is determined whether an event information list for the preference channel or preference program is transferred.
  • Step 206 it is determined whether an event information list for the preference channel or preference program is transferred.
  • the event information list includes an event ID, a channel ID, a program ID, and the content of an event
  • the event monitoring module 293 analyzes the event information lists and determines whether there is any event information list that conforms to the program ID stored at the memory 250 .
  • the preference event reservation module 292 displays the event information list to a viewer.
  • the preference event is selected (Step 208 ), and then a reservation for the preference event is made and stored at the memory 250 (Step 210 ).
  • Step 212 When the broadcasting program containing the event information is transferred from the head end 10 to the client terminal 20 (Step 212 ), it is determined whether the reserved preference event is broadcast (Step 214 ) and, when the reserved preference event is broadcast, the reservation is executed (Step 216 ).
  • a preference event reservation system and a method of reserving a preference event may check in real time the point of time when the preference event is on the air by receiving the information on the specific preference event.

Landscapes

  • Engineering & Computer Science (AREA)
  • Signal Processing (AREA)
  • Multimedia (AREA)
  • Databases & Information Systems (AREA)
  • Human Computer Interaction (AREA)
  • Business, Economics & Management (AREA)
  • Finance (AREA)
  • Strategic Management (AREA)
  • Two-Way Televisions, Distribution Of Moving Picture Or The Like (AREA)

Abstract

There is provided a preference event reservation system of a broadcasting program including: a head end inserting event information into a broadcasting program sued broadcasting the broadcasting program containing the event information and an event information list; and a client terminal. The client terminal includes a controller displaying the event information list transferred from the head end, controlling a reservation for a preference event out of the event information list, and controlling execution of the reservation when event information that corresponds to the preference event is transferred from the head end; and a memory storing the reservation for the preference event.

Description

    CROSS-REFERENCE TO RELATED PATENT APPLICATION
  • This application claims priority to Korean Patent Application No. 2006-0101419, filed Oct. 18, 2006, the contents of which are herein incorporated by reference in their entirety.
  • BACKGROUND OF THE INVENTION
  • 1. Technical Field
  • The present invention relates to a preference event monitoring system of a broadcasting program and a method of monitoring a preference event of a broadcasting program, and more particularly, to a preference event reservation system of a broadcasting program, which allows for real time provision of information on a preference event of a specific program, and a method of reserving a preference event of a broadcasting program.
  • 2. Discussion of the Related Art
  • To identify information on programs for other channels than a current channel, a method of simultaneously displaying a primary screen and a secondary screen on a TV or a method of employing EPG (Electronic Program Guide) has been used.
  • However, the former method is disadvantageous in that part of the primary screen needs to be allocated to view the sub screen and the secondary screen can not give any voice information, thus leading to a difficulty in recognizing the program) content.
  • Moreover, the secondary screen should be always checked by a viewer to identify whether at viewer's preference event shows up, and this may distract viewer's attention to the primary screen.
  • The latter method may let a viewer know the start of a program of another channel by making a reservation, but fails to show the content or point of time of a preference event in the program.
  • SUMMARY OF THE INVENTION
  • The present invention has been designed to overcome the above problems, and an aspect of the present invention provides a preference event reservation system which is capable of enabling a viewer to identify whether a viewer's preference event of a program is on the air while watching other channel's program by transmitting event information on the program along with a program.
  • In an exemplary embodiment, a preference event reservation system of a broadcasting program comprises: a head end inserting event information into a broadcasting program and broadcasting the broadcasting program containing the event information and an event information list; and a client terminal the client terminal having, a controller displaying the event information list transferred from the head end, controlling a reservation for a preference event out of the event information list, and controlling execution of the reservation when event information that corresponds to the preference event is transferred from the head end; and a memory storing the reservation for the preference event.
  • In another exemplary embodiment, a preference event reservation system of a broadcasting program comprises: a head end inserting event information into a broadcasting program and broadcasting the broadcasting program containing the event information and an event information list; and a client terminal, the client terminal having, a controller controlling setup of a preference program, monitoring the broadcasting program, displaying the event information list for the preference program when the preference program is broadcast, controlling a reservation of a preference event out of the event information list, and controlling execution of the reservation when event information that corresponds to the preference event is transferred from the head end; and a memory storing the reservation for the preference event.
  • In still another exemplary embodiment, a method of reserving a preference event of a broadcasting program comprises: transferring an event information list from a head end to a client terminal; displaying the event information list to make a reservation for a preference event out of the event information list; broadcasting a broadcasting program containing event information from the head end to the client terminal; and executing the reservation when event information that corresponds to the preference event is transferred.
  • In yet still another exemplary embodiment, a method of reserving a preference event of a broadcasting program comprises: setting up a preference channel or preference program and storing die preference channel or preference program at a memory; transferring event information lists from a head end to a client terminal; determining whether an event information list for the preference channel or preference program is transferred; displaying the event information list for the channel or preference program to make a reservation for a preference event out of the event information list when the event information list for the preference channel or preference program is transferred; broadcasting a broadcasting program containing event information from the head end to the client terminal; and executing the reservation when event information that corresponds to the preference event is transferred.
  • A better understanding of the above and many other features and advantages of the organic thin film transistor substrates and methods or making them disclosed herein may be obtained from a consideration of the detailed description thereof below particularly if such consideration is made in communication with the several views of the appended drawings, wherein like elements are referred to by like reference numerals throughout.
  • BRIEF DESCRIPTION OF THE DRAWINGS
  • The invention is described more fully hereinafter with reference to the accompanying drawings, in which embodiments of the invention are shown. This invention may, however, be embodied in many different forms and should not be construed as limited to the embodiments set for the herein:
  • FIG. 1 is a block diagram schematically illustrating a preference event reservation system of a broadcasting program according to an exemplary embodiment of the present invention;
  • FIG. 2 is a block diagram of a controller in a client terminal according to a first exemplary embodiment of the present invention;
  • FIG. 3 is a block diagram of a controller in a client terminal according to a second exemplary embodiment of the present invention;
  • FIG. 4 is a flowchart schematically illustrating a method of reserving a preference event of a broadcasting program according to the first exemplary embodiment of the present invention; and
  • FIG. 5 is a flowchart schematically illustrating a method of reserving a preference event of a broadcasting program according to the second exemplary embodiment of the present invention.
  • DESCRIPTION OF EXEMPLARY EMBODIMENTS
  • Hereinafter, constructions and operations of the present invention will be described with reference to accompanying drawings.
  • FIG. 1 is a block diagram schematically illustrating a preference event reservation system of a broadcasting program according to an exemplary embodiment of the present invention, and FIG. 2 is a block diagram of a controller in a client terminal according to a first exemplary embodiment of the present invention.
  • Referring to FIGS. 1 and 2, a preference event reservation system according to a first exemplary embodiment of the present invention, includes a head end 10 and a client terminal 20. The head end 10 inserts event information into a broadcasting program and transfers the broadcasting program and an event information list to the client terminal 20 over a broadcasting network. The client terminal 20 includes a controller 240 and a memory 250. The controller 240 displays the event information list transferred from the head end 10, makes a reservation for a preference event of the event information list and stores the reservation, and provides a user interface according to the reservation when the event information on the reserved preference event is transferred from the head end 10. The memory 250 stores the transferred event information, and reserved preference event and the reservation.
  • The “event information list” refers to a list of events used for setting up viewer's preference events, which includes an event ID, a program ID, a channel ID, and the content of each event. The “event Information” refers to information to specify the details of each event about the current program, which includes an event ID, a start time of the event, an end time of the event, and details of the event.
  • The “event” refers to a sub program included in a broadcasting program, such as an entertainment program, a documentary program, and the like. The reservation may be any one of preference event notification, a preference event recording, and an automatic channel change.
  • More specifically, the head end 10 includes an event input module 110 for receiving detailed event information on a broadcasting program, and an event encoding module 120 for encoding the broadcasting program containing the event information and transferring them as broadcast signals. The event encoding module 120 encodes the broadcasting program and the event information inserted into the broadcasting program by the event input module 110, and transfers them to the client terminal 20.
  • The head end 10 receives an event information list through the event input module 110, encodes the event information list by the event encoding module 120, and transfers them to the client terminal 20 over a broadcasting network.
  • Transferring the event information list and event information may be determined depending on digital broadcasting captions, data broadcasting technology, a network property, and the like.
  • In general digital broadcast, broadcast signals are transmitted from the head end 10 in a bit stream, which is compressed according to a prescribed compression standard, and received at the tuner 210 of the client terminal 20. Desired one out of the received broadcast signals is selected by a key operation unit, such as a remote controller, and extracted by the channel decoder 220 that is controlled by the controller 240.
  • The extracted broadcast signal is de-multiplexed into video, audio, and information data by the demux 230, transferred to a video decoder, an audio decoder, and an information data decoder, undergoes a signal process, and then displayed on the displaying unit 270.
  • The controller 240 includes a preference event reservation module 241, a monitoring module 242, and a preference event setup control module 243. The preference event reservation module 242 receives a key input from a viewer, makes a reservation for a viewer's preference event, and stores the reservation at a memory 250. The monitoring module 242 checks whether the reserved preference event is broadcast. The preference event setup control module 243 displays the event information transferred from the head end 10 and executes the reservation when it is notified by the monitoring module 242 that the preference event is on the air.
  • The preference event reservation module 241 provides an interface that enables a viewer to search for the event information list transferred from the head end 10, select a desired preference event, and determine the reservation.
  • The monitoring module 242 provides a real-time check to evaluate whether there is any event information, e.g. event ID, that conforms to the event information on the preference event stored in the memory 250 and, if any, notifies it to the preference event setup control module 243.
  • The preference event setup control module 243 executes the preinstalled reservation.
  • The memory 250 stores and manages a programs for controlling the client terminal 20, the event information transferred from the head end 10, and the reservation.
  • Next, a preference event reservation system of a broadcasting program according to a second exemplary embodiment of the present invention will be described. A preference event reservation system of a second exemplary embodiment is the same as the preference event reservation system of the list exemplary embodiment, except that a controller 290 registers a preference channel or preference program, displays an event information list for the preference channel or preference program, mid makes a reservation for a preference event. Accordingly, the description of the same parts as the first exemplary embodiment will be omitted.
  • FIG. 3 is a block diagram of a controller in a client terminal according to a second exemplary embodiment of the present invention. Referring to FIG. 3, a controller 290 in a client terminal includes a preference channel setup module 291, a preference event reservation module 292, a monitoring module 293, and a preference event setup control module 294. The preference channel setup module 291 receives a key input from a viewer, sets up a viewer's preference channel or preference program, and stores it to a memory 250. The preference event reservation module 292 makes a reservation for a viewer's preference event out of an even information list for the preference channel or preference program and stores the reservation at the memory 250. The monitoring module 293 evaluates whether a broadcasting program that conforms to the preference channel or preference program and an event that corresponds to the preference event are transmitted. The preference event setup control module 294 displays the event information list transferred from the head end 10 and executes the reservation when it is notified by the monitoring module 293 that the preference channel or preference program is transferred.
  • The preference channel setup module 291 identifies the program information from EPG and stores at the memory 250 the preference channel or preference program selected by a viewer.
  • The preference channel setup module 291 stores channel information including a channel ID at the memory 250 when a preference channel is set up, and stores program information including a program ID at the memory 250 when a preference program is set up.
  • The monitoring module 293 determines whether there is the event information on the preference channel or preference program by evaluating whether there is any event information that conforms to the channel ID and program ID contained in the event information list.
  • When it is determined that there is an event information list for the preference channel or preference program, the preference event reservation module 292 displays the event information list, provides a viewer with an interface for allowing the viewer to make a reservation for the preference event and select the reservation, and stores the reserved preference event information and the reservation at the memory 250.
  • When the current channel is changed to other channel that broadcasts the preference event according to the reservation, the preference channel setup module 291 sets up the current channel as another preference channel.
  • FIG. 4 is a flowchart schematically illustrating a method of reserving a preference event of a broadcasting program according to the first exemplary embodiment of the present invention. Referring to FIG. 4, am event information list is transferred from the head end 10 to the client terminal 20 (Step 100). The event information list includes an event ID, a channel ID, a program ID, and the content of an event.
  • Next, the client terminal 20 allows a viewer to view the event information list (Step 110) to select a preference event (S120), make a reservation for tile preference event, and stores the reservation (Step 130).
  • More specifically, the controller 240 displays the event information list, so that a desired preference event may be selected by searchingly for event information through a key input. When a preference event is selected, the preference event reservation module 241 provides an interface for making a reservation for the selected preference event. The selected preference event information and the reservation are stored at the memory 250. The reservation may be any one of preference event notification, a preference event recording, and an automatic channel change.
  • Next, the broadcasting program containing the event information is broadcast from the head end 10 to the client terminal 20 (Step 140). The event information is inserted by the event information input module 110, encoded by the encoding module 120, and transferred to the client terminal 20 over a broadcasting network. The event information includes an event ID, a start time of an event, an end time of in event, and a detail on an event.
  • More specifically, the preference event information stored at the memory 250 includes an event ID, a channel ID, a program ID, and the content of the event and the event information inserted into a program includes an event ID. Therefore the monitoring module 242 evaluates if the program that includes an event ID that conforms to the event ID of the preference event stored at the memory 250 is broadcast (Step 150).
  • Then, the preference event setup control module 243 executes the reservation when the preference event is broadcast (Step 160). More specifically, when the program containing the event ID that corresponds to the preference event is on the air, the start time of the event is extracted by the preference event setup control module 243. At this time, the preference event setup control module 243 creates a window that indicates the start of the preference event when the reservation is set up as preference event notification at the start time, records the preference event when the reservation is set up as a preference event recording, and automatically changes current event to the preference event when the reservation is set up as an automatic channel change. The preference event setup control module 243 extracts the start time of the event and creates a window that indicates the start time of the preference event before the preference event begins (e.g. 10 seconds before the start of the preference event) in order to allow a viewer to determine whether he/she will watch the preference event.
  • FIG. 5 is a flowclart schematically illustrating a method of reserving a preference event of a broadcasting program according to the second exemplary embodiment of the present invention. The second exemplary embodiment of the present invention is the same as the first exemplary embodiment of the present invention, except that the preference event for the preference channel or preference program is only displayed to a viewer by setting up preference channel or preference program and an interface for making a reservation for the preference event reservation is provided.
  • Referring to FIG. 5, firstly, a preference channel or preference program is set up and stored at the memory 250 (Step 200). The information on the channel or program may be viewed by EPG to set up and store the preference channel or preference program. The preference channel or preference program is set up by the preference channel setup module 291 and the information on the preference channel or preference program is stored at the memory 250. The information on the preference program includes a program ID.
  • Next event information lists are transferred from the head end 10 to the client terminal 20 (Step 202).
  • Then, it is determined whether an event information list for the preference channel or preference program is transferred (Step 204) and when the event information list for the preference channel or preference program is transferred, the event information list is displayed (Step 206).
  • More specifically, the event information list includes an event ID, a channel ID, a program ID, and the content of an event, and the event monitoring module 293 analyzes the event information lists and determines whether there is any event information list that conforms to the program ID stored at the memory 250.
  • When it is determined that there is the event information list for the preference channel or preference program, the preference event reservation module 292 displays the event information list to a viewer.
  • Subsequently, the preference event is selected (Step 208), and then a reservation for the preference event is made and stored at the memory 250 (Step 210).
  • When the broadcasting program containing the event information is transferred from the head end 10 to the client terminal 20 (Step 212), it is determined whether the reserved preference event is broadcast (Step 214) and, when the reserved preference event is broadcast, the reservation is executed (Step 216).
  • As mentioned above, a preference event reservation system and a method of reserving a preference event according to exemplary embodiments of die present invention may check in real time the point of time when the preference event is on the air by receiving the information on the specific preference event.
  • Although the exemplary embodiments of the present invention have been described herein with reference with the accompanying drawings, it is understood that the present invention is not be limited to these exemplary embodiments, and that various other changes and modifications may be affected therein by one of ordinary skill in the related art without departing from the scope or spirit of the invention. All such changes and modifications are intended to be included within the scope of the invention as defined by the appended claims.

Claims (21)

1. A preference event reservation system of a broadcasting program comprising:
a head end inserting event information into a broadcasting program and transferring the broadcasting program containing the event information and an event information list; and
a client terminal, the client terminal having,
a controller displaying the event information list transferred from the head end, controlling a reservation for a preference event out of the event information list, and controlling execution of the reservation when event information that corresponds to the preference event is transferred from the head end; and
a memory storing the reservation for the preference event.
2. The preference event reservation system of claim 1, wherein
the controller comprises,
a preference event reservation module receiving a key input from a viewer, making the reservation for the preference event, and storing the reservation at the memory;
a monitoring module evaluating whether the preference event is broadcast; and
a preference event setup control module executing the reservation when it is notified through the monitoring module that the preference event is broadcast.
3. The preference event reservation system of claim 2, wherein
the head end comprises,
an event input module inserting the event information into the broadcasting program; and
an event encoding module encoding and broadcasting the broadcasting program containing the event information.
4. The preference event reservation system of claim 3, wherein
the event information comprises an event ID, a start time of an event, an end time of an event, and a content of an event.
5. The preference event reservation system of claim 1, wherein
the reservation is any one of preference event broadcasting notification, an automatic preference channel change, and a preference event recording.
6. A preference event reservation system of a broadcasting program comprising:
a head end inserting event information into a broadcasting program and broadcasting the broadcasting program containing the event information and an event information list; and
a client terminal, the client terminal having,
a controller controlling setup of a preference channel or preference program, monitoring the broadcasting program, displaying the event information list for the preference program when the preference program is broadcast, controlling a reservation of a preference event out of the event information list, and controlling execution of the reservation when event information that corresponds to the preference event is transferred from the head end; and
a memory storing the reservation for the preference event.
7. The preference event reservation system of claim 6, wherein
the controller comprises,
a preference channel setup module receiving a key input from a viewer, setting up the preference channel or preference program, and storing the preference channel or preference program at the memory,
a preference event reservation module receiving a key input from tile viewer, making the reservation for the preference event, and storing the reservation at the memory;
a monitoring module evaluating whether the preference channel or preference program is broadcast and the preference event is broadcast; and
a preference event setup control module displaying the event information list when it is notified through the monitoring module that the preference channel or preference program is broadcast, and executing the reservation when it is notified through the monitoring module that the preference event is broadcast.
8. The preference event reservation system of claim 7, wherein
the head end comprises,
an event input module inserting the event information into the broadcasting program; and
an event encoding module encoding and broadcasting the broadcasting program containing the event information.
9. The preference event reservation system of claim 8, wherein
the event information comprises an event ID, a start time of an event, an end time of an event, aid a content of an event.
10. The preference event reserve of claim 6, wherein
the reservation is any one of preference event broadcasting notification, an automatic preference channel change, and preference event recording.
11. The preference event reservation system of claim 10, wherein
when the preference event of the preference program is broadcast, the preference channel setup module automatically sets tip the current channel or program as another preference channel or preference program.
12. The preference event reserve of claim 10, wherein
the preference event setup control module displays an event list for each channel or program without respect to the current program or an event list for the current program.
13. The preference event reservation system of claim 10, wherein
the preference event setup control module notifies the current program of the broadcast of the preference event before the event is broadcast.
14. A method of reserving a preference event of a broadcasting program comprising:
transferring an event information list from a head end to a client terminal;
displaying the event information list to make a reservation for a preference event out of the event information list;
broadcasting a broadcasting program containing event information from the head end to the client terminal; and
executing the reservation when event information that corresponds to the preference event is transferred.
15. A method of claim 14, wherein
broadcasting the broadcasting program comprises,
inserting the event information that includes an event ID, a start time of an event, an end time of an event, and a content of an event into the broadcasting program; and
encoding the program program containing the event information and transferring them to the client terminal over a broadcasting network.
16. A method of claim 14, wherein
executing the reservation comprises,
creating a window that notifies a current program of a start of the preference event when the reservation is set up as preference event notification;
recording and storing the preference event at a memory when the reservation is set up as a preference event recording; and
changing a current program to a preference program including the preference event when the reservation is set up as all automatic preference channel change.
17. A method of reserving a preference event of a broadcasting program comprising:
setting up a preference channel or preference program and storing the preference channel or preference program at a memory;
transferring event information lists from a head end to a client terminal;
displaying the event information list for the channel or preference program to make a reservation for a preference event out of the event information list when the event information list for the preference channel or preference program is transferred;
broadcasting a broadcasting program containing event information from the head end to the client terminal; and
executing the reservation when event information that corresponds to the preference event is transferred.
18. The method of claim 17, wherein
broadcasting the broadcasting program comprises,
inserting the event information that includes an event ID, a start time of an event, an end time of an event, and a content of an event into the broadcasting program; and
encoding the program information containing the event information and transferring them to the client terminal over a broadcasting network.
19. The method of claim 17, wherein
displaying the event information list comprises,
monitoring the broadcasting program transferred to the client terminal and evaluating whether the broadcasting program conforms to the preference program.
20. The method of claim 17, wherein
executing the reservation comprises,
creating a window that notifies a current program of a start of the preference event when the reservation is set up as preference event notification;
recording and storing the preference event at a memory when the reservation is set up as a preference event recording; and
changing a current program to a preference program including the preference event when the reservation is set up as an automatic preference channel change.
21. The method of claim 17, further comprising:
notifying the current program of the broadcast of the preference event before the preference event is broadcast to select whether the preference event will be broadcast when the preference event setup mode is set up as the preference event notification or automatic preference channel change.
US11/874,256 2006-10-18 2007-10-18 System and method for reserving preference event of broadcasting program Active 2029-08-06 US8407742B2 (en)

Applications Claiming Priority (2)

Application Number Priority Date Filing Date Title
KR10-2006-0101419 2006-10-18
KR1020060101419A KR100782568B1 (en) 2006-10-18 2006-10-18 System and method of reservation of interest in broadcast program

Publications (2)

Publication Number Publication Date
US20080098437A1 true US20080098437A1 (en) 2008-04-24
US8407742B2 US8407742B2 (en) 2013-03-26

Family

ID=39139777

Family Applications (1)

Application Number Title Priority Date Filing Date
US11/874,256 Active 2029-08-06 US8407742B2 (en) 2006-10-18 2007-10-18 System and method for reserving preference event of broadcasting program

Country Status (2)

Country Link
US (1) US8407742B2 (en)
KR (1) KR100782568B1 (en)

Cited By (1)

* Cited by examiner, † Cited by third party
Publication number Priority date Publication date Assignee Title
US20100125873A1 (en) * 2008-11-20 2010-05-20 Sony Corporation Event-calendar display apparatus, event-calendar display method, event-calendar display program, and event-information extraction apparatus

Families Citing this family (1)

* Cited by examiner, † Cited by third party
Publication number Priority date Publication date Assignee Title
US9585106B2 (en) 2014-03-27 2017-02-28 Taiwan Semiconductor Manufacturing Company, Ltd. Network-assisted channel selection and power control for mobile devices

Citations (7)

* Cited by examiner, † Cited by third party
Publication number Priority date Publication date Assignee Title
US6049333A (en) * 1996-09-03 2000-04-11 Time Warner Entertainment Company, L.P. System and method for providing an event database in a telecasting system
US20040003405A1 (en) * 2002-06-27 2004-01-01 International Business Machines Corporation System and method for personal video recording system menu control
US20050076368A1 (en) * 2003-08-26 2005-04-07 Samsung Electronics Co., Ltd. Method and apparatus for scheduling digital TV programs
US20050198670A1 (en) * 2004-03-05 2005-09-08 Orion Electric Co., Ltd., Broadcast receiver having viewing reservation function
US20060041911A1 (en) * 2004-08-18 2006-02-23 Hiroyuki Matsuyama Information processing apparatus, information processing method, and program
US7340762B2 (en) * 2000-03-16 2008-03-04 Samsung Electronics Co., Ltd. Method and apparatus for broadcasting, viewing, reserving and/or delayed viewing of digital television programs
US7383563B1 (en) * 1999-12-29 2008-06-03 Intel Corporation Automatic channel switching

Family Cites Families (4)

* Cited by examiner, † Cited by third party
Publication number Priority date Publication date Assignee Title
KR100690878B1 (en) * 1999-09-14 2007-03-08 엘지전자 주식회사 How to browse for a station
KR100641435B1 (en) * 2000-01-12 2006-10-31 엘지전자 주식회사 Program reservation method of digital broadcasting receiver
KR100621583B1 (en) * 2004-09-09 2006-09-19 삼성전자주식회사 Digital broadcasting receiver and program guide providing method using same
KR100986056B1 (en) * 2004-10-05 2010-10-07 현대자동차주식회사 Automatic tuning method and apparatus

Patent Citations (7)

* Cited by examiner, † Cited by third party
Publication number Priority date Publication date Assignee Title
US6049333A (en) * 1996-09-03 2000-04-11 Time Warner Entertainment Company, L.P. System and method for providing an event database in a telecasting system
US7383563B1 (en) * 1999-12-29 2008-06-03 Intel Corporation Automatic channel switching
US7340762B2 (en) * 2000-03-16 2008-03-04 Samsung Electronics Co., Ltd. Method and apparatus for broadcasting, viewing, reserving and/or delayed viewing of digital television programs
US20040003405A1 (en) * 2002-06-27 2004-01-01 International Business Machines Corporation System and method for personal video recording system menu control
US20050076368A1 (en) * 2003-08-26 2005-04-07 Samsung Electronics Co., Ltd. Method and apparatus for scheduling digital TV programs
US20050198670A1 (en) * 2004-03-05 2005-09-08 Orion Electric Co., Ltd., Broadcast receiver having viewing reservation function
US20060041911A1 (en) * 2004-08-18 2006-02-23 Hiroyuki Matsuyama Information processing apparatus, information processing method, and program

Cited By (1)

* Cited by examiner, † Cited by third party
Publication number Priority date Publication date Assignee Title
US20100125873A1 (en) * 2008-11-20 2010-05-20 Sony Corporation Event-calendar display apparatus, event-calendar display method, event-calendar display program, and event-information extraction apparatus

Also Published As

Publication number Publication date
US8407742B2 (en) 2013-03-26
KR100782568B1 (en) 2007-12-06

Similar Documents

Publication Publication Date Title
US9350967B2 (en) Recording system
CN1312914C (en) Automatic on-screen display of secondary information
US20140282719A1 (en) Simultaneous viewing of multiple viewer-specific programming on a single display
JP2002530946A (en) Program receiving device
US20010010097A1 (en) Method and apparatus for setting on-timer channel of digital broadcast receiver
KR20040075958A (en) Digital television system having personalized addressable content
JP4046994B2 (en) Information processing apparatus and information processing method
EP2074823A1 (en) Method of controlling receiver for processing broadcast signal defining multi-channel broadcast and broadcast receiver using the same
US20020049970A1 (en) Method of acquiring program guide information, program guide method appropriate for the same, and program guide apparatus
US8984560B2 (en) Apparatus for receiving broadcast in processing broadcast program reserved for viewing and method thereof
EP1578132B1 (en) Method for diplaying the thread of program in a broadcasting receiver
US20090313656A1 (en) Method for updating electronic programming guide (epg) or broadcast receiving apparatus and broadcast receiving apparatus using the same
US8407742B2 (en) System and method for reserving preference event of broadcasting program
CN101072310B (en) Digital television receiver and method for processing broadcast signal
EP1049330A2 (en) Broadcast program recording apparatus using electronic program guide
US20070266419A1 (en) Digital television signal, digital television receiver, and method for processing digital television signal
US9077935B2 (en) Digital television and method of displaying contents using the same
US8931014B2 (en) Digital broadcasting receiving apparatus
US20070094683A1 (en) Method for changing/managing channels and broadcasting receiver
KR100735190B1 (en) Broadcast programming information guide method and television broadcast receiver
KR20040107870A (en) Method and apparatus for setting time using broadcasting signal
US20120005712A1 (en) Method for setting reservation in broadcast receiver
KR101092443B1 (en) Method and apparatus for receiving digital broadcasting
KR100467633B1 (en) Method for controlling program guide display and apparatus for receiving digital broadcasting
CA2568377C (en) Apparatus and method for processing dummy event in digital television receiver

Legal Events

Date Code Title Description
AS Assignment

Owner name: ALTICAST CO. LTD., KOREA, REPUBLIC OF

Free format text: ASSIGNMENT OF ASSIGNORS INTEREST;ASSIGNOR:LEE, JI-YOUNG;REEL/FRAME:019979/0126

Effective date: 20071016

STCF Information on status: patent grant

Free format text: PATENTED CASE

FPAY Fee payment

Year of fee payment: 4

MAFP Maintenance fee payment

Free format text: PAYMENT OF MAINTENANCE FEE, 8TH YR, SMALL ENTITY (ORIGINAL EVENT CODE: M2552); ENTITY STATUS OF PATENT OWNER: SMALL ENTITY

Year of fee payment: 8

AS Assignment

Owner name: ALTIMEDIA CORPORATION, KOREA, REPUBLIC OF

Free format text: ASSIGNMENT OF ASSIGNORS INTEREST;ASSIGNOR:ALTICAST CO., LTD.;REEL/FRAME:058203/0419

Effective date: 20211022

MAFP Maintenance fee payment

Free format text: PAYMENT OF MAINTENANCE FEE, 12TH YR, SMALL ENTITY (ORIGINAL EVENT CODE: M2553); ENTITY STATUS OF PATENT OWNER: SMALL ENTITY

Year of fee payment: 12