US20030197546A1 - Negative voltage generator for a semiconductor memory device - Google Patents
Negative voltage generator for a semiconductor memory device Download PDFInfo
- Publication number
- US20030197546A1 US20030197546A1 US10/422,534 US42253403A US2003197546A1 US 20030197546 A1 US20030197546 A1 US 20030197546A1 US 42253403 A US42253403 A US 42253403A US 2003197546 A1 US2003197546 A1 US 2003197546A1
- Authority
- US
- United States
- Prior art keywords
- input
- negative voltage
- voltage
- differential amplifier
- negative
- Prior art date
- Legal status (The legal status is an assumption and is not a legal conclusion. Google has not performed a legal analysis and makes no representation as to the accuracy of the status listed.)
- Abandoned
Links
Images
Classifications
-
- H—ELECTRICITY
- H02—GENERATION; CONVERSION OR DISTRIBUTION OF ELECTRIC POWER
- H02M—APPARATUS FOR CONVERSION BETWEEN AC AND AC, BETWEEN AC AND DC, OR BETWEEN DC AND DC, AND FOR USE WITH MAINS OR SIMILAR POWER SUPPLY SYSTEMS; CONVERSION OF DC OR AC INPUT POWER INTO SURGE OUTPUT POWER; CONTROL OR REGULATION THEREOF
- H02M3/00—Conversion of DC power input into DC power output
- H02M3/02—Conversion of DC power input into DC power output without intermediate conversion into AC
- H02M3/04—Conversion of DC power input into DC power output without intermediate conversion into AC by static converters
- H02M3/06—Conversion of DC power input into DC power output without intermediate conversion into AC by static converters using resistors or capacitors, e.g. potential divider
- H02M3/07—Conversion of DC power input into DC power output without intermediate conversion into AC by static converters using resistors or capacitors, e.g. potential divider using capacitors charged and discharged alternately by semiconductor devices with control electrode, e.g. charge pumps
-
- G—PHYSICS
- G11—INFORMATION STORAGE
- G11C—STATIC STORES
- G11C16/00—Erasable programmable read-only memories
- G11C16/02—Erasable programmable read-only memories electrically programmable
- G11C16/06—Auxiliary circuits, e.g. for writing into memory
- G11C16/30—Power supply circuits
-
- G—PHYSICS
- G11—INFORMATION STORAGE
- G11C—STATIC STORES
- G11C5/00—Details of stores covered by group G11C11/00
- G11C5/14—Power supply arrangements, e.g. power down, chip selection or deselection, layout of wirings or power grids, or multiple supply levels
- G11C5/147—Voltage reference generators, voltage or current regulators; Internally lowered supply levels; Compensation for voltage drops
-
- H—ELECTRICITY
- H02—GENERATION; CONVERSION OR DISTRIBUTION OF ELECTRIC POWER
- H02M—APPARATUS FOR CONVERSION BETWEEN AC AND AC, BETWEEN AC AND DC, OR BETWEEN DC AND DC, AND FOR USE WITH MAINS OR SIMILAR POWER SUPPLY SYSTEMS; CONVERSION OF DC OR AC INPUT POWER INTO SURGE OUTPUT POWER; CONTROL OR REGULATION THEREOF
- H02M3/00—Conversion of DC power input into DC power output
- H02M3/02—Conversion of DC power input into DC power output without intermediate conversion into AC
- H02M3/04—Conversion of DC power input into DC power output without intermediate conversion into AC by static converters
- H02M3/06—Conversion of DC power input into DC power output without intermediate conversion into AC by static converters using resistors or capacitors, e.g. potential divider
- H02M3/07—Conversion of DC power input into DC power output without intermediate conversion into AC by static converters using resistors or capacitors, e.g. potential divider using capacitors charged and discharged alternately by semiconductor devices with control electrode, e.g. charge pumps
- H02M3/071—Conversion of DC power input into DC power output without intermediate conversion into AC by static converters using resistors or capacitors, e.g. potential divider using capacitors charged and discharged alternately by semiconductor devices with control electrode, e.g. charge pumps adapted to generate a negative voltage output from a positive voltage source
Definitions
- the present invention relates generally to semiconductor memory devices, and more particularly, to a negative voltage generator for a semiconductor memory device.
- a typical semiconductor memory devices utilizes an access transistor in each memory cell to store, read and refresh data in the cell.
- the refresh time of a memory cell is degraded by the leakage current of the access transistor.
- a negatively biased word line scheme has been devised to reduce this leakage current.
- a memory device employing a negative word line scheme applies a negative voltage Vbb or Vnn to the word lines of non-selected memory cells. This is also referred to as back biasing the word line.
- FIG. 1 illustrates a prior art negative voltage generator which includes an oscillator 100 , a negative charge pump 200 and a level detector 300 .
- the generator of FIG. 1 has commonly been used to generate a negative voltage (Vbb) for reverse biasing the substrate of a semiconductor device, thereby reducing leakage current.
- Vbb negative voltage
- it is often referred to as a substrate voltage generator. It generates a regulated negative voltage supply using a negative feedback operation.
- Vbb increases due to substrate leakage current
- the detector 300 enables the oscillator 100 which then drives the charge pump 200 .
- the voltage of Vbb is driven more negative by the charge pump until the detector disables the oscillator.
- FIG. 2 illustrates a typical prior art Vbb level detector 300 .
- Vbb increases due to substrate leakage current
- the source-drain equivalent resistance of M 2 ( 700 ) increases, thereby causing the voltage of Node A to rise.
- node A reaches the trip point of inverter 900
- the output signal OUT goes high and enables the oscillator 100 which then drives the negative charge pump 200 with a rectangular wave signal.
- the negative charge pump includes a capacitor 400 and two diodes DGND ( 500 ) and DSUB ( 600 ) which are arranged in a typical negative charge pumping configuration.
- node B When the rectangular signal is high, node B is clamped at one threshold voltage (Vth) above ground by DGND, while the other end of the capacitor 400 is charged to the positive supply voltage Vdd. Then, when the rectangular signal goes low, the capacitor pumps negative charge to Vbb through DSUB.
- Vth threshold voltage
- the prior art negative voltage generator described above with reference to FIGS. 1 and 2 has also been utilized to provide the negative bias for the word lines.
- this prior art generator is not very well suited for driving negative word lines.
- the regulator shown in FIGS. 1 and 2 was originally intended to provide a small amount of current for reverse or back biasing a semiconductor substrate.
- a negative word line scheme requires large current drive capability to discharge a word line from a boosted voltage of Vpp to the negative voltage of Vbb or Vnn during a word line precharge operation. These large discharge currents cause fluctuations in the negative voltage supply.
- the drive circuitry for a negative word line scheme places additional demands on the negative voltage generator because it consumes additional operating current from the negative voltage supply.
- a negative voltage generator in accordance with the present invention is controlled responsive to a word line precharge signal.
- One aspect of the present invention is a negative voltage generator for a semiconductor memory device comprising: a first charge pump having an output; and a second charge pump having an output coupled to the output of the first charge pump, wherein the second charge pump is adapted to be controlled by a word-line precharge signal.
- Another aspect is a method for operating a semiconductor memory device comprising controlling a negative voltage generator responsive to a word line precharge signal.
- Another aspect of the present invention is a level detector for a semiconductor device comprising: a differential amplifier having a first input and a second input; a first voltage divider coupled to the first input of the differential amplifier; and a second voltage divider coupled to the second input of the differential amplifier, and adapted to drive the second input of the differential amplifier responsive to an output signal.
- Another aspect is a method for detecting a voltage in a semiconductor device comprising: dividing a reference signal, thereby generating a first divided signal; dividing the voltage, thereby generating a second divided signal; and amplifying the difference between the first and second divided signals.
- a further aspect of the present invention is a negative voltage regulator for a semiconductor device comprising: a differential amplifier having a first input, a second input, and an output; an output transistor coupled to the output of the differential amplifier; a first voltage divider coupled to the first input of the differential amplifier; and a second voltage divider coupled to the second input of the differential amplifier, and adapted to drive the second input of the differential amplifier responsive to an output signal from the output transistor.
- Another aspect is a method for generating a first negative voltage in a semiconductor device comprising: generating a second negative voltage; dividing a reference signal, thereby generating a first divided signal; dividing the first negative voltage, thereby generating a second divided signal; amplifying the difference between the first and second divided signals, thereby generating a drive signal; and driving an output transistor coupled between the first negative voltage and the second negative voltage responsive to the drive signal.
- Yet another aspect of the present invention is a semiconductor memory device having a negative word line scheme comprising a negative voltage generator comprising: a charge pump adapted to generate a first negative voltage, and a negative voltage regulator coupled to the negative charge pump and adapted to generate a second negative voltage by regulating the first negative voltage.
- a method for driving a word line in a semiconductor memory device having a negative word line scheme comprising: generating a first negative voltage; generating a second negative voltage by regulating the first negative voltage; and driving the word line with the second negative voltage.
- FIG. 1 is a diagram of a prior art negative voltage generator.
- FIG. 2 is a schematic diagram of a prior art level detector.
- FIG. 3 illustrates the operation of a prior art negative voltage generator and level detector.
- FIG. 4 is a diagram of an embodiment of a negative voltage generator in accordance with the present invention.
- FIG. 5 is a diagram of a second embodiment of a negative voltage generator in accordance with the present invention.
- FIG. 6 is a diagram of a third embodiment of a negative voltage generator in accordance with the present invention.
- FIG. 7 is a timing diagram of some example word line precharge commands and signals suitable for use with the present invention.
- FIG. 8 is a schematic diagram of an embodiment of a level detector in accordance with the present invention.
- FIG. 9 illustrates the operation of an embodiment of a level detector in accordance with the present invention.
- FIG. 10 is a schematic diagram of an embodiment of a negative voltage regulator in accordance with the present invention.
- FIG. 11 illustrates the operation of an embodiment of a negative voltage regulator in accordance with the present invention.
- FIG. 4 is a diagram of an embodiment of a negative voltage generator in accordance with the present invention.
- the embodiment of FIG. 4 includes an oscillator 10 , a first negative charge pump 20 having an output Vbb, and a level detector 30 arranged as in the prior art.
- the embodiment of FIG. 4 further includes a second negative charge pump 50 having an output coupled to the output of the first negative charge pump 20 , either through a Vnn generator 40 as shown in FIG. 4, or through a direct connection as shown in FIGS. 5 and 6, or through any other suitable arrangement.
- the second negative charge pump 50 (also referred to as a “kicker”) is activated and supplies additional negative charge for shutting off a word line responsive to a precharge command or signal.
- the second negative charge pump is preferably designed to provide an accurately pre-determined amount of negative charge. Thus, by providing most of the precharge current required to shut off a word line, the second charge pump dramatically reduces voltage fluctuations on the negative voltage supply.
- the second charge pump is constructed essentially the same as the first charge pump, but it is activated responsive to a precharge command or signal.
- the capacitor in the second charge pump is preferably sized to discharge just the right amount of charge from a word line during a precharge operation.
- the level detector 30 performs the same function as the level detector 300 in FIG. 1, but in a preferred embodiment, it is replaced with a detector having faster response time and greater immunity to process and temperature variations in accordance with the present invention such as that shown in FIG. 8 below.
- the embodiment shown in FIG. 4 further includes an optional Vnn generator 40 which is a voltage regulator that generates Vnn by canceling ripple in Vbb.
- Vnn generator 40 is a voltage regulator that generates Vnn by canceling ripple in Vbb.
- Vnn generator 40 is a voltage regulator that generates Vnn by canceling ripple in Vbb.
- a preferred embodiment of a negative voltage regulator is described below with respect to FIGS. 10 and 11.
- An advantage of using a negative voltage regulator in accordance with the present invention is that it cancels ripple in Vbb. Thus, it provides a more stable negative word line bias.
- Vnn typically about ⁇ 0.5 Volts
- Vbb typically about ⁇ 1.0 Volts
- a further advantage of using a negative voltage regulator to reduce the negative word line bias voltage is that the drive circuitry for the negative word line driving scheme dissipates less power.
- FIG. 7 is a timing diagram of commands and signals for a Synchronous Dynamic Random Access Memory (SDRAM) device.
- Precharge commands are typically external commands such as Row Precharge, Auto Precharge, All Banks Precharge, etc.
- Signals are typically internal signals such as PR in FIG. 7.
- the present invention is not limited use with these commands and signals, or to SDRAM devices.
- the present invention can be adapted to work with any other suitable commands and/or signals that anticipate or correspond to a precharge operation for a word line. Pprecharge command and signal will be used interchangeably.
- precharge command or signal is understood to refer to any suitable command and/or signal that anticipates or corresponds to a precharge operation for a word line.
- present invention is not limited to use with word lines, but can also be used with any other type of memory access line the operates with a negative precharge voltage.
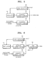
- FIG. 5 is a diagram of another embodiment of a negative voltage generator in accordance with the present invention.
- the output of the second negative charge pump 50 is connected directly to the output of the first negative charge pump 20 .
- Vbb and Vnn are the same signal, and the second charge pump is designed to deliver the predetermined negative charge directly to the word line control circuit in response to a word line precharge command or signal.
- FIG. 6 is a diagram of a third embodiment of a negative voltage generator in accordance with the present invention.
- the embodiment of FIG. 6 is the same as the embodiment of FIG. 5 except that it includes a negative voltage regulator 40 which has an input coupled to the outputs of the first and second charge pumps, and an output that generates the regulated Vnn signal.
- FIG. 8 is a schematic diagram of an embodiment of a level detector in accordance with the present invention.
- the level detector of FIG. 8 includes a first voltage divider formed from resistors R 1 and R 2 , a second voltage divider formed from resistors R 3 and R 4 , a differential amplifier formed from transistors MP 2 , Mp 2 , Mp 3 , Mn 1 , and Mn 2 , and one or more inverters INV 1 , INV 2 .
- the first divider is connected between an internal reference voltage Vref and a power supply ground.
- the second divider is connected between the internal reference voltage Vref and the negative power supply, in this case Vbb.
- Vref is a stable reference voltage, so X has a constant value, and the output Z will depend on whether Y is higher or lower than X.
- Transistors Mp 1 , Mp 2 , Mp 3 , Mn 1 , and Mn 2 are arranged as a differential amplifier with Mp 3 forming a current source that biases Mp 1 and Mp 2 which are arranged as a differential pair of input transistors.
- Transistors Mn 1 and Mn 2 are arranged as a current mirror load referenced to the power supply ground. The output Z is taken from the connection between the drains of Mp 1 and Mn 1 and applied to the input of inverter INV 1 .
- the differential amplifier Since the differential amplifier has a high voltage gain (typically about 50), the output Z will swing quickly past the switching point of inverter INV 1 as Y swings above and below X.
- the high gain characteristic of the differential amplifier reduces the on/off delay of the detector as shown in FIG. 9. This, in turn, reduces fluctuations in the negative voltage supply.
- FIG. 8 Another advantage of the level detector shown in FIG. 8 is that the resistor divided voltage levels X and Y are insensitive to process and temperature variations, so the detector is also insensitive to these variations.
- a further advantage is that, by connecting the voltage dividers to Vref instead of a positive power supply such as Vdd or a boosted voltage source such as Vpp, the level detector can be made insensitive to variations in the supply voltage, as happens, for example when Vdd is increased during a testing operation.
- comparison signals X and Y are biased by the voltage dividers at a quiescent voltage that is well above Vbb. This simplifies the design of the differential amplifier. In essence, the voltage dividers level shift the Vbb signal to a convenient voltage level.
- a level detector in accordance with the present invention can be substituted anywhere for the conventional level detector shown in FIG. 2 and is not limited to applications using a negative word line scheme.
- FIG. 10 is a schematic diagram of an embodiment of a negative voltage regulator (Vnn generator) in accordance with the present invention.
- the regulator of FIG. 10 includes a first voltage divider formed from resistors R 5 and R 6 , a second voltage divider formed from resistors R 7 and R 8 , a differential amplifier formed from transistors Mp 1 , Mp 2 , Mp 3 , Mn 1 , and Mn 2 , and an output transistor Mn 3 .
- the first divider is connected between an internal reference voltage Vref and a power supply ground.
- the second divider is connected between the internal reference voltage Vref and the drain of transistor Mn 3 .
- the source of Mn 3 is connected to the negative power supply Vbb, and the gate of Mn 3 is connected to the output of the differential amplifier at node G between the drains of Mn 1 and Mp 1 .
- Transistors Mp 1 , Mp 2 , Mp 3 , Mn 1 , and Mn 2 are arranged as a differential amplifier with Mp 3 forming a current source that biases Mp 1 and Mp 2 which are arranged as a differential pair of input transistors.
- Transistors Mn 1 and Mn 2 are arranged as a current mirror load referenced to the negative power supply Vbb.
- Vnn Vref ⁇ R6R7 - R5R8 R5R8 + R6R8
- An advantage of the negative voltage regulator of FIG. 10 is that the voltage dividers bias the comparison signals A and B at a quiescent voltage that is well above Vnn. This greatly simplifies the regulator circuit as compared to other regulators which typically have comparison signals that are biased at about the same voltage level as Vnn. In essence, the voltage dividers level shift the signals to a convenient voltage level.
Landscapes
- Engineering & Computer Science (AREA)
- Power Engineering (AREA)
- Dram (AREA)
Abstract
A negative voltage generator is controlled responsive to a word line precharge signal. Voltage fluctuations in a negatively biased word line scheme are reduced by using a kicker circuit to provide a predetermined amount of negative charge to shut off a word line during a precharge operation. The negative voltage generator includes first and second negative charge pumps. The second charge pump is activated responsive to the word line precharge signal. A negative voltage regulator can be used to regulate a negative voltage signal. A level shifter uses two voltage dividers and a differential amplifier to reduce response time, output ripple, and sensitivity to process and temperature variations. A negative voltage regulator cancels ripple from a charge pump to provide a stable negative bias voltage and reduce the amount of charge needed to precharge a word line.
Description
- This application is a divisional of U.S. patent application Ser. No. 09/901,930 filed on Jul. 9, 2001, now pending, which is herein incorporated by references in it's entirety.
- 1. Field of the Invention
- The present invention relates generally to semiconductor memory devices, and more particularly, to a negative voltage generator for a semiconductor memory device.
- 2. Description of the Related Art
- A typical semiconductor memory devices utilizes an access transistor in each memory cell to store, read and refresh data in the cell. The refresh time of a memory cell is degraded by the leakage current of the access transistor. A negatively biased word line scheme has been devised to reduce this leakage current. A memory device employing a negative word line scheme applies a negative voltage Vbb or Vnn to the word lines of non-selected memory cells. This is also referred to as back biasing the word line.
- FIG. 1 illustrates a prior art negative voltage generator which includes an
oscillator 100, anegative charge pump 200 and alevel detector 300. The generator of FIG. 1 has commonly been used to generate a negative voltage (Vbb) for reverse biasing the substrate of a semiconductor device, thereby reducing leakage current. Thus, it is often referred to as a substrate voltage generator. It generates a regulated negative voltage supply using a negative feedback operation. When Vbb increases due to substrate leakage current, thedetector 300 enables theoscillator 100 which then drives thecharge pump 200. The voltage of Vbb is driven more negative by the charge pump until the detector disables the oscillator. - FIG. 2 illustrates a typical prior art
Vbb level detector 300. When Vbb increases due to substrate leakage current, the source-drain equivalent resistance of M2 (700) increases, thereby causing the voltage of Node A to rise. When node A reaches the trip point ofinverter 900, the output signal OUT goes high and enables theoscillator 100 which then drives thenegative charge pump 200 with a rectangular wave signal. The negative charge pump includes acapacitor 400 and two diodes DGND (500) and DSUB (600) which are arranged in a typical negative charge pumping configuration. When the rectangular signal is high, node B is clamped at one threshold voltage (Vth) above ground by DGND, while the other end of thecapacitor 400 is charged to the positive supply voltage Vdd. Then, when the rectangular signal goes low, the capacitor pumps negative charge to Vbb through DSUB. - To implement a negatively biased word line scheme, the prior art negative voltage generator described above with reference to FIGS. 1 and 2 has also been utilized to provide the negative bias for the word lines. However, this prior art generator is not very well suited for driving negative word lines. The regulator shown in FIGS. 1 and 2 was originally intended to provide a small amount of current for reverse or back biasing a semiconductor substrate. A negative word line scheme, however, requires large current drive capability to discharge a word line from a boosted voltage of Vpp to the negative voltage of Vbb or Vnn during a word line precharge operation. These large discharge currents cause fluctuations in the negative voltage supply. The drive circuitry for a negative word line scheme places additional demands on the negative voltage generator because it consumes additional operating current from the negative voltage supply.
- Another problem with the prior art negative voltage generator is that the voltage gain of the
detector 300 is very low (˜0.1), so the response time is slow. This causes a long on/off delay time (˜1 us) which results in a large ripple component in the negative voltage Vbb as shown in FIG. 3. A further problem with the detector is that it is highly sensitive to process and temperature variations. - A negative voltage generator in accordance with the present invention is controlled responsive to a word line precharge signal.
- One aspect of the present invention is a negative voltage generator for a semiconductor memory device comprising: a first charge pump having an output; and a second charge pump having an output coupled to the output of the first charge pump, wherein the second charge pump is adapted to be controlled by a word-line precharge signal. Another aspect is a method for operating a semiconductor memory device comprising controlling a negative voltage generator responsive to a word line precharge signal.
- Another aspect of the present invention is a level detector for a semiconductor device comprising: a differential amplifier having a first input and a second input; a first voltage divider coupled to the first input of the differential amplifier; and a second voltage divider coupled to the second input of the differential amplifier, and adapted to drive the second input of the differential amplifier responsive to an output signal. Another aspect is a method for detecting a voltage in a semiconductor device comprising: dividing a reference signal, thereby generating a first divided signal; dividing the voltage, thereby generating a second divided signal; and amplifying the difference between the first and second divided signals.
- A further aspect of the present invention is a negative voltage regulator for a semiconductor device comprising: a differential amplifier having a first input, a second input, and an output; an output transistor coupled to the output of the differential amplifier; a first voltage divider coupled to the first input of the differential amplifier; and a second voltage divider coupled to the second input of the differential amplifier, and adapted to drive the second input of the differential amplifier responsive to an output signal from the output transistor. Another aspect is a method for generating a first negative voltage in a semiconductor device comprising: generating a second negative voltage; dividing a reference signal, thereby generating a first divided signal; dividing the first negative voltage, thereby generating a second divided signal; amplifying the difference between the first and second divided signals, thereby generating a drive signal; and driving an output transistor coupled between the first negative voltage and the second negative voltage responsive to the drive signal.
- Yet another aspect of the present invention is a semiconductor memory device having a negative word line scheme comprising a negative voltage generator comprising: a charge pump adapted to generate a first negative voltage, and a negative voltage regulator coupled to the negative charge pump and adapted to generate a second negative voltage by regulating the first negative voltage. Another aspect is a method for driving a word line in a semiconductor memory device having a negative word line scheme comprising: generating a first negative voltage; generating a second negative voltage by regulating the first negative voltage; and driving the word line with the second negative voltage.
- These and other aspects of the present invention are disclosed and claimed.
- FIG. 1 is a diagram of a prior art negative voltage generator.
- FIG. 2 is a schematic diagram of a prior art level detector.
- FIG. 3 illustrates the operation of a prior art negative voltage generator and level detector.
- FIG. 4 is a diagram of an embodiment of a negative voltage generator in accordance with the present invention.
- FIG. 5 is a diagram of a second embodiment of a negative voltage generator in accordance with the present invention.
- FIG. 6 is a diagram of a third embodiment of a negative voltage generator in accordance with the present invention.
- FIG. 7 is a timing diagram of some example word line precharge commands and signals suitable for use with the present invention.
- FIG. 8 is a schematic diagram of an embodiment of a level detector in accordance with the present invention.
- FIG. 9 illustrates the operation of an embodiment of a level detector in accordance with the present invention.
- FIG. 10 is a schematic diagram of an embodiment of a negative voltage regulator in accordance with the present invention.
- FIG. 11 illustrates the operation of an embodiment of a negative voltage regulator in accordance with the present invention.
- FIG. 4 is a diagram of an embodiment of a negative voltage generator in accordance with the present invention. The embodiment of FIG. 4 includes an
oscillator 10, a firstnegative charge pump 20 having an output Vbb, and alevel detector 30 arranged as in the prior art. However, the embodiment of FIG. 4 further includes a secondnegative charge pump 50 having an output coupled to the output of the firstnegative charge pump 20, either through aVnn generator 40 as shown in FIG. 4, or through a direct connection as shown in FIGS. 5 and 6, or through any other suitable arrangement. The second negative charge pump 50 (also referred to as a “kicker”) is activated and supplies additional negative charge for shutting off a word line responsive to a precharge command or signal. The second negative charge pump is preferably designed to provide an accurately pre-determined amount of negative charge. Thus, by providing most of the precharge current required to shut off a word line, the second charge pump dramatically reduces voltage fluctuations on the negative voltage supply. - In a preferred embodiment, the second charge pump is constructed essentially the same as the first charge pump, but it is activated responsive to a precharge command or signal. The capacitor in the second charge pump is preferably sized to discharge just the right amount of charge from a word line during a precharge operation.
- Since most semiconductor memory devices operate from positive power supplies that are referenced to a power supply ground, a back bias scheme is described in terms of a negative voltage. However, as used herein, negative is understood to mean simply the reverse polarity from that applied to a word line during an access operation.
- The
level detector 30 performs the same function as thelevel detector 300 in FIG. 1, but in a preferred embodiment, it is replaced with a detector having faster response time and greater immunity to process and temperature variations in accordance with the present invention such as that shown in FIG. 8 below. - The embodiment shown in FIG. 4 further includes an
optional Vnn generator 40 which is a voltage regulator that generates Vnn by canceling ripple in Vbb. Thus, a more stable negative word line bias can be obtained using the Vnn supply. A preferred embodiment of a negative voltage regulator is described below with respect to FIGS. 10 and 11. An advantage of using a negative voltage regulator in accordance with the present invention is that it cancels ripple in Vbb. Thus, it provides a more stable negative word line bias. Another advantage is that, since Vnn (typically about −0.5 Volts) is less negative than Vbb (typically about −1.0 Volts), it reduces the total amount of charge that must be removed from a word line during a precharge operation. A further advantage of using a negative voltage regulator to reduce the negative word line bias voltage is that the drive circuitry for the negative word line driving scheme dissipates less power. - Examples of precharge commands and signals suitable for triggering the second negative charge pump are shown in FIG. 7 which is a timing diagram of commands and signals for a Synchronous Dynamic Random Access Memory (SDRAM) device. Precharge commands are typically external commands such as Row Precharge, Auto Precharge, All Banks Precharge, etc. Signals are typically internal signals such as PR in FIG. 7. The present invention, however, is not limited use with these commands and signals, or to SDRAM devices. The present invention can be adapted to work with any other suitable commands and/or signals that anticipate or correspond to a precharge operation for a word line. Pprecharge command and signal will be used interchangeably. Thus, precharge command or signal is understood to refer to any suitable command and/or signal that anticipates or corresponds to a precharge operation for a word line. Moreover, the present invention is not limited to use with word lines, but can also be used with any other type of memory access line the operates with a negative precharge voltage.
- FIG. 5 is a diagram of another embodiment of a negative voltage generator in accordance with the present invention. In the embodiment of FIG. 5, there is no negative voltage regulator, and the output of the second
negative charge pump 50 is connected directly to the output of the firstnegative charge pump 20. In this configuration, Vbb and Vnn are the same signal, and the second charge pump is designed to deliver the predetermined negative charge directly to the word line control circuit in response to a word line precharge command or signal. - FIG. 6 is a diagram of a third embodiment of a negative voltage generator in accordance with the present invention. The embodiment of FIG. 6 is the same as the embodiment of FIG. 5 except that it includes a
negative voltage regulator 40 which has an input coupled to the outputs of the first and second charge pumps, and an output that generates the regulated Vnn signal. - FIG. 8 is a schematic diagram of an embodiment of a level detector in accordance with the present invention. The level detector of FIG. 8 includes a first voltage divider formed from resistors R 1 and R2, a second voltage divider formed from resistors R3 and R4, a differential amplifier formed from transistors MP2, Mp2, Mp3, Mn1, and Mn2, and one or more inverters INV1, INV2. The first divider is connected between an internal reference voltage Vref and a power supply ground. The second divider is connected between the internal reference voltage Vref and the negative power supply, in this case Vbb. The voltage dividers divide the voltage between Vref and ground and between Vref and Vbb, thereby generating two divided signals X and Y which operate as comparison signals in response to Vref and Vbb according to the following equations:
-
- Transistors Mp 1, Mp2, Mp3, Mn1, and Mn2 are arranged as a differential amplifier with Mp3 forming a current source that biases Mp1 and Mp2 which are arranged as a differential pair of input transistors. Transistors Mn1 and Mn2 are arranged as a current mirror load referenced to the power supply ground. The output Z is taken from the connection between the drains of Mp1 and Mn1 and applied to the input of inverter INV1.
- Since the differential amplifier has a high voltage gain (typically about 50), the output Z will swing quickly past the switching point of inverter INV 1 as Y swings above and below X. The high gain characteristic of the differential amplifier reduces the on/off delay of the detector as shown in FIG. 9. This, in turn, reduces fluctuations in the negative voltage supply.
- Another advantage of the level detector shown in FIG. 8 is that the resistor divided voltage levels X and Y are insensitive to process and temperature variations, so the detector is also insensitive to these variations.
- A further advantage is that, by connecting the voltage dividers to Vref instead of a positive power supply such as Vdd or a boosted voltage source such as Vpp, the level detector can be made insensitive to variations in the supply voltage, as happens, for example when Vdd is increased during a testing operation.
- Yet another advantage of the level detector shown in FIG. 8 is that the current mirror load is referenced to the power supply ground terminal rather than the Vbb terminal. This reduces the current draw from Vbb.
- An additional advantage is that the comparison signals X and Y are biased by the voltage dividers at a quiescent voltage that is well above Vbb. This simplifies the design of the differential amplifier. In essence, the voltage dividers level shift the Vbb signal to a convenient voltage level.
- A level detector in accordance with the present invention can be substituted anywhere for the conventional level detector shown in FIG. 2 and is not limited to applications using a negative word line scheme.
- FIG. 10 is a schematic diagram of an embodiment of a negative voltage regulator (Vnn generator) in accordance with the present invention. The regulator of FIG. 10 includes a first voltage divider formed from resistors R 5 and R6, a second voltage divider formed from resistors R7 and R8, a differential amplifier formed from transistors Mp1, Mp2, Mp3, Mn1, and Mn2, and an output transistor Mn3.
- The first divider is connected between an internal reference voltage Vref and a power supply ground. The second divider is connected between the internal reference voltage Vref and the drain of transistor Mn 3. The source of Mn3 is connected to the negative power supply Vbb, and the gate of Mn3 is connected to the output of the differential amplifier at node G between the drains of Mn1 and Mp1.
- Transistors Mp 1, Mp2, Mp3, Mn1, and Mn2 are arranged as a differential amplifier with Mp3 forming a current source that biases Mp1 and Mp2 which are arranged as a differential pair of input transistors. Transistors Mn1 and Mn2 are arranged as a current mirror load referenced to the negative power supply Vbb.
- The voltage dividers divide the voltage between Vref and ground and between Vref and Vnn, thereby generating two divided signals A and B which operate as comparison signals in response to Vref and Vnn. Since the regulator is connected in a negative feedback arrangement, the voltages on nodes A and B are forced to the same value. Thus, Vnn is given by the following equation:
- As the voltage of Vbb varies, the voltage at node G tracks in the same phase as Vbb so that the gate-to-source voltage of Mn 3 remains constant and the Vbb ripple caused by the detector on/off time is cancelled at Vnn as shown in FIG. 11.
- An advantage of the negative voltage regulator of FIG. 10 is that the voltage dividers bias the comparison signals A and B at a quiescent voltage that is well above Vnn. This greatly simplifies the regulator circuit as compared to other regulators which typically have comparison signals that are biased at about the same voltage level as Vnn. In essence, the voltage dividers level shift the signals to a convenient voltage level.
- Having described and illustrated the principles of the invention in some preferred embodiments thereof, it should be apparent that the invention can be modified in arrangement and detail without departing from such principles. We claim all modifications and variations coming within the spirit and scope of the following claims.
Claims (39)
1. A negative voltage level detector for a semiconductor device comprising:
a differential amplifier having a first input and a second input;
a first voltage divider coupled to the first input of the differential amplifier; and
a second voltage divider coupled to the second input of the differential amplifier, and adapted to drive the second input of the differential amplifier responsive to a negative voltage.
2. A negative voltage level detector according to claim 1 wherein the first voltage divider is adapted to drive the first input of the differential amplifier responsive to a reference voltage.
3. A negative voltage level detector according to claim 2 wherein the first voltage divider comprises:
a first resistor coupled between the reference voltage and the first input of the differential amplifier; and
a second resistor coupled between the first input of the differential amplifier and a power supply terminal.
4. A negative voltage level detector according to claim 2 wherein the second voltage divider comprises:
a first resistor coupled between a reference voltage and the second input of the differential amplifier; and
a second resistor coupled between the second input of the differential amplifier and the negative voltage.
5. A negative voltage level detector according to claim 1 further comprising an inverter having an input coupled to an output of the differential amplifier.
6. A negative voltage level detector according to claim 1:
wherein the first voltage divider comprises:
a first resistor coupled between a reference voltage and the first input of the differential amplifier, and
a second resistor coupled between the first input of the differential amplifier and a power supply terminal;
wherein the second voltage divider comprises:
a third resistor coupled between the reference voltage and the second input of the differential amplifier, and
a fourth resistor coupled between the second input of the differential amplifier and the negative voltage;
wherein the differential amplifier comprises:
a differential pair of input transistors coupled to the first and second input terminals,
a current source coupled to the differential pair of transistors, and
a load coupled to the differential pair of transistors; and
further comprising an inverter having an input coupled to an output of the differential amplifier.
7. A negative voltage level detector according to claim 1 wherein the differential amplifier comprises a current mirror load coupled to a power supply terminal.
8. A negative voltage level detector according to claim 1 wherein:
the semiconductor device is a memory device utilizing a negative word line scheme; and
the negative voltage is a negative voltage source for negatively biasing a word line.
9. A negative voltage level detector for a semiconductor device comprising:
means for dividing a reference voltage, thereby generating a first divided signal;
means for dividing a negative voltage, thereby generating a second divided signal; and
means for amplifying the difference between the first and second divided signals.
10. A negative voltage level detector according to claim 9 wherein the means for dividing a reference voltage comprises:
a first resistor coupled between the reference voltage and a first input of the means for amplifying; and
a second resistor coupled between the first input of the means for amplifying and a power supply terminal.
11. A negative voltage level detector according to claim 9 wherein the means for dividing a negative voltage comprises:
a first resistor coupled between a reference voltage and a second input of the means for amplifying; and
a second resistor coupled between the second input of the means for amplifying and the negative voltage.
12. A negative voltage level detector according to claim 9 wherein the means for amplifying comprises a differential amplifier referenced to a power supply voltage.
13. A negative voltage level detector according to claim 9 wherein:
the semiconductor device is a memory device utilizing a negative word line scheme; and
the negative voltage is a negative voltage for biasing a word line.
14. A negative voltage level detector for a semiconductor device comprising:
a differential amplifier having a first input and a second input;
a first voltage divider coupled to the first input of the differential amplifier and adapted to drive the first input of the differential amplifier responsive to a reference voltage, wherein the first voltage divider is adapted to maintain the first input of the differential amplifier at a positive voltage; and
a second voltage divider coupled to the second input of the differential amplifier and adapted to drive the second input of the differential amplifier responsive to a negative voltage, wherein the second voltage divider is adapted to maintain the second input of the differential amplifier at a positive voltage.
15. A negative voltage level detector according to claim 14 wherein the first voltage divider comprises:
a first resistor coupled between the reference voltage and the first input of the differential amplifier; and
a second resistor coupled between the first input of the differential amplifier and a power supply terminal.
16. A negative voltage level detector according to claim 14 wherein the second voltage divider comprises:
a first resistor coupled between a reference voltage and the second input of the differential amplifier; and
a second resistor coupled between the second input of the differential amplifier and the negative voltage.
17. A method for detecting a negative voltage in a semiconductor device comprising:
dividing a reference-voltage, thereby generating a first divided signal;
dividing the negative voltage, thereby generating a second divided signal; and
amplifying the difference between the first and second divided signals.
18. A method according to claim 17 wherein dividing the reference voltage comprises level shifting the reference voltage.
19. A method according to claim 17 wherein dividing the negative voltage comprises level shifting the negative voltage.
20. A method according to claim 17 wherein amplifying the difference between the first and second divided signals comprises referencing a differential amplifier to a power supply voltage.
21. A method according to claim 17 wherein:
the semiconductor device is a memory device utilizing a negative word line scheme; and
the negative voltage is a negative voltage for biasing a word line.
22. A negative voltage regulator for a semiconductor device comprising:
a differential amplifier having a first input, a second input, and an output;
an output transistor coupled to the output of the differential amplifier and arranged to generate a second negative voltage from a first negative voltage;
a first voltage divider coupled to the first input of the differential amplifier; and
a second voltage divider coupled to the second input of the differential amplifier, and adapted to drive the second input of the differential amplifier responsive to the second negative voltage.
23. A negative voltage regulator according to claim 22 wherein the first voltage divider is adapted to drive the first input of the differential amplifier responsive to a reference voltage.
24. A negative voltage regulator according to claim 23 wherein the first voltage divider comprises:
a first resistor coupled between the reference voltage and the first input of the differential amplifier; and
a second resistor coupled between the first input of the differential amplifier and a power supply terminal.
25. A negative voltage regulator according to claim 22 wherein the second voltage divider comprises:
a first resistor coupled between a reference voltage and the second input of the differential amplifier; and
a second resistor coupled between the second input of the differential amplifier and the second negative voltage.
26. A negative voltage regulator according to claim 32:
wherein the first voltage divider comprises:
a first resistor coupled between a reference voltage and the first input of the differential amplifier, and
a second resistor coupled between the first input of the differential amplifier and a power supply terminal;
wherein the second voltage divider comprises:
a third resistor coupled between the reference voltage and the second input of the differential amplifier, and
a fourth resistor coupled between the second input of the differential amplifier and a the second negative voltage;
wherein the differential amplifier comprises:
a differential pair of input transistors coupled to the first and second input terminals,
a current source coupled to the differential pair of transistors, and
a load coupled to the differential pair of transistors; and
wherein the output transistor has a second terminal coupled to an output terminal of the differential amplifier.
27. A negative voltage regulator according to claim 22 wherein:
the semiconductor device is a memory device utilizing a negative word line scheme; and
the second negative voltage is a negative voltage source for negatively biasing a word line.
28. A negative voltage regulator for a semiconductor device comprising:
means for generating a second negative voltage from a first negative voltage responsive to a drive signal;
means for dividing a reference voltage, thereby generating a first divided signal;
means for dividing the second negative voltage, thereby generating a second divided signal;
means for amplifying the difference between the first and second divided signals, thereby generating the drive signal.
29. A negative voltage regulator according to claim 28 wherein the means for dividing the reference voltage comprises:
a first resistor coupled between the reference voltage and a first input of the means for amplifying; and
a second resistor coupled between the first input of the means for amplifying and a power supply terminal.
30. A negative voltage regulator according to claim 28 wherein the means for dividing the second negative voltage comprises:
a first resistor coupled between a reference voltage and the second input of the means for amplifying; and
a second resistor coupled between the second input of the means for amplifying and the second negative voltage.
31. A negative voltage regulator according to claim 28 wherein:
the semiconductor device is a memory device utilizing a negative word line scheme; and
the first negative voltage is a negative voltage for biasing a word line.
32. A negative voltage regulator for a semiconductor device comprising:
a differential amplifier having a first input, a second input, and an output;
an output transistor coupled to the output of the differential amplifier and arranged to generate a second negative voltage from a first negative voltage;
a first voltage divider coupled to the first input of the differential amplifier and adapted to drive the first input of the differential amplifier responsive to a reference voltage, wherein the first voltage divider is adapted to maintain the first input of the differential amplifier at a positive voltage; and
a second voltage divider coupled to the second input of the differential amplifier and adapted to drive the second input of the differential amplifier responsive to the second negative voltage, wherein the second voltage divider is adapted to maintain the second input of the differential amplifier at a positive voltage.
33. A negative voltage level detector according to claim 32 wherein the first voltage divider comprises:
a first resistor coupled between the reference voltage and the first input of the differential amplifier; and
a second resistor coupled between the first input of the differential amplifier and a power supply terminal.
34. A negative voltage level detector according to claim 32 wherein the second voltage divider comprises:
a first resistor coupled between a reference voltage and the second input of the differential amplifier; and
a second resistor coupled between the second input of the differential amplifier and the second negative voltage.
35. A method for generating a first negative voltage in a semiconductor device comprising:
generating a second negative voltage;
dividing a reference voltage, thereby generating a first divided signal;
dividing the first negative voltage, thereby generating a second divided signal;
amplifying the difference between the first and second divided signals, thereby generating a drive signal; and
driving an output transistor coupled between the first negative voltage and the second negative voltage responsive to the drive signal.
36. A method according to claim 35 wherein dividing the reference voltage comprises level shifting the reference voltage.
37. A method according to claim 35 wherein dividing the first negative voltage comprises level shifting the first negative voltage.
38. A method according to claim 35 wherein amplifying the difference between the first and second divided signals comprises referencing a differential amplifier to the second negative voltage.
39. A method according to claim 35 wherein:
the semiconductor device is a memory device utilizing a negative word line scheme; and
the first negative voltage is a negative voltage for biasing a word line.
Priority Applications (2)
| Application Number | Priority Date | Filing Date | Title |
|---|---|---|---|
| US10/422,534 US20030197546A1 (en) | 2001-07-09 | 2003-04-23 | Negative voltage generator for a semiconductor memory device |
| US10/940,804 US7023262B2 (en) | 2001-05-04 | 2004-08-26 | Negative voltage generator for a semiconductor memory device |
Applications Claiming Priority (2)
| Application Number | Priority Date | Filing Date | Title |
|---|---|---|---|
| US09/901,930 US7336121B2 (en) | 2001-05-04 | 2001-07-09 | Negative voltage generator for a semiconductor memory device |
| US10/422,534 US20030197546A1 (en) | 2001-07-09 | 2003-04-23 | Negative voltage generator for a semiconductor memory device |
Related Parent Applications (1)
| Application Number | Title | Priority Date | Filing Date |
|---|---|---|---|
| US09/901,930 Division US7336121B2 (en) | 2001-05-04 | 2001-07-09 | Negative voltage generator for a semiconductor memory device |
Related Child Applications (1)
| Application Number | Title | Priority Date | Filing Date |
|---|---|---|---|
| US10/940,804 Division US7023262B2 (en) | 2001-05-04 | 2004-08-26 | Negative voltage generator for a semiconductor memory device |
Publications (1)
| Publication Number | Publication Date |
|---|---|
| US20030197546A1 true US20030197546A1 (en) | 2003-10-23 |
Family
ID=29216197
Family Applications (2)
| Application Number | Title | Priority Date | Filing Date |
|---|---|---|---|
| US10/422,534 Abandoned US20030197546A1 (en) | 2001-05-04 | 2003-04-23 | Negative voltage generator for a semiconductor memory device |
| US10/940,804 Expired - Fee Related US7023262B2 (en) | 2001-05-04 | 2004-08-26 | Negative voltage generator for a semiconductor memory device |
Family Applications After (1)
| Application Number | Title | Priority Date | Filing Date |
|---|---|---|---|
| US10/940,804 Expired - Fee Related US7023262B2 (en) | 2001-05-04 | 2004-08-26 | Negative voltage generator for a semiconductor memory device |
Country Status (1)
| Country | Link |
|---|---|
| US (2) | US20030197546A1 (en) |
Cited By (9)
| Publication number | Priority date | Publication date | Assignee | Title |
|---|---|---|---|---|
| US20050116765A1 (en) * | 2003-11-28 | 2005-06-02 | Matsushita Electric Industrial Co., Ltd. | Semiconductor integrated circuit |
| US20050162212A1 (en) * | 2003-02-25 | 2005-07-28 | Shiro Sakiyama | Semiconductor integrated circuit |
| US20070109700A1 (en) * | 2005-11-15 | 2007-05-17 | Nec Electronics Corporation | Semiconductor integrated circuit device |
| WO2010003470A1 (en) * | 2008-07-08 | 2010-01-14 | Sony Ericsson Mobile Communications Ab | A circuit for generating a negative voltage supply signal, and associated power supply device and portable electronic apparatus |
| US20160036329A1 (en) * | 2014-07-31 | 2016-02-04 | Nxp B.V. | Negative voltage generator |
| US9964975B1 (en) * | 2017-09-29 | 2018-05-08 | Nxp Usa, Inc. | Semiconductor devices for sensing voltages |
| US10818364B2 (en) * | 2010-11-01 | 2020-10-27 | Toshiba Memory Corporation | Voltage generation circuit which is capable of executing high-speed boost operation |
| US11188111B2 (en) * | 2019-05-02 | 2021-11-30 | Nordic Semiconductor Asa | Voltage monitoring system for a negative supply voltage |
| US12205663B2 (en) * | 2019-07-09 | 2025-01-21 | Arm Limited | Regulated negative charge pump circuitry and methods |
Families Citing this family (14)
| Publication number | Priority date | Publication date | Assignee | Title |
|---|---|---|---|---|
| JP2005151468A (en) * | 2003-11-19 | 2005-06-09 | Sanyo Electric Co Ltd | Amplifier |
| KR100529386B1 (en) * | 2004-04-27 | 2005-11-17 | 주식회사 하이닉스반도체 | Semiconductor memory device having clamp for protecting latch up |
| EP1788578B1 (en) * | 2004-08-31 | 2011-05-11 | Spansion LLc | Non-volatile storage device and control method thereof |
| TWI282083B (en) * | 2005-05-27 | 2007-06-01 | Innolux Display Corp | Backlight on/off control circuit |
| US7145318B1 (en) * | 2005-11-21 | 2006-12-05 | Atmel Corporation | Negative voltage regulator |
| TW200813444A (en) * | 2006-09-13 | 2008-03-16 | Advanced Analog Technology Inc | Negative voltage detector |
| TWI328925B (en) * | 2007-04-11 | 2010-08-11 | Au Optronics Corp | Negative voltage converter |
| KR100904467B1 (en) * | 2008-01-09 | 2009-06-24 | 주식회사 하이닉스반도체 | Pumping voltage sensing circuit |
| EP2239833B1 (en) * | 2008-09-17 | 2017-10-04 | Asahi Kasei Microdevices Corporation | Charge pump circuit and semiconductor integrated circuit |
| US8618786B1 (en) * | 2009-08-31 | 2013-12-31 | Altera Corporation | Self-biased voltage regulation circuitry for memory |
| KR101764125B1 (en) | 2010-12-15 | 2017-08-02 | 삼성전자주식회사 | Negative high voltage generator and non-volatile memory device including negative high voltage generator |
| KR20130015941A (en) * | 2011-08-05 | 2013-02-14 | 에스케이하이닉스 주식회사 | Internal voltage generation circuit |
| JP5710561B2 (en) * | 2012-08-29 | 2015-04-30 | 株式会社東芝 | Semiconductor memory device |
| TWI704438B (en) * | 2018-07-12 | 2020-09-11 | 立積電子股份有限公司 | Voltage control device |
Citations (11)
| Publication number | Priority date | Publication date | Assignee | Title |
|---|---|---|---|---|
| US5191235A (en) * | 1991-01-29 | 1993-03-02 | Nec Corporation | Semiconductor integrated circuit device having substrate potential detection circuit |
| US5329168A (en) * | 1991-12-27 | 1994-07-12 | Nec Corporation | Semiconductor integrated circuit device equipped with substrate biasing system selectively powered from internal and external power sources |
| US5451891A (en) * | 1991-10-25 | 1995-09-19 | Nec Corporation | Potential detecting circuit |
| US5553295A (en) * | 1994-03-23 | 1996-09-03 | Intel Corporation | Method and apparatus for regulating the output voltage of negative charge pumps |
| US5694072A (en) * | 1995-08-28 | 1997-12-02 | Pericom Semiconductor Corp. | Programmable substrate bias generator with current-mirrored differential comparator and isolated bulk-node sensing transistor for bias voltage control |
| US6008674A (en) * | 1997-04-11 | 1999-12-28 | Mitsubishi Denki Kabushiki Kaisha | Semiconductor integrated circuit device with adjustable high voltage detection circuit |
| US6205079B1 (en) * | 1999-05-25 | 2001-03-20 | Kabushiki Kaisha Toshiba | Semiconductor integrated circuit having power-supply circuits for producing internal supply voltages |
| US6329869B1 (en) * | 1999-05-19 | 2001-12-11 | Nec Corporation | Semiconductor device with less influence of noise |
| US6333662B1 (en) * | 1998-12-24 | 2001-12-25 | Kabushiki Kaisha Toshiba | Latch type level shift circuit |
| US6456513B2 (en) * | 2000-02-02 | 2002-09-24 | Fujitsu Limited | Voltage conversion circuit and control circuit therefor |
| US6486727B1 (en) * | 2001-10-11 | 2002-11-26 | Pericom Semiconductor Corp. | Low-power substrate bias generator disabled by comparators for supply over-voltage protection and bias target voltage |
Family Cites Families (17)
| Publication number | Priority date | Publication date | Assignee | Title |
|---|---|---|---|---|
| JPH0817033B2 (en) * | 1988-12-08 | 1996-02-21 | 三菱電機株式会社 | Substrate bias potential generation circuit |
| KR950002015B1 (en) * | 1991-12-23 | 1995-03-08 | 삼성전자주식회사 | Electrostatic source generation circuit operated by one oscillator |
| KR950006067Y1 (en) * | 1992-10-08 | 1995-07-27 | 문정환 | Semiconductor memory device |
| US5337284A (en) * | 1993-01-11 | 1994-08-09 | United Memories, Inc. | High voltage generator having a self-timed clock circuit and charge pump, and a method therefor |
| US6031411A (en) * | 1993-06-28 | 2000-02-29 | Texas Instruments Incorporated | Low power substrate bias circuit |
| JP3667787B2 (en) * | 1994-05-11 | 2005-07-06 | 株式会社ルネサステクノロジ | Semiconductor memory device |
| JPH089155A (en) | 1994-06-17 | 1996-01-12 | Fuji Photo Film Co Ltd | Image signal binarization processing unit and its method |
| FR2729762A1 (en) * | 1995-01-23 | 1996-07-26 | Sgs Thomson Microelectronics | COMPENSATED VOLTAGE DETECTION CIRCUIT IN TECHNOLOGY AND TEMPERATURE |
| US5600551A (en) * | 1995-08-02 | 1997-02-04 | Schenck-Accurate, Inc. | Isolated power/voltage multiplier apparatus and method |
| US5943263A (en) * | 1997-01-08 | 1999-08-24 | Micron Technology, Inc. | Apparatus and method for programming voltage protection in a non-volatile memory system |
| KR100264959B1 (en) * | 1997-04-30 | 2000-10-02 | 윤종용 | High voltage generator |
| US5933047A (en) * | 1997-04-30 | 1999-08-03 | Mosaid Technologies Incorporated | High voltage generating circuit for volatile semiconductor memories |
| KR100294584B1 (en) * | 1998-06-19 | 2001-09-17 | 윤종용 | Substrate bias voltage generation circuit of semiconductor memory device |
| US6147914A (en) * | 1998-08-14 | 2000-11-14 | Monolithic System Technology, Inc. | On-chip word line voltage generation for DRAM embedded in logic process |
| US6055186A (en) * | 1998-10-23 | 2000-04-25 | Macronix International Co., Ltd. | Regulated negative voltage supply circuit for floating gate memory devices |
| JP2001332696A (en) * | 2000-05-24 | 2001-11-30 | Nec Corp | Substrate potential detection circuit and substrate potential generation circuit |
| US6288951B1 (en) * | 2000-09-29 | 2001-09-11 | Advanced Micro Devices | Method and apparatus for continuously regulating a charge pump output voltage using a capacitor divider |
-
2003
- 2003-04-23 US US10/422,534 patent/US20030197546A1/en not_active Abandoned
-
2004
- 2004-08-26 US US10/940,804 patent/US7023262B2/en not_active Expired - Fee Related
Patent Citations (11)
| Publication number | Priority date | Publication date | Assignee | Title |
|---|---|---|---|---|
| US5191235A (en) * | 1991-01-29 | 1993-03-02 | Nec Corporation | Semiconductor integrated circuit device having substrate potential detection circuit |
| US5451891A (en) * | 1991-10-25 | 1995-09-19 | Nec Corporation | Potential detecting circuit |
| US5329168A (en) * | 1991-12-27 | 1994-07-12 | Nec Corporation | Semiconductor integrated circuit device equipped with substrate biasing system selectively powered from internal and external power sources |
| US5553295A (en) * | 1994-03-23 | 1996-09-03 | Intel Corporation | Method and apparatus for regulating the output voltage of negative charge pumps |
| US5694072A (en) * | 1995-08-28 | 1997-12-02 | Pericom Semiconductor Corp. | Programmable substrate bias generator with current-mirrored differential comparator and isolated bulk-node sensing transistor for bias voltage control |
| US6008674A (en) * | 1997-04-11 | 1999-12-28 | Mitsubishi Denki Kabushiki Kaisha | Semiconductor integrated circuit device with adjustable high voltage detection circuit |
| US6333662B1 (en) * | 1998-12-24 | 2001-12-25 | Kabushiki Kaisha Toshiba | Latch type level shift circuit |
| US6329869B1 (en) * | 1999-05-19 | 2001-12-11 | Nec Corporation | Semiconductor device with less influence of noise |
| US6205079B1 (en) * | 1999-05-25 | 2001-03-20 | Kabushiki Kaisha Toshiba | Semiconductor integrated circuit having power-supply circuits for producing internal supply voltages |
| US6456513B2 (en) * | 2000-02-02 | 2002-09-24 | Fujitsu Limited | Voltage conversion circuit and control circuit therefor |
| US6486727B1 (en) * | 2001-10-11 | 2002-11-26 | Pericom Semiconductor Corp. | Low-power substrate bias generator disabled by comparators for supply over-voltage protection and bias target voltage |
Cited By (16)
| Publication number | Priority date | Publication date | Assignee | Title |
|---|---|---|---|---|
| US20050162212A1 (en) * | 2003-02-25 | 2005-07-28 | Shiro Sakiyama | Semiconductor integrated circuit |
| US7498865B2 (en) * | 2003-02-25 | 2009-03-03 | Panasonic Corporation | Semiconductor integrated circuit with reduced speed variations |
| US20050116765A1 (en) * | 2003-11-28 | 2005-06-02 | Matsushita Electric Industrial Co., Ltd. | Semiconductor integrated circuit |
| US20070109700A1 (en) * | 2005-11-15 | 2007-05-17 | Nec Electronics Corporation | Semiconductor integrated circuit device |
| US7940577B2 (en) * | 2005-11-15 | 2011-05-10 | Renesas Electronics Corporation | Semiconductor integrated circuit device minimizing leakage current |
| WO2010003470A1 (en) * | 2008-07-08 | 2010-01-14 | Sony Ericsson Mobile Communications Ab | A circuit for generating a negative voltage supply signal, and associated power supply device and portable electronic apparatus |
| US20100007407A1 (en) * | 2008-07-08 | 2010-01-14 | Sony Ericsson Mobile Communications Ab | Circuit for generating a negative voltage supply signal, and associated power supply device and portable electronic apparatus |
| US11250919B2 (en) | 2010-11-01 | 2022-02-15 | Kioxia Corporation | Voltage generation circuit which is capable of executing high-speed boost operation |
| US10818364B2 (en) * | 2010-11-01 | 2020-10-27 | Toshiba Memory Corporation | Voltage generation circuit which is capable of executing high-speed boost operation |
| US11742033B2 (en) | 2010-11-01 | 2023-08-29 | Kioxia Corporation | Voltage generation circuit which is capable of executing high-speed boost operation |
| US12002520B2 (en) | 2010-11-01 | 2024-06-04 | Kioxia Corporation | Voltage generation circuit which is capable of executing high-speed boost operation |
| US9800153B2 (en) * | 2014-07-31 | 2017-10-24 | Nxp B.V. | Negative voltage generator |
| US20160036329A1 (en) * | 2014-07-31 | 2016-02-04 | Nxp B.V. | Negative voltage generator |
| US9964975B1 (en) * | 2017-09-29 | 2018-05-08 | Nxp Usa, Inc. | Semiconductor devices for sensing voltages |
| US11188111B2 (en) * | 2019-05-02 | 2021-11-30 | Nordic Semiconductor Asa | Voltage monitoring system for a negative supply voltage |
| US12205663B2 (en) * | 2019-07-09 | 2025-01-21 | Arm Limited | Regulated negative charge pump circuitry and methods |
Also Published As
| Publication number | Publication date |
|---|---|
| US20050030086A1 (en) | 2005-02-10 |
| US7023262B2 (en) | 2006-04-04 |
Similar Documents
| Publication | Publication Date | Title |
|---|---|---|
| US7336121B2 (en) | Negative voltage generator for a semiconductor memory device | |
| US7023262B2 (en) | Negative voltage generator for a semiconductor memory device | |
| US6194887B1 (en) | Internal voltage generator | |
| US6597236B1 (en) | Potential detecting circuit for determining whether a detected potential has reached a prescribed level | |
| US6489796B2 (en) | Semiconductor device provided with boost circuit consuming less current | |
| JP3586502B2 (en) | Voltage generation circuit | |
| US20080212390A1 (en) | Bulk bias voltage level detector in semiconductor memory device | |
| KR20050063880A (en) | Semiconductor memory device having internal circuit responding to temperature sensing data | |
| US20080157860A1 (en) | Internal voltage generation circuit for generating stable internal voltages withstanding varying external conditions | |
| US6385117B2 (en) | Negative voltage generating circuit with high control responsiveness which can be formed using transistor with low breakdown voltage and semiconductor memory device including the same | |
| US7474143B2 (en) | Voltage generator circuit and method for controlling thereof | |
| KR100351931B1 (en) | Voltage Detecting Circuit For Semiconductor Memory Device | |
| US6559710B2 (en) | Raised voltage generation circuit | |
| KR100493599B1 (en) | Semiconductor Memory with Stabilization Circuit for Word Line Activation Voltage | |
| KR100351932B1 (en) | Voltage Detecting Circuit For Semiconductor Memory Device | |
| US20090230770A1 (en) | Internal Power Supply Circuit Having a Cascode Current Mirror Circuit | |
| US6867639B2 (en) | Half voltage generator for use in semiconductor memory device | |
| US6614270B2 (en) | Potential detecting circuit having wide operating margin and semiconductor device including the same | |
| US5955914A (en) | Voltage regulator for a voltage pump in a DRAM | |
| US7768843B2 (en) | Semiconductor memory device for generating back-BIAS voltage with variable driving force | |
| JPH0778471A (en) | Semiconductor integrated circuit | |
| KR100684472B1 (en) | Negative voltage level detector | |
| US7768842B2 (en) | Semiconductor memory device voltage generating circuit for avoiding leakage currents of parasitic diodes | |
| KR100186307B1 (en) | Internal power supply voltage compensation circuit |
Legal Events
| Date | Code | Title | Description |
|---|---|---|---|
| STCB | Information on status: application discontinuation |
Free format text: ABANDONED -- FAILURE TO RESPOND TO AN OFFICE ACTION |


