US20030195720A1 - Methods and apparatus for engine diagnostics - Google Patents

Methods and apparatus for engine diagnostics Download PDF

Info

Publication number
US20030195720A1
US20030195720A1 US10/436,792 US43679203A US2003195720A1 US 20030195720 A1 US20030195720 A1 US 20030195720A1 US 43679203 A US43679203 A US 43679203A US 2003195720 A1 US2003195720 A1 US 2003195720A1
Authority
US
United States
Prior art keywords
accordance
engine
processor
display
memory
Prior art date
Legal status (The legal status is an assumption and is not a legal conclusion. Google has not performed a legal analysis and makes no representation as to the accuracy of the status listed.)
Abandoned
Application number
US10/436,792
Inventor
Wilbur Quinnett
Scott Koerner
Lester Szukala
Phillip Bylsma
Current Assignee (The listed assignees may be inaccurate. Google has not performed a legal analysis and makes no representation or warranty as to the accuracy of the list.)
Bombardier Recreational Products Inc
Original Assignee
Outboard Marine Corp
Priority date (The priority date is an assumption and is not a legal conclusion. Google has not performed a legal analysis and makes no representation as to the accuracy of the date listed.)
Filing date
Publication date
Application filed by Outboard Marine Corp filed Critical Outboard Marine Corp
Priority to US10/436,792 priority Critical patent/US20030195720A1/en
Assigned to OUTBOARD MARINE CORPORATION reassignment OUTBOARD MARINE CORPORATION ASSIGNMENT OF ASSIGNORS INTEREST (SEE DOCUMENT FOR DETAILS). Assignors: QUINNETT, WILBUR V., BYLSMA, PHILLIP J., KOERNER, SCOTT A., SZUKALA, LESTER M.
Publication of US20030195720A1 publication Critical patent/US20030195720A1/en
Assigned to BOMBARDIER MOTOR CORPORATION OF AMERICA reassignment BOMBARDIER MOTOR CORPORATION OF AMERICA NUNC PRO TUNC ASSIGNMENT (SEE DOCUMENT FOR DETAILS). Assignors: OUTBOARD MARINE CORPORATION
Assigned to BOMBARDIER RECREATIONAL PRODUCTS INC. reassignment BOMBARDIER RECREATIONAL PRODUCTS INC. ASSIGNMENT OF ASSIGNORS INTEREST (SEE DOCUMENT FOR DETAILS). Assignors: BOMBARDIER MOTOR CORPORATION OF AMERICA
Abandoned legal-status Critical Current

Links

Images

Classifications

    • FMECHANICAL ENGINEERING; LIGHTING; HEATING; WEAPONS; BLASTING
    • F02COMBUSTION ENGINES; HOT-GAS OR COMBUSTION-PRODUCT ENGINE PLANTS
    • F02DCONTROLLING COMBUSTION ENGINES
    • F02D41/00Electrical control of supply of combustible mixture or its constituents
    • FMECHANICAL ENGINEERING; LIGHTING; HEATING; WEAPONS; BLASTING
    • F01MACHINES OR ENGINES IN GENERAL; ENGINE PLANTS IN GENERAL; STEAM ENGINES
    • F01PCOOLING OF MACHINES OR ENGINES IN GENERAL; COOLING OF INTERNAL-COMBUSTION ENGINES
    • F01P3/00Liquid cooling
    • F01P3/12Arrangements for cooling other engine or machine parts
    • FMECHANICAL ENGINEERING; LIGHTING; HEATING; WEAPONS; BLASTING
    • F02COMBUSTION ENGINES; HOT-GAS OR COMBUSTION-PRODUCT ENGINE PLANTS
    • F02DCONTROLLING COMBUSTION ENGINES
    • F02D41/00Electrical control of supply of combustible mixture or its constituents
    • F02D41/22Safety or indicating devices for abnormal conditions
    • HELECTRICITY
    • H05ELECTRIC TECHNIQUES NOT OTHERWISE PROVIDED FOR
    • H05KPRINTED CIRCUITS; CASINGS OR CONSTRUCTIONAL DETAILS OF ELECTRIC APPARATUS; MANUFACTURE OF ASSEMBLAGES OF ELECTRICAL COMPONENTS
    • H05K5/00Casings, cabinets or drawers for electric apparatus
    • H05K5/0026Casings, cabinets or drawers for electric apparatus provided with connectors and printed circuit boards [PCB], e.g. automotive electronic control units
    • FMECHANICAL ENGINEERING; LIGHTING; HEATING; WEAPONS; BLASTING
    • F01MACHINES OR ENGINES IN GENERAL; ENGINE PLANTS IN GENERAL; STEAM ENGINES
    • F01PCOOLING OF MACHINES OR ENGINES IN GENERAL; COOLING OF INTERNAL-COMBUSTION ENGINES
    • F01P2050/00Applications
    • F01P2050/30Circuit boards
    • FMECHANICAL ENGINEERING; LIGHTING; HEATING; WEAPONS; BLASTING
    • F02COMBUSTION ENGINES; HOT-GAS OR COMBUSTION-PRODUCT ENGINE PLANTS
    • F02DCONTROLLING COMBUSTION ENGINES
    • F02D2400/00Control systems adapted for specific engine types; Special features of engine control systems not otherwise provided for; Power supply, connectors or cabling for engine control systems
    • F02D2400/18Packaging of the electronic circuit in a casing
    • FMECHANICAL ENGINEERING; LIGHTING; HEATING; WEAPONS; BLASTING
    • F02COMBUSTION ENGINES; HOT-GAS OR COMBUSTION-PRODUCT ENGINE PLANTS
    • F02DCONTROLLING COMBUSTION ENGINES
    • F02D41/00Electrical control of supply of combustible mixture or its constituents
    • F02D41/24Electrical control of supply of combustible mixture or its constituents characterised by the use of digital means
    • F02D41/26Electrical control of supply of combustible mixture or its constituents characterised by the use of digital means using computer, e.g. microprocessor
    • F02D41/266Electrical control of supply of combustible mixture or its constituents characterised by the use of digital means using computer, e.g. microprocessor the computer being backed-up or assisted by another circuit, e.g. analogue

Definitions

  • This invention relates generally to engines and, more particularly, to performing engine diagnostics using a computer.
  • ECU electronice control unit
  • engine components such as the engine ignition, lubrication pumps, water circulation system (if any) and fuel injectors.
  • the ECU controls timing of the engine ignition and fuel injection in accordance with a pre-programmed control program.
  • an external computer can be coupled to a communications port of the ECU.
  • a diagnostic program implemented in computer software such as the BMCA FFI engine diagnostic software available from Bombardier Motor Corporation of America, Waukegan, Ill., is loaded in the external computer.
  • Fault codes stored in the ECU memory are read by the external computer, and the fault codes are indicative of certain messages that are then displayed to the operator.
  • an operator may input commands via a keyboard of the computer and/or touch screen, and based on the operator inputs, the external computer instructs the ECU to run diagnostic tests on the engine.
  • the present invention in one aspect, is a method for operating a computer to display text messages in any one of a plurality of selectable languages.
  • Text files for each selectable language are stored in the non-volatile memory of the computer, and based on an operator selection, text files corresponding to the selected language are copied from non-volatile memory to the computer random access memory (RAM).
  • the text files in RAM are utilized by the computer processor to generate screen displays.
  • a typical computer includes a processor, a random access memory (RAM), and a non-volatile memory such as a read only memory (ROM).
  • RAM random access memory
  • ROM read only memory
  • the RAM and the ROM are coupled to the processor.
  • Text files corresponding to various selectable languages are stored in ROM, and a default language is copied from ROM into RAM.
  • the processor after start-up of the computer and initialization of the program, generates screen displays using the text file stored in RAM.
  • the diagnostic software improves the display of air temperature, water temperature, ECU temperature, ignition duration and TPS actual values when connected to a water cooled ECU.
  • the diagnostic software allows starting of software with the engine at running speed, provides a full-service report, permits copying of engine-specific information from an original ECU into a service replacement ECU, and enables fuel injector serial numbers to be identified.
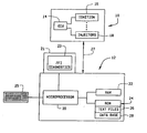
  • FIG. 1 is a block diagram of an engine and an external computer coupled to the engine.
  • FIG. 2 illustrates an initial screen display for permitting an operator to select between a diagnostic program and a service utilities program.
  • FIGS. 3 - 5 illustrate screen displays for enabling an operator to select operation of an engine diagnostic program in a desired language.
  • FIGS. 6 - 10 illustrate screen displays associated with performing an ignition coil test.
  • FIG. 11 illustrates an engine operation screen display.
  • FIGS. 12 and 13 are engine service utility screen displays.
  • FIGS. 14 and 15 illustrate ECU printouts.
  • FIGS. 16 and 17 illustrate injector information screen displays.
  • FIGS. 18 - 21 illustrate ECU service screen displays.
  • the present invention is sometimes described herein in the context of performing diagnostic tests on an outboard engine, the present invention can be utilized in connection with diagnostic tests for many different types of engines, including automobile engines.
  • the present invention is described herein in connection with an engine that includes fuel injection, the invention can be utilized in connection with engines that include any one of a wide variety of fuel injection mechanisms, electrically powered engines and in engines that include other fuel or energy supply systems.
  • the methods and apparatus for enabling operator selection of a language as described herein can be utilized in many different applications in addition to diagnostic testing.
  • the present invention is not limited to use in connection with only outboard engine diagnostic test operations.
  • FIG. 1 is a block diagram of an engine 10 and an external computer 12 coupled to engine 10 .
  • Engine 10 is, in one embodiment, an internal combustion engine including fuel injection, such as an Evinrude outboard engine commercially available from Bombardier Motor Corporation of America, Waukegan, Ill. As explained above, engine 10 may be an automobile engine, or any other type of engine which can benefit from the use of diagnostic software.
  • Engine 10 includes an electronic control unit (ECU) 14 coupled to engine components such as engine ignition 16 and fuel injectors 18 , which can be conventional or non-conventional.
  • ECU 14 controls operation of engine 10 and provides information to the operator by controlling various indicator lights in gauges.
  • ECU 14 controls operation of engine 10 by, for example, controlling firing of spark plugs via ignition 16 and controlling supply of fuel to the engine cylinders via injectors 18 .
  • Computer 12 is a diagnostic computer that is coupled by a command/data link 27 to ECU 14 for use by a diagnostic operator or repairman for servicing engine 10 .
  • Computer 12 includes a microprocessor 20 coupled to a random access memory (RAM) 22 and a read only memory (ROM) 24 .
  • Computer 12 also has a monitor 21 with a display screen 23 .
  • computer 12 is a battery-powered laptop computer, and processor 20 is a 286 MHz MSDOS processor. Of course, other operating systems such as MacOS, Linux or Windows NT could be used. Likewise, higher speed processors such as 386 MHz, 486 MHz, Pentium, PentiumII, Cyrix, AMD, Celeron or other more modern processor may be used.
  • ROM 24 includes, in one embodiment, at least 400 kilobytes of available memory. However, the required amount of memory depends upon the program in which the present invention is associated.
  • Computer 12 also includes, for example, a monochromatic or color display 23 and a keyboard 25 for entry of user commands and data. Many other types and models of computers can be used, and the present invention is not limited to practice in connection with any one particular type of computer.
  • Commands, programs and data are transmitted from microprocessor 20 to ECU 14 via link 27 .
  • Commands, programs and data are transmitted from ECU 14 to processor 20 via link 27 .
  • Programs may be sent only on start-up or may be sent periodically as various functions all are selected and activated.
  • ROM 24 includes text files 26 and database files 28 .
  • Files 26 and 28 are loaded into ROM from a CD, a high-capacity disk such as a “ZIP disk”, “JAZZ disk” or “Super Disk”, or just a standard floppy disk, e.g., a 1.44 Meg 31 ⁇ 2 inch floppy disk, depending primarily upon the size and complexity of the files 26 and 28 .
  • Text files 26 contain the text for various screen displays to be shown on the display of computer 12 .
  • the term “text files” is used, it will be understood that this term means any file containing data which can be read by computer 12 to cause the display of textual material, or screen displays, on display screen 23 .
  • Database files 28 contain the fault codes and other information to be utilized in connection with diagnostic operations.
  • the diagnostic software program Prior to operation, the diagnostic software program is loaded into computer 12 from, for example, a floppy disk.
  • An install program is run to cause the diagnostic program, including text files and data bases, to be loaded into ROM 24 .
  • sixteen text files are used for storing text associated with eight different languages such as, for example, English, Francais (French), Espanol (Spanish), Portuguese, Deutsch (German), Italiano (Italian), Swedish, and Finnish. Any multiple number of languages could be used.
  • microprocessor 20 Upon initialization of the diagnostic program now stored in computer 12 , microprocessor 20 uploads from ROM 24 and into RAM 22 text files 26 having the screen display information in English, and causes a screen display 30 (shown in FIG. 2) to be shown on the display screen 23 .
  • screen display 30 provides three options 1) (FFI DIAGONOSTICS), 2) (SERVICE UTILITIES) OR X (EXIT PROGRAM).
  • processor 20 Upon receiving an input indicating that an operator has pressed a 1 key on keyboard 25 in response to the display 30 , processor 20 causes a screen display 50 as shown in FIG. 3 to be shown on the computer display. If the operator desires at this stage to configure the computer for a non-English language, the operator may enter a setup program by pushing the F3 key on keyboard 25 . Upon receiving an input indicating that an operator has pressed the F3 key on keyboard 25 , processor 20 then causes a screen display 52 as shown in FIG. 4 to be shown on the computer display. An operator can then select 1 (SELECT LANGUAGE), 2 (CHANGE COMM PORT), or x (EXIT SETUP) on keyboard 25 . If the operator selects a 1, then processor 20 causes a language selection screen display 54 as shown in FIG. 5 to be shown on display screen 23 .
  • microprocessor 20 in response to operator commands, instructs ECU 14 to energize certain selected components to verify operation, e.g., to verify operation of ignition 16 and fuel injectors 18 .
  • verifying operation of ignition 16 for example, a command from processor 20 causes ECU 14 to fire a respective ignition circuit, and the operator can observe whether the circuit does, in fact, fire.
  • the portion of the ignition preceding the ignition coil is all in ECU 14 , so that ECU 14 may electrically determine if the ignition coil, is working properly. This allows the ECU to determine whether it is spark plugs or ignition coil that is causing any observed failure to fire.
  • microprocessor 20 instructs ECU 14 to display various operating conditions of engine 10 .
  • FIGS. 6 - 10 illustrate screen displays associated with performing an ignition coil test.
  • processor 20 After performing the program set-up operations as described above, processor 20 causes main menu screen display 56 as shown in FIG. 6 to be displayed on the computer display. If, for example, the operator desires to perform a static test, the operator presses the 2 key on keyboard 25 . Upon receipt of data indicating the user selection, processor 20 executes the routine associated with the selected test.
  • processor 20 upon receiving an input corresponding to the user selection of 2, causes a static testing menu screen display 58 as shown in FIG. 7 to be displayed. The operator can then select one of four tests by selecting 1-4, or can exit by selecting x. If the operator desires to test ignition firing, the operator selects 2. It will be understood that any number of static tests could be performed, and that the four tests shown in FIG. 7 are only exemplary.
  • processor 20 Upon receipt of the user selection of 2, processor 20 causes a warning screen display 60 as shown in FIG. 8 to be displayed. The operator can then continue by either canceling the test by selecting ⁇ ESC>, or proceeding with the test by selecting any other key of keyboard 25 .
  • processor 20 If processor 20 receives an input indicating that the operator desires to continue with testing, then processor 20 causes a message screen display 62 as shown in FIG. 9 to be displayed. The message instructs the operator to remove all spark plug leads and to connect the leads to a spark tester and to set the air gap. Once the operator has carried out the instructions, the operator continues by pressing any key of keyboard 25 .
  • processor 20 Upon receipt of an input indicating that the operator has performed the instructed tasks, processor 20 then causes an ignition selection screen display 64 as shown in FIG. 10 to be displayed. The operator can then cause any of the ignition circuits to fire by selecting 1-6, or can exit by selecting x.
  • the numbers 1-6 correspond to respective cylinders of a six cylinder engine. For example, if the operator selects 2, processor 20 communicates to ECU 14 that the ignition circuit, or coil, corresponding to cylinder #2 should fire. The operator can then observe whether a spark is generated by such ignition circuit by observing the spark tester after making the selection.
  • the diagnostic software in one embodiment also provides a screen display 66 (shown in FIG. 11) of the operation the engine 10 divided into a sensor section 68 , a switches section 70 , a voltage section 72 and the results section 74 .
  • Sensor section 68 displays air temperature, water temperature, ECU temperature, ignition duration, and TPS (throttle position sensor) actual and calculated values when connected to a water cooled ECU.
  • TPS throttle position sensor
  • section 68 displays not only the temperature in degrees Fahrenheit, but also the temperature in degrees Centigrade and the voltage output of the temperature sensor involved. This allows the diagnostic operator to determine if the sensor is working properly by checking to see if proper voltage signals are being provided by the sensors. This section 68 also allows the diagnostic operator to determine if the temperature of air, water and ECU are high or low.
  • Section 70 provides indication of various switch conditions such as overheat, oil pressure within limits, shift interrupt or activated, water found in fuel, and whether or not the engine is in S.L.O.W.
  • Section 72 provides the current voltage is for the alternator, both in the 12 volt and the 26/46 volt portions.
  • Section 74 includes engine speed, ignition timing, spark duration, fuel injection timing, fuel pulse width and barometric pressure. The presence of all these conditions in a single screen display is of particular value to the diagnostic operator or service repairman.
  • screen 74 (shown in FIG. 12) appears.
  • This screen display 74 is the service utilities menu and allows the operator to select from four subprograms 1) SERVICE REPORTS, 2) INJECTOR INFORMATION, 3) SERVICE ECU, and 4) RETURN TO PROGRAM SELECTION MENU.
  • the service report menu screen display 76 (shown in FIG. 13) will be displayed. This menu gives the operator six choices 1) VIEW CURRENT ECU REPORT, 2) SAVE CURRENT ECU REPORT, 3) PRINT CURRENT ECU REPORT, 4) VIEW SAVED REPORT, 5) PRINT SAVED REPORT, 6) RETURN TO SERVICE UTILITIES MENU. If the operator then presses key 1 of keyboard 25 , a very complete two-page ECU printout, as shown in FIG. 14 and FIG. 15, is provided.
  • injectors information screen display 82 (shown in FIG. 16) is displayed on screen 23 .
  • Screen display 82 provides the serial number of each injector for each cylinder of engine 10 . This allows the operator to verify that the proper type of injector is installed in engine 10 . If an incorrect injector, for example injector 1 , is detected, a replacement can be installed and the screen 82 will automatically indicate by a second screen display 84 (shown in FIG. 17) that such injector 1 has been replaced.
  • screen display 74 (shown in FIG. 12) as described above, and presses key 3 on keyboard 25 to call screen display 86 (shown in FIG. 19) on display screen 23 .
  • Screen display 86 is a warning screen that advises the operator of the operations that must be performed before the ECU can be replaced using the diagnostic software properly.
  • the operator now confirms that the required operations have been performed and ECU 14 is ready to be replaced. Upon such confirmation, the operator presses any key of keyboard 25 to cause microprocessor 20 to transfer all of the specific ECU information from the replaced ECU into microprocessor 20 and, upon completion of such information transfer, to call up screen display 88 (shown in FIG. 20) indicating successful transfer.
  • Screen display 88 further instructs the operator to now turn the ignition key off, replace the existing ECU with the replacement ECU, and turn the ignition key back on and then press any key the keyboard 25 .
  • microprocessor 20 Upon sensing that a key has been pressed on keyboard 25 , microprocessor 20 now transfers the stored information from microprocessor 20 relative to the existing ECU into the replacement ECU and calls up screen display 90 (shown in FIG. 21) to indicate the successful completion of the information transfer from the existing ECU into the new replacement ECU.

Landscapes

  • Engineering & Computer Science (AREA)
  • Chemical & Material Sciences (AREA)
  • Combustion & Propulsion (AREA)
  • Mechanical Engineering (AREA)
  • General Engineering & Computer Science (AREA)
  • Microelectronics & Electronic Packaging (AREA)
  • Combined Controls Of Internal Combustion Engines (AREA)

Abstract

Methods and apparatus for testing operation and diagnosing faults in an engine including an electronic control unit. A diagnostic computer is coupled to the electronic control unit and displays engine testing and diagnostic text messages in any one of a plurality of selectable languages, energize ignition circuits on demand, display menu screen displays associated with engine testing, diagnostics and service, and generate summary screen displays and reports for later use.

Description

    CROSS REFERENCE TO RELATED APPLICATIONS
  • This application is a divisional application of U.S. application Ser. No. 09/430,228, filed Oct. 29, 1999, which claims the benefit of provisional U.S. patent application No. 60/134,326 filed May 14, 1999 and U.S. provisional patent application No. 60/109,716 filed Nov. 24, 1998.[0001]
  • [0002] A portion of the disclosure of this patent document contains material that is subject to copyright protection. The copyright owner has no objection to the facsimile reproduction by anyone of the patent document or the patent disclosure, as it appears in the Patent and Trademark Office patent file or records, but otherwise reserves all copyright rights whatsoever.
  • BACKGROUND OF THE INVENTION
  • This invention relates generally to engines and, more particularly, to performing engine diagnostics using a computer. [0003]
  • Many known internal combustion engines for use with watercraft include an electronic control unit (ECU) for controlling at least some operations of the engine. In a typical implementation, an ECU is electrically connected to engine components such as the engine ignition, lubrication pumps, water circulation system (if any) and fuel injectors. The ECU controls timing of the engine ignition and fuel injection in accordance with a pre-programmed control program. [0004]
  • In order to determine whether an engine is operating properly, and to assist in diagnosing an engine failure, an external computer can be coupled to a communications port of the ECU. A diagnostic program implemented in computer software, such as the BMCA FFI engine diagnostic software available from Bombardier Motor Corporation of America, Waukegan, Ill., is loaded in the external computer. Fault codes stored in the ECU memory are read by the external computer, and the fault codes are indicative of certain messages that are then displayed to the operator. In addition, an operator may input commands via a keyboard of the computer and/or touch screen, and based on the operator inputs, the external computer instructs the ECU to run diagnostic tests on the engine. [0005]
  • Outboard engines are sold in many different countries, and the diagnostic software interface should be capable of displaying text messages in at least one of many different languages. Generating many different software versions that display text messages in different respective languages can be costly. For example, tracking and delivering diagnostic software to many different customers worldwide in accordance with the language needs of each specific customer is burdensome and error prone. [0006]
  • In addition to fault codes, other information such as engine speed, battery voltage and alternator voltage can be displayed on various separate screens. Use of these separate screens, however, can be cumbersome. [0007]
  • Current diagnostic software requires the throttle to be reduced to idle in order to run the diagnostic software package. Current diagnostic software also does not provide a service report which can be printed immediately or saved in a computer. This leaves both the customer and repairmen with less than full information. [0008]
  • Replacement of the ECU is complicated due to the need to customize the ECU to the particular engine. The need to customize the ECU makes it a time consuming repair operation and thus increases the cost to the customer of repairs involving replacement of the ECU. [0009]
  • If the diagnostic software is used on engines having fuel injectors, there has previously been no way to verify that the ECU is customized to the proper fuel injectors except for running operational tests and determining if the fuel injectors are working properly. [0010]
  • BRIEF SUMMARY OF THE INVENTION
  • The present invention, in one aspect, is a method for operating a computer to display text messages in any one of a plurality of selectable languages. Text files for each selectable language are stored in the non-volatile memory of the computer, and based on an operator selection, text files corresponding to the selected language are copied from non-volatile memory to the computer random access memory (RAM). The text files in RAM are utilized by the computer processor to generate screen displays. [0011]
  • More specifically, a typical computer includes a processor, a random access memory (RAM), and a non-volatile memory such as a read only memory (ROM). The RAM and the ROM are coupled to the processor. Text files corresponding to various selectable languages are stored in ROM, and a default language is copied from ROM into RAM. The processor, after start-up of the computer and initialization of the program, generates screen displays using the text file stored in RAM. [0012]
  • If an operator desires to have the screen displays in one of the other selectable languages, then upon receipt of the appropriate command, the text file or files corresponding to the desired language are copied from ROM into RAM, and the processor then uses newly copied text files in RAM to generate the screen displays. As a result, the screen displays are in the user selected language. [0013]
  • In addition to the language improvements, the diagnostic software, in one embodiment, improves the display of air temperature, water temperature, ECU temperature, ignition duration and TPS actual values when connected to a water cooled ECU. [0014]
  • In one embodiment, the diagnostic software allows starting of software with the engine at running speed, provides a full-service report, permits copying of engine-specific information from an original ECU into a service replacement ECU, and enables fuel injector serial numbers to be identified.[0015]
  • BRIEF DESCRIPTION OF THE DRAWINGS
  • FIG. 1 is a block diagram of an engine and an external computer coupled to the engine. [0016]
  • FIG. 2 illustrates an initial screen display for permitting an operator to select between a diagnostic program and a service utilities program. [0017]
  • FIGS. [0018] 3-5 illustrate screen displays for enabling an operator to select operation of an engine diagnostic program in a desired language.
  • FIGS. [0019] 6-10 illustrate screen displays associated with performing an ignition coil test.
  • FIG. 11 illustrates an engine operation screen display. [0020]
  • FIGS. 12 and 13 are engine service utility screen displays. [0021]
  • FIGS. 14 and 15 illustrate ECU printouts. [0022]
  • FIGS. 16 and 17 illustrate injector information screen displays. [0023]
  • FIGS. [0024] 18-21 illustrate ECU service screen displays.
  • DETAILED DESCRIPTION OF THE INVENTION
  • Although the present invention is sometimes described herein in the context of performing diagnostic tests on an outboard engine, the present invention can be utilized in connection with diagnostic tests for many different types of engines, including automobile engines. For example, and although the present invention is described herein in connection with an engine that includes fuel injection, the invention can be utilized in connection with engines that include any one of a wide variety of fuel injection mechanisms, electrically powered engines and in engines that include other fuel or energy supply systems. In addition, the methods and apparatus for enabling operator selection of a language as described herein can be utilized in many different applications in addition to diagnostic testing. The present invention is not limited to use in connection with only outboard engine diagnostic test operations. [0025]
  • FIG. 1 is a block diagram of an [0026] engine 10 and an external computer 12 coupled to engine 10. Engine 10 is, in one embodiment, an internal combustion engine including fuel injection, such as an Evinrude outboard engine commercially available from Bombardier Motor Corporation of America, Waukegan, Ill. As explained above, engine 10 may be an automobile engine, or any other type of engine which can benefit from the use of diagnostic software.
  • [0027] Engine 10 includes an electronic control unit (ECU) 14 coupled to engine components such as engine ignition 16 and fuel injectors 18, which can be conventional or non-conventional. Generally, ECU 14 controls operation of engine 10 and provides information to the operator by controlling various indicator lights in gauges. ECU 14 controls operation of engine 10 by, for example, controlling firing of spark plugs via ignition 16 and controlling supply of fuel to the engine cylinders via injectors 18.
  • [0028] Computer 12 is a diagnostic computer that is coupled by a command/data link 27 to ECU 14 for use by a diagnostic operator or repairman for servicing engine 10. Computer 12 includes a microprocessor 20 coupled to a random access memory (RAM) 22 and a read only memory (ROM) 24. Computer 12 also has a monitor 21 with a display screen 23. In one embodiment, computer 12 is a battery-powered laptop computer, and processor 20 is a 286 MHz MSDOS processor. Of course, other operating systems such as MacOS, Linux or Windows NT could be used. Likewise, higher speed processors such as 386 MHz, 486 MHz, Pentium, PentiumII, Cyrix, AMD, Celeron or other more modern processor may be used. Also, ROM 24 includes, in one embodiment, at least 400 kilobytes of available memory. However, the required amount of memory depends upon the program in which the present invention is associated. Computer 12 also includes, for example, a monochromatic or color display 23 and a keyboard 25 for entry of user commands and data. Many other types and models of computers can be used, and the present invention is not limited to practice in connection with any one particular type of computer.
  • Commands, programs and data are transmitted from [0029] microprocessor 20 to ECU 14 via link 27. Commands, programs and data are transmitted from ECU 14 to processor 20 via link 27. For some operations, only commands will be sent and for other operations only data will be sent. Programs may be sent only on start-up or may be sent periodically as various functions all are selected and activated.
  • As described hereinafter in more detail, [0030] ROM 24 includes text files 26 and database files 28. Files 26 and 28 are loaded into ROM from a CD, a high-capacity disk such as a “ZIP disk”, “JAZZ disk” or “Super Disk”, or just a standard floppy disk, e.g., a 1.44 Meg 3½ inch floppy disk, depending primarily upon the size and complexity of the files 26 and 28. Text files 26 contain the text for various screen displays to be shown on the display of computer 12. Although the term “text files” is used, it will be understood that this term means any file containing data which can be read by computer 12 to cause the display of textual material, or screen displays, on display screen 23. Database files 28 contain the fault codes and other information to be utilized in connection with diagnostic operations.
  • By having [0031] text files 26 external separate from the program, no display text internal to the program is required, and there is no need to recompile the program just for a language change. That is, if an operator wants the screens displayed in a different language from the current language (e.g., the operator wants the screen displays in French rather than English), the operator simply follows the steps described below and the program then utilizes the text files corresponding to the selected language to generate screen displays.
  • Prior to operation, the diagnostic software program is loaded into [0032] computer 12 from, for example, a floppy disk. An install program is run to cause the diagnostic program, including text files and data bases, to be loaded into ROM 24. In one specific exemplary embodiment, sixteen text files are used for storing text associated with eight different languages such as, for example, English, Francais (French), Espanol (Spanish), Portuguese, Deutsch (German), Italiano (Italian), Swedish, and Finnish. Any multiple number of languages could be used.
  • Upon initialization of the diagnostic program now stored in [0033] computer 12, microprocessor 20 uploads from ROM 24 and into RAM 22 text files 26 having the screen display information in English, and causes a screen display 30 (shown in FIG. 2) to be shown on the display screen 23. Although the default language in the embodiment described herein is English, the default language could be any one of the languages for which text files exist. Screen display 30 provides three options 1) (FFI DIAGONOSTICS), 2) (SERVICE UTILITIES) OR X (EXIT PROGRAM).
  • Upon receiving an input indicating that an operator has pressed a 1 key on [0034] keyboard 25 in response to the display 30, processor 20 causes a screen display 50 as shown in FIG. 3 to be shown on the computer display. If the operator desires at this stage to configure the computer for a non-English language, the operator may enter a setup program by pushing the F3 key on keyboard 25. Upon receiving an input indicating that an operator has pressed the F3 key on keyboard 25, processor 20 then causes a screen display 52 as shown in FIG. 4 to be shown on the computer display. An operator can then select 1 (SELECT LANGUAGE), 2 (CHANGE COMM PORT), or x (EXIT SETUP) on keyboard 25. If the operator selects a 1, then processor 20 causes a language selection screen display 54 as shown in FIG. 5 to be shown on display screen 23.
  • When [0035] screen display 54 is being displayed on-screen 23, an operator can then select 1 (ENGLISH), 2 (FRANCAIS), 3 (ESPANOL), 4 (PORTUGUESE), 5 (GERMAN), 6 (ITALIAN), 7 (SWEDISH), 8 (FINNISH) or x (EXIT) on keyboard 25. For example, if the operator selects 2, i.e., French, then microprocessor 20 uploads from ROM 24 the text file(s) corresponding to French text into RAM 22. That is, the text files from the selected language are copied over the text files currently stored in RAM 22. Processor 20 when generating screen displays then subsequently uses the most recently uploaded text files and returns the operator to screen display 50 (shown in FIG. 3). Upon pressing any key on keyboard 25 while screen 50 is displaying, computer 12 displays the main menu screen display 56 (shown in FIG. 6).
  • Generally, and in some diagnostic testing operations, [0036] microprocessor 20, in response to operator commands, instructs ECU 14 to energize certain selected components to verify operation, e.g., to verify operation of ignition 16 and fuel injectors 18. In verifying operation of ignition 16, for example, a command from processor 20 causes ECU 14 to fire a respective ignition circuit, and the operator can observe whether the circuit does, in fact, fire. In one embodiment the portion of the ignition preceding the ignition coil is all in ECU 14, so that ECU 14 may electrically determine if the ignition coil, is working properly. This allows the ECU to determine whether it is spark plugs or ignition coil that is causing any observed failure to fire. In other diagnostic testing operations, microprocessor 20 instructs ECU 14 to display various operating conditions of engine 10.
  • FIGS. [0037] 6-10 illustrate screen displays associated with performing an ignition coil test. After performing the program set-up operations as described above, processor 20 causes main menu screen display 56 as shown in FIG. 6 to be displayed on the computer display. If, for example, the operator desires to perform a static test, the operator presses the 2 key on keyboard 25. Upon receipt of data indicating the user selection, processor 20 executes the routine associated with the selected test.
  • Particularly, upon receiving an input corresponding to the user selection of 2, [0038] processor 20 causes a static testing menu screen display 58 as shown in FIG. 7 to be displayed. The operator can then select one of four tests by selecting 1-4, or can exit by selecting x. If the operator desires to test ignition firing, the operator selects 2. It will be understood that any number of static tests could be performed, and that the four tests shown in FIG. 7 are only exemplary.
  • Upon receipt of the user selection of 2, [0039] processor 20 causes a warning screen display 60 as shown in FIG. 8 to be displayed. The operator can then continue by either canceling the test by selecting <ESC>, or proceeding with the test by selecting any other key of keyboard 25.
  • If [0040] processor 20 receives an input indicating that the operator desires to continue with testing, then processor 20 causes a message screen display 62 as shown in FIG. 9 to be displayed. The message instructs the operator to remove all spark plug leads and to connect the leads to a spark tester and to set the air gap. Once the operator has carried out the instructions, the operator continues by pressing any key of keyboard 25.
  • Upon receipt of an input indicating that the operator has performed the instructed tasks, [0041] processor 20 then causes an ignition selection screen display 64 as shown in FIG. 10 to be displayed. The operator can then cause any of the ignition circuits to fire by selecting 1-6, or can exit by selecting x. The numbers 1-6 correspond to respective cylinders of a six cylinder engine. For example, if the operator selects 2, processor 20 communicates to ECU 14 that the ignition circuit, or coil, corresponding to cylinder #2 should fire. The operator can then observe whether a spark is generated by such ignition circuit by observing the spark tester after making the selection.
  • In addition to static tests, tests of the engine under operating conditions can be performed. In prior versions of diagnostic software for such applications, it was necessary to reduce the engine speed to idle before running the diagnostic software test for the engine under operating conditions. Accordingly, in those versions a screen warning was presented warning the operator to reduce the speed to title before proceeding with the remaining diagnostic tests. However, the software has now been upgraded to allow the running of the diagnostic tests at full speed, so that warnings no longer appear. [0042]
  • The diagnostic software in one embodiment also provides a screen display [0043] 66 (shown in FIG. 11) of the operation the engine 10 divided into a sensor section 68, a switches section 70, a voltage section 72 and the results section 74. Sensor section 68 displays air temperature, water temperature, ECU temperature, ignition duration, and TPS (throttle position sensor) actual and calculated values when connected to a water cooled ECU. With a water-cooled ECU, such indications are very important to determine whether or not the ECU is being properly cooled by the water coolant system. ECU malfunctions caused by coolant system malfunctions can now be identified and corrected without destroying a replacement ECU in order to determine that the ECU is not the problem. In one embodiment, section 68 displays not only the temperature in degrees Fahrenheit, but also the temperature in degrees Centigrade and the voltage output of the temperature sensor involved. This allows the diagnostic operator to determine if the sensor is working properly by checking to see if proper voltage signals are being provided by the sensors. This section 68 also allows the diagnostic operator to determine if the temperature of air, water and ECU are high or low. Section 70 provides indication of various switch conditions such as overheat, oil pressure within limits, shift interrupt or activated, water found in fuel, and whether or not the engine is in S.L.O.W. Section 72 provides the current voltage is for the alternator, both in the 12 volt and the 26/46 volt portions. Section 74 includes engine speed, ignition timing, spark duration, fuel injection timing, fuel pulse width and barometric pressure. The presence of all these conditions in a single screen display is of particular value to the diagnostic operator or service repairman.
  • If, instead of selecting key [0044] 1 in response to screen display 30 (shown in FIG. 2), the operator selects key 2 to select service utilities programs, screen 74 (shown in FIG. 12) appears. This screen display 74 is the service utilities menu and allows the operator to select from four subprograms 1) SERVICE REPORTS, 2) INJECTOR INFORMATION, 3) SERVICE ECU, and 4) RETURN TO PROGRAM SELECTION MENU.
  • If the operator presses [0045] key 1 of keyboard 25 to call up the service reports sub program, the service report menu screen display 76 (shown in FIG. 13) will be displayed. This menu gives the operator six choices 1) VIEW CURRENT ECU REPORT, 2) SAVE CURRENT ECU REPORT, 3) PRINT CURRENT ECU REPORT, 4) VIEW SAVED REPORT, 5) PRINT SAVED REPORT, 6) RETURN TO SERVICE UTILITIES MENU. If the operator then presses key 1 of keyboard 25, a very complete two-page ECU printout, as shown in FIG. 14 and FIG. 15, is provided.
  • If the operator presses [0046] key 2 of keyboard 25 in response to screen 74 (shown in FIG. 12), injectors information screen display 82 (shown in FIG. 16) is displayed on screen 23. Screen display 82 provides the serial number of each injector for each cylinder of engine 10. This allows the operator to verify that the proper type of injector is installed in engine 10. If an incorrect injector, for example injector 1, is detected, a replacement can be installed and the screen 82 will automatically indicate by a second screen display 84 (shown in FIG. 17) that such injector 1 has been replaced.
  • If the operator determines that replacement of the [0047] ECU 14 is required, the operator obtains screen display 74 (shown in FIG. 12) as described above, and presses key 3 on keyboard 25 to call screen display 86 (shown in FIG. 19) on display screen 23. Screen display 86 is a warning screen that advises the operator of the operations that must be performed before the ECU can be replaced using the diagnostic software properly. The operator now confirms that the required operations have been performed and ECU 14 is ready to be replaced. Upon such confirmation, the operator presses any key of keyboard 25 to cause microprocessor 20 to transfer all of the specific ECU information from the replaced ECU into microprocessor 20 and, upon completion of such information transfer, to call up screen display 88 (shown in FIG. 20) indicating successful transfer. Screen display 88 further instructs the operator to now turn the ignition key off, replace the existing ECU with the replacement ECU, and turn the ignition key back on and then press any key the keyboard 25. Upon sensing that a key has been pressed on keyboard 25, microprocessor 20 now transfers the stored information from microprocessor 20 relative to the existing ECU into the replacement ECU and calls up screen display 90 (shown in FIG. 21) to indicate the successful completion of the information transfer from the existing ECU into the new replacement ECU.
  • From the preceding description of various embodiments of the present invention, it is evident that the objects of the invention are attained. Although the invention has been described and illustrated in detail, it is to be clearly understood that the same is intended by way of illustration and example only and is not to be taken by way of limitation. Accordingly, the spirit and scope of the invention are to be limited only by the terms of the appended claims. [0048]

Claims (107)

What is claimed is:
1. Apparatus for diagnosing a fault in an engine including an electronic control unit, said apparatus comprising:
a processor configured to be coupled to the engine electronic control unit;
a first memory coupled to said processor, at least one text file stored in said first memory, said text file comprising text in a first language; and
a second memory coupled to said processor, at least one text file stored in said second memory, said text file comprising text in a second language different than the first language.
2. Apparatus in accordance with claim 1 wherein a plurality of text files comprising text in at least two languages are stored in said second memory.
3. Apparatus in accordance with claim 1 wherein said processor is programmed to display text messages stored in said first memory.
4. Apparatus in accordance with claim 1 wherein said processor is programmed to:
upon receipt of a first command, copy text messages in the second language from said second memory to said first memory; and
display text messages in said second language.
5. Apparatus in accordance with claim 1 wherein said first memory comprises a random access memory.
6. Apparatus in accordance with claim 1 wherein said second memory comprises a non-volatile memory.
7. Apparatus for testing operation of an ignition in an outboard engine including an electronic control unit and plurality of cylinders, said apparatus comprising:
a processor configured to be coupled to the outboard engine electronic control unit, and
programmed to energize said ignition, upon receipt of a predetermined command from an operator.
8. Apparatus in accordance with claim 7 wherein the engine includes at least two cylinders, and said processor is programmed to prompt an operator to select an ignition circuit associated with one of the cylinders.
9. Apparatus in accordance with claim 7 wherein said processor is programmed to warn an operator to not test ignition operation when the engine is running.
10. A computer programmed to display text messages, said computer comprising a processor, a first memory, and a second memory, said first and second memories coupled to said processor, said computer programmed to:
store text messages in a first language in said first memory and display text messages in a first language; and
copy text messages in a second language from said second language from said second memory to said first memory, and display text messages in said second language.
11. A computer in accordance with claim 10 wherein said first memory comprises a random access memory.
12. A computer in accordance with claim 10 wherein said second memory comprises a read only memory.
13. A computer in accordance with claim 10 wherein upon receipt of a first command, said processor copies said text messages in said second languages into said first memory.
14. A method for operating a computer to display text messages, the computer comprising a processor, a first memory, and a second memory, the first and second memories coupled to the processor, said method comprising the steps of:
storing text messages in a first language in the first memory;
displaying text messages in a first language; and
if messages are to be displayed in a second language, then:
copying the messages in the second language from the second memory to said first memory; and
displaying text messages in the second language.
15. A computer comprising:
a processor;
a first memory coupled to said processor, at least one text file stored in said first memory, said text file comprising text in a first language; and
a second memory coupled to said processor, at least one text file stored in said second memory, said text file comprising text in a second language.
16. A computer in accordance with claim 15 wherein a plurality of text files comprising text in at least two languages are stored in said second memory.
17. A computer in accordance with claim 15 wherein said processor is programmed to display text messages stored in said first memory.
18. A computer in accordance with claim 15 wherein said processor is programmed to:
upon receipt of a first command, copy text messages in the second language from said second memory to said first memory; and
display text messages in said second language.
19. A computer in accordance with claim 15 wherein said first memory comprises a random access memory.
20. A computer in accordance with claim 15 wherein said second memory comprises a read only memory.
21. Apparatus for testing operation of an ignition in an engine including an electronic control unit, said apparatus comprising a processor configured to be coupled to the engine electronic control unit and programmed to energize said ignition upon receipt of a predetermined command from an operator.
22. Apparatus in accordance with claim 21 wherein the engine includes at least two cylinders, and said processor is programmed to prompt an operator to select an ignition circuit associated with one of the cylinders.
23. Apparatus in accordance with claim 21 wherein said processor is programmed to warn an operator to not test ignition operation when the engine is running.
24. A method for testing operation of an ignition in an engine including an electronic control unit and plurality of cylinders, said method comprising the steps of:
receiving an input identifying an ignition circuit associated with one of the cylinders for testing; and
energizing the identified ignition circuit.
25. A method in accordance with claim 24 wherein the engine includes at least two cylinders, and said method comprising the step of prompting an operator to select an ignition circuit associated with one of the cylinders.
26. A method in accordance with claim 24 comprising the step of warning an operator to not test ignition operation when the engine is running.
27. Apparatus for diagnosing a fault in an outboard engine including an ECU, said apparatus comprising:
a processor configured to be coupled to the outboard engine electronic control unit;
a monitor screen coupled to said processor;
said processor adapted to cause a single display on said monitor screen, said display having a sensor section, a switch section, a voltage section and an engine results section.
28. Apparatus in accordance with claim 27 wherein the sensor section comprises an electronic control unit temperature display.
29. Apparatus in accordance with claim 27 wherein the sensor section comprises an air temperature display.
30. Apparatus in accordance with claim 27 wherein the sensor section comprises a water temperature display.
31. Apparatus in accordance with claim 27 wherein the sensor section comprises a calculated TPS display.
32. Apparatus in accordance with claim 27 wherein the sensor section comprises an actual TPS display.
33. Apparatus in accordance with claim 27 wherein the switch section includes a yes-no display of engine operation being in an automatic reduced speed mode.
34. Apparatus in accordance with claim 27 wherein the switch section includes a yes-no display of whether or not a water temperature switch or water temperature sensor is indicating the engine is overheating.
35. Apparatus in accordance with claim 27 wherein the switch section includes a yes-no display whether or not oil pressure is being sensed by an oil pressure switch.
36. Apparatus in accordance with claim 27 wherein the switch section includes a yes-no display of whether a shift interrupter switch is in an interrupted condition.
37. Apparatus in accordance with claim 27 wherein the switch section includes a yes-no display of whether or not the ECU indicates detection of water in an engine-mounted fuel canister.
38. Apparatus in accordance with claim 27 wherein the voltage section includes a display of alternator voltage output.
39. Apparatus in accordance with claim 27 wherein the results section includes a display of engine speed in RPM.
40. Apparatus in accordance with claim 27 wherein the results section includes a display of ignition timing.
41. Apparatus in accordance with claim 27 wherein the results section includes a display of spark duration.
42. Apparatus in accordance with claim 27 wherein the results section includes a display of fuel timing.
43. Apparatus in accordance with claim 27 wherein the results section includes a display of fuel pulse width.
44. Apparatus in accordance with claim 27 wherein the results section includes a display of barometric pressure.
45. Apparatus for servicing an engine including an ECU, said apparatus comprising:
a processor configured to be coupled to the engine ECU;
a monitor screen coupled to said processor;
said processor is programmed to cause a display on said monitor screen to require selection between
(a) provision of service reports,
(b) provision of an item of engine component information, and
(c) return to a prior display.
46. Apparatus in accordance with claim 45 wherein said processor is further programmed to cause, in response to a selection of provision of service reports, a display allowing selection between a saved service report and a current service report.
47. Apparatus in accordance with claim 45 wherein said processor is further programmed to cause, in response to a selection of provision of service reports, a display allowing selection between printing a saved service report, viewing a saved service report, viewing a current service report, printing a current service report and saving a current service report.
48. Apparatus in accordance with claim 45 wherein said processor is programmed to cause, in response to selection of provision of service reports from said display to provide one or more displays allowing printing of a service report that includes a print of a name of an owner of the engine.
49. Apparatus in accordance with claim 45 wherein said processor is programmed to cause, in response to selection of provision of service reports from said display to provide one or more displays allowing printing of a service report that includes a print of a model number of the engine.
50. Apparatus in accordance with claim 45 wherein said processor is programmed to cause, in response to selection of provision of service reports from said display to provide one or more displays allowing printing of a service report that includes a print of a serial number of the engine.
51. Apparatus in accordance with claim 45 wherein said processor is programmed to cause, in response to selection of provision of service reports from said display to provide one or more displays allowing printing of a service report that includes a print of an ECU program number of the engine.
52. Apparatus in accordance with claim 45 wherein said processor is programmed to cause, in response to selection of provision of service reports from said display to provide one or more displays allowing printing of a service report that includes a print of ECU version number of the engine.
53. Apparatus in accordance with claim 45 wherein said processor is programmed to cause, in response to selection of provision of service reports from said display to provide one or more displays allowing printing of a service report that includes a printed record of a plurality of switch positions of the engine.
54. Apparatus in accordance with claim 45 wherein said processor is also programmed to conduct a diagnostic test and provide a display screen showing switch positions and said plurality of switch positions in said service report includes at least one switch positions from said display screen.
55. Apparatus in accordance with claim 45 wherein said processor is also programmed to conduct a diagnostic test and provide a display screen showing switch positions and said plurality of switch positions in said service report includes all switch positions from said display screen.
56. Apparatus in accordance with claim 45 wherein said processor is programmed to cause, in response to selection of provision of service reports from said display to provide one or more displays allowing printing of a service report that includes a printed record of a plurality of sensor values.
57. Apparatus in accordance with claim 45 wherein said processor is also programmed to conduct a diagnostic test and provide a display screen showing sensor positions and said plurality of sensor positions in said service report includes at least one sensor position from said display screen.
58. Apparatus in accordance with claim 45 wherein said processor is also programmed to conduct a diagnostic test and provide a display screen showing sensor positions and said plurality of sensor positions in said service report includes all sensor positions from said display screen.
59. Apparatus in accordance with claim 45 wherein said processor is also programmed to conduct a diagnostic test and provide a display screen showing an engine speed profile and said service report includes said engine speed profile.
60. Apparatus in accordance with claim 45 wherein said processor is also programmed to conduct a diagnostic test and provide a display screen showing an engine speed and said service report includes a profile which includes said engine speed.
61. Apparatus in accordance with claim 45 wherein said processor is also programmed to conduct a diagnostic test and provide a display screen showing an engine speed and said service report includes said engine speed profile showing various engine speed ranges in RPM and the percentage of time during the test that the engine speed was in each engine speed range.
62. Apparatus in accordance with claim 45 wherein said processor is also programmed to conduct a diagnostic test and provide a display screen showing an service fault code and said service report includes said service fault code.
63. Apparatus in accordance with claim 45 wherein said processor is also programmed to conduct a diagnostic test and provide a display screen showing a plurality of service fault codes and said service report includes said all of said plurality of service fault codes.
64. Apparatus in accordance with claim 45 wherein said processor is also programmed to allow saving the service report to a memory unit operatively connected to said processor.
65. Apparatus in accordance with claim 45 wherein said processor is also programmed to conduct a diagnostic test and provide a display screen showing a plurality of service fault codes and said service report includes said all of said plurality of service fault codes.
66. Apparatus in accordance with claim 45 wherein said engine is a marine engine.
67. Apparatus in accordance with claim 66 wherein said engine is an outboard engine.
68. Apparatus in accordance with claim 45 wherein said first item of engine component information includes fuel injector serial numbers and said processor is programmed to cause a display of said injector serial numbers on said monitor in response to selection of provision of engine information.
69. Apparatus in accordance with claim 68 wherein said processor is programmed to cause storage of nominal service replacement injector settings in said ECU in response to operator entry of data indicative of replacement of an injector.
70. Apparatus in accordance with claim 45 wherein said item of engine component information includes assistance with replacement of a current ECU with a replacement ECU and said processor is programmed to extract at least one engine specific piece of information from a memory of the current ECU, to store such extracted piece of information in memory associated with said processor and to subsequently transfer such stored piece of information to a memory of a replacement ECU.
71. Apparatus in accordance with claim 45 wherein said engine assistance includes assistance with replacement of a current ECU with a replacement ECU and said processor is programmed to extract multiple engine specific pieces of information from a memory of the current ECU, to store such extracted pieces of information in memory associated with said processor and to subsequently transfer such stored pieces of information to a memory of a replacement ECU.
72. Apparatus in accordance with claim 45 wherein said engine assistance includes assistance with replacement of a current ECU with a replacement ECU and said processor is programmed to extract all engine specific information from a memory of the current ECU, to store all such extracted engine specific information in memory associated with said processor and to subsequently transfer all such stored engine specific information to a memory of a replacement ECU.
73. A method of servicing an engine including an ECU, said method comprising the steps of:
coupling a processor to the engine ECU;
coupling a monitor screen to said processor;
operating said processor so as to cause a display on said monitor screen requiring selection between
(a) provision of service reports and
(b) provision of an item of engine component information, or
(c) return to a prior display.
74. A method in accordance with claim 73 further comprising the step of:
causing, responsive to selection of provision of service reports in response to said display requiring selection, a second display allowing selection between one or more saved service reports and a current service report.
75. Apparatus in accordance with claim 46 wherein said processor is further programmed to cause a display allowing selection between printing a saved service report, viewing a saved service report, viewing a current service report, printing a current service report and saving a current service report.
76. A method in accordance with claim 73 further comprising causing, in response to selection of provision of service reports from said display, the processor to provide one or more displays on the monitor allowing printing of a service report including a print of a name of an owner of the engine.
77. A method in accordance with claim 73 further comprising causing, in response to selection of provision of service reports from said display, the processor to provide one or more displays on the monitor allowing printing of a service report including a print of a model number of the engine.
78. A method in accordance with claim 73 further comprising causing, in response to selection of provision of service reports from said display, the processor to provide one or more displays on the monitor allowing printing of a service report including a print of a serial number of the engine.
79. A method in accordance with claim 73 further comprising causing, in response to selection of provision of service reports from said display, the processor to provide one or more displays on the monitor allowing printing of a service report including a print of an ECU program number of the engine.
80. A method in accordance with claim 73 further comprising causing, in response to selection of provision of service reports from said display, the processor to provide one or more displays on the monitor allowing printing of a service report including a print of ECU version number of the engine.
81. A method in accordance with claim 73 further comprising causing, in response to selection of provision of service reports from said display, the processor to provide one or more displays on the monitor allowing printing of a service report including a printed record of a plurality of switch positions of the engine.
82. A method in accordance with claim 81 wherein said method further comprises conducting a diagnostic test producing a display screen showing a plurality of switch positions, and said plurality of switch positions in said service report includes at least one switch position from said display screen.
83. A method in accordance with claim 81 wherein said method further comprises conducting a diagnostic test producing a display screen showing switch positions and said plurality of switch positions in said service report all switch positions from said display screen.
84. A method in accordance with claim 73 wherein said method further comprises conducting a diagnostic test producing a display screen showing a plurality of sensor positions and said service report includes a plurality of sensor positions from said display screen.
85. A method in accordance with claim 73 wherein said method further comprises conducting a diagnostic test producing a display screen showing sensor positions and said service report includes at least one sensor position from said display screen.
86. A method in accordance with claim 73 wherein said method further comprises conducting a diagnostic test producing a display screen showing sensor positions and said plurality of sensor positions in said service report includes all sensor positions from said display screen.
87. A method in accordance with claim 73 wherein said method further comprises conducting a diagnostic test producing a display screen showing an engine speed profile and said service report includes said engine speed profile.
88. A method in accordance with claim 73 wherein said method further comprises conducting a diagnostic test producing a display screen showing an engine speed and said service report includes a profile which includes said engine speed.
89. A method in accordance with claim 73 wherein said method further comprises conducting a diagnostic test involving various engine speeds producing a display screen showing an engine speed and said service report includes an engine speed profile showing various engine speed ranges in RPM and the percentage of time during the test that the engine speed was in each engine speed range.
90. A method in accordance with claim 73 wherein said method further comprises conducting a diagnostic test producing a display screen showing a service fault code and said service report includes said service fault code.
91. A method in accordance with claim 73 wherein said method further comprises conducting a diagnostic test producing a display screen showing a plurality of service fault codes and said service report includes said all of said plurality of service fault codes.
92. A method in accordance with claim 73 further comprising saving the service report to a memory unit operatively connected to said processor.
93. A method in accordance with claim further comprising conducting a diagnostic test and providing a display screen showing a plurality of service fault codes and including all of said plurality of service fault codes in said service report.
94. A method in accordance with claim 73 wherein said engine is a marine engine.
95. A method in accordance with claim 93 wherein said engine is an outboard engine.
96. A method in accordance with claim 93 wherein said item of engine component information includes fuel injector serial numbers and said processor is programmed to cause a display of said injector serial numbers on said monitor in response to selection of provision of an item of engine component information.
97. A method in accordance with claim 96 wherein said processor is programmed to cause a display of said injector serial numbers on said monitor in response to selection of provision of engine information.
98. A method in accordance with claim 73 further comprising providing, in response to selection of engine assistance in response to said display, assistance with replacement of a current ECU.
99. A method in accordance with claim 98 wherein such assistance includes extracting at least one engine specific piece of information from a memory of the current ECU, storing such extracted piece of information in memory associated with said processor and subsequently transferring such stored piece of information to a memory of a replacement ECU.
100. A method in accordance with claim 98 wherein such assistance includes extracting multiple engine specific pieces of information from a memory of the current ECU, storing all extracted pieces of information in memory associated with said processor and subsequently transferring all stored pieces of information to a memory of a replacement ECU.
101. A method in accordance with claim 98 wherein such assistance includes extracting all engine specific pieces of information from a memory of the current ECU, storing all extracted pieces of information in memory associated with said processor and subsequently transferring all stored pieces of information to a memory of a replacement ECU.
102. The method of claim 73 further comprising the step of causing, responsive to selection of provision of engine component information in response to said display requiring selection, a second display method of injector serial number display.
103. The method of claim 73 further comprising the step of providing, responsive to selection of engine component information in response to said display requiring selection, assistance with replacement of a current ECU with a replacement ECU.
104. Apparatus in accordance with claim 103 wherein said assistance includes extracting multiple engine specific pieces of information from a memory of the current ECU, storing such extracted pieces of information in memory associated with said processor and subsequently transferring such stored pieces of information to a memory of a replacement ECU.
105. Apparatus in accordance with claim 103 wherein said engine assistance includes extracting all engine specific information from a memory of the current ECU, storing all such extracted engine specific information in memory associated with said processor and subsequently transferring all such stored engine specific information to a memory of a replacement ECU.
106. A method of servicing an engine including an ECU, said method comprising the steps of:
coupling a processor to the engine ECU;
coupling a monitor screen to said processor;
operating said processor so as to cause a display on said monitor screen requiring selection between
(a) provision of service report,
(b) provision of a first item of engine component information, (c) provision of a second item of engine component information, and
(d) return to a prior display
107. The method of claim 106 wherein said first item is information relating to a fuel injector and said second item of information is information relating to an ECU.
US10/436,792 1998-11-24 2003-05-13 Methods and apparatus for engine diagnostics Abandoned US20030195720A1 (en)

Priority Applications (1)

Application Number Priority Date Filing Date Title
US10/436,792 US20030195720A1 (en) 1998-11-24 2003-05-13 Methods and apparatus for engine diagnostics

Applications Claiming Priority (4)

Application Number Priority Date Filing Date Title
US10971698P 1998-11-24 1998-11-24
US13432699P 1999-05-14 1999-05-14
US09/430,228 US6615160B1 (en) 1998-11-24 1999-10-29 Methods and apparatus for engine diagnostics
US10/436,792 US20030195720A1 (en) 1998-11-24 2003-05-13 Methods and apparatus for engine diagnostics

Related Parent Applications (1)

Application Number Title Priority Date Filing Date
US09/430,228 Division US6615160B1 (en) 1998-11-24 1999-10-29 Methods and apparatus for engine diagnostics

Publications (1)

Publication Number Publication Date
US20030195720A1 true US20030195720A1 (en) 2003-10-16

Family

ID=27767809

Family Applications (3)

Application Number Title Priority Date Filing Date
US09/430,228 Expired - Lifetime US6615160B1 (en) 1998-11-24 1999-10-29 Methods and apparatus for engine diagnostics
US10/436,792 Abandoned US20030195720A1 (en) 1998-11-24 2003-05-13 Methods and apparatus for engine diagnostics
US10/436,791 Abandoned US20030182085A1 (en) 1998-11-24 2003-05-13 Methods and apparatus for engine diagnostics

Family Applications Before (1)

Application Number Title Priority Date Filing Date
US09/430,228 Expired - Lifetime US6615160B1 (en) 1998-11-24 1999-10-29 Methods and apparatus for engine diagnostics

Family Applications After (1)

Application Number Title Priority Date Filing Date
US10/436,791 Abandoned US20030182085A1 (en) 1998-11-24 2003-05-13 Methods and apparatus for engine diagnostics

Country Status (1)

Country Link
US (3) US6615160B1 (en)

Cited By (1)

* Cited by examiner, † Cited by third party
Publication number Priority date Publication date Assignee Title
US20100280813A1 (en) * 2009-04-30 2010-11-04 Gm Global Technology Operations, Inc. Portable usb power mode simulator tool

Families Citing this family (13)

* Cited by examiner, † Cited by third party
Publication number Priority date Publication date Assignee Title
US7245719B2 (en) * 2000-06-30 2007-07-17 Matsushita Electric Industrial Co., Ltd. Recording method and apparatus, optical disk, and computer-readable storage medium
JP2003098044A (en) 2001-09-25 2003-04-03 Sanshin Ind Co Ltd Inspection device of marine structure, and inspection system of marine structure
JP2003110483A (en) * 2001-09-26 2003-04-11 Sanshin Ind Co Ltd Ship controller and ship control system
US7353084B2 (en) * 2003-02-27 2008-04-01 Acutra, Inc. Generator controller
US6940284B2 (en) * 2003-09-26 2005-09-06 Snap-On Incorporated Efficient diagnosis of faulty distributorless and hybrid ignition systems
US8319735B2 (en) * 2003-10-01 2012-11-27 Snap-On Technologies, Inc. User interface for diagnostic instrument
US7092848B2 (en) * 2003-12-22 2006-08-15 Caterpillar Inc. Control system health test system and method
JP5100019B2 (en) * 2006-03-17 2012-12-19 ヤマハ発動機株式会社 Remote control device, remote control ECU and ship
US7633736B2 (en) * 2006-06-23 2009-12-15 Eaton Corporation Circuit interrupter including nonvolatile memory storing cause-of-trip information
JP2008175107A (en) * 2007-01-17 2008-07-31 Yamaha Marine Co Ltd Engine failure diagnosis device and ship
US9291523B2 (en) * 2007-08-07 2016-03-22 Deere & Company Automated diagnostics for crawler transmission hydraulic circuits
US8219279B2 (en) * 2008-07-01 2012-07-10 International Engine Intellectual Property Company, Llc Method for on-board data backup for configurable programmable parameters
US10495014B2 (en) * 2011-12-29 2019-12-03 Ge Global Sourcing Llc Systems and methods for displaying test details of an engine control test

Citations (21)

* Cited by examiner, † Cited by third party
Publication number Priority date Publication date Assignee Title
US4404639A (en) * 1980-12-02 1983-09-13 Chevron Research Company Automotive diagnostic system
US4623985A (en) * 1980-04-15 1986-11-18 Sharp Kabushiki Kaisha Language translator with circuitry for detecting and holding words not stored in dictionary ROM
US4825167A (en) * 1987-11-02 1989-04-25 General Motors Corporation Spark plug testing under dynamic load
US4974191A (en) * 1987-07-31 1990-11-27 Syntellect Software Inc. Adaptive natural language computer interface system
US5091858A (en) * 1989-01-09 1992-02-25 Digital Fuel Injection Electronic control of engine fuel delivery
US5208540A (en) * 1992-02-28 1993-05-04 Coltec Industries Inc. Ignition performance monitor and monitoring method for capacitive discharge ignition systems
US5303163A (en) * 1992-08-20 1994-04-12 Cummins Electronics Company Configurable vehicle monitoring system
US5394327A (en) * 1992-10-27 1995-02-28 General Motors Corp. Transferable electronic control unit for adaptively controlling the operation of a motor vehicle
US5491631A (en) * 1991-12-25 1996-02-13 Honda Giken Kogyo Kabushiki Kaisha Fault diagnostic system for vehicles using identification and program codes
US5594646A (en) * 1993-12-21 1997-01-14 Aisin Aw Co., Ltd. Method and apparatus for self-diagnosis for an electronic control system for vehicles
US5610574A (en) * 1995-02-17 1997-03-11 Honda Giken Kogyo Kabushiki Kaisha Data processing apparatus for vehicle
US5697339A (en) * 1996-06-17 1997-12-16 Same Deutz-Fahr S.P.A. Electronic governor device for agricultural tractor engine
US5880674A (en) * 1997-05-12 1999-03-09 Cummins Engine Company, Inc. System for processing output signals associated with multiple vehicle condition sensors
US5937825A (en) * 1997-10-09 1999-08-17 Sanshin Kogyo Kabushiki Kaisha Engine control system and method
US6052631A (en) * 1997-08-08 2000-04-18 Management Systems Data Service, Inc. ("Msds, Inc.") Method and system for facilitating vehicle inspection to detect previous damage and repairs
US6055163A (en) * 1998-08-26 2000-04-25 Northrop Grumman Corporation Communications processor remote host and multiple unit control devices and methods for micropower generation systems
US6055468A (en) * 1995-08-07 2000-04-25 Products Research, Inc. Vehicle system analyzer and tutorial unit
US6092036A (en) * 1998-06-02 2000-07-18 Davox Corporation Multi-lingual data processing system and system and method for translating text used in computer software utilizing an embedded translator
US6172428B1 (en) * 1998-12-30 2001-01-09 Westwood Corporation Digital control system and method for generator sets
US6289332B2 (en) * 1999-02-26 2001-09-11 Freightliner Corporation Integrated message display system for a vehicle
US6377879B2 (en) * 1998-10-26 2002-04-23 Sanshin Kogyo Kabushiki Kaisha System and methods for encoding, transmitting, and displaying engine operation data

Family Cites Families (11)

* Cited by examiner, † Cited by third party
Publication number Priority date Publication date Assignee Title
US3904955A (en) * 1973-12-26 1975-09-09 Lawrence Peska Ass Inc In-car spark plug checker
US4146005A (en) * 1976-08-18 1979-03-27 Phillips Petroleum Company Method of operating a spark ignition engine
US4394742A (en) * 1980-10-31 1983-07-19 Fmc Corporation Engine generated waveform analyzer
US4424489A (en) * 1981-09-15 1984-01-03 Gray Richard W Engine electrical system test device
US4570124A (en) * 1984-02-07 1986-02-11 Fuchs Richard W Ignition system test/diagnostic instrument
US4937527A (en) * 1988-07-12 1990-06-26 Snap-On Tools Corporation Lead assembly for a distributorless ignition interface
US4899579A (en) * 1988-10-03 1990-02-13 Ford Motor Company Onboard diagnostic system of vehicle ignition system
US4992187A (en) * 1989-11-15 1991-02-12 Petro Chemical Products, Inc. Composition for cleaning an internal combustion engine
US5194813A (en) * 1991-09-16 1993-03-16 Hannah Kenneth H Spark ignition analyzer
US5635841A (en) * 1995-03-31 1997-06-03 Innova Electronic Corporation Electronic ignition control module test system
JPH10252635A (en) * 1997-03-17 1998-09-22 Hitachi Ltd Engine combustion state detection device with failure diagnosis device

Patent Citations (21)

* Cited by examiner, † Cited by third party
Publication number Priority date Publication date Assignee Title
US4623985A (en) * 1980-04-15 1986-11-18 Sharp Kabushiki Kaisha Language translator with circuitry for detecting and holding words not stored in dictionary ROM
US4404639A (en) * 1980-12-02 1983-09-13 Chevron Research Company Automotive diagnostic system
US4974191A (en) * 1987-07-31 1990-11-27 Syntellect Software Inc. Adaptive natural language computer interface system
US4825167A (en) * 1987-11-02 1989-04-25 General Motors Corporation Spark plug testing under dynamic load
US5091858A (en) * 1989-01-09 1992-02-25 Digital Fuel Injection Electronic control of engine fuel delivery
US5491631A (en) * 1991-12-25 1996-02-13 Honda Giken Kogyo Kabushiki Kaisha Fault diagnostic system for vehicles using identification and program codes
US5208540A (en) * 1992-02-28 1993-05-04 Coltec Industries Inc. Ignition performance monitor and monitoring method for capacitive discharge ignition systems
US5303163A (en) * 1992-08-20 1994-04-12 Cummins Electronics Company Configurable vehicle monitoring system
US5394327A (en) * 1992-10-27 1995-02-28 General Motors Corp. Transferable electronic control unit for adaptively controlling the operation of a motor vehicle
US5594646A (en) * 1993-12-21 1997-01-14 Aisin Aw Co., Ltd. Method and apparatus for self-diagnosis for an electronic control system for vehicles
US5610574A (en) * 1995-02-17 1997-03-11 Honda Giken Kogyo Kabushiki Kaisha Data processing apparatus for vehicle
US6055468A (en) * 1995-08-07 2000-04-25 Products Research, Inc. Vehicle system analyzer and tutorial unit
US5697339A (en) * 1996-06-17 1997-12-16 Same Deutz-Fahr S.P.A. Electronic governor device for agricultural tractor engine
US5880674A (en) * 1997-05-12 1999-03-09 Cummins Engine Company, Inc. System for processing output signals associated with multiple vehicle condition sensors
US6052631A (en) * 1997-08-08 2000-04-18 Management Systems Data Service, Inc. ("Msds, Inc.") Method and system for facilitating vehicle inspection to detect previous damage and repairs
US5937825A (en) * 1997-10-09 1999-08-17 Sanshin Kogyo Kabushiki Kaisha Engine control system and method
US6092036A (en) * 1998-06-02 2000-07-18 Davox Corporation Multi-lingual data processing system and system and method for translating text used in computer software utilizing an embedded translator
US6055163A (en) * 1998-08-26 2000-04-25 Northrop Grumman Corporation Communications processor remote host and multiple unit control devices and methods for micropower generation systems
US6377879B2 (en) * 1998-10-26 2002-04-23 Sanshin Kogyo Kabushiki Kaisha System and methods for encoding, transmitting, and displaying engine operation data
US6172428B1 (en) * 1998-12-30 2001-01-09 Westwood Corporation Digital control system and method for generator sets
US6289332B2 (en) * 1999-02-26 2001-09-11 Freightliner Corporation Integrated message display system for a vehicle

Cited By (2)

* Cited by examiner, † Cited by third party
Publication number Priority date Publication date Assignee Title
US20100280813A1 (en) * 2009-04-30 2010-11-04 Gm Global Technology Operations, Inc. Portable usb power mode simulator tool
US8150671B2 (en) * 2009-04-30 2012-04-03 GM Global Technology Operations LLC Portable USB power mode simulator tool

Also Published As

Publication number Publication date
US20030182085A1 (en) 2003-09-25
US6615160B1 (en) 2003-09-02

Similar Documents

Publication Publication Date Title
US6615160B1 (en) Methods and apparatus for engine diagnostics
US6122575A (en) APU troubleshooting system
US6801849B2 (en) Engine diagnostic via PDA
US5034894A (en) Self-diagnosis system for a motor vehicle
JP4491967B2 (en) VEHICLE CONTROL DEVICE AND RECORDING MEDIUM HAVING SELF-DIAGNOSTIC FUNCTION
US5005129A (en) Diagnosis system for a motor vehicle
KR20010052007A (en) Method and apparatus for diagnosing the failure of vehicle and computer accessible recording medium storing failure diagnosing program
JP2004036420A (en) Failure diagnostic system for engine
JPH0733983B2 (en) Vehicle failure diagnosis device
JP4080115B2 (en) Engine fault diagnosis system
JPH09210866A (en) Vehicle diagnostic method and device
US6546321B1 (en) Method and apparatus for rewriting data of control unit for vehicle
US4532593A (en) Electronic control method and apparatus for internal combustion engine
GB2045973A (en) Self-testing system for a microcomputer in an internal combustion engine
US20080172152A1 (en) Engine failure diagnosis system and watercraft having the same
US6553289B2 (en) Control apparatus having object-oriented self-diagnosis program
EP1962200A1 (en) Boat engine with code identification system
JP3483691B2 (en) Vehicle diagnostic method and device
US4094191A (en) Fuel pump diagnostics for internal combustion engine
JP3098199B2 (en) Combustion equipment repair support device and failure data collection / use method
US5418719A (en) Trouble checking apparatus
JPH08137540A (en) Method and device for diagnosing fault of equipment
JP3434667B2 (en) Combustion equipment repair support system
JPH05270251A (en) Control device for heating device
WO2007038983A1 (en) Analysis of vehicle diagnostic data stream using a recorded movie of the data stream

Legal Events

Date Code Title Description
AS Assignment

Owner name: OUTBOARD MARINE CORPORATION, ILLINOIS

Free format text: ASSIGNMENT OF ASSIGNORS INTEREST;ASSIGNORS:QUINNETT, WILBUR V.;KOERNER, SCOTT A.;SZUKALA, LESTER M.;AND OTHERS;REEL/FRAME:014001/0462;SIGNING DATES FROM 20000128 TO 20000211

AS Assignment

Owner name: BOMBARDIER MOTOR CORPORATION OF AMERICA, FLORIDA

Free format text: NUNC PRO TUNC ASSIGNMENT;ASSIGNOR:OUTBOARD MARINE CORPORATION;REEL/FRAME:014199/0650

Effective date: 20031211

AS Assignment

Owner name: BOMBARDIER RECREATIONAL PRODUCTS INC., CANADA

Free format text: ASSIGNMENT OF ASSIGNORS INTEREST;ASSIGNOR:BOMBARDIER MOTOR CORPORATION OF AMERICA;REEL/FRAME:014552/0602

Effective date: 20031218

STCB Information on status: application discontinuation

Free format text: ABANDONED -- FAILURE TO RESPOND TO AN OFFICE ACTION