US20030193775A1 - Inner rack of a mobile rack in a computer - Google Patents

Inner rack of a mobile rack in a computer Download PDF

Info

Publication number
US20030193775A1
US20030193775A1 US10/147,876 US14787602A US2003193775A1 US 20030193775 A1 US20030193775 A1 US 20030193775A1 US 14787602 A US14787602 A US 14787602A US 2003193775 A1 US2003193775 A1 US 2003193775A1
Authority
US
United States
Prior art keywords
rack
signal
usb
connector
signal connector
Prior art date
Legal status (The legal status is an assumption and is not a legal conclusion. Google has not performed a legal analysis and makes no representation as to the accuracy of the status listed.)
Granted
Application number
US10/147,876
Other versions
US6639792B1 (en
Inventor
Cheng-Chun Chang
Current Assignee (The listed assignees may be inaccurate. Google has not performed a legal analysis and makes no representation or warranty as to the accuracy of the list.)
Individual
Original Assignee
Individual
Priority date (The priority date is an assumption and is not a legal conclusion. Google has not performed a legal analysis and makes no representation as to the accuracy of the date listed.)
Filing date
Publication date
Application filed by Individual filed Critical Individual
Publication of US20030193775A1 publication Critical patent/US20030193775A1/en
Application granted granted Critical
Publication of US6639792B1 publication Critical patent/US6639792B1/en
Anticipated expiration legal-status Critical
Expired - Fee Related legal-status Critical Current

Links

Images

Classifications

    • GPHYSICS
    • G06COMPUTING OR CALCULATING; COUNTING
    • G06FELECTRIC DIGITAL DATA PROCESSING
    • G06F1/00Details not covered by groups G06F3/00 - G06F13/00 and G06F21/00
    • G06F1/16Constructional details or arrangements
    • G06F1/18Packaging or power distribution
    • G06F1/183Internal mounting support structures, e.g. for printed circuit boards, internal connecting means
    • G06F1/184Mounting of motherboards
    • GPHYSICS
    • G06COMPUTING OR CALCULATING; COUNTING
    • G06FELECTRIC DIGITAL DATA PROCESSING
    • G06F1/00Details not covered by groups G06F3/00 - G06F13/00 and G06F21/00
    • G06F1/16Constructional details or arrangements
    • G06F1/18Packaging or power distribution
    • G06F1/183Internal mounting support structures, e.g. for printed circuit boards, internal connecting means
    • G06F1/187Mounting of fixed and removable disk drives

Definitions

  • the present invention relates to a an inner rack of a mobile rack in a computer, and particularly to an inner rack, which has a signal conversion circuit board to convert the USB interface signal received by the inner signal connector at the outer side thereof into the IDE interface signal via the control IC thereon with an IDE interface connector connecting with an IDE interface storage device therein for the storage device providing functions of hot-swap and plug and play.
  • the space arranged in the computer main unit is not so sufficient for mounting the periphery.
  • the hard disk drive (HHD) in an old computer is usually mounted in the case of the main unit for data read and write.
  • a so-called mobile rack such as a mobile rack for hard disk driver was developed to meet the demand of the user with great facility.
  • the storage device in the inner rack can be ZIP disk driver, Magneto-Optical disk driver (MO), LS-120 magnetic tape machine or flash memory card reader (for flash memory read/write device in a digital camera) in addition to the hard disk drive to broaden the practicality of the mobile device.
  • MO Magneto-Optical disk driver
  • LS-120 magnetic tape machine for flash memory read/write device in a digital camera
  • the crux of the present invention is to provide an inner rack of a mobile rack in a computer and the inner rack has a rack chamber disposed at a central area thereof, a signal conversion circuit board disposed at a rear side thereof with a jut out inner signal connector at an outer side thereof.
  • the inner signal connector provides a control IC for converting a USB interface signal into an IDE interface signal and a power outlet separating from an IDE interface connector at an inner side thereof.
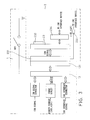
  • FIG. 1 is a perspective exploded view of a mobile rack according to the present invention
  • FIG. 2 is an assembled perspective view of the mobile rack shown in FIG. 1;
  • FIG. 3 is a schematic diagram illustrating a USB interface signal being converted to IDE interface signal in the present invention.
  • FIG. 4 is a circuit diagram on a circuit board for signal conversion in the present invention.
  • a computer mobile rack basically comprises an outer rack 1 and an inner rack 2 and the inner rack 2 can be slid into the outer rack 2 for connection or slid out for disengagement.
  • the outer rack 1 has an IDE interface and a USB interface and it has been disclosed in the U.S. patent application Ser. No. 09/983,374.
  • the outer rack 1 is mounted in a space of 5.25 inch of the main unit of the computer and a central room 11 thereof has an automatically returning gate 12 .
  • the rear side thereof has an outer circuit board 13 and a conventional 40-pin connector of standard IDE interface and a pair of conventional power input outlets (not shown).
  • the present invention is different from the prior art in that the outer circuit board 13 at the external side thereof provides a USB signal connector (not shown due to projection orientation) such that each signal can be parallel connected to an outer side signal connector 131 at the inner side of the outer circuit board 13 .
  • the outer side connector 131 has 50 pins and the 5th and the 13th pins are connected to +data and ⁇ data signals of the USB signal connector, the 4th and the 29th pins are parallel connected to the power source outlet and the USB connector respectively.
  • the 2nd, the 3rd, the 27th, the 28th pins are parallel connected to the power source outlet and the grounding lines of the USB signal connector.
  • the 1st and 26th pins are parallel connected to +12V power of the USB signal connector.
  • the rest 40 pins are connected to the standard IDE interface connector.
  • the outer circuit board connects with a switch 14 via a power line 141 on the outer rack 1 so as to control the power source being in a state of ON or OFF.
  • the outer rack 1 can be served as IDE interface and USB interface signals and can combine with the outer signal connector 131 as a signal input/output.
  • the inner rack 2 is a case corresponding the size of the central room 11 and provides a central rack chamber 21 for receiving and locating an IDE interface storage device A such as a hard disk driver, a ZIP diskette driver, MO, a magnetic tape machine or a flash memory card reader an upper lid 22 can be used for covering the rack chamber 21 .
  • the rack chamber 21 at the rear side thereof provides a signal conversion circuit board 23 and the outer side of the signal conversion circuit board 23 has a jut out inner rack signal connector 231 corresponding to the pins of the outer signal connector 131 , the grounding line and the dual power sources.
  • the 1st to the 5th pins and the 26th to 30th pins are 10 pins with contact poles and the rest 40 pins are not provided with contact poles such that the inner signal connector 231 only admits for the USB interface signal, dual power signals and the grounding line being input/output and for the signals of the dual power source and the grounding line being guided outward via a power output plug 232 .
  • the USB interface signal is changed as IDE interface signal through a control IC 233 and extends outward via an IDE interface connector 234 so as to connect with an IDE interface storage device A such as the hard disk for running the storage device A.
  • FIGS. 3 and 4 the flow chart and related circuit with regard to the USB interface signal converting into the IDE interface signal are shown in FIGS. 3 and 4.
  • the control IC 233 therein is made by, for instance, Genesys Logic Inc. and the model number thereof is GL811USB.
  • an interface concentrator with multiple openings can be used for connecting with multiple mobile racks identical with the present invention as a server in case of the storage device in the respective inner rack being a hard disk. If the storage devices are different from each other, it is possible for the storage devices to be operated and used independently such that an inconvenience resulting from a computer being limited to set up four kinds of IDE interface devices or read/write devices only can be avoided.
  • the present invention utilizes hardware to convert the USB interface signal into an IDE interface signal instead of a special software, which is currently used to simulate USB interface signal as IDE interface signal, so that the deficiency such as poor software compatibility and being unable to comply with future upgrade of operation system can be avoided effectively.

Landscapes

  • Engineering & Computer Science (AREA)
  • Theoretical Computer Science (AREA)
  • Computer Hardware Design (AREA)
  • Power Engineering (AREA)
  • Human Computer Interaction (AREA)
  • Physics & Mathematics (AREA)
  • General Engineering & Computer Science (AREA)
  • General Physics & Mathematics (AREA)
  • Power Sources (AREA)
  • Details Of Connecting Devices For Male And Female Coupling (AREA)

Abstract

An inner rack in a mobile rack of a computer has a rack chamber disposed at a central area thereof, a signal conversion circuit board disposed at a rear side thereof with a jut out inner signal connector at an outer side thereof. The inner signal connector provides a control IC for converting a USB interface signal into an IDE interface signal and a power outlet separating from an IDE interface connector at an inner side thereof. Once an IDE interface storage device is placed in and located at the rack chamber and the inner rack is inserted into an outer rack of the mobile rack, the inner signal connector engages with an outer signal connector suitable for IDE and USB interface signals to connect an USB signal of the inner signal connector to an USB signal of the outer signal connector. The IDE interface storage device can provide functions of hot swap and plug and play via a switch control of power on/off.

Description

    BACKGROUND OF THE INVENTION
  • 1. Field of the Invention [0001]
  • The present invention relates to a an inner rack of a mobile rack in a computer, and particularly to an inner rack, which has a signal conversion circuit board to convert the USB interface signal received by the inner signal connector at the outer side thereof into the IDE interface signal via the control IC thereon with an IDE interface connector connecting with an IDE interface storage device therein for the storage device providing functions of hot-swap and plug and play. [0002]
  • 2. Description of Related Art [0003]
  • Due to products related to the computer periphery being brought forth the new through the old, the space arranged in the computer main unit is not so sufficient for mounting the periphery. Besides, the hard disk drive (HHD) in an old computer is usually mounted in the case of the main unit for data read and write. Considering data reservation and backup, especially portability and security of confidential data, a so-called mobile rack such as a mobile rack for hard disk driver was developed to meet the demand of the user with great facility. In fact, the storage device in the inner rack can be ZIP disk driver, Magneto-Optical disk driver (MO), LS-120 magnetic tape machine or flash memory card reader (for flash memory read/write device in a digital camera) in addition to the hard disk drive to broaden the practicality of the mobile device. [0004]
  • It is known by persons being skill in art that it is not possible to perform functions of hot-swap and plug and play so that the power of the computer has to be shut down before the IDE storage device such as the hard disk in the computer being able to be replaced. Then, the computer can then be reset again to spend a lot of time. Nevertheless, there is no such trouble with USB interface and, it only needs USB interface periphery such as the flash memory card reader itself being controlled to be power on/off and the computer can read if the storage device exists and can determine the storage device has functions of hot-swap and plug and play. Hence, the different devices can be replaced without interfering the running computer. Therefore, it is a bottleneck has to be overcome by the manufactures that how to allow IDE interface storage device being possible to have functions of hot-swap and plug and play. [0005]
  • SUMMARY OF THE INVENTION
  • The crux of the present invention is to provide an inner rack of a mobile rack in a computer and the inner rack has a rack chamber disposed at a central area thereof, a signal conversion circuit board disposed at a rear side thereof with a jut out inner signal connector at an outer side thereof. The inner signal connector provides a control IC for converting a USB interface signal into an IDE interface signal and a power outlet separating from an IDE interface connector at an inner side thereof. Once an IDE interface storage device is placed in and located at the rack chamber and the inner rack is inserted into an outer rack of the mobile rack, the inner signal connector engages with an outer signal connector suitable for IDE and USB interface signals to connect with an USB signal of the inner signal connector to an USB signal of the outer signal connector. The IDE interface storage device can provide functions of hot swap and plug and play via a switch control of power on/off.[0006]
  • BRIEF DESCRIPTION OF THE DRAWINGS
  • The present invention can be more fully understood by reference to the following description and accompanying drawings, in which: [0007]
  • FIG. 1 is a perspective exploded view of a mobile rack according to the present invention; [0008]
  • FIG. 2 is an assembled perspective view of the mobile rack shown in FIG. 1; [0009]
  • FIG. 3 is a schematic diagram illustrating a USB interface signal being converted to IDE interface signal in the present invention; and [0010]
  • FIG. 4 is a circuit diagram on a circuit board for signal conversion in the present invention.[0011]
  • DETAILED DESCRIPTION OF THE PREFERRED EMBODIMENTS
  • Referring to FIGS. 1 and 2, a computer mobile rack basically comprises an [0012] outer rack 1 and an inner rack 2 and the inner rack 2 can be slid into the outer rack 2 for connection or slid out for disengagement.
  • Wherein, the [0013] outer rack 1 has an IDE interface and a USB interface and it has been disclosed in the U.S. patent application Ser. No. 09/983,374. The outer rack 1 is mounted in a space of 5.25 inch of the main unit of the computer and a central room 11 thereof has an automatically returning gate 12. The rear side thereof has an outer circuit board 13 and a conventional 40-pin connector of standard IDE interface and a pair of conventional power input outlets (not shown).
  • The present invention is different from the prior art in that the [0014] outer circuit board 13 at the external side thereof provides a USB signal connector (not shown due to projection orientation) such that each signal can be parallel connected to an outer side signal connector 131 at the inner side of the outer circuit board 13. The outer side connector 131 has 50 pins and the 5th and the 13th pins are connected to +data and −data signals of the USB signal connector, the 4th and the 29th pins are parallel connected to the power source outlet and the USB connector respectively. The 2nd, the 3rd, the 27th, the 28th pins are parallel connected to the power source outlet and the grounding lines of the USB signal connector. The 1st and 26th pins are parallel connected to +12V power of the USB signal connector. The rest 40 pins are connected to the standard IDE interface connector. Besides, the outer circuit board connects with a switch 14 via a power line 141 on the outer rack 1 so as to control the power source being in a state of ON or OFF.
  • As the foregoing, it verifies that the [0015] outer rack 1 can be served as IDE interface and USB interface signals and can combine with the outer signal connector 131 as a signal input/output.
  • The [0016] inner rack 2 is a case corresponding the size of the central room 11 and provides a central rack chamber 21 for receiving and locating an IDE interface storage device A such as a hard disk driver, a ZIP diskette driver, MO, a magnetic tape machine or a flash memory card reader an upper lid 22 can be used for covering the rack chamber 21. The rack chamber 21 at the rear side thereof provides a signal conversion circuit board 23 and the outer side of the signal conversion circuit board 23 has a jut out inner rack signal connector 231 corresponding to the pins of the outer signal connector 131, the grounding line and the dual power sources. For instance, the 1st to the 5th pins and the 26th to 30th pins are 10 pins with contact poles and the rest 40 pins are not provided with contact poles such that the inner signal connector 231 only admits for the USB interface signal, dual power signals and the grounding line being input/output and for the signals of the dual power source and the grounding line being guided outward via a power output plug 232. The USB interface signal is changed as IDE interface signal through a control IC 233 and extends outward via an IDE interface connector 234 so as to connect with an IDE interface storage device A such as the hard disk for running the storage device A.
  • Wherein, the flow chart and related circuit with regard to the USB interface signal converting into the IDE interface signal are shown in FIGS. 3 and 4. The [0017] control IC 233 therein is made by, for instance, Genesys Logic Inc. and the model number thereof is GL811USB.
  • Referring to FIGS. [0018] 1 to 2 again, in case of the inner rack being taken out and replaced, the switch 14 is stirred to be power off and the inner rack 2 can be slid outward from the front side of the outer rack 1 to form a hot disengagement. Then, a new inner rack 2 is inserted into the outer rack 1 and the inner signal connector 231 can be engaged to the outer signal connector 131 before the switch 14 being stirred to be power on. In the meantime, the computer can learned that a new storage device has been connected and it forms a state of plug and play. Hence, it is appreciated that the inner rack containing an IDE interface storage device can provide a function of USB interface with hot swap and plug and play though the power of the computer is kept ON.
  • Besides, an interface concentrator with multiple openings can be used for connecting with multiple mobile racks identical with the present invention as a server in case of the storage device in the respective inner rack being a hard disk. If the storage devices are different from each other, it is possible for the storage devices to be operated and used independently such that an inconvenience resulting from a computer being limited to set up four kinds of IDE interface devices or read/write devices only can be avoided. Moreover, the present invention utilizes hardware to convert the USB interface signal into an IDE interface signal instead of a special software, which is currently used to simulate USB interface signal as IDE interface signal, so that the deficiency such as poor software compatibility and being unable to comply with future upgrade of operation system can be avoided effectively. [0019]
  • While the invention has been described with reference to the a preferred embodiment thereof, it is to be understood that modifications or variations may be easily made without departing from the spirit of this invention, which is defined by the appended claims. [0020]

Claims (5)

What is claimed is:
1. An inner rack of a mobile rack in a computer, comprising:
a rack chamber disposed at a central area thereof;
a signal conversion circuit board disposed at a rear side thereof, having a jut out inner signal connector at an outer side thereof, providing a control IC for converting a USB interface signal into an IDE interface signal, and having a power outlet separating from an IDE interface connector at an inner side thereof;
whereby, once an IDE interface storage device is placed in and located at the rack chamber and the inner rack is inserted into an outer rack of the mobile rack, the inner signal connector engages with an outer signal connector suitable for IDE and USB interface signals to connect an USB signal of the inner signal connector to an USB signal of the outer signal connector; and the IDE interface storage device can provide functions of hot swap and plug and play via a switch control of power on/off.
2. The inner rack of a mobile rack in a computer as defined in claim 1, wherein the inner rack at a top thereof has a lid for closing the rack chamber.
3. The inner rack of a mobile rack in a computer as defined in claim 1, wherein the inner signal connector has contact poles at the USB signal, dual power signals and grounding signals.
4. The inner rack of a mobile rack in a computer as defined in claim 1, wherein the inner signal connector is a 50-pin connector with the 5th and the 13th pins thereof being connected to +data and −data signals of the USB signals, the 4th and the 29th pins thereof being parallel connected to the power outlet and the USB connector respectively, the 2nd, the 3rd, the 27th and the 28th pins thereof being parallel connected to the power outlet and grounding lines of the USB signal connector and the 1st and 26th pins being parallel connected to +12V power of the USB signal connector.
5. The inner rack of a mobile rack in a computer as defined in claim 1, wherein the IDE interface storage device is a hard disk drive, a ZIP diskette, a MO, a magnetic tape reader or a flash card memory card reader.
US10/147,876 2002-04-11 2002-05-20 Inner rack of a mobile rack in a computer Expired - Fee Related US6639792B1 (en)

Applications Claiming Priority (3)

Application Number Priority Date Filing Date Title
TW91204727U 2002-04-11
TW091204727 2002-04-11
TW091204727U TW558038U (en) 2002-04-11 2002-04-11 Improved internal cassette body of computer withdrawal device

Publications (2)

Publication Number Publication Date
US20030193775A1 true US20030193775A1 (en) 2003-10-16
US6639792B1 US6639792B1 (en) 2003-10-28

Family

ID=28788985

Family Applications (1)

Application Number Title Priority Date Filing Date
US10/147,876 Expired - Fee Related US6639792B1 (en) 2002-04-11 2002-05-20 Inner rack of a mobile rack in a computer

Country Status (3)

Country Link
US (1) US6639792B1 (en)
JP (1) JP3090066U (en)
TW (1) TW558038U (en)

Cited By (4)

* Cited by examiner, † Cited by third party
Publication number Priority date Publication date Assignee Title
US20030133388A1 (en) * 2002-01-16 2003-07-17 Acer Inc. Computer with an accessible storage medium drive assembly
EP1775658A1 (en) * 2005-10-06 2007-04-18 Saynet Solutions GmbH Data backup apparatus
US20130279129A1 (en) * 2012-04-23 2013-10-24 Wistron Corporation Storage device assembling module and electronic apparatus using the same
US20170220080A1 (en) * 2016-01-28 2017-08-03 Hewlett Packard Enterprise Development Lp Securing an expansion card in a computing device

Families Citing this family (21)

* Cited by examiner, † Cited by third party
Publication number Priority date Publication date Assignee Title
US7096300B2 (en) * 2001-08-31 2006-08-22 American Megatrends, Inc. Method and apparatus for suspending communication with a hard disk drive in order to transfer data relating to the hard disk drive
US7007109B2 (en) 2001-08-31 2006-02-28 American Megatrends, Inc. Method and apparatus for suspending communication with a hard disk drive in order to transfer data relating to the hard disk drive
US7159063B2 (en) * 2001-08-31 2007-01-02 American Megatrends, Inc. Method and apparatus for hot-swapping a hard disk drive
US7487283B2 (en) * 2002-08-16 2009-02-03 American Megatrends, Inc. Apparatus for bridging two or more data communications interfaces
KR100872242B1 (en) * 2002-08-29 2008-12-05 엘지전자 주식회사 Portable hybrid computer
TW578972U (en) * 2003-06-16 2004-03-01 Cheng-Chun Chang Computer removing apparatus having power controlled SATA interface
US20050041387A1 (en) * 2003-08-19 2005-02-24 Tzen-Chin Lee Enclosure having a light source
KR200360109Y1 (en) * 2004-05-18 2004-08-26 강길종 Data communication cable for USB to UART communication
US20060002075A1 (en) * 2004-06-30 2006-01-05 Chen Wei-Chieh Integrated removable rack compartment for electrical apparatus
US7242554B1 (en) * 2006-07-25 2007-07-10 Chern Shi Tech Co., Ltd. Hard disk drive fixing structure
US20080195814A1 (en) * 2007-02-08 2008-08-14 Heisei Electronics Co., Ltd. Multi-functional storage device
CN102057341A (en) * 2008-06-04 2011-05-11 惠普开发有限公司 Storage device carrier having a pivoting panel
CN102036519B (en) * 2009-09-29 2014-10-15 鸿富锦精密工业(深圳)有限公司 Electronic device
CN102087871A (en) * 2009-12-03 2011-06-08 鸿富锦精密工业(深圳)有限公司 Hard disk fixing device
CN102201252B (en) * 2010-03-26 2014-04-30 鸿富锦精密工业(深圳)有限公司 Connection structure of storage device
CN102201251B (en) * 2010-03-26 2015-03-25 鸿富锦精密工业(深圳)有限公司 Storage device connection structure and composite connector thereof
TW201227236A (en) * 2010-12-23 2012-07-01 Delta Electronics Inc Data processing equipment and power matching mechanism with methods using same
TWI409020B (en) * 2010-12-23 2013-09-11 Delta Electronics Inc Data processing equipment and power matching mechanism with methods using same
TWM419141U (en) * 2011-08-11 2011-12-21 Quanta Comp Inc Server system
KR20140106051A (en) * 2013-02-25 2014-09-03 도시바삼성스토리지테크놀러지코리아 주식회사 Cooling apparatus with optical disk drive module
US11197388B2 (en) * 2019-07-29 2021-12-07 Quanta Computer Inc. Automatic opening and closing protection device

Family Cites Families (5)

* Cited by examiner, † Cited by third party
Publication number Priority date Publication date Assignee Title
US5694290A (en) * 1996-11-21 1997-12-02 Chang; Cheng-Chun Replaceable hard disk drive box structure
GB2328547A (en) * 1997-08-19 1999-02-24 Chang Cheng Chun Diskdrive sliding case system
US6272011B1 (en) * 1999-12-07 2001-08-07 Star Chen Hard diskdrive mobile rack
TW592349U (en) * 2001-09-04 2004-06-11 Cheng-Chun Chang Removable box with IDE interface and USB interface for computer
TW484738U (en) * 2000-10-27 2002-04-21 Cheng-Chun Chang Master/slave control structure of the storage device of computer withdrawing box

Cited By (7)

* Cited by examiner, † Cited by third party
Publication number Priority date Publication date Assignee Title
US20030133388A1 (en) * 2002-01-16 2003-07-17 Acer Inc. Computer with an accessible storage medium drive assembly
US6798651B2 (en) * 2002-01-16 2004-09-28 Wistron Corp. Computer with an accessible storage medium drive assembly
EP1775658A1 (en) * 2005-10-06 2007-04-18 Saynet Solutions GmbH Data backup apparatus
US20130279129A1 (en) * 2012-04-23 2013-10-24 Wistron Corporation Storage device assembling module and electronic apparatus using the same
US9207709B2 (en) * 2012-04-23 2015-12-08 Wistron Corporation Storage device assembling module and electronic apparatus using the same
US20170220080A1 (en) * 2016-01-28 2017-08-03 Hewlett Packard Enterprise Development Lp Securing an expansion card in a computing device
US10481648B2 (en) * 2016-01-28 2019-11-19 Hewlett Packard Enterprise Development Lp Securing an expansion card in a computing device

Also Published As

Publication number Publication date
US6639792B1 (en) 2003-10-28
JP3090066U (en) 2002-11-22
TW558038U (en) 2003-10-11

Similar Documents

Publication Publication Date Title
US6639792B1 (en) Inner rack of a mobile rack in a computer
US6456491B1 (en) Modular floppy disk drive for internal and external use
US9010623B2 (en) Portable computing system and portable computer for use with same
JP3090673U (en) Double interface CF card
US6563714B2 (en) Mobile rack with IDE and USB interfaces
US6976111B1 (en) High-density removable expansion module having I/O and second-level removable expansion memory
JP2005519358A (en) Portable data conversion and processing device with standard data interface
WO2001058133A2 (en) Multi-functional home entertainment system utilizing device bay technology
US20030201322A1 (en) Adapter of compact flash memory card for various types of flash memory card
CN101609353A (en) A kind of personal computer with multiple use pattern
US6776348B2 (en) Combined flash memory card driver
JP2003331249A (en) Multi-functional flash memory card structure
US6067234A (en) Adaptor connection apparatus for a data processing system
GB2400203A (en) Micro card and passive adapter for micro card
US20040054827A1 (en) Large volume storage device with a memory card adapting interface
US20110271312A1 (en) Portable computing system and portable computer for use with same
US7123470B2 (en) Horizontal computer mounting arrangement
US20040252967A1 (en) Mutlimedia play interface control device
JP2002543647A (en) Freely configurable remote control
US7466963B2 (en) Paper rack with functions of accessing and playing multimedia files
EP1383037A2 (en) Double interface box for a computer
CN1549545B (en) A multimedia device realizing network connection and large-capacity storage
US20020167470A1 (en) Mouse with data-transmission function
US20060232922A1 (en) Portable digital storage device
US20090282180A1 (en) Plug-and-play hard disk read/write drive

Legal Events

Date Code Title Description
REMI Maintenance fee reminder mailed
LAPS Lapse for failure to pay maintenance fees
LAPS Lapse for failure to pay maintenance fees

Free format text: PATENT EXPIRED FOR FAILURE TO PAY MAINTENANCE FEES (ORIGINAL EVENT CODE: EXP.); ENTITY STATUS OF PATENT OWNER: SMALL ENTITY

STCH Information on status: patent discontinuation

Free format text: PATENT EXPIRED DUE TO NONPAYMENT OF MAINTENANCE FEES UNDER 37 CFR 1.362

FP Lapsed due to failure to pay maintenance fee

Effective date: 20071028