US11929426B2 - Semiconductor device and method for manufacturing the semiconductor device - Google Patents

Semiconductor device and method for manufacturing the semiconductor device Download PDF

Info

Publication number
US11929426B2
US11929426B2 US17/270,492 US201917270492A US11929426B2 US 11929426 B2 US11929426 B2 US 11929426B2 US 201917270492 A US201917270492 A US 201917270492A US 11929426 B2 US11929426 B2 US 11929426B2
Authority
US
United States
Prior art keywords
oxide
insulator
conductor
transistor
oxygen
Prior art date
Legal status (The legal status is an assumption and is not a legal conclusion. Google has not performed a legal analysis and makes no representation as to the accuracy of the status listed.)
Active, expires
Application number
US17/270,492
Other versions
US20210320192A1 (en
Inventor
Shunpei Yamazaki
Naoki OKUNO
Hiroki KOMAGATA
Current Assignee (The listed assignees may be inaccurate. Google has not performed a legal analysis and makes no representation or warranty as to the accuracy of the list.)
Semiconductor Energy Laboratory Co Ltd
Original Assignee
Semiconductor Energy Laboratory Co Ltd
Priority date (The priority date is an assumption and is not a legal conclusion. Google has not performed a legal analysis and makes no representation as to the accuracy of the date listed.)
Filing date
Publication date
Application filed by Semiconductor Energy Laboratory Co Ltd filed Critical Semiconductor Energy Laboratory Co Ltd
Assigned to SEMICONDUCTOR ENERGY LABORATORY CO., LTD. reassignment SEMICONDUCTOR ENERGY LABORATORY CO., LTD. ASSIGNMENT OF ASSIGNORS INTEREST (SEE DOCUMENT FOR DETAILS). Assignors: KOMAGATA, Hiroki, OKUNO, NAOKI, YAMAZAKI, SHUNPEI
Publication of US20210320192A1 publication Critical patent/US20210320192A1/en
Application granted granted Critical
Publication of US11929426B2 publication Critical patent/US11929426B2/en
Active legal-status Critical Current
Adjusted expiration legal-status Critical

Links

Images

Classifications

    • H01L29/66969
    • HELECTRICITY
    • H10SEMICONDUCTOR DEVICES; ELECTRIC SOLID-STATE DEVICES NOT OTHERWISE PROVIDED FOR
    • H10DINORGANIC ELECTRIC SEMICONDUCTOR DEVICES
    • H10D99/00Subject matter not provided for in other groups of this subclass
    • HELECTRICITY
    • H01ELECTRIC ELEMENTS
    • H01LSEMICONDUCTOR DEVICES NOT COVERED BY CLASS H10
    • H01L21/00Processes or apparatus adapted for the manufacture or treatment of semiconductor or solid state devices or of parts thereof
    • H01L21/02Manufacture or treatment of semiconductor devices or of parts thereof
    • H01L21/04Manufacture or treatment of semiconductor devices or of parts thereof the devices having potential barriers, e.g. a PN junction, depletion layer or carrier concentration layer
    • H01L21/34Manufacture or treatment of semiconductor devices or of parts thereof the devices having potential barriers, e.g. a PN junction, depletion layer or carrier concentration layer the devices having semiconductor bodies not provided for in groups H01L21/18, H10D48/04 and H10D48/07, with or without impurities, e.g. doping materials
    • H01L21/38Diffusion of impurity materials, e.g. doping materials, electrode materials, into or out of a semiconductor body, or between semiconductor regions
    • H01L21/383Diffusion of impurity materials, e.g. doping materials, electrode materials, into or out of a semiconductor body, or between semiconductor regions using diffusion into or out of a solid from or into a gaseous phase
    • HELECTRICITY
    • H01ELECTRIC ELEMENTS
    • H01LSEMICONDUCTOR DEVICES NOT COVERED BY CLASS H10
    • H01L21/00Processes or apparatus adapted for the manufacture or treatment of semiconductor or solid state devices or of parts thereof
    • H01L21/02Manufacture or treatment of semiconductor devices or of parts thereof
    • H01L21/04Manufacture or treatment of semiconductor devices or of parts thereof the devices having potential barriers, e.g. a PN junction, depletion layer or carrier concentration layer
    • H01L21/34Manufacture or treatment of semiconductor devices or of parts thereof the devices having potential barriers, e.g. a PN junction, depletion layer or carrier concentration layer the devices having semiconductor bodies not provided for in groups H01L21/18, H10D48/04 and H10D48/07, with or without impurities, e.g. doping materials
    • H01L21/44Manufacture of electrodes on semiconductor bodies using processes or apparatus not provided for in groups H01L21/38 - H01L21/428
    • H01L21/441Deposition of conductive or insulating materials for electrodes
    • H01L21/443Deposition of conductive or insulating materials for electrodes from a gas or vapour, e.g. condensation
    • H01L29/401
    • HELECTRICITY
    • H10SEMICONDUCTOR DEVICES; ELECTRIC SOLID-STATE DEVICES NOT OTHERWISE PROVIDED FOR
    • H10BELECTRONIC MEMORY DEVICES
    • H10B12/00Dynamic random access memory [DRAM] devices
    • HELECTRICITY
    • H10SEMICONDUCTOR DEVICES; ELECTRIC SOLID-STATE DEVICES NOT OTHERWISE PROVIDED FOR
    • H10BELECTRONIC MEMORY DEVICES
    • H10B41/00Electrically erasable-and-programmable ROM [EEPROM] devices comprising floating gates
    • H10B41/70Electrically erasable-and-programmable ROM [EEPROM] devices comprising floating gates the floating gate being an electrode shared by two or more components
    • HELECTRICITY
    • H10SEMICONDUCTOR DEVICES; ELECTRIC SOLID-STATE DEVICES NOT OTHERWISE PROVIDED FOR
    • H10DINORGANIC ELECTRIC SEMICONDUCTOR DEVICES
    • H10D30/00Field-effect transistors [FET]
    • H10D30/60Insulated-gate field-effect transistors [IGFET]
    • H10D30/67Thin-film transistors [TFT]
    • H10D30/6729Thin-film transistors [TFT] characterised by the electrodes
    • H10D30/673Thin-film transistors [TFT] characterised by the electrodes characterised by the shapes, relative sizes or dispositions of the gate electrodes
    • H10D30/6733Multi-gate TFTs
    • H10D30/6734Multi-gate TFTs having gate electrodes arranged on both top and bottom sides of the channel, e.g. dual-gate TFTs
    • HELECTRICITY
    • H10SEMICONDUCTOR DEVICES; ELECTRIC SOLID-STATE DEVICES NOT OTHERWISE PROVIDED FOR
    • H10DINORGANIC ELECTRIC SEMICONDUCTOR DEVICES
    • H10D30/00Field-effect transistors [FET]
    • H10D30/60Insulated-gate field-effect transistors [IGFET]
    • H10D30/67Thin-film transistors [TFT]
    • H10D30/6757Thin-film transistors [TFT] characterised by the structure of the channel, e.g. transverse or longitudinal shape or doping profile
    • HELECTRICITY
    • H10SEMICONDUCTOR DEVICES; ELECTRIC SOLID-STATE DEVICES NOT OTHERWISE PROVIDED FOR
    • H10DINORGANIC ELECTRIC SEMICONDUCTOR DEVICES
    • H10D30/00Field-effect transistors [FET]
    • H10D30/60Insulated-gate field-effect transistors [IGFET]
    • H10D30/68Floating-gate IGFETs
    • HELECTRICITY
    • H10SEMICONDUCTOR DEVICES; ELECTRIC SOLID-STATE DEVICES NOT OTHERWISE PROVIDED FOR
    • H10DINORGANIC ELECTRIC SEMICONDUCTOR DEVICES
    • H10D30/00Field-effect transistors [FET]
    • H10D30/60Insulated-gate field-effect transistors [IGFET]
    • H10D30/69IGFETs having charge trapping gate insulators, e.g. MNOS transistors
    • HELECTRICITY
    • H10SEMICONDUCTOR DEVICES; ELECTRIC SOLID-STATE DEVICES NOT OTHERWISE PROVIDED FOR
    • H10DINORGANIC ELECTRIC SEMICONDUCTOR DEVICES
    • H10D64/00Electrodes of devices having potential barriers
    • H10D64/01Manufacture or treatment
    • H10D64/011
    • H10P32/12
    • H10P32/17
    • H01L27/1207
    • H01L29/78648
    • H01L29/7869
    • HELECTRICITY
    • H10SEMICONDUCTOR DEVICES; ELECTRIC SOLID-STATE DEVICES NOT OTHERWISE PROVIDED FOR
    • H10DINORGANIC ELECTRIC SEMICONDUCTOR DEVICES
    • H10D30/00Field-effect transistors [FET]
    • H10D30/60Insulated-gate field-effect transistors [IGFET]
    • H10D30/67Thin-film transistors [TFT]
    • H10D30/674Thin-film transistors [TFT] characterised by the active materials
    • H10D30/6755Oxide semiconductors, e.g. zinc oxide, copper aluminium oxide or cadmium stannate
    • HELECTRICITY
    • H10SEMICONDUCTOR DEVICES; ELECTRIC SOLID-STATE DEVICES NOT OTHERWISE PROVIDED FOR
    • H10DINORGANIC ELECTRIC SEMICONDUCTOR DEVICES
    • H10D87/00Integrated devices comprising both bulk components and either SOI or SOS components on the same substrate

Definitions

  • One embodiment of the present invention relates to a semiconductor device and a method for manufacturing the semiconductor device. Another embodiment of the present invention relates to a semiconductor wafer, a module, and an electronic device.
  • a semiconductor device generally means a device that can function by utilizing semiconductor characteristics.
  • a semiconductor element such as a transistor, a semiconductor circuit, an arithmetic device, and a memory device are each one embodiment of a semiconductor device.
  • a display device a liquid crystal display device, a light-emitting display device, and the like
  • a projection device a lighting device, an electro-optical device, a power storage device, a memory device, a semiconductor circuit, an imaging device, an electronic device, and the like
  • a semiconductor device include a semiconductor device.
  • one embodiment of the present invention is not limited to the above technical field.
  • One embodiment of the invention disclosed in this specification and the like relates to an object, a method, or a manufacturing method.
  • Another embodiment of the present invention relates to a process, a machine, manufacture, or a composition of matter.
  • a technique by which a transistor is formed using a semiconductor thin film formed over a substrate having an insulating surface has been attracting attention.
  • the transistor is applied to a wide range of electronic devices such as an integrated circuit (IC) or an image display device (also simply referred to as a display device).
  • IC integrated circuit
  • image display device also simply referred to as a display device.
  • a silicon-based semiconductor material is widely known as a semiconductor thin film applicable to the transistor; in addition, an oxide semiconductor has been attracting attention as another material.
  • Non-Patent Document 1 and Non-Patent Document 2 disclose a technique for manufacturing a transistor using an oxide semiconductor having a CAAC structure.
  • An object of one embodiment of the present invention is to provide a semiconductor device with high reliability. Another object of one embodiment of the present invention is to provide a semiconductor device having favorable electrical characteristics. Another object of one embodiment of the present invention is to provide a semiconductor device with a high on-state current. Another object of one embodiment of the present invention is to provide a semiconductor device that can be miniaturized or highly integrated. Another object of one embodiment of the present invention is to provide a semiconductor device with low power consumption.
  • a first oxide semiconductor film is deposited; a first conductive film is deposited over the first oxide semiconductor film; part of the first oxide semiconductor film and part of the first conductive film are removed, so that a stacked-layer structure of a first oxide semiconductor and a first conductor is formed; after a first insulating film is deposited over the first oxide semiconductor and the first conductor, a first insulator is formed by planarizing the first insulating film; by removing part of the first insulator and part of the first conductor, a second conductor and a third conductor are formed and an opening exposing part of the first oxide semiconductor is formed; a second oxide semiconductor film is deposited in contact with an exposed region of the first oxide semiconductor; a second insulating film is deposited over the second oxide semiconductor film; microwave-excited plasma treatment is performed on the second insulating film; a second conductive film is deposited over the second insulating film; and part of the second conductive film, part of the second insulating film, and part of the
  • the microwave-excited plasma treatment is performed under an atmosphere containing oxygen.
  • the microwave-excited plasma treatment is performed with a pressure of higher than or equal to 133 Pa.
  • the microwave-excited plasma treatment is performed with a pressure of higher than or equal to 400 Pa.
  • the second insulator is formed in a deposition apparatus without exposure to the air after heat treatment is performed at 100° C. or higher in the deposition apparatus.
  • the first oxide semiconductor and the second oxide semiconductor are each an In—Ga—Zn oxide.
  • a semiconductor device with high reliability can be provided.
  • a semiconductor device having favorable electrical characteristics can be provided.
  • a semiconductor device with a high on-state current can be provided.
  • a semiconductor device that can be miniaturized or highly integrated can be provided.
  • a semiconductor device with low power consumption can be provided.
  • FIG. 1 A , FIG. 1 B , and FIG. 1 C are a top view and cross-sectional views of a semiconductor device of one embodiment of the present invention.
  • FIG. 2 A , FIG. 2 B , and FIG. 2 C are a top view and cross-sectional views of a semiconductor device of one embodiment of the present invention.
  • FIG. 3 A , FIG. 3 B , and FIG. 3 C are a top view and cross-sectional views illustrating a method for manufacturing a semiconductor device of one embodiment of the present invention.
  • FIG. 4 A , FIG. 4 B , and FIG. 4 C are a top view and cross-sectional views illustrating a method for manufacturing a semiconductor device of one embodiment of the present invention.
  • FIG. 5 A , FIG. 5 B , and FIG. 5 C are a top view and cross-sectional views illustrating a method for manufacturing a semiconductor device of one embodiment of the present invention.
  • FIG. 6 A , FIG. 6 B , and FIG. 6 C are a top view and cross-sectional views illustrating a method for manufacturing a semiconductor device of one embodiment of the present invention.
  • FIG. 7 A , FIG. 7 B , and FIG. 7 C are a top view and cross-sectional views illustrating a method for manufacturing a semiconductor device of one embodiment of the present invention.
  • FIG. 8 A , FIG. 8 B , and FIG. 8 C are a top view and cross-sectional views illustrating a method for manufacturing a semiconductor device of one embodiment of the present invention.
  • FIG. 9 A , FIG. 9 B , and FIG. 9 C are a top view and cross-sectional views illustrating a method for manufacturing a semiconductor device of one embodiment of the present invention.
  • FIG. 10 A , FIG. 10 B , and FIG. 10 C are a top view and cross-sectional views illustrating a method for manufacturing a semiconductor device of one embodiment of the present invention.
  • FIG. 11 is a cross-sectional view illustrating a structure of a memory device of one embodiment of the present invention.
  • FIG. 12 is a cross-sectional view illustrating a structure of a memory device of one embodiment of the present invention.
  • FIG. 13 is a cross-sectional view illustrating a structure of a memory device of one embodiment of the present invention.
  • FIG. 14 A and FIG. 14 B are a block diagram and a schematic diagram illustrating a structure example of a memory device of one embodiment of the present invention.
  • FIG. 15 A , FIG. 15 B , FIG. 15 C , FIG. 15 D , FIG. 15 E , FIG. 15 F , FIG. 15 G , and FIG. 15 H are circuit diagrams each illustrating a structure example of a memory device of one embodiment of the present invention.
  • FIG. 16 A and FIG. 16 B are schematic diagrams of a semiconductor device of one embodiment of the present invention.
  • FIG. 17 A , FIG. 17 B , FIG. 17 C , FIG. 17 D , and FIG. 17 E are schematic diagrams of memory devices of embodiments of the present invention.
  • FIG. 18 A , FIG. 18 B , FIG. 18 C , FIG. 18 D , FIG. 18 E , FIG. 18 F , FIG. 18 G , and FIG. 18 H each illustrate an electronic device of one embodiment of the present invention.
  • FIG. 19 A and FIG. 19 B show a structure in Example and SIMS results.
  • FIG. 20 A and FIG. 20 B show a structure in Example and carrier concentrations in oxide semiconductors.
  • the size, the layer thickness, or the region is exaggerated for clarity in some cases. Therefore, the size, the layer thickness, or the region is not limited to the illustrated scale.
  • the drawings are schematic views showing ideal examples, and embodiments of the present invention are not limited to shapes or values shown in the drawings.
  • a layer, a resist mask, or the like might be unintentionally reduced in size by treatment such as etching, which might not be reflected in the drawings for easy understanding of the invention.
  • the same reference numerals are used in common for the same portions or portions having similar functions in different drawings, and repeated description thereof is omitted in some cases.
  • the same hatch pattern is used for the portions having similar functions, and the portions are not especially denoted by reference numerals in some cases.
  • a top view also referred to as a “plan view”
  • a perspective view or the like
  • the description of some components might be omitted for easy understanding of the invention.
  • the description of some hidden lines and the like might also be omitted.
  • X and Y are connected, for example, the case where X and Y are electrically connected, the case where X and Y are functionally connected, and the case where X and Y are directly connected are regarded as being disclosed in this specification and the like. Accordingly, without being limited to a predetermined connection relation, for example, a connection relation shown in drawings or texts, a connection relation other than one shown in drawings or texts is disclosed in the drawings or the texts.
  • X and Y each denote an object (e.g., a device, an element, a circuit, a wiring, an electrode, a terminal, a conductive film, or a layer).
  • a transistor is an element having at least three terminals of a gate, a drain, and a source.
  • the transistor includes a region where a channel is formed (hereinafter also referred to as a channel formation region) between the drain (a drain terminal, a drain region, or a drain electrode) and the source (a source terminal, a source region, or a source electrode), and current can flow between the source and the drain through the channel formation region.
  • a channel formation region refers to a region through which current mainly flows.
  • source and drain can sometimes be interchanged with each other in this specification and the like.
  • a channel length refers to, for example, a distance between a source (a source region or a source electrode) and a drain (a drain region or a drain electrode) in a region where a semiconductor (or a portion where current flows in a semiconductor when a transistor is in an on state) and a gate electrode overlap with each other or a channel formation region in a top view of the transistor.
  • channel lengths in all regions do not necessarily have the same value. In other words, the channel length of one transistor is not fixed to one value in some cases.
  • the channel length is any one of the values, the maximum value, the minimum value, or the average value in a channel formation region.
  • a channel width refers to, for example, a length of a channel formation region in a direction perpendicular to a channel length direction in a region where a semiconductor (or a portion where current flows in a semiconductor when a transistor is in an on state) and a gate electrode overlap with each other, or a channel formation region in a top view of the transistor. Note that in one transistor, channel widths in all regions do not necessarily have the same value. In other words, the channel width of one transistor is not fixed to one value in some cases. Thus, in this specification, the channel width is any one of the values, the maximum value, the minimum value, or the average value in a channel formation region.
  • a channel width in a region where a channel is actually formed (hereinafter also referred to as an effective channel width) is sometimes different from a channel width shown in a top view of a transistor (hereinafter also referred to as an apparent channel width).
  • an effective channel width is larger than an apparent channel width, and its influence cannot be ignored in some cases.
  • the proportion of a channel formation region formed in the side surface of the semiconductor is increased in some cases. In that case, the effective channel width is larger than the apparent channel width.
  • the effective channel width is sometimes difficult to estimate by actual measurement.
  • estimation of an effective channel width from a design value requires assumption that the shape of a semiconductor is known. Accordingly, in the case where the shape of a semiconductor is not known accurately, it is difficult to measure the effective channel width accurately.
  • channel width refers to apparent channel width in some cases.
  • channel width refers to effective channel width in some cases. Note that values of channel length, channel width, effective channel width, apparent channel width, and the like can be determined, for example, by analyzing a cross-sectional TEM image and the like.
  • impurities in a semiconductor refer to, for example, elements other than the main components of the semiconductor.
  • an element with a concentration lower than 0.1 atomic % can be regarded as an impurity.
  • an impurity which changes the characteristics of the semiconductor include Group 1 elements, Group 2 elements, Group 13 elements, Group 14 elements, Group 15 elements, transition metals other than the main components of the oxide semiconductor, and the like; hydrogen, lithium, sodium, silicon, boron, phosphorus, carbon, nitrogen, and the like are given as examples.
  • water also serves as an impurity in some cases. Entry of an impurity may cause oxygen vacancies in an oxide semiconductor, for example.
  • silicon oxynitride is a material that contains more oxygen than nitrogen in its composition.
  • silicon nitride oxide is a material that contains more nitrogen than oxygen in its composition.
  • the term “insulator” can be replaced with an insulating film or an insulating layer.
  • the term “conductor” can be replaced with a conductive film or a conductive layer.
  • the term “semiconductor” can be replaced with a semiconductor film or a semiconductor layer.
  • parallel indicates a state where two straight lines are placed at an angle of greater than or equal to ⁇ 10° and less than or equal to 10°.
  • the case where the angle is greater than or equal to ⁇ 5° and less than or equal to 5° is also included.
  • substantially parallel indicates a state where two straight lines are placed at an angle greater than or equal to ⁇ 30° and less than or equal to 30°.
  • perpendicular indicates a state where two straight lines are placed at an angle of greater than or equal to 80° and less than or equal to 100°.
  • the angle is greater than or equal to 85° and less than or equal to 95° is also included.
  • substantially perpendicular indicates a state where two straight lines are placed at an angle greater than or equal to 60° and less than or equal to 120°.
  • a metal oxide is an oxide of metal in a broad sense. Metal oxides are classified into an oxide insulator, an oxide conductor (including a transparent oxide conductor), an oxide semiconductor (also simply referred to as an OS), and the like. For example, in the case where a metal oxide is used in a semiconductor layer of a transistor, the metal oxide is referred to as an oxide semiconductor in some cases. That is, an OS transistor can also be called a transistor including a metal oxide or an oxide semiconductor.
  • normally off means drain current per micrometer of channel width flowing through a transistor being 1 ⁇ 10 ⁇ 20 A or less at room temperature, 1 ⁇ 10 ⁇ 18 A or less at 85° C., or 1 ⁇ 10 ⁇ 16 A or less at 125° C. when a potential is not applied to a gate or a ground potential is applied to the gate.
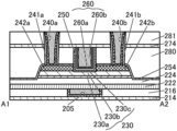
  • FIG. 1 includes a top view and cross-sectional views of a semiconductor device including the transistor 200 of one embodiment of the present invention.
  • FIG. 1 A is a top view of the semiconductor device.
  • FIG. 1 B and FIG. 1 C are cross-sectional views of the semiconductor device.
  • FIG. 1 B is a cross-sectional view of a portion indicated by dashed-dotted line A 1 -A 2 in FIG. 1 A , and is a cross-sectional view of the transistor 200 in the channel length direction.
  • FIG. 1 C is a cross-sectional view of a portion indicated by dashed-dotted line A 3 -A 4 in FIG. 1 A , and is a cross-sectional view of the transistor 200 in the channel width direction. Note that for clarity of the drawing, some components are not illustrated in the top view of FIG. 1 A .
  • the semiconductor device of one embodiment of the present invention includes the transistor 200 , and an insulator 214 , an insulator 216 , an insulator 280 , an insulator 274 , and an insulator 281 that function as interlayer films.
  • a conductor 240 (a conductor 240 a and a conductor 240 b ) that is electrically connected to the transistor 200 and functions as a plug is also included.
  • an insulator 241 is provided in contact with a side surface of the conductor 240 functioning as a plug.
  • the transistor 200 is positioned over a substrate (not shown) and includes a conductor 205 positioned to be embedded in the insulator 216 ; an insulator 222 positioned over the insulator 216 and the conductor 205 ; an insulator 224 positioned over the insulator 222 ; an oxide 230 (an oxide 230 a , an oxide 230 b , and an oxide 230 c ) positioned over the insulator 224 ; an insulator 250 positioned over the oxide 230 ; a conductor 260 (a conductor 260 a and a conductor 260 b ) positioned over the insulator 250 ; a conductor 242 a and a conductor 242 b each being in contact with part of a top surface of the oxide 230 b ; and an insulator 254 positioned in contact with part of a top surface of the insulator 224 , a side surface of the oxide 230 a , a side surface
  • the oxide 230 preferably includes the oxide 230 a positioned over the insulator 224 , the oxide 230 b positioned over the oxide 230 a , and the oxide 230 c that is positioned over the oxide 230 b and is at least partly in contact with the top surface of the oxide 230 b .
  • Including the oxide 230 a below the oxide 230 b makes it possible to inhibit diffusion of impurities into the oxide 230 b from the components formed below the oxide 230 a .
  • including the oxide 230 c over the oxide 230 b makes it possible to inhibit diffusion of impurities into the oxide 230 b from the components formed above the oxide 230 c.
  • the oxide 230 may be a single layer of the oxide 230 b or has a two-layer structure of the oxide 230 a and the oxide 230 b , a two-layer structure of the oxide 230 b and the oxide 230 c , or a stacked-layer structure including four or more layers.
  • each of the oxide 230 a , the oxide 230 b , and the oxide 230 c may have a stacked-layer structure.
  • the conductor 242 (the conductor 242 a and the conductor 242 b ) is provided over the oxide 230 b.
  • the conductor 260 functions as a first gate (also referred to as top gate) electrode of the transistor 200 , and the conductor 242 a and the conductor 242 b function as a source electrode and a drain electrode of the transistor 200 .
  • a metal oxide functioning as a semiconductor (hereinafter also referred to as an oxide semiconductor) is preferably used for the oxide 230 including the channel formation region.
  • an oxide semiconductor is used for a channel formation region of a transistor, a transistor having high field-effect mobility can be achieved. In addition, the transistor having high reliability can be achieved.
  • the metal oxide it is preferable to use a metal oxide having a band gap of 2.0 eV or more, preferably 2.5 eV or more.
  • the use of a metal oxide having a wide band gap for the oxide 230 can reduce the off-state current of the transistor. With the use of such a transistor, a semiconductor device with low power consumption can be provided.
  • the transistor 200 including an oxide semiconductor in the channel formation region has an extremely low leakage current in a non-conduction state; hence, a low-power semiconductor device can be provided.
  • An oxide semiconductor can be deposited by a sputtering method or the like, and thus can be used in the transistor 200 included in a highly integrated semiconductor device.
  • a metal oxide such as an In-M-Zn oxide containing indium (In), an element M, and zinc (Zn)
  • the element M is one or more selected from aluminum, gallium, yttrium, tin, copper, vanadium, beryllium, boron, titanium, iron, nickel, germanium, zirconium, molybdenum, lanthanum, cerium, neodymium, hafnium, tantalum, tungsten, magnesium, and the like
  • the element M is one or more selected from aluminum, gallium, yttrium, tin, copper, vanadium, beryllium, boron, titanium, iron, nickel, germanium, zirconium, molybdenum, lanthanum, cerium, neodymium, hafnium, tantalum, tungsten, magnesium, and the like
  • aluminum, gallium, yttrium, or tin is preferably used as the element M.
  • a metal oxide with a low carrier density is preferably used for the transistor.
  • the concentration of impurities in the metal oxide is reduced so that the density of defect states can be reduced.
  • a state with a low impurity concentration and a low density of defect states is referred to as a highly purified intrinsic or substantially highly purified intrinsic state.
  • the impurities in the metal oxide hydrogen, nitrogen, alkali metal, alkaline earth metal, iron, nickel, silicon, and the like are given.
  • hydrogen contained in a metal oxide reacts with oxygen bonded to a metal atom to be water, and thus forms oxygen vacancies in the metal oxide in some cases.
  • a defect that is an oxygen vacancy hydrogen enters functions as a donor and generates an electron serving as a carrier.
  • a transistor using a metal oxide containing a large amount of hydrogen is likely to have normally-on characteristics.
  • the hydrogen concentration of the metal oxide which is measured by secondary ion mass spectrometry (SIMS), is lower than 1 ⁇ 10 20 atoms/cm 3 , preferably lower than 1 ⁇ 10 19 atoms/cm 3 , further preferably lower than 5 ⁇ 10 18 atoms/cm 3 , still further preferably lower than 1 ⁇ 10 18 atoms/cm 3 .
  • SIMS secondary ion mass spectrometry
  • hydrogen might be diffused into a metal oxide through a step after deposition of the metal oxide.
  • a deposition gas containing hydrogen is used in some cases. It is highly probable that hydrogen contained in the deposition gas is diffused into the oxide 230 .
  • the insulator 250 hydrogen, nitrogen, and carbon are present as impurities.
  • impurities hydrogen, nitrogen, and carbon are present as impurities.
  • microwave-excited plasma treatment is preferably performed under an atmosphere containing oxygen after the insulator 250 is deposited over the oxide 230 .
  • an impurity in the insulator 250 such as hydrogen, water, or an impurity can be removed.
  • microwave-excited plasma treatment improves the film quality of the insulator 250 , whereby diffusion of hydrogen, water, an impurity, or the like can be inhibited. Accordingly, hydrogen, water, or an impurity can be inhibited from being diffused into the oxide 230 through the insulator 250 in the following step such as deposition of a conductive film to be the conductor 260 or the following treatment such as heat treatment.
  • bond energy between a hydrogen atom and a silicon atom is 3.3 eV
  • bond energy between a carbon atom and a silicon atom is 3.4 eV
  • bond energy between a nitrogen atom and a silicon atom is 3.5 eV.
  • radicals or ions having an energy of at least greater than or equal to 3.3 eV are made to collide with a bond portion between the hydrogen atom and the silicon atom to cut the bond between the hydrogen atom and the silicon atom.
  • radicals or ions having energy at least greater than or equal to bond energy are made to collide with a bond portion between an impurity atom and a silicon atom to cut the bond between the impurity atom and the silicon atom.
  • examples of radicals and ions generated by microwave-excited plasma include O( 3 P), which is an oxygen atom radical in the ground state, O( 1 D), which is an oxygen atom radical in the first excited state, and O 2 + , which is a monovalent cation of an oxygen molecule.
  • O( 3 P) is 2.42 eV
  • O( 1 D) is 4.6 eV.
  • the energy of O 2 + having charges is not uniquely determined because it is accelerated by the potential distribution in plasma and a bias; however, at least only the internal energy is higher than the energy of O( 1 D).
  • radicals and ions such as O( 1 D) and O 2 + can cut the bond between each of hydrogen, nitrogen, and a carbon atom in the insulator 250 and a silicon atom to remove hydrogen, nitrogen, and carbon bonded to the silicon atom.
  • the impurities such as hydrogen, nitrogen, and carbon can also be reduced by thermal energy and the like applied to a substrate in performing the microwave-excited plasma treatment.
  • O( 3 P) has low reactivity, and thus does not react in the insulator 250 and is diffused deeply in the film.
  • O( 3 P) reaches the oxide 230 through the insulator 250 , and is diffused into the oxide 230 .
  • O( 3 P) diffused into the oxide 230 comes close to the oxygen vacancy hydrogen enters, hydrogen in the oxygen vacancy is released from the oxygen vacancy and O( 3 P) enters the oxygen vacancy instead; thus, the oxygen vacancy is filled. Accordingly, an electron serving as a carrier can be inhibited from being generated in the oxide 230 .
  • the proportion of O( 3 P) in the total radicals and ion species increases when microwave-excited plasma treatment is performed under a high pressure condition.
  • the proportion of O( 3 P) is preferably high for compensation of the oxygen vacancies in the oxide 230 .
  • the pressure during the microwave-excited plasma treatment is higher than or equal to 133 Pa, preferably higher than or equal to 200 Pa, further preferably higher than or equal to 400 Pa.
  • the oxygen flow rate ratio (O 2 /O 2 +Ar) is lower than or equal to 50%, preferably higher than or equal to 10% and lower than or equal to 30%.
  • oxide 230 When a metal oxide is used for the oxide 230 , contact between the conductor 242 (the conductor 242 a and the conductor 242 b ) and the oxide 230 may make oxygen in the oxide 230 diffuse into the conductor 242 , resulting in oxidation of the conductor 242 . It is highly probable that oxidation of the conductor 242 lowers the conductivity of the conductor 242 . Note that diffusion of oxygen in the oxide 230 into the conductor 242 can be rephrased as absorption of oxygen in the oxide 230 by the conductor 242 .
  • the conductor 242 (the conductor 242 a and the conductor 242 b ) is preferably formed using a conductive material with which hydrogen in the oxide 230 easily diffuses into the conductor 242 and oxygen in the oxide 230 does not easily diffuse into the conductor 242 .
  • the hydrogen concentration of the oxide 230 is reduced, and the transistor 200 can have stable electrical characteristics.
  • ease of diffusion of hydrogen in an oxide into a conductor is sometimes expressed by a phrase “the conductor is likely to extract (absorb) hydrogen in the oxide”.
  • hardness of diffusion of oxygen in an oxide into a conductor is sometimes expressed by phrases “the conductor is not easily oxidized” and “the conductor is resistant to oxidation”, for example.
  • An example of a conductor used as the conductive material includes a conductor containing tantalum (Ta), titanium (Ti), or the like.
  • a conductor containing tantalum is preferably used for the conductor 242 .
  • a conductor containing tantalum may contain nitrogen and may contain oxygen. Accordingly, the composition formula of a conductor containing tantalum preferably satisfies TaN x O y (x is a real number greater than 0 and less than or equal to 1.67 and y is a real number greater than or equal to 0 and less than or equal to 1.0).
  • the conductor containing tantalum examples include metal tantalum, tantalum oxide, tantalum nitride, tantalum nitride oxide, and tantalum oxynitride.
  • the conductor containing tantalum is sometimes referred to as TaN x O y .
  • the proportion of tantalum in TaN x O y is preferably high.
  • the proportions of nitrogen and oxygen are preferably low, and x and y are preferably small.
  • a high proportion of tantalum lowers the resistance of TaN x O y , and the transistor 200 in which TaN x O y is used for the conductor 242 can have favorable electrical characteristics.
  • the proportion of nitrogen in TaN x O y is preferably high, and x is preferably large.
  • the use of TaN x O y with a high nitrogen proportion for the conductor 242 can inhibit oxidation of the conductor 242 .
  • TaN x O y is a conductive material into which hydrogen is diffused easily and oxygen is less likely to be diffused, and thus is suitable for the conductor 242 .
  • hydrogen in the oxide 230 can be diffused into the conductor 242 by heat treatment in a step after formation of a conductive film to be the conductor 242 , whereby the hydrogen concentration in the oxide 230 can be reduced.
  • oxygen extracted from the oxide 230 b can be reduced even when heat treatment is performed; thus, the transistor 200 is stable with respect to temperature in a manufacturing process (what is called thermal budget).
  • hydrogen diffused into the conductor 242 sometimes remains in the conductor 242 .
  • hydrogen in the oxide 230 is absorbed by the conductor 242 in some cases.
  • hydrogen in the oxide 230 passes through the conductor 242 and is released to a component provided around the conductor 242 or the outside of the transistor 200 .
  • the hydrogen concentration of the oxide 230 can be reduced. Accordingly, the transistor 200 can have favorable electrical characteristics and reliability.
  • a semiconductor device with high reliability can be provided.
  • a semiconductor device having favorable electrical characteristics can be provided.
  • a semiconductor device that can be miniaturized or highly integrated can be provided.
  • a semiconductor device with low power consumption can be provided.
  • the insulator 214 preferably functions as an insulating barrier film that inhibits diffusion of impurities such as water and hydrogen from the substrate side into the transistor 200 . Accordingly, for the insulator 214 , it is preferable to use an insulating material having a function of inhibiting diffusion of impurities such as a hydrogen atom, a hydrogen molecule, a water molecule, a nitrogen atom, a nitrogen molecule, a nitrogen oxide molecule (N 2 O, NO, NO 2 , or the like), and a copper atom. Alternatively, it is preferable to use an insulating material having a function of inhibiting diffusion of oxygen (e.g., at least one of an oxygen atom, an oxygen molecule, and the like).
  • an insulating material having a function of inhibiting diffusion of oxygen e.g., at least one of an oxygen atom, an oxygen molecule, and the like.
  • a function of inhibiting diffusion of impurities or oxygen means a function of inhibiting diffusion of any one or all of the impurities and the oxygen.
  • a film having a function of inhibiting diffusion of hydrogen or oxygen may be referred to as a film through which hydrogen or oxygen does not pass easily, a film having low permeability of hydrogen or oxygen, a film having a barrier property against hydrogen or oxygen, or a barrier film against hydrogen or oxygen, for example.
  • a barrier film having conductivity is sometimes referred to as a conductive barrier film.
  • the insulator 214 is preferably used for the insulator 214 . Accordingly, impurities such as water and hydrogen can be inhibited from being diffused into the transistor 200 side from the substrate side through the insulator 214 . Alternatively, oxygen contained in the insulator 224 and the like can be inhibited from being diffused into the substrate side through the insulator 214 .
  • the insulator 214 may have a stacked-layer structure of two or more layers. In such cases, without limitation to a stacked-layer structure formed of the same material, a stacked-layer structure formed of different materials may be employed. For example, a stack of aluminum oxide and silicon nitride may be employed.
  • the insulator 214 is preferably formed of silicon nitride by a sputtering method, for example. In this manner, the hydrogen concentration in the insulator 214 can be reduced, and impurities such as water and hydrogen can be further inhibited from being diffused into the transistor 200 side from the substrate side through the insulator 214 .
  • the permittivity of the insulator 216 functioning as an interlayer film is preferably lower than the permittivity of the insulator 214 .
  • a material with a low permittivity is used for an interlayer film, the parasitic capacitance generated between wirings can be reduced.
  • silicon oxide, silicon oxynitride, silicon nitride oxide, silicon nitride, silicon oxide to which fluorine is added, silicon oxide to which carbon is added, silicon oxide to which carbon and nitrogen are added, porous silicon oxide, or the like is used as appropriate, for example.
  • the insulator 216 preferably includes a region that has a low hydrogen concentration and contains oxygen in excess of that in the stoichiometric composition (hereinafter also referred to as an excess-oxygen region), or preferably contains oxygen that is released by heating (hereinafter also referred to as excess oxygen).
  • an excess-oxygen region preferably contains oxygen that is released by heating
  • silicon oxide deposited by a sputtering method is preferably used for the insulator 216 .
  • oxygen can be supplied to the oxide 230 to reduce oxygen vacancies in the oxide 230 .
  • a transistor that has stable electrical characteristics with a small variation in electrical characteristics and improved reliability can be provided.
  • the insulator 216 may have a stacked-layer structure.
  • an insulator similar to the insulator 214 may be provided at least in a portion in contact with a side surface of the conductor 205 .
  • oxidization of the conductor 205 due to oxygen contained in the insulator 216 can be inhibited.
  • a reduction in the amount of oxygen contained in the insulator 216 due to the conductor 205 can be inhibited.
  • the conductor 205 sometimes functions as a second gate (also referred to as bottom gate) electrode.
  • the threshold voltage (Vth) of the transistor 200 can be controlled.
  • Vth of the transistor 200 can be further increased, and the off-state current can be reduced.
  • drain current when a potential applied to the conductor 260 is 0 V can be lower in the case where a negative potential is applied to the conductor 205 than in the case where the negative potential is not applied to the conductor 205 .
  • the conductor 205 is provided to overlap with the oxide 230 and the conductor 260 . Furthermore, the conductor 205 is preferably provided to be embedded in the insulator 214 or the insulator 216 .
  • the conductor 205 is preferably provided larger than the channel formation region in the oxide 230 .
  • the conductor 205 extend to a region outside an end portion of the oxide 230 that intersects with the channel width direction. That is, the conductor 205 and the conductor 260 preferably overlap with each other with the insulators therebetween on an outer side of the side surface of the oxide 230 in the channel width direction. Since the above-described structure is included, the channel formation region of the oxide 230 can be electrically surrounded by the electric field of the conductor 260 functioning as the first gate electrode and the electric field of the conductor 205 functioning as the second gate electrode.
  • the conductor 205 extends to function as a wiring as well.
  • a structure where a conductor functioning as a wiring is provided below the conductor 205 may be employed.
  • the conductor 205 does not necessarily have to be provided in each transistor.
  • the conductor 205 may be shared by a plurality of transistors.
  • the transistor 200 having a structure in which the first conductor of the conductor 205 and the second conductor of the conductor 205 are stacked is illustrated, the present invention is not limited thereto.
  • the conductor 205 may have a single-layer structure or a stacked-layer structure of three or more layers.
  • layers may be distinguished by ordinal numbers corresponding to the formation order.
  • a conductive material having a function of inhibiting diffusion of impurities such as a hydrogen atom, a hydrogen molecule, a water molecule, a nitrogen atom, a nitrogen molecule, a nitrogen oxide molecule (N 2 O, NO, NO 2 , or the like), and a copper atom is preferably used.
  • impurities such as a hydrogen atom, a hydrogen molecule, a water molecule, a nitrogen atom, a nitrogen molecule, a nitrogen oxide molecule (N 2 O, NO, NO 2 , or the like), and a copper atom
  • oxygen e.g., at least one of oxygen atoms, oxygen molecules, and the like.
  • the first conductor of the conductor 205 When a conductive material having a function of inhibiting diffusion of oxygen is used for the first conductor of the conductor 205 , a reduction in the conductivity of the second conductor of the conductor 205 due to oxidation can be inhibited.
  • a conductive material having a function of inhibiting diffusion of oxygen for example, tantalum, tantalum nitride, ruthenium, or ruthenium oxide is preferably used.
  • the first conductor of the conductor 205 is a single layer or stacked layers of the above conductive materials.
  • the first conductor of the conductor 205 may be a stack of tantalum, tantalum nitride, ruthenium, or ruthenium oxide and titanium or titanium nitride.
  • a conductive material containing tungsten, copper, or aluminum as its main component is preferably used for the second conductor of the conductor 205 .
  • the second conductor of the conductor 205 is a single layer in the drawing but may have a stacked-layer structure, for example, a stacked-layer structure of the above conductive material and titanium or titanium nitride.
  • the insulator 222 and the insulator 224 function as a gate insulator.
  • the insulator 222 have a function of inhibiting diffusion of hydrogen (e.g., at least one of a hydrogen atom, a hydrogen molecule, and the like). In addition, it is preferable that the insulator 222 have a function of inhibiting diffusion of oxygen (e.g., at least one of an oxygen atom, an oxygen molecule, and the like). For example, the insulator 222 preferably has a function of further inhibiting diffusion of one or both of hydrogen and oxygen as compared to the insulator 224 .
  • hydrogen e.g., at least one of a hydrogen atom, a hydrogen molecule, and the like
  • oxygen e.g., at least one of an oxygen atom, an oxygen molecule, and the like
  • the insulator 222 preferably has a function of further inhibiting diffusion of one or both of hydrogen and oxygen as compared to the insulator 224 .
  • an insulator containing an oxide of one or both of aluminum and hafnium which is an insulating material, is preferably used.
  • aluminum oxide, hafnium oxide, an oxide containing aluminum and hafnium (hafnium aluminate), or the like be used as the insulator.
  • the insulator 222 functions as a layer that inhibits release of oxygen from the oxide 230 to the substrate side and diffusion of impurities such as hydrogen from the periphery of the transistor 200 into the oxide 230 .
  • providing the insulator 222 can inhibit diffusion of impurities such as hydrogen inside the transistor 200 and inhibit generation of oxygen vacancies in the oxide 230 .
  • the conductor 205 can be inhibited from reacting with oxygen contained in the insulator 224 and the oxide 230 .
  • aluminum oxide, bismuth oxide, germanium oxide, niobium oxide, silicon oxide, titanium oxide, tungsten oxide, yttrium oxide, or zirconium oxide may be added to the above insulator, for example.
  • these insulators may be subjected to nitriding treatment.
  • a stack of silicon oxide, silicon oxynitride, or silicon nitride over these insulators may be used as the insulator 222 .
  • a single layer or stacked layers of an insulator containing what is called a high-k material such as aluminum oxide, hafnium oxide, tantalum oxide, zirconium oxide, lead zirconate titanate (PZT), strontium titanate (SrTiO 3 ), or (Ba,Sr)TiO 3 (BST) may be used as the insulator 222 .
  • a high-k material such as aluminum oxide, hafnium oxide, tantalum oxide, zirconium oxide, lead zirconate titanate (PZT), strontium titanate (SrTiO 3 ), or (Ba,Sr)TiO 3 (BST) may be used as the insulator 222 .
  • oxygen be released from the insulator 224 in contact with the oxide 230 by heating.
  • Silicon oxide, silicon oxynitride, or the like is used as appropriate for the insulator 224 , for example.
  • oxygen vacancies in the oxide 230 can be reduced and the reliability of the transistor 200 can be improved.
  • an oxide material that releases part of oxygen by heating is preferably used.
  • An oxide that releases oxygen by heating is an oxide film in which the amount of released oxygen molecules is greater than or equal to 1.0 ⁇ 10 18 molecules/cm 3 , preferably greater than or equal to 1.0 ⁇ 10 19 molecules/cm 3 , further preferably greater than or equal to 2.0 ⁇ 10 19 molecules/cm 3 or greater than or equal to 3.0 ⁇ 10 20 molecules/cm 3 in TDS (Thermal Desorption Spectroscopy) analysis.
  • TDS Thermal Desorption Spectroscopy
  • the temperature of the film surface in the TDS analysis is preferably within the range of 100° C. to 700° C., or 100° C. to 400° C.
  • the insulator 224 preferably has a low hydrogen concentration and includes an excess-oxygen region or excess oxygen, and may be formed using a material similar to that for the insulator 216 , for example.
  • the insulator 222 and the insulator 224 may each have a stacked-layer structure of two or more layers. In such cases, without limitation to a stacked-layer structure formed of the same material, a stacked-layer structure formed of different materials may be employed.
  • the oxide 230 preferably has a stacked-layer structure using oxides with different chemical compositions.
  • the atomic ratio of the element M to metal elements of main components in the metal oxide used for the oxide 230 a is preferably greater than the atomic ratio of the element M to metal elements of main components in the metal oxide used for the oxide 230 b .
  • the atomic ratio of the element M to In in the metal oxide used for the oxide 230 a is preferably greater than the atomic ratio of the element M to In in the metal oxide used for the oxide 230 b .
  • the atomic ratio of In to the element M in the metal oxide used for the oxide 230 b is preferably greater than the atomic ratio of In to the element M in the metal oxide used for the oxide 230 a .
  • a metal oxide that can be used for the oxide 230 a or the oxide 230 b can be used for the oxide 230 c.
  • the oxide 230 b and the oxide 230 c preferably have crystallinity.
  • a CAAC-OS c-axis aligned crystalline oxide semiconductor
  • An oxide having crystallinity, such as a CAAC-OS has a dense structure with small amounts of impurities and defects (e.g., oxygen vacancies) and high crystallinity. This can inhibit oxygen extraction from the oxide 230 b by the source electrode or the drain electrode. This can reduce oxygen extraction from the oxide 230 b even when heat treatment is performed; thus, the transistor 200 is stable with respect to high temperatures in a manufacturing process (what is called thermal budget).
  • a CAAC-OS is preferably used for the oxide 230 c ; the c-axis of a crystal included in the oxide 230 c is preferably aligned in a direction substantially perpendicular to the formation surface or the top surface of the oxide 230 c .
  • the CAAC-OS has a property such that oxygen is easily moved in a direction perpendicular to the c-axis. Thus, oxygen contained in the oxide 230 c can be efficiently supplied to the oxide 230 b.
  • the energy level of the conduction band minimum of each of the oxide 230 a and the oxide 230 c is preferably higher than the energy level of the conduction band minimum of the oxide 230 b .
  • the electron affinity of each of the oxide 230 a and the oxide 230 c is preferably smaller than the electron affinity of the oxide 230 b .
  • a metal oxide that can be used for the oxide 230 a is preferably used for the oxide 230 c .
  • the oxide 230 b serves as a main carrier path.
  • the energy level of the conduction band minimum is gradually varied at junction portions of the oxide 230 a , the oxide 230 b , and the oxide 230 c .
  • the energy level of the conduction band minimum at the junction portions of the oxide 230 a , the oxide 230 b , and the oxide 230 c is continuously varied or continuously connected.
  • the density of defect states in a mixed layer formed at an interface between the oxide 230 a and the oxide 230 b and an interface between the oxide 230 b and the oxide 230 c is preferably made low.
  • oxide 230 a and the oxide 230 b or the oxide 230 b and the oxide 230 c contain the same element as a main component in addition to oxygen, a mixed layer with a low density of defect states can be formed.
  • a mixed layer with a low density of defect states can be formed.
  • an In—Ga—Zn oxide, a Ga—Zn oxide, gallium oxide, or the like may be used for the oxide 230 a and the oxide 230 c in the case where the oxide 230 b is an In—Ga—Zn oxide.
  • the atomic ratio is not limited to the atomic ratio of the deposited metal oxide and may be the atomic ratio of a sputtering target used for depositing the metal oxide.
  • the oxide 230 a and the oxide 230 c have the above structure, the density of defect states at the interface between the oxide 230 a and the oxide 230 b and the interface between the oxide 230 b and the oxide 230 c can be made low. Thus, the influence of interface scattering on carrier conduction is small, and the transistor 200 can have a high on-state current and excellent frequency characteristics.
  • the oxide 230 c may have a stacked-layer structure of two or more layers.
  • the oxide 230 c may include a first oxide and a second oxide provided over the first oxide.
  • the first oxide of oxide 230 c preferably contains at least one of the metal elements contained in the metal oxide used for the oxide 230 b , and further preferably contains all of these metal elements.
  • an In—Ga—Zn oxide be used for the first oxide of the oxide 230 c
  • an In—Ga—Zn oxide, a Ga—Zn oxide, or gallium oxide be used for the second oxide of the oxide 230 c . Accordingly, the density of defect states at the interface between the oxide 230 b and the first oxide of the oxide 230 c can be decreased.
  • the second oxide of the oxide 230 c is preferably a metal oxide that inhibits diffusion or passage of oxygen, compared to the first oxide of the oxide 230 c .
  • Providing the second oxide of the oxide 230 c between the insulator 250 and the first oxide of the oxide 230 c can inhibit diffusion of oxygen contained in the insulator 280 into the insulator 250 . Therefore, the oxygen is more likely to be supplied to the oxide 230 b through the first oxide of the oxide 230 c.
  • the energy level of the conduction band minimum of each of the oxide 230 a and the second oxide of the oxide 230 c is preferably higher than the energy level of the conduction band minimum of each of the oxide 230 b and the first oxide of the oxide 230 c .
  • the electron affinity of each of the oxide 230 a and the second oxide of the oxide 230 c is preferably smaller than the electron affinity of each of the oxide 230 b and the first oxide of the oxide 230 c .
  • the first oxide of the oxide 230 c be formed using a metal oxide that can be used for the oxide 230 b .
  • not only the oxide 230 b but also the first oxide of the oxide 230 c serves as a main carrier path in some cases.
  • the atomic ratio of In to the metal element of the main component in the metal oxide used for the second oxide of the oxide 230 c is smaller than the atomic ratio of In to the metal element of the main component in the metal oxide used for the first oxide of the oxide 230 c , the diffusion of In into the insulator 250 side can be inhibited. Since the insulator 250 functions as a gate insulator, the transistor exhibits poor characteristics when In enters the insulator 250 and the like. Thus, when the oxide 230 c has a stacked-layer structure, a highly reliable semiconductor device can be provided.
  • TaN x O y is preferably used for the conductor 242 .
  • TaN x O y may contain aluminum.
  • titanium nitride, nitride containing titanium and aluminum, ruthenium oxide, ruthenium nitride, oxide containing strontium and ruthenium, or oxide containing lanthanum and nickel may be used. These materials are preferable because they are conductive materials that are not easily oxidized or materials that maintain the conductivity even when absorbing oxygen.
  • the insulator 254 is preferably in contact with the top surface and the side surface of the conductor 242 a , the top surface and the side surface of the conductor 242 b , the side surfaces of the oxide 230 a and the oxide 230 b , and part of the top surface of the insulator 224 .
  • the insulator 280 is isolated from the insulator 224 , the oxide 230 a , and the oxide 230 b by the insulator 254 .
  • the insulator 254 preferably has a function of inhibiting diffusion of one or both of hydrogen and oxygen.
  • the insulator 254 preferably has a function of further inhibiting diffusion of one or both of hydrogen and oxygen as compared to the insulator 224 and the insulator 280 .
  • diffusion of hydrogen contained in the insulator 280 into the oxide 230 a and the oxide 230 b can be inhibited.
  • diffusion of impurities such as water and hydrogen into the insulator 224 and the oxide 230 from the outside can be inhibited. Consequently, the transistor 200 can have favorable electrical characteristics and reliability.
  • the insulator 254 is preferably deposited by a sputtering method.
  • oxygen can be added to the vicinity of a region of the insulator 224 that is in contact with the insulator 254 . Accordingly, oxygen can be supplied from the region into the oxide 230 through the insulator 224 .
  • oxygen can be prevented from diffusing from the oxide 230 into the insulator 280 .
  • the insulator 222 having a function of inhibiting downward oxygen diffusion, oxygen can be prevented from diffusing from the oxide 230 to the substrate side. In this manner, oxygen is supplied to the channel formation region of the oxide 230 . Accordingly, oxygen vacancies in the oxide 230 can be reduced, so that the transistor can be inhibited from becoming normally on.
  • An insulator containing an oxide of one or both of aluminum and hafnium is preferably deposited as the insulator 254 , for example.
  • the insulator 254 is preferably deposited using an atomic layer deposition (ALD) method.
  • ALD method is a deposition method providing good coverage, and thus can prevent formation of disconnection or the like due to unevenness of the insulator 254 .
  • An insulator containing aluminum nitride may be used for the insulator 254 , for example. Accordingly, a film having an excellent insulating property and high thermal conductivity can be obtained, and thus dissipation of heat generated in driving the transistor 200 can be increased.
  • silicon nitride, silicon nitride oxide, or the like can be used.
  • an oxide containing gallium may be used for the insulator 254 , for example.
  • An oxide containing gallium is preferable because it sometimes has a function of inhibiting diffusion of one or both of hydrogen and oxygen.
  • gallium oxide, gallium zinc oxide, indium gallium zinc oxide, or the like can be used as an oxide containing gallium.
  • the atomic ratio of gallium to indium is preferably large. When the atomic ratio is increased, the insulating property of the oxide can be high.
  • the insulator 254 can have a multilayer structure of two or more layers.
  • the lower layer and the upper layer of the insulator 254 can be formed by any of the above methods; the lower layer and the upper layer of the insulator 254 may be formed by the same method or different methods.
  • the insulator 254 may be formed in such a manner that the upper layer of the insulator 254 is deposited by a sputtering method in an oxygen-containing atmosphere and then the upper layer of the insulator 254 is deposited by an ALD method.
  • An ALD method is a deposition method providing good coverage, and thus can prevent formation of disconnection or the like due to unevenness of the first layer.
  • the lower layer and the upper layer of the insulator 254 can be formed using the above material, and the lower layer and the upper layer of the insulator 254 may be formed using the same material or different materials.
  • a stacked-layer structure of silicon oxide, silicon oxynitride, silicon nitride oxide, or silicon nitride and an insulator having a function of inhibiting passage of oxygen and impurities such as hydrogen may be employed.
  • an insulator having a function of inhibiting passage of oxygen and impurities such as hydrogen an insulator containing an oxide of one or both of aluminum and hafnium can be used, for example.
  • the insulator 250 functions as a gate insulator.
  • the insulator 250 is preferably placed in contact with the top surface of the oxide 230 c .
  • silicon oxide, silicon oxynitride, silicon nitride oxide, silicon nitride, silicon oxide to which fluorine is added, silicon oxide to which carbon is added, silicon oxide to which carbon and nitrogen are added, porous silicon oxide, or the like can be used.
  • silicon oxide and silicon oxynitride, which have thermal stability, are preferable.
  • the insulator 250 is preferably formed using an insulator that releases oxygen by heating.
  • an insulator that releases oxygen by heating is provided as the insulator 250 in contact with the top surface of the oxide 230 c , oxygen can be efficiently supplied to the channel formation region of the oxide 230 b and oxygen vacancies in the channel formation region of the oxide 230 b can be reduced.
  • the concentration of impurities such as water and hydrogen in the insulator 250 is preferably reduced.
  • the thickness of the insulator 250 is preferably greater than or equal to 1 nm and less than or equal to 20 nm.
  • a metal oxide may be provided between the insulator 250 and the conductor 260 .
  • the metal oxide preferably inhibits diffusion of oxygen from the insulator 250 into the conductor 260 .
  • Providing the metal oxide that inhibits diffusion of oxygen inhibits diffusion of oxygen from the insulator 250 into the conductor 260 . That is, a reduction in the amount of oxygen supplied to the oxide 230 can be inhibited.
  • oxidation of the conductor 260 due to oxygen from the insulator 250 can be inhibited.
  • the metal oxide functions as part of the gate insulator in some cases. Therefore, when silicon oxide, silicon oxynitride, or the like is used for the insulator 250 , a metal oxide that is a high-k material with a high dielectric constant is preferably used as the metal oxide.
  • the gate insulator has a stacked-layer structure of the insulator 250 and the metal oxide, the stacked-layer structure can be thermally stable and have a high dielectric constant.
  • a gate potential that is applied during operation of the transistor can be reduced while the physical thickness of the gate insulator is maintained.
  • the equivalent oxide thickness (EOT) of the insulator functioning as the gate insulator can be reduced.
  • a metal oxide containing one kind or two or more kinds selected from hafnium, aluminum, gallium, yttrium, zirconium, tungsten, titanium, tantalum, nickel, germanium, magnesium, and the like can be used.
  • an insulator containing an oxide of one or both of aluminum and hafnium is preferably used.
  • the metal oxide may have a function of part of the first gate electrode.
  • an oxide semiconductor that can be used for the oxide 230 can be used as the metal oxide.
  • the metal oxide when the conductor 260 is deposited by a sputtering method, the metal oxide can have a reduced electric resistance to be a conductor.
  • the on-state current of the transistor 200 can be increased without a reduction in the influence of the electric field from the conductor 260 . Since the distance between the conductor 260 and the oxide 230 is kept by the physical thicknesses of the insulator 250 and the metal oxide, leakage current between the conductor 260 and the oxide 230 can be reduced. Moreover, when the stacked-layer structure of the insulator 250 and the metal oxide is provided, the physical distance between the conductor 260 and the oxide 230 and the intensity of electric field applied to the oxide 230 from the conductor 260 can be easily adjusted as appropriate.
  • the conductor 260 preferably includes the conductor 260 a and the conductor 260 b positioned over the conductor 260 a .
  • the conductor 260 a is preferably positioned to cover a bottom surface and a side surface of the conductor 260 b.
  • a conductive material having a function of inhibiting diffusion of impurities such as a hydrogen atom, a hydrogen molecule, a water molecule, a nitrogen atom, a nitrogen molecule, a nitrogen oxide molecule, and a copper atom is preferably used.
  • impurities such as a hydrogen atom, a hydrogen molecule, a water molecule, a nitrogen atom, a nitrogen molecule, a nitrogen oxide molecule, and a copper atom.
  • oxygen e.g., at least one of oxygen atoms, oxygen molecules, and the like.
  • the conductor 260 a has a function of inhibiting diffusion of oxygen
  • the conductivity of the conductor 260 b can be inhibited from being lowered because of oxidation due to oxygen contained in the insulator 250 .
  • a conductive material having a function of inhibiting diffusion of oxygen for example, tantalum, tantalum nitride, ruthenium, or ruthenium oxide is preferably used.
  • the conductor 260 also functions as a wiring and thus is preferably formed using a conductor having high conductivity.
  • a conductor having high conductivity for example, a conductive material containing tungsten, copper, or aluminum as its main component can be used for the conductor 260 b .
  • the conductor 260 b may have a stacked-layer structure, for example, a stacked-layer structure of any of the above conductive materials and titanium or titanium nitride.
  • the conductor 260 has a two-layer structure of the conductor 260 a and the conductor 260 b in FIG. 1 , the conductor 260 may have a single-layer structure or a stacked-layer structure of three or more layers.
  • the conductor 260 is formed in a self-aligned manner to fill an opening formed in the insulator 280 and the like.
  • the formation of the conductor 260 in this manner allows the conductor 260 to be positioned certainly in a region between the conductor 242 a and the conductor 242 b without alignment.
  • a top surface of the conductor 260 is substantially aligned with a top surface of the insulator 250 and the top surface of the oxide 230 c.
  • the level of the bottom surface of the conductor 260 in a region where the conductor 260 and the oxide 230 b do not overlap with each other is preferably lower than the level of the bottom surface of the oxide 230 b .
  • the conductor 260 functioning as the gate electrode covers the side and top surfaces of the channel formation region of the oxide 230 b with the insulator 250 and the like therebetween, the electric field of the conductor 260 is likely to affect the entire channel formation region of the oxide 230 b .
  • the on-state current of the transistor 200 can be increased and the frequency characteristics of the transistor 200 can be improved.
  • T1 is greater than or equal to 0 nm and less than or equal to 100 nm, preferably greater than or equal to 3 nm and less than or equal to 50 nm, further preferably greater than or equal to 5 nm and less than or equal to 20 nm.
  • the insulator 280 is provided over the insulator 224 , the oxide 230 , and the conductor 242 with the insulator 254 therebetween.
  • the top surface of the insulator 280 may be planarized.
  • the insulator 280 functioning as an interlayer film preferably has a low permittivity.
  • a material with a low permittivity is used as an interlayer film, the parasitic capacitance generated between wirings can be reduced.
  • the insulator 280 is preferably formed using a material similar to that used for the insulator 216 , for example.
  • silicon oxide and silicon oxynitride which have thermal stability, are preferable. Materials such as silicon oxide, silicon oxynitride, and porous silicon oxide, in each of which a region containing oxygen released by heating can be easily formed, are particularly preferable.
  • the concentration of impurities such as water and hydrogen in the insulator 280 is preferably reduced.
  • the insulator 280 preferably has a low hydrogen concentration and includes an excess-oxygen region or excess oxygen, and may be formed using a material similar to that for the insulator 216 , for example. Note that the insulator 280 may have a stacked-layer structure of two or more layers.
  • the insulator 274 preferably functions as an insulating barrier film that inhibits diffusion of impurities such as water and hydrogen into the insulator 280 from above.
  • the insulator 274 preferably has a low hydrogen concentration and has a function of inhibiting diffusion of hydrogen.
  • the insulator 274 is preferably in contact with the top surfaces of the conductor 260 , the insulator 250 , and the oxide 230 c . This can inhibit entry of impurities such as hydrogen contained in the insulator 281 and the like into the insulator 250 . Thus, adverse effects on the electrical characteristics of the transistor and the reliability of the transistor can be suppressed.
  • the insulator 281 functioning as an interlayer film is preferably provided over the insulator 274 .
  • the insulator 281 preferably has a low permittivity.
  • the concentration of impurities such as water and hydrogen in the insulator 281 is preferably reduced.
  • the conductor 240 a and the conductor 240 b are placed in the openings formed in the insulator 281 , the insulator 274 , the insulator 280 , and the insulator 254 .
  • the conductor 240 a and the conductor 240 b are placed to face each other with the conductor 260 interposed therebetween. Note that the level of the top surfaces of the conductor 240 a and the conductor 240 b may be on the same surface as the top surface of the insulator 281 .
  • the insulator 241 a is provided in contact with a side wall of the opening in the insulator 281 , the insulator 274 , the insulator 280 , and the insulator 254 , and the conductor 240 a is formed in contact with its side surface.
  • the conductor 242 a is located on at least part of the bottom portion of the opening, and thus the conductor 240 a is in contact with the conductor 242 a .
  • the insulator 241 b is provided in contact with a side wall of the opening in the insulator 281 , the insulator 274 , the insulator 280 , and the insulator 254 , and the conductor 240 b is formed in contact with its side surface.
  • the conductor 242 b is located on at least part of the bottom portion of the opening, and thus the conductor 240 b is in contact with the conductor 242 b.
  • a conductive material containing tungsten, copper, or aluminum as its main component is preferably used.
  • the conductor 240 a and the conductor 240 b may each have a stacked-layer structure.
  • the transistor 200 having a structure in which the conductor 240 a and the conductor 240 b each have a stacked-layer structure of two layers is illustrated, the present invention is not limited thereto.
  • the conductor 240 may be provided as a single layer or to have a stacked-layer structure of three or more layers.
  • a conductive material having a function of inhibiting passage of impurities such as water and hydrogen is preferably used as a conductor in contact with the conductor 242 and in contact with the insulator 254 , the insulator 280 , the insulator 274 , and the insulator 281 with the insulator 241 therebetween.
  • a conductive material having a function of inhibiting passage of impurities such as water and hydrogen may be used as a single layer or stacked layers.
  • the use of the conductive material can prevent oxygen added to the insulator 280 from being absorbed by the conductor 240 a and the conductor 240 b . Moreover, impurities such as water and hydrogen contained in a layer above the insulator 281 can be inhibited from diffusing into the oxide 230 through the conductor 240 a and the conductor 240 b.
  • an insulator that can be used for the insulator 214 , the insulator 254 , or the like is used, for example. Since the insulator 241 a and the insulator 241 b are provided in contact with the insulator 254 , impurities such as water and hydrogen contained in the insulator 280 or the like can be inhibited from diffusing into the oxide 230 through the conductor 240 a and the conductor 240 b . In addition, oxygen contained in the insulator 280 can be prevented from being absorbed by the conductor 240 a and the conductor 240 b.
  • a conductor functioning as a wiring may be provided in contact with the top surface of the conductor 240 a and the top surface of the conductor 240 b .
  • a conductive material containing tungsten, copper, or aluminum as its main component is preferably used.
  • the conductor may have a stacked-layer structure and may be a stack of titanium or titanium nitride and any of the above conductive materials, for example. Note that the conductor may be formed to be embedded in an opening provided in an insulator.
  • an insulator having resistivity higher than or equal to 1.0 ⁇ 10 13 ⁇ cm and lower than or equal to 1.0 ⁇ 10 15 ⁇ cm, preferably higher than or equal to 5.0 ⁇ 10 13 ⁇ cm and lower than or equal to 5.0 ⁇ 10 14 ⁇ cm is preferably provided to cover the above conductor. It is preferable that an insulator having the above resistivity be provided over the conductor, in which case the insulator can disperse electric charge accumulated in the transistor 200 or between wirings of the conductor or the like and can inhibit defects in characteristics and electrostatic breakdown of the transistor and an electronic device including the transistor due to the electric charge, while maintaining the insulating property.
  • an insulator substrate, a semiconductor substrate, or a conductor substrate is used, for example.
  • the insulator substrate include a glass substrate, a quartz substrate, a sapphire substrate, a stabilized zirconia substrate (an yttria-stabilized zirconia substrate or the like), and a resin substrate.
  • the semiconductor substrate include a semiconductor substrate using silicon, germanium, or the like as a material and a compound semiconductor substrate including silicon carbide, silicon germanium, gallium arsenide, indium phosphide, zinc oxide, or gallium oxide.
  • a semiconductor substrate in which an insulator region is included in the semiconductor substrate e.g., an SOI (Silicon On Insulator) substrate.
  • the conductor substrate include a graphite substrate, a metal substrate, an alloy substrate, and a conductive resin substrate.
  • Other examples include a substrate including a metal nitride and a substrate including a metal oxide.
  • Other examples include an insulator substrate provided with a conductor or a semiconductor, a semiconductor substrate provided with a conductor or an insulator, and a conductor substrate provided with a semiconductor or an insulator.
  • these substrates provided with elements may be used.
  • the element provided for the substrate include a capacitor, a resistor, a switching element, a light-emitting element, and a memory element.
  • an insulator examples include an oxide, a nitride, an oxynitride, a nitride oxide, a metal oxide, a metal oxynitride, and a metal nitride oxide, each of which has an insulating property.
  • a problem such as leakage current may arise because of a thinner gate insulator.
  • the insulator functioning as the gate insulator the voltage during operation of the transistor can be reduced while the physical thickness of the gate insulator is maintained.
  • a material with a low dielectric constant is used for the insulator functioning as the interlayer film, parasitic capacitance generated between wirings can be reduced.
  • a material is preferably selected depending on the function of an insulator.
  • Examples of the insulator with a high dielectric constant include gallium oxide, hafnium oxide, zirconium oxide, an oxide containing aluminum and hafnium, an oxynitride containing aluminum and hafnium, an oxide containing silicon and hafnium, an oxynitride containing silicon and hafnium, and a nitride containing silicon and hafnium.
  • Examples of the insulator with a low dielectric constant include silicon oxide, silicon oxynitride, silicon nitride oxide, silicon nitride, silicon oxide to which fluorine is added, silicon oxide to which carbon is added, silicon oxide to which carbon and nitrogen are added, porous silicon oxide, and a resin.
  • the electrical characteristics of the transistor can be stable.
  • insulator having a function of inhibiting passage of oxygen and impurities such as hydrogen a single layer or stacked layers of an insulator containing, for example, boron, carbon, nitrogen, oxygen, fluorine, magnesium, aluminum, silicon, phosphorus, chlorine, argon, gallium, germanium, yttrium, zirconium, lanthanum, neodymium, hafnium, or tantalum is used.
  • a metal oxide such as aluminum oxide, magnesium oxide, gallium oxide, germanium oxide, yttrium oxide, zirconium oxide, lanthanum oxide, neodymium oxide, hafnium oxide, or tantalum oxide
  • a metal nitride such as aluminum nitride, silicon nitride oxide, or silicon nitride can be used.
  • the insulator functioning as the gate insulator is preferably an insulator including a region containing oxygen released by heating.
  • an insulator including a region containing oxygen released by heating For example, when a structure is employed in which silicon oxide or silicon oxynitride including a region containing oxygen released by heating is in contact with the oxide 230 , oxygen vacancies included in the oxide 230 can be filled.
  • a metal element selected from aluminum, chromium, copper, silver, gold, platinum, tantalum, nickel, titanium, molybdenum, tungsten, hafnium, vanadium, niobium, manganese, magnesium, zirconium, beryllium, indium, ruthenium, iridium, strontium, lanthanum, and the like; an alloy containing any of the above metal elements as its component; an alloy containing a combination of the above metal elements; or the like.
  • tantalum nitride titanium nitride, tungsten nitride, a nitride containing titanium and aluminum, a nitride containing tantalum and aluminum, ruthenium oxide, ruthenium nitride, an oxide containing strontium and ruthenium, an oxide containing lanthanum and nickel, or the like.
  • Tantalum nitride, titanium nitride, a nitride containing titanium and aluminum, a nitride containing tantalum and aluminum, ruthenium oxide, ruthenium nitride, an oxide containing strontium and ruthenium, and an oxide containing lanthanum and nickel are preferable because they are conductive materials that are not easily oxidized or materials that maintain the conductivity even when absorbing oxygen.
  • a semiconductor having high electric conductivity, typified by polycrystalline silicon containing an impurity element such as phosphorus, or silicide such as nickel silicide may be used.
  • a stack including a plurality of conductive layers formed of the above materials may be used.
  • a stacked-layer structure combining a material containing the above metal element and a conductive material containing oxygen may be employed.
  • a stacked-layer structure combining a material containing the above metal element and a conductive material containing nitrogen may be employed.
  • a stacked-layer structure combining a material containing the above metal element, a conductive material containing oxygen, and a conductive material containing nitrogen may be employed.
  • a stacked-layer structure combining a material containing the above metal element and a conductive material containing oxygen is preferably used for the conductor functioning as the gate electrode.
  • the conductive material containing oxygen is preferably provided on the channel formation region side.
  • a conductive material containing oxygen and a metal element contained in a metal oxide where the channel is formed is particularly preferable to use, for the conductor functioning as the gate electrode.
  • a conductive material containing the above metal element and nitrogen may be used.
  • a conductive material containing nitrogen such as titanium nitride or tantalum nitride, may be used.
  • indium tin oxide, indium oxide containing tungsten oxide, indium zinc oxide containing tungsten oxide, indium oxide containing titanium oxide, indium tin oxide containing titanium oxide, indium zinc oxide, or indium tin oxide to which silicon is added may be used.
  • indium gallium zinc oxide containing nitrogen may be used.
  • a metal oxide functioning as an oxide semiconductor is preferably used.
  • a metal oxide that can be used for the oxide 230 of the present invention is described below.
  • the metal oxide preferably contains at least indium or zinc.
  • indium and zinc are preferably contained.
  • gallium, yttrium, tin, or the like is preferably contained in addition to them.
  • one or more kinds selected from boron, titanium, iron, nickel, germanium, zirconium, molybdenum, lanthanum, cerium, neodymium, hafnium, tantalum, tungsten, magnesium, and the like may be contained.
  • the metal oxide is an In-M-Zn oxide containing indium, the element M, and zinc is considered.
  • the element M is aluminum, gallium, yttrium, or tin.
  • other elements that can be used as the element M include boron, titanium, iron, nickel, germanium, zirconium, molybdenum, lanthanum, cerium, neodymium, hafnium, tantalum, tungsten, and magnesium. Note that it is sometimes acceptable to use a plurality of the above-described elements in combination as the element M.
  • a metal oxide containing nitrogen is also referred to as a metal oxide in some cases.
  • a metal oxide containing nitrogen may be referred to as a metal oxynitride.
  • Oxide semiconductors can be classified into a single crystal oxide semiconductor and a non-single-crystal oxide semiconductor.
  • a non-single-crystal oxide semiconductor include a CAAC-OS, a polycrystalline oxide semiconductor, an nc-OS (nanocrystalline oxide semiconductor), an amorphous-like oxide semiconductor (a-like OS), and an amorphous oxide semiconductor.
  • the CAAC-OS has c-axis alignment, a plurality of nanocrystals are connected in the a-b plane direction, and its crystal structure has distortion.
  • the distortion refers to a portion where the direction of a lattice arrangement changes between a region with a regular lattice arrangement and another region with a regular lattice arrangement in a region where the plurality of nanocrystals are connected.
  • the nanocrystal is basically a hexagon but is not always a regular hexagon and is a non-regular hexagon in some cases. Furthermore, a pentagonal or heptagonal lattice arrangement, for example, is included in the distortion in some cases. Note that it is difficult to observe a clear crystal grain boundary (also referred to as grain boundary) even in the vicinity of distortion in the CAAC-OS. That is, formation of a crystal grain boundary is inhibited by the distortion of a lattice arrangement. This is because the CAAC-OS can tolerate distortion owing to a low density of arrangement of oxygen atoms in the a-b plane direction, an interatomic bond length changed by substitution of a metal element, and the like.
  • the CAAC-OS tends to have a layered crystal structure (also referred to as a layered structure) in which a layer containing indium and oxygen (hereinafter, an In layer) and a layer containing the element M, zinc, and oxygen (hereinafter, an (M, Zn) layer) are stacked.
  • a layer containing indium and oxygen hereinafter, an In layer
  • a layer containing the element M, zinc, and oxygen hereinafter, an (M, Zn) layer
  • indium and the element M can be replaced with each other
  • the layer can also be referred to as an (In, M, Zn) layer.
  • the layer can also be referred to as an (In, M) layer.
  • the CAAC-OS is a metal oxide with high crystallinity.
  • a reduction in electron mobility due to a crystal grain boundary is less likely to occur because it is difficult to observe a clear crystal grain boundary. Entry of impurities, formation of defects, or the like might decrease the crystallinity of a metal oxide, which means that the CAAC-OS is a metal oxide having small amounts of impurities and defects (e.g., oxygen vacancies).
  • a metal oxide including a CAAC-OS is physically stable. Therefore, the metal oxide including a CAAC-OS is resistant to heat and has high reliability.
  • nc-OS In the nc-OS, a microscopic region (e.g., a region with a size greater than or equal to 1 nm and less than or equal to 10 nm, in particular, a region with a size greater than or equal to 1 nm and less than or equal to 3 nm) has a periodic atomic arrangement. Furthermore, there is no regularity of crystal orientation between different nanocrystals in the nc-OS. Thus, the orientation in the whole film is not observed. Accordingly, the nc-OS cannot be distinguished from an a-like OS or an amorphous oxide semiconductor by some analysis methods.
  • an In—Ga—Zn oxide (hereinafter, IGZO) that is a kind of metal oxide containing indium, gallium, and zinc has a stable structure in some cases by being formed of the above-described nanocrystals.
  • crystals of IGZO tend not to grow in the air and thus, a stable structure is obtained when IGZO is formed of smaller crystals (e.g., the above-described nanocrystals) rather than larger crystals (here, crystals with a size of several millimeters or several centimeters).
  • An a-like OS is a metal oxide having a structure between those of the nc-OS and an amorphous oxide semiconductor.
  • the a-like OS includes a void or a low-density region. That is, the a-like OS has low crystallinity compared with the nc-OS and the CAAC-OS.
  • An oxide semiconductor can have various structures which show different properties. Two or more of the amorphous oxide semiconductor, the polycrystalline oxide semiconductor, the a-like OS, the nc-OS, and the CAAC-OS may be included in an oxide semiconductor of one embodiment of the present invention.
  • the above-described defect states may include a trap state. Charges trapped by the trap states in the metal oxide take a long time to be released and may behave like fixed charges. Thus, a transistor whose channel formation region includes a metal oxide having a high density of trap states has unstable electrical characteristics in some cases.
  • the crystallinity of the channel formation region may decrease, and the crystallinity of an oxide provided in contact with the channel formation region may decrease.
  • Low crystallinity of the channel formation region tends to result in deterioration in stability or reliability of the transistor.
  • the crystallinity of the oxide provided in contact with the channel formation region is low, an interface state may be formed and the stability or reliability of the transistor may deteriorate.
  • impurities include hydrogen, nitrogen, an alkali metal, an alkaline earth metal, iron, nickel, and silicon.
  • the concentration of the above impurities obtained by SIMS is lower than or equal to 1 ⁇ 10 18 atoms/cm 3 , preferably lower than or equal to 2 ⁇ 10 16 atoms/cm 3 in and around the channel formation region of the oxide semiconductor.
  • the concentration of the above impurities obtained by element analysis using energy dispersive X-ray spectroscopy (EDX) is lower than or equal to 1.0 atomic % in and around the channel formation region of the oxide semiconductor.
  • the concentration ratio of the impurities to the element M is lower than 0.10, preferably lower than 0.05 in and around the channel formation region of the oxide semiconductor.
  • the concentration of the element M used in the calculation of the concentration ratio may be a concentration in a region whose concertation of the impurities is calculated or may be a concentration in the oxide semiconductor.
  • a metal oxide with a low impurity concentration has a low density of defect states and thus has a low density of trap states in some cases.
  • the transistor 200 preferably includes an oxide 243 (an oxide 243 a and an oxide 243 b ) having a function of inhibiting passage of oxygen, between the conductor 242 (the conductor 242 a and the conductor 242 b ) and the oxide 230 . It is preferable to provide the oxide 243 having a function of inhibiting passage of oxygen between the oxide 230 b and the conductor 242 which functions as the source electrode and the drain electrode, in which case the electrical resistance between the conductor 242 and the oxide 230 b is reduced. Such a structure can improve the electrical characteristics of the transistor 200 and the reliability of the transistor 200 .
  • a metal oxide containing the element M may be used for the oxide 243 .
  • aluminum, gallium, yttrium, or tin is preferably used as the element M
  • the concentration of the element M in the oxide 243 is preferably higher than that in the oxide 230 b .
  • gallium oxide may be used for the oxide 243 .
  • a metal oxide such as an In-M-Zn oxide may be used for the oxide 243 .
  • the atomic ratio of the element M to In in the metal oxide used for the oxide 243 is preferably greater than the atomic ratio of the element M to In in the metal oxide used for the oxide 230 b .
  • the thickness of the oxide 243 is preferably larger than or equal to 0.5 nm and smaller than or equal to 5 nm, further preferably larger than or equal to 1 nm and smaller than or equal to 3 nm, still further preferably larger than or equal to 1 nm and smaller than or equal to 2 nm.
  • the oxide 243 preferably has crystallinity. In the case where the oxide 243 has crystallinity, release of oxygen from the oxide 230 can be favorably suppressed. When the oxide 243 has a hexagonal crystal structure, for example, release of oxygen from the oxide 230 can sometimes be inhibited.
  • the hydrogen concentration of the oxide 230 can be reduced. Accordingly, the transistor 200 can have favorable electrical characteristics and reliability.
  • a semiconductor device with high reliability can be provided.
  • a semiconductor device having favorable electrical characteristics can be provided.
  • a semiconductor device that can be miniaturized or highly integrated can be provided.
  • a semiconductor device with low power consumption can be provided.
  • a of each drawing is a top view.
  • B of each drawing is a cross-sectional view corresponding to a portion indicated by dashed-dotted line A 1 -A 2 in A, and is also a cross-sectional view of the transistor 200 in the channel length direction.
  • C of each drawing is a cross-sectional view corresponding to a portion indicated by dashed-dotted line A 3 -A 4 in A, and is also a cross-sectional view of the transistor 200 in the channel width direction. Note that for simplification of the drawing, some components are not illustrated in the top view of A of each drawing.
  • a substrate (not shown) is prepared, and the insulator 214 is deposited over the substrate.
  • the insulator 214 can be deposited by a sputtering method, a chemical vapor deposition (CVD) method, a molecular beam epitaxy (MBE) method, a pulsed laser deposition (PLD) method, an ALD method, or the like.
  • the CVD method can be classified into a plasma enhanced CVD (PECVD) method using plasma, a thermal CVD (TCVD) method using heat, a photo CVD method using light, and the like.
  • the CVD method can be classified into a metal CVD (MCVD) method and a metal organic CVD (MOCVD) method depending on a source gas to be used.
  • a thermal CVD method is a deposition method that does not use plasma and thus enables less plasma damage to an object to be processed.
  • a wiring, an electrode, an element (e.g., a transistor and a capacitor), and the like included in a semiconductor device might be charged up by receiving electric charge from plasma. In that case, accumulated electric charge might break the wiring, the electrode, the element, and the like included in the semiconductor device.
  • plasma damage does not occur in the case of a thermal CVD method that does not use plasma, and thus the yield of the semiconductor device can be increased.
  • the thermal CVD method does not cause plasma damage during deposition, so that a film with few defects can be obtained.
  • the ALD method In an ALD method, one atomic layer can be deposited at a time using self-regulating characteristics of atoms.
  • the ALD method has advantages such as deposition of an extremely thin film, deposition on a component with a high aspect ratio, deposition of a film with a small number of defects such as pinholes, deposition with good coverage, and low-temperature deposition.
  • the ALD method includes a PEALD (Plasma Enhanced ALD) method using plasma. The use of plasma is sometimes preferable because deposition at lower temperature is possible.
  • PEALD Laser Enhanced ALD
  • the use of plasma is sometimes preferable because deposition at lower temperature is possible.
  • a precursor used in the ALD method sometimes contains impurities such as carbon.
  • a film provided by the ALD method contains impurities such as carbon in a larger amount than a film provided by another deposition method.
  • impurities can be quantified by X-ray photoelectron spectroscopy (XPS).
  • a CVD method and an ALD method are deposition methods in which a film is formed by reaction at a surface of an object.
  • a CVD method and an ALD method are deposition methods that enable favorable step coverage almost regardless of the shape of an object.
  • an ALD method enables excellent step coverage and excellent thickness uniformity and can be suitably used to cover a surface of an opening portion with a high aspect ratio, for example.
  • an ALD method has a relatively low deposition rate, and thus is preferably used in combination with another deposition method with a high deposition rate, such as a CVD method, in some cases.
  • Each of a CVD method and an ALD method enables the composition of a film that is to be deposited to be controlled with a flow rate ratio of source gases.
  • a CVD method or an ALD method a film with a certain composition can be formed depending on the flow rate ratio of the source gases.
  • a CVD method or an ALD method by changing the flow rate ratio of the source gases while forming a film, a film whose composition is continuously changed can be formed.
  • time taken for the film formation can be shortened because time taken for transfer and pressure adjustment is not required.
  • the productivity of the semiconductor device can be increased in some cases.
  • the insulator 214 aluminum oxide is deposited by a sputtering method.
  • the insulator 214 may have a multilayer structure.
  • the insulator 216 is deposited over the insulator 214 .
  • the insulator 216 can be deposited by a sputtering method, a CVD method, an MBE method, a PLD method, an ALD method, or the like.
  • silicon oxynitride is deposited by a CVD method.
  • an opening reaching the insulator 214 is formed in the insulator 216 .
  • a groove and a slit, for example, are included in the category of the opening.
  • a region where an opening is formed may be referred to as an opening portion.
  • Wet etching can be used for the formation of the opening; however, dry etching is preferably used for microfabrication.
  • As the insulator 214 it is preferable to select an insulator that functions as an etching stopper film used in forming the groove by etching the insulator 216 .
  • silicon oxynitride is used for the insulator 216 in which the groove is to be formed
  • silicon nitride, aluminum oxide, or hafnium oxide is preferably used for the insulator 214 .
  • a capacitively coupled plasma (CCP) etching apparatus including parallel plate electrodes can be used as a dry etching apparatus.
  • the capacitively coupled plasma etching apparatus including the parallel plate electrodes may have a structure in which a high-frequency voltage is applied to one of the parallel plate electrodes.
  • a structure may be employed in which different high-frequency voltages are applied to one of the parallel plate electrodes.
  • a structure may be employed in which high-frequency voltages with the same frequency are applied to the parallel plate electrodes.
  • a structure may be employed in which high-frequency voltages with different frequencies are applied to the parallel plate electrodes.
  • a dry etching apparatus including a high-density plasma source can be used.
  • an inductively coupled plasma (ICP) etching apparatus or the like can be used, for example.
  • ICP inductively coupled plasma
  • the conductive film preferably includes a conductor having a function of inhibiting passage of oxygen.
  • a conductor having a function of inhibiting passage of oxygen For example, tantalum nitride, tungsten nitride, or titanium nitride can be used.
  • a stacked-layer film of the conductor having a function of inhibiting passage of oxygen and tantalum, tungsten, titanium, molybdenum, aluminum, copper, or a molybdenum-tungsten alloy can be used.
  • the conductive film can be deposited by a sputtering method, a CVD method, an MBE method, a PLD method, an ALD method, or the like.
  • a tantalum nitride film or a film in which titanium nitride is stacked over tantalum nitride is formed by a sputtering method.
  • a conductive film to be the second conductor of the conductor 205 is deposited over the conductive film to be the first conductor of the conductor 205 .
  • the conductive film can be deposited by a plating method, a sputtering method, a CVD method, an MBE method, a PLD method, an ALD method, or the like. In this embodiment, tungsten is deposited for the conductive film.
  • CMP Chemical Mechanical Polishing
  • part of the second conductor of the conductor 205 may be removed, a groove may be formed in the second conductor of the conductor 205 , a conductive film may be deposited over the conductor 205 and the insulator 216 so as to fill the groove, and CMP treatment may be performed. By the CMP treatment, part of the conductive film is removed to expose the insulator 216 . Note that part of the second conductor of the conductor 205 is preferably removed by a dry etching method or the like.
  • the conductor 205 including the conductive film which has a flat top surface, can be formed.
  • the improvement in planarity of the top surfaces of the insulator 216 and the conductor 205 can improve crystallinity of the oxide 230 a , the oxide 230 b , and the oxide 230 c .
  • the conductive film is preferably formed using a material similar to that for the first conductor of the conductor 205 or the second conductor of the conductor 205 .
  • a conductive film to be the conductor 205 is deposited over the insulator 214 .
  • the conductive film to be the conductor 205 can be deposited by a sputtering method, a CVD method, an MBE method, a PLD method, an ALD method, or the like.
  • the conductive film to be the conductor 205 can be a multilayer film. For example, tungsten is preferably deposited as the conductive film to be the conductor 205 .
  • the conductive film to be the conductor 205 is processed by a lithography method, so that the conductor 205 is formed.
  • a resist is exposed to light through a mask.
  • a region exposed to light is removed or left using a developer, so that a resist mask is formed.
  • etching treatment through the resist mask is conducted, whereby a conductor, a semiconductor, an insulator, or the like can be processed into a desired shape.
  • the resist mask is formed by, for example, exposure of the resist to light such as KrF excimer laser light, ArF excimer laser light, EUV (Extreme Ultraviolet) light, or the like.
  • a liquid immersion technique may be employed in which a gap between a substrate and a projection lens is filled with liquid (e.g., water) in light exposure.
  • an electron beam or an ion beam may be used instead of the light.
  • a mask is unnecessary in the case of using an electron beam or an ion beam.
  • the resist mask can be removed by dry etching treatment such as ashing, wet etching treatment, wet etching treatment after dry etching treatment, or dry etching treatment after wet etching treatment.
  • a hard mask formed of an insulator or a conductor may be used instead of the resist mask.
  • a hard mask with a desired shape can be formed by forming an insulating film or a conductive film to be a hard mask material over the conductive film to be the conductor 205 , forming a resist mask thereover, and then etching the hard mask material.
  • the etching of the conductive film to be the conductor 205 may be performed after removal of the resist mask or with the resist mask remaining. In the latter case, the resist mask sometimes disappears during the etching.
  • the hard mask may be removed by etching after the etching of the conductive film to be the conductor 205 . Meanwhile, the hard mask is not necessarily removed when the hard mask material does not affect the following process or can be utilized in the following process.
  • an insulating film to be the insulator 216 is formed over the insulator 214 and the conductor 205 .
  • the insulating film is formed to be in contact with the top surface and side surface of the conductor 205 .
  • the insulating film can be deposited by a sputtering method, a CVD method, an MBE method, a PLD method, an ALD method, or the like.
  • the thickness of the insulating film to be the insulator 216 is preferably greater than or equal to the thickness of the conductor 205 .
  • the thickness of the insulating film to be the insulator 216 is greater than or equal to 1 and less than or equal to 3.
  • CMP treatment is performed on the insulating film to be the insulator 216 , so that part of the insulating film to be the insulator 216 is removed and a surface of the conductor 205 is exposed.
  • the conductor 205 and the insulator 216 whose top surfaces are flat can be formed. The above is the different formation method of the conductor 205 .
  • the insulator 222 is deposited over the insulator 216 and the conductor 205 .
  • the insulator 222 can be deposited by a sputtering method, a CVD method, an MBE method, a PLD method, an ALD method, or the like.
  • hafnium oxide or aluminum oxide is deposited as the insulator 222 by an ALD method.
  • heat treatment is preferably performed.
  • the heat treatment is performed at a temperature higher than or equal to 250° C. and lower than or equal to 650° C., preferably higher than or equal to 300° C. and lower than or equal to 500° C., further preferably higher than or equal to 320° C. and lower than or equal to 450° C.
  • the heat treatment is performed in a nitrogen gas or inert gas atmosphere, or an atmosphere containing an oxidizing gas at 10 ppm or more, 1% or more, or 10% or more.
  • the heat treatment may be performed under reduced pressure.
  • the heat treatment may be performed in such a manner that heat treatment is performed in a nitrogen gas or inert gas atmosphere, and then another heat treatment is performed in an atmosphere containing an oxidizing gas at 10 ppm or more, 1% or more, or 10% or more in order to compensate for released oxygen.
  • the heat treatment is performed in such a manner that treatment is performed at 400° C. in a nitrogen atmosphere for one hour after the deposition of the insulator 222 , and then another treatment is successively performed at 400° C. in an oxygen atmosphere for one hour.
  • impurities such as water and hydrogen contained in the insulator 222 can be removed, for example.
  • the heat treatment can also be performed after the deposition of the insulator 224 , for example.
  • the insulator 224 is deposited over the insulator 222 .
  • the insulator 224 can be deposited by a sputtering method, a CVD method, an MBE method, a PLD method, an ALD method, or the like.
  • a silicon oxynitride film is deposited by a CVD method.
  • plasma treatment containing oxygen may be performed under reduced pressure so that an excess-oxygen region can be formed in the insulator 224 .
  • an apparatus including a power source for generating high-density plasma using microwaves is preferably used, for example.
  • a power source for applying an RF (Radio Frequency) to a substrate side may be included.
  • the use of high-density plasma enables high-density oxygen radicals to be produced, and RF application to the substrate side allows the oxygen radicals generated by the high-density plasma to be efficiently introduced into the insulator 224 .
  • plasma treatment containing oxygen may be performed to compensate for released oxygen. Note that impurities such as water and hydrogen contained in the insulator 224 can be removed by selecting the conditions for the plasma treatment appropriately. In that case, the heat treatment does not need to be performed.
  • the aluminum oxide may be subjected to CMP treatment until the insulator 224 is reached.
  • the CMP treatment can planarize and smooth the surface of the insulator 224 .
  • part of the insulator 224 is polished by the CMP treatment and the thickness of the insulator 224 is reduced in some cases, the thickness can be adjusted when the insulator 224 is deposited.
  • Planarizing and smoothing the surface of the insulator 224 can prevent deterioration of the coverage with an oxide deposited later and a decrease in the yield of the semiconductor device in some cases.
  • the deposition of aluminum oxide over the insulator 224 by a sputtering method is preferred because oxygen can be added to the insulator 224 .
  • an oxide film 230 A and an oxide film 230 B are deposited in this order over the insulator 224 (see FIG. 3 ). Note that it is preferable to deposit the oxide film 230 A and the oxide film 230 B successively without exposure to the air. By the deposition without exposure to the air, impurities or moisture from the atmospheric environment can be prevented from being attached onto the oxide film 230 A and the oxide film 230 B, so that the vicinity of the interface between the oxide film 230 A and the oxide film 230 B can be kept clean.
  • the oxide film 230 A and the oxide film 230 B can be deposited by a sputtering method, a CVD method, an MBE method, a PLD method, an ALD method, or the like.
  • the oxide film 230 A and the oxide film 230 B are deposited by a sputtering method
  • oxygen or a mixed gas of oxygen and a rare gas is used as a sputtering gas.
  • Increasing the proportion of oxygen contained in the sputtering gas can increase the amount of excess oxygen in the deposited oxide films.
  • the oxide films are deposited by a sputtering method, the above In-M-Zn oxide target or the like can be used.
  • the proportion of oxygen contained in the sputtering gas is higher than or equal to 70%, preferably higher than or equal to 80%, further preferably 100%.
  • the oxide film 230 B is formed by a sputtering method and the proportion of oxygen contained in the sputtering gas for deposition is higher than 30% and lower than or equal to 100%, preferably higher than or equal to 70% and lower than or equal to 100%, an oxygen-excess oxide semiconductor is formed.
  • a transistor using an oxygen-excess oxide semiconductor for its channel formation region relatively high reliability can be obtained. Note that one embodiment of the present invention is not limited thereto.
  • the oxide film 230 B is formed by a sputtering method and the proportion of oxygen contained in the sputtering gas for deposition is higher than or equal to 1% and lower than or equal to 30%, preferably higher than or equal to 5% and lower than or equal to 20%, an oxygen-deficient oxide semiconductor is formed.
  • a transistor using an oxygen-deficient oxide semiconductor for its channel formation region can have relatively high field-effect mobility. Furthermore, when the deposition is performed while the substrate is heated, the crystallinity of the oxide film can be improved.
  • the insulator 222 , the insulator 224 , the oxide film 230 A, and the oxide film 230 B are preferably deposited without exposure to the air.
  • a multi-chamber deposition apparatus is used.
  • heat treatment may be performed.
  • the above-described heat treatment conditions can be used.
  • impurities such as water and hydrogen in the oxide film 230 A and the oxide film 230 B can be removed, for example.
  • treatment is performed at 400° C. in a nitrogen atmosphere for one hour, and treatment is successively performed at 400° C. in an oxygen atmosphere for one hour.
  • the conductive film 242 A is deposited over the oxide film 230 B.
  • the conductive film 242 A can be deposited by a sputtering method, a CVD method, an MBE method, a PLD method, an ALD method, or the like (see FIG. 3 ).
  • heat treatment may be performed before the deposition of the conductive film 242 A. This heat treatment may be performed under reduced pressure, and the conductive film 242 A may be successively deposited without exposure to the air.
  • the treatment can remove moisture and hydrogen adsorbed onto the surface of the oxide film 230 B and the like, and further can reduce the moisture concentration and the hydrogen concentration of the oxide film 230 A and the oxide film 230 B.
  • the heat treatment is preferably performed at a temperature higher than or equal to 100° C. and lower than or equal to 400° C. In this embodiment, the heat treatment is performed at 200° C.
  • the oxide film 230 A, the oxide film 230 B, and the conductive film 242 A are processed into island shapes to form the oxide 230 a , the oxide 230 b , and a conductive layer 242 B. Note that in this step, the thickness of the insulator 224 in a region that does not overlap with the oxide 230 a is reduced in some cases (see FIG. 4 ).
  • the oxide 230 a , the oxide 230 b , and the conductive layer 242 B are formed to at least partly overlap with the conductor 205 . It is preferable that the side surfaces of the oxide 230 a , the oxide 230 b , and the conductive layer 242 B be substantially perpendicular to a top surface of the insulator 224 . When the side surfaces of the oxide 230 a , the oxide 230 b , and the conductive layer 242 B are substantially perpendicular to the top surface of the insulator 224 , a plurality of transistors 200 can be provided in a smaller area and at a higher density.
  • a structure may be employed in which an angle formed by the side surfaces of the oxide 230 a , the oxide 230 b , and the conductive layer 242 B and the top surface of the insulator 224 is a small angle.
  • the angle formed by the side surfaces of the oxide 230 a , the oxide 230 b , and the conductive layer 242 B and the top surface of the insulator 224 is preferably greater than or equal to 60° and less than 70°.
  • a curved surface between the side surface of the conductive layer 242 B and a top surface of the conductive layer 242 B. That is, an end portion of the side surface and an end portion of the top surface are preferably curved.
  • the radius of curvature of the curved surface at the end portion of the conductive layer 242 B is greater than or equal to 3 nm and less than or equal to 10 nm, preferably greater than or equal to 5 nm and less than or equal to 6 nm, for example.
  • the oxide film 230 A, the oxide film 230 B, and the conductive film 242 A are processed by a lithography method.
  • a dry etching method or a wet etching method can be used for the processing. Processing by a dry etching method is suitable for microfabrication.
  • the oxide film 230 A, the oxide film 230 B, and the conductive film 242 A may be processed under different conditions.
  • an insulating film 254 A is deposited over the insulator 224 , the oxide 230 a , the oxide 230 b , and the conductive layer 242 B (see FIG. 5 ).
  • the insulating film 254 A can be deposited by a sputtering method, a CVD method, an MBE method, a PLD method, an ALD method, or the like.
  • a sputtering method a CVD method, an MBE method, a PLD method, an ALD method, or the like.
  • an insulating film having a function of inhibiting passage of oxygen is preferably used.
  • silicon nitride, silicon oxide, or aluminum oxide is deposited by a sputtering method.
  • an insulating film to be the insulator 280 is deposited over the insulating film 254 A.
  • the insulating film to be the insulator 280 can be deposited by a sputtering method, a CVD method, an MBE method, a PLD method, an ALD method, or the like.
  • a silicon oxide film is deposited by a CVD method or a sputtering method.
  • heat treatment may be performed before the deposition of the insulating film to be the insulator 280 .
  • the heat treatment may be performed under reduced pressure, and the insulating films may be successively formed without exposure to the air.
  • the treatment can remove moisture and hydrogen adsorbed onto the surface of the insulating film 254 A and the like, and further can reduce the moisture concentration and the hydrogen concentration of the oxide 230 a , the oxide 230 b , and the insulating film 254 A.
  • the conditions for the above-described heat treatment can be used.
  • the insulating film to be the insulator 280 may have a multilayer structure.
  • the insulating film to be the insulator 280 may have a structure in which a silicon oxide film is deposited by a sputtering method and another silicon oxide film is deposited thereover by a CVD method, for example.
  • the insulating film to be the insulator 280 is subjected to CMP treatment, so that the insulator 280 having a flat top surface is formed (see FIG. 5 ).
  • part of the insulator 280 , part of the insulating film 254 A, and part of the conductive layer 242 B are processed to form an opening reaching the oxide 230 b .
  • the opening is preferably formed to overlap with the conductor 205 .
  • the conductor 242 a , the conductor 242 b , and the insulator 254 are formed by the formation of the opening. At this time, the thickness of the oxide 230 b in a region overlapping with the opening may be reduced (see FIG. 6 ).
  • Part of the insulator 280 , part of the insulating film 254 A, and part of the conductive layer 242 B may be processed under different conditions.
  • part of the insulator 280 may be processed by a dry etching method
  • part of the insulating film 254 A may be processed by a wet etching method
  • part of the conductive layer 242 B may be processed by a dry etching method.
  • the impurities result from components contained in the insulator 280 , the insulating film 254 A, and the conductive layer 242 B; components contained in a member used in an apparatus used to form the opening; and components contained in a gas or a liquid used for etching, for instance.
  • the impurities include aluminum, silicon, tantalum, fluorine, and chlorine.
  • cleaning treatment may be performed.
  • the cleaning method include wet cleaning using a cleaning solution and the like, plasma treatment using plasma, and cleaning by heat treatment, and any of these cleanings may be performed in appropriate combination.
  • cleaning treatment may be performed using an aqueous solution in which ammonia water, oxalic acid, phosphoric acid, hydrofluoric acid, or the like is diluted with carbonated water or pure water; pure water; carbonated water; or the like.
  • aqueous solution in which ammonia water, oxalic acid, phosphoric acid, hydrofluoric acid, or the like is diluted with carbonated water or pure water; pure water; carbonated water; or the like.
  • ultrasonic cleaning using such an aqueous solution, pure water, or carbonated water may be performed.
  • cleaning methods may be performed in combination as appropriate.
  • heat treatment may be performed.
  • the heat treatment is preferably performed in an oxygen-containing atmosphere.
  • This heat treatment may be performed under reduced pressure, and an oxide film 230 C may be successively deposited without exposure to the air.
  • the treatment can remove moisture and hydrogen adsorbed onto the surface of the oxide 230 b and the like, and further can reduce the moisture concentration and the hydrogen concentration of the oxide 230 a and the oxide 230 b .
  • the heat treatment is preferably performed at a temperature higher than or equal to 100° C. and lower than or equal to 400° C. In this embodiment, the heat treatment is performed at 200° C. (see FIG. 7 ).
  • the oxide film 230 C can be deposited by a sputtering method, a CVD method, an MBE method, a PLD method, an ALD method, or the like.
  • the oxide film 230 C is deposited by a method similar to that for the oxide film 230 A or the oxide film 230 B in accordance with characteristics required for the oxide film 230 C.
  • the proportion of oxygen contained in the sputtering gas for the oxide film 230 C is preferably higher than or equal to 70%, further preferably higher than or equal to 80%, still further preferably 100%.
  • heat treatment may be performed.
  • Heat treatment may be performed under reduced pressure, and an insulating film 250 A may be successively deposited without exposure to the air.
  • the treatment can remove moisture and hydrogen adsorbed onto the surface of the oxide film 230 C and the like, and further can reduce the moisture concentration and the hydrogen concentration in the oxide 230 a , the oxide 230 b , and the oxide film 230 C.
  • the heat treatment is preferably performed at a temperature higher than or equal to 100° C. and lower than or equal to 400° C. (see FIG. 8 ).
  • the insulating film 250 A can be deposited by a sputtering method, a CVD method, an MBE method, a PLD method, an ALD method, or the like.
  • silicon oxynitride is deposited by a CVD method.
  • the deposition temperature at the time of the deposition of the insulating film 250 A is preferably higher than or equal to 350° C. to lower than 450° C., particularly preferably approximately 400° C.
  • an insulating film having few impurities can be deposited.
  • the oxide film 230 b and the oxide 230 C are preferably subjected to microwave-excited plasma treatment through the insulating film 250 A under an atmosphere containing oxygen.
  • an impurity in the insulating film 250 A such as hydrogen, water, or an impurity can be removed.
  • the insulating film 250 A can be modified into a film that inhibits diffusion of hydrogen, water, an impurity, or the like. Accordingly, hydrogen, water, or an impurity can be inhibited from being diffused into the oxide 230 through the insulator 250 in the following step such as deposition of a conductive film to be the conductor 260 or the following treatment such as heat treatment.
  • oxygen vacancies in the oxide 230 can be filled through the insulator 250 .
  • generation of electrons serving as carriers in the oxide 230 can be inhibited.
  • the microwave-excited plasma treatment is preferably performed under a condition of a high pressure.
  • the pressure during the microwave-excited plasma treatment is higher than or equal to 133 Pa, preferably higher than or equal to 200 Pa, further preferably higher than or equal to 400 Pa.
  • the oxygen flow rate ratio (O 2 /O 2 +Ar) is lower than or equal to 50%, preferably higher than or equal to 10% and lower than or equal to 30%.
  • the region in contact with the insulator 250 is to be a channel formation region, and thus, generation of electrons serving as carriers is preferably inhibited. Meanwhile, it is preferable that the resistance of regions in the oxide 230 in contact with the conductor 242 a and the conductor 242 b be reduced.
  • oxygen vacancies in the region of the oxide 230 in contact with the insulating film 250 A are filled by performing the microwave-excited plasma treatment.
  • the regions of the oxide 230 overlapping with the conductor 242 a and the conductor 242 b are not directly influenced by the microwave-excited plasma treatment in some cases because the microwave-excited plasma treatment is performed through other components such as the insulator 280 , the insulator 254 , the conductor 242 a , and the conductor 242 b . Therefore, it is highly probable that oxygen vacancies in the regions of the oxide 230 in contact with the insulator 254 , the conductor 242 a , and the conductor 242 b are not filled.
  • the transistor 200 having favorable electrical characteristics can be provided.
  • a conductive film 260 A and a conductive film 260 B are deposited in this order.
  • the conductive film 260 A and the conductive film 260 B can be deposited by a sputtering method, a CVD method, an MBE method, a PLD method, an ALD method, or the like.
  • the conductive film 260 A is deposited by an ALD method
  • the conductive film 260 B is deposited by a CVD method (see FIG. 9 ).
  • the oxide film 230 C, the insulating film 250 A, the conductive film 260 A, and the conductive film 260 B are polished by CMP treatment until the insulator 280 is exposed, whereby the oxide 230 c , the insulator 250 , and the conductor 260 (the conductor 260 a and the conductor 260 b ) are formed (see FIG. 10 ). Accordingly, the oxide 230 c is positioned to cover the inner wall (the side wall and bottom surface) of the opening reaching the oxide 230 b .
  • the insulator 250 is positioned to cover the inner wall of the opening with the oxide 230 c therebetween.
  • the conductor 260 is positioned to fill the opening with the oxide 230 c and the insulator 250 therebetween.
  • heat treatment may be performed.
  • treatment is performed at 400° C. in a nitrogen atmosphere for one hour.
  • the heat treatment can reduce the moisture concentration and the hydrogen concentration of the insulator 250 and the insulator 280 .
  • the insulator 274 is deposited over the oxide 230 c , the insulator 250 , the conductor 260 , and the insulator 280 .
  • the insulator 274 can be deposited by a sputtering method, a CVD method, an MBE method, a PLD method, an ALD method, or the like.
  • An aluminum oxide film or a silicon nitride film is preferably deposited as the insulator 274 by a sputtering method, for example.
  • diffusion of hydrogen contained in the insulator 281 into the oxide 230 can be inhibited.
  • Forming the insulator 274 to be in contact with the conductor 260 is preferable, in which case oxidation of the conductor 260 can be inhibited.
  • oxygen can be supplied to the insulator 280 .
  • Oxygen supplied to the insulator 280 is sometimes supplied to the channel formation region included in the oxide 230 b through the oxide 230 c .
  • oxygen that is contained in the insulator 280 before the formation of the insulator 274 may be supplied to the channel formation region included in the oxide 230 b through the oxide 230 c.
  • the insulator 274 may have a multilayer structure.
  • a structure may be employed in which an aluminum oxide film is deposited by a sputtering method and silicon nitride is deposited over the aluminum oxide film by a sputtering method.
  • heat treatment may be performed.
  • the conditions for the above-described heat treatment can be used.
  • the heat treatment can reduce the moisture concentration and the hydrogen concentration of the insulator 280 .
  • oxygen contained in the insulator 274 can be injected into the insulator 280 .
  • the following steps may be performed: first, an aluminum oxide film is deposited over the insulator 280 and the like by a sputtering method, heat treatment is performed under the above heat treatment conditions, and then the aluminum oxide film is removed by CMP treatment. Through these steps, a larger number of excess-oxygen regions can be formed in the insulator 280 . Note that in these steps, part of the insulator 280 , part of the conductor 260 , part of the insulator 250 , and part of the oxide 230 c are removed in some cases.
  • An insulator may be provided between the insulator 280 and the insulator 274 .
  • the insulator silicon oxide deposited by a sputtering method can be used, for example. Providing the insulator can form an excess-oxygen region in the insulator 280 .
  • the insulator 281 may be deposited over the insulator 274 .
  • the insulator 281 can be deposited by a sputtering method, a CVD method, an MBE method, a PLD method, an ALD method, or the like (see FIG. 10 ).
  • openings that reach the conductor 242 a and the conductor 242 b are formed in the insulator 254 , the insulator 280 , the insulator 274 , and the insulator 281 .
  • the openings are formed by a lithography method.
  • an insulating film to be the insulator 241 is deposited and the insulating film is subjected to anisotropic etching, so that the insulator 241 is formed.
  • the insulating film can be deposited by a sputtering method, a CVD method, an MBE method, a PLD method, an ALD method, or the like.
  • an insulating film having a function of inhibiting passage of oxygen is preferably used.
  • an aluminum oxide film is preferably deposited by an ALD method.
  • a silicon nitride film may be deposited by an ALD method or a CVD method.
  • a dry etching method or the like is employed, for example.
  • a dry etching method or the like is employed, for example.
  • passage of oxygen from the outside can be inhibited and oxidation of the conductor 240 a and the conductor 240 b to be formed next can be prevented.
  • impurities such as water and hydrogen can be prevented from diffusing from the conductor 240 a and the conductor 240 b into the outside.
  • the conductive film desirably has a stacked-layer structure that includes a conductor having a function of inhibiting diffusion of impurities such as water and hydrogen.
  • a stack of tantalum nitride, titanium nitride, or the like and tungsten, molybdenum, copper, or the like can be employed.
  • the conductive film can be deposited by a sputtering method, a CVD method, an MBE method, a PLD method, an ALD method, or the like.
  • CMP treatment is performed, thereby removing part of the conductive film to be the conductor 240 a and the conductor 240 b to expose the insulator 281 .
  • the conductive film remains only in the openings, so that the conductor 240 a and the conductor 240 b having flat top surfaces can be formed (see FIG. 1 ).
  • the insulator 281 is partly removed by the CMP treatment in some cases.
  • the semiconductor device including the transistor 200 illustrated in FIG. 1 can be manufactured.
  • a semiconductor device with high reliability can be provided.
  • a semiconductor device having favorable electrical characteristics can be provided.
  • a semiconductor device with a high on-state current can be provided.
  • a semiconductor device that can be miniaturized or highly integrated can be provided.
  • a semiconductor device with low power consumption can be provided.
  • FIG. 11 and FIG. 12 one embodiment of a semiconductor device is described with reference to FIG. 11 and FIG. 12 .
  • FIG. 11 illustrates an example of a semiconductor device (memory device) in which a capacitor of one embodiment of the present invention is used.
  • the transistor 200 is provided above a transistor 300
  • a capacitor 100 is provided above the transistor 200 .
  • At least part of the capacitor 100 or the transistor 300 preferably overlaps with the transistor 200 . Accordingly, an area occupied by the capacitor 100 , the transistor 200 , and the transistor 300 in a top view can be reduced, whereby the semiconductor device of this embodiment can be miniaturized or highly integrated.
  • the semiconductor device of this embodiment can be applied to logic circuits typified by a CPU (Central Processing Unit) and a GPU (Graphics Processing Unit) and memory circuits typified by a DRAM (Dynamic Random Access Memory) and an NVM (Non-Volatile Memory), for example.
  • a CPU Central Processing Unit
  • GPU Graphics Processing Unit
  • memory circuits typified by a DRAM (Dynamic Random Access Memory) and an NVM (Non-Volatile Memory), for example.
  • DRAM Dynamic Random Access Memory
  • NVM Non-Volatile Memory
  • the transistor 200 described in the above embodiment can be used as the transistor 200 . Therefore, for the transistor 200 and layers including the transistor 200 , the description in the above embodiment can be referred to.
  • the transistor 200 is a transistor whose channel is formed in a semiconductor layer containing an oxide semiconductor. Since the transistor 200 has a low off-state current, a memory device including the transistor 200 can retain stored data for a long time. In other words, such a memory device does not require refresh operation or has an extremely low frequency of the refresh operation, which leads to a sufficient reduction in power consumption of the memory device.
  • the transistor 200 exhibits favorable electrical characteristics at high temperatures, in comparison with a transistor including silicon in a semiconductor layer. For example, the transistor 200 has favorable electrical characteristics even in the temperature range of 125° C. to 150° C. Moreover, the transistor 200 has an on/off ratio of 10 digits or larger in the temperature range of 125° C. to 150° C. In other words, in comparison with a transistor including silicon in a semiconductor layer, the transistor 200 excels in characteristics such as on-state current and frequency characteristics at higher temperatures.
  • a wiring 1001 is electrically connected to a source of the transistor 300
  • a wiring 1002 is electrically connected to a drain of the transistor 300
  • a wiring 1007 is electrically connected to a gate of the transistor 300
  • a wiring 1003 is electrically connected to one of the source and the drain of the transistor 200
  • a wiring 1004 is electrically connected to the first gate of the transistor 200
  • a wiring 1006 is electrically connected to the second gate of the transistor 200 .
  • the other of the source and the drain of the transistor 200 is electrically connected to one electrode of the capacitor 100
  • a wiring 1005 is electrically connected to the other electrode of the capacitor 100 .
  • the semiconductor device illustrated in FIG. 11 has characteristics of being capable of retaining charge stored in the one electrode of the capacitor 100 by switching of the transistor 200 ; thus, writing, retention, and reading of data can be performed.
  • the transistor 200 is an element in which a back gate is provided in addition to the source, the gate (top gate), and the drain. That is, the transistor 200 is a four-terminal element; hence, its input and output can be controlled independently of each other in a simpler manner than that in two-terminal elements typified by MRAM (Magnetoresistive Random Access Memory) utilizing MTJ (Magnetic Tunnel Junction) properties, ReRAM (Resistive Random Access Memory), and phase-change memory.
  • MRAM Magnetic Tunnel Junction
  • ReRAM Resistive Random Access Memory
  • MRAM, ReRAM, and phase-change memory may change at the atomic level when data is rewritten.
  • data rewriting is performed by charging or discharging of electrons with the transistor and the capacitor; thus, the semiconductor device has characteristics such as high write endurance and a few structure changes.
  • a memory cell array can be formed.
  • the transistor 300 can be used for a read circuit, a driver circuit, or the like that is connected to the memory cell array.
  • the semiconductor device illustrated in FIG. 11 constitutes the memory cell array.
  • an operating frequency of 200 MHz or higher is achieved at a driving voltage of 2.5 V and an evaluation environment temperature ranging from ⁇ 40° C. to 85° C.
  • the transistor 300 is provided on a substrate 311 and includes a conductor 316 functioning as a gate electrode, an insulator 315 functioning as a gate insulator, a semiconductor region 313 that is part of the substrate 311 , and a low-resistance region 314 a and a low-resistance region 314 b functioning as a source region and a drain region.
  • the insulator 315 is placed over the semiconductor region 313 , and the conductor 316 is placed over the insulator 315 .
  • the transistors 300 formed in the same layer are electrically isolated from one another by an insulator 312 functioning as an element isolation insulating layer.
  • the insulator 312 can be formed using an insulator similar to an insulator 326 or the like described later.
  • the transistor 300 may be a p-channel transistor or an n-channel transistor.
  • a region of the semiconductor region 313 where a channel is formed, a region in the vicinity thereof, the low-resistance region 314 a and the low-resistance region 314 b functioning as the source region and the drain region, and the like preferably contain a semiconductor such as a silicon-based semiconductor, further preferably single crystal silicon.
  • the regions may be formed using a material containing Ge (germanium), SiGe (silicon germanium), GaAs (gallium arsenide), GaAlAs (gallium aluminum arsenide), or the like.
  • a structure may be employed in which silicon whose effective mass is controlled by applying stress to the crystal lattice and thereby changing the lattice spacing is used.
  • the transistor 300 may be an HEMT (High Electron Mobility Transistor) using GaAs and GaAlAs, or the like.
  • the low-resistance region 314 a and the low-resistance region 314 b contain an element that imparts n-type conductivity, such as arsenic or phosphorus, or an element that imparts p-type conductivity, such as boron, in addition to the semiconductor material used for the semiconductor region 313 .
  • the conductor 316 functioning as the gate electrode can be formed using a semiconductor material such as silicon containing an element that imparts n-type conductivity, such as arsenic or phosphorus, or an element that imparts p-type conductivity, such as boron, or using a conductive material such as a metal material, an alloy material, or a metal oxide material.
  • a semiconductor material such as silicon containing an element that imparts n-type conductivity, such as arsenic or phosphorus, or an element that imparts p-type conductivity, such as boron
  • a conductive material such as a metal material, an alloy material, or a metal oxide material.
  • the work function depends on a material of the conductor; thus, the threshold voltage can be adjusted by changing the material of the conductor. Specifically, it is preferable to use a material such as titanium nitride or tantalum nitride for the conductor. Moreover, in order to obtain both conductivity and embeddability, it is preferable to use stacked layers of metal materials such as tungsten and aluminum for the conductor, and it is particularly preferable to use tungsten in terms of heat resistance.
  • the semiconductor region 313 (part of the substrate 311 ) in which the channel is formed has a convex shape.
  • the conductor 316 is provided so as to cover a side surface and the top surface of the semiconductor region 313 with the insulator 315 positioned therebetween.
  • Such a transistor 300 is also referred to as a FIN-type transistor because it utilizes a convex portion of the semiconductor substrate.
  • an insulator functioning as a mask for forming the convex portion may be placed in contact with an upper portion of the convex portion.
  • a semiconductor film having a convex shape may be formed by processing an SOI substrate.
  • transistor 300 illustrated in FIG. 11 is an example and the structure is not limited thereto; an appropriate transistor is used in accordance with a circuit structure or a driving method.
  • the semiconductor device includes a stack of the transistor 300 and the transistor 200 .
  • the transistor 300 can be formed using a silicon-based semiconductor material
  • the transistor 200 can be formed using an oxide semiconductor. That is, in the semiconductor device in FIG. 11 , a silicon-based semiconductor material and an oxide semiconductor can be used in different layers.
  • the semiconductor device illustrated in FIG. 11 can be manufactured in a process similar to that employing a manufacturing apparatus that is used in the case of a silicon-based semiconductor material, and can be highly integrated.
  • the capacitor 100 includes an insulator 114 over an insulator 160 , an insulator 140 over the insulator 114 , a conductor 110 positioned in an opening formed in the insulator 114 and the insulator 140 , an insulator 130 over the conductor 110 and the insulator 140 , a conductor 120 over the insulator 130 , and an insulator 150 over the conductor 120 and the insulator 130 .
  • at least parts of the conductor 110 , the insulator 130 , and the conductor 120 are positioned in the opening formed in the insulator 114 and the insulator 140 .
  • the conductor 110 functions as a lower electrode of the capacitor 100
  • the conductor 120 functions as an upper electrode of the capacitor 100
  • the insulator 130 functions as a dielectric of the capacitor 100
  • the capacitor 100 has a structure in which the upper electrode and the lower electrode face each other with the dielectric positioned therebetween on a side surface as well as the bottom surface of the opening in the insulator 114 and the insulator 140 ; thus, the capacitance per unit area can be increased. Thus, the deeper the opening is, the larger the capacitance of the capacitor 100 can be. Increasing the capacitance per unit area of the capacitor 100 in this manner can promote miniaturization or higher integration of the semiconductor device.
  • An insulator that can be used for the insulator 280 can be used for the insulator 114 and the insulator 150 .
  • the insulator 140 preferably functions as an etching stopper at the time of forming the opening in the insulator 114 and is formed using an insulator that can be used for the insulator 214 .
  • the shape of the opening formed in the insulator 114 and the insulator 140 when seen from above may be a quadrangular shape, a polygonal shape other than a quadrangular shape, a polygonal shape with rounded corners, or a circular shape including an elliptical shape.
  • the area where the opening and the transistor 200 overlap with each other is preferably large in the top view. Such a structure can reduce the area occupied by the semiconductor device including the capacitor 100 and the transistor 200 .
  • the conductor 110 is provided in contact with the opening formed in the insulator 140 and the insulator 114 .
  • the top surface of the conductor 110 is preferably substantially level with the top surface of the insulator 140 .
  • a conductor 152 provided over the insulator 160 is in contact with the bottom surface of the conductor 110 .
  • the conductor 110 is preferably deposited by an ALD method, a CVD method, or the like; for example, a conductor that can be used for the conductor 205 is used.
  • the insulator 130 is positioned to cover the conductor 110 and the insulator 140 .
  • the insulator 130 is preferably deposited by an ALD method or a CVD method, for example.
  • the insulator 130 can be provided to have stacked layers or a single layer using, for example, silicon oxide, silicon oxynitride, silicon nitride oxide, silicon nitride, zirconium oxide, aluminum oxide, aluminum oxynitride, aluminum nitride oxide, aluminum nitride, hafnium oxide, hafnium oxynitride, hafnium nitride oxide, or hafnium nitride.
  • an insulating film in which zirconium oxide, aluminum oxide, and zirconium oxide are stacked in this order can be used, for example.
  • a material with high dielectric strength such as silicon oxynitride, or a high dielectric constant (high-k) material is preferably used.
  • a stacked-layer structure using a material with high dielectric strength and a high dielectric constant (high-k) material may be employed.
  • gallium oxide, hafnium oxide, zirconium oxide, an oxide containing aluminum and hafnium, an oxynitride containing aluminum and hafnium, an oxide containing silicon and hafnium, an oxynitride containing silicon and hafnium, a nitride containing silicon and hafnium, and the like can be given.
  • the use of such a high-k material can ensure sufficient capacitance of the capacitor 100 even when the insulator 130 has a large thickness. When the insulator 130 has a large thickness, leakage current generated between the conductor 110 and the conductor 120 can be inhibited.
  • Examples of the material with high dielectric strength include silicon oxide, silicon oxynitride, silicon nitride oxide, silicon nitride, silicon oxide to which fluorine is added, silicon oxide to which carbon is added, silicon oxide to which carbon and nitrogen are added, porous silicon oxide, and a resin.
  • silicon nitride (SiN x ) deposited by an ALD method silicon oxide (SiO x ) deposited by a PEALD method, and silicon nitride (SiN x ) deposited by an ALD method are stacked in this order.
  • the use of such an insulator with high dielectric strength can increase the dielectric strength and inhibit electrostatic breakdown of the capacitor 100 .
  • the conductor 120 is positioned to fill the opening formed in the insulator 140 and the insulator 114 .
  • the conductor 120 is electrically connected to the wiring 1005 through a conductor 112 and a conductor 153 .
  • the conductor 120 is preferably deposited by an ALD method, a CVD method, or the like and is formed using a conductor that can be used for the conductor 205 , for example.
  • the transistor 200 Since the transistor 200 has a structure in which an oxide semiconductor is used, the transistor 200 is highly compatible with the capacitor 100 . Specifically, since the transistor 200 containing an oxide semiconductor has a low off-state current, a combination of the transistor 200 and the capacitor 100 enables stored data to be retained for a long time.
  • Wiring layers provided with an interlayer film, a wiring, a plug, and the like may be provided between the structure bodies.
  • a plurality of wiring layers can be provided in accordance with the design.
  • a plurality of conductors functioning as plugs or wirings are collectively denoted by the same reference numeral in some cases.
  • a wiring and a plug electrically connected to the wiring may be a single component. That is, there are a case where part of a conductor functions as a wiring and a case where part of a conductor functions as a plug.
  • an insulator 320 , an insulator 322 , an insulator 324 , and the insulator 326 are stacked over the transistor 300 in this order as interlayer films.
  • a conductor 328 , a conductor 330 , and the like that are electrically connected to the conductor 153 functioning as a terminal are embedded in the insulator 320 , the insulator 322 , the insulator 324 , and the insulator 326 .
  • the conductor 328 and the conductor 330 function as plugs or wirings.
  • the insulator functioning as an interlayer film may function as a planarization film that covers an uneven shape thereunder.
  • a top surface of the insulator 322 may be planarized by planarization treatment using a chemical mechanical polishing (CMP) method or the like to improve planarity.
  • CMP chemical mechanical polishing
  • a wiring layer may be provided over the insulator 326 and the conductor 330 .
  • an insulator 350 , an insulator 352 , and an insulator 354 are provided to be stacked in this order.
  • a conductor 356 is formed in the insulator 350 , the insulator 352 , and the insulator 354 .
  • the conductor 356 functions as a plug or a wiring.
  • An insulator 210 , an insulator 212 , the insulator 214 , and the insulator 216 are stacked in this order over the insulator 354 and the conductor 356 .
  • a conductor 218 , a conductor (the conductor 205 ) included in the transistor 200 , and the like are embedded in the insulator 210 , the insulator 212 , the insulator 214 , and the insulator 216 .
  • the conductor 218 functions as a plug or a wiring that is electrically connected to the transistor 300 .
  • the conductor 112 , conductors (the conductor 120 and the conductor 110 ) included in the capacitor 100 , and the like are embedded in the insulator 114 , the insulator 140 , the insulator 130 , the insulator 150 , and an insulator 154 .
  • the conductor 112 functions as a plug or a wiring that electrically connects the capacitor 100 , the transistor 200 , or the transistor 300 to the conductor 153 functioning as a terminal.
  • the conductor 153 is provided over the insulator 154 , and the conductor 153 is covered with an insulator 156 .
  • the conductor 153 is in contact with a top surface of the conductor 112 and functions as a terminal of the capacitor 100 , the transistor 200 , or the transistor 300 .
  • Examples of an insulator that can be used for an interlayer film include an oxide, a nitride, an oxynitride, a nitride oxide, a metal oxide, a metal oxynitride, and a metal nitride oxide, each of which has an insulating property.
  • an oxide a nitride, an oxynitride, a nitride oxide, a metal oxide, a metal oxynitride, and a metal nitride oxide, each of which has an insulating property.
  • a material with a low relative permittivity is used for the insulator functioning as an interlayer film, the parasitic capacitance generated between wirings can be reduced. Accordingly, a material is preferably selected depending on the function of an insulator.
  • the insulator 320 for the insulator 320 , the insulator 322 , the insulator 326 , the insulator 352 , the insulator 354 , the insulator 212 , the insulator 114 , the insulator 150 , the insulator 156 , and the like, an insulator with low relative permittivity is preferably used.
  • the insulators each preferably include silicon oxide, silicon oxynitride, silicon nitride oxide, silicon nitride, silicon oxide to which fluorine is added, silicon oxide to which carbon is added, silicon oxide to which carbon and nitrogen are added, porous silicon oxide, a resin, or the like.
  • the insulators each preferably have a stacked-layer structure of a resin and silicon oxide, silicon oxynitride, silicon nitride oxide, silicon nitride, silicon oxide to which fluorine is added, silicon oxide to which carbon is added, silicon oxide to which carbon and nitrogen are added, or porous silicon oxide.
  • silicon oxide or silicon oxynitride which is thermally stable, is combined with a resin
  • the stacked-layer structure can have thermal stability and a low relative permittivity.
  • the resin include polyester, polyolefin, polyamide (e.g., nylon and aramid), polyimide, polycarbonate, and acrylic.
  • the resistivity of an insulator provided over or under the conductor 152 or the conductor 153 be higher than or equal to 1.0 ⁇ 10 12 ⁇ cm and lower than or equal to 1.0 ⁇ 10 15 ⁇ cm, preferably higher than or equal to 5.0 ⁇ 10 12 ⁇ cm and lower than or equal to 1.0 ⁇ 10 14 ⁇ cm, further preferably higher than or equal to 1.0 ⁇ 10 13 ⁇ cm and lower than or equal to 5.0 ⁇ 10 13 ⁇ cm.
  • the resistivity of the insulator provided over or under the conductor 152 or the conductor 153 is preferably within the above range because the insulator can disperse charges accumulated between the transistor 200 , the transistor 300 , the capacitor 100 , and wirings such as the conductor 152 while maintaining the insulating property, and thus, poor characteristics and electrostatic breakdown of the transistor and the semiconductor device including the transistor due to the charges can be inhibited.
  • silicon nitride or silicon nitride oxide can be used.
  • the resistivity of the insulator 160 or the insulator 154 can be set within the above range.
  • an insulator having a function of inhibiting passage of oxygen and impurities such as hydrogen is used for the insulator 324 , the insulator 350 , the insulator 210 , and like.
  • insulator having a function of inhibiting passage of oxygen and impurities such as hydrogen a single layer or stacked layers of an insulator containing, for example, boron, carbon, nitrogen, oxygen, fluorine, magnesium, aluminum, silicon, phosphorus, chlorine, argon, gallium, germanium, yttrium, zirconium, lanthanum, neodymium, hafnium, or tantalum is used.
  • a metal oxide such as aluminum oxide, magnesium oxide, gallium oxide, germanium oxide, yttrium oxide, zirconium oxide, lanthanum oxide, neodymium oxide, hafnium oxide, or tantalum oxide; silicon nitride oxide; or silicon nitride can be used.
  • a material containing one or more kinds of metal elements selected from aluminum, chromium, copper, silver, gold, platinum, tantalum, nickel, titanium, molybdenum, tungsten, hafnium, vanadium, niobium, manganese, magnesium, zirconium, beryllium, indium, ruthenium, and the like can be used.
  • a semiconductor having high electrical conductivity typified by polycrystalline silicon containing an impurity element such as phosphorus, or silicide such as nickel silicide may be used.
  • a single layer or stacked layers of a conductive material such as a metal material, an alloy material, a metal nitride material, a metal oxide material, and the like that are formed using the above materials can be used. It is preferable to use a high-melting-point material that has both heat resistance and conductivity, such as tungsten or molybdenum, and it is particularly preferable to use tungsten.
  • a low-resistance conductive material such as aluminum or copper is preferably used. The use of a low-resistance conductive material can reduce wiring resistance.
  • an insulator including an excess-oxygen region is provided in the vicinity of the oxide semiconductor in some cases.
  • an insulator having a barrier property is preferably provided between the insulator including the excess-oxygen region and a conductor provided in the insulator including the excess-oxygen region.
  • the insulator 241 is preferably provided between the insulator 280 including excess oxygen and the conductor 240 in FIG. 11 .
  • the insulator 241 and the insulator 274 are preferably provided in contact with each other. Since the insulator 241 is provided in contact with the insulator 274 , the conductor 240 and the transistor 200 can be sealed by the insulators having a barrier property.
  • the excess oxygen included in the insulator 280 can be inhibited from being absorbed by the conductor 240 when the insulator 241 is provided.
  • diffusion of hydrogen, which is an impurity, into the transistor 200 through the conductor 240 can be inhibited when the insulator 241 is provided.
  • the conductor 240 functions as a plug or a wiring that is electrically connected to the transistor 200 or the transistor 300 .
  • a semiconductor device using a transistor including an oxide semiconductor can be miniaturized or highly integrated. Alternatively, a change in electrical characteristics can be inhibited and reliability can be improved in a semiconductor device using a transistor including an oxide semiconductor. Alternatively, a transistor including an oxide semiconductor and having a high on-state current can be provided. Alternatively, a transistor including an oxide semiconductor and having a low off-state current can be provided. Alternatively, a semiconductor device with low power consumption can be provided.
  • FIG. 12 illustrates an example of a semiconductor device (memory device) using the semiconductor device of one embodiment of the present invention.
  • the semiconductor device illustrated in FIG. 12 includes the transistor 200 , the transistor 300 , and the capacitor 100 .
  • the semiconductor device illustrated in FIG. 12 differs from the semiconductor device illustrated in FIG. 11 in that the capacitor 100 is a planar capacitor and that the transistor 200 is electrically connected to the transistor 300 .
  • the transistor 200 is provided above the transistor 300
  • the capacitor 100 is provided above the transistor 300 and the transistor 200 .
  • At least part of the capacitor 100 or the transistor 300 preferably overlaps with the transistor 200 . Accordingly, an area occupied by the capacitor 100 , the transistor 200 , and the transistor 300 in a top view can be reduced, whereby the semiconductor device of this embodiment can be miniaturized or highly integrated.
  • the transistor 200 and the transistor 300 mentioned above can be used as the transistor 200 and the transistor 300 , respectively. Therefore, the above description can be referred to for the transistor 200 , the transistor 300 , and the layers including them.
  • a wiring 2001 is electrically connected to the source of the transistor 300
  • a wiring 2002 is electrically connected to the drain of the transistor 300
  • a wiring 2003 is electrically connected to one of the source and the drain of the transistor 200
  • a wiring 2004 is electrically connected to the first gate of the transistor 200
  • a wiring 2006 is electrically connected to the second gate of the transistor 200 .
  • the gate of the transistor 300 and the other of the source and the drain of the transistor 200 are electrically connected to one electrode of the capacitor 100
  • a wiring 2005 is electrically connected to the other electrode of the capacitor 100 .
  • a node FG a node where the gate of the transistor 300 , the other of the source and the drain of the transistor 200 , and the one electrode of the capacitor 100 are connected to one another is hereinafter referred to as a node FG in some cases.
  • the semiconductor device illustrated in FIG. 12 is capable of retaining the potential of the gate of the transistor 300 (the node FG) by switching of the transistor 200 ; thus, data writing, retention, and reading can be performed.
  • a memory cell array By arranging the semiconductor devices illustrated in FIG. 12 in a matrix, a memory cell array can be formed.
  • the layer including the transistor 300 has the same structure as that in the semiconductor device illustrated in FIG. 11 , and therefore, the above description can be referred to for the structure below the insulator 354 .
  • the insulator 210 , the insulator 212 , the insulator 214 , and the insulator 216 are positioned over the insulator 354 .
  • an insulator having a function of inhibiting passage of oxygen and impurities such as hydrogen is used for the insulator 210 , as for the insulator 350 and the like.
  • the conductor 218 is embedded in the insulator 210 , the insulator 212 , the insulator 214 , and the insulator 216 .
  • the conductor 218 functions as a plug or a wiring that is electrically connected to the capacitor 100 , the transistor 200 , or the transistor 300 .
  • the conductor 218 is electrically connected to the conductor 316 functioning as the gate electrode of the transistor 300 .
  • the conductor 240 functions as a plug or a wiring that is electrically connected to the transistor 200 or the transistor 300 .
  • the conductor 240 electrically connects the conductor 242 b functioning as the other of the source and the drain of the transistor 200 and the conductor 110 functioning as one electrode of the capacitor 100 through the conductor 240 .
  • the planar capacitor 100 is provided above the transistor 200 .
  • the capacitor 100 includes the conductor 110 functioning as a first electrode, the conductor 120 functioning as a second electrode, and the insulator 130 functioning as a dielectric. Note that as the conductor 110 , the conductor 120 , and the insulator 130 , those described above in Memory device 1 can be used.
  • the conductor 153 and the conductor 110 are provided in contact with the top surface of the conductor 240 .
  • the conductor 153 is in contact with the top surface of the conductor 240 and functions as a terminal of the transistor 200 or the transistor 300 .
  • the conductor 153 and the conductor 110 are covered with the insulator 130 , and the conductor 120 is positioned to overlap with the conductor 110 with the insulator 130 therebetween.
  • the insulator 114 is positioned over the conductor 120 and the insulator 130 .
  • FIG. 12 illustrates an example in which a planar capacitor is used as the capacitor 100
  • the semiconductor device of this embodiment is not limited thereto.
  • the capacitor 100 may be a cylinder capacitor 100 like that illustrated in FIG. 11 .
  • FIG. 13 illustrates an example of a memory device using the semiconductor device of one embodiment of the present invention.
  • the memory device illustrated in FIG. 13 includes a transistor 400 in addition to the semiconductor device including the transistor 200 , the transistor 300 , and the capacitor 100 illustrated in FIG. 12 .
  • the transistor 400 can control a second gate voltage of the transistor 200 .
  • a first gate and a second gate of the transistor 400 are diode-connected to a source of the transistor 400 , and the source of the transistor 400 is connected to the second gate of the transistor 200 .
  • the first gate-source voltage and the second gate-source voltage of the transistor 400 become 0 V.
  • a drain current at the time when a second gate voltage and a first gate voltage are 0 V is extremely low; thus, the negative potential of the second gate of the transistor 200 can be maintained for a long time even without power supply to the transistor 200 and the transistor 400 . Accordingly, the memory device including the transistor 200 and the transistor 400 can retain stored data for a long time.
  • the wiring 1001 is electrically connected to the source of the transistor 300
  • the wiring 1002 is electrically connected to the drain of the transistor 300
  • the wiring 1003 is electrically connected to one of the source and the drain of the transistor 200
  • the wiring 1004 is electrically connected to the gate of the transistor 200
  • the wiring 1006 is electrically connected to a back gate of the transistor 200 .
  • a gate of the transistor 300 and the other of the source and the drain of the transistor 200 are electrically connected to one electrode of the capacitor 100
  • the wiring 1005 is electrically connected to the other electrode of the capacitor 100 .
  • the wiring 1007 is electrically connected to the source of the transistor 400 , a wiring 1008 is electrically connected to a gate of the transistor 400 , a wiring 1009 is electrically connected to a back gate of the transistor 400 , and a wiring 1010 is electrically connected to the drain of the transistor 400 .
  • the wiring 1006 , the wiring 1007 , the wiring 1008 , and the wiring 1009 are electrically connected to each other.
  • a memory cell array can be formed.
  • one transistor 400 can control the second gate voltages of a plurality of transistors 200 .
  • the number of transistors 400 is preferably smaller than the number of transistors 200 .
  • the transistor 400 and the transistor 200 are formed in the same layer and thus can be fabricated in parallel.
  • the transistor 400 includes a conductor 460 (a conductor 460 a and a conductor 460 b ) functioning as a first gate electrode; a conductor 405 functioning as a second gate electrode; the insulator 222 , the insulator 224 , and an insulator 450 functioning as a gate insulating layer; an oxide 430 c including a region where a channel is formed; a conductor 442 a , an oxide 431 a , and an oxide 431 b functioning as one of a source and a drain; a conductor 442 b , an oxide 432 a , and an oxide 432 b functioning as the other of the source and the drain; and a conductor 440 (a conductor 440 a and a conductor 440 b ).
  • the conductor 405 is in the same layer as the conductor 205 .
  • the oxide 431 a and the oxide 432 a are in the same layer as the oxide 230 a
  • the oxide 431 b and the oxide 432 b are in the same layer as the oxide 230 b .
  • the conductor 442 is in the same layer as the conductor 242 .
  • the oxide 430 c is in the same layer as the oxide 230 c .
  • the insulator 450 is in the same layer as the insulator 250 .
  • the conductor 460 is in the same layer as the conductor 260 .
  • the components formed in the same layer can be formed at the same time.
  • the oxide 430 c can be formed by processing an oxide film to be the oxide 230 c.
  • the threshold voltage of the transistor 400 can be higher than 0 V, the off-state current can be reduced, and the drain current at the time when the second gate voltage and the first gate voltage are 0 V can be extremely low.
  • a dicing line (also referred to as a scribe line, a dividing line, or a cutting line in some cases) that is provided when a large-sized substrate is divided into semiconductor elements so that a plurality of semiconductor devices are each formed in a chip form is described below.
  • Examples of a dividing method include the case where a groove (a dicing line) for dividing the semiconductor elements is formed on the substrate, and then the substrate is cut along the dicing line to divide (split) it into a plurality of semiconductor devices.
  • design is preferably made such that a region in which the insulator 272 and the insulator 222 are in contact with each other is the dicing line, as illustrated in FIG. 13 . That is, an opening is provided in the insulator 224 in the vicinity of the region to be the dicing line that is provided in an outer edge of the transistor 400 and the memory cell including a plurality of transistors 200 .
  • the insulator 272 is provided to cover the side surface of the insulator 224 .
  • the insulator 222 is in contact with the insulator 272 .
  • the insulator 222 and the insulator 272 may be formed using the same material and the same method.
  • the adhesion therebetween can be increased.
  • aluminum oxide is preferably used.
  • the insulator 224 , the transistor 200 , and the transistor 400 can be enclosed with the insulator 222 and the insulator 272 . Since the insulator 222 and the insulator 272 have a function of inhibiting diffusion of oxygen, hydrogen, and water, even when the substrate is divided into circuit regions each of which is provided with the semiconductor elements in this embodiment to form a plurality of chips, the entry and diffusion of impurities such as hydrogen or water from the side surface direction of the divided substrate into the transistor 200 and the transistor 400 can be prevented.
  • the structure can prevent excess oxygen in the insulator 224 from diffusing to the outside of the insulator 272 and the insulator 222 . Accordingly, excess oxygen in the insulator 224 is efficiently supplied to the oxide where the channel is formed in the transistor 200 or the transistor 400 .
  • the oxygen can reduce oxygen vacancies in the oxide where the channel is formed in the transistor 200 or the transistor 400 .
  • the oxide where the channel is formed in the transistor 200 or the transistor 400 can be an oxide semiconductor with a low density of defect states and stable characteristics. That is, a change in electrical characteristics of the transistors 200 or the transistor 400 can be reduced and reliability can be improved.
  • This embodiment can be implemented in an appropriate combination with the structures described in the other embodiments, the examples, and the like.
  • a memory device of one embodiment of the present invention including a transistor in which oxide is used as a semiconductor (hereinafter referred to as an OS transistor in some cases) and a capacitor (hereinafter such a memory device is also referred to as an OS memory device in some cases) will be described with reference to FIG. 14 and FIG. 15 .
  • the OS memory device includes at least a capacitor and an OS transistor that controls the charging and discharging of the capacitor. Since the OS transistor has an extremely low off-state current, the OS memory device has excellent retention characteristics and thus can function as a nonvolatile memory.
  • FIG. 14 A illustrates a structure example of the OS memory device.
  • a memory device 1400 includes a peripheral circuit 1411 and a memory cell array 1470 .
  • the peripheral circuit 1411 includes a row circuit 1420 , a column circuit 1430 , an output circuit 1440 , and a control logic circuit 1460 .
  • the column circuit 1430 includes, for example, a column decoder, a precharge circuit, a sense amplifier, a write circuit, and the like.
  • the precharge circuit has a function of precharging wirings.
  • the sense amplifier has a function of amplifying a data signal read from a memory cell. Note that the wirings are connected to the memory cell included in the memory cell array 1470 , and will be described later in detail.
  • the amplified data signal is output as a data signal RDATA to the outside of the memory device 1400 through the output circuit 1440 .
  • the row circuit 1420 includes, for example, a row decoder and a word line driver circuit, and can select a row to be accessed.
  • a low power supply voltage (VS S), a high power supply voltage (VDD) for the peripheral circuit 1411 , and a high power supply voltage (VIL) for the memory cell array 1470 are supplied to the memory device 1400 .
  • Control signals (CE, WE, and RE), an address signal ADDR, and a data signal WDATA are also input to the memory device 1400 from the outside.
  • the address signal ADDR is input to the row decoder and the column decoder, and WDATA is input to the write circuit.
  • the control logic circuit 1460 processes the signals (CE, WE, and RE) input from the outside, and generates control signals for the row decoder and the column decoder.
  • CE denotes a chip enable signal
  • WE denotes a write enable signal
  • RE denotes a read enable signal.
  • Signals processed by the control logic circuit 1460 are not limited thereto, and other control signals may be input as necessary.
  • the memory cell array 1470 includes a plurality of memory cells MC arranged in a matrix and a plurality of wirings. Note that the number of the wirings that connect the memory cell array 1470 to the row circuit 1420 depends on the structure of the memory cell MC, the number of the memory cells MC in a column, and the like. The number of the wirings that connect the memory cell array 1470 to the column circuit 1430 depends on the structure of the memory cell MC, the number of the memory cells MC in a row, and the like.
  • FIG. 14 A illustrates an example in which the peripheral circuit 1411 and the memory cell array 1470 are formed on the same plane; however, this embodiment is not limited thereto.
  • the memory cell array 1470 may be provided over the peripheral circuit 1411 to partly overlap with the peripheral circuit 1411 .
  • the sense amplifier may be provided below the memory cell array 1470 so that they overlap with each other.
  • FIG. 15 illustrates structure examples of memory cells applicable to the memory cell MC.
  • FIG. 15 A to FIG. 15 C each illustrate a circuit structure example of a DRAM memory cell.
  • a DRAM using a memory cell including one OS transistor and one capacitor is sometimes referred to as a DOSRAM (Dynamic Oxide Semiconductor Random Access Memory).
  • a memory cell 1471 illustrated in FIG. 15 A includes a transistor M 1 and a capacitor CA. Note that the transistor M 1 includes a gate (also referred to as a top gate in some cases) and a back gate.
  • a first terminal of the transistor M 1 is connected to a first terminal of the capacitor CA.
  • a second terminal of the transistor M 1 is connected to a wiring BIL.
  • a gate of the transistor M 1 is connected to a wiring WOL.
  • a back gate of the transistor M 1 is connected to a wiring BGL.
  • a second terminal of the capacitor CA is connected to a wiring CAL.
  • the wiring BIL functions as a bit line
  • the wiring WOL functions as a word line.
  • the wiring CAL functions as a wiring for applying a predetermined potential to the second terminal of the capacitor CA. In the time of data writing and data reading, a low-level potential is preferably applied to the wiring CAL.
  • the wiring BGL functions as a wiring for applying a potential to the back gate of the transistor M 1 . By applying a given potential to the wiring BGL, the threshold voltage of the transistor M 1 can be increased or decreased.
  • the memory cell 1471 illustrated in FIG. 15 A corresponds to the memory device illustrated in FIG. 11 . That is, the transistor M 1 , the capacitor CA, the wiring BIL, the wiring WOL, the wiring BGL, and the wiring CAL correspond to the transistor 200 , the capacitor 100 , the wiring 1003 , the wiring 1004 , the wiring 1006 , and the wiring 1005 , respectively.
  • the transistor 300 illustrated in FIG. 11 corresponds to a transistor provided in the peripheral circuit 1411 of the memory device 1400 illustrated in FIG. 14 B .
  • the memory cell MC is not limited to the memory cell 1471 , and the circuit structure can be changed.
  • the back gate of the transistor M 1 may be connected not to the wiring BGL but to the wiring WOL in the memory cell MC.
  • the memory cell MC may be a memory cell including a single-gate transistor, that is, the transistor M 1 not including a back gate, as in a memory cell 1473 illustrated in FIG. 15 C .
  • the transistor 200 can be used as the transistor M 1
  • the capacitor 100 can be used as the capacitor CA.
  • the use of an OS transistor as the transistor M 1 enables the leakage current of the transistor M 1 to be extremely low. That is, written data can be retained for a long time with the transistor M 1 ; thus, the frequency of refresh of the memory cell can be reduced. Alternatively, the refresh operation of the memory cell can be omitted.
  • the extremely low leakage current allows multi-level data or analog data to be retained in the memory cell 1471 , the memory cell 1472 , or the memory cell 1473 .
  • the bit line can be shortened. This reduces bit line capacity, which reduces the storage capacity of the memory cell.
  • FIGS. 15 D to 15 G each illustrate a circuit structure example of a gain-cell memory cell including two transistors and one capacitor.
  • a memory cell 1474 illustrated in FIG. 15 D includes a transistor M 2 , a transistor M 3 , and a capacitor CB.
  • the transistor M 2 includes a top gate (simply referred to as a gate in some cases) and a back gate.
  • NOSRAM Nonvolatile Oxide Semiconductor RAM
  • a first terminal of the transistor M 2 is connected to a first terminal of the capacitor CB.
  • a second terminal of the transistor M 2 is connected to a wiring WBL.
  • the gate of the transistor M 2 is connected to the wiring WOL.
  • the back gate of the transistor M 2 is connected to the wiring BGL.
  • a second terminal of the capacitor CB is connected to the wiring CAL.
  • a first terminal of the transistor M 3 is connected to the wiring RBL.
  • a second terminal of the transistor M 3 is connected to the wiring SL.
  • a gate of the transistor M 3 is connected to the first terminal of the capacitor CB.
  • the wiring WBL functions as a write bit line.
  • the wiring RBL functions as a read bit line.
  • the wiring WOL functions as a word line.
  • the wiring CAL functions as a wiring for applying a predetermined potential to the second terminal of the capacitor CB. During data writing, data retention, and data reading, a low-level potential is preferably applied to the wiring CAL.
  • the wiring BGL functions as a wiring for applying a potential to the back gate of the transistor M 2 . By applying a given potential to the wiring BGL, the threshold voltage of the transistor M 2 can be increased or decreased.
  • the memory cell 1474 illustrated in FIG. 15 D corresponds to the memory device illustrated in FIG. 12 . That is, the transistor M 2 , the capacitor CB, the transistor M 3 , the wiring WBL, the wiring WOL, the wiring BGL, the wiring CAL, the wiring RBL, and the wiring SL correspond to the transistor 200 , the capacitor 100 , the transistor 300 , the wiring 2003 , the wiring 2004 , the wiring 2006 , the wiring 2005 , the wiring 2002 , and the wiring 2001 , respectively.
  • the memory cell MC is not limited to the memory cell 1474 , and the circuit structure can be changed as appropriate.
  • a structure may be employed in which the back gate of the transistor M 2 is connected not to the wiring BGL but to the wiring WOL in the memory cell MC.
  • the memory cell MC may be a memory cell including a single-gate transistor, that is, the transistor M 2 that does not include a back gate.
  • the memory cell MC may have a structure where the wiring WBL and the wiring RBL are combined into one wiring BIL.
  • the transistor 200 can be used as the transistor M 2
  • the transistor 300 can be used as the transistor M 3
  • the capacitor 100 can be used as the capacitor CB.
  • the leakage current of the transistor M 2 can be extremely low. Consequently, written data can be retained for a long time with the transistor M 2 ; thus, the frequency of refresh of the memory cell can be reduced.
  • the refresh operation of the memory cell can be omitted.
  • the extremely low leakage current allows multi-level data or analog data to be retained in the memory cell 1474 . The same applies to the memory cell 1475 to the memory cell 1477 .
  • the transistor M 3 may be a transistor containing silicon in a channel formation region (hereinafter such a transistor is referred to as a Si transistor in some cases).
  • the conductivity type of the Si transistor may be either an n-channel type or a p-channel type.
  • a Si transistor has higher field-effect mobility than an OS transistor in some cases. Therefore, a Si transistor may be used as the transistor M 3 functioning as a read transistor.
  • the use of a Si transistor as the transistor M 3 enables the transistor M 2 to be stacked over the transistor M 3 , in which case an area occupied by the memory cell can be reduced and high integration of the memory device can be achieved.
  • the transistor M 3 may be an OS transistor.
  • OS transistors are used as the transistor M 2 and the transistor M 3
  • the circuit of the memory cell array 1470 can be formed using only n-channel transistors.
  • FIG. 15 H illustrates an example of a gain-cell memory cell including three transistors and one capacitor.
  • a memory cell 1478 illustrated in FIG. 15 H includes a transistor M 4 to a transistor M 6 and a capacitor CC.
  • the capacitor CC is provided as appropriate.
  • the memory cell 1478 is electrically connected to the wiring BIL, a wiring RWL, a wiring WWL, the wiring BGL, and a wiring GNDL.
  • the wiring GNDL is a wiring for supplying a low-level potential. Note that the memory cell 1478 may be electrically connected to the wiring RBL and the wiring WBL instead of the wiring BIL.
  • the transistor M 4 is an OS transistor including a back gate, and the back gate is electrically connected to the wiring BGL. Note that the back gate and a gate of the transistor M 4 may be electrically connected to each other. Alternatively, the transistor M 4 does not necessarily include the back gate.
  • each of the transistor M 5 and the transistor M 6 may be an n-channel Si transistor or a p-channel Si transistor.
  • the transistor M 4 to the transistor M 6 may be OS transistors, in which case the circuit of the memory cell array 1470 can be formed using only n-channel transistors.
  • the transistor 200 can be used as the transistor M 4
  • the transistors 300 can be used as the transistor M 5 and the transistor M 6
  • the capacitor 100 can be used as the capacitor CC.
  • the use of an OS transistor as the transistor M 4 enables the leakage current of the transistor M 4 to be extremely low.
  • peripheral circuit 1411 the memory cell array 1470 , and the like described in this embodiment are not limited to those described above.
  • the arrangement and functions of these circuits and the wirings, circuit components, and the like connected to the circuits can be changed, removed, or added as needed.
  • SoC system on chip
  • the chip 1200 includes a CPU 1211 , a GPU 1212 , one or more of analog arithmetic units 1213 , one or more of memory controllers 1214 , one or more of interfaces 1215 , one or more of network circuits 1216 , and the like.
  • a bump (not illustrated) is provided on the chip 1200 , and as illustrated in FIG. 16 B , the chip 1200 is connected to a first surface of a printed circuit board (PCB) 1201 .
  • a plurality of bumps 1202 are provided on the rear side of the first surface of the PCB 1201 , and the PCB 1201 is connected to a motherboard 1203 .
  • a memory device such as a DRAM 1221 or a flash memory 1222 may be provided over the motherboard 1203 .
  • the DOSRAM described in the above embodiment can be used as the DRAM 1221 .
  • the NOSRAM described in the above embodiment can be used as the flash memory 1222 .
  • the CPU 1211 preferably includes a plurality of CPU cores.
  • the GPU 1212 preferably includes a plurality of GPU cores.
  • the CPU 1211 and the GPU 1212 may each include a memory for storing data temporarily. Alternatively, a common memory for the CPU 1211 and the GPU 1212 may be provided in the chip 1200 .
  • the NOSRAM or the DOSRAM described above can be used as the memory.
  • the GPU 1212 is suitable for parallel computation of a number of data and thus can be used for image processing or product-sum operation. When an image processing circuit or a product-sum operation circuit including an oxide semiconductor of the present invention is provided in the GPU 1212 , image processing and product-sum operation can be performed with low power consumption.
  • the CPU 1211 and the GPU 1212 are provided in the same chip, a wiring between the CPU 1211 and the GPU 1212 can be shortened; accordingly, the data transfer from the CPU 1211 to the GPU 1212 , the data transfer between the memories included in the CPU 1211 and the GPU 1212 , and the transfer of arithmetic operation results from the GPU 1212 to the CPU 1211 after the arithmetic operation in the GPU 1212 can be performed at high speed.
  • the analog arithmetic unit 1213 includes one or both of an A/D (analog/digital) converter circuit and a D/A (digital/analog) converter circuit. Furthermore, the analog arithmetic unit 1213 may include the above-described product-sum operation circuit.
  • the memory controller 1214 includes a circuit functioning as a controller of the DRAM 1221 and a circuit functioning as the interface of the flash memory 1222 .
  • the interface 1215 includes an interface circuit for an external connection device such as a display device, a speaker, a microphone, a camera, or a controller.
  • Examples of the controller include a mouse, a keyboard, and a game controller.
  • USB Universal Serial Bus
  • HDMI registered trademark
  • High-Definition Multimedia Interface or the like can be used.
  • the network circuit 1216 includes a network circuit such as a LAN (Local Area Network). Furthermore, the network circuit 1216 may include a circuit for network security.
  • a network circuit such as a LAN (Local Area Network).
  • the network circuit 1216 may include a circuit for network security.
  • the circuits can be formed in the chip 1200 in the same manufacturing process. Therefore, even when the number of circuits needed for the chip 1200 is increased, there is no need to increase the number of steps in the manufacturing process; thus, the chip 1200 can be manufactured at low cost.
  • the motherboard 1203 provided with the PCB 1201 on which the chip 1200 including the GPU 1212 is mounted, the DRAM 1221 , and the flash memory 1222 can be referred to as a GPU module 1204 .
  • the GPU module 1204 includes the chip 1200 formed using the SoC technology, and thus can have a small size. Furthermore, the GPU module 1204 is excellent in image processing, and thus is suitably used in a portable electronic device such as a smartphone, a tablet terminal, a laptop PC, or a portable (mobile) game machine. Furthermore, the product-sum operation circuit using the GPU 1212 can execute a method in a deep neural network (DNN), a convolutional neural network (CNN), a recurrent neural network (RNN), an autoencoder, a deep Boltzmann machine (DBM), a deep belief network (DBN), or the like; thus, the chip 1200 can be used as an AI chip or the GPU module 1204 can be used as an AI system module.
  • DNN deep neural network
  • CNN convolutional neural network
  • RNN recurrent neural network
  • DBM deep Boltzmann machine
  • DBN deep belief network
  • the semiconductor device described in the above embodiment can be applied to, for example, memory devices of a variety of electronic devices (e.g., information terminals, computers, smartphones, e-book readers, digital cameras (including video cameras), video recording/reproducing devices, and navigation systems).
  • the computers refer not only to tablet computers, notebook computers, and desktop computers, but also to large computers such as server systems.
  • the semiconductor device described in the above embodiment is applied to removable memory devices such as memory cards (e.g., SD cards), USB memories, and SSDs (solid state drives).
  • FIG. 17 schematically illustrates some structure examples of removable memory devices.
  • the semiconductor device described in the above embodiment is processed into a packaged memory chip and used in a variety of storage devices and removable memories, for example.
  • FIG. 17 A is a schematic view of a USB memory.
  • a USB memory 1100 includes a housing 1101 , a cap 1102 , a USB connector 1103 , and a substrate 1104 .
  • the substrate 1104 is held in the housing 1101 .
  • a memory chip 1105 and a controller chip 1106 are attached to the substrate 1104 .
  • the semiconductor device described in the above embodiment can be incorporated in the memory chip 1105 or the like on the substrate 1104 .
  • FIG. 17 B is a schematic external view of an SD card
  • FIG. 17 C is a schematic view of the internal structure of the SD card.
  • An SD card 1110 includes a housing 1111 , a connector 1112 , and a substrate 1113 .
  • the substrate 1113 is held in the housing 1111 .
  • a memory chip 1114 and a controller chip 1115 are attached to the substrate 1113 .
  • the memory chip 1114 is also provided on the rear surface side of the substrate 1113 , the capacity of the SD card 1110 can be increased.
  • a wireless chip with a radio communication function may be provided on the substrate 1113 . With this, data can be read from and written in the memory chip 1114 by radio communication between a host device and the SD card 1110 .
  • the semiconductor device described in the above embodiment can be incorporated in the memory chip 1114 or the like on the substrate 1113 .
  • FIG. 17 D is a schematic external view of an SSD
  • FIG. 17 E is a schematic view of the internal structure of the SSD.
  • An SSD 1150 includes a housing 1151 , a connector 1152 , and a substrate 1153 .
  • the substrate 1153 is held in the housing 1151 .
  • a memory chip 1154 a memory chip 1155 , and a controller chip 1156 are attached to the substrate 1153 .
  • the memory chip 1155 is a work memory for the controller chip 1156 , and a DOSRAM chip may be used, for example.
  • the memory chip 1154 is also provided on the rear surface side of the substrate 1153 , the capacity of the SSD 1150 can be increased.
  • the semiconductor device described in the above embodiment can be incorporated in the memory chip 1154 or the like on the substrate 1153 .
  • the semiconductor device of one embodiment of the present invention can be used for a processor such as a CPU or a GPU or a chip.
  • FIG. 18 illustrates specific examples of electronic devices including a processor such as a CPU or a GPU or a chip of one embodiment of the present invention.
  • the GPU or the chip of one embodiment of the present invention can be incorporated into a variety of electronic devices.
  • electronic devices include a digital camera, a digital video camera, a digital photo frame, an e-book reader, a mobile phone, a portable game machine, a portable information terminal, and an audio reproducing device in addition to electronic devices provided with a relatively large screen, such as a television device, a monitor for a desktop or notebook information terminal or the like, digital signage, and a large game machine like a pachinko machine.
  • the GPU or the chip of one embodiment of the present invention is provided in an electronic device, the electronic device can include artificial intelligence.
  • the electronic device of one embodiment of the present invention may include an antenna.
  • the electronic device can display a video, data, or the like on the display portion.
  • the antenna may be used for contactless power transmission.
  • the electronic device of one embodiment of the present invention may include a sensor (a sensor having a function of measuring force, displacement, position, speed, acceleration, angular velocity, rotational frequency, distance, light, liquid, magnetism, temperature, a chemical substance, sound, time, hardness, electric field, current, voltage, electric power, radioactive rays, flow rate, humidity, gradient, oscillation, a smell, or infrared rays).
  • a sensor a sensor having a function of measuring force, displacement, position, speed, acceleration, angular velocity, rotational frequency, distance, light, liquid, magnetism, temperature, a chemical substance, sound, time, hardness, electric field, current, voltage, electric power, radioactive rays, flow rate, humidity, gradient, oscillation, a smell, or infrared rays.
  • the electronic device of one embodiment of the present invention can have a variety of functions.
  • the electronic device can have a function of displaying a variety of data (a still image, a moving image, a text image, and the like) on the display portion, a touch panel function, a function of displaying a calendar, date, time, and the like, a function of executing a variety of software (programs), a wireless communication function, and a function of reading out a program or data stored in a recording medium.
  • FIG. 18 illustrates examples of electronic devices.
  • FIG. 18 A illustrates a mobile phone (smartphone), which is a type of information terminal.
  • An information terminal 5100 includes a housing 5101 and a display portion 5102 .
  • a touch panel is provided in the display portion 5102 and a button is provided in the housing 5101 .
  • the information terminal 5100 can execute an application utilizing artificial intelligence, with the use of the chip of one embodiment of the present invention.
  • the application utilizing artificial intelligence include an application for interpreting a conversation and displaying its content on the display portion 5102 ; an application for recognizing letters, figures, and the like input to the touch panel of the display portion 5102 by a user and displaying them on the display portion 5102 ; and an application for biometric authentication using fingerprints, voice prints, or the like.
  • FIG. 18 B illustrates a notebook information terminal 5200 .
  • the notebook information terminal 5200 includes a main body 5201 of the information terminal, a display portion 5202 , and a keyboard 5203 .
  • the notebook information terminal 5200 can execute an application utilizing artificial intelligence, with the use of the chip of one embodiment of the present invention.
  • Examples of the application utilizing artificial intelligence include design-support software, text correction software, and software for automatic menu generation.
  • novel artificial intelligence can be developed.
  • an information terminal other than the smartphone and the notebook information terminal examples include a PDA (Personal Digital Assistant), a desktop information terminal, and a workstation.
  • PDA Personal Digital Assistant
  • FIG. 18 C illustrates a portable game machine 5300 , which is an example of a game machine.
  • the portable game machine 5300 includes a housing 5301 , a housing 5302 , a housing 5303 , a display portion 5304 , a connection portion 5305 , an operation key 5306 , and the like.
  • the housing 5302 and the housing 5303 can be detached from the housing 5301 .
  • a video to be output to the display portion 5304 can be output to another video device (not illustrated).
  • the housing 5302 and the housing 5303 can each function as an operating unit.
  • a plurality of players can play a game at the same time.
  • the chip described in the above embodiment can be incorporated into a chip provided on a substrate in the housing 5301 , the housing 5302 , and the housing 5303 , for example.
  • FIG. 18 D illustrates a stationary game machine 5400 , which is an example of a game machine.
  • a controller 5402 is connected to the stationary game machine 5400 with or without a wire.
  • Using the GPU or the chip of one embodiment of the present invention in a game machine such as the portable game machine 5300 and the stationary game machine 5400 can achieve a low-power-consumption game machine. Moreover, heat generation from a circuit can be reduced owing to low power consumption; thus, the influence of heat generation on the circuit, the peripheral circuit, and the module can be reduced.
  • the portable game machine 5300 including artificial intelligence can be obtained.
  • the progress of a game, the actions and words of game characters, and expressions of a phenomenon and the like in the game are determined by the program in the game; however, the use of artificial intelligence in the portable game machine 5300 enables expressions not limited by the game program. For example, expressions are possible in which questions posed by the player, the progress of the game, time, and the actions and words of game characters are changed.
  • the artificial intelligence can create a virtual game player; thus, the game can be played alone with the game player created by the artificial intelligence as an opponent.
  • the portable game machine and the stationary game machine are respectively illustrated in FIG. 18 C and FIG. 18 D as examples of a game machine
  • the game machine using the GPU or the chip of one embodiment of the present invention is not limited thereto.
  • Examples of the game machine using the GPU or the chip of one embodiment of the present invention include an arcade game machine installed in entertainment facilities (a game center, an amusement park, and the like) and a throwing machine for batting practice installed in sports facilities.
  • the GPU or the chip of one embodiment of the present invention can be used in a large computer.
  • FIG. 18 E illustrates a supercomputer 5500 as an example of a large computer.
  • FIG. 18 F illustrates a rack-mount computer 5502 included in the supercomputer 5500 .
  • the supercomputer 5500 includes a rack 5501 and a plurality of rack-mount computers 5502 .
  • the plurality of computers 5502 are stored in the rack 5501 .
  • the computer 5502 includes a plurality of substrates 5504 , and the GPU or the chip described in the above embodiment can be mounted on the substrates.
  • the supercomputer 5500 is a large computer mainly used for scientific computation.
  • scientific computation an enormous amount of arithmetic operation needs to be processed at high speed; hence, power consumption is high and chips generate a large amount of heat.
  • Using the GPU or the chip of one embodiment of the present invention in the supercomputer 5500 can achieve a low-power-consumption supercomputer.
  • heat generation from a circuit can be reduced owing to low power consumption; thus, the influence of heat generation on the circuit, the peripheral circuit, and the module can be reduced.
  • a large computer using the GPU or the chip of one embodiment of the present invention is not limited thereto.
  • Examples of a large computer using the GPU or the chip of one embodiment of the present invention include a computer that provides service (a server) and a large general-purpose computer (a mainframe).
  • the GPU or the chip of one embodiment of the present invention can be used in an automobile, which is a moving vehicle, and around a driver's seat in the automobile.
  • FIG. 18 G illustrates the periphery of a windshield inside an automobile, which is an example of a moving vehicle.
  • FIG. 18 G illustrates a display panel 5701 , a display panel 5702 , and a display panel 5703 that are attached to a dashboard and a display panel 5704 that is attached to a pillar.
  • the display panel 5701 to the display panel 5703 can provide a variety of kinds of information by displaying a speedometer, a tachometer, a mileage, a fuel meter, a gearshift indicator, air-condition setting, and the like.
  • the content, layout, or the like of the display on the display panels can be changed as appropriate to suit the user's preference, so that the design can be improved.
  • the display panel 5701 to the display panel 5703 can also be used as lighting devices.
  • the display panel 5704 can compensate for the view obstructed by the pillar (a blind spot) by showing an image taken by an imaging device (not illustrated) provided for the automobile. That is, displaying an image taken by the imaging device provided on the outside of the automobile leads to compensation for the blind spot and enhancement of safety. In addition, showing an image for compensating for the area that cannot be seen makes it possible to confirm the safety more naturally and comfortably.
  • the display panel 5704 can also be used as a lighting device.
  • the chip can be used in an automatic driving system of the automobile, for example.
  • the chip can also be used for a system for navigation, risk prediction, or the like.
  • the display panel 5701 to the display panel 5704 may display information regarding navigation, risk prediction, or the like.
  • a moving vehicle is not limited to an automobile.
  • Examples of a moving vehicle include a train, a monorail train, a ship, and a flying object (a helicopter, an unmanned aircraft (a drone), an airplane, and a rocket), and these moving vehicles can include a system utilizing artificial intelligence when equipped with the chip of one embodiment of the present invention.
  • FIG. 18 H illustrates an electric refrigerator-freezer 5800 , which is an example of an electrical appliance.
  • the electric refrigerator-freezer 5800 includes a housing 5801 , a refrigerator door 5802 , a freezer door 5803 , and the like.
  • the electric refrigerator-freezer 5800 including artificial intelligence can be obtained.
  • Utilizing the artificial intelligence enables the electric refrigerator-freezer 5800 to have a function of automatically making a menu based on foods stored in the electric refrigerator-freezer 5800 , expiration dates of the foods, or the like, a function of automatically adjusting the temperature to be appropriate for the foods stored in the electric refrigerator-freezer 5800 , and the like.
  • an electrical appliance examples include a vacuum cleaner, a microwave oven, an electronic oven, a rice cooker, a water heater, an IH cooker, a water server, a heating-cooling combination appliance such as an air conditioner, a washing machine, a drying machine, and an audio visual appliance.
  • the electronic devices, the functions of the electronic devices, application examples of artificial intelligence and its effects, and the like described in this embodiment can be combined as appropriate with the description of another electronic device.
  • the hydrogen concentration in the oxide was analyzed by SIMS. Note that in this example, Sample 1A, Sample 1B, and Sample 1C were fabricated.
  • Sample 1A, Sample 1B, and Sample 1C of embodiments of the present invention each have a stacked-layer structure illustrated in FIG. 19 A .
  • a substrate 910 , an insulator 911 over the substrate 910 , an oxide 913 over the insulator 911 , and an insulator 915 over the oxide 913 are included.
  • a silicon substrate was prepared as the substrate 910 .
  • a 100-nm-thick thermal oxide film was formed as the insulator 911 over the substrate 910 .
  • a 100-nm-thick In—Ga—Zn oxide was deposited over the insulator 911 by a sputtering method.
  • microwave-excited plasma treatment was performed on Sample 1A with a microwave plasma treatment apparatus for 10 minutes.
  • the microwave-excited plasma treatment was performed under an atmosphere of argon (Ar) at a flow rate of 150 sccm and oxygen (O 2 ) at a flow rate of 50 sccm.
  • the pressure in the reaction chamber was 60 Pa, and plasma was generated with a microwave of 4000 W (2.45 GHz).
  • microwave-excited plasma treatment was performed on Sample 1B with a microwave plasma treatment apparatus for 10 minutes.
  • the microwave-excited plasma treatment was performed under an atmosphere of argon (Ar) at a flow rate of 150 sccm and oxygen (O 2 ) at a flow rate of 50 sccm.
  • the pressure in the reaction chamber was 400 Pa, and plasma was generated with a microwave of 4000 W (2.45 GHz).
  • microwave-excited plasma treatment apparatus in the microwave-excited plasma treatment, a ⁇ -wave plasma treatment apparatus (Triase+SPAi ⁇ RB ⁇ 2chSystem) produced by Tokyo Electron Ltd. was used.
  • Sample 1A to Sample 1C of this example were fabricated. Note that the conditions for the microwave-excited plasma treatment for Sample 1A to Sample 1C are shown in the table below.
  • FIG. 19 B shows measurement results of hydrogen (H) concentrations using the oxides 913 in Sample 1A to Sample 1C as quantification layers. Note that the hydrogen concentrations were measured by SIMS using a dynamic SIMS apparatus IMS-7f produced by CAMECA SAS as an analysis apparatus.
  • FIG. 19 B shows the depth direction profiles of the hydrogen (H) concentrations in the films of Sample 1A (dashed line), Sample 1B (solid line), and Sample 1C (dashed-dotted line). Note that a double-headed arrow in the figure indicates the range of the quantification layer (the oxide 913 ), and a thin solid line indicates a background level (BGL).
  • the hydrogen concentration in the oxide is changed by performing the microwave-excited plasma treatment.
  • high pressure in the microwave-excited plasma treatment reduces the hydrogen concentration.
  • low pressure in the microwave-excited plasma treatment increases the hydrogen concentration. Therefore, it is presumed that the hydrogen concentration in the oxide can be controlled by the conditions of the microwave-excited plasma treatment.
  • the influence of each step on the carrier concentration of an oxide semiconductor was evaluated. Specifically, the Hall effect measurement was performed on a sample including an oxide semiconductor and the carrier concentration was calculated using the result.
  • the Hall effect measurement is a method in which electrical characteristics such as carrier density, mobility, and resistivity are measured with the use of the Hall effect; in the Hall effect, when a magnetic field is applied to the object through which a current flows in a direction perpendicular to the direction of the current, an electromotive force is produced in directions perpendicular to both the current and the magnetic field.
  • the Hall effect measurement using the Van der Pauw method was performed. Note that ResiTest manufactured by TOYO Corporation was used for the Hall effect measurement.
  • FIG. 20 A shows a structure of Sample 2E.
  • Sample 2E includes a substrate 930 , an oxide 931 over the substrate 930 , an oxide 932 over the oxide 931 , an oxide 933 over the oxide 932 , an insulator 935 over the oxide 933 , and a conductor 936 over the insulator 935 .
  • a stacked-layer structure of the oxide 931 , the oxide 932 , and the oxide 933 is referred to as an oxide 934 .
  • Sample 2E has a stacked-layer structure which is partly similar to the structure of the transistor 200 illustrated in FIG. 1 .
  • the oxide 931 , the oxide 932 , and the oxide 933 correspond to the oxide 230 (the oxide 230 a , the oxide 230 b , and the oxide 230 c functioning as a semiconductor.
  • the insulator 935 corresponds to the insulator 250 functioning as a gate insulator, and the conductor 936 corresponds to the conductor 260 functioning as a gate electrode.
  • Sample 2A to Sample 2D samples that were taken out during the steps for fabricating Sample 2E are referred to as Sample 2A to Sample 2D.
  • the following table shows whether respective steps were performed on Sample 2A to Sample 2E.
  • a quartz substrate was used as the substrate 930 in each of Sample 2A to Sample 2E.
  • the oxide 931 a 5-nm-thick In—Ga—Zn oxide was deposited over the substrate 930 by a sputtering method.
  • the oxide 932 a 35-nm-thick In—Ga—Zn oxide was deposited over the oxide 931 by a sputtering method.
  • Sample 2A to Sample 2E were subjected to heat treatment at 400° C. in an atmosphere containing nitrogen for one hour, and subsequently subjected to heat treatment at 400° C. in an atmosphere containing oxygen for one hour.
  • the oxide 933 a 5-nm-thick In—Ga—Zn oxide was deposited over the oxide 932 by a sputtering method.
  • Sample 2A was taken out and subjected to the Hall effect measurement.
  • Sample 2B was taken out and subjected to the Hall effect measurement.
  • microwave-excited plasma treatment was performed on Sample 2C to Sample 2E with a microwave plasma treatment apparatus for 5 minutes.
  • the microwave-excited plasma treatment was performed under an atmosphere of argon (Ar) at a flow rate of 150 sccm and oxygen (O 2 ) at a flow rate of 50 sccm. Furthermore, the pressure in the reaction chamber was 400 Pa, and plasma was generated with a microwave of 4000 W (2.45 GHz).
  • a ⁇ -wave plasma treatment apparatus Triase+SPAi ⁇ RB ⁇ 2chSystem
  • Sample 2C was taken out and subjected to the Hall effect measurement.
  • Sample 2D was taken out and subjected to the Hall effect measurement.
  • Sample 2E was subjected to heat treatment at 400° C. in an atmosphere containing nitrogen for one hour.
  • Sample 2E was fabricated and subjected to the Hall effect measurement.
  • FIG. 20 B shows the carrier concentrations of the oxide semiconductors 934 in Sample 2A to Sample 2E.
  • the vertical axis represents the carrier concentration [cm ⁇ 3 ] of the oxide semiconductor 934 . Because the sheet resistance measured with ResiTest8400 series exceeds the upper measurement limit, the lower measurement limit of the carrier density is estimated to be lower than or equal to 1.0 ⁇ 10 13 .
  • the donor concentration of a region where a channel is formed is preferably lower than or equal to 1.0 ⁇ 10 16 [cm ⁇ 3 ] in order to obtain favorable switching characteristics in transistor operation.
  • the carrier concentration of the oxide which is increased when an insulator is deposited in contact with the oxide, can be reduced by performing microwave-excited plasma treatment. Furthermore, even when another structure body such as a conductor was formed or heat treatment was performed after the microwave-excited plasma treatment, the carrier concentration of the oxide was able to be kept at or below 1.0 ⁇ 10 16 that is an off region of a transistor.
  • the carrier concentration of an oxide semiconductor can be greatly reduced by performing microwave-excited plasma treatment on an insulator functioning as a gate insulator using a microwave plasma treatment apparatus.

Landscapes

  • Engineering & Computer Science (AREA)
  • Thin Film Transistor (AREA)
  • Manufacturing & Machinery (AREA)
  • Physics & Mathematics (AREA)
  • Condensed Matter Physics & Semiconductors (AREA)
  • General Physics & Mathematics (AREA)
  • Computer Hardware Design (AREA)
  • Microelectronics & Electronic Packaging (AREA)
  • Power Engineering (AREA)
  • Semiconductor Memories (AREA)

Abstract

A semiconductor device with high reliability is provided. The present invention relates to a method for manufacturing a transistor including an oxide semiconductor. A stacked-layer structure of an oxide semiconductor and an insulator functioning as a gate insulator is subjected to microwave-excited plasma treatment, whereby the carrier concentration of the oxide semiconductor is reduced and the barrier property of the gate insulator is improved. In addition, a conductor functioning as an electrode and the insulator functioning as a gate insulator are formed in contact with the oxide semiconductor and then the microwave-excited plasma treatment is performed, whereby a high-resistance region and a low-resistance region can be formed in the oxide semiconductor in a self-aligned manner. Moreover, the microwave-excited plasma treatment is performed under an atmosphere containing oxygen with a high pressure, whereby a transistor having favorable electrical characteristics can be provided.

Description

CROSS REFERENCE TO RELATED APPLICATIONS
This application is a U.S. National Phase Application under 35 U.S.C. § 371 of International Application PCT/IB2019/057133, filed on Aug. 26, 2019, which is incorporated by reference and claims the benefit of a foreign priority application filed in Japan on Sep. 5, 2018, as Application No. 2018-166305.
TECHNICAL FIELD
One embodiment of the present invention relates to a semiconductor device and a method for manufacturing the semiconductor device. Another embodiment of the present invention relates to a semiconductor wafer, a module, and an electronic device.
Note that in this specification and the like, a semiconductor device generally means a device that can function by utilizing semiconductor characteristics. A semiconductor element such as a transistor, a semiconductor circuit, an arithmetic device, and a memory device are each one embodiment of a semiconductor device. It can be sometimes said that a display device (a liquid crystal display device, a light-emitting display device, and the like), a projection device, a lighting device, an electro-optical device, a power storage device, a memory device, a semiconductor circuit, an imaging device, an electronic device, and the like include a semiconductor device.
Note that one embodiment of the present invention is not limited to the above technical field. One embodiment of the invention disclosed in this specification and the like relates to an object, a method, or a manufacturing method. Another embodiment of the present invention relates to a process, a machine, manufacture, or a composition of matter.
BACKGROUND ART
A technique by which a transistor is formed using a semiconductor thin film formed over a substrate having an insulating surface has been attracting attention. The transistor is applied to a wide range of electronic devices such as an integrated circuit (IC) or an image display device (also simply referred to as a display device). A silicon-based semiconductor material is widely known as a semiconductor thin film applicable to the transistor; in addition, an oxide semiconductor has been attracting attention as another material.
A CAAC (c-axis aligned crystalline) structure and an nc (nanocrystalline) structure, which are neither single crystal nor amorphous, have been found in an oxide semiconductor (see Non-Patent Document 1 and Non-Patent Document 2).
Non-Patent Document 1 and Non-Patent Document 2 disclose a technique for manufacturing a transistor using an oxide semiconductor having a CAAC structure.
REFERENCES Non-Patent Documents
  • [Non-Patent Document 1] S. Yamazaki et al., “SID Symposium Digest of Technical Papers”, 2012, volume 43, issue 1, pp. 183-186.
  • [Non-Patent Document 2] S. Yamazaki et al., “Japanese Journal of Applied Physics”, 2014, volume 53, Number 4S, pp. 04ED18-1-04ED18-10.
SUMMARY OF THE INVENTION Problems to be Solved by the Invention
An object of one embodiment of the present invention is to provide a semiconductor device with high reliability. Another object of one embodiment of the present invention is to provide a semiconductor device having favorable electrical characteristics. Another object of one embodiment of the present invention is to provide a semiconductor device with a high on-state current. Another object of one embodiment of the present invention is to provide a semiconductor device that can be miniaturized or highly integrated. Another object of one embodiment of the present invention is to provide a semiconductor device with low power consumption.
Note that the descriptions of these objects do not disturb the existence of other objects. One embodiment of the present invention does not need to achieve all of these objects. Objects other than these will be apparent from the descriptions of the specification, the drawings, the claims, and the like, and can be derived from the descriptions of the specification, the drawings, the claims, and the like.
Means for Solving the Problems
In one embodiment of the present invention, a first oxide semiconductor film is deposited; a first conductive film is deposited over the first oxide semiconductor film; part of the first oxide semiconductor film and part of the first conductive film are removed, so that a stacked-layer structure of a first oxide semiconductor and a first conductor is formed; after a first insulating film is deposited over the first oxide semiconductor and the first conductor, a first insulator is formed by planarizing the first insulating film; by removing part of the first insulator and part of the first conductor, a second conductor and a third conductor are formed and an opening exposing part of the first oxide semiconductor is formed; a second oxide semiconductor film is deposited in contact with an exposed region of the first oxide semiconductor; a second insulating film is deposited over the second oxide semiconductor film; microwave-excited plasma treatment is performed on the second insulating film; a second conductive film is deposited over the second insulating film; and part of the second conductive film, part of the second insulating film, and part of the second oxide semiconductor film are removed, so that the first insulator is exposed and a second conductor, a second insulator, and a second oxide semiconductor that are embedded in the opening are formed.
In the above, the microwave-excited plasma treatment is performed under an atmosphere containing oxygen.
In the above, the microwave-excited plasma treatment is performed with a pressure of higher than or equal to 133 Pa.
In the above, the microwave-excited plasma treatment is performed with a pressure of higher than or equal to 400 Pa.
In the above, the second insulator is formed in a deposition apparatus without exposure to the air after heat treatment is performed at 100° C. or higher in the deposition apparatus.
In the above, the first oxide semiconductor and the second oxide semiconductor are each an In—Ga—Zn oxide.
Effect of the Invention
According to one embodiment of the present invention, a semiconductor device with high reliability can be provided. According to another embodiment of the present invention, a semiconductor device having favorable electrical characteristics can be provided. According to another embodiment of the present invention, a semiconductor device with a high on-state current can be provided. According to another embodiment of the present invention, a semiconductor device that can be miniaturized or highly integrated can be provided. According to another embodiment of the present invention, a semiconductor device with low power consumption can be provided.
Note that the descriptions of the effects do not disturb the existence of other effects. One embodiment of the present invention does not necessarily achieve all the effects. Effects other than these will be apparent from the descriptions of the specification, the drawings, the claims, and the like, and can be derived from the descriptions of the specification, the drawings, the claims, and the like.
BRIEF DESCRIPTION OF THE DRAWINGS
FIG. 1A, FIG. 1B, and FIG. 1C are a top view and cross-sectional views of a semiconductor device of one embodiment of the present invention.
FIG. 2A, FIG. 2B, and FIG. 2C are a top view and cross-sectional views of a semiconductor device of one embodiment of the present invention.
FIG. 3A, FIG. 3B, and FIG. 3C are a top view and cross-sectional views illustrating a method for manufacturing a semiconductor device of one embodiment of the present invention.
FIG. 4A, FIG. 4B, and FIG. 4C are a top view and cross-sectional views illustrating a method for manufacturing a semiconductor device of one embodiment of the present invention.
FIG. 5A, FIG. 5B, and FIG. 5C are a top view and cross-sectional views illustrating a method for manufacturing a semiconductor device of one embodiment of the present invention.
FIG. 6A, FIG. 6B, and FIG. 6C are a top view and cross-sectional views illustrating a method for manufacturing a semiconductor device of one embodiment of the present invention.
FIG. 7A, FIG. 7B, and FIG. 7C are a top view and cross-sectional views illustrating a method for manufacturing a semiconductor device of one embodiment of the present invention.
FIG. 8A, FIG. 8B, and FIG. 8C are a top view and cross-sectional views illustrating a method for manufacturing a semiconductor device of one embodiment of the present invention.
FIG. 9A, FIG. 9B, and FIG. 9C are a top view and cross-sectional views illustrating a method for manufacturing a semiconductor device of one embodiment of the present invention.
FIG. 10A, FIG. 10B, and FIG. 10C are a top view and cross-sectional views illustrating a method for manufacturing a semiconductor device of one embodiment of the present invention.
FIG. 11 is a cross-sectional view illustrating a structure of a memory device of one embodiment of the present invention.
FIG. 12 is a cross-sectional view illustrating a structure of a memory device of one embodiment of the present invention.
FIG. 13 is a cross-sectional view illustrating a structure of a memory device of one embodiment of the present invention.
FIG. 14A and FIG. 14B are a block diagram and a schematic diagram illustrating a structure example of a memory device of one embodiment of the present invention.
FIG. 15A, FIG. 15B, FIG. 15C, FIG. 15D, FIG. 15E, FIG. 15F, FIG. 15G, and FIG. 15H are circuit diagrams each illustrating a structure example of a memory device of one embodiment of the present invention.
FIG. 16A and FIG. 16B are schematic diagrams of a semiconductor device of one embodiment of the present invention.
FIG. 17A, FIG. 17B, FIG. 17C, FIG. 17D, and FIG. 17E are schematic diagrams of memory devices of embodiments of the present invention.
FIG. 18A, FIG. 18B, FIG. 18C, FIG. 18D, FIG. 18E, FIG. 18F, FIG. 18G, and FIG. 18H each illustrate an electronic device of one embodiment of the present invention.
FIG. 19A and FIG. 19B show a structure in Example and SIMS results.
FIG. 20A and FIG. 20B show a structure in Example and carrier concentrations in oxide semiconductors.
MODE FOR CARRYING OUT THE INVENTION
Hereinafter, embodiments will be described with reference to drawings. However, the embodiments can be implemented with many different modes, and it will be readily appreciated by those skilled in the art that modes and details thereof can be changed in various ways without departing from the spirit and scope thereof. Thus, the present invention should not be interpreted as being limited to the following descriptions of the embodiments.
In the drawings, the size, the layer thickness, or the region is exaggerated for clarity in some cases. Therefore, the size, the layer thickness, or the region is not limited to the illustrated scale. Note that the drawings are schematic views showing ideal examples, and embodiments of the present invention are not limited to shapes or values shown in the drawings. For example, in the actual manufacturing process, a layer, a resist mask, or the like might be unintentionally reduced in size by treatment such as etching, which might not be reflected in the drawings for easy understanding of the invention. Furthermore, in the drawings, the same reference numerals are used in common for the same portions or portions having similar functions in different drawings, and repeated description thereof is omitted in some cases. Furthermore, the same hatch pattern is used for the portions having similar functions, and the portions are not especially denoted by reference numerals in some cases.
Furthermore, especially in a top view (also referred to as a “plan view”), a perspective view, or the like, the description of some components might be omitted for easy understanding of the invention. The description of some hidden lines and the like might also be omitted.
Note that in this specification and the like, the ordinal numbers such as first and second are used for convenience and do not denote the order of steps or the stacking order of layers. Therefore, for example, description can be made even when “first” is replaced with “second”, “third”, or the like, as appropriate. In addition, the ordinal numbers in this specification and the like do not correspond to the ordinal numbers which are used to specify one embodiment of the present invention in some cases.
In this specification and the like, terms for describing arrangement, such as “over” and “under”, are used for convenience in describing a positional relation between components with reference to drawings. Furthermore, the positional relation between components is changed as appropriate in accordance with a direction in which each component is described. Thus, without limitation to terms described in this specification, the description can be changed appropriately depending on the situation.
When this specification and the like explicitly state that X and Y are connected, for example, the case where X and Y are electrically connected, the case where X and Y are functionally connected, and the case where X and Y are directly connected are regarded as being disclosed in this specification and the like. Accordingly, without being limited to a predetermined connection relation, for example, a connection relation shown in drawings or texts, a connection relation other than one shown in drawings or texts is disclosed in the drawings or the texts. Here, X and Y each denote an object (e.g., a device, an element, a circuit, a wiring, an electrode, a terminal, a conductive film, or a layer).
In this specification and the like, a transistor is an element having at least three terminals of a gate, a drain, and a source. In addition, the transistor includes a region where a channel is formed (hereinafter also referred to as a channel formation region) between the drain (a drain terminal, a drain region, or a drain electrode) and the source (a source terminal, a source region, or a source electrode), and current can flow between the source and the drain through the channel formation region. Note that in this specification and the like, a channel formation region refers to a region through which current mainly flows.
Furthermore, functions of a source and a drain might be switched when a transistor of opposite polarity is employed or a direction of current flow is changed in circuit operation, for example. Therefore, the terms “source” and “drain” can sometimes be interchanged with each other in this specification and the like.
Note that a channel length refers to, for example, a distance between a source (a source region or a source electrode) and a drain (a drain region or a drain electrode) in a region where a semiconductor (or a portion where current flows in a semiconductor when a transistor is in an on state) and a gate electrode overlap with each other or a channel formation region in a top view of the transistor. Note that in one transistor, channel lengths in all regions do not necessarily have the same value. In other words, the channel length of one transistor is not fixed to one value in some cases. Thus, in this specification, the channel length is any one of the values, the maximum value, the minimum value, or the average value in a channel formation region.
A channel width refers to, for example, a length of a channel formation region in a direction perpendicular to a channel length direction in a region where a semiconductor (or a portion where current flows in a semiconductor when a transistor is in an on state) and a gate electrode overlap with each other, or a channel formation region in a top view of the transistor. Note that in one transistor, channel widths in all regions do not necessarily have the same value. In other words, the channel width of one transistor is not fixed to one value in some cases. Thus, in this specification, the channel width is any one of the values, the maximum value, the minimum value, or the average value in a channel formation region.
Note that in this specification and the like, depending on the transistor structure, a channel width in a region where a channel is actually formed (hereinafter also referred to as an effective channel width) is sometimes different from a channel width shown in a top view of a transistor (hereinafter also referred to as an apparent channel width). For example, when a gate electrode covers a side surface of a semiconductor, an effective channel width is larger than an apparent channel width, and its influence cannot be ignored in some cases. For example, in a miniaturized transistor whose gate electrode covers a side surface of a semiconductor, the proportion of a channel formation region formed in the side surface of the semiconductor is increased in some cases. In that case, the effective channel width is larger than the apparent channel width.
In such a case, the effective channel width is sometimes difficult to estimate by actual measurement. For example, estimation of an effective channel width from a design value requires assumption that the shape of a semiconductor is known. Accordingly, in the case where the shape of a semiconductor is not known accurately, it is difficult to measure the effective channel width accurately.
In this specification, the simple term “channel width” refers to apparent channel width in some cases. Alternatively, in this specification, the simple term “channel width” refers to effective channel width in some cases. Note that values of channel length, channel width, effective channel width, apparent channel width, and the like can be determined, for example, by analyzing a cross-sectional TEM image and the like.
Note that impurities in a semiconductor refer to, for example, elements other than the main components of the semiconductor. For example, an element with a concentration lower than 0.1 atomic % can be regarded as an impurity. When an impurity is contained, for example, the density of defect states in a semiconductor increases and the crystallinity decreases in some cases. In the case where the semiconductor is an oxide semiconductor, examples of an impurity which changes the characteristics of the semiconductor include Group 1 elements, Group 2 elements, Group 13 elements, Group 14 elements, Group 15 elements, transition metals other than the main components of the oxide semiconductor, and the like; hydrogen, lithium, sodium, silicon, boron, phosphorus, carbon, nitrogen, and the like are given as examples. Note that water also serves as an impurity in some cases. Entry of an impurity may cause oxygen vacancies in an oxide semiconductor, for example.
Note that in this specification and the like, silicon oxynitride is a material that contains more oxygen than nitrogen in its composition. Moreover, silicon nitride oxide is a material that contains more nitrogen than oxygen in its composition.
In this specification and the like, the term “insulator” can be replaced with an insulating film or an insulating layer. Furthermore, the term “conductor” can be replaced with a conductive film or a conductive layer. Moreover, the term “semiconductor” can be replaced with a semiconductor film or a semiconductor layer.
In this specification and the like, “parallel” indicates a state where two straight lines are placed at an angle of greater than or equal to −10° and less than or equal to 10°. Thus, the case where the angle is greater than or equal to −5° and less than or equal to 5° is also included. In addition, “substantially parallel” indicates a state where two straight lines are placed at an angle greater than or equal to −30° and less than or equal to 30°. Moreover, “perpendicular” indicates a state where two straight lines are placed at an angle of greater than or equal to 80° and less than or equal to 100°. Thus, the case where the angle is greater than or equal to 85° and less than or equal to 95° is also included. Furthermore, “substantially perpendicular” indicates a state where two straight lines are placed at an angle greater than or equal to 60° and less than or equal to 120°.
In this specification and the like, a metal oxide is an oxide of metal in a broad sense. Metal oxides are classified into an oxide insulator, an oxide conductor (including a transparent oxide conductor), an oxide semiconductor (also simply referred to as an OS), and the like. For example, in the case where a metal oxide is used in a semiconductor layer of a transistor, the metal oxide is referred to as an oxide semiconductor in some cases. That is, an OS transistor can also be called a transistor including a metal oxide or an oxide semiconductor.
In this specification and the like, normally off means drain current per micrometer of channel width flowing through a transistor being 1×10−20 A or less at room temperature, 1×10−18 A or less at 85° C., or 1×10−16 A or less at 125° C. when a potential is not applied to a gate or a ground potential is applied to the gate.
Embodiment 1
An example of a semiconductor device including a transistor 200 of one embodiment of the present invention is described in this embodiment.
<Structure Example of Semiconductor Device>
FIG. 1 includes a top view and cross-sectional views of a semiconductor device including the transistor 200 of one embodiment of the present invention. FIG. 1A is a top view of the semiconductor device. FIG. 1B and FIG. 1C are cross-sectional views of the semiconductor device. Here, FIG. 1B is a cross-sectional view of a portion indicated by dashed-dotted line A1-A2 in FIG. 1A, and is a cross-sectional view of the transistor 200 in the channel length direction. FIG. 1C is a cross-sectional view of a portion indicated by dashed-dotted line A3-A4 in FIG. 1A, and is a cross-sectional view of the transistor 200 in the channel width direction. Note that for clarity of the drawing, some components are not illustrated in the top view of FIG. 1A.
The semiconductor device of one embodiment of the present invention includes the transistor 200, and an insulator 214, an insulator 216, an insulator 280, an insulator 274, and an insulator 281 that function as interlayer films. A conductor 240 (a conductor 240 a and a conductor 240 b) that is electrically connected to the transistor 200 and functions as a plug is also included. Note that an insulator 241 (an insulator 241 a and an insulator 241 b) is provided in contact with a side surface of the conductor 240 functioning as a plug.
[Transistor 200]
As shown in FIG. 1 , the transistor 200 is positioned over a substrate (not shown) and includes a conductor 205 positioned to be embedded in the insulator 216; an insulator 222 positioned over the insulator 216 and the conductor 205; an insulator 224 positioned over the insulator 222; an oxide 230 (an oxide 230 a, an oxide 230 b, and an oxide 230 c) positioned over the insulator 224; an insulator 250 positioned over the oxide 230; a conductor 260 (a conductor 260 a and a conductor 260 b) positioned over the insulator 250; a conductor 242 a and a conductor 242 b each being in contact with part of a top surface of the oxide 230 b; and an insulator 254 positioned in contact with part of a top surface of the insulator 224, a side surface of the oxide 230 a, a side surface of the oxide 230 b, a side surface and a top surface of the conductor 242 a, and a side surface and a top surface of the conductor 242 b.
The oxide 230 preferably includes the oxide 230 a positioned over the insulator 224, the oxide 230 b positioned over the oxide 230 a, and the oxide 230 c that is positioned over the oxide 230 b and is at least partly in contact with the top surface of the oxide 230 b. Including the oxide 230 a below the oxide 230 b makes it possible to inhibit diffusion of impurities into the oxide 230 b from the components formed below the oxide 230 a. Moreover, including the oxide 230 c over the oxide 230 b makes it possible to inhibit diffusion of impurities into the oxide 230 b from the components formed above the oxide 230 c.
Although a structure in which the oxide 230 has a three-layer stacked structure of the oxide 230 a, the oxide 230 b, and the oxide 230 c in the transistor 200 is described, the present invention is not limited thereto. For example, the oxide 230 may be a single layer of the oxide 230 b or has a two-layer structure of the oxide 230 a and the oxide 230 b, a two-layer structure of the oxide 230 b and the oxide 230 c, or a stacked-layer structure including four or more layers. Alternatively, each of the oxide 230 a, the oxide 230 b, and the oxide 230 c may have a stacked-layer structure.
The conductor 242 (the conductor 242 a and the conductor 242 b) is provided over the oxide 230 b.
The conductor 260 functions as a first gate (also referred to as top gate) electrode of the transistor 200, and the conductor 242 a and the conductor 242 b function as a source electrode and a drain electrode of the transistor 200.
In the transistor 200, a metal oxide functioning as a semiconductor (hereinafter also referred to as an oxide semiconductor) is preferably used for the oxide 230 including the channel formation region. When an oxide semiconductor is used for a channel formation region of a transistor, a transistor having high field-effect mobility can be achieved. In addition, the transistor having high reliability can be achieved.
As the metal oxide, it is preferable to use a metal oxide having a band gap of 2.0 eV or more, preferably 2.5 eV or more. The use of a metal oxide having a wide band gap for the oxide 230 can reduce the off-state current of the transistor. With the use of such a transistor, a semiconductor device with low power consumption can be provided.
The transistor 200 including an oxide semiconductor in the channel formation region has an extremely low leakage current in a non-conduction state; hence, a low-power semiconductor device can be provided. An oxide semiconductor can be deposited by a sputtering method or the like, and thus can be used in the transistor 200 included in a highly integrated semiconductor device.
For example, for the oxide 230, a metal oxide such as an In-M-Zn oxide containing indium (In), an element M, and zinc (Zn) (the element M is one or more selected from aluminum, gallium, yttrium, tin, copper, vanadium, beryllium, boron, titanium, iron, nickel, germanium, zirconium, molybdenum, lanthanum, cerium, neodymium, hafnium, tantalum, tungsten, magnesium, and the like) is preferably used. In particular, aluminum, gallium, yttrium, or tin is preferably used as the element M. Furthermore, an In-M oxide, an In—Zn oxide, or an M-Zn oxide may be used for the oxide 230.
A metal oxide with a low carrier density is preferably used for the transistor. In order to reduce the carrier density of the metal oxide, the concentration of impurities in the metal oxide is reduced so that the density of defect states can be reduced. In this specification and the like, a state with a low impurity concentration and a low density of defect states is referred to as a highly purified intrinsic or substantially highly purified intrinsic state. As examples of the impurities in the metal oxide, hydrogen, nitrogen, alkali metal, alkaline earth metal, iron, nickel, silicon, and the like are given.
In particular, hydrogen contained in a metal oxide reacts with oxygen bonded to a metal atom to be water, and thus forms oxygen vacancies in the metal oxide in some cases. In some cases, a defect that is an oxygen vacancy hydrogen enters functions as a donor and generates an electron serving as a carrier. Thus, a transistor using a metal oxide containing a large amount of hydrogen is likely to have normally-on characteristics.
Therefore, when a metal oxide is used for the oxide 230, hydrogen in the metal oxide is preferably reduced as much as possible. Specifically, the hydrogen concentration of the metal oxide, which is measured by secondary ion mass spectrometry (SIMS), is lower than 1×1020 atoms/cm3, preferably lower than 1×1019 atoms/cm3, further preferably lower than 5×1018 atoms/cm3, still further preferably lower than 1×1018 atoms/cm3. When a metal oxide with a sufficiently low concentration of impurities such as hydrogen is used for a channel formation region of a transistor, the transistor can have stable electrical characteristics.
However, hydrogen might be diffused into a metal oxide through a step after deposition of the metal oxide. For example, when the insulator 250 functioning as a gate insulator is deposited in contact with the oxide 230, a deposition gas containing hydrogen is used in some cases. It is highly probable that hydrogen contained in the deposition gas is diffused into the oxide 230.
For example, in the insulator 250, hydrogen, nitrogen, and carbon are present as impurities. In particular, it is difficult to remove an impurity bonded to a silicon atom by heat treatment because a bond between the impurity atom and the silicon atom needs to be cut.
Thus, microwave-excited plasma treatment is preferably performed under an atmosphere containing oxygen after the insulator 250 is deposited over the oxide 230. By performing microwave-excited plasma treatment, an impurity in the insulator 250, such as hydrogen, water, or an impurity can be removed. Furthermore, microwave-excited plasma treatment improves the film quality of the insulator 250, whereby diffusion of hydrogen, water, an impurity, or the like can be inhibited. Accordingly, hydrogen, water, or an impurity can be inhibited from being diffused into the oxide 230 through the insulator 250 in the following step such as deposition of a conductive film to be the conductor 260 or the following treatment such as heat treatment.
In solid silicon oxide, for example, bond energy between a hydrogen atom and a silicon atom is 3.3 eV, bond energy between a carbon atom and a silicon atom is 3.4 eV, and bond energy between a nitrogen atom and a silicon atom is 3.5 eV. Thus, in order to remove a hydrogen atom bonded to a silicon atom, radicals or ions having an energy of at least greater than or equal to 3.3 eV are made to collide with a bond portion between the hydrogen atom and the silicon atom to cut the bond between the hydrogen atom and the silicon atom.
Note that the same applies to other impurities such as nitrogen and carbon; radicals or ions having energy at least greater than or equal to bond energy are made to collide with a bond portion between an impurity atom and a silicon atom to cut the bond between the impurity atom and the silicon atom.
Here, examples of radicals and ions generated by microwave-excited plasma include O(3P), which is an oxygen atom radical in the ground state, O(1D), which is an oxygen atom radical in the first excited state, and O2 +, which is a monovalent cation of an oxygen molecule. The energy of O(3P) is 2.42 eV, and the energy of O(1D) is 4.6 eV. Furthermore, the energy of O2 + having charges is not uniquely determined because it is accelerated by the potential distribution in plasma and a bias; however, at least only the internal energy is higher than the energy of O(1D).
That is, radicals and ions such as O(1D) and O2 + can cut the bond between each of hydrogen, nitrogen, and a carbon atom in the insulator 250 and a silicon atom to remove hydrogen, nitrogen, and carbon bonded to the silicon atom. Furthermore, the impurities such as hydrogen, nitrogen, and carbon can also be reduced by thermal energy and the like applied to a substrate in performing the microwave-excited plasma treatment.
On the other hand, O(3P) has low reactivity, and thus does not react in the insulator 250 and is diffused deeply in the film. Alternatively, O(3P) reaches the oxide 230 through the insulator 250, and is diffused into the oxide 230. When O(3P) diffused into the oxide 230 comes close to the oxygen vacancy hydrogen enters, hydrogen in the oxygen vacancy is released from the oxygen vacancy and O(3P) enters the oxygen vacancy instead; thus, the oxygen vacancy is filled. Accordingly, an electron serving as a carrier can be inhibited from being generated in the oxide 230.
The proportion of O(3P) in the total radicals and ion species increases when microwave-excited plasma treatment is performed under a high pressure condition. The proportion of O(3P) is preferably high for compensation of the oxygen vacancies in the oxide 230. Thus, the pressure during the microwave-excited plasma treatment is higher than or equal to 133 Pa, preferably higher than or equal to 200 Pa, further preferably higher than or equal to 400 Pa. Furthermore, the oxygen flow rate ratio (O2/O2+Ar) is lower than or equal to 50%, preferably higher than or equal to 10% and lower than or equal to 30%.
When a metal oxide is used for the oxide 230, contact between the conductor 242 (the conductor 242 a and the conductor 242 b) and the oxide 230 may make oxygen in the oxide 230 diffuse into the conductor 242, resulting in oxidation of the conductor 242. It is highly probable that oxidation of the conductor 242 lowers the conductivity of the conductor 242. Note that diffusion of oxygen in the oxide 230 into the conductor 242 can be rephrased as absorption of oxygen in the oxide 230 by the conductor 242.
In view of the above, the conductor 242 (the conductor 242 a and the conductor 242 b) is preferably formed using a conductive material with which hydrogen in the oxide 230 easily diffuses into the conductor 242 and oxygen in the oxide 230 does not easily diffuse into the conductor 242. Thus, with hydrogen in the oxide 230 diffusing into the conductor 242, the hydrogen concentration of the oxide 230 is reduced, and the transistor 200 can have stable electrical characteristics. Note that in this specification and the like, ease of diffusion of hydrogen in an oxide into a conductor is sometimes expressed by a phrase “the conductor is likely to extract (absorb) hydrogen in the oxide”. Moreover, hardness of diffusion of oxygen in an oxide into a conductor is sometimes expressed by phrases “the conductor is not easily oxidized” and “the conductor is resistant to oxidation”, for example.
An example of a conductor used as the conductive material includes a conductor containing tantalum (Ta), titanium (Ti), or the like. In particular, a conductor containing tantalum is preferably used for the conductor 242. A conductor containing tantalum may contain nitrogen and may contain oxygen. Accordingly, the composition formula of a conductor containing tantalum preferably satisfies TaNxOy (x is a real number greater than 0 and less than or equal to 1.67 and y is a real number greater than or equal to 0 and less than or equal to 1.0). Examples of the conductor containing tantalum include metal tantalum, tantalum oxide, tantalum nitride, tantalum nitride oxide, and tantalum oxynitride. Thus, in this specification and the like, the conductor containing tantalum is sometimes referred to as TaNxOy.
The proportion of tantalum in TaNxOy is preferably high. Alternatively, the proportions of nitrogen and oxygen are preferably low, and x and y are preferably small. A high proportion of tantalum lowers the resistance of TaNxOy, and the transistor 200 in which TaNxOy is used for the conductor 242 can have favorable electrical characteristics.
Alternatively, the proportion of nitrogen in TaNxOy is preferably high, and x is preferably large. The use of TaNxOy with a high nitrogen proportion for the conductor 242 can inhibit oxidation of the conductor 242.
Note that TaNxOy is a conductive material into which hydrogen is diffused easily and oxygen is less likely to be diffused, and thus is suitable for the conductor 242. With the use of TaNxOy for the conductor 242, hydrogen in the oxide 230 can be diffused into the conductor 242 by heat treatment in a step after formation of a conductive film to be the conductor 242, whereby the hydrogen concentration in the oxide 230 can be reduced. Moreover, oxygen extracted from the oxide 230 b can be reduced even when heat treatment is performed; thus, the transistor 200 is stable with respect to temperature in a manufacturing process (what is called thermal budget).
Note that hydrogen diffused into the conductor 242 sometimes remains in the conductor 242. In other words, hydrogen in the oxide 230 is absorbed by the conductor 242 in some cases. In other cases, hydrogen in the oxide 230 passes through the conductor 242 and is released to a component provided around the conductor 242 or the outside of the transistor 200.
With the above structure, the hydrogen concentration of the oxide 230 can be reduced. Accordingly, the transistor 200 can have favorable electrical characteristics and reliability.
According to the above, a semiconductor device with high reliability can be provided. Alternatively, a semiconductor device having favorable electrical characteristics can be provided. Alternatively, a semiconductor device that can be miniaturized or highly integrated can be provided. Alternatively, a semiconductor device with low power consumption can be provided.
<Specific Structure of Semiconductor Device>
The detailed structure of the semiconductor device including the transistor 200 of one embodiment of the present invention is described below.
The insulator 214 preferably functions as an insulating barrier film that inhibits diffusion of impurities such as water and hydrogen from the substrate side into the transistor 200. Accordingly, for the insulator 214, it is preferable to use an insulating material having a function of inhibiting diffusion of impurities such as a hydrogen atom, a hydrogen molecule, a water molecule, a nitrogen atom, a nitrogen molecule, a nitrogen oxide molecule (N2O, NO, NO2, or the like), and a copper atom. Alternatively, it is preferable to use an insulating material having a function of inhibiting diffusion of oxygen (e.g., at least one of an oxygen atom, an oxygen molecule, and the like).
Note that in this specification, a function of inhibiting diffusion of impurities or oxygen means a function of inhibiting diffusion of any one or all of the impurities and the oxygen. In addition, a film having a function of inhibiting diffusion of hydrogen or oxygen may be referred to as a film through which hydrogen or oxygen does not pass easily, a film having low permeability of hydrogen or oxygen, a film having a barrier property against hydrogen or oxygen, or a barrier film against hydrogen or oxygen, for example. A barrier film having conductivity is sometimes referred to as a conductive barrier film.
For example, aluminum oxide, silicon nitride, or the like is preferably used for the insulator 214. Accordingly, impurities such as water and hydrogen can be inhibited from being diffused into the transistor 200 side from the substrate side through the insulator 214. Alternatively, oxygen contained in the insulator 224 and the like can be inhibited from being diffused into the substrate side through the insulator 214. Note that the insulator 214 may have a stacked-layer structure of two or more layers. In such cases, without limitation to a stacked-layer structure formed of the same material, a stacked-layer structure formed of different materials may be employed. For example, a stack of aluminum oxide and silicon nitride may be employed.
Furthermore, the insulator 214 is preferably formed of silicon nitride by a sputtering method, for example. In this manner, the hydrogen concentration in the insulator 214 can be reduced, and impurities such as water and hydrogen can be further inhibited from being diffused into the transistor 200 side from the substrate side through the insulator 214.
The permittivity of the insulator 216 functioning as an interlayer film is preferably lower than the permittivity of the insulator 214. When a material with a low permittivity is used for an interlayer film, the parasitic capacitance generated between wirings can be reduced. For the insulator 216, silicon oxide, silicon oxynitride, silicon nitride oxide, silicon nitride, silicon oxide to which fluorine is added, silicon oxide to which carbon is added, silicon oxide to which carbon and nitrogen are added, porous silicon oxide, or the like is used as appropriate, for example.
The insulator 216 preferably includes a region that has a low hydrogen concentration and contains oxygen in excess of that in the stoichiometric composition (hereinafter also referred to as an excess-oxygen region), or preferably contains oxygen that is released by heating (hereinafter also referred to as excess oxygen). For example, silicon oxide deposited by a sputtering method is preferably used for the insulator 216. Thus, entry of hydrogen into the oxide 230 can be inhibited; alternatively, oxygen can be supplied to the oxide 230 to reduce oxygen vacancies in the oxide 230. Thus, a transistor that has stable electrical characteristics with a small variation in electrical characteristics and improved reliability can be provided.
Note that the insulator 216 may have a stacked-layer structure. For example, in the insulator 216, an insulator similar to the insulator 214 may be provided at least in a portion in contact with a side surface of the conductor 205. With such a structure, oxidization of the conductor 205 due to oxygen contained in the insulator 216 can be inhibited. Alternatively, a reduction in the amount of oxygen contained in the insulator 216 due to the conductor 205 can be inhibited.
The conductor 205 sometimes functions as a second gate (also referred to as bottom gate) electrode. In that case, by changing a potential applied to the conductor 205 not in conjunction with but independently of a potential applied to the conductor 260, the threshold voltage (Vth) of the transistor 200 can be controlled. In particular, by applying a negative potential to the conductor 205, Vth of the transistor 200 can be further increased, and the off-state current can be reduced. Thus, drain current when a potential applied to the conductor 260 is 0 V can be lower in the case where a negative potential is applied to the conductor 205 than in the case where the negative potential is not applied to the conductor 205.
The conductor 205 is provided to overlap with the oxide 230 and the conductor 260. Furthermore, the conductor 205 is preferably provided to be embedded in the insulator 214 or the insulator 216.
Note that as shown in FIG. 1B, the conductor 205 is preferably provided larger than the channel formation region in the oxide 230. As illustrated in FIG. 1C, it is particularly preferable that the conductor 205 extend to a region outside an end portion of the oxide 230 that intersects with the channel width direction. That is, the conductor 205 and the conductor 260 preferably overlap with each other with the insulators therebetween on an outer side of the side surface of the oxide 230 in the channel width direction. Since the above-described structure is included, the channel formation region of the oxide 230 can be electrically surrounded by the electric field of the conductor 260 functioning as the first gate electrode and the electric field of the conductor 205 functioning as the second gate electrode.
Furthermore, as shown in FIG. 1C, the conductor 205 extends to function as a wiring as well. However, without limitation to this structure, a structure where a conductor functioning as a wiring is provided below the conductor 205 may be employed. In addition, the conductor 205 does not necessarily have to be provided in each transistor. For example, the conductor 205 may be shared by a plurality of transistors.
Although the transistor 200 having a structure in which the first conductor of the conductor 205 and the second conductor of the conductor 205 are stacked is illustrated, the present invention is not limited thereto. For example, the conductor 205 may have a single-layer structure or a stacked-layer structure of three or more layers. In the case where a structure body has a stacked-layer structure, layers may be distinguished by ordinal numbers corresponding to the formation order.
Here, for the first conductor of the conductor 205, a conductive material having a function of inhibiting diffusion of impurities such as a hydrogen atom, a hydrogen molecule, a water molecule, a nitrogen atom, a nitrogen molecule, a nitrogen oxide molecule (N2O, NO, NO2, or the like), and a copper atom is preferably used. Alternatively, it is preferable to use a conductive material having a function of inhibiting diffusion of oxygen (e.g., at least one of oxygen atoms, oxygen molecules, and the like).
When a conductive material having a function of inhibiting diffusion of oxygen is used for the first conductor of the conductor 205, a reduction in the conductivity of the second conductor of the conductor 205 due to oxidation can be inhibited. As a conductive material having a function of inhibiting diffusion of oxygen, for example, tantalum, tantalum nitride, ruthenium, or ruthenium oxide is preferably used. Accordingly, the first conductor of the conductor 205 is a single layer or stacked layers of the above conductive materials. For example, the first conductor of the conductor 205 may be a stack of tantalum, tantalum nitride, ruthenium, or ruthenium oxide and titanium or titanium nitride.
A conductive material containing tungsten, copper, or aluminum as its main component is preferably used for the second conductor of the conductor 205. Note that the second conductor of the conductor 205 is a single layer in the drawing but may have a stacked-layer structure, for example, a stacked-layer structure of the above conductive material and titanium or titanium nitride.
The insulator 222 and the insulator 224 function as a gate insulator.
It is preferable that the insulator 222 have a function of inhibiting diffusion of hydrogen (e.g., at least one of a hydrogen atom, a hydrogen molecule, and the like). In addition, it is preferable that the insulator 222 have a function of inhibiting diffusion of oxygen (e.g., at least one of an oxygen atom, an oxygen molecule, and the like). For example, the insulator 222 preferably has a function of further inhibiting diffusion of one or both of hydrogen and oxygen as compared to the insulator 224.
For the insulator 222, an insulator containing an oxide of one or both of aluminum and hafnium, which is an insulating material, is preferably used. In particular, it is preferable that aluminum oxide, hafnium oxide, an oxide containing aluminum and hafnium (hafnium aluminate), or the like be used as the insulator. In the case where the insulator 222 is formed using such a material, the insulator 222 functions as a layer that inhibits release of oxygen from the oxide 230 to the substrate side and diffusion of impurities such as hydrogen from the periphery of the transistor 200 into the oxide 230. Thus, providing the insulator 222 can inhibit diffusion of impurities such as hydrogen inside the transistor 200 and inhibit generation of oxygen vacancies in the oxide 230. Moreover, the conductor 205 can be inhibited from reacting with oxygen contained in the insulator 224 and the oxide 230.
Alternatively, aluminum oxide, bismuth oxide, germanium oxide, niobium oxide, silicon oxide, titanium oxide, tungsten oxide, yttrium oxide, or zirconium oxide may be added to the above insulator, for example. Alternatively, these insulators may be subjected to nitriding treatment. A stack of silicon oxide, silicon oxynitride, or silicon nitride over these insulators may be used as the insulator 222.
A single layer or stacked layers of an insulator containing what is called a high-k material such as aluminum oxide, hafnium oxide, tantalum oxide, zirconium oxide, lead zirconate titanate (PZT), strontium titanate (SrTiO3), or (Ba,Sr)TiO3 (BST) may be used as the insulator 222. With miniaturization and high integration of transistors, a problem such as leakage current may arise because of a thinner gate insulator. When a high-k material is used as an insulator functioning as the gate insulator, a gate potential during operation of the transistor can be lowered while the physical thickness of the gate insulator is maintained.
It is preferable that oxygen be released from the insulator 224 in contact with the oxide 230 by heating. Silicon oxide, silicon oxynitride, or the like is used as appropriate for the insulator 224, for example. When an insulator containing oxygen is provided in contact with the oxide 230, oxygen vacancies in the oxide 230 can be reduced and the reliability of the transistor 200 can be improved.
For the insulator 224, specifically, an oxide material that releases part of oxygen by heating is preferably used. An oxide that releases oxygen by heating is an oxide film in which the amount of released oxygen molecules is greater than or equal to 1.0×1018 molecules/cm3, preferably greater than or equal to 1.0×1019 molecules/cm3, further preferably greater than or equal to 2.0×1019 molecules/cm3 or greater than or equal to 3.0×1020 molecules/cm3 in TDS (Thermal Desorption Spectroscopy) analysis. Note that the temperature of the film surface in the TDS analysis is preferably within the range of 100° C. to 700° C., or 100° C. to 400° C.
The insulator 224 preferably has a low hydrogen concentration and includes an excess-oxygen region or excess oxygen, and may be formed using a material similar to that for the insulator 216, for example.
Note that the insulator 222 and the insulator 224 may each have a stacked-layer structure of two or more layers. In such cases, without limitation to a stacked-layer structure formed of the same material, a stacked-layer structure formed of different materials may be employed.
Note that the oxide 230 preferably has a stacked-layer structure using oxides with different chemical compositions. Specifically, the atomic ratio of the element M to metal elements of main components in the metal oxide used for the oxide 230 a is preferably greater than the atomic ratio of the element M to metal elements of main components in the metal oxide used for the oxide 230 b. Moreover, the atomic ratio of the element M to In in the metal oxide used for the oxide 230 a is preferably greater than the atomic ratio of the element M to In in the metal oxide used for the oxide 230 b. Furthermore, the atomic ratio of In to the element M in the metal oxide used for the oxide 230 b is preferably greater than the atomic ratio of In to the element M in the metal oxide used for the oxide 230 a. A metal oxide that can be used for the oxide 230 a or the oxide 230 b can be used for the oxide 230 c.
The oxide 230 b and the oxide 230 c preferably have crystallinity. For example, a CAAC-OS (c-axis aligned crystalline oxide semiconductor) described later is preferably used. An oxide having crystallinity, such as a CAAC-OS, has a dense structure with small amounts of impurities and defects (e.g., oxygen vacancies) and high crystallinity. This can inhibit oxygen extraction from the oxide 230 b by the source electrode or the drain electrode. This can reduce oxygen extraction from the oxide 230 b even when heat treatment is performed; thus, the transistor 200 is stable with respect to high temperatures in a manufacturing process (what is called thermal budget).
In addition, a CAAC-OS is preferably used for the oxide 230 c; the c-axis of a crystal included in the oxide 230 c is preferably aligned in a direction substantially perpendicular to the formation surface or the top surface of the oxide 230 c. The CAAC-OS has a property such that oxygen is easily moved in a direction perpendicular to the c-axis. Thus, oxygen contained in the oxide 230 c can be efficiently supplied to the oxide 230 b.
The energy level of the conduction band minimum of each of the oxide 230 a and the oxide 230 c is preferably higher than the energy level of the conduction band minimum of the oxide 230 b. In other words, the electron affinity of each of the oxide 230 a and the oxide 230 c is preferably smaller than the electron affinity of the oxide 230 b. In that case, a metal oxide that can be used for the oxide 230 a is preferably used for the oxide 230 c. At this time, the oxide 230 b serves as a main carrier path.
Here, the energy level of the conduction band minimum is gradually varied at junction portions of the oxide 230 a, the oxide 230 b, and the oxide 230 c. In other words, the energy level of the conduction band minimum at the junction portions of the oxide 230 a, the oxide 230 b, and the oxide 230 c is continuously varied or continuously connected. To obtain this, the density of defect states in a mixed layer formed at an interface between the oxide 230 a and the oxide 230 b and an interface between the oxide 230 b and the oxide 230 c is preferably made low.
Specifically, when the oxide 230 a and the oxide 230 b or the oxide 230 b and the oxide 230 c contain the same element as a main component in addition to oxygen, a mixed layer with a low density of defect states can be formed. For example, an In—Ga—Zn oxide, a Ga—Zn oxide, gallium oxide, or the like may be used for the oxide 230 a and the oxide 230 c in the case where the oxide 230 b is an In—Ga—Zn oxide.
Specifically, for the oxide 230 a, a metal oxide with In:Ga:Zn=1:3:4 [atomic ratio] or 1:1:0.5 [atomic ratio] is used. For the oxide 230 b, a metal oxide with In:Ga:Zn=1:1:1 [atomic ratio] or In:Ga:Zn=4:2:3 [atomic ratio] is used. For the oxide 230 c, a metal oxide with In:Ga:Zn=1:3:4 [atomic ratio], In:Ga:Zn=4:2:3 [atomic ratio], Ga:Zn=2:1 [atomic ratio], or Ga:Zn=2:5 [atomic ratio] is used.
When the metal oxide is deposited by a sputtering method, the atomic ratio is not limited to the atomic ratio of the deposited metal oxide and may be the atomic ratio of a sputtering target used for depositing the metal oxide.
When the oxide 230 a and the oxide 230 c have the above structure, the density of defect states at the interface between the oxide 230 a and the oxide 230 b and the interface between the oxide 230 b and the oxide 230 c can be made low. Thus, the influence of interface scattering on carrier conduction is small, and the transistor 200 can have a high on-state current and excellent frequency characteristics.
The oxide 230 c may have a stacked-layer structure of two or more layers. For example, the oxide 230 c may include a first oxide and a second oxide provided over the first oxide.
The first oxide of oxide 230 c preferably contains at least one of the metal elements contained in the metal oxide used for the oxide 230 b, and further preferably contains all of these metal elements. For example, it is preferable that an In—Ga—Zn oxide be used for the first oxide of the oxide 230 c, and an In—Ga—Zn oxide, a Ga—Zn oxide, or gallium oxide be used for the second oxide of the oxide 230 c. Accordingly, the density of defect states at the interface between the oxide 230 b and the first oxide of the oxide 230 c can be decreased. The second oxide of the oxide 230 c is preferably a metal oxide that inhibits diffusion or passage of oxygen, compared to the first oxide of the oxide 230 c. Providing the second oxide of the oxide 230 c between the insulator 250 and the first oxide of the oxide 230 c can inhibit diffusion of oxygen contained in the insulator 280 into the insulator 250. Therefore, the oxygen is more likely to be supplied to the oxide 230 b through the first oxide of the oxide 230 c.
The energy level of the conduction band minimum of each of the oxide 230 a and the second oxide of the oxide 230 c is preferably higher than the energy level of the conduction band minimum of each of the oxide 230 b and the first oxide of the oxide 230 c. In other words, the electron affinity of each of the oxide 230 a and the second oxide of the oxide 230 c is preferably smaller than the electron affinity of each of the oxide 230 b and the first oxide of the oxide 230 c. In that case, it is preferable that the second oxide of the oxide 230 c be formed using a metal oxide that can be used for the oxide 230 a, and the first oxide of the oxide 230 c be formed using a metal oxide that can be used for the oxide 230 b. At this time, not only the oxide 230 b but also the first oxide of the oxide 230 c serves as a main carrier path in some cases.
Specifically, a metal oxide with In:Ga:Zn=4:2:3 [atomic ratio] is used for the first oxide of the oxide 230 c and a metal oxide with In:Ga:Zn=1:3:4 [atomic ratio], Ga:Zn=2:1 [atomic ratio], or Ga:Zn=2:5 [atomic ratio], or a metal oxide such as gallium oxide is used for the second oxide of the oxide 230 c. Accordingly, the density of defect states at the interface between the first oxide of the oxide 230 c and the second oxide of the oxide 230 c can be decreased.
When the atomic ratio of In to the metal element of the main component in the metal oxide used for the second oxide of the oxide 230 c is smaller than the atomic ratio of In to the metal element of the main component in the metal oxide used for the first oxide of the oxide 230 c, the diffusion of In into the insulator 250 side can be inhibited. Since the insulator 250 functions as a gate insulator, the transistor exhibits poor characteristics when In enters the insulator 250 and the like. Thus, when the oxide 230 c has a stacked-layer structure, a highly reliable semiconductor device can be provided.
For the conductor 242, TaNxOy described above is preferably used. Note that TaNxOy may contain aluminum. As another example, titanium nitride, nitride containing titanium and aluminum, ruthenium oxide, ruthenium nitride, oxide containing strontium and ruthenium, or oxide containing lanthanum and nickel may be used. These materials are preferable because they are conductive materials that are not easily oxidized or materials that maintain the conductivity even when absorbing oxygen.
As illustrated in FIG. 1B, the insulator 254 is preferably in contact with the top surface and the side surface of the conductor 242 a, the top surface and the side surface of the conductor 242 b, the side surfaces of the oxide 230 a and the oxide 230 b, and part of the top surface of the insulator 224. With such a structure, the insulator 280 is isolated from the insulator 224, the oxide 230 a, and the oxide 230 b by the insulator 254.
Like the insulator 222, the insulator 254 preferably has a function of inhibiting diffusion of one or both of hydrogen and oxygen. For example, the insulator 254 preferably has a function of further inhibiting diffusion of one or both of hydrogen and oxygen as compared to the insulator 224 and the insulator 280. Thus, diffusion of hydrogen contained in the insulator 280 into the oxide 230 a and the oxide 230 b can be inhibited. Furthermore, by surrounding the insulator 224, the oxide 230, and the like with the insulator 222 and the insulator 254, diffusion of impurities such as water and hydrogen into the insulator 224 and the oxide 230 from the outside can be inhibited. Consequently, the transistor 200 can have favorable electrical characteristics and reliability.
The insulator 254 is preferably deposited by a sputtering method. When the insulator 254 is deposited by a sputtering method in an oxygen-containing atmosphere, oxygen can be added to the vicinity of a region of the insulator 224 that is in contact with the insulator 254. Accordingly, oxygen can be supplied from the region into the oxide 230 through the insulator 224. Here, with the insulator 254 having a function of inhibiting upward oxygen diffusion, oxygen can be prevented from diffusing from the oxide 230 into the insulator 280. Moreover, with the insulator 222 having a function of inhibiting downward oxygen diffusion, oxygen can be prevented from diffusing from the oxide 230 to the substrate side. In this manner, oxygen is supplied to the channel formation region of the oxide 230. Accordingly, oxygen vacancies in the oxide 230 can be reduced, so that the transistor can be inhibited from becoming normally on.
An insulator containing an oxide of one or both of aluminum and hafnium is preferably deposited as the insulator 254, for example. In this case, the insulator 254 is preferably deposited using an atomic layer deposition (ALD) method. An ALD method is a deposition method providing good coverage, and thus can prevent formation of disconnection or the like due to unevenness of the insulator 254.
An insulator containing aluminum nitride may be used for the insulator 254, for example. Accordingly, a film having an excellent insulating property and high thermal conductivity can be obtained, and thus dissipation of heat generated in driving the transistor 200 can be increased. Alternatively, silicon nitride, silicon nitride oxide, or the like can be used.
Alternatively, an oxide containing gallium may be used for the insulator 254, for example. An oxide containing gallium is preferable because it sometimes has a function of inhibiting diffusion of one or both of hydrogen and oxygen. Note that gallium oxide, gallium zinc oxide, indium gallium zinc oxide, or the like can be used as an oxide containing gallium. Note that when indium gallium zinc oxide is used for the insulator 254, the atomic ratio of gallium to indium is preferably large. When the atomic ratio is increased, the insulating property of the oxide can be high.
The insulator 254 can have a multilayer structure of two or more layers. When the insulator 254 has a stacked-layer structure of two layers, the lower layer and the upper layer of the insulator 254 can be formed by any of the above methods; the lower layer and the upper layer of the insulator 254 may be formed by the same method or different methods. For example, the insulator 254 may be formed in such a manner that the upper layer of the insulator 254 is deposited by a sputtering method in an oxygen-containing atmosphere and then the upper layer of the insulator 254 is deposited by an ALD method. An ALD method is a deposition method providing good coverage, and thus can prevent formation of disconnection or the like due to unevenness of the first layer.
The lower layer and the upper layer of the insulator 254 can be formed using the above material, and the lower layer and the upper layer of the insulator 254 may be formed using the same material or different materials. For example, a stacked-layer structure of silicon oxide, silicon oxynitride, silicon nitride oxide, or silicon nitride and an insulator having a function of inhibiting passage of oxygen and impurities such as hydrogen may be employed. As the insulator having a function of inhibiting passage of oxygen and impurities such as hydrogen, an insulator containing an oxide of one or both of aluminum and hafnium can be used, for example.
The insulator 250 functions as a gate insulator. The insulator 250 is preferably placed in contact with the top surface of the oxide 230 c. For the insulator 250, silicon oxide, silicon oxynitride, silicon nitride oxide, silicon nitride, silicon oxide to which fluorine is added, silicon oxide to which carbon is added, silicon oxide to which carbon and nitrogen are added, porous silicon oxide, or the like can be used. In particular, silicon oxide and silicon oxynitride, which have thermal stability, are preferable.
Like the insulator 224, the insulator 250 is preferably formed using an insulator that releases oxygen by heating. When an insulator that releases oxygen by heating is provided as the insulator 250 in contact with the top surface of the oxide 230 c, oxygen can be efficiently supplied to the channel formation region of the oxide 230 b and oxygen vacancies in the channel formation region of the oxide 230 b can be reduced. Thus, a transistor that has stable electrical characteristics with a small variation in electrical characteristics and improved reliability can be provided. Furthermore, as in the insulator 224, the concentration of impurities such as water and hydrogen in the insulator 250 is preferably reduced. The thickness of the insulator 250 is preferably greater than or equal to 1 nm and less than or equal to 20 nm.
Furthermore, a metal oxide may be provided between the insulator 250 and the conductor 260. The metal oxide preferably inhibits diffusion of oxygen from the insulator 250 into the conductor 260. Providing the metal oxide that inhibits diffusion of oxygen inhibits diffusion of oxygen from the insulator 250 into the conductor 260. That is, a reduction in the amount of oxygen supplied to the oxide 230 can be inhibited. In addition, oxidation of the conductor 260 due to oxygen from the insulator 250 can be inhibited.
Note that the metal oxide functions as part of the gate insulator in some cases. Therefore, when silicon oxide, silicon oxynitride, or the like is used for the insulator 250, a metal oxide that is a high-k material with a high dielectric constant is preferably used as the metal oxide. When the gate insulator has a stacked-layer structure of the insulator 250 and the metal oxide, the stacked-layer structure can be thermally stable and have a high dielectric constant. Thus, a gate potential that is applied during operation of the transistor can be reduced while the physical thickness of the gate insulator is maintained. Furthermore, the equivalent oxide thickness (EOT) of the insulator functioning as the gate insulator can be reduced.
Specifically, a metal oxide containing one kind or two or more kinds selected from hafnium, aluminum, gallium, yttrium, zirconium, tungsten, titanium, tantalum, nickel, germanium, magnesium, and the like can be used. In particular, an insulator containing an oxide of one or both of aluminum and hafnium is preferably used.
The metal oxide may have a function of part of the first gate electrode. For example, an oxide semiconductor that can be used for the oxide 230 can be used as the metal oxide. In that case, when the conductor 260 is deposited by a sputtering method, the metal oxide can have a reduced electric resistance to be a conductor.
With the metal oxide, the on-state current of the transistor 200 can be increased without a reduction in the influence of the electric field from the conductor 260. Since the distance between the conductor 260 and the oxide 230 is kept by the physical thicknesses of the insulator 250 and the metal oxide, leakage current between the conductor 260 and the oxide 230 can be reduced. Moreover, when the stacked-layer structure of the insulator 250 and the metal oxide is provided, the physical distance between the conductor 260 and the oxide 230 and the intensity of electric field applied to the oxide 230 from the conductor 260 can be easily adjusted as appropriate.
The conductor 260 preferably includes the conductor 260 a and the conductor 260 b positioned over the conductor 260 a. For example, the conductor 260 a is preferably positioned to cover a bottom surface and a side surface of the conductor 260 b.
For the conductor 260 a, a conductive material having a function of inhibiting diffusion of impurities such as a hydrogen atom, a hydrogen molecule, a water molecule, a nitrogen atom, a nitrogen molecule, a nitrogen oxide molecule, and a copper atom is preferably used. Alternatively, it is preferable to use a conductive material having a function of inhibiting diffusion of oxygen (e.g., at least one of oxygen atoms, oxygen molecules, and the like).
In addition, when the conductor 260 a has a function of inhibiting diffusion of oxygen, the conductivity of the conductor 260 b can be inhibited from being lowered because of oxidation due to oxygen contained in the insulator 250. As a conductive material having a function of inhibiting diffusion of oxygen, for example, tantalum, tantalum nitride, ruthenium, or ruthenium oxide is preferably used.
The conductor 260 also functions as a wiring and thus is preferably formed using a conductor having high conductivity. For example, a conductive material containing tungsten, copper, or aluminum as its main component can be used for the conductor 260 b. The conductor 260 b may have a stacked-layer structure, for example, a stacked-layer structure of any of the above conductive materials and titanium or titanium nitride.
Although the conductor 260 has a two-layer structure of the conductor 260 a and the conductor 260 b in FIG. 1 , the conductor 260 may have a single-layer structure or a stacked-layer structure of three or more layers.
In the transistor 200, the conductor 260 is formed in a self-aligned manner to fill an opening formed in the insulator 280 and the like. The formation of the conductor 260 in this manner allows the conductor 260 to be positioned certainly in a region between the conductor 242 a and the conductor 242 b without alignment.
Moreover, as shown in FIG. 1B, a top surface of the conductor 260 is substantially aligned with a top surface of the insulator 250 and the top surface of the oxide 230 c.
As illustrated in FIG. 1C, in the channel width direction of the transistor 200, with reference to the bottom surface of the insulator 222, the level of the bottom surface of the conductor 260 in a region where the conductor 260 and the oxide 230 b do not overlap with each other is preferably lower than the level of the bottom surface of the oxide 230 b. When the conductor 260 functioning as the gate electrode covers the side and top surfaces of the channel formation region of the oxide 230 b with the insulator 250 and the like therebetween, the electric field of the conductor 260 is likely to affect the entire channel formation region of the oxide 230 b. Thus, the on-state current of the transistor 200 can be increased and the frequency characteristics of the transistor 200 can be improved. When the difference between the level of the bottom surface of the conductor 260 in a region where the conductor 260 does not overlap with the oxide 230 a and the oxide 230 b and the level of the bottom surface of the oxide 230 b is T1, T1 is greater than or equal to 0 nm and less than or equal to 100 nm, preferably greater than or equal to 3 nm and less than or equal to 50 nm, further preferably greater than or equal to 5 nm and less than or equal to 20 nm.
The insulator 280 is provided over the insulator 224, the oxide 230, and the conductor 242 with the insulator 254 therebetween. In addition, the top surface of the insulator 280 may be planarized.
The insulator 280 functioning as an interlayer film preferably has a low permittivity. When a material with a low permittivity is used as an interlayer film, the parasitic capacitance generated between wirings can be reduced. The insulator 280 is preferably formed using a material similar to that used for the insulator 216, for example. In particular, silicon oxide and silicon oxynitride, which have thermal stability, are preferable. Materials such as silicon oxide, silicon oxynitride, and porous silicon oxide, in each of which a region containing oxygen released by heating can be easily formed, are particularly preferable.
The concentration of impurities such as water and hydrogen in the insulator 280 is preferably reduced. Moreover, the insulator 280 preferably has a low hydrogen concentration and includes an excess-oxygen region or excess oxygen, and may be formed using a material similar to that for the insulator 216, for example. Note that the insulator 280 may have a stacked-layer structure of two or more layers.
Like the insulator 214 and the like, the insulator 274 preferably functions as an insulating barrier film that inhibits diffusion of impurities such as water and hydrogen into the insulator 280 from above. In addition, like the insulator 214 and the like, the insulator 274 preferably has a low hydrogen concentration and has a function of inhibiting diffusion of hydrogen.
As illustrated in FIG. 1B, the insulator 274 is preferably in contact with the top surfaces of the conductor 260, the insulator 250, and the oxide 230 c. This can inhibit entry of impurities such as hydrogen contained in the insulator 281 and the like into the insulator 250. Thus, adverse effects on the electrical characteristics of the transistor and the reliability of the transistor can be suppressed.
The insulator 281 functioning as an interlayer film is preferably provided over the insulator 274. Like the insulator 216 or the like, the insulator 281 preferably has a low permittivity. As in the insulator 224 and the like, the concentration of impurities such as water and hydrogen in the insulator 281 is preferably reduced.
The conductor 240 a and the conductor 240 b are placed in the openings formed in the insulator 281, the insulator 274, the insulator 280, and the insulator 254. The conductor 240 a and the conductor 240 b are placed to face each other with the conductor 260 interposed therebetween. Note that the level of the top surfaces of the conductor 240 a and the conductor 240 b may be on the same surface as the top surface of the insulator 281.
Note that the insulator 241 a is provided in contact with a side wall of the opening in the insulator 281, the insulator 274, the insulator 280, and the insulator 254, and the conductor 240 a is formed in contact with its side surface. The conductor 242 a is located on at least part of the bottom portion of the opening, and thus the conductor 240 a is in contact with the conductor 242 a. Similarly, the insulator 241 b is provided in contact with a side wall of the opening in the insulator 281, the insulator 274, the insulator 280, and the insulator 254, and the conductor 240 b is formed in contact with its side surface. The conductor 242 b is located on at least part of the bottom portion of the opening, and thus the conductor 240 b is in contact with the conductor 242 b.
For the conductor 240 a and the conductor 240 b, a conductive material containing tungsten, copper, or aluminum as its main component is preferably used.
The conductor 240 a and the conductor 240 b may each have a stacked-layer structure. Although the transistor 200 having a structure in which the conductor 240 a and the conductor 240 b each have a stacked-layer structure of two layers is illustrated, the present invention is not limited thereto. For example, the conductor 240 may be provided as a single layer or to have a stacked-layer structure of three or more layers.
When the conductor 240 a and the conductor 240 b have a stacked-layer structure, a conductive material having a function of inhibiting passage of impurities such as water and hydrogen is preferably used as a conductor in contact with the conductor 242 and in contact with the insulator 254, the insulator 280, the insulator 274, and the insulator 281 with the insulator 241 therebetween. For example, tantalum, tantalum nitride, titanium, titanium nitride, ruthenium, ruthenium oxide, or the like is preferably used. The conductive material having a function of inhibiting passage of impurities such as water and hydrogen may be used as a single layer or stacked layers. The use of the conductive material can prevent oxygen added to the insulator 280 from being absorbed by the conductor 240 a and the conductor 240 b. Moreover, impurities such as water and hydrogen contained in a layer above the insulator 281 can be inhibited from diffusing into the oxide 230 through the conductor 240 a and the conductor 240 b.
For the insulator 241 a and the insulator 241 b, an insulator that can be used for the insulator 214, the insulator 254, or the like is used, for example. Since the insulator 241 a and the insulator 241 b are provided in contact with the insulator 254, impurities such as water and hydrogen contained in the insulator 280 or the like can be inhibited from diffusing into the oxide 230 through the conductor 240 a and the conductor 240 b. In addition, oxygen contained in the insulator 280 can be prevented from being absorbed by the conductor 240 a and the conductor 240 b.
In addition, although not illustrated, a conductor functioning as a wiring may be provided in contact with the top surface of the conductor 240 a and the top surface of the conductor 240 b. For the conductor functioning as a wiring, a conductive material containing tungsten, copper, or aluminum as its main component is preferably used. Furthermore, the conductor may have a stacked-layer structure and may be a stack of titanium or titanium nitride and any of the above conductive materials, for example. Note that the conductor may be formed to be embedded in an opening provided in an insulator.
In addition, although not illustrated, an insulator having resistivity higher than or equal to 1.0×1013 Ωcm and lower than or equal to 1.0×1015 Ωcm, preferably higher than or equal to 5.0×1013 Ωcm and lower than or equal to 5.0×1014 Ωcm is preferably provided to cover the above conductor. It is preferable that an insulator having the above resistivity be provided over the conductor, in which case the insulator can disperse electric charge accumulated in the transistor 200 or between wirings of the conductor or the like and can inhibit defects in characteristics and electrostatic breakdown of the transistor and an electronic device including the transistor due to the electric charge, while maintaining the insulating property.
<Constituent Materials of Semiconductor Device>
Constituent materials that can be used for a semiconductor device are described below.
<<Substrate>>
As a substrate where the transistor 200 is formed, an insulator substrate, a semiconductor substrate, or a conductor substrate is used, for example. Examples of the insulator substrate include a glass substrate, a quartz substrate, a sapphire substrate, a stabilized zirconia substrate (an yttria-stabilized zirconia substrate or the like), and a resin substrate. Examples of the semiconductor substrate include a semiconductor substrate using silicon, germanium, or the like as a material and a compound semiconductor substrate including silicon carbide, silicon germanium, gallium arsenide, indium phosphide, zinc oxide, or gallium oxide. Another example is a semiconductor substrate in which an insulator region is included in the semiconductor substrate, e.g., an SOI (Silicon On Insulator) substrate. Examples of the conductor substrate include a graphite substrate, a metal substrate, an alloy substrate, and a conductive resin substrate. Other examples include a substrate including a metal nitride and a substrate including a metal oxide. Other examples include an insulator substrate provided with a conductor or a semiconductor, a semiconductor substrate provided with a conductor or an insulator, and a conductor substrate provided with a semiconductor or an insulator. Alternatively, these substrates provided with elements may be used. Examples of the element provided for the substrate include a capacitor, a resistor, a switching element, a light-emitting element, and a memory element.
<<Insulator>>
Examples of an insulator include an oxide, a nitride, an oxynitride, a nitride oxide, a metal oxide, a metal oxynitride, and a metal nitride oxide, each of which has an insulating property.
As miniaturization and high integration of transistors progress, for example, a problem such as leakage current may arise because of a thinner gate insulator. When a high-k material is used as the insulator functioning as the gate insulator, the voltage during operation of the transistor can be reduced while the physical thickness of the gate insulator is maintained. By contrast, when a material with a low dielectric constant is used for the insulator functioning as the interlayer film, parasitic capacitance generated between wirings can be reduced. Thus, a material is preferably selected depending on the function of an insulator.
Examples of the insulator with a high dielectric constant include gallium oxide, hafnium oxide, zirconium oxide, an oxide containing aluminum and hafnium, an oxynitride containing aluminum and hafnium, an oxide containing silicon and hafnium, an oxynitride containing silicon and hafnium, and a nitride containing silicon and hafnium.
Examples of the insulator with a low dielectric constant include silicon oxide, silicon oxynitride, silicon nitride oxide, silicon nitride, silicon oxide to which fluorine is added, silicon oxide to which carbon is added, silicon oxide to which carbon and nitrogen are added, porous silicon oxide, and a resin.
When a transistor using an oxide semiconductor is surrounded by insulators having a function of inhibiting passage of oxygen and impurities such as hydrogen (e.g., the insulator 214, the insulator 222, the insulator 254, the insulator 274, and the like), the electrical characteristics of the transistor can be stable. As the insulator having a function of inhibiting passage of oxygen and impurities such as hydrogen, a single layer or stacked layers of an insulator containing, for example, boron, carbon, nitrogen, oxygen, fluorine, magnesium, aluminum, silicon, phosphorus, chlorine, argon, gallium, germanium, yttrium, zirconium, lanthanum, neodymium, hafnium, or tantalum is used. Specifically, as the insulator having a function of inhibiting passage of oxygen and impurities such as hydrogen, a metal oxide such as aluminum oxide, magnesium oxide, gallium oxide, germanium oxide, yttrium oxide, zirconium oxide, lanthanum oxide, neodymium oxide, hafnium oxide, or tantalum oxide; or a metal nitride such as aluminum nitride, silicon nitride oxide, or silicon nitride can be used.
In addition, the insulator functioning as the gate insulator is preferably an insulator including a region containing oxygen released by heating. For example, when a structure is employed in which silicon oxide or silicon oxynitride including a region containing oxygen released by heating is in contact with the oxide 230, oxygen vacancies included in the oxide 230 can be filled.
<<Conductor>>
For the conductor, it is preferable to use a metal element selected from aluminum, chromium, copper, silver, gold, platinum, tantalum, nickel, titanium, molybdenum, tungsten, hafnium, vanadium, niobium, manganese, magnesium, zirconium, beryllium, indium, ruthenium, iridium, strontium, lanthanum, and the like; an alloy containing any of the above metal elements as its component; an alloy containing a combination of the above metal elements; or the like. For example, it is preferable to use tantalum nitride, titanium nitride, tungsten nitride, a nitride containing titanium and aluminum, a nitride containing tantalum and aluminum, ruthenium oxide, ruthenium nitride, an oxide containing strontium and ruthenium, an oxide containing lanthanum and nickel, or the like. Tantalum nitride, titanium nitride, a nitride containing titanium and aluminum, a nitride containing tantalum and aluminum, ruthenium oxide, ruthenium nitride, an oxide containing strontium and ruthenium, and an oxide containing lanthanum and nickel are preferable because they are conductive materials that are not easily oxidized or materials that maintain the conductivity even when absorbing oxygen. A semiconductor having high electric conductivity, typified by polycrystalline silicon containing an impurity element such as phosphorus, or silicide such as nickel silicide may be used.
A stack including a plurality of conductive layers formed of the above materials may be used. For example, a stacked-layer structure combining a material containing the above metal element and a conductive material containing oxygen may be employed. A stacked-layer structure combining a material containing the above metal element and a conductive material containing nitrogen may be employed. A stacked-layer structure combining a material containing the above metal element, a conductive material containing oxygen, and a conductive material containing nitrogen may be employed.
Note that when an oxide is used for the channel formation region of the transistor, a stacked-layer structure combining a material containing the above metal element and a conductive material containing oxygen is preferably used for the conductor functioning as the gate electrode. In that case, the conductive material containing oxygen is preferably provided on the channel formation region side. When the conductive material containing oxygen is provided on the channel formation region side, oxygen released from the conductive material is easily supplied to the channel formation region.
It is particularly preferable to use, for the conductor functioning as the gate electrode, a conductive material containing oxygen and a metal element contained in a metal oxide where the channel is formed. Alternatively, a conductive material containing the above metal element and nitrogen may be used. For example, a conductive material containing nitrogen, such as titanium nitride or tantalum nitride, may be used. Alternatively, indium tin oxide, indium oxide containing tungsten oxide, indium zinc oxide containing tungsten oxide, indium oxide containing titanium oxide, indium tin oxide containing titanium oxide, indium zinc oxide, or indium tin oxide to which silicon is added may be used. Furthermore, indium gallium zinc oxide containing nitrogen may be used. With the use of such a material, hydrogen contained in the metal oxide where the channel is formed can be trapped in some cases. Alternatively, hydrogen entering from an external insulator or the like can be trapped in some cases.
<<Metal Oxide>>
For the oxide 230, a metal oxide functioning as an oxide semiconductor is preferably used. A metal oxide that can be used for the oxide 230 of the present invention is described below.
The metal oxide preferably contains at least indium or zinc. In particular, indium and zinc are preferably contained. Moreover, gallium, yttrium, tin, or the like is preferably contained in addition to them. Furthermore, one or more kinds selected from boron, titanium, iron, nickel, germanium, zirconium, molybdenum, lanthanum, cerium, neodymium, hafnium, tantalum, tungsten, magnesium, and the like may be contained.
Here, the case where the metal oxide is an In-M-Zn oxide containing indium, the element M, and zinc is considered. Note that the element M is aluminum, gallium, yttrium, or tin. Examples of other elements that can be used as the element M include boron, titanium, iron, nickel, germanium, zirconium, molybdenum, lanthanum, cerium, neodymium, hafnium, tantalum, tungsten, and magnesium. Note that it is sometimes acceptable to use a plurality of the above-described elements in combination as the element M.
Note that in this specification and the like, a metal oxide containing nitrogen is also referred to as a metal oxide in some cases. A metal oxide containing nitrogen may be referred to as a metal oxynitride.
[Structure of Metal Oxide]
Oxide semiconductors (metal oxides) can be classified into a single crystal oxide semiconductor and a non-single-crystal oxide semiconductor. Examples of a non-single-crystal oxide semiconductor include a CAAC-OS, a polycrystalline oxide semiconductor, an nc-OS (nanocrystalline oxide semiconductor), an amorphous-like oxide semiconductor (a-like OS), and an amorphous oxide semiconductor.
The CAAC-OS has c-axis alignment, a plurality of nanocrystals are connected in the a-b plane direction, and its crystal structure has distortion. Note that the distortion refers to a portion where the direction of a lattice arrangement changes between a region with a regular lattice arrangement and another region with a regular lattice arrangement in a region where the plurality of nanocrystals are connected.
The nanocrystal is basically a hexagon but is not always a regular hexagon and is a non-regular hexagon in some cases. Furthermore, a pentagonal or heptagonal lattice arrangement, for example, is included in the distortion in some cases. Note that it is difficult to observe a clear crystal grain boundary (also referred to as grain boundary) even in the vicinity of distortion in the CAAC-OS. That is, formation of a crystal grain boundary is inhibited by the distortion of a lattice arrangement. This is because the CAAC-OS can tolerate distortion owing to a low density of arrangement of oxygen atoms in the a-b plane direction, an interatomic bond length changed by substitution of a metal element, and the like.
Furthermore, the CAAC-OS tends to have a layered crystal structure (also referred to as a layered structure) in which a layer containing indium and oxygen (hereinafter, an In layer) and a layer containing the element M, zinc, and oxygen (hereinafter, an (M, Zn) layer) are stacked. Note that indium and the element M can be replaced with each other, and when the element Min the (M, Zn) layer is replaced with indium, the layer can also be referred to as an (In, M, Zn) layer. Furthermore, when indium in the In layer is replaced with the element M, the layer can also be referred to as an (In, M) layer.
The CAAC-OS is a metal oxide with high crystallinity. By contrast, in the CAAC-OS, a reduction in electron mobility due to a crystal grain boundary is less likely to occur because it is difficult to observe a clear crystal grain boundary. Entry of impurities, formation of defects, or the like might decrease the crystallinity of a metal oxide, which means that the CAAC-OS is a metal oxide having small amounts of impurities and defects (e.g., oxygen vacancies). Thus, a metal oxide including a CAAC-OS is physically stable. Therefore, the metal oxide including a CAAC-OS is resistant to heat and has high reliability.
In the nc-OS, a microscopic region (e.g., a region with a size greater than or equal to 1 nm and less than or equal to 10 nm, in particular, a region with a size greater than or equal to 1 nm and less than or equal to 3 nm) has a periodic atomic arrangement. Furthermore, there is no regularity of crystal orientation between different nanocrystals in the nc-OS. Thus, the orientation in the whole film is not observed. Accordingly, the nc-OS cannot be distinguished from an a-like OS or an amorphous oxide semiconductor by some analysis methods.
Note that an In—Ga—Zn oxide (hereinafter, IGZO) that is a kind of metal oxide containing indium, gallium, and zinc has a stable structure in some cases by being formed of the above-described nanocrystals. In particular, crystals of IGZO tend not to grow in the air and thus, a stable structure is obtained when IGZO is formed of smaller crystals (e.g., the above-described nanocrystals) rather than larger crystals (here, crystals with a size of several millimeters or several centimeters).
An a-like OS is a metal oxide having a structure between those of the nc-OS and an amorphous oxide semiconductor. The a-like OS includes a void or a low-density region. That is, the a-like OS has low crystallinity compared with the nc-OS and the CAAC-OS.
An oxide semiconductor (metal oxide) can have various structures which show different properties. Two or more of the amorphous oxide semiconductor, the polycrystalline oxide semiconductor, the a-like OS, the nc-OS, and the CAAC-OS may be included in an oxide semiconductor of one embodiment of the present invention.
[Impurity]
Here, the influence of each impurity in the metal oxide will be described.
Entry of the impurities into the oxide semiconductor forms defect states or oxygen vacancies in some cases. Thus, when impurities enter a channel formation region of the oxide semiconductor, the electrical characteristics of a transistor using the oxide semiconductor are likely to vary and its reliability is degraded in some cases. Moreover, when the channel formation region includes oxygen vacancies, the transistor tends to have normally-on characteristics.
The above-described defect states may include a trap state. Charges trapped by the trap states in the metal oxide take a long time to be released and may behave like fixed charges. Thus, a transistor whose channel formation region includes a metal oxide having a high density of trap states has unstable electrical characteristics in some cases.
If the impurities exist in the channel formation region of the oxide semiconductor, the crystallinity of the channel formation region may decrease, and the crystallinity of an oxide provided in contact with the channel formation region may decrease. Low crystallinity of the channel formation region tends to result in deterioration in stability or reliability of the transistor. Moreover, if the crystallinity of the oxide provided in contact with the channel formation region is low, an interface state may be formed and the stability or reliability of the transistor may deteriorate.
Therefore, the reduction in concentration of impurities in and around the channel formation region of the oxide semiconductor is effective in improving the stability or reliability of the transistor. Examples of impurities include hydrogen, nitrogen, an alkali metal, an alkaline earth metal, iron, nickel, and silicon.
Specifically, the concentration of the above impurities obtained by SIMS is lower than or equal to 1×1018 atoms/cm3, preferably lower than or equal to 2×1016 atoms/cm3 in and around the channel formation region of the oxide semiconductor. Alternatively, the concentration of the above impurities obtained by element analysis using energy dispersive X-ray spectroscopy (EDX) is lower than or equal to 1.0 atomic % in and around the channel formation region of the oxide semiconductor. When an oxide containing the element M is used as the oxide semiconductor, the concentration ratio of the impurities to the element M is lower than 0.10, preferably lower than 0.05 in and around the channel formation region of the oxide semiconductor. Here, the concentration of the element M used in the calculation of the concentration ratio may be a concentration in a region whose concertation of the impurities is calculated or may be a concentration in the oxide semiconductor.
A metal oxide with a low impurity concentration has a low density of defect states and thus has a low density of trap states in some cases.
<Application Example of Semiconductor Device>
For example, as illustrated in FIG. 2 , the transistor 200 preferably includes an oxide 243 (an oxide 243 a and an oxide 243 b) having a function of inhibiting passage of oxygen, between the conductor 242 (the conductor 242 a and the conductor 242 b) and the oxide 230. It is preferable to provide the oxide 243 having a function of inhibiting passage of oxygen between the oxide 230 b and the conductor 242 which functions as the source electrode and the drain electrode, in which case the electrical resistance between the conductor 242 and the oxide 230 b is reduced. Such a structure can improve the electrical characteristics of the transistor 200 and the reliability of the transistor 200.
A metal oxide containing the element M may be used for the oxide 243. In particular, aluminum, gallium, yttrium, or tin is preferably used as the element M The concentration of the element M in the oxide 243 is preferably higher than that in the oxide 230 b. Alternatively, gallium oxide may be used for the oxide 243. A metal oxide such as an In-M-Zn oxide may be used for the oxide 243. Specifically, the atomic ratio of the element M to In in the metal oxide used for the oxide 243 is preferably greater than the atomic ratio of the element M to In in the metal oxide used for the oxide 230 b. The thickness of the oxide 243 is preferably larger than or equal to 0.5 nm and smaller than or equal to 5 nm, further preferably larger than or equal to 1 nm and smaller than or equal to 3 nm, still further preferably larger than or equal to 1 nm and smaller than or equal to 2 nm. The oxide 243 preferably has crystallinity. In the case where the oxide 243 has crystallinity, release of oxygen from the oxide 230 can be favorably suppressed. When the oxide 243 has a hexagonal crystal structure, for example, release of oxygen from the oxide 230 can sometimes be inhibited.
With the above structure, the hydrogen concentration of the oxide 230 can be reduced. Accordingly, the transistor 200 can have favorable electrical characteristics and reliability.
According to the above, a semiconductor device with high reliability can be provided. In addition, a semiconductor device having favorable electrical characteristics can be provided. Furthermore, a semiconductor device that can be miniaturized or highly integrated can be provided. In addition, a semiconductor device with low power consumption can be provided.
<Method for Manufacturing Semiconductor Device>
Next, a method for manufacturing a semiconductor device including the transistor 200 of one embodiment of the present invention, which is illustrated in FIG. 1 , will be described with reference to FIG. 3 to FIG. 10 .
In FIG. 3 to FIG. 10 , A of each drawing is a top view. Moreover, B of each drawing is a cross-sectional view corresponding to a portion indicated by dashed-dotted line A1-A2 in A, and is also a cross-sectional view of the transistor 200 in the channel length direction. Furthermore, C of each drawing is a cross-sectional view corresponding to a portion indicated by dashed-dotted line A3-A4 in A, and is also a cross-sectional view of the transistor 200 in the channel width direction. Note that for simplification of the drawing, some components are not illustrated in the top view of A of each drawing.
First, a substrate (not shown) is prepared, and the insulator 214 is deposited over the substrate. The insulator 214 can be deposited by a sputtering method, a chemical vapor deposition (CVD) method, a molecular beam epitaxy (MBE) method, a pulsed laser deposition (PLD) method, an ALD method, or the like.
Note that the CVD method can be classified into a plasma enhanced CVD (PECVD) method using plasma, a thermal CVD (TCVD) method using heat, a photo CVD method using light, and the like. Moreover, the CVD method can be classified into a metal CVD (MCVD) method and a metal organic CVD (MOCVD) method depending on a source gas to be used.
By a plasma CVD method, a high-quality film can be obtained at a relatively low temperature. Furthermore, a thermal CVD method is a deposition method that does not use plasma and thus enables less plasma damage to an object to be processed. For example, a wiring, an electrode, an element (e.g., a transistor and a capacitor), and the like included in a semiconductor device might be charged up by receiving electric charge from plasma. In that case, accumulated electric charge might break the wiring, the electrode, the element, and the like included in the semiconductor device. By contrast, such plasma damage does not occur in the case of a thermal CVD method that does not use plasma, and thus the yield of the semiconductor device can be increased. In addition, the thermal CVD method does not cause plasma damage during deposition, so that a film with few defects can be obtained.
In an ALD method, one atomic layer can be deposited at a time using self-regulating characteristics of atoms. Thus, the ALD method has advantages such as deposition of an extremely thin film, deposition on a component with a high aspect ratio, deposition of a film with a small number of defects such as pinholes, deposition with good coverage, and low-temperature deposition. Furthermore, the ALD method includes a PEALD (Plasma Enhanced ALD) method using plasma. The use of plasma is sometimes preferable because deposition at lower temperature is possible. Note that a precursor used in the ALD method sometimes contains impurities such as carbon. For that reason, in some cases, a film provided by the ALD method contains impurities such as carbon in a larger amount than a film provided by another deposition method. Note that impurities can be quantified by X-ray photoelectron spectroscopy (XPS).
Unlike a deposition method in which particles ejected from a target or the like are deposited, a CVD method and an ALD method are deposition methods in which a film is formed by reaction at a surface of an object. Thus, a CVD method and an ALD method are deposition methods that enable favorable step coverage almost regardless of the shape of an object. In particular, an ALD method enables excellent step coverage and excellent thickness uniformity and can be suitably used to cover a surface of an opening portion with a high aspect ratio, for example. On the other hand, an ALD method has a relatively low deposition rate, and thus is preferably used in combination with another deposition method with a high deposition rate, such as a CVD method, in some cases.
Each of a CVD method and an ALD method enables the composition of a film that is to be deposited to be controlled with a flow rate ratio of source gases. For example, by a CVD method or an ALD method, a film with a certain composition can be formed depending on the flow rate ratio of the source gases. Moreover, with a CVD method or an ALD method, by changing the flow rate ratio of the source gases while forming a film, a film whose composition is continuously changed can be formed. In the case of forming a film while changing the flow rate ratio of source gases, as compared with the case of forming a film with the use of a plurality of deposition chambers, time taken for the film formation can be shortened because time taken for transfer and pressure adjustment is not required. Thus, the productivity of the semiconductor device can be increased in some cases.
In this embodiment, as the insulator 214, aluminum oxide is deposited by a sputtering method. In addition, the insulator 214 may have a multilayer structure.
Next, the insulator 216 is deposited over the insulator 214. The insulator 216 can be deposited by a sputtering method, a CVD method, an MBE method, a PLD method, an ALD method, or the like. In this embodiment, for the insulating film to be the insulator 216, silicon oxynitride is deposited by a CVD method.
Then, an opening reaching the insulator 214 is formed in the insulator 216. A groove and a slit, for example, are included in the category of the opening. A region where an opening is formed may be referred to as an opening portion. Wet etching can be used for the formation of the opening; however, dry etching is preferably used for microfabrication. As the insulator 214, it is preferable to select an insulator that functions as an etching stopper film used in forming the groove by etching the insulator 216. For example, in the case where silicon oxynitride is used for the insulator 216 in which the groove is to be formed, silicon nitride, aluminum oxide, or hafnium oxide is preferably used for the insulator 214.
As a dry etching apparatus, a capacitively coupled plasma (CCP) etching apparatus including parallel plate electrodes can be used. The capacitively coupled plasma etching apparatus including the parallel plate electrodes may have a structure in which a high-frequency voltage is applied to one of the parallel plate electrodes. Alternatively, a structure may be employed in which different high-frequency voltages are applied to one of the parallel plate electrodes. Alternatively, a structure may be employed in which high-frequency voltages with the same frequency are applied to the parallel plate electrodes. Alternatively, a structure may be employed in which high-frequency voltages with different frequencies are applied to the parallel plate electrodes. Alternatively, a dry etching apparatus including a high-density plasma source can be used. As the dry etching apparatus including a high-density plasma source, an inductively coupled plasma (ICP) etching apparatus or the like can be used, for example.
After the formation of the opening, a conductive film to be the first conductor of the conductor 205 is deposited. The conductive film preferably includes a conductor having a function of inhibiting passage of oxygen. For example, tantalum nitride, tungsten nitride, or titanium nitride can be used. Alternatively, a stacked-layer film of the conductor having a function of inhibiting passage of oxygen and tantalum, tungsten, titanium, molybdenum, aluminum, copper, or a molybdenum-tungsten alloy can be used. The conductive film can be deposited by a sputtering method, a CVD method, an MBE method, a PLD method, an ALD method, or the like.
In this embodiment, as the conductive film to be the first conductor of the conductor 205, a tantalum nitride film or a film in which titanium nitride is stacked over tantalum nitride is formed by a sputtering method. With the use of such a metal nitride for the first conductor of the conductor 205, even when a metal that easily diffuses, such as copper, is used for the second conductor of the conductor 205 described later, the metal can be prevented from diffusing outward through the first conductor of the conductor 205.
Next, a conductive film to be the second conductor of the conductor 205 is deposited over the conductive film to be the first conductor of the conductor 205. The conductive film can be deposited by a plating method, a sputtering method, a CVD method, an MBE method, a PLD method, an ALD method, or the like. In this embodiment, tungsten is deposited for the conductive film.
Next, CMP (Chemical Mechanical Polishing) treatment is performed to partly remove the conductive film to be the first conductor of the conductor 205 and the conductive film to be the second conductor of the conductor 205 to expose the insulator 216. As a result, the conductive film to be the first conductor of the conductor 205 and the conductive film to be the second conductor of the conductor 205 remain only in the opening portion. Thus, the conductor 205 including the first conductor of the conductor 205 and the second conductor of the conductor 205, which has a flat top surface, can be formed (see FIG. 3 ).
Note that after the conductor 205 is formed, part of the second conductor of the conductor 205 may be removed, a groove may be formed in the second conductor of the conductor 205, a conductive film may be deposited over the conductor 205 and the insulator 216 so as to fill the groove, and CMP treatment may be performed. By the CMP treatment, part of the conductive film is removed to expose the insulator 216. Note that part of the second conductor of the conductor 205 is preferably removed by a dry etching method or the like.
Through the above steps, the conductor 205 including the conductive film, which has a flat top surface, can be formed. The improvement in planarity of the top surfaces of the insulator 216 and the conductor 205 can improve crystallinity of the oxide 230 a, the oxide 230 b, and the oxide 230 c. Note that the conductive film is preferably formed using a material similar to that for the first conductor of the conductor 205 or the second conductor of the conductor 205.
Here, a method for forming the conductor 205 which is different from the above will be described below.
A conductive film to be the conductor 205 is deposited over the insulator 214. The conductive film to be the conductor 205 can be deposited by a sputtering method, a CVD method, an MBE method, a PLD method, an ALD method, or the like. The conductive film to be the conductor 205 can be a multilayer film. For example, tungsten is preferably deposited as the conductive film to be the conductor 205.
Next, the conductive film to be the conductor 205 is processed by a lithography method, so that the conductor 205 is formed.
Note that in the lithography method, first, a resist is exposed to light through a mask. Next, a region exposed to light is removed or left using a developer, so that a resist mask is formed. Then, etching treatment through the resist mask is conducted, whereby a conductor, a semiconductor, an insulator, or the like can be processed into a desired shape. The resist mask is formed by, for example, exposure of the resist to light such as KrF excimer laser light, ArF excimer laser light, EUV (Extreme Ultraviolet) light, or the like. Alternatively, a liquid immersion technique may be employed in which a gap between a substrate and a projection lens is filled with liquid (e.g., water) in light exposure. Alternatively, an electron beam or an ion beam may be used instead of the light. Note that a mask is unnecessary in the case of using an electron beam or an ion beam. Note that the resist mask can be removed by dry etching treatment such as ashing, wet etching treatment, wet etching treatment after dry etching treatment, or dry etching treatment after wet etching treatment.
In addition, a hard mask formed of an insulator or a conductor may be used instead of the resist mask. In the case where a hard mask is used, a hard mask with a desired shape can be formed by forming an insulating film or a conductive film to be a hard mask material over the conductive film to be the conductor 205, forming a resist mask thereover, and then etching the hard mask material. The etching of the conductive film to be the conductor 205 may be performed after removal of the resist mask or with the resist mask remaining. In the latter case, the resist mask sometimes disappears during the etching. The hard mask may be removed by etching after the etching of the conductive film to be the conductor 205. Meanwhile, the hard mask is not necessarily removed when the hard mask material does not affect the following process or can be utilized in the following process.
Next, an insulating film to be the insulator 216 is formed over the insulator 214 and the conductor 205. The insulating film is formed to be in contact with the top surface and side surface of the conductor 205. The insulating film can be deposited by a sputtering method, a CVD method, an MBE method, a PLD method, an ALD method, or the like.
Here, the thickness of the insulating film to be the insulator 216 is preferably greater than or equal to the thickness of the conductor 205. For example, when the thickness of the conductor 205 is 1, the thickness of the insulating film to be the insulator 216 is greater than or equal to 1 and less than or equal to 3.
Next, CMP treatment is performed on the insulating film to be the insulator 216, so that part of the insulating film to be the insulator 216 is removed and a surface of the conductor 205 is exposed. Thus, the conductor 205 and the insulator 216 whose top surfaces are flat can be formed. The above is the different formation method of the conductor 205.
Next, the insulator 222 is deposited over the insulator 216 and the conductor 205. The insulator 222 can be deposited by a sputtering method, a CVD method, an MBE method, a PLD method, an ALD method, or the like. In this embodiment, hafnium oxide or aluminum oxide is deposited as the insulator 222 by an ALD method.
Sequentially, heat treatment is preferably performed. The heat treatment is performed at a temperature higher than or equal to 250° C. and lower than or equal to 650° C., preferably higher than or equal to 300° C. and lower than or equal to 500° C., further preferably higher than or equal to 320° C. and lower than or equal to 450° C. Note that the heat treatment is performed in a nitrogen gas or inert gas atmosphere, or an atmosphere containing an oxidizing gas at 10 ppm or more, 1% or more, or 10% or more. Alternatively, the heat treatment may be performed under reduced pressure. Alternatively, the heat treatment may be performed in such a manner that heat treatment is performed in a nitrogen gas or inert gas atmosphere, and then another heat treatment is performed in an atmosphere containing an oxidizing gas at 10 ppm or more, 1% or more, or 10% or more in order to compensate for released oxygen.
In this embodiment, the heat treatment is performed in such a manner that treatment is performed at 400° C. in a nitrogen atmosphere for one hour after the deposition of the insulator 222, and then another treatment is successively performed at 400° C. in an oxygen atmosphere for one hour. By the heat treatment, impurities such as water and hydrogen contained in the insulator 222 can be removed, for example. The heat treatment can also be performed after the deposition of the insulator 224, for example.
Next, the insulator 224 is deposited over the insulator 222. The insulator 224 can be deposited by a sputtering method, a CVD method, an MBE method, a PLD method, an ALD method, or the like. In this embodiment, as the insulator 224, a silicon oxynitride film is deposited by a CVD method.
Here, plasma treatment containing oxygen may be performed under reduced pressure so that an excess-oxygen region can be formed in the insulator 224. For the plasma treatment containing oxygen, an apparatus including a power source for generating high-density plasma using microwaves is preferably used, for example. Alternatively, a power source for applying an RF (Radio Frequency) to a substrate side may be included. The use of high-density plasma enables high-density oxygen radicals to be produced, and RF application to the substrate side allows the oxygen radicals generated by the high-density plasma to be efficiently introduced into the insulator 224. Alternatively, after plasma treatment containing an inert gas is performed using this apparatus, plasma treatment containing oxygen may be performed to compensate for released oxygen. Note that impurities such as water and hydrogen contained in the insulator 224 can be removed by selecting the conditions for the plasma treatment appropriately. In that case, the heat treatment does not need to be performed.
Here, after aluminum oxide is deposited over the insulator 224 by a sputtering method, for example, the aluminum oxide may be subjected to CMP treatment until the insulator 224 is reached. The CMP treatment can planarize and smooth the surface of the insulator 224. When the CMP treatment is performed on the aluminum oxide placed over the insulator 224, it is easy to detect the endpoint of the CMP treatment. Although part of the insulator 224 is polished by the CMP treatment and the thickness of the insulator 224 is reduced in some cases, the thickness can be adjusted when the insulator 224 is deposited. Planarizing and smoothing the surface of the insulator 224 can prevent deterioration of the coverage with an oxide deposited later and a decrease in the yield of the semiconductor device in some cases. The deposition of aluminum oxide over the insulator 224 by a sputtering method is preferred because oxygen can be added to the insulator 224.
Next, an oxide film 230A and an oxide film 230B are deposited in this order over the insulator 224 (see FIG. 3 ). Note that it is preferable to deposit the oxide film 230A and the oxide film 230B successively without exposure to the air. By the deposition without exposure to the air, impurities or moisture from the atmospheric environment can be prevented from being attached onto the oxide film 230A and the oxide film 230B, so that the vicinity of the interface between the oxide film 230A and the oxide film 230B can be kept clean.
The oxide film 230A and the oxide film 230B can be deposited by a sputtering method, a CVD method, an MBE method, a PLD method, an ALD method, or the like.
For example, in the case where the oxide film 230A and the oxide film 230B are deposited by a sputtering method, oxygen or a mixed gas of oxygen and a rare gas is used as a sputtering gas. Increasing the proportion of oxygen contained in the sputtering gas can increase the amount of excess oxygen in the deposited oxide films. In the case where the oxide films are deposited by a sputtering method, the above In-M-Zn oxide target or the like can be used.
In particular, when the oxide film 230A is deposited, part of oxygen contained in the sputtering gas is supplied to the insulator 224 in some cases. Thus, the proportion of oxygen contained in the sputtering gas is higher than or equal to 70%, preferably higher than or equal to 80%, further preferably 100%.
In the case where the oxide film 230B is formed by a sputtering method and the proportion of oxygen contained in the sputtering gas for deposition is higher than 30% and lower than or equal to 100%, preferably higher than or equal to 70% and lower than or equal to 100%, an oxygen-excess oxide semiconductor is formed. In a transistor using an oxygen-excess oxide semiconductor for its channel formation region, relatively high reliability can be obtained. Note that one embodiment of the present invention is not limited thereto. In the case where the oxide film 230B is formed by a sputtering method and the proportion of oxygen contained in the sputtering gas for deposition is higher than or equal to 1% and lower than or equal to 30%, preferably higher than or equal to 5% and lower than or equal to 20%, an oxygen-deficient oxide semiconductor is formed. A transistor using an oxygen-deficient oxide semiconductor for its channel formation region can have relatively high field-effect mobility. Furthermore, when the deposition is performed while the substrate is heated, the crystallinity of the oxide film can be improved.
In this embodiment, the oxide film 230A is deposited by a sputtering method using an In—Ga—Zn oxide target with In:Ga:Zn=1:3:4 [atomic ratio]. The oxide film 230B is deposited by a sputtering method using an In—Ga—Zn oxide target with In:Ga:Zn=4:2:4.1 [atomic ratio]. Note that each of the oxide films is formed to have characteristics required for the oxide 230 by selecting the deposition condition and the atomic ratio as appropriate.
Note that the insulator 222, the insulator 224, the oxide film 230A, and the oxide film 230B are preferably deposited without exposure to the air. For example, a multi-chamber deposition apparatus is used.
Next, heat treatment may be performed. For the heat treatment, the above-described heat treatment conditions can be used. Through the heat treatment, impurities such as water and hydrogen in the oxide film 230A and the oxide film 230B can be removed, for example. In this embodiment, treatment is performed at 400° C. in a nitrogen atmosphere for one hour, and treatment is successively performed at 400° C. in an oxygen atmosphere for one hour.
Next, the conductive film 242A is deposited over the oxide film 230B. The conductive film 242A can be deposited by a sputtering method, a CVD method, an MBE method, a PLD method, an ALD method, or the like (see FIG. 3 ). Note that heat treatment may be performed before the deposition of the conductive film 242A. This heat treatment may be performed under reduced pressure, and the conductive film 242A may be successively deposited without exposure to the air. The treatment can remove moisture and hydrogen adsorbed onto the surface of the oxide film 230B and the like, and further can reduce the moisture concentration and the hydrogen concentration of the oxide film 230A and the oxide film 230B. The heat treatment is preferably performed at a temperature higher than or equal to 100° C. and lower than or equal to 400° C. In this embodiment, the heat treatment is performed at 200° C.
Next, the oxide film 230A, the oxide film 230B, and the conductive film 242A are processed into island shapes to form the oxide 230 a, the oxide 230 b, and a conductive layer 242B. Note that in this step, the thickness of the insulator 224 in a region that does not overlap with the oxide 230 a is reduced in some cases (see FIG. 4 ).
Here, the oxide 230 a, the oxide 230 b, and the conductive layer 242B are formed to at least partly overlap with the conductor 205. It is preferable that the side surfaces of the oxide 230 a, the oxide 230 b, and the conductive layer 242B be substantially perpendicular to a top surface of the insulator 224. When the side surfaces of the oxide 230 a, the oxide 230 b, and the conductive layer 242B are substantially perpendicular to the top surface of the insulator 224, a plurality of transistors 200 can be provided in a smaller area and at a higher density. Alternatively, a structure may be employed in which an angle formed by the side surfaces of the oxide 230 a, the oxide 230 b, and the conductive layer 242B and the top surface of the insulator 224 is a small angle. In that case, the angle formed by the side surfaces of the oxide 230 a, the oxide 230 b, and the conductive layer 242B and the top surface of the insulator 224 is preferably greater than or equal to 60° and less than 70°. With such a shape, coverage with the insulator 254 and the like can be improved in a later step, so that defects such as voids can be reduced.
There is a curved surface between the side surface of the conductive layer 242B and a top surface of the conductive layer 242B. That is, an end portion of the side surface and an end portion of the top surface are preferably curved. The radius of curvature of the curved surface at the end portion of the conductive layer 242B is greater than or equal to 3 nm and less than or equal to 10 nm, preferably greater than or equal to 5 nm and less than or equal to 6 nm, for example. When the end portions are not angular, coverage with films in later deposition steps is improved.
Note that the oxide film 230A, the oxide film 230B, and the conductive film 242A are processed by a lithography method. A dry etching method or a wet etching method can be used for the processing. Processing by a dry etching method is suitable for microfabrication. The oxide film 230A, the oxide film 230B, and the conductive film 242A may be processed under different conditions.
Next, an insulating film 254A is deposited over the insulator 224, the oxide 230 a, the oxide 230 b, and the conductive layer 242B (see FIG. 5 ).
The insulating film 254A can be deposited by a sputtering method, a CVD method, an MBE method, a PLD method, an ALD method, or the like. As the insulating film 254A, an insulating film having a function of inhibiting passage of oxygen is preferably used. For example, silicon nitride, silicon oxide, or aluminum oxide is deposited by a sputtering method.
Next, an insulating film to be the insulator 280 is deposited over the insulating film 254A. The insulating film to be the insulator 280 can be deposited by a sputtering method, a CVD method, an MBE method, a PLD method, an ALD method, or the like. In this embodiment, as the insulating film to be the insulator 280, a silicon oxide film is deposited by a CVD method or a sputtering method. Note that heat treatment may be performed before the deposition of the insulating film to be the insulator 280. The heat treatment may be performed under reduced pressure, and the insulating films may be successively formed without exposure to the air. The treatment can remove moisture and hydrogen adsorbed onto the surface of the insulating film 254A and the like, and further can reduce the moisture concentration and the hydrogen concentration of the oxide 230 a, the oxide 230 b, and the insulating film 254A. The conditions for the above-described heat treatment can be used.
The insulating film to be the insulator 280 may have a multilayer structure. The insulating film to be the insulator 280 may have a structure in which a silicon oxide film is deposited by a sputtering method and another silicon oxide film is deposited thereover by a CVD method, for example.
Subsequently, the insulating film to be the insulator 280 is subjected to CMP treatment, so that the insulator 280 having a flat top surface is formed (see FIG. 5 ).
Then, part of the insulator 280, part of the insulating film 254A, and part of the conductive layer 242B are processed to form an opening reaching the oxide 230 b. The opening is preferably formed to overlap with the conductor 205. The conductor 242 a, the conductor 242 b, and the insulator 254 are formed by the formation of the opening. At this time, the thickness of the oxide 230 b in a region overlapping with the opening may be reduced (see FIG. 6 ).
Part of the insulator 280, part of the insulating film 254A, and part of the conductive layer 242B may be processed under different conditions. For example, part of the insulator 280 may be processed by a dry etching method, part of the insulating film 254A may be processed by a wet etching method, and part of the conductive layer 242B may be processed by a dry etching method.
Here, it is preferable to remove impurities that are attached onto the surfaces of the oxide 230 a, the oxide 230 b, and the like or diffused into the oxide 230 a, the oxide 230 b, and the like. The impurities result from components contained in the insulator 280, the insulating film 254A, and the conductive layer 242B; components contained in a member used in an apparatus used to form the opening; and components contained in a gas or a liquid used for etching, for instance. Examples of the impurities include aluminum, silicon, tantalum, fluorine, and chlorine.
In order to remove the above impurities and the like, cleaning treatment may be performed. Examples of the cleaning method include wet cleaning using a cleaning solution and the like, plasma treatment using plasma, and cleaning by heat treatment, and any of these cleanings may be performed in appropriate combination.
As the wet cleaning, cleaning treatment may be performed using an aqueous solution in which ammonia water, oxalic acid, phosphoric acid, hydrofluoric acid, or the like is diluted with carbonated water or pure water; pure water; carbonated water; or the like. Alternatively, ultrasonic cleaning using such an aqueous solution, pure water, or carbonated water may be performed. Further alternatively, such cleaning methods may be performed in combination as appropriate.
Next, heat treatment may be performed. The heat treatment is preferably performed in an oxygen-containing atmosphere. This heat treatment may be performed under reduced pressure, and an oxide film 230C may be successively deposited without exposure to the air. The treatment can remove moisture and hydrogen adsorbed onto the surface of the oxide 230 b and the like, and further can reduce the moisture concentration and the hydrogen concentration of the oxide 230 a and the oxide 230 b. The heat treatment is preferably performed at a temperature higher than or equal to 100° C. and lower than or equal to 400° C. In this embodiment, the heat treatment is performed at 200° C. (see FIG. 7 ).
The oxide film 230C can be deposited by a sputtering method, a CVD method, an MBE method, a PLD method, an ALD method, or the like. The oxide film 230C is deposited by a method similar to that for the oxide film 230A or the oxide film 230B in accordance with characteristics required for the oxide film 230C. In this embodiment, the oxide film 230C is deposited by a sputtering method using an In—Ga—Zn oxide target with In:Ga:Zn=1:3:4 [atomic ratio] or 4:2:4.1 [atomic ratio]. Alternatively, the oxide film 230C is formed by a sputtering method in the following manner: a film is deposited using an In—Ga—Zn oxide target with In:Ga:Zn=4:2:4.1 [atomic ratio], and another film is deposited thereover using an In—Ga—Zn oxide target with In:Ga:Zn=1:3:4 [atomic ratio].
In particular, in the deposition of the oxide film 230C, part of oxygen contained in the sputtering gas is sometimes supplied to the oxide 230 a and the oxide 230 b. Therefore, the proportion of oxygen contained in the sputtering gas for the oxide film 230C is preferably higher than or equal to 70%, further preferably higher than or equal to 80%, still further preferably 100%.
Next, heat treatment may be performed. Heat treatment may be performed under reduced pressure, and an insulating film 250A may be successively deposited without exposure to the air. The treatment can remove moisture and hydrogen adsorbed onto the surface of the oxide film 230C and the like, and further can reduce the moisture concentration and the hydrogen concentration in the oxide 230 a, the oxide 230 b, and the oxide film 230C. The heat treatment is preferably performed at a temperature higher than or equal to 100° C. and lower than or equal to 400° C. (see FIG. 8 ).
The insulating film 250A can be deposited by a sputtering method, a CVD method, an MBE method, a PLD method, an ALD method, or the like. In this embodiment, for the insulating film 250A, silicon oxynitride is deposited by a CVD method. Note that the deposition temperature at the time of the deposition of the insulating film 250A is preferably higher than or equal to 350° C. to lower than 450° C., particularly preferably approximately 400° C. When the insulating film 250A is deposited at 400° C., an insulating film having few impurities can be deposited.
Next, the oxide film 230 b and the oxide 230C are preferably subjected to microwave-excited plasma treatment through the insulating film 250A under an atmosphere containing oxygen. By performing the microwave-excited plasma treatment, an impurity in the insulating film 250A, such as hydrogen, water, or an impurity can be removed. Moreover, by performing the microwave-excited plasma treatment, the insulating film 250A can be modified into a film that inhibits diffusion of hydrogen, water, an impurity, or the like. Accordingly, hydrogen, water, or an impurity can be inhibited from being diffused into the oxide 230 through the insulator 250 in the following step such as deposition of a conductive film to be the conductor 260 or the following treatment such as heat treatment.
In addition, by performing the microwave-excited plasma treatment, oxygen vacancies in the oxide 230 can be filled through the insulator 250. Thus, generation of electrons serving as carriers in the oxide 230 can be inhibited.
Note that to reduce the hydrogen concentration and the carrier density in the oxide 230, the microwave-excited plasma treatment is preferably performed under a condition of a high pressure. Thus, the pressure during the microwave-excited plasma treatment is higher than or equal to 133 Pa, preferably higher than or equal to 200 Pa, further preferably higher than or equal to 400 Pa. Furthermore, the oxygen flow rate ratio (O2/O2+Ar) is lower than or equal to 50%, preferably higher than or equal to 10% and lower than or equal to 30%.
Here, in the oxide 230, the region in contact with the insulator 250 is to be a channel formation region, and thus, generation of electrons serving as carriers is preferably inhibited. Meanwhile, it is preferable that the resistance of regions in the oxide 230 in contact with the conductor 242 a and the conductor 242 b be reduced.
In this structure, oxygen vacancies in the region of the oxide 230 in contact with the insulating film 250A are filled by performing the microwave-excited plasma treatment. In contrast, the regions of the oxide 230 overlapping with the conductor 242 a and the conductor 242 b are not directly influenced by the microwave-excited plasma treatment in some cases because the microwave-excited plasma treatment is performed through other components such as the insulator 280, the insulator 254, the conductor 242 a, and the conductor 242 b. Therefore, it is highly probable that oxygen vacancies in the regions of the oxide 230 in contact with the insulator 254, the conductor 242 a, and the conductor 242 b are not filled.
In the region of the oxide 230 in contact with the insulating film 250A, hydrogen released when the oxygen vacancies are filled moves in the oxide 230, and are diffused into another structure or enters oxygen vacancies in the regions of the oxide 230 overlapping with the conductor 242 a and the conductor 242 b, in some cases. Since the impurities (hydrogen and the like) entering the oxygen vacancies serve as a donor, the carrier density is increased and a low-resistance region is formed in a part in some cases.
That is, while the carrier density of the region of the oxide 230 in contact with the insulating film 250A is reduced, low-resistance regions are formed in the regions of the oxide 230 overlapping with the conductor 242 a and the conductor 242 b in some cases. Thus, the transistor 200 having favorable electrical characteristics can be provided.
Next, a conductive film 260A and a conductive film 260B are deposited in this order. The conductive film 260A and the conductive film 260B can be deposited by a sputtering method, a CVD method, an MBE method, a PLD method, an ALD method, or the like. In this embodiment, the conductive film 260A is deposited by an ALD method, and the conductive film 260B is deposited by a CVD method (see FIG. 9 ).
Then, the oxide film 230C, the insulating film 250A, the conductive film 260A, and the conductive film 260B are polished by CMP treatment until the insulator 280 is exposed, whereby the oxide 230 c, the insulator 250, and the conductor 260 (the conductor 260 a and the conductor 260 b) are formed (see FIG. 10 ). Accordingly, the oxide 230 c is positioned to cover the inner wall (the side wall and bottom surface) of the opening reaching the oxide 230 b. The insulator 250 is positioned to cover the inner wall of the opening with the oxide 230 c therebetween. The conductor 260 is positioned to fill the opening with the oxide 230 c and the insulator 250 therebetween.
Next, heat treatment may be performed. In this embodiment, treatment is performed at 400° C. in a nitrogen atmosphere for one hour. The heat treatment can reduce the moisture concentration and the hydrogen concentration of the insulator 250 and the insulator 280.
Next, the insulator 274 is deposited over the oxide 230 c, the insulator 250, the conductor 260, and the insulator 280. The insulator 274 can be deposited by a sputtering method, a CVD method, an MBE method, a PLD method, an ALD method, or the like. An aluminum oxide film or a silicon nitride film is preferably deposited as the insulator 274 by a sputtering method, for example. When an aluminum oxide film or a silicon nitride film is deposited by a sputtering method, diffusion of hydrogen contained in the insulator 281 into the oxide 230 can be inhibited. Forming the insulator 274 to be in contact with the conductor 260 is preferable, in which case oxidation of the conductor 260 can be inhibited.
When an aluminum oxide film is formed as the insulator 274 by a sputtering method, oxygen can be supplied to the insulator 280. Oxygen supplied to the insulator 280 is sometimes supplied to the channel formation region included in the oxide 230 b through the oxide 230 c. Furthermore, when oxygen is supplied to the insulator 280, oxygen that is contained in the insulator 280 before the formation of the insulator 274 may be supplied to the channel formation region included in the oxide 230 b through the oxide 230 c.
In addition, the insulator 274 may have a multilayer structure. For example, a structure may be employed in which an aluminum oxide film is deposited by a sputtering method and silicon nitride is deposited over the aluminum oxide film by a sputtering method.
Next, heat treatment may be performed. For the heat treatment, the conditions for the above-described heat treatment can be used. The heat treatment can reduce the moisture concentration and the hydrogen concentration of the insulator 280. Moreover, oxygen contained in the insulator 274 can be injected into the insulator 280.
Before the insulator 274 is deposited, the following steps may be performed: first, an aluminum oxide film is deposited over the insulator 280 and the like by a sputtering method, heat treatment is performed under the above heat treatment conditions, and then the aluminum oxide film is removed by CMP treatment. Through these steps, a larger number of excess-oxygen regions can be formed in the insulator 280. Note that in these steps, part of the insulator 280, part of the conductor 260, part of the insulator 250, and part of the oxide 230 c are removed in some cases.
An insulator may be provided between the insulator 280 and the insulator 274. As the insulator, silicon oxide deposited by a sputtering method can be used, for example. Providing the insulator can form an excess-oxygen region in the insulator 280.
Next, the insulator 281 may be deposited over the insulator 274. The insulator 281 can be deposited by a sputtering method, a CVD method, an MBE method, a PLD method, an ALD method, or the like (see FIG. 10 ).
Then, openings that reach the conductor 242 a and the conductor 242 b are formed in the insulator 254, the insulator 280, the insulator 274, and the insulator 281. The openings are formed by a lithography method.
Subsequently, an insulating film to be the insulator 241 is deposited and the insulating film is subjected to anisotropic etching, so that the insulator 241 is formed. The insulating film can be deposited by a sputtering method, a CVD method, an MBE method, a PLD method, an ALD method, or the like. As the insulating film, an insulating film having a function of inhibiting passage of oxygen is preferably used. For example, an aluminum oxide film is preferably deposited by an ALD method. Alternatively, a silicon nitride film may be deposited by an ALD method or a CVD method. For the anisotropic etching, a dry etching method or the like is employed, for example. When the side wall portions of the openings have such a structure, passage of oxygen from the outside can be inhibited and oxidation of the conductor 240 a and the conductor 240 b to be formed next can be prevented. Furthermore, impurities such as water and hydrogen can be prevented from diffusing from the conductor 240 a and the conductor 240 b into the outside.
Next, a conductive film to be the conductor 240 a and the conductor 240 b is deposited. The conductive film desirably has a stacked-layer structure that includes a conductor having a function of inhibiting diffusion of impurities such as water and hydrogen. For example, a stack of tantalum nitride, titanium nitride, or the like and tungsten, molybdenum, copper, or the like can be employed. The conductive film can be deposited by a sputtering method, a CVD method, an MBE method, a PLD method, an ALD method, or the like.
Then, CMP treatment is performed, thereby removing part of the conductive film to be the conductor 240 a and the conductor 240 b to expose the insulator 281. As a result, the conductive film remains only in the openings, so that the conductor 240 a and the conductor 240 b having flat top surfaces can be formed (see FIG. 1 ). Note that the insulator 281 is partly removed by the CMP treatment in some cases.
Through the above process, the semiconductor device including the transistor 200 illustrated in FIG. 1 can be manufactured.
According to one embodiment of the present invention, a semiconductor device with high reliability can be provided. According to another embodiment of the present invention, a semiconductor device having favorable electrical characteristics can be provided. According to another embodiment of the present invention, a semiconductor device with a high on-state current can be provided. According to another embodiment of the present invention, a semiconductor device that can be miniaturized or highly integrated can be provided. According to another embodiment of the present invention, a semiconductor device with low power consumption can be provided.
The structure, method, and the like described above in this embodiment can be used in an appropriate combination with the structures, the methods, and the like described in the other embodiments and examples.
Embodiment 2
In this embodiment, one embodiment of a semiconductor device is described with reference to FIG. 11 and FIG. 12 .
[Memory Device 1]
FIG. 11 illustrates an example of a semiconductor device (memory device) in which a capacitor of one embodiment of the present invention is used. In the semiconductor device of one embodiment of the present invention, the transistor 200 is provided above a transistor 300, and a capacitor 100 is provided above the transistor 200. At least part of the capacitor 100 or the transistor 300 preferably overlaps with the transistor 200. Accordingly, an area occupied by the capacitor 100, the transistor 200, and the transistor 300 in a top view can be reduced, whereby the semiconductor device of this embodiment can be miniaturized or highly integrated. The semiconductor device of this embodiment can be applied to logic circuits typified by a CPU (Central Processing Unit) and a GPU (Graphics Processing Unit) and memory circuits typified by a DRAM (Dynamic Random Access Memory) and an NVM (Non-Volatile Memory), for example.
The transistor 200 described in the above embodiment can be used as the transistor 200. Therefore, for the transistor 200 and layers including the transistor 200, the description in the above embodiment can be referred to.
The transistor 200 is a transistor whose channel is formed in a semiconductor layer containing an oxide semiconductor. Since the transistor 200 has a low off-state current, a memory device including the transistor 200 can retain stored data for a long time. In other words, such a memory device does not require refresh operation or has an extremely low frequency of the refresh operation, which leads to a sufficient reduction in power consumption of the memory device. The transistor 200 exhibits favorable electrical characteristics at high temperatures, in comparison with a transistor including silicon in a semiconductor layer. For example, the transistor 200 has favorable electrical characteristics even in the temperature range of 125° C. to 150° C. Moreover, the transistor 200 has an on/off ratio of 10 digits or larger in the temperature range of 125° C. to 150° C. In other words, in comparison with a transistor including silicon in a semiconductor layer, the transistor 200 excels in characteristics such as on-state current and frequency characteristics at higher temperatures.
In the semiconductor device illustrated in FIG. 11 , a wiring 1001 is electrically connected to a source of the transistor 300, a wiring 1002 is electrically connected to a drain of the transistor 300, and a wiring 1007 is electrically connected to a gate of the transistor 300. A wiring 1003 is electrically connected to one of the source and the drain of the transistor 200, a wiring 1004 is electrically connected to the first gate of the transistor 200, and a wiring 1006 is electrically connected to the second gate of the transistor 200. The other of the source and the drain of the transistor 200 is electrically connected to one electrode of the capacitor 100, and a wiring 1005 is electrically connected to the other electrode of the capacitor 100.
The semiconductor device illustrated in FIG. 11 has characteristics of being capable of retaining charge stored in the one electrode of the capacitor 100 by switching of the transistor 200; thus, writing, retention, and reading of data can be performed. The transistor 200 is an element in which a back gate is provided in addition to the source, the gate (top gate), and the drain. That is, the transistor 200 is a four-terminal element; hence, its input and output can be controlled independently of each other in a simpler manner than that in two-terminal elements typified by MRAM (Magnetoresistive Random Access Memory) utilizing MTJ (Magnetic Tunnel Junction) properties, ReRAM (Resistive Random Access Memory), and phase-change memory. In addition, the structure of MRAM, ReRAM, and phase-change memory may change at the atomic level when data is rewritten. In contrast, in the semiconductor device illustrated in FIG. 11 , data rewriting is performed by charging or discharging of electrons with the transistor and the capacitor; thus, the semiconductor device has characteristics such as high write endurance and a few structure changes.
Furthermore, by arranging the semiconductor devices illustrated in FIG. 11 in a matrix, a memory cell array can be formed. In this case, the transistor 300 can be used for a read circuit, a driver circuit, or the like that is connected to the memory cell array. As described above, the semiconductor device illustrated in FIG. 11 constitutes the memory cell array. When the semiconductor device in FIG. 11 is used as a memory element, for example, an operating frequency of 200 MHz or higher is achieved at a driving voltage of 2.5 V and an evaluation environment temperature ranging from −40° C. to 85° C.
<Transistor 300>
The transistor 300 is provided on a substrate 311 and includes a conductor 316 functioning as a gate electrode, an insulator 315 functioning as a gate insulator, a semiconductor region 313 that is part of the substrate 311, and a low-resistance region 314 a and a low-resistance region 314 b functioning as a source region and a drain region.
Here, the insulator 315 is placed over the semiconductor region 313, and the conductor 316 is placed over the insulator 315. The transistors 300 formed in the same layer are electrically isolated from one another by an insulator 312 functioning as an element isolation insulating layer. The insulator 312 can be formed using an insulator similar to an insulator 326 or the like described later. The transistor 300 may be a p-channel transistor or an n-channel transistor.
In the substrate 311, a region of the semiconductor region 313 where a channel is formed, a region in the vicinity thereof, the low-resistance region 314 a and the low-resistance region 314 b functioning as the source region and the drain region, and the like preferably contain a semiconductor such as a silicon-based semiconductor, further preferably single crystal silicon. Alternatively, the regions may be formed using a material containing Ge (germanium), SiGe (silicon germanium), GaAs (gallium arsenide), GaAlAs (gallium aluminum arsenide), or the like. A structure may be employed in which silicon whose effective mass is controlled by applying stress to the crystal lattice and thereby changing the lattice spacing is used. Alternatively, the transistor 300 may be an HEMT (High Electron Mobility Transistor) using GaAs and GaAlAs, or the like.
The low-resistance region 314 a and the low-resistance region 314 b contain an element that imparts n-type conductivity, such as arsenic or phosphorus, or an element that imparts p-type conductivity, such as boron, in addition to the semiconductor material used for the semiconductor region 313.
The conductor 316 functioning as the gate electrode can be formed using a semiconductor material such as silicon containing an element that imparts n-type conductivity, such as arsenic or phosphorus, or an element that imparts p-type conductivity, such as boron, or using a conductive material such as a metal material, an alloy material, or a metal oxide material.
Note that the work function depends on a material of the conductor; thus, the threshold voltage can be adjusted by changing the material of the conductor. Specifically, it is preferable to use a material such as titanium nitride or tantalum nitride for the conductor. Moreover, in order to obtain both conductivity and embeddability, it is preferable to use stacked layers of metal materials such as tungsten and aluminum for the conductor, and it is particularly preferable to use tungsten in terms of heat resistance.
Here, in the transistor 300 illustrated in FIG. 11 , the semiconductor region 313 (part of the substrate 311) in which the channel is formed has a convex shape. Furthermore, the conductor 316 is provided so as to cover a side surface and the top surface of the semiconductor region 313 with the insulator 315 positioned therebetween. Such a transistor 300 is also referred to as a FIN-type transistor because it utilizes a convex portion of the semiconductor substrate. Note that an insulator functioning as a mask for forming the convex portion may be placed in contact with an upper portion of the convex portion. Furthermore, although the case where the convex portion is formed by processing part of the semiconductor substrate is described here, a semiconductor film having a convex shape may be formed by processing an SOI substrate.
Note that the transistor 300 illustrated in FIG. 11 is an example and the structure is not limited thereto; an appropriate transistor is used in accordance with a circuit structure or a driving method.
As illustrated in FIG. 11 , the semiconductor device includes a stack of the transistor 300 and the transistor 200. For example, the transistor 300 can be formed using a silicon-based semiconductor material, and the transistor 200 can be formed using an oxide semiconductor. That is, in the semiconductor device in FIG. 11 , a silicon-based semiconductor material and an oxide semiconductor can be used in different layers. The semiconductor device illustrated in FIG. 11 can be manufactured in a process similar to that employing a manufacturing apparatus that is used in the case of a silicon-based semiconductor material, and can be highly integrated.
<Capacitor>
The capacitor 100 includes an insulator 114 over an insulator 160, an insulator 140 over the insulator 114, a conductor 110 positioned in an opening formed in the insulator 114 and the insulator 140, an insulator 130 over the conductor 110 and the insulator 140, a conductor 120 over the insulator 130, and an insulator 150 over the conductor 120 and the insulator 130. Here, at least parts of the conductor 110, the insulator 130, and the conductor 120 are positioned in the opening formed in the insulator 114 and the insulator 140.
The conductor 110 functions as a lower electrode of the capacitor 100, the conductor 120 functions as an upper electrode of the capacitor 100, and the insulator 130 functions as a dielectric of the capacitor 100. The capacitor 100 has a structure in which the upper electrode and the lower electrode face each other with the dielectric positioned therebetween on a side surface as well as the bottom surface of the opening in the insulator 114 and the insulator 140; thus, the capacitance per unit area can be increased. Thus, the deeper the opening is, the larger the capacitance of the capacitor 100 can be. Increasing the capacitance per unit area of the capacitor 100 in this manner can promote miniaturization or higher integration of the semiconductor device.
An insulator that can be used for the insulator 280 can be used for the insulator 114 and the insulator 150. The insulator 140 preferably functions as an etching stopper at the time of forming the opening in the insulator 114 and is formed using an insulator that can be used for the insulator 214.
The shape of the opening formed in the insulator 114 and the insulator 140 when seen from above may be a quadrangular shape, a polygonal shape other than a quadrangular shape, a polygonal shape with rounded corners, or a circular shape including an elliptical shape. Here, the area where the opening and the transistor 200 overlap with each other is preferably large in the top view. Such a structure can reduce the area occupied by the semiconductor device including the capacitor 100 and the transistor 200.
The conductor 110 is provided in contact with the opening formed in the insulator 140 and the insulator 114. The top surface of the conductor 110 is preferably substantially level with the top surface of the insulator 140. A conductor 152 provided over the insulator 160 is in contact with the bottom surface of the conductor 110. The conductor 110 is preferably deposited by an ALD method, a CVD method, or the like; for example, a conductor that can be used for the conductor 205 is used.
The insulator 130 is positioned to cover the conductor 110 and the insulator 140. The insulator 130 is preferably deposited by an ALD method or a CVD method, for example. The insulator 130 can be provided to have stacked layers or a single layer using, for example, silicon oxide, silicon oxynitride, silicon nitride oxide, silicon nitride, zirconium oxide, aluminum oxide, aluminum oxynitride, aluminum nitride oxide, aluminum nitride, hafnium oxide, hafnium oxynitride, hafnium nitride oxide, or hafnium nitride. As the insulator 130, an insulating film in which zirconium oxide, aluminum oxide, and zirconium oxide are stacked in this order can be used, for example.
For the insulator 130, a material with high dielectric strength, such as silicon oxynitride, or a high dielectric constant (high-k) material is preferably used. Alternatively, a stacked-layer structure using a material with high dielectric strength and a high dielectric constant (high-k) material may be employed.
As an insulator of a high dielectric constant (high-k) material (a material having a high relative permittivity), gallium oxide, hafnium oxide, zirconium oxide, an oxide containing aluminum and hafnium, an oxynitride containing aluminum and hafnium, an oxide containing silicon and hafnium, an oxynitride containing silicon and hafnium, a nitride containing silicon and hafnium, and the like can be given. The use of such a high-k material can ensure sufficient capacitance of the capacitor 100 even when the insulator 130 has a large thickness. When the insulator 130 has a large thickness, leakage current generated between the conductor 110 and the conductor 120 can be inhibited.
Examples of the material with high dielectric strength include silicon oxide, silicon oxynitride, silicon nitride oxide, silicon nitride, silicon oxide to which fluorine is added, silicon oxide to which carbon is added, silicon oxide to which carbon and nitrogen are added, porous silicon oxide, and a resin. For example, it is possible to use an insulating film in which silicon nitride (SiNx) deposited by an ALD method, silicon oxide (SiOx) deposited by a PEALD method, and silicon nitride (SiNx) deposited by an ALD method are stacked in this order. The use of such an insulator with high dielectric strength can increase the dielectric strength and inhibit electrostatic breakdown of the capacitor 100.
The conductor 120 is positioned to fill the opening formed in the insulator 140 and the insulator 114. The conductor 120 is electrically connected to the wiring 1005 through a conductor 112 and a conductor 153. The conductor 120 is preferably deposited by an ALD method, a CVD method, or the like and is formed using a conductor that can be used for the conductor 205, for example.
Since the transistor 200 has a structure in which an oxide semiconductor is used, the transistor 200 is highly compatible with the capacitor 100. Specifically, since the transistor 200 containing an oxide semiconductor has a low off-state current, a combination of the transistor 200 and the capacitor 100 enables stored data to be retained for a long time.
<Wiring Layers>
Wiring layers provided with an interlayer film, a wiring, a plug, and the like may be provided between the structure bodies. A plurality of wiring layers can be provided in accordance with the design. Note that a plurality of conductors functioning as plugs or wirings are collectively denoted by the same reference numeral in some cases. Furthermore, in this specification and the like, a wiring and a plug electrically connected to the wiring may be a single component. That is, there are a case where part of a conductor functions as a wiring and a case where part of a conductor functions as a plug.
For example, an insulator 320, an insulator 322, an insulator 324, and the insulator 326 are stacked over the transistor 300 in this order as interlayer films. Moreover, a conductor 328, a conductor 330, and the like that are electrically connected to the conductor 153 functioning as a terminal are embedded in the insulator 320, the insulator 322, the insulator 324, and the insulator 326. Note that the conductor 328 and the conductor 330 function as plugs or wirings.
The insulator functioning as an interlayer film may function as a planarization film that covers an uneven shape thereunder. For example, a top surface of the insulator 322 may be planarized by planarization treatment using a chemical mechanical polishing (CMP) method or the like to improve planarity.
A wiring layer may be provided over the insulator 326 and the conductor 330. For example, in FIG. 11 , an insulator 350, an insulator 352, and an insulator 354 are provided to be stacked in this order. Furthermore, a conductor 356 is formed in the insulator 350, the insulator 352, and the insulator 354. The conductor 356 functions as a plug or a wiring.
An insulator 210, an insulator 212, the insulator 214, and the insulator 216 are stacked in this order over the insulator 354 and the conductor 356. A conductor 218, a conductor (the conductor 205) included in the transistor 200, and the like are embedded in the insulator 210, the insulator 212, the insulator 214, and the insulator 216. Note that the conductor 218 functions as a plug or a wiring that is electrically connected to the transistor 300.
The conductor 112, conductors (the conductor 120 and the conductor 110) included in the capacitor 100, and the like are embedded in the insulator 114, the insulator 140, the insulator 130, the insulator 150, and an insulator 154. Note that the conductor 112 functions as a plug or a wiring that electrically connects the capacitor 100, the transistor 200, or the transistor 300 to the conductor 153 functioning as a terminal.
The conductor 153 is provided over the insulator 154, and the conductor 153 is covered with an insulator 156. Here, the conductor 153 is in contact with a top surface of the conductor 112 and functions as a terminal of the capacitor 100, the transistor 200, or the transistor 300.
Examples of an insulator that can be used for an interlayer film include an oxide, a nitride, an oxynitride, a nitride oxide, a metal oxide, a metal oxynitride, and a metal nitride oxide, each of which has an insulating property. For example, when a material with a low relative permittivity is used for the insulator functioning as an interlayer film, the parasitic capacitance generated between wirings can be reduced. Accordingly, a material is preferably selected depending on the function of an insulator.
For example, for the insulator 320, the insulator 322, the insulator 326, the insulator 352, the insulator 354, the insulator 212, the insulator 114, the insulator 150, the insulator 156, and the like, an insulator with low relative permittivity is preferably used. For example, the insulators each preferably include silicon oxide, silicon oxynitride, silicon nitride oxide, silicon nitride, silicon oxide to which fluorine is added, silicon oxide to which carbon is added, silicon oxide to which carbon and nitrogen are added, porous silicon oxide, a resin, or the like. Alternatively, the insulators each preferably have a stacked-layer structure of a resin and silicon oxide, silicon oxynitride, silicon nitride oxide, silicon nitride, silicon oxide to which fluorine is added, silicon oxide to which carbon is added, silicon oxide to which carbon and nitrogen are added, or porous silicon oxide. When silicon oxide or silicon oxynitride, which is thermally stable, is combined with a resin, the stacked-layer structure can have thermal stability and a low relative permittivity. Examples of the resin include polyester, polyolefin, polyamide (e.g., nylon and aramid), polyimide, polycarbonate, and acrylic.
It is preferable that the resistivity of an insulator provided over or under the conductor 152 or the conductor 153 be higher than or equal to 1.0×1012 Ωcm and lower than or equal to 1.0×1015 Ωcm, preferably higher than or equal to 5.0×1012 Ωcm and lower than or equal to 1.0×1014 Ωcm, further preferably higher than or equal to 1.0×1013 Ωcm and lower than or equal to 5.0×1013 Ωcm. The resistivity of the insulator provided over or under the conductor 152 or the conductor 153 is preferably within the above range because the insulator can disperse charges accumulated between the transistor 200, the transistor 300, the capacitor 100, and wirings such as the conductor 152 while maintaining the insulating property, and thus, poor characteristics and electrostatic breakdown of the transistor and the semiconductor device including the transistor due to the charges can be inhibited. For such an insulator, silicon nitride or silicon nitride oxide can be used. For example, the resistivity of the insulator 160 or the insulator 154 can be set within the above range.
When a transistor using an oxide semiconductor is surrounded by insulators having a function of inhibiting passage of oxygen and impurities such as hydrogen, the electrical characteristics of the transistor can be stable. Thus, an insulator having a function of inhibiting passage of oxygen and impurities such as hydrogen is used for the insulator 324, the insulator 350, the insulator 210, and like.
As the insulator having a function of inhibiting passage of oxygen and impurities such as hydrogen, a single layer or stacked layers of an insulator containing, for example, boron, carbon, nitrogen, oxygen, fluorine, magnesium, aluminum, silicon, phosphorus, chlorine, argon, gallium, germanium, yttrium, zirconium, lanthanum, neodymium, hafnium, or tantalum is used. Specifically, as the insulator having a function of inhibiting passage of oxygen and impurities such as hydrogen, a metal oxide such as aluminum oxide, magnesium oxide, gallium oxide, germanium oxide, yttrium oxide, zirconium oxide, lanthanum oxide, neodymium oxide, hafnium oxide, or tantalum oxide; silicon nitride oxide; or silicon nitride can be used.
As the conductors that can be used for a wiring or a plug, a material containing one or more kinds of metal elements selected from aluminum, chromium, copper, silver, gold, platinum, tantalum, nickel, titanium, molybdenum, tungsten, hafnium, vanadium, niobium, manganese, magnesium, zirconium, beryllium, indium, ruthenium, and the like can be used. Furthermore, a semiconductor having high electrical conductivity, typified by polycrystalline silicon containing an impurity element such as phosphorus, or silicide such as nickel silicide may be used.
For example, for the conductor 328, the conductor 330, the conductor 356, the conductor 218, the conductor 112, the conductor 152, the conductor 153, and the like, a single layer or stacked layers of a conductive material such as a metal material, an alloy material, a metal nitride material, a metal oxide material, and the like that are formed using the above materials can be used. It is preferable to use a high-melting-point material that has both heat resistance and conductivity, such as tungsten or molybdenum, and it is particularly preferable to use tungsten. Alternatively, a low-resistance conductive material such as aluminum or copper is preferably used. The use of a low-resistance conductive material can reduce wiring resistance.
<Wiring or Plug in Layer Provided with Oxide Semiconductor>
In the case where an oxide semiconductor is used in the transistor 200, an insulator including an excess-oxygen region is provided in the vicinity of the oxide semiconductor in some cases. In that case, an insulator having a barrier property is preferably provided between the insulator including the excess-oxygen region and a conductor provided in the insulator including the excess-oxygen region.
For example, the insulator 241 is preferably provided between the insulator 280 including excess oxygen and the conductor 240 in FIG. 11 . The insulator 241 and the insulator 274 are preferably provided in contact with each other. Since the insulator 241 is provided in contact with the insulator 274, the conductor 240 and the transistor 200 can be sealed by the insulators having a barrier property.
That is, the excess oxygen included in the insulator 280 can be inhibited from being absorbed by the conductor 240 when the insulator 241 is provided. In addition, diffusion of hydrogen, which is an impurity, into the transistor 200 through the conductor 240 can be inhibited when the insulator 241 is provided.
Here, the conductor 240 functions as a plug or a wiring that is electrically connected to the transistor 200 or the transistor 300.
The above is the description of the structure example. With the use of this structure, a semiconductor device using a transistor including an oxide semiconductor can be miniaturized or highly integrated. Alternatively, a change in electrical characteristics can be inhibited and reliability can be improved in a semiconductor device using a transistor including an oxide semiconductor. Alternatively, a transistor including an oxide semiconductor and having a high on-state current can be provided. Alternatively, a transistor including an oxide semiconductor and having a low off-state current can be provided. Alternatively, a semiconductor device with low power consumption can be provided.
[Memory Device 2]
FIG. 12 illustrates an example of a semiconductor device (memory device) using the semiconductor device of one embodiment of the present invention. Like the semiconductor device illustrated in FIG. 11 , the semiconductor device illustrated in FIG. 12 includes the transistor 200, the transistor 300, and the capacitor 100. Note that the semiconductor device illustrated in FIG. 12 differs from the semiconductor device illustrated in FIG. 11 in that the capacitor 100 is a planar capacitor and that the transistor 200 is electrically connected to the transistor 300.
In the semiconductor device of one embodiment of the present invention, the transistor 200 is provided above the transistor 300, and the capacitor 100 is provided above the transistor 300 and the transistor 200. At least part of the capacitor 100 or the transistor 300 preferably overlaps with the transistor 200. Accordingly, an area occupied by the capacitor 100, the transistor 200, and the transistor 300 in a top view can be reduced, whereby the semiconductor device of this embodiment can be miniaturized or highly integrated.
Note that the transistor 200 and the transistor 300 mentioned above can be used as the transistor 200 and the transistor 300, respectively. Therefore, the above description can be referred to for the transistor 200, the transistor 300, and the layers including them.
In the semiconductor device illustrated in FIG. 12 , a wiring 2001 is electrically connected to the source of the transistor 300, and a wiring 2002 is electrically connected to the drain of the transistor 300. A wiring 2003 is electrically connected to one of the source and the drain of the transistor 200, a wiring 2004 is electrically connected to the first gate of the transistor 200, and a wiring 2006 is electrically connected to the second gate of the transistor 200. The gate of the transistor 300 and the other of the source and the drain of the transistor 200 are electrically connected to one electrode of the capacitor 100, and a wiring 2005 is electrically connected to the other electrode of the capacitor 100. Note that a node where the gate of the transistor 300, the other of the source and the drain of the transistor 200, and the one electrode of the capacitor 100 are connected to one another is hereinafter referred to as a node FG in some cases.
The semiconductor device illustrated in FIG. 12 is capable of retaining the potential of the gate of the transistor 300 (the node FG) by switching of the transistor 200; thus, data writing, retention, and reading can be performed.
By arranging the semiconductor devices illustrated in FIG. 12 in a matrix, a memory cell array can be formed.
The layer including the transistor 300 has the same structure as that in the semiconductor device illustrated in FIG. 11 , and therefore, the above description can be referred to for the structure below the insulator 354.
The insulator 210, the insulator 212, the insulator 214, and the insulator 216 are positioned over the insulator 354. Here, an insulator having a function of inhibiting passage of oxygen and impurities such as hydrogen is used for the insulator 210, as for the insulator 350 and the like.
The conductor 218 is embedded in the insulator 210, the insulator 212, the insulator 214, and the insulator 216. The conductor 218 functions as a plug or a wiring that is electrically connected to the capacitor 100, the transistor 200, or the transistor 300. For example, the conductor 218 is electrically connected to the conductor 316 functioning as the gate electrode of the transistor 300.
Note that the conductor 240 functions as a plug or a wiring that is electrically connected to the transistor 200 or the transistor 300. For example, the conductor 240 electrically connects the conductor 242 b functioning as the other of the source and the drain of the transistor 200 and the conductor 110 functioning as one electrode of the capacitor 100 through the conductor 240.
The planar capacitor 100 is provided above the transistor 200. The capacitor 100 includes the conductor 110 functioning as a first electrode, the conductor 120 functioning as a second electrode, and the insulator 130 functioning as a dielectric. Note that as the conductor 110, the conductor 120, and the insulator 130, those described above in Memory device 1 can be used.
The conductor 153 and the conductor 110 are provided in contact with the top surface of the conductor 240. The conductor 153 is in contact with the top surface of the conductor 240 and functions as a terminal of the transistor 200 or the transistor 300.
The conductor 153 and the conductor 110 are covered with the insulator 130, and the conductor 120 is positioned to overlap with the conductor 110 with the insulator 130 therebetween. In addition, the insulator 114 is positioned over the conductor 120 and the insulator 130.
Although FIG. 12 illustrates an example in which a planar capacitor is used as the capacitor 100, the semiconductor device of this embodiment is not limited thereto. For example, the capacitor 100 may be a cylinder capacitor 100 like that illustrated in FIG. 11 .
[Memory Device 3]
FIG. 13 illustrates an example of a memory device using the semiconductor device of one embodiment of the present invention. The memory device illustrated in FIG. 13 includes a transistor 400 in addition to the semiconductor device including the transistor 200, the transistor 300, and the capacitor 100 illustrated in FIG. 12 .
The transistor 400 can control a second gate voltage of the transistor 200. For example, a first gate and a second gate of the transistor 400 are diode-connected to a source of the transistor 400, and the source of the transistor 400 is connected to the second gate of the transistor 200. When a negative potential of the second gate of the transistor 200 is retained in this structure, the first gate-source voltage and the second gate-source voltage of the transistor 400 become 0 V. In the transistor 400, a drain current at the time when a second gate voltage and a first gate voltage are 0 V is extremely low; thus, the negative potential of the second gate of the transistor 200 can be maintained for a long time even without power supply to the transistor 200 and the transistor 400. Accordingly, the memory device including the transistor 200 and the transistor 400 can retain stored data for a long time.
In FIG. 13 , the wiring 1001 is electrically connected to the source of the transistor 300, and the wiring 1002 is electrically connected to the drain of the transistor 300. The wiring 1003 is electrically connected to one of the source and the drain of the transistor 200, the wiring 1004 is electrically connected to the gate of the transistor 200, and the wiring 1006 is electrically connected to a back gate of the transistor 200. A gate of the transistor 300 and the other of the source and the drain of the transistor 200 are electrically connected to one electrode of the capacitor 100, and the wiring 1005 is electrically connected to the other electrode of the capacitor 100. The wiring 1007 is electrically connected to the source of the transistor 400, a wiring 1008 is electrically connected to a gate of the transistor 400, a wiring 1009 is electrically connected to a back gate of the transistor 400, and a wiring 1010 is electrically connected to the drain of the transistor 400. Here, the wiring 1006, the wiring 1007, the wiring 1008, and the wiring 1009 are electrically connected to each other.
When the memory devices illustrated in FIG. 13 are arranged in a matrix like the memory devices illustrated in FIG. 12 , a memory cell array can be formed. Note that one transistor 400 can control the second gate voltages of a plurality of transistors 200. For this reason, the number of transistors 400 is preferably smaller than the number of transistors 200.
<Transistor 400>
The transistor 400 and the transistor 200 are formed in the same layer and thus can be fabricated in parallel. The transistor 400 includes a conductor 460 (a conductor 460 a and a conductor 460 b) functioning as a first gate electrode; a conductor 405 functioning as a second gate electrode; the insulator 222, the insulator 224, and an insulator 450 functioning as a gate insulating layer; an oxide 430 c including a region where a channel is formed; a conductor 442 a, an oxide 431 a, and an oxide 431 b functioning as one of a source and a drain; a conductor 442 b, an oxide 432 a, and an oxide 432 b functioning as the other of the source and the drain; and a conductor 440 (a conductor 440 a and a conductor 440 b).
In the transistor 400, the conductor 405 is in the same layer as the conductor 205. The oxide 431 a and the oxide 432 a are in the same layer as the oxide 230 a, and the oxide 431 b and the oxide 432 b are in the same layer as the oxide 230 b. The conductor 442 is in the same layer as the conductor 242. The oxide 430 c is in the same layer as the oxide 230 c. The insulator 450 is in the same layer as the insulator 250. The conductor 460 is in the same layer as the conductor 260.
Note that the components formed in the same layer can be formed at the same time. For example, the oxide 430 c can be formed by processing an oxide film to be the oxide 230 c.
In the oxide 430 c functioning as an active layer of the transistor 400, oxygen vacancies and impurities such as hydrogen and water are reduced, as in the oxide 230 or the like. Accordingly, the threshold voltage of the transistor 400 can be higher than 0 V, the off-state current can be reduced, and the drain current at the time when the second gate voltage and the first gate voltage are 0 V can be extremely low.
<Dicing Line>
A dicing line (also referred to as a scribe line, a dividing line, or a cutting line in some cases) that is provided when a large-sized substrate is divided into semiconductor elements so that a plurality of semiconductor devices are each formed in a chip form is described below. Examples of a dividing method include the case where a groove (a dicing line) for dividing the semiconductor elements is formed on the substrate, and then the substrate is cut along the dicing line to divide (split) it into a plurality of semiconductor devices.
Here, for example, design is preferably made such that a region in which the insulator 272 and the insulator 222 are in contact with each other is the dicing line, as illustrated in FIG. 13 . That is, an opening is provided in the insulator 224 in the vicinity of the region to be the dicing line that is provided in an outer edge of the transistor 400 and the memory cell including a plurality of transistors 200. The insulator 272 is provided to cover the side surface of the insulator 224.
That is, in the opening provided in the insulator 224, the insulator 222 is in contact with the insulator 272. For example, the insulator 222 and the insulator 272 may be formed using the same material and the same method. When the insulator 222 and the insulator 272 are formed using the same material and the same method, the adhesion therebetween can be increased. For example, aluminum oxide is preferably used.
With such a structure, the insulator 224, the transistor 200, and the transistor 400 can be enclosed with the insulator 222 and the insulator 272. Since the insulator 222 and the insulator 272 have a function of inhibiting diffusion of oxygen, hydrogen, and water, even when the substrate is divided into circuit regions each of which is provided with the semiconductor elements in this embodiment to form a plurality of chips, the entry and diffusion of impurities such as hydrogen or water from the side surface direction of the divided substrate into the transistor 200 and the transistor 400 can be prevented.
Furthermore, the structure can prevent excess oxygen in the insulator 224 from diffusing to the outside of the insulator 272 and the insulator 222. Accordingly, excess oxygen in the insulator 224 is efficiently supplied to the oxide where the channel is formed in the transistor 200 or the transistor 400. The oxygen can reduce oxygen vacancies in the oxide where the channel is formed in the transistor 200 or the transistor 400. Thus, the oxide where the channel is formed in the transistor 200 or the transistor 400 can be an oxide semiconductor with a low density of defect states and stable characteristics. That is, a change in electrical characteristics of the transistors 200 or the transistor 400 can be reduced and reliability can be improved.
This embodiment can be implemented in an appropriate combination with the structures described in the other embodiments, the examples, and the like.
Embodiment 3
In this embodiment, a memory device of one embodiment of the present invention including a transistor in which oxide is used as a semiconductor (hereinafter referred to as an OS transistor in some cases) and a capacitor (hereinafter such a memory device is also referred to as an OS memory device in some cases) will be described with reference to FIG. 14 and FIG. 15 . The OS memory device includes at least a capacitor and an OS transistor that controls the charging and discharging of the capacitor. Since the OS transistor has an extremely low off-state current, the OS memory device has excellent retention characteristics and thus can function as a nonvolatile memory.
<Structure Example of Memory Device>
FIG. 14A illustrates a structure example of the OS memory device. A memory device 1400 includes a peripheral circuit 1411 and a memory cell array 1470. The peripheral circuit 1411 includes a row circuit 1420, a column circuit 1430, an output circuit 1440, and a control logic circuit 1460.
The column circuit 1430 includes, for example, a column decoder, a precharge circuit, a sense amplifier, a write circuit, and the like. The precharge circuit has a function of precharging wirings. The sense amplifier has a function of amplifying a data signal read from a memory cell. Note that the wirings are connected to the memory cell included in the memory cell array 1470, and will be described later in detail. The amplified data signal is output as a data signal RDATA to the outside of the memory device 1400 through the output circuit 1440. The row circuit 1420 includes, for example, a row decoder and a word line driver circuit, and can select a row to be accessed.
As power supply voltages from the outside, a low power supply voltage (VS S), a high power supply voltage (VDD) for the peripheral circuit 1411, and a high power supply voltage (VIL) for the memory cell array 1470 are supplied to the memory device 1400. Control signals (CE, WE, and RE), an address signal ADDR, and a data signal WDATA are also input to the memory device 1400 from the outside. The address signal ADDR is input to the row decoder and the column decoder, and WDATA is input to the write circuit.
The control logic circuit 1460 processes the signals (CE, WE, and RE) input from the outside, and generates control signals for the row decoder and the column decoder. CE denotes a chip enable signal, WE denotes a write enable signal, and RE denotes a read enable signal. Signals processed by the control logic circuit 1460 are not limited thereto, and other control signals may be input as necessary.
The memory cell array 1470 includes a plurality of memory cells MC arranged in a matrix and a plurality of wirings. Note that the number of the wirings that connect the memory cell array 1470 to the row circuit 1420 depends on the structure of the memory cell MC, the number of the memory cells MC in a column, and the like. The number of the wirings that connect the memory cell array 1470 to the column circuit 1430 depends on the structure of the memory cell MC, the number of the memory cells MC in a row, and the like.
Note that FIG. 14A illustrates an example in which the peripheral circuit 1411 and the memory cell array 1470 are formed on the same plane; however, this embodiment is not limited thereto. For example, as illustrated in FIG. 14B, the memory cell array 1470 may be provided over the peripheral circuit 1411 to partly overlap with the peripheral circuit 1411. For example, the sense amplifier may be provided below the memory cell array 1470 so that they overlap with each other.
FIG. 15 illustrates structure examples of memory cells applicable to the memory cell MC.
[DOSRAM]
FIG. 15A to FIG. 15C each illustrate a circuit structure example of a DRAM memory cell. In this specification and the like, a DRAM using a memory cell including one OS transistor and one capacitor is sometimes referred to as a DOSRAM (Dynamic Oxide Semiconductor Random Access Memory). A memory cell 1471 illustrated in FIG. 15A includes a transistor M1 and a capacitor CA. Note that the transistor M1 includes a gate (also referred to as a top gate in some cases) and a back gate.
A first terminal of the transistor M1 is connected to a first terminal of the capacitor CA. A second terminal of the transistor M1 is connected to a wiring BIL. A gate of the transistor M1 is connected to a wiring WOL. A back gate of the transistor M1 is connected to a wiring BGL. A second terminal of the capacitor CA is connected to a wiring CAL.
The wiring BIL functions as a bit line, and the wiring WOL functions as a word line. The wiring CAL functions as a wiring for applying a predetermined potential to the second terminal of the capacitor CA. In the time of data writing and data reading, a low-level potential is preferably applied to the wiring CAL. The wiring BGL functions as a wiring for applying a potential to the back gate of the transistor M1. By applying a given potential to the wiring BGL, the threshold voltage of the transistor M1 can be increased or decreased.
Here, the memory cell 1471 illustrated in FIG. 15A corresponds to the memory device illustrated in FIG. 11 . That is, the transistor M1, the capacitor CA, the wiring BIL, the wiring WOL, the wiring BGL, and the wiring CAL correspond to the transistor 200, the capacitor 100, the wiring 1003, the wiring 1004, the wiring 1006, and the wiring 1005, respectively. Note that the transistor 300 illustrated in FIG. 11 corresponds to a transistor provided in the peripheral circuit 1411 of the memory device 1400 illustrated in FIG. 14B.
The memory cell MC is not limited to the memory cell 1471, and the circuit structure can be changed. For example, as in a memory cell 1472 illustrated in FIG. 15B, the back gate of the transistor M1 may be connected not to the wiring BGL but to the wiring WOL in the memory cell MC. Alternatively, for example, the memory cell MC may be a memory cell including a single-gate transistor, that is, the transistor M1 not including a back gate, as in a memory cell 1473 illustrated in FIG. 15C.
In the case where the semiconductor device described in the above embodiment is used in the memory cell 1471 or the like, the transistor 200 can be used as the transistor M1, and the capacitor 100 can be used as the capacitor CA. The use of an OS transistor as the transistor M1 enables the leakage current of the transistor M1 to be extremely low. That is, written data can be retained for a long time with the transistor M1; thus, the frequency of refresh of the memory cell can be reduced. Alternatively, the refresh operation of the memory cell can be omitted. In addition, the extremely low leakage current allows multi-level data or analog data to be retained in the memory cell 1471, the memory cell 1472, or the memory cell 1473.
In addition, in the DOSRAM, when the sense amplifier is provided below the memory cell array 1470 to overlap with the memory cell array 1470 as described above, the bit line can be shortened. This reduces bit line capacity, which reduces the storage capacity of the memory cell.
[NOSRAM]
FIGS. 15D to 15G each illustrate a circuit structure example of a gain-cell memory cell including two transistors and one capacitor. A memory cell 1474 illustrated in FIG. 15D includes a transistor M2, a transistor M3, and a capacitor CB. Note that the transistor M2 includes a top gate (simply referred to as a gate in some cases) and a back gate. In this specification and the like, a memory device including a gain-cell memory cell using an OS transistor as the transistor M2 is referred to as a NOSRAM (Nonvolatile Oxide Semiconductor RAM) in some cases.
A first terminal of the transistor M2 is connected to a first terminal of the capacitor CB. A second terminal of the transistor M2 is connected to a wiring WBL. The gate of the transistor M2 is connected to the wiring WOL. The back gate of the transistor M2 is connected to the wiring BGL. A second terminal of the capacitor CB is connected to the wiring CAL. A first terminal of the transistor M3 is connected to the wiring RBL. A second terminal of the transistor M3 is connected to the wiring SL. A gate of the transistor M3 is connected to the first terminal of the capacitor CB.
The wiring WBL functions as a write bit line. The wiring RBL functions as a read bit line. The wiring WOL functions as a word line. The wiring CAL functions as a wiring for applying a predetermined potential to the second terminal of the capacitor CB. During data writing, data retention, and data reading, a low-level potential is preferably applied to the wiring CAL. The wiring BGL functions as a wiring for applying a potential to the back gate of the transistor M2. By applying a given potential to the wiring BGL, the threshold voltage of the transistor M2 can be increased or decreased.
Here, the memory cell 1474 illustrated in FIG. 15D corresponds to the memory device illustrated in FIG. 12 . That is, the transistor M2, the capacitor CB, the transistor M3, the wiring WBL, the wiring WOL, the wiring BGL, the wiring CAL, the wiring RBL, and the wiring SL correspond to the transistor 200, the capacitor 100, the transistor 300, the wiring 2003, the wiring 2004, the wiring 2006, the wiring 2005, the wiring 2002, and the wiring 2001, respectively.
The memory cell MC is not limited to the memory cell 1474, and the circuit structure can be changed as appropriate. For example, as in a memory cell 1475 illustrated in FIG. 15E, a structure may be employed in which the back gate of the transistor M2 is connected not to the wiring BGL but to the wiring WOL in the memory cell MC. Alternatively, for example, like a memory cell 1476 illustrated in FIG. 15F, the memory cell MC may be a memory cell including a single-gate transistor, that is, the transistor M2 that does not include a back gate. Alternatively, for example, like a memory cell 1477 illustrated in FIG. 15G, the memory cell MC may have a structure where the wiring WBL and the wiring RBL are combined into one wiring BIL.
In the case where the semiconductor device described in the above embodiment is used in the memory cell 1474 or the like, the transistor 200 can be used as the transistor M2, the transistor 300 can be used as the transistor M3, and the capacitor 100 can be used as the capacitor CB. When an OS transistor is used as the transistor M2, the leakage current of the transistor M2 can be extremely low. Consequently, written data can be retained for a long time with the transistor M2; thus, the frequency of refresh of the memory cell can be reduced. Alternatively, the refresh operation of the memory cell can be omitted. In addition, the extremely low leakage current allows multi-level data or analog data to be retained in the memory cell 1474. The same applies to the memory cell 1475 to the memory cell 1477.
Note that the transistor M3 may be a transistor containing silicon in a channel formation region (hereinafter such a transistor is referred to as a Si transistor in some cases). The conductivity type of the Si transistor may be either an n-channel type or a p-channel type. A Si transistor has higher field-effect mobility than an OS transistor in some cases. Therefore, a Si transistor may be used as the transistor M3 functioning as a read transistor. Furthermore, the use of a Si transistor as the transistor M3 enables the transistor M2 to be stacked over the transistor M3, in which case an area occupied by the memory cell can be reduced and high integration of the memory device can be achieved.
Alternatively, the transistor M3 may be an OS transistor. When OS transistors are used as the transistor M2 and the transistor M3, the circuit of the memory cell array 1470 can be formed using only n-channel transistors.
In addition, FIG. 15H illustrates an example of a gain-cell memory cell including three transistors and one capacitor. A memory cell 1478 illustrated in FIG. 15H includes a transistor M4 to a transistor M6 and a capacitor CC. The capacitor CC is provided as appropriate. The memory cell 1478 is electrically connected to the wiring BIL, a wiring RWL, a wiring WWL, the wiring BGL, and a wiring GNDL. The wiring GNDL is a wiring for supplying a low-level potential. Note that the memory cell 1478 may be electrically connected to the wiring RBL and the wiring WBL instead of the wiring BIL.
The transistor M4 is an OS transistor including a back gate, and the back gate is electrically connected to the wiring BGL. Note that the back gate and a gate of the transistor M4 may be electrically connected to each other. Alternatively, the transistor M4 does not necessarily include the back gate.
Note that each of the transistor M5 and the transistor M6 may be an n-channel Si transistor or a p-channel Si transistor. Alternatively, the transistor M4 to the transistor M6 may be OS transistors, in which case the circuit of the memory cell array 1470 can be formed using only n-channel transistors.
In the case where the semiconductor device described in the above embodiment is used in the memory cell 1478, the transistor 200 can be used as the transistor M4, the transistors 300 can be used as the transistor M5 and the transistor M6, and the capacitor 100 can be used as the capacitor CC. The use of an OS transistor as the transistor M4 enables the leakage current of the transistor M4 to be extremely low.
Note that the structures of the peripheral circuit 1411, the memory cell array 1470, and the like described in this embodiment are not limited to those described above. The arrangement and functions of these circuits and the wirings, circuit components, and the like connected to the circuits can be changed, removed, or added as needed.
The structure described in this embodiment can be used in an appropriate combination with the structures described in the other embodiments, examples, and the like.
Embodiment 4
In this embodiment, an example of a chip 1200 on which the semiconductor device of the present invention is mounted will be described with reference to FIG. 16 . A plurality of circuits (systems) are mounted on the chip 1200. The technique for integrating a plurality of circuits (systems) on one chip as described above is referred to as system on chip (SoC) in some cases.
As illustrated in FIG. 16A, the chip 1200 includes a CPU 1211, a GPU 1212, one or more of analog arithmetic units 1213, one or more of memory controllers 1214, one or more of interfaces 1215, one or more of network circuits 1216, and the like.
A bump (not illustrated) is provided on the chip 1200, and as illustrated in FIG. 16B, the chip 1200 is connected to a first surface of a printed circuit board (PCB) 1201. A plurality of bumps 1202 are provided on the rear side of the first surface of the PCB 1201, and the PCB 1201 is connected to a motherboard 1203.
A memory device such as a DRAM 1221 or a flash memory 1222 may be provided over the motherboard 1203. For example, the DOSRAM described in the above embodiment can be used as the DRAM 1221. For example, the NOSRAM described in the above embodiment can be used as the flash memory 1222.
The CPU 1211 preferably includes a plurality of CPU cores. Furthermore, the GPU 1212 preferably includes a plurality of GPU cores. The CPU 1211 and the GPU 1212 may each include a memory for storing data temporarily. Alternatively, a common memory for the CPU 1211 and the GPU 1212 may be provided in the chip 1200. The NOSRAM or the DOSRAM described above can be used as the memory. The GPU 1212 is suitable for parallel computation of a number of data and thus can be used for image processing or product-sum operation. When an image processing circuit or a product-sum operation circuit including an oxide semiconductor of the present invention is provided in the GPU 1212, image processing and product-sum operation can be performed with low power consumption.
In addition, since the CPU 1211 and the GPU 1212 are provided in the same chip, a wiring between the CPU 1211 and the GPU 1212 can be shortened; accordingly, the data transfer from the CPU 1211 to the GPU 1212, the data transfer between the memories included in the CPU 1211 and the GPU 1212, and the transfer of arithmetic operation results from the GPU 1212 to the CPU 1211 after the arithmetic operation in the GPU 1212 can be performed at high speed.
The analog arithmetic unit 1213 includes one or both of an A/D (analog/digital) converter circuit and a D/A (digital/analog) converter circuit. Furthermore, the analog arithmetic unit 1213 may include the above-described product-sum operation circuit.
The memory controller 1214 includes a circuit functioning as a controller of the DRAM 1221 and a circuit functioning as the interface of the flash memory 1222.
The interface 1215 includes an interface circuit for an external connection device such as a display device, a speaker, a microphone, a camera, or a controller. Examples of the controller include a mouse, a keyboard, and a game controller. As such an interface, USB (Universal Serial Bus), HDMI (registered trademark) (High-Definition Multimedia Interface), or the like can be used.
The network circuit 1216 includes a network circuit such as a LAN (Local Area Network). Furthermore, the network circuit 1216 may include a circuit for network security.
The circuits (systems) can be formed in the chip 1200 in the same manufacturing process. Therefore, even when the number of circuits needed for the chip 1200 is increased, there is no need to increase the number of steps in the manufacturing process; thus, the chip 1200 can be manufactured at low cost.
The motherboard 1203 provided with the PCB 1201 on which the chip 1200 including the GPU 1212 is mounted, the DRAM 1221, and the flash memory 1222 can be referred to as a GPU module 1204.
The GPU module 1204 includes the chip 1200 formed using the SoC technology, and thus can have a small size. Furthermore, the GPU module 1204 is excellent in image processing, and thus is suitably used in a portable electronic device such as a smartphone, a tablet terminal, a laptop PC, or a portable (mobile) game machine. Furthermore, the product-sum operation circuit using the GPU 1212 can execute a method in a deep neural network (DNN), a convolutional neural network (CNN), a recurrent neural network (RNN), an autoencoder, a deep Boltzmann machine (DBM), a deep belief network (DBN), or the like; thus, the chip 1200 can be used as an AI chip or the GPU module 1204 can be used as an AI system module.
The structure described in this embodiment can be used in an appropriate combination with the structures described in the other embodiments, examples, and the like.
Embodiment 5
In this embodiment, application examples of the memory device using the semiconductor device described in the above embodiment will be described. The semiconductor device described in the above embodiment can be applied to, for example, memory devices of a variety of electronic devices (e.g., information terminals, computers, smartphones, e-book readers, digital cameras (including video cameras), video recording/reproducing devices, and navigation systems). Here, the computers refer not only to tablet computers, notebook computers, and desktop computers, but also to large computers such as server systems. Alternatively, the semiconductor device described in the above embodiment is applied to removable memory devices such as memory cards (e.g., SD cards), USB memories, and SSDs (solid state drives). FIG. 17 schematically illustrates some structure examples of removable memory devices. The semiconductor device described in the above embodiment is processed into a packaged memory chip and used in a variety of storage devices and removable memories, for example.
FIG. 17A is a schematic view of a USB memory. A USB memory 1100 includes a housing 1101, a cap 1102, a USB connector 1103, and a substrate 1104. The substrate 1104 is held in the housing 1101. For example, a memory chip 1105 and a controller chip 1106 are attached to the substrate 1104. The semiconductor device described in the above embodiment can be incorporated in the memory chip 1105 or the like on the substrate 1104.
FIG. 17B is a schematic external view of an SD card, and FIG. 17C is a schematic view of the internal structure of the SD card. An SD card 1110 includes a housing 1111, a connector 1112, and a substrate 1113. The substrate 1113 is held in the housing 1111. For example, a memory chip 1114 and a controller chip 1115 are attached to the substrate 1113. When the memory chip 1114 is also provided on the rear surface side of the substrate 1113, the capacity of the SD card 1110 can be increased. In addition, a wireless chip with a radio communication function may be provided on the substrate 1113. With this, data can be read from and written in the memory chip 1114 by radio communication between a host device and the SD card 1110. The semiconductor device described in the above embodiment can be incorporated in the memory chip 1114 or the like on the substrate 1113.
FIG. 17D is a schematic external view of an SSD, and FIG. 17E is a schematic view of the internal structure of the SSD. An SSD 1150 includes a housing 1151, a connector 1152, and a substrate 1153. The substrate 1153 is held in the housing 1151. For example, a memory chip 1154, a memory chip 1155, and a controller chip 1156 are attached to the substrate 1153. The memory chip 1155 is a work memory for the controller chip 1156, and a DOSRAM chip may be used, for example. When the memory chip 1154 is also provided on the rear surface side of the substrate 1153, the capacity of the SSD 1150 can be increased. The semiconductor device described in the above embodiment can be incorporated in the memory chip 1154 or the like on the substrate 1153.
This embodiment can be implemented in an appropriate combination with the structures described in the other embodiments, examples, and the like.
Embodiment 6
The semiconductor device of one embodiment of the present invention can be used for a processor such as a CPU or a GPU or a chip. FIG. 18 illustrates specific examples of electronic devices including a processor such as a CPU or a GPU or a chip of one embodiment of the present invention.
<Electronic Device and System>
The GPU or the chip of one embodiment of the present invention can be incorporated into a variety of electronic devices. Examples of electronic devices include a digital camera, a digital video camera, a digital photo frame, an e-book reader, a mobile phone, a portable game machine, a portable information terminal, and an audio reproducing device in addition to electronic devices provided with a relatively large screen, such as a television device, a monitor for a desktop or notebook information terminal or the like, digital signage, and a large game machine like a pachinko machine. When the GPU or the chip of one embodiment of the present invention is provided in an electronic device, the electronic device can include artificial intelligence.
The electronic device of one embodiment of the present invention may include an antenna. When a signal is received by the antenna, the electronic device can display a video, data, or the like on the display portion. When the electronic device includes the antenna and a secondary battery, the antenna may be used for contactless power transmission.
The electronic device of one embodiment of the present invention may include a sensor (a sensor having a function of measuring force, displacement, position, speed, acceleration, angular velocity, rotational frequency, distance, light, liquid, magnetism, temperature, a chemical substance, sound, time, hardness, electric field, current, voltage, electric power, radioactive rays, flow rate, humidity, gradient, oscillation, a smell, or infrared rays).
The electronic device of one embodiment of the present invention can have a variety of functions. For example, the electronic device can have a function of displaying a variety of data (a still image, a moving image, a text image, and the like) on the display portion, a touch panel function, a function of displaying a calendar, date, time, and the like, a function of executing a variety of software (programs), a wireless communication function, and a function of reading out a program or data stored in a recording medium. FIG. 18 illustrates examples of electronic devices.
[Information Terminal]
FIG. 18A illustrates a mobile phone (smartphone), which is a type of information terminal. An information terminal 5100 includes a housing 5101 and a display portion 5102. As input interfaces, a touch panel is provided in the display portion 5102 and a button is provided in the housing 5101.
The information terminal 5100 can execute an application utilizing artificial intelligence, with the use of the chip of one embodiment of the present invention. Examples of the application utilizing artificial intelligence include an application for interpreting a conversation and displaying its content on the display portion 5102; an application for recognizing letters, figures, and the like input to the touch panel of the display portion 5102 by a user and displaying them on the display portion 5102; and an application for biometric authentication using fingerprints, voice prints, or the like.
FIG. 18B illustrates a notebook information terminal 5200. The notebook information terminal 5200 includes a main body 5201 of the information terminal, a display portion 5202, and a keyboard 5203.
Like the information terminal 5100 described above, the notebook information terminal 5200 can execute an application utilizing artificial intelligence, with the use of the chip of one embodiment of the present invention. Examples of the application utilizing artificial intelligence include design-support software, text correction software, and software for automatic menu generation. Furthermore, with the use of the notebook information terminal 5200, novel artificial intelligence can be developed.
Note that although the smartphone and the notebook information terminal are respectively illustrated in FIG. 18A and FIG. 18B as examples of the electronic device, one embodiment of the present invention can be applied to an information terminal other than the smartphone and the notebook information terminal. Examples of an information terminal other than the smartphone and the notebook information terminal include a PDA (Personal Digital Assistant), a desktop information terminal, and a workstation.
[Game Machine]
FIG. 18C illustrates a portable game machine 5300, which is an example of a game machine. The portable game machine 5300 includes a housing 5301, a housing 5302, a housing 5303, a display portion 5304, a connection portion 5305, an operation key 5306, and the like.
The housing 5302 and the housing 5303 can be detached from the housing 5301. When the connection portion 5305 provided in the housing 5301 is attached to another housing (not illustrated), a video to be output to the display portion 5304 can be output to another video device (not illustrated). In that case, the housing 5302 and the housing 5303 can each function as an operating unit. Thus, a plurality of players can play a game at the same time. The chip described in the above embodiment can be incorporated into a chip provided on a substrate in the housing 5301, the housing 5302, and the housing 5303, for example.
FIG. 18D illustrates a stationary game machine 5400, which is an example of a game machine. A controller 5402 is connected to the stationary game machine 5400 with or without a wire.
Using the GPU or the chip of one embodiment of the present invention in a game machine such as the portable game machine 5300 and the stationary game machine 5400 can achieve a low-power-consumption game machine. Moreover, heat generation from a circuit can be reduced owing to low power consumption; thus, the influence of heat generation on the circuit, the peripheral circuit, and the module can be reduced.
Furthermore, when the GPU or the chip of one embodiment of the present invention is used in the portable game machine 5300, the portable game machine 5300 including artificial intelligence can be obtained.
In general, the progress of a game, the actions and words of game characters, and expressions of a phenomenon and the like in the game are determined by the program in the game; however, the use of artificial intelligence in the portable game machine 5300 enables expressions not limited by the game program. For example, expressions are possible in which questions posed by the player, the progress of the game, time, and the actions and words of game characters are changed.
When a game requiring a plurality of players is played on the portable game machine 5300, the artificial intelligence can create a virtual game player; thus, the game can be played alone with the game player created by the artificial intelligence as an opponent.
Although the portable game machine and the stationary game machine are respectively illustrated in FIG. 18C and FIG. 18D as examples of a game machine, the game machine using the GPU or the chip of one embodiment of the present invention is not limited thereto. Examples of the game machine using the GPU or the chip of one embodiment of the present invention include an arcade game machine installed in entertainment facilities (a game center, an amusement park, and the like) and a throwing machine for batting practice installed in sports facilities.
[Large Computer]
The GPU or the chip of one embodiment of the present invention can be used in a large computer.
FIG. 18E illustrates a supercomputer 5500 as an example of a large computer. FIG. 18F illustrates a rack-mount computer 5502 included in the supercomputer 5500.
The supercomputer 5500 includes a rack 5501 and a plurality of rack-mount computers 5502. The plurality of computers 5502 are stored in the rack 5501. The computer 5502 includes a plurality of substrates 5504, and the GPU or the chip described in the above embodiment can be mounted on the substrates.
The supercomputer 5500 is a large computer mainly used for scientific computation. In scientific computation, an enormous amount of arithmetic operation needs to be processed at high speed; hence, power consumption is high and chips generate a large amount of heat. Using the GPU or the chip of one embodiment of the present invention in the supercomputer 5500 can achieve a low-power-consumption supercomputer. Moreover, heat generation from a circuit can be reduced owing to low power consumption; thus, the influence of heat generation on the circuit, the peripheral circuit, and the module can be reduced.
Although a supercomputer is illustrated as an example of a large computer in FIG. 18E and FIG. 18F, a large computer using the GPU or the chip of one embodiment of the present invention is not limited thereto. Examples of a large computer using the GPU or the chip of one embodiment of the present invention include a computer that provides service (a server) and a large general-purpose computer (a mainframe).
[Moving Vehicle]
The GPU or the chip of one embodiment of the present invention can be used in an automobile, which is a moving vehicle, and around a driver's seat in the automobile.
FIG. 18G illustrates the periphery of a windshield inside an automobile, which is an example of a moving vehicle. FIG. 18G illustrates a display panel 5701, a display panel 5702, and a display panel 5703 that are attached to a dashboard and a display panel 5704 that is attached to a pillar.
The display panel 5701 to the display panel 5703 can provide a variety of kinds of information by displaying a speedometer, a tachometer, a mileage, a fuel meter, a gearshift indicator, air-condition setting, and the like. The content, layout, or the like of the display on the display panels can be changed as appropriate to suit the user's preference, so that the design can be improved. The display panel 5701 to the display panel 5703 can also be used as lighting devices.
The display panel 5704 can compensate for the view obstructed by the pillar (a blind spot) by showing an image taken by an imaging device (not illustrated) provided for the automobile. That is, displaying an image taken by the imaging device provided on the outside of the automobile leads to compensation for the blind spot and enhancement of safety. In addition, showing an image for compensating for the area that cannot be seen makes it possible to confirm the safety more naturally and comfortably. The display panel 5704 can also be used as a lighting device.
Since the GPU or the chip of one embodiment of the present invention can be used as a component of artificial intelligence, the chip can be used in an automatic driving system of the automobile, for example. The chip can also be used for a system for navigation, risk prediction, or the like. The display panel 5701 to the display panel 5704 may display information regarding navigation, risk prediction, or the like.
Although an automobile is described above as an example of a moving vehicle, a moving vehicle is not limited to an automobile. Examples of a moving vehicle include a train, a monorail train, a ship, and a flying object (a helicopter, an unmanned aircraft (a drone), an airplane, and a rocket), and these moving vehicles can include a system utilizing artificial intelligence when equipped with the chip of one embodiment of the present invention.
[Electrical Appliance]
FIG. 18H illustrates an electric refrigerator-freezer 5800, which is an example of an electrical appliance. The electric refrigerator-freezer 5800 includes a housing 5801, a refrigerator door 5802, a freezer door 5803, and the like.
When the chip of one embodiment of the present invention is used in the electric refrigerator-freezer 5800, the electric refrigerator-freezer 5800 including artificial intelligence can be obtained. Utilizing the artificial intelligence enables the electric refrigerator-freezer 5800 to have a function of automatically making a menu based on foods stored in the electric refrigerator-freezer 5800, expiration dates of the foods, or the like, a function of automatically adjusting the temperature to be appropriate for the foods stored in the electric refrigerator-freezer 5800, and the like.
Although the electric refrigerator-freezer is described as an example of an electrical appliance, other examples of an electrical appliance include a vacuum cleaner, a microwave oven, an electronic oven, a rice cooker, a water heater, an IH cooker, a water server, a heating-cooling combination appliance such as an air conditioner, a washing machine, a drying machine, and an audio visual appliance.
The electronic devices, the functions of the electronic devices, application examples of artificial intelligence and its effects, and the like described in this embodiment can be combined as appropriate with the description of another electronic device.
This embodiment can be implemented in an appropriate combination with the structures described in the other embodiments, examples, and the like.
Example 1
In this example, with the use of a stacked-layer structure of an insulator and an oxide of one embodiment of the present invention, the hydrogen concentration in the oxide was analyzed by SIMS. Note that in this example, Sample 1A, Sample 1B, and Sample 1C were fabricated.
Sample 1A, Sample 1B, and Sample 1C of embodiments of the present invention each have a stacked-layer structure illustrated in FIG. 19A. Specifically, a substrate 910, an insulator 911 over the substrate 910, an oxide 913 over the insulator 911, and an insulator 915 over the oxide 913 are included.
<Method for Fabricating Samples>
Next, methods for fabricating the samples are described.
First, in each of Sample 1A to Sample 1C, a silicon substrate was prepared as the substrate 910. Then, a 100-nm-thick thermal oxide film was formed as the insulator 911 over the substrate 910.
Next, in each of Sample 1A to Sample 1C, as the oxide 913, a 100-nm-thick In—Ga—Zn oxide was deposited over the insulator 911 by a sputtering method. The deposition conditions of the oxide 913 were set as follows: an In—Ga—Zn oxide target with In:Ga:Zn=1:3:4 [atomic ratio] was used, the oxygen gas flow rate was 45 sccm, the pressure was 0.7 Pa, the distance between the substrate and the target was 60 mm, the direct-current power source was 0.5 kW, and the substrate temperature was 200° C.
Next, in each of Sample 1A to Sample 1C, as the insulator 915, a 10-nm-thick silicon oxide film was deposited over the oxide 913 by a CVD method.
Next, microwave-excited plasma treatment was performed on Sample 1A with a microwave plasma treatment apparatus for 10 minutes. The microwave-excited plasma treatment was performed under an atmosphere of argon (Ar) at a flow rate of 150 sccm and oxygen (O2) at a flow rate of 50 sccm. Furthermore, the pressure in the reaction chamber was 60 Pa, and plasma was generated with a microwave of 4000 W (2.45 GHz).
Next, microwave-excited plasma treatment was performed on Sample 1B with a microwave plasma treatment apparatus for 10 minutes. The microwave-excited plasma treatment was performed under an atmosphere of argon (Ar) at a flow rate of 150 sccm and oxygen (O2) at a flow rate of 50 sccm. Furthermore, the pressure in the reaction chamber was 400 Pa, and plasma was generated with a microwave of 4000 W (2.45 GHz).
Note that as the microwave-excited plasma treatment apparatus in the microwave-excited plasma treatment, a μ-wave plasma treatment apparatus (Triase+SPAi−RB×2chSystem) produced by Tokyo Electron Ltd. was used.
Through the above steps, Sample 1A to Sample 1C of this example were fabricated. Note that the conditions for the microwave-excited plasma treatment for Sample 1A to Sample 1C are shown in the table below.
TABLE 1
μ-wave-excited
plasma treatment
Sample
1A [400 pa]] 60 Pa
Sample
1B [60 pa]] 400 Pa
Sample 1C

<SIMS Measurement Results of Samples>
Next, FIG. 19B shows measurement results of hydrogen (H) concentrations using the oxides 913 in Sample 1A to Sample 1C as quantification layers. Note that the hydrogen concentrations were measured by SIMS using a dynamic SIMS apparatus IMS-7f produced by CAMECA SAS as an analysis apparatus.
FIG. 19B shows the depth direction profiles of the hydrogen (H) concentrations in the films of Sample 1A (dashed line), Sample 1B (solid line), and Sample 1C (dashed-dotted line). Note that a double-headed arrow in the figure indicates the range of the quantification layer (the oxide 913), and a thin solid line indicates a background level (BGL).
It is found from FIG. 19B that the hydrogen concentration in the oxide is changed by performing the microwave-excited plasma treatment. In particular, it is found that high pressure in the microwave-excited plasma treatment reduces the hydrogen concentration. In addition, it is found that low pressure in the microwave-excited plasma treatment increases the hydrogen concentration. Therefore, it is presumed that the hydrogen concentration in the oxide can be controlled by the conditions of the microwave-excited plasma treatment.
The structure described above in this example can be used in an appropriate combination with the other example or the other embodiments.
Example 2
In this example, the influence of each step on the carrier concentration of an oxide semiconductor was evaluated. Specifically, the Hall effect measurement was performed on a sample including an oxide semiconductor and the carrier concentration was calculated using the result.
Here, the Hall effect measurement is a method in which electrical characteristics such as carrier density, mobility, and resistivity are measured with the use of the Hall effect; in the Hall effect, when a magnetic field is applied to the object through which a current flows in a direction perpendicular to the direction of the current, an electromotive force is produced in directions perpendicular to both the current and the magnetic field. Here, the Hall effect measurement using the Van der Pauw method was performed. Note that ResiTest manufactured by TOYO Corporation was used for the Hall effect measurement.
In this example, Sample 2A, Sample 2B, Sample 2C, Sample 2D, and Sample 2E were fabricated and analysis was conducted using each sample. FIG. 20A shows a structure of Sample 2E. Sample 2E includes a substrate 930, an oxide 931 over the substrate 930, an oxide 932 over the oxide 931, an oxide 933 over the oxide 932, an insulator 935 over the oxide 933, and a conductor 936 over the insulator 935. A stacked-layer structure of the oxide 931, the oxide 932, and the oxide 933 is referred to as an oxide 934.
Here, Sample 2E has a stacked-layer structure which is partly similar to the structure of the transistor 200 illustrated in FIG. 1 . Specifically, the oxide 931, the oxide 932, and the oxide 933 correspond to the oxide 230 (the oxide 230 a, the oxide 230 b, and the oxide 230 c functioning as a semiconductor. The insulator 935 corresponds to the insulator 250 functioning as a gate insulator, and the conductor 936 corresponds to the conductor 260 functioning as a gate electrode.
In this example, for examining a change in the carrier concentration of the oxide semiconductor in each step, samples that were taken out during the steps for fabricating Sample 2E are referred to as Sample 2A to Sample 2D. The following table shows whether respective steps were performed on Sample 2A to Sample 2E.
TABLE 2
Sample Sample Sample Sample Sample
2A 2B 2C 2D
2E
Deposition of oxide 931
Deposition of oxide 932
Deposition of oxide 933
Deposition of insulator 935
μ-wave-excited plasma
treatment
Deposition of conductor 936
Heat treatment

<Method for Fabricating Samples>
Methods for fabricating Sample 2A to Sample 2E are described below.
First, a quartz substrate was used as the substrate 930 in each of Sample 2A to Sample 2E. Next, as the oxide 931, a 5-nm-thick In—Ga—Zn oxide was deposited over the substrate 930 by a sputtering method. The deposition conditions of the oxide 931 were set as follows: an In—Ga—Zn oxide target with In:Ga:Zn=1:3:4 [atomic ratio] was used, the oxygen gas flow rate was 45 sccm, the pressure was 0.7 Pa, the distance between the substrate and the target was 60 mm, the direct-current power source was 0.5 kW, and the substrate temperature was 200° C.
Next, in each of Sample 2A to Sample 2E, as the oxide 932, a 35-nm-thick In—Ga—Zn oxide was deposited over the oxide 931 by a sputtering method. The deposition conditions of the oxide 932 were set as follows: an In—Ga—Zn oxide target with In:Ga:Zn=4:2:4.1 [atomic ratio] was used, the oxygen gas flow rate was 45 sccm, the pressure was 0.7 Pa, the distance between the substrate and the target was 60 mm, the direct-current power source was 0.5 kW, and the substrate temperature was 200° C.
Next, Sample 2A to Sample 2E were subjected to heat treatment at 400° C. in an atmosphere containing nitrogen for one hour, and subsequently subjected to heat treatment at 400° C. in an atmosphere containing oxygen for one hour.
In each of Sample 2A to Sample 2E, as the oxide 933, a 5-nm-thick In—Ga—Zn oxide was deposited over the oxide 932 by a sputtering method. The deposition conditions of the oxide 933 were set as follows: an In—Ga—Zn oxide target with In:Ga:Zn=1:3:4 [atomic ratio] was used, the oxygen gas flow rate was 45 sccm, the pressure was 0.7 Pa, the distance between the substrate and the target was 60 mm, the direct-current power source was 0.5 kW, and the substrate temperature was 200° C.
Here, Sample 2A was taken out and subjected to the Hall effect measurement.
Next, in each of Sample 2B to Sample 2E, as the insulator 935, a 10-nm-thick silicon oxide film was deposited over the oxide 933 by a CVD method.
Here, Sample 2B was taken out and subjected to the Hall effect measurement.
Next, microwave-excited plasma treatment was performed on Sample 2C to Sample 2E with a microwave plasma treatment apparatus for 5 minutes. The microwave-excited plasma treatment was performed under an atmosphere of argon (Ar) at a flow rate of 150 sccm and oxygen (O2) at a flow rate of 50 sccm. Furthermore, the pressure in the reaction chamber was 400 Pa, and plasma was generated with a microwave of 4000 W (2.45 GHz). Note that as the microwave-excited plasma treatment apparatus, a μ-wave plasma treatment apparatus (Triase+SPAi−RB×2chSystem) produced by Tokyo Electron Ltd. was used.
Here, Sample 2C was taken out and subjected to the Hall effect measurement.
Next, in each of Sample 2D and Sample 2E, as the conductor 936, a titanium nitride film and a tungsten film were successively deposited over the insulator 935 by a CVD method.
Here, Sample 2D was taken out and subjected to the Hall effect measurement.
Next, Sample 2E was subjected to heat treatment at 400° C. in an atmosphere containing nitrogen for one hour.
Thus, Sample 2E was fabricated and subjected to the Hall effect measurement.
<Hall Measurement Result of Each Sample>
FIG. 20B shows the carrier concentrations of the oxide semiconductors 934 in Sample 2A to Sample 2E. The vertical axis represents the carrier concentration [cm−3] of the oxide semiconductor 934. Because the sheet resistance measured with ResiTest8400 series exceeds the upper measurement limit, the lower measurement limit of the carrier density is estimated to be lower than or equal to 1.0×1013.
Note that the donor concentration of a region where a channel is formed is preferably lower than or equal to 1.0×1016 [cm−3] in order to obtain favorable switching characteristics in transistor operation.
It is found from the result of Sample 2B that the carrier concentration of the oxide 934 is increased by depositing the insulator 935. It is found from the result of Sample 2C that the carrier concentration of the oxide 934 can be reduced to or below the lower detection limit by performing the microwave-excited plasma treatment on Sample 2B with the increased carrier concentration.
It is found from the result of Sample 2D that the carrier concentration of the oxide 934 is kept at or below the lower detection limit even when the conductor 936 is deposited for Sample 2C with the reduced carrier concentration. In addition, it is found from the result of Sample 2E that the carrier concentration is increased by performing heat treatment on Sample 2D. However, the carrier concentration was able to be kept at or below 1.0×1016 that is an off region of a transistor.
It is found from FIG. 20B that the carrier concentration of the oxide, which is increased when an insulator is deposited in contact with the oxide, can be reduced by performing microwave-excited plasma treatment. Furthermore, even when another structure body such as a conductor was formed or heat treatment was performed after the microwave-excited plasma treatment, the carrier concentration of the oxide was able to be kept at or below 1.0×1016 that is an off region of a transistor.
It is found from the above that the carrier concentration of an oxide semiconductor can be greatly reduced by performing microwave-excited plasma treatment on an insulator functioning as a gate insulator using a microwave plasma treatment apparatus.
The structure described above in this example can be used in an appropriate combination with the structure described in the other embodiments or the other example.
REFERENCE NUMERALS
200: transistor, 205: conductor, 210: insulator, 212: insulator, 214: insulator, 216: insulator, 218: conductor, 222: insulator, 224: insulator, 230: oxide, 230 a: oxide, 230A: oxide film, 230 b: oxide, 230B: oxide film, 230 c: oxide, 230C: oxide film, 240: conductor, 240 a: conductor, 240 b: conductor, 241: insulator, 241 a: insulator, 241 b: insulator, 242: conductor, 242 a: conductor, 242A: conductive film, 242 b: conductor, 242B: conductive film, 243: oxide, 243 a: oxide, 243 b: oxide, 250: insulator, 250A: insulating film, 254: insulator, 254A: insulating film, 260: conductor, 260 a: conductor, 260A: conductive film, 260 b: conductor, 260B: conductive film, 272: insulator, 274: insulator, 280: insulator, 281: insulator.

Claims (4)

The invention claimed is:
1. A method for manufacturing a semiconductor device, comprising:
depositing a first oxide semiconductor film;
depositing a first conductive film over the first oxide semiconductor film;
removing part of the first oxide semiconductor film and part of the first conductive film, thereby forming a stacked-layer structure of a first oxide semiconductor and a first conductor;
depositing a first insulating film over the first oxide semiconductor and the first conductor, and then forming a first insulator by planarizing the first insulating film;
forming a second conductor, a third conductor, and an opening exposing part of the first oxide semiconductor by removing part of the first insulator and part of the first conductor;
depositing a second oxide semiconductor film in contact with an exposed region of the first oxide semiconductor;
depositing a second insulating film over the second oxide semiconductor film;
performing microwave-excited plasma treatment on the second insulating film with a pressure of higher than or equal to 400 Pa;
depositing a second conductive film over the second insulating film; and
removing part of the second conductive film, part of the second insulating film, and part of the second oxide semiconductor film, thereby exposing the first insulator and forming a second conductor, a second insulator, and a second oxide semiconductor that are embedded in the opening.
2. The method for manufacturing a semiconductor device, according to claim 1, wherein the microwave-excited plasma treatment is performed under an atmosphere containing oxygen.
3. The method for manufacturing a semiconductor device, according to claim 1, wherein the second insulator is formed in a deposition apparatus without exposure to the air after heat treatment is performed at 100° C. or higher in the deposition apparatus.
4. The method for manufacturing a semiconductor device, according to claim 3, wherein the first oxide semiconductor and the second oxide semiconductor are each an In—Ga—Zn oxide.
US17/270,492 2018-09-05 2019-08-26 Semiconductor device and method for manufacturing the semiconductor device Active 2040-07-12 US11929426B2 (en)

Applications Claiming Priority (3)

Application Number Priority Date Filing Date Title
JP2018166305 2018-09-05
JP2018-166305 2018-09-05
PCT/IB2019/057133 WO2020049396A1 (en) 2018-09-05 2019-08-26 Semiconductor device and method for producing semiconductor device

Publications (2)

Publication Number Publication Date
US20210320192A1 US20210320192A1 (en) 2021-10-14
US11929426B2 true US11929426B2 (en) 2024-03-12

Family

ID=69721813

Family Applications (1)

Application Number Title Priority Date Filing Date
US17/270,492 Active 2040-07-12 US11929426B2 (en) 2018-09-05 2019-08-26 Semiconductor device and method for manufacturing the semiconductor device

Country Status (3)

Country Link
US (1) US11929426B2 (en)
JP (2) JPWO2020049396A1 (en)
WO (1) WO2020049396A1 (en)

Families Citing this family (2)

* Cited by examiner, † Cited by third party
Publication number Priority date Publication date Assignee Title
CN113557608B (en) * 2019-04-12 2025-08-22 株式会社半导体能源研究所 Semiconductor device and method for manufacturing semiconductor device
JPWO2022038453A1 (en) * 2020-08-19 2022-02-24

Citations (6)

* Cited by examiner, † Cited by third party
Publication number Priority date Publication date Assignee Title
US20140008647A1 (en) * 2012-07-06 2014-01-09 Semiconductor Energy Laboratory Co., Ltd. Semiconductor device and method for manufacturing the same
US20150179803A1 (en) 2013-12-19 2015-06-25 Semiconductor Energy Laboratory Co., Ltd. Semiconductor device
US20160276487A1 (en) * 2015-03-17 2016-09-22 Semiconductor Energy Laboratory Co., Ltd. Semiconductor device and manufacturing method thereof
US20170271516A1 (en) * 2016-03-18 2017-09-21 Semiconductor Energy Laboratory Co., Ltd. Semiconductor device, semiconductor wafer, and electronic device
US9947777B2 (en) 2016-04-22 2018-04-17 Semiconductor Energy Laboratory Co., Ltd. Semiconductor device and method for manufacturing semiconductor device
US20190139783A1 (en) 2016-04-22 2019-05-09 Semiconductor Energy Laboratory Co., Ltd. Semiconductor device and method for fabricating semiconductor device

Family Cites Families (1)

* Cited by examiner, † Cited by third party
Publication number Priority date Publication date Assignee Title
JP6957134B2 (en) 2016-07-21 2021-11-02 株式会社半導体エネルギー研究所 Evaluation method of oxide semiconductor

Patent Citations (22)

* Cited by examiner, † Cited by third party
Publication number Priority date Publication date Assignee Title
US9190525B2 (en) 2012-07-06 2015-11-17 Semiconductor Energy Laboratory Co., Ltd. Semiconductor device including oxide semiconductor layer
JP2014030012A (en) 2012-07-06 2014-02-13 Semiconductor Energy Lab Co Ltd Semiconductor device and manufacturing method of the same
US9954114B2 (en) 2012-07-06 2018-04-24 Semiconductor Energy Laboratory Co., Ltd. Semiconductor device including oxide semiconductor layer
US20140008647A1 (en) * 2012-07-06 2014-01-09 Semiconductor Energy Laboratory Co., Ltd. Semiconductor device and method for manufacturing the same
US9472681B2 (en) 2012-07-06 2016-10-18 Semiconductor Energy Laboratory Co., Ltd. Semiconductor device and method for manufacturing the same
US9882059B2 (en) 2013-12-19 2018-01-30 Semiconductor Energy Laboratory Co., Ltd. Semiconductor device
KR20150072345A (en) 2013-12-19 2015-06-29 가부시키가이샤 한도오따이 에네루기 켄큐쇼 Semiconductor device
TW201528510A (en) 2013-12-19 2015-07-16 Semiconductor Energy Lab Semiconductor device
JP2015135961A (en) 2013-12-19 2015-07-27 株式会社半導体エネルギー研究所 Semiconductor device
US10944014B2 (en) 2013-12-19 2021-03-09 Semiconductor Energy Laboratory Co., Ltd. Semiconductor device
US10374097B2 (en) 2013-12-19 2019-08-06 Semiconductor Energy Laboratory Co., Ltd. Semiconductor device
US20150179803A1 (en) 2013-12-19 2015-06-25 Semiconductor Energy Laboratory Co., Ltd. Semiconductor device
US20160276487A1 (en) * 2015-03-17 2016-09-22 Semiconductor Energy Laboratory Co., Ltd. Semiconductor device and manufacturing method thereof
JP2016225602A (en) 2015-03-17 2016-12-28 株式会社半導体エネルギー研究所 Semiconductor device and manufacturing method thereof
US9882061B2 (en) 2015-03-17 2018-01-30 Semiconductor Energy Laboratory Co., Ltd. Semiconductor device and manufacturing method thereof
US20170271516A1 (en) * 2016-03-18 2017-09-21 Semiconductor Energy Laboratory Co., Ltd. Semiconductor device, semiconductor wafer, and electronic device
TW201803131A (en) 2016-03-18 2018-01-16 半導體能源研究所股份有限公司 Semiconductor devices, semiconductor wafers, and electronic devices
JP2017174489A (en) 2016-03-18 2017-09-28 株式会社半導体エネルギー研究所 Semiconductor device, semiconductor wafer, and electronic device
KR20170108832A (en) 2016-03-18 2017-09-27 가부시키가이샤 한도오따이 에네루기 켄큐쇼 Semiconductor device, semiconductor wafer, and electronic device
US9947777B2 (en) 2016-04-22 2018-04-17 Semiconductor Energy Laboratory Co., Ltd. Semiconductor device and method for manufacturing semiconductor device
US20190139783A1 (en) 2016-04-22 2019-05-09 Semiconductor Energy Laboratory Co., Ltd. Semiconductor device and method for fabricating semiconductor device
US10741679B2 (en) 2016-04-22 2020-08-11 Semiconductor Energy Laboratory Co., Ltd. Semiconductor device and method for manufactring semiconductor device

Non-Patent Citations (4)

* Cited by examiner, † Cited by third party
Title
International Search Report (Application No. PCT/IB2019/057133), dated Nov. 19, 2019.
Written Opinion (Application No. PCT/IB2019/057133), dated Nov. 19, 2019.
Yamazaki.S et al., "Properties of crystalline In—Ga—Zn-oxide semiconductor and its transistor characteristics", Jpn. J. Appl. Phys. (Japanese Journal of Applied Physics) , Mar. 31, 2014, vol. 53, No. 4S, pp. 04ED18-1-04ED18-10.
Yamazaki.S et al., "Research, Development, and Application of Crystalline Oxide Semiconductor", SID Digest '12: SID International Symposium Digest of Technical Papers, Jun. 5, 2012, vol. 43, No. 1, pp. 183-186.

Also Published As

Publication number Publication date
JP7781924B2 (en) 2025-12-08
JP2024045444A (en) 2024-04-02
JPWO2020049396A1 (en) 2021-08-26
WO2020049396A1 (en) 2020-03-12
US20210320192A1 (en) 2021-10-14

Similar Documents

Publication Publication Date Title
US11495601B2 (en) Semiconductor device and manufacturing method of semiconductor device
JP7581215B2 (en) Semiconductor Device
US11031506B2 (en) Semiconductor device including transistor using oxide semiconductor
US12243945B2 (en) Semiconductor device and method for manufacturing semiconductor device
US12349415B2 (en) Oxide semiconductor transistor
US12490475B2 (en) Semiconductor device and method for manufacturing semiconductor device
US11257960B2 (en) Semiconductor device
US12218246B2 (en) Semiconductor device and method for manufacturing semiconductor device
US12224293B2 (en) Oxide semiconductor device
US12453134B2 (en) Semiconductor device
US11545578B2 (en) Semiconductor device and method for manufacturing semiconductor device
US12278291B2 (en) Thin film transistor array having a stacked multi-layer metal oxide channel formation region
US12176210B2 (en) Manufacturing method of metal oxide and manufacturing method of semiconductor device
JP7781924B2 (en) Method for manufacturing a semiconductor device
JP7705378B2 (en) Method for manufacturing a semiconductor device
US11417773B2 (en) Semiconductor device and method for manufacturing semiconductor device
US12062723B2 (en) Semiconductor device and method for manufacturing semiconductor device
US20210242207A1 (en) Semiconductor device and method for manufacturing the semiconductor device
US11929416B2 (en) Semiconductor device and method for manufacturing semiconductor device

Legal Events

Date Code Title Description
AS Assignment

Owner name: SEMICONDUCTOR ENERGY LABORATORY CO., LTD., JAPAN

Free format text: ASSIGNMENT OF ASSIGNORS INTEREST;ASSIGNORS:YAMAZAKI, SHUNPEI;OKUNO, NAOKI;KOMAGATA, HIROKI;SIGNING DATES FROM 20210203 TO 20210205;REEL/FRAME:055363/0662

FEPP Fee payment procedure

Free format text: ENTITY STATUS SET TO UNDISCOUNTED (ORIGINAL EVENT CODE: BIG.); ENTITY STATUS OF PATENT OWNER: LARGE ENTITY

STPP Information on status: patent application and granting procedure in general

Free format text: DOCKETED NEW CASE - READY FOR EXAMINATION

STPP Information on status: patent application and granting procedure in general

Free format text: NON FINAL ACTION MAILED

STPP Information on status: patent application and granting procedure in general

Free format text: RESPONSE TO NON-FINAL OFFICE ACTION ENTERED AND FORWARDED TO EXAMINER

STPP Information on status: patent application and granting procedure in general

Free format text: NOTICE OF ALLOWANCE MAILED -- APPLICATION RECEIVED IN OFFICE OF PUBLICATIONS

STPP Information on status: patent application and granting procedure in general

Free format text: PUBLICATIONS -- ISSUE FEE PAYMENT VERIFIED

STCF Information on status: patent grant

Free format text: PATENTED CASE