US10027091B2 - Monolithic two-dimensional VCSEL array - Google Patents

Monolithic two-dimensional VCSEL array Download PDF

Info

Publication number
US10027091B2
US10027091B2 US15/623,982 US201715623982A US10027091B2 US 10027091 B2 US10027091 B2 US 10027091B2 US 201715623982 A US201715623982 A US 201715623982A US 10027091 B2 US10027091 B2 US 10027091B2
Authority
US
United States
Prior art keywords
vcsels
vcsel
metal contacts
metal
lines
Prior art date
Legal status (The legal status is an assumption and is not a legal conclusion. Google has not performed a legal analysis and makes no representation as to the accuracy of the status listed.)
Active
Application number
US15/623,982
Other versions
US20170365984A1 (en
Inventor
Ariel Lipson
Current Assignee (The listed assignees may be inaccurate. Google has not performed a legal analysis and makes no representation or warranty as to the accuracy of the list.)
GM Global Technology Operations LLC
Original Assignee
GM Global Technology Operations LLC
Priority date (The priority date is an assumption and is not a legal conclusion. Google has not performed a legal analysis and makes no representation as to the accuracy of the date listed.)
Filing date
Publication date
Application filed by GM Global Technology Operations LLC filed Critical GM Global Technology Operations LLC
Priority to US15/623,982 priority Critical patent/US10027091B2/en
Assigned to GM Global Technology Operations LLC reassignment GM Global Technology Operations LLC ASSIGNMENT OF ASSIGNORS INTEREST (SEE DOCUMENT FOR DETAILS). Assignors: LIPSON, ARIEL
Publication of US20170365984A1 publication Critical patent/US20170365984A1/en
Application granted granted Critical
Publication of US10027091B2 publication Critical patent/US10027091B2/en
Active legal-status Critical Current
Anticipated expiration legal-status Critical

Links

Images

Classifications

    • HELECTRICITY
    • H01ELECTRIC ELEMENTS
    • H01SDEVICES USING THE PROCESS OF LIGHT AMPLIFICATION BY STIMULATED EMISSION OF RADIATION [LASER] TO AMPLIFY OR GENERATE LIGHT; DEVICES USING STIMULATED EMISSION OF ELECTROMAGNETIC RADIATION IN WAVE RANGES OTHER THAN OPTICAL
    • H01S5/00Semiconductor lasers
    • H01S5/40Arrangement of two or more semiconductor lasers, not provided for in groups H01S5/02 - H01S5/30
    • H01S5/42Arrays of surface emitting lasers
    • H01S5/423Arrays of surface emitting lasers having a vertical cavity
    • H01S5/02272
    • HELECTRICITY
    • H01ELECTRIC ELEMENTS
    • H01SDEVICES USING THE PROCESS OF LIGHT AMPLIFICATION BY STIMULATED EMISSION OF RADIATION [LASER] TO AMPLIFY OR GENERATE LIGHT; DEVICES USING STIMULATED EMISSION OF ELECTROMAGNETIC RADIATION IN WAVE RANGES OTHER THAN OPTICAL
    • H01S5/00Semiconductor lasers
    • H01S5/02Structural details or components not essential to laser action
    • H01S5/022Mountings; Housings
    • H01S5/0233Mounting configuration of laser chips
    • H01S5/02345Wire-bonding
    • HELECTRICITY
    • H01ELECTRIC ELEMENTS
    • H01SDEVICES USING THE PROCESS OF LIGHT AMPLIFICATION BY STIMULATED EMISSION OF RADIATION [LASER] TO AMPLIFY OR GENERATE LIGHT; DEVICES USING STIMULATED EMISSION OF ELECTROMAGNETIC RADIATION IN WAVE RANGES OTHER THAN OPTICAL
    • H01S5/00Semiconductor lasers
    • H01S5/02Structural details or components not essential to laser action
    • H01S5/022Mountings; Housings
    • H01S5/0235Method for mounting laser chips
    • H01S5/02355Fixing laser chips on mounts
    • H01S5/0237Fixing laser chips on mounts by soldering
    • HELECTRICITY
    • H01ELECTRIC ELEMENTS
    • H01SDEVICES USING THE PROCESS OF LIGHT AMPLIFICATION BY STIMULATED EMISSION OF RADIATION [LASER] TO AMPLIFY OR GENERATE LIGHT; DEVICES USING STIMULATED EMISSION OF ELECTROMAGNETIC RADIATION IN WAVE RANGES OTHER THAN OPTICAL
    • H01S5/00Semiconductor lasers
    • H01S5/04Processes or apparatus for excitation, e.g. pumping, e.g. by electron beams
    • H01S5/042Electrical excitation ; Circuits therefor
    • H01S5/0425Electrodes, e.g. characterised by the structure
    • HELECTRICITY
    • H01ELECTRIC ELEMENTS
    • H01SDEVICES USING THE PROCESS OF LIGHT AMPLIFICATION BY STIMULATED EMISSION OF RADIATION [LASER] TO AMPLIFY OR GENERATE LIGHT; DEVICES USING STIMULATED EMISSION OF ELECTROMAGNETIC RADIATION IN WAVE RANGES OTHER THAN OPTICAL
    • H01S5/00Semiconductor lasers
    • H01S5/005Optical components external to the laser cavity, specially adapted therefor, e.g. for homogenisation or merging of the beams or for manipulating laser pulses, e.g. pulse shaping
    • HELECTRICITY
    • H01ELECTRIC ELEMENTS
    • H01SDEVICES USING THE PROCESS OF LIGHT AMPLIFICATION BY STIMULATED EMISSION OF RADIATION [LASER] TO AMPLIFY OR GENERATE LIGHT; DEVICES USING STIMULATED EMISSION OF ELECTROMAGNETIC RADIATION IN WAVE RANGES OTHER THAN OPTICAL
    • H01S5/00Semiconductor lasers
    • H01S5/04Processes or apparatus for excitation, e.g. pumping, e.g. by electron beams
    • H01S5/042Electrical excitation ; Circuits therefor
    • H01S5/0425Electrodes, e.g. characterised by the structure
    • H01S5/04256Electrodes, e.g. characterised by the structure characterised by the configuration

Definitions

  • the subject invention relates to vertical-cavity surface-emitting lasers (VCSELs).
  • VCSELs vertical-cavity surface-emitting lasers
  • Lasers may be used in LIDAR (Light Detection and Ranging) systems to acquire three-dimensional information of an environment.
  • LIDAR Light Detection and Ranging
  • a laser can be aimed and the time between activating the laser and receiving a reflection of the laser can be used to determine a distance to the object. If the laser or an array of lasers is aimed in a variety of directions, the resulting information can be reconstructed to generate three-dimensional information of an environment.
  • Solid state LIDAR systems have been developed in which a two dimensional array of VCSELS is used, with each individual VCSEL being aimed at a separate region of the three-dimensional environment.
  • the solid state LIDAR systems are more robust, smaller in size, and less expensive than a rotating laser LIDAR system.
  • FIG. 1 shows an example of a VCSEL chip 10 that may include several individual VCSELs 12 .
  • FIG. 2 shows how VCSEL chips 10 may be conventionally arranged to achieve a two-dimensional VCSEL array.
  • rows of VCSELs can be formed by arranging VCSEL chips 10 end to end.
  • a common cathode trace 22 may be provided for each row of VCSEL chips, connecting to an electrode on the rear side of each VCSEL in the row.
  • wirings 24 may be used to connect VCSELs in a columnar direction, with anode traces 20 being connected to each column of VCSELs.
  • the wirings 24 add complexity to the manufacturing process, thereby increasing cost. Also, using wirings 24 to connect one-dimensional arrays of VCSELs results in inefficient use of space and waste of VCSEL area.
  • a two-dimensional VCSEL array may include a VCSEL array including a plurality of VCSELs arranged in a two dimensional matrix, the plurality of VCSELs forming a monolithic structure, a light-emitting surface; and a rear surface opposite to the light emitting surface, wherein the plurality of VCSELs may be arranged in a plurality of first lines of VCSELs in a first direction and a plurality of second lines of VCSELs in a second direction, the first direction being non-parallel to the second direction; a plurality of first metal contacts provided on the light-emitting surface; and a plurality of second metal contacts provided on the rear surface.
  • Each of the plurality of first metal contacts may be electrically connected to each VCSEL of a corresponding first line of the plurality of first lines of VCSELs.
  • Each of the plurality of second metal contacts may be electrically connected to each VCSEL of a corresponding second line of the plurality of second lines of VCSELs.
  • the plurality of first metal contacts and the plurality of second metal contacts may be arranged such that each combination of a first metal contact and a second metal contact is electrically connected to one VSCEL of the plurality of VCSELs.
  • a method of manufacturing a two-dimensional VCSEL array may include providing a VCSEL array including a plurality of VCSELs arranged in a two dimensional matrix, the plurality of VCSELs forming a monolithic VCSEL structure having a light-emitting surface and a rear surface opposite to the light-emitting surface, a front metal layer provided on the light-emitting surface; and a rear metal layer provided on the rear surface, wherein the plurality of VCSELs may be arranged in a plurality of first lines of VCSELs in a first direction and a plurality of second lines of VCSELs in a second direction, the first direction being non-parallel to the second direction; patterning the front metal layer into a plurality of first metal contacts, each of the plurality of first metal contacts being electrically connected to each VCSEL of a corresponding first line of the plurality of first lines of VCSELs; forming, through the rear metal layer and into the monolithic
  • a method of manufacturing a two-dimensional VCSEL array may include providing a VCSEL array including a plurality of VCSELs arranged in a two dimensional matrix, the plurality of VCSELs forming a monolithic VCSEL structure having a light-emitting surface and a rear surface opposite to the light-emitting surface, and a front metal layer provided on the light-emitting surface, wherein the plurality of VCSELs are arranged in a plurality of first lines of VCSELs in a first direction and a plurality of second lines of VCSELs in a second direction, the first direction being non-parallel to the second direction; patterning the front metal layer into a plurality of first metal contacts, each of the plurality of first metal contacts being electrically connected to each VCSEL of a corresponding first line of the plurality of first lines of VCSELs; forming a plurality of a plurality of second metal contacts on the rear surface, each of the plurality
  • FIG. 1 is a diagram of a one-dimensional VCSEL chip
  • FIG. 2 is a diagram of a two-dimensional array of VCSELs made from one-dimensional VCSEL chips
  • FIG. 3 is a front view of a monolithic two-dimensional VCSEL array according to an embodiment
  • FIG. 4 is a rear view of a monolithic two-dimensional VCSEL array according to an embodiment
  • FIG. 5 is a side view of a monolithic two-dimensional VCSEL array according to an embodiment
  • FIG. 6 is a side view of a monolithic two-dimensional VCSEL array according to an embodiment
  • FIG. 7 is a side view of a monolithic two-dimensional VCSEL array according to an embodiment
  • FIG. 8 is a side view of a monolithic two-dimensional VCSEL array according to an embodiment
  • FIG. 9 is a front view of a monolithic two-dimensional VCSEL array according to an embodiment
  • FIG. 10 is a flowchart of a manufacturing process of a monolithic two-dimensional VCSEL array according to an embodiment
  • FIG. 11 is a flowchart of a manufacturing process of a monolithic two-dimensional VCSEL array according to an embodiment
  • FIG. 12 is a diagram showing the thinning of the VCSEL array according to an embodiment.
  • FIG. 13 is a front view of a monolithic two-dimensional VCSEL array according to an embodiment.
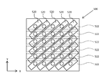
  • FIGS. 3-6 illustrate an example of a monolithic two-dimensional VCSEL array 100 .
  • the monolithic two-dimensional VCSEL array 100 may include a monolithic structure 102 that includes a two-dimensional matrix of VCSELs 112 .
  • Monolithic structure 102 may be a VCSEL wafer formed by a photolithographic process, for example.
  • FIG. 3 shows a front view of monolithic two-dimensional VCSEL array 100 .
  • the plurality of VCSELs 112 may be arranged into a plurality of columns and rows.
  • the columns of VCSELs 112 correspond to a plurality of first lines of VCSELs in a first direction (the y-direction in the case of FIG. 3 )
  • the rows correspond to a plurality of second lines of VCSELs in a second direction (the x-direction in the case of FIG. 3 ).
  • the first and the second direction are perpendicular to each other, but the structure is not limited to this embodiment.
  • the first direction may be at an acute or obtuse angle relative to the second direction (see FIG. 13 , described herein).
  • FIG. 3 also shows that the first lines (i.e., columns) may be mutually parallel and that the second lines (i.e., rows) may be mutually parallel.
  • a plurality of first metal contacts 120 may be formed on a front surface 104 of monolithic structure 102 .
  • First metal contacts 120 are electrically connected to each VCSEL 112 of a corresponding first line of the plurality of first lines of VCSELs.
  • the VCSELs 112 electrically connected by a particular first metal contact 120 correspond to a first line of VCSELs.
  • first metal contacts 120 are formed of gold, but it will be understood that other metals suitable for use as an electrode may also be used.
  • FIG. 3 shows a 5 ⁇ 6 array of VCSELs 112 .
  • the 5 ⁇ 6 array is shown merely as a matter of convenience, and it will be understood that any size two-dimensional array of VCSELs may be used.
  • FIG. 4 shows a rear view of monolithic two-dimensional VCSEL array 100 .
  • the dashed lines show the corresponding positions of individual VCSELs 112 .
  • Second metal contacts 122 are formed on a rear surface 106 of the monolithic structure 102 .
  • Second metal contacts 122 are electrically connected to each VCSEL 112 of a corresponding second line (i.e., row) of the plurality of second lines of VCSELs.
  • VCSELs 112 electrically connected by a particular second metal contact 122 correspond to a second line of VCSELs.
  • second metal contacts 122 are formed of gold, but it will be understood that other metals suitable for use as an electrode may also be used.
  • FIG. 5 shows a side view of monolithic two-dimensional VCSEL array 100 , looking along a y-direction. It will be understood that the thickness of first metal contacts 120 , monolithic structure 102 , and second metal contacts 122 are not meant to be limiting and may have been altered for illustrative purposes.
  • FIG. 6 shows a side view of monolithic two-dimensional VCSEL array 100 , looking along a x-direction. Trenches 130 are provided between respective second metal contacts 122 and extend into monolithic structure 102 .
  • Trenches 130 are formed during one embodiment of a manufacturing process of monolithic two-dimensional VCSEL array 100 , as explained herein. Trenches 130 may extend to the active layer of the VCSELs, or to a predetermined depth into the monolithic structure 102 .
  • FIG. 7 shows a side view of another embodiment of monolithic two-dimensional VCSEL array 100 a .
  • the monolithic structure 102 of FIGS. 3-6 may be thinned to form thinned monolithic structure 104 , and second metal contacts 122 are subsequently added to a rear surface 106 of monolithic two-dimensional VCSEL array 100 a.
  • monolithic two-dimensional VCSEL array 100 may also include a transparent substrate 140 bonded to first metal contacts 120 .
  • Transparent substrate 140 provides mechanical support to monolithic two-dimensional VCSEL array 100 .
  • Transparent substrate 140 may be formed of glass.
  • transparent substrate 140 may be formed of Tin(Sn)-coated glass and bonded to first metal contacts 120 through eutectic bonding.
  • first metal contacts 120 may serve as anodes for individual VCSELs 112
  • second metal contacts 122 may serve as cathodes for individual VCSELs 112
  • FIG. 9 is a front view of monolithic two-dimensional VCSEL array 100
  • the corresponding positions of second metals contacts 122 are shown in dashed lines. It will be understood that the first metal contacts 120 and second metal contacts 122 may define a coordinate system for individual VCSELs 112 .
  • the first metal contacts 120 have been respectively labelled A1, A2, A3, A4, and A5; and the second metal contacts 122 have been respectively labelled C1, C2, C3, C4, C5, and C6.
  • a first voltage may be applied to one of the first metal contacts 120
  • a second voltage may be applied to one of the second metal contacts 122 .
  • the first voltage may be applied to the first metal contact 120 labelled A2
  • the second voltage may be applied to the second metal contact 122 labelled C3.
  • each individual VCSEL may be operated ranging from the VCSEL at [A1,C1] to [A5,C6].
  • each possible combination of a first metal contact 120 and a second metal contact 122 electrically connects to a single VCSEL.
  • each possible combination of a first metal contact 120 and a second metal contact 122 may correspond to only one particular VCSEL. This allows random access to each VCSEL of the entire array, such that individual VCSELs may be illuminated in any possible pattern desired.
  • FIG. 10 is a flowchart describing an embodiment of a manufacturing process for a monolithic two-dimensional VCSEL array.
  • the monolithic VCSEL array may include a plurality of VCSELs arranged in a two-dimensional matrix.
  • the monolithic VCSEL array may include a front metal layer provided on a light-emitting surface of the VCSEL array, and a rear metal layer provided on a rear surface opposite to the light emitting surface.
  • the front metal layer may be patterned into the desired first metal contacts.
  • Each of the patterned first metal contacts may be electrically connected to each VCSEL of a corresponding first line of the plurality of first lines of VCSELs (see FIG. 3 , for example).
  • a transparent substrate may be bonded to the first metal contacts.
  • VCSELs typically require a transparent substrate over the light-emitting surface.
  • this transparent substrate may be applied after fabrication of the VCSEL array.
  • the transparent substrate may be bonded to the first metal contacts in block 204 , thus eliminating a later processing while providing mechanical support for the array during fabrication.
  • trenches may be formed the rear layer metal layer and into the VCSEL array.
  • the trenches may be formed by etching, by cutting with a laser, mechanical cutting, or other suitable process.
  • the trenches may be formed down to the active layer of the VCSEL, or the trenches may be formed to a predetermined depth into the array.
  • the array may be rotated 90 degrees from the position in which the patterning of the first metal contacts is performed in block 202 . However, it will be understood that such rotation is not limited to 90 degrees, as long as the trenches (and accordingly, the second metal contacts) are non-parallel with the first metal contacts.
  • the formation of the trenches separates the rear metal layer into second metal contacts, each of the plurality of second metal contacts being electrically connected to each VCSEL of a corresponding second line of the plurality of second lines of VCSELs (see FIG. 4 and FIG. 6 , for example).
  • the first metal contacts and second metal contacts may be arranged such that each combination of a first metal contact and a second metal contact is electrically connected to one VSCEL of the plurality of VCSELs.
  • FIG. 11 is a flowchart describing another embodiment of a manufacturing process for a monolithic two-dimensional VCSEL array.
  • the monolithic VCSEL array may include a plurality of VCSELs arranged in a two-dimensional matrix.
  • the monolithic VCSEL array may include a front metal layer provided on a light-emitting surface of the VCSEL array, and a rear metal layer provided on a rear surface opposite to the light emitting surface.
  • the front metal layer may be patterned into the desired first metal contacts.
  • Each of the patterned first metal contacts may be electrically connected to each VCSEL of a corresponding first line of the plurality of first lines of VCSELs, as illustrated in FIG. 3 for example.
  • a transparent substrate may be bonded to the first metal contacts.
  • VCSELs typically require a transparent substrate over the light-emitting surface.
  • this transparent substrate may be applied after fabrication of the VCSEL array.
  • the transparent substrate may be bonded to the first metal contacts in block 304 , thus eliminating a later processing while providing mechanical support for the array during fabrication.
  • the rear metal layer and part of the VCSEL array may be removed.
  • FIG. 12 shows an unfinished structure which includes rear metal layer 422 .
  • rear metal layer 422 and part of monolithic structure 402 is removed to result in a thinned monolithic structure 408 .
  • the rear metal layer 422 may not even be formed at all, and it may only be necessary to remove a part of monolithic structure 402 .
  • second metal contacts are deposited on a rear surface of the array, each of the plurality of second metal contacts being electrically connected to each VCSEL of a corresponding second line of the plurality of second lines of VCSELs.
  • the first metal contacts and second metal contacts may be arranged such that each combination of a first metal contact and a second metal contact is electrically connected to one VSCEL of the plurality of VCSELs.
  • FIG. 13 shows an embodiment of a monolithic two-dimensional VCSEL array 500 in which the first direction and the first metal contacts 520 may be non-perpendicular with respect to the second direction and the second metal contacts 522 . It will be understood that any orientation of the first metal contacts 520 and 522 may be used as long as each combination of a first metal contact 520 and a second metal contact 522 corresponds to a single VCSEL.
  • the embodiments described above may have important benefits over conventional structures. For example, the embodiments eliminate the need for bonding wirings in a two-dimensional VCSEL array. Also, the embodiments result in a more efficient use of VCSEL area compared to conventional devices, with less wasted VCSEL area.

Landscapes

  • Physics & Mathematics (AREA)
  • Condensed Matter Physics & Semiconductors (AREA)
  • General Physics & Mathematics (AREA)
  • Electromagnetism (AREA)
  • Optics & Photonics (AREA)
  • Semiconductor Lasers (AREA)

Abstract

A two-dimensional VCSEL array may include a VCSEL array including a VCSELs arranged in a two dimensional matrix forming a monolithic structure, a light-emitting surface, and a rear surface, first metal contacts provided on the light-emitting surface; and second metal contacts provided on the rear surface. The VCSELs may be arranged in first lines in a first direction and second lines in a second direction non-parallel to the first direction. Each of the first metal contacts may be electrically connected to each VCSEL of a corresponding first line. Each of the plurality of second metal contacts may be electrically connected to each VCSEL of a corresponding second line. The first metal contacts and second metal contacts may be arranged such that each combination of a first metal contact and a second metal contact is electrically connected to one VSCEL.

Description

CROSS REFERENCE TO RELATED APPLICATIONS
Priority under 35 U.S.C. § 119(e) is claimed from U.S. Provisional Application 62/350,369, filed on Jun. 15, 2016, the disclosure of which is incorporated by reference.
FIELD OF THE INVENTION
The subject invention relates to vertical-cavity surface-emitting lasers (VCSELs).
BACKGROUND
Lasers may be used in LIDAR (Light Detection and Ranging) systems to acquire three-dimensional information of an environment.
For example, a laser can be aimed and the time between activating the laser and receiving a reflection of the laser can be used to determine a distance to the object. If the laser or an array of lasers is aimed in a variety of directions, the resulting information can be reconstructed to generate three-dimensional information of an environment.
Rotating lasers require significant mechanical structure, increasing the complexity, size, and cost of the LIDAR device. Thus, solid state LIDAR systems have been developed in which a two dimensional array of VCSELS is used, with each individual VCSEL being aimed at a separate region of the three-dimensional environment. The solid state LIDAR systems are more robust, smaller in size, and less expensive than a rotating laser LIDAR system.
FIG. 1 shows an example of a VCSEL chip 10 that may include several individual VCSELs 12. FIG. 2 shows how VCSEL chips 10 may be conventionally arranged to achieve a two-dimensional VCSEL array. For example, rows of VCSELs can be formed by arranging VCSEL chips 10 end to end. A common cathode trace 22 may be provided for each row of VCSEL chips, connecting to an electrode on the rear side of each VCSEL in the row. Additionally, wirings 24 may be used to connect VCSELs in a columnar direction, with anode traces 20 being connected to each column of VCSELs.
However, in the structure of FIG. 2, the wirings 24 add complexity to the manufacturing process, thereby increasing cost. Also, using wirings 24 to connect one-dimensional arrays of VCSELs results in inefficient use of space and waste of VCSEL area.
Accordingly, it is desirable to provide a monolithic two-dimensional VCSEL array for use in a solid state LIDAR system in order to reduce manufacturing costs and make more efficient use of VCSEL space.
SUMMARY OF THE INVENTION
In one exemplary embodiment of the invention, a two-dimensional VCSEL array may include a VCSEL array including a plurality of VCSELs arranged in a two dimensional matrix, the plurality of VCSELs forming a monolithic structure, a light-emitting surface; and a rear surface opposite to the light emitting surface, wherein the plurality of VCSELs may be arranged in a plurality of first lines of VCSELs in a first direction and a plurality of second lines of VCSELs in a second direction, the first direction being non-parallel to the second direction; a plurality of first metal contacts provided on the light-emitting surface; and a plurality of second metal contacts provided on the rear surface. Each of the plurality of first metal contacts may be electrically connected to each VCSEL of a corresponding first line of the plurality of first lines of VCSELs. Each of the plurality of second metal contacts may be electrically connected to each VCSEL of a corresponding second line of the plurality of second lines of VCSELs. The plurality of first metal contacts and the plurality of second metal contacts may be arranged such that each combination of a first metal contact and a second metal contact is electrically connected to one VSCEL of the plurality of VCSELs.
In another exemplary embodiment of the invention, a method of manufacturing a two-dimensional VCSEL array may include providing a VCSEL array including a plurality of VCSELs arranged in a two dimensional matrix, the plurality of VCSELs forming a monolithic VCSEL structure having a light-emitting surface and a rear surface opposite to the light-emitting surface, a front metal layer provided on the light-emitting surface; and a rear metal layer provided on the rear surface, wherein the plurality of VCSELs may be arranged in a plurality of first lines of VCSELs in a first direction and a plurality of second lines of VCSELs in a second direction, the first direction being non-parallel to the second direction; patterning the front metal layer into a plurality of first metal contacts, each of the plurality of first metal contacts being electrically connected to each VCSEL of a corresponding first line of the plurality of first lines of VCSELs; forming, through the rear metal layer and into the monolithic VCSEL structure, a plurality of trenches to a predetermined depth so as to separate the other of the front metal layer and the rear metal layer into a plurality of second metal contacts, each of the plurality of second metal contacts being electrically connected to each VCSEL of a corresponding second line of the plurality of second lines of VCSELs. The plurality of first metal contacts and the plurality of second metal contacts may be arranged such that each combination of a first metal contact and a second metal contact is electrically connected to one VSCEL of the plurality of VCSELs.
In yet another exemplary embodiment of the invention, a method of manufacturing a two-dimensional VCSEL array may include providing a VCSEL array including a plurality of VCSELs arranged in a two dimensional matrix, the plurality of VCSELs forming a monolithic VCSEL structure having a light-emitting surface and a rear surface opposite to the light-emitting surface, and a front metal layer provided on the light-emitting surface, wherein the plurality of VCSELs are arranged in a plurality of first lines of VCSELs in a first direction and a plurality of second lines of VCSELs in a second direction, the first direction being non-parallel to the second direction; patterning the front metal layer into a plurality of first metal contacts, each of the plurality of first metal contacts being electrically connected to each VCSEL of a corresponding first line of the plurality of first lines of VCSELs; forming a plurality of a plurality of second metal contacts on the rear surface, each of the plurality of second metal contacts being electrically connected to each VCSEL of a corresponding second line of the plurality of second lines of VCSELs. The plurality of first metal contacts and the plurality of second metal contacts may be arranged such that each combination of a first metal contact and a second metal contact is electrically connected to one VSCEL of the plurality of VCSELs.
The above features and advantages and other features and advantages of the invention are readily apparent from the following detailed description of the invention when taken in connection with the accompanying drawings.
BRIEF DESCRIPTION OF THE DRAWINGS
Other features, advantages and details appear, by way of example only, in the following detailed description of embodiments, the detailed description referring to the drawings in which:
FIG. 1 is a diagram of a one-dimensional VCSEL chip;
FIG. 2 is a diagram of a two-dimensional array of VCSELs made from one-dimensional VCSEL chips;
FIG. 3 is a front view of a monolithic two-dimensional VCSEL array according to an embodiment;
FIG. 4 is a rear view of a monolithic two-dimensional VCSEL array according to an embodiment;
FIG. 5 is a side view of a monolithic two-dimensional VCSEL array according to an embodiment;
FIG. 6 is a side view of a monolithic two-dimensional VCSEL array according to an embodiment;
FIG. 7 is a side view of a monolithic two-dimensional VCSEL array according to an embodiment;
FIG. 8 is a side view of a monolithic two-dimensional VCSEL array according to an embodiment;
FIG. 9 is a front view of a monolithic two-dimensional VCSEL array according to an embodiment;
FIG. 10 is a flowchart of a manufacturing process of a monolithic two-dimensional VCSEL array according to an embodiment;
FIG. 11 is a flowchart of a manufacturing process of a monolithic two-dimensional VCSEL array according to an embodiment;
FIG. 12 is a diagram showing the thinning of the VCSEL array according to an embodiment; and
FIG. 13 is a front view of a monolithic two-dimensional VCSEL array according to an embodiment.
DESCRIPTION OF THE EMBODIMENTS
The following description is merely exemplary in nature and is not intended to limit the present disclosure, its application or uses. It should be understood that throughout the drawings, corresponding reference numerals indicate like or corresponding parts and features. Additionally, axis lines, where shown, are merely provided for the ease of understanding the corresponding view, and are not meant to imply that any particular orientation is required. Additionally, the use of the words “front” and “rear” in the following description are for convenience only, and do not imply any specific configuration or orientation of the structure.
In accordance with an exemplary embodiment of the invention, FIGS. 3-6 illustrate an example of a monolithic two-dimensional VCSEL array 100. The monolithic two-dimensional VCSEL array 100 may include a monolithic structure 102 that includes a two-dimensional matrix of VCSELs 112. Monolithic structure 102 may be a VCSEL wafer formed by a photolithographic process, for example.
FIG. 3 shows a front view of monolithic two-dimensional VCSEL array 100. The plurality of VCSELs 112 may be arranged into a plurality of columns and rows. In other words, the columns of VCSELs 112 correspond to a plurality of first lines of VCSELs in a first direction (the y-direction in the case of FIG. 3), and the rows correspond to a plurality of second lines of VCSELs in a second direction (the x-direction in the case of FIG. 3). The first and the second direction are perpendicular to each other, but the structure is not limited to this embodiment. For example, it will be understood that the first direction may be at an acute or obtuse angle relative to the second direction (see FIG. 13, described herein). FIG. 3 also shows that the first lines (i.e., columns) may be mutually parallel and that the second lines (i.e., rows) may be mutually parallel.
A plurality of first metal contacts 120 may be formed on a front surface 104 of monolithic structure 102. First metal contacts 120 are electrically connected to each VCSEL 112 of a corresponding first line of the plurality of first lines of VCSELs. In other words, the VCSELs 112 electrically connected by a particular first metal contact 120 correspond to a first line of VCSELs. In one embodiment, first metal contacts 120 are formed of gold, but it will be understood that other metals suitable for use as an electrode may also be used.
Additionally, FIG. 3 shows a 5×6 array of VCSELs 112. However, it will be understood that the invention is not limited to this embodiment. The 5×6 array is shown merely as a matter of convenience, and it will be understood that any size two-dimensional array of VCSELs may be used.
FIG. 4 shows a rear view of monolithic two-dimensional VCSEL array 100. The dashed lines show the corresponding positions of individual VCSELs 112. Second metal contacts 122 are formed on a rear surface 106 of the monolithic structure 102. Second metal contacts 122 are electrically connected to each VCSEL 112 of a corresponding second line (i.e., row) of the plurality of second lines of VCSELs. In other words, VCSELs 112 electrically connected by a particular second metal contact 122 correspond to a second line of VCSELs. In one embodiment, second metal contacts 122 are formed of gold, but it will be understood that other metals suitable for use as an electrode may also be used.
FIG. 5 shows a side view of monolithic two-dimensional VCSEL array 100, looking along a y-direction. It will be understood that the thickness of first metal contacts 120, monolithic structure 102, and second metal contacts 122 are not meant to be limiting and may have been altered for illustrative purposes.
FIG. 6 shows a side view of monolithic two-dimensional VCSEL array 100, looking along a x-direction. Trenches 130 are provided between respective second metal contacts 122 and extend into monolithic structure 102.
Trenches 130 are formed during one embodiment of a manufacturing process of monolithic two-dimensional VCSEL array 100, as explained herein. Trenches 130 may extend to the active layer of the VCSELs, or to a predetermined depth into the monolithic structure 102.
FIG. 7 shows a side view of another embodiment of monolithic two-dimensional VCSEL array 100 a. In the manufacturing process of monolithic two-dimensional VCSEL array 100 a, the monolithic structure 102 of FIGS. 3-6 may be thinned to form thinned monolithic structure 104, and second metal contacts 122 are subsequently added to a rear surface 106 of monolithic two-dimensional VCSEL array 100 a.
As shown in FIG. 8, monolithic two-dimensional VCSEL array 100 may also include a transparent substrate 140 bonded to first metal contacts 120. Transparent substrate 140 provides mechanical support to monolithic two-dimensional VCSEL array 100. Transparent substrate 140 may be formed of glass. In one exemplary embodiment, transparent substrate 140 may be formed of Tin(Sn)-coated glass and bonded to first metal contacts 120 through eutectic bonding.
Operation of monolithic two-dimensional VCSEL array 100 will be described with reference to FIG. 9. In use, the first metal contacts 120 may serve as anodes for individual VCSELs 112, and second metal contacts 122 may serve as cathodes for individual VCSELs 112. As FIG. 9 is a front view of monolithic two-dimensional VCSEL array 100, the corresponding positions of second metals contacts 122 are shown in dashed lines. It will be understood that the first metal contacts 120 and second metal contacts 122 may define a coordinate system for individual VCSELs 112. For illustrative purposes, the first metal contacts 120 have been respectively labelled A1, A2, A3, A4, and A5; and the second metal contacts 122 have been respectively labelled C1, C2, C3, C4, C5, and C6. To operate a particular VCSEL 112, a first voltage may be applied to one of the first metal contacts 120, and a second voltage may applied to one of the second metal contacts 122. For example, to activate the specific VCSEL labelled 112 a, the first voltage may be applied to the first metal contact 120 labelled A2, and the second voltage may be applied to the second metal contact 122 labelled C3. Thus, each individual VCSEL may be operated ranging from the VCSEL at [A1,C1] to [A5,C6]. In this way, it will be understood that each possible combination of a first metal contact 120 and a second metal contact 122 electrically connects to a single VCSEL. In other words, each possible combination of a first metal contact 120 and a second metal contact 122 may correspond to only one particular VCSEL. This allows random access to each VCSEL of the entire array, such that individual VCSELs may be illuminated in any possible pattern desired.
FIG. 10 is a flowchart describing an embodiment of a manufacturing process for a monolithic two-dimensional VCSEL array.
At block 200, a monolithic VCSEL array is provided. The monolithic VCSEL array may include a plurality of VCSELs arranged in a two-dimensional matrix. The monolithic VCSEL array may include a front metal layer provided on a light-emitting surface of the VCSEL array, and a rear metal layer provided on a rear surface opposite to the light emitting surface.
At block 202, the front metal layer may be patterned into the desired first metal contacts. Each of the patterned first metal contacts may be electrically connected to each VCSEL of a corresponding first line of the plurality of first lines of VCSELs (see FIG. 3, for example).
In block 204, a transparent substrate may be bonded to the first metal contacts. In practical applications, VCSELs typically require a transparent substrate over the light-emitting surface. Conventionally, this transparent substrate may be applied after fabrication of the VCSEL array. However, in this embodiment, the transparent substrate may be bonded to the first metal contacts in block 204, thus eliminating a later processing while providing mechanical support for the array during fabrication.
In block 206, trenches may be formed the rear layer metal layer and into the VCSEL array. The trenches may be formed by etching, by cutting with a laser, mechanical cutting, or other suitable process. The trenches may be formed down to the active layer of the VCSEL, or the trenches may be formed to a predetermined depth into the array. In forming the trenches, the array may be rotated 90 degrees from the position in which the patterning of the first metal contacts is performed in block 202. However, it will be understood that such rotation is not limited to 90 degrees, as long as the trenches (and accordingly, the second metal contacts) are non-parallel with the first metal contacts. The formation of the trenches separates the rear metal layer into second metal contacts, each of the plurality of second metal contacts being electrically connected to each VCSEL of a corresponding second line of the plurality of second lines of VCSELs (see FIG. 4 and FIG. 6, for example). The first metal contacts and second metal contacts may be arranged such that each combination of a first metal contact and a second metal contact is electrically connected to one VSCEL of the plurality of VCSELs.
FIG. 11 is a flowchart describing another embodiment of a manufacturing process for a monolithic two-dimensional VCSEL array.
At block 300, a monolithic VCSEL array is provided. The monolithic VCSEL array may include a plurality of VCSELs arranged in a two-dimensional matrix. The monolithic VCSEL array may include a front metal layer provided on a light-emitting surface of the VCSEL array, and a rear metal layer provided on a rear surface opposite to the light emitting surface.
At block 302, the front metal layer may be patterned into the desired first metal contacts. Each of the patterned first metal contacts may be electrically connected to each VCSEL of a corresponding first line of the plurality of first lines of VCSELs, as illustrated in FIG. 3 for example.
In block 304, a transparent substrate may be bonded to the first metal contacts. In practical applications, VCSELs typically require a transparent substrate over the light-emitting surface. Conventionally, this transparent substrate may be applied after fabrication of the VCSEL array. However, in this embodiment, the transparent substrate may be bonded to the first metal contacts in block 304, thus eliminating a later processing while providing mechanical support for the array during fabrication.
In block 306, the rear metal layer and part of the VCSEL array may be removed. For example, FIG. 12 shows an unfinished structure which includes rear metal layer 422. By a process such as etching or cutting, rear metal layer 422 and part of monolithic structure 402 is removed to result in a thinned monolithic structure 408. In another embodiment, the rear metal layer 422 may not even be formed at all, and it may only be necessary to remove a part of monolithic structure 402.
In block 308, second metal contacts are deposited on a rear surface of the array, each of the plurality of second metal contacts being electrically connected to each VCSEL of a corresponding second line of the plurality of second lines of VCSELs. The first metal contacts and second metal contacts may be arranged such that each combination of a first metal contact and a second metal contact is electrically connected to one VSCEL of the plurality of VCSELs.
In the embodiments described above, the first direction and the second direction (and correspondingly, the first metal contacts and the second metal contacts) have been perpendicular. However, the invention is not limited to this embodiment. For example, FIG. 13 shows an embodiment of a monolithic two-dimensional VCSEL array 500 in which the first direction and the first metal contacts 520 may be non-perpendicular with respect to the second direction and the second metal contacts 522. It will be understood that any orientation of the first metal contacts 520 and 522 may be used as long as each combination of a first metal contact 520 and a second metal contact 522 corresponds to a single VCSEL.
The embodiments described above may have important benefits over conventional structures. For example, the embodiments eliminate the need for bonding wirings in a two-dimensional VCSEL array. Also, the embodiments result in a more efficient use of VCSEL area compared to conventional devices, with less wasted VCSEL area.
While the invention has been described with reference to exemplary embodiments, it will be understood by those skilled in the art that various changes may be made and equivalents may be substituted for elements thereof without departing from the scope of the invention. In addition, many modifications may be made to adapt a particular situation or material to the teachings of the invention without departing from the essential scope thereof. Therefore, it is intended that the invention not be limited to the particular embodiments disclosed, but that the invention will include all embodiments falling within the scope of the application.

Claims (19)

What is claimed is:
1. A two-dimensional (2D) vertical-cavity surface emitting laser (VCSEL) array comprising:
a VCSEL array comprising:
a plurality of VCSELs arranged in a two dimensional matrix, the plurality of VCSELs forming a monolithic structure;
a light-emitting surface; and
a rear surface opposite to the light emitting surface;
wherein the plurality of VCSELs are arranged in a plurality of first lines of VCSELs in a first direction and a plurality of second lines of VCSELs in a second direction, the first direction being non-parallel to the second direction;
a plurality of first metal contacts provided on the light-emitting surface; and
a plurality of second metal contacts provided on the rear surface;
wherein each of the plurality of first metal contacts is electrically connected to each VCSEL of a corresponding first line of the plurality of first lines of VCSELs;
wherein each of the plurality of second metal contacts is electrically connected to each VCSEL of a corresponding second line of the plurality of second lines of VCSELs;
wherein the plurality of first metal contacts and the plurality of second metal contacts are arranged such that each combination of a first metal contact and a second metal contact is electrically connected to one VSCEL of the plurality of VCSELs.
2. The 2D VCSEL array of claim 1, wherein the VCSEL wafer further comprises a plurality of trenches extending from the rear surface, each of the plurality of trenches being positioned between adjacent second lines of VCSELs.
3. The 2D VCSEL array of claim 1, further comprising a transparent substrate bonded to the plurality of first metal contacts.
4. The 2D VCSEL array of claim 3, wherein the transparent substrate comprises Sn-covered glass and the transparent substrate is bonded to the first metal contacts by eutectic bonding.
5. The 2D VCSEL array of claim 1, wherein the first direction is perpendicular to the second direction.
6. A method of manufacturing a two-dimensional (2D) vertical-cavity surface emitting laser (VCSEL) array, the method comprising:
providing a VCSEL array comprising:
a plurality of VCSELs arranged in a two dimensional matrix, the plurality of VCSELs forming a monolithic VCSEL structure having a light-emitting surface and a rear surface opposite to the light-emitting surface;
a front metal layer provided on the light-emitting surface; and
a rear metal layer provided on the rear surface;
wherein the plurality of VCSELs are arranged in a plurality of first lines of VCSELs in a first direction and a plurality of second lines of VCSELs in a second direction, the first direction being non-parallel to the second direction;
patterning the front metal layer into a plurality of first metal contacts, each of the plurality of first metal contacts being electrically connected to each VCSEL of a corresponding first line of the plurality of first lines of VCSELs;
forming, through the rear metal layer and into the monolithic VCSEL structure, a plurality of trenches to a predetermined depth so as to separate the other of the front metal layer and the rear metal layer into a plurality of second metal contacts, each of the plurality of second metal contacts being electrically connected to each VCSEL of a corresponding second line of the plurality of second lines of VCSELs;
wherein the plurality of first metal contacts and the plurality of second metal contacts are arranged such that each combination of a first metal contact and a second metal contact is electrically connected to one VSCEL of the plurality of VCSELs.
7. The method of claim 6, wherein the plurality of trenches are formed by etching.
8. The method of claim 6, wherein plurality of trenches are formed by cutting.
9. The method of claim 6, further comprising:
bonding a transparent substrate to the plurality of first metal contacts before the plurality of trenches are formed.
10. The method of claim 9, wherein the transparent substrate comprises Sn-covered glass and the transparent substrate is bonded to the first metal contacts by eutectic bonding.
11. The method of claim 6, wherein the first direction is perpendicular to the second direction.
12. A method of manufacturing a two-dimensional (2D) vertical-cavity surface emitting laser (VCSEL) array, the method comprising:
providing a VCSEL array comprising:
a plurality of VCSELs arranged in a two dimensional matrix, the plurality of VCSELs forming a monolithic VCSEL structure having a light-emitting surface and a rear surface opposite to the light-emitting surface; and
a front metal layer provided on the light-emitting surface;
wherein the plurality of VCSELs are arranged in a plurality of first lines of VCSELs in a first direction and a plurality of second lines of VCSELs in a second direction, the first direction being non-parallel to the second direction;
patterning the front metal layer into a plurality of first metal contacts, each of the plurality of first metal contacts being electrically connected to each VCSEL of a corresponding first line of the plurality of first lines of VCSELs;
forming a plurality of a plurality of second metal contacts on the rear surface, each of the plurality of second metal contacts being electrically connected to each VCSEL of a corresponding second line of the plurality of second lines of VCSELs;
wherein the plurality of first metal contacts and the plurality of second metal contacts are arranged such that each combination of a first metal contact and a second metal contact is electrically connected to one VSCEL of the plurality of VCSELs.
13. The method of claim 12, wherein the VCSEL array further comprises a second metal layer provided on the rear surface; and
the method further comprises removing the second metal layer before forming the plurality of second metal contacts.
14. The method of claim 13, further comprising removing a part of the monolithic VCSEL structure to a predetermined depth.
15. The method of claim 14, wherein the second metal layer and the part of the monolithic VCSEL structure are removed by etching.
16. The method of claim 15, wherein the second metal layer and the part of the monolithic VCSEL structure are removed mechanically.
17. The method of claim 12, further comprising:
bonding a transparent substrate to the plurality of first metal contacts.
18. The method of claim 17, wherein the transparent substrate comprises Sn-covered glass and the transparent substrate is bonded to the first metal contacts by eutectic bonding.
19. The method of claim 12, wherein the first direction is perpendicular to the second direction.
US15/623,982 2016-06-15 2017-06-15 Monolithic two-dimensional VCSEL array Active US10027091B2 (en)

Priority Applications (1)

Application Number Priority Date Filing Date Title
US15/623,982 US10027091B2 (en) 2016-06-15 2017-06-15 Monolithic two-dimensional VCSEL array

Applications Claiming Priority (2)

Application Number Priority Date Filing Date Title
US201662350369P 2016-06-15 2016-06-15
US15/623,982 US10027091B2 (en) 2016-06-15 2017-06-15 Monolithic two-dimensional VCSEL array

Publications (2)

Publication Number Publication Date
US20170365984A1 US20170365984A1 (en) 2017-12-21
US10027091B2 true US10027091B2 (en) 2018-07-17

Family

ID=60659816

Family Applications (1)

Application Number Title Priority Date Filing Date
US15/623,982 Active US10027091B2 (en) 2016-06-15 2017-06-15 Monolithic two-dimensional VCSEL array

Country Status (1)

Country Link
US (1) US10027091B2 (en)

Cited By (1)

* Cited by examiner, † Cited by third party
Publication number Priority date Publication date Assignee Title
US12072422B2 (en) 2020-10-30 2024-08-27 Waymo Llc Light detection and ranging (lidar) devices having vertical-cavity surface-emitting laser (VCSEL) emitters

Families Citing this family (9)

* Cited by examiner, † Cited by third party
Publication number Priority date Publication date Assignee Title
US10830878B2 (en) * 2016-12-30 2020-11-10 Panosense Inc. LIDAR system
KR102566409B1 (en) 2018-09-12 2023-08-11 삼성전자주식회사 Addressable laser array device including vertical cavity surface emitting lasers adopting nanostructure reflector
KR102873358B1 (en) * 2019-08-28 2025-10-21 주식회사 에스오에스랩 Distance measuring device
WO2021040250A1 (en) * 2019-08-28 2021-03-04 주식회사 에스오에스랩 Vcsel array and lidar device using same
CN115668667B (en) * 2020-05-21 2025-09-26 索尼半导体解决方案公司 Light-emitting element array
KR102630090B1 (en) * 2020-07-31 2024-01-26 주식회사 에스오에스랩 Device for emitting laser
US12308618B2 (en) * 2021-04-26 2025-05-20 Lumentum Operations Llc Matrix addressable vertical cavity surface emitting laser array
KR102584094B1 (en) * 2021-11-25 2023-10-05 한국광기술원 VCSEL Array with Improved Optical Properties
DE102022202090B4 (en) 2022-03-01 2024-09-12 Robert Bosch Gesellschaft mit beschränkter Haftung VCSEL chip with a matrix arrangement of VCSEL elements and method for its manufacture

Citations (3)

* Cited by examiner, † Cited by third party
Publication number Priority date Publication date Assignee Title
US20080205462A1 (en) * 2007-02-28 2008-08-28 Canon Kabushiki Kaisha Surface emitting laser array, production process thereof, and image forming apparatus having surface emitting laser array
US20090010297A1 (en) * 2007-07-05 2009-01-08 Canon Kabushiki Kaisha Vertical cavity surface emitting laser array and method for manufacturing, and image forming apparatus using vertical cavity surface emitting laser array
US20100124246A1 (en) * 2005-09-30 2010-05-20 Osram Opto Semiconductors Gmbh Method for production of a plurality of semicoductor chips, and a semiconductor component

Patent Citations (3)

* Cited by examiner, † Cited by third party
Publication number Priority date Publication date Assignee Title
US20100124246A1 (en) * 2005-09-30 2010-05-20 Osram Opto Semiconductors Gmbh Method for production of a plurality of semicoductor chips, and a semiconductor component
US20080205462A1 (en) * 2007-02-28 2008-08-28 Canon Kabushiki Kaisha Surface emitting laser array, production process thereof, and image forming apparatus having surface emitting laser array
US20090010297A1 (en) * 2007-07-05 2009-01-08 Canon Kabushiki Kaisha Vertical cavity surface emitting laser array and method for manufacturing, and image forming apparatus using vertical cavity surface emitting laser array

Cited By (1)

* Cited by examiner, † Cited by third party
Publication number Priority date Publication date Assignee Title
US12072422B2 (en) 2020-10-30 2024-08-27 Waymo Llc Light detection and ranging (lidar) devices having vertical-cavity surface-emitting laser (VCSEL) emitters

Also Published As

Publication number Publication date
US20170365984A1 (en) 2017-12-21

Similar Documents

Publication Publication Date Title
US10027091B2 (en) Monolithic two-dimensional VCSEL array
CN112335143B (en) VCSEL array with small pulse delay
JP3987500B2 (en) Optical wiring board and method for manufacturing optical wiring board
US20210234342A1 (en) Matrix-Addressable VCSEL for Solid-State LiDAR
US12132297B2 (en) Vertical cavity surface emitting laser (VCSEL) array and manufacturing method
CN114188459A (en) Miniature light-emitting diode display device and manufacturing method thereof
CN113169519B (en) Vertical Cavity Surface Emitting Laser (VCSEL) array and method of manufacture
US20180034243A1 (en) Monolithic diode laser arrangement and method for producing the monolithic diode laser
US11747657B2 (en) Optical modulator and beam steering system including the same
US12374857B2 (en) Optical assembly with a microlens component and contacts on a same surface of a vertical cavity surface emitting laser device
US20220123522A1 (en) Pattern projector based on vertical cavity surface emitting laser (vcsel) array
CN103503175B (en) Device carrier composite structure with trench structure separating device carrier regions and method for manufacturing multiple device carrier regions
CN117691459A (en) Addressable VCSEL chip, preparation method thereof and laser radar
US6710374B2 (en) Light-emitting semiconductor component
US11469358B1 (en) Formation of nanoporous copper interconnect for electrical connection
US20220200234A1 (en) Integrated light receiving and emitting device combined with control circuit wafer and method thereof
US9689973B2 (en) Acoustic probe with components of acoustic elements having different pitches than each other
US20220052509A1 (en) Variable trace width for individual vertical cavity surface emitting laser channels for time of flight illuminators
US20220166187A1 (en) Optical device including a substrate with a conductor-filled trench on a conductive core
EP4682583A1 (en) Sensing element with vcsel integrated detector array and self-mixing interferometry
CN113594853A (en) Multi-layer metallization of multi-channel transmitter arrays
US20240283218A1 (en) Matrix addressable vertical-cavity surface-emitting laser array
US20130256839A1 (en) Semiconductor wafer and semiconductor device
US20260011978A1 (en) Light emitting device
US20250112189A1 (en) Die and Wafer Level Processing of Laser Diodes and Other Semiconductor Devices on Non-Native Semiconductor Wafers

Legal Events

Date Code Title Description
AS Assignment

Owner name: GM GLOBAL TECHNOLOGY OPERATIONS LLC, MICHIGAN

Free format text: ASSIGNMENT OF ASSIGNORS INTEREST;ASSIGNOR:LIPSON, ARIEL;REEL/FRAME:043941/0709

Effective date: 20171013

FEPP Fee payment procedure

Free format text: ENTITY STATUS SET TO UNDISCOUNTED (ORIGINAL EVENT CODE: BIG.); ENTITY STATUS OF PATENT OWNER: LARGE ENTITY

STCF Information on status: patent grant

Free format text: PATENTED CASE

MAFP Maintenance fee payment

Free format text: PAYMENT OF MAINTENANCE FEE, 4TH YEAR, LARGE ENTITY (ORIGINAL EVENT CODE: M1551); ENTITY STATUS OF PATENT OWNER: LARGE ENTITY

Year of fee payment: 4

MAFP Maintenance fee payment

Free format text: PAYMENT OF MAINTENANCE FEE, 8TH YEAR, LARGE ENTITY (ORIGINAL EVENT CODE: M1552); ENTITY STATUS OF PATENT OWNER: LARGE ENTITY

Year of fee payment: 8