RU96740U1 - COVER SEAT WITH CASE AND HEATING FABRIC - Google Patents
COVER SEAT WITH CASE AND HEATING FABRIC Download PDFInfo
- Publication number
- RU96740U1 RU96740U1 RU2010111266/12U RU2010111266U RU96740U1 RU 96740 U1 RU96740 U1 RU 96740U1 RU 2010111266/12 U RU2010111266/12 U RU 2010111266/12U RU 2010111266 U RU2010111266 U RU 2010111266U RU 96740 U1 RU96740 U1 RU 96740U1
- Authority
- RU
- Russia
- Prior art keywords
- balancing element
- holes
- hinge
- balancing
- support
- Prior art date
Links
- 239000004744 fabric Substances 0.000 title claims abstract description 14
- 238000010438 heat treatment Methods 0.000 title claims abstract description 11
- 239000003351 stiffener Substances 0.000 claims abstract description 30
- 238000000554 physical therapy Methods 0.000 claims abstract description 8
- OKTJSMMVPCPJKN-UHFFFAOYSA-N Carbon Chemical compound [C] OKTJSMMVPCPJKN-UHFFFAOYSA-N 0.000 claims abstract description 6
- 239000007787 solid Substances 0.000 claims abstract description 4
- 238000002560 therapeutic procedure Methods 0.000 claims abstract description 4
- 241000219051 Fagopyrum Species 0.000 claims abstract description 3
- 235000009419 Fagopyrum esculentum Nutrition 0.000 claims abstract description 3
- 230000000845 anti-microbial effect Effects 0.000 claims abstract description 3
- 229910052799 carbon Inorganic materials 0.000 claims abstract description 3
- 230000001767 chemoprotection Effects 0.000 claims abstract description 3
- 239000010903 husk Substances 0.000 claims abstract description 3
- 230000002940 repellent Effects 0.000 claims abstract description 3
- 239000005871 repellent Substances 0.000 claims abstract description 3
- 230000001225 therapeutic effect Effects 0.000 claims abstract description 3
- 239000013013 elastic material Substances 0.000 claims description 6
- 239000012528 membrane Substances 0.000 claims description 6
- 230000002269 spontaneous effect Effects 0.000 claims description 4
- 230000005672 electromagnetic field Effects 0.000 claims description 3
- 230000005855 radiation Effects 0.000 claims description 3
- 238000002604 ultrasonography Methods 0.000 claims description 3
- 229940079593 drug Drugs 0.000 claims 1
- 239000003814 drug Substances 0.000 claims 1
- 229940126534 drug product Drugs 0.000 claims 1
- 239000000825 pharmaceutical preparation Substances 0.000 claims 1
- 210000003205 muscle Anatomy 0.000 abstract description 11
- 230000035876 healing Effects 0.000 abstract description 6
- 125000003118 aryl group Chemical group 0.000 abstract description 5
- 230000003203 everyday effect Effects 0.000 abstract description 5
- 238000012549 training Methods 0.000 abstract description 5
- 238000011161 development Methods 0.000 abstract description 4
- 238000004519 manufacturing process Methods 0.000 abstract description 4
- 230000003449 preventive effect Effects 0.000 abstract description 4
- 230000003187 abdominal effect Effects 0.000 abstract description 3
- 239000003795 chemical substances by application Substances 0.000 abstract description 2
- 230000002265 prevention Effects 0.000 abstract description 2
- 239000004129 EU approved improving agent Substances 0.000 abstract 2
- 230000000694 effects Effects 0.000 description 6
- 230000018109 developmental process Effects 0.000 description 3
- 238000000926 separation method Methods 0.000 description 3
- 230000015572 biosynthetic process Effects 0.000 description 2
- 238000013461 design Methods 0.000 description 2
- 210000004392 genitalia Anatomy 0.000 description 2
- 230000001771 impaired effect Effects 0.000 description 2
- 210000003141 lower extremity Anatomy 0.000 description 2
- 210000000056 organ Anatomy 0.000 description 2
- 210000004197 pelvis Anatomy 0.000 description 2
- 230000008092 positive effect Effects 0.000 description 2
- 230000000276 sedentary effect Effects 0.000 description 2
- 208000000059 Dyspnea Diseases 0.000 description 1
- 206010013975 Dyspnoeas Diseases 0.000 description 1
- 208000019695 Migraine disease Diseases 0.000 description 1
- 208000002193 Pain Diseases 0.000 description 1
- 206010046996 Varicose vein Diseases 0.000 description 1
- 208000027418 Wounds and injury Diseases 0.000 description 1
- 210000003489 abdominal muscle Anatomy 0.000 description 1
- 230000000386 athletic effect Effects 0.000 description 1
- 230000009286 beneficial effect Effects 0.000 description 1
- 239000008280 blood Substances 0.000 description 1
- 210000004369 blood Anatomy 0.000 description 1
- 230000017531 blood circulation Effects 0.000 description 1
- 230000037396 body weight Effects 0.000 description 1
- 210000000988 bone and bone Anatomy 0.000 description 1
- 230000006835 compression Effects 0.000 description 1
- 238000007906 compression Methods 0.000 description 1
- 230000006378 damage Effects 0.000 description 1
- 230000003247 decreasing effect Effects 0.000 description 1
- 239000000428 dust Substances 0.000 description 1
- 239000013003 healing agent Substances 0.000 description 1
- 208000014617 hemorrhoid Diseases 0.000 description 1
- 210000001624 hip Anatomy 0.000 description 1
- 208000014674 injury Diseases 0.000 description 1
- 210000003127 knee Anatomy 0.000 description 1
- 238000012423 maintenance Methods 0.000 description 1
- 229940126601 medicinal product Drugs 0.000 description 1
- 206010027599 migraine Diseases 0.000 description 1
- 230000007935 neutral effect Effects 0.000 description 1
- 238000004886 process control Methods 0.000 description 1
- 230000002035 prolonged effect Effects 0.000 description 1
- 230000001172 regenerating effect Effects 0.000 description 1
- 230000029058 respiratory gaseous exchange Effects 0.000 description 1
- 102200097286 rs199472825 Human genes 0.000 description 1
- 208000013220 shortness of breath Diseases 0.000 description 1
- 210000001519 tissue Anatomy 0.000 description 1
- 210000000689 upper leg Anatomy 0.000 description 1
- 208000027185 varicose disease Diseases 0.000 description 1
- 201000002282 venous insufficiency Diseases 0.000 description 1
Landscapes
- Orthopedics, Nursing, And Contraception (AREA)
Abstract
Полезная модель относится к мебели, а именно к съемным сиденьям, используемым для профилактики искривлений позвоночника во время сидения, в качестве тренировочных устройств для развития координации и равновесия, различных групп спинных мышц и брюшного пресса, восстановительного лечения, в частности позвоночного столба, а также для одновременного оздоровительного воздействия на организм человека, в частности путем проведения бесконтактной терапии оздоровительными средствами и/или физиотерапии. Накладное сиденье содержит балансировочный элемент и опору, причем на последней закреплена стойка с шарниром, посредством которого опора соединена с балансировочным элементом, при этом точка опоры балансировочного элемента на шарнир расположена на оси симметрии балансировочного элемента на расстоянии от его переднего края, составляющем от 0,30 до 0,34 его максимальной ширины, расстояние от опоры до балансировочного элемента в месте расположения шарнира составляет от 0,13 до 0,15 максимальной ширины балансировочного элемента, а в балансировочном элементе выполнено два углубления или отверстия, одно из которых расположено перед точкой опоры, а другое за точкой опоры, при этом каждое углубление выполнено симметрично относительно оси симметрии балансировочного элемента, проходящей через точку опоры балансировочного элемента перпендикулярно переднему краю балансировочного элемента, и расположено от точки опоры на расстоянии, составляющем 0,05-0,07 от максимальной ширины балансировочного элемента, балансировочный элемент выполнен цельнолитым с выполненной по всему периметру обращенной вниз отбортовкой, в месте расположения шарнира вокруг последнего на балансировочном элементе образовано гнездо, от которого в направлении отбортовки выполнены ребра жесткости, при этом четыре ребра жесткости расположены попарно параллельно друг другу вдоль переднего края балансировочного элемента, четыре ребра жесткости расположены попарно параллельно друг другу перпендикулярно поперечным ребрам жесткости и восемь ребер жесткости расположены радиально от оси вращения шарнира, а между ребрами жесткости на балансировочном элементе выполнены перфорационные отверстия. В результате достигается оказание оздоровительного воздействия на организм путем разгрузки позвоночника и воздействия на организм лекарственными, нелекарственными и/или ароматическими средствами и приборами при использовании накладного сиденья в быту, в учебных заведениях и на производстве в качестве профилактического и общеоздоровительного средства.The utility model relates to furniture, namely to removable seats used for the prevention of curvature of the spine during sitting, as training devices for the development of coordination and balance, various groups of spinal muscles and abdominals, rehabilitation treatment, in particular the spinal column, as well as simultaneous healing effects on the human body, in particular by conducting non-contact therapy with health-improving agents and / or physiotherapy. The overlay seat contains a balancing element and a support, and on the latter there is a rack with a hinge, through which the support is connected to the balancing element, while the fulcrum of the balancing element on the hinge is located on the axis of symmetry of the balancing element at a distance from its front edge of 0.30 to 0.34 of its maximum width, the distance from the support to the balancing element at the location of the hinge is from 0.13 to 0.15 of the maximum width of the balancing element, and in the balancing the element has two recesses or holes, one of which is located in front of the fulcrum, and the other is behind the fulcrum, each recess being symmetrically relative to the axis of symmetry of the balancing element passing through the fulcrum of the balancing element perpendicular to the front edge of the balancing element, and is located from the point supports at a distance of 0.05-0.07 from the maximum width of the balancing element, the balancing element is made of solid cast with flanged downward at the location of the hinge around the last on the balancing element, a nest is formed from which stiffeners are made in the flanging direction, while four stiffeners are paired parallel to each other along the front edge of the balancing element, four stiffeners are paired parallel to each other perpendicular transverse stiffeners and eight stiffeners are located radially from the axis of rotation of the hinge, and between the stiffeners on the balancing element formed perforations. As a result, a healing effect on the body is achieved by unloading the spine and exposure to the body with medicinal, non-medicinal and / or aromatic means and devices when using an overhead seat in everyday life, in educational institutions and in production as a preventive and general health remedy.
Балансировочный элемент устройства снабжен чехлом из ткани, выполненным с карманами, расположенными по периметру балансировочного элемента, в которых размещены нелекарственные оздоровительные средства и/или средства физиотерапии, чехол на балансировочном элементе выполнен с отверстиями, расположенными в плане над углублениями или отверстиями, выполненными в балансировочном элементе, отверстия в чехле снабжены отгибаемым или отделяемым клапаном, чехол выполнен из нанотекстиля, имеющего антимикробные, и/или лечебные, и/или хемозащитные, и/или репелентные свойства, размещенные в карманах балансировочного элемента нелекарственные оздоровительные средства, включают, например, шунгит и/или гречишную лузгу, размещенные в карманах балансировочного элемента средства физиотерапии, включают, например, магниты. Балансировочный элемент снабжен обогревающей тканью с параллельными углеродными нитями, обогревающая ткань выполнена с отверстиями, расположенными в плане над углублениями или отверстиями в балансировочном элементе, причем отверстия в обогревающей ткани могут быть снабжены отгибаемыми или отделяемыми клапанами.The balancing element of the device is provided with a cover made of fabric, made with pockets located around the perimeter of the balancing element, in which non-medicinal health and / or physiotherapy tools are placed, the cover on the balancing element is made with holes located in plan above recesses or holes made in the balancing element , the holes in the cover are provided with a fold-down or detachable valve, the cover is made of nanotextiles having antimicrobial and / or therapeutic, and / or chemoprotection s and / or repellents properties placed in the pockets of the balancing member nelekarstvennye improving agents include, for example, shungite and / buckwheat husk or placed in pockets of a balancing element physiotherapy agents include, for example, magnets. The balancing element is provided with a heating fabric with parallel carbon filaments, the heating fabric is made with holes located in plan above the recesses or holes in the balancing element, and the holes in the heating fabric can be equipped with fold-down or detachable valves.
7 з.п. ф-лы, 4 илл. 7 c.p. f-ly, 4 ill.
Description
Предложенное техническое решение - полезная модель относится к мебели, а именно к съемным сиденьям, используемым для профилактики искривлений позвоночника во время сидения, в качестве тренировочных устройств для развития координации и равновесия, различных групп спинных мышц и брюшного пресса, восстановительного лечения, в частности позвоночного столба, а также для одновременного оздоровительного воздействия на организм человека, в частности путем проведения бесконтактной терапии оздоровительными средствами и/или физиотерапии, и предназначено для использования в качестве сидения в быту, при учебе, на работе и отдыхе, в отделениях восстановительного лечения больниц, санаториев, госпиталей, а также в физкультурных залах.The proposed technical solution - a utility model relates to furniture, namely to removable seats used for the prevention of curvature of the spine during sitting, as training devices for the development of coordination and balance, various groups of spinal muscles and abdominals, rehabilitation treatment, in particular the spinal column , as well as for simultaneous healing effects on the human body, in particular by conducting non-contact therapy with healing agents and / or physiotherapy, etc. dnaznacheno for use as a seat in the home, at school, at work and at rest, in the offices of regenerative treatment of hospitals, health centers, hospitals, and also in the athletic halls.
Известно устройство для восстановительного лечения мускулов спины, включающее опору с поворотным сиденьем (см. патент US 3824991, кл. А61Н 1/00, 23.07.1974).A device is known for restorative treatment of back muscles, including support with a swivel seat (see US Pat. No. 3,824,991, CL A61H 1/00, 07/23/1974).
Известное устройство не обеспечивает качательных движений сиденья во всех плоскостях с переменной нагрузкой, т.е. полноценной тренировки и комплексного восстановительного лечения позвоночных суставов мышц спины и брюшного пресса.The known device does not provide swinging movements of the seat in all planes with a variable load, i.e. full training and comprehensive rehabilitation treatment of the vertebral joints of the back muscles and abdominal muscles.
Наиболее близким к заявленной полезной модели по технической сущности и достигаемому результату является сиденье, содержащее балансировочный элемент и опору, причем на последней закреплена стойка с шарниром, посредством которого опора соединена с балансировочным элементом,The closest to the claimed utility model in terms of technical nature and the achieved result is a seat containing a balancing element and a support, and on the latter there is a rack with a hinge through which the support is connected to the balancing element,
См. Патент РФ №82097, МПК А47С 7/02, 15.12.2008.See RF Patent No. 82097, IPC A47C 7/02, December 15, 2008.
Данное устройство представляет собой комплексное устройство для проведения восстановительного лечения в учреждениях здравоохранения, что сужает область его применения и не дает возможности использовать его на рабочем месте при сидячей работе, в школах или в быту в качестве профилактического средства.This device is a comprehensive device for conducting rehabilitation treatment in health care facilities, which narrows the scope of its application and does not make it possible to use it in the workplace while seated, in schools or at home as a preventive measure.
Задачей, на решение которой направлена настоящая полезная модель, является обеспечение комплексных физиотерапевтических воздействий на организм человека, усовершенствование с повышением удобства пользования, конструкции сиденья при расширении его функциональных возможностей.The task to which the present utility model is directed is to provide complex physiotherapeutic effects on the human body, to improve with an increase in usability, seat design while expanding its functionality.
Техническим результатом, достигаемым при реализации полезной модели, является оказание многопланового оздоровительного воздействия на организм путем разгрузки позвоночника и воздействия на организм лекарственными, нелекарственными и/или ароматическими средствами и приборами в комплексе, при использовании накладного сиденья в быту, в учебных заведениях и на производстве в качестве профилактического и общеоздоровительного средства.The technical result achieved by the implementation of the utility model is to provide a multifaceted healing effect on the body by unloading the spine and affecting the body with medicinal, non-medicinal and / or aromatic means and devices in combination, when using an overhead seat in everyday life, in educational institutions and in production in as a preventive and general health remedy.
Указанная задача решается, а технический результат достигается за счет того, что накладное сиденье содержит балансировочный элемент и опору, причем на последней закреплена стойка с шарниром, посредством которого опора соединена с балансировочным элементом, при этом точка опоры балансировочного элемента на шарнир расположена на оси симметрии балансировочного элемента на расстоянии от его переднего края, составляющем от 0,30 до 0,34 его максимальной ширины, расстояние от опоры до балансировочного элемента в месте расположения шарнира составляет от 0,13 до 0,15 максимальной ширины балансировочного элемента, а в балансировочном элементе выполнено два углубления или отверстия, одно из которых расположено перед точкой опоры, а другое за точкой опоры, при этом каждое углубление выполнено симметрично относительно оси симметрии балансировочного элемента, проходящей через точку опоры балансировочного элемента перпендикулярно переднему краю балансировочного элемента, и расположено от точки опоры на расстоянии, составляющем 0,05-0,07 от максимальной ширины балансировочного элемента, последний выполнен цельнолитым с выполненной по всему периметру обращенной вниз отбортовкой, в месте расположения шарнира вокруг последнего на балансировочном элементе образовано гнездо, от которого в направлении отбортовки выполнены ребра жесткости, при этом четыре ребра жесткости расположены попарно параллельно друг другу вдоль переднего края балансировочного элемента, четыре ребра жесткости расположены попарно параллельно друг другу перпендикулярно поперечным ребрам жесткости и восемь ребер жесткости расположены радиально от оси вращения шарнира, а между ребрами жесткости на балансировочном элементе выполнены перфорационные отверстия.This problem is solved, and the technical result is achieved due to the fact that the overhead seat contains a balancing element and a support, and on the latter there is a rack with a hinge through which the support is connected to the balancing element, while the fulcrum of the balancing element on the hinge is located on the axis of symmetry of the balancing element at a distance from its front edge of 0.30 to 0.34 of its maximum width, the distance from the support to the balancing element at the location of the hinge it ranges from 0.13 to 0.15 of the maximum width of the balancing element, and two recesses or holes are made in the balancing element, one of which is located in front of the fulcrum and the other is behind the fulcrum, with each groove being symmetrical about the axis of symmetry of the balancing element, passing through the fulcrum of the balancing element perpendicular to the front edge of the balancing element, and is located from the fulcrum at a distance of 0.05-0.07 from the maximum width of the balancing element, the latter is made integral with flanging made down the entire perimeter, a nest is formed at the location of the hinge around the last on the balancing element, from which stiffeners are made in the flanging direction, while four stiffening ribs are arranged in pairs parallel to each other along the front edge of the balancing element, four stiffeners are arranged in pairs parallel to each other perpendicular to the transverse stiffeners and eight stiffeners are located radially from the axis of rotation of the hinge, and perforations are made between the stiffeners on the balancing element.
Углубления или отверстия в плане могут иметь прямоугольную или иную форму, причем в углах они могут быть скруглены.The recesses or holes in the plan can have a rectangular or other shape, and in the corners they can be rounded.
Передний край опоры может быть отогнут в сторону от балансировочного элемента, при этом опора выполнена цельнолитой с выполненной по всему периметру обращенной вверх отбортовкой, в месте расположения шарнира вокруг стойки последнего на опоре выполнено гнездо, от которого в направлении отбортовки выполнены в радиальном направлении, равномерно в окружном направлении двенадцать ребер жесткости, а между, по крайней мере, части ребер жесткости на опоре выполнены перфорационные отверстия и выступы-упоры для балансировочного элемента.The front edge of the support can be bent away from the balancing element, while the support is made of cast with flanging made all around the perimeter, at the location of the hinge around the strut of the latter, a nest is made on the support, from which in the flanging direction they are made in the radial direction, uniformly in In the circumferential direction there are twelve stiffeners, and between at least part of the stiffeners on the support there are perforations and protrusions-stops for the balancing element.
Углубления или отверстия сверху могут быть перекрыты мембраной из эластичного материала. Мембрана из эластичного материала может быть выполнена перфорированной. Углубления или отверстия могут быть снабжены фиксатором размещаемых в углублениях или отверстиях оздоровительных средств, например контейнеров с лекарственными или нелекарственными средствами для бесконтактной терапии или физиотерапевтическими приборами, в частности, приборами, создающими управляемое электромагнитное поле, тепловое поле или оказывающие воздействие холодом, светом, в том числе лазерное излучение или ультразвуковое воздействие. Стойка с шарниром может быть выполнена с возможностью регулирования высоты расположения балансировочного элемента над опорой.The recesses or openings on top may be covered by a membrane of elastic material. The membrane of elastic material can be perforated. The recesses or openings may be provided with a lock placed in the recesses or openings of health-improving products, for example containers with medicinal or non-medicinal products for non-contact therapy or physiotherapeutic devices, in particular, devices that create a controlled electromagnetic field, a thermal field, or that are exposed to cold, light, including including laser radiation or ultrasound. The stand with the hinge can be made with the possibility of adjusting the height of the balancing element above the support.
На опоре могут быть выполнены ограничители (передний и задний) максимального угла наклона по оси симметрии балансировочного элемента.On the support, limiters (front and rear) of the maximum angle of inclination along the axis of symmetry of the balancing element can be made.
Балансировочный элемент может быть оснащен фиксатором, препятствующем самопроизвольному разъединению шаровой опоры с балансировочным элементом.The balancing element can be equipped with a latch that prevents spontaneous separation of the ball joint with the balancing element.
Накладное сиденье может быть снабжено отверткой для завинчивания стойки в опору, удержания стойки при навинчивании шарнира, определения максимального расстояния расположения шарнира от противоположного конца стойки, выполненной с поперечным размером рукоятки, равным этому максимальному расстоянию.The overhead seat can be equipped with a screwdriver to screw the rack into the support, hold the rack when screwing the hinge, determine the maximum distance of the hinge from the opposite end of the rack, made with a transverse handle size equal to this maximum distance.
Перфорационные отверстия могут быть размещены на балансировочном элементе и/или опоре с образованием надписи, например женского или мужского имени, а также символа или иного узнаваемого изображения, что придаст накладному сиденью дополнительные потребительские свойства, а также позволит идентифицировать выпускаемую продукцию и отличить ее от аналогичной продукции других производителей.Perforations can be placed on the balancing element and / or the support with the formation of an inscription, for example, a female or male name, as well as a symbol or other recognizable image, which will give the overhead seat additional consumer properties, as well as allow to identify the manufactured products and distinguish it from similar products other manufacturers.
Перфорационные отверстия могут иметь в поперечном сечении круглую или отличную от круглой форму, например овальное поперечное сечение.The perforations may have a circular cross section or other than a circular shape, for example an oval cross section.
Перфорированные отверстия могут быть выполнены с отбортовкой с формированием выступов или впадин, что позволит при пользовании накладным сиденьем оказывать массажный эффект на тело пользователя.The perforated holes can be flanged with the formation of protrusions or depressions, which will allow using a false seat to have a massage effect on the user's body.
В ходе проведенного исследования имеющихся разработок различного рода стульев и кресел с подвижным сиденьем было выявлено, что они являются узкоспециализированными устройствами, что усложняет возможность их использования в быту, на работе, в школах и т.п., а именно там, где имеет место сидячий малоподвижный характер производственной деятельности, например у научных работников, операторов персональных компьютеров и систем автоматического управления производственными процессами и др.In the course of a study of the available developments of various kinds of chairs and armchairs with a movable seat, it was revealed that they are highly specialized devices, which complicates the possibility of their use in everyday life, at work, in schools, etc., namely, where there is a sedentary the sedentary nature of production activities, for example, among scientists, operators of personal computers and automatic process control systems, etc.
Кроме того, было выявлено, что длительное воздействие на позвоночник вследствие неправильного сидячего положения вызывает: искривление позвоночника и возникновение сутулости, появление болевых ощущений в спине, сдавление органов малого таза, появление поверхностного дыхания и одышки, ухудшение зрения и появление мигрени, нарушение функции половых органов. Это связано с тем, что строение человеческого тела не подходит для слишком продолжительного сидячего положения. Несмотря на спинку стула, люди, как правило, не сидят на обычных стульях в правильном положении. Сохранять угол в 90 градусов между тазом и бедрами и прямую осанку неудобно и требует постоянного внимания. Таз смещается назад и спина принимает сгорбленное положение. Возникает угроза здоровью.In addition, it was found that prolonged exposure to the spine due to improper sitting position causes: curvature of the spine and the appearance of stoop, the appearance of pain in the back, compression of the pelvic organs, the appearance of superficial breathing and shortness of breath, impaired vision and the appearance of migraine, impaired genital function . This is due to the fact that the structure of the human body is not suitable for too long a sitting position. Despite the back of the chair, people usually don’t sit on ordinary chairs in the correct position. Maintaining a 90-degree angle between the pelvis and hips and direct posture is inconvenient and requires constant attention. The pelvis moves back and the back takes a hunched position. There is a threat to health.
Устройство в виде накладного сиденье, которое занимает мало места, позволяет легко его использовать в быту и на работе. Простота конструкции с минимальным количеством подвижных соединений (всего один шарнир) делает устройство исключительно надежным и удобным в использовании. В ходе эргометрических и эргонометрических исследований экспериментально были установлены оптимальные размеры накладного сиденья и его элементов, которые позволяют устанавливать его практически на любой стул: стул из домашнего гарнитура, офисный стул или кресло. При этом было выяснено, что представляется возможность не только обеспечить правильную посадку, но и обеспечить разгрузку позвоночника в условиях, при которых вес тела поддерживают седалищные кости, а не мышцы спины, верхняя часть тела находится в стабилизированном нейтральном положении, а мышцы вдоль позвоночника находятся в тонусе. Отпадает необходимость в опоре на спинку стула. Кроме того, исключается давление веса человека на ткани промежности в положении «сидя», разгружается крестцово-копчиковый отдел позвоночника, что способствует оттоку крови от нижних конечностей, мышц и органов таза, и в целом обеспечивает полезный эффект при венозной недостаточности нижних конечностей, варикозе, геморрое, травмах и операциях в области таза. Этого удалось добиться путем выполнения в балансировочном элементе двух углублений или отверстий, одно из которых расположено перед точкой опоры, а другой за точкой опоры, при этом каждое углубление выполнено симметрично относительно оси симметрии балансировочного элемента, проходящей через точку опоры балансировочного элемента перпендикулярно переднему краю балансировочного элемента, и расположено от точки опоры на расстоянии, составляющем 0,05-0,07 от максимальной ширины балансировочного элемента. Таким образом, углубление или отверстие, расположенное ближе к переднему краю, обеспечивает в положении «сидя» улучшение кровообращения в области гениталий человека, а другое углубление или отверстие обеспечивает разгрузку позвоночного столба, как бы вывешивая его над балансировочным элементом накладного сиденья. Углубления или отверстия сверху могут быть перекрыты мембраной из эластичного материала, что позволяет, не ухудшая достигаемый результат, предотвратить попадание в углубление посторонних предметов и облегчает уход за накладным сиденьем, предотвращая накапливание в углублениях мусора и пыли. Превышение указанных выше размеров углублений или отверстий приводит к неудобству для сидящего за счет уменьшения площади опоры, а уменьшение указанных выше размеров не дает указанного выше положительного эффекта.The device in the form of an overhead seat, which takes up little space, makes it easy to use in everyday life and at work. The simplicity of design with a minimum number of movable joints (only one hinge) makes the device extremely reliable and convenient to use. In the course of ergometric and ergonomic studies, the optimal sizes of the overhead seat and its elements were experimentally established, which allow it to be installed on almost any chair: a chair from a home headset, an office chair or an armchair. It was found out that it is possible not only to ensure a correct fit, but also to provide unloading of the spine under conditions in which the body weight is supported by the sciatic bones and not the back muscles, the upper body is in a stable neutral position, and the muscles along the spine are in toned. There is no need to rely on the back of the chair. In addition, the pressure of the person’s weight on the perineal tissue in the “sitting” position is excluded, the sacrococcygeal spine is unloaded, which contributes to the outflow of blood from the lower extremities, muscles and pelvic organs, and generally provides a useful effect for venous insufficiency of the lower extremities, varicose veins, hemorrhoids, injuries and operations in the pelvic area. This was achieved by making two recesses or holes in the balancing element, one of which is located in front of the fulcrum and the other behind the fulcrum, with each recess being symmetrical about the symmetry axis of the balancing element passing through the fulcrum of the balancing element perpendicular to the front edge of the balancing element , and is located from the fulcrum at a distance of 0.05-0.07 from the maximum width of the balancing element. Thus, a recess or hole located closer to the front edge, in the "sitting" position, improves blood circulation in the genital area of the person, and another recess or hole provides unloading of the spinal column, as if hanging it over the balancing element of the false seat. The recesses or openings on top can be covered by a membrane of elastic material, which allows, without compromising the achieved result, to prevent foreign objects from getting into the recess and facilitates the maintenance of the overhead seat, preventing debris and dust from accumulating in the recesses. Exceeding the above dimensions of the recesses or holes leads to inconvenience for the seated person by reducing the area of the support, and reducing the above dimensions does not give the above positive effect.
Было выявлено, что в сочетании с вышеописанными особенностями выполнения накладного сиденья наиболее целесообразно, чтобы точка опоры балансировочного элемента на шарнир была расположена на оси симметрии балансировочного элемента на расстоянии от его передней кромки, составляющем от 0,30 до 0,34 его максимальной ширины, а расстояние от опоры до балансировочного элемента в месте расположения шарнира составляло от 0,13 до 0,15 максимальной ширины балансировочного элемента. Данные соотношения размеров были определены экспериментально в исследованиях с участием представительного числа людей. При других величинах рассматриваемого параметра у сидящих обнаруживается большее напряжение и неудобство при поддержании равновесия. Это проявляется в том, что при малом расстоянии передняя кромка балансировочного элемента чрезмерно давит на мышцы бедра, при большом расстоянии - врезается в голень ноги под коленом. В обоих случаях человек испытывает дискомфорт даже при непродолжительном сидении на накладном сиденьи. При меньших значениях высоты шарнира происходит касание в первую очередь ребрами жесткости или нижней частью углубления балансировочного элемента передней кромки опоры или сиденья стула. Эффект свободной балансировки человека исчезает, т.к. возникают две точки опоры. Значения высоты шарнира больше указанных нецелесообразны, т.к. возрастает высота накладного сиденья без увеличения полезного эффекта. Выполнение накладного сиденья в комплекте с отверткой, рукоятка которой выполнена с поперечным размером, равным максимальному расстоянию расположения шарнира от противоположного конца стойки позволяет облегчить операцию сборки и разборки накладного сиденья в случае необходимости, а оснащение балансировочного элемента фиксатором, препятствующим самопроизвольному разъединению шаровой опоры с балансировочным элементом, позволяет повысить надежность эксплуатации накладного сиденья.It was found that, in combination with the above-described features of the implementation of the overhead seat, it is most advisable that the fulcrum of the balancing element on the hinge be located on the symmetry axis of the balancing element at a distance from its leading edge of 0.30 to 0.34 of its maximum width, and the distance from the support to the balancing element at the location of the hinge ranged from 0.13 to 0.15 of the maximum width of the balancing element. These size ratios were determined experimentally in studies involving a representative number of people. With other values of the considered parameter, the seated ones show greater tension and inconvenience while maintaining equilibrium. This is manifested in the fact that, at a short distance, the leading edge of the balancing element exerts excessive pressure on the thigh muscles, and at a large distance, it cuts into the lower leg under the knee. In both cases, the person is uncomfortable even with a short sitting on the bench seat. At lower values of the height of the hinge, first of all, the stiffeners or the lower part of the recess touch the balancing element of the leading edge of the support or seat of the chair. The effect of free balancing of a person disappears, because two points of support arise. The values of the height of the hinge greater than those indicated are impractical, because the height of the overhead seat increases without increasing the beneficial effect. The implementation of the overhead seat complete with a screwdriver, the handle of which is made with a transverse dimension equal to the maximum distance of the hinge from the opposite end of the rack, makes it easier to assemble and disassemble the overhead seat if necessary, and equipping the balancing element with a latch that prevents spontaneous separation of the ball joint with the balancing element , improves the reliability of operation of the overhead seat.
Выполнение балансировочного элемента цельнолитым с выполненной по всему периметру обращенной вниз отбортовкой, в месте расположения шарнира вокруг последнего на балансировочном элементе образовано гнездо, от которого в направлении отбортовки выполнены ребра жесткости, а также выполнение четырех ребер жесткости, расположенных попарно параллельно друг другу вдоль переднего края балансировочного элемента, четырех ребер жесткости, расположенных попарно параллельно друг другу перпендикулярно поперечным ребрам жесткости, восьми ребер жесткости, расположенных радиально от оси вращения шарнира и выполнение между ребрами жесткости на балансировочном элементе перфорационных отверстий в сочетании с выполнением опоры цельнолитой с выполненной по всему периметру обращенной вверх отбортовкой, выполнением в месте расположения шарнира вокруг стойки последнего на опоре гнезда, от которого в направлении отбортовки выполнены в радиальном направлении, равномерно в окружном направлении двенадцать ребер жесткости, а также выполнением между, по крайней мере, частью ребер жесткости на опоре перфорационных отверстий и выступов-упоров для балансировочного элемента позволило создать легкое в производстве, достаточно жесткое и одновременно легкое накладное сиденье, что в конечном итоге позволило создать надежное в эксплуатации накладное сиденье.The execution of the balancing element is integral with the flanging turned down around the perimeter, a nest is formed at the location of the hinge around the last on the balancing element, from which stiffening ribs are made in the flanging direction, as well as four stiffening ribs arranged in pairs parallel to each other along the front edge of the balancing element, four stiffeners arranged in pairs parallel to each other perpendicular to the transverse stiffeners, eight ribs stiffnesses located radially from the axis of rotation of the hinge and the implementation of perforations between the stiffeners on the balancing element in combination with the execution of the cast support with the flanging made all around the perimeter, making the socket on the hinge around the strut of the latter, from which in the flanging direction made in the radial direction, uniformly in the circumferential direction of the twelve stiffeners, as well as performing between at least part of the ribs rigidly The support of the perforations and protrusions for the balancing element made it possible to create an easy-to-manufacture, sufficiently rigid and at the same time light-weight seat, which ultimately made it possible to create a reliable-in-use seat.
На фиг.1 представлен вид сверху на накладное сиденье.Figure 1 presents a top view of the overhead seat.
На фиг.2 представлен вид сверху на балансировочный элемент с прямоугольными отверстиями или углублениями.Figure 2 presents a top view of the balancing element with rectangular holes or recesses.
На фиг.3 представлен вид сверху на опору.Figure 3 presents a top view of the support.
На фиг.4 представлен продольный разрез аксонометрического изображения накладного сиденья.Figure 4 presents a longitudinal section of a perspective view of the surface of the seat.
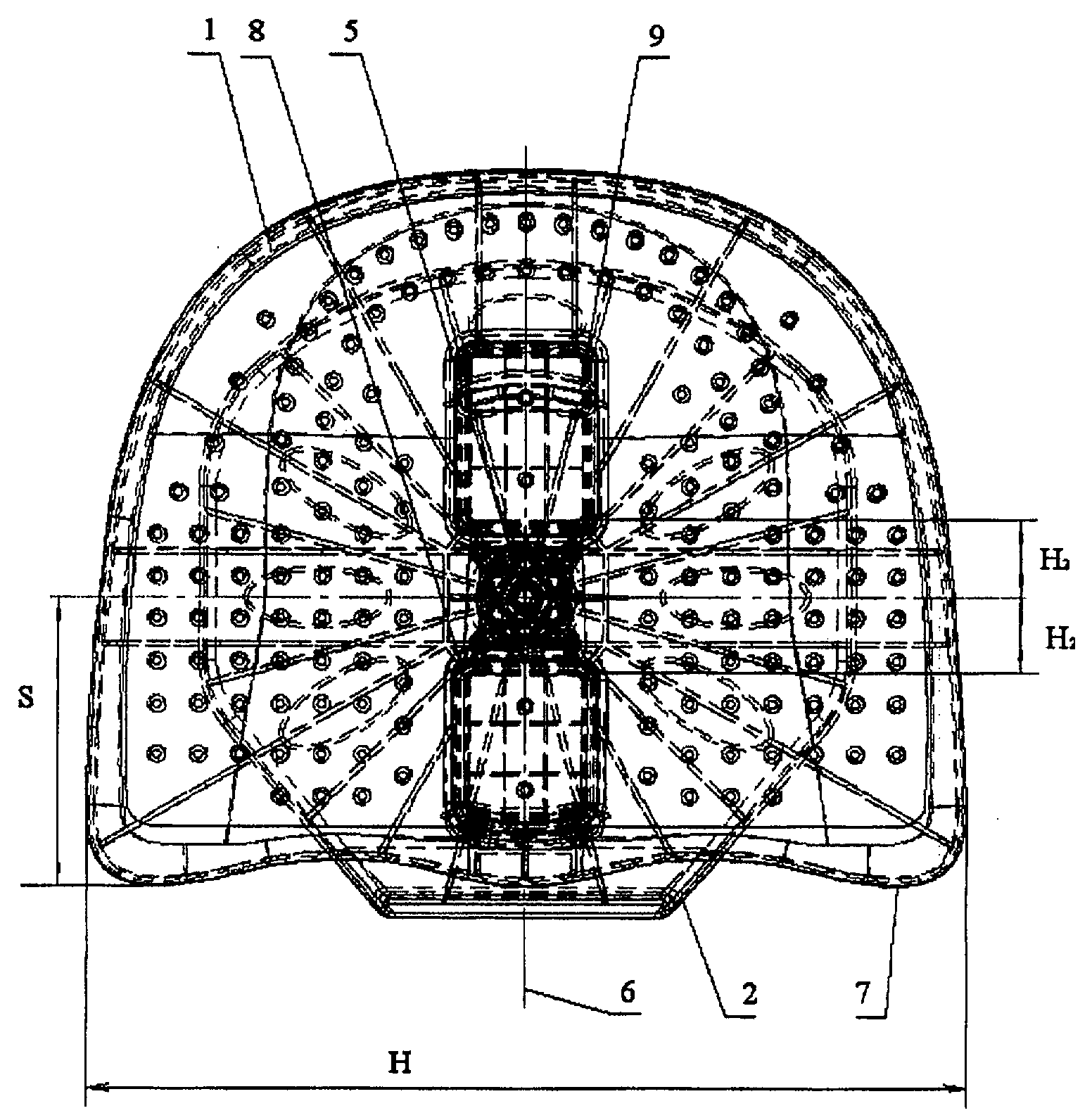
Накладное сиденье содержит балансировочный элемент 1 и опору 2, причем на последней закреплена стойка 3 с шарниром 4, посредством которых опора 2 соединена с балансировочным элементом 1. Точка опоры 5 балансировочного элемента 1 на шарнире 4 расположена на оси симметрии 6 балансировочного элемента 1 на расстоянии «S» от его переднего края 7, составляющем от 0,30 до 0,34 его максимальной ширины «Н», расстояние «H1» от опоры 2 до балансировочного элемента 1 в месте расположения шарнира 4 составляет от 0,13 до 0,15 максимальной ширины «Н» балансировочного элемента 1. В балансировочном элементе 1 выполнено два углубления 8 и 9 или отверстия, одно из которых 8 расположено перед точкой опоры 5, а другое 9 за точкой опоры 5. Каждое углубление 8 и 9 выполнено симметрично относительно оси симметрии 6 балансировочного элемента 1, проходящей через точку опоры 5 балансировочного элемента 1 перпендикулярно переднему краю 7 балансировочного элемента 1, и расположено от точки опоры 5 на расстоянии «Н2», составляющем 0,05-0,07 от максимальной ширины «Н» балансировочного элемента 1.The overlay seat contains a balancing element 1 and a support 2, and on the last there is a rack 3 with a hinge 4, through which the support 2 is connected to the balancing element 1. The support point 5 of the balancing element 1 on the hinge 4 is located on the axis of symmetry 6 of the balancing element 1 at a distance " S "from its front edge 7, comprising from 0.30 to 0.34 of its maximum width" H ", the distance" H1 "from the support 2 to the balancing element 1 at the location of the hinge 4 is from 0.13 to 0.15 maximum width "N" balancing el 1. In the balancing element 1 there are two recesses 8 and 9 or holes, one of which 8 is located in front of the pivot point 5, and the other 9 is located behind the pivot point 5. Each recess 8 and 9 is made symmetrically with respect to the axis of symmetry 6 of the balancing element 1 passing through the fulcrum 5 of the balancing element 1 perpendicular to the front edge 7 of the balancing element 1, and is located from the fulcrum 5 at a distance "H2" of 0.05-0.07 from the maximum width "N" of the balancing element 1.
Углубления 8 и 9 или отверстия в плане, предпочтительно, имеют прямоугольную форму, а в углах, предпочтительно, скруглены. Передний край 7 опоры 2 отогнут в сторону от балансировочного элемента 1, что позволяет фиксировать и правильно устанавливать накладное сиденье на стул или кресло. Углубления 8 и 9 или отверстия сверху перекрыты мембраной 10 из эластичного материала, которая выполнена перфорированной, что позволяет выходить воздуху из углублений 8 и 9 во время усаживания на накладное сиденье, а также позволяет располагать в углублениях лекарственные или ароматические средства, пары которых, выходя из углублений 8 и 9, оказывают положительное и/или оздоровительное воздействие на организм.The recesses 8 and 9 or holes in the plan are preferably rectangular in shape and preferably rounded in the corners. The front edge 7 of the support 2 is bent away from the balancing element 1, which allows you to fix and correctly install the overhead seat on a chair or chair. The recesses 8 and 9 or the openings on top are covered by a membrane 10 made of perforated elastic material, which allows air to escape from the recesses 8 and 9 while sitting on the overhead seat, and also allows to place medicinal or aromatic agents in the recesses, the pairs of which, leaving recesses 8 and 9, have a positive and / or healing effect on the body.
Углубления 8 и 9 или отверстия снабжены фиксатором размещаемых в углублениях 8 и 9 или отверстиях оздоровительных средств, например контейнеров 11 с лекарственными или нелекарственными средствами для аэротерапии, или физиотерапевтическими приборами, в частности, приборами, создающими электромагнитное поле, тепловое поле или оказывающие воздействие холодом, светом, в том числе лазерное излучение или ультразвуковое воздействие.The recesses 8 and 9 or openings are provided with a latch placed in the recesses 8 and 9 or openings of health-improving means, for example containers 11 with medicinal or non-medicinal means for aerotherapy, or physiotherapeutic devices, in particular, devices that create an electromagnetic field, a thermal field, or that cause exposure to cold, light, including laser radiation or ultrasound.
Балансировочный элемент 1 выполнен цельнолитым с выполненной по всему периметру обращенной вниз отбортовкой 12. В месте расположения шарнира 4 вокруг последнего на балансировочном элементе образовано гнездо 13, от которого в направлении отбортовки выполнены ребра жесткости. Четыре ребра жесткости 14 расположены попарно параллельно друг другу вдоль переднего края балансировочного элемента 1, четыре ребра жесткости 15 расположены попарно параллельно друг другу перпендикулярно поперечным ребрам жесткости 14 и восемь ребер жесткости 16 расположены радиально от оси вращения шарнира 4, а между ребрами жесткости 14, 15 и 16 на балансировочном элементе 1 выполнены перфорационные отверстия 17. Опора 2 выполнена цельнолитой с выполненной по всему периметру обращенной вверх отбортовкой 18. В месте расположения шарнира 4 вокруг стойки 3 последнего на опоре выполнено гнездо 19, от которого в направлении отбортовки 18 выполнены в радиальном направлении, равномерно в окружном направлении двенадцать ребер жесткости 20, а между, по крайней мере, части ребер жесткости 20 на опоре 2 выполнены перфорационные отверстия 21 и выступы-упоры 22 для балансировочного элемента 1. Балансировочный элемент 1 оснащен фиксатором 23, препятствующим самопроизвольному разъединению шаровой опоры шарнира 4 с балансировочным элементом 1. Стойка 3 с шарниром 4 выполнена с возможностью регулирования высоты положения шарнира 4 на стойке 3 за счет резьбового соединения стойки 3 и шарнира 4 с возможностью фиксирования положения шарнира 4 на стойке 3 гайкой 24, установленной на стойке 3. Накладное сиденье снабжено отверткой (не показана на чертеже) для завинчивания стойки 3 в опору 2, удержания стойки 3 при навинчивании шарнира 4, определения максимального расстояния расположения шарнира 4 от противоположного конца стойки 3. Для этого рукоятка отвертки выполняется с поперечным размером, равным этому максимальному расстоянию.The balancing element 1 is made integral with the flange 12 turned downward along the entire perimeter. At the location of the hinge 4 around the latter, a nest 13 is formed on the balancing element, from which stiffening ribs are made in the flanging direction. Four stiffeners 14 are arranged in pairs parallel to each other along the front edge of the balancing element 1, four stiffeners 15 are arranged in pairs parallel to each other perpendicular to the transverse stiffeners 14 and eight stiffeners 16 are located radially from the axis of rotation of the hinge 4, and between stiffeners 14, 15 and 16, perforation holes 17 are made on the balancing element 1. The support 2 is solid cast with a flange 18 made all around the perimeter. At the location of the hinge 4 racks 3 of the latter on the support there is a socket 19, from which in the direction of flanging 18 are made radially uniformly in the circumferential direction twelve stiffeners 20, and between at least part of the stiffeners 20 on the support 2 there are perforations 21 and protrusions stops 22 for the balancing element 1. The balancing element 1 is equipped with a latch 23, which prevents spontaneous separation of the ball joint of the hinge 4 with the balancing element 1. The rack 3 with the hinge 4 is made with the possibility of adjustable I the height of the position of the hinge 4 on the rack 3 due to the threaded connection of the rack 3 and the hinge 4 with the possibility of fixing the position of the hinge 4 on the rack 3 with a nut 24 mounted on the rack 3. The patch seat is equipped with a screwdriver (not shown in the drawing) for screwing the rack 3 into the support 2, holding the stand 3 while screwing the hinge 4, determining the maximum distance of the hinge 4 from the opposite end of the stand 3. For this, the handle of the screwdriver is made with a transverse dimension equal to this maximum distance.
Также, балансировочный элемент 1 снабжен чехлом 25 из ткани, чехол на балансировочном элементе выполнен с карманами 26, расположенными по периметру балансировочного элемента, в которых размещены нелекарственные оздоровительные средства и/или средства физиотерапии.Also, the balancing element 1 is provided with a cover 25 of fabric, the cover on the balancing element is made with pockets 26 located along the perimeter of the balancing element, in which non-medicinal wellness and / or physiotherapy tools are placed.
Чехол 25 на балансировочном элементе выполнен с отверстиями 27, расположенными в плане над углублениями или отверстиями 8 и 9, выполненными в балансировочном элементе, отверстия в чехле снабжены отгибаемым или отделяемым клапаном 28, чехол выполнен из нанотекстиля, имеющего антимикробные, и/или лечебные, и/или хемозащитные, и/или репелентные свойства.The cover 25 on the balancing element is made with holes 27 located in plan above the recesses or holes 8 and 9 made in the balancing element, the holes in the cover are provided with a bendable or detachable valve 28, the cover is made of nanotextile having antimicrobial and / or therapeutic, and / or chemoprotective and / or repellent properties.
Размещенные в карманах 26 балансировочного элемента нелекарственные оздоровительные средства, включают, например, шунгит и/или гречишную лузгу, а размещенные в карманах 26 балансировочного элемента средства физиотерапии, включают, например, магниты.Non-medicinal remedies located in the pockets 26 of the balancing element include, for example, shungite and / or buckwheat husk, and physiotherapy means placed in the pockets 26 of the balancing element include, for example, magnets.
Балансировочный элемент снабжен обогревающей тканью 29 с параллельными углеродными нитями 30, причем, обогревающая ткань 29 выполнена с отверстиями 31, расположенными в плане над углублениями или отверстиями 8 и 9 в балансировочном элементе, причем отверстия 31 в обогревающей ткани могут быть снабжены отгибаемыми или отделяемыми клапанами 32.The balancing element is equipped with a heating fabric 29 with parallel carbon filaments 30, moreover, the heating fabric 29 is made with holes 31 located in plan above the recesses or holes 8 and 9 in the balancing element, and the holes 31 in the heating fabric can be equipped with fold-down or detachable valves 32 .
Накладное сиденье помещают на сиденье стула или кресла опорой 2 вниз и затем человек садится на балансировочный элемент 1. После этого человек вместе с балансировочным элементом 1 начинает совершать вращательные и/или качательные движения в различных плоскостях. Эти движения позволяют развивать позвоночные суставы, различные группы мышц спины и брюшного пресса, т.е. осуществляется комплексная тренировка указанных выше групп мышц. Увеличением или уменьшением глубины движений осуществляется регулировка нагрузки на мышцы.The overhead seat is placed on the seat of a chair or chair with the support 2 down and then the person sits on the balancing element 1. After that, the person, together with the balancing element 1, begins to make rotational and / or swinging movements in various planes. These movements allow the development of vertebral joints, various muscle groups of the back and abdominals, i.e. complex training of the above muscle groups is carried out. By increasing or decreasing the depth of movement, the load on the muscles is adjusted.
Во время сиденья на накладном сиденье, расположенные в углублениях 8 и 9 или отверстиях балансировочного элемента 1 лекарственные, нелекарственные или ароматические средства или установленные в них приборы, обогревающая ткань 29 оказывают на сидящего оздоровительное и/или ароматическое воздействие.During the seat on the overhead seat, located in the recesses 8 and 9 or in the openings of the balancing element 1, medicinal, non-medicinal or aromatic means or devices installed in them, the heating fabric 29 has a healing and / or aromatic effect on the seated person.
Настоящая полезная модель может быть использована в быту или в офисах для проведения тренировок или курса профилактического лечения.This utility model can be used in everyday life or in offices for training or a course of preventive treatment.
Claims (8)
Priority Applications (1)
| Application Number | Priority Date | Filing Date | Title |
|---|---|---|---|
| RU2010111266/12U RU96740U1 (en) | 2010-03-25 | 2010-03-25 | COVER SEAT WITH CASE AND HEATING FABRIC |
Applications Claiming Priority (1)
| Application Number | Priority Date | Filing Date | Title |
|---|---|---|---|
| RU2010111266/12U RU96740U1 (en) | 2010-03-25 | 2010-03-25 | COVER SEAT WITH CASE AND HEATING FABRIC |
Publications (1)
| Publication Number | Publication Date |
|---|---|
| RU96740U1 true RU96740U1 (en) | 2010-08-20 |
Family
ID=46305681
Family Applications (1)
| Application Number | Title | Priority Date | Filing Date |
|---|---|---|---|
| RU2010111266/12U RU96740U1 (en) | 2010-03-25 | 2010-03-25 | COVER SEAT WITH CASE AND HEATING FABRIC |
Country Status (1)
| Country | Link |
|---|---|
| RU (1) | RU96740U1 (en) |
Cited By (2)
| Publication number | Priority date | Publication date | Assignee | Title |
|---|---|---|---|---|
| MD731Y (en) * | 2013-06-06 | 2014-02-28 | Виталие ГЫСКА | Superimposed seat |
| CN114947437A (en) * | 2021-02-25 | 2022-08-30 | 郑天夏 | A folding swivel chair bracket |
-
2010
- 2010-03-25 RU RU2010111266/12U patent/RU96740U1/en not_active IP Right Cessation
Cited By (2)
| Publication number | Priority date | Publication date | Assignee | Title |
|---|---|---|---|---|
| MD731Y (en) * | 2013-06-06 | 2014-02-28 | Виталие ГЫСКА | Superimposed seat |
| CN114947437A (en) * | 2021-02-25 | 2022-08-30 | 郑天夏 | A folding swivel chair bracket |
Similar Documents
| Publication | Publication Date | Title |
|---|---|---|
| US7090303B2 (en) | Rehabilitation training and exercise chair | |
| US8864230B2 (en) | Ergometric chair apparatus | |
| US9884221B2 (en) | Exercise bench with enhancements that allow the obese, elderly, and physically challenged to participate in exercises performed on a conventional exercise bench | |
| US9913541B2 (en) | Adjustable seating assembly | |
| US8282171B1 (en) | Seat assembly | |
| US7931339B1 (en) | Seat assembly | |
| RU96740U1 (en) | COVER SEAT WITH CASE AND HEATING FABRIC | |
| RU109963U1 (en) | STAFF WITH ROTATING SEAT | |
| RU2276571C1 (en) | Overlaid seat (versions) | |
| RU82097U1 (en) | COVER SEAT | |
| JP3138255U (en) | Chair | |
| Jacobson | Protecting the back during pregnancy | |
| RU96739U1 (en) | FOOT SEAT | |
| RU79389U1 (en) | COVER SEAT | |
| RU96741U1 (en) | FIXED SEAT WITH GAS ANALYZER AND AIR Freshener | |
| RU65356U1 (en) | COVER SEAT | |
| RU125474U1 (en) | MUSCULAR SIMULATOR | |
| US20120004083A1 (en) | Foldable Prone Support | |
| RU124541U1 (en) | COVER SEAT | |
| RU106512U1 (en) | FOLDING SEAT FOR FURNITURE | |
| RU102880U1 (en) | BACTERICIDAL COVER SEAT | |
| RU103066U1 (en) | HEADBACK SEAT WITH HEALING CASE AND PILLOW | |
| WO2006077898A1 (en) | Chair | |
| JP3161619U (en) | Chair | |
| CN111530028B (en) | Spine correction apparatus of initiative participation formula |
Legal Events
| Date | Code | Title | Description |
|---|---|---|---|
| MM1K | Utility model has become invalid (non-payment of fees) |
Effective date: 20110326 |
