RU2546373C1 - Oscillating console with rotary flaps of main blade of wind and hydroelectric power plant - Google Patents

Oscillating console with rotary flaps of main blade of wind and hydroelectric power plant Download PDF

Info

Publication number
RU2546373C1
RU2546373C1 RU2014104625/06A RU2014104625A RU2546373C1 RU 2546373 C1 RU2546373 C1 RU 2546373C1 RU 2014104625/06 A RU2014104625/06 A RU 2014104625/06A RU 2014104625 A RU2014104625 A RU 2014104625A RU 2546373 C1 RU2546373 C1 RU 2546373C1
Authority
RU
Russia
Prior art keywords
main blade
console
wind
forks
oscillating
Prior art date
Application number
RU2014104625/06A
Other languages
Russian (ru)
Inventor
Виталий Григорьевич Федчишин
Original Assignee
Виталий Григорьевич Федчишин
Priority date (The priority date is an assumption and is not a legal conclusion. Google has not performed a legal analysis and makes no representation as to the accuracy of the date listed.)
Filing date
Publication date
Application filed by Виталий Григорьевич Федчишин filed Critical Виталий Григорьевич Федчишин
Priority to RU2014104625/06A priority Critical patent/RU2546373C1/en
Application granted granted Critical
Publication of RU2546373C1 publication Critical patent/RU2546373C1/en

Links

Images

Classifications

    • YGENERAL TAGGING OF NEW TECHNOLOGICAL DEVELOPMENTS; GENERAL TAGGING OF CROSS-SECTIONAL TECHNOLOGIES SPANNING OVER SEVERAL SECTIONS OF THE IPC; TECHNICAL SUBJECTS COVERED BY FORMER USPC CROSS-REFERENCE ART COLLECTIONS [XRACs] AND DIGESTS
    • Y02TECHNOLOGIES OR APPLICATIONS FOR MITIGATION OR ADAPTATION AGAINST CLIMATE CHANGE
    • Y02EREDUCTION OF GREENHOUSE GAS [GHG] EMISSIONS, RELATED TO ENERGY GENERATION, TRANSMISSION OR DISTRIBUTION
    • Y02E10/00Energy generation through renewable energy sources
    • Y02E10/70Wind energy

Landscapes

  • Wind Motors (AREA)

Abstract

FIELD: power industry.
SUBSTANCE: at end faces of the top and bottom sections of the main blade from the side of the running flow the rotary flaps of a flowline shape are placed, which are withheld within the limiting angles by the springing forks and returnable springs with adjustable tension are located in addition on trailer pins. Hollow sections of the main blade are in addition strengthened inside by corrugated stiffening ribs, especially in places of contact with the damping overlays of springing forks. The invention promotes creation of new types of environmentally friendly and low-noise wind- and submersible hydroelectric power plants.
EFFECT: improvement of efficiency of rotation of blades in extreme left and right positions, improvement of spontaneous start of the console after its stop during a storm or scheduled maintenance.
2 cl, 3 dwg

Description

Изобретение относится к возобновляемой энергетике и может быть использовано при создании новых невращающихся преобразователей кинетической энергии для ветро- и гидроустановок, работающих в свободных воздушных или водных потоках.The invention relates to renewable energy and can be used to create new non-rotating kinetic energy converters for wind and hydraulic installations operating in free air or water flows.

Известна поворотная консоль ветро- и гидроустановки с колеблющимися вертикальными лопастями (1), содержащая кинематически связанные между собой сдвоенные основную и вспомогательную лопасти. Однако такое конструктивное решение осуществляет в крайних левом и правом положениях основной лопасти передачу крутящих моментов с существенными потерями, особенно на малых углах атаки к набегающему потоку.Known rotary console of a wind and hydraulic installation with oscillating vertical blades (1), containing kinematically coupled twin main and auxiliary blades. However, such a constructive solution implements the transmission of torques with significant losses in the extreme left and right positions of the main blade, especially at small angles of attack to the incoming flow.

Технической задачей изобретения является создание более эффективных невращающихся технических средств преобразования кинетической энергии воздушных или водных потоков с более равномерным крутящим моментом на валу многополюсного генератора, а также улучшение самопроизвольного запуска консоли после ее остановки во время бури или проведения профилактических работ.An object of the invention is the creation of more efficient non-rotating technical means of converting the kinetic energy of air or water flows with a more uniform torque on the shaft of a multipolar generator, as well as improving the spontaneous start of the console after it stops during a storm or during preventive maintenance.

Поставленная цель достигается тем, что на торцах верхней и нижней секций основной лопасти со стороны набегающего потока дополнительно размещены на концевых штифтах поворотные закрылки обтекаемой формы, удерживаемые в пределах ограничивающих углов пружинящими вилками и возвратными пружинами с регулированным натяжением.This goal is achieved in that at the ends of the upper and lower sections of the main blade on the side of the incoming flow, streamlined flap flaps are additionally placed on the end pins, held within the limiting angles by spring forks and return springs with adjustable tension.

Плоскости поворотных закрылков так же, как основной и вспомогательной лопастей, имеют простую симметричную обтекаемую форму, что в целом снижает их себестоимость и улучшает технологичность.The planes of the rotary flaps as well as the main and auxiliary blades have a simple symmetrical streamlined shape, which generally reduces their cost and improves manufacturability.

Из патентной и научно-технической информации автору не известны источники, содержащие сведения об аналогичных технических решениях, имеющих сходные признаки с заявляемым решением.From the patent and scientific and technical information, the author does not know the sources containing information about similar technical solutions having similar features with the claimed solution.

Изобретение поясняется схематическими изображениями, где:The invention is illustrated by schematic images, where:

Фиг.1 - Вид сверху на рабочие положения плоскостей лопастей и закрылков в воздушном или водном потоках.Figure 1 - Top view of the working position of the planes of the blades and flaps in the air or water flows.

Фиг.2 - Вид сбоку на основную сдвоенную лопасть с закрылками.Figure 2 - Side view of the main dual blade with flaps.

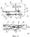
Фиг.3 - Фрагмент основной лопасти с закрылком:Figure 3 - Fragment of the main blade with a flap:

а) - вид сбоку; в) - вид сверху.a) - side view; c) - top view.

Консоль 1 содержит кинематически связанные основную 2 и вспомогательную 3 сдвоенные лопасти, размещенные на герметичном кожухе 4. На торцах каждой из секций основной лопасти 1 дополнительно размещен на двух концевых штифтах 5 поворотный закрылок 6, на котором закреплены две пружинящие вилки 7 с демпфирующими накладками 8 и стойка 9, соединенная посредством возвратной пружины 10 с резьбовой осью 11, связанной с помощью фигурной гайки 12 с уголковым кронштейном 13, посаженным на несущей пластине 14.The console 1 contains kinematically connected main 2 and auxiliary 3 twin blades placed on an airtight casing 4. At the ends of each section of the main blade 1, a rotary flap 6 is additionally placed on two end pins 5, on which two spring forks 7 with damping plates 8 and are fixed stand 9, connected by means of a return spring 10 with a threaded axis 11, connected by means of a figured nut 12 with an angular bracket 13, mounted on a carrier plate 14.

Внутри каждой из полых секций основной лопасти 2 размещены усиливающие их прочность гофрированные ребра жесткости 15, особенно в местах контакта с демпфирующими накладками 8 пружинящих вилок 7.Inside each of the hollow sections of the main blade 2 are placed reinforcing their strength corrugated stiffeners 15, especially in places of contact with the damping pads 8 spring forks 7.

Консоль работает следующим образом.The console works as follows.

Если, например, изначально ось консоли 1 находилась в среднем положении, совпадающем с направлением потока, а плоскость основной лопасти - в левом, то они совместно со вспомогательной лопастью 3 будут двигаться влево (фиг.1). С продолжением движения лопасти 2 к крайнему левому положению угол атаки ее плоскости относительно потока будет пропорционально уменьшаться и в условной точке Аз′ (в вертикальной плоскости м-м′) он будет равен нулю. Одновременно вспомогательная лопасть 3 под продолжающимся давлением на ее плоскости набегающего потока будет продолжать поворот консоли 1 влево, при этом основная лопасть 2, зайдя в отрицательный угол αл-, начнет разворот вокруг своей оси в обратную сторону, а закрылок 6 - дополнительный разворот на фиксированный угол αз- и создаст дополнительное усилие для разворота рабочей лопасти 2 на полный угол βл- и одновременного с ней разворота вспомогательной лопасти 3 на больший угол (новое взаимное положение обеих лопастей показано пунктиром). Таким образом, в диапазоне А3з′ создается максимальное усилие для поворота консоли 1 вправо. Все последующие процессы с правой стороны в диапазоне А1′-A1 будут идентичны. Полный рабочий угол разворота консоли 1 в каждую сторону составляет αк+к- и на практике находится в пределах 50-70 градусов.If, for example, initially the axis of the console 1 was in the middle position, coinciding with the direction of flow, and the plane of the main blade in the left, then they, together with the auxiliary blade 3, will move to the left (figure 1). With the continuation of the motion of the blade 2 to the leftmost position, the angle of attack of its plane relative to the flow will be proportionally reduced and at the conditional point A z ′ (in the vertical plane mm) it will be equal to zero. At the same time, the auxiliary blade 3 under continued pressure on its plane of the incoming flow will continue to turn the console 1 to the left, while the main blade 2, going into the negative angle α l - , will begin to turn around its axis in the opposite direction, and the flap 6 - an additional turn to a fixed angle α s - and will create additional effort for the rotation of the working blade 2 to the full angle β l - and simultaneously with it the rotation of the auxiliary blade 3 to a larger angle (the new relative position of both blades is shown by a dashed line). Thus, in the range A 3 -A s ′, maximum force is created to turn the console 1 to the right. All subsequent processes on the right side in the range A 1 ′ -A 1 will be identical. The full working angle of the turn of the console 1 in each direction is α to + + α to - and in practice is in the range of 50-70 degrees.

Необходимое рабочее натяжение возвратной пружины 10 при постоянном плече t рычага стойки 9 осуществляется с помощью поворота регулировочной фигурной гайки 12.The necessary working tension of the return spring 10 with a constant shoulder t of the arm of the rack 9 is carried out by turning the adjusting curly nut 12.

Использованный источник информации Information Source Used

Патент РФ №2484298 (фиг.1 и 5).RF patent No. 2484298 (figures 1 and 5).

Claims (2)

1. Колеблющаяся консоль с поворотными закрылками основной лопасти ветро - и гидроустановки, содержащая герметичный кожух с размещенными на нем и кинематически связанными между собой сдвоенными основной и вспомогательной вертикальными лопастями, отличающаяся тем, что на торцах верхней и нижней вертикальных секций основной лопасти со стороны набегающего потока дополнительно размещены на концевых штифтах поворотные закрылки обтекаемой формы, удерживаемые в пределах ограничивающих углов пружинящими вилками и возвратными пружинами с регулированным натяжением.1. Oscillating console with rotary flaps of the main blade of the wind and hydraulic installation, containing a sealed casing with double main and auxiliary vertical blades placed on it and kinematically connected among themselves, characterized in that at the ends of the upper and lower vertical sections of the main blade from the side of the incoming flow additionally placed on the end pins, streamlined flap flaps held within the bounding angles by spring forks and return springs with ulirovannym tension. 2. Консоль по п.1, отличающаяся тем, что верхняя и нижняя секции основной лопасти усилены внутри гофрированными ребрами жесткости, особенно в местах контакта с демпфирующими накладками пружинящих вилок. 2. The console according to claim 1, characterized in that the upper and lower sections of the main blade are reinforced inside by corrugated stiffeners, especially at the points of contact with the damping plates of the spring forks.
RU2014104625/06A 2014-02-10 2014-02-10 Oscillating console with rotary flaps of main blade of wind and hydroelectric power plant RU2546373C1 (en)

Priority Applications (1)

Application Number Priority Date Filing Date Title
RU2014104625/06A RU2546373C1 (en) 2014-02-10 2014-02-10 Oscillating console with rotary flaps of main blade of wind and hydroelectric power plant

Applications Claiming Priority (1)

Application Number Priority Date Filing Date Title
RU2014104625/06A RU2546373C1 (en) 2014-02-10 2014-02-10 Oscillating console with rotary flaps of main blade of wind and hydroelectric power plant

Publications (1)

Publication Number Publication Date
RU2546373C1 true RU2546373C1 (en) 2015-04-10

Family

ID=53295827

Family Applications (1)

Application Number Title Priority Date Filing Date
RU2014104625/06A RU2546373C1 (en) 2014-02-10 2014-02-10 Oscillating console with rotary flaps of main blade of wind and hydroelectric power plant

Country Status (1)

Country Link
RU (1) RU2546373C1 (en)

Citations (4)

* Cited by examiner, † Cited by third party
Publication number Priority date Publication date Assignee Title
RU2141058C1 (en) * 1995-11-01 1999-11-10 Бакай Владимир Иванович Method and plant for converting kinetic energy of fluid into reciprocal motion of vane
US20030123983A1 (en) * 2001-12-20 2003-07-03 Bolduc Maxime Lambert Self-trimming oscillating wing system
GB2491839A (en) * 2011-06-13 2012-12-19 Christopher John Coxon Oscillating wing power generator
RU2484298C1 (en) * 2012-03-06 2013-06-10 Виталий Григорьевич Федчишин Wind and hydraulic unit with oscillating vertical blades

Patent Citations (4)

* Cited by examiner, † Cited by third party
Publication number Priority date Publication date Assignee Title
RU2141058C1 (en) * 1995-11-01 1999-11-10 Бакай Владимир Иванович Method and plant for converting kinetic energy of fluid into reciprocal motion of vane
US20030123983A1 (en) * 2001-12-20 2003-07-03 Bolduc Maxime Lambert Self-trimming oscillating wing system
GB2491839A (en) * 2011-06-13 2012-12-19 Christopher John Coxon Oscillating wing power generator
RU2484298C1 (en) * 2012-03-06 2013-06-10 Виталий Григорьевич Федчишин Wind and hydraulic unit with oscillating vertical blades

Similar Documents

Publication Publication Date Title
CN103899492B (en) A kind of floating sea formula wind-power hydraulic TRT
CN102392775B (en) Pitch varying mechanism for horizontal shaft ocean current energy generator
TW201602452A (en) Fluid mechanic blade device
NO812451L (en) WIND ROTOR.
WO2013106075A3 (en) Novel systems for increasing efficiency and power output of in-conduit hydroelectric power system and turbine
US20190024628A1 (en) Wind turbine blade, tubular structure for wind turbine blade, wind turbine and wind-utilization monitoring method
KR20150097519A (en) Hydroelectric power plant for exploiting the energy of guided or unrestricted water flows
RU2546373C1 (en) Oscillating console with rotary flaps of main blade of wind and hydroelectric power plant
CN104454362B (en) Reciprocating type wind power generation system
CN205838310U (en) A kind of wind generator set blade hanging apparatus
CN103790774B (en) A kind of vertical axis windmill of frontal area adjustable
CN202628380U (en) Angle-changing high-efficiency wind power generator
CN207080313U (en) A tidal current power generation device based on hydraulic transmission
CN102583447A (en) Wind-driven water pumping evaporation vehicle
MY206839A (en) Wind power installation
US9790915B2 (en) Turbine for a flow power plant
CN210460945U (en) Telescopic wind turbine blade
RU2447320C2 (en) Device for renewable energy conversion
RU2613476C1 (en) Surf hydroelectric power plant
RU128903U1 (en) WIND POWER PLANT
EA201400083A1 (en) TURBINE FOR WIND MOTORS
CN202482080U (en) Wind power pumping-out evaporation vehicle
CN104806447A (en) Mechanical wind pressure variable pitch device of mini-sized wind turbine
CN100424336C (en) Drag reduction wind turbine
CN207377695U (en) Runner and the hydraulic turbine