RU2454792C2 - Generation of oscillator signal with suppression of spurious peaks in wireless communication device - Google Patents
Generation of oscillator signal with suppression of spurious peaks in wireless communication device Download PDFInfo
- Publication number
- RU2454792C2 RU2454792C2 RU2010114734/08A RU2010114734A RU2454792C2 RU 2454792 C2 RU2454792 C2 RU 2454792C2 RU 2010114734/08 A RU2010114734/08 A RU 2010114734/08A RU 2010114734 A RU2010114734 A RU 2010114734A RU 2454792 C2 RU2454792 C2 RU 2454792C2
- Authority
- RU
- Russia
- Prior art keywords
- frequency
- signal
- settings
- frequency channel
- pll
- Prior art date
Links
- 238000004891 communication Methods 0.000 title claims description 37
- 230000001629 suppression Effects 0.000 title description 4
- 230000000694 effects Effects 0.000 claims abstract description 12
- 230000010355 oscillation Effects 0.000 claims description 32
- 238000000034 method Methods 0.000 claims description 23
- 238000010295 mobile communication Methods 0.000 claims description 4
- 238000002347 injection Methods 0.000 claims 12
- 239000007924 injection Substances 0.000 claims 12
- 238000001914 filtration Methods 0.000 claims 1
- 239000000126 substance Substances 0.000 abstract 1
- 238000010586 diagram Methods 0.000 description 16
- 238000005516 engineering process Methods 0.000 description 16
- 238000006243 chemical reaction Methods 0.000 description 12
- 238000012545 processing Methods 0.000 description 7
- 230000008569 process Effects 0.000 description 6
- 230000005540 biological transmission Effects 0.000 description 5
- 239000013078 crystal Substances 0.000 description 5
- 230000006870 function Effects 0.000 description 5
- 229910044991 metal oxide Inorganic materials 0.000 description 5
- 150000004706 metal oxides Chemical class 0.000 description 5
- 230000004044 response Effects 0.000 description 5
- 239000004065 semiconductor Substances 0.000 description 5
- 239000003990 capacitor Substances 0.000 description 4
- 230000003247 decreasing effect Effects 0.000 description 4
- 230000015572 biosynthetic process Effects 0.000 description 3
- 230000015556 catabolic process Effects 0.000 description 3
- 230000000295 complement effect Effects 0.000 description 3
- 238000006731 degradation reaction Methods 0.000 description 3
- 230000010354 integration Effects 0.000 description 3
- 229910000577 Silicon-germanium Inorganic materials 0.000 description 2
- 239000000872 buffer Substances 0.000 description 2
- 239000013256 coordination polymer Substances 0.000 description 2
- 238000009413 insulation Methods 0.000 description 2
- 238000005259 measurement Methods 0.000 description 2
- 239000000758 substrate Substances 0.000 description 2
- JBRZTFJDHDCESZ-UHFFFAOYSA-N AsGa Chemical compound [As]#[Ga] JBRZTFJDHDCESZ-UHFFFAOYSA-N 0.000 description 1
- 229910052770 Uranium Inorganic materials 0.000 description 1
- LEVVHYCKPQWKOP-UHFFFAOYSA-N [Si].[Ge] Chemical compound [Si].[Ge] LEVVHYCKPQWKOP-UHFFFAOYSA-N 0.000 description 1
- 230000002411 adverse Effects 0.000 description 1
- 229910045601 alloy Inorganic materials 0.000 description 1
- 239000000956 alloy Substances 0.000 description 1
- 238000003491 array Methods 0.000 description 1
- 230000008901 benefit Effects 0.000 description 1
- 230000008859 change Effects 0.000 description 1
- 238000005094 computer simulation Methods 0.000 description 1
- 230000001419 dependent effect Effects 0.000 description 1
- 238000013461 design Methods 0.000 description 1
- 238000001514 detection method Methods 0.000 description 1
- 230000006866 deterioration Effects 0.000 description 1
- 238000011161 development Methods 0.000 description 1
- 230000009365 direct transmission Effects 0.000 description 1
- 230000009931 harmful effect Effects 0.000 description 1
- 230000006872 improvement Effects 0.000 description 1
- 238000002955 isolation Methods 0.000 description 1
- 230000007774 longterm Effects 0.000 description 1
- 238000004519 manufacturing process Methods 0.000 description 1
- 230000007246 mechanism Effects 0.000 description 1
- 238000012986 modification Methods 0.000 description 1
- 230000004048 modification Effects 0.000 description 1
- 230000003287 optical effect Effects 0.000 description 1
- 230000003071 parasitic effect Effects 0.000 description 1
- 238000013139 quantization Methods 0.000 description 1
- 230000009467 reduction Effects 0.000 description 1
- 230000007704 transition Effects 0.000 description 1
Images
Landscapes
- Stabilization Of Oscillater, Synchronisation, Frequency Synthesizers (AREA)
Abstract
Description
Настоящая заявка испрашивает приоритет на основании предварительной заявки США №60/972721, озаглавленной "ФОРМИРОВАНИЕ СИГНАЛА ГЕТЕРОДИНА С ПОДАВЛЕНИЕМ ПАРАЗИТНЫХ ПИКОВ В УСТРОЙСТВЕ БЕСПРОВОДНОЙ СВЯЗИ", поданной 14 сентября 2007 года, правами на которую обладает правообладатель по настоящей заявке, и включенной в состав настоящего документа посредством ссылки; и на основании предварительной заявки США №60/976285, озаглавленной "ФОРМИРОВАНИЕ СИГНАЛА ГЕТЕРОДИНА С ПОДАВЛЕНИЕМ ПАРАЗИТНЫХ ПИКОВ В УСТРОЙСТВЕ БЕСПРОВОДНОЙ СВЯЗИ", поданной 28 сентября 2007 года, правами на которую обладает правообладатель настоящей заявки, и включенной в состав настоящего документа посредством ссылки.This application claims priority based on provisional application US No. 60/972721 entitled "FORMATION OF A HETERODYN SIGNAL WITH SUPPRESSION OF VARIABLE PEAKS IN A WIRELESS COMMUNICATION DEVICE", filed September 14, 2007, which is owned by the copyright holder of this application and incorporated into this document by reference; and based on provisional application US No. 60/976285, entitled "FORMATION OF A HETERODYN SIGNAL WITH SUPPRESSION OF VARIABLE PEAKS IN A WIRELESS COMMUNICATION DEVICE", filed September 28, 2007, the rights to which are owned by the copyright holder of this application and incorporated herein by reference.
Область техникиTechnical field
Настоящее раскрытие в целом относится к электронике и, в частности, к методам формирования сигналов генератора колебаний в устройстве беспроводной связи.The present disclosure generally relates to electronics and, in particular, to methods for generating signals of an oscillation generator in a wireless communication device.
Уровень техникиState of the art
Устройство беспроводной связи (например, сотовый телефон) может иметь передатчик и приемник для поддержки двухсторонней радиосвязи с системой беспроводной связи. Для передачи данных передатчик может преобразовывать преобразованный с повышением частоты выходной сигнал основной полосы с помощью одного или более сигналов гетеродина (LO) передачи для получения сигнала, преобразованного с повышением частоты. Передатчик может дополнительно фильтровать и усиливать сигнал, преобразованный с повышением частоты, для получения выходного радиочастотного (RF) сигнала, и затем может передать этот сигнал через беспроводной канал базовым станциям в системе беспроводной связи. Для приема данных приемник может принять сигналы от базовых станций и получить принятый радиочастотный сигнал. Приемник может усиливать, фильтровать и преобразовывать с понижением частоты принятый радиочастотный сигнал с помощью одного или более сигналов гетеродина приема для получения входного сигнала основной полосы. Сигналы гетеродина могут формироваться на основе сигналов генератора колебаний, которые могут формироваться генераторами колебаний в беспроводном устройстве.A wireless communication device (eg, a cell phone) may have a transmitter and a receiver to support two-way radio communication with a wireless communication system. For data transmission, the transmitter can convert the up-converted baseband output signal using one or more transmit local oscillator (LO) signals to receive the up-converted signal. The transmitter may further filter and amplify the upconverted signal to obtain an output radio frequency (RF) signal, and then may transmit the signal through a wireless channel to base stations in a wireless communication system. To receive data, the receiver can receive signals from base stations and receive a received radio frequency signal. The receiver can amplify, filter, and downconvert the received RF signal using one or more receive local oscillator signals to obtain an input signal of the base band. The local oscillator signals can be generated based on the signals of the oscillation generator, which can be generated by the oscillation generators in the wireless device.
Беспроводное устройство обычно включает в себя различные аналоговые схемы для обработки аналоговых сигналов в передатчике и приемнике. Аналоговые схемы могут включать в себя усилители, смесители, фильтры, системы фазовой автоматической подстройки частоты (ФАПЧ; PLL), гетеродины и т.д. Аналоговые схемы могут работать с аналоговыми сигналами с малыми уровнями сигнала. Поэтому аналоговые схемы должны подвергаться, насколько возможно, меньшему шуму, чтобы сохранить качество сигнала и достигнуть хорошей рабочей характеристики.A wireless device typically includes various analog circuits for processing analog signals in a transmitter and a receiver. Analog circuits may include amplifiers, mixers, filters, phase locked loop (PLL), local oscillators, etc. Analog circuits can work with analog signals with low signal levels. Therefore, analog circuits should be subject to as little noise as possible in order to maintain signal quality and achieve good performance.
Беспроводное устройство обычно также включает в себя цифровые схемы для цифровой обработки передаваемых и/или принимаемых данных. Цифровая схема может включать в себя микропроцессоры, блоки памяти, контроллеры и т.д., которые могут работать на основе синхроимпульсов. Цифровые схемы обычно имеют большие размахи сигналов и генерируют много цифрового шума, в том числе паразитные пики. Резкий пик представляет собой нежелательный сигнал на заданной частоте или тоне, сформированный в пределах беспроводного прибора. Паразитные пики могут формироваться посредством синхроимпульсов, посредством суммирования синхроимпульсов и сигналов генератора колебаний и т.д. Паразитные пики от цифровых схем могут иметь большие уровни из-за больших и резких перепадов сигналов цифровых схем.A wireless device typically also includes digital circuits for digitally processing transmitted and / or received data. The digital circuit may include microprocessors, memory units, controllers, etc., which can operate on the basis of clock pulses. Digital circuits typically have large signal spans and generate a lot of digital noise, including spurious peaks. A sharp peak is an unwanted signal at a given frequency or tone generated within a wireless device. Spurious peaks can be formed by means of clock pulses, by summing the clock pulses and signals of the oscillation generator, etc. Spurious peaks from digital circuits can have large levels due to large and sharp changes in the signals of digital circuits.
Паразитные пики от цифровых схем могут ухудшить рабочую характеристику аналоговых схем различным образом. Во-первых, сигналы генератора колебаний, используемые для формирования сигналов гетеродина для преобразования частоты посредством аналоговых схем, могут содержать паразитные пики, которые могут затем ухудшить принимаемый или передаваемый полезный сигнал. Во-вторых, паразитные пики могут суммироваться с компонентами внеполосного сигнала и формировать внутриполосный шум, который может ухудшить отношение сигнала к шуму (SNR) полезного сигнала. В-третьих, паразитные пики могут появляться на входах приемника и/или выходах передатчика в целевой полосе частот вследствие соединительных линий подложки или корпуса, когда аналоговые и цифровые схемы интегрированы в одной и той же интегральной схеме (IC), и тем самым ухудшают отношение сигнала к шуму (SNR) полезного сигнала.Spurious peaks from digital circuits can degrade the performance of analog circuits in various ways. First, the oscillator signals used to generate the local oscillator signals for frequency conversion by means of analog circuits may contain spurious peaks, which can then degrade the received or transmitted useful signal. Secondly, spurious peaks can add to the out-of-band signal components and produce in-band noise, which can degrade the signal-to-noise ratio (SNR) of the desired signal. Thirdly, spurious peaks can appear at the inputs of the receiver and / or the outputs of the transmitter in the target frequency band due to the connecting lines of the substrate or the housing, when analog and digital circuits are integrated in the same integrated circuit (IC), and thereby degrade the signal ratio to noise (SNR) of the desired signal.
Чтобы подавить отрицательные воздействия вследствие паразитных пиков, аналоговые схемы могут быть изолированы от цифровых схем, что может уменьшить наведение паразитных пиков от цифровых схем на аналоговые схемы. Эта изоляция может быть достигнута посредством (i) реализации аналоговых и цифровых схем на отдельных печатных платах или отдельных секциях печатной платы, или (ii) реализации аналоговых схем на одном или более кристаллах аналоговых интегральных схем (ИС; IC) и реализации цифровых схем на одном или более кристаллах цифровых ИС. Однако может быть затруднительным достигнуть желаемой величины изоляции или даже предсказать величину изоляции, которая может быть достигнута, из-за ограничений средств проектирования. Кроме того, может быть желательным интегрировать аналоговые и цифровые схемы (например, на одном и же кристалле ИС), чтобы уменьшить размер и стоимость устройства. Таким образом, очень желательными являются методы, которые могут подавить отрицательные воздействия паразитных пиков.To suppress the negative effects due to spurious peaks, analog circuits can be isolated from digital circuits, which can reduce the spurious peaks from digital circuits pointing to analog circuits. This isolation can be achieved by (i) implementing analog and digital circuits on separate printed circuit boards or separate sections of a printed circuit board, or (ii) implementing analog circuits on one or more crystals of analog integrated circuits (ICs; IC) and implementing digital circuits on one or more crystals of digital ICs. However, it may be difficult to achieve the desired insulation value, or even to predict the amount of insulation that can be achieved, due to design constraints. In addition, it may be desirable to integrate analog and digital circuits (for example, on the same IC chip) in order to reduce the size and cost of the device. Thus, methods that can suppress the negative effects of spurious peaks are very desirable.
РАСКРЫТИЕ ИЗОБРЕТЕНИЯSUMMARY OF THE INVENTION
Здесь описаны методы для формирования сигналов генератора колебаний в устройстве беспроводной связи с неоднородным программированием частот, чтобы подавить вредные явления паразитных пиков. Для формирования сигнала генератора колебаний для выбранного частотного канала может использоваться система фазовой автоматической подстройки частоты (ФАПЧ; PLL). Система ФАПЧ может включать в себя фазочастотный детектор, генератор подкачки заряда, контурный фильтр и делитель. С помощью неоднородного программирования частот разные настройки системы ФАПЧ могут использоваться для разных блоков в системе ФАПЧ, предназначенных для разных частотных каналов. В общем случае настройка системы ФАПЧ может быть выполнена для любого параметра, относящегося к формированию сигнала генератора колебаний. Подходящий набор настроек системы ФАПЧ может выбираться для каждого частотного канала таким образом, что отрицательные воздействия паразитных пиков могут подавляться, и для частотного канала может быть достигнута хорошая рабочая характеристика.Methods for generating waveform generator signals in a wireless communication device with non-uniform frequency programming are described herein to suppress the harmful effects of spurious peaks. To generate the signal of the oscillation generator for the selected frequency channel, a phase-locked loop (PLL) can be used. The PLL system may include a phase-frequency detector, a charge pump generator, a loop filter, and a divider. Using non-uniform frequency programming, different PLL settings can be used for different blocks in the PLL system designed for different frequency channels. In general, the tuning of the PLL system can be performed for any parameter related to the formation of the signal of the oscillation generator. A suitable set of PLL settings can be selected for each frequency channel so that the negative effects of spurious peaks can be suppressed, and a good performance can be achieved for the frequency channel.
В аспекте изобретения могут поддерживаться разные диапазоны частот системы ФАПЧ, и подходящая ширина полосы контура ФАПЧ может быть выбрана для каждого частотного канала. Узкая ширина полосы контура может выбираться, когда паразитные пики находятся за пределами ширины полосы контура, для уменьшения паразитных пиков. Более широкая ширина полосы контура может использоваться, когда паразитные пики вне ширины полосы контура не присутствуют на проблематичных частотах, чтобы лучше подавить источники непаразитного (неложного) шума, такие как генератор колебаний. Ширина полосы контура может быть переменной, например, посредством регулировки величины тока генератора подкачки заряда.In an aspect of the invention, different PLL system frequency ranges may be supported, and a suitable PLL loop bandwidth may be selected for each frequency channel. A narrow contour bandwidth can be selected when spurious peaks are outside the contour bandwidth to reduce spurious peaks. A wider loop bandwidth can be used when spurious peaks outside the loop bandwidth are not present at problematic frequencies in order to better suppress sources of non-parasitic (unmanned) noise, such as an oscillator. The loop bandwidth can be variable, for example, by adjusting the current value of the charge pump generator.
В другом аспекте могут поддерживаться разные частотные уравнения, и подходящее частотное уравнение может выбираться для каждого частотного канала. Разным частотным уравнениям могут соответствовать разные наборы высоких и низких коэффициентов делителя в дробном делителе. Для разных частотных уравнений могут присутствовать разные паразитные пики и/или разные уровни паразитных пиков. Для каждого частотного канала может выбираться частотное уравнение с хорошей рабочей характеристикой с точки зрения паразитных пиков.In another aspect, different frequency equations may be supported, and a suitable frequency equation may be selected for each frequency channel. Different sets of high and low divider coefficients in a fractional divider can correspond to different frequency equations. Different spurious peaks and / or different levels of spurious peaks may be present for different frequency equations. For each frequency channel, a frequency equation can be selected with good performance in terms of spurious peaks.
В еще одном аспекте могут поддерживаться разные схемы деления частоты, и подходящая схема деления частоты может быть выбрана для каждого частотного канала. Разным схемам деления частоты могут соответствовать разные коэффициенты предварительного делителя и/или разные коэффициенты целочисленного делителя. Для разных схем деления частоты могут присутствовать разные паразитные пики и/или разные уровни паразитных пиков. Для каждого частотного канала может быть выбрана схема деления с хорошей рабочей характеристикой с точки зрения паразитных пиков.In yet another aspect, different frequency division schemes may be supported, and a suitable frequency division scheme may be selected for each frequency channel. Different patterns of frequency division may correspond to different coefficients of the preliminary divider and / or different coefficients of the integer divider. For different frequency division schemes, different spurious peaks and / or different levels of spurious peaks may be present. For each frequency channel, a division circuit with good performance can be selected in terms of spurious peaks.
В еще одном аспекте для частотного канала в супергетеродинном приемнике или передатчике может быть выбрана регулировка амплитуды гетеродина в верхней или нижней части. Сигнал гетеродина будет выше по частоте, чем у выбранного частотного канала для регулировки амплитуды сигнала в верхней части, и ниже, чем у выбранного частотного канала для регулировки амплитуды сигнала в нижней части. Регулировке амплитуды в верхней или нижней части могут соответствовать разные паразитные пики и/или разные уровни паразитных пиков. Регулировка амплитуды гетеродина в верхней или нижней части может быть выбрана на основе рабочей характеристики с точки зрения паразитных пиков.In yet another aspect, for the frequency channel in the superheterodyne receiver or transmitter, a local oscillator amplitude adjustment at the top or bottom may be selected. The local oscillator signal will be higher in frequency than the selected frequency channel to adjust the signal amplitude in the upper part, and lower than the selected frequency channel to adjust the signal amplitude in the lower part. Adjusting the amplitude in the upper or lower part may correspond to different spurious peaks and / or different levels of spurious peaks. The adjustment of the local oscillator amplitude in the upper or lower part can be selected based on the operating characteristic in terms of spurious peaks.
В еще одном аспекте могут поддерживаться разные напряжения питания для заданного блока схемы, а также подходящее напряжение питания может выбираться для блока схемы, предназначенного для каждого частотного канала. В одном варианте разные напряжения питания могут использоваться для генератора колебаний. Высокое напряжение питания может использоваться для увеличения размаха сигнала генератора колебаний, что может уменьшить отрицательные воздействия вследствие паразитных пиков. Низкое напряжение питания может использоваться, когда большие паразитные пики не присутствуют, чтобы сэкономить мощность.In yet another aspect, different supply voltages may be supported for a given circuit block, and a suitable supply voltage may be selected for the circuit block intended for each frequency channel. In one embodiment, different supply voltages may be used for the oscillator. High supply voltage can be used to increase the signal amplitude of the oscillation generator, which can reduce the negative effects due to spurious peaks. A low supply voltage can be used when large spurious peaks are not present to save power.
Также могут существовать разные настройки системы ФАПЧ для других параметров. Различные аспекты и отличительные признаки раскрытия изобретения в подробностях описаны ниже.There may also be different PLL settings for other parameters. Various aspects and features of the disclosure are described in detail below.
КРАТКОЕ ОПИСАНИЕ ЧЕРТЕЖЕЙBRIEF DESCRIPTION OF THE DRAWINGS
Фиг.1 показывает устройство беспроводной связи, поддерживающее разные системы.1 shows a wireless communication device supporting different systems.
Фиг.2 показывает блок-схему беспроводного устройства.Figure 2 shows a block diagram of a wireless device.
Фиг.3 показывает блок-схему приемника с прямым преобразованием.Figure 3 shows a block diagram of a direct conversion receiver.
Фиг.4 показывает блок-схему супергетеродинного приемника.4 shows a block diagram of a superheterodyne receiver.
Фиг.5 показывает блок-схему передатчика с прямым преобразованием.5 shows a block diagram of a direct conversion transmitter.
Фиг.6 показывает блок-схему супергетеродинного передатчика.6 shows a block diagram of a superheterodyne transmitter.
Фиг.7 показывает блок-схему системы ФАПЧ в частотном синтезаторе.7 shows a block diagram of a PLL system in a frequency synthesizer.
Фиг.8 показывает блок-схему варианта делителя в системе ФАПЧ.Fig. 8 shows a block diagram of an embodiment of a divider in a PLL system.
Фиг.9 показывает блок-схему другого варианта делителя в системе ФАПЧ.9 shows a block diagram of another embodiment of a divider in a PLL system.
Фиг.10 показывает таблицу настроек системы ФАПЧ для разных частотных каналов.10 shows a PLL system settings table for different frequency channels.
Фиг.11 показывает процесс для формирования сигнала генератора колебаний для частотного канала.11 shows a process for generating an oscillator signal for a frequency channel.
ОСУЩЕСТВЛЕНИЕ ИЗОБРЕТЕНИЯDETAILED DESCRIPTION OF THE INVENTION
Фиг.1 показывает устройство 110 беспроводной связи, которое может взаимодействовать с разными системами беспроводной связи и сетями. Термины "система" и "сеть" часто используются взаимозаменяемо. В примере, показанном на фиг.1, устройство 110 беспроводной связи может взаимодействовать с беспроводной глобальной сетью (WWAN) 120, беспроводной локальной сетью (WLAN) 130, беспроводной персональной сетью (WPAN) 140, спутниковой системой 150 позиционирования (SPS) и системой 160 широковещания. В общем случае устройство 110 беспроводной связи может взаимодействовать с любым количеством, любым типом и любой комбинацией из одной или более систем и сетей.1 shows a
Сеть 120 WWAN обеспечивает зону покрытия связи для большой географической области, например, такой как город, область или вся страна. Сеть 120 WWAN может являться сетью множественного доступа с кодовым разделением (CDMA), сетью множественного доступа с временным разделением (TDMA), сетью множественного доступа с частотным разделением (FDMA), сетью множественного доступа с ортогональным частотным разделением (OFDMA), сетью множественного доступа с частотным разделением с одной несущей (SC-FDMA) и т.д. Сеть CDMA может реализовать такую беспроводную технологию, как CDMA2000, универсальный наземный беспроводной доступ (UTRA). Технология CDMA2000 охватывает стандарты IS-2000, IS-95 и IS-856. Технология UTRA включает в себя широкополосный доступ CDMA (W-CDMA) и другие варианты сетей CDMA. Сеть TDMA может реализовать такую беспроводную технологию, как глобальная система мобильной связи (GSM), цифровая усовершенствованная система мобильной связи (D-AMPS) и т.д. Сеть OFDMA может реализовать такую беспроводную технологию, как усовершенствованная технология UTRA (E-UTRA), технология ультрамобильного широковещания (UMB), стандарт IEEE 802.16 (WiMAX), стандарт IEEE 802.20, технология Flash-OFDM® и т.д. Технологии UTRA и E-UTRA являются частью универсальной системы мобильной связи (UMTS). Система проекта долгосрочного развития (LTE) Проекта партнерства для создания сетей третьего поколения (3GPP) представляет собой грядущий выпуск системы UMTS, который использует технологию E-UTRA. Эти различные сети, беспроводные технологии и стандарты являются известными в данной области техники.
Сеть 130 WLAN обеспечивает зону покрытия связи для средней географической области, например, такой как здание, дом и т.д. Сеть 130 WLAN может реализовать такую беспроводную технологию, как любой стандарт из семейства стандартов IEEE 802.11, Технологию Hiperlan и т.д. Сеть 140 WPAN обеспечивает зону покрытия связи для маленькой географической области. Сеть 140 WPAN может реализовать технологию Bluetooth, которая является беспроводной технологией ближнего действия, принятой как стандарт IEEE 802.15.The WLAN network 130 provides a communication coverage area for an average geographical area, such as for example a building, a house, etc. A WLAN 130 can implement wireless technology such as any standard in the IEEE 802.11 family of standards, Hiperlan technology, etc. The 140 WPAN network provides communications coverage for a small geographic area. The WPAN 140 may implement Bluetooth technology, which is short-range wireless technology adopted as the IEEE 802.15 standard.
Спутниковой системой 150 позиционирования может являться американская глобальная система позиционирования (GPS), российская система GLONASS, европейская система Galileo или какая-либо другая спутниковая система позиционирования. Система GPS представляет собой совокупность 24 спутников с хорошим разнесением плюс некоторые запасные спутники, которые находятся на околоземной орбите. Каждый спутник системы GPS передает кодированный сигнал, который позволяет приемникам на земле точно оценить свое местоположение на основе измерений для достаточного количества спутников (обычно четырех) и известных местоположений этих спутников. Системой 160 широковещания может являться система MediaFLO, система цифрового телевидения для карманных компьютеров (DVB-H), система цифрового вещания с интегрированными службами для наземного телевещания (ISDB-T), система цифрового вещания мультимедиа (DMB) или какая-либо другая система широковещания.The satellite positioning system 150 may be an American global positioning system (GPS), the Russian GLONASS system, the European Galileo system or some other satellite positioning system. The GPS system is a collection of 24 satellites with good diversity, plus some spare satellites in low Earth orbit. Each GPS satellite transmits a coded signal that allows the receivers on the ground to accurately determine their location based on measurements for a sufficient number of satellites (usually four) and the known locations of these satellites.
Устройство 110 беспроводной связи может являться стационарным или мобильным и также может называться мобильной станцией, пользовательским оборудованием, терминалом, станцией, абонентской установкой и т.д. Устройством 110 беспроводной связи может являться сотовый телефон, карманный компьютер (PDA), беспроводной модем, карманное устройство, переносной компьютер, беспроводной телефон и т.д. Как показано на фиг.1, устройство 110 беспроводной связи может двухсторонне взаимодействовать с базовыми станциями 122 в сети 120 WWAN, точкой 132 доступа в сети 130 WLAN и/или переносным телефоном 142 в сети 140 WPAN в любой заданный момент времени. Устройство 110 беспроводной связи также может принимать сигналы от спутников 152 в системе 150 SPS и/или станций 162 вещания в системе 160 широковещания в любой заданный момент времени. Устройство 110 беспроводной связи может обрабатывать принятый сигнал и/или формировать сигнал передачи для каждой системы на основе беспроводной технологии, используемой этой системой.The
Фиг.2 показывает блок-схему варианта выполнения устройства 110 беспроводной связи. В этом варианте устройство 110 беспроводной связи включает в себя приемопередатчик 214, имеющий приемник 220a и передатчик 230a для сети 120 WWAN, приемник 220b и передатчик 230b для сети 130 WLAN, приемник 220c и передатчик 230c для сети 140 WPAN, приемник 220d для сети 150 SPS и приемник 220e для системы 160 широковещания. Каждый приемник 220 может обрабатывать принятый сигнал для соответствующей системы и выдать входной сигнал основной полосы цифровому процессору 250. Каждый передатчик 230 может принимать выходной сигнал основной полосы от цифрового процессора 250 и формировать сигнал передачи для соответствующей системы. Модуль 212 переключателя антенн соединяет приемники 220a-220e и передатчики 230a-230c к антеннам 210a и 210b. Модуль 212 может включать в себя один или более переключателей, антенных переключателей, антенных разветвляющих устройств и т.д., чтобы направить принятые сигналы от антенн 210 к приемникам 220 и направить сигналы передачи от передатчиков 230 к антеннам 210. В общем случае устройство 110 беспроводной связи может включать в себя любое количество антенн, любое количество приемников и любое количество передатчиков для любого количества систем и частотных полос.2 shows a block diagram of an embodiment of a
Цифровой процессор 250 может включать в себя различные блоки обработки для передачи и приема данных и для осуществления других функций. Например, цифровой процессор 250 может включать в себя один или более процессоров цифровых сигналов (DSP), процессоров для компьютеров с сокращенным набором команд (RISC), центральных процессоров (CPU) и т.д. Контроллер/процессор 260 может управлять работой в устройстве 110 беспроводной связи. Память 262 может хранить программные коды и данные для устройства 110 беспроводной связи. Процессор 250, контроллер/процессор 260 и/или память 262 могут быть реализованы на одной или более специализированных интегральных схемах (ASIC) и/или других ИС.
Генератор 268 опорного сигнала формирует опорный сигнал, имеющий частоту fref, которая является относительно точной. Генератор 268 может представлять собой кварцевый генератор (XO), управляемый напряжением кварцевый генератор (VCXO), термокомпенсированный кварцевый генератор (TCXO), управляемый напряжением генератор TCXO (VC-TCXO) или генератор некоторого другого типа. Частотные синтезаторы 270 принимают опорный сигнал и формируют сигналы генератора колебаний. Генераторы 272 гетеродина принимают сигналы генератора колебаний от частотных синтезаторов 270 и формируют сигналы гетеродина для приемников 220 и передатчиков 230. Частотные синтезаторы 270 могут включать в себя любое количество систем фазовой автоматической подстройки для формирования любого количества сигналов генератора колебаний. Генератор 274 синхроимпульсов также принимает опорный сигнал и формирует синхроимпульсы для цифрового процессора 250, контроллера/процессора 260 и памяти 262. Все приемники 220a-220e, передатчики 230a-230c, генератор 268 колебаний, частотные синтезаторы 270 и/или генераторы 272 гетеродина или часть из них могут быть реализованы на одной или более радиочастотных интегральных схемах (RFIC), аналого-цифровых ИС, специализированных интегральных схемах (ASIC) и т.д.The
В общем случае передатчик или приемник могут быть реализованы с помощью архитектуры супергетеродина или архитектуры с прямым преобразованием. В архитектуре супергетеродина частота сигнала преобразуется между радиочастотой (RF) и основной полосой во множество этапов, например, из радиочастоты в промежуточную частоту (IF) на одном этапе и затем из промежуточной частоты в основную полосу на другом этапе для приемника. В архитектуре с прямым преобразованием, которая также называется архитектурой с нулевой промежуточной частотой (ZIF), частота сигнала преобразуется между радиочастотой и основной полосой за один этап. Архитектуры супергетеродина и с прямым преобразованием могут использовать разные блоки схемы и/или иметь разные требования.In general, a transmitter or receiver may be implemented using a superheterodyne architecture or a direct conversion architecture. In a superheterodyne architecture, a signal frequency is converted between a radio frequency (RF) and a base band in a plurality of steps, for example, from a radio frequency to an intermediate frequency (IF) in one step and then from an intermediate frequency to a base band in another step for the receiver. In direct conversion architecture, also called Zero Intermediate Frequency (ZIF) architecture, the signal frequency is converted between the radio frequency and the base band in a single step. Superheterodyne and direct conversion architectures may use different circuit blocks and / or have different requirements.
Каждая система может работать на одном или более частотных каналах в одной или более полосе частот. Частотный канал может также называться каналом CDMA, радиочастотным каналом и т.д. Для системы CDMA2000 каждый частотный канал имеет ширину полосы 1,23 МГц и центральную частоту, расположенную в 30 кГц дискретно, или с приращением. Для системы W-CDMA каждый частотный канал имеет ширину полосы 3,84 МГц и центральную частоту, расположенную в 200 кГц дискретно. Для системы GSM каждый частотный канал имеет ширину полосы 200 кГц и центральную частоту, расположенную в 200 кГц дискретно. Центральная частота и ширина полосы каждого частотного канала могут зависеть от системы.Each system can operate on one or more frequency channels in one or more frequency bands. A frequency channel may also be called a CDMA channel, a radio frequency channel, etc. For the CDMA2000 system, each frequency channel has a bandwidth of 1.23 MHz and a center frequency located at 30 kHz discrete or incremental. For a W-CDMA system, each frequency channel has a bandwidth of 3.84 MHz and a center frequency discrete at 200 kHz. For a GSM system, each frequency channel has a bandwidth of 200 kHz and a center frequency located at 200 kHz discretely. The center frequency and bandwidth of each frequency channel may vary by system.
Фиг.3 показывает блок-схему варианта выполнения приемника 220x с прямым преобразованием, который может использоваться для любого из приемников 220a-220e на фиг.2. В приемнике 220x усилитель 310 с низким уровнем шума (LNA) усиливает принятый сигнал VRX от модуля 212 переключателя антенн и выдает усиленный сигнал. Фильтр 312 фильтрует усиленный сигнал, чтобы пропустить сигнальные компоненты в интересующей полосе частот и удалить внеполосный шум и нежелательные сигналы. Микшер 314 преобразует с понижением частоты отфильтрованный сигнал с помощью сигнала VRX_LO гетеродина от генераторов 272 гетеродина и выдает сигнал, преобразованный с понижением частоты. Частота fRX_LO сигнала гетеродина выбирается таким образом, что полезный сигнал в выбранном частотном канале преобразуется с понижением частоты в основную полосу или почти в основную полосу.FIG. 3 shows a block diagram of an embodiment of a
Усилитель 316 с переменным усилением (VGA) усиливает сигнал, преобразованный с понижением частоты, с переменным усилением и выдает сигнал, имеющий желаемый уровень сигнала. Низкочастотный фильтр 318 фильтрует сигнал от усилителя 316 VGA, чтобы пропустить желаемый сигнал в выбранном частотном канале и удалить шум и нежелательные сигналы, которые могут формироваться процессом преобразования с понижением частоты. Усилитель 320 усиливает и буферизует сигнал от фильтра 318 и выдает входной сигнал VIN основной полосы цифровому процессору 250.A variable gain amplifier (VGA) 316 amplifies the downconverted signal with a variable gain and provides a signal having a desired signal level. The low-
Фиг.4 показывает блок-схему варианта выполнения супергетеродинного приемника 220y, который также может использоваться для любого из приемников 220a-220e на фиг.2. В приемнике 220y принятый сигнал VRX усиливается усилителем 410 LNA, фильтруется фильтром 412, и преобразуется с понижением частоты от радиочастоты до промежуточной частоты микшером 414 с помощью первого сигнала VRX_LO1 гетеродина от генераторов 272 гетеродина. Частота fRX_LO1 первого сигнала гетеродина может быть выбрана таким образом, что полезный сигнал в выбранном частотном канале преобразуется с понижением частоты до заданной промежуточной частоты.FIG. 4 shows a block diagram of an embodiment of a
Сигнал промежуточной частоты от микшера 414 усиливается усилителем 416 VGA, фильтруется фильтром 418 и преобразовывается с понижением частоты от промежуточной частоты до основной полосы или почти до основной полосы микшером 420 с помощью второго сигнала VRX_LO2 гетеродина от генераторов 272 гетеродина. Частота fRX_LO2 второго сигнала гетеродина зависит от промежуточной частоты. Сигнал, преобразованный с понижением частоты от микшера 420, фильтруется фильтром 422 и усиливается усилителем 424 для получения входного сигнала VIN основной полосы, который выдается цифровому процессору 250.The intermediate frequency signal from the
Фиг.5 показывает блок-схему варианта выполнения передатчика 230x с прямым преобразованием, который может использоваться для любого из передатчиков 230a-230c на фиг.2. В передатчике 230x выходной сигнал VOUT основной полосы усиливается усилителем 510, фильтруется низкочастотным фильтром 512, чтобы удалить отображенные сигналы, вызванные цифроаналоговым преобразованием, усиливается усилителем 514 VGA и преобразовывается с повышением частоты от основной полосы до радиочастоты микшером 516 с помощью сигнала VTX_LO гетеродина от генераторов 272 гетеродина. Сигнал, преобразованный с понижением частоты, фильтруется полосовым фильтром 518, чтобы удалить отображенные сигналы, вызванные преобразованием с повышением частоты, и далее усиливается усилителем 520 мощности (PA) для формирования сигнала VTX передачи.FIG. 5 shows a block diagram of an embodiment of a
Фиг.6 показывает блок-схему варианта выполнения супергетеродинного передатчика 230y, который также может использоваться для любого из передатчиков 230a-230c на фиг.2. В передатчике 230y выходной сигнал VOUT основной полосы усиливается усилителем 610, фильтруется низкочастотным фильтром 612, усиливается усилителем 614 VGA и преобразовывается с повышением частоты от основной полосы до промежуточной частоты микшером 616 с помощью первого сигнала VTX_LO1 гетеродина от генераторов 272 гетеродина. Сигнал промежуточной частоты фильтруется фильтром 618, усиливается усилителем 620 VGA и преобразовывается с повышением частоты от промежуточной частоты до радиочастоты микшером 622 с помощью второго сигнала VTX_LO2 гетеродина от генераторов 272 гетеродина. Сигнал, преобразованный с понижением частоты, фильтруется полосовым фильтром 624 и далее усиливается усилителем 626 мощности для формирования сигнала VTX передачи.FIG. 6 shows a block diagram of an embodiment of a
Фиг.3-6 показывают некоторые иллюстративные варианты выполнения передатчика и приемника. В общем случае обработка сигналов в передатчике или приемнике может выполняться одной или более цепями усилителя, фильтра, смесителя и т.д. Эти блоки схемы могут быть размещены отлично от конфигураций, показанных на фиг.3-6. Кроме того, другие блоки схемы, не показанные на фиг.3-6, могут использоваться для обработки сигналов в передатчике и приемнике. Некоторые блоки схемы на фиг.3-6 могут также быть опущены. Например, фильтры 312 и 412 на фиг.3 и 4 могут быть опущены, и выход усилителей LNA может быть соединен непосредственно с микшерами.Figures 3-6 show some illustrative embodiments of a transmitter and a receiver. In general, signal processing at a transmitter or receiver may be performed by one or more amplifier, filter, mixer, etc. circuits. These circuit blocks may be placed differently from the configurations shown in FIGS. 3-6. In addition, other circuit blocks not shown in FIGS. 3-6 can be used to process the signals at the transmitter and receiver. Some blocks of the circuit in FIGS. 3-6 may also be omitted. For example, filters 312 and 412 in FIGS. 3 and 4 can be omitted, and the output of the LNA amplifiers can be connected directly to the mixers.
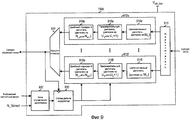
Фиг.7 показывает блок-схему варианта выполнения частотного синтезатора 700, который может использоваться для частотных синтезаторов 270 на фиг.2. Частотный синтезатор 700 включает в себя систему 702 фазовой автоматической подстройки частоты (ФАПЧ; PLL) и управляемый напряжением генератор 740 (VCO). VCO 740 формирует сигнал VCO, имеющий частоту fVCO, которая определяется управляющим сигналом VCTRL от фильтра 730 цепи обратной связи в системе 702 ФАПЧ.FIG. 7 shows a block diagram of an embodiment of a frequency synthesizer 700 that can be used for
В системе 702 ФАПЧ делитель 750 делит сигнал VCO по частоте с коэффициентом Rk и выдает сигнал обратной связи. В общем случае коэффициент Rk может иметь целочисленное или нецелочисленное значение и может быть определен, как описано ниже. Фазочастотный детектор 710 (PFD) принимает опорный сигнал от генератора 268 колебаний и сигнал обратной связи от делителя 750. Детектор 710 сравнивает фазы двух сигналов и выдает сигнал детектора, который указывает разность/ошибку фаз между двумя сигналами. Генератор 720 подкачки заряда генерирует сигнал ICP ошибки, который пропорционален обнаруженной ошибке фазы. Фильтр 730 контура фильтрует сигнал ошибки и выдает управляющий сигнал для VCO 740. Фильтр 730 контура корректирует управляющий сигнал таким образом, что фаза и частота сигнала обратной связи привязываются к фазе и частоте опорного сигнала. Фильтр 730 контура имеет частотную характеристику, которая может быть выбрана для достижения желаемой характеристики замкнутого контура для системы 702 ФАПЧ. Например, частотная характеристика фильтра 730 контура может быть выбрана на основе баланса между характеристикой нахождения и отслеживания и шумовой характеристикой.In the PLL system 702, a divider 750 divides the VCO signal in frequency with a factor R k and provides a feedback signal. In the general case, the coefficient R k may have an integer or non-integer value and may be determined as described below. A phase-frequency detector 710 (PFD) receives a reference signal from an
Генератор 760 гетеродина может использоваться для генераторов 272 гетеродина на фиг.2. Генератор 760 гетеродина может принимать сигнал VCO от VCO 740 и выдать сигнал гетеродина, имеющий частоту fLO. Генератор 760 гетеродина может включать в себя буфер, делитель, квадратурный сплиттер и т.д. В одном варианте VCO 740 работает на такой частоте гетеродина, что fVCO=fLO. В другом варианте VCO 740 работает на частоте в S раз большей частоты гетеродина, так что fVCO=S·fLO, и сигнал VCO может быть разделен по частоте на целочисленный коэффициент S для получения сигнала гетеродина.The local oscillator generator 760 may be used for the
Регулятор 770 напряжения может формировать напряжение питания VDD_VCO для VCO 740, напряжение питания VDD_DIV для делителя 750 и, возможно, другие напряжения питания для других элементов в частотном синтезаторе 700. В общем случае регулятор 770 напряжения может формировать любое количество напряжений питания для любого количества элементов в частотном синтезаторе 700.The voltage regulator 770 can generate a supply voltage V DD_VCO for VCO 740, a supply voltage V DD_DIV for a divider 750, and possibly other supply voltages for other elements in the frequency synthesizer 700. In general, the voltage regulator 770 can generate any number of supply voltages for any number elements in the frequency synthesizer 700.
Фиг.7 показывает иллюстративный вариант выполнения системы 702 ФАПЧ и частотного синтезатора 700. Система 702 ФАПЧ и частотный синтезатор 700 также могут включать в себя другие и/или дополнительные блоки. Каждый блок в системе 702 ФАПЧ может быть реализован с помощью цифровых схем, аналоговых схем или их комбинаций.7 shows an illustrative embodiment of a PLL system 702 and a frequency synthesizer 700. A PLL system 702 and a frequency synthesizer 700 may also include other and / or additional blocks. Each block in the PLL system 702 may be implemented using digital circuits, analog circuits, or combinations thereof.
В варианте, показанном на фиг.7, различные блоки в системе 702 ФАПЧ или частотного синтезатора 700 могут управляться на основе соответствующих управляющих сигналов для достижения хорошей рабочей характеристики. Управляющий сигнал PFD_Control может регулировать усиление фазочастотного детектора 710. Управляющий сигнал CP_Control может регулировать величину тока через источники 722a и 722b тока в генераторе 720 подкачки заряда, который изменил бы усиление генератора подкачки заряда. Управляющий сигнал LF_Control может регулировать значения компонентов схемы (например, конденсаторов) в фильтре 730 контура. Управляющий сигнал VCO_Control может регулировать значения компонентов схемы (например, конденсаторов) в VCO 740 для достижения желаемой частоты колебаний. Управляющий сигнал Divider_Control может выбирать подходящий общий коэффициент Rk делителя и определять конфигурацию делителя 750, как описано ниже. Управляющий сигнал VR_Control может устанавливать напряжения питания для VCO 740, делителя 750 и т.д. В общем случае частотный синтезатор может включать в себя один или более управляющих сигналов для одного или более блока в частотном синтезаторе. Частотный синтезатор может включать в себя все управляющие сигналы, показанные на фиг.7, или их подмножество, а также может включать в себя другие управляющие сигналы, не показанные на фиг.7.In the embodiment shown in FIG. 7, various blocks in the PLL system 702 or frequency synthesizer 700 may be controlled based on appropriate control signals to achieve good performance. The control signal PFD_Control can adjust the gain of the phase-frequency detector 710. The control signal CP_Control can adjust the amount of current through the current sources 722a and 722b in the charge pump generator 720, which would change the gain of the charge pump generator. The control signal LF_Control can adjust the values of the circuit components (eg, capacitors) in the loop filter 730. The control signal VCO_Control can adjust the values of the circuit components (e.g. capacitors) in the VCO 740 to achieve the desired oscillation frequency. The control signal Divider_Control can select a suitable common factor R k of the divider and determine the configuration of the divider 750, as described below. The VR_Control control signal can set the supply voltage for the VCO 740, divider 750, etc. In general, a frequency synthesizer may include one or more control signals for one or more blocks in a frequency synthesizer. The frequency synthesizer may include all control signals shown in FIG. 7, or a subset thereof, and may also include other control signals not shown in FIG. 7.
Фиг.7 показывает частотный синтезатор 700 и генератор 760 гетеродина для формирования одного сигнала VCO и одного сигнала гетеродина, соответственно. Множество частотных синтезаторов и множество генераторов 760 гетеродина могут использоваться для формирования множества сигналов VCO и множества сигналов гетеродина одновременно. Например, два частотных синтезатора 700 могут использоваться для формирования двух сигналов VCO, и два генератора гетеродина могут использоваться для формирования двух сигналов гетеродина на частотах fRX_LO1 и fRX_LO2 для супергетеродинного приемника 220y на фиг.4. Частота fRX_LO1 гетеродина может быть переменной и зависеть от выбранного частотного канала, тогда как частота fRX_LO2 гетеродина может находиться на фиксированной промежуточной частоте. В общем случае любое количество частотных синтезаторов 700 и любое количество генераторов 760 гетеродина могут использоваться для формирования любого количества сигналов VCO и любого количества сигналов гетеродина, которые могут быть предназначены для любого количества приемников и передатчиков.7 shows a frequency synthesizer 700 and a local oscillator 760 for generating one VCO signal and one local oscillator signal, respectively. A plurality of frequency synthesizers and a plurality of local oscillator generators 760 can be used to generate a plurality of VCO signals and a plurality of local oscillator signals simultaneously. For example, two frequency synthesizers 700 can be used to generate two VCO signals, and two local oscillators can be used to generate two local oscillator signals at frequencies f RX_LO1 and f RX_LO2 for
Частотный синтезатор 700 может поддерживать множество частотных каналов для одной или более систем и одной или более частотных полос. Каждый частотный канал имеет заданную центральную частоту. Частотным синтезатором 700 можно управлять для формирования надлежащего сигнала VCO, который может использоваться генератором 760 гетеродина для формирования сигнала гетеродина на надлежащей частоте и с желаемыми характеристиками для выбранного частотного канала. Например, желаемая частота fVCO VCO может быть получена посредством выбора надлежащего общего коэффициента Rk для делителя 750. Желаемые характеристики сигнала VCO могут быть получены посредством управления усилением фазочастотного детектора 710, величиной тока в генераторе 720 подкачки заряда, значениями компонентов фильтра 730 контура, конфигурацией делителя 750 и/или напряжения питания для VCO 740, делителя 750 и т.д.Frequency synthesizer 700 may support multiple frequency channels for one or more systems and one or more frequency bands. Each frequency channel has a predetermined center frequency. Frequency synthesizer 700 can be controlled to generate the proper VCO signal, which can be used by the local oscillator 760 to generate the local oscillator signal at the appropriate frequency and with the desired characteristics for the selected frequency channel. For example, the desired VCO frequency VCO VCO can be obtained by selecting the appropriate common factor R k for the divider 750. The desired characteristics of the VCO signal can be obtained by controlling the gain of the phase-frequency detector 710, the current value in the charge pump generator 720, the values of the components of the loop filter 730, configuration divider 750 and / or supply voltage for VCO 740, divider 750, etc.
Аналоговые и цифровые схемы в беспроводном устройстве 110 могут быть реализованы в непосредственной близости друг к другу. Например, аналоговые и цифровые схемы могут быть реализованы на одной и той же печатной плате или на одном и том же кристалле интегральной схемы (ИС). По мере улучшения технологии производства ИС можно будет конструировать высокочастотные аналоговые схемы (например, с частотой порядка ГГц) с помощью технологии комплементарных металлооксидных полупроводников (КМОП; CMOS), которая первоначально использовалась для цифровых схем. Тогда это может позволить интегрировать аналоговые и цифровые схемы на одном и том же кристалле ИС. Однако цифровые схемы обычно формируют много паразитных пиков, которые могут добавляться к аналоговым схемам через подложку и/или другие механизмы. Паразитные пики могут неблагоприятно воздействовать на рабочую характеристику аналоговых схем и мешать интегрировать аналоговые схемы с цифровыми схемами.The analog and digital circuits in the
Паразитные пики могут формироваться в пределах беспроводного устройства 110 по-разному. Паразитные пики могут формироваться посредством синхроимпульсов в пределах беспроводного устройства 110 и могут появиться в гармониках этих синхроимпульсов. Например, синхроимпульсы могут формироваться на основе опорного сигнала от генератора 268 колебаний, и паразитные пики в гармониках частоты fref могут устанавливаться в пределах беспроводного устройства 110. Синхроимпульсы с более высокими частотами (например, порядка сотен МГц) могут формироваться генератором 274 синхроимпульсов, и выдаваться цифровому микропроцессору 250 и другим цифровым схемам. Тогда паразитные пики могут присутствовать в гармониках синхроимпульсов с более высокими частотами. Паразитные пики также могут формироваться посредством смешивания гармоник синхроимпульсов и частот VCO. Например, паразитные пики могут формироваться на частотах fVCO±n·fref, где n - порядковый номер гармоники опорного сигнала. Если частота гетеродина получается посредством деления частоты VCO на коэффициент S, то паразитные пики могут формироваться на частотах fVCO/S±n·fref. Таким образом, беспроводное устройство 110 может иметь фиксированные паразитные пики на конкретных частотах (например, в гармониках синхроимпульсов), а также зависящие от каналов паразитные пики на частотах, определенных на основе частоты fVCO VCO и конфигурации системы ФАПЧ для выбранного частотного канала.Spurious peaks can be formed within the
Программированием частот называется программирование различных блоков в системе ФАПЧ или частотного синтезатора для получения желаемой частоты и характеристики для сигнала VCO. Система ФАПЧ может поддерживать множество частотных каналов и может быть запрограммирована аналогичным образом для всех поддерживаемых частотных каналов. Например, все частотные каналы могут иметь одинаковые настройки для всех блоков в системе ФАПЧ за исключением полного коэффициента Rk деления в делителе 750. В этом случае некоторые из поддерживаемых частотных каналов могут иметь чрезмерное ухудшение из-за паразитных пиков, в то время как другие частотные каналы могут не испытывать проблем паразитных пиков.Frequency programming refers to the programming of various blocks in the PLL system or frequency synthesizer to obtain the desired frequency and characteristics for the VCO signal. The PLL system can support multiple frequency channels and can be programmed in the same way for all supported frequency channels. For example, all frequency channels may have the same settings for all blocks in the PLL except for the full division coefficient R k in the divider 750. In this case, some of the supported frequency channels may have excessive degradation due to spurious peaks, while other frequency channels channels may not experience spurious peaks.
В аспекте изобретения может использоваться неоднородное программирование частот для устранения паразитных пиков или уменьшения уровней паразитных пиков для частотных каналов, поддерживаемых беспроводным устройством 110. При неоднородном программировании частот для разных частотных каналов могут использоваться разные настройки для блоков в системе ФАПЧ или частотного синтезатора. Подходящий набор настроек системы ФАПЧ может выбираться для каждого частотного канала таким образом, чтобы могли подавляться отрицательные воздействия вследствие паразитных пиков, и могла быть достигнута хорошая рабочая характеристика для частотного канала. Неоднородное программирование частот может быть поддержано с помощью одного или более из следующих средств:In an aspect of the invention, non-uniform frequency programming can be used to eliminate spurious peaks or reduce spurious peak levels for frequency channels supported by the
- Использование разных диапазонов полосы частоты контура ФАПЧ,- The use of different ranges of the frequency band of the PLL,
- Использование разных частотных уравнений,- The use of different frequency equations,
- Использование разных схем деления частоты,- The use of different frequency division schemes,
- Использование регулировки амплитуды сигнала в верхней или нижней части для архитектуры супергетеродина, и- Using signal amplitude adjustment at the top or bottom for superheterodyne architecture, and
- Использование разных напряжений питания для блоков в частотном синтезаторе.- The use of different supply voltages for blocks in the frequency synthesizer.
В аспекте изобретения ширина полосы контура ФАПЧ может быть отрегулирована на основе частотного размещения паразитных пиков. Система ФАПЧ может быть выполнена с возможностью иметь номинальную ширину полосы контура (например, порядка десятков кГц), которая может быть выбрана на основе баланса между характеристикой обнаружения и отслеживания и шумовой характеристикой. Если паразитные пики располагаются за пределами ширины полосы контура, то ширина полосы контура может быть уменьшена для достижения большего подавления паразитных пиков. Меньшая ширина полосы контура может быть получена посредством уменьшения усиления фазочастотного детектора 710, уменьшения величины тока от генератора 720 подкачки заряда, выбора большей конденсаторной емкости для фильтра 730 контура и т.д. И наоборот, если паразитные пики, расположенные в пределах ширины полосы контура, происходят вследствие непосредственного добавления паразитных пиков к VCO, то ширина полосы контура может быть увеличена для уменьшения внутриполосного усиления от VCO, что может затем уменьшить уровни паразитных пиков. Большая ширина полосы контура может быть получена посредством увеличения усиления фазочастотного детектора 710, увеличения величины тока от генератора 720 подкачки заряда, выбора меньшей конденсаторной емкости для фильтра 730 контура и т.д. Подходящая ширина полосы контура может быть выбрана для каждого частотного канала на основе паразитных пиков, наблюдаемых для этого частотного канала. Выбор ширины полосы контура может быть основан на компьютерном моделировании, эмпирических измерениях, полевых испытаниях и т.д.In an aspect of the invention, the PLL loop bandwidth can be adjusted based on the frequency placement of spurious peaks. The PLL system can be configured to have a nominal loop bandwidth (for example, of the order of tens of kHz), which can be selected based on the balance between the detection and tracking characteristic and the noise characteristic. If spurious peaks are located outside the bandwidth of the contour, then the width of the band of the contour can be reduced to achieve greater suppression of spurious peaks. A smaller loop bandwidth can be obtained by decreasing the gain of the phase-frequency detector 710, decreasing the current value from the charge pump generator 720, selecting a larger capacitor capacitance for the loop filter 730, etc. Conversely, if spurious peaks located within the bandwidth of the contour occur due to the direct addition of spurious peaks to the VCO, then the bandwidth of the contour can be increased to reduce in-band gain from the VCO, which can then reduce the levels of spurious peaks. A large loop bandwidth can be obtained by increasing the gain of the phase-frequency detector 710, increasing the current magnitude from the charge pump generator 720, selecting a smaller capacitor capacitance for the loop filter 730, etc. A suitable loop bandwidth can be selected for each frequency channel based on spurious peaks observed for that frequency channel. The choice of loop bandwidth can be based on computer simulation, empirical measurements, field trials, etc.
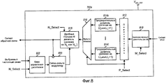
Фиг.8 показывает блок-схему делителя 750a, который представляет собой вариант выполнения делителя 750 в системе 702 ФАПЧ на фиг.7. В делителе 750a целочисленный делитель 810 делит сигнал VCO по частоте на целочисленный коэффициент Mk, который может быть равным 1, 2, 3, 4 и т.д. Коэффициент Mk делителя может быть конфигурируемым для частотного канала k и может выбираться посредством сигнала M_Select. Переключатель 812 направляет выходной сигнал делителя 810 на один из T предварительных делителей 814a-814t на основе сигнала P_Select, где T может являться любым целочисленным значением. Каждый предварительный делитель 814 может делить сигнал от делителя 810 по частоте либо на коэффициент U, либо на коэффициент U+1 в любой заданный момент, где U может быть разным для разных предварительных делителей. Например, предварительный делитель 814a может делить либо на 8, либо на 9 (для U1=8) и так далее, и предварительный делитель 814t может делить либо на 4, либо на 5 (для UT=4). Мультиплексор 816 направляет предварительно разделенный сигнал от выбранного предварительного делителя 814 к дробному делителю 818. Предварительно разделенный сигнал имеет частоту fPRE, которая может быть выражена как:FIG. 8 shows a block diagram of a
где fVCO - частота сигнала VCO, иwhere f VCO is the frequency of the VCO signal, and
Pk - коэффициент предварительного делителя, выбранного для частотного канала k.P k is the coefficient of the preliminary divider selected for the frequency channel k.
Сигнал VCO может использоваться генератором 760 гетеродина для формирования сигнала гетеродина на частоте гетеродина. Частота fLO гетеродина зависит от центральной частоты частотного канала k и может соответствовать частоте fRX_LO для сигнала VRX_LO гетеродина на фиг.3, частоте fRX_LO1 для сигнала VRX_LO1 гетеродина на фиг.4, частоте fTX_LO для сигнала VTX_LO гетеродина на фиг.5 или частоте fTX_LO2 для сигнала VTX_LO2 гетеродина на фиг.6.The VCO signal may be used by the local oscillator 760 to generate the local oscillator signal at the local oscillator frequency. The local oscillator frequency f LO depends on the center frequency of the frequency channel k and can correspond to the frequency f RX_LO for the local oscillator signal V RX_LO in FIG. 3, the frequency f RX_LO1 for the local oscillator signal V RX_LO1 in FIG. 4, the frequency f TX_LO for the local oscillator signal V TX_LO in FIG. .5 or frequency f TX_LO2 for the local oscillator signal V TX_LO2 in FIG. 6.
Коэффициент Pk предварительного делителя зависит от коэффициентов Uk и Uk+1 выбранного предварительного делителя, а также от того процента времени, когда используется каждый коэффициент делителя. Например, если выбранный предварительный делитель для частотного канала k делит на коэффициент Uk+1 для V из W циклов, и делит на коэффициент Uk для оставшихся W-V циклов, то коэффициент предварительного делителя может быть задан как Pk=Uk+V/W. Значения V и W могут быть фиксированными или могут зависеть от частотного канала k.The coefficient P k of the pre-divider depends on the coefficients U k and U k +1 of the selected pre-divider, as well as on the percentage of time when each coefficient of the divider is used. For example, if the selected preliminary divider for the frequency channel k divides by the coefficient U k +1 for V from W cycles, and divides by the coefficient U k for the remaining WV cycles, then the coefficient of the preliminary divider can be set as P k = U k + V / W. The values of V and W may be fixed or may depend on the frequency channel k.
Делитель 818 делит предварительно разделенный сигнал от мультиплексора 816 по частоте либо на целочисленный коэффициент NL, либо на целочисленный коэффициент NH на основе сигнала выбора делителя от сигма-дельта модулятора 830. Делитель 818 некоторую часть времени может делить на коэффициент NL, а в остальное время - на коэффициент NH для получения желаемой частоты для сигнала обратной связи.A
В одном варианте блок 832 управления делителем принимает выбранный частотный канал и определяет коэффициент Nk для делителя 818, который может быть выражен как:In one embodiment, the
Коэффициент Nk делителя для частотного канала k располагается между целочисленными значениями NL и NH, или NL≤Nk≤NH. Коэффициент Nk делителя может быть выражен на основе значений NL и NH следующим образом:The factor N k of the divider for the frequency channel k is between the integer values N L and N H , or N L ≤N k ≤N H. The factor N k of the divider can be expressed based on the values of N L and N H as follows:
где Frack - процент времени для использования коэффициента NH, и (1-Frack) - процент времени для использования коэффициента NL. Значение Frack может быть определено следующим образом:where Frac k is the percentage of time to use the coefficient N H , and (1-Frac k ) is the percentage of time to use the coefficient N L. The value of Frac k can be determined as follows:
Например, если Nk=NH, то Frack=1, коэффициент NH используется все время, и коэффициент NL не используется.For example, if N k = N H , then Frac k = 1, the coefficient N H is used all the time, and the coefficient N L is not used.
Блок 832 управления делителем может принимать сигнал N_Select, который указывает значения коэффициентов NL и NH для частотного канала k. Блок 832 может определять значение Frack, как показано в уравнении (4), и затем квантовать значение Frack до L битов. Значение L может выбираться для достижения желаемого разрешения по частоте и может быть равным 10, 16, 23 и т.д. Блок 832 выдает состоящее из L битов значение Frack сигма-дельта модулятору 830.
Сигма-дельта модулятор 830 принимает состоящее из L битов значение Frack и формирует сигнал выбора делителя для делителя 818. В одном варианте сигнал выбора делителя представляет собой 1-битовый управляющий сигнал, который дает команду делителю 818 выполнять деление либо с коэффициентом NL, либо с коэффициентом NH. Например, низкий логический уровень ('0') в сигнале выбора делителя может соответствовать делению на коэффициент NL, и высокий логический уровень ('1') в сигнале выбора делителя может соответствовать делению на коэффициент NH. Процент единиц в сигнале выбора делителя определяется с помощью значения Frack. Однако единицы распределены в сигнале выбора делителя таким образом, что шум квантования смещается к более высоким частотам, и достигается хорошая характеристика фазового шума для сигнала VCO от VCO 740. Фиг.8 показывает использование сигма-дельта модулятора 830 для выбора между коэффициентами NL и NH для делителя 818. Выбор коэффициента NL или NH для делителя 818 также может быть сделан другими способами.The sigma-
Фиг.9 показывает блок-схему делителя 750b, который представляет собой другой образец делителя 750 в системе 702 ФАПЧ на фиг.7. В делителе 750b переключатель 910 направляет сигнал VCO к одной из T цепей 912a-912t делителей. Каждая цепь 912 делителей включает в себя целочисленный делитель 914, который делит на целочисленное значение M предварительный делитель 916, который делит либо на коэффициент U, либо на коэффициент U+1, и дробный порядка-N делитель 918, который делит либо на коэффициент NL, либо на коэффициент NH. Мультиплексор 920 выдает сигнал от выбранной цепи 912 делителей как сигнал обратной связи.FIG. 9 shows a block diagram of a
В одном варианте коэффициент Pk предварительного делителя и коэффициент Nk делителя для частотного канала k могут быть совместно определены следующим образом:In one embodiment, the pre-divider coefficient P k and the divider coefficient N k for the frequency channel k can be jointly determined as follows:
где Zk - объединенный коэффициент делителя и для предварительного делителя 916, и для дробного делителя 918 в выбранной цепи 912 делителей для частотного канала k. Коэффициент Zk может находиться между целочисленными значениями ZL и ZH, или ZL≤Zk<ZH. Значение ZL может быть определено как ZL=NL+Uk, и значение ZH может быть определено как ZH=NH+Uk+1. Значения ZL и ZH могут также быть определены другими способами.where Z k is the combined divider coefficient for both the preliminary divider 916 and the fractional divider 918 in the selected chain of 912 dividers for the frequency channel k. The coefficient Z k can be between the integer values Z L and Z H , or Z L ≤Z k <Z H. The value of Z L can be defined as Z L = N L + U k , and the value of Z H can be defined as Z H = N H + U k +1. The values of Z L and Z H can also be determined in other ways.
Объединенный коэффициент Zk делителя может быть выражен на основе значений ZL и ZH следующим образом:The combined divider coefficient Z k may be expressed based on the values of Z L and Z H as follows:
где Frack - процент времени использования коэффициента ZH, и (1-Frack) - процент времени использования коэффициента ZL. Значение Frack может быть определено следующим образом:where Frac k is the percentage of time using the coefficient Z H , and (1-Frac k ) is the percentage of time using the coefficient Z L. The value of Frac k can be determined as follows:
Блок 932 управления делителем может принимать частотный канал и сигнал N_Select для частотного канала k. Блок 932 может определять значение Frack, как показано в уравнении (7), и затем квантовать Frack до L битов. Сигма-дельта модулятор 930 может принимать состоящее из L битов значение Frack от блока 930 и формировать сигнал выбора делителя как для предварительного делителя 916, так и для делителя 918 в выбранной цепи 912 делителей.The
Фиг.8 и 9 показывают два иллюстративных варианта выполнения делителя 750. В общем случае делитель 750 может быть реализован с помощью различных конфигураций, имеющих фиксированный или конфигурируемый целочисленный делитель, фиксированный или конфигурируемый предварительный делитель и фиксированный или конфигурируемый дробный порядка-N делитель. Целочисленный делитель, предварительный делитель и дробный порядка-N делитель для каждого частотного канала могут управляться совместно или отдельно.8 and 9 show two illustrative embodiments of the divider 750. In general, the divider 750 may be implemented using various configurations having a fixed or configurable integer divider, a fixed or configurable pre-divider, and a fixed or configurable fractional order-N divider. The integer divider, pre-divider and fractional order-N divider for each frequency channel can be controlled jointly or separately.
В другом аспекте множество частотных уравнений может быть определено для каждого поддерживаемого частотного канала. При объединении уравнений (1)-(3) частотное уравнение может быть выражено как:In another aspect, a plurality of frequency equations may be determined for each supported frequency channel. When combining equations (1) - (3), the frequency equation can be expressed as:
Аналогичным образом, при объединении уравнений (5) и (6) частотное уравнение может быть выражено как:Similarly, when combining equations (5) and (6), the frequency equation can be expressed as:
Множество частотных уравнений может быть определено для каждого частотного канала с помощью разных наборов значений для коэффициентов NL и NH в уравнении (8), или разных наборов значений для коэффициентов ZL и ZH в уравнении (9). В одном варианте, если N=, где - оператор нижней целой части числа, то первое частотное уравнение может быть задано с помощью коэффициентов NL=N и NH=N+1, второе частотное уравнение может быть задано с помощью коэффициентов NL=N и NH=N+2, третье частотное уравнение может быть задано с помощью коэффициентов NL=N-1 и NH=N+1, четвертое частотное уравнение может быть задано с помощью коэффициентов NL=N-1 и NH=N+2 и т.д. Как пример, если Nk=8.7 для варианта на фиг.8, то N=8, и первое частотное уравнение может быть задано с помощью делителя 818, выполняющего деление на 8 или 9, второе частотное уравнение может быть задано с помощью делителя 818, выполняющего деление либо на 8, либо на 10, третье частотное уравнение может быть задано с помощью делителя 818, выполняющего деление либо на 7, либо на 10, и четвертое частотное уравнение может быть задано с помощью делителя 818, выполняющего деление либо на 7, либо на 11. В общем случае разные частотные уравнения могут быть заданы для разных значений разности между значениями NL и NH или Δ=NH-NL, где согласно описанному выше варианту Δ = 1, 2, 3 и 4. Для каждого частотного уравнения процент времени деления на NL и процент времени деления на NH определяется посредством значения Frack, которое зависит от отношения коэффициента Nk делителя, а также от значений NL и NH. Значения NL и NH для выбранного частотного канала могут быть обозначены посредством сигнала N_Select, который может быть выдан блоку 832 и делителю 818.The set of frequency equations can be determined for each frequency channel using different sets of values for the coefficients N L and N H in equation (8), or different sets of values for the coefficients Z L and Z H in equation (9). In one embodiment, if N = where is the operator of the lower integer part of the number, then the first frequency equation can be set using the coefficients N L = N and N H = N + 1, the second frequency equation can be set using the coefficients N L = N and N H = N + 2, the third frequency equation can be set using the coefficients N L = N-1 and N H = N + 1, the fourth frequency equation can be set using the coefficients N L = N-1 and N H = N + 2, etc. As an example, if N k = 8.7 for the embodiment of FIG. 8, then N = 8, and the first frequency equation can be defined using a
В другом варианте сигма-дельта модулятор 830 или 930 принимает состоящее из L битов значение Frack от блока 832 или 932 управления делителем и формирует состоящий из Q битов сигнал выбора делителя для делителя 818 или 918, где Q может являться любым целочисленным значением, большим единицы. Делитель 818 или 918 может делить предварительно разделенный сигнал на один из 2Q возможных целочисленных коэффициентов делителя, как определено состоящим из Q битов сигналом выбора делителя. Разные частотные уравнения могут быть определены для разных значений Q. Разные частотные уравнения также могут быть определены другими способами.In another embodiment, the sigma-
Разные частотные уравнения могут обеспечить отличающуюся рабочую характеристику относительно паразитных пиков. В одном варианте одно частотное уравнение (например, с Δ=1) может использоваться как заданное по умолчанию частотное уравнение. Для каждого частотного канала, обнаруживающего чрезмерное ухудшение из-за паразитных пиков при заданном по умолчанию частотном уравнении, может быть оценено каждое из остальных частотных уравнений. Для частотного канала может выбираться частотное уравнение, которое обеспечивает наилучшую рабочую характеристику относительно паразитных пиков и, возможно, исходя из других факторов. Рабочая характеристика может быть определена количественно посредством различных показателей, таких как отношение сигнала к шуму (SNR), амплитуда вектора ошибок (EVM), частота ошибок по битам (BER), частота ошибок по пакетам (PER) и т.д. Показатель EVM представляет собой показатель амплитудных и фазовых погрешностей символов модуляции вследствие ошибок в переданном сигнале гетеродина, причем ошибки могут возникать из-за паразитных пиков. В общем случае фазовый шум сигнала гетеродина может быть хуже для больших значений Δ на некоторых частотах смещения, но улучшение вследствие уменьшения паразитных пиков может более чем сместить ухудшение в фазовом шуме и может улучшить рабочую характеристику.Different frequency equations may provide different performance with respect to spurious peaks. In one embodiment, a single frequency equation (e.g., with Δ = 1) can be used as the default frequency equation. For each frequency channel that detects excessive degradation due to spurious peaks at the default frequency equation, each of the other frequency equations can be estimated. For the frequency channel, a frequency equation can be selected that provides the best performance with respect to spurious peaks and possibly based on other factors. The performance can be quantified by various indicators, such as signal-to-noise ratio (SNR), error vector amplitude (EVM), bit error rate (BER), packet error rate (PER), etc. The EVM is an indication of the amplitude and phase errors of the modulation symbols due to errors in the transmitted local oscillator signal, and errors can occur due to spurious peaks. In general, the phase noise of the local oscillator signal may be worse for large Δ values at some bias frequencies, but an improvement due to the reduction of spurious peaks can more than offset the deterioration in phase noise and can improve performance.
В еще одном аспекте могут быть доступны разные схемы деления частоты, и подходящая схема деления частоты может выбираться для каждого частотного канала. Схема деления частоты включает в себя конкретное значение для каждого коэффициента делителя, используемого для деления сигнала VCO по частоте. В вариантах, показанных на фиг.8 и 9, общий коэффициент Rk делителя для частотного канала k может быть выражен как:In yet another aspect, different frequency division schemes may be available, and a suitable frequency division scheme may be selected for each frequency channel. The frequency division circuit includes a specific value for each divider coefficient used to divide the VCO signal in frequency. In the embodiments shown in FIGS. 8 and 9, the overall divider coefficient R k for the frequency channel k can be expressed as:
Схема деления частоты задается посредством конкретного значения для каждого из коэффициентов Mk, Pk и Nk делителя. Разные схемы деления частоты могут быть заданы с помощью разных наборов значений для коэффициентов Mk, Pk и Nk для заданного значения Rk. В одном варианте T разных схем деления частоты могут быть заданы с помощью T коэффициентов P1-PT предварительного делителя. Коэффициент Nk может быть соответствующим образом изменен для каждого коэффициента предварительного делителя. В качестве примера, для заданной частоты fVCO VCO коэффициенты предварительного делителя 8/9 и 4/5 приводят к разным частотам fPRE сигнала с предварительным делением, которые, в свою очередь, приводят к разным коэффициентам Nk делителя. В другом варианте разные схемы деления частоты могут быть заданы с помощью разных коэффициентов Mk целочисленного делителя. Большее значение Mk приводит к тому, что выбранный предварительный делитель работает на более низкой частоте, что может сэкономить мощность. В общем случае разные схемы деления частоты могут быть заданы для частотного канала k с помощью разных значений Pk и/или разных значений Mk. Для каждого набора значений Pk и Mk значения Nk могут выбираться для получения желаемого общего коэффициента Rk делителя для частотного канала k.The frequency division scheme is set by means of a specific value for each of the coefficients M k , P k and N k of the divider. Different frequency division schemes can be specified using different sets of values for the coefficients M k , P k and N k for a given value of R k . In one embodiment, T different frequency division schemes may be set using T coefficients P 1 -P T of the pre-divider. The coefficient N k can be appropriately changed for each coefficient of the preliminary divider. As an example, for a given frequency f VCO VCO, the coefficients of the preliminary divider 8/9 and 4/5 lead to different frequencies f PRE of the signal with preliminary division, which, in turn, lead to different coefficients N k of the divider. In another embodiment, different frequency division schemes may be defined using different coefficients M k of an integer divider. A larger value of M k leads to the fact that the selected pre-divider operates at a lower frequency, which can save power. In the general case, different frequency division schemes can be defined for the frequency channel k using different values of P k and / or different values of M k . For each set of values of P k and M k, the values of N k can be selected to obtain the desired common divider coefficient R k for the frequency channel k.
Разные схемы деления частоты могут иметь разные паразитные пики и/или разные уровни паразитных пиков. Схема деления частоты может выбираться для каждого частотного канала для достижения хорошей рабочей характеристики для этого частотного канала. В одном варианте для коэффициентов Pk и Mk может использоваться набор значений по умолчанию. Для каждого частотного канала, обнаруживающего чрезмерное ухудшение из-за паразитных пиков при заданном по умолчанию множестве значений для коэффициентов Pk и Mk, могут быть оценены другие возможные наборы значений для коэффициентов Pk и Mk. Для частотного канала может выбираться схема деления частоты, которая обеспечивает хорошую рабочую характеристику (например, самые низкие уровни паразитных пиков).Different frequency division schemes may have different spurious peaks and / or different levels of spurious peaks. A frequency division circuit may be selected for each frequency channel to achieve good performance for that frequency channel. In one embodiment, a set of default values may be used for the coefficients P k and M k . For each frequency channel detecting excessive degradation due to spurious peaks at a default set of values for the coefficients P k and M k , other possible sets of values for the coefficients P k and M k can be estimated. For the frequency channel, a frequency division circuit can be selected that provides good performance (for example, the lowest levels of spurious peaks).
В еще одном аспекте для предотвращения паразитных пиков для преобразования частоты в супергетеродинном приемнике или передатчике могут использоваться либо сигнал гетеродина с более высокой частотой, либо сигнал гетеродина с более низкой частотой. Для супергетеродинного приемника 220y на фиг.4 принятый сигнал может быть преобразован с понижением частоты из радиочастоты в промежуточную частоту посредством смесителя 414 с помощью сигнала VRX_LO1 гетеродина. Частота этого сигнала гетеродина будет выше, чем у выбранного частотного канала для регулировки амплитуды сигнала в верхней части, и ниже, чем у выбранного частотного канала для регулировки амплитуды сигнала в нижней части. Частота сигнала гетеродина для регулировки амплитуды сигнала в верхней или нижней части может быть выражена как:In yet another aspect, either a higher frequency oscillator signal or a lower frequency local oscillator signal may be used to prevent spurious peaks for frequency conversion in a superheterodyne receiver or transmitter. For the
где fIF - промежуточная частота,where f IF is the intermediate frequency,
fCH - центральная частота выбранного частотного канала,f CH is the center frequency of the selected frequency channel,
fRX_LO1_HS - частота гетеродина для регулировки амплитуды сигнала в верхней части, иf RX_LO1_HS is the local oscillator frequency for adjusting the amplitude of the signal in the upper part, and
fRX_LO1_LS - частота гетеродина для регулировки амплитуды сигнала в нижней части.f RX_LO1_LS - local oscillator frequency for adjusting the signal amplitude in the lower part.
Сигналы гетеродина в верхней и нижней частях (по частоте) могут быть получены посредством выбора соответствующих значений для общего коэффициента Rk делителя. Для каждого частотного канала уровни паразитных пиков с сигналом гетеродина в верхней части могут быть сравнены с уровнями паразитных пиков с сигналом гетеродина в нижней части. И для частотного канала может выбираться сигнал гетеродина с более низкими уровнями паразитных пиков.The local oscillator signals in the upper and lower parts (in frequency) can be obtained by selecting the appropriate values for the total divider coefficient R k . For each frequency channel, the levels of spurious peaks with the local oscillator signal in the upper part can be compared with the levels of spurious peaks with the local oscillator signal in the lower part. And for the frequency channel, a local oscillator signal with lower levels of spurious peaks can be selected.
В еще одном аспекте могут быть использованы разные напряжения питания для VCO 740, делителя 750 и/или других блоков системы 700 ФАПЧ для подавления отрицательных воздействий паразитных пиков. VCO 740 может работать на одном из множества возможных напряжений питания, например, 1,8 В, 2,0 В, 2,2 В и т.д. Низкое напряжение питания может сэкономить мощность, тогда как высокое напряжение питания может увеличить размах сигнала VCO. Система может иметь строгие технические требования на некоторых частотах смещения, например 400 кГц и 1,8 МГц для системы GSM. Когда большие паразитные пики располагаются далеко от ширины полосы контура ФАПЧ, регулировка ширины полосы контура ФАПЧ может оказывать критическое влияние. Вместо этого увеличение напряжения питания для VCO 740 может увеличить размах сигнала VCO, что может затем заострить края перехода сигнала VCO и уменьшить эффекты, вызванные паразитными пиками. Большее напряжение питания VCO может использоваться при необходимости, например, когда паразитные пики достаточно высокого уровня располагаются в пределах диапазонов частоты со строгими техническими требованиями. Более низкое напряжение питания VCO может использоваться в других сценариях для экономии мощности. В общем случае размах сигнала VCO может быть отрегулирован посредством регулировки напряжения питания VCO, тока смещения VCO, резистора в цепи смещения с фиксированным напряжением питания VCO и т.д. или посредством любой комбинации этих регулировок.In yet another aspect, different supply voltages for the VCO 740, divider 750, and / or other blocks of the PLL system 700 can be used to suppress the negative effects of spurious peaks. The VCO 740 can operate at one of many possible supply voltages, such as 1.8 V, 2.0 V, 2.2 V, etc. A low supply voltage can save power, while a high supply voltage can increase the VCO signal span. The system may have strict technical requirements at certain offset frequencies, for example 400 kHz and 1.8 MHz for the GSM system. When large spurious peaks are located far from the PLL loop bandwidth, adjusting the PLL loop bandwidth can have a critical effect. Instead, increasing the supply voltage for the VCO 740 can increase the span of the VCO signal, which can then sharpen the transition edges of the VCO signal and reduce the effects caused by spurious peaks. A higher VCO supply voltage can be used if necessary, for example, when stray peaks of a sufficiently high level are located within frequency ranges with strict technical requirements. A lower VCO supply voltage can be used in other scenarios to save power. In general, the span of a VCO signal can be adjusted by adjusting the VCO supply voltage, VCO bias current, a resistor in a bias circuit with a fixed VCO supply voltage, etc. or through any combination of these adjustments.
Весь делитель 750, или его часть, может работать на одном из множества возможных напряжений питания. Целочисленный делитель, предварительный делитель, дробный порядка-N делитель, сигма-дельта модулятор и/или блок управления делителем могут являться источниками больших паразитных пиков. Для каждого блока, который может являться источником больших паразитных пиков, можно управлять напряжением питания для уменьшения величины паразитных пиков, сформированных этим блоком. Переменные напряжения питания могут быть приложены к целочисленному делителю, предварительному делителю, дробному порядка-N делителю, сигма-дельта модулятору, блоку управления делителем или к любой их комбинации. Переменные напряжения питания могут зависеть от выбранного частотного канала.All or part of the divider 750 may operate on one of the many possible supply voltages. An integer divider, pre-divider, fractional order-N divider, sigma-delta modulator and / or divider control unit may be sources of large spurious peaks. For each block that can be the source of large spurious peaks, one can control the supply voltage to reduce the spurious peaks generated by this block. Variable supply voltages can be applied to an integer divider, pre-divider, fractional order-N divider, sigma-delta modulator, divider control unit, or to any combination thereof. Variable supply voltages may depend on the selected frequency channel.
Фиг.10 показывает вариант таблицы 1000 настроек системы ФАПЧ для разных частотных каналов с неоднородным программированием частот. Таблица 1000 может быть формирована для всех частотных каналов, поддерживаемых беспроводным устройством 110, и может включать в себя одну запись или строку для каждого поддерживаемого частотного канала. Частотный канал может быть предназначен для нисходящей линии связи (приемник) или для восходящей линии связи (передатчик), в зависимости от конкретной системы. Таблица 1000 также может включать в себя столбцы для различных настроек системы ФАПЧ, которые могут быть предназначены для блоков схемы в системе ФАПЧ, а также блоков схемы (например, VCO), внешних по отношению к системе ФАПЧ. В варианте, показанном на фиг.10, таблица 100 включает в себя один столбец для ширины полосы контура ФАПЧ, один столбец для частотного уравнения (например, коэффициентов NL и NH, как показано в таблице 1000, или коэффициентов ZL и ZH делителя), один столбец для схемы деления частоты (например, коэффициентов Mk и Pk делителя), один столбец для указания регулировки амплитуды сигнала в верхней или нижней части, один столбец для общего коэффициента Rk делителя и один столбец для напряжения питания VCO. Для каждого частотного канала в каждом столбце может выбираться подходящее значение для параметра (параметров) для достижения хорошей рабочей характеристики для этого частотного канала. Для каждого частотного канала желаемая ширина полосы контура ФАПЧ может быть получена через сигнал PDF_Control для фазочастотного детектора 710, сигнал CP_Control для генератора 720 подкачки заряда и/или сигнал LF_Control для фильтра 730 контура.10 shows an embodiment of a PLL system tuning table 1000 for different frequency channels with non-uniform frequency programming. Table 1000 may be configured for all frequency channels supported by
Для каждого частотного канала общий коэффициент Rk делителя может выбираться для получения желаемой частоты гетеродина. Для супергетеродинного приемника или передатчика коэффициент Rk также может выбираться на основе того, выбрана ли регулировка амплитуды гетеродина в верхней или нижней части для частотного канала. Для каждого частотного канала коэффициенты NL и NH (или ZL и ZH) делителей могут быть получены на основе частотного уравнения, выбранного для этого частотного канала из числа всех доступных частотных уравнений. Для каждого частотного канала коэффициенты Pk и/или Mk делителей могут быть получены на основе схемы деления частоты, выбранной для этого частотного канала из числа всех доступных схем деления частоты. Значения NL, NH, Pk и Mk могут быть выданы делителю 750 через сигнал Divider_Control. Для каждого частотного канала напряжение питания VCO может выбираться из множества доступных напряжений питания, и выбранное напряжение питания может быть указано посредством сигнала VR_Control.For each frequency channel, the overall divider factor R k may be selected to obtain the desired local oscillator frequency. For a superheterodyne receiver or transmitter, the coefficient R k can also be selected based on whether the local oscillator amplitude control is selected at the top or bottom for the frequency channel. For each frequency channel, the coefficients N L and N H (or Z L and Z H ) of the dividers can be obtained based on the frequency equation selected for this frequency channel from among all available frequency equations. For each frequency channel, the coefficients P k and / or M k of the dividers can be obtained based on the frequency division scheme selected for this frequency channel from among all available frequency division schemes. The values of N L , N H , P k and M k can be provided to the divider 750 through the signal Divider_Control. For each frequency channel, the VCO supply voltage can be selected from the set of available supply voltages, and the selected supply voltage can be indicated by the VR_Control signal.
Фиг.10 показывает вариант таблицы, которая может использоваться для хранения настроек системы ФАПЧ для разных частотных каналов с неоднородным программированием частот. Столбец с более низкой или более высокой частотой гетеродина и столбец с общим коэффициентом делителя могут быть опущены, поскольку информация в этих столбцах может быть включена в коэффициенты NL, NH, Pk и Mk. В общем случае настройки системы ФАПЧ для поддерживаемых частотных каналов могут быть также сохранены с использованием любой структуры данных.Figure 10 shows a variant of a table that can be used to store PLL settings for different frequency channels with non-uniform frequency programming. A column with a lower or higher local oscillator frequency and a column with a common divisor coefficient may be omitted, since the information in these columns can be included in the coefficients N L , N H , P k and M k . In general, the PLL system settings for the supported frequency channels can also be stored using any data structure.
Фиг.11 показывает вариант процесса 1100 для формирования сигнала генератора колебаний, например сигнала VCO. Частотный канал может выбираться из множества частотных каналов (этап 1112). Каждому частотному каналу может соответствовать набор настроек системы ФАПЧ для по меньшей мере одного параметра в дополнение к общему коэффициенту Rk делителя, который может быть, по своей природе, разным для разных частотных каналов. Множеству частотных каналов могут соответствовать по меньшей мере два разных набора настроек системы ФАПЧ. Набор настроек системы ФАПЧ для выбранного частотного канала может быть определен, например, из таблицы программирования частоты, такой как таблица 1000 на фиг.10 (этап 1114). Сигнал генератора колебаний для выбранного частотного канала может быть сформирован на основе набора настроек системы ФАПЧ (этап 1116).11 shows an embodiment of a
Набор настроек системы ФАПЧ для выбранного частотного канала может содержать настройку, выбирающую один из множества диапазонов ширины полосы контура ФАПЧ. Один или более блоков в системе ФАПЧ могут настраиваться для достижения некоторой ширины полосы контура ФАПЧ для выбранного частотного канала. Набор настроек системы ФАПЧ для выбранного частотного канала может содержать настройку, выбирающую одну из множества величин тока генератора подкачки заряда. Управляющий сигнал для VCO может быть сформирован на основе величины тока генератора подкачки зарядов для выбранного частотного канала.The PLL system settings for the selected frequency channel may include a setting that selects one of the many PLL loop bandwidth ranges. One or more blocks in the PLL system can be tuned to achieve a certain PLL loop bandwidth for the selected frequency channel. The set of PLL settings for the selected frequency channel may include a setting that selects one of the many current values of the charge pump generator. The control signal for VCO can be generated based on the current value of the charge pump generator for the selected frequency channel.
Набор настроек системы ФАПЧ для выбранного частотного канала может содержать настройку делителя, выбирающую одно из множества частотных уравнений, которым могут соответствовать разные наборы высоких и низких коэффициентов делителя. Делитель может быть запрограммирован с помощью набора высоких и низких коэффициентов делителя для выбранного частотного канала. Делитель затем может делить сигнал генератора колебаний по частоте на основе этого набора высоких и низких коэффициентов делителя.The set of PLL settings for the selected frequency channel may include a divider setting that selects one of the many frequency equations that different sets of high and low divider coefficients can correspond to. The divider can be programmed using a set of high and low divider coefficients for the selected frequency channel. The divider can then divide the frequency generator signal based on this set of high and low divider coefficients.
Набор настроек системы ФАПЧ для выбранного частотного канала может содержать настройку частотного деления, выбирающую одну из множества схем деления частоты для деления сигнала генератора колебаний по частоте. Множеству схем деления частоты могут соответствовать разные коэффициенты предварительного делителя, разные коэффициенты целочисленного делителя и т.д. Сигнал генератора колебаний может быть разделен по частоте на основе коэффициента предварительного делителя и/или коэффициента целочисленного делителя для выбранного частотного канала.The PLL system settings for the selected frequency channel may include a frequency division setting that selects one of the many frequency division schemes for dividing the signal of the oscillation generator by frequency. Many frequency division schemes may correspond to different coefficients of the preliminary divider, different coefficients of the integer divider, etc. The signal of the oscillation generator can be divided by frequency based on the coefficient of the preliminary divider and / or the coefficient of the integer divider for the selected frequency channel.
Набор настроек системы ФАПЧ для выбранного частотного канала может содержать настройку, выбирающую регулировку амплитуды сигнала либо в верхней, либо в нижней части для сигнала гетеродина, который может быть сформирован на основе сигнала генератора колебаний. Сигнал гетеродина может быть сформирован на частоте выше, чем у выбранного частотного канала, если выбрана регулировка амплитуды сигнала в верхней части, или на частоте ниже, чем у выбранного частотного канала, если выбрана регулировка амплитуды сигнала в нижней части.The set of PLL settings for the selected frequency channel may include a setting that selects the adjustment of the signal amplitude at either the top or bottom for the local oscillator signal, which can be generated based on the signal from the oscillation generator. The local oscillator signal can be generated at a frequency higher than that of the selected frequency channel if the signal amplitude control at the top is selected, or at a frequency lower than that of the selected frequency channel if the signal amplitude control at the bottom is selected.
Набор настроек системы ФАПЧ для выбранного частотного канала может содержать настройку, выбирающую одно из множества напряжений питания для блока схемы, такого как VCO, делитель и т.д. Напряжение питания, выбранное для выбранного частотного канала, может быть сформировано и применено к некоторому блоку схемы. Набор настроек системы ФАПЧ для выбранного частотного канала может содержать настройку для управления током смещения для блока схемы. Управление током смещения, выбранное для выбранного частотного канала, может быть сформировано и применено к блоку схемы. В общем случае настройка системы ФАПЧ может выбирать одну из множества схем смещения для блока схемы, и множество схем смещения могут соответствовать разным напряжениям питания и/или разным токам смещения для блока схемы.The set of PLL settings for the selected frequency channel may contain a setting that selects one of the many supply voltages for the circuit block, such as VCO, divider, etc. The supply voltage selected for the selected frequency channel can be generated and applied to some block of the circuit. The set of PLL settings for the selected frequency channel may include a setting for controlling the bias current for the block circuit. The bias current control selected for the selected frequency channel can be generated and applied to the block circuit. In general, tuning a PLL system may select one of a plurality of bias circuits for a circuit block, and a plurality of bias circuits may correspond to different supply voltages and / or different bias currents for the circuit block.
Также могут существовать наборы настроек системы ФАПЧ для других и/или дополнительных параметров для множества частотных каналов.There may also be sets of PLL settings for other and / or additional parameters for multiple frequency channels.
Описанные здесь методы формирования сигнала генератора колебаний могут обеспечить некоторые преимущества. Во-первых, при использовании разных настроек системы ФАПЧ для разных частотных каналов могут подавляться отрицательные воздействия, вызванные паразитными пиками, и может быть достигнута хорошая рабочая характеристика для каждого частотного канала. Во-вторых, эти методы могут позволить интегрировать цифровые и аналоговые схемы на одном и том же кристалле ИС, что может уменьшить стоимость, размер устройств и т.д.The methods described here for generating an oscillator signal may provide some advantages. Firstly, when using different settings of the PLL system for different frequency channels, negative effects caused by spurious peaks can be suppressed, and a good performance characteristic for each frequency channel can be achieved. Secondly, these methods can allow the integration of digital and analog circuits on the same IC chip, which can reduce the cost, size of devices, etc.
В другом аспекте неоднородное программирование частот может использоваться для управления работой передатчиков и/или приемников в беспроводном устройстве 110. Различными параметрами передатчика или приемника можно управлять на основе выбранного частотного канала. Для приемника ток смещения и/или усиление усилителя LNA, ток смещения и/или усиления смесителя, ширина полосы фильтра, коэффициент усиления в усилителе VGA и т.д. могут быть установлены на основе выбранного частотного канала. Для передатчика ток смещения и/или усиление усилителя PA, ток смещения и/или усиление смесителя, ширина полосы фильтра, усиление усилителя VGA и т.д. могут быть установлены на основе выбранного частотного канала. При неоднородном программировании для блоков в передатчике или приемнике для различных частотных каналов частот могут использоваться разные настройки. Подходящий набор настроек приемопередатчика может выбираться для каждого частотного канала для достижения хорошей рабочей характеристики для этого частотного канала. Таким образом, каждому частотному каналу может соответствовать набор настроек приемопередатчика для по меньшей мере одного параметра в передатчике или приемнике, в дополнение к общему коэффициенту Rk делителя. Разным частотным каналам могут соответствовать по меньшей мере два разных набора настроек приемопередатчика. Набор настроек приемопередатчика для выбранного частотного канала может применяться к передатчику или приемнику.In another aspect, non-uniform frequency programming can be used to control the operation of transmitters and / or receivers in
Описанные здесь методы могут быть реализованы различными средствами. Например, методы могут быть реализованы в аппаратном обеспечении, встроенном программном обеспечении, программном обеспечении или с помощью их комбинации. Для реализации с помощью аппаратного оборудования различные описанные здесь блоки могут быть осуществлены на одной или более специализированных интегральных схемах (ASIC), процессорах цифровых сигналов (DSP), устройствах обработки цифровых сигналов (DSPD), устройствах с программируемой логикой (PLD), программируемых вентильных матрицах (FPGA), процессорах, контроллерах, микроконтроллерах, микропроцессорах, электронных приборах и других электронных блоках, выполненных с возможностью исполнять описанные здесь функции, а также с помощью компьютера, или на основе любой комбинации вышеперечисленного.The methods described here can be implemented by various means. For example, the methods may be implemented in hardware, firmware, software, or through a combination thereof. For implementation using hardware, the various blocks described herein may be implemented on one or more specialized integrated circuits (ASICs), digital signal processors (DSPs), digital signal processing devices (DSPDs), programmable logic devices (PLDs), programmable gate arrays (FPGA), processors, controllers, microcontrollers, microprocessors, electronic devices and other electronic units configured to perform the functions described here, as well as using a computer Or based on any combination of the foregoing.
Описанные здесь схемы (например, частотные синтезаторы 270 и 700, генераторы 272 и 760 гетеродина, система 702 ФАПЧ и т.д.) могут быть реализованы на интегральной схеме (ИС; IC), радиочастотной интегральной схеме (RFIC), аналого-цифровой ИС, специализированной интегральной схеме (ASIC), печатной плате (PCB) и т.д. Схемы также могут быть изготовлены с помощью различных технологий обработки ИС, таких как комплементарные металлооксидные полупроводники (КМОП; CMOS), n-канальные металлооксидные полупроводники (N-MOS), p-канальные металлооксидные полупроводники (P-MOS), биполярные плоскостные транзисторы (BJT), биполярные комплементарные металлооксидные полупроводники (BiCMOS), сплава кремния и германия (SiGe), арсенида галлия (GaAs) и т.д.The circuits described here (for example,
Некоторые аспекты методов могут быть реализованы с помощью встроенного программного обеспечения и/или программного обеспечения (например, модулей, таких как процедуры, функции и т.д.), которое исполняет описанные здесь функции. Команды/коды встроенного программного обеспечения и/или программного обеспечения могут храниться в памяти (например, такой как память 262 на фиг.2) и исполняться микропроцессором (например, микропроцессором 260). Память может быть реализована в микропроцессоре или внешним, по отношению к микропроцессору, образом. Команды/код встроенного программного обеспечения и/или программного обеспечения также могут храниться на читаемом с помощью компьютера/процессора носителе, таком как оперативное запоминающее устройство (ОЗУ; RAM), постоянное запоминающее устройство (ПЗУ; ROM), энергонезависимое оперативное запоминающее устройство (NVRAM), программируемое постоянное запоминающее устройство (ППЗУ; PROM), электрически стираемое программируемое постоянное запоминающее устройство (ЭСППЗУ; EEPROM), флэш-память, гибкий диск, компакт-диск (CD), цифровой универсальный диск (DVD), магнитное или оптическое запоминающее устройство и т.д. Команды/код могут исполняться одним или более процессорами и могут побуждать (инструктировать) процессор(ы) исполнять некоторые аспекты описанных здесь функций или функциональных возможностей.Some aspects of the methods can be implemented using firmware and / or software (for example, modules, such as procedures, functions, etc.) that performs the functions described herein. The instructions / codes of the firmware and / or software may be stored in a memory (for example, such as a
Устройство, реализующее описанные здесь методы, может являться автономным устройством или может являться частью большего устройства. Устройство может представлять собой (i) автономную интегральную схему (ИС; IC), (ii) набор из одной или более ИС, которые могут включать в себя ИС памяти для хранения данных и/или команд, (iii) радиочастотную ИС (RFIC), такую как радиочастотный приемник (RFR) или радиочастотный передатчик/приемник (RTR), (iv) специализированную интегральную схему (ASIC), такую как модем мобильной станции (MSM), (v) модуль, который может быть встроен в другие устройства, (vi) приемник, сотовый телефон, беспроводное устройство, переносной телефон или мобильный блок (vii) и т.д.A device implementing the methods described herein may be a standalone device or may be part of a larger device. The device may be (i) a stand-alone integrated circuit (IC; IC), (ii) a set of one or more ICs, which may include memory ICs for storing data and / or commands, (iii) a radio frequency IC (RFIC), such as a radio frequency receiver (RFR) or radio frequency transmitter / receiver (RTR), (iv) a specialized integrated circuit (ASIC), such as a mobile station modem (MSM), (v) a module that can be integrated into other devices, (vi ) receiver, cell phone, wireless device, portable telephone or mobile unit (vii), etc.
Предшествующее описание раскрытия изобретения дано для того, чтобы дать возможность специалисту в области техники осуществить или использовать раскрытие изобретения. Различные модификации этого раскрытия могут быть понятны специалистам в области техники, а определенные здесь общие принципы могут быть применены к другим вариантам осуществления без отступления от сущности или объема раскрытия изобретения. Таким образом, настоящее раскрытие изобретения не подразумевается ограниченным описанными здесь примерами и схемами, а должно получить самый широкий объем, совместимый с раскрытыми здесь принципами и новыми признаками.The foregoing description of the disclosure of the invention is given to enable a person skilled in the art to make or use the disclosure of the invention. Various modifications to this disclosure may be understood by those skilled in the art, and the generic principles defined herein may be applied to other embodiments without departing from the spirit or scope of the disclosure. Thus, the present disclosure is not intended to be limited by the examples and schemes described herein, but should receive the broadest scope consistent with the principles and new features disclosed herein.
Claims (26)
систему фазовой автоматической подстройки частоты (ФАПЧ), используемую для формирования сигнала генератора колебаний для частотного канала, выбранного из первого частотного канала и второго частотного канала, причем каждому частотному каналу соответствует набор настроек системы ФАПЧ для по меньшей мере одного параметра в дополнение к общему коэффициенту делителя, и первому и второму частотным каналам соответствуют по меньшей мере два разных набора настроек системы ФАПЧ, и при этом система ФАПЧ работает на основе набора настроек системы ФАПЧ для выбранного частотного канала; и
память, содержащую по меньшей мере два разных набора настроек системы ФАПЧ, содержащих первый набор настроек системы ФАПЧ, который приводит к более низким уровням паразитных пиков в первом частотном канале, чем второй набор настроек системы ФАПЧ, и второй набор настроек системы ФАПЧ, который приводит к более низким уровням паразитных пиков во втором частотном канале, чем первый набор настроек системы ФАПЧ, причем реализация первого набора настроек системы ФАПЧ вместо второго набора настроек ФАПЧ приводит к применению по меньшей мере одного из разных частотных уравнений, разных схем деления частоты, инжекции на высокой стороне для супергетеродинной архитектуры и разных напряжений питания для блоков в интегральной схеме.1. A wireless communication device, comprising:
a phase locked loop (PLL) system used to generate an oscillator signal for a frequency channel selected from a first frequency channel and a second frequency channel, with each frequency channel having a set of PLL settings for at least one parameter in addition to the overall divider factor , and the first and second frequency channels correspond to at least two different sets of PLL settings, and the PLL system works on the basis of the system settings we are PLL for the selected frequency channel; and
a memory containing at least two different sets of PLL settings, containing the first set of PLL settings, which leads to lower spurious peaks in the first frequency channel than the second set of PLL settings, and a second set of PLL settings, which leads to lower levels of spurious peaks in the second frequency channel than the first set of PLL settings, and the implementation of the first set of PLL settings instead of the second set of PLL settings leads to the use of at least one th of different frequency equations, different frequency dividing circuits on the high side injection for a super-heterodyne architecture and supply voltages for different units within the integrated circuit.
память для хранения таблицы настроек системы ФАПЧ для множества частотных каналов.11. The wireless communications apparatus of claim 1, further comprising:
memory for storing the PLL system settings table for a plurality of frequency channels.
фазочастотный детектор для приема опорного сигнала и сигнала обратной связи и выдачи сигнала детектора, показывающего разность фаз между опорным сигналом и сигналом обратной связи;
генератор подкачки заряда для формирования сигнала ошибки на основе сигнала детектора;
контурный фильтр для фильтрации сигнала ошибки и выдачи управляющего сигнала для генератора колебаний; и
делитель для приема сигнала генератора колебаний от генератора колебаний, деления сигнала генератора колебаний по частоте и выдачи сигнала обратной связи, причем по меньшей мере один из генератора подкачки заряда, контурного фильтра и делителя имеет множество настроек для параметра, отличного от общего коэффициента делителя, причем множество настроек может выбираться для каждого из множества частотных каналов и содержит первый набор настроек, который приводит к более низким уровням паразитных пиков в первом частотном канале, чем второй набор настроек системы ФАПЧ, и второй набор настроек системы ФАПЧ, который приводит к более низким уровням паразитных пиков во втором частотном канале, чем первый набор настроек системы ФАПЧ, причем множество настроек приводит к применению по меньшей мере одного из разных частотных уравнений, разных схем деления частоты, инжекции на высокой стороне для супергетеродинной архитектуры и разных напряжений питания для блоков в интегральной схеме.13. A phase locked loop device comprising:
a phase-frequency detector for receiving a reference signal and a feedback signal and outputting a detector signal showing a phase difference between the reference signal and the feedback signal;
a charge pump generator for generating an error signal based on a detector signal;
loop filter for filtering the error signal and issuing a control signal for the oscillation generator; and
a divider for receiving a signal of the oscillation generator from the oscillation generator, dividing the signal of the oscillation generator in frequency and providing a feedback signal, wherein at least one of the charge pump generator, the loop filter and the divider has many settings for a parameter other than the overall divider coefficient, and settings can be selected for each of the many frequency channels and contains the first set of settings, which leads to lower levels of spurious peaks in the first frequency channel than the second the first PLL system settings, and the second PLL system settings, which leads to lower spurious peaks in the second frequency channel than the first PLL system settings, and many settings lead to the use of at least one of different frequency equations, different schemes frequency division, high side injection for superheterodyne architecture and different supply voltages for blocks in an integrated circuit.
выбирают частотный канал из множества частотных каналов, причем каждому частотному каналу соответствует набор настроек системы фазовой автоматической подстройки частоты (ФАПЧ) для по меньшей мере одного параметра в дополнение к общему коэффициенту делителя, при этом множеству частотных каналов соответствуют по меньшей мере два разных набора настроек системы ФАПЧ;
определяют набор настроек системы ФАПЧ, чтобы снизить уровни паразитных пиков для выбранного частотного канала;
реализуют определенный набор параметров системы ФАПЧ, причем реализация определенного набора параметров системы ФАПЧ приводит к применению по меньшей мере одного из разных частотных уравнений, разных схем деления частоты, инжекции на высокой стороне для супергетеродинной архитектуры и разных напряжений питания для блоков в интегральной схеме; и
формируют сигнал генератора колебаний для выбранного частотного канала на основе упомянутого набора настроек системы ФАПЧ.18. A method of generating a signal of an oscillation generator, comprising the steps of:
a frequency channel is selected from a plurality of frequency channels, and each frequency channel corresponds to a set of phase locked loop (PLL) settings for at least one parameter in addition to the overall divider factor, while at least two different sets of system settings correspond to a plurality of frequency channels PLL;
define a set of PLL settings to reduce spurious peak levels for the selected frequency channel;
implement a certain set of PLL system parameters, and the implementation of a certain set of PLL system parameters leads to the use of at least one of different frequency equations, different frequency division circuits, high-side injection for a superheterodyne architecture and different supply voltages for blocks in an integrated circuit; and
generating an oscillator signal for the selected frequency channel based on the aforementioned set of PLL settings.
программируют делитель с помощью набора высоких и низких коэффициентов делителя для выбранного частотного канала и
делят сигнал генератора колебаний по частоте на основе упомянутого набора высоких и низких коэффициентов делителя.19. The method according to p, in which the set of PLL settings for the selected frequency channel contains a setting that selects one of the many sets of high and low divider coefficients, and generating an oscillator signal for the selected frequency channel comprises the steps of:
program the divider using a set of high and low divider coefficients for the selected frequency channel and
divide the oscillator signal in frequency based on the said set of high and low divider coefficients.
формируют сигнал генератора колебаний для получения сигнала гетеродина с частотой выше, чем у выбранного частотного канала, если для выбранного частотного канала выбрана инжекция на высокой стороне, и
формируют сигнал генератора колебаний для получения сигнала гетеродина с частотой ниже, чем у выбранного частотного канала, если выбрана инжекция на низкой стороне.21. The method according to p, in which the set of PLL settings for the selected frequency channel contains a setting that selects the injection on the high or low side, and generating a signal of the oscillation generator for the selected frequency channel contains the steps in which:
generating an oscillator signal to obtain a local oscillator signal with a frequency higher than that of the selected frequency channel, if injection on the high side is selected for the selected frequency channel, and
form the signal of the oscillation generator to obtain a local oscillator signal with a frequency lower than that of the selected frequency channel, if injection is selected on the low side.
применяют напряжение питания, выбранное для выбранного частотного канала, к генератору колебаний.23. The method according to p, in which the set of PLL settings for the selected frequency channel contains a setting that selects one of the many supply voltages for the oscillation generator used to generate the signal of the oscillation generator, the method further comprising the step of:
apply the supply voltage selected for the selected frequency channel to the oscillation generator.
средство для выбора частотного канала из множества частотных каналов, причем каждому частотному каналу соответствует набор настроек системы фазовой автоматической подстройки частоты (ФАПЧ) для по меньшей мере одного параметра в дополнение к общему коэффициенту делителя, выбранный для подавления воздействия паразитных пиков, при этом множеству частотных каналов соответствуют по меньшей мере два разных набора настроек системы ФАПЧ;
средство для выбора набора настроек системы ФАПЧ, чтобы снизить уровни паразитных пиков для выбранного частотного канала;
средство для реализации выбранного набора параметров системы ФАПЧ, причем реализация выбранного набора параметров системы ФАПЧ приводит к применению по меньшей мере одного из разных частотных уравнений, разных схем деления частоты, инжекции на высокой стороне для супергетеродинной архитектуры и разных напряжений питания для блоков в интегральной схеме; и
средство для формирования сигнала генератора колебаний для выбранного частотного канала на основе упомянутого набора настроек системы ФАПЧ.24. A wireless communication device, comprising:
means for selecting a frequency channel from a plurality of frequency channels, wherein each frequency channel corresponds to a set of phase locked loop (PLL) settings for at least one parameter in addition to the overall divider coefficient, selected to suppress the effects of spurious peaks, while the plurality of frequency channels correspond to at least two different sets of PLL settings;
means for selecting a set of PLL settings to reduce spurious peak levels for a selected frequency channel;
means for implementing the selected set of PLL system parameters, the implementation of the selected set of PLL system parameters leading to the use of at least one of different frequency equations, different frequency division schemes, high-side injection for a superheterodyne architecture and different supply voltages for units in an integrated circuit; and
means for generating a signal of the oscillation generator for the selected frequency channel based on said set of PLL settings.
контроллер, выполненный с возможностью определять частотный канал, выбранный из множества частотных каналов, определять набор настроек приемопередатчика, чтобы снизить уровни паразитных пиков для выбранного частотного канала, и применять набор настроек приемопередатчика для выбранного частотного канала к передатчику или приемнику, причем каждому частотному каналу соответствует набор настроек приемопередатчика для по меньшей мере одного параметра в передатчике или приемнике в дополнение к общему коэффициенту делителя, и множеству частотных каналов соответствуют по меньшей мере два разных набора настроек приемопередатчика, при этом реализация упомянутого одного набора параметров приемопередатчика вместо другого набора приводит к применению по меньшей мере одного из разных частотных уравнений, разных схем деления частоты, инжекции на высокой стороне для супергетеродинной архитектуры и разных напряжений питания для блоков в интегральной схеме.25. A wireless communications device, comprising:
a controller configured to determine a frequency channel selected from a plurality of frequency channels, determine a set of transceiver settings to lower spurious peaks for a selected frequency channel, and apply a set of transceiver settings for a selected frequency channel to a transmitter or receiver, and each frequency channel has a set transceiver settings for at least one parameter in the transmitter or receiver in addition to the overall divider factor, and a plurality At least two different sets of transceiver settings correspond to these channels, while the implementation of the said one set of transceiver parameters instead of the other set leads to the use of at least one of different frequency equations, different frequency division schemes, high-side injection for a superheterodyne architecture and different voltages power supply for blocks in an integrated circuit.
выбор частотного канала из множества частотных каналов, причем каждому частотному каналу соответствует набор настроек системы фазовой автоматической подстройки частоты (ФАПЧ) для по меньшей мере одного параметра в дополнение к общему коэффициенту делителя, и множеству частотных каналов соответствуют по меньшей мере два разных набора настроек системы ФАПЧ;
определение набора настроек системы ФАПЧ, чтобы снизить уровни паразитных пиков для выбранного частотного канала;
реализацию определенного набора параметров системы ФАПЧ, причем реализация определенного набора параметров системы ФАПЧ приводит к применению по меньшей мере одного из разных частотных уравнений, разных схем деления частоты, инжекции на высокой стороне для супергетеродинной архитектуры и разных напряжений питания для блоков в интегральной схеме; и
формирование сигнала генератора колебаний для выбранного частотного канала на основе упомянутого набора настроек системы ФАПЧ. 26. A computer-readable read-only medium containing instructions stored on it that are configured to, when executed by a processor, cause the processor to perform operations to generate a waveform generator, said operations comprising:
selecting a frequency channel from a plurality of frequency channels, wherein each frequency channel corresponds to a set of phase locked loop (PLL) settings for at least one parameter in addition to the overall divider coefficient, and at least two different sets of PLL settings correspond to a plurality of frequency channels ;
definition of a set of PLL settings to reduce spurious peak levels for a selected frequency channel;
the implementation of a certain set of PLL system parameters, moreover, the implementation of a certain set of PLL system parameters leads to the use of at least one of different frequency equations, different frequency division circuits, high side injection for a superheterodyne architecture and different supply voltages for blocks in an integrated circuit; and
generating a signal of the oscillation generator for the selected frequency channel based on the said set of PLL settings.
Applications Claiming Priority (5)
| Application Number | Priority Date | Filing Date | Title |
|---|---|---|---|
| US97272107P | 2007-09-14 | 2007-09-14 | |
| US60/972,721 | 2007-09-14 | ||
| US97628507P | 2007-09-28 | 2007-09-28 | |
| US60/976,285 | 2007-09-28 | ||
| US11/868,824 | 2007-10-08 |
Publications (2)
| Publication Number | Publication Date |
|---|---|
| RU2010114734A RU2010114734A (en) | 2011-10-20 |
| RU2454792C2 true RU2454792C2 (en) | 2012-06-27 |
Family
ID=44998856
Family Applications (1)
| Application Number | Title | Priority Date | Filing Date |
|---|---|---|---|
| RU2010114734/08A RU2454792C2 (en) | 2007-09-14 | 2008-09-11 | Generation of oscillator signal with suppression of spurious peaks in wireless communication device |
Country Status (1)
| Country | Link |
|---|---|
| RU (1) | RU2454792C2 (en) |
Cited By (1)
| Publication number | Priority date | Publication date | Assignee | Title |
|---|---|---|---|---|
| RU2741378C2 (en) * | 2016-02-08 | 2021-01-25 | Зе Боинг Компани | Architecture of scalable two-dimensional layout for phased array antenna system with active scanning |
Citations (2)
| Publication number | Priority date | Publication date | Assignee | Title |
|---|---|---|---|---|
| US5999353A (en) * | 1989-10-30 | 1999-12-07 | Hitachi, Ltd. | Magnetic disk storage apparatus with phase sync circuit having controllable response characteristic |
| RU2218657C2 (en) * | 2001-09-28 | 2003-12-10 | Открытое акционерное общество "Научно-исследовательский институт системотехники" | Frequency spectrum shaper |
-
2008
- 2008-09-11 RU RU2010114734/08A patent/RU2454792C2/en not_active IP Right Cessation
Patent Citations (2)
| Publication number | Priority date | Publication date | Assignee | Title |
|---|---|---|---|---|
| US5999353A (en) * | 1989-10-30 | 1999-12-07 | Hitachi, Ltd. | Magnetic disk storage apparatus with phase sync circuit having controllable response characteristic |
| RU2218657C2 (en) * | 2001-09-28 | 2003-12-10 | Открытое акционерное общество "Научно-исследовательский институт системотехники" | Frequency spectrum shaper |
Cited By (1)
| Publication number | Priority date | Publication date | Assignee | Title |
|---|---|---|---|---|
| RU2741378C2 (en) * | 2016-02-08 | 2021-01-25 | Зе Боинг Компани | Architecture of scalable two-dimensional layout for phased array antenna system with active scanning |
Also Published As
| Publication number | Publication date |
|---|---|
| RU2010114734A (en) | 2011-10-20 |
Similar Documents
| Publication | Publication Date | Title |
|---|---|---|
| JP5054195B2 (en) | Oscillator signal generation with spur mitigation in wireless communication devices | |
| US7742785B2 (en) | Reference signal generation for multiple communication systems | |
| JP4242559B2 (en) | Simplified reference frequency distribution in mobile phones | |
| KR101686154B1 (en) | System and transceiver clocking to minimize required number of reference sources in multi-function cellular applications including gps | |
| US7020444B2 (en) | High frequency semiconductor integrated circuit and radio communication system | |
| US20040051095A1 (en) | Communication semiconductor integrated circuit and radio communication system | |
| US7639724B2 (en) | RF converter with multiple mode frequency synthesizer compatible with a 48 Fo GPS baseband processor | |
| US8280330B2 (en) | Crystal-less clock generation for radio frequency receivers | |
| AU2018453622A1 (en) | Multichannel multisystem radio-frequency unit of navigational satellite receiver | |
| US7583946B2 (en) | Wireless communication system and method using clock swapping during image rejection calibration | |
| US20100189194A1 (en) | Frequency generation circuit | |
| Analui et al. | A 50 MHz–6 GHz, 2× 2 MIMO, reconfigurable architecture, software-defined radio in 130nm CMOS | |
| US10447282B2 (en) | Phase locked loop (PLL) | |
| RU2454792C2 (en) | Generation of oscillator signal with suppression of spurious peaks in wireless communication device | |
| US20060111072A1 (en) | Wireless communication system and method using clock swapping during image rejection calibration | |
| HK1134173A (en) | Reference signal generation for multiple communication systems |
Legal Events
| Date | Code | Title | Description |
|---|---|---|---|
| MM4A | The patent is invalid due to non-payment of fees |
Effective date: 20190912 |







