RU2422996C2 - Способы для высоких скоростей передачи данных с улучшенным опорным сигналом канала - Google Patents
Способы для высоких скоростей передачи данных с улучшенным опорным сигналом канала Download PDFInfo
- Publication number
- RU2422996C2 RU2422996C2 RU2009131732/09A RU2009131732A RU2422996C2 RU 2422996 C2 RU2422996 C2 RU 2422996C2 RU 2009131732/09 A RU2009131732/09 A RU 2009131732/09A RU 2009131732 A RU2009131732 A RU 2009131732A RU 2422996 C2 RU2422996 C2 RU 2422996C2
- Authority
- RU
- Russia
- Prior art keywords
- pilot
- power
- signal
- base station
- channel
- Prior art date
Links
- 238000000034 method Methods 0.000 title claims abstract description 108
- 238000012546 transfer Methods 0.000 title abstract description 6
- 238000004891 communication Methods 0.000 claims abstract description 46
- 238000012544 monitoring process Methods 0.000 claims abstract description 12
- 230000005540 biological transmission Effects 0.000 claims description 53
- 238000005457 optimization Methods 0.000 claims description 25
- 238000005259 measurement Methods 0.000 claims description 12
- 230000008859 change Effects 0.000 claims description 5
- 230000006978 adaptation Effects 0.000 claims 2
- 230000003321 amplification Effects 0.000 abstract description 7
- 238000005516 engineering process Methods 0.000 abstract description 7
- 238000003199 nucleic acid amplification method Methods 0.000 abstract description 7
- 238000001514 detection method Methods 0.000 abstract 1
- 239000000126 substance Substances 0.000 abstract 1
- 230000006870 function Effects 0.000 description 27
- 230000008569 process Effects 0.000 description 20
- 230000000875 corresponding effect Effects 0.000 description 15
- 238000012545 processing Methods 0.000 description 14
- 230000009467 reduction Effects 0.000 description 11
- 230000009471 action Effects 0.000 description 10
- 230000001276 controlling effect Effects 0.000 description 7
- 238000010586 diagram Methods 0.000 description 7
- 238000004364 calculation method Methods 0.000 description 6
- 230000003044 adaptive effect Effects 0.000 description 5
- 238000012217 deletion Methods 0.000 description 5
- 230000037430 deletion Effects 0.000 description 5
- 238000012986 modification Methods 0.000 description 5
- 230000004048 modification Effects 0.000 description 5
- 230000011664 signaling Effects 0.000 description 5
- 230000006872 improvement Effects 0.000 description 4
- 230000007246 mechanism Effects 0.000 description 4
- 230000004044 response Effects 0.000 description 4
- 230000001360 synchronised effect Effects 0.000 description 4
- 239000011159 matrix material Substances 0.000 description 3
- 238000010295 mobile communication Methods 0.000 description 3
- 238000010276 construction Methods 0.000 description 2
- 230000002596 correlated effect Effects 0.000 description 2
- 230000008713 feedback mechanism Effects 0.000 description 2
- 230000004913 activation Effects 0.000 description 1
- 230000004075 alteration Effects 0.000 description 1
- 238000003491 array Methods 0.000 description 1
- 238000013473 artificial intelligence Methods 0.000 description 1
- 230000004888 barrier function Effects 0.000 description 1
- 230000006399 behavior Effects 0.000 description 1
- 230000008901 benefit Effects 0.000 description 1
- 230000001413 cellular effect Effects 0.000 description 1
- 239000003795 chemical substances by application Substances 0.000 description 1
- 238000004590 computer program Methods 0.000 description 1
- 238000012937 correction Methods 0.000 description 1
- 230000009849 deactivation Effects 0.000 description 1
- 238000013461 design Methods 0.000 description 1
- 238000012407 engineering method Methods 0.000 description 1
- 239000000835 fiber Substances 0.000 description 1
- 238000010230 functional analysis Methods 0.000 description 1
- 230000000977 initiatory effect Effects 0.000 description 1
- 230000007774 longterm Effects 0.000 description 1
- 230000003287 optical effect Effects 0.000 description 1
- 238000003672 processing method Methods 0.000 description 1
- 238000000926 separation method Methods 0.000 description 1
- 230000007704 transition Effects 0.000 description 1
- 238000002604 ultrasonography Methods 0.000 description 1
Images
Classifications
-
- H—ELECTRICITY
- H04—ELECTRIC COMMUNICATION TECHNIQUE
- H04W—WIRELESS COMMUNICATION NETWORKS
- H04W52/00—Power management, e.g. Transmission Power Control [TPC] or power classes
- H04W52/04—Transmission power control [TPC]
- H04W52/06—TPC algorithms
- H04W52/14—Separate analysis of uplink or downlink
- H04W52/146—Uplink power control
-
- H—ELECTRICITY
- H04—ELECTRIC COMMUNICATION TECHNIQUE
- H04W—WIRELESS COMMUNICATION NETWORKS
- H04W52/00—Power management, e.g. Transmission Power Control [TPC] or power classes
- H04W52/04—Transmission power control [TPC]
- H04W52/18—TPC being performed according to specific parameters
- H04W52/26—TPC being performed according to specific parameters using transmission rate or quality of service QoS [Quality of Service]
- H04W52/267—TPC being performed according to specific parameters using transmission rate or quality of service QoS [Quality of Service] taking into account the information rate
-
- H—ELECTRICITY
- H04—ELECTRIC COMMUNICATION TECHNIQUE
- H04W—WIRELESS COMMUNICATION NETWORKS
- H04W52/00—Power management, e.g. Transmission Power Control [TPC] or power classes
- H04W52/04—Transmission power control [TPC]
- H04W52/30—Transmission power control [TPC] using constraints in the total amount of available transmission power
- H04W52/32—TPC of broadcast or control channels
- H04W52/325—Power control of control or pilot channels
Landscapes
- Engineering & Computer Science (AREA)
- Computer Networks & Wireless Communication (AREA)
- Signal Processing (AREA)
- Quality & Reliability (AREA)
- Mobile Radio Communication Systems (AREA)
- Cable Transmission Systems, Equalization Of Radio And Reduction Of Echo (AREA)
Applications Claiming Priority (4)
| Application Number | Priority Date | Filing Date | Title |
|---|---|---|---|
| US88608507P | 2007-01-22 | 2007-01-22 | |
| US60/886,085 | 2007-01-22 | ||
| US12/017,287 | 2008-01-21 | ||
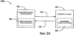
| US12/017,287 US8081997B2 (en) | 2007-01-22 | 2008-01-21 | Power and/or data rate control based on pilot channel information |
Publications (2)
| Publication Number | Publication Date |
|---|---|
| RU2009131732A RU2009131732A (ru) | 2011-02-27 |
| RU2422996C2 true RU2422996C2 (ru) | 2011-06-27 |
Family
ID=39639567
Family Applications (1)
| Application Number | Title | Priority Date | Filing Date |
|---|---|---|---|
| RU2009131732/09A RU2422996C2 (ru) | 2007-01-22 | 2008-01-22 | Способы для высоких скоростей передачи данных с улучшенным опорным сигналом канала |
Country Status (10)
| Country | Link |
|---|---|
| US (1) | US8081997B2 (enExample) |
| EP (1) | EP2106636B1 (enExample) |
| JP (6) | JP2010517437A (enExample) |
| CN (1) | CN106912093B (enExample) |
| BR (1) | BRPI0806753B1 (enExample) |
| CA (1) | CA2674532C (enExample) |
| ES (1) | ES2835174T3 (enExample) |
| HU (1) | HUE052276T2 (enExample) |
| RU (1) | RU2422996C2 (enExample) |
| WO (1) | WO2008091897A2 (enExample) |
Families Citing this family (37)
| Publication number | Priority date | Publication date | Assignee | Title |
|---|---|---|---|---|
| US7936741B2 (en) * | 2005-08-05 | 2011-05-03 | Nokia Corporation | Dynamic uplink control channel gating to increase capacity |
| WO2008130922A2 (en) * | 2007-04-18 | 2008-10-30 | Cisco Technology, Inc. | Hybrid time-spatial multiplexing for wireless broadcast messages through antenna radiation beam synthesis |
| US8694662B2 (en) * | 2007-07-10 | 2014-04-08 | Qualcomm Incorporated | Method and apparatus for communicating transmission requests to members of a group and/or making group related transmission decisions |
| US8495232B2 (en) * | 2007-07-10 | 2013-07-23 | Qualcomm Incorporated | Methods and apparatus for supporting broadcast communications in a peer to peer network |
| US8861418B2 (en) * | 2007-07-10 | 2014-10-14 | Qualcomm Incorporated | Methods and apparatus for supporting group communications with data re-transmission support |
| US7961698B2 (en) * | 2007-07-10 | 2011-06-14 | Qualcomm Incorporated | Methods and apparatus for controlling interference to broadcast signaling in a peer to peer network |
| KR100991792B1 (ko) | 2007-12-31 | 2010-11-04 | 엘지전자 주식회사 | 협력적 다중 입출력 방식 신호 송수신 방법 |
| US8411766B2 (en) | 2008-04-09 | 2013-04-02 | Wi-Lan, Inc. | System and method for utilizing spectral resources in wireless communications |
| US8868121B2 (en) * | 2008-09-29 | 2014-10-21 | Nokia Corporation | Control channel gain factor with data channel scaling |
| US8274885B2 (en) | 2008-10-03 | 2012-09-25 | Wi-Lan, Inc. | System and method for data distribution in VHF/UHF bands |
| US20100118834A1 (en) | 2008-11-07 | 2010-05-13 | Amit Kalhan | Device beacon for communication management for peer to peer communications |
| US8107391B2 (en) | 2008-11-19 | 2012-01-31 | Wi-Lan, Inc. | Systems and etiquette for home gateways using white space |
| US8335204B2 (en) | 2009-01-30 | 2012-12-18 | Wi-Lan, Inc. | Wireless local area network using TV white space spectrum and long term evolution system architecture |
| CN101841496B (zh) * | 2009-03-17 | 2013-03-13 | 上海贝尔股份有限公司 | 多输入多输出系统中用于多小区协作通信的方法及装置 |
| JP4854758B2 (ja) * | 2009-04-15 | 2012-01-18 | 株式会社エヌ・ティ・ティ・ドコモ | 無線基地局 |
| US20100309317A1 (en) * | 2009-06-04 | 2010-12-09 | Wi-Lan Inc. | Device and method for detecting unused tv spectrum for wireless communication systems |
| US8937872B2 (en) | 2009-06-08 | 2015-01-20 | Wi-Lan, Inc. | Peer-to-peer control network for a wireless radio access network |
| EP2282591B1 (en) * | 2009-07-01 | 2012-09-12 | Ntt Docomo, Inc. | Mobile and base station transceiver apparatus for communicating |
| KR101273082B1 (ko) * | 2009-12-15 | 2013-06-10 | 한국전자통신연구원 | 상향 링크 전송 전력 제어를 위한 피드백 생성 방법 및 시스템 |
| CN102208967B (zh) * | 2010-03-31 | 2014-04-09 | 中兴通讯股份有限公司 | 一种lte终端非自适应重传功率控制的方法及装置 |
| US9144040B2 (en) * | 2010-04-01 | 2015-09-22 | Futurewei Technologies, Inc. | System and method for uplink multi-antenna power control in a communications system |
| WO2011123696A1 (en) | 2010-04-02 | 2011-10-06 | Powerwave Technologies, Inc. | System and method for performance enhancement in heterogeneous wireless access networks |
| US9363761B2 (en) | 2010-04-05 | 2016-06-07 | Intel Corporation | System and method for performance enhancement in heterogeneous wireless access network employing band selective power management |
| US9020555B2 (en) | 2010-04-05 | 2015-04-28 | Intel Corporation | System and method for performance enhancement in heterogeneous wireless access network employing distributed antenna system |
| KR20120018266A (ko) * | 2010-08-20 | 2012-03-02 | 삼성전자주식회사 | 직교 주파수 분할 다중 접속 방법을 사용하는 무선 통신 시스템에서 기지국의 전력 증폭기 소모 전력 제어 방법 및 장치 |
| GB2484287A (en) * | 2010-10-04 | 2012-04-11 | Vodafone Ip Licensing Ltd | Selecting base station radio systems for receiving and combining OFDM signals from a mobile station |
| US8942750B2 (en) * | 2011-01-07 | 2015-01-27 | Apple Inc. | Power control in a mobile device |
| WO2012169554A1 (ja) * | 2011-06-08 | 2012-12-13 | 日本電気株式会社 | 無線通信システム、受信機 |
| US9094424B2 (en) * | 2012-01-18 | 2015-07-28 | Nokia Technologies Oy | Method, apparatus, and computer program product for digital stream swapping between signal sources |
| US9735940B1 (en) | 2012-04-12 | 2017-08-15 | Tarana Wireless, Inc. | System architecture for optimizing the capacity of adaptive array systems |
| US9252908B1 (en) | 2012-04-12 | 2016-02-02 | Tarana Wireless, Inc. | Non-line of sight wireless communication system and method |
| US10110270B2 (en) | 2013-03-14 | 2018-10-23 | Tarana Wireless, Inc. | Precision array processing using semi-coherent transceivers |
| US10499456B1 (en) | 2013-03-15 | 2019-12-03 | Tarana Wireless, Inc. | Distributed capacity base station architecture for broadband access with enhanced in-band GPS co-existence |
| US10348394B1 (en) * | 2014-03-14 | 2019-07-09 | Tarana Wireless, Inc. | System architecture and method for enhancing wireless networks with mini-satellites and pseudollites and adaptive antenna processing |
| US9955329B2 (en) * | 2014-07-28 | 2018-04-24 | Nec Corporation | Mobile wireless communication system |
| US10491438B2 (en) | 2017-05-01 | 2019-11-26 | At&T Intellectual Property I, L.P. | Systems and methods for reinforcing signals on coupled channels during idle periods |
| BR112021008472A2 (pt) * | 2018-11-26 | 2021-08-03 | Telefonaktiebolaget Lm Ericsson (Publ) | método, dispositivo de controle e programa de computador para controlar a potência de transmissão média total, e, produto de programa de computador |
Citations (1)
| Publication number | Priority date | Publication date | Assignee | Title |
|---|---|---|---|---|
| RU2005135434A (ru) * | 2003-11-12 | 2006-05-27 | Конинклейке Филипс Электроникс Н.В. (Nl) | Система радиосвязи, способ функционирования системы связи и мобильная станция |
Family Cites Families (10)
| Publication number | Priority date | Publication date | Assignee | Title |
|---|---|---|---|---|
| JP3286247B2 (ja) * | 1998-05-08 | 2002-05-27 | 松下電器産業株式会社 | 無線通信システム |
| US7190964B2 (en) * | 2001-08-20 | 2007-03-13 | Telefonaktiebolaget Lm Ericsson (Publ) | Reverse link power control in 1xEV-DV systems |
| KR100547847B1 (ko) * | 2001-10-26 | 2006-01-31 | 삼성전자주식회사 | 이동통신 시스템에서 역방향 링크의 제어 장치 및 방법 |
| US7092731B2 (en) * | 2003-03-06 | 2006-08-15 | Lucent Technologies Inc. | Method for improving capacity of a reverse link channel in a wireless network |
| US7369501B2 (en) * | 2003-04-29 | 2008-05-06 | Lg Electronics Inc. | Apparatus and method for controlling reverse-link data transmission rate during handoff |
| US20050014523A1 (en) * | 2003-06-05 | 2005-01-20 | Zhouyue Pi | Apparatus, and an associated method, for facilitating power control in a radio communication system that provides for data communications at multiple data rates |
| CN1617479A (zh) * | 2003-11-14 | 2005-05-18 | 北京三星通信技术研究有限公司 | 在宽带码分多址上行专用信道增强中支持导频增强的方法 |
| KR100902297B1 (ko) * | 2004-11-19 | 2009-06-10 | 가부시키가이샤 엔.티.티.도코모 | 이동 통신 방법 및 이동국 |
| US7574393B2 (en) | 2005-07-01 | 2009-08-11 | Rbc Capital Markets Corporation | Index rebalancing |
| US7734262B2 (en) * | 2005-07-18 | 2010-06-08 | Rashid Ahmed Akbar Attar | Method and apparatus for reverse link throttling in a multi-carrier wireless communication system |
-
2008
- 2008-01-21 US US12/017,287 patent/US8081997B2/en active Active
- 2008-01-22 CA CA2674532A patent/CA2674532C/en active Active
- 2008-01-22 CN CN201611069551.9A patent/CN106912093B/zh active Active
- 2008-01-22 EP EP08728086.3A patent/EP2106636B1/en active Active
- 2008-01-22 BR BRPI0806753-8A patent/BRPI0806753B1/pt active IP Right Grant
- 2008-01-22 ES ES08728086T patent/ES2835174T3/es active Active
- 2008-01-22 WO PCT/US2008/051711 patent/WO2008091897A2/en not_active Ceased
- 2008-01-22 HU HUE08728086A patent/HUE052276T2/hu unknown
- 2008-01-22 JP JP2009547382A patent/JP2010517437A/ja active Pending
- 2008-01-22 RU RU2009131732/09A patent/RU2422996C2/ru active
-
2012
- 2012-05-11 JP JP2012109408A patent/JP5819249B2/ja active Active
- 2012-05-11 JP JP2012109409A patent/JP5819250B2/ja active Active
- 2012-05-21 JP JP2012115850A patent/JP5410569B2/ja active Active
-
2014
- 2014-02-10 JP JP2014023419A patent/JP2014123971A/ja active Pending
- 2014-02-10 JP JP2014023412A patent/JP2014123970A/ja active Pending
Patent Citations (1)
| Publication number | Priority date | Publication date | Assignee | Title |
|---|---|---|---|---|
| RU2005135434A (ru) * | 2003-11-12 | 2006-05-27 | Конинклейке Филипс Электроникс Н.В. (Nl) | Система радиосвязи, способ функционирования системы связи и мобильная станция |
Also Published As
| Publication number | Publication date |
|---|---|
| CN106912093B (zh) | 2022-02-08 |
| HUE052276T2 (hu) | 2021-04-28 |
| RU2009131732A (ru) | 2011-02-27 |
| JP5819250B2 (ja) | 2015-11-18 |
| JP2012199952A (ja) | 2012-10-18 |
| CA2674532A1 (en) | 2008-07-31 |
| ES2835174T3 (es) | 2021-06-22 |
| EP2106636B1 (en) | 2020-09-16 |
| BRPI0806753A2 (pt) | 2011-09-13 |
| EP2106636A2 (en) | 2009-10-07 |
| WO2008091897A3 (en) | 2008-09-18 |
| US8081997B2 (en) | 2011-12-20 |
| JP5819249B2 (ja) | 2015-11-18 |
| JP2012199951A (ja) | 2012-10-18 |
| JP2010517437A (ja) | 2010-05-20 |
| CN106912093A (zh) | 2017-06-30 |
| US20080214196A1 (en) | 2008-09-04 |
| JP2012199969A (ja) | 2012-10-18 |
| JP5410569B2 (ja) | 2014-02-05 |
| JP2014123970A (ja) | 2014-07-03 |
| CA2674532C (en) | 2012-11-27 |
| BRPI0806753B1 (pt) | 2020-03-24 |
| WO2008091897A2 (en) | 2008-07-31 |
| JP2014123971A (ja) | 2014-07-03 |
Similar Documents
| Publication | Publication Date | Title |
|---|---|---|
| RU2422996C2 (ru) | Способы для высоких скоростей передачи данных с улучшенным опорным сигналом канала | |
| KR101136611B1 (ko) | 다중 레이트 간섭 표시들을 사용한 전력 제어 | |
| RU2426240C2 (ru) | Способ и устройство для механизма выбора между ofdm-mimo и lfdm-simo | |
| US8825101B2 (en) | Method and arrangement for power control during soft handover | |
| US8611941B2 (en) | System and method for processing power control commands in a wireless communication system | |
| JP2011514042A (ja) | セル間干渉消去のサポートのためのutran拡張 | |
| EP1897245A2 (en) | Slow uplink power control | |
| WO2010014823A2 (en) | Dynamic iot setpoints and interference control | |
| KR20110135406A (ko) | 멀티캐리어 시스템을 위한 불연속 업링크 전송 동작 및 간섭 회피 | |
| KR20080012325A (ko) | 고속 다운링크 패킷 액세스 시스템을 위한 가변 전송 전력제어 전략 | |
| US9049675B2 (en) | Method and device for power control of high speed dedicated physical control channel | |
| US20130072250A1 (en) | Outage based outer loop power control for wireless communications systems | |
| US9288760B2 (en) | Method and apparatus for controlling uplink transmit power with optimum delay | |
| US9374747B2 (en) | Network node, user node and methods for channel estimation | |
| CN101595650A (zh) | 采用改进的信道参考的高数据速率技术 | |
| EP1751882B1 (en) | Modified power control for reduction of system power consumption | |
| KR101193425B1 (ko) | 개선된 채널 레퍼런스를 사용한 높은 데이터 레이트를 위한 기술 | |
| HK1126905A (en) | Power control using multiple rate interference indications | |
| AU2011211344A1 (en) | Power control using multiple rate interference indications |