RU2318281C1 - Computerized system for no-break power supply to stationary equipment - Google Patents

Computerized system for no-break power supply to stationary equipment Download PDF

Info

Publication number
RU2318281C1
RU2318281C1 RU2006139807/09A RU2006139807A RU2318281C1 RU 2318281 C1 RU2318281 C1 RU 2318281C1 RU 2006139807/09 A RU2006139807/09 A RU 2006139807/09A RU 2006139807 A RU2006139807 A RU 2006139807A RU 2318281 C1 RU2318281 C1 RU 2318281C1
Authority
RU
Russia
Prior art keywords
input
output
unit
power
power supply
Prior art date
Application number
RU2006139807/09A
Other languages
Russian (ru)
Inventor
Вадим Степанович Балицкий (RU)
Вадим Степанович Балицкий
Александр Владимирович Каверный (RU)
Александр Владимирович Каверный
Константин Владимирович Гришин (RU)
Константин Владимирович Гришин
тницин Александр Иванович П (RU)
Александр Иванович Пятницин
Николай Иванович Вергелис (RU)
Николай Иванович Вергелис
Original Assignee
Общество с ограниченной ответственностью "Технологическая лаборатория"
Priority date (The priority date is an assumption and is not a legal conclusion. Google has not performed a legal analysis and makes no representation as to the accuracy of the date listed.)
Filing date
Publication date
Application filed by Общество с ограниченной ответственностью "Технологическая лаборатория" filed Critical Общество с ограниченной ответственностью "Технологическая лаборатория"
Priority to RU2006139807/09A priority Critical patent/RU2318281C1/en
Application granted granted Critical
Publication of RU2318281C1 publication Critical patent/RU2318281C1/en

Links

Images

Landscapes

  • Stand-By Power Supply Arrangements (AREA)

Abstract

FIELD: power distribution and stand-by power supply systems.
SUBSTANCE: proposed computerized no-break power supply system designed for feeding stationary equipment including radio electronic complexes disposed in containers and in separate premises and operating in locations distant from populated centers and in stationary electric mains has main and stand-by AC power supplies, emergency power-supply change-over switchboard, input power bus unit, switching apparatus, output power bus unit, rectifier unit, DC load distribution unit, main and auxiliary DC power consumers, controller, first and second storage battery units, battery circuit breaker, no-break power supply, AC load distribution unit, main and auxiliary AC power consumers, fire alarm, power supply system control console, and communication line.
EFFECT: enlarged period of no-break power supply to locations with insufficiently developed infrastructure of stationary power system, enhanced fire safety at abrupt supply voltage fluctuations.
5 cl, 5 dwg

Description

Изобретение относится к системам распределения электроэнергии и резервного электроснабжения, а более конкретно к автоматизированным системам гарантированного электроснабжения стационарных объектов, в частности радиоэлектронных комплексов, размещенных в контейнерах, отдельных помещениях и функционирующих в местах, удаленных от населенных пунктов и стационарных электрических сетей.The invention relates to systems for the distribution of electricity and backup power, and more specifically to automated systems for guaranteed power supply of stationary objects, in particular radio electronic systems located in containers, separate rooms and functioning in places remote from settlements and stationary electric networks.

Известны системы электроснабжения, содержащие основные и резервные источники электроэнергии, соединенные через распределительные устройства и кабельные линии с передвижными объектами, каждый из которых содержит основные и вспомогательные потребители электроэнергии, соединенные с коммутационными аппаратами потребителей и блоком автоматического управления коммутационными аппаратами потребителей, электроустановку отбора мощности, основной и резервный силовые вводы [1, 2, 3].Known power supply systems containing primary and backup sources of electricity connected through switchgears and cable lines to mobile objects, each of which contains primary and secondary consumers of electricity connected to consumer switching devices and an automatic control unit for consumer switching devices, power take-off installation, main and backup power inputs [1, 2, 3].

Недостатки известных систем заключаются в том, что они имеют низкий коэффициент использования установленной мощности, что ухудшает их топливную экономичность. При этом, несмотря на исправную работу основного и резервного источников, могут иметь место частые переключения питания объектов с основного силового ввода на резервный и обратно, обусловленные кратковременными снижениями напряжения при пусках асинхронных двигателей вспомогательных потребителей, например кондиционеров, работающих в повторно-кратковременном режиме.The disadvantages of the known systems are that they have a low coefficient of utilization of installed power, which affects their fuel efficiency. At the same time, despite the correct operation of the main and backup sources, frequent switching of the power supply from the main power input to the backup input and vice versa may occur due to short-term voltage drops during the start-up of asynchronous motors of auxiliary consumers, for example, air conditioners operating in intermittent operation.

Наиболее близкой по технической сущности к предлагаемому изобретению является универсальная система электроснабжения подвижных объектов, содержащая выносные распределительные устройства, кабельные линии от основного и резервного источников электроэнергии, основной, резервный и транзитные силовые вводы, блоки контроля входного напряжения во входных цепях, коммутационные аппараты во входных силовых цепях, блок управления коммутационными аппаратами во входных силовых цепях, блоки контроля выходного напряжения, автоматы защиты силовых цепей, переключатель с коммутационными аппаратами и блоком управления ими, электроустановку отбора мощности с приводом генератора от двигателя транспортного средства, блок автоматической коммутации каналов, выпрямитель, блок контроля нагрузки постоянного тока, блок распределения нагрузки постоянного тока, основные потребители постоянного тока, резервный источник постоянного тока (аккумуляторную батарею), блок контроля напряжения переменного тока, блок распределения нагрузки переменного тока, основные и вспомогательные потребители переменного тока, линию связи [4].Closest to the technical nature of the present invention is a universal power supply system for moving objects, containing remote distribution devices, cable lines from the main and backup power sources, main, backup and transit power inputs, input voltage control units in the input circuits, switching devices in the input power circuits, control unit for switching devices in the input power circuits, output voltage control units, power circuit breakers circuits, a switch with switching devices and a control unit for them, a power take-off installation with a generator drive from the vehicle’s engine, an automatic channel switching unit, a rectifier, a direct current load control unit, a direct current load distribution unit, the main direct current consumers, a backup constant source current (battery), AC voltage control unit, AC load distribution unit, main and auxiliary consumes Whether AC link [4].

Основной недостаток известной универсальной системы электроснабжения заключается в том, что она обеспечивает бесперебойное электропитание основных потребителей постоянного тока на короткое время и не обеспечивает бесперебойного питания потребителей переменного тока, которое особенно важно как для питания различной аппаратуры, так и для питания средств жизнеобеспечения деятельности обслуживающего персонала.The main disadvantage of the well-known universal power supply system is that it provides uninterrupted power supply to the main consumers of direct current for a short time and does not provide uninterrupted power to consumers of alternating current, which is especially important both for powering various equipment and for supplying life support facilities for the staff.

Кроме того, известная система не обеспечивает пожарную безопасность при перегрузках в сети, вызывающих перегрев проводов и возможность их возгорания, а также защиту сети при резком понижении сопротивления изоляции питающих проводов.In addition, the known system does not provide fire safety in case of overloads in the network, causing the wires to overheat and the possibility of fire, as well as protecting the network with a sharp decrease in the insulation resistance of the supply wires.

Целью изобретения является повышение времени бесперебойного электроснабжения потребителей в условиях недостаточно развитой инфраструктуры стационарных энергосистем и обеспечение пожаробезопасности при резких изменениях напряжения в сети.The aim of the invention is to increase the time of uninterrupted power supply to consumers in the context of insufficiently developed infrastructure of stationary power systems and to ensure fire safety during sudden changes in voltage in the network.

Поставленная цель достигается тем, что в автоматизированную систему гарантированного электроснабжения стационарного объекта, содержащую основной и резервный источники переменного тока, блок распределения нагрузки постоянного тока, блок аккумуляторных батарей, блок распределения нагрузки переменного тока, основные и вспомогательные потребители постоянного тока, основные и вспомогательные потребители переменного тока, линию связи, введены щит аварийного переключения источников переменного тока, блок входной силовой шины, коммутационный аппарат, блок выходной силовой шины, блок выпрямителей, устройство бесперебойного питания потребителей переменного тока, контроллер, второй блок аккумуляторных батарей, устройство пожарной сигнализации и пульт управления системой электроснабжения, при этом выход основного источника переменного тока подключен к первому силовому входу щита аварийного переключения источников переменного тока, второй силовой вход которого соединен с выходом резервного источника переменного тока, выход щита аварийного переключения источников переменного тока соединен со входом блока входной силовой шины, выход которой через коммутационный аппарат соединен со входом блока выходной силовой шины, первый выход которой через блок выпрямителей подключен ко входу блока распределения нагрузки постоянного тока, к первому и второму выходам которого подключены входы соответственно основные и вспомогательные потребители постоянного тока, вход-выход блока выпрямителей соединен с первым входом-выходом контроллера, второй вход-выход которого подключен к входу-выходу первого блока аккумуляторных батарей, выход которого через автоматический выключатель аккумуляторной батареи соединен со вторым входом блока распределения нагрузки постоянного тока, управляющий выход контроллера соединен с управляющим входом автоматического выключателя аккумуляторной батареи, второй выход блока выходной силовой шины через устройство бесперебойного питания потребителей переменного тока соединен со входом блока распределения нагрузки переменного тока, первый и второй выход которого подключен ко входам соответственно основных и вспомогательных потребителей переменного тока, вход-выход второго блока аккумуляторных батарей соединен с первым входом-выходом устройства бесперебойного питания потребителей переменного тока, второй выход блока входной силовой шины соединен со входом устройства пожарной сигнализации, управляющий выход которого соединен с управляющим входом коммутационного аппарата, третий вход-выход контроллера соединен с первым входом-выходом пульта управления системой электроснабжения, второй вход-выход которого соединен со вторым входом-выходом устройства бесперебойного питания потребителей переменного тока, сигнальные выходы блока выпрямителей, блока распределения нагрузки постоянного тока и блока распределения нагрузки переменного тока подключены соответственно к первому, второму и третьему сигнальным входам устройства пожарной сигнализации, информационные выходы блока выпрямителей, блока распределения нагрузки постоянного тока, блока распределения нагрузки переменного тока и устройства пожарной сигнализации подключены соответственно к первому, второму, третьему и четвертому информационным входам пульта управления системой электроснабжения, управляющий выход которого соединен с управляющим входом устройства пожарной сигнализации, линия связи подключена к третьему входу-выходу пульта управления системой электроснабжения.This goal is achieved by the fact that in an automated system of guaranteed power supply of a stationary object, containing the main and backup AC sources, a DC load distribution unit, a battery pack, an AC load distribution unit, main and auxiliary DC consumers, main and auxiliary AC consumers current, communication line, emergency switchboard for AC sources, input power bus unit, switching are introduced the control unit, the output busbar block, the rectifier block, an uninterruptible power supply unit for alternating current consumers, a controller, a second battery pack, a fire alarm device and a control panel for the power supply system, while the output of the main AC source is connected to the first power input of the emergency switchboard alternating current, the second power input of which is connected to the output of the backup AC source, the output of the emergency switchboard the connected current is connected to the input of the input power bus unit, the output of which through the switching device is connected to the input of the output power bus unit, the first output of which is connected to the input of the DC load balancing unit through the rectifier unit, the main and auxiliary inputs are connected to the first and second outputs of it DC consumers, the input-output of the rectifier unit is connected to the first input-output of the controller, the second input-output of which is connected to the input-output of the first battery unit batteries, the output of which is connected through the battery circuit breaker to the second input of the DC load balancing unit, the controller output is connected to the control input of the battery circuit breaker, the second output of the output power bus unit is connected to the input of the distribution unit via an uninterruptible power supply unit for alternating current consumers AC loads, the first and second output of which is connected to the inputs of the main and auxiliary burning consumers of alternating current, the input-output of the second battery pack is connected to the first input-output of the uninterruptible power supply of alternating current consumers, the second output of the input power bus block is connected to the input of the fire alarm device, the control output of which is connected to the control input of the switching device, the third input - the controller output is connected to the first input-output of the control panel of the power supply system, the second input-output of which is connected to the second input-output three uninterruptible power supplies of AC consumers, the signal outputs of the rectifier unit, the DC load distribution unit and the AC load distribution unit are connected respectively to the first, second and third signal inputs of the fire alarm device, the information outputs of the rectifier unit, the DC load distribution unit, the distribution unit AC loads and fire alarm devices are connected respectively to the first, second, third and four Werth data inputs of the remote control power supply system, the control output which is connected to the control input of the fire alarm device, the communication line is connected to the third input-output control unit power supply system.

Поставленная цель достигается тем, что щит аварийного переключения источников переменного тока содержит первый силовой ввод, автоматический выключатель сети, устройство защитного отключения, индикатор наличия сети, реверсивный рубильник, переключатель измерительного прибора, блок контроля напряжения сети, второй силовой ввод, автоматический выключатель резервной сети, коммутационный аппарат (контактор), блок контроля изоляции и индикатор наличия резервной сети, при этом выход первого силового ввода через автоматический выключатель сети и устройство защитного отключения соединен с первым входом реверсивного рубильника, а выход второго силового ввода через автоматический выключатель резервной сети и коммутационный аппарат подключен ко второму входу реверсивного рубильника, вход индикатора наличия сети и первый вход переключателя измерительного прибора подключены к выходу устройства защитного отключения, выход переключателя измерительного прибора соединен со входом блока контроля напряжения сети, выход автоматического выключателя резервной сети соединен со входом блока контроля изоляции, управляющий выход которого соединен с управляющим входом коммутационного аппарата, выход которого подключен ко второму входу переключателя измерительного прибора и ко входу индикатора наличия резервной сети, при этом первым и вторым силовыми входами щита аварийного переключения переменного тока являются входы соответственно первого и второго силовых вводов, а выходом щита аварийного переключения переменного тока является выход реверсивного рубильника.This goal is achieved in that the switchboard for emergency switching of alternating current sources contains a first power input, a circuit breaker, a residual current device, a network presence indicator, a reversing switch, a meter switch, a voltage control unit, a second power input, a backup circuit breaker, a switching device (contactor), an insulation monitoring unit and an indicator of the availability of a backup network, while the output of the first power input through a circuit breaker the network and the protective shutdown device is connected to the first input of the reversing switch, and the output of the second power input through the circuit breaker of the backup network and the switching device is connected to the second input of the reversing switch, the input of the network presence indicator and the first input of the measuring device switch are connected to the output of the protective shutdown device, output the switch of the measuring device is connected to the input of the mains voltage monitoring unit, the output of the backup circuit breaker is connected to the isolation control unit, the control output of which is connected to the control input of the switching device, the output of which is connected to the second input of the measuring device switch and to the input of the backup network indicator, while the first and second power inputs of the AC emergency switchboard are the inputs of the first and second power inputs, and the output of the AC emergency switchboard is the output of the reversing switch.

Поставленная цель достигается тем, что блок входной силовой шины содержит трехпроводную силовую шину, включающую три фазных провода L1, L2 и L3, нулевой рабочий провод N, нулевой защитный провод (контур заземления), ограничитель перенапряжения сети и однополюсный автоматический выключатель, при этом первый вход-выход трехпроводной силовой шины соединен со входом-выходом ограничителя перенапряжения сети, соединенного с нулевым рабочим проводом, второй вход-выход трехпроводной шины соединен с входом-выходом однополюсного автоматического выключателя, при этом вход и выход трехпроводной силовой шины являются соответственно входом и выходом блока входной силовой шины, управляющим выходом которого является выход однополюсного автоматического выключателя.This goal is achieved by the fact that the input power bus block contains a three-wire power bus, including three phase wires L1, L2 and L3, a neutral neutral wire N, a protective earth conductor (ground loop), a surge suppressor and a single-pole circuit breaker, with the first input - the output of the three-wire power bus is connected to the input-output of the network surge suppressor connected to the neutral working wire, the second input-output of the three-wire bus is connected to the input-output of a single-pole automatic switch, the input and output of the three-wire power bus are respectively the input and output of the input power bus unit, the control output of which is the output of a single-pole circuit breaker.

Поставленная цель достигается тем, что устройство бесперебойного питания содержит блок входных силовых цепей, блок выпрямителей, автоматический выключатель аккумуляторных батарей, блок инверторов, блок выходных силовых цепей, блок контроля входного напряжения переменного тока, индикатор наличия входного напряжения, индикатор наличия напряжения аккумуляторной батареи, блок контроля выходного напряжения переменного тока, индикатор наличия выходного напряжения, контроллер и дисплей, при этом выход блока входных силовых цепей через блок выпрямителей, автоматический выключатель аккумуляторных батарей и блок инверторов соединен со входом блока выходных силовых цепей, первый выход которого соединен со входом блока контроля выходного напряжения переменного тока, вход блока контроля входного напряжения соединен со вторым выходом блока входных силовых цепей, к первому выходу которого подключен вход индикатора наличия входного напряжения, вход индикатора наличия напряжения аккумуляторной батареи подключен ко второму входу автоматического выключателя аккумуляторных батарей, входы-выходы блока выпрямителей, автоматического выключателя аккумуляторных батарей и блока инверторов подключены соответственно к первому, второму и третьему входам-выходам контроллера, выход которого соединен со входом дисплея, вход индикатора наличия выходного напряжения соединен со вторым выходом блока выходных силовых цепей, при этом вход блока входных силовых цепей является входом устройства бесперебойного питания, выходом которого является второй выход блока выходных силовых цепей, а входом устройства бесперебойного питания является второй вход автоматического выключателя аккумуляторных батарей, четвертый вход-выход контроллера является входом-выходом устройства бесперебойного питания.This goal is achieved in that the uninterruptible power supply unit contains an input power circuit block, a rectifier unit, a battery circuit breaker, an inverter unit, an output power circuit block, an AC input voltage control unit, an input voltage presence indicator, a battery voltage presence indicator, a battery unit AC output voltage control, output voltage availability indicator, controller and display, while the output of the block of input power circuits through bl to rectifiers, the battery circuit breaker and the inverter unit are connected to the input of the output power circuit block, the first output of which is connected to the input of the AC output voltage control unit, the input of the input voltage control unit is connected to the second output of the input power circuit block, to the first output of which input voltage presence indicator input, battery voltage presence indicator input connected to the second input of the battery circuit breaker the batteries, the inputs and outputs of the rectifier unit, the battery circuit breaker, and the inverter unit are connected respectively to the first, second, and third inputs and outputs of the controller, the output of which is connected to the display input, the output voltage presence indicator input is connected to the second output of the output power circuit block, this input block of the input power circuits is the input of the uninterruptible power supply, the output of which is the second output of the block of output power circuits, and the input of the uninterruptible power supply power supply is the second input of the battery circuit breaker, the fourth input-output of the controller is the input-output of the uninterruptible power supply device.

Поставленная цель достигается тем, что пульт управления системой электроснабжения содержит блок приема и обработки данных, блок отображения, формирователь команд управления, блок приема и передачи информации и линейный адаптер, при этом первые и вторые выходы блока приема и обработки данных подключены соответственно ко входам блока отображения и формирователя команд управления, первый управляющий выход которого соединен с управляющим входом блока приема и передачи информации, выход которого соединен с первым входом блока приема и обработки данных, вход-выход блока приема и передачи информации соединен с первым входом-выходом линейного адаптера, при этом первым и вторым информационными входами пульта управления системой электроснабжения являются соответственно второй и третий входы блока приема и обработки данных, первым входом-выходом пульта управления системой электроснабжения являются соответственно четвертый вход блока приема и обработки данных и второй выход формирователя команд управления, вторым входом-выходом пульта управления системой электроснабжения являются соответственно пятый вход блока приема и обработки данных и третий выход формирователя команд управления, третьим входом-выходом пульта управления системой электроснабжения является второй вход-выход линейного адаптера, четвертый выход формирователя команд управления является управляющим выходом пульта управления системой электроснабжения, третьим и четвертым информационными входами которого являются соответственно шестой и седьмой входы блока приема и обработки данных.This goal is achieved in that the control panel of the power supply system contains a data reception and processing unit, a display unit, a control command generator, an information reception and transmission unit and a line adapter, while the first and second outputs of the data reception and processing unit are connected respectively to the inputs of the display unit and a control command generator, the first control output of which is connected to a control input of the information reception and transmission unit, the output of which is connected to the first input of the reception and transmission unit Data processing, the input-output of the information reception and transmission unit is connected to the first input-output of the linear adapter, while the first and second information inputs of the power system control panel are the second and third inputs of the data reception and processing unit, and the first input-output of the system control panel power supply are, respectively, the fourth input of the data receiving and processing unit and the second output of the control command generator, the second input-output of the control panel of the power supply system I are respectively the fifth input of the data receiving and processing unit and the third output of the control command generator, the third input-output of the power system control panel is the second input-output of the line adapter, the fourth output of the control command generator is the control output of the power system control panel, the third and fourth information the inputs of which are the sixth and seventh inputs of the data receiving and processing unit, respectively.

Сопоставительный анализ с прототипом показывает, что заявляемая автоматизированная система гарантированного электроснабжения стационарного объекта отличается наличием новых блоков: щита аварийного переключения источников переменного тока, блоков входной и выходной силовых шин, блока выпрямителей, контроллера, автоматического выключателя аккумуляторной батареи, устройства бесперебойного питания потребителей переменного тока, второго блока аккумуляторных батарей, устройства пожарной сигнализации и пульта управления системой электроснабжения, а также изменением связей между остальными элементами схемы.Comparative analysis with the prototype shows that the inventive automated system of guaranteed power supply to a stationary object is distinguished by the presence of new units: a switchboard for emergency switching of AC sources, input and output power bus units, a rectifier unit, a controller, a battery circuit breaker, an uninterruptible power supply unit for alternating current consumers, a second battery pack, a fire alarm device and an electric system control panel power supply, as well as a change in the relationship between the remaining elements of the circuit.

Таким образом, заявляемая автоматизированная система гарантированного электроснабжения соответствует критерию изобретения "новизна". Сравнение заявляемого решения с другими техническими решениями показывает, что введенные блоки широко известны и для их реализации не требуется дополнительного творчества, учитывая изложенные ниже пояснения.Thus, the claimed automated system of guaranteed power supply meets the criteria of the invention of "novelty." A comparison of the proposed solutions with other technical solutions shows that the introduced blocks are widely known and for their implementation does not require additional creativity, given the explanations below.

Однако при их введении в указанной связи с остальными элементами схемы в заявляемую автоматизированную систему гарантированного электроснабжения стационарного объекта, вышеуказанные блоки проявляют новые свойства, что приводит к повышению времени бесперебойного гарантированного электроснабжения потребителей и надежности работы системы. Это позволяет сделать вывод о соответствии технического решения критерию "существенные отличия".However, when they are introduced in this connection with the other elements of the circuit into the inventive automated system of guaranteed power supply to a stationary object, the above blocks exhibit new properties, which leads to an increase in the time of uninterrupted guaranteed power supply to consumers and the reliability of the system. This allows us to conclude that the technical solution meets the criterion of "significant differences".

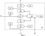
На фиг.1 представлена структурная схема автоматизированной системы гарантированного электроснабжения стационарного объекта, а на фиг.2, 3, 4 и 5 приведены структурные схемы соответственно щита аварийного переключения источников переменного тока, блока входной силовой шины, устройства бесперебойного питания потребителей переменного тока и пульта управления системой электроснабжения.Figure 1 shows the structural diagram of an automated system of guaranteed power supply of a stationary object, and figure 2, 3, 4 and 5 shows the structural diagrams, respectively, of the emergency switchboard of the AC sources, the input power bus unit, the uninterruptible power supply of AC consumers and the control panel power supply system.

Автоматизированная система гарантированного электроснабжения стационарного объекта (фиг.1) содержит основной источник 1 переменного тока, резервный источник 2 переменного тока, щит аварийного переключения 3 источников переменного тока, блок входной силовой шины 4, коммутационный аппарат (контактор) 5, блок выходной силовой шины 6, блок выпрямителей 7, блок распределения нагрузки 8 постоянного тока, основные потребители постоянного тока 9, вспомогательные потребители 10 постоянного тока, контроллер 11, первый блок 12 аккумуляторных батарей, автоматический выключатель 13 аккумуляторных батарей, устройство бесперебойного питания 14 переменного тока, блок распределения нагрузки 15 переменного тока, основные потребители переменного тока 16, вспомогательные потребители 17 переменного тока, второй блок 18 аккумуляторных батарей, устройство 19 пожарной сигнализации, пульт управления 20 системой электроснабжения и линию связи 21.The automated system of guaranteed power supply to a stationary object (Fig. 1) contains a main AC source 1, a backup AC source 2, a fail-safe switchboard 3 AC sources, an input power bus unit 4, a switching device (contactor) 5, an output power bus unit 6 , rectifier unit 7, direct current load distribution unit 8, main consumers of direct current 9, auxiliary consumers 10 of direct current, controller 11, first battery unit 12, aut aromatic switch 13 batteries, uninterruptible power supply unit 14 alternating current, load distribution unit 15 alternating current, main consumers of alternating current 16, auxiliary consumers 17 alternating current, second block 18 of rechargeable batteries, fire alarm device 19, control panel 20 of the power supply system and line communication 21.

Щит 3 аварийного переключения источников переменного тока (фиг.2) содержит первый силовой ввод 22, автоматический выключатель 23 сети, устройство защитного отключения 24, реверсивный рубильник (пакетный выключатель) 25, индикатор 26 наличия сети, переключатель измерительного прибора 27, блок контроля 28 напряжения сети, второй силовой ввод 29, автоматический выключатель 30 резервной сети, коммутационный аппарат (контактор) 31, блок контроля 32 изоляции и индикатор 33 наличия резервной сети.Shield 3 emergency switching of alternating current sources (Fig. 2) contains the first power input 22, circuit breaker 23, circuit breaker 24, reversing switch (packet switch) 25, indicator 26 of the presence of the network, switch of the measuring device 27, voltage control unit 28 network, the second power input 29, the circuit breaker 30 of the backup network, the switching device (contactor) 31, the control unit 32 of the insulation and the indicator 33 of the availability of the backup network.

Блок 4 входной силовой шины (фиг.3) содержит трехпроводную силовую шину 34, включающую три фазных провода L1, L2 и L3, нулевой рабочий 35 провод N, нулевой защитный провод 36 (контур заземления), ограничитель перенапряжения 37 сети и однополюсный автоматический выключатель 38.The input power bus block 4 (Fig. 3) contains a three-wire power bus 34, including three phase wires L1, L2 and L3, a neutral working wire 35 N, a neutral protective wire 36 (ground loop), a surge suppressor 37 network and a single-pole circuit breaker 38 .

Устройство 14 бесперебойного питания (фиг.4) содержит блок 39 входных силовых цепей, блок выпрямителей 40, автоматический выключатель 41 аккумуляторных батарей, блок инверторов 42, блок 43 выходных силовых цепей, блок контроля 44 входного напряжения переменного тока, индикатор 45 наличия входного напряжения, индикатор 46 наличия напряжения аккумуляторной батареи, блок контроля 47 выходного напряжения переменного тока, индикатор 48 наличия выходного напряжения, контроллер 49 и дисплей 50.The uninterruptible power supply device 14 (Fig. 4) comprises a block 39 of input power circuits, a block of rectifiers 40, a circuit breaker 41 of the batteries, a block of inverters 42, a block 43 of output power circuits, a control unit 44 of the input AC voltage, an indicator 45 of the presence of input voltage, a battery voltage presence indicator 46, an AC output voltage control unit 47, an output voltage presence indicator 48, a controller 49, and a display 50.

Пульт управления 20 системой электроснабжения (см. фиг.5) содержит блок приема и обработки данных 51, блок отображения 52, формирователь команд управления 53, блок 54 приема и передачи информации и линейный адаптер 55.The control panel 20 of the power supply system (see Fig. 5) comprises a data receiving and processing unit 51, a display unit 52, a control command generator 53, an information receiving and transmitting unit 54 and a linear adapter 55.

Выход основного источника 1 переменного тока подключен к первому силовому входу щита аварийного переключения 3 источников переменного тока, второй силовой вход которого соединен с выходом резервного источника 2 переменного тока. Выход щита аварийного переключения 3 источников переменного тока соединен со входом блока 4 входной силовой шины, выход которого через коммутационный аппарат 5 соединен со входом блока 6 выходной силовой шины, первый выход которого через блок выпрямителей 7 подключен ко входу блока распределения нагрузки 8 постоянного тока, к первому и второму выходам которого подключены входы соответственно основных 9 и вспомогательных 10 потребителей постоянного тока.The output of the main AC source 1 is connected to the first power input of the emergency switchboard 3 of the AC sources, the second power input of which is connected to the output of the backup AC source 2. The output of the emergency switchboard 3 of the AC sources is connected to the input of the input power bus unit 4, the output of which through the switching device 5 is connected to the input of the output power bus unit 6, the first output of which through the rectifier unit 7 is connected to the input of the DC load balancing unit 8, to the first and second outputs of which the inputs of the main 9 and auxiliary 10 DC consumers, respectively, are connected.

Вход-выход блока выпрямителей 7 соединен с первым входом-выходом контроллера 11, второй вход-выход которого подключен к входу-выходу первого блока 12 аккумуляторных батарей, выход которого через автоматический выключатель 13 аккумуляторной батареи соединен со вторым входом блока распределения нагрузки 8 постоянного тока, управляющий выход контроллера 11 соединен с управляющим входом автоматического выключателя 13 аккумуляторной батареи.The input-output of the rectifier unit 7 is connected to the first input-output of the controller 11, the second input-output of which is connected to the input-output of the first battery unit 12, the output of which is connected through the circuit breaker 13 of the battery to the second input of the DC load balancing unit 8, the control output of the controller 11 is connected to the control input of the circuit breaker 13 of the battery.

Второй выход блока 6 выходной силовой шины через устройство 14 бесперебойного питания потребителей переменного тока соединен со входом блока распределения нагрузки 15 переменного тока, первый и второй выход которого подключен ко входам соответственно основных 16 и вспомогательных 17 потребителей переменного тока, вход-выход второго блока 18 аккумуляторных батарей соединен с первым входом-выходом устройства 14 бесперебойного питания потребителей переменного тока.The second output of the output power bus unit 6 through the uninterruptible power supply unit of the AC consumers 15 is connected to the input of the load distribution unit 15 of the alternating current, the first and second output of which is connected to the inputs of the main 16 and auxiliary 17 AC consumers, respectively, the input-output of the second battery unit 18 battery connected to the first input-output device 14 for uninterrupted power supply of AC consumers.

Второй выход блока 4 входной силовой шины соединен со входом устройства 19 пожарной сигнализации, управляющий выход которого соединен с управляющим входом коммутационного аппарата 5.The second output of the input power bus unit 4 is connected to the input of the fire alarm device 19, the control output of which is connected to the control input of the switching apparatus 5.

Третий вход-выход контроллера 11 соединен с первым входом-выходом пульта управления 20 системой электроснабжения, второй вход-выход которого соединен со вторым входом-выходом устройства 14 бесперебойного питания потребителей переменного тока.The third input-output of the controller 11 is connected to the first input-output of the control panel 20 of the power supply system, the second input-output of which is connected to the second input-output of the device 14 for uninterrupted power supply of alternating current consumers.

Сигнальные выходы блока выпрямителей 7, блока распределения нагрузки 8 постоянного тока и блока распределения нагрузки 15 переменного тока подключены соответственно к первому, второму и третьему сигнальным входам устройства 19 пожарной сигнализации, а информационные выходы блока выпрямителей 7, блока распределения нагрузки 8 постоянного тока, блока распределения нагрузки 15 переменного тока и устройства 19 пожарной сигнализации подключены соответственно к первому, второму, третьему и четвертому информационным входам пульта управления 20 системой электроснабжения, управляющий выход которого соединен с управляющим входом устройства 19 пожарной сигнализации, линия связи 21 подключена к третьему входу-выходу пульта управления 20 системой электроснабжения.The signal outputs of the rectifier unit 7, the direct current load distribution unit 8 and the alternating current load distribution unit 15 are connected respectively to the first, second and third signal inputs of the fire alarm device 19, and the information outputs of the rectifier unit 7, the direct current load distribution unit 8, the distribution unit AC loads 15 and fire alarm devices 19 are connected respectively to the first, second, third and fourth information inputs of the control panel 20 s system of power supply, the control output of which is connected to the control input of the fire alarm device 19, the communication line 21 is connected to the third input-output of the control panel 20 of the power supply system.

Выход первого силового ввода 22 щита 3 аварийного переключения через автоматический выключатель 23 сети и устройство 24 защитного отключения соединен с первым входом реверсивного рубильника 25, а выход второго силового ввода 29 щита 3 через автоматический выключатель резервной 30 сети и коммутационный аппарат 31 подключен ко второму входу реверсивного рубильника 25. Вход индикатора 26 наличия напряжения сети и первый вход переключателя 27 измерительного прибора подключены к выходу устройства 24 защитного отключения, выход переключателя 27 измерительного прибора соединен со входом блока контроля 28 напряжения сети. Выход автоматического выключателя резервной 30 сети соединен со входом блока контроля 32 изоляции, управляющий выход которого соединен с управляющим входом коммутационного аппарата 31, выход которого подключен ко второму входу переключателя 27 измерительного прибора и ко входу индикатора 33 наличия напряжения резервной сети, при этом первым и вторым силовыми входами щита аварийного переключения 3 переменного тока являются входы соответственно первого 22 и второго 29 силовых вводов, а выходом щита аварийного переключения 3 переменного тока является выход реверсивного рубильника 25.The output of the first power input 22 of the emergency switchboard 3 through the circuit breaker 23 of the network and the residual current device 24 is connected to the first input of the reversing switch 25, and the output of the second power input 29 of the shield 3 through the circuit breaker of the backup 30 network and the switching device 31 is connected to the second input of the reversing switch circuit breaker 25. The input of the indicator 26 of the mains voltage and the first input of the switch 27 of the measuring device are connected to the output of the device 24 protective shutdown, the output of the switch 27 is measured Yelnia device connected to the input control unit 28 the supply voltage. The output of the circuit breaker of the backup 30 network is connected to the input of the isolation control unit 32, the control output of which is connected to the control input of the switching device 31, the output of which is connected to the second input of the switch 27 of the measuring device and to the input of the indicator 33 of the presence of voltage of the backup network, the first and second the power inputs of the emergency switchboard 3 AC are the inputs of the first 22 and second 29 power inputs, respectively, and the output of the emergency switchboard 3 AC wish to set up reverse output circuit breaker 25.

Первый вход-выход трехпроводной силовой шины 34 блока 4 входной силовой шины соединен со входом-выходом ограничителя перенапряжения 37 сети, соединенного с нулевым рабочим 35 проводом, второй вход-выход трехпроводной шины 34 соединен с входом-выходом однополюсного автоматического выключателя 38, при этом вход и выход трехпроводной силовой шины 34 являются соответственно входом и выходом блока 4 входной силовой шины, управляющим выходом которого является выход однополюсного автоматического выключателя 38.The first input-output of the three-wire power bus 34 of the input power bus unit 4 is connected to the input-output of the surge suppressor 37 of the network connected to the zero working wire 35, the second input-output of the three-wire bus 34 is connected to the input-output of a single-pole circuit breaker 38, while the input and the output of the three-wire power bus 34 are respectively the input and output of the input power bus unit 4, the control output of which is the output of a single-pole circuit breaker 38.

Выход блока 39 входных силовых цепей устройства 14 бесперебойного питания потребителей переменного тока через блок выпрямителей 40, автоматический выключатель 41 аккумуляторных батарей и блок инверторов 42 соединен со входом блока 43 выходных силовых цепей, первый выход которого соединен со входом блока контроля 47 выходного напряжения переменного тока. Вход блока контроля 44 входного напряжения соединен со вторым выходом блока 39 входных силовых цепей, к первому выходу которого подключен вход индикатора 45 наличия входного напряжения, а вход индикатора наличия 46 напряжения аккумуляторной батареи подключен ко второму входу автоматического выключателя 41 аккумуляторных батарей. Входы-выходы блока выпрямителей 40, автоматического выключателя 41 аккумуляторных батарей и блока инверторов 42 подключены соответственно к первому, второму и третьему входам-выходам контроллера 49, выход которого соединен со входом дисплея 50. Вход индикатора 48 наличия выходного напряжения соединен со вторым выходом блока 43 выходных силовых цепей, при этом вход блока 39 входных силовых цепей является входом устройства 14 бесперебойного питания, выходом которого является второй выход блока 43 выходных силовых цепей, а входом устройства 14 бесперебойного питания является второй вход автоматического выключателя 41 аккумуляторных батарей, четвертый вход-выход контроллера 49 является входом-выходом устройства 14 бесперебойного питания.The output of the input power circuit unit 39 of the uninterruptible power supply unit of the alternating current consumers 14 through the rectifier unit 40, the battery circuit breaker 41 and the inverter unit 42 are connected to the input of the output power circuit unit 43, the first output of which is connected to the input of the control unit 47 of the output voltage of the alternating current. The input of the input voltage control unit 44 is connected to the second output of the input power circuit unit 39, to the first output of which the input voltage presence indicator 45 is connected, and the input of the battery voltage presence indicator 46 is connected to the second input of the battery circuit breaker 41. The inputs and outputs of the rectifier unit 40, the battery circuit breaker 41, and the inverter unit 42 are connected respectively to the first, second, and third inputs and outputs of the controller 49, the output of which is connected to the input of the display 50. The input of the output voltage indicator 48 is connected to the second output of the unit 43 output power circuits, the input of the block 39 of the input power circuits is the input of the uninterruptible power supply device 14, the output of which is the second output of the block 43 of the output power circuits, and the input of the device 14 is free continuous power is the second input of the battery circuit breaker 41, the fourth input-output of the controller 49 is the input-output of the uninterruptible power supply device 14.

Первые и вторые выходы блока 51 приема и обработки данных пульта управления 20 системой электроснабжения подключены соответственно ко входам блока 52 отображения и формирователя 53 команд управления, первый управляющий выход которого соединен с управляющим входом блока 54 приема и передачи информации, выход которого соединен с первым входом блока приема и обработки данных 51. Вход-выход блока 54 приема и передачи информации соединен с первым входом-выходом линейного адаптера 55, при этом первым и вторым информационными входами пульта управления 20 системой электроснабжения являются соответственно второй и третий входы блока приема и обработки данных 51, а первым входом-выходом пульта управления 20 системой электроснабжения являются соответственно четвертый вход блока 51 приема и обработки данных и второй выход формирователя 53 команд управления, вторым входом-выходом пульта управления 20 системой электроснабжения являются соответственно пятый вход блока 51 приема и обработки данных и третий выход формирователя 53 команд управления, третьим входом-выходом пульта управления 20 системой электроснабжения является второй вход-выход линейного адаптера 55, четвертый выход формирователя 53 команд управления является управляющим выходом пульта управления 20 системой электроснабжения, третьим и четвертым информационными входами которого являются соответственно шестой и седьмой входы блока 51 приема и обработки данных.The first and second outputs of the data receiving and processing unit 51 of the control panel 20 of the power supply system are connected respectively to the inputs of the display unit 52 and the control command generator 53, the first control output of which is connected to the control input of the information reception and transmission unit 54, the output of which is connected to the first input of the unit receiving and processing data 51. The input-output of the information reception and transmission unit 54 is connected to the first input-output of the linear adapter 55, while the first and second information inputs of the remote control I 20 the power supply system are, respectively, the second and third inputs of the data receiving and processing unit 51, and the first input-output of the control panel 20 the power supply system are the fourth input of the data receiving and processing unit 51 and the second output of the control command generator 53, respectively, the second input-output of the remote control control system 20 power supply are, respectively, the fifth input of the block 51 receiving and processing data and the third output of the shaper 53 control commands, the third input-output of the control panel 20 sys emoy power is the second input-output line adapter 55, a fourth output control command generator 53 is a control output of the control unit power supply system 20, the third and fourth information inputs of which are respectively the sixth and seventh inputs of data acquisition and processing unit 51.

Щит 3 аварийного переключения указанного выше состава предназначен для подключения основного 1 и резервного 2 внешних источников переменного тока, автоматического отключения напряжения источников при повреждении или аварии на сети, переключения с основного источника на резервный с помощью реверсивного рубильника, защиты обслуживающего персонала от поражения электрическим током и аппаратуры, размещаемой в стационарном объекте, от возгораний при повреждении или ухудшении изоляции проводов, а также от коротких замыканий.The emergency switchboard 3 of the above composition is designed to connect the main 1 and backup 2 external AC sources, automatically turn off the voltage of the sources in case of damage or an accident on the network, switch from the main source to the backup using a reversing switch, protect personnel from electric shock and equipment placed in a stationary object, from fires due to damage or deterioration of the insulation of wires, as well as from short circuits.

Для обеспечения постоянного контроля сопротивления изоляции в составе щита 3 имеется блок контроля 32 изоляции, состоящий из релейного устройства и индикаторного устройства. Релейное устройство срабатывает и замыкает свои выходные контакты при недопустимом снижении сопротивления изоляции силовых цепей. Индикаторное устройство имеет на лицевой панели три индикатора, соответствующие трем интервалам контролируемого сопротивления изоляции и позволяющие визуально оценивать его значение.To ensure constant monitoring of insulation resistance as part of the shield 3 there is an insulation monitoring unit 32, consisting of a relay device and an indicator device. The relay device operates and closes its output contacts with an unacceptable decrease in the insulation resistance of power circuits. The indicator device has three indicators on the front panel, corresponding to three intervals of controlled insulation resistance and allowing to visually evaluate its value.

Блок 4 входной силовой шины предназначен для передачи напряжения внешних источников переменного тока к потребителям электроэнергии.Block 4 of the input power bus is designed to transmit voltage of external AC sources to electricity consumers.

Коммутационный аппарат 5 осуществляет отключение внешнего источника переменного тока при нарушениях тепловых режимов (перегревах) в блоках системы электроснабжения, технологической аппаратуре и возможности появления аварийной ситуации (возникновении пожара).Switching device 5 disconnects an external AC source in case of violations of thermal conditions (overheating) in the blocks of the power supply system, process equipment and the possibility of an emergency (fire).

Блок 6 выходной силовой шины предназначен для распределения внешних источников переменного тока по потребителям постоянного и переменного тока. Подобно блоку 4 входной силовой шины она содержит трехпроводную силовую шину, включающую три фазных провода L1, L2 и L3, нулевой рабочий провод N, нулевой защитный провод (контур заземления), ограничитель перенапряжения сети, определенное количество однополюсных автоматических выключателей и дополнительно двух- или трехполюсные выключатели.Block 6 of the output power bus is designed to distribute external AC sources to consumers of direct and alternating current. Like block 4 of the input power bus, it contains a three-wire power bus, including three phase wires L1, L2 and L3, a neutral neutral wire N, a protective earth conductor (ground loop), a surge suppressor, a certain number of single-pole circuit breakers, and an additional two- or three-pole circuit breakers.

Блок выпрямителей 7 предназначен для преобразования напряжения трехфазного или однофазного переменного тока в напряжение постоянного тока требуемого уровня для питания основных 9 и вспомогательных 10 потребителей. Структурные схемы и возможности различных выпрямителей приведены в известном источнике [5]. Выпрямители блока 7 предназначены для преобразования переменного трехфазного тока с линейным напряжением 380 В в напряжение постоянного тока 27 В для питания основных потребителей постоянным током. Блок 7 обеспечивает автоматическое включение при подаче на его вход с выхода блока 6 переменного тока, преобразование напряжения переменного тока в постоянное напряжение указанной выше величины, защиту от перегрузки без отключения потребителей посредством ограничителя тока непрерывного действия, выдачу непосредственно и через блок 8 по информационному выходу на блок 20 сигналов исправной и аварийной работы.The rectifier unit 7 is designed to convert the voltage of a three-phase or single-phase alternating current into a DC voltage of the required level to power the main 9 and auxiliary 10 consumers. Structural schemes and capabilities of various rectifiers are given in a well-known source [5]. The rectifiers of block 7 are designed to convert an alternating three-phase current with a linear voltage of 380 V into a voltage of a direct current of 27 V to supply the main consumers with direct current. Block 7 provides automatic switching on when AC is supplied to its input from the output of block 6, converting the alternating current voltage to a constant voltage of the above value, protecting against overload without disconnecting consumers by means of a continuous current limiter, outputting directly and through block 8 to the information output to unit 20 signals of serviceable and emergency operation.

Блок 8 распределения нагрузки потребителей постоянного тока содержит входные и выходные устройства, блоки контроля напряжения и автоматические выключатели, предназначенные для приема напряжения постоянного тока от блока 7 выпрямителей, распределения напряжения по потребителям и защиты силовых цепей от короткого замыкания. Блок 8 предназначен для приема с выхода блока выпрямителей 7 напряжения 27 В постоянного тока, распределения его и коммутации силовых цепей с помощью имеющихся в его составе коммутационных аппаратов на входы основных 9 и вспомогательных 10 потребителей. Он обеспечивает прием, коммутацию и распределение электроэнергии постоянного тока напряжением 27 В, коммутацию выходов первого блока 12 аккумуляторных батарей на нагрузку, а также автоматическое переключение входа потребителей 9 и 10 на выходы аккумуляторной батареи 12 через автоматический выключатель 13 при пропадании основного источника и обратное переключение с резервных источников на основной при восстановлении нормального питания. Блок 8 обеспечивает также защиту цепей от короткого замыкания и перегрузок, автоматический контроль наличия напряжения на входах и выходах, состояния коммутационных аппаратов, выдачу в блок 20 сигналов исправной и аварийной работы.Block 8 load balancing consumers of direct current contains input and output devices, voltage control units and circuit breakers designed to receive DC voltage from block 7 rectifiers, voltage distribution among consumers and protect power circuits from short circuit. Block 8 is designed to receive the voltage of 27 V DC from the output of the block of rectifiers 7, distribute it and switch the power circuits using the switching devices it contains at the inputs of the main 9 and auxiliary 10 consumers. It provides the reception, switching and distribution of DC electricity with a voltage of 27 V, switching the outputs of the first block 12 of batteries to the load, as well as automatically switching the input of consumers 9 and 10 to the outputs of the battery 12 through a circuit breaker 13 in the event of a failure of the main source and reverse switching from backup sources to the main when restoring normal nutrition. Block 8 also provides protection of circuits against short circuits and overloads, automatic control of the presence of voltage at the inputs and outputs, the status of switching devices, the issuance in block 20 of signals of good and emergency operation.

Блок 8 осуществляет также контроль нагрузки (величины напряжения и тока), поступающей с выхода блока выпрямителей 7, и выдачу по информационному выходу на вход пульта управления 20 данных контроля нагрузки.Unit 8 also monitors the load (voltage and current) coming from the output of the rectifier unit 7, and provides information on the input to the control panel 20 of the load control data.

В качестве основных 9 и вспомогательных 10 потребителей могут выступать аппаратура и вспомогательное оборудование радиоэлектронных комплексов, для которых обязательно требуется источник напряжения постоянного тока определенной величины с необходимым качеством.The main 9 and auxiliary 10 consumers can be equipment and auxiliary equipment of electronic complexes, which necessarily require a DC voltage source of a certain magnitude with the required quality.

Контроллер 11 предназначен для управления режимами работы блока выпрямителей 7 и блока 8 распределения нагрузки постоянного тока, измерения и отображения на экране дисплея всех рабочих параметров, контроля и индикации технического состояния, контроля емкости аккумуляторных батарей блока 12, переключения аккумуляторных батарей 12 на питание потребителей и отключения батареи при глубоком разряде, обмена данными с пультом управления 20 системой электроснабжения.The controller 11 is designed to control the operating modes of the rectifier unit 7 and the DC load balancing unit 8, measuring and displaying all operating parameters on the display screen, monitoring and indicating the technical condition, monitoring the battery capacity of unit 12, switching the battery 12 to power consumers and disconnecting batteries with deep discharge, data exchange with the control panel 20 of the power supply system.

В качестве контроллера 11 может быть использован микроконтроллер типа МК 1816, который представляет собой большую интегральную схему (БИС), имеющую в своем составе все атрибуты небольшой микро-ЭВМ: арифметическое логическое устройство, устройство управления, постоянное ЗУ программ, ОЗУ данных и интерфейсные схемы [6].As the controller 11 can be used microcontroller type MK 1816, which is a large integrated circuit (LSI), which includes all the attributes of a small micro-computer: an arithmetic logic device, a control device, a permanent program memory, data RAM and interface circuits [ 6].

Устройство бесперебойного питания 14 переменного тока указанного выше состава предназначено для обеспечения бесперебойного электропитания переменным током телекоммуникационных средств связи и средств жизнеобеспечения. Основными элементами устройства являются блок 40 выпрямителей и блок 18 аккумуляторных батареей, подключенных к устройству в режиме подзаряда, блок инверторов 42 и контроллер 49, осуществляющий управление режимами работы устройства 14.The uninterruptible power supply unit 14 of alternating current of the above composition is intended to provide uninterrupted power supply by alternating current of telecommunication means of communication and means of life support. The main elements of the device are the rectifier unit 40 and the battery unit 18 connected to the device in the charging mode, the inverter unit 42 and the controller 49, which controls the operating modes of the device 14.

При этом блок 40 выпрямителей устройства 14 обеспечивает преобразование переменного трехфазного тока с напряжением 380 В в напряжение постоянного тока 12-15 В, защиту от перегрузки без отключения сети путем оснащения его ограничителем тока непрерывного действия, разблокировку аварийных защит при снятии входного переменного напряжения, равномерную нагрузку фаз источника переменного трехфазного тока, выдачу на блок сигналов исправной и аварийной работы с индикацией на лицевой панели, автоматический контроль величины напряжения постоянного тока на выходе, выдает информацию о контролируемых параметрах в контроллер 49.In this case, the rectifier unit 40 of the device 14 provides the conversion of three-phase alternating current with a voltage of 380 V into a direct current voltage of 12-15 V, overload protection without disconnecting the network by equipping it with a continuous current limiter, unlocking emergency protection when removing the input alternating voltage, a uniform load phases of an alternating three-phase current source, issuing to the unit signals of good and emergency operation with indication on the front panel, automatic control of the DC voltage current output, provides information about the controlled parameters in the controller 49.

Блок инверторов 42 устройства 14 предназначен для гарантированного питания переменным током основных 16 и вспомогательных 17 потребителей.The block of inverters 42 of the device 14 is intended for guaranteed AC power supply of the main 16 and auxiliary 17 consumers.

Блок 42 предназначен для получения переменного однофазного напряжения 220 В, трехфазного напряжения 380 В из постоянного напряжения 12-15 В, поступающего с выхода блока выпрямителей 40 или с выхода блока аккумуляторных батарей 18.Block 42 is designed to receive an alternating single-phase voltage of 220 V, a three-phase voltage of 380 V from a constant voltage of 12-15 V, coming from the output of the rectifier unit 40 or from the output of the battery pack 18.

Блок инверторов 42 автоматически включается при подаче на его вход постоянного напряжения. Блок 42 инверторов обеспечивает выдачу потребителям переменного однофазного напряжения 220 В, переменного трехфазного напряжения 380 В, защиту от перегрузки, разблокировку аварийных защит при снятии постоянного напряжения, защитное отключение при перегрузке по одной из фаз выходного напряжения, выдачу на контроллер 49 сигналов исправной и аварийной работы с индикацией на лицевой панели, автоматический контроль величины напряжения постоянного тока 12-15 В, величины напряжения переменного тока 220 В и асимметрии выходного напряжения.The block of inverters 42 is automatically turned on when a constant voltage is applied to its input. Block 42 inverters provides consumers with alternating single-phase voltage 220 V, alternating three-phase voltage 380 V, overload protection, unlocking emergency protection when removing constant voltage, protective shutdown when overloading on one of the phases of the output voltage, outputting 49 correct and emergency signals to the controller with indication on the front panel, automatic control of the DC voltage value of 12-15 V, AC voltage value of 220 V and output voltage asymmetry.

Контроллер 49 устройства 14 предназначен для управления режимами работы блока выпрямителей 40, блока инверторов 42 и блока 15 распределения нагрузки постоянного тока, измерения и отображения на экране дисплея 50 всех рабочих параметров, контроля и индикации технического состояния, контроля емкости аккумуляторных батарей блока 18, переключения аккумуляторных батарей блока 18 на питание потребителей и отключения батареи при глубоком разряде, обмена данными с пультом управления 20 системой электроснабжения. Он обеспечивает возможность регулирования выходного напряжения в широком диапазоне, контроль тока нагрузки и температуры теплоотводящих элементов, а также выдачу сигнализации о перенапряжении на выходе устройства 14 по стыкам RS-232 или RS-485.The controller 49 of the device 14 is designed to control the operating modes of the rectifier unit 40, the inverter unit 42 and the DC load balancing unit 15, measuring and displaying on the display screen 50 all operating parameters, monitoring and indicating the technical condition, monitoring the battery capacity of the unit 18, switching battery cells unit 18 batteries for powering consumers and turning off the battery during deep discharge, data exchange with the control panel 20 of the power supply system. It provides the ability to control the output voltage in a wide range, control the load current and temperature of the heat sink elements, as well as issue an alarm about overvoltage at the output of device 14 at the joints of RS-232 or RS-485.

В качестве контроллера 49 может быть использован микроконтроллер типа МК 1816, который представляет собой большую интегральную схему (БИС), имеющую в своем составе все атрибуты небольшой микро-ЭВМ: арифметическое логическое устройство, устройство управления, постоянное ЗУ программ, ОЗУ данных и интерфейсные схемы [6], а также может быть использован контроллер из модулей семейства ЭВМ «Багет-М» [7].As the controller 49, a microcontroller of the MK 1816 type can be used, which is a large integrated circuit (LSI) that incorporates all the attributes of a small microcomputer: an arithmetic logic device, a control device, a permanent program memory, data RAM, and interface circuits [ 6], and also a controller from modules of the Baget-M computer family can be used [7].

Блок распределения 15 нагрузки переменного тока предназначен для питания основных 16 и вспомогательных 17 потребителей однофазным переменным током напряжением 220 В и трехфазным током напряжением 380 В.The distribution unit 15 of the AC load is designed to power the main 16 and 17 auxiliary consumers with a single-phase alternating current voltage of 220 V and three-phase current voltage of 380 V.

Блок 15 обеспечивает прием и распределение по потребителям электроэнергии переменного тока напряжением 380/220 В, отображение на индикаторе наличия на каждом из потребителей напряжения и тока, защиту подключаемых цепей питания от токов короткого замыкания и перегрузок. Защита отходящих линий осуществляется схемными средствами без отключения и рассчитана на номинальный ток нагрузки подключаемой линии, возможность местного включения и отключения отдельных потребителей с помощью кнопок, расположенных на блоке.Block 15 provides the reception and distribution of 380/220 V AC electricity to consumers, the display on the indicator of the presence of voltage and current on each of the consumers, protection of the connected power circuits from short circuit currents and overloads. Protection of outgoing lines is carried out by circuit means without shutdown and is designed for the rated load current of the connected line, the possibility of local switching on and off of individual consumers using the buttons located on the unit.

Устройство 19 пожарной сигнализации содержит пусковой пульт сигнализации, охранно-пожарный пульт, пульт дистанционного пуска, световой оповещатель, светозвуковой оповещатель, блок коммутации и контроля цепей пуска. Оно предназначено для контроля состояния одного направления с запуском систем пожаротушения и дымоудаления при срабатывании не менее двух активных или пассивных извещателей в пожарном шлейфе, а также для управления внешними звуковыми и световыми оповещателями.The fire alarm device 19 comprises an alarm start-up remote control, a fire and security remote control, a remote start-up device, a light siren, a light-sound siren, a switching and control unit for start-up circuits. It is designed to monitor the state of one direction with the launch of fire extinguishing and smoke removal systems when at least two active or passive detectors are activated in a fire loop, as well as to control external sound and light annunciators.

Устройство 19 осуществляет прием и регистрацию извещений посредством контроля тока, протекающего в шлейфах сигнализации к блокам системы электроснабжения. В качестве извещателей, включаемых в пожарный шлейф, могут использоваться пожарные извещатели электроконтактного типа (ИП 105, МАК-1 и т.д.), пожарные извещатели, имеющие на выходе реле и сигнальные цепи активных охранных приборов (активные пожарные извещатели типа ИП 212-2 «ДИП-2» и др.). Устройство обеспечивает непрерывный контроль состояния пожарных шлейфов по протекающему в них току, а сигнальных - по их сопротивлению.The device 19 receives and records notifications by monitoring the current flowing in the signal loops to the blocks of the power supply system. Fire detectors of the electrical contact type (IP 105, MAK-1, etc.), fire detectors with relay outputs and signal circuits of active security devices (active fire detectors of type IP 212- can be used as detectors included in the fire loop) 2 "DIP-2", etc.). The device provides continuous monitoring of the condition of fire loops by the current flowing in them, and signal ones by their resistance.

Пульт управления 20 системой электроснабжения содержит блок 51 приема и обработки данных, блок 52 отображения, формирователь 53 команд управления, блок 54 приема и передачи информации и линейный адаптер 55. Пульт управления может быть реализован на ЭВМ из семейства "Багет" для специализированных применений, дополнительных модулей и программного обеспечения. Он включает в себя набор стандартных модулей и позволяет устанавливать дополнительные модули для решения широкого круга задач ввода, сбора, хранения, обработки, отображения и передачи данных [7].The control panel 20 of the power supply system comprises a data receiving and processing unit 51, a display unit 52, a control command generator 53, an information receiving and transmitting unit 54 and a line adapter 55. The control panel can be implemented on a computer from the Baguette family for specialized applications, additional modules and software. It includes a set of standard modules and allows you to install additional modules to solve a wide range of tasks of input, collection, storage, processing, display and transmission of data [7].

Блок 51 пульта управления 20 предназначен для приема и обработки данных о техническом состоянии системы электроснабжения и ее элементов. Он включает в себя модули микропроцессора и математического акселератора, представляющие собой известные элементы из семейства модулей для системы ЭВМ «Багет» [7]. Наличие указанных данных позволит своевременно принять меры по бесперебойному электропитанию основных и вспомогательных потребителей.Block 51 of the control panel 20 is designed to receive and process data about the technical condition of the power supply system and its elements. It includes modules of a microprocessor and a mathematical accelerator, which are known elements from the family of modules for the computer system "Baguette" [7]. The presence of these data will allow timely measures to be taken to ensure uninterrupted power supply to the main and auxiliary consumers.

Блок отображения 52 пульта управления 20 системой электроснабжения предназначен для приема данных о состоянии элементов системы электроснабжения (блока 7 выпрямителей, блока 8 распределения нагрузки постоянного тока, контроллера 11, устройства 14 бесперебойного питания, блока 15 распределения нагрузки переменного тока и устройства 19 пожарной сигнализации), отображения буквенно-цифровой информации о параметрах системы электроснабжения (величины тока, напряжения, мощности, частоты переменного тока и др.), об аварийном состоянии системы и рекомендаций оператору о действиях в аварийных ситуациях.The display unit 52 of the control panel 20 of the power supply system is designed to receive data on the state of the elements of the power supply system (unit 7 of the rectifiers, unit 8 of the DC load distribution, controller 11, uninterruptible power supply unit 14, unit 15 of the AC load distribution and the fire alarm device 19), display alphanumeric information about the parameters of the power supply system (current, voltage, power, frequency of alternating current, etc.), about the emergency state of the system and rivers mendations to the operator of the emergency response.

Блок 54 представляет собой устройство сопряжения, которое предназначено для согласования по уровням сигналов выходных цепей с физической линией 21 и передачи данных о состоянии элементов системы электроснабжения через линейный адаптер 55 пульта управления 20 на электронную вычислительную машину внешнего пункта управления системой электроснабжения.Block 54 is an interface device, which is designed to coordinate the output signal level with the physical line 21 and transmit data on the state of the elements of the power supply system through the line adapter 55 of the control panel 20 to the electronic computer of the external control center of the power supply system.

Линейный адаптер 55 предназначен для обмена данными по физическим линиям 21 или каналам связи с внешним пунктом управления системой электроснабжения. Он обеспечивает передачу данных о состоянии элементов системы, сигналов и команд управления на вышестоящий пункт управления.Line adapter 55 is designed to exchange data on physical lines 21 or communication channels with an external control point of the power supply system. It provides data transmission on the state of system elements, signals and control commands to a higher control center.

Система характеризуется несколькими режимами работы, главными из которых являются:The system is characterized by several modes of operation, the main of which are:

1) раздельное гарантированное питание потребителей электроэнергии стационарного объекта от основного 1 или резервного 2 источников переменного тока. При этом питание основных и вспомогательных потребителей постоянного тока осуществляется напряжением постоянного тока 27 В, преобразованным из напряжения переменного тока 380/220 В с помощью блока выпрямителей 7 и первого блока 12 аккумуляторных батарей, а питание основных и вспомогательных потребителей переменного тока обеспечивается переменным током напряжением 380/220 В с помощью устройства 14 бесперебойного питания переменным током и второго блока 18 аккумуляторных батарей;1) separate guaranteed power supply to consumers of electricity of a stationary object from the main 1 or backup 2 AC sources. In this case, the power of the main and auxiliary consumers of direct current is carried out by a DC voltage of 27 V, converted from an alternating current voltage of 380/220 V using a block of rectifiers 7 and the first block of 12 batteries, and the power of the main and auxiliary consumers of alternating current is provided by an alternating current of 380 / 220 V using the device 14 uninterruptible power supply with alternating current and the second block 18 of the battery;

2) гарантированное питание основных и вспомогательных потребителей электроэнергии постоянного тока от первого резервного источника постоянного тока, в качестве которого выступает первый блок 12 аккумуляторных батарей. Этот режим работы обеспечивается на время, необходимое для восстановления основного 1 или резервного 2 источников электроэнергии;2) guaranteed power supply to the main and auxiliary consumers of direct current electricity from the first standby direct current source, which is the first block of 12 batteries. This mode of operation is provided for the time necessary to restore the main 1 or backup 2 sources of electricity;

3) гарантированное питание основных и вспомогательных потребителей электроэнергии переменного тока от второго резервного источника постоянного тока, в качестве которого выступает второй блок 18 аккумуляторных батарей, и блока инверторов 42, входящего в состав устройства 14 бесперебойного питания потребителей переменного тока.3) guaranteed power supply to the main and auxiliary consumers of alternating current electric power from the second standby direct current source, which is the second battery unit 18, and the inverter unit 42, which is part of the device 14 for uninterrupted power supply of alternating current consumers.

Первый из названных режимов обеспечивается при наличии напряжения на первом силовом вводе щита 3 аварийного переключения источников переменного тока при условии, что отклонение напряжения основного источника 1 на вводе не выходит за допустимые пределы. При этом осуществляется раздельное питание основных 9 и вспомогательных 10 потребителей постоянным током через блок выпрямителей 7 и блок 8 распределения нагрузки постоянного тока, а первый блок 12 аккумуляторных батарей является резервным источником. В данном режиме блок 7 выпрямителей осуществляет преобразование переменного тока 380/220 В в напряжение 27 В постоянного тока, которое с выхода блока 7 через блок 8 поступает к основным 9 и вспомогательным 10 потребителям электроэнергии.The first of these modes is provided when there is voltage at the first power input of the shield 3 of the emergency switching of AC sources, provided that the voltage deviation of the main source 1 at the input does not exceed acceptable limits. In this case, the main 9 and auxiliary 10 consumers are supplied with DC power separately through the rectifier unit 7 and the DC load distribution unit 8, and the first battery unit 12 is a backup source. In this mode, the unit 7 of the rectifiers converts the alternating current 380/220 V into a voltage of 27 V DC, which from the output of the unit 7 through the unit 8 is supplied to the main 9 and auxiliary 10 electricity consumers.

При пропадании или отклонении напряжения основного источника 1 на первом силовом вводе щита 3 за допустимые пределы происходит срабатывание автоматического выключателя 13 под действием сигнала, вырабатываемого контроллером 11 на основании данных, поступающих с выхода блока 7 контроля входного напряжения. Замыканием контактов выключателя 13 происходит переключение питания основных 9 и вспомогательных 10 потребителей на резервный источник - первый блок 12 аккумуляторных батарей. При восстановлении основного источника 1 переменного тока переключением контактов выключателя 13 происходит автоматический возврат питания основных 9 и вспомогательных 10 потребителей от основного источника через блок 7 выпрямителей.If the voltage of the main source 1 at the first power input of the shield 3 disappears or deviates from the permissible limits, the circuit breaker 13 is triggered by the signal generated by the controller 11 based on the data from the output of the input voltage control unit 7. By closing the contacts of the switch 13, the power of the main 9 and auxiliary 10 consumers is switched to a backup source - the first block of 12 batteries. When restoring the main AC source 1 by switching the contacts of the switch 13, the power of the main 9 and auxiliary 10 consumers is automatically returned from the main source through the rectifier unit 7.

Питание основных 16 и вспомогательных 17 потребителей переменным током осуществляется через устройство 14 бесперебойного питания и блок 15 распределения нагрузки переменного тока, а второй блок 18 аккумуляторных батарей является резервным источником для этого режима. В данном режиме блок выпрямителей 40 устройства 14 осуществляет преобразование переменного тока напряжением 380/220 В в напряжение 12-15 В постоянного тока, которое с выхода блока 40 через автоматический выключатель 41 поступает на вход блока инверторов 42. Блок инверторов 42 осуществляет преобразование поступившего напряжения постоянного тока в напряжение переменного тока, которое с выхода блока 42 через блок 43 устройства 14 поступает на вход блока распределения 15 нагрузки переменного тока и с выхода блока 15 напряжение поступает к основным 16 и вспомогательным 17 потребителям электроэнергии.The main 16 and auxiliary 17 consumers are supplied with alternating current through an uninterruptible power supply device 14 and an AC load distribution unit 15, and the second battery unit 18 is a backup source for this mode. In this mode, the rectifier unit 40 of the device 14 converts the alternating current voltage of 380/220 V into a voltage of 12-15 V DC, which from the output of the unit 40 through the circuit breaker 41 is fed to the input of the inverter unit 42. The inverter unit 42 converts the incoming DC voltage current to the AC voltage, which from the output of block 42 through the block 43 of the device 14 is fed to the input of the distribution unit 15 of the AC load and from the output of the block 15 the voltage is supplied to the main 16 and 17 powerful consumers of electricity.

При пропадании или отклонении напряжения основного источника 1 на первом силовом вводе щита 3 за допустимые пределы происходит срабатывание автоматического выключателя 41 под действием сигнала, вырабатываемого контроллером 49 на основании данных, поступающих с выхода блока 40. Замыканием контактов выключателя 41 происходит переключение питания основных 16 и вспомогательных 17 потребителей на резервный источник - второй блок 18 аккумуляторных батарей, напряжение постоянного тока которого через выключатель 41 поступает на вход блока инверторов 42. Блок 42 осуществляет преобразование напряжения постоянного тока аккумуляторных батарей в напряжение переменного тока 380/220 В, которое через блок 15 поступает к основным 16 и вспомогательным 17 потребителям. При восстановлении основного источника 1 переменного тока переключением контактов выключателя 41 происходит автоматический возврат питания основных 16 и вспомогательных 17 потребителей от основного источника через блок 40 выпрямителей устройства 14 бесперебойного питания.If the voltage of the main source 1 at the first power input of the shield 3 disappears or deviates from the permissible limits, the circuit breaker 41 is triggered by the signal generated by the controller 49 on the basis of the data received from the output of the unit 40. By closing the contacts of the switch 41, the power supply of the main 16 and auxiliary 17 consumers to the backup source - the second battery unit 18, the DC voltage of which through the switch 41 is supplied to the input of the inverter in 42. Block 42 converts the DC voltage of the batteries into AC voltage of 380/220 V, which, through block 15, is supplied to the main 16 and auxiliary 17 consumers. When restoring the main AC source 1 by switching the contacts of the switch 41, the power of the main 16 and auxiliary 17 consumers is automatically returned from the main source through the rectifier unit 40 of the uninterruptible power supply 14.

Питание основных и вспомогательных потребителей от резервного 2 источника переменного тока осуществляется аналогично тому, как это происходит при питании от основного 1 источника электроэнергии. Отличие заключается в том, что напряжение подается через второй силовой ввод 29 щита 3 аварийного переключения.The main and auxiliary consumers are fed from the backup 2 sources of AC power in the same way as when they are powered from the main 1 source of electricity. The difference is that the voltage is supplied through the second power input 29 of the emergency switchboard 3.

Второй и третий режимы работы системы являются вспомогательными и обеспечивают питание потребителей в течение определенного времени. Время работы в этих режимах определяется количеством аккумуляторных батарей в первом 12 и втором блоке 18 аккумуляторных батарей и их суммарной емкостью.The second and third modes of operation of the system are auxiliary and provide power to consumers for a certain time. The operating time in these modes is determined by the number of batteries in the first 12 and second block 18 of batteries and their total capacity.

Для реализации того или иного режима работы системы электроснабжения в ней обеспечивается сбор данных о состоянии системы и ее элементов, обработка и отображение полученных данных. На основе результатов обработки данных подготавливаются рекомендации дежурному оператору по выбору наиболее оптимального варианта схемы системы электроснабжения для каждой ситуации, существующей на данный момент времени.For the implementation of a particular mode of operation of the power supply system, it provides for the collection of data on the state of the system and its elements, processing and display of the received data. Based on the data processing results, recommendations are prepared for the duty operator on choosing the most optimal variant of the power supply system scheme for each situation that exists at a given time.

Введение устройства защитного отключения 24 и блока контроля изоляции 32 в состав щита 3 аварийного переключения, устройства 19 пожарной сигнализации, а также введение пульта управления 20 системой электроснабжения позволяет обеспечить выбор и установку оптимального с точки зрения реально существующих условий режима работы системы, автоматическое переключение каналов электроснабжения с основного на резервный при выходе из строя основного источника переменного тока и автоматический возврат на электропитание потребителей по основному каналу при его восстановлении. Все это способствует повышению времени бесперебойного электропитания потребителей и обеспечению надежности работы, защите силовых цепей от повышенного напряжения и короткого замыкания в силовых цепях. При этом обеспечивается также автоматический контроль наличия напряжения на входах и выходах силовых цепей, способствующий автоматическому изменению чередования фаз и защите от ошибочного параллельного соединения различных источников электроэнергии к одним и тем же цепям при наличии напряжения на их выходах.The introduction of the residual current circuit breaker 24 and the insulation monitoring unit 32 into the emergency switchboard 3, the fire alarm device 19, as well as the introduction of the control panel 20 of the power supply system allows for the selection and installation of an optimal operating mode of the system from the point of view of actual conditions, automatic switching of power supply channels from the main to the backup when the main AC source fails and the consumers automatically return to the power supply for the main Nala during its restoration. All this contributes to increasing the uninterrupted power supply of consumers and ensuring reliable operation, protecting power circuits from high voltage and short circuit in power circuits. This also provides automatic control of the presence of voltage at the inputs and outputs of the power circuits, which contributes to the automatic change of phase rotation and protection against erroneous parallel connection of various power sources to the same circuits in the presence of voltage at their outputs.

Положительный эффект заключается в повышении времени бесперебойного электроснабжения потребителей в условиях недостаточно развитой инфраструктуры стационарных энергосистем, обеспечении пожаробезопасности при резких изменениях напряжения в сети и надежности работы системы.The positive effect is to increase the time of uninterrupted power supply to consumers in the context of insufficiently developed infrastructure of stationary power systems, ensuring fire safety with sharp changes in the voltage in the network and the reliability of the system.

Достоинством системы является то, что ее использование позволяет обеспечить полную пожарную безопасность за счет реализации в ней функционального контроля всех параметров системы, включая контроль температурных режимов работающих блоков и устройств системы, и возможности практически мгновенного отключения потребителей электроэнергии от внешних источников переменного тока при появлении перенапряжения и возникновении короткого замыкания в сети, а также за счет внедрения средств системы пожарной сигнализации, включая температурные датчики, датчики наличия дыма в помещении для размещения радиоэлектронных комплексов (в схеме они не показаны в целях простоты изложения материалов заявки).The advantage of the system is that its use allows to ensure complete fire safety due to the implementation of functional control of all system parameters in it, including control of temperature conditions of working units and system devices, and the possibility of almost instantaneous disconnection of electricity consumers from external AC sources when overvoltage and the occurrence of a short circuit in the network, as well as due to the implementation of the fire alarm system, including temperature sensors, smoke sensors in the room for placement of electronic complexes (they are not shown in the diagram for the sake of simplicity of presentation of application materials).

Испытания изготовленного образца предлагаемой автоматизированной системы гарантированного электроснабжения стационарного объекта показали, что в ней, по сравнению с прототипом, существенно увеличивается время непрерывной работы системы при пропадании основного и резервного источников переменного тока и улучшается электропитание потребителей электроэнергией как переменным током, так и постоянным током за счет введения устройства бесперебойного питания и резервных источников постоянного тока, что подтвердило техническую реализуемость предлагаемой системы и возможность достижения поставленной цели.Tests of the manufactured sample of the proposed automated system of guaranteed power supply to a stationary object showed that, compared with the prototype, the time of continuous operation of the system significantly increases when the main and backup sources of alternating current disappear and the power supply of consumers with electric power both alternating current and direct current improves the introduction of uninterruptible power supply and backup DC sources, which confirmed the technical implementation Bridges of the proposed system and the ability to achieve this goal.

Источники информацииInformation sources

1. SU, авторское свидетельство №207283, кл. Н02J 3/02, 1967.1. SU, copyright certificate No. 207283, cl. H02J 3/02, 1967.

2. SU, авторское свидетельство №681501, кл. Н02J 3/04, 1977.2. SU, copyright certificate No. 681501, cl. H2O 3/04, 1977.

3. SU, авторское свидетельство №843090, кл. Н02J 3/04, 1981.3. SU, copyright certificate No. 843090, cl. H2O 3/04, 1981.

4. RU, патент №2183042, кл. Н02J 3/04, 2002 (прототип).4. RU, patent No. 2183042, class. Н02J 3/04, 2002 (prototype).

5. Энергетическая электроника. Справочное пособие. Пер. с нем. / Под ред. В.А.Лабунцова. - М.: Энергоатомиздат, 1987.5. Energy electronics. Reference manual. Per. with him. / Ed. V.A. Labuntsova. - M .: Energoatomizdat, 1987.

6. Каган Б.М., Сташин В.В. Основы проектирования микропроцессорных устройств автоматики. - М.: Энергоатомиздат, 1987.6. Kagan B.M., Stashin V.V. Fundamentals of designing microprocessor automation devices. - M .: Energoatomizdat, 1987.

7. Семейство ЭВМ «Багет-М», КБ «Корунд-М», а/я 10.7. The family of computers "Baguette-M", KB "Corund-M", PO Box 10.

Claims (5)

1. Автоматизированная система гарантированного электроснабжения стационарного объекта, содержащая основной и резервный источники переменного тока, блок распределения нагрузки постоянного тока, блок аккумуляторных батарей, блок распределения нагрузки переменного тока, основные и вспомогательные потребители постоянного тока, основные и вспомогательные потребители переменного тока, линию связи, отличающаяся тем, что в нее введены щит аварийного переключения источников переменного тока, блок входной силовой шины, коммутационный аппарат, блок выходной силовой шины, блок выпрямителей, устройство бесперебойного питания потребителей переменного тока, контроллер, второй блок аккумуляторных батарей, устройство пожарной сигнализации и пульт управления системой электроснабжения, при этом выход основного источника переменного тока подключен к первому силовому входу щита аварийного переключения источников переменного тока, второй силовой вход которого соединен с выходом резервного источника переменного тока, выход щита аварийного переключения источников переменного тока соединен со входом блока входной силовой шины, выход которой через коммутационный аппарат соединен со входом блока выходной силовой шины, первый выход которой через блок выпрямителей подключен ко входу блока распределения нагрузки постоянного тока, к первому и второму выходам которого подключены входы соответственно основных и вспомогательных потребителей постоянного тока, вход-выход блока выпрямителей соединен с первым входом-выходом контроллера, второй вход-выход которого подключен к входу-выходу первого блока аккумуляторных батарей, выход которого через автоматический выключатель аккумуляторной батареи соединен со вторым входом блока распределения нагрузки постоянного тока, управляющий выход контроллера соединен с управляющим входом автоматического выключателя аккумуляторной батареи, второй выход блока выходной силовой шины через устройство бесперебойного питания потребителей переменного тока соединен со входом блока распределения нагрузки переменного тока, первый и второй выход которого подключен ко входам соответственно основных и вспомогательных потребителей переменного тока, вход-выход второго блока аккумуляторных батарей соединен с первым входом-выходом устройства бесперебойного питания потребителей переменного тока, второй выход блока входной силовой шины соединен со входом устройства пожарной сигнализации, управляющий выход которого соединен с управляющим входом коммутационного аппарата, третий вход-выход контроллера соединен с первым входом-выходом пульта управления системой электроснабжения, второй вход-выход которого соединен со вторым входом-выходом устройства бесперебойного питания потребителей переменного тока, сигнальные выходы блока выпрямителей, блока распределения нагрузки постоянного тока и блока распределения нагрузки переменного тока подключены соответственно к первому, второму и третьему сигнальным входам устройства пожарной сигнализации, информационные выходы блока выпрямителей, блока распределения нагрузки постоянного тока, блока распределения нагрузки переменного тока и устройства пожарной сигнализации подключены соответственно к первому, второму, третьему и четвертому информационным входам пульта управления системой электроснабжения, управляющий выход которого соединен с управляющим входом устройства пожарной сигнализации, линия связи подключена к третьему входу-выходу пульта управления системой электроснабжения.1. An automated system of guaranteed power supply to a stationary facility, containing the main and backup AC sources, a DC load distribution unit, a battery pack, an AC load distribution unit, main and auxiliary DC consumers, main and auxiliary AC consumers, a communication line, characterized in that an emergency switchboard for alternating current sources, an input power bus unit, a switching apparatus are introduced into it t, output power bus unit, rectifier unit, uninterruptible power supply for alternating current consumers, controller, second battery pack, fire alarm device and control panel of the power supply system, while the output of the main AC source is connected to the first power input of the emergency switchboard of the alternating sources current, the second power input of which is connected to the output of the backup alternating current source, the output of the emergency switchboard of alternating current sources is and connected to the input of the input power bus unit, the output of which through the switching device is connected to the input of the output power bus unit, the first output of which is connected to the input of the DC load balancing unit through the rectifier unit, to the first and second outputs of which the inputs of the main and auxiliary consumers are connected DC, the input-output of the rectifier unit is connected to the first input-output of the controller, the second input-output of which is connected to the input-output of the first block of battery tare, whose output through the battery circuit breaker is connected to the second input of the DC load balancing unit, the control output of the controller is connected to the control input of the battery circuit breaker, the second output of the output power bus unit through the uninterruptible power supply of AC consumers is connected to the input of the load distribution unit alternating current, the first and second output of which is connected to the inputs of the main and auxiliary, respectively AC consumers, the input-output of the second battery pack is connected to the first input-output of the uninterruptible power supply of AC consumers, the second output of the input power bus unit is connected to the input of the fire alarm device, the control output of which is connected to the control input of the switching device, the third input the controller output is connected to the first input-output of the control panel of the power supply system, the second input-output of which is connected to the second input-output of the device b uninterrupted power supply of AC consumers, the signal outputs of the rectifier unit, the DC load distribution unit and the AC load distribution unit are connected respectively to the first, second and third signal inputs of the fire alarm device, the information outputs of the rectifier unit, the DC load distribution unit, the load distribution unit alternating current and fire alarm devices are connected respectively to the first, second, third and fourth in the formation inputs of the control panel of the power supply system, the control output of which is connected to the control input of the fire alarm device, the communication line is connected to the third input-output of the control panel of the power supply system. 2. Автоматизированная система по п.1, отличающаяся тем, что щит аварийного переключения источников переменного тока содержит первый силовой ввод, автоматический выключатель сети, устройство защитного отключения, индикатор наличия сети, реверсивный рубильник, переключатель измерительного прибора, блок контроля напряжения сети, второй силовой ввод, автоматический выключатель резервной сети, коммутационный аппарат (контактор), блок контроля изоляции и индикатор наличия резервной сети, при этом выход первого силового ввода через автоматический выключатель сети и устройство защитного отключения соединен с первым входом реверсивного рубильника, а выход силового ввода через автоматический выключатель резервной сети и коммутационный аппарат подключен ко второму входу реверсивного рубильника, вход индикатора наличия сети и первый вход переключателя измерительного прибора подключены к выходу устройства защитного отключения, выход переключателя измерительного прибора соединен со входом блока контроля напряжения сети, выход автоматического выключателя резервной сети соединен со входом блока контроля изоляции, управляющий выход которого соединен с управляющим входом коммутационного аппарата, выход которого подключен ко второму входу переключателя измерительного прибора и ко входу индикатора наличия резервной сети, при этом первым и вторым силовыми входами щита аварийного переключения переменного тока являются входы соответственно первого и второго силовых вводов, а выходом щита аварийного переключения переменного тока является выход реверсивного рубильника.2. The automated system according to claim 1, characterized in that the emergency switching switchboard of the AC sources contains a first power input, an automatic circuit breaker, a residual current device, a network presence indicator, a reversing switch, a measuring device switch, a network voltage monitoring unit, a second power input, circuit breaker for the backup network, switching device (contactor), isolation control unit and indicator of the availability of the backup network, while the output of the first power input through automatic The mains circuit breaker and the residual current circuit breaker are connected to the first input of the reversing circuit breaker, and the output of the power input through the backup circuit breaker and the switching device is connected to the second input of the reversing circuit breaker, the input of the network presence indicator and the first input of the measuring device switch are connected to the output of the residual current circuit breaker, the switch output of the measuring device is connected to the input of the mains voltage monitoring unit, the output of the backup circuit breaker is is dined with the input of the insulation control unit, the control output of which is connected to the control input of the switching device, the output of which is connected to the second input of the switch of the measuring device and to the input of the backup network presence indicator, while the first and second power inputs of the AC emergency switchboard are the inputs of the first and the second power inputs, and the output of the AC emergency switchboard is the output of the reversing switch. 3. Автоматизированная система по п.1, отличающаяся тем, что блок входной силовой шины содержит трехпроводную силовую шину, включающую три фазных провода L1, L2 и L3, нулевой рабочий провод N, нулевой защитный провод (контур заземления), ограничитель перенапряжения сети и однополюсный автоматический выключатель, при этом первый вход-выход трехпроводной силовой шины соединен со входом-выходом ограничителя перенапряжения сети, соединенного с нулевым рабочим проводом, второй вход-выход трехпроводной шины соединен с входом-выходом однополосного автоматического выключателя, при этом вход и выход трехпроводной силовой шины являются соответственно входом и выходом блока входной силовой шины, управляющим выходом которого является выход однополюсного автоматического выключателя.3. The automated system according to claim 1, characterized in that the input power bus unit contains a three-wire power bus including three phase wires L1, L2 and L3, a neutral working wire N, a neutral protective conductor (ground loop), a surge suppressor and a single-pole circuit breaker, while the first input-output of a three-wire power bus is connected to the input-output of a surge suppressor connected to a neutral working wire, the second input-output of a three-wire bus is connected to the input-output of a single-band vtomaticheskogo switch, wherein the input and output of a three-wire power bus are respectively the input and output of the input power bus, a control output which is the output of a single pole breaker. 4. Автоматизированная система по п.1, отличающаяся тем, что устройство бесперебойного питания содержит блок входных силовых целей, блок выпрямителей, автоматический выключатель аккумуляторных батарей, блок инверторов, блок выходных силовых цепей, блок контроля входного напряжения переменного тока, индикатор наличия входного напряжения, индикатор наличия напряжения аккумуляторной батареи, блок контроля выходного напряжения переменного тока, индикатор наличия выходного напряжения, контроллер и дисплей, при этом выход блока входных силовых цепей через блок выпрямителей, автоматический выключатель аккумуляторных батарей и блок инверторов соединен со входом блока выходных силовых цепей, первый выход которого соединен со входом блока контроля выходного напряжения переменного тока, вход блока контроля входного напряжения соединен со вторым выходом блока входных силовых цепей, к первому выходу которого подключен вход индикатора наличия входного напряжения, вход индикатора наличия напряжения аккумуляторной батареи подключен ко второму входу автоматического выключателя аккумуляторных батарей, входы-выходы блока выпрямителей, автоматического выключателя аккумуляторных батарей и блока инверторов подключены соответственно к первому, второму и третьему входам-выходам контроллера, выход которого соединен со входом дисплея, вход индикатора наличия выходного напряжения соединен со вторым выходом блока выходных силовых цепей, при этом вход блока входных силовых цепей является входом устройства бесперебойного питания, выходом которого является второй выход блока выходных силовых цепей, а входом устройства бесперебойного питания является второй вход автоматического выключателя аккумуляторных батарей, четвертый вход-выход контроллера является входом-выходом устройства бесперебойного питания.4. The automated system according to claim 1, characterized in that the uninterruptible power supply unit includes an input power target block, a rectifier block, a battery circuit breaker, an inverter block, an output power circuit block, an AC input voltage control unit, an input voltage presence indicator, battery voltage indicator, AC output voltage control unit, output voltage indicator, controller and display, while the output power input block output circuits through the rectifier unit, the battery circuit breaker and the inverter unit are connected to the input of the output power circuit block, the first output of which is connected to the input of the AC output voltage control unit, the input voltage control unit input is connected to the second output of the input power circuit unit, to the first the output of which the input of the indicator of the presence of input voltage is connected, the input of the indicator of the presence of voltage of the battery is connected to the second input of the circuit breaker I batteries, the inputs and outputs of the rectifier unit, the battery circuit breaker and the inverter unit are connected respectively to the first, second and third inputs and outputs of the controller, the output of which is connected to the display input, the input indicator of the presence of the output voltage is connected to the second output of the output power circuit block , while the input block of the input power circuits is the input of an uninterruptible power supply, the output of which is the second output of the block of output power circuits, and the input of the device uninterruptible power supply is the second input of the battery circuit breaker, the fourth controller input-output is the input-output of the uninterruptible power supply device. 5. Автоматизированная система по п.1, отличающаяся тем, что пульт управления системой электроснабжения содержит блок приема и обработки данных, блок отображения, формирователь команд управления, блок приема и передачи информации и линейный адаптер, при этом первые и вторые выходы блока приема и обработки данных подключены соответственно ко входам блока отображения и формирователя команд управления, первый управляющий выход которого соединен с управляющим входом блока приема и передачи информации, выход которого соединен с первым входом блока приема и обработки данных, вход-выход блока приема и передачи информации соединен с первым входом-выходом линейного адаптера, при этом первым и вторым информационными входами пульта управления системой электроснабжения являются соответственно второй и третий входы блока приема и обработки данных, первым входом-выходом пульта управления системой электроснабжения являются соответственно четвертый вход блока приема и обработки данных и второй выход формирователя команд управления, вторым входом-выходом пульта управления системой электроснабжения являются соответственно пятый вход блока приема и обработки данных и третий выход формирователя команд управления, третьим входом-выходом пульта управления системой электроснабжения является второй вход-выход линейного адаптера, четвертый выход формирователя команд управления является управляющим выходом пульта управления системой электроснабжения, третьим и четвертым информационными входами которого являются соответственно шестой и седьмой входы блока приема и обработки данных.5. The automated system according to claim 1, characterized in that the control panel of the power supply system comprises a data reception and processing unit, a display unit, a control command generator, an information reception and transmission unit and a line adapter, while the first and second outputs of the reception and processing unit the data are connected respectively to the inputs of the display unit and the control command generator, the first control output of which is connected to the control input of the information reception and transmission unit, the output of which is connected to the first input of the data reception and processing unit, the input-output of the information reception and transmission unit is connected to the first input-output of the linear adapter, while the first and second information inputs of the control panel of the power supply system are the second and third inputs of the data reception and processing unit, the first input-output, respectively the control panel of the power supply system are respectively the fourth input of the data receiving and processing unit and the second output of the control command generator, the second input-output of the control panel of the systems power supply are the fifth input of the data receiving and processing unit and the third output of the control command generator, the third input-output of the power system control panel is the second input-output of the line adapter, the fourth output of the control command generator is the control output of the power system control panel, the third and fourth the information inputs of which are the sixth and seventh inputs of the data receiving and processing unit, respectively.
RU2006139807/09A 2006-11-13 2006-11-13 Computerized system for no-break power supply to stationary equipment RU2318281C1 (en)

Priority Applications (1)

Application Number Priority Date Filing Date Title
RU2006139807/09A RU2318281C1 (en) 2006-11-13 2006-11-13 Computerized system for no-break power supply to stationary equipment

Applications Claiming Priority (1)

Application Number Priority Date Filing Date Title
RU2006139807/09A RU2318281C1 (en) 2006-11-13 2006-11-13 Computerized system for no-break power supply to stationary equipment

Publications (1)

Publication Number Publication Date
RU2318281C1 true RU2318281C1 (en) 2008-02-27

Family

ID=39279091

Family Applications (1)

Application Number Title Priority Date Filing Date
RU2006139807/09A RU2318281C1 (en) 2006-11-13 2006-11-13 Computerized system for no-break power supply to stationary equipment

Country Status (1)

Country Link
RU (1) RU2318281C1 (en)

Cited By (4)

* Cited by examiner, † Cited by third party
Publication number Priority date Publication date Assignee Title
CN108150147A (en) * 2018-01-18 2018-06-12 扬中艾瑞机电科技有限公司 Super heavy oil recovery fireflood igniting visualization robot control system(RCS) and its method of work
RU2690008C1 (en) * 2014-09-04 2019-05-30 Итон Корпорейшн System and method of switching an electrical system to a backup power supply in case of power failure
CN112583107A (en) * 2020-12-15 2021-03-30 广东新力宽频网络有限公司 Power supply switching circuit and power supply switching system
RU2762032C1 (en) * 2020-09-22 2021-12-14 Акционерное общество "Научно-производственная фирма "СИГМА" Autonomous power supply system of a modular structure

Citations (5)

* Cited by examiner, † Cited by third party
Publication number Priority date Publication date Assignee Title
SU843090A1 (en) * 1979-08-06 1981-06-30 Предприятие П/Я А-1974 Self-sustained electric power supply of movable objects
RU2125331C1 (en) * 1997-01-23 1999-01-20 16 Центральный научно-исследовательский испытательный институт Министерства обороны Российской Федерации Off-line power supply system for mobile equipment
RU2133543C1 (en) * 1993-02-12 1999-07-20 Силкон Пауэр Электроникс А/С Emergency power supply system
RU2183042C2 (en) * 2000-08-25 2002-05-27 16 Центральный научно-исследовательский испытательный институт Министерства обороны Российской Федерации Universal power supply system for mobile equipment
RU2237960C2 (en) * 2001-10-16 2004-10-10 Гинзбург Виталий Вениаминович Switchgear for power system feeding power consumers of building

Patent Citations (5)

* Cited by examiner, † Cited by third party
Publication number Priority date Publication date Assignee Title
SU843090A1 (en) * 1979-08-06 1981-06-30 Предприятие П/Я А-1974 Self-sustained electric power supply of movable objects
RU2133543C1 (en) * 1993-02-12 1999-07-20 Силкон Пауэр Электроникс А/С Emergency power supply system
RU2125331C1 (en) * 1997-01-23 1999-01-20 16 Центральный научно-исследовательский испытательный институт Министерства обороны Российской Федерации Off-line power supply system for mobile equipment
RU2183042C2 (en) * 2000-08-25 2002-05-27 16 Центральный научно-исследовательский испытательный институт Министерства обороны Российской Федерации Universal power supply system for mobile equipment
RU2237960C2 (en) * 2001-10-16 2004-10-10 Гинзбург Виталий Вениаминович Switchgear for power system feeding power consumers of building

Cited By (5)

* Cited by examiner, † Cited by third party
Publication number Priority date Publication date Assignee Title
RU2690008C1 (en) * 2014-09-04 2019-05-30 Итон Корпорейшн System and method of switching an electrical system to a backup power supply in case of power failure
CN108150147A (en) * 2018-01-18 2018-06-12 扬中艾瑞机电科技有限公司 Super heavy oil recovery fireflood igniting visualization robot control system(RCS) and its method of work
RU2762032C1 (en) * 2020-09-22 2021-12-14 Акционерное общество "Научно-производственная фирма "СИГМА" Autonomous power supply system of a modular structure
CN112583107A (en) * 2020-12-15 2021-03-30 广东新力宽频网络有限公司 Power supply switching circuit and power supply switching system
CN112583107B (en) * 2020-12-15 2023-08-01 广东新力宽频网络有限公司 Power supply switching circuit and power supply switching system

Similar Documents

Publication Publication Date Title
US8212405B2 (en) Metering assembly and customer load panel for power delivery
KR102145266B1 (en) System and method for monitoring power system
EP2456028A2 (en) Management, automation and communications cabinet for an electric power distribution installation
RU2335055C1 (en) Vehicle independent power supply system
WO2017127278A1 (en) Interconnect and metering for renewables, storage and additional loads with electronically controlled disconnect capability for increased functionality
RU2591057C1 (en) Temperature-compensated system of controlled rectifier-charging modules of uninterrupted power supply to consumers with direct current
KR101417940B1 (en) Cabinet panel for prevention disaster of abnormal voltage protection and method thereof
RU2318281C1 (en) Computerized system for no-break power supply to stationary equipment
CN107240956A (en) A kind of method of supplying power to and electric supply installation of rocket movable launch platform
KR101376214B1 (en) Cable-duct attaching type high-voltage switchgear, low-voltage switchgear, motor control center, distribution panel installed uninterrupted power peak-control system and hybrid monitoring-control system
JPH0919066A (en) Dispersion type power supply
RU2533204C1 (en) Modular uninterrupted direct-current power supply system for consumers
RU2183042C2 (en) Universal power supply system for mobile equipment
JP5858236B2 (en) Battery system
KR101473224B1 (en) Power distribution board for preventing of black out and arc fault
KR101020038B1 (en) Motor control board with electrical fault detection
CN113783285A (en) Low-voltage comprehensive distribution box
CN221767396U (en) Tide type intelligent box transformer substation
RU2740796C1 (en) Uninterruptable dc power supply system and method
CN213521411U (en) Intelligent removing system for faults of electrified railway contact network section
RU156533U1 (en) THERMAL-COMPENSATED SYSTEM OF CONTROLLED RECTIFIER-CHARGING MODULES OF UNINTERRUPTED POWER SUPPLY OF DC
US20240266823A1 (en) Protection architecture for an electrical panel
CN119813113A (en) A device for preventing reverse power transmission and an operation method thereof
GB2626732A (en) Uninterruptible power supply with an autonomous under frequency detection and load shedding functionality
JP2025185955A (en) Power Conversion Device

Legal Events

Date Code Title Description
MM4A The patent is invalid due to non-payment of fees

Effective date: 20111114