RU2284588C2 - Носитель информации в виде оптического диска и устройство воспроизведения на оптическом диске - Google Patents

Носитель информации в виде оптического диска и устройство воспроизведения на оптическом диске Download PDF

Info

Publication number
RU2284588C2
RU2284588C2 RU2003108875/28A RU2003108875A RU2284588C2 RU 2284588 C2 RU2284588 C2 RU 2284588C2 RU 2003108875/28 A RU2003108875/28 A RU 2003108875/28A RU 2003108875 A RU2003108875 A RU 2003108875A RU 2284588 C2 RU2284588 C2 RU 2284588C2
Authority
RU
Russia
Prior art keywords
information
recording
gyrus
signal
optical disk
Prior art date
Application number
RU2003108875/28A
Other languages
English (en)
Other versions
RU2003108875A (ru
Inventor
Дзунити МИНАМИНО (JP)
Дзунити МИНАМИНО
Ацуси НАКАМУРА (JP)
Ацуси НАКАМУРА
Сигеру ФУРУМИЯ (JP)
Сигеру ФУРУМИЯ
Хиромити ИСИБАСИ (JP)
Хиромити ИСИБАСИ
Такаси ИСИДА (JP)
Такаси ИСИДА
Тойодзи ГУСИМА (JP)
Тойодзи ГУСИМА
Original Assignee
Мацусита Электрик Индастриал Ко., Лтд.
Priority date (The priority date is an assumption and is not a legal conclusion. Google has not performed a legal analysis and makes no representation as to the accuracy of the date listed.)
Filing date
Publication date
Application filed by Мацусита Электрик Индастриал Ко., Лтд. filed Critical Мацусита Электрик Индастриал Ко., Лтд.
Publication of RU2003108875A publication Critical patent/RU2003108875A/ru
Application granted granted Critical
Publication of RU2284588C2 publication Critical patent/RU2284588C2/ru

Links

Images

Landscapes

  • Optical Recording Or Reproduction (AREA)

Abstract

На носитель информации в виде оптического диска запись информации об адресе осуществляют вдоль канавки дорожки записи, снабженной извилинами. Канавка дорожки записи состоит из множества единичных участков. Боковые поверхности каждого из этих единичных участков имеют периодическое смещение в радиальном направлении диска. Это смещение имеет единый период колебания в направлении слежения. Однако шаблон смещения является различным и зависит от "каждого бита информации об адресе (подразделенных информационных данных)", находящегося в каждом из единичных участков. Технический результат - уменьшение непроизводительных потерь и генерация достаточно точного тактового сигнала в соответствии с извилиной канавки дорожки записи. 4 н. и 8 з.п. ф-лы, 39 ил.

Description

Изобретение относится к оптическому диску, на котором может быть осуществлено сохранение информации (например, цифровой видеоинформации) с высокой плотностью.
Предшествующий уровень техники
За последние годы наблюдается постоянная тенденция увеличения плотности записи на носителях информации, представляющих собой оптические диски. Канавку дорожки записи на носителе информации в виде оптического диска обычно создавали заранее, а пленке, на которой производят запись, придавали такую форму, чтобы она покрывала собой канавку дорожки записи. Запись пользователем данных или информации на пленке, на которой производят запись, осуществляют вдоль канавки записи дорожки записи, то есть, либо в канавке дорожки записи, либо в той области, которая находится между соседними частями канавки записи дорожки записи (в поле между канавками записи).
Канавку дорожки записи создают извилистой, подобной синусоиде, а генерацию тактового сигнала осуществляют в соответствии с периодом извилин. Запись данных пользователя на пленку, на которой производят запись, или их считывание с нее осуществляют синхронно с этим тактовым сигналом.
Для записи данных в заранее заданном месте оптического диска необходимо осуществить присвоение информации об адресе (информации о местоположении), указывающей физические местоположения на оптическом диске, и ее запись в соответствующих местах оптического диска во время изготовления диска. Обычно адрес присваивают последовательности областей, расположенных вдоль канавки дорожки записи и имеющей заранее заданную длину. Существуют различные способы записи этой информации об адресе на оптическом диске. Ниже приведено описание общепринятого способа записи адреса на оптическом диске.
В выложенной заявке на патент Японии №6-309672 раскрыт носитель информации на диске, в котором извилистую канавку дорожки записи прерывают в некоторых местах, так что в прерванной части создают область, предназначенную для адреса. В той области канавки дорожки записи, которая предназначена для адреса, создают предварительно заданные "впадины", отображающие записанную информацию об адресе. Этот оптический диск имеет такую структуру, в которой в одной и той же канавке дорожки записи сосуществуют область, предназначенная для адреса, и область, предназначенная для данных (на которой осуществляют запись информации).
В выложенной заявке на патент Японии №5-189934 раскрыт оптический диск, на котором запись информации об адресе осуществляют путем изменения частоты колебаний извилины канавки дорожки записи. В подобном оптическом диске ту область, на которой осуществляют запись информации об адресе, и ту область, на которой осуществляют запись данных, не отделяют друг от друга вдоль всей дорожки записи.
В выложенной заявке на патент Японии №9-326138 раскрыт оптический диск, на котором предварительно заданные "впадины" создают между соседними частями канавки дорожки записи. Посредством этих предварительно заданных "впадин" отображают записанную информацию об адресе.
Для обеспечения возможности дальнейшего увеличения плотности записи на оптических дисках этих различных типов необходимо решить следующие проблемы.
Во-первых, в варианте оптического диска, на котором запись информации об адресе осуществляют в виде предварительно заданных "впадин", расположенных на дорожке записи внутри области, предназначенной для адреса, имеют место так называемые "непроизводительные потери" на создание области, предназначенной для адреса, приводящие к уменьшению области для данных, что является недостатком. В результате вынужденно уменьшается емкости памяти, к которой пользователь может осуществлять доступ.
Во-вторых, в варианте оптического диска, на котором запись информации об адресе осуществляют путем модуляции частоты колебаний извилины дорожки записи, не может быть осуществлена генерация достаточно точного тактового сигнала записи. В исходном варианте извилины канавки дорожки записи создают, в основном, для генерации такого тактового сигнала, посредством которого обеспечивают синхронизацию, необходимую для операций считывания и записи. В том случае, когда частота колебаний извилины является единственной, генерация тактового сигнала может быть осуществлена с высокой точностью путем приема сигнала считывания, амплитуда которого изменяется в соответствии с извилиной, и, например, его синхронизации и умножения посредством системы ФС (фазовой синхронизации, ФАПЧ) (PLL). Однако, если частота колебаний извилины не является единственной, а имеет множество частотных компонент, то полосу частот, отслеживание которой может быть обеспечено посредством системы ФАПЧ, необходимо уменьшить (по сравнению с той ситуацией, в которой частота колебаний извилины является единственной) во избежание ложной синхронизации системы ФАПЧ. В этом случае система ФАПЧ не может в достаточной мере обеспечить отслеживание флуктуаций, обусловленных двигателем привода диска, или флуктуаций, обусловленных эксцентриситетом диска. Следовательно, в результирующем сигнале записи могут оставаться некоторые флуктуации (дрожание сигнала).
С другой стороны, в том случае, когда создаваемая на оптическом диске пленка, на которой производят запись, представляет собой, например, пленку с изменяемой фазой, то такая пленка, на которой производят запись, может обеспечить уменьшение отношения сигнал-шум (ОСШ) при повторяющемся изменении данных, запоминаемых на пленке. Если частота колебаний извилины является единственной, то шумовые компоненты могут быть устранены с использованием полосового фильтра, имеющего узкую полосу пропускания. Однако, если частота колебаний извилины является модулированной, то возникает необходимость расширения полосы пропускания фильтра. В результате сильно возрастает вероятность присутствия в сигнале шумовых компонентов, а флуктуации сигнала могут возрасти в еще большей степени. Ожидают, что в дальнейшем плотность записи будет возрастать в еще большей степени. Однако, чем выше плотность записи, тем ýже получаемый диапазон допустимых предельных значений флуктуации. Следовательно, все более и более необходимым становится обеспечение минимального возрастания флуктуаций за счет предотвращения использования модуляции частоты колебаний извилины.
При наличии структуры, в которой предварительно заданные "впадины", представляющие записанную информацию об адресе, создают между соседними участками канавки записи, возникают затруднения при создании достаточно большого количества предварительно заданных "впадин", имеющих достаточно большую длину. Следовательно, в случае увеличения плотности записи количество ошибок при обнаружении может превысить это количество. Это происходит потому, что чем больше предварительно заданных "впадин" создано между соседними частями канавки, тем больше эти "впадины " оказывают воздействие на соседние части дорожки записи.
Для решения вышеописанных проблем предложено настоящее изобретение, основной задачей которого является создание такого носителя информации в виде оптического диска, который обеспечивает уменьшение непроизводительных потерь и генерацию достаточно точного тактового сигнала в соответствии с извилиной канавки дорожки записи.
Другой задачей этого изобретения является создание способа и устройства считывания адреса, записанного на носителе информации в виде оптического диска.
Сущность изобретения
Носитель информации в виде оптического диска согласно настоящему изобретению содержит в себе канавку дорожки записи. Запись информационных данных на носителе информации в виде оптического диска осуществляют вдоль канавки дорожки записи. Канавка дорожки записи содержит в себе множество единичных участков, расположенных вдоль канавки дорожки записи, боковые поверхности которых имеют периодическое смещение на всем протяжении канавки дорожки записи. Смещение боковых поверхностей единичных участков имеет единый основной период. Подразделенные информационные данные, распределенные каждому из указанных единичных участков, представляют посредством формы, приданной единичному участку.
В предпочтительном варианте осуществления изобретения смещение боковых поверхностей канавки дорожки записи относительно осевой линии канавки дорожки записи осуществляют либо по направлению к внутреннему краю диска, либо по направлению к его внешнему краю.
В другом предпочтительном варианте осуществления изобретения запись информационных данных осуществляют поблочно. Каждый из указанных блоков имеет заранее заданную длину и содержит в себе N единичных участков, расположенных вдоль канавки дорожки записи.
В еще одном предпочтительном варианте осуществления изобретения часть боковых поверхностей, которая является общей, по меньшей мере, для двух единичных участков, имеют постоянный период в пределах, по меньшей мере, одного из блоков.
В еще одном предпочтительном варианте осуществления изобретения в каждом из указанных единичных участков размещают однобитные подразделенные информационные данные, а запись группы подразделенных информационных данных, представляющих N бит, осуществляют в N единичных участках, содержащихся в каждом из указанных блоков.
В еще одном предпочтительном варианте осуществления изобретения каждая из указанных групп информационных данных, подразделенных на N битов, содержит в себе информацию об адресе соответствующего ей блока, к которому относятся те единичные участки, в которых записана эта группа подразделенных информационных данных.
В еще одном предпочтительном варианте осуществления изобретения каждая из указанных групп подразделенных на N бит информационных данных, содержит в себе код с исправлением ошибок и/или код обнаружения ошибок.
В еще одном предпочтительном варианте осуществления изобретения способности коду с исправлением ошибок или коду с обнаружением ошибок исправлять ошибки в информации об адресе присвоены весовые коэффициенты таким образом, что младшие биты кода с исправлением ошибок или кода с обнаружением ошибок имеют относительно больший весовой коэффициент.
В еще одном предпочтительном варианте осуществления изобретения каждый указанный единичный участок имеет первый шаблон (образец) смещения боковой поверхности, который задан таким образом, что обеспечивает относительно крутое нарастание сигнала и относительно медленный его спад, или второй шаблон смещения боковой поверхности, который задан таким образом, что обеспечивает относительно медленное нарастание сигнала и относительно крутой его спад.
Предложенный в изобретении способ считывания адреса представляет собой способ считывания подразделенных (на мелкие фрагменты) информационных данных с носителя информации в виде оптического диска, который содержит в себе канавку дорожки записи, а запись информации на нем осуществляют вдоль канавки дорожки записи. Канавка дорожки записи содержит в себе множество единичных участков, которые расположены вдоль канавки дорожки записи, а их боковые поверхности имеют периодическое смещение на всем протяжении канавки дорожки записи. Смещение боковых поверхностей единичных участков имеет единый основной период. Представление информационных данных, подразделенных на более мелкие фрагменты, размещенных в каждом указанном единичном участке, осуществляют посредством формы, приданной единичному участку. Смещение боковых поверхностей каждого из указанных единичных участков осуществляют согласно шаблону (образцу), выбранному из шаблона с извилинами первого типа и шаблона с извилинами второго типа, которые имеют одинаковую основную частоту, но отличаются между собой по форме. Распознавание информационных данных, подразделенных на мелкие фрагменты, размещенных в каждом из указанных единичных участков, в этом способе осуществляют путем сравнения количества раз, когда шаблон с извилинами первого типа обнаружен в единичном участке, с количеством раз, когда шаблон с извилинами второго типа обнаружен в единичном участке.
В предпочтительном варианте осуществления изобретения подразделенные информационные данные, которые находятся в единичном участке, подвергают операции исправления ошибок в том случае, если разность между количеством раз, когда шаблон с извилинами первого типа обнаружен в каждом из указанных единичных участков, и количеством раз, когда шаблон с извилинами второго типа обнаружен в единичном участке, находится в пределах заранее заданного интервала значений.
В другом предпочтительном варианте осуществления изобретения распознавание типа заданного шаблона извилин осуществляют по градиенту переднего фронта или заднего фронта сигнала, соответствующего структуре извилин.
В еще одном предпочтительном варианте осуществления изобретения распознавание типа заданного шаблона извилин осуществляют путем сравнения абсолютного значения градиента переднего фронта сигнала с абсолютным значением градиента заднего фронта этого сигнала.
Устройство воспроизведения оптических дисков согласно настоящему изобретению представляет собой устройство считывания информационных данных, подразделенных с носителя информации в виде оптического диска, который содержит в себе канавку дорожки записи, а запись информационных данных на нем осуществляют вдоль канавки дорожки записи. Канавка дорожки записи содержит в себе множество единичных участков, расположенных вдоль канавки дорожки записи, боковые поверхности которых имеют периодическое смещение на всем протяжении канавки дорожки записи. Смещение боковых поверхностей единичных участков имеет единый основной период. Подразделенные информационные данные, которые находятся в каждом из указанных единичных участков, представлены посредством формы, приданной единичному участку. Боковые поверхности каждого из указанных единичных участков смещены согласно шаблону, выбранному из шаблона с извилинами первого типа и шаблона с извилинами второго типа, которые имеют одинаковую основную частоту, но отличаются между собой по форме. Устройство содержит в себе: оптическую головку, которая обеспечивает освещение носителя информации в виде оптического диска световым излучением и осуществляет генерацию электрического сигнала в ответ на часть светового излучения, отраженного от носителя информации в виде оптического диска; средство обработки сигнала считывания, осуществляющее генерацию сигнала, соответствующего извилине, амплитуда которого изменяется в соответствии с шаблоном извилины и который получают из электрического сигнала; средство сбора данных о величине нарастания сигнала, которое осуществляет выборку и фиксацию абсолютного значения градиента сигнала, соответствующего извилине, при нарастании сигнала; средство сбора данных о величине спада сигнала, которое осуществляет выборку и фиксацию абсолютного значения градиента сигнала, соответствующего извилине, при спаде сигнала; и средство выявления подразделенных информационных данных, для выявления подразделенных информационных данных на основе мажоритарного принципа путем сравнения значений, фиксированных в средстве сбора данных о величине нарастания сигнала и в средстве сбора данных о величине спада сигнала, друг с другом.
Другое устройство воспроизведения оптических дисков согласно настоящему изобретению представляет собой устройство считывания информационных данных, подразделенных на мелкие фрагменты, с носителя информации в виде оптического диска, который содержит в себе канавку дорожки записи, а запись информационных данных на нем осуществляют вдоль канавки дорожки записи. Канавка дорожки записи содержит в себе множество единичных участков, расположенных вдоль канавки дорожки записи, боковые поверхности которых имеют периодическое смещение на всем протяжении канавки дорожки записи. Смещение боковых поверхностей единичных участков имеет единый основной период. Подразделенные информационные данные, распределенные в каждом из указанных единичных участков, представлены посредством формы, приданной единичному участку. Боковые поверхности каждого из указанных единичных участков смещены согласно шаблону, выбранной из шаблона с извилинами первого типа и шаблона с извилинами второго типа, которые имеют одинаковую основную частоту, но отличаются между собой по форме. Устройство содержит в себе: оптическую головку, которая освещает носитель информации в виде оптического диска световым излучением и осуществляет генерацию электрического сигнала в ответ на часть светового излучения, отраженного от носителя информации в виде оптического диска; средство обработки сигнала считывания, осуществляющее генерацию сигнала, соответствующего извилине, амплитуда которого изменяется в соответствии со структурой извилины и который получают из электрического сигнала; средство генерации тактового сигнала, осуществляющее генерацию тактового сигнала, посредством которого определяют тактирование (динхронизацию) нарастания сигнала, соответствующего извилине, тактирование спада сигнала, соответствующего извилине, и тактирование, в соответствии с которым подразделенная информация, подразделена на более мелкие фрагменты; средство подсчета количества элементов, имеющих форму первого типа, для выявления шаблонов с извилинами первого типа в ответ на тактовый сигнал и подсчет количества выявленных шаблонов с извилинами первого типа; средство подсчета количества элементов, имеющих форму второго типа, которое осуществляет выявление шаблонов с извилинами второго типа в ответ на тактовый сигнал и подсчет количества выявленных шаблонов с извилинами второго типа; и средство обнаружения подразделенных информационных данных, которое обнаруживает подразделенные информационные данные по мажоритарному принципу путем сравнения результатов подсчета, полученных в средстве подсчета количества элементов, имеющих форму первого типа, и в средстве подсчета количества элементов, имеющих форму второго типа, друг с другом.
Еще одно устройство воспроизведения оптических дисков согласно настоящему изобретению представляет собой устройство считывания подразделенных информационных данных с носителя информации в виде оптического диска, который содержит в себе канавку дорожки записи, а запись информационных данных на нем осуществляют вдоль канавки дорожки записи. Канавка дорожки записи содержит в себе множество единичных участков, расположенных вдоль канавки дорожки записи, боковые поверхности которых имеют периодическое смещение на всем протяжении канавки дорожки записи. Смещение боковых поверхностей единичных участков имеет единый основной период. Информационные данные, подразделенные на более мелкие фрагменты, распределенные в каждом из указанных единичных участков, представлены посредством формы, приданной единичному участку. Смещение боковых поверхностей каждого из указанных единичных участков осуществляют согласно шаблону, выбранному из шаблона с извилинами первого типа и шаблона с извилинами второго типа, которые имеют одинаковую основную частоту, но отличаются между собой по форме. Устройство содержит в себе: оптическую головку, которая обеспечивает освещение носителя информации в виде оптического диска световым излучением и осуществляет генерацию электрического сигнала в ответ на часть светового излучения, отраженного от носителя информации в виде оптического диска; средство обработки сигнала считывания, осуществляющее генерацию сигнала, соответствующего извилине, амплитуда которого изменяется в соответствии со структурой (шаблоном) извилины и который получают из электрического сигнала; средство генерации тактового сигнала, осуществляющее генерацию тактового сигнала, посредством которого определяют тактирование (синхронизацию) нарастания сигнала, соответствующего извилине, тактирование спада сигнала, соответствующего извилине, и тактирование, посредством которого подразделенные информационные данные разделены на более мелкие фрагменты; средство подсчета количества элементов, имеющих форму первого типа, которое осуществляет обнаружение шаблонов с извилинами первого типа в ответ на тактовый сигнал и подсчет количества обнаруженных шаблонов с извилинами первого типа; средство подсчета количества элементов, имеющих форму второго типа, которое осуществляет обнаружение шаблонов с извилинами второго типа в ответ на тактовый сигнал и подсчет количества обнаруженных шаблонов с извилинами второго типа; средство обнаружения информационных данных, разделенных на более мелкие фрагменты, которое обнаруживает подразделенные информационные данные, на основе мажоритарного принципа путем сравнения результатов подсчета, полученных в средстве подсчета количества элементов, имеющих форму первого типа, и в средстве подсчета количества элементов, имеющих форму второго типа, друг с другом; средство обнаружения стирания, осуществляющее вывод флага стирания в том случае, если разность между результатами подсчета, полученными в средстве подсчета количества элементов, имеющих форму первого типа, и в средстве подсчета количества элементов, имеющих форму второго типа, находится в заранее заданном интервале значений; и средство исправления ошибок, выполняющее исправление ошибок в соответствии с выходными сигналами, поступающими из средства обнаружения подразделенных информационных данных и из средства регистрации стирания, и осуществляющее генерацию информации об адресе.
В настоящем изобретении предложен другой вариант носителя информации в виде оптического диска, который содержит в себе канавку дорожки записи. В этом носителе информации в виде оптического диска информация о местоположении, указывающая физическое месторасположение в канавке дорожки записи, представлена посредством формы извилин канавки дорожки записи. Носитель информации в виде оптического диска содержит в себе множество элементов информации о местоположении, расположенных в канавке дорожки записи. Каждый из указанных элементов информации о местоположении содержит в себе: область информации о местоположении, в которой представлена информация о местоположении посредством совокупности шаблонов извилин, выбранных из множества типов структур извилин; и область синхронизирующей метки, имеющая шаблон извилин в форме, которая отличима от формы шаблонов извилин в области информации о местоположении.
В предпочтительном варианте осуществления изобретения носитель информации в виде оптического диска содержит в себе область метки точного позиционирования, расположенную перед каждой указанной областью информации о местоположении.
В другом предпочтительном варианте осуществления изобретения область метки точного позиционирования расположена в начале каждого из указанных элементов информации о местоположении.
В еще одном предпочтительном варианте осуществления изобретения область метки точного позиционирования имеет такой шаблон извилин, который отличим от шаблона извилин в области синхронизирующей метки.
В еще одном предпочтительном варианте осуществления изобретения область метки точного позиционирования имеет такой шаблон извилин, который отличим от шаблонов извилин в области информации о местоположении.
В еще одном предпочтительном варианте осуществления изобретения каждый указанный шаблон извилин в области информации о местоположении содержит в себе: первую часть, имеющую плавную форму в виде синусоиды; и вторую часть, в которой смещение в направлении внутреннего края диска и/или смещение в направлении внешнего края диска являются/является более крутыми (является более крутой), чем в той части, которая имеет форму синусоиды.
В еще одном предпочтительном варианте осуществления изобретения шаблон извилин в области синхронизирующей метки содержит в себе эту первую часть и/или эту вторую часть.
В еще одном предпочтительном варианте осуществления изобретения область метки точного позиционирования содержит в себе идентификационную метку, которую используют при точном позиционировании.
В еще одном предпочтительном варианте осуществления изобретения идентификационная метка представляет собой зеркальную метку, созданную путем разрыва части канавки дорожки записи.
В еще одном предпочтительном варианте осуществления изобретения зеркальная метка расположена в интервале со второго по четвертый период шаблона извилин в области метки точного позиционирования.
В еще одном предпочтительном варианте осуществления изобретения шаблон извилин в области метки точного позиционирования имеет форму синусоиды.
В еще одном предпочтительном варианте осуществления изобретения в каждом их указанных элементов информации о местоположении порядок расположения областей является следующим: область метки точного позиционирования, область информации о местоположении и область синхронизирующей метки.
В еще одном предпочтительном варианте осуществления изобретения блок записываемых данных, который представляет собой наименьший элемент считываемой/записываемой информации, содержит в себе L элементов информации о местоположении (где L - натуральное число).
В еще одном предпочтительном варианте осуществления изобретения блок записываемых данных соответствует элементу данных, который образует собой код с исправлением ошибок.
В еще одном предпочтительном варианте осуществления изобретения запись блока записываемых данных начинают или заканчивают после точки начала области метки точного позиционирования и отстоящем от нее на заранее заданное расстояние.
В еще одном предпочтительном варианте осуществления изобретения запись блока записываемых данных начинают или заканчивают в месте, расположенном после зеркальной метки на заранее заданном расстоянии.
В еще одном предпочтительном варианте осуществления изобретения зеркальная метка имеет длину от 1 микрона (мкм) до 10 микрон (мкм) при ее измерении вдоль канавки дорожки записи.
В еще одном предпочтительном варианте осуществления изобретения элемент информационных данных, подразделенных на более мелкие фрагменты, представлен посредством извилины, имеющей длину, равную М ее периодам (где М - натуральное число, равное или большее чем 2), а в каждом из указанных элементов информационных данных, подразделенных на более мелкие фрагменты, размещают один бит информации о местоположении.
В еще одном предпочтительном варианте осуществления изобретения область синхронизирующей метки представляет собой совокупность шаблонов с извилинами первого и второго типов, количество которых равно N (N представляет собой натуральное число). В каждой из указанных шаблонов с извилинами первого типа извилину, имеющую прямоугольные части, в которых оба смещения: смещение в направлении внутреннего края диска и смещение в направлении внешнего края диска, являются резкими, повторяют на протяжении М периодов. Каждый из указанных шаблонов с извилинами второго типа содержит в себе извилину в виде плавной синусоиды, повторяемую на протяжении М периодов.
В еще одном предпочтительном варианте осуществления изобретения область синхронизирующей метки состоит только из шаблонов с извилинами первого типа.
В еще одном предпочтительном варианте осуществления изобретения шаблоны с извилинами первого и второго типов в области синхронизирующей метки располагают поочередно.
В еще одном предпочтительном варианте осуществления изобретения область синхронизирующей метки представляет собой совокупность, содержащую в себе как точку перехода от шаблона с извилинами первого типа к шаблону с извилинами второго типа, так и точку перехода от шаблона с извилинами второго типа к шаблону с извилинами первого типа.
В еще одном предпочтительном варианте осуществления изобретения, предполагая что: информация о местоположении представлена посредством А бит; область синхронизирующей метки имеет длину, соответствующую B периодам извилины; область метки точного позиционирования, содержащая в себе зеркальную метку, имеет длину, соответствующую C периодам извилины; один период извилины имеет длину, соответствующую W канальным битам записываемых данных; количество канальных битов в блоке записываемых данных, который представляет собой наименьший элемент считываемой/записываемой информации, равно D; а количество элементов информации о местоположении, находящихся в каждом из указанных блоков записываемых данных, равно E, где A, B, C, E, М и W - все являются натуральными числами, обеспечивают удовлетворение условиям следующего уравнения: D=(A×M+B+C)×W×E.
В еще одном предпочтительном варианте осуществления изобретения B кратно М.
В еще одном предпочтительном варианте осуществления изобретения A=48, M=32, B=128, C=8, W=186 и E=4.
В еще одном предпочтительном варианте осуществления изобретения A=48, M=36, B=144, C=9, W=155 и E=4.
В еще одном предпочтительном варианте осуществления изобретения A=48, M=24, B=96, C=6, W=186 и E=4.
В еще одном предпочтительном варианте осуществления изобретения A=48, M=36, B=144, C=9, W=124 и E=4.
В носителе информации в виде оптического диска может быть использован модулирующий код, посредством которого осуществляют преобразование 8-ми исходных битов в F канальных битов. Предполагая, что: область метки точного позиционирования, содержащая в себе зеркальную метку, имеет длину, соответствующую C периодам извилины; один период извилины имеет длину, соответствующую W канальным битам записываемых данных; область метки точного позиционирования имеет длину, соответствующую P кадрам записываемых данных; один элемент подразделенных информационных данных имеет длину, соответствующую Q кадрам записываемых данных; а один кадр записываемых данных содержит в себе R байт, где C, F, W и R являются натуральными числами, а P и Q являются рациональными числами, обеспечивают удовлетворение условиям следующих обоих уравнений: P×R×F=C×W и Q×R×F=M×W.
В предпочтительном варианте осуществления изобретения F=16, M=32, C=8, W=186, P=1, Q=4 и R=93.
В другом предпочтительном варианте осуществления изобретения F=15, M=36, C=9, W=155, P=1, Q=4 и R=93.
В еще одном предпочтительном варианте осуществления изобретения F=12, M=24, C=6, W=186, P=1, Q=4 и R=93.
В еще одном предпочтительном варианте осуществления изобретения F=12, M=36, C=9, W=124, P=1, Q=4 и R=93.
Предложенный в изобретении способ считывания информации о местоположении представляет собой способ считывания информации о местоположении с носителя информации в виде оптического диска согласно настоящему изобретению. Способ содержит в себе следующие операции: обнаружение области синхронизирующей метки, созданной на носителе информации в виде оптического диска; обнаружение метки точного позиционирования; устанавливают синхронизацию битов для информации о местоположении с использованием обнаруженной синхронизирующей метки и/или обнаруженной метки точного позиционирования; и считывание информации о местоположении в соответствии с синхронизацией битов, установленной при операции установления синхронизации битов для информации о местоположении.
Предложенный в изобретении способ записи данных представляет собой способ записи данных на носителе информации в виде оптического диска согласно настоящему изобретению. Способ содержит в себе следующие операции: обнаружение области синхронизирующей метки, созданной на носителе информации в виде оптического диска; обнаружение метки точного позиционирования на основе результата обнаружения области синхронизирующей метки; осуществляют позиционирование с использованием обнаруженной метки точного позиционирования; и начинают запись данных на основании результата позиционирования, полученного при операции позиционирования.
Устройство воспроизведения оптических дисков согласно настоящему изобретению представляет собой устройство считывания информации о местоположении с носителя информации в виде оптического диска согласно настоящему изобретению. Накопитель содержит в себе: средство обнаружения области синхронизирующей метки, созданной на носителе информации в виде оптического диска; средство генерации первого окна обнаружения с заранее заданной шириной во времени по истечении заранее заданного времени с момента обнаружения синхронизирующей метки средством обнаружения синхронизирующей метки; средство обнаружения идентификационной метки, созданной на носителе информации в виде оптического диска, посредством использования первого окна обнаружения; средство установления синхронизации битов для информации о местоположении, записанной на носителе информации в виде оптического диска, посредством привязки по времени к тому моменту, когда было осуществлено обнаружение синхронизирующей метки и/или привязки по времени к тому моменту, когда было осуществлено обнаружение идентификационной метки; и средство считывания информации о местоположении с привязкой по времени к тому моменту, когда была установлена синхронизация битов средством установления синхронизации битов для информации о местоположении.
Устройство записи на оптических дисках согласно настоящему изобретению представляет собой устройство записи данных на носителе информации в виде оптического диска согласно настоящему изобретению. Накопитель содержит в себе: средство обнаружения области синхронизирующей метки, созданной на носителе информации в виде оптического диска; средство генерации первого окна обнаружения с заранее заданной шириной во времени по истечении заранее заданного времени с момента обнаружения синхронизирующей метки средством обнаружения синхронизирующей метки; средство обнаружения идентификационной метки, созданной на носителе информации в виде оптического диска с использованием первого окна обнаружения; и средство записи данных, посредством которого устанавливают точку начала или точку окончания записи данных путем привязки по времени к тому моменту, когда была обнаружена идентификационная метка.
В настоящем изобретении предложен еще один вариант носителя информации в виде оптического диска, который содержит в себе канавку дорожки записи. Запись информационных данных на этом носителе информации в виде оптического диска осуществляют вдоль канавки дорожки записи. Канавка дорожки записи содержит в себе множество единичных участков, расположенных вдоль канавки дорожки записи, боковые поверхности которых имеют периодическое смещение на всем протяжении канавки дорожки записи. Смещение боковых поверхностей единичных участков имеет единый основной период. Подразделенные информационные данные, распределенные в каждом из указанных единичных участков, представлены посредством формы, приданной единичному участку. Представление управляющей информации на этом носителе информации в виде оптического диска осуществляют посредством совокупности информационных данных, подразделенных на более мелких фрагменты.
В предпочтительном варианте осуществления изобретения запись управляющей информации осуществляют в области, недоступной для пользователя.
В настоящем изобретении предложен еще один вариант носителя информации в виде оптического диска, который содержит в себе канавку дорожки записи. Запись информационных данных на этом носителе информации в виде оптического диска осуществляют вдоль канавки дорожки записи. Представление управляющей информации для этого носителя информации в виде оптического диска осуществляют посредством извилин канавки дорожки записи.
В предпочтительном варианте осуществления изобретения представление управляющей информации осуществлено посредством совокупности извилин, имеющих взаимно различную форму извилин, но одинаковую частоту осцилляций.
В другом предпочтительном варианте осуществления изобретения представление управляющей информации осуществлено посредством совокупности извилин различной формы, содержащих в себе: часть в виде плавной синусоиды и часть, имеющую прямоугольную форму, в которой смещение в направлении внутреннего края диска и/или смещение в направлении внешнего края диска являются/является резкими (резким) крут.
В настоящем изобретении предложен еще один вариант носителя информации в виде оптического диска, который содержит в себе канавку дорожки записи, расположенную на его записывающей поверхности. Запись информационных данных на этом носителе информации в виде оптического диска осуществляют поблочно вдоль канавки дорожки записи, причем каждый единичный блок имеет заранее заданную длину. В канавке дорожки записи заранее создают идентификационные метки, указывающие начало каждого из указанных единичных блоков. Поверх идентификационной метки записывают сигнал, имеющий конкретный шаблон.
В предпочтительном варианте осуществления изобретения идентификационную метку располагают, по существу, в центре области, на которой записан сигнал.
В другом предпочтительном варианте осуществления изобретения идентификационную метку располагают ближе к предыдущему блоку относительно центра области, на которой записан сигнал.
В еще одном предпочтительном варианте осуществления изобретения идентификационная метка содержит в себе плоскую часть, которую создают путем разрыва канавки дорожки записи на небольшое расстояние.
В еще одном предпочтительном варианте осуществления изобретения идентификационная метка содержит в себе множество субметок.
В еще одном предпочтительном варианте осуществления изобретения извилины канавки дорожки записи являются периодическими. Идентификационную метку создают путем соединения между собой множества областей канавки дорожки записи, в которых извилины имеют взаимно различные фазы.
В еще одном предпочтительном варианте осуществления изобретения канавка дорожки записи снабжена периодической извилиной. Частота в идентификационной метке отличается от частоты периодической извилины.
В еще одном предпочтительном варианте осуществления изобретения каждый из указанных единичных блоков, имеющий заранее заданную длину, содержит в себе множество субблоков, которые расположены вдоль канавки записи. Каждый из указанных субблоков снабжен идентификационной меткой субблока.
В еще одном предпочтительном варианте осуществления изобретения канавка дорожки записи снабжена периодической извилиной. Каждой из указанных идентификационных меток субблоков распределяют извилину, частота колебаний которой отличается от частоты в других частях.
В еще одном предпочтительном варианте осуществления изобретения каждая из указанных идентификационных меток субблоков расположена в начале соответствующего ей субблока.
В еще одном предпочтительном варианте осуществления изобретения посредством идентификационной метки одного из субблоков, содержащегося в каждом из указанных единичных блоков, имеющих заранее заданную длину, представляют подразделенные информационные данные, указывающие адрес единичного блока.
В другом предпочтительном варианте осуществления извилина канавки дорожки записи имеет форму, соответствующую информации, указывающей адрес каждого упомянутого единичного блока.
Предложенный в изобретении способ записи сигналов представляет собой способ записи сигналов на носителе информации в виде оптического диска, который содержит в себе канавку дорожки записи на поверхности диска, предназначенной для записи. Запись информационных данных на носителе информации в виде оптического диска осуществляют поблочно вдоль канавки дорожки записи, причем каждый блок имеет заранее заданную длину, а в канавке дорожки записи формируют идентификационную метку, указывающую начало каждого из указанных блоков. Запись начинают до того, как будет достигнута идентификационная метка, расположенная в начале, по меньшей мере, одного блока, в котором следует осуществить запись сигнала. Запись завершают после прохождения идентификационной метки, расположенной в конце, по меньшей мере, одного блока, в котором следует осуществить запись сигнала.
Альтернативный способ записи сигналов представляет собой способ записи сигналов на носителе информации в виде оптического диска, который содержит в себе канавку дорожки записи на поверхности диска, предназначенной для записи. Запись информационных данных на носителе информации в виде оптического диска осуществляют поблочно вдоль канавки дорожки записи, причем каждый блок имеет заранее заданную длину. В канавке дорожки записи формируют идентификационную метку, указывающую начало каждого их указанных блоков и которая содержит в себе множество субметок. Запись начинают после обнаружения первой из субметок, входящих в состав идентификационной метки, расположенной в начале, по меньшей мере, одного блока, в котором следует осуществить запись сигнала. Запись завершают после обнаружения последней из субметок, входящих в состав идентификационной метки, расположенной в конце, по меньшей мере, одного блока, в котором следует осуществить запись сигнала.
В предпочтительном варианте осуществления изобретения поверх каждой из указанных идентификационных меток осуществляют запись сигнала, имеющего конкретный шаблон.
В другом предпочтительном варианте осуществления изобретения сигнал, имеющий конкретную структуру, представляет собой сигнал ГПЧ (генератора с перестраиваемой частотой (VFO)).
КРАТКОЕ ОПИСАНИЕ ЧЕРТЕЖЕЙ
На Фиг.1A изображен носитель информации в виде оптического диска согласно настоящему изобретению на виде сверху.
На Фиг.1Б на виде сверху показана канавка дорожки записи на носителе информации в виде оптического диска из настоящего изобретения, имеющая плоскую форму.
На Фиг.2А на виде сверху показаны элементы шаблона извилин, а на Фиг.2Б на виде сверху показаны четыре типа шаблонов извилин, созданных путем объединения этих элементов.
На Фиг.3А изображена базовая конфигурация устройства, посредством которого может быть осуществлено распознавание типа заданного шаблона извилин по сигналу, соответствующему извилинам, амплитуда которого изменяется в соответствии с извилиной канавки дорожки записи.
На Фиг.3Б изображены временные диаграммы сигналов, на которых показаны: шаблон извилин канавки дорожки записи, сигнал, соответствующий извилинам, и импульсный сигнал.
На Фиг.3В показана конфигурация схемы извлечения импульсного сигнала и тактового сигнала из сигнала, соответствующего извилине.
На Фиг.4 показана основная часть носителя информации в виде оптического диска согласно первому варианту осуществления изобретения.
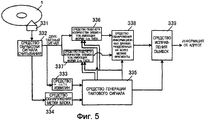
На Фиг.5 показана конфигурация устройства воспроизведения оптических дисков согласно второму варианту осуществления изобретения.
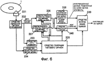
На Фиг.6 показана конфигурация устройства воспроизведения оптических дисков согласно третьему варианту осуществления изобретения.
На Фиг.7 иллюстрируется способ считывания адреса согласно четвертому варианту осуществления изобретения.
На Фиг.8 показана конфигурация устройства воспроизведения оптических дисков согласно пятому варианту осуществления изобретения.
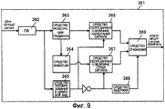
На Фиг.9 показана подробная конфигурация средства определения формы извилины согласно пятому варианту осуществления изобретения.
На Фиг.10 показана основная часть носителя информации в виде оптического диска согласно шестому варианту осуществления изобретения.
На Фиг.11А и 11Б иллюстрируется способ записи сигнала в области 21 записи сигнала ГПЧ.
На Фиг.12 показана основная часть носителя информации в виде оптического диска согласно седьмому варианту осуществления изобретения.
На Фиг.13 показана основная часть носителя информации в виде оптического диска согласно восьмому варианту осуществления изобретения.
На Фиг.14А и 14Б иллюстрируется способ записи сигналов согласно восьмому варианту осуществления изобретения.
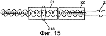
На Фиг.15 показана основная часть носителя информации в виде оптического диска согласно девятому варианту осуществления изобретения.
На Фиг.16 показана основная часть носителя информации в виде оптического диска согласно десятому варианту осуществления изобретения.
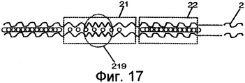
На Фиг.17 показана основная часть носителя информации в виде оптического диска согласно одиннадцатому варианту осуществления изобретения.
На Фиг.18 показана основная часть носителя информации в виде оптического диска согласно двенадцатому варианту осуществления изобретения.
На Фиг.19 показана конфигурация устройства генерации тактового сигнала и считывания адресного сигнала с носителя информации в виде оптического диска из двенадцатого варианта осуществления изобретения.
На Фиг.20 показан формат группы информационных данных, подразделенных на более мелкие фрагменты, на носителе информации в виде оптического диска согласно тринадцатому варианту осуществления изобретения.
На Фиг.21 показан формат группы подразделенных информационных данных на носителе информации в виде оптического диска согласно четырнадцатому варианту осуществления изобретения.
На Фиг.22 показан формат группы подразделенных информационных данных на носителе информации в виде оптического диска согласно пятнадцатому варианту осуществления изобретения.
На Фиг.23 показаны соответствующие биты группы информационных данных, подразделенных на более мелкие фрагменты, на носителе информации в виде оптического диска из пятнадцатого варианта осуществления изобретения.
На Фиг.24А-24Г показан формат носителя информации в виде оптического диска согласно шестнадцатому варианту осуществления изобретения.
На Фиг.25 подробно показан формат носителя информации в виде оптического диска согласно шестнадцатому варианту осуществления изобретения.
На Фиг.26А-26Г схематично показана канавка дорожки записи на носителе информации в виде оптического диска согласно шестнадцатому варианту осуществления изобретения.
На Фиг.27 показана область метки точного позиционирования на носителе информации в виде оптического диска согласно шестнадцатому варианту осуществления изобретения.
На Фиг.28А-28Д показаны форматы области синхронизирующей метки на носителе информации в виде оптического диска согласно шестнадцатому варианту осуществления изобретения.
На Фиг.29 показана конфигурация накопителя на оптических дисках с возможностью считывания/записи согласно семнадцатому варианту осуществления изобретения.
На Фиг.30А-30Д показаны соотношения между месторасположением точек начала/окончания записи и зеркальных меток согласно восемнадцатому варианту осуществления изобретения.
На Фиг.31А-31В показаны примеры форматов записываемых данных согласно восемнадцатому варианту осуществления изобретения.
На Фиг.32А-32В иллюстрируется примерный способа записи данных в точках начала/окончания записи согласно восемнадцатому варианту осуществления изобретения.
На Фиг.33 изображена схема последовательности операций, на которой показан пример последовательности операций обработки информации о местоположении при ее считывании согласно восемнадцатому варианту осуществления изобретения.
На Фиг.34 изображена схема последовательности операций, на которой показан другой пример последовательности операций обработки информации о местоположении при ее считывании согласно восемнадцатому варианту осуществления изобретения.
На Фиг.35 изображена схема последовательности операций, на которой показан пример последовательности операций в процессе записи данных согласно восемнадцатому варианту осуществления изобретения.
На Фиг.36 показан формат носителя информации в виде оптического диска согласно восемнадцатому варианту осуществления изобретения.
На Фиг.37А-37Д показаны другие примеры форматов записи управляющей информации согласно девятнадцатому варианту осуществления изобретения.
На Фиг.38 показан вариант осуществления изобретения, в котором четыре единичные элемента информации о местоположении, содержащиеся в одном сегменте 403 информации о местоположении, содержат в себе информацию о местоположении и управляющую информацию в раздельном виде.
На Фиг.39 показана конфигурация накопителя на оптических дисках с возможностью считывания/записи, который позволяет осуществлять считывание управляющей информации, записанной посредством извилистой канавки записи.
НАИЛУЧШИЙ ВАРИАНТ ОСУЩЕСТВЛЕНИЯ ИЗОБРЕТЕНИЯ
Как показано на Фиг.1А, на предназначенной для записи поверхности 1 носителя информации в виде оптического диска согласно настоящему изобретению создают спиральную канавку 2 дорожки записи. На Фиг.1Б изображена часть канавки 2 дорожки записи в увеличенном масштабе. Ниже канавки 2 дорожки записи, показанной на Фиг.1Б, находится центр диска (не показан), а радиальное направление диска обозначено стрелкой "а". Стрелкой "б" указано направление, в котором осуществляют перемещение создаваемого на диске светового пятна, посредством которого осуществляют считывание/запись, при вращении диска. В приведенном ниже описании направление, параллельное стрелке "а", именуют "радиальным направлением диска" (или просто "радиальным направлением"), а направление, параллельное стрелке "б", именуют "направлением слежения (трекинга)".
В системе координат, в которой предполагают, что созданное световое пятно является неподвижным и находится в одном и том же месте диска, часть диска, освещаемую световым пучком, (которую именуют здесь "освещаемой частью диска") перемещают в направлении, противоположном направлению стрелки "б".
Приведенное ниже описание изложено применительно к системе координат X-Y, изображенной на Фиг.1Б. В оптическом диске согласно настоящему изобретению координата Y местоположения боковой поверхности 2а или 2б канавки дорожки записи периодически изменяется при увеличении ее координаты X. Такое периодическое смещение местоположения боковой поверхности 2а или 2б канавки записи именуют здесь "извилиной" или "колебаниями" канавки 2 дорожки записи. Смещение в направлении, указанном стрелкой "а", именуют здесь "смещением в направлении внешнего края диска", а смещение в направлении, противоположном направлению стрелки "а", именуют здесь "смещением в направлении внутреннего края диска". К тому же изображенный на Фиг.1Б один период извилины обозначают как "T". Частота сигнала, соответствующего извилине, обратно пропорциональна одному периоду T извилины и прямо пропорциональна линейной скорости перемещения светового пятна по диску.
В показанном на чертеже примере ширина канавки 2 дорожки записи является постоянной в направлении слежения (обозначенном стрелкой "б"). Следовательно, величина смещения местоположения боковой поверхности 2а или 2б канавки 2 дорожки записи в радиальном направлении диска (обозначенном стрелкой "а"), равна величине смещения местоположения соответствующей точки на осевой линии канавки 2 дорожки записи (которая обозначена пунктирной линией) в радиальном направлении диска. Поэтому смещение местоположения боковой поверхности канавки дорожки записи в радиальном направлении диска именуют здесь просто "смещением канавки дорожки записи" или "извилиной канавки дорожки записи". Однако, следует отметить, что настоящее изобретение не ограничено этим конкретным вариантом, в котором осевая линия и боковые поверхности 2а и 2б канавки 2 дорожки записи имеют одинаковую величину смещения извилины в радиальном направлении диска. В альтернативном варианте ширина канавки 2 дорожки записи может изменяться в направлении слежения. Либо могут отсутствовать колебания осевой линии канавки 2 дорожки записи, а имеющими извилины могут быть выполнены только лишь боковые поверхности канавки дорожки записи.
В настоящем изобретении шаблон извилин канавки 2 дорожки записи задают в виде совокупности, состоящей из множества типов шаблонов смещения. То есть, канавка 2 дорожки записи, имеющая плоскую форму, состоит не только лишь из извилин, имеющих синусоидальную форму, которые показаны на Фиг.1Б, но, по меньшей мере, ее часть имеет форму, отличную от синусоидальной. Базовая конфигурация такой канавки записи с извилинами раскрыта в описаниях заявок на патенты Японии №2000-6593, №2000-187259 и №2000-319009, поданных настоящим заявителем.
Для канавки 2 дорожки записи, изображенной на Фиг.1Б, координата Y точки на осевой линии канавки записи может быть представлена в виде функции f0(x) ее координаты X. В этом случае f0(x) может быть выражена, например, следующим образом: "постоянная • sin(2π x/T)".
Ниже приведено подробное описание конфигураций шаблонов извилин, принятых для использования в настоящем изобретении, со ссылкой на Фиг.2А и 2Б.
На Фиг.2А изображены четыре типа основных элементов, из которых состоит шаблон извилин канавки 2 дорожки записи. На Фиг.2А показаны плавные части 100 и 101 синусоидальной формы, часть 102 прямоугольной формы с резким смещением в направлении внешнего края диска и прямоугольная часть 103 прямоугольной формы с резким смещением в направлении внутреннего края диска. Путем объединения этих элементов или частей друг с другом создают четыре типа шаблонов 104-107 извилин, которые показаны на Фиг.2Б.
Шаблон 104 извилины представляет собой синусоиду без частей прямоугольной формы. Этот шаблон именуют здесь "основной гармоникой". Следует отметить, что используемое здесь понятие "синусоида" не ограничено идеальной синусоидальной кривой, но может иметь широкое толкование и относиться к любой плавной извилине.
Шаблон 105 извилины содержит в себе части, имеющие более резкое смещение к внешней стороне диска, нежели смещение синусоидальной формы. Такие части именуют здесь "частями прямоугольной формы, смещенными в направлении внешнего края".
В реальном оптическом диске возникают сложности при реализации смещения канавки дорожки записи в радиальном направлении диска, которое является перпендикулярным к направлению слежения. Следовательно, кромка, созданная в реальных условиях, не является идеально прямоугольной. Таким образом, в реальном оптическом диске кромка прямоугольной части может иметь относительно резкое (крутое) смещение по сравнению с частью синусоидальной формы, но не обязательно должна иметь идеальную прямоугольную форму. Из Фиг.2Б также видно, что в части, имеющей синусоидальную форму, смещение от края, наиболее близкого к центру, к краю, наиболее удаленному от центра, завершают в точке, соответствующей половине периода извилины. В части, имеющей прямоугольную форму, аналогичное смещение может быть завершено в точке, соответствующей, например, одной четверти периода извилины или менее того. В этом случае легко заметить различие между этими формами.
Следует отметить, что шаблон 106 извилины отличается тем, что содержит в себе прямоугольники со смещением в направлении внутреннего края, в то время как шаблон 107 извилины отличается тем, что содержит в себе как "прямоугольники со смещением в направлении внутреннего края", так и "прямоугольники со смещением в направлении внешнего края".
Шаблон 104 извилины состоит из одной основной гармоники. Следовательно, его частотные компоненты определяются "основной частотой", которая обратно пропорциональна периоду T извилины. В отличие от этого случая частотные компоненты извилин с другими типами шаблонов 105-107 содержат в себе не только компоненты основной частоты, но также и высокочастотные компоненты. Эти высокочастотные компоненты возникают вследствие наличия резких смещений в прямоугольных частях шаблонов извилин.
В случае использования для каждого из этих шаблонов 105-107 извилин системы координат, изображенной на Фиг.1Б, для представления координаты Y местоположения точки на осевой линии дорожки записи в виде функции ее координаты X, функция может быть разложена в ряд Фурье. Разложение в ряд Фурье содержит в себе член, представляющий собой синусоидальную функцию, период которой короче, чем период функции sin (2π x/T), то есть гармонику. Однако каждая из этих структур извилин содержит в себе и основную гармонику. Частоту основной гармоники именуют здесь "частотой колебаний извилины". Четыре вышеописанных типов шаблонов извилин имеют общую частоту колебаний извилины.
В настоящем изобретении вместо того, чтобы осуществлять запись информации об адресе в канавке 2 дорожки записи путем модуляции частоты колебаний извилины, производят объединение множества типов шаблонов извилин друг с другом, обеспечивая тем самым запись различных типов информационных данных, в том числе информации об адресе, в канавке дорожки записи. В частности путем размещения одного из четырех типов шаблонов 104-107 извилин в каждой заранее заданном участке канавки дорожки записи может быть осуществлена запись четырех типов кодов (например, "B", "S", "0" и "1", где посредством "B" обозначен блок информационных данных, посредством "S" обозначена информация о синхронизации, а посредством совокупности нулей и единиц представляют номер адреса или соответствующий ему код обнаружения ошибок.
Ниже приведено описание основных принципов предложенного в изобретении способа считывания с оптического диска информации, запись которой осуществлена посредством извилины канавки дорожки записи, со ссылкой на Фиг.3А и 3Б.
Сначала приведено описание Фиг.3А и 3Б.
На Фиг.3А изображена основная часть устройства воспроизведения, а на Фиг.3Б показана взаимосвязь между формой канавки дорожки записи и сигналом считывания.
Осуществляют сканирование канавки 200 дорожки записи, которая схематично показана на Фиг.3Б, считывающим лазерным лучом 201, обеспечивая перемещение светового пятна в направлении стрелки. Лазерный луч 201 отражается от оптического диска и создает отраженный свет 202, который регистрируют посредством датчиков 203 и 204, имеющихся в устройстве воспроизведения, изображенном на Фиг.3А. Датчики 203 и 204 расположены на некотором расстоянии друг от друга в направлении, соответствующем радиальному направлению диска, и на выходе каждого из них получают напряжение, соответствующее интенсивности зарегистрированного светового излучения. При смещении местоположения датчиков 203 и 204, в котором обеспечивают их освещение отраженным светом 202 (то есть местоположения, в котором световое излучение попадает на них), относительно осевой линии, отделяющей детекторы 203 и 204 друг от друга, в направлении одного из датчиков 203 и 204, возникает разность между выходными сигналами датчиков 203 и 204 (в результате чего получают режим "дифференциальной двухтактной регистрации"). Выходные сигналы датчиков 203 и 204 подают на вход дифференциальной схемы 205, где выполняют их вычитание. В результате получают сигнал, соответствующий форме извилины канавки 200 записи (то есть сигнал 206, соответствующий извилине). Сигнал 206, соответствующий извилине, подают на вход фильтра 207 верхних частот (ФВЧ), посредством которого осуществляют его дифференцирование. В результате этого обеспечивают ослабление плавных основных гармоник, которые содержатся в сигнале 206, соответствующем извилине, и вместо них получают импульсный сигнал 208, содержащий в себе импульсные компоненты, соответствующие частям прямоугольной формы с большими градиентами. Из Фиг.3Б видно, что полярность каждого импульса в импульсном сигнале 208 зависит от направления соответствующего ему резкого смещения канавки 200 записи. Следовательно, шаблон извилины канавки 200 записи может быть распознан по импульсному сигналу 208.
Ниже, со ссылкой на Фиг.3В, рассмотрен пример варианта конфигурации схемы генерации импульсного сигнала 208 и тактового сигнала 209 из сигнала 206, соответствующего извилине, который изображен на Фиг.3Б.
В приведенном в качестве примера варианте конфигурации, изображенном на Фиг.3В, сигнал 206, соответствующий извилине, подают на вход первого и второго полосовых фильтров ПФ1 и ПФ2, посредством которых осуществляют генерацию, соответственно, импульсного сигнала 208 и тактового сигнала 209.
Предполагая, что частота колебаний извилины дорожки записи равна fW (Гц), первый полосовой фильтр ПФ1 может представлять собой фильтр, который имеет такую характеристику, что его коэффициент усиления (то есть коэффициент пропускания) имеет максимум на частоте от 4 fW до 6 fW (например, на частоте 5 fW). В предпочтительном варианте подобного фильтра крутизна его характеристики в диапазоне от низких частот до частоты, соответствующей максимуму характеристики, равна, например, 20 дБ на декаду, а затем резко уменьшается (например, имеет крутизну спада 60 дБ на декаду) в полосе частот, превышающих частоту, соответствующую максимуму характеристики. Следовательно, первый полосовой фильтр ПФ1 может осуществлять генерацию надлежащего импульсного сигнала 208, посредством которого отображают изменяющиеся части извилины дорожки записи прямоугольной формы, из сигнала 206, соответствующего извилине.
С другой стороны, второй полосовой фильтр ПФ2 имеет такую характеристику фильтрации, что его коэффициент усиления является высоким в заранее заданной полосе частот (например, в диапазоне от 0,5 до 1,5, включая частоту колебаний извилины fW, находящуюся в его центре), но на других частотах он является малым. Посредством подобного второго полосового фильтра ПФ2 может быть осуществлена генерация синусоидального сигнала, частота которого соответствует частоте колебаний извилины дорожки записи, который используют в качестве тактового сигнала 209.
Ниже приведено подробное описание вариантов осуществления носителя информации в виде оптического диска согласно настоящему изобретению.
1-й ВАРИАНТ ОСУЩЕСТВЛЕНИЯ
Согласно этому варианту осуществления на поверхности 1 оптического диска, предназначенной для записи, также создают спиральную канавку 2 дорожки записи, подобную той, которая изображена на Фиг.1А.
На Фиг.4 показана форма канавки 2 дорожки записи для этого варианта осуществления. Канавка 2 дорожки записи разделена на множество блоков, а между двумя соседними блоками создают метку 210 блока (идентификационную метку), которую используют в качестве метки для позиционирования. Метку 210 блока в этого варианта осуществления создают путем разрыва канавки 2 дорожки записи на небольшое расстояние.
Канавка 2 дорожки записи содержит в себе множество единичных участков 22, 23, а каждый блок состоит из заранее заданного количества единичных участков 22, 23. Каждый единичный участок может быть снабжен извилиной с произвольно выбранным шаблоном, выбор которой осуществляют из множества шаблонов извилин. В примере, показанном на Фиг.4, единичные участки 22 и 23 снабжены извилинами, имеющими шаблоны, соответственно, 106 и 105 из Фиг.2Б.
Каждый из этих шаблонов 105 и 106 извилин служит носителем элемента информации, состоящего из одного бита (то есть "0" или "1"), который здесь именуют "информационными данными, подразделенными на более мелкие фрагменты" (с подразделенными информационными данными). Путем распознавания типа шаблона извилин, находящегося в каждом единичном участке канавки дорожки записи, может быть осуществлено считывание содержимого информационных данных, подразделенных на более мелкие фрагменты, размещенных в единичном участке. Следовательно, исходя из подразделенных информационных данных, которые состоят из множества бит, может быть выполнено считывание информационных данных различных типов.
Как описано выше, различие между шаблонами извилин по форме колебаний представляют в виде разности градиентов между передними фронтами или задними фронтами сигналов считывания, получаемых посредством способа дифференциальной двухтактной регистрации. Следовательно, шаблон извилины единичного участка 22 может быть, например, легко распознан как один из шаблонов 105 и 106 извилин, показанных на Фиг.2А. Однако, при выполнении этого обнаружения путем дифференцирования сигнала считывания вышеописанным способом происходит возрастание шумовых компонент. Поэтому при применении этого способа для носителя информации в виде оптического диска с высокой плотностью записи, что приводит к наличию низкого отношения сигнал-шум, могут возникать ошибки при обнаружении. Во избежание возникновения подобных ошибок при обнаружении в этом варианте осуществления изобретения используют способ, описанный ниже.
Запись информации, которую пользователь желает записать на диске (именуемой здесь "записываемой информацией"), осуществляют в нескольких блоках вдоль канавки дорожки записи в слое для записи. Запись записываемой информации производят поблочно. Каждый блок простирается от метки 210 блока вдоль канавки 2 дорожки записи и имеет заранее заданную длину, равную например, 64 килобайтам. Подобный блок представляет собой элемент обработки информации и может являться, например, блоком кода с исправлением ошибок (КИО). Каждый блок состоит из субблоков, количество которых равно N (N является натуральным числом). В том случае, когда каждый блок имеет длину 62 килобайта и каждый субблок имеет длину 2 килобайта, количество N субблоков, содержащихся в одном блоке, равно 32.
В этом варианте осуществления областям канавки дорожки записи, где должна быть записана информация для соответствующих субблоков, соответствуют единичным участкам 22, 23 канавки дорожки записи.
Поскольку в каждом из участков 22 и 23 осуществляют запись одного бита подразделенных информационных данных, которым является "0" или "1", то в каждом блоке размещают группу подразделенных информационных данных, которая состоит из N=32 битов. В этом варианте осуществления изобретения посредством этой группы информационных данных, подразделенных на более мелкие фрагменты, которая состоит из 32-х битов, указывают адрес блока.
Например, в том случае, когда каждый участок имеет длину 2418 байт (=2048 байт плюс байты контроля четности), а один период извилины имеет длину, соответствующую 11,625 байтам, каждый участок содержит в себе шаблон извилины длиной 208 периодов. Следовательно, для распознавания типа заданного шаблона извилины обнаружение сигнала 206, соответствующего извилине, который изображен на Фиг.3Б и 3В, может быть выполнено на протяжении 208 периодов извилины (то есть количество периодов колебаний равно 208). Поэтому даже в случае возникновения некоторых ошибок при обнаружении, обусловленных наличием шумов при считывании сигнала, распознавание подразделенных информационных данных может быть осуществлено с достаточно высокой точностью.
В частности, может быть осуществлена дискретизация продифференцированного дифференциального двухтактного сигнала (то есть импульсного сигнала 208) и его сохранение при каждом нарастании или спаде сигнала. И при сравнении накопленного значения количества нарастаний с накопленным значением количества спадов обеспечивают удаление шумовых компонент. В результате извлечение компонентов информационных данных, подразделенных на более мелкие фрагменты, может быть осуществлено с высокой точностью.
Показанную на Фиг.4 метку 210 блока создают путем разрыва канавки 2 дорожки записи на весьма небольшое расстояние. Следовательно, при записи информационных данных в этой части слоя, предназначенного для записи, поверх метки 210 блока, могут возникнуть определенные проблемы. В частности, поскольку количество отраженной световой энергии сильно меняется в зависимости от того, находится ли канавка записи внутри светового пятна или нет, наличие метки 210 блока приводит к возникновению искажений в сигнале считывания. Следовательно, в этом варианте осуществления, область 21 записи сигнала ГПЧ (генератора с перестраиваемой частотой) находится в области 21, имеющей заранее заданную длину и содержащей в себе метку 210 блока. Область 21 записи сигнала ГПЧ представляет собой область, в которой записан сигнал ГПЧ одной частоты. Сигнал ГПЧ представляет собой сигнал для синхронизации системы ФАПЧ, необходимой для считывания записанной информации. Даже при наличии каких-либо искажений или отклонений сигнал ГПЧ вызовет только лишь локальные флуктуации, но не приведет к возникновению каких-либо ошибок. К тому же, сигнал ГПЧ имеет одну повторяющуюся частоту. Следовательно, можно отделить искажения, вызванные меткой блока. Однако, сигнал, который подлежит записи в область 21 записи сигнала ГПЧ, не обязательно должен иметь единственную частоту, а может иметь конкретный шаблон и достаточно узкую спектральную полосу пропускания, позволяющую отделить его частоту от частоты сигнала, соответствующего метке 210 блока.
2-й ВАРИАНТ ОСУЩЕСТВЛЕНИЯ
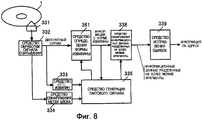
Ниже, со ссылкой на Фиг.5, приведено описание устройства воспроизведения оптических дисков, имеющего функцию считывания адреса с носителя информации в виде оптического диска согласно первому варианту осуществления.
Лазерный луч, излучаемый оптической головкой 331 этого устройства воспроизведения, падает на оптический диск 1, посредством чего создают световое пятно на канавке дорожки записи оптического диска 1. Управление механизмом привода осуществляют таким образом, что обеспечивают перемещение светового пятна вдоль канавки дорожки записи при вращении оптического диска 1.
Затем оптическая головка 331 принимает лазерный луч, отраженный от оптического диска 1, обеспечивая тем самым генерацию электрического сигнала. Электрический сигнал, полученный на выходе оптической головки 331, подают на вход процессора 332 сигнала считывания, в котором электрический сигнал подвергают операции обработки. В ответ на сигнал, поданный из оптической головки 331, процессор 332 сигнала считывания осуществляет генерацию и вывод полностью просуммированного сигнала и сигнала, соответствующего извилине (то есть двухтактного сигнала).
Сигнал, соответствующий извилине, подают на вход схемы 333 ФАПЧ (фазовой автоподстройки частоты) извилины. Схема 333 ФАПЧ извилины осуществляет генерацию тактового сигнала из сигнала, соответствующего извилине, а затем подает тактовый сигнал в тактовый генератор 335. Частоту тактового сигнала получают путем умножения частоты колебаний извилины. Следует отметить, что перед тем, как будет установлена фазовая синхронизация посредством схемы 333 ФАПЧ извилины, генерация тактового сигнала также может быть осуществлена посредством использования сигнала генератора опорных тактовых импульсов, хотя точность при этом является более низкой.
Полностью просуммированный сигнал, полученный на выходе процессора 332 сигнала считывания, подают на вход устройства 334 обнаружения метки блока. Устройство 334 обнаружения метки блока обнаруживает метку 210 блока в соответствии с полностью просуммированным сигналом. В оптическом диске из первого варианта осуществления изобретения лазерный луч, отраженный от той части, где находится метка 210 блока, имеет более высокую интенсивность, чем при отражении от других частей. Соответственно, в том случае, когда уровень полностью просуммированного сигнала превышает заранее заданный уровень, процессор 332 сигнала считывания осуществляет генерацию сигнала обнаружения метки блока и подает его в тактовый генератор 335.
В ответ на получение сигнала обнаружения метки блока и тактового сигнала тактовый генератор 335 отсчитывает количество тактовых импульсов с начала блока. Путем выполнения такого подсчета можно определить тот момент времени, в который должно произойти нарастание или спад сигнала, соответствующего извилине, синхронизацию подразделения информационных данных и синхронизацию разделения каждого блока на участки.
Счетчик 336 количества элементов, имеющих форму первого типа, осуществляет для каждого участка отсчет количества событий, при которых градиент нарастания сигнала, соответствующего извилине, равен или превышает заранее заданное значение UTH. В частности, если при нарастании сигнала, соответствующего извилине, градиент двухтактного сигнала равен или превышает заранее заданное значение UTH, то счетчик 336 осуществляет приращение своего отсчета C1 на единицу. С другой стороны, если значение градиента является меньшим, чем UTH, то счетчик 336 не изменяет значения своего отсчета C1, но сохраняет его. Момент времени, в который происходит нарастание сигнала, соответствующего извилине, определяют по выходному сигналу тактового генератора 335.
Счетчик 337 количества элементов, имеющих форму второго типа, осуществляет для каждого участка отсчет количества событий, при которых градиент спада сигнала, соответствующего извилине, равен или меньше заранее заданного значения DTH. В частности, если при спаде сигнала, соответствующего извилине, градиент двухтактного сигнала равен или меньше заранее заданного значения DTH, то счетчик 337 осуществляет приращение своего отсчета C2 на единицу. С другой стороны, если значение градиента превышает DTH, то счетчик 337 не изменяет значения своего отсчета C2, но сохраняет его. Момент времени, в который происходит спад сигнала, соответствующего извилине, также определяют по выходному сигналу тактового генератора 335.
Устройство 338 обнаружения информационных данных, подразделенных на более мелкие фрагменты, в ответ на тактовый сигнал, генерация которого осуществлена тактовым генератором 335 и посредством которого указывают тот момент времени, в который следует выполнить разделение информационных данных на более мелкие фрагменты, сравнивает отсчет C1 счетчика 336 количества элементов, имеющих форму первого типа, с отсчетом C2 счетчика 337 количества элементов, имеющих форму второго типа. В том случае, если для некоторого участка удовлетворяется условие C1≥C2, то устройство 338 обнаружения осуществляет вывод "1" в качестве подразделенных информационных данных для единичного участка. С другой стороны, если для единичного участка удовлетворяется условие C1<C2, то устройство 338 обнаружения осуществляет вывод сигнала "0" в качестве подразделенных информационных данных для единичного участка. Другими словами, устройство 338 обнаружения принимает решение о типе сигнала, соответствующего извилине, для каждого из участков по мажоритарному принципу.
Устройство 339 исправления ошибок выполняет исправление ошибок в группе информационных данных, разделенных на более мелкие фрагменты, расположенной во множестве участков, входящих в состав одного блока, обеспечивая тем самым получение информации об адресе.
Эти схемы не обязательно должны быть реализованы в виде отдельных независимых друг от друга схем. В альтернативном варианте один элемент схемы может являться общим для множества схем. К тому же функции этих схем могут быть выполнены процессором цифровой обработки сигналов, управление работой которого осуществляют в соответствии с программой, заранее запомненной в запоминающем устройстве. Это же утверждение также является справедливым и для каждого из описанных ниже различных вариантов осуществления настоящего изобретения.
3-й ВАРИАНТ ОСУЩЕСТВЛЕНИЯ
Ниже приведено описание другого варианта осуществления устройства воспроизведения оптических дисков согласно настоящему изобретению со ссылкой на Фиг.6. Устройство воспроизведения оптических дисков согласно этому варианту осуществления отличается от устройства считывания информации об адресе согласно четвертому варианту осуществления изобретения тем, что устройство воспроизведения дополнительно содержит в себе устройство 340 обнаружения стирания. Устройство 339 исправления ошибок имеет также иную функцию. Что касается других отличительных признаков, то устройство из этого варианта осуществления аналогично устройству из второго варианта осуществления. Следовательно, здесь не будет приведено описание узлов, которые являются общими для этих двух вариантов осуществления.
Устройство 340 обнаружения стирания осуществляет для каждого участка сравнение отсчета C1, полученного на выходе счетчика 336 количества элементов, имеющих форму первого типа, с отсчетом C2, полученным на выходе счетчика 337 количества элементов, имеющих форму второго типа. И в том случае, когда для заранее заданного значения E справедливо неравенство -E<C1-C2<+E, устройство 340 обнаружения осуществляет вывод флага стирания, равного "1", посредством которого указывают, что подразделенные информационные данные не могут быть точно распознаны. С другой стороны, если неравенство -E<C1-C2<+E не выполняется, то устройство 340 обнаружения выходных сигналов осуществляет вывод флага стирания, равного "0".
В том случае, если флаг стирания равен "1", устройство 339 исправления ошибок выполняет стирание подразделенных информационных данных, посредством чего обеспечивают принудительное исправление ошибок.
В этом варианте осуществления стирание ошибочных битов производят подобным способом с использованием флагов стирания. Следовательно, количество битов с исправляемыми ошибками для кода с исправлением ошибок, увеличено вдвое.
Следует отметить, что поскольку при C1-C2≤-E может быть осуществлен вывод флага стирания, равного "0", при -E<C1-C2<+E может быть осуществлен вывод флага "X", а при +E≤C1-C2 может быть осуществлен вывод флага "1". При этом принудительное исправление ошибок может быть выполнено в том случае, когда флаг стирания равен "X".
Как описано выше, в устройстве воспроизведения оптических дисков из этого варианта осуществления в том случае, если подразделяемые информационные данные не могут быть точно распознаны вследствие малой разности между значениями отсчетов элементов, имеющих форму первого и второго типов, то осуществляют стирание данных битов во время процесса исправления ошибок. Таким образом, обеспечивают улучшение способности исправления ошибок, а считывание адреса может быть выполнено с большей достоверностью.
4-й ВАРИАНТ ОСУЩЕСТВЛЕНИЯ
Ниже приведено описание предложенного в изобретении способа считывания адреса с носителя информации в виде оптического диска со ссылкой на Фиг.7.
В верхней части Фиг.7 схематично изображена форма извилины 351. В левой половине извилины 351 указанной формы смещения, направленные вниз, являются резкими. В правой ее половине имеет место обратная ситуация, более резкими являются смещения, направленные вверх.
Сигнал 352, соответствующий извилине, который представлен двухтактным сигналом, имеет ухудшенное качество вследствие наличия шумов или искажений формы сигнала.
Цифровой сигнал 353 получают путем ограничения сигнала 352, соответствующего извилине, по нулевому уровню. Продифференцированный сигнал 354 получают путем дифференцирования сигнала 352, соответствующего извилине. Продифференцированный сигнал 354 содержит в себе информацию о градиентах формы извилины. Помимо максимумов, отображающих обнаруженные градиенты в точках смещения, здесь существует несколько максимумов, обусловленных шумами или искажениями формы сигнала.
Для простоты ниже приведено описание только первой и второй частей, 355 и 356, выбранных произвольным образом из сигнала, соответствующего извилине.
В первой части 355 сигнала, соответствующего извилине, при сравнении значений 357 и 358 продифференцированного сигнала 354, выборка которых произведена, соответственно, по переднему и заднему фронтам цифрового сигнала 353, между собой по абсолютной величине выборочное значение 358 имеет большую абсолютную величину. Следовательно, может быть принято решение о том, что сигнал, соответствующий извилине, который содержится в первой части 355, имеет такой шаблон извилины, в которой смещение, направленное вниз, является более резким, чем смещение, направленное вверх.
Аналогичным образом при сравнении значений 359 и 360 продифференцированного сигнала 354 во второй части 356 сигнала, соответствующего извилине, выбор которых произведен, соответственно, по переднему и заднему фронтам цифрового сигнала 353, между собой по абсолютной величине выборочное значение 359 имеет большую абсолютную величину. Следовательно, может быть принято решение о том, что сигнал, соответствующий извилине, который содержится во второй части 356, имеет такой шаблон извилины, в которой смещение, направленное вверх, является более резким, чем смещение, направленное вниз.
Путем принятия таких решений для каждого периода извилины и накопления решений может быть осуществлено распознавание типа каждого элемента подразделенных информационных данных с использованием мажоритарного принципа.
Таким образом, согласно способу считывания адреса согласно настоящему изобретению выборку из продифференцированного сигнала осуществляют только в те моменты времени, которые соответствуют фронтам сигнала, полученного путем дискретизации сигнала, соответствующего извилине, а выборочные значения сравнивают между собой. В результате обнаружение градиентов формы извилины в точках смещения может быть осуществлено с высокой степенью достоверности даже при наличии некоторых помех, таких как шум или искажения формы сигнала.
5-й ВАРИАНТ ОСУЩЕСТВЛЕНИЯ
Ниже, со ссылкой на Фиг.8, приведено описание еще одного устройства воспроизведения оптических дисков для считывания адреса на оптическом диске согласно настоящему изобретению.
Устройство воспроизведения из этого варианта осуществления отличается от его аналога, показанного на Фиг.5, тем, что устройство привода согласно этому варианту осуществления содержит в себе устройство 361 определения формы извилины. Устройство 361 определения формы извилины осуществляет для каждого периода извилины опознавание заданной формы извилины как формы первого типа, имеющей резкое смещение, направленное вверх, или как формы второго типа, имеющей резкое смещение, направленное вниз, обеспечивая тем самым вывод информации о форме извилины и подачу ее в устройство 338 обнаружения подразделенных информационных данных. В соответствии с информацией о форме извилины, полученной из устройства 361 определения формы извилины, устройство 338 обнаружения информационных данных, подразделенных на более мелкие фрагменты, определяет то, какая именно форма: форма первого типа или форма второго типа, была обнаружена большее количество раз. Затем устройство 338 обнаружения идентифицирует информационные данные, подразделенные на более мелкие фрагменты, распределенные в заданный элемент подразделенных информационных данных, и осуществляет их вывод.
Устройство 338 обнаружения подразделенных информационных данных может содержать в себе: счетчик, посредством которого получают количество событий приема сигнала, свидетельствующего о факте обнаружения формы первого типа в соответствии с полученной информацией о форме извилины; и другой счетчик для получения количества событий приема сигнала, свидетельствующего о факте обнаружения формы второго типа в соответствии с этой информацией. Путем сравнения отсчетов, относящихся к этим двум формам, друг с другом может быть принято решение с использованием мажоритарного принципа. В альтернативном варианте также может быть использован реверсивный счетчик, который осуществляет приращение отсчета на единицу при обнаружении формы первого типа и уменьшение отсчета на единицу при обнаружении формы второго типа. В этом варианте представление информационных данных, подразделенных на более мелкие фрагменты, может быть осуществлено посредством знака отсчета реверсивного счетчика, то есть путем определения того, является ли отсчет реверсивного счетчика в конце заданного участка положительным или отрицательным.
Ниже приведено подробное описание принципа работы устройства 361 определения формы извилины со ссылкой на Фиг.9.
Устройство 361 определения формы извилины содержит в себе полосовой фильтр (ПФ) 362, который принимает двухтактный сигнал (то есть сигнал, соответствующий извилине) и который обеспечивает уменьшение нежелательных шумовых компонент этого сигнала. Этот ПФ 362 может обеспечивать пропускание компонентов сигнала основной частоты, соответствующего извилине, и компонентов с частотами гармоник, содержащих в себе информацию о градиенте извилины. Предполагая, что основная частота сигнала, соответствующего извилине, равна fW, в предпочтительном варианте используют полосовой фильтр, имеющий полосу пропускания в диапазоне от 1/2fW до 5fW, что позволяет обеспечить хороший запас для возможных отклонений линейной скорости.
Сигнал с выхода ПФ 362 подают на вход устройства 363 регистрации градиента и на вход цифрового преобразователя 365.
Посредством устройства 363 определения градиента определяют градиент сигнала, соответствующего извилине. Это определение "градиента" может быть выполнено путем дифференцирования сигнала, соответствующего извилине. Вместо устройства дифференцирования также может быть использован фильтр верхних частот (ФВЧ), посредством которого выделяют только те гармоники, которые содержат в себе информацию о градиенте. Выходной сигнал из устройства 363 определения градиента подают в устройство 366 обнаружения нарастания сигнала и в инвертор 364.
Посредством инвертора 364 инвертируют выходной сигнал устройства 363 определения градиента относительно нулевого уровня, а затем полученное на его выходе инвертированное значение подают в устройство 367 сбора данных о величине спада.
Посредством цифрового преобразователя 365 осуществляют обнаружение моментов времени, в которые сигнал, соответствующий извилине, при нарастании и спаде переходит через нулевой уровень. Термин "момент времени, в который нарастающий сигнал переходит через нулевой уровень" означает момент времени, когда уровень сигнала, соответствующего извилине, изменяется с низкого уровня ("L") на высокий уровень ("H"). С другой стороны, термин "момент времени, в который спадающий сигнал переходит через нулевой уровень" означает момент времени, когда уровень сигнала, соответствующего извилине, изменяется с высокого уровня ("H") на низкий уровень ("L").
Устройство 366 сбора данных о величине нарастания сигнала осуществляет выборку и сохранение значений градиента сигнала, соответствующего извилине, то есть выходного сигнала устройства 363 определения градиента, в обнаруженный посредством цифрового преобразователя 365 момент времени, в который нарастающий сигнал проходит через нулевой уровень. Аналогичным способом устройство 367 сбора данных о величине спада осуществляет выборку и сохранение инвертированных значений градиента сигнала, соответствующего извилине, то есть выходного сигнала инвертора 364, в обнаруженный посредством цифрового преобразователя 365 момент времени, в который спадающий сигнал проходит через нулевой уровень.
В этом варианте значение, полученное путем выборки посредством устройства 366 сбора данных о величине нарастания сигнала, является положительным, поскольку это значение представляет собой градиент фронта нарастания сигнала. Значение, полученное путем выборки посредством устройства 367 сбора данных о величине спада, также является положительным, поскольку это значение представляет собой инвертированный градиент фронта спада сигнала. То есть значения, полученные путем выборки посредством устройств 366 и 367 сбора данных о величине нарастания и спада, совпадают с абсолютными величинами соответствующих градиентов.
По истечении заранее заданного времени с того момента времени, в который спадающий сигнал, соответствующий извилине, проходит через нулевой уровень, компаратор 369 выполняет сравнение абсолютной величины градиента фронта нарастания сигнала, выборка и сохранение которого осуществлены посредством устройства 366 сбора данных о величине нарастания сигнала, с абсолютной величиной градиента фронта спада сигнала, выборка и сохранение которого осуществлены посредством устройства 367 сбора данных о величине спада. Это заранее заданное время задержки обеспечивают посредством схемы 368 задержки. В том случае, если значение, полученное посредством устройства 366 определения величины нарастания, является большим, компаратор 369 осуществляет вывод информации о форме извилины, указывающей наличие формы первого типа. В противном случае компаратор 369 выдает информацию о форме извилины, указывающей наличие формы второго типа. То есть путем сравнения между собой градиентов только лишь в те моменты времени, в которые возрастающий и спадающий сигналы проходят через нулевой уровень и в которые информация о градиенте сигнала, соответствующего извилине, является наиболее достоверной (то есть, когда его продифференцированные значения достигают, соответственно, максимума и минимума), может быть обеспечено достаточно точное определение формы извилины.
В этом варианте осуществления на вход цифрового преобразователя 365 и на вход устройства 363 определения градиента подают одинаковый сигнал. Однако, настоящее изобретение не ограничено этим конкретным вариантом осуществления. Для более точного определения моментов времени прохождения сигнала, соответствующего извилине, через нулевой уровень выходной сигнал ПФ 362 может быть подан на вход цифрового преобразователя 365 через фильтр нижних частот (ФНЧ) (LPF). К тому же вместо ПФ 362 могут быть использованы два ПФ различных типов с взаимно различными характеристиками, которые входят в состав, соответственно, устройства 363 определения градиента и цифрового преобразователя 365. В этом случае предпочтительным вариантом является тот, в котором имеется отдельное дополнительное устройство коррекции задержки, обеспечивающее фазовую синхронизацию сигнала, соответствующего извилине, прошедшего через эти ПФ.
Как описано выше, в устройстве воспроизведения оптических дисков согласно этому варианту осуществления выборку и сохранение значений градиента сигнала, соответствующего извилине, который содержит в себе подразделенные информационные данные, производят в те моменты времени, когда сигнал, соответствующий извилине, проходит через нулевой уровень, а затем выполняют сравнение сохраненных значений между собой. Подобным способом могут быть обеспечено достаточно точное распознавание формы извилины и сокращение количества ошибок при обнаружении информационных данных, подразделенных на более мелких фрагменты, вызванных, например, наличием шумов.
6-й ВАРИАНТ ОСУЩЕСТВЛЕНИЯ
На Фиг.10 показана компоновка, в которой метка 210 блока расположена, приблизительно, в центре области 21 записи сигнала ГПЧ. В примере, изображенном на Фиг.10, в области 21 записи сигнала ГПЧ создана извилина, имеющая форму прямоугольной волны. Однако, настоящее изобретение не ограничено этим конкретным вариантом осуществления.
Ниже, со ссылкой на Фиг.11А и 11Б приведено описание способа записи сигнала в области 21 записи сигнала ГПЧ. На Фиг.11А и 11Б для упрощения чертежа не показана извилина, которую создают в канавке 2 дорожки записи.
На Фиг.11А показана ситуация, в которой в канавке 2 дорожки записи записан сигнал, соответствующий одному блоку. Записываемый сигнал для одного блока содержит в себе данные (ДАННЫЕ) 202 и сигналы 201 и 203 ГПЧ.
Запись в каждом блоке начинают с записи сигнала 201 ГПЧ. В этом варианте осуществления запись сигнала 201 ГПЧ осуществляют внутри области 21 сигнала ГПЧ, а точка начала записи сигнала 201 ГПЧ находится перед меткой 210 блока. После того, как выполнена запись сигнала 201 ГПЧ, осуществляют запись данных (ДАННЫЕ) 202 для одного блока, а затем в конце осуществляют запись сигнала 203 ГПЧ. Запись сигнала 203 ГПЧ производят внутри области 31 сигнала ГПЧ, а точка окончания записи сигнала 203 ГПЧ находится позади метки 210 блока. То есть в этом варианте осуществления изобретения запись информации начинают до того, как будет достигнута метка блока, расположенная в начале надлежащей области записи, а заканчивают запись информации после прохождения метки блока, расположенной в конце надлежащей области записи.
В том случае, если запись данных начинают в центре метки 210 блока, характеристики пленки, на которой производят запись, значительно ухудшаются в той ее части, где находится метка 210 блока. Метку 210 блока из этого варианта осуществления создают путем разрыва канавки 2 дорожки записи на весьма короткое расстояние. Следовательно, в том месте канавки дорожки записи, где находится метка 210 блока, заранее создают "ступеньки". При выполнении записи информации в этих "ступенчатых" частях запись информации на пленке, на которой производят запись, необходимо осуществлять путем облучения части пленки, на которой производят запись, лучом лазера с высокой энергией излучения, чтобы обеспечить передачу большой тепловой энергии облученным частям. В этом случае перед этими частями, освещаемыми лазерным лучом, и после них возникают градиенты температуры, имеющие большое значение. Эти градиенты температуры создают механические напряжения в пленке, на которой производят запись. При наличии каких-либо "ступенек" в той части, которая подвергнута механическим напряжениям, в пленке, на которой производят запись, могут образовываться небольшие трещины. После образования такой небольшой трещины в пленке, на которой производят запись, эта трещина будет увеличиваться при каждом повторном выполнении операции записи. В конечном счете это может привести к разрушению пленки.
В этом варианте осуществления для предотвращения подобного разрушения пленки точки начала и окончания записи располагают в тех областях, где отсутствуют метки 211 блока.
Сигнал ГПЧ представляет собой фиктивный сигнал, обеспечивающий подготовку к считыванию данных. При считывании сигнала ГПЧ осуществляют управление выравниванием уровня данных в центре сигнала считывания с использованием обратной связи и синхронизацию системы ФАПЧ для получения тактового сигнала. Для обеспечения высококачественного воспроизведения при считывании данных необходимо обеспечить достаточно точное преобразование сигнала данных считывания в цифровой вид и его синхронизацию. В том случае, если сигнал ГПЧ имеет слишком короткую длительность, то считывание данных начинают до того, как будет установлена надлежащая синхронизация посредством системы ФАПЧ, что может приводить к возникновению ошибок в данных, считанных с начального участка блока. Следовательно, в предпочтительном варианте запись сигнала ГПЧ начинают перед меткой блока, а также предпочтительным вариантом является тот, в котором область его записи имеет достаточно большую длину.
Следует отметить, что если в предыдущем блоке уже была произведена запись данных, то запись сигнала ГПЧ для текущего блока может быть осуществлена поверх сигнала ГПЧ для предыдущего блока, что показано на Фиг.11Б. В этом случае производят стирание части уже записанного сигнала ГПЧ. К тому же ранее существующий сигнал ГПЧ может оказаться не синфазным с записанным поверх него сигналом ГПЧ. Следовательно, нецелесообразно осуществлять синхронизацию системы ФАПЧ для текущего блока посредством использования сигнала ГПЧ из предыдущего блока.
Приведенное выше описание этого варианта осуществления относится к точке начала записи сигнала ГПЧ. Аналогичное ухудшение характеристик пленки, на которой производят запись, также происходит в области точки окончания записи данных. Однако, в предпочтительном варианте осуществления точка окончания записи находится позади метки 310 блока, а не перед ней. Если точка окончания записи находится перед меткой 310 блока, то между текущим блоком и следующим блоком может возникать промежуток. Этот промежуток представляет собой область, которую не облучают световым излучением большой мощности и в которой не создают никаких меток. Подобно "ступенькам" наличие такого промежутка может приводить к ухудшению характеристик пленки. Следовательно, предпочтительно выполняют наложение сигнала ГПЧ, находящегося в начале текущего записываемого блока, на сигнал ГПЧ, находящийся в конце ранее записанного блока. Это перекрытие сигналов ГПЧ обеспечивают путем размещения точки начала записи сигнала ГПЧ, соответственно, перед меткой 210 блока, а точки окончания записи сигнала ГПЧ - после метки 310 блока, как показано на Фиг.11А.
Предпочтительно, расстояние между меткой блока и точкой начала или окончания записи сигнала ГПЧ, приблизительно в 10 или более раз превышает размер светового пятна лазерного луча, используемого для записи. Размер светового пятна получают путем деления длины волны лазерного излучения на величину числовой апертуры (ЧА) (NA). Соответственно, при использовании оптической головки, которая испускает лазерное излучение с длиной волны 650 нм и имеет ЧА, равную 0,65, размер создаваемого на диске светового пятна равен 1 мкм (= длина волны/ЧА). В этом случае предпочтительным вариантом является тот, в котором точка начала или окончания записи удалена от метки блока на расстояние 10 мкм или более. Однако, это базовое расстояние, полученное путем умножения размера светового пятна на десять, может быть скорректировано в зависимости от свойств пленки, на которой производят запись (например, в частности, от ее удельной теплопроводности).
Однако, следует отметить, что в том случае, когда операцию записи начинают перед меткой 210 блока, обнаружение метки блока еще не осуществлено. Следовательно, для того, чтобы начать запись точно перед меткой блока, необходимо выполнить прогнозирование или оценочный расчет местоположения метки блока или определить его каким-либо иным способом. Например, после обнаружения метки блока, относящейся к предыдущему блоку, может быть выполнен подсчет количества тактовых импульсов тактового сигнала. А запись сигнала ГПЧ в следующем блоке может быть начата тогда, когда их отсчитанное количество достигнет заранее заданного числа.
7-й ВАРИАНТ ОСУЩЕСТВЛЕНИЯ
Ниже приведено описание носителя информации в виде оптического диска согласно седьмому варианту осуществления со ссылкой на Фиг.12. В вышеописанном варианте осуществления метку 210 блока размещают, приблизительно, в центре области 21 записи сигнала ГПЧ. В отличие от этого согласно данному варианту осуществления метку 211 блока создают ближе к предыдущему блоку относительно центра области 21 записи сигнала ГПЧ, как показано на Фиг.12. При такой конфигурации может быть обеспечена большая длина сигнала ГПЧ в начальной области.
8-й ВАРИАНТ ОСУЩЕСТВЛЕНИЯ
Ниже приведено описание носителя информации в виде оптического диска согласно восьмому варианту осуществления со ссылкой на Фиг.13, 14А и 14Б.
Метка 210 блока в этом варианте осуществления состоит из субметок 210а и 210б. Эта конфигурация упрощает обеспечение синхронизации операции записи. То есть, поскольку созданы две метки, операция записи может быть начата после обнаружения метки 210б, расположенной в начале блока, и до того, как будет обнаружена метка 210а. К тому же операция записи может быть завершена после обнаружения второй метки 210а, находящейся в начале следующего блока.
Таким образом, точка начала записи может быть задана с достаточно высокой точностью без операции подсчета количества тактовых импульсов после обнаружения метки блока, соответствующей предыдущему блоку.
Следует отметить, что во избежание разрушения пленки расстояние между этими метками 210а и 210б должно быть выполнено достаточно большим. В частности, для того, чтобы расстояние между точкой начала записи и меткой 210а или 210б было, приблизительно, в 10 раз или более большим, чем размер светового пятна, расстояние между метками 210а и 210б предпочтительно должно быть, приблизительно, в 20 раз или более большим, чем размер светового пятна. Например, в том случае, когда размер светового пятна, создаваемого на оптическом диске, равен 1 мкм, это расстояние в предпочтительном варианте задают равным 20 мкм или большим.
9-й ВАРИАНТ ОСУЩЕСТВЛЕНИЯ
Ниже приведено описание оптического диска согласно девятому варианту осуществления изобретения со ссылкой на Фиг.15. В каждом из вышеописанных вариантов осуществления метку 210 блока создают путем разрыва канавки 2 дорожки записи на небольшое расстояние. В той части, где канавка дорожки записи имеет разрыв, канавка записи отсутствует. Следовательно, эта часть является плоской и ее именуют "зеркальной меткой". Зеркальная метка отражает считываемое световое излучение с высоким коэффициентом отражения и ее можно легко обнаружить. Однако, в этом варианте осуществления метку блока создают не в виде зеркальной метки, а используют метку 218 блока, имеющую иную форму. Ниже приведено подробное описание этой метки 218 блока.
В этом варианте осуществления фаза извилины канавки дорожки записи внутри области 21 записи сигнала ГПЧ является инвертированной, а этот участок с инвертированной фазой, используемый в качестве метки 218 блока, изображен на Фиг.15.
Как описано выше, метка 210 блока в виде зеркальной метки имеет преимущество, заключающееся в том, что она обеспечивает высокую точность позиционирования и может быть легко обнаружена. Однако, если отношение сигнал-шум является низким, то количество ошибок при обнаружении значительно возрастает. И, наоборот, если канавка дорожки записи создана таким образом, что фаза извилины перед меткой 218 блока является обратной по отношению к фазе извилины после метки 218 блока, то факт прохождения через метку 218 блока может быть всегда обнаружен путем отслеживания фазы извилины после прохождения через метку 218 блока. Этот факт прохождения через метку может быть обнаружен даже в том случае, если само местоположение точки изменения фазы извилины (то есть, метки 218 блока) не может быть определено, например, вследствие наличия шумов.
10-й ВАРИАНТ ОСУЩЕСТВЛЕНИЯ
Ниже приведено описание еще одного варианта осуществления оптического диска, предложенного в изобретении, со ссылкой на Фиг.16. В этом варианте осуществления внутри каждой области 21 записи сигнала ГПЧ создают две метки 218а и 218б блока. Каждую из этих меток 218а и 218б блока создают путем инверсии фазы извилины канавки дорожки записи.
Основное различие между этим вариантом осуществления и вариантом осуществления, показанным на Фиг.15, состоит в том, является ли количество инверсий фазы извилины между двумя блоками нечетным числом или четным числом. Как показано на Фиг.15, где инверсию фазы извилины внутри каждой области 21 записи сигнала ГПЧ осуществляют только один раз (то есть нечетное количество раз), фаза извилины остается инвертированной по отношению к фазе предыдущего блока с того момента, когда была выполнена инверсия фазы, и до тех пор, пока не будет пройдена следующая метка блока. В результате, при непосредственном выделении тактового сигнала, как он есть, из сигнала, соответствующего извилине канавки дорожки записи, посредством синхронизации с использованием системы ФАПЧ, сигнал, получаемый на выходе фазового компаратора системы ФАПЧ, будет иметь обратную полярность, и будет возникать ошибка в работе системы ФАПЧ, что является недостатком. Поэтому в том случае, если фаза извилины является инвертированной нечетное количество раз, как и в примере, изображенном на Фиг.15, необходимо осуществлять инверсию полярности системы ФС после прохождения метки блока.
В отличие от этого, согласно данному варианту осуществления, однократно инвертированную фазу (в метке 218а блока) инвертируют еще раз (в метке блока 218б). Таким образом, фаза извилины становится такой же самой, как и фаза извилины в предыдущем блоке. Следовательно, отсутствует необходимость осуществлять инверсию полярности системы ФАПЧ.
В каждой области 21 записи сигнала ГПЧ длина промежутка между метками 218а и 218б блока должна превышать длину ожидаемых помех, обусловленных дефектами. Однако, если длина этого промежутка превышает время срабатывания системы ФАПЧ, то возрастает вероятность возникновения ошибок. С учетом этих факторов в предпочтительном варианте осуществления промежуток между метками 218а и 218б блока внутри каждой области 21 записи сигнала ГПЧ выполняют таким, чтобы его длина составляла от, приблизительно, трех до, приблизительно, десяти периодов колебаний извилины.
Следует отметить, что для получения результатов, подобных тем, которые получены в этом варианте осуществления, количество меток 218а, 218б блока внутри каждой области 21 записи сигнала ГПЧ не ограничено двумя, а может быть равным другому четному числу. Однако, на ограниченной длине нецелесообразно создавать более четырех меток 218а, 218б блока, что обусловлено плотностью интеграции.
В вышеописанных четвертом и пятом вариантах осуществления метки блока создают путем инверсии фазы извилины. Однако, относительный сдвиг фаз до и после метки блока не обязательно должен быть в точности равен 90 градусам, поскольку изменение фазы может быть легко обнаружено. В предпочтительном варианте осуществления сдвиг фазы извилины в метке блока составляет, например, от 45 до 135 градусов.
11-й ВАРИАНТ ОСУЩЕСТВЛЕНИЯ
Ниже приведено описание шестого варианта осуществления настоящего изобретения со ссылкой на Фиг.17.
Этот вариант осуществления отличается от предшествующих вариантов осуществления изобретения тем, что метка 219 блока имеет иную конфигурацию. А именно, метка 219 блока из этого варианта осуществления задана посредством извилины, имеющей частоту, отличную от частоты колебаний извилины канавки записи, находящейся внутри блока. В примере, показанном на чертеже, частота колебаний извилины в метке 219 блока является более высокой, чем частота колебаний извилины во внутренней части блока. Следовательно, местоположение метки 219 блока может быть определено с высокой точностью, например, путем выделения или распознавания части сигнала считывания, которая имеет иную локальную частоту колебаний извилины, за счет обработки сигнала считывания с использованием полосового фильтра.
В носителе информации в виде оптического диска согласно этому варианту осуществления метку 219 блока также создают внутри области 21 записи сигнала ГПЧ, а запись данных, сигнала ГПЧ также производят в той области, где находится метка 219 блока.
В предпочтительном варианте осуществления частоту (колебаний) извилины в метке 219 блока задают от 1,2 до 3,0 раз более высокой, а в наиболее предпочтительном варианте осуществления - от 1,5 до 2,0 раз более высокой, чем частота извилины во внутренней части блока. Если частота извилины в метке 219 блока слишком близка к частоте извилины во внутренней части блока, то обнаружение метки 219 блока становится затруднительным. С другой стороны, если частота извилины в метке 219 блока намного превышает частоту (колебаний) извилины во внутренней части блока, то прежняя частота извилины становится близкой к частоте информационного сигнала, записываемого на слое пленки, на которой производят запись. В результате эти сигналы будут создавать взаимные помехи, что является нецелесообразным.
Следует отметить, что в предпочтительном варианте осуществления в промежутке между двумя блоками создают извилину, имеющую ту же самую частоту, что и частота извилины внутри блоков, за исключением области метки 219 блока. В предпочтительном варианте осуществления форма извилины в промежутке между блоками отличается от формы извилины внутри блоков. В примере, показанном на Фиг.17, колебания извилины канавки записи в промежутке между блоками являются синусоидальными.
12-й ВАРИАНТ ОСУЩЕСТВЛЕНИЯ
Ниже приведено описание седьмого варианта осуществления настоящего изобретения со ссылкой на Фиг.18.
В этом варианте осуществления в качестве метки блока используют не локальное изменение амплитуды, частоты или фазы, относящееся к форме извилины, а саму канавку записи с извилиной синусоидальной формы, используемую в качестве метки блока. К тому же начало каждого субблока 221 или 222 содержит в себе извилину 228 или 229 с локально измененной частотой.
Путем размещения такой области, частота колебаний извилины в которой отличается от основной частоты колебаний извилины, в начале каждого субблока обеспечивают возможность безошибочного обнаружения границы между субблоками. В предыдущих вариантах осуществления изобретения местоположение субблока определяют путем подсчета количества извилин от метки блока. С другой стороны, местоположение субблока в этом варианте осуществления может быть определено путем подсчета количества меток 228, 229 субблоков, которыми снабжены соответствующие субблоки.
Следует отметить, что в надлежащем месте внутри области 21 сигнала ГПЧ может быть создана метка блока, аналогичная метке блока по любому из предыдущих вариантов осуществления. К тому же в этом варианте осуществления в начале каждого субблока 221, 222 создают идентификационную метку 228, 229 субблока, имеющую иную локальную частоту извилины. В альтернативном варианте метка 228, 229 субблока может быть расположена в конце каждого субблока. К тому же идентификационные метки 228, 229 не обязательно создавать для всех субблоков, ими могут быть снабжены лишь четные или нечетные субблоки.
В предпочтительном варианте осуществления частоту колебаний извилины в метках 228, 229 субблоков задают от 1,2 до 3,0 раз более высокой, а в наиболее предпочтительном варианте осуществления - от 1,5 до 2,0 раз более высокой, чем частота колебаний извилины в других частях, что обусловлено теми же вышеописанными причинами.
В предпочтительном варианте осуществления метки 228, 229 субблоков используют для указания их начала, но посредством этих меток может быть отображена информация любого другого типа. Например, посредством множества меток субблоков, содержащихся в предшествующем блоке, может быть осуществлена запись адреса текущего блока или любого другого связанного с ним блока. Или же посредством использования меток субблоков может быть осуществлена запись информационных данных любого другого типа. В том случае, когда запись адреса блока осуществлена посредством множества меток субблоков, запись адреса также призводят посредством извилин внутри блока. Следовательно, полученный адрес является намного более достоверным.
При записи информационных данных, состоящих из множества бит, в виде совокупности этих меток субблоков метки субблоков должны иметь взаимно различную и распознаваемую форму, соответствующие двум или большему количеству значений. Для этого могут быть заданы взаимно различные частоты извилин в этих метках субблоков, или же они могут быть подвергнуты операциям фазовой модуляции взаимно различных типов.
Ниже, со ссылкой на Фиг.19 приведено описание конструкции схемы генерации тактового сигнала и считывания информации об адресе с носителя информации в виде оптического диска согласно этому варианту осуществления.
Сначала, осуществляют генерацию электрического сигнала, содержащего в себе компоненты сигнала, соответствующие извилине канавки записи, с использованием фотоприемника 901, разделенного на две части в направлении, перпендикулярном к направлению слежения (то есть в радиальном направлении диска) и дифференциального усилителя 371. Затем посредством фильтра 374 нижних частот (ФНЧ) из этого сигнала считывания выделяют только те компоненты сигнала, соответствующего извилине, которые имеют основной период. Сигнал, содержащий в себе только компоненты основного периода, подают в тактовый генератор 373. Тактовый генератор 373 может быть реализован, например, в виде схемы, входящей в состав системы ФАПЧ, и посредством него осуществляют умножение полученного сигнала основного периода на заранее заданное число, обеспечивая тем самым генерацию тактового сигнала, используемого при синхронизации обработки сигнала считывания/записи.
С другой стороны, фильтр 375 верхних частот (ФВЧ) осуществляет выборочное пропускание гармоник, содержащихся в сигнале, соответствующем извилине считывания. Выходной сигнал фильтра 375 верхних частот содержит в себе: высокочастотные компоненты, соответствующие меткам 228 и 229 субблоков, которые показаны на Фиг.18; и компоненты, соответствующие пилообразному сигналу с большой крутизной фронта, генерация которого обусловлена наличием пилообразной извилины.
Устройство 377 обнаружения меток субблоков осуществляет обнаружение компонентов извилины, имеющих заранее заданную частоту и соответствующих меткам 228 и 229 субблоков. При обнаружении этих меток устройство 377 обнаружения осуществляет генерацию тактового сигнала. Тактовый сигнал из устройства 377 обнаружения меток субблоков подают в дешифратор 378 адреса.
Как описано выше, осуществляют инверсию полярности крутого фронта пилообразной извилины в зависимости от того, какое значение информации об адресе отображают посредством нее: "1" или "0". В соответствии с сигналом, полученным на выходе фильтра 375 верхних частот, устройство обнаружения 376 информации об адресе обнаруживает эту инверсию полярности и подает поток битов в дешифратор 378 адреса. После получения этого потока битов дешифратор 378 адреса осуществляет декодирование информации об адресе в ответ на тактовый сигнал, полученный с выхода устройства 377 обнаружения меток субблоков.
В этом варианте осуществления идентификационную метку, поверх которой может быть записан сигнал ГПЧ, создают для каждого блока, а отображение адреса осуществляют посредством извилины канавки записи. В результате создают носитель информации в виде оптического диска, на котором сохранение информации осуществляют поблочно и который, соответственно, пригоден для записи с высокой плотностью. К тому же за счет того, что операцию записи начинают или завершают в том месте, которое в достаточной степени удалено от этой идентификационной метки, снижают вероятность разрушения пленки, на которой производят запись.
13-й ВАРИАНТ ОСУЩЕСТВЛЕНИЯ
Ниже использована ссылка на Фиг.20.
На оптическом диске согласно этому варианту осуществления запись информации 301 об адресе осуществляют в виде 21-го старшего бита, которые входят в состав группы информационных данных, подразделенных на более мелкие фрагменты, состоящей из 32-х битов. Запись битов 302 проверки на четность, используемых в качестве кода с исправлением ошибок, осуществляют в виде 10-ти промежуточных битов группы информационных данных, подразделенных на более мелкие фрагменты, состоящей из 32-х битов. А запись дополнительной информации 303 осуществляют в виде младшего значащего бита. Если этот оптический диск имеет два слоя для записи, то в качестве дополнительной информации 303 для первого слоя для записи может быть записано значение "0", а в качестве дополнительной информации 303 для второго слоя для записи может быть записано значение "1". Однако, содержимое дополнительной информации 303 не ограничено подобной информацией о слоях. В альтернативном варианте объем информации, представляемой посредством дополнительной информации 303, может быть увеличен путем объединения множества фрагментов дополнительной информации в последовательности блоков. В этом случае может быть сохранение еще более сложной информации, чем информация о слоях, например, информации, обеспечивающей защиту авторских прав, или информации об изготовителе. Также может быть использован просто бит проверки на четность, представляющий собой результат операции "исключающее ИЛИ" над логической суммой 21-битной адресной информацией, или кода с исправлением ошибок, состоящего из 31-го бита. При этом может быть обеспечено улучшение способности обнаружения ошибок или исправления ошибок. К тому же каждое значение дополнительной информации может быть равным "1". Кроме того, точность обнаружения метки блока может быть повышена в том случае, когда в качестве метки блока распознают только ту метку блока, которая расположена после единичного участка, содержащего в себе фрагмент информационных данных, разделенных на более мелкие фрагменты, значение которого равно "1".
В этом варианте осуществления код с исправлением ошибок, состоящий из 31-го бита, представляет собой код Боуза-Чоудхури-Хоквенгема (код БХЧ), который хорошо известен как код, посредством которого обеспечивают исправление 2-х или большего количества ошибочных битов. Предполагая, что информацию об адресе, состоящую из 31-го бита, представляют посредством битов b0, b1,..., b20, а 10 битов проверки на четность представляют посредством битов p0, p1,..., p9, как показано на Фиг.20, информационный многочлен I(x) задан посредством Уравнения 1, многочлен четности P(x) задан Уравнением 2, генерацию P(x) осуществляют согласно Уравнению 3. В этом случае порождающий многочлен G(x) задан Уравнением 4. Он представляет собой хорошо известный код БЧХ типа (31, 21), в котором может быть обеспечено исправление ошибки в 2-х произвольных битах, содержащихся в кодовом слове, состоящем из 31-го бита.
(Уравнение 1)
Figure 00000002
(Уравнение 2)
Figure 00000003
(Уравнение 3)
Figure 00000004
(Уравнение 4)
Figure 00000005
Порядок расположения битов на оптическом диске согласно этому варианту осуществления является следующим: биты информации об адресе, биты проверки на четность и биты дополнительной информации. Однако, настоящее изобретение не ограничено этим вариантом. Поскольку порядок расположения задан заранее вне зависимости от того, где размещена группа подразделенных информационных данных, содержащая в себе информацию об адресе, состоящую из 21-го бита, 10 битов проверки на четность и дополнительную информацию, состоящую из 1-го бита, может быть осуществлена обработка этих битов путем их перегруппировки таким образом, чтобы они находились в исходных местах. В оптическом диске согласно этому варианту осуществления каждый блок содержит в себе 32 бита информационных данных, подразделенных на более мелкие фрагменты. В альтернативном варианте аналогичные результаты могут быть достигнуты даже в том случае, когда каждый блок содержит в себе 26 битов, 52 бита, 64 бита и т.д. подразделенных информационных данных путем выбора надлежащего кода с исправлением ошибок.
Как описано выше, в носителе информации в виде оптического диска согласно этому варианту осуществления один блок информации подразделен на субблоки, количество которых равно N (=32). А путем предварительного создания извилины такой формы, посредством которой для каждой области, соответствующей каждому субблоку, может быть обеспечено отображение каждого фрагмента подразделенных информационных данных, адрес может быть создан без каких-либо непроизводительных потерь или без наличия каких-либо "предварительно заданных впадин" между соседними частями канавки записи. Кроме того, создаваемые в этом варианте осуществления извилины имеют постоянную частоту колебаний извилины даже при том, что фронты ее "нарастания" или "спада" могут иметь различную форму в соответствующих фрагментах подразделенных информационных данных. Соответственно, при выделении тактового сигнала записи из сигнала, соответствующего извилине, после удаления из него шумовых компонент с использованием полосового фильтра, имеющего достаточно широкую полосу пропускания для того, чтобы обеспечить пропускание его частоты, может быть выполнено простое умножение сигнала и его синхронизация с использованием системы ФАПЧ. После этого может быть получен тактовый сигнал с уменьшенной флуктуацией. Кроме того, путем сортировки группы информационных данных, подразделенных на более мелкие фрагменты, на часть, представляющую собой информацию об адресе, и часть, относящуюся к проверке четности, и путем использования этой группы и подразделенных информационных данных в качестве кода с исправлением ошибок, может быть обеспечена высокая достоверность считывания информации об адресе.
14-й ВАРИАНТ ОСУЩЕСТВЛЕНИЯ
На Фиг.21 изображена схема распределения битов группы подразделенных информационных данных на носителе информации в виде оптического диска согласно четырнадцатому варианту осуществления изобретения. Следует отметить: несмотря на то, что в оптическом диске согласно этому варианту осуществления изобретения группа подразделенных информационных данных имеет формат, отличающийся от формата в оптическом диске из тринадцатого варианта осуществления, оптический диск согласно этому варианту осуществления имеет такую же самую компоновку подразделенных информационных данных или форм, как и оптический диск из тринадцатого варианта осуществления.
Информацию об адресе обычно располагают последовательно. Соответственно, если адрес предыдущего блока известен, то адрес блока, который является последующим блоком, является предсказуемым. Однако, при возникновении, например, ошибочного перескока на другую дорожку записи непрерывность уже не может быть сохранена. Тем не менее, отсутствие непрерывности адреса, вызванное ошибочным перескоком на другую дорожку записи или аналогичным воздействием, часто наблюдается только лишь в младших битах. К тому же старшие биты поддаются оценке, например, исходя из радиального положения оптической головки. Следовательно, можно полагать, что младшие биты информации об адресе наиболее подвержены изменениям и являются наиболее важными.
С учетом этих соображений, на оптическом диске из этого варианта осуществления информацию об адресе, состоящую из 21-го бита, разделяют на информацию 311 о старших разрядах адреса, состоящую из 14 бит, и информацию 312 о младших разрядах адреса, состоящую из 7-ми бит. Для создания кода с исправлением ошибок (или кода обнаружения ошибок), состоящего из 15-ти бит, к информации 311 о старших разрядах адреса добавляют один старший бит 313 проверки на четность. Кроме того, для создания другого кода с исправлением ошибок, состоящего из 15-ти бит, к информации 312 о младших разрядах адреса добавляют восемь младших битов 314 проверки на четность. И, кроме того, добавляют дополнительную информацию 315, состоящую из 2-х бит, посредством чего создают группу подразделенных информационных данных, состоящую из 32-х бит. Следует отметить, что дополнительная информация 315 является почти той же, что и дополнительная информация 303 из тринадцатого варианта осуществления изобретения.
В этом варианте осуществления код с исправлением ошибок, состоящий из 15-ти бит и содержащий в себе информацию 312 о младших разрядах адреса и младшие биты 314 проверки на четность, представляет собой код БЧХ, который хорошо известен как код, посредством которого может быть обеспечено исправление 2-х или большего количества ошибочных битов. Предполагая, что информацию 312 о младших разрядах адреса, состоящую из 7-ми бит, представляют посредством битов b0, b1,..., b6, а восемь младших битов 314 проверки на четность представляют посредством битов p0, p1,..., p7, что информационный многочлен I(x) задан посредством Уравнения 5, а многочлен четности P(x) задан посредством Уравнения 6, генерацию P(x) осуществляют согласно Уравнению 7. В этом случае порождающий многочлен G(x) задан Уравнением 8. Он представляет собой хорошо известный код БЧХ типа (15, 7), в котором может быть обеспечено исправление ошибки в 2-х произвольных битах, содержащихся в кодовом слове, состоящем из 15-ти бит.
(Уравнение 5)
Figure 00000006
(Уравнение 6)
Figure 00000007
(Уравнение 7)
Figure 00000008
(Уравнение 8)
Figure 00000009
К тому же предполагая, что информацию 311 о старших разрядах адреса, состоящую из 14-ти битов, представляют битами b8, b9..... b20, старший бит 313 проверки на четность (который здесь обозначают как p10) представляет собой бит проверки на четность, определяемый выражением: p10=b8+b9+...b20 (где "+" представляет собой символ операции "исключающее ИЛИ"). В этом случае может быть обнаружен один произвольный ошибочный бит, содержащийся в кодовом слове. Таким образом, соответствующим использованием бита проверки на четность с малой избыточностью для информации о старших разрядах адреса и битов проверки на четность с большой избыточностью - для информации о младших разрядах адреса, младшим битам информации об адресе может быть придан, так называемый, "больший весовой коэффициент" способности исправления ошибок.
Для оптического диска из этого варианта осуществления получают два кода с исправлением ошибок путем добавления, соответственно, одного бита проверки на четность к 14-ти старшим битам информации об адресе и восьми битов проверки на четность к 7- ми младшим битам информации об адресе. Однако, то количество старших и младших битов, на которое осуществляют разделение, не ограничено этим вариантом. Например, один бит проверки на четность можно добавить к 16-ти старшим битам, а 10 битов проверки на четность можно добавить к 5-ти младшим битам (где младшие биты представляют собой часть кода БЧХ типа (15, 5)). Также к 9-ти старшим битам можно не добавлять битов проверки на четность, а 11 битов проверки на четность можно добавить к младшим 12 битам (где младшие биты представляют собой часть кода БЧХ типа (23, 12)).
Как описано выше, носитель информации в виде оптического диска согласно этому варианту осуществления также обеспечивает получение результатов, достигаемых посредством носителя информации в виде оптического диска из тринадцатого варианта осуществления. Кроме того, в этом варианте осуществления информацию об адресе разделяют на старшие и младшие биты и для младших битов обеспечивают лучшую способность исправления ошибок, посредством чего обеспечивается еще большая достоверность считывания информации об адресе.
Однако в каждом из носителей информации в виде оптического диска согласно тринадцатому и четырнадцатому вариантам осуществления изобретения использует код БЧХ, который представляет собой сложным код с исправлением ошибок. Следовательно, для этих носителей информации существует проблема, состоящая в том, что схема, необходимая для считывания с них адреса, должна иметь большие размеры.
15-й ВАРИАНТ ОСУЩЕСТВЛЕНИЯ
На Фиг.22 показана схема распределения битов группы подразделенных информационных данных на носителе информации в виде оптического диска согласно пятнадцатому варианту осуществления. Следует отметить: несмотря на то, что в оптическом диске согласно этому варианту осуществления изобретения группа подразделенных информационных данных имеет формат, отличающийся от формата в носителе информации в виде оптического диска из тринадцатого варианта осуществления, носитель информации в виде оптического диска согласно этому варианту осуществления имеет такую же самую компоновку подразделенных информационных данных или форм, как и оптический диск из тринадцатого варианта осуществления. Как показано на Фиг.22, группа подразделенных информационных данных на носителе информации в виде оптического диска согласно этому варианту осуществления состоит из информации 321 об адресе, состоящей из 21-го бита, и из 11-ти битов 322 проверки на четность, то есть содержит в себе всего 32 бита.
Ниже приведено более подробное описание компоновки со ссылкой на Фиг.23. 21 бит с бита b0 по бит b20 информации 321 об адресе размещают в 7-ми строках и в 3-х столбцах так, чтобы в этих трех строках содержались биты, соответственно, с b20 по b14, с b13 по b7 и с b6 по b0. Каждая строка, состоящая из 7-ми бит, снабжена одним дополнительным битом проверки на четность, в результате чего она содержит в себе всего 8 бит, а каждый столбец, состоящий из 3-х бит, также снабжен одним дополнительным битом проверки на четность, в результате чего он содержит в себе всего 4 бита. Таким способом создают код с исправлением ошибок, состоящий из 32-х бит (=(7+1)×(3+1)). Каждому из дополнительных битов проверки на четность с p0 по p10 присваивают значение "1" или "0" таким образом, чтобы каждая из четырех строк, состоящая из 8-ми бит и содержащая в себе биты проверки на четность, представляла собой код проверки на четность с положительной четностью, и чтобы каждый из семи столбцов, состоящий из 4-х бит и содержащий в себе биты проверки на четность, также представлял собой код проверки на четность с положительной четностью. Кроме того, для бита p0 выбор значения "1" или "0" осуществляют таким образом, чтобы совокупность битов с p7 по p0 представляла собой код проверки на четность с положительной четностью. То есть значения битов с p10 по p0 могут быть выражены, соответственно, следующими Уравнениями 9 - 19:
(Уравнение 9)
Figure 00000010
(Уравнение 10)
Figure 00000011
(Уравнение 11)
Figure 00000012
(Уравнение 12)
Figure 00000013
(Уравнение 13)
Figure 00000014
(Уравнение 14)
Figure 00000015
(Уравнение 15)
Figure 00000016
(Уравнение 16)
Figure 00000017
(Уравнение 17)
Figure 00000018
(Уравнение 18)
Figure 00000019
(Уравнение 19)
Figure 00000020
В данной области техники хорошо известно, что "код проверки на четность с положительной четностью" представляет собой код, в котором биты проверки на четность выбраны таким образом, чтобы количество единиц, содержащихся в кодовом слове, было четным, что позволяет обнаружить ошибку в одном бите. К тому же ошибка может быть обнаружена просто путем вычисления операции "исключающее ИЛИ" над всеми информационными битами, что значительно упрощает схемное решение. Предположим, например, что бит b18 был ошибочно инвертирован. В этом случае наличие ошибки может быть определено посредством бита p10 проверки на четность, расположенного в той строке, в которой находится этот ошибочный бит b18, и посредством бита p4 проверки на четность, расположенного в том столбце, в котором находится этот ошибочный бит b18. Следовательно, ошибка может быть исправлена путем повторной инверсии бита b18 после ее обнаружения в нем.
Как описано выше, на оптическом диске из этого варианта осуществления информацию об адресе размещают в виде двумерной структуры, а в каждом из этих двух направлений используют простой код проверки четности, посредством чего улучшается способность исправления ошибок даже при том, что схема считывания адреса с диска имеет небольшие размеры.
16-й ВАРИАНТ ОСУЩЕСТВЛЕНИЯ
Ниже приведено описание еще одного варианта осуществления носителя информации в виде оптического диска согласно настоящему изобретению со ссылкой на Фиг.24А-24Г.
На Фиг.24А показана поверхность 401, предназначенная для записи, носителя информации в виде оптического диска, на котором предварительно создана спиральная канавка 402 дорожки записи с заранее заданным шагом дорожки записи. Запись данных на него или их считывание с него осуществляют с использованием блока 403 записываемых данных в качестве их минимального единичного элемента.
Каждому блоку 403 записываемых данных поставлена в соответствии информация о местоположении (то есть информация об адресе), которую используют для определения местоположения блока записываемых данных. Как показано на Фиг.24Б, в этом варианте осуществления каждый блок 403 записываемых данных содержит в себе четыре единичных элемента 404 информации о местоположении.
В каждом из этих единичных элементов 404 информации о местоположении заранее записана информация о его физическом местоположении на носителе информации в виде оптического диска и указатели для его обнаружения. В этом варианте осуществления представление каждого из этих фрагментов информации осуществляют, например, посредством совокупности форм извилины канавки дорожки записи. Извилистую канавку записи создают в процессе изготовления носителя информации в виде оптического диска. Информация о местоположении, уже однажды записанная в виде совокупности структур извилин, не может быть перезаписана.
Таким образом, согласно этому варианту осуществления запись информации о местоположении одного блока 403 записываемых данных, представляющего собой минимальный единичный элемент для операций считывания и записи данных, производят во множестве областей блока 403. Соответственно, если, по меньшей мере, один из этих фрагментов информации о местоположении может быть обнаружен, это позволяет определить местоположение блока 403 записываемых данных, что является преимуществом.
Как показано на Фиг.24В, в этом варианте осуществления каждый единичный элемент 404 информации о местоположении содержит в себе область 405 метки точного позиционирования, область 406 информации о местоположении и область 407 синхронизирующей метки. В области 405 метки точного позиционирования создают метку точного позиционирования (то есть идентификационную метку), которую используют в качестве указателя для абсолютного позиционирования при операции записи данных. Предпочтительно, метка точного позиционирования имеет структуру, аналогичную структуре метки блока согласно любому из вышеописанных вариантов осуществления.
Метка точного позиционирования играет важную роль при записи данных на содержащейся в оптическом диске пленке, на которой производят запись, с использованием устройства записи. Для повышения точности абсолютного позиционирования предпочтительно метка имеет такую форму, которая обеспечивает ее обнаружение в качестве сигнала, имеющего относительно высокую частоту.
В области 406 информации о местоположении и в области 407 синхронизирующей метки осуществляют запись информации о местоположении и иной информации различного типа путем изменения формы извилины канавки 402 дорожки записи. Изменение формы извилины канавки дорожки записи может представлять собой изменение амплитуды, частоты и/или фазы смещения канавки записи в радиальном направлении диска. Приемлемыми формами извилины являются те, которые позволяют легко отделить сигнал, соответствующий информации о местоположении, который не оказывает существенного воздействия на записываемые данные и может быть представлен посредством извилины канавки дорожки записи, от сигнала, соответствующего данным, запись которого осуществлена в виде изменений характеристик пленки, на которой производят запись. В частности, предпочтительно, частота сигнала, соответствующего извилине, находится в таком диапазоне частот, который является достаточно низким по сравнению с частотой записи данных на пленке для записи. К тому же, как описано выше, предпочтительно предпринимают различные меры для обеспечения безошибочного распознавания шаблонов извилин с высокой точностью.
Посредством области 407 синхронизирующей метки облегчают процедуру установления синхронизации битов при считывании информации о местоположении, записанной в области 406 информации о местоположении. Предпочтительно, канавка записи в области 407 синхронизирующей метки имеет форму, которая не может быть найдена в любом месте области 406 информации о местоположении. В этом случае возрастает вероятность точного обнаружения области 407 синхронизирующей и может быть предотвращено ошибочное обнаружение синхронизации битов.
Как показано на Фиг.24В, в последовательности, состоящей из двух единичных элементов 404 информации о местоположении, область 405 метки точного позиционирования, содержащаяся в последнем единичном элементе 404 информации о местоположении, находится непосредственно после области 407 синхронизирующей метки, содержащейся в предыдущем единичном элементе 404 информации о местоположении.
В соответствии с такой компоновкой обнаружение метки точного позиционирования в последующей области 405 метки точного позиционирования может быть осуществлено с высокой точностью в соответствии с результатами обнаружения области 407 синхронизирующей метки, которая может быть легко обнаруживаемой самой по себе. В частности, по истечении заранее заданного времени с момента обнаружения области 407 синхронизирующей метки открывают окно прогнозируемого обнаружения метки точного позиционирования. Таким способом обеспечивают возможность обнаружения только той метки точного позиционирования, которая находится внутри окна прогнозируемого обнаружения. При этом отсутствует вероятность ошибочного обнаружения метки точного позиционирования.
Для обеспечения таких результатов область 405 метки точного позиционирования в предпочтительном варианте располагают непосредственно после области 407 синхронизирующей метки. Поэтому, предпочтительно, порядок расположения областей в каждом единичном элементе 404 информации о местоположении (то есть в направлении от начала единичного элемента 404 к его концу) является следующим: область 405 метки точного позиционирования, область 406 информации о местоположении и область 407 синхронизирующей метки, как показано на Фиг.24В.
На Фиг.24Г показан формат записи данных на носителе информации в виде оптического диска, имеющем такую структуру канавки дорожки записи. Для обеспечения управления записываемыми данными в совокупности с информацией о местоположении, записанной на диске, считывание или запись данных осуществляют с использованием блока 403 записываемых данных в качестве минимального единичного элемента этих данных.
Два смежных блока 403 записываемых данных связывают между собой посредством соединительной области 408. Операцию записи начинают или заканчивают в соединительной области 408. Местоположение каждой соединительной области 408, по существу, совпадает с местоположением соответствующей ей области 405 метки точного позиционирования. Предпочтительно, в соединительной области 408 производят запись шаблона, не содержащего в себе никаких данных пользователя. В этом случае считываемые данные не подвержены влиянию даже помех от метки точного позиционирования, которые воздействуют на сигнал, записанный в соединительной области 408.
Данные, записываемые в соединительной области 408, расположенной в точке начала или окончания записи, претерпевают разрыв. Соответственно, для обеспечения достаточно устойчивого считывания данных, предпочтительно, в соединительной области 408 осуществляют запись, например, сигнала ГПЧ, то есть сигнала, имеющего единственную частоту.
Ниже приведено более подробное описание этого варианта осуществления со ссылкой на Фиг.25.
Поверхность 401 записей носителя информации в виде оптического диска согласно этому варианту осуществления покрыта веществом с изменяемой фазой, и на ней создана спиральная канавка 402 дорожки записи, имеющая шаг дорожки записи, равный 0,32 мкм. На поверхность записи дополнительно нанесена диэлектрическая пленка толщиной 0,1 мм, а при операции считывания или записи эту поверхность освещают лазерным лучом с длиной волны 405 нм через объектив, имеющий числовую апертуру (ЧА), равную 0,85. Канавка 402 дорожки записи имеет колебания в виде извилин, направленных к внутреннему и к внешнего краям, с периодом равным, приблизительно, 11,47 мкм. Извилина канавки дорожки записи может быть обнаружена по наличию двухтактного сигнала. Генерация тактового сигнала записи, который используют для выполнения операции записи, по существу, с постоянной линейной плотностью (или при длине канального бита, равной 0,0617 мкм (=11,47/186)), может быть осуществлена путем умножения этого сигнала на 186.
Канавка 402 дорожки записи состоит из последовательности сегментов 403 информации о местоположении. В качестве минимального единичного элемента данных при считывании или записи данных пользователя используют область, соответствующую каждому сегменту 403 информации о местоположении. Единичный элемент данных, записанный в этой области, соответствующей одному сегменту 403 информации о местоположении, здесь именуют "блоком записываемых данных".
Исправление ошибок, перемежение, чередование и другие типы обработки также выполняют с использованием блока записываемых данных в качестве минимального элемента. В этом варианте осуществления один блок записываемых данных содержит в себе 64 килобайта данных пользователя.
Записываемые данные снабжают дополнительным кодом с исправлением ошибок и модулируют, обеспечивая тем самым их запись на носителе информации в виде оптического диска надлежащим образом. В качестве кода с исправлением ошибок может быть использован, например, код Рида-Соломона, используемый в универсальных цифровых дисках (УЦД) (DVD). Модуляция записываемых данных может быть осуществлена, например, посредством способа модуляции с преобразованием 8-в-16 (восьмиразрядного исходного кода в шестнадцатиразрядный код). Кроме того, к записываемым данным добавляют код СИНХР (код синхронизации), посредством которого устанавливают синхронизацию битов для сигнала считывания, и сигнал ГПЧ (генератора переменной частоты) посредством которого обеспечивают синхронизацию с системой ФАПЧ. В этом варианте осуществления длина канального бита записываемых данных равна 1243968 бит.
Каждый сегмент 403 информации о местоположении состоит из четырех единичных элементов 404 информации о местоположении, каждый из которых содержит в себе область 405 метки точного позиционирования, область 406 метки информации о местоположении и область 407 синхронизирующей метки.
Как показано на Фиг.26А, область 405 метки точного позиционирования в этом варианте осуществления представляет собой последовательность из восьми периодов синусоидальных извилин 501 канавки дорожки записи.
Эта область метки точного позиционирования также содержит в себе зеркальную метку 601, которая создана путем разрыва канавки дорожки записи на заранее заданную длину во втором периоде колебаний извилины так, как показано на Фиг.27. Зеркальную метку 601 обнаруживают по полностью просуммированному сигналу, полученному за счет отражения считывающего лазерного луча от диска.
Метка точного позиционирования может быть использована в качестве указателя, определяющего абсолютное местоположение для обнаружения информации о местоположении, или в качестве указателя абсолютного местоположения записываемых данных.
В этом варианте осуществления зеркальная метка 601 имеет длину 2 байта (то есть равную 32-м канальным битам). В предпочтительном варианте осуществления длину зеркальной метки 601 задают так, чтобы свести к минимуму нежелательное воздействие на соседние участки канавки дорожки записи или на участки между слоями в случае двуслойного диска, и она может быть задана равной 10-ти байтам (=10 мкм) или меньшей. Однако, длина зеркальной метки 601 также должна быть достаточной для обеспечения ее безошибочного обнаружения, например, равной 1-му байту (=1 мкм) или более.
В предпочтительном варианте осуществления зеркальную метку 601 располагают не ранее второго периода извилины в области 405 метки точного позиционирования и не позже четвертого периода извилины, что обеспечивает высокую точность позиционирования окна, которое создают при обнаружении области 407 синхронизирующей метки.
В этом варианте осуществления операцию записи данных начинают и заканчивают внутри области 405 метки точного позиционирования. То есть область 405 метки точного позиционирования связана с соединительной областью 408, которую используют в качестве связующего звена между двумя блоками записываемых данных. Тогда метка точного позиционирования может быть эффективно использована для обеспечения позиционирования записываемых данных.
Однако, если операцию записи начинают и заканчивают в том участке, где находится зеркальная метка 601, то зеркальная метка 601 может оказывать воздействие на записываемый сигнал. В этом варианте осуществления для предотвращения воздействия зеркальной метки 601 на значительную часть записываемых данных в области 405 метки точного позиционирования записывают сигнал ГПЧ.
В предпочтительном варианте осуществления изобретения местоположение зеркальной метки 601 и точек начала/окончания записи удовлетворяет следующим соотношениям:
(A) Точка начала записи должна быть расположена после зеркальной метки, находящейся в области метки точного позиционирования;
(Б) Точка окончания записи также должна быть расположена после зеркальной метки, находящейся в области метки точного позиционирования;
(В) Расстояние между началом области метки точного позиционирования и точкой начала записи должно быть меньшим, чем расстояние между началом области метки точного позиционирования и точкой окончания записи;
(Г) В том случае, если носитель информации в виде оптического диска подвергают повторным операциям записи, точки начала и окончания записи должны быть отделены от зеркальной метки до такой степени, что любое ухудшение характеристик пленки, на которой производят запись, вследствие повторных операций записи не влияет на зеркальную метку; и
(Д) Ввиду наличия временной задержки при обработке, которая требуется устройству записи для того, чтобы реально начать операцию записи после обнаружения зеркальной метки, необходимо задать взаимное расположение зеркальной метки и точки начала записи.
Ниже приведено подробное описание каждого из этих условий (А)-(Д).
Условие (A) поставлено для обеспечения точности абсолютного позиционирования точки начала записи. Путем размещения точки 901 начала записи после зеркальной метки 601, находящейся в области 405 метки точного позиционирования, как показано на Фиг.30А, устройство записи может начинать операцию записи сразу же после обнаружения зеркальной метки. Соответственно, это позволяет полностью использовать зеркальную метку по ее прямому назначению, то есть то, что она указывает начало блока, за счет чего повышают точность абсолютного позиционирования точки начала записи.
Условие (Б) поставлено для обеспечения точности абсолютного позиционирования точки окончания записи. Путем размещения точки 902 окончания записи после зеркальной метки 601, находящейся в области 405 метки точного позиционирования, как показано на Фиг.30Б, устройство записи может завершать операцию записи сразу же после обнаружения зеркальной метки. Следовательно, аналогично условию (А) для точки начала записи это условие обеспечивает повышение точности абсолютного позиционирования точки окончания записи.
Условие (В) требует, чтобы в том случае, когда точки начала и окончания записи находятся в одной и той же области метки точного позиционирования, операцию записи следует выполнять так, чтобы существовало перекрытие между точкой 902 окончания записи, относящейся к предыдущему блоку записываемых данных, и точкой 901 начала записи, относящейся к последующему блоку записываемых данных, как показано на Фиг.30В. Путем размещения точек начала и окончания записи подобным способом обеспечивают отсутствие зазора (то есть область без записи) между точками начала и окончания записи. Если операцию записи выполняют таким образом, что остается область без записи, то при считывании записанной информации посредством устройства воспроизведения вывод сигнала из этой области без записи производиться не будет. В результате произойдет временная потеря стабильности при операциях преобразования сигнала считывания в цифровую форму и его синхронизации, что является недостатком. И, наоборот, если операция записи выполнена так, что точки начала и окончания записи всегда расположены с перекрытием, то сигнал считывания является непрерывным, и может быть обеспечена значительно большая стабильность считывания данных.
Условие (Г) поставлено для предотвращения влияния так называемого "разрушения точки начала/окончания записи" на обнаружение зеркальной метки. Разрушение точки начала/окончания записи представляет собой известное явление, которое часто наблюдают, например, в том случае, когда пленка, на которой производят запись, в носителе информации в виде оптического диска выполнена из так называемого "вещества с изменяемой фазой". В частности, этот термин означает, что многократные операции записи на пленке, на которой производят запись, приводят к ухудшению характеристик или к повреждению участков пленки, на которой производят запись, расположенных вокруг точек начала и окончания записи вследствие наличия в них термических напряжений. Когда устройство воспроизведения осуществляет считывание данных с этих ухудшенных или поврежденных участков пленки, на которой производят запись, происходит изменение количества полностью отраженного светового излучения. Соответственно, если зеркальная метка находится внутри или поблизости от той область, где произошло ухудшение характеристик точки начала/окончания записи, то это неблагоприятно влияет на обнаружение зеркальной метки. Это происходит потому, что сложно отличить изменение количества полностью отраженного светового излучения, свидетельствующего о наличии зеркальной метки, от изменения количества полностью отраженного светового излучения вследствие ухудшения характеристик точки начала/окончания записи. Для устранения этих нежелательных эффектов зеркальная метка 601 может быть расположена на некотором удалении от области 903, на которую может оказывать воздействие ухудшение характеристик начальной точки, находящейся в окрестностях точки 901 начала записи, что показано на Фиг.30Г. К тому же, как показано на Фиг.31Д, зеркальная метка 601 может быть расположена на некотором удалении от области 904, на которую может оказывать воздействие ухудшение характеристик конечной точки, находящейся в окрестностях точки 902 окончания записи.
Условие (Д) представляет собой более строгую формулировку условия (А) и требует задания расстояния между зеркальной меткой и точкой начала записи ввиду присущей накопителю временной задержки на обработку. Примерами временной задержки на обработку в приводе накопителя являются, в том числе: временная задержка на обработку, обусловленная средством обнаружения зеркальной метки; временная задержка на обеспечение надлежащей синхронизации процедуры обнаружения зеркальной метки; и временная задержка на подготовку к осуществлению генерации лазерного излучения для записи с требуемым уровнем мощности. Посредством размещения точки начала записи с учетом этих временных задержек на обработку реализуют эффективное использование зеркальной метки по ее прямому назначению, как и для условия (A), то есть обеспечивают повышение точности абсолютного позиционирования точки начала записи.
Кроме того, каждая из областей - область 406 метки информации о местоположении и область 407 синхронизирующей метки - представляет собой совокупность элементов 408 подразделенных информационных данных, каждый из которых представляет собой последовательность из 32-х периодов волнообразной извилины одинаковой формы. Область 406 метки информации о местоположении содержит в себе последовательность из 48-ми единичных элементов подразделенных информационных данных, в каждом из которых информацию, состоящую из одного бита, который принимает значение "1" или "0", отображают как фрагмент подразделенных информационных данных посредством извилины, имеющей более резкие смещения в направлении внутреннего края или в направлении внешнего края, как показано на Фиг.26Б и 26В, посредством чего создают информацию о местоположении, состоящую из 48-ми битов, и код обнаружения ошибок в ней.
В этом случае для обнаружения информации о местоположении, находящейся в области метки информации о местоположении, необходимо определить местоположение начала области метки информации о местоположении. Для этого используют зеркальную метку 601, находящуюся в области 405 метки точного позиционирования. Однако, обнаружение самой по себе зеркальной метки 601 может быть произведено с ошибкой, или же она может быть пропущена. На носителе информации в виде оптического диска согласно настоящему изобретению область 405 метки точного позиционирования, соответствующая последующему элементу 404 информации о местоположении, расположена непосредственно после области 407 синхронизирующей метки. Следовательно, путем обнаружения синхронизирующей метки может быть обеспечено безошибочное сужение области местонахождения искомой зеркальной метки 601, имеющейся в области 405 метки точного позиционирования. В результате обеспечивают высокоточное обнаружение зеркальной метки 601, необходимой для определения абсолютного местоположения.
Область 407 синхронизирующей метки представляет собой последовательность четырех элементов 408 подразделенных информационных данных, каждый из которых представлен посредством извилины, имеющей резкие смещения в направлении внутреннего края или в направлении внешнего края, или посредством извилины, имеющей синусоидальную форму как в направлении внутреннего края, так и направлении внешнего края. На Фиг.28А-28Д показаны примеры формы извилины в области 407 синхронизирующей метки. Область 407 синхронизирующей метки представляет собой совокупность извилин 504, которые имеют резкие смещения в направлении внутреннего края или в направлении внешнего края, которые показаны на Фиг.26Г (именуемых здесь "извилинами с двумя прямыми углами"), и извилин 501 с синусоидальной формой колебаний, которые показаны на Фиг.26А (именуемых здесь "синусоидальными извилинами"). На Фиг.28А-28Д извилины 504 с двумя прямыми углами обозначены как "S", а синусоидальные извилины 501 обозначены как "B".
На Фиг.28А все четыре элемента подразделенных информационных данных представлены посредством извилин 504 с двумя прямыми углами. То есть, поскольку извилины одинаковой формы обеспечивают высокую степень непрерывности, то область синхронизирующей метки может быть обнаружена с высокой точностью. На Фиг.28Б и Фиг.28В извилины 504 с двумя прямыми углами и синусоидальные извилины 501 переменно чередуются для каждого элемента подразделенных информационных данных. В этих шаблонах имеется много точек, в которых изменяется форма извилины, что, следовательно, обеспечивает высокую точность абсолютного позиционирования. На Фиг.28Г и 28Д извилины расположены в следующем порядке: извилина с двумя прямыми углами, синусоидальная извилина, синусоидальная извилина и извилина с двумя прямыми углами (или образуют собой обратную конфигурацию). Каждая из этих компоновок имеет одну точку перехода, в которой извилина 504 с двумя прямыми углами переходит в синусоидальную извилину 501, и одну точку перехода, в которой синусоидальная извилина 501 переходит в извилину 504 с двумя прямыми углами. Соответственно, варианты компоновки с таким взаимным расположением элементов обеспечивают более высокую достоверность и безошибочность обнаружения абсолютного местоположения.
В носителе информации в виде оптического диска согласно этому варианту осуществления каждый сегмент информации о местоположении, соответствующий одному блоку записываемых данных, состоит из четырех элементов информации о местоположении. Однако, настоящее изобретение не ограничено этим конкретным вариантом осуществления, а каждый сегмент информации о местоположении может состоять из L (которое является натуральным числом) элементов информации о местоположении.
Предположим, что объем информации, содержащейся в каждой области 406 информации о местоположении, равен А бит,
каждая область 407 синхронизирующей метки имеет длину, соответствующую B периодам извилины,
каждая область 405 метки точного позиционирования имеет длину, соответствующую C периодам извилины,
каждый элемент подразделенных информационных данных имеет длину, соответствующую М периодам извилины,
один период извилины имеет длину, в W раз превышающую длину одного канального бита записываемых данных,
количество канальных битов, содержащихся в каждом блоке записываемых данных, равно D и
количество единичных элементов информации о местоположении, содержащихся в каждом сегменте информации о местоположении, равно E.
В этом случае A, B, C, D, E, М и W - все являются натуральными числами и их задают таким образом, чтобы они удовлетворяли приведенному ниже Уравнению 20:
(Уравнение 20)
D=(A×M+B+C)×W×E
В этом варианте осуществления изобретения, в соответствии со способом модуляции "8-в-16", который известен как способ генерации модулирующего кода для записываемого сигнала, один период извилины имеет длину, соответствующую 186-ти канальным битам (то есть W=186). К тому же каждая область 405 метки точного позиционирования имеет длину, соответствующую 8-ми периодам извилины, а каждый единичный элемент 408 информационных данных, разделенных на более мелкие фрагменты, имеет длину, соответствующую 32-м периодам извилины (то есть C=8 и M=32). Однако, настоящее изобретение не ограничено этим конкретным вариантом осуществления. Например, в случае использования модулирующего кода, посредством которого осуществляют преобразование "8-в-15", один период извилины может иметь длину, соответствующую 155-ти канальным битам. К тому же каждая область 405 метки точного позиционирования может иметь длину, соответствующую 9-ти периодам извилины, а каждый элемент 408 подразделенных информационных данных может иметь длину, соответствующую 36-ти периодам извилины.
В случае использования модулирующего кода, посредством которого осуществляют преобразование 2 бита в 3 бита (то есть преобразование 8 битов в 12 битов), как в известном способе модуляции типа (1,7), один период извилины может иметь длину, соответствующую 186-ти канальным битам, каждая область 405 метки точного позиционирования может иметь длину, соответствующую 6-ти периодам извилины, а каждый единичный элемент 408 подразделенных информационных данных может иметь длину, соответствующую 24-м периодам извилины. В альтернативном варианте один период извилины, каждая область 405 метки точного позиционирования и каждый элемент 408 подразделенных информационных данных могут быть равны, соответственно, 124-м канальным битам, 9-ти периодам извилины и 36-ти периодам извилины.
То есть при использовании модулирующего кода для преобразования 8-ми битов в F канальных битов:
предполагают, что один период извилины имеет длину, соответствующую W канальным битам;
предполагают, что каждая область 405 метки точного позиционирования имеет длину, соответствующую C периодам извилины; и
предполагают, что каждый элемент 408 подразделенных информационных данных имеет длину, соответствующую М периодам извилины.
В этом случае, если носитель информации в виде оптического диска выполнен таким образом, что удовлетворяет приведенным ниже Уравнениям 21 и 22:
(Уравнение 21)
P×R×F=C×W
(Уравнение 22)
Q×R×F=M×W,
то каждая область 405 метки точного позиционирования, каждая область 406 информации о местоположении и каждая область 407 синхронизирующей метки может иметь соответствующую длину, равную количеству волн извилины, заданному в этом варианте осуществления.
В Уравнениях 21 и 22 P и Q представляют собой рациональные числа, а R является натуральным числом. Число P означает, что каждая область метки точного позиционирования имеет длину, соответствующую P кадрам записываемых данных. В этом варианте осуществления P=1. Число Q означает, что каждый элемент подразделенных информационных данных имеет длину, соответствующую Q кадрам записываемых данных. В этом варианте осуществления Q=4. R представляют собой количество байтов в одном кадре записываемых данных. В этом варианте осуществления R=93. Следует отметить, что соотношение P:Q=C:M получено из Уравнений 21 и 22.
В этой конфигурации может быть легко обеспечено сопоставление записываемых данных с извилистой канавкой записи (содержащей в себе информацию о местоположении и зеркальные метки), заранее вырезанной на носителе информации в виде оптического диска. В результате устройство записи и устройство воспроизведения носителя информации в виде оптического диска согласно этому варианту осуществления могут иметь упрощенную конструкцию. К тому же P и Q могут представлять собой рациональные числа, но в наиболее предпочтительном варианте они являются целыми числами.
Для обеспечения более точного обнаружения информации о местоположении в носителе информации в виде оптического диска согласно этому варианту осуществления зеркальную метку 601 создают как метку точного позиционирования, находящуюся в каждой области 405 метки точного позиционирования. В альтернативном варианте для уменьшения нежелательных воздействий зеркальных меток 601 на прилегающие участки дорожки записи или на участки, находящиеся между слоями двуслойного диска, зеркальную метку 601 может иметь только область 405 метки точного позиционирования в том элементе 404 информации о местоположении, который расположен в начале каждого сегмента информации о местоположении.
Метка точного позиционирования не ограничена только лишь зеркальной меткой, используемой в этом варианте осуществления, но может представлять собой любую другую метку при условии, что эта метка содействует получению сигнала обнаружения с высокой точностью позиционирования, а сигнал от нее легко отличим от сигнала, посредством которого получают информацию о местоположении. Например, метка точного позиционирования может быть создана посредством извилины, период которой является достаточно коротким по сравнению с периодом извилины, созданной для отображения информации о местоположении. Также в качестве альтернативного варианта метки точного позиционирования может быть использована изолированная "впадина", расположенная между соседними участками извилистой канавки записи (то есть в "площадках").
В этом варианте осуществления подразделенные информационные данные, которые имеют значение "1", представлены посредством шаблона извилин с резкими смещениями в направлении внутреннего края, подразделенные информационные данные, которые имеют значение "0", представлены посредством шаблона извилин с резкими смещениями в направлении внешнего края, а область синхронизирующей метки выполняют в виде совокупности извилин S с двумя прямыми углами и синусоидальных извилин B. Следовательно, информационные биты "1" и "0" различимы по максимальному эвклидову расстоянию, а фрагменты "B" и "S" информационных данных также различимы по максимальному эвклидову расстоянию. Следовательно, для получения аналогичных результатов представление информационных битов "1" и "0" может быть осуществлено, соответственно, посредством извилин с двумя прямыми углами и синусоидальных извилин, а участки "B" и "S" синхронизирующей метки могут быть представлены, соответственно, посредством шаблона извилин, с резкими смещениями в направлении внешнего края и посредством шаблона извилин с резкими смещениями в направлении внутреннего края.
К тому же, в этом варианте осуществления изобретения запись синхронизирующих меток и информации о местоположении осуществляют с использованием все четырех типов шаблонов (то есть шаблон в виде синусоидальной извилины, шаблон в виде извилины с двумя прямыми углами, шаблон извилины, имеющей резкое смещение в направлении внутреннего края, и шаблон извилины, имеющей резкое смещение в направлении внешнего края). Однако, настоящее изобретение не ограничено этим вариантом. Например, могут быть использованы только два из этих четырех шаблонов (например, шаблон извилины, имеющий резкое смещение в направлении внутреннего края, и шаблон извилины, имеющий резкое смещение в направлении внешнего края), или могут быть также использованы только три шаблона извилин. В случае использования только двух типов шаблонов извилин предпочтительным вариантом является тот, в котором обеспечена наибольшая простота различения синхронизирующих меток и информации о местоположении между собой. Для этого может быть осуществлена модуляция информации о местоположении в соответствии с заранее заданным правилом модуляции, а в качестве синхронизирующих меток могут быть использованы уникальные шаблоны, которые не подпадают под правило модуляции.
Кроме того, в этом варианте осуществления колебания извилины канавки дорожки записи имеют одинаковый период, а запись информации о местоположении и синхронизирующих меток производят путем изменения формы смещений извилины (то есть путем выполнения смещений более плавными или более резкими). Однако, возможность повышения точности обнаружения метки точного позиционирования, достигаемая путем размещения синхронизирующей метки перед меткой точного позиционирования, не ограничена типами шаблонов извилин канавки дорожки записи. В альтернативном варианте конфигурация из этого варианта осуществления изобретения также может быть использована и для такого оптического диска, на котором запись адресов и других типов информации производят путем изменения периода извилины, фазы или амплитуды канавки дорожки записи или, например, путем изменения ширины или глубины канавки записи.
Как описано выше, если каждый элемент информации о местоположении имеет следующий порядок расположения областей: область метки точного позиционирования, область информации о местоположении и область синхронизирующей метки, то метка точного позиционирования (например, зеркальная метка), содержащаяся в области метки точного позиционирования одного из элементов информации о местоположении, находится непосредственно после области синхронизирующей метки предыдущего единичного элемента информации о местоположении. Следовательно, может быть обеспечено более точное обнаружение метки точного позиционирования (например, зеркальной метки), расположенной в начале последующего элемента информации о местоположении, с учетом результата обнаружения предыдущей области синхронизирующей метки.
Ниже приведено описание примеров форматов записываемых данных согласно этому варианту осуществления изобретения со ссылкой на Фиг.31А-31В. На Фиг.31А показан формат данных для блока записываемых данных в точке начала записи; на Фиг.31Б показан формат данных для блока записываемых данных в процессе выполнения операции записи; а на Фиг.31В показан формат данных для блока записываемых данных в точке окончания записи.
На Фиг.31А-31В каждое из полей данных - 1-е поле данных, 2-е поле данных, 3-е поле данных и 4-е поле данных - имеет длину 19344 байта, в котором 208 областей последовательных кадров (не показаны) каждое имеет длину, равную 93 байтам. Каждая область кадра, состоящая из 93-х байт, содержит в себе код синхронизации СИНХР, состоящий из 2-х байт, который находится в ее начале, и модулированные записываемые данные, состоящие из 91-го байта. Следовательно, максимальный объем записываемых данных равен 91×208=18928 байт. Однако, записываемый объем данных пользователя фактически равен 16-ти килобайтам, к которым добавлены биты проверки на четность, используемые для исправления или обнаружения ошибок, избыточные данные (например, идентификаторы, посредством которых определяют местоположение записываемых данных) и т.д.
Каждое из полей сигнала ГПЧ - ГПЧ1, ГПЧ2 и ГПЧ3 - представляет собой поле, которое используют для синхронизации системы ФАПЧ, которая необходима для обеспечения функционирования устройства воспроизведения, и ни в одном из этих полей запись каких-либо данных пользователя не производят. В предпочтительном варианте осуществления в каждом поле сигнала ГПЧ производят запись, например, многократных меток и пустых промежутков, имеющих постоянную длину канального бита, посредством чего упрощают процедуру установления синхронизации битов за счет более быстрой синхронизации системы ФАПЧ.
Каждое поле "PA" функционирует в качестве соединительного звена с концом предыдущего поля данных. Например, при использовании известного кода с ограничением длины поля записи (ОДПЗ) (RLL) в качестве модулирующего кода для полей данных поле "PA" не только обеспечивает удовлетворение условий в отношении ограничения длины поля записи кода даже в месте соединения с концом предшествующего поля данных, но также способствует надлежащему декодированию конца предшествующего поля данных при операции считывания.
Наличие каждого поля "PS" способствует более точному обнаружению начала последующего поля данных и обеспечивает установлению более устойчивой синхронизации байтов. В качестве поля "PS" может быть записан шаблон, обнаружение которого, в отличие от любого другого поля (то есть поля данных, поля сигнала ГПЧ или поля "PA") можно легко выполнить безошибочно, например, уникальный шаблон, отсутствующий в любом другом поле, или шаблон, имеющий слишком большую крутизну автокорреляционной характеристики, которая обеспечивает невозможность ее совпадения с шаблоном в любом другом полем даже при сдвиге ее битов.
Каждый из блоков записываемых данных, показанных на Фиг.31А-31В, соответствует сегменту 403 информации о местоположении, который показан на Фиг.25. А запись соответствующих полей данных осуществляют таким образом, чтобы им соответствовали элементы 404 информации о местоположении. То есть, запись каждого из полей данных - 1-го поля данных, 2-го поля данных, 3-го поля данных и 4-го поля данных - производят таким образом, что оно имеет длину, равную совокупной длине области информации о местоположении и области синхронизирующей метки в соответствующем одном из этих четырех элементов 404 информации о местоположении, образующих собой один сегмент 403 информации о местоположении. К тому же совокупная длина поля PA, поля ГПЧ2 и поля PS равна 93-м байтам, а запись этих полей осуществляют таким образом, что их длина равна длине области 405 метки точного позиционирования.
Кроме того, как показано на Фиг.31А, поле ГПЧ3, то есть одно из полей сигнала ГПЧ, которое расположено в конце блока записываемых данных в точке начала записи, имеет длину, равную 41 байту. К тому же, как показано на Фиг.31Б, поле ГПЧ1, которое расположено в начале блока записываемых данных и в котором операцию записи выполняют непрерывно, имеет длину, равную 45-ти байтам. Совокупная длина этих полей сигнала ГПЧ равна 86-ти байтам, и она равна длине поля ГПЧ2. Аналогичным образом, показанное на Фиг.31Б поле ГПЧ3, которое расположено в конце блока записываемых данных, в котором операцию записи выполняют непрерывно, имеет длину, равную 41 байту. К тому же, как показано на Фиг.31В, поле ГПЧ1, которое расположено в начале блока записываемых данных в точке окончания записи, имеет длину, равную 45-ти байтам. Совокупная длина этих полей сигнала ГПЧ равна 86-ти байтам, и она также равна длине поля ГПЧ2. Следовательно, при наличии любого соединительного звена между двумя блоками записываемых данных, в которых операцию записи выполняют непрерывно, суммарная длина поля PA, поля ГПЧ3, поля ГПЧ1 и поля PS также равна 93-м байтам, и при этом она равна длине области 405 метки точного позиционирования.
Таким образом, запись данных может быть выполнена в соответствии с информацией о местоположении, которая была заранее создана на носителе информации в виде оптического диска, а местоположение записанных данных также может быть определено путем обращения к информации о местоположении.
Длина области 405 метки точного позиционирования, составляющая 93 байта, равна длине каждой из областей кадра, которые образуют собой одно поле данных. Соответственно, обработка области метки точного позиционирования, в которой операцию записи производят непрерывно, то есть того участка, где записаны поле PA, поле сигнала ГПЧ и поле PS, может быть осуществлена как единой области кадра. Следовательно, даже в месте соединения двух соседних полей данных, синхронизация кадров может быть установлена так же, как в поле данных, посредством чего обеспечивают упрощение операции считывания, выполняемой устройством воспроизведения.
На Фиг.32 показан пример способа записи данных в точках начала и окончания записи. На Фиг.32А изображены синусоидальная извилина и зеркальная метка, которые заранее созданы для области метки точного позиционирования. В примере, показанном на Фиг.32, предполагают, что в качестве модулирующего кода использован известный модулирующий код типа (1,7), что один байт соответствует 12-ти канальным битам, что один период извилины имеет длину, равную 124 канальным битам, и что область метки точного позиционирования имеет длину, соответствующую 9-ти периодам извилины. К тому же предполагают, что область метки точного позиционирования начинается в максимуме синусоидальной извилины и что зеркальная метка начинается с 22-го байта при отсчете от точки начала области метки точного позиционирования и имеет ширину, равную 2-м байтам.
В этом случае расстояние между точкой начала области метки точного позиционирования и центром зеркальной метки 601 (находящемся в 23-м байте) равно (23×12):124=2,23, что приблизительно соответствует 2,25 периодам извилины. Следовательно, как показано на Фиг.32А, центр зеркальной метки 601, по существу, совпадает с точкой перехода через нулевой уровень при спаде сигнала в третьем периоде синусоидальной извилины.
На Фиг.32Б показан блок записываемых данных в точке начала записи. В этом примере, после того, как произведена запись поля ГПЧ1 сигнала ГПЧ на протяжении (45+k) байт, выполняют непрерывную запись поля PS и поля данных "1-е поле данных", где k - целое число в интервале от 0 до 7. Например, если при каждой операции записи данных посредством устройства записи целое число k задают заново случайным образом, то вероятность ухудшения характеристик пленки, на которой производят запись, снижается, поскольку повторную запись одинаковых данных в одном и том же месте не производят.
На Фиг.32В показана точка окончания записи блока записываемых данных. В этом примере после поля данных "4-е поле данных" расположено поле PA, а в конце находится поле ГПЧ3 сигнала ГПЧ, в котором осуществляют запись на протяжении (50-k') байтов, где k' также представляет собой целое число в интервале от 0 до 7. В этом случае также снижена вероятность ухудшения характеристик пленки, на которой производят запись, даже в точке окончания записи. Это значение k' может быть установлено равным значению k в точке начала записи. Или возможен вариант, в котором для точек начала и окончания записи используют взаимно различные значения.
В случае использования модулирующего кода "8-в-F" расстояние между концом зеркальной метки и точкой начала записи (то есть начальной точкой поля ГПЧ1) в предпочтительном варианте равно (20+j/F) байт, где j - целое число в интервале от 0 до (F-1). Например, если при каждой операции записи данных посредством устройства записи целое число j задают заново случайным образом, то может быть обеспечено подавление тенденции ухудшения характеристик пленки, на которой производят запись, в точке начала записи даже в случае повторной записи одинаковых данных в одном и том же месте.
В этом варианте осуществления предполагают, что при выполнении повторной записи ухудшение характеристик пленки, на которой производят запись, в точке начала/окончания записи происходит в области длиной G байт, расположенной после точки начала записи, и в области длиной G байт, расположенной перед точкой окончания записи.
Расстояние от конца зеркальной метки задают таким образом, чтобы оно удовлетворяло условиям (A), (Г) и (Д). Другими словами, если целое число j задано в пределах описанного выше интервала значений, то расстояние между концом зеркальной метки и точкой начала записи равно 20 байтам или больше, но менее 21-го байта. Следовательно, расстояние не может быть меньшим, чем 20 байт. Подобное расстояние является достаточно большим даже с учетом размеров той области, в которой может произойти ухудшение характеристик точки начала записи, или времени задержки на обработку, необходимую для того, чтобы устройство записи могло реально начать операцию записи после обнаружения зеркальной метки.
С другой стороны, расстояние между концом зеркальной метки и точкой окончания записи (то есть конечной точкой поля ГПЧ3) равно 29-ти байтам. В тех местах, где операция записи была выполнена идеальным образом с точностью позиционирования при записи, равной нулю, длина области, состоящей из G байт, в которой может произойти ухудшение характеристик точки окончания записи, в предпочтительном варианте должна быть меньшей, чем 29 байт. В этом случае выполняется условие (Г), заключающееся в том, что зеркальная метка должна быть в достаточной степени удалена от области ухудшения характеристик точки окончания записи. Очевидно, что такая компоновка также удовлетворяет и условию (Б).
К тому же расстояние между началом области метки точного позиционирования и точкой начала записи равно (44+j/F) байт, в то время как расстояние между началом области метки точного позиционирования и точкой окончания записи равно (53+j/F) байт. Разность между этими расстояниями равна 9-ти байтам. То есть выполнено условие (В). В тех местах, где операция записи была выполнена идеальным образом с точностью позиционирования при записи, равной нулю, точки начала и окончания записи имеют перекрытие, равное 9-ти байтам. В этом случае никаких областей без записи не будет оставаться даже при наличии сдвигов точек записи, достигающих в сумме 9-ти байт.
При задании точек начала/окончания записи данных подобным способом получаемое в результате этого взаимное расположение областей удовлетворяет всем вышеописанным условиям с (А) по (Д). Следовательно, обеспечивают эффективное "повышение точности определения местоположения точек начала/окончания записи".
Следует отметить, что поле ГПЧ1 сигнала ГПЧ используют в устройстве воспроизведения для преобразования считанных данных в цифровой вид и для обеспечения синхронизации системы ФС. Однако, для этого фактически пригодна та область, которая имеет длину (45-G) байт.
18-й ВАРИАНТ ОСУЩЕСТВЛЕНИЯ
Ниже приведено описание накопителя на оптических дисках с возможностью считывания/записи, посредством которого осуществляют считывание адреса с носителя информации в виде оптического диска, согласно семнадцатому варианту осуществления со ссылкой на Фиг.29. На Фиг.29 номером позиции 801 обозначена оптическая головка, для регистрации сигнала по наличию ярких или темных участков на носителе информации в виде оптического диска 1 путем фокусировки лазерного луча на диске 1 таким образом, чтобы посредством созданного на нем светового пятна можно было отследить канавку дорожки записи оптического диска 1. Номером позиции 802 обозначено средство обработки сигнала считывания, посредством которого осуществляют генерацию полностью просуммированного сигнала и сигнала, соответствующего извилине, путем выполнения операции обработки сигнала, зарегистрированного оптической головкой 801. Предполагают, что сигнал, соответствующий извилине, представляет собой положительный сигнал для ее внутреннего края и отрицательный сигнал для ее внешнего края. Средство обнаружения подразделенных информационных данных при обнаружении сигнала, соответствующего извилине, в котором резкое смещение имеют только те смещения, которые направлены вверх, осуществляет вывод значения, равного "1", а при обнаружении сигнала, соответствующего извилине, в котором резкое смещение имеют только те смещения, которые направлены вниз, осуществляет вывод значения, равного "0".
В этом варианте после того, как средством управления фокусировкой и средством регулировки положения головки (ни одно из них на Фиг.29 не изображено) установлено такое управляющее воздействие, которое обеспечивает отслеживание канавки дорожки записи световым пятном, накопитель на оптических дисках с возможностью считывания/записи согласно этому варианту осуществления должен обнаружить информацию о местоположении, чтобы определить ее абсолютное местоположение на канавке дорожки записи. Ниже приведено описание того, каким образом функционирует накопитель с возможностью считывания/записи для обнаружения информации о местоположении.
На Фиг.33 изображена схема последовательности операций, на которой показан пример операций обработки при считывании информации о местоположении, выполняемых накопителем на оптических дисках с возможностью считывания/записи согласно этому варианту осуществления. Сначала производят обнаружение синхронизирующей метки в области синхронизирующей метки (Операция 1). После обнаружения синхронизирующей метки предполагают, что установлено состояние грубой синхронизации информации о местоположении, позволяющее осуществить прогнозирование интервала времени, в течение которого должна появиться следующая метка точного позиционирования (то есть зеркальная метка) исходя из результата обнаружения синхронизирующей метки (Операция 2). В том случае, если в течение промежутка времени, определенного в результате прогнозирования, метка точного позиционирования (зеркальная метка) обнаружена (Операция 3), то предполагают, что установлено состояние точной синхронизации информации о местоположении, позволяющее осуществить прогнозирование того, каким образом разделены между собой элементы подразделенных информационных данных (то есть распределения битов информации о местоположении) исходя из результата обнаружения метки точного позиционирования (Операция 4). В противном случае, если метка точного позиционирования не обнаружена даже по истечении промежутка времени, полученного в результате прогнозирования, то выполняют прогнозирование того, каким образом разделены между собой элементы подразделенных информационных данных (то есть распределения битов информации о местоположении) исходя из результата обнаружения синхронизирующей метки, полученного в состоянии грубой синхронизации информации о местоположении. Затем осуществляют считывание информации о местоположении из области информации о местоположении согласно полученным в результате прогнозирования сведениям о разделении (Операция 5).
Как можно видеть в случае обнаружения метки точного позиционирования (зеркальной метки) прогнозирование того, каким образом разделены подразделенные информационные данные может быть выполнено с достаточно высокой точностью. В результате этого может быть обеспечено уменьшение количества ошибок при обнаружении информации о местоположении. Кроме того, прогнозирование того, каким образом разделены подразделенные информационные данные исходя из результата обнаружения синхронизирующей метки может быть выполнено даже в том случае, когда метки точного позиционирования (зеркальные метки) не обнаружены.
В схеме последовательности операций обработки, показанной на Фиг.33, в том случае, если при выполнении операции 1 синхронизирующие метки не обнаружены, выполнение операции обнаружения метки точного позиционирования не начинают до тех пор, пока не будет обнаружена синхронизирующая метка. В альтернативном варианте схема последовательности операций обработки может быть изменена таким образом, чтобы использовать синхронизирующие метки, обнаруженные в блоке, предшествующем текущему блоку. На Фиг.34 представлена схема последовательности операций, иллюстрирующей пример последовательности операций обработки, выполняемых при альтернативном варианте считывания информации о местоположении.
На Фиг.34 в том случае, если при выполнении операции 1 синхронизирующие метки не были обнаружены, определяют, произошло ли обнаружение какой-либо синхронизирующей метки в N предыдущих блоках (N является натуральным числом) или нет (Операция 6). В случае положительного ответа (ДА) в процессе обработки переходят к выполнению операции обработки, при которой производят обнаружение метки точного позиционирования (зеркальной метки). То есть даже в том случае, если синхронизирующие метки в текущем блоке не обнаружены, может быть выполнена интерполяция состояния грубой синхронизации информации о местоположении на основании результатов обнаружения в предыдущих N блоках. Следовательно, существует возможность предотвратить нежелательную ситуацию, при которой считывание какой-либо информации о местоположении из текущего блока невозможно, поскольку не была обнаружена синхронизирующая метка. Следует отметить, что параметром N обозначено количество блоков, для которых должна быть выполнена интерполяция состояния грубой синхронизации. Следовательно, чем больше значение параметра N, тем больше расстояние, на котором следует осуществлять интерполяцию состояния грубой синхронизации. Однако, если N является чрезмерно большим, то может произойти нарушение синхронизации информации о местоположении, обусловленное воздействием нескольких различных факторов. Поэтому должно быть задано оптимальное значение N с учетом рабочих характеристик накопителя и свойств носителя информации в виде оптического диска.
К тому же в качестве условия для установления состояния грубой синхронизации информации о местоположении или состояния точной ее синхронизации также может быть использована считанная информация о местоположении и/или результат обнаружения в ней ошибок. Например, в случае обнаружения ошибок в информации о местоположении нескольких последовательных блоков (например, ошибки, выявленной посредством контроля по четности) или в случае наличия разрывов в информации о местоположении (то есть адреса), содержащейся в последовательности блоков, состояние грубой или точной синхронизации может быть однократно отменено, чтобы предпринять новую попытку установить синхронизированное состояние.
Ниже приведено описание этой последовательности операций обработки посредством описания функционирования накопителя, изображенного на Фиг.29.
При обнаружении сигнала, соответствующего извилине, в котором оба смещения - направленное вверх и направленное вниз - являются резкими, средство 804 обнаружения синхронизирующей метки осуществляет вывод сигнала обнаружения синхронизирующей метки. В соответствии с привязкой по времени синхронизирующей метки, обнаруженной средством 804 обнаружения синхронизирующей метки, средство 809 обнаружения с использованием первого окна по истечении заданного времени, начиная с того момента времени, в который должна появиться зеркальная метка, осуществляет генерацию окна обнаружения, имеющего заранее заданную ширину во времени. При достижении полностью просуммированным сигналом заранее заданного уровня или при превышении его в течение отрезка времени, соответствующего окну обнаружения, генерация которого осуществлена средством 809 обнаружения с использованием первого окна, средство 805 обнаружения зеркальной метки производит вывод сигнала, свидетельствующего о месторасположении зеркальной метки. На носителе информации в виде оптического диска согласно первому варианту осуществления изобретения зеркальная метка находится в области метки точного позиционирования непосредственно после синхронизирующей метки. Следовательно, окно обнаружения может быть выполнено более узким и могут быть предотвращены ошибки при обнаружении.
В том случае, если в течение промежутка времени, соответствующего окну обнаружения, генерация которого осуществлена средством 809 обнаружения с использованием первого окна, средство 805 обнаружения зеркальной метки произвело обнаружение зеркальной метки, то средство 808 синхронизации информации о местоположении осуществляет генерацию тактового сигнала распределения подразделенных информационных данных, посредством которого осуществляют обнаружение информации о местоположении в соответствии с этим тактовым сигналом. С другой стороны, если в течение этого промежутка времени зеркальные метки не обнаружены средством 805 обнаружения, то средство 808 синхронизации осуществляет генерацию такого тактового сигнала распределения подразделенных информационных данных для обнаружения информации о местоположении на основании синхронизации окна обнаружения. В этом случае точность обнаружения и частота появления ошибок являются более низкими по сравнению с той ситуацией, когда было произведено обнаружение зеркальной метки. Однако, определение месторасположения информации о местоположении, тем не менее, возможно и в этом случае. В соответствии с тактовым сигналом распределения подразделенных информационных данных, генерация которого осуществлена средством синхронизации информации о местоположении, средство 807 обнаружения информации о местоположении определяет то, какое значение, "1" или "0", имеют подразделенные информационные данные, посредством чего производят обнаружение информации об адресе.
В этом случае после того, как произведено (безошибочное) обнаружение зеркальной метки и информации о местоположении, местоположение, в котором была обнаружена зеркальная метка, можно считать правильным. Следовательно, путем дополнительного сужения окна обнаружения зеркальной метки для следующего элемента информации о местоположении, расположенного в той же самой канавке дорожки записи, может быть обеспечено еще более сильное подавление ошибок при обнаружении.
В процессе записи информации средство 810 управления системой выдает в средство 806 записи команду записи. Средство 806 записи определяет точку начала записи и точку окончания записи в соответствии с абсолютным местоположением, которое определяют по тому месту, в котором была обнаружена зеркальная метка. Затем средство 806 записи осуществляет управление оптической головкой 801 таким образом, чтобы обеспечить испускание ею лазерного луча с высокой интенсивностью, посредством которого осуществляют запись информации.
На Фиг.35 изображена схема последовательности операций, на которой показан пример последовательности операций обработки при записи данных, которые выполняют в накопителе на оптических дисках с возможностью считывания/записи согласно этому варианту осуществления.
На Фиг.35 операции с 1-й по 6-ю эквиваленты операциям обработки, выполняемым при считывании информации о местоположении, описание которых приведено выше со ссылкой на Фиг.33 и 34. Путем выполнения этих операций обработки с операции 1 по операцию 6 производят считывание информации о местоположении (то есть адреса) и определяют местоположение, в котором следует осуществить запись считанной информации о местоположении (адреса). То есть на основании считанного адреса определяют, действительно ли следующий блок является целевым блоком или, иными словами, тем блоком, запись которого следует осуществить (Операция 7). Если определено, что адрес следующего блока не является адресом целевого блока, то в процессе обработки возвращаются к выполнению операции 1 и возобновляют обработку считывания информации о местоположении (Операции с 1-й по 6-ю). С другой стороны, если определено, что адрес является целевым адресом, то в процессе обработки переходят дальше к выполнению операции 8, при которой определяют, действительно ли установлено состояние точной синхронизации. Если определено, исходя из состояния обнаруженной метки точного позиционирования, что состояние точной синхронизации уже установлено, то задают момент времени начала операции записи данных по обнаруженной метке точного позиционирования, а затем выполняют операцию записи (Операция 9). Однако, если определено, что состояние точной синхронизации еще не установлено, то в процессе обработки возвращаются к предыдущей части дорожки записи и выполняют операции повторного позиционирования (Операция 10).
К тому же, если уже были обнаружены зеркальная метка и информация о местоположении в предыдущем сегменте информации о местоположении, то точки начала и окончания записи для текущего сегмента могут быть заданы путем интерполяции зеркальной метки предыдущего сегмента даже в том случае, когда зеркальная метка в начале текущего сегмента не обнаружена.
Следует отметить, что в качестве условия при определении того, было ли установлено состояние точной синхронизации, перед началом процесса записи может быть использована считанная информация о местоположении или результат обнаружения в ней ошибок. Например, в случае постоянного обнаружения ошибок в информации о местоположении текущего блока или нескольких предыдущих блоков (например, ошибок, выявленных посредством контроля по четности) или в случае наличия разрывов в информации о местоположении (то есть адреса), содержащейся в последовательности блоков, операцию записи начинать не обязательно, а может быть выполнена процедура повторного позиционирования даже в том случае, когда метка точного позиционирования уже была обнаружена.
Как описано выше, в устройстве воспроизведения информации об адресе согласно этому варианту осуществления метка точного позиционирования (то есть зеркальная метка), посредством которой определяют абсолютное местоположение, расположена непосредственно после области синхронизирующей метки, находящейся в конце предыдущего единичного элемента информации о местоположении. Следовательно, обнаруживая синхронизирующую метку, генерируя окно обнаружения метки точного позиционирования (зеркальной метки) на основании привязки ее по времени и незамедлительно обнаруживая метку точного позиционирования (зеркальной метки), обнаружение метки точного позиционирования (зеркальной метки) может быть выполнено с намного более высокой точностью, а считывание информации о местоположении может быть осуществлено с гораздо более высокой степенью достоверности.
Аналогичным образом, в устройстве воспроизведения информации об адресе согласно этому варианту осуществления определение местоположения метки точного позиционирования (зеркальной метки), обнаружение которой производят в начале записи данных, также может быть выполнено с высокой точностью в более узкой области исходя из обнаружения синхронизирующей метки. В результате местоположение точек начала и окончания записи данных также может быть задано с намного более высокой точностью.
19-й ВАРИАНТ ОСУЩЕСТВЛЕНИЯ
Ниже приведено описание варианта осуществления записи "управляющей информации", которую обычно записывают, например, в области начальной дорожки, в виде совокупности канавок записи различной формы.
В известном запоминающем устройстве на универсальном цифровом диске (УЦД-ОЗУ) (DVD-RAM) запись управляющей информации осуществляют в виде неравномерных предварительно заданных "впадин", физически созданных способом тиснения, которые расположены в области управляющей информации внутри области начальной дорожки. Управляющая информация обычно представляет собой информацию о физическом формате, информацию о производителе диска, информацию, обеспечивающую защиту авторских прав, и т.д. Информация о физическом формате содержит в себе информацию, необходимую для определения мощности лазерного излучения, которым следует освещать носитель информации в виде оптического диска при операциях считывания и записи, и для коррекции мощности. Информация о производителе диска содержит в себе информацию о фирме-изготовителе носителя информации в виде оптического диска, номер партии изделий и т.д. Информация, обеспечивающая защиту авторских прав, содержит в себе информацию о ключах, необходимых для шифровки и/или расшифровки. Эти типы управляющей информации заранее записывают в виде "впадин".
В вышеописанных предпочтительных вариантах осуществления настоящего изобретения запись информации о местоположении осуществляют посредством извилин канавки записи в области пользователя (то есть, в области записи данных) и посредством объединения канавок записи (или колебаний извилины) различной формы друг с другом. Этот вариант осуществления отличается тем, что в процессе изготовления носителя информации в виде оптического диска в областях (в области) начальной и/или конечной дорожки производят запись управляющей информации в виде совокупности шаблонов извилин канавки записи, снабженной извилинами.
Ниже приведено описание этого варианта осуществления изобретения со ссылкой на сопроводительные чертежи.
Сначала приведена ссылка на Фиг.36, где показана конфигурация носителя информации в виде оптического диска согласно этому варианту осуществления изобретения. Поверхность 401 для записи носителя информации в виде оптического диска, показанного на Фиг.36, покрыта веществом с изменяемой фазой, а на ней создана спиральная канавка 1502 дорожки записи, имеющая шаг дорожки записи, равный 0,32 мкм. Кроме того, на поверхность для записи нанесена диэлектрическая пленка толщиной 0,1 мм, а во время выполнения операций считывания и записи осуществляют облучение этой поверхности лазерным лучом, имеющим длину волны 405 нм, посредством объектива с числовой апертурой (ЧА), равной 0,85.
В области начальной дорожки, которая расположена ближе к внутреннему краю диска, чем область данных пользователя, создана канавка 1502 дорожки записи, в которой осуществляют запись, по меньшей мере, управляющей информации. Эта канавка 1502 дорожки записи является непрерывной по отношению к изображенной на Фиг.25 канавке 402 дорожки записи, находящейся в области пользователя. Подобно канавке 402 дорожки записи канавка 1502 дорожки записи, расположенная в области начальной дорожки, также снабжена извилинами, имеющими колебания в направлении внутреннего и внешнего краев, период которых равен, приблизительно, 11,47 мкм.
Канавка 1502 дорожки записи состоит из последовательности элементов информации о местоположении или из множества сегментов информации о местоположении, каждый из которых содержит в себе множество элементов информации о местоположении. Каждый элемент информации о местоположении содержит в себе множество элементов 408 подразделенных информационных данных, которые расположены вдоль канавки записи. Таким образом, канавки 1502 и 402 дорожки записи имеют аналогичную конфигурацию.
В каждом из находящихся в канавке 1502 дорожки записи элементов 408 подразделенных информационных данных записан один бит информационных данных, которые образуют собой информацию о местоположении (то есть элемент 1503 информации о местоположении), и элементы 1505 управляющей информации, которые образуют собой управляющую информацию для носителя информации в виде оптического диска.
В этом варианте осуществления изобретения элемент 1503 информации о местоположении представлен посредством формы извилины, находящейся в первой половине элемента 408 подразделенных информационных данных, а элементы 1505 управляющей информации отображают посредством форм извилины, находящейся во второй половине элемента 408 подразделенных информационных данных.
В примере, показанном на Фиг.36, запись элемента 1503 информации о местоположении, представляющего собой один бит информации о местоположении, принимающий значения "1" или "0", осуществляют заранее посредством извилины, состоящей из 16-ти периодов. В частности, значение "0" представлено посредством извилины, имеющей смещения прямоугольной формы в направлении внутреннего края, а значение "1" представлено посредством извилины, имеющей смещения прямоугольной формы в направлении внешнего края. В этом примере для обеспечения более высокой достоверности считывания сигнала созданы извилины, имеющие одинаковую форму на протяжении 16-ти периодов извилины, посредством совокупности которых представляют элемент 1503 информации о местоположении, состоящий из одного бита.
В отличие от этого запись управляющей информации осуществляют путем объединения этих двух типов извилин друг с другом, причем представление элемента управляющей информации, состоящего из одного бита, принимающего значение "0" или "1", осуществляют посредством 4-х периодов извилины. В примере, показанном на Фиг.36, элемент управляющей информации, значение которого равно "0", представлен посредством 4-х периодов извилины, имеющих значения "0"→"0"→"1"→"1", а элемент управляющей информации, значение которого равно "1", представлен посредством 4-х периодов извилины, имеющих значения "1"→"1"→"0"→"0". То есть каждый элемент управляющей информации, состоящий из одного бита, представлен посредством двухфазного кода, в котором в качестве элемента используют два периода извилины, а его период равен четырем периодам извилины. В примере, показанном на Фиг.36, в каждом элементе 408 подразделенных информационных данных производят запись элементов управляющей информации, состоящих из четырех бит. Однако, элемент двухфазного кода не ограничен вариантом, в котором ему соответствуют два периода извилины, он может быть задан надлежащим образом с учетом требуемого объема управляющей информации и степени достоверности обнаружения. В том случае, если требуемый объем информации относительно невелик, считывание информации может быть выполнено даже с еще более высокой степенью достоверности посредством такого двухфазного кода, в котором в качестве элемента используют 8 периодов извилины. К тому же, для элемента информации о местоположении и для элементов управляющей информации, содержащиеся в каждом элементе подразделенных информационных данных не обязательно использовать то количество извилин, которое указано в этом примере. Вместо этого количество извилин может быть надлежащим образом задано в зависимости от соответствующих весовых коэффициентов достоверности информации о местоположении и управляющей информации.
При использовании этого способа двухфазного кодирования количество извилин, посредством которого отображают значение "0", равно количеству извилин, посредством которого отображают значение "1", во второй половине каждого элемента 408 подразделенных информационных данных, в котором записана управляющая информация. Следовательно, в том случае, если для считывания элемента информации о местоположении используют способ определения элемента информации о местоположении, состоящего из одного бита, на основе мажоритарного принципа (в частности, путем определения того, какое из значений "0" или "1" имеет каждая извилина на протяжении 16-ти периодов), то содержимое управляющей информации совершенно не влияет на решение, принимаемое в отношении элемента информации о местоположении (то есть на решение, принимаемое на основе мажоритарной логики).
Считывание информации о местоположении каждого элемента информации о местоположении (то есть блока) осуществляют в виде элементов 1503 информации о местоположении, состоящих из множества битов, которые получены из множества элементов подразделенных информационных данных, а считывание управляющей информации для диска осуществляют в виде элементов 1505 управляющей информации, состоящих из множества битов.
В том случае, если при записи управляющей информации посредством хорошо известного способа тиснения глубина канавки записи является меньшей, чем 1/6 длины волны лазерного излучения, используемого при считывании, амплитуда сигнала считывания, представленного наличием или отсутствием тиснения, имеет тенденцию к уменьшению. С другой стороны, для увеличения амплитуды сигнала считывания, посредством которого отображают информацию пользователя, глубина канавки записи не должна превышать, приблизительно, λ/12. Следовательно, если глубина канавки записи задана равной λ/12 для обеспечения надлежащей точности считывания данных пользователя, то это очень затрудняет считывание управляющей информации, записанной в виде рельефа способом тиснения.
В отличие от этого, согласно данному варианту осуществления изобретения запись управляющей информации осуществляют в виде совокупности различных форм извилины канавки записи. Следовательно, даже в том случае, если канавка записи является неглубокой, считывание управляющей информации может быть выполнено с достаточно высокой степенью достоверности.
Ниже приведено описание конструкции накопителя на оптических дисках с возможностью считывания/записи со ссылкой на Фиг.39.
В отличие от накопителя, показанного на Фиг.29, накопитель на оптических дисках с возможностью считывания/записи, который изображен на Фиг.39, дополнительно содержит в себе: средство 812 обнаружения элементов управляющей информации, осуществляющее обнаружение элементов управляющей информации в сигнале, полученном на выходе средства 802 обработки сигнала считывания; и средство 814 обнаружения управляющей информации, осуществляющее обнаружение управляющей информации в полученных элементах управляющей информации.
Средство 812 обнаружения элементов управляющей информации реализовано в виде схемы, имеющей ту же самую конфигурацию, что и средство 803 обнаружения информационных данных, разделенных на более мелкие фрагменты. При обнаружении сигнала, соответствующего извилине, в котором резко смещены те смещения, которые направлены вверх, средство 812 обнаружения элементов управляющей информации осуществляет вывод значения, равного "1". С другой стороны, при обнаружении сигнала, соответствующего извилине, в котором резко смещены только те смещения, которые направлены вниз, средство 812 обнаружения элементов управляющей информации осуществляет вывод значения, равного "0". Средство 814 обнаружения управляющей информации имеет точно такую же конфигурацию, как и средство 807 обнаружения информации о местоположении. В соответствии с тактовым сигналом распределения подразделенных информационных данных, генерация которого осуществлена средством 808 синхронизации информации о местоположении, средство 814 обнаружения управляющей информации определяет то, какое значение "1" или "0" имеют подразделенные информационные данные, посредством чего производят обнаружение управляющей информации. Затем управляющую информацию передают в средство 810 управления системой.
Как описано выше, согласно этому варианту осуществления исходя из форм извилин канавки записи может быть осуществлена не только генерация тактового сигнала, но также и считывание информации об адресе и управляющей информации. Предпочтительно, в той области, где записана такая управляющая информация, не следует производить запись каких-либо данных пользователя. Запись данных пользователя не производят в области начальной или конечной дорожки оптического диска. Следовательно, предпочтительно запись управляющей информации осуществляют внутри области начальной или конечной дорожки.
В том случае, когда в канавке записи не записаны никакие данные пользователя, в сигнале считывания отсутствуют данные пользователя. Соответственно, извлечение информации о местоположении или управляющей информации из сигнала считывания может быть осуществлено с высокой достоверностью. Поэтому запись информации, состоящей из одного бита, в области, недоступной для пользователя, может быть осуществлена посредством меньшего количества извилин (или периодов колебаний) по сравнению с областью пользователя. Следовательно, в этом варианте осуществления изобретения количество извилин (или периодов), необходимых для отображения каждого элемента 503 информации о местоположении, состоящего из одного бита, равно 18-ти, и оно в два раза меньше того количества извилин, которое необходимо для отображения подразделенных информационных данных, которые состоят из одного бита, принимающего значения "1" или "0", в области пользователя. Тем не менее, считывание этой информации может быть выполнено с достаточной степенью достоверности.
К тому же в области, недоступной для пользователя, величина отклонения извилины (то есть амплитуда колебаний извилины в радиальном направлении) канавки записи, в которой должна быть произведена запись управляющей информации, может превышать величину отклонения извилины в области пользователя (например, быть вдвое большей, чем эта величина). Иными словами, запись дополнительной управляющей информации и других типов информации в канавке 1502 дорожки записи может быть произведена в том случае, если может быть осуществлено безошибочное считывание сигнала, соответствующего извилине, даже при наличии в ней ранее записанных данных.
Ниже приведено описание примеров других форматов записи управляющей информации со ссылкой на Фиг.37А-37Д.
В примере, показанном на Фиг.37А, каждому одному периоду извилины поставлен в соответствие элемент управляющей информации, состоящий из одного бита. Значение "1" или "0", соответствующее каждому одному периоду извилины, отображают посредством формы извилины. Следовательно, по сравнению с примером, изображенным на Фиг.37, объем информации возрастает в четыре раза.
В примере, показанном на Фиг.37Б, каждому одному периоду извилины также поставлен в соответствие элемент управляющей информации, состоящий из одного бита. В этом отношении пример, изображенный на Фиг.37Б, эквивалентен примеру, изображенному на Фиг.37А. Однако, в отличие от примера, изображенного на Фиг.37А, каждый единичный период извилины имеет форму извилины "B" или "S". Согласно этому примеру управляющая информация легко отличима от подразделенных информационных данных, которые представлены посредством "1" или "0".
В примере, показанном на Фиг.37В, применяют двухфазный код, в котором один бит отображают посредством 2-х периодов извилины. Следовательно, по сравнению с примером, изображенным на Фиг.37, объем информации может быть удвоен.
В примере, показанном на Фиг.37Г, "1" и "0" из примера, показанного на Фиг.37В, заменены, соответственно, на "B" и "S".
В примере, показанном на Фиг.37Д, запись элементов информации "11", "00", "01" и "10", состоящих из двух бит, осуществляют посредством использования четырех типов формы извилины: "S", "B" "1" и "0". Для повышения достоверности осуществляют повторную двукратную запись извилины каждой формы на протяжении двух периодов извилины.
В приведенном ниже описании использована ссылка на Фиг.38. В примере, показанном на Фиг.38, один сегмент 403 информации о местоположении содержит в себе четыре элемента информации о местоположении. В имеющейся в одном из этих четырех элементов информации о местоположении, который находится в начале сегмента 403 области информации о местоположении, записана "информация о местоположении" этого сегмента 403 информации о местоположении. В области информации о местоположении, имеющейся в остальных трех элементов информации о местоположении, записана "управляющая информация" для сегмента 403. Каждый из этих элементов информации о местоположении содержит в себе идентификационную информацию, посредством которой указывают то, какая именно информация: "информация о местоположении" или "управляющая информация", записана в имеющейся в нем области информации о местоположении.
Как описано выше, если в последовательности элементов информации о местоположении область метки точного позиционирования находится непосредственно после области синхронизирующей метки, то обнаружение того, каким образом разделена информация о местоположении, может быть выполнено с достаточно высокой точностью посредством использования обнаруженной синхронизирующей метки и/или обнаруженной метки точного позиционирования. К тому же в этом случае может быть обеспечено безошибочное сужение области местонахождения обнаруживаемой метки точного позиционирования посредством использования обнаруженной синхронизирующей метки. В результате точки начала и окончания записи могут быть заданы с намного более высокой точностью, и считывание информации о местоположении может быть выполнено с гораздо более высокой степенью достоверности.
К тому же в носителе информации в виде оптического диска согласно настоящему изобретению запись информации о местоположении и синхронизирующей метки производят путем изменения шаблона извилины канавки записи. С другой стороны, метку точного позиционирования создают (например, в виде зеркальной метки) таким образом, чтобы форма канавки записи в ней отличалась от формы той канавки записи, посредством которой отображают записанную информацию о местоположении. Следовательно, синхронизирующая метка и метка точного позиционирования легко отличимы одна от другой. Итак, в предложенном в изобретении способе и устройстве считывания информации о местоположении и в предложенном в изобретении способе и устройства записи данных раскрыто, что использование результатов обнаружения совокупности синхронизирующих меток и меток точного позиционирования позволяет выполнять считывание информации о местоположении и запись данных с высокой точностью.
ПРОМЫШЛЕННАЯ ПРИМЕНИМОСТЬ
Запись информации о местоположении и информационных данных других типов на носителе информации в виде оптического диска согласно настоящему изобретению осуществляют в процессе его изготовления посредством объединения множества шаблонов извилины канавки дорожки записи. Следовательно, при записи информации о местоположении для конкретной области канавки дорожки записи отсутствуют какие-либо непроизводительные потери. Кроме того, согласно настоящему изобретению смещение извилины, отображаемой посредством канавки дорожки записи, осуществляют с единственной частотой. Следовательно, может быть легко осуществлена генерация устойчивого тактового сигнала.
Итак, в настоящем изобретении предложен носитель информации в виде оптического диска, сохранение информации на котором может быть осуществлено с высокой плотностью.

Claims (12)

1. Носитель информации в виде оптического диска, который содержит канавку дорожки записи с записанной информацией на нем вдоль канавки дорожки записи, в котором канавка дорожки записи включает в себя множество единичных участков, расположенных вдоль канавки дорожки записи, и которые имеют боковые поверхности, периодически смещенные на протяжении канавки дорожки записи, в котором боковые поверхности единичных участков смещены с единым основным периодом и в котором представление подразделенных информационных данных, которые находятся в каждом из указанных единичных участков, осуществляют посредством совокупности извилин с различными шаблонами, выбор которых производят из множества типов шаблонов извилин, которые заданы таким образом, что соответствуют сигналам надлежащей формы, имеющим взаимно различные фронты нарастания и спада.
2. Носитель информации в виде оптического диска по п.1, в котором подразделенные информационные данные, распределенные в каждый из указанных единичных участков, представлены либо посредством первой формы смещения, либо посредством второй формы смещения, причем первая форма смещения определена так, что она соответствует форме сигнала, имеющего относительно крутой фронт нарастания и относительно пологий фронт спада, а вторая форма смещения определена таким образом, что она соответствует форме сигнала, имеющего относительно пологий фронт нарастания и относительно крутой фронт спада.
3. Носитель информации в виде оптического диска по п.1 или 2, в котором боковые поверхности канавки дорожки записи смещены относительно осевой линии канавки дорожки записи либо по направлению к внутреннему краю диска, либо по направлению к внешнему краю диска.
4. Носитель информации в виде оптического диска по п.1, в котором запись информации осуществляют поблочно, причем каждый из указанных блоков имеет заранее заданную длину, и в котором каждый из указанных блоков содержит в себе N единичных участков, расположенных вдоль канавки дорожки записи.
5. Носитель информации в виде оптического диска по п.4, в котором часть боковых поверхностей, которая является общей, по меньшей мере, для двух единичных участков, имеет постоянный период колебаний в пределах, по меньшей мере, одного из блоков.
6. Носитель информации в виде оптического диска по п.1, в котором в каждом из указанных единичных участков размещают 1-битные подразделенные информационные данные, в котором запись группы подразделенных информационных данных, представляющих N битов, осуществляют в N единичных участках, включенных в каждый из указанных блоков.
7. Носитель информации в виде оптического диска по п.6, в котором каждая из указанных групп N-битных подразделенных информационных данных включает в себя информацию об адресе соответствующего ей блока, к которому относятся те единичные участки, в которых записана эта группа подразделенных информационных данных.
8. Носитель информации в виде оптического диска по п.7, в котором каждая из указанных групп N-битных подразделенных информационных данных включает в себя код с исправлением ошибок и/или код обнаружения ошибок.
9. Носитель информации в виде оптического диска по п.8, в котором код с исправлением ошибок или код обнаружения ошибок обладает способностью исправления или обнаружения ошибок в информации об адресе присвоенными весовыми коэффициентами таким образом, что младшие биты кода с исправлением ошибок или кода обнаружения ошибок имеют относительно больший весовой коэффициент.
10. Устройство считывания подразделенных информационных данных с носителя информации в виде оптического диска по п.1, содержащее оптическую головку, которая обеспечивает освещение носителя информации в виде оптического диска световым излучением и осуществляет генерацию электрического сигнала в ответ на часть светового излучения, отраженного от носителя информации в виде оптического диска; средство обработки сигнала считывания, осуществляющее формирование сигнала, соответствующего извилине, амплитуда которого изменяется в соответствии с шаблоном извилин, из электрического сигнала; средство обнаружения подразделенных информационных данных для обнаружения подразделенных информационных данных в соответствии с сигналом, соответствующим извилине.
11. Способ считывания подразделенных информационных данных с носителя информации в виде оптического диска по п.1, содержащий следующие операции: освещают световым излучением носитель информации в виде оптического диска и осуществляют генерацию электрического сигнала в ответ на часть светового излучения, отраженного от носителя информации в виде оптического диска; формируют сигнал, соответствующий извилине, амплитуда которого изменяется в соответствии с шаблоном извилины и который получают из электрического сигнала; определяют подразделенные информационные данные в соответствии с сигналом, соответствующим извилине.
12. Способ считывания информации об адресе с носителя информации в виде оптического диска по п.7, содержащий следующие операции: освещают световым излучением носитель информации в виде оптического диска и осуществляют генерацию электрического сигнала в ответ на часть светового излучения, отраженного от носителя информации в виде оптического диска; осуществляют генерацию сигнала, соответствующего извилине, амплитуда которого изменяется в соответствии с шаблоном извилины и который получают из электрического сигнала; определяют подразделенные информационные данные, которые находятся в каждом из единичных участков, содержащихся в блоке, в соответствии с сигналом, соответствующим извилине, и определяют информацию об адресе на основе подразделенных информационных данных.
RU2003108875/28A 2000-09-01 2001-08-30 Носитель информации в виде оптического диска и устройство воспроизведения на оптическом диске RU2284588C2 (ru)

Applications Claiming Priority (9)

Application Number Priority Date Filing Date Title
JP2000264978 2000-09-01
JP2000-264978 2000-09-01
JP2000-275988 2000-09-12
JP2000-397621 2000-12-27
JP2001-77897 2001-03-19
JP2001-185729 2001-06-20
JP2001-196258 2001-06-28
JP2001-212071 2001-07-12
JP2001-219292 2001-07-19

Publications (2)

Publication Number Publication Date
RU2003108875A RU2003108875A (ru) 2004-10-27
RU2284588C2 true RU2284588C2 (ru) 2006-09-27

Family

ID=32844023

Family Applications (1)

Application Number Title Priority Date Filing Date
RU2003108875/28A RU2284588C2 (ru) 2000-09-01 2001-08-30 Носитель информации в виде оптического диска и устройство воспроизведения на оптическом диске

Country Status (3)

Country Link
CN (2) CN1975882B (ru)
RU (1) RU2284588C2 (ru)
ZA (1) ZA200301470B (ru)

Cited By (1)

* Cited by examiner, † Cited by third party
Publication number Priority date Publication date Assignee Title
RU2450371C2 (ru) * 2006-12-26 2012-05-10 Панасоник Корпорэйшн Оптический носитель записи, способ изготовления оптического носителя записи, способ обработки сигнала воспроизведения и способ оценки

Families Citing this family (1)

* Cited by examiner, † Cited by third party
Publication number Priority date Publication date Assignee Title
TWI539446B (zh) * 2012-05-30 2016-06-21 Sony Corp Optical information recording medium and optical information recording medium reproduction device

Citations (3)

* Cited by examiner, † Cited by third party
Publication number Priority date Publication date Assignee Title
EP0248536A3 (en) * 1986-05-31 1989-09-27 Sony Corporation Methods of and apparatus for seeking a target address on a record medium
RU2117337C1 (ru) * 1990-01-19 1998-08-10 Сони Корпорейшн Способ записи данных на носитель записи и способ воспроизведения данных с носителя записи (варианты)
US5878024A (en) * 1995-06-15 1999-03-02 Sony Corporation Optical disc, apparatus and method for recording and reproducing data

Family Cites Families (6)

* Cited by examiner, † Cited by third party
Publication number Priority date Publication date Assignee Title
US5852599A (en) * 1996-01-26 1998-12-22 Sharp Kabushiki Kaisha Optical recording medium and optical recording/reproducing device, and manufacturing method of optical recording medium
JP3850060B2 (ja) * 1996-02-13 2006-11-29 三菱電機株式会社 光ディスク及び光ディスク装置
JP2000137930A (ja) * 1997-03-27 2000-05-16 Sanyo Electric Co Ltd 光記録媒体およびその光再生装置
JPH10124878A (ja) * 1996-10-14 1998-05-15 Mitsubishi Electric Corp 光ディスク、及び、光ディスク装置
US6208614B1 (en) * 1997-08-16 2001-03-27 Lg Electronics Inc. Information recording medium having same-phase wobbling areas and different-phase wobbling areas
JPH11175979A (ja) * 1997-12-12 1999-07-02 Sony Corp クロック生成装置、クロック生成方法及び光ディスク

Patent Citations (3)

* Cited by examiner, † Cited by third party
Publication number Priority date Publication date Assignee Title
EP0248536A3 (en) * 1986-05-31 1989-09-27 Sony Corporation Methods of and apparatus for seeking a target address on a record medium
RU2117337C1 (ru) * 1990-01-19 1998-08-10 Сони Корпорейшн Способ записи данных на носитель записи и способ воспроизведения данных с носителя записи (варианты)
US5878024A (en) * 1995-06-15 1999-03-02 Sony Corporation Optical disc, apparatus and method for recording and reproducing data

Cited By (2)

* Cited by examiner, † Cited by third party
Publication number Priority date Publication date Assignee Title
RU2450371C2 (ru) * 2006-12-26 2012-05-10 Панасоник Корпорэйшн Оптический носитель записи, способ изготовления оптического носителя записи, способ обработки сигнала воспроизведения и способ оценки
US8565054B2 (en) 2006-12-26 2013-10-22 Panasonic Corporation Optical recording medium, optical recording medium manufacturing method, reproduction signal processing method and evaluation method

Also Published As

Publication number Publication date
CN100446091C (zh) 2008-12-24
CN1975882A (zh) 2007-06-06
CN1838258A (zh) 2006-09-27
CN1975882B (zh) 2012-02-29
ZA200301470B (en) 2004-02-12

Similar Documents

Publication Publication Date Title
KR100796049B1 (ko) 광디스크 매체, 광디스크 재생 방법 및 기록 방법
KR100887037B1 (ko) 광디스크 재생 장치
RU2284588C2 (ru) Носитель информации в виде оптического диска и устройство воспроизведения на оптическом диске
JP3370319B1 (ja) 光ディスク媒体ならびに光ディスク再生装置および記録装置
JP3370321B1 (ja) 光ディスク媒体ならびに光ディスク再生装置および記録装置
JP3370320B1 (ja) 光ディスク媒体ならびに光ディスク再生装置および記録装置
JP3370322B1 (ja) 光ディスク媒体ならびに光ディスク再生装置および記録装置

Legal Events

Date Code Title Description
MM4A The patent is invalid due to non-payment of fees

Effective date: 20200831