RU2251066C2 - Складное укрытие (варианты) - Google Patents
Складное укрытие (варианты) Download PDFInfo
- Publication number
- RU2251066C2 RU2251066C2 RU2003109342/02A RU2003109342A RU2251066C2 RU 2251066 C2 RU2251066 C2 RU 2251066C2 RU 2003109342/02 A RU2003109342/02 A RU 2003109342/02A RU 2003109342 A RU2003109342 A RU 2003109342A RU 2251066 C2 RU2251066 C2 RU 2251066C2
- Authority
- RU
- Russia
- Prior art keywords
- folding
- beams
- camouflage
- shelter
- racks
- Prior art date
Links
Images
Landscapes
- Tents Or Canopies (AREA)
Abstract
Изобретение относится к области военного дела, а именно к средствам защиты наземных объектов. Складное укрытие содержит каркас, оснащенный телескопическими и/или шарнирными стойками, балками и штангами, поверх которых расположен тент и/или маскировочное покрытие с соответствующими характеристиками, кроме того, укрытие имеет маски-экраны, содержащие тенты и/или маскировочные покрытия. Наклонные плоскости укрытия и/или масок-экранов ориентируют относительно горизонта под углом 120°+φ≤θ≤180°, где φ - угол места цели. При использовании изобретения обеспечивается повышение маскирующих свойств складного укрытия и его технических характеристик. 2 н. и 15 з.п. ф-лы, 31 ил., 1 табл.
Description
Изобретение относится к средствам защиты наземных объектов и объектов, перемещающимся по мостам и прилегающим к ним участкам дорог, от систем разведки и боеприпасов путем обеспечения скрытности за счет снижения или исключения демаскирующих признаков защищаемого объекта в оптическом диапазоне электромагнитных волн и переотражения (экранирования) радиолокационных волн от зондирующей радиолокационной системы, а также путем обеспечения преждевременного срабатывания взрывателей боеприпасов за счет расположения перед (над) защищаемым объектом преграды, причем сила, необходимая для разрушения преграды (разрыва маскировочного покрытия), равна или больше силы сопротивления, действующей на ударник взрывателя боеприпаса.
Известно устройство для радиолокационной маскировки наземных объектов, включающее в себя стойки, тяжи оттяжки и экранирующее полотно, причем полотно выполнено в виде сети из высокопроводящей перфорированной пленки с деформирующей окраской, наименее заметной для данной местности, по всей поверхности которого располагаются отверстия произвольной формы с максимальным размером R=λ /6, где λ - длина волны зондирующего сигнала радиолокационной системы наблюдения, шаг между центрами отверстий равен 2,5 R... 3 R, сеть растягивается до формы, усеченной параллельно плоскости земной поверхности пирамиды с верхним основанием, меньшим нижнего, и боковыми гранями, составляющими с плоскостью земной поверхности внешний угол 105... 125° и имеющими максимальное провисание 3λ /1/.
Недостатком известного устройства для радиолокационной маскировки наземных объектов, выбранного в качестве наиболее близкого аналога заявляемого технического решения в области маскировки, является следующее. Во-первых, любые геометрически правильные формы, в частности усеченной пирамиды, в природном ландшафте земной поверхности отсутствуют, поэтому такие формы известного устройства будут способствовать обнаружению и опознанию защищаемого объекта в оптическом диапазоне электромагнитных волн. Во-вторых, если предположить, что авторы учли первый недостаток и предполагали вынести защищаемый объект за пределы возможностей оптических средств разведки, т.е. маскировать объект от РЛС-БО (радиолокационной станции бокового обзора) без захода ее в зону ПВО (хотя этого нет в описании изобретения /1/), то место цели защищаемого объекта исходя из возможностей РЛС-БО будет в пределах 6° ... 15° и радиолокационная волна близка к перпендикулярному падению на боковую грань (т.е. к падению в надир), что обеспечивает максимальное отражение электромагнитной волны в сторону РЛС-БО. Точно такой же эффект получается в пределах места цели 15° ... 35° , вытекающий (отрицательный эффект) из расположения боковых граней относительно земной поверхности под углом 105° ... 125° . Если учесть выражения (3.33), (3.34), (3.48) и комментарии В.О.Кобака к ним /2/, то максимальный эхо-сигнал от граней известного устройства, имеющего боковую грань под углом 125° к горизонту /1/, будет в пределах места цели 0° ... 70° . Далее будет отражать уже поверхность сечения пирамиды известного устройства. Таким образом, эхо-сигнал от защищаемого объекта будет максимально высоким при подлете воздушного средства разведки к защищаемому объекту со случайной стороны в пределах (35° +35° )· 4=280° по азимуту и расположению места цели (в вертикальной плоскости) в пределах 180° ; и только в 80 случаях (360° -280° =80° ) из 360 можно ожидать снижения максимально высокого эхо-сигнала от “... высокопроводящей перфорированной пленки... ”. В-третьих, совершенно непонятна логика авторов известного устройства при одновременно противоречащем друг другу расположении высокопроводящей пленки верхней грани пирамиды, обеспечивающей максимальный эхо-сигнал в сторону космических средств разведки, и переотражения явно меньшей составляющей зондирующего сигнала, падающего на боковые грани, в сторону. В то же время при правильном использовании (расположении) высокопроводящей перфорированной в указанных параметрах пленки может быть достигнут высокий эффект переотражения радиолокационной волны в сторону от РЛС.
Известно устройство - тентовый каркас, выбранный в качестве прототипа по первому варианту заявляемого технического решения, содержащее верхний силовой узел, соединенный шарнирно с концами балок с возможностью их свободного поворота в вертикальной плоскости и упором их в крайнем верхнем положении силового узла, стойки, верхние концы которых шарнирно соединены с другими концами балок, и тент, расположенный поверх каркаса, закрепленный на стойках /3/.
Известно складное тентовое укрытие /4/, выбранное в качестве прототипа по второму варианту заявляемого технического решения, включающее отличительные признаки устройства - тентовый каркас /3/, приведенные выше, и, кроме того, по первому варианту известного технического решения, по меньшей мере, одна стойка и/или одна балка содержат (каждая) по меньшей мере, по одному шарниру, разделяющему их, по меньшей мере, на две части с возможностью складывания частей, а также введены фиксаторы, расположенные между стойками и балками, причем все шарниры выполнены с возможностью складывания в одну сторону, совпадающую с направлением складывания балок в верхнем силовом узле, и упором в крайнем положении совпадения направления частей каждой из них. Верхний силовой узел может быть расположен несимметрично относительно стоек, а удлиненные балки содержат, по меньшей мере, по одному шарниру, разделяющему ее на части с возможностью их складывания и упором в крайнем положении совпадения направления частей балок, содержащих шнур. Верхний силовой узел может быть выполнен в виде основания и расположенных на его нижней поверхности шарниров крепления балок, каждая балка закреплена в шарнире так, что ее конец выступает к центру узла за ось шарнира. В укрытие может быть введено, по меньшей мере, одно второе звено, содержащее второй верхний силовой узел, соединенное с ним одними концами шарнирно, вторые балки с возможностью их свободного поворота в вертикальной плоскости и упором в крайнем верхнем положении силового узла, вторые стойки, верхние концы которых шарнирно соединены с другими концами балок, и второй тент, расположенный поверх второго каркаса, закрепленный на стойках, по меньшей мере, одна вторая стойка и/или одна вторая балка содержат каждая, по меньшей мере, по одному шарниру, разделяющему их, по меньшей мере, на две части с возможностью складывания частей, а также введены фиксаторы, расположенные между вторыми стойками и вторыми балками, причем все шарниры выполнены с возможностью складывания в одну сторону, совпадающую с направлением складывания балок в верхнем силовом узле, и упором в крайнем положении совпадения направлений частей каждой из них. Длина всех вторых стоек и балок может превышать длину всех первых стоек и балок и размеры второго тента превышают размеры первого так, что второе звено позволяет вмещать в себя по типу “матрешки” первые балки, стойки с верхним силовым узлом и тент при верхнем положении вертикального силового узла. Шарниры балок и/или стоек могут быть выполнены в виде петель, а упор образован состыкованными в шарнирах торцами частей балок и/или стоек. Каждый шарнир балок и/или стоек с упором может быть выполнен в виде швеллера, вдоль паза которого расположены с двух сторон навстречу друг другу концы смежных частей балки и/или стойки, причем на каждой половине боковых поверхностей швеллера и соответствующем ей конце части балки или стойки выполнены сквозные отверстия, через которые проходит ось с возможностью свободного поворота вокруг нее этой части балки и/или стойки. Каждый шарнир балок и/или стоек с упором может быть выполнен в виде петель и швеллера, причем одна подвижная часть петель соединена с концом швеллера, в части длины паза которого с другого конца жестко закреплена одна из смежных частей балки и/или стойки, а другая подвижная часть петель закреплена на другой части так, что конец последней свободно входит в паз швеллера с другого его конца со стороны крепления к нему петель. Каждый шарнир балок и/или стоек может быть выполнен в виде двух пластин, расположенных по обе стороны балки и/или стойки в параллельных плоскостях так, что одни концы пластин расположены на одной части балки и/или стойки, а другие концы - на другой части. На каждом конце пластин и соответствующей ему части балки и/или стойки выполнены сквозные отверстия, через которые проходит ось с возможностью свободного поворота этой части относительно пластин. Упор может быть выполнен в виде двух вторых пластин, каждая из которых закреплена на конце каждой части в промежутке между осью и торцом части балки и/или стойки и расположена по одну сторону этих частей в плоскости, перпендикулярной плоскостям первых пластин. Упор может быть выполнен в виде неподвижного штыря, проходящего через отверстия в первых пластинах так, что в него упираются с противоположных сторон торцы двух частей балки и/или стойки вырезами, выполненными поперек торцов параллельно осям шарниров, форма вырезов соответствует половине поперечного сечения штыря, оси шарниров жестко закреплены каждая в соответствующей части балки и/или стойки, а отверстия на концах пластин выполнены продолговатыми;
по второму варианту известного технического решения звенья соединены последовательно, причем каждая пара смежных звеньев имеет по две общие стойки, каждая из которых содержит два шарнирных соединения с соответствующими балками этой пары звеньев, а тенты всех звеньев соединены так, что образуют одно общее покрытие для всех звеньев. В укрытие могут быть введены дополнительные последовательные соединения звеньев, по меньшей мере, одно соединение параллельно между собой вдоль длинных граней вплотную рядами, причем каждая стойка в местах их соединения является общей для каждой пары последовательных соединений звеньев и содержит соответствующее число шарнирных соединений с балками смежных звеньев.
Недостатком известных технических решений, выбранных в качестве прототипа заявляемых вариантов складного укрытия, является невозможность их использования в военном деле для защиты объектов от систем разведки и боеприпасов путем обеспечения скрытности и преждевременного подрыва атакующих боеприпасов. Инженерные решения по объединению известных аналогов изобретения с прототипом не приносят требуемого эффекта, так как при этом недостатки, присущие аналогам, простым переносом присваиваются новому инженерному решению.
Задача изобретения заключается в улучшении эксплуатационных характеристик и расширении области использования складного укрытия за счет преждевременного подрыва атакующего боеприпаса при повышении его маскирующих свойств и технических характеристик.
Указанная задача (по первому варианту) достигается тем, что складное укрытие, включающее тент, расположенный поверх каркаса, и закрепленный к нему верхний силовой узел, соединенный с концами балок с возможностью их свободного поворота в вертикальной плоскости и упором их в крайнем положении силового узла и стоек, верхние концы которых шарнирно соединены с другими концами балок, при этом, по меньшей мере, одна стойка и/или одна балка содержит каждая, по меньшей мере, по одному шарниру, разделяющему их на две части с возможностью складывания частей, а также фиксаторы, расположенные между стойками и балками, причем все шарниры выполнены с возможностью складывания в одну сторону, совпадающую с направлением складывания балок в верхнем силовом узле и упором в крайнем положении совпадения направлений частей каждой из них, в нем:
во-первых, оно снабжено маскировочным покрытием, при этом тент и/или маскировочное покрытие содержат радиопоглощающие, и/или радиоотражающие, и/или радиорассеивающие, и/или теплоэкранирующие, и/или теплопоглощающие, и/или теплорассеивающие материалы и/или включения, и/или напыления и/или имеют защитную или деформирующую, или имитирующую окраску, кроме того, оно оснащено масками-экранами, содержащими штанги и тенты и/или маскировочное покрытие, закрепленные поверх штанг, причем концы штанг закреплены в узле шарнирного соединения балок со стойками с возможностью их расчетного поворота в вертикальной плоскости;
во-вторых, сопротивление тента и/или маскировочного покрытия сквозному прониканию атакующего боеприпаса больше сопротивления, при котором взрыватель боеприпаса еще не срабатывает, причем максимальный прогиб тента и/или маскировочного покрытия с учетом податливости каркаса и растяжения тента и/или маскировочного покрытия до момента сквозного проникания боеприпаса меньше промежутка между тентом и/или маскировочным покрытием и защищаемым объектом;
в-третьих, с внутренней стороны укрытия к каркасу дополнительно закреплен плотный тканный или нетканый материал с технологическими отверстиями для фиксации каркаса и работы с шарнирами;
в-четвертых, внутри укрытия расположено дополнительное укрытие по принципу “матрешки”, при этом шарнирные и/или силовые узлы этих укрытий сопряжены;
в-пятых, свободный конец штанг масок-экранов расположен на удалении от маскируемого объекта по горизонтали, равном не менее чем двум высотам расположения конца штанги от подстилающего фона;
в-шестых, каждая штанга маски-экрана имеет фиксаторы и, по крайней мере, один шарнир, разделяющий ее на две части с возможностью складывания частей в одну сторону, совпадающую с направлением складывания балок и/или стоек;
в-седьмых, стойки и/или балки, и/или штанги выполнены телескопическими;
в-восьмых, маскировочное покрытие содержит распределительную сетевую основу, при этом тент и/или распределительная основа маскировочного покрытия имеют напыления и/или включения, или выполнены из проводящего материала, или имеют проводящую составляющую, причем максимальный линейный размер ячеи распределительной сетевой основы равен шестой части волны зондирующего сигнала радиолокационной системы наблюдения;
в-девятых, телескопические элементы и/или шарнирные соединения каркаса, по крайней мере, хотя бы один из них, оснащены гидравлическими и/или механическими приводами, например упруго-возвратными приводами;
в-десятых, в тенте и/или маскировочном покрытии выполнено, по крайней мере, одно быстрораскрывающееся устройство для входа людей и/или въезда подвижного объекта;
в-одиннадцатых, на тенте и/или маскировочном покрытии установлены и закреплены искусственная и/или срезанная растительность, и/или деформирующие козырьки;
в-двенадцатых, стойки оснащены узлами их крепления к мостам, паромам, плавающей технике десантно-переправочных средств и других подвижных объектов;
в-тринадцатых, хотя бы одна телескопическая стойка оснащена фиксатором и роликами на срезах внутреннего и внешнего ее элементов, причем в ролики запасован тросик, один конец которого жестко закреплен к противоположной стороне среза внешнего элемента, а другой конец тросика введен в вороток, установленный на внешнем элементе стойки;
в-четырнадцатых, маскировочное покрытие содержит распределительную основу, периметр ячеи сети которой с учетом растяжения материала сети до его разрушения меньше периметра поперечного сечения боеприпаса;
в-пятнадцатых, в промежуток между тентами или тентом и тканным или нетканым материалом введена водо-воздушная или твердеющая полимерная пена;
в-шестнадцатых, маска-экран и/или боковая, и/или верхняя надбалочная часть тента и/или маскировочного покрытия расположены под углом к направлению падения электромагнитной волны зондирующего сигнала радиолокационной системы наблюдения, равным или меньше 50° ... 60° , в частности под углом θ к горизонту, составляющим 120° +φ ≤ θ ≤ 180° , где φ - угол места цели.
Указанная задача (по второму варианту) состоит в том, что складное укрытие, включающее каркас, содержащий звенья, последовательно соединенные между собой, содержащие тенты, образующие покрытие для всех звеньев, парные балки и/или стойки с силовыми узлами и шарнирными соединениями, причем звенья сопряжены между собой соединительными балками, сопряженными посредством шарниров с силовым узлом соединения и шарнирным соединением балок и стоек звена, при этом шарниры соединительных балок имеют две степени свободы в вертикальной и горизонтальной плоскостях, согласно изобретению снабжено маскировочными покрытиями, при этом тенты и/или маскировочные покрытия содержат и/или радиопоглощающие, и/или радиоотражающие, и/или радиорассеивающие, и/или теплоэкранирующие, и/или теплопоглощающие, и/или теплорассеивающие материалы и/или включения, и/или напыления и/или имеют защитную или деформирующую, или имитирующую окраску, при этом сопротивление тентов и/или маскировочных покрытий сквозному прониканию атакующего боеприпаса больше сопротивления, при котором взрыватель боеприпаса еще не срабатывает, причем максимальный прогиб тентов и/или маскировочных покрытий с учетом податливости каркаса и растяжения тентами и/или маскировочными покрытиями до момента сквозного проникания боеприпаса меньше промежутка между тентами и/или маскировочными покрытиями и защищаемым объектом.
Таким образом, заявляемые технические решения соответствуют критерию “новизна”.
Анализ известных технических решений (аналогов) в исследуемой области, т.е. защите войск и объектов в смежных областях, позволяет сделать вывод об отсутствии в них признаков, сходных с существенными отличительными признаками в заявляемом складном укрытии, и признать заявляемые решения соответствующими критерию “существенные отличия”.
Сущность изобретения поясняется чертежами, где представлено:
на фиг.1 - складное укрытие с телескопическими балками и стойками (пример);
на фиг.2 - то же, разрез по А-А;
на фиг.3 - силовой узел;
на фиг.4 - силовой узел с основанием, расположенным под шарнирным соединением (разрез по Б-Б);
на фиг.5 - силовой узел с основанием, расположенным над шарнирным соединением (разрез по Б-Б);
на фиг.6 - телескопическая балка 5 (стойка 7);
на фиг.7 - шарнирное соединение балки 5 (стойки 7);
на фиг.8 - складное укрытие, выполненное в виде войсковой палатки с дополнительным тентом или тканым и нетканым материалом изнутри;
на фиг.9 - то же, фрагмент с утеплителем в виде пены между внешним 2 и внутренним тентом (материалом) 14;
на фиг.10 - то же, вид В;
на фиг.11 - складное укрытие с дополнительным укрытием 16;
на фиг.12 - складное укрытие с масками-экранами 18;
на фиг.13 - складное укрытие со звеньями каркаса, соединенными между собой (вариант);
на фиг.14 - то же (вариант);
на фиг.15 - то же, с соединительными балками (вариант);
на фиг.16 - то же (вариант);
на фиг.17 - пример выполнения механического упруго-возвратного привода;
на фиг.18 - складное укрытие с размещенными на нем козырьками и/или искусственной или срезанной растительностью;
на фиг.19 - складное укрытие, имитирующее здание;
на фиг.20 - складное укрытие от солнца;
нафиг.21 - порядок складывания укрытия, оснащенного штангами с шарнирными соединениями, на платформе автомобиля (первый этап);
на фиг.22 - то же, на подстилающем фоне (второй этап);
на фиг.23 - то же, в сложенном положении;
на фиг.24 - порядок складывания укрытия, оснащенного телескопическими штангами, на подстилающем фоне (первый этап);
на фиг.25 - то же (второй этап);
на фиг.26 - то же, в сложенном положении;
на фиг.27 - порядок складывания укрытия, оснащенного телескопическими балками, стойками и штангами, на подстилающем фоне (первый этап);
на фиг.28 - то же, в сложенном положении;
на фиг.29 - телескопическая стойка с подъемным устройством;
на фиг.30 - то же, разрез по Г-Г;
на фиг.31 - то же, разрез по Д-Д.
В таблице 1 представлена спецификация чертежей.
Складное укрытие 1, включающее тент 2, закрепленный к каркасу 3 (см. фиг.1, 2). Каркас 3 содержит верхний силовой узел 4, соединенный с концами балок 5 с возможностью их свободного поворота в вертикальной плоскости и упором 6 их (5) в крайнем верхнем положении силового узла 4 и стоек 7, верхние концы которых соединены посредством шарниров (шарнирное соединение) 8 с другими концами балок 5.
Силовой узел 4 может содержать основание 9 с двумя, тремя и более шарнирными соединениями 8 балок 5 с основанием 9. При этом край основания 9, препятствующий вращению балки 5, образует упор 6 балки 5 в основание 9 (см. фиг.3, 4 и 5). Основание 9 силового узла 4 может быть выполнено над шарнирными соединениями 8 балок 5 с основанием 9 или под этим соединением 8, обеспечивая направление складывания балок 5 каркаса 3 вверх или вниз (показано стрелками на фиг.3 и 4).
Каркас 3 складного укрытия 1 содержит телескопические стойки 7 и/или балки 5, а тент 2 закреплен к верхнему силовому узлу 4 и/или шарнирным соединениям 8 каркаса 3, и/или свободным поверхностям 10 телескопических элементов 11 стоек 7 и/или балок 5 (см. фиг.1, 2 и 6).
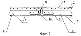
Стойки 7 и балки 5 складного укрытия 1 могут содержать каждая, по меньшей мере, по одному шарниру (шарнирному соединению) 8, разделяющему их, по меньшей мере, на две части (элемента) 11 с возможностью складывания частей (элементов) 11, а также введены фиксаторы 12, расположенные между стойками 7 и балками 5 (см. фиг.2 и 7). Причем все шарниры 8 выполнены с возможностью складывания в одну сторону, совпадающую с направлением складывания укрытия 1.
Тент 2 и/или маскировочное покрытие 13, расположенные поверх каркаса 3 и закрепленные к нему (3), в частности к шарнирному соединению 8, содержат и/или радиопоглощающие, и/или радиорассеивающие, и/или радиоотражающие, и/или теплоэкранирующие, и/или теплорассеивающие, и/или теплопоглощающие материалы и/или включения, и/или напыления и/или имеют защитную или деформирующую, или имитирующую окраску, в частности слой маскировочного пенного покрытия 13 (см. фиг.7).
Складное укрытие 1, включающее тент 2, закрепленный к каркасу 3, содержащему верхний силовой узел 4, соединенный с концами балок 5 с возможностью их (5) свободного поворота в вертикальной плоскости и упором 6 их (5) в крайнем верхнем положении верхнего силового узла 4 и стоек 7, верхние концы которых (7) шарнирно 8 соединены с другими концами балок 5 (см. фиг.1 и 2). При этом, по меньшей мере, одна стойка 7 и/или балка 5 содержит каждая по меньшей мере по одному шарниру 8, разделяющему их по меньшей мере на две части (элемента) 11 с возможностью складывания (элементов) 11, а также введены фиксаторы 12, расположенные между стойками 7 и балками 5, причем все шарниры 8 выполнены с возможностью складывания в одну сторону, совпадающую с направлением складывания балок 5 в верхнем силовом узле 4, и упором 6, в крайнем положении совпадения направлений частей (элементов) 11 каждой из них (5 или 7; см. фиг.6 или 7). Причем тент 2 и/или маскировочное покрытие 13, расположенные поверх каркаса 3 и закрепленные к нему (3), содержат и/или радиопоглощающие, и/или радиорассеивающие, и/или радиоотражающие, и/или теплопоглощающие, и/или теплорассеивающие материалы и/или включения, и/или напыления и/или имеют защитную или деформирующую, или имитирующую окраску, в частности маскировочное пенное покрытие 13 (см. фиг.7).
С внутренней стороны укрытия 1 к каркасу 3 может быть дополнительно закреплен тент 14 или плотный тканый или нетканый материал 14, в частности, с технологическими отверстиями 15 для фиксации, посредством фиксаторов 12, каркаса 3 и работы с шарнирами 8 (см. фиг.8, 9 и 10).
Внутри укрытия 1 может быть расположено другое укрытие 16 по принципу “матрешки”. В частности, шарнирные 8 и/или силовые 4 узлы этих укрытий 1 и 16 могут быть сопряжены и/или иметь общие узлы 8, образуя сдвоенный каркас 3 укрытия 1 и 16 (см. фиг.11). При этом предусматриваются технологические отверстия 15 в дополнительном тенте (материале) 14 (см. фиг.10).
В промежуток между тентом 2 и дополнительным тентом (тканым или нетканым материалом) 14 может быть введен утеплитель 17, в частности водо-воздушная или твердеющая полимерная пена 17 (см. фиг.9).
Складное укрытие 1 дополнительно может быть оснащено масками-экранами 18, содержащими штанги 19 и тенты 2 и/или маскировочное покрытие 13, закрепленные поверх штанг 19 (см. фиг.12). Причем концы штанг 19 закреплены в узле шарнирного соединения 8 балок 5 со стойками 7 с возможностью их расчетного поворота в вертикальной плоскости, посредством узла поворота 20. В частности, при этом на стойках 7 тент 2 и маскировочное покрытие 13 могут отсутствовать (см. фиг.12). В частности, свободный конец штанги 19 при этом располагается от подстилающего фона 21 на высоте Н и удалении от маскируемого объекта 22 по горизонтали не менее чем 2Н (см. фиг.12).
Каждая штанга 19 может иметь, по крайней мере, один шарнир 8, разделяющий ее (19), по меньшей мере, на две части с возможностью складывания частей (элементов) 11 в одну сторону, совпадающую с направлением складывания балок 5 и/или стоек 7, а также введены фиксаторы 12 (см. фиг.7).
Каркас 3 укрытия 1 может содержать телескопические стойки 7 и/или балки 5, и/или штанги 19 (см. фиг.6).
Сопротивление тента 2 и/или маскировочного покрытия 13 складного укрытия 1 сквозному прониканию атакующего боеприпаса 23 целесообразно выбирать (рассчитывать) большим сопротивлению, при котором взрыватель (не показано; см., например, /5/) боеприпаса 23 еще не срабатывает, причем максимальный прогиб тента 2 и/или маскировочного покрытия 13 (показано пунктиром; см. фиг.11) с учетом податливости каркаса 3 и растяжения тента 2 и/или маскировочного покрытия 13 до момента сквозного проникания боеприпаса (не показано) меньше промежутка l между тентом 2 и/или маскировочным покрытием и защищаемым (маскируемым) объектом 22. При этом периметр “а” ячеи сети распределительной основы (не показано) маскировочного покрытия 13 с учетом растяжения материала сети распределительной основы (не показано) меньше периметра “б” поперечного сечения (не показано) боеприпаса 23, т.е. а<<б.
Тент 2 и/или распределительная основа (не показано) маскировочного покрытия 13 могут иметь напыления и/или включения или могут быть выполнены из проводящего материала, или имеют проводящую составляющую, причем при сетчатой составляющей (не показано) или основе, или включениях максимальный линейный размер а’ (в частности, а’=а/4} ячеи не превышает шестой части длины волны зондирующего сигнала радиолокационной системы наблюдения, т.е. а’≤ λ i/6.
Маску-экран 18 (см. фиг.12) и/или боковую надстоечную (см. фиг.11), и/или верхнюю надбалочную части (см. фиг.11 и 12) тента 2 и/или маскировочного покрытия 13 целесообразно располагать под углом α к направлению падения электромагнитной волны 25 зондирующего сигнала радиолокационной системы наблюдения 24, равным или меньше α =50° ... 60° , в частности под углом θ i к горизонту, составляющим 120° +φ ≤ θ i≤ 180° .
Каркас 3 складного укрытия 1 может содержать звенья 26, последовательно соединенные между собой (26) и включающие парные балки 27 и/или стойки 28 с силовыми узлами 4 и шарнирами 8 (см. фиг.13 и 14, 15 и 16). Причем, в частности, звенья 26 могут быть сопряжены между собой соединительными балками 29, сопряженными посредством шарниров 8 с силовым узлом соединения 30 и шарнирных соединений 8 балок 5 и стоек 7 звена 26 (см. фиг.15 и 16). Причем, в частности, шарниры 8 соединительных балок 29 имеют две степени свободы в вертикальной и горизонтальной плоскостях.
Соединительные балки 29 при этом могут быть выполнены телескопическими и/или, по меньшей мере, с одним шарниром 30, обеспечивающим их (29) свободный поворот в вертикальной плоскости и разделяющим их (29), по меньшей мере, на две части (элемента) с возможностью складывания частей (элементов) 11. При этом соединительные балки 29 оснащены фиксаторами 12, причем все шарниры 8 и 30 выполнены с возможностью складывания в одну сторону, совпадающую с направлением складывания соединительных балок 29, балок 27 и стоек 7 и 28 каркаса 26 и 3 (см. фиг.6, 7, 13... 16).
Телескопические элементы 11 и/или шарнирные соединения 8 каркаса 3, по крайней мере, хотя бы один из них, оснащены гидравлическими (не показано) и/или механическими приводами 31, в частности упруго-возвратными приводами 31, в частности пружиной 31 (см. фиг.17).
В тенте 2 и/или маскировочном покрытии 13 может быть выполнено, по крайней мере, одно быстрораскрывающееся устройство 32 для выхода людей (см. фиг.8) и/или выезда подвижного объекта 22 (не показано).
В тенте 2 и/или маскировочном покрытии 13 могут быть установлены и закреплены искусственная и/или срезанная растительность 33, и/или деформирующие козырьки 34 (см. фиг.18).
Стойки 7 складного укрытия 1 могут быть оснащены узлами 35 их (7) крепления к мостам, паромам, плавающей технике десантно-переправочных средств (не показано) и других подвижных объектов 37 (см. фиг.13).
В частности, как указывалось в пунктах 3 и 4 формулы изобретения, укрытие может иметь имитирующую окраску, например, в виде здания, имеющего ложные окна и двери 36 (см. фиг.19). При этом элементы маски-экрана 18 в частично сложенном положении могут быть использованы для имитации водоотливного козырька крыши ложного здания.
Телескопическая стойка 7 укрытия 1 может быть оснащена фиксатором 12 и роликами 38 на срезах внутреннего 39 и внешнего ее 40 элементов 11 (см. фиг.29, 30 и 31). Причем в ролики 38 запасован тросик 41, один конец которого (41) жестко закреплен к противоположной стороне 42 среза внешнего 40 элемента 11 стойки 7, а другой конец введен в вороток 43, установленный на внешнем 40 элементе 11 стойки 7.
Нетканый материал 14, дополнительно установленный с внутренней стороны укрытия 1 (см. фиг.8, 9 и 10), может быть выполнен с металлизированным напылением (не показано).
Свободный край масок-экранов 18 (см. фиг.12) в проекции на горизонтальную и/или наклонную плоскость выполнен с овальными обводами непрямолинейно (графически не показано).
Складывающееся укрытие 1 может быть выполнено в виде палатки (см. фиг.8 и 18), полевого склада или пункта технического обслуживания техники и т.д. (см. фиг.11 и 12), маски, обеспечивающей исключение демаскирующих признаков движения техники по мостам и участкам дорог, в том числе маски-перекрытия и маски-экрана (см. фиг.11... 16), имитации построек (зданий) или скрытия техники в ложных постройках (см. фиг.13), а также в качестве укрытия от солнца (см. фиг.20).
Складывается укрытие 1 на платформе автомобиля 37 (см. фиг.21) или на поверхности подстилающего фона 21 (см. фиг.22... 26). Порядок складывания укрытия 1, оснащенного штангами 19 с шарнирными 8 соединениями, представлен на фиг.21, 22 и 23, а с телескопическими штангами 19 - на фиг.24, 25 и 26. На фиг.27 и 28 представлен порядок складывания укрытия 1, оснащенного телескопическими балками 5, стойками 7 и штангами 19. Стрелками показаны направления движения. Раскладывается и устанавливается укрытие 1 в обратной последовательности.
Улучшение эксплуатационных и технических характеристик складного укрытия достигается:
введением телескопических балок, стоек и штанг, обеспечивающих снижение трудозатрат при установке и складывании укрытия;
обеспечением высоких теплоизолирующих характеристик тента за счет использования теплоизолирующего материала, вводимого между внешним и внутренним тентами;
исполнением повышенной устойчивости покрытия при ветровых нагрузках за счет выполнения сдвоенного каркаса по типу “матрешки”, имеющего единые шарнирные узлы и наклонные относительно набегающего воздушного потока (ударной волны) поверхности;
приданием покрытию и/или тенту прочности, обеспечивающей предварительный подрыв боеприпасов до момента соприкосновения его с защищаемым объектом;
дополнительным техническим решением плоских звеньев каркаса и соединительных балок с их силовыми узлами;
возможностью установки и складывания укрытия с платформы автомобиля.
Расширение области использования укрытия на военную сферу в условиях современных миротворческих и контртеррористических операций обеспечивается:
использованием технического решения мобильного укрытия для размещения личного состава; техники, в том числе при обслуживании складов; штабов и т.п. и т.д.;
повышением защищенности объектов и материальных ценностей, размещенных в укрытии, за счет повышения его маскирующих свойств и подрыва боеприпаса до проникания его сквозь тент и/или маскировочное покрытие;
использованием укрытия в качестве маски-перекрытия, и/или маски-экрана, и/или масок-макетов.
Повышение маскирующих свойств укрытия выполняется за счет:
улучшения маскирующих свойств тента и/или маскировочного покрытия путем использования или ввода соответствующих материалов согласно изобретению;
переотражения зондирующего электромагнитного сигнала в сторону от системы наблюдения путем соответствующего выполнения тента и/или маскировочного покрытия и выбора рекомендуемого наклона боковых поверхностей и масок-экранов;
использования водо-воздушной или твердеющей полимерной пены между внешним и внутренним тентами и/или на поверхности первого и/или маскировочного покрытия;
приданием укрытию соответствующего окраса.
Преждевременный подрыв боеприпаса до момента его проникания сквозь тент и/или маскировочное покрытие заключается в следующем. На практике чувствительность механизмов взрывателей боеприпасов к удару (силе сопротивления) определяется наименьшей толщиной картонного или фанерного щита, при встрече снаряда с которым взрыватель еще действует. Для взрывателей высокой чувствительности эта толщина определяется 1 мм картона и менее, а для менее чувствительных взрывателей - 3... 4 мм фанеры /6/. Чувствительность механизмов мгновенного действия возрастает с увеличением площади сопротивления ударника с преградой, с уменьшением веса ударника, сопротивления контрпредохранительной пружины и расстояния между капсюлем и жалом и с повышением чувствительности капсюля к наколу. Наличие мембраны несколько снижает чувствительность механизмов мгновенного действия, но практически это сказывается только на действии мин при стрельбе с малыми начальными скоростями по слабому грунту. Повышение чувствительности взрывателей инерционного действия не имеет такого решающего значения, как для взрывателей мгновенного действия, так как взрыватели инерционного действия предназначаются для стрельбы по грунту и прочным преградам. Тем не менее, для стрельбы при малых углах встречи и по слабому грунту повышение чувствительности инерционных механизмов является наибольшим вследствие возможных при этом отказов в действии. Чувствительность взрывателей инерционного действия возрастает с увеличением веса ударника, уменьшением сопротивления контрпредохранителя и повышением чувствительности капсюля к наколу. В наиболее ответственных случаях повышение чувствительности инерционных механизмов обеспечивается применением пружинных ударников. В зависимости от начальной скорости снаряда и диаметра ударника максимальная сила сопротивления, действующая на ударник взрывателя боеприпаса, при которой взрыватель еще не действует, обычно колеблется в пределах от десятков граммов до 1... 2 кг и редко более. Сопротивление контрпредохранителя должно обеспечивать неподвижность ударника в полете боеприпаса и потому оно берется с запасом не менее 10... 20% против наибольшего значения силы сопротивления воздуха в момент вылета боеприпаса за дульный срез орудия /6/.
Использование телескопических балок, стоек и штанг снизит трудозатраты при установке и снятии укрытия не менее чем на 5... 10%. Обеспечение предварительного подрыва боеприпасов до момента проникания их сквозь тент и/или маскировочное покрытие по оценкам специалистов повысит живучесть защищаемой техники не менее чем на 20... 50%. Применение маскировочных покрытий в сочетании со сдвоенным и/или наклонным каркасом, и/или масками-экранами позволит повысить скрытность объектов, а при установке их на мостах и прилегающих к ним дорогах достичь исключения демаскирующих признаков движения техники по ним в видимом, инфракрасном и радиолокационном диапазонах длин волн. Универсальность предлагаемого технического решения для выполнения задач в военном деле обеспечит унификацию отдельных узлов и агрегатов и позволит организовывать пункты их обслуживания. Складное укрытие предлагаемого технического решения впервые позволит в условиях контртеррористических и миротворческих операций организовывать крытые полевые пункты ТО, мобильно перемещаемые в новое место.
Источники информации
1. Устройство для радиолокационной маскировки наземных объектов. Описание изобретения к патенту РФ №2101658 от 02.04.98 г. по заявке №96101841/02 от 30.01.96 г., МПК F 41 Н 3/00.
2. Кобак В.О. Радиолокационные отражатели. - М.: Сов.радио, 1975. - 248 с.
3. Заявка Великобритании №753183, МПК6 А 45 F 1/16, 1954.
4. Складное тентовое укрытие. Описание изобретения к патенту РФ №2165506 от 26.04.01 г. по заявке №96120952/03 от 07.10.96 г., МПК Е 04 H 15/48.
5. Третьяков Г.М. Боеприпасы артиллерии. - М.: Воен.изд. Мин. ВС СССР, 1946. - 530 с.
6. То же, - с.316.
Claims (17)
1. Складное укрытие, включающее тент, расположенный поверх каркаса и закрепленный к нему верхний силовой узел, соединенный с концами балок с возможностью их свободного поворота в вертикальной плоскости и упором их в крайнем положении силового узла, и стоек, верхние концы которых шарнирно соединены с другими концами балок, при этом, по меньшей мере, одна стойка и/или одна балка содержит каждая, по меньшей мере, по одному шарниру, разделяющему их на две части с возможностью складывания частей, а также фиксаторы, расположенные между стойками и балками, причем все шарниры выполнены с возможностью складывания в одну сторону, совпадающую с направлением складывания балок в верхнем силовом узле, и упором в крайнем положении совпадения направлений частей каждой из них, отличающееся тем, что оно снабжено маскировочным покрытием и масками-экранами, при этом тент и/или маскировочное покрытие содержат радиопоглощающие, и/или радиоотражающие, и/или радиорассеивающие, и/или теплоэкранирующие, и/или теплопоглощающие, и/или теплорассеивающие материалы, и/или включения, и/или напыления и/или имеют защитную, или деформирующую, или имитирующую окраску, а маски-экраны содержат тенты и/или маскировочные покрытия, закрепленные поверх штанг, концы которых закреплены в узле шарнирного соединения балок со стойками с возможностью их расчетного поворота в вертикальной плоскости.
2. Складное укрытие по п.1, отличающееся тем, что сопротивление тента и/или маскировочного покрытия сквозному прониканию атакующего боеприпаса больше сопротивления, при котором взрыватель боеприпаса еще не срабатывает, причем максимальный прогиб тента и/или маскировочного покрытия с учетом податливости каркаса и растяжения тента и/или маскировочного покрытия до момента сквозного проникания боеприпаса меньше промежутка между тентом и/или маскировочным покрытием и защищаемым объектом.
3. Складное укрытие по п.1, отличающееся тем, что с внутренней стороны укрытия к каркасу дополнительно закреплен плотный тканый или нетканый материал с технологическими отверстиями для фиксации каркаса и работы с шарнирами.
4. Складное укрытие по п.1, отличающееся тем, что внутри укрытия расположено дополнительное укрытие по принципу “матрешки”, при этом шарнирные и/или силовые узлы этих укрытий сопряжены.
5. Складное укрытие по п.1, отличающееся тем, что свободный конец штанг масок-экранов расположен на удалении от защищаемого объекта по горизонтали, равном не менее чем двум высотам расположения конца штанги от подстилающего фона.
6. Складное укрытие по п.1, отличающееся тем, что каждая штанга маски-экрана имеет фиксаторы и, по крайней мере, один шарнир, разделяющий ее на две части с возможностью складывания частей в одну сторону, совпадающую с направлением складывания балок и/или стоек.
7. Складное укрытие по п.1, отличающееся тем, что стойки, и/или балки, и/или штанги выполнены телескопическими.
8. Складное укрытие по п.1, отличающееся тем, что маскировочное покрытие содержит распределительную сетевую основу, при этом тент и/или распределительная основа маскировочного покрытия имеют напыления и/или включения, или выполнены из проводящего материала, или имеют проводящую составляющую, причем максимальный линейный размер ячеи распределительной сетевой основы равен шестой части волны зондирующего сигнала радиолокационной системы наблюдения.
9. Складное укрытие по п.7, отличающееся тем, что телескопические стойки, и/или балки, и/или штанги, и/или их шарнирные соединения, по крайней мере, одни из них, оснащены гидравлическими и/или механическими приводами, например, упруговозвратными приводами.
10. Складное укрытие по п.1, отличающееся тем, что в тенте и/или маскировочном покрытии выполнено, по крайней мере, одно быстрораскрывающееся устройство для входа людей и/или въезда подвижного объекта.
11. Складное укрытие по п.1, отличающееся тем, что на тенте и/или маскировочном покрытии установлены и закреплены искусственная и/или срезанная растительность и/или деформирующие козырьки.
12. Складное укрытие по п.1, отличающееся тем, что стойки оснащены узлами их крепления к мостам, паромам, плавающей технике десантно-переправочных средств.
13. Складное укрытие по п.1, отличающееся тем, что по крайней мере хотя бы одна телескопическая стойка оснащена фиксатором и роликами на срезах внутреннего и внешнего ее элементов, причем в ролики запасован тросик, один конец которого жестко закреплен к противоположной стороне среза внешнего элемента, а другой конец тросика введен в вороток, установленный на внешнем элементе стойки.
14. Складное укрытие по п.1, отличающееся тем, что маскировочное покрытие содержит распределительную сетевую основу, периметр ячеи сети которой с учетом растяжения материала сети до его разрушения меньше периметра поперечного сечения боеприпаса.
15. Складное укрытие по любому из пп.3 и 4, отличающееся тем, что в промежуток между тентами или тентом и тканым или нетканым материалом введена водовоздушная или твердеющая полимерная пена.
16. Складное укрытие по п.8, отличающееся тем, что маска-экран и/или боковая, и/или верхняя надбалочная часть тента и/или маскировочного покрытия расположены под углом к направлению падения электромагнитной волны зондирующего сигнала радиолокационной системы наблюдения, равным или меньше 50-60°, в частности под углом θ к горизонту, составляющим 120°+φ≤θ≤180°, где φ - угол места цели.
17. Складное укрытие, включающее каркас, выполненный из звеньев, последовательно соединенных между собой, содержащих парные балки и/или стойки с силовыми узлами и шарнирными соединениями, а также тенты, расположенные поверх каркаса и образующие общее покрытие для всех звеньев, соединенных между собой соединительными балками, сопряженных посредством шарниров с силовым узлом соединения и шарнирным соединением парных балок и/или стоек звена, при этом шарниры соединительных балок имеют две степени свободы в вертикальной и горизонтальной плоскостях, отличающееся тем, что оно снабжено маскировочными покрытиями, при этом тенты и/или маскировочные покрытия содержат радиопоглощающие, и/или радиоотражающие, и/или радиорассеивающие, и/или теплоэкранирующие, и/или теплопоглощающие, и/или теплорассеивающие материалы и/или включения, и/или напыления и/или имеют защитную, или деформирующую, или имитирующую окраску, при этом сопротивление тентов и/или маскировочных покрытий сквозному прониканию атакующего боеприпаса больше сопротивления, при котором взрыватель боеприпаса еще не срабатывает, причем максимальный прогиб тентов и/или маскировочных покрытий с учетом податливости каркаса и растяжения тентов и/или маскировочных покрытий до момента сквозного проникания боеприпаса меньше промежутка между тентами и/или маскировочными покрытием и защищаемым объектом.
Priority Applications (1)
| Application Number | Priority Date | Filing Date | Title |
|---|---|---|---|
| RU2003109342/02A RU2251066C2 (ru) | 2003-04-03 | 2003-04-03 | Складное укрытие (варианты) |
Applications Claiming Priority (1)
| Application Number | Priority Date | Filing Date | Title |
|---|---|---|---|
| RU2003109342/02A RU2251066C2 (ru) | 2003-04-03 | 2003-04-03 | Складное укрытие (варианты) |
Publications (2)
| Publication Number | Publication Date |
|---|---|
| RU2003109342A RU2003109342A (ru) | 2005-03-10 |
| RU2251066C2 true RU2251066C2 (ru) | 2005-04-27 |
Family
ID=35364030
Family Applications (1)
| Application Number | Title | Priority Date | Filing Date |
|---|---|---|---|
| RU2003109342/02A RU2251066C2 (ru) | 2003-04-03 | 2003-04-03 | Складное укрытие (варианты) |
Country Status (1)
| Country | Link |
|---|---|
| RU (1) | RU2251066C2 (ru) |
Cited By (16)
| Publication number | Priority date | Publication date | Assignee | Title |
|---|---|---|---|---|
| RU2508624C2 (ru) * | 2008-04-11 | 2014-03-10 | Линде Аг | Устройство для ускорения роста и восстановления газона |
| WO2016191213A1 (en) * | 2015-05-22 | 2016-12-01 | Shadecraft Llc | Intelligent shading objects |
| RU167608U1 (ru) * | 2016-08-08 | 2017-01-10 | Александр Анатольевич Кузнецов | Складной навес |
| RU173028U1 (ru) * | 2017-04-26 | 2017-08-07 | Федеральное государственное бюджетное учреждение "Центральный научно-исследовательский испытательный институт инженерных войск" Министерства обороны Российской Федерации | Мобильное каркасно-тканевое укрытие |
| US10078856B2 (en) | 2016-05-09 | 2018-09-18 | Shadecraft, Inc. | Mobile computing device control of shading object, intelligent umbrella and intelligent shading charging system |
| RU185607U1 (ru) * | 2017-11-21 | 2018-12-12 | Анатолий Гералевич Жуков | Складное тентовое укрытие "жук" |
| US10159316B2 (en) | 2016-05-09 | 2018-12-25 | Shadecraft, Inc. | Intelligent shading charging systems |
| WO2019046798A1 (en) * | 2017-08-31 | 2019-03-07 | Shadecraft, Inc. | MECHANICAL IMPROVEMENTS AND FOLLOW-UP TO INTELLIGENT ROBOTIC SHADOW AND / OR PARASOL SYSTEM |
| US10250817B2 (en) | 2016-05-09 | 2019-04-02 | Armen Sevada Gharabegian | Shading object, intelligent umbrella and intelligent shading charging system integrated camera and method of operation |
| RU188970U1 (ru) * | 2018-12-20 | 2019-04-30 | Федеральное государственное бюджетное учреждение "Центральный научно-исследовательский испытательный институт инженерных войск" Министерства обороны Российской Федерации | Маскировочное устройство |
| US10455395B2 (en) | 2016-05-09 | 2019-10-22 | Armen Sevada Gharabegian | Shading object, intelligent umbrella and intelligent shading charging security system and method of operation |
| RU2714421C1 (ru) * | 2019-02-12 | 2020-02-14 | Федеральное государственное казенное военное учреждение высшего образования "ВОЕННАЯ АКАДЕМИЯ МАТЕРИАЛЬНО-ТЕХНИЧЕСКОГО ОБЕСПЕЧЕНИЯ имени Генерала армии А.В. Хрулева" | Способ маскировки съездов на подводный автодорожный разборный мост |
| US10813422B2 (en) | 2016-05-09 | 2020-10-27 | Shadecraft, Inc. | Intelligent shading objects with integrated computing device |
| US10912357B2 (en) | 2016-05-09 | 2021-02-09 | Shadecraft, LLC | Remote control of shading object and/or intelligent umbrella |
| RU2750170C2 (ru) * | 2020-01-09 | 2021-06-22 | Евгений Николаевич Коптяев | Система затопления кораблей |
| RU2829573C1 (ru) * | 2023-08-09 | 2024-10-31 | Александр Георгиевич Носков | Комплекс маскировки объекта |
Citations (8)
| Publication number | Priority date | Publication date | Assignee | Title |
|---|---|---|---|---|
| GB753183A (en) * | 1953-08-29 | 1956-07-18 | Charles Fredrik Jonsson | Tent framework |
| US4688040A (en) * | 1984-11-28 | 1987-08-18 | General Dynamics, Pomona Division | Radar return suppressor |
| SU1333757A1 (ru) * | 1986-01-23 | 1987-08-30 | Целиноградский сельскохозяйственный институт | Складное укрытие |
| RU2029044C1 (ru) * | 1989-09-29 | 1995-02-20 | Юрий Борисович Козлов | Тентовое укрытие |
| RU2074939C1 (ru) * | 1995-12-14 | 1997-03-10 | Анатолий Гералевич Жуков | Складное тентовое укрытие "жук" |
| RU2165506C2 (ru) * | 1996-10-07 | 2001-04-20 | Жуков Анатолий Гералевич | Складное тентовое укрытие (варианты) |
| RU2171442C1 (ru) * | 2000-04-10 | 2001-07-27 | Военный автомобильный институт | Широкодиапазонное маскировочное покрытие и способ его изготовления |
| RU2192606C2 (ru) * | 2000-07-17 | 2002-11-10 | ООО Научно-технический центр "Версия" | Маскировочное покрытие с изменяемым объемом и клапан наполнения и откачивания для него (их варианты) |
-
2003
- 2003-04-03 RU RU2003109342/02A patent/RU2251066C2/ru not_active IP Right Cessation
Patent Citations (8)
| Publication number | Priority date | Publication date | Assignee | Title |
|---|---|---|---|---|
| GB753183A (en) * | 1953-08-29 | 1956-07-18 | Charles Fredrik Jonsson | Tent framework |
| US4688040A (en) * | 1984-11-28 | 1987-08-18 | General Dynamics, Pomona Division | Radar return suppressor |
| SU1333757A1 (ru) * | 1986-01-23 | 1987-08-30 | Целиноградский сельскохозяйственный институт | Складное укрытие |
| RU2029044C1 (ru) * | 1989-09-29 | 1995-02-20 | Юрий Борисович Козлов | Тентовое укрытие |
| RU2074939C1 (ru) * | 1995-12-14 | 1997-03-10 | Анатолий Гералевич Жуков | Складное тентовое укрытие "жук" |
| RU2165506C2 (ru) * | 1996-10-07 | 2001-04-20 | Жуков Анатолий Гералевич | Складное тентовое укрытие (варианты) |
| RU2171442C1 (ru) * | 2000-04-10 | 2001-07-27 | Военный автомобильный институт | Широкодиапазонное маскировочное покрытие и способ его изготовления |
| RU2192606C2 (ru) * | 2000-07-17 | 2002-11-10 | ООО Научно-технический центр "Версия" | Маскировочное покрытие с изменяемым объемом и клапан наполнения и откачивания для него (их варианты) |
Cited By (18)
| Publication number | Priority date | Publication date | Assignee | Title |
|---|---|---|---|---|
| RU2508624C2 (ru) * | 2008-04-11 | 2014-03-10 | Линде Аг | Устройство для ускорения роста и восстановления газона |
| WO2016191213A1 (en) * | 2015-05-22 | 2016-12-01 | Shadecraft Llc | Intelligent shading objects |
| US10327521B2 (en) | 2015-05-22 | 2019-06-25 | Armen Sevada Gharabegian | Intelligent shading objects |
| US10250817B2 (en) | 2016-05-09 | 2019-04-02 | Armen Sevada Gharabegian | Shading object, intelligent umbrella and intelligent shading charging system integrated camera and method of operation |
| US10078856B2 (en) | 2016-05-09 | 2018-09-18 | Shadecraft, Inc. | Mobile computing device control of shading object, intelligent umbrella and intelligent shading charging system |
| US10912357B2 (en) | 2016-05-09 | 2021-02-09 | Shadecraft, LLC | Remote control of shading object and/or intelligent umbrella |
| US10159316B2 (en) | 2016-05-09 | 2018-12-25 | Shadecraft, Inc. | Intelligent shading charging systems |
| US10813422B2 (en) | 2016-05-09 | 2020-10-27 | Shadecraft, Inc. | Intelligent shading objects with integrated computing device |
| US10455395B2 (en) | 2016-05-09 | 2019-10-22 | Armen Sevada Gharabegian | Shading object, intelligent umbrella and intelligent shading charging security system and method of operation |
| RU167608U1 (ru) * | 2016-08-08 | 2017-01-10 | Александр Анатольевич Кузнецов | Складной навес |
| RU173028U1 (ru) * | 2017-04-26 | 2017-08-07 | Федеральное государственное бюджетное учреждение "Центральный научно-исследовательский испытательный институт инженерных войск" Министерства обороны Российской Федерации | Мобильное каркасно-тканевое укрытие |
| WO2019046798A1 (en) * | 2017-08-31 | 2019-03-07 | Shadecraft, Inc. | MECHANICAL IMPROVEMENTS AND FOLLOW-UP TO INTELLIGENT ROBOTIC SHADOW AND / OR PARASOL SYSTEM |
| RU185607U1 (ru) * | 2017-11-21 | 2018-12-12 | Анатолий Гералевич Жуков | Складное тентовое укрытие "жук" |
| RU188970U1 (ru) * | 2018-12-20 | 2019-04-30 | Федеральное государственное бюджетное учреждение "Центральный научно-исследовательский испытательный институт инженерных войск" Министерства обороны Российской Федерации | Маскировочное устройство |
| RU2714421C1 (ru) * | 2019-02-12 | 2020-02-14 | Федеральное государственное казенное военное учреждение высшего образования "ВОЕННАЯ АКАДЕМИЯ МАТЕРИАЛЬНО-ТЕХНИЧЕСКОГО ОБЕСПЕЧЕНИЯ имени Генерала армии А.В. Хрулева" | Способ маскировки съездов на подводный автодорожный разборный мост |
| RU2750170C2 (ru) * | 2020-01-09 | 2021-06-22 | Евгений Николаевич Коптяев | Система затопления кораблей |
| RU2829573C1 (ru) * | 2023-08-09 | 2024-10-31 | Александр Георгиевич Носков | Комплекс маскировки объекта |
| RU240627U1 (ru) * | 2025-06-16 | 2026-01-21 | Федеральное государственное бюджетное научное учреждение "Уральский федеральный аграрный научно-исследовательский центр Уральского отделения Российской академии наук" | Модульное сборно-разборное укрытие для обработки продукции газо-воздушной смесью в хранилище |
Also Published As
| Publication number | Publication date |
|---|---|
| RU2003109342A (ru) | 2005-03-10 |
Similar Documents
| Publication | Publication Date | Title |
|---|---|---|
| RU2251066C2 (ru) | Складное укрытие (варианты) | |
| US10961740B2 (en) | Modular security system for above-ground structures | |
| US6886299B2 (en) | Blast curtain | |
| CN102947523A (zh) | 一种冲击波防护元件和系统 | |
| CA2973177C (en) | Expandable safe room | |
| US8752336B1 (en) | Inflatable blast proof structure | |
| US20060107985A1 (en) | Modular shoot house facility | |
| US8978318B2 (en) | Erectable indoor shelter | |
| CH657410A5 (it) | Garritta blindata di ricovero per sentinelle. | |
| RU2257528C2 (ru) | Искусственная маска-экран (варианты) | |
| US20070006909A1 (en) | Structural camouflage system | |
| US20160017626A1 (en) | Watchtower | |
| RU2478899C2 (ru) | Универсальное маскировочное и защитное укрытие для транспортного средства | |
| US20010022189A1 (en) | Camouflage shelter having a collapsible self-supporting subframe | |
| RU2447393C1 (ru) | Мобильное устройство для защиты с трансформируемым защитным экраном | |
| RU154893U1 (ru) | Универсальное бронированное огневое сооружение | |
| RU2304753C2 (ru) | Мобильное защитное устройство изменяемой конфигурации | |
| RU2815456C1 (ru) | Защитный экран | |
| US20030115830A1 (en) | Hijacker/airborne attack prevention system | |
| RU193438U1 (ru) | Маска-перекрытие авиационная | |
| RU2652762C1 (ru) | Быстровозводимое наблюдательно-огневое сооружение | |
| DE102007021822A1 (de) | Sicherheitssystem gegen schädliche Druckwellen bei militärischen Einrichtungen wie Radarabdeckungen und Panzerungen | |
| RU2843238C1 (ru) | Защитный экран | |
| RU2850437C1 (ru) | Устройство маскировки мобильного узла связи со штыревыми антеннами | |
| BR102022008585A2 (pt) | Sistema modular para veículos terrestres de combate, segurança e logística |
Legal Events
| Date | Code | Title | Description |
|---|---|---|---|
| MM4A | The patent is invalid due to non-payment of fees |
Effective date: 20070404 |

