RU2161663C1 - Cathode protection system for main pipe-lines against corrosion - Google Patents

Cathode protection system for main pipe-lines against corrosion Download PDF

Info

Publication number
RU2161663C1
RU2161663C1 RU2000108690/02A RU2000108690A RU2161663C1 RU 2161663 C1 RU2161663 C1 RU 2161663C1 RU 2000108690/02 A RU2000108690/02 A RU 2000108690/02A RU 2000108690 A RU2000108690 A RU 2000108690A RU 2161663 C1 RU2161663 C1 RU 2161663C1
Authority
RU
Russia
Prior art keywords
voltage
cathodic protection
compartment
low
against corrosion
Prior art date
Application number
RU2000108690/02A
Other languages
Russian (ru)
Inventor
Н.А. Малюшин
А.Н. Метельский
вдин В.П. Ал
В.П. Алявдин
Б.Р. Тоболжанов
Original Assignee
Открытое акционерное общество "НЕФТЕГАЗПРОЕКТ"
Priority date (The priority date is an assumption and is not a legal conclusion. Google has not performed a legal analysis and makes no representation as to the accuracy of the date listed.)
Filing date
Publication date
Application filed by Открытое акционерное общество "НЕФТЕГАЗПРОЕКТ" filed Critical Открытое акционерное общество "НЕФТЕГАЗПРОЕКТ"
Priority to RU2000108690/02A priority Critical patent/RU2161663C1/en
Application granted granted Critical
Publication of RU2161663C1 publication Critical patent/RU2161663C1/en

Links

Images

Landscapes

  • Prevention Of Electric Corrosion (AREA)

Abstract

FIELD: protection of pipe-lines. SUBSTANCE: cathode protection system presents unit-box made of high- and low-voltage compartments. High- voltage compartment has high-voltage disconnector of power line with blocked grounding knife, dry power transformer, high-voltage cutouts, valve dischargers to protect against lightning overvoltage and bushing insulators. This compartment has mechanical interlocking between high-voltage disconnector of power line and entrance door. Valve dischargers against lightning overvoltage are equipped with set of overvoltage limiters, activation counters and indicators. Low-voltage compartment is fed from dry power transformer and houses source of guaranteed power supply with step-down transformer, heating panel with automatic disconnection, hour counter controlled by input automatic unit of switching gear, meter of protective polarization potential on pipe-line, set of telemetry aids connected to monitoring and controlling unit- boxes mounted on gate valves. High-voltage compartment is fitted with automatic valve that releases air pressure in case of short-circuit with subsequent ignition and is provided with warning light equipment mounted on cover of unit-box. Meter of protective polarization potential on pipe-line comes in the form of current interrupter and high- resistance voltmeter. Low-voltage compartment also houses cathode protection station with cathode and anode outputs, cathode protection equipment and low-voltage switching gears. Current interrupter is fitted with manual and remote controls. Set of telemetry aids incorporates system of telecontrol, telewarning, overvoltage protection, automatic valve activation, telecontrol over protective potential of pipe-line, telemeasurement of output protective potential, of output current and voltage of low- voltage compartment, communication lines. EFFECT: improved operational qualities and enhanced functional reliability. 11 cl, 5 dwg

Description

Изобретение относится к области предотвращения коррозии металлов, а именно катодной зашиты металлов или металлических объектов, например трубопроводов. The invention relates to the field of preventing corrosion of metals, namely cathodic protection of metals or metal objects, such as pipelines.

Известна станция катодной защиты, (см. например, выложенную заявку РФ N 97105289/02, М. кл. C 23 F 13/00, опубл. 10.05.99), содержащая выпрямитель, последовательно соединенные источник опорных напряжений, первое устройство сравнения и функциональный преобразователь, соединенный с трансформатором, датчик потенциала, защищаемый объект, анодный заземлитель, высокочастотный фильтр, резонансный контур, второе устройство сравнения, датчик тока, силовой выпрямитель, выходной фильтр, коммутирующее устройство, при этом источник питания соединен с входом высокочастотного фильтра и первым входом источника опорных напряжений, выход высокочастотного фильтра соединен с входом выпрямителя, выход выпрямителя соединен с входом низкочастотного фильтра, выход которого соединен с вторым входом переключателя, выход функционального преобразователя соединен с первым входом переключателя, выход трансформатора соединен с последовательной цепью, состоящей из резонансного контура, силового выпрямителя, выходного фильтра, который посредством первого выхода соединен с датчиком тока, выход которого соединен с первым входом второго устройства сравнения, первым входом коммутирующего устройства и с входом защищаемого объекта, а также второй выход выходного фильтра соединен с анодным заземлителем, вторым входом второго устройства сравнения и третьим входом первого устройства сравнения, выход датчика потенциала соединен с вторым входом коммутирующего устройства, выход которого соединен с вторым входом первого устройства сравнения, источник питания соединен с третьим входом второго устройства сравнения, выход которого соединен с вторым входом источника опорных напряжений, второй выход источника опорных напряжений соединен с четвертым входом второго устройства сравнения. Known cathodic protection station, (see, for example, the laid out application of the Russian Federation N 97105289/02, M. CL C 23 F 13/00, publ. 10.05.99) containing a rectifier, a series-connected reference voltage source, the first comparison device and functional a converter connected to a transformer, a potential sensor, a protected object, an anode ground electrode, a high-pass filter, a resonant circuit, a second comparison device, a current sensor, a power rectifier, an output filter, a switching device, while the power source is connected to a high-voltage input filter and the first input of the reference voltage source, the output of the high-pass filter is connected to the input of the rectifier, the output of the rectifier is connected to the input of the low-pass filter, the output of which is connected to the second input of the switch, the output of the functional converter is connected to the first input of the switch, the output of the transformer is connected to a serial circuit consisting from a resonant circuit, a power rectifier, an output filter, which through the first output is connected to a current sensor, the output of which is connected with the first input of the second comparison device, the first input of the switching device and the input of the protected object, as well as the second output of the output filter is connected to the anode ground electrode, the second input of the second comparison device and the third input of the first comparison device, the output of the potential sensor is connected to the second input of the switching device, the output of which is connected to the second input of the first comparison device, the power source is connected to the third input of the second comparison device, the output of which is connected to the second input ohm of the reference voltage source, the second output of the reference voltage source is connected to the fourth input of the second comparison device.

Недостатками известной станции катодной защиты являются низкие эксплуатационные качества, надежность, сложность изготовления, высокая себестоимость. Одна из причин указанных недостатков обусловлена конструктивными особенностями устройства. The disadvantages of the known cathodic protection station are low performance, reliability, manufacturing complexity, high cost. One of the reasons for these shortcomings is due to the design features of the device.

Известно также устройство для защиты нефтегазопроводов и других подземных металлических соединений, принятое за прототип, выпускаемое в Минске на электротехническом заводе им. Козлова (см. техническое описание инструкция по эксплуатации ИВЕМ. 674512.004ТО, Минск -1988 год), включающее устройство катодной защиты высоковольтное (УКЗВ), содержащее разъединитель, установленный на опоре ЛЭП, выполненный в виде блок-бокса блок катодной защиты БКЗ, в котором размещены аппаратура катодной защиты и шкаф низкого напряжения с расположенными в нем низковольтными коммутационными аппаратами, аппаратурой защиты, автоматики, обогрева и учета. На крыше БКЗ расположены масляный силовой трансформатор и шкаф ввода, в котором размещены высоковольтные предохранители, на шкафу ввода устанавливаются вентильные разрядники и проходные изоляторы. Also known is a device for the protection of oil and gas pipelines and other underground metal compounds, adopted as a prototype, manufactured in Minsk at the Electrotechnical Plant named after Kozlova (see the technical description of the operating manual IVEM. 674512.004TO, Minsk -1988 year), including a high-voltage cathodic protection device (UKZV), containing a disconnector installed on the power transmission tower, made in the form of a block box cathodic protection unit BKZ, in which cathodic protection equipment and a low-voltage cabinet with low-voltage switching devices located therein, protection, automation, heating and metering equipment are located. An oil power transformer and an input cabinet are located on the roof of the BKZ, in which high-voltage fuses are located, valve arresters and bushing insulators are installed on the input cabinet.

Недостатками известного устройства являются неудобства при транспортировке к месту установки и монтаже, высокая себестоимость и материалоемкость, низкие надежность и эксплуатационные качества. The disadvantages of the known device are inconvenience during transportation to the place of installation and installation, high cost and material consumption, low reliability and performance.

Эти недостатки обусловлены наличием масляных трансформаторов, которые требуют постоянного контроля за состоянием масла, наружной установкой разъединителя, вызывающей неудобство обслуживания и блокировки с заземляющими ножами, отсутствие телемеханики и аварийной сигнализации. These shortcomings are due to the presence of oil transformers, which require constant monitoring of the condition of the oil, the external installation of a disconnector, which causes inconvenience to maintenance and blocking with grounding knives, the absence of telemechanics and alarm systems.

Техническим результатом, достигаемым настоящим изобретением, является улучшение эксплуатационных качеств, повышение надежности и снижение материалоемкости и себестоимости системы катодной защиты промышленных объектов. The technical result achieved by the present invention is to improve performance, increase reliability and reduce material consumption and cost of the cathodic protection system of industrial facilities.

Для достижения указанного технического результата в известной системе катодной защиты магистральных трубопроводов от коррозии, включающей разъединитель от ЛЭП, устройство катодной защиты высоковольтное, содержащее высоковольтный блок катодной защиты с силовым трансформатором, высоковольтными предохранителями, вентильными разрядниками от грозовых перенапряжений и проходными изоляторами, получающий питание от силового трансформатора низковольтный блок катодной защиты, в котором размещены станция катодной защиты с катодными и анодными выходами, аппаратура катодной защиты и низковольтные коммутационные аппараты, аппаратура защиты, автоматики, обогрева с автоматическим отключением, аппаратура учета, дверь с механической блокировкой, согласно изобретению устройство катодной защиты высоковольтное выполнено в виде размещенных в одном блок-боксе двух отсеков - низковольтного и высоковольтного, причем в высоковольтном отсеке установлен разъединитель от ЛЭП, снабженный механической блокировкой между ним и входной дверью в высоковольтный отсек, силовой трансформатор выполнен в виде сухого силового трансформатора, вентильные разрядники от грозовых перенапряжений снабжены ограничителями перенапряжении, причем вентильные разрядники от грозовых перенапряжений и ограничители перенапряжений снабжены счетчиками и указателями количества срабатываний, в низковольтном отсеке установлены источник гарантированного питания с понижающим трансформатором, аппаратура обогрева, выполненная в виде греющей панели с автоматическим отключением, счетчик моточасов, контролируемый вводным автоматом, измеритель защитного поляризационного потенциала на трубопроводе и комплекс средств телемеханики, кроме того, она снабжена блок-боксами контроля и управления, установленными около узлов задвижек трубопровода, и автоматическим клапаном для сброса давления, и сигнальной световой аппаратурой, причем клапан установлен в высоковольтном отсеке, а световая аппаратура - на крыше блок-бокса, при этом автоматический клапан, сбрасывающий давление, выполнен в виде расположенной в полу высоковольтного отсека рамы с поворотной лопаткой, соединенной с концевым выключателем, связанным с сигнальной световой аппаратурой, которая содержит лампу оранжевого цвета, защищенную сеткой, причем сигнальная световая аппаратура выполнена с возможностью излучения мигающего света, а измеритель защитного поляризационного потенциала на трубопроводе дополнительно содержит прерыватель тока и высокоомный вольтметр, прерыватель тока оснащен ручным и дистанционным средствами управления, в комплекс средств телемеханики входят системы телеуправления, телесигнализации, защиты от перенапряжения, срабатывания автоматического клапана, сбрасывающего давление воздуха при коротком замыкании, несанкционированного открывания дверей высоковольтного отсека, телерегулирования защитного потенциала трубопровода, телеизмерения выходного защитного потенциала, выходного тока и напряжения низковольтного отсека, линия связи, блок-бокс, выполненный с поддоном, установлен на фундаменте выполненном с приямком, комплекс средств телемеханики соединен с блок-боксами контроля и управления, установленными около узлов задвижек трубопровода. To achieve the specified technical result in the well-known cathodic protection system of trunk pipelines against corrosion, including a disconnector from the power transmission line, a high-voltage cathodic protection device containing a high-voltage cathodic protection unit with a power transformer, high-voltage fuses, valve arresters from lightning overvoltages and bushing insulators, powered by power transformer low-voltage cathodic protection unit, which houses a cathodic protection station with cathodic and ano outputs, cathodic protection equipment and low-voltage switching devices, protection equipment, automation, heating with automatic shutdown, metering equipment, door with mechanical interlock, according to the invention, the high-voltage cathodic protection device is made in the form of two compartments located in one block box - low-voltage and high-voltage and, in the high-voltage compartment, a disconnector from the power transmission line is installed, equipped with a mechanical lock between it and the entrance door to the high-voltage compartment, a power transformer p is made in the form of a dry power transformer, valve arresters from lightning surges are equipped with surge arresters, and valve arresters from lightning surges and surge arresters are equipped with counters and trip indicators, a guaranteed power supply with a step-down transformer is installed in the low-voltage compartment, heating equipment made in the form of heating panel with automatic shutdown, hour meter, controlled by an input machine, meter protective polarization potential on the pipeline and a set of telemechanics, in addition, it is equipped with control and control boxes installed near the nodes of the pipeline valves, and an automatic valve for relieving pressure, and signal light equipment, moreover, the valve is installed in the high-voltage compartment, and light equipment - on the roof of the block box, while the automatic valve, which relieves pressure, is made in the form of a frame located in the floor of the high-voltage compartment with a rotary blade connected to the end a switch associated with the signal light equipment, which contains an orange lamp, protected by a grid, and the signal light equipment is configured to emit flashing light, and the protective polarization potential meter on the pipeline further comprises a current chopper and a high-resistance voltmeter, the current chopper is equipped with manual and remote means control system, a set of telemechanics includes telecontrol systems, tele-alarms, surge protection, tripping automatic valve that relieves air pressure during a short circuit, unauthorized opening of doors of the high-voltage compartment, tele-regulation of the protective potential of the pipeline, telemetry of the output protective potential, output current and voltage of the low-voltage compartment, communication line, block box made with a pallet, mounted on a foundation made with a sump , a set of telemechanics is connected to the control and control blocks installed near the nodes of the pipeline valves.

Между отличительными признаками и достигнутым техническим результатом существует следующая причинно-следственная связь. Between the distinguishing features and the achieved technical result, there is the following causal relationship.

Выполнение устройства катодной защиты высоковольтного (УКЗВ) в установленном на фундаменте блок-боксе, состоящем из двух обогреваемых отсеков, соответственно, высоковольтного и низковольтного позволит, повысить эксплуатационные качества и снизить себестоимость системы в целом за счет удобства обслуживания, изготовления и транспортировки, а установка блок-бокса на приподнятый фундамент с приямком обеспечивает не только удобство обслуживания в зимний период при большом количестве снега, но и сохранит блок-бокс от попадания в него воды при весеннем таянии снега или паводка, при этом приямок гасит возможные горящие остатки при срабатывании автоматического клапана при коротком замыкании. Установка высоковольтного разъединителя от ЛЭП в высоковольтном отсеке повышает надежность обслуживания высоковольтного разъединителя, снижает себестоимость и повышает надежность системы в целом, поскольку установка высоковольтного разъединителя производится в заводских условиях в обогреваемом помещении. Кроме того, удобно выполнять блокировку с установленными здесь же заземляющими ножами, а отсутствие в закрытом, обогреваемом от работы силового трансформатора блок-боксе наледи на губках высоковольтного разъединителя ЛЭП в зимнее время позволит избежать повреждения высоковольтного разъединителя. Оснащение входной двери механической блокировкой между высоковольтным разъединителем ЛЭП и входной дверью повышает безопасность обслуживания, поскольку не позволяет войти в высоковольтный отсек при включенном высоковольтном разъединителе обслуживающему персоналу или сторонним лицам. Установка вентильных разрядников от грозовых перенапряжений не на опоре, как в объекте-прототипе, а в высоковольтном отсеке, и оснащение их комплектом ограничителей перенапряжений защищают систему в целом от коммутационных перенапряжений круглый год, причем вентильные разрядники от грозовых перенапряжении и ограничители перенапряжении оснащены счетчиками срабатывания, при этом порог срабатывания счетчиков на порядок точнее и ниже, чем у вентильных разрядников, что также исключает возможность перенапряжений и увеличит сохранность и долговечность оборудования. В предложенной системе катодной защиты магистральных трубопроводов от коррозии впервые применен сухой силовой трансформатор, позволяющий не только снизить материалоемкость установки в целом, но и исключить расходы на контроль и заливку трансформаторного масла и возможность взрыва маслобака, что также повышает эксплуатационные качества, надежность и снижает себестоимость предложенной системы. Снабжение высоковольтного отсека автоматическим клапаном, сбрасывающим давление, оснащенным сигнальной световой аппаратурой, установленной на крыше блок-бокса, выполненным в виде расположенной в полу с поддоном, частично гасящим выпавшие горящие остатки, в высоковольтном отсеке рамы с поворотной лопаткой, соединенной с концевым выключателем, связанным с сигнальной световой аппаратурой, выполненной в виде мигающей, защищенной сеткой лампой оранжевого цвета, позволяет постоянно контролировать рабочую ситуацию системы катодной защиты магистральных трубопроводов от коррозии, кроме того, при коротком замыкании и последующем загорании оборудования возникающая ударная волна горячего воздуха в объекте-прототипе могла выбить дверь и привести к пожару на трассе, в предложенной системе автоматический клапан сбрасывает давление путем поворота рамы, горячий воздух, искры и возможные горящие остатки, выброшенные через клапан, попадают сначала в поддон а затем в приямок, в котором обычно скапливается вода, и гаснут, при этом поворотная лопатка, срабатывающая при появлении ударной волны, поворачивается и освобождает упертый в нее шток концевого выключателя, подающего сигнал о работе аварийного клапана также и в систему телемеханики на отключение напряжения и на крыше блок-бокса загорается мигающая оранжевого цвета лампа аварийного отключения системы или ее неисправности. Прерывистый оранжевый цвет привлекает внимание при вертолетном облете трассы, представляя картину электро-химической защиты магистрального трубопровода. В целом оборудование низковольтного отсека предлагаемой системы катодной защиты магистральных трубопроводов от коррозии источником гарантированного питания с понижающим трансформатором, греющей панелью с автоматическим отключением, счетчиком моточасов, контролируемым вводным автоматом, измерителем защитного поляризационного потенциала на трубопроводе, комплексом средств телемеханики, в который входят системы телеуправления, телесигнализации, защиты от перенапряжения, срабатывания автоматического клапана, сбрасывающего давление, несанкционированного открывания дверей высоковольтного отсека, телерегулирования защитного потенциала трубопровода, телеизмерения выходного защитного потенциала, выходного тока и напряжения устройства катодной защиты низкого напряжения, а также связь комплекса средств телемеханики с блок-боксами контроля и управления трубопровода на узлах задвижек позволяет повысить ее эксплуатационные качества и обеспечить высокую надежность и долговечность как самой системы, так и защищаемого от коррозии магистрального трубопровода. The implementation of the cathodic protection device of high voltage (UKZV) in a block box installed on the foundation, consisting of two heated compartments, respectively, of high voltage and low voltage, will make it possible to improve operational qualities and reduce the cost of the system as a whole due to the convenience of maintenance, manufacture and transportation, and installation of the unit - a box on a raised foundation with a pit provides not only ease of maintenance in the winter period with a lot of snow, but also keeps the block box from getting water into it during spring snow or snowmelt, the pit dampens possible burning residues when the automatic valve is activated during a short circuit. Installing a high-voltage disconnector from a power line in a high-voltage compartment increases the reliability of servicing a high-voltage disconnector, reduces production costs and increases the reliability of the system as a whole, since the installation of a high-voltage disconnector is carried out in the factory in a heated room. In addition, it is convenient to carry out blocking with the grounding knives installed here, and the absence of ice on the lips of the high-voltage power line disconnector in the closed, heated from the power transformer in winter time will avoid damage to the high-voltage disconnector. Equipping the front door with a mechanical interlock between the high-voltage disconnector of the power transmission line and the front door increases the safety of service, since it does not allow service personnel or third parties to enter the high-voltage compartment when the high-voltage disconnector is on. The installation of surge arresters from lightning surges not on a support, as in the prototype object, but in the high-voltage compartment, and equipping them with a set of surge suppressors protect the entire system from switching surges all year round, with surge arresters and surge arresters equipped with trip counters, at the same time, the response threshold of the counters is an order of magnitude more accurate and lower than that of gate arresters, which also eliminates the possibility of overvoltage and will increase the safety and equipment durability. The proposed cathodic protection system of trunk pipelines against corrosion for the first time used a dry power transformer, which not only reduced the material consumption of the installation as a whole, but also eliminated the costs of monitoring and filling transformer oil and the possibility of an oil tank explosion, which also improves performance, reliability and reduces the cost of the proposed system. Supply of the high-voltage compartment with an automatic pressure-relief valve equipped with signal light equipment installed on the roof of the block box, made in the form of a floor with a pallet partially extinguishing burning residues in the high-voltage compartment of the frame with a rotary blade connected to the limit switch connected to the limit switch connected with signal light equipment, made in the form of a flashing orange lamp protected by a grid, it allows you to constantly monitor the working situation of the cathodic protection system trunk pipelines from corrosion, in addition, with a short circuit and subsequent fire of the equipment, the resulting shock wave of hot air in the prototype object could knock the door out and cause a fire on the route, in the proposed system, the automatic valve relieves pressure by turning the frame, hot air, sparks and possible burning residues ejected through the valve, fall first into the sump and then into the pit, in which water usually accumulates, and go out, while the rotary blade, which is triggered when a blow occurs wave, it turns and releases the rod of the limit switch, which is pressed into it, which sends a signal about the emergency valve operation also to the telemechanics system to turn off the voltage, and the orange emergency light of the system or its malfunction lights up on the roof of the block box. The intermittent orange color attracts attention during the helicopter flight of the route, presenting a picture of the electro-chemical protection of the main pipeline. In general, the equipment of the low-voltage compartment of the proposed system of cathodic protection of pipelines against corrosion by a guaranteed power supply with a step-down transformer, a heating panel with automatic shutdown, an hour meter controlled by an input automatic device, a meter of protective polarizing potential on the pipeline, a set of telemechanics, which includes remote control systems, remote alarm, overvoltage protection, automatic valve actuation, pressure relief f, unauthorized opening of the doors of the high-voltage compartment, tele-regulation of the protective potential of the pipeline, tele-measurement of the output protective potential, the output current and voltage of the low-voltage cathodic protection device, as well as the connection of the telemechanics complex with the control and control blocks of the pipeline on the valve nodes to improve its performance and ensure high reliability and durability of both the system itself and the main pipeline protected from corrosion.

По имеющимся у заявителя сведениям, совокупность существенных признаков заявляемого изобретения "система катодной защиты магистральных трубопроводов от коррозии" не известна из уровня техники, что позволяет сделать вывод о соответствии изобретения критерию "новизна". According to the information available to the applicant, the set of essential features of the claimed invention "cathodic protection system of pipelines against corrosion" is not known from the prior art, which allows us to conclude that the invention meets the criterion of "novelty."

По мнению заявителя, сущность заявляемого изобретения не следует главным образом из известного уровня техники, так как из него не выявляется вышеуказанное влияние на достигаемый технический результат - новое свойство объекта - совокупности признаков, которые отличают от прототипа заявляемое изобретение, что позволяет сделать вывод о соответствии изобретения "система катодной защиты магистральных трубопроводов от коррозии" критерию "изобретательский уровень". According to the applicant, the essence of the claimed invention does not follow mainly from the prior art, since it does not reveal the above effect on the achieved technical result - a new property of the object - a set of features that distinguish the claimed invention from the prototype, which allows us to conclude that the invention is consistent "system of cathodic protection of pipelines against corrosion" criterion of "inventive step".

Совокупность существенных признаков, характеризующих сущность изобретения, может быть многократно использована в производстве систем катодной защиты магистральных трубопроводов от коррозии или других широкомасштабных металлических объектов с получением технического результата, заключающегося в надежной защите упомянутых объектов от коррозии и надежной работе с высокими эксплуатационными качествами самой системы катодной защиты магистральных трубопроводов от коррозии. The set of essential features characterizing the essence of the invention can be repeatedly used in the production of cathodic protection systems for pipelines against corrosion or other large-scale metal objects to obtain a technical result consisting in reliable protection of the said objects from corrosion and reliable operation with high operational qualities of the cathodic protection system itself trunk pipelines against corrosion.

Сущность заявляемого изобретения поясняется примером конкретного выполнения, где:
на фиг. 1 - схематически изображено устройство катодной защиты высоковольтное (УКЗВ) в виде установленного на фундаменте блок-бокса, состоящего из двух отсеков, высоковольтного отсека и низковольтного;
на фиг. 2 - то же, вид сбоку;
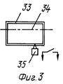
на фиг. 3 - автоматический клапан высоковольтного отсека;
на фиг. 4 - структурная схема системы катодной защиты магистральных трубопроводов от коррозии;
на фиг. 5 - принципиальная электрическая схема;
Система катодной защиты магистральных трубопроводов от коррозии, включает коридор коммуникаций 1 с вдольтрассовой ЛЭП 2, защищаемый трубопровод 3 с блок-боксами контроля и управления 4 на узлах задвижек 5, устройство катодной защиты высоковольтное (УКЗВ), которое представляет собой выполненный с транспортными полозьями блок-бокс 6, размещенный на фундаменте 7 с приямком 8. Блок-бокс 6 (УКЗВ) состоит из двух обогреваемых отсеков 9 и 10, соответственно, высоковольтного отсека 9 и низковольтного отсека 10. Высоковольтный отсек 9 содержит высоковольтный разъединитель 11 от ЛЭП 2 с блокированным заземляющим ножом 12, и сухой силовой трансформатор 13. В высоковольтном отсеке также размещены высоковольтные предохранители 14, вентильные разрядники 15 от грозовых перенапряжений и проходные изоляторы 16. Низковольтный отсек 10. получает питание от сухого силового трансформатора 13, расположенного в высоковольтном отсеке 9. Высоковольтный отсек 9 оснащен механической блокировкой 17 между высоковольтным разъединителем 11 от ЛЭП 2 и входной дверью 18. Вентильные разрядники 15 от грозовых перенапряжений оснащены комплектом ограничителей перенапряжений 19. Вентильные разрядники 15 от грозовых перенапряжений и ограничители перенапряжений 19 оснащены счетчиками срабатывания 20 и указателями 21. В низковольтном отсеке 10 расположены источник гарантированного питания 22 с понижающим трансформатором 23, греющая панель 24 с автоматическим отключением 25, счетчик моточасов 26, контролируемый вводным автоматом коммутационной аппаратуры 27, измеритель защитного поляризационного потенциала 28 на трубопроводе 3, комплекс средств телемеханики 29, связанный с блок-боксами контроля и управления 4 на узлах задвижек 5. Высоковольтный отсек 9 снабжен автоматическим клапаном 30, сбрасывающим давление воздуха при коротком замыкании с последующим возгоранием; оснащенным сигнальной световой аппаратурой 31, установленной на крыше блок-бокса 6 (УКЗВ). Автоматический клапан 30, сбрасывающий давление воздуха при коротком замыкании с последующим возгоранием, выполнен в виде расположенной в полу с поддоном 32 высоковольтного отсека 9 рамы 33 с поворотной лопаткой 34, соединенной с концевым выключателем 35, связанным с сигнальной световой аппаратурой 31. Сигнальная световая аппаратура 31 выполнена в виде мигающей, защищенной сеткой 36, лампы оранжевого цвета, запитаной посредством блок-контактов 37 вводного автомата и контактов реле контроля напряжений коммутационной аппаратуры 38 низковольтного отсека 10. Измеритель защитного поляризационного потенциала на трубопроводе 3 выполнен в виде прерывателя тока 39 и высокоомного вольтметра 40. В низковольтном отсеке 10 находится также станция катодной защиты 41 с катодным 42 и анодным 43 выходами, аппаратура катодной защиты 45 и низковольтные коммутационные аппараты 46. Прерыватель тока 39 оснащен ручным 47 и дистанционным через систему телемеханики средствами управления. В комплекс средств телемеханики входят линии связи 44, системы телеуправления, телесигнализации, защиты от перенапряжения, срабатывания автоматического клапана 30, сбрасывающего давление, несанкционированного открывания дверей высоковольтного отсека, телерегулирования защитного потенциала трубопровода, телеизмерения выходного защитного потенциала, выходного тока и напряжения низковольтного отсека.
The essence of the claimed invention is illustrated by an example of a specific implementation, where:
in FIG. 1 - schematically shows a high voltage cathodic protection device (UKZV) in the form of a block box installed on the foundation, consisting of two compartments, a high voltage compartment and a low voltage;
in FIG. 2 - the same side view;
in FIG. 3 - automatic valve of the high voltage compartment;
in FIG. 4 is a structural diagram of a cathodic protection system for trunk pipelines against corrosion;
in FIG. 5 - circuit diagram;
The system of cathodic protection of pipelines against corrosion, includes a communications corridor 1 with a long-distance power transmission line 2, a protected pipeline 3 with control and control blocks 4 at the valve nodes 5, a high-voltage cathodic protection device (UKZV), which is a block-made with transport skids box 6, placed on the foundation 7 with a pit 8. Block box 6 (UKZV) consists of two heated compartments 9 and 10, respectively, of a high-voltage compartment 9 and a low-voltage compartment 10. High-voltage compartment 9 contains a high-voltage a disconnector 11 from the power line 2 with a blocked grounding knife 12, and a dry power transformer 13. The high-voltage compartment also contains high-voltage fuses 14, valve arresters 15 from lightning surges and bushing insulators 16. The low-voltage compartment 10. receives power from a dry power transformer 13, located in the high-voltage compartment 9. The high-voltage compartment 9 is equipped with a mechanical interlock 17 between the high-voltage disconnector 11 from the power transmission line 2 and the front door 18. Valve arresters 15 from lightning overvoltages equipped with a set of surge arresters 19. Gate arresters 15 from lightning surges and surge arresters 19 are equipped with trip counters 20 and indicators 21. In the low-voltage compartment 10 there is a guaranteed power supply 22 with step-down transformer 23, a heating panel 24 with automatic shutdown 25, hour meter 26, controlled by the introductory automaton of the switching equipment 27, a protective polarization potential meter 28 on the pipe 3, a set of telemechanics 29, are connected with a flow control and control boxes 4 on nodes valve 5. The high-voltage compartment 9 is provided with an automatic valve 30, the air pressure is reset during a short circuit with subsequent ignition; equipped with signal light equipment 31 mounted on the roof of the block-box 6 (UKZV). The automatic valve 30, which relieves air pressure during a short circuit with subsequent fire, is made in the form of a frame 33 located on the floor with a tray 32 of a high-voltage compartment 9 with a rotary blade 34 connected to a limit switch 35 connected to the signal light equipment 31. Signal light equipment 31 made in the form of a flashing, protected by a grid 36, an orange lamp powered by block contacts 37 of the input machine and the contacts of the voltage monitoring relay of the switching equipment 38 low voltage compartment 10. The protective polarization potential meter on the pipeline 3 is made in the form of a current chopper 39 and a high-resistance voltmeter 40. In the low-voltage compartment 10 there is also a cathodic protection station 41 with cathodic 42 and anodic 43 outputs, cathodic protection equipment 45 and low-voltage switching devices 46. The chopper current 39 is equipped with a manual 47 and remote control via a telemechanics system. The range of telemechanics includes communication lines 44, remote control systems, tele-signaling systems, overvoltage protection, automatic valve 30 actuation, which relieves pressure, unauthorized opening of the doors of the high-voltage compartment, teleregulating the protective potential of the pipeline, measuring the output protective potential, output current and voltage of the low-voltage compartment.

Комплектация и сборка УКЗВ полностью осуществляется на заводе-изготовителе. The assembly and assembly of the UKZV is fully carried out at the factory.

Работа системы катодной защиты магистральных трубопроводов от коррозии осуществляется следующим образом. The operation of the cathodic protection system of pipelines against corrosion is as follows.

Блок-бокс УКЗВ на салазках транспортируется к месту установки на подготовленный заранее фундамент 7 с приямком 8. От ЛЭП 2 ток поступает на УКЗВ 6 к сухому силовому трансформатору 13 высоковольтного отсека 9, от которого запитывается источник гарантированного питания с понижающим трансформатором 23 низковольтного отсека 10, обеспечивающим работу аппаратуры станции катодной зашиты 41 с катодным 42 и анодным 43 выходами, аппаратуры защиты, автоматики, обогрева и учета. При передаче текущей информации аварийной ситуации или сбое срабатывает аппаратура защиты, и комплекс средств телемеханики, которые передают сигналы по линии связи 44 в блок-боксы контроля и управления трубопровода на узлах задвижек. При коротком замыкании с последующим возгоранием автоматический клапан 30 сбрасывает давление воздуха посредством поворота рамы 33. Поворотная лопатка 34, срабатывающая при появлении ударной волны, поворачивается и освобождает упертый в нее шток концевого выключателя 35, подающего сигнал о работе аварийного клапана также и в систему телемеханики на отключение напряжения, а на крыше блок-бокса УКЗВ 6 загорается мигающая оранжевого цвета лампа аварийного отключения системы или ее неисправности. Прерывистый оранжевый цвет привлекает внимание при вертолетном облете трассы и позволяет обслуживающей бригаде легко отыскать место поломки с вертолета в любое время суток и устранить неисправность в кротчайшее время независимо от удаленности или недоступности места нахождения УКЗВ. При контрольном вертолетном облете трассы трубопровода наличие мигающей оранжевого цвета лампы позволяет представить картину работы системы катодной защиты магистральных трубопроводов
Предложенная система катодной защиты обладает улучшенными эксплуатационными качествами и повышенной надежностью, снижает себестоимость системы катодной защиты промышленных объектов, а также исключает пожары на трассах магистральных трубопроводов, повышая тем самым экологическую защиту.
The UKZV block box on the rails is transported to the installation site on a foundation 7 prepared in advance with a pit 8. From the power transmission line 2, the current flows to UKZV 6 to the dry power transformer 13 of the high-voltage compartment 9, from which the guaranteed power supply is supplied with a step-down transformer 23 of the low-voltage compartment 10, providing operation of the equipment of the cathodic protection station 41 with cathodic 42 and anode 43 outputs, protection equipment, automation, heating and metering. When transmitting current information of an emergency or a failure, the protection equipment is activated, and a set of telemechanics that transmit signals via communication line 44 to the block control boxes of the pipeline on the valve nodes. In the event of a short circuit and subsequent ignition, the automatic valve 30 relieves the air pressure by turning the frame 33. The rotary blade 34, which is triggered by the appearance of a shock wave, rotates and releases the rod of the limit switch 35, which is in contact with it, which also signals the emergency valve to the telemechanics system a power outage, and on the roof of the UKZV 6 block box, a flashing orange lamp for system emergency shutdown or its malfunction lights up. The intermittent orange color attracts attention during the helicopter flight of the route and allows the service team to easily find the place of breakdown from the helicopter at any time of the day and eliminate the malfunction in the shortest time, regardless of the distance or inaccessibility of the location of the VHF. During the control helicopter overflight of the pipeline route, the presence of a flashing orange lamp allows to present a picture of the cathodic protection system of the main pipelines
The proposed cathodic protection system has improved performance and increased reliability, reduces the cost of the cathodic protection system of industrial facilities, and also eliminates fires on the routes of trunk pipelines, thereby increasing environmental protection.

Claims (12)

1. Система катодной защиты магистральных трубопроводов от коррозии, включающая разъединитель от ЛЭП, устройство катодной защиты высоковольтное, содержащее высоковольтный блок катодной защиты с силовым трансформатором, высоковольтными предохранителями, вентильными разрядниками от грозовых перенапряжений и проходными изоляторами, получающий питание от силового трансформатора низковольтный блок катодной защиты, в котором размещены станция катодной защиты с катодными и анодными выходами, аппаратура катодной защиты и низковольтные коммутационные аппараты, аппаратура защиты, автоматики, обогрева с автоматическим отключением, аппаратура учета, дверь с механической блокировкой, отличающаяся тем, что устройство катодной защиты высоковольтное выполнено в виде размещенных в одном блок-боксе двух отсеков - низковольтного и высоковольтного, причем в высоковольтном отсеке установлен разъединитель от ЛЭП, снабженный механической блокировкой между ним и входной дверью в высоковольтный отсек, силовой трансформатор выполнен в виде сухого силового трансформатора, вентильные разрядники от грозовых перенапряжений снабжены ограничителями перенапряжений, причем вентильные разрядники от грозовых перенапряжений и ограничители перенапряжений снабжены счетчиками и указателями количества срабатываний, в низковольтном отсеке установлены источник гарантированного питания с понижающим трансформатором, аппаратура обогрева, выполненная в виде греющей панели с автоматическим отключением, счетчик моточасов, контролируемый вводным автоматом, измеритель защитного поляризационного потенциала на трубопроводе и комплекс средств телемеханики. 1. The system of cathodic protection of pipelines against corrosion, including a disconnector from power lines, a high-voltage cathodic protection device containing a high-voltage cathodic protection unit with a power transformer, high-voltage fuses, surge arresters from lightning overvoltages and bushing insulators, powered by a power transformer, a low-voltage cathodic protection unit , which houses a cathodic protection station with cathodic and anodic outputs, cathodic protection equipment and low-voltage mutation devices, protection equipment, automation, heating with automatic shutdown, metering equipment, a door with a mechanical lock, characterized in that the high-voltage cathodic protection device is made in the form of two compartments located in one block box - a low-voltage and a high-voltage one, and is installed in the high-voltage compartment a disconnector from the power line, equipped with a mechanical interlock between it and the entrance door to the high-voltage compartment, the power transformer is made in the form of a dry power transformer, valve lightning surge arresters are equipped with surge suppressors, and surge arresters and surge suppressors are equipped with counters and trip indicators, a guaranteed power supply with a step-down transformer is installed in the low-voltage compartment, heating equipment made in the form of a heating panel with automatic shutdown, hour meter controlled by an introductory machine, a protective polarization potential meter on the pipeline and comp Lex of telemechanics. 2. Система по п.1, отличающаяся тем, что она снабжена блок-боксами контроля и управления, установленными около узлов задвижек трубопровода. 2. The system according to claim 1, characterized in that it is equipped with control and control blocks, installed near the nodes of the pipeline valves. 3. Система по п. 1, отличающаяся тем, что она снабжена автоматическим клапаном для сброса давления и сигнальной световой аппаратурой, причем клапан установлен в высоковольтном отсеке, а световая аппаратура - на крыше блок-бокса. 3. The system according to claim 1, characterized in that it is equipped with an automatic valve for depressurizing and signal light equipment, moreover, the valve is installed in the high-voltage compartment, and the light equipment is on the roof of the block box. 4. Система катодной защиты магистральных трубопроводов от коррозии по любому из пп.1 или 3, отличающаяся тем, что автоматический клапан, сбрасывающий давление, выполнен в виде расположенной в полу высоковольтного отсека рамы с поворотной лопаткой, соединенной с концевым выключателем, связанным с сигнальной световой аппаратурой. 4. The system of cathodic protection of pipelines against corrosion according to any one of claims 1 or 3, characterized in that the automatic valve, which relieves pressure, is made in the form of a frame located in the floor of the high-voltage compartment with a rotary blade connected to the limit switch associated with the signal light equipment. 5. Система по п.1, или 3, или 4, отличающаяся тем, что сигнальная световая аппаратура содержит лампу оранжевого цвета, защищенную сеткой, причем сигнальная световая аппаратура выполнена с возможностью излучения мигающего света. 5. The system according to claim 1, or 3, or 4, characterized in that the signal light apparatus comprises an orange lamp protected by a grid, and the signal light apparatus is configured to emit flashing light. 6. Система катодной защиты магистральных трубопроводов от коррозии по п. 1, отличающаяся тем, что измеритель защитного поляризационного потенциала на трубопроводе дополнительно содержит прерыватель тока и высокоомный вольтметр. 6. The cathodic protection system of pipelines against corrosion according to claim 1, characterized in that the protective polarization potential meter on the pipeline further comprises a current chopper and a high-resistance voltmeter. 7. Система катодной защиты магистральных трубопроводов от коррозии по любому из пп.1 или 6, отличающаяся тем, что прерыватель тока оснащен ручным и дистанционным средствами управления. 7. The system of cathodic protection of pipelines against corrosion according to any one of claims 1 or 6, characterized in that the current chopper is equipped with manual and remote controls. 8. Система катодной защиты магистральных трубопроводов от коррозии по п. 1, отличающаяся тем, что в комплекс средств телемеханики входят системы телеуправления, телесигнализации, защиты от перенапряжения, срабатывания автоматического клапана, сбрасывающего давление воздуха при коротком замыкании, несанкционированного открывания дверей высоковольтного отсека, телерегулирования защитного потенциала трубопровода, телеизмерения выходного защитного потенциала, выходного тока и напряжения низковольтного отсека, линия связи. 8. The cathodic protection system of trunk pipelines against corrosion according to claim 1, characterized in that the telemechanics complex includes telecontrol systems, tele-alarms, overvoltage protection, an automatic valve that relieves air pressure during a short circuit, unauthorized opening of the doors of the high-voltage compartment, teleregulation protective potential of the pipeline, telemetry of the output protective potential, output current and voltage of the low-voltage compartment, communication line. 9. Система катодной защиты магистральных трубопроводов от коррозии по п. 1, отличающаяся тем, что блок-бокс установлен на фундаменте. 9. The system of cathodic protection of pipelines against corrosion according to claim 1, characterized in that the block box is installed on the foundation. 10. Система катодной защиты магистральных трубопроводов от коррозии по любому из пп.1 или 9, отличающаяся тем, что фундамент блок-бокса выполнен с приямком. 10. The system of cathodic protection of pipelines against corrosion according to any one of claims 1 or 9, characterized in that the base of the block box is made with a pit. 11. Система катодной защиты магистральных трубопроводов от коррозии по любому из пп. 1, или 9, или 10, отличающаяся тем, что блок-бокс выполнен с поддоном. 11. The system of cathodic protection of pipelines against corrosion according to any one of paragraphs. 1, or 9, or 10, characterized in that the block box is made with a pallet. 12. Система по п.1, или 2, или 8, отличающаяся тем, что комплекс средств телемеханики соединен с блок-боксами контроля и управления, установленными около узлов задвижек трубопровода. 12. The system according to claim 1, or 2, or 8, characterized in that the complex of telemechanics is connected to the control and control blocks installed near the nodes of the pipeline valves.
RU2000108690/02A 2000-04-11 2000-04-11 Cathode protection system for main pipe-lines against corrosion RU2161663C1 (en)

Priority Applications (1)

Application Number Priority Date Filing Date Title
RU2000108690/02A RU2161663C1 (en) 2000-04-11 2000-04-11 Cathode protection system for main pipe-lines against corrosion

Applications Claiming Priority (1)

Application Number Priority Date Filing Date Title
RU2000108690/02A RU2161663C1 (en) 2000-04-11 2000-04-11 Cathode protection system for main pipe-lines against corrosion

Publications (1)

Publication Number Publication Date
RU2161663C1 true RU2161663C1 (en) 2001-01-10

Family

ID=20232992

Family Applications (1)

Application Number Title Priority Date Filing Date
RU2000108690/02A RU2161663C1 (en) 2000-04-11 2000-04-11 Cathode protection system for main pipe-lines against corrosion

Country Status (1)

Country Link
RU (1) RU2161663C1 (en)

Cited By (7)

* Cited by examiner, † Cited by third party
Publication number Priority date Publication date Assignee Title
RU2233912C1 (en) * 2003-10-01 2004-08-10 Открытое акционерное общество "Татнефть" им. В.Д. Шашина Method of protection against corrosion of the pipelines transporting the high watering petroleum
RU2303123C1 (en) * 2006-09-27 2007-07-20 Открытое акционерное общество "Татнефть" им. В.Д. Шашина Method for joint well and oil pipeline usage
RU2303122C1 (en) * 2006-09-27 2007-07-20 Открытое акционерное общество "Татнефть" им. В.Д. Шашина Operation method for oil discharge and oil reservoir pressure maintenance systems
RU2350690C1 (en) * 2007-09-13 2009-03-27 Общество с ограниченной ответственностью "Центр Инновационных Технологий-ЭС" Transformer for cathodic protection
RU2441943C1 (en) * 2011-01-13 2012-02-10 Общество с ограниченной ответственностью Научно-исследовательский институт "Наукоемкие технологии" Adaptive station of cathode corrosion protection of pipelines
RU2456375C1 (en) * 2011-05-24 2012-07-20 Открытое акционерное общество по монтажу и наладке электрооборудования и средств автоматизации электростанций и подстанций "Электроцентромонтаж" Automatic station of cathode protection of metal structures against corrosion
RU178122U1 (en) * 2017-10-02 2018-03-23 Федеральное государственное бюджетное образовательное учреждение высшего образования "Санкт-Петербургский университет Государственной противопожарной службы Министерства Российской Федерации по делам гражданской обороны, чрезвычайным ситуациям и ликвидации последствий стихийных бедствий ELECTROCHEMICAL CORROSION PROTECTION DEVICE FOR OIL AND GAS EQUIPMENT

Citations (3)

* Cited by examiner, † Cited by third party
Publication number Priority date Publication date Assignee Title
FR2589486A1 (en) * 1985-07-23 1987-05-07 Gaz De France DEVICE FOR THE CATHODIC PROTECTION OF AN APPLIED CURRENT STRUCTURE
SU1210487A1 (en) * 1984-06-26 1994-01-15 Научно-Исследовательский Институт По Передаче Электроэнергии Постоянным Током Высокого Напряжения Automatic installation for cathode protection
RU2051989C1 (en) * 1995-06-22 1996-01-10 Отто Павлович Гейдерих Apparatus for cathode protection of metallic and/or metal containing underground constructions from corrosion and method of making apparatus for cathode protection of metallic and/or metal containing constructions from corrosions

Patent Citations (3)

* Cited by examiner, † Cited by third party
Publication number Priority date Publication date Assignee Title
SU1210487A1 (en) * 1984-06-26 1994-01-15 Научно-Исследовательский Институт По Передаче Электроэнергии Постоянным Током Высокого Напряжения Automatic installation for cathode protection
FR2589486A1 (en) * 1985-07-23 1987-05-07 Gaz De France DEVICE FOR THE CATHODIC PROTECTION OF AN APPLIED CURRENT STRUCTURE
RU2051989C1 (en) * 1995-06-22 1996-01-10 Отто Павлович Гейдерих Apparatus for cathode protection of metallic and/or metal containing underground constructions from corrosion and method of making apparatus for cathode protection of metallic and/or metal containing constructions from corrosions

Non-Patent Citations (1)

* Cited by examiner, † Cited by third party
Title
Техническое описание и инструкция по эксплуатации ИВЕМ 6745 12.004 ТО, устройства распределительные катодной защиты. УКЗВ и УКЗН. - Минск, 1988. *

Cited By (7)

* Cited by examiner, † Cited by third party
Publication number Priority date Publication date Assignee Title
RU2233912C1 (en) * 2003-10-01 2004-08-10 Открытое акционерное общество "Татнефть" им. В.Д. Шашина Method of protection against corrosion of the pipelines transporting the high watering petroleum
RU2303123C1 (en) * 2006-09-27 2007-07-20 Открытое акционерное общество "Татнефть" им. В.Д. Шашина Method for joint well and oil pipeline usage
RU2303122C1 (en) * 2006-09-27 2007-07-20 Открытое акционерное общество "Татнефть" им. В.Д. Шашина Operation method for oil discharge and oil reservoir pressure maintenance systems
RU2350690C1 (en) * 2007-09-13 2009-03-27 Общество с ограниченной ответственностью "Центр Инновационных Технологий-ЭС" Transformer for cathodic protection
RU2441943C1 (en) * 2011-01-13 2012-02-10 Общество с ограниченной ответственностью Научно-исследовательский институт "Наукоемкие технологии" Adaptive station of cathode corrosion protection of pipelines
RU2456375C1 (en) * 2011-05-24 2012-07-20 Открытое акционерное общество по монтажу и наладке электрооборудования и средств автоматизации электростанций и подстанций "Электроцентромонтаж" Automatic station of cathode protection of metal structures against corrosion
RU178122U1 (en) * 2017-10-02 2018-03-23 Федеральное государственное бюджетное образовательное учреждение высшего образования "Санкт-Петербургский университет Государственной противопожарной службы Министерства Российской Федерации по делам гражданской обороны, чрезвычайным ситуациям и ликвидации последствий стихийных бедствий ELECTROCHEMICAL CORROSION PROTECTION DEVICE FOR OIL AND GAS EQUIPMENT

Similar Documents

Publication Publication Date Title
US11469592B1 (en) Method and systems for electromagnetic protection with persistent self monitoring and cybersecure local and remote status report
KR100954604B1 (en) Fire Protection Self-Generator
KR102309900B1 (en) The iot-based contactless lightning arrester diagnostic device and its management system using the device
US10938204B1 (en) System and method for detecting and isolating an electromagnetic pulse for protection of a monitored infrastructure
CN106267627A (en) A kind of novel transformer explosive fire accident fire extinguishing system
CN107681779A (en) One or two fusion high-pressure vacuum breakers and its monitoring method, system
RU2161663C1 (en) Cathode protection system for main pipe-lines against corrosion
US20200383248A1 (en) Electromagnetic mitigation modules for public utility facilities
CN109876333A (en) An intelligent substation arc detection and explosion suppression system and method
CN101350514B (en) Current-limiting arc-extinguishing shunted exciter tripping type earthing short circuit protection device
CN204967249U (en) Be applied to railway system's intelligent power lightning prevention box
CN203554069U (en) An outdoor illumination power distribution cabinet protection controller
CN106297146A (en) Transforming plant protecting system
CN206762069U (en) A kind of novel transformer explosive fire accident fire extinguishing system
CN103516053A (en) Outdoor lighting power distribution cabinet protection controller
CN206148828U (en) Safe industry maintenance box
CN206922507U (en) A kind of intelligent integrated switch board
KR102115346B1 (en) Prevention Device of Gas Recovery for Gas Insulated Switchgear
RU2189681C1 (en) Factory-assembled transformer substation
CN105756913A (en) Multifunctional control cabinet for rainwater pumping station
RU2170485C1 (en) Distribution system for sectionalizing power transmission line
CN201259841Y (en) Lagged type sensor for breaking when cover opening
CN213304807U (en) Box-type substation fire detection alarm system
RU2406199C1 (en) DEVICE FOR SECTIONING AIR AND CABLE LINES FOR 35 kV POWER SUPPLY SYSTEMS
KR20110006673U (en) Apparatus for detecting malfunction on outdoor electric facilities

Legal Events

Date Code Title Description
MM4A The patent is invalid due to non-payment of fees

Effective date: 20050412

NF4A Reinstatement of patent
QB4A Licence on use of patent

Effective date: 20070206

MM4A The patent is invalid due to non-payment of fees

Effective date: 20090412