RU2156103C2 - Устройство, реагирующее на уровень жидкости в электронагревательном приборе, и электрический чайник - Google Patents
Устройство, реагирующее на уровень жидкости в электронагревательном приборе, и электрический чайник Download PDFInfo
- Publication number
- RU2156103C2 RU2156103C2 RU97118601A RU97118601A RU2156103C2 RU 2156103 C2 RU2156103 C2 RU 2156103C2 RU 97118601 A RU97118601 A RU 97118601A RU 97118601 A RU97118601 A RU 97118601A RU 2156103 C2 RU2156103 C2 RU 2156103C2
- Authority
- RU
- Russia
- Prior art keywords
- tube
- liquid level
- pressure
- power source
- heating element
- Prior art date
Links
Images
Classifications
-
- G—PHYSICS
- G01—MEASURING; TESTING
- G01F—MEASURING VOLUME, VOLUME FLOW, MASS FLOW OR LIQUID LEVEL; METERING BY VOLUME
- G01F23/00—Indicating or measuring liquid level or level of fluent solid material, e.g. indicating in terms of volume or indicating by means of an alarm
- G01F23/14—Indicating or measuring liquid level or level of fluent solid material, e.g. indicating in terms of volume or indicating by means of an alarm by measurement of pressure
- G01F23/16—Indicating, recording, or alarm devices being actuated by mechanical or fluid means, e.g. using gas, mercury, or a diaphragm as transmitting element, or by a column of liquid
- G01F23/162—Indicating, recording, or alarm devices being actuated by mechanical or fluid means, e.g. using gas, mercury, or a diaphragm as transmitting element, or by a column of liquid by a liquid column
-
- A—HUMAN NECESSITIES
- A47—FURNITURE; DOMESTIC ARTICLES OR APPLIANCES; COFFEE MILLS; SPICE MILLS; SUCTION CLEANERS IN GENERAL
- A47J—KITCHEN EQUIPMENT; COFFEE MILLS; SPICE MILLS; APPARATUS FOR MAKING BEVERAGES
- A47J31/00—Apparatus for making beverages
- A47J31/44—Parts or details or accessories of beverage-making apparatus
- A47J31/54—Water boiling vessels in beverage making machines
- A47J31/56—Water boiling vessels in beverage making machines having water-level controls; having temperature controls
Landscapes
- Physics & Mathematics (AREA)
- Fluid Mechanics (AREA)
- General Physics & Mathematics (AREA)
- Engineering & Computer Science (AREA)
- Food Science & Technology (AREA)
- Cookers (AREA)
Abstract
Изобретение относится преимущественно к электрическому чайнику. Устройство, реагирующее на уровень жидкости в резервуаре (2), включающем электронагревательный элемент (7), содержащее трубку (3), нижний конец которой сообщается с жидкостью, отличается тем, что верхний конец трубки (3) соединен с элементом, чувствительным к давлению внутри трубки (3) и соединенным электрически с источником электропитания электронагревательного элемента (7) для отсоединения источника питания при уменьшении давления внутри трубки (3) ниже определенного порога, соответствующего минимальному уровню жидкости. Устройство полностью исключает опасность перегрева, которая может привести к повреждению чайника. 2 с. и 4 з.п. ф-лы, 3 ил.
Description
Изобретение относится к устройству, реагирующему на уровень жидкости в резервуаре, включающем электронагревательный элемент.
Изобретение относится преимущественно к электрическому чайнику, снабженному указанным устройством, но не ограничивается использованием только для чайников.
Во избежание перегрева и разрушения нагревательного элемента, а также расплавления корпуса чайника в случае, если он сделан из пластмассы, уровень воды в электрическом чайнике не должен опускаться ниже определенного порога.
Поэтому электрические чайники содержат предохранительное устройство, которое отключает нагревательный элемент от источника электропитания. Обычно эту функцию выполняет чувствительное к температуре устройство типа плавкого предохранителя или температурного ограничителя.
Для возвращения чайника в работоспособное состояние предохранитель нужно заменить, а температурный ограничитель установить в исходное положение, что неудобно для пользователя.
Целью изобретения является создание устройства, которое реагирует на уровень жидкости в резервуаре и управляет отключением нагревательного элемента от источника электропитания при понижении уровня жидкости ниже заданного порога.
Изобретение касается устройства, реагирующего на уровень жидкости в резервуаре, включающем электронагревательный элемент, причем это устройство содержит трубку, нижний конец которой сообщается с жидкостью.
Согласно изобретению это устройство отличается тем, что верхний конец трубки соединен с элементом, чувствительным к давлению внутри трубки, причем этот элемент электрически соединен с источником электропитания электронагревательного элемента для отсоединения источника питания при уменьшении давления внутри трубки ниже определенного порога, соответствующего минимальному уровню жидкости.
При наполнении резервуара жидкость в трубке поднимается и сжимает массу воздуха, находящуюся между поверхностью жидкости, находящейся в трубке, и элементом, чувствительным к давлению.
Когда уровень жидкости понижается, эта масса воздуха расширяется, и чувствительный к давлению элемент реагирует на уменьшение давления.
Таким образом, если чувствительный элемент обнаруживает минимальное давление, соответствующее чрезмерно низкому уровню жидкости, он дает команду на отключение электронагревательного элемента от источника электропитания.
Чувствительный к давлению элемент предпочтительно является мембранным переключателем.
Изобретение также касается электрического чайника, снабженного устройством, реагирующим на уровень воды, указанного типа.
Указанное устройство является надежным в работе и не имеет недостатков, присущих используемым в настоящее время устройствам, чувствительным к температуре.
Другие особенности и преимущества изобретения станут более очевидны из дальнейшего описания.
На сопровождающих чертежах, приведенных в качестве примера, не ограничивающего объем изобретения.
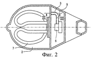
Фиг. 1 изображает разрез вертикальной плоскостью электрического чайника, снабженного устройством, реагирующим на уровень воды, согласно настоящему изобретению,
фиг.2 - разрез по линии II-II на фиг.1 и
фиг.3 - разрез по линии III-III на фиг.2.
фиг.2 - разрез по линии II-II на фиг.1 и
фиг.3 - разрез по линии III-III на фиг.2.
В варианте осуществления изобретения, показанном на фиг.1 и 2, устройство 1, реагирующее на уровень жидкости в резервуаре 2 чайника, содержит трубку 3, нижний конец 4 которой сообщается с жидкостью.
В соответствии с изобретением верхний конец 5 трубки 3 соединен с элементом 6, чувствительным к давлению внутри трубки 3. Элемент 6 электрически соединен с источником электропитания электронагревательного элемента 7, расположенного у основания резервуара 2, и обеспечивает отключение электропитания при уменьшении давления внутри трубки 3 ниже определенного порога, соответствующего минимальному уровню жидкости.
Чувствительный к давлению элемент 6 предпочтительно представляет собой мембранный переключатель.
Из-за относительно большого тока, потребляемого элементом 7, чувствительный к давлению элемент 6 электрически соединен с источником питания элемента 7 через реле 8.
В рассматриваемом примере чувствительный к давлению элемент 6 расположен в отсеке 9 чайника, отделенном от резервуара 2, заполняемого водой, а трубка 3 расположена в отсеке 9 по существу вертикально.
Нижний конец 4 трубки 3 изогнут и выходит в резервуар вблизи его дна 10 ниже нагревательного элемента 7.
Устройство работает следующим образом. При наполнении резервуара 2 чайника вода в трубке 3 поднимается и сжимает воздух, находящийся между поверхностью воды в трубке и реагирующей на давление мембраной переключателя 6. Под действием давления, создаваемого сжатым воздухом, мембрана деформируется и переключатель 6 устанавливается в положение, при котором нагревательный элемент 7 соединен с источником электропитания.
Когда уровень воды уменьшается, находящийся в трубке 3 воздух расширяется. При снижении уровня воды ниже определенного порога давление, действующее на мембрану переключателя 6, становится недостаточным. При этом переключатель 6 через реле 8 отключает нагревательный элемент 7 от источника электропитания.
Таким образом, полностью исключается опасность перегрева, который может привести к повреждению чайника и создать пожароопасную ситуацию.
Изобретение не ограничивается описанным примером и допускает различные изменения в пределах его объема. Соответственно, изобретение может быть использовано в любом приборе для нагревания жидкости.
Claims (6)
1. Устройство, реагирующее на уровень жидкости в электронагревательном приборе, включающем электрический нагревательный элемент (7), содержащее трубку (3), нижний конец которой сообщается с жидкостью, отличающееся тем, что верхний конец трубки (3) соединен с элементом (6), чувствительным к давлению внутри трубки (3), при этом указанный чувствительный к давлению элемент (6) электрически соединен с источником электропитания электрического нагревательного элемента (7) для отсоединения источника питания при уменьшении давления внутри трубки (3) ниже определенного порога давления, соответствующего минимальному уровню жидкости.
2. Устройство по п.1, отличающееся тем, что чувствительный к давлению элемент (6) является мембранным переключателем.
3. Устройство по п.1 или 2, отличающееся тем, что чувствительный к давлению элемент (6) электрически соединен с источником электропитания нагревательного элемента через реле (8).
4. Электрический чайник, содержащий устройство, реагирующее на уровень жидкости, по любому из пп.1 - 3.
5. Чайник по п.4, отличающийся тем, что чувствительный к давлению элемент (6) размещен в отсеке (9), отделенном от заполняемого водой резервуара (2) чайника, а трубка 3 расположена в отсеке (9) по существу вертикально.
6. Чайник по п.5, отличающийся тем, что нижний конец трубки (3) выходит в резервуар (2) вблизи его дна.
Applications Claiming Priority (2)
| Application Number | Priority Date | Filing Date | Title |
|---|---|---|---|
| FR9613261 | 1996-10-30 | ||
| FR9613261A FR2755234B1 (fr) | 1996-10-30 | 1996-10-30 | Dispositif de detection du niveau d'eau dans un appareil de chauffage electrique |
Publications (2)
| Publication Number | Publication Date |
|---|---|
| RU97118601A RU97118601A (ru) | 1999-07-20 |
| RU2156103C2 true RU2156103C2 (ru) | 2000-09-20 |
Family
ID=9497182
Family Applications (1)
| Application Number | Title | Priority Date | Filing Date |
|---|---|---|---|
| RU97118601A RU2156103C2 (ru) | 1996-10-30 | 1997-10-30 | Устройство, реагирующее на уровень жидкости в электронагревательном приборе, и электрический чайник |
Country Status (3)
| Country | Link |
|---|---|
| EP (1) | EP0840099A1 (ru) |
| FR (1) | FR2755234B1 (ru) |
| RU (1) | RU2156103C2 (ru) |
Cited By (1)
| Publication number | Priority date | Publication date | Assignee | Title |
|---|---|---|---|---|
| RU2335224C2 (ru) * | 2002-02-26 | 2008-10-10 | Стрикс Лимитед | Нагревательный прибор для жидкости (варианты), управляющий компонент (варианты), закрытый электронагреватель (варианты), способ изготовления закрытого электронагревателя и комбинированный электронагреватель |
Families Citing this family (3)
| Publication number | Priority date | Publication date | Assignee | Title |
|---|---|---|---|---|
| GB2366183B (en) * | 2000-08-22 | 2004-04-14 | Kettletech Ltd | Electric Kettle |
| US7706671B2 (en) | 2005-03-16 | 2010-04-27 | B2M Asset Management, Llc | Multi-function liquid container |
| CN109645824B (zh) * | 2017-10-12 | 2024-06-25 | 佛山市顺德区美的饮水机制造有限公司 | 液位检测装置及具有其的饮水机 |
Citations (5)
| Publication number | Priority date | Publication date | Assignee | Title |
|---|---|---|---|---|
| GB1235341A (en) * | 1968-12-05 | 1971-06-09 | Dimplex Ltd | Electric kettle |
| US4982654A (en) * | 1989-01-27 | 1991-01-08 | Seb S.A. | Electric kettle |
| SU1717093A1 (ru) * | 1989-12-12 | 1992-03-07 | Донецкий Институт Советской Торговли | Электрокип тильник |
| FR2685184A1 (fr) * | 1991-12-24 | 1993-06-25 | Moulinex Swan Ltd | Bouilloire electrique. |
| DE9307145U1 (de) * | 1993-05-11 | 1993-08-26 | Cloer Elektrogeräte GmbH, 59757 Arnsberg | Wasserkochgerät |
Family Cites Families (4)
| Publication number | Priority date | Publication date | Assignee | Title |
|---|---|---|---|---|
| DE3143450C2 (de) * | 1981-11-03 | 1986-05-22 | ABC-Elektrogeräte Volz, GmbH & Co, 7312 Kirchheim | Elektrisch beheizter Wasserkocher |
| US5060560A (en) * | 1990-01-09 | 1991-10-29 | Vandemark Lowell | Low-water element safety control |
| FR2699388B1 (fr) * | 1992-12-22 | 1995-03-17 | Philips Electronique Lab | Appareil pour infuser un produit. |
| IT230314Y1 (it) * | 1993-06-25 | 1999-06-02 | Gallone Cesare | Dispositivo per segnalare il raggiungimento di un prestabilito livello di liquido in un serbatoio di alimentazione particolarmente per |
-
1996
- 1996-10-30 FR FR9613261A patent/FR2755234B1/fr not_active Expired - Fee Related
-
1997
- 1997-10-28 EP EP97402559A patent/EP0840099A1/fr not_active Withdrawn
- 1997-10-30 RU RU97118601A patent/RU2156103C2/ru not_active IP Right Cessation
Patent Citations (5)
| Publication number | Priority date | Publication date | Assignee | Title |
|---|---|---|---|---|
| GB1235341A (en) * | 1968-12-05 | 1971-06-09 | Dimplex Ltd | Electric kettle |
| US4982654A (en) * | 1989-01-27 | 1991-01-08 | Seb S.A. | Electric kettle |
| SU1717093A1 (ru) * | 1989-12-12 | 1992-03-07 | Донецкий Институт Советской Торговли | Электрокип тильник |
| FR2685184A1 (fr) * | 1991-12-24 | 1993-06-25 | Moulinex Swan Ltd | Bouilloire electrique. |
| DE9307145U1 (de) * | 1993-05-11 | 1993-08-26 | Cloer Elektrogeräte GmbH, 59757 Arnsberg | Wasserkochgerät |
Cited By (1)
| Publication number | Priority date | Publication date | Assignee | Title |
|---|---|---|---|---|
| RU2335224C2 (ru) * | 2002-02-26 | 2008-10-10 | Стрикс Лимитед | Нагревательный прибор для жидкости (варианты), управляющий компонент (варианты), закрытый электронагреватель (варианты), способ изготовления закрытого электронагревателя и комбинированный электронагреватель |
Also Published As
| Publication number | Publication date |
|---|---|
| FR2755234B1 (fr) | 1998-12-18 |
| EP0840099A1 (fr) | 1998-05-06 |
| FR2755234A1 (fr) | 1998-04-30 |
Similar Documents
| Publication | Publication Date | Title |
|---|---|---|
| US4214148A (en) | Indicator for the extent of clarification of waterheaters in electric household appliances | |
| EP0877200A1 (en) | Household electrical steam generator with stabilized boiler water level, particularly for smoothing irons | |
| EP0002563A1 (en) | Heat retaining appliance | |
| US4651453A (en) | Travel iron having controlled heat and compact storage | |
| US5866878A (en) | Kettle with power connector module | |
| US3715567A (en) | Liquid heating assembly | |
| RU2156103C2 (ru) | Устройство, реагирующее на уровень жидкости в электронагревательном приборе, и электрический чайник | |
| US2526566A (en) | Automatic temperature control electric circuit | |
| US3369105A (en) | Thermostatic switch mounting for electrical percolators and the like | |
| TW375856B (en) | Universal electric chafer heater | |
| GB2358789A (en) | Liquid heating device with excessive or insufficient water level protection means. | |
| GB2359978A (en) | Controlling electric liquid-heating appliance | |
| CN213283729U (zh) | 一种柔性暖手器 | |
| RU97118601A (ru) | Устройство, реагирующее на уровень жидкости в электронагревательном приборе | |
| GB2346738A (en) | A cordless electrically heated water boiling vessel | |
| EP0275635A1 (en) | Immersion heaters | |
| RU2088855C1 (ru) | Электроводонагреватель | |
| GB2173045A (en) | Electric heating elements | |
| GB1441967A (en) | Food fryer | |
| EP0630603B1 (en) | Signalling device for communicating reaching of a predetermined liquid level in a feed tank, in particular for electrically working apparatus | |
| CN216357354U (zh) | 一种集成化即热式加热模块 | |
| CN219846088U (zh) | 一种加热底座 | |
| CN203562367U (zh) | 温度开关 | |
| KR910008516Y1 (ko) | 보일러용 온도센서 | |
| CN213030492U (zh) | 一种液体加热容器内胆 |
Legal Events
| Date | Code | Title | Description |
|---|---|---|---|
| MM4A | The patent is invalid due to non-payment of fees |
Effective date: 20071031 |