RU2038503C1 - Method of controlling position of exhaust nozzle valves of gas-turbine engine - Google Patents

Method of controlling position of exhaust nozzle valves of gas-turbine engine Download PDF

Info

Publication number
RU2038503C1
RU2038503C1 RU92015529A RU92015529A RU2038503C1 RU 2038503 C1 RU2038503 C1 RU 2038503C1 RU 92015529 A RU92015529 A RU 92015529A RU 92015529 A RU92015529 A RU 92015529A RU 2038503 C1 RU2038503 C1 RU 2038503C1
Authority
RU
Russia
Prior art keywords
nozzle
gas
pressure
turbine engine
engine
Prior art date
Application number
RU92015529A
Other languages
Russian (ru)
Other versions
RU92015529A (en
Inventor
Сергей Борисович Лахонин
Original Assignee
Сергей Борисович Лахонин
Priority date (The priority date is an assumption and is not a legal conclusion. Google has not performed a legal analysis and makes no representation as to the accuracy of the date listed.)
Filing date
Publication date
Application filed by Сергей Борисович Лахонин filed Critical Сергей Борисович Лахонин
Priority to RU92015529A priority Critical patent/RU2038503C1/en
Publication of RU92015529A publication Critical patent/RU92015529A/en
Application granted granted Critical
Publication of RU2038503C1 publication Critical patent/RU2038503C1/en

Links

Images

Landscapes

  • Supercharger (AREA)

Abstract

FIELD: engine engineering. SUBSTANCE: while controlling position valves od gas-turbine engine over πт axially-symmetric position of gas-turbine engine valves is kept by changing pressure in cavities of hyraulic cylinder for providing valve opening. EFFECT: simplified method. 1 dwg

Description

Предлагаемое изобретение относится к способам и устройствам регулирования площади сечения выхлопного сопла газотурбинного двигателя (ГТД), в особенности к способам регулирования положения створок выхлопного сопла газотурбинного двигателя, оборудованного плоским соплом. The present invention relates to methods and devices for regulating the cross-sectional area of the exhaust nozzle of a gas turbine engine (GTE), in particular to methods for regulating the position of the flaps of the exhaust nozzle of a gas turbine engine equipped with a flat nozzle.

Известен способ регулирования положения створок выхлопного сопла газотурбинного двигателя, а следовательно, и изменения площади сопла ГТД, влияющего на противодавление газа за турбиной, которое в конечном итоге изменяет характер внутридвигательных процессов как в форсажной камере, так и в турбокомпрессорной части ГТД. A known method of regulating the position of the valves of the exhaust nozzle of a gas turbine engine, and consequently, changing the area of the gas turbine nozzle, affecting the gas back pressure behind the turbine, which ultimately changes the nature of the internal engine processes in the afterburner and in the turbocompressor part of the gas turbine.

Известные способы в динамическом отношении могут выполняться замкнутыми по управляемым параметрам и незамкнутыми. Known methods in dynamic terms can be performed closed by controlled parameters and open.

В замкнутых системах автоматического управления (САУ) изменение площади сечения сопла и соответствующее воздействие на внутридвигательные процессы используют для устранения отклонения выбранного управляемого параметра от его заданного значения. In closed-loop automatic control systems (ACS), a change in the nozzle cross-sectional area and the corresponding effect on the internal motor processes are used to eliminate the deviation of the selected controlled parameter from its predetermined value.

Формирование управляющего сигнала на изменение площади сечения сопла в незамкнутых САУ осуществляют в соответствии с необходимостью получения заданной эффективности процессов в двигателе и установившихся и переходных режимах с учетом допустимых нагрузок и запасов устойчивости работы двигателя. Изменение площади сечения сопла используют и для задания форсажного режима работы двигателя, т. е. его тяги. The formation of the control signal for changing the nozzle cross-sectional area in open self-propelled guns is carried out in accordance with the need to obtain the specified efficiency of processes in the engine and steady-state and transient conditions, taking into account permissible loads and stability margins of the engine. Changing the nozzle cross-sectional area is also used to set the afterburner mode of the engine, i.e., its thrust.

Описанные выше способы регулирования площади сечения сопла относятся к ГТД с круглыми соплами, в которых створки механически соединены между собой, например, при помощи силового кольца. The methods for controlling the nozzle cross-sectional area described above relate to gas turbine engines with round nozzles in which the flaps are mechanically interconnected, for example, by means of a power ring.

Указанные способы при проектировании конкретных САУ для изменения площади сечения сопла или/и поддерживания ее постоянной имеют большой вес и габариты, а самое главное не могут быть использованы для плоских сопл с механически не связанными между собой створками. The indicated methods when designing specific self-propelled guns for changing the nozzle cross-sectional area and / or keeping it constant have a large weight and dimensions, and most importantly, cannot be used for flat nozzles with valves that are not mechanically interconnected.

Наиболее часто встречающимся и наиболее близким к предлагаемому способу является способ регулирования положения створок выхлопного сопла газотурбинного двигателя по внутридвигательному параметру, например, по перепаду давлений газа на турбине (Пт) путем изменения давления рабочей жидкости в полостях гидроцилиндров, связанных со створками сопла.The most common and most close to the proposed method is a method for adjusting the position of the flaps of the exhaust nozzle for a gas turbine engine vnutridvigatelnomu parameter, e.g., by differential gas pressure across the turbine (T P) by altering the working fluid pressure in the cavities of the hydraulic cylinders associated with the nozzle flaps.

Этот способ как и предыдущий не может быть использован поддержания осесимметричного положения створок плоского сопла, а при их жесткой связи резко увеличиваются габариты и вес всей системы управления плоского сопла. This method, like the previous one, cannot be used to maintain the axisymmetric position of the flaps of the flat nozzle, and when they are rigidly connected, the dimensions and weight of the entire control system of the flat nozzle sharply increase.

Цель изобретения поддержание осесимметричного положения створок плоского сопла и снижение веса системы управления ими. The purpose of the invention is the maintenance of the axisymmetric position of the flaps of the flat nozzle and weight reduction of the control system.

Для устранения указанного недостатка предлагается способ регулирования положения створок выхлопного сопла газотурбинного двигателя по внутридвигательному параметру, например, по перепаду давлений газа на турбине (Пт) путем изменения давления рабочей жидкости в полостях гидроцилиндров, связанных со створками сопла, в котором формируют сигнал отклонения створок от осесимметричного положения и по этому сигналу изменяют давление рабочей жидкости в полостях, обеспечивающих открытие створок сопла, увеличивая/уменьшая соответственно в верхнем или нижнем гидроцилиндре или изменяя давление в одном из них.To eliminate this drawback, a method for regulating the position of the shutters of the exhaust nozzle of a gas turbine engine according to the in-motor parameter, for example, by the differential pressure of the gas on the turbine (P t ) by changing the pressure of the working fluid in the hydraulic cylinder cavities associated with the nozzle flaps, in which the signal for deflecting the shutters from axisymmetric position and this signal changes the pressure of the working fluid in the cavities, ensuring the opening of the nozzle flaps, increasing / decreasing, respectively erhnem or lower hydraulic cylinder or by changing the pressure in one of them.

Указанная совокупность существенных признаков позволяет поддерживать осесимметричное положение створок плоского сопла и снизить вес системы управления ими. The specified set of essential features allows you to maintain the axisymmetric position of the flaps of the flat nozzle and reduce the weight of the control system.

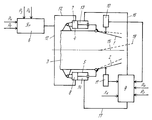
На чертеже представлена схема системы регулирования положения створок плоского выхлопного сопла газотурбинного двигателя, реализующая предложенный способ. The drawing shows a diagram of a system for regulating the position of the flaps of a flat exhaust nozzle of a gas turbine engine that implements the proposed method.

Система регулирования положения створок (панелей) 1 и 2 выхлопного сопла 3 газотурбинного двигателя включает гидроцилиндры 4 и 5, регулятор 6, связанный с полостями 7 и 8, обеспечивающими закрытие створок сопла, регулятор 9 положения створок сопла и датчики 10 и 11 положения створок. The system for regulating the position of the shutters (panels) 1 and 2 of the exhaust nozzle 3 of a gas turbine engine includes hydraulic cylinders 4 and 5, a regulator 6 connected to the cavities 7 and 8, providing closure of the shutter nozzles, a regulator 9 of the shutter nozzle position and sensors 10 and 11 of the shutter position.

Предложенный способ регулирования положения створок выхлопного сопла газотурбинного двигателя реализуется следующим образом. The proposed method for regulating the position of the shutters of the exhaust nozzle of a gas turbine engine is implemented as follows.

К регулятору 6 поступают сигналы, пропорциональные давлению газа перед турбиной Р3 и пропорциональные давлению газа за турбиной Р4. Кроме того, регулятор 6 связан с гидравлическим источником высокого давления по магистрали Рн и низкого (сливного) давления по магистрали Рс. Регулятор 6 (в данном случае Пт) сравнивает сигналы Р3 и Р4 и при увеличении их разницы от заданной величины по трубопроводам 12 увеличивает давление в полостях 7 и 8 гидроцилиндров 4 и 5, которые перемещают створки 1 и 2 на прикрытие сопла 3 и тем самым уменьшают перепад давления газа на турбине ГТД. Давление в полостях 4 и 5 при этом поддерживают постоянным.The controller 6 receives signals proportional to the gas pressure in front of the turbine P 3 and proportional to the gas pressure behind the turbine P 4 . In addition, the controller 6 is connected to a hydraulic source of high pressure on the line P n and low (drain) pressure on the line P with . Regulator 6 (in this case, P t ) compares the signals P 3 and P 4 and, when their difference increases from a given value through pipelines 12, increases the pressure in the cavities 7 and 8 of the hydraulic cylinders 4 and 5, which move the leaves 1 and 2 to cover the nozzles 3 and thereby reducing the gas pressure drop across the turbine engine. The pressure in the cavities 4 and 5 while maintaining constant.

Раскрытие створок происходит за счет усилия, образующегося от действия давления выхлопного газа на створки 1 и 2 сопла и давления жидкости, действующего в полостях 13 и 14 гидроцилиндров, обеспечивающих открытие сопла. The opening of the valves occurs due to the force generated by the pressure of the exhaust gas on the valves 1 and 2 of the nozzle and the pressure of the liquid acting in the cavities 13 and 14 of the hydraulic cylinders, providing the opening of the nozzle.

Для поддержания осесимметричного положения створок 1 и 2 при изменении их положения относительно продольной оси 15 двигателя на последнем предусмотрены датчики 10 и 11 положения створок. Сигналы с датчиков поступают на регулятор 9 положения створок сопла, сравниваются между собой и при их отклонении от заданной величины повышается давление в полости 13 гидроцилиндра 4 и уменьшается в полости 14 гидроцилиндра 5, если створка 1 отклонилась от оси 15 двигателя в сторону прикрытия сопла, а створка 2 в сторону открытия. To maintain the axisymmetric position of the flaps 1 and 2 when changing their position relative to the longitudinal axis 15 of the engine, the latter are provided with sensors 10 and 11 of the position of the flaps. The signals from the sensors go to the nozzle leaf position controller 9, are compared with each other, and when they deviate from the set value, the pressure in the cavity 13 of the hydraulic cylinder 4 increases and decreases in the cavity 14 of the hydraulic cylinder 5, if the valve 1 deviates from the axis 15 of the engine towards the nozzle cover, and casement 2 towards the opening.

При изменении положения створок 1 и 2 в противоположном направлении соответственно повышают давление в полости 14 и уменьшают в полости 13, в некоторых случаях достаточно повысить или понизить давление только в одной из полостей 13 или 14 гидроцилиндров 4 и 5. Изменение давлений в этих полостях производится регулятором 9 положения створок по трубопроводам 16 и 17. Регулятор 9 как и регулятор 6 связан с источником высокого давления по трубопроводам Рн и Рс (нагнетания и слива).When changing the position of the valves 1 and 2 in the opposite direction, respectively, increase the pressure in the cavity 14 and decrease in the cavity 13, in some cases it is enough to increase or decrease the pressure in only one of the cavities 13 or 14 of the hydraulic cylinders 4 and 5. The pressure in these cavities is changed by the regulator 9 the position of the valves on the pipelines 16 and 17. The regulator 9 as well as the regulator 6 is connected to a high pressure source through the pipelines P n and P s (discharge and discharge).

Регулятор 9 положения створок не только поддерживает их симметричное положение относительно продольной оси 15 двигателя, но и может отклонить вектор тяги относительно оси 15. Для этого в регулятор 9 подают командный сигнал Хк и в зависимости от его величины и знака изменяют давление в полостях 13 и 14, поворачивая створки 1 и 2 вверх или вниз на заданный угол. После этого регулятор 9 поддерживает осесимметричное положение створок относительно оси 18 вектора тяги.The sash position regulator 9 not only maintains their symmetrical position relative to the longitudinal axis 15 of the engine, but can also reject the thrust vector relative to axis 15. For this, the command signal X k is supplied to the regulator 9 and the pressure in the cavities 13 and depending on its size and sign are changed 14 by turning the leaves 1 and 2 up or down by a predetermined angle. After that, the regulator 9 maintains the axisymmetric position of the valves relative to the axis 18 of the thrust vector.

При реализации предложенного способа регулятор 6 может поддерживать любой внутридвигательный параметр, который зависит от площади сечения сопла, а не только от Пт, а для перемещения створок может использоваться не один гидроцилиндр, а несколько.When implementing the proposed method, the regulator 6 can support any intra-motor parameter, which depends on the cross-sectional area of the nozzle, and not only on P t , and not only one hydraulic cylinder, but several can be used to move the valves.

Claims (1)

СПОСОБ РЕГУЛИРОВАНИЯ ПОЛОЖЕНИЯ СТВОРОК ВЫХЛОПНОГО СОПЛА ГАЗОТУРБИННОГО ДВИГАТЕЛЯ путем изменения давления в полостях гидроцилиндров привода створок сопла по внутридвигательному параметру, например, по πт, отличающийся тем, что при отклонении вектора тяги от оси двигателя формируют сигнал отклонения створок сопла от осесимметричного положения и по нему дополнительно изменяют давление в полостях гидроцилиндров створок сопла до совпадения вектора тяги с осью двигателя, а при изменении положения вектора тяги симметричное положение створок сопла поддерживают относительно измененного положения вектора тяги.METHOD FOR REGULATING THE POSITION OF THE EXHAUST NOZZLE VALVES OF A GAS TURBINE ENGINE by changing the pressure in the cavities of the hydraulic cylinders of the nozzle leaf drive by the in-motor parameter, for example, by π t , characterized in that when the draft vector deviates from the engine axis, they also generate a deviation signal from the axis of the nozzle leaf change the pressure in the cavities of the hydraulic cylinders of the nozzle flaps until the thrust vector coincides with the axis of the engine, and when the thrust vector is changed, the symmetrical position of the nozzle cooler support relative to the changed position of the thrust vector.
RU92015529A 1992-12-30 1992-12-30 Method of controlling position of exhaust nozzle valves of gas-turbine engine RU2038503C1 (en)

Priority Applications (1)

Application Number Priority Date Filing Date Title
RU92015529A RU2038503C1 (en) 1992-12-30 1992-12-30 Method of controlling position of exhaust nozzle valves of gas-turbine engine

Applications Claiming Priority (1)

Application Number Priority Date Filing Date Title
RU92015529A RU2038503C1 (en) 1992-12-30 1992-12-30 Method of controlling position of exhaust nozzle valves of gas-turbine engine

Publications (2)

Publication Number Publication Date
RU92015529A RU92015529A (en) 1995-01-27
RU2038503C1 true RU2038503C1 (en) 1995-06-27

Family

ID=20134825

Family Applications (1)

Application Number Title Priority Date Filing Date
RU92015529A RU2038503C1 (en) 1992-12-30 1992-12-30 Method of controlling position of exhaust nozzle valves of gas-turbine engine

Country Status (1)

Country Link
RU (1) RU2038503C1 (en)

Cited By (5)

* Cited by examiner, † Cited by third party
Publication number Priority date Publication date Assignee Title
RU2188333C1 (en) * 2001-01-19 2002-08-27 Открытое акционерное общество "А.Люлька-Сатурн" Turbojet engine
RU2222707C2 (en) * 1998-07-22 2004-01-27 Дженерал Электрик Компани Method of calibration of great number of slave mechanisms connected to drive ring on control system for turning exhaust flaps in rotating nozzle and control system to regulate travel of great number of slave mechanisms distributed over circumference
RU2312244C1 (en) * 2006-05-17 2007-12-10 Федеральное государственное унитарное предприятие "Московское машиностроительное производственное предприятие "САЛЮТ" (ФГУП "ММПП "САЛЮТ") Method of control of vectored-thrust nozzle of aircraft gas-turbine engine
RU2326258C1 (en) * 2006-10-12 2008-06-10 Федеральное государственное унитарное предприятие "Московское машиностроительное производственное предприятие "САЛЮТ" (ФГУП "ММПП "САЛЮТ") Control system for nozzle with adjustable traction vector of aviation gas-turbine engine
RU2443890C1 (en) * 2010-09-30 2012-02-27 Федеральное государственное унитарное предприятие "Научно-производственный центр газотурбостроения "Салют" (ФГУП "НПЦ газотурбостроения "Салют") Method of controlling critical section area of two-stage gas turbine engine jet nozzle

Non-Patent Citations (2)

* Cited by examiner, † Cited by third party
Title
Гаевский С.А. и др. Автоматика авиационных газотурбинных силовых установок. Оборонгиз, 1980, с.180-188. *
Шевяков А.А. Автоматика авиационных и ракетных силовых установок. М.: Машиностроение, 1970, с.131. *

Cited By (5)

* Cited by examiner, † Cited by third party
Publication number Priority date Publication date Assignee Title
RU2222707C2 (en) * 1998-07-22 2004-01-27 Дженерал Электрик Компани Method of calibration of great number of slave mechanisms connected to drive ring on control system for turning exhaust flaps in rotating nozzle and control system to regulate travel of great number of slave mechanisms distributed over circumference
RU2188333C1 (en) * 2001-01-19 2002-08-27 Открытое акционерное общество "А.Люлька-Сатурн" Turbojet engine
RU2312244C1 (en) * 2006-05-17 2007-12-10 Федеральное государственное унитарное предприятие "Московское машиностроительное производственное предприятие "САЛЮТ" (ФГУП "ММПП "САЛЮТ") Method of control of vectored-thrust nozzle of aircraft gas-turbine engine
RU2326258C1 (en) * 2006-10-12 2008-06-10 Федеральное государственное унитарное предприятие "Московское машиностроительное производственное предприятие "САЛЮТ" (ФГУП "ММПП "САЛЮТ") Control system for nozzle with adjustable traction vector of aviation gas-turbine engine
RU2443890C1 (en) * 2010-09-30 2012-02-27 Федеральное государственное унитарное предприятие "Научно-производственный центр газотурбостроения "Салют" (ФГУП "НПЦ газотурбостроения "Салют") Method of controlling critical section area of two-stage gas turbine engine jet nozzle

Similar Documents

Publication Publication Date Title
EP0977937B1 (en) Internal combustion engine with an exhaust gas turbocharger
DE3032402C2 (en)
US4292805A (en) Servo-valve convertible construction
DE2823067A1 (en) RELIEF CONTROL FOR A TURBOCHARGER
EP0802311A3 (en) Fuel flow control valve
RU2038503C1 (en) Method of controlling position of exhaust nozzle valves of gas-turbine engine
GB2285285A (en) Fuel staging system
GB1274418A (en) A fuel nozzle for a gas tubine engine
EP3455477A1 (en) Turbine for an exhaust turbocharger having a two-volute turbine housing and a linear valve for volute connection and wastegate control
EP1355052A1 (en) Charge system for an internal combustion engine and process for its control
DE2617709C3 (en) Turbocharged internal combustion engine with compression ignition
EP0123990B1 (en) Control device for a pressure-wave charger
DE3040139A1 (en) CONTROL SYSTEM FOR A GAS TURBINE
DE19812843B4 (en) Method for boost pressure control of an internal combustion engine
DE2132334A1 (en) Control device for a transformation engine
KR900700740A (en) Method and system for adjusting lambda value of air / fuel mixture
DE2819876A1 (en) FLOW REGULATOR
EP1225330B1 (en) Apparatus for controlling a spark ignited combustion engine
DE19901721A1 (en) Discharge pressure control procedure for screw compressor used to compress fuel gas supplied to gas turbine
DE4204019A1 (en) CONTROLLED EXHAUST TURBOCHARGER TURBINE FOR AN INTERNAL COMBUSTION ENGINE
DE19505915A1 (en) Air mass controller for a turbocharged internal combustion engine with an adapted I component
SU658301A1 (en) System of regulating steam turbine runner rpm
RU92015529A (en) METHOD OF REGULATING THE POSITION OF THE RODS OF THE EXHAUST DOWN OF A GAS TURBINE ENGINE
JPS562497A (en) Blade controller for movable-blade pump
KR100252360B1 (en) Actuator structure of turbo engine