RU166399U1 - Сталедеревобетонная двутавровая балка - Google Patents
Сталедеревобетонная двутавровая балка Download PDFInfo
- Publication number
- RU166399U1 RU166399U1 RU2016114025/03U RU2016114025U RU166399U1 RU 166399 U1 RU166399 U1 RU 166399U1 RU 2016114025/03 U RU2016114025/03 U RU 2016114025/03U RU 2016114025 U RU2016114025 U RU 2016114025U RU 166399 U1 RU166399 U1 RU 166399U1
- Authority
- RU
- Russia
- Prior art keywords
- teeth
- wall
- steel
- concrete
- belt
- Prior art date
Links
- 239000002023 wood Substances 0.000 title claims abstract description 8
- 229910000831 Steel Inorganic materials 0.000 title 1
- 239000010959 steel Substances 0.000 title 1
- 239000002184 metal Substances 0.000 claims abstract description 22
- 239000003292 glue Substances 0.000 description 3
- 239000000463 material Substances 0.000 description 3
- 239000012790 adhesive layer Substances 0.000 description 2
- 238000010276 construction Methods 0.000 description 2
- 239000012634 fragment Substances 0.000 description 2
- 239000010410 layer Substances 0.000 description 2
- 238000000576 coating method Methods 0.000 description 1
- 239000002131 composite material Substances 0.000 description 1
- 238000004519 manufacturing process Methods 0.000 description 1
- 238000000034 method Methods 0.000 description 1
Images
Classifications
-
- E—FIXED CONSTRUCTIONS
- E04—BUILDING
- E04C—STRUCTURAL ELEMENTS; BUILDING MATERIALS
- E04C3/00—Structural elongated elements designed for load-supporting
- E04C3/02—Joists; Girders, trusses, or trusslike structures, e.g. prefabricated; Lintels; Transoms; Braces
- E04C3/29—Joists; Girders, trusses, or trusslike structures, e.g. prefabricated; Lintels; Transoms; Braces built-up from parts of different material, i.e. composite structures
Landscapes
- Engineering & Computer Science (AREA)
- Architecture (AREA)
- Chemical & Material Sciences (AREA)
- Composite Materials (AREA)
- Civil Engineering (AREA)
- Structural Engineering (AREA)
- Joining Of Building Structures In Genera (AREA)
Abstract
1. Сталедеревобетонная двутавровая балка, включающая верхний и нижний пояса из металлических оболочек, одна из которых заполнена бетоном, и стенку из склеенного пакета досок, отличающаяся тем, что, с целью повышения надежности и несущей способности, деревянная стенка и пояса балки соединены между собой через зубья металлических оболочек, которые выштампованы в них с разным шагом по длине, с уменьшением к опорам.2. Сталедеревобетонная двутавровая балка по п. 1, отличающаяся тем, что зубья металлической оболочки верхнего пояса в средней зоне по оси впрессованы в стенку, а по краям втоплены в бетон.3. Сталедеревобетонная двутавровая балка по п. 1, отличающаяся тем, что зубья металлической оболочки нижнего пояса впрессованы в стенку в средней ее зоне, а зубья загнутой внутрь продольной кромки - через отверстия выштампованных зубьев средней зоны.4. Сталедеревобетонная двутавровая балка по п. 1, отличающаяся тем, что для улучшения совместной работы с бетоном металлическая оболочка верхнего пояса снабжена рифами.
Description
Полезная модель относится к области строительства, а именно - к конструкциям балок, используемых в качестве несущих элементов перекрытий или покрытий зданий.
Известна дощатоклееная двутавровая балка, включающая верхний и нижний пояса и стенку из соединенных между собой досок на клею. [кн. под ред. В.В. Ермолова. Инженерные конструкции. М., Высшая школа, 1991. Стр. 81, рис. 3.16 а].
Недостатком дощатоклееной балки является сложность изготовления, невысокая прочность соединения стенки с поясами балки, обеспечиваемая прочностью клея.
Известна деревянная клееная балка, включающая склеенный пакет досок, металлическую зубчатую пластину, слой резины и наружную доску, приклеенную через клеевую прослойку [см. Патент к изобретению №2022109 МПК Е04С 3/18 опубл. 30.10.1994].
Недостатком деревянной клееной балки является невысокая прочность соединения металлической зубчатой пластины с наружной доской, которая обеспечивается только прослойкой клея, большой расход материала на балку.
Наиболее близкой является металлодеревянная двутавровая балка, включающая верхний, нижний пояса из древесины с металлическими пластинами и стенку из склеенного пакета досок, где деревянная стенка и пояса соединены между собой зубьями металлических пластин [см. Патент на полезную модель №157379 МПК Е04С 3/292, опубл. 06.11.2015].
Недостатком металлодеревянной балки является невысокая прочность верхнего пояса, «зыбкость» присущая деревянным балкам, повышенный расход материала на балку.
Полезная модель направлена на уменьшение массы балки и повышение общей прочности и жесткости балки.
Результат достигается тем, что в сталедеревобетонной двутавровой балке, включающей верхний и нижний пояса из металлических оболочек, одна из которых заполнена бетоном и стенку из склеенного пакета досок, верхний и нижний пояса соединены со стенкой из склеенного пакета досок через зубья металлической пластины, размещенные по длине балки с разным шагом, с уменьшением к опорам, которые впрессованы в стенку в средней зоне от продольной оси, а у нижнего пояса дополнительно зубья загнутой внутрь продольной кромки впрессованы через отверстия выштампованных зубьев средней зоны. Для улучшения совместной работы с бетоном металлическая оболочка верхнего пояса снабжена рифами, зубья по краям втоплены в бетон.
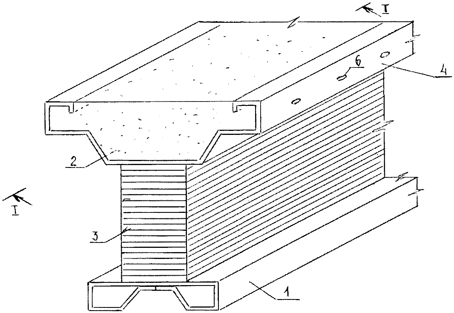
На Фиг. 1 изображен фрагмент общего вида сталедеревобетонной двутавровой балки. На Фиг. 2 приведен продольный разрез балки 1-1; на Фиг. 3 и 4 показаны фрагменты металлозубчатых оболочек верхнего и нижнего поясов, соответственно.
Сталедеревобетонная двутавровая балка включает нижний 1 и заполненный бетоном верхний 2 пояса с металлозубчатыми пластинами 1 и 4 и стенку 3 из склеенного пакета досок. Для крепления стенки 3 к поясам 1 и 2 служат металлические оболочки 1 и 4, в последних выштампованы зубья 5 с шагом a1, а2, а3 и т.д., и впрессованы в стенку в верхних и нижних ее частях, а зубья 7 загнутой внутрь продольной кромки нижнего пояса через отверстия средней зоны также впрессованы в стенку 3.
Сборку составной двутавровой балки выполняют в следующей последовательности.
У металлических оболочек 1 и 4, загибают края, у нижнего пояса 1 зубья 7 вводят в отверстия от выштампованных зубьев 5. После подготовительных процедур с поясами 1 и 2, наносят клеевую прослойку на верхнюю и нижнюю грани стенки 3, впрессовывают зубья 5 и 7 металлических оболочек поясов 1 и 2 в стенку 3, металлическую оболочку 4 заполняют бетоном.
Собранная сталедеревобетонная двутавровая балка обладает повышенной общей прочностью и жесткостью и прочностью соединения поясов со стенкой и обеспечивает уменьшение материалоемкости балки.
Claims (4)
1. Сталедеревобетонная двутавровая балка, включающая верхний и нижний пояса из металлических оболочек, одна из которых заполнена бетоном, и стенку из склеенного пакета досок, отличающаяся тем, что, с целью повышения надежности и несущей способности, деревянная стенка и пояса балки соединены между собой через зубья металлических оболочек, которые выштампованы в них с разным шагом по длине, с уменьшением к опорам.
2. Сталедеревобетонная двутавровая балка по п. 1, отличающаяся тем, что зубья металлической оболочки верхнего пояса в средней зоне по оси впрессованы в стенку, а по краям втоплены в бетон.
3. Сталедеревобетонная двутавровая балка по п. 1, отличающаяся тем, что зубья металлической оболочки нижнего пояса впрессованы в стенку в средней ее зоне, а зубья загнутой внутрь продольной кромки - через отверстия выштампованных зубьев средней зоны.
Priority Applications (1)
| Application Number | Priority Date | Filing Date | Title |
|---|---|---|---|
| RU2016114025/03U RU166399U1 (ru) | 2016-04-11 | 2016-04-11 | Сталедеревобетонная двутавровая балка |
Applications Claiming Priority (1)
| Application Number | Priority Date | Filing Date | Title |
|---|---|---|---|
| RU2016114025/03U RU166399U1 (ru) | 2016-04-11 | 2016-04-11 | Сталедеревобетонная двутавровая балка |
Publications (1)
| Publication Number | Publication Date |
|---|---|
| RU166399U1 true RU166399U1 (ru) | 2016-11-20 |
Family
ID=57792895
Family Applications (1)
| Application Number | Title | Priority Date | Filing Date |
|---|---|---|---|
| RU2016114025/03U RU166399U1 (ru) | 2016-04-11 | 2016-04-11 | Сталедеревобетонная двутавровая балка |
Country Status (1)
| Country | Link |
|---|---|
| RU (1) | RU166399U1 (ru) |
Cited By (2)
| Publication number | Priority date | Publication date | Assignee | Title |
|---|---|---|---|---|
| RU190912U1 (ru) * | 2019-04-26 | 2019-07-16 | Федеральное государственное бюджетное образовательное учреждение высшего образования "Казанский государственный архитектурно-строительный университет" (КазГАСУ) | Сталедеревобетонная двутавровая балка |
| RU2709576C1 (ru) * | 2019-04-24 | 2019-12-18 | Федеральное государственное бюджетное образовательное учреждение высшего образования "Казанский государственный архитектурно-строительный университет" (КазГАСУ) | Сталедеревобетонная двутавровая балка |
-
2016
- 2016-04-11 RU RU2016114025/03U patent/RU166399U1/ru not_active IP Right Cessation
Cited By (2)
| Publication number | Priority date | Publication date | Assignee | Title |
|---|---|---|---|---|
| RU2709576C1 (ru) * | 2019-04-24 | 2019-12-18 | Федеральное государственное бюджетное образовательное учреждение высшего образования "Казанский государственный архитектурно-строительный университет" (КазГАСУ) | Сталедеревобетонная двутавровая балка |
| RU190912U1 (ru) * | 2019-04-26 | 2019-07-16 | Федеральное государственное бюджетное образовательное учреждение высшего образования "Казанский государственный архитектурно-строительный университет" (КазГАСУ) | Сталедеревобетонная двутавровая балка |
Similar Documents
| Publication | Publication Date | Title |
|---|---|---|
| RU157379U1 (ru) | Металлодеревянная двутавровая балка | |
| FI74319C (fi) | Fogorgan foer fogning av traebalkar vid varandra. | |
| RU155973U1 (ru) | Составная сталебетонная балка | |
| EA200701334A1 (ru) | Конструкция междуэтажного перекрытия со стальными балками перекрытия, снабженными отверстиями с кромками | |
| RU166399U1 (ru) | Сталедеревобетонная двутавровая балка | |
| RU159843U1 (ru) | Составная клеефанерная двутавровая балка | |
| RU190912U1 (ru) | Сталедеревобетонная двутавровая балка | |
| RU117474U1 (ru) | Деревянная балка | |
| JP6402949B2 (ja) | 補強木質系構造材 | |
| RU2454516C1 (ru) | Клеефанерная двутавровая балка | |
| ATE355433T1 (de) | Schalungsträger | |
| RU2709576C1 (ru) | Сталедеревобетонная двутавровая балка | |
| DE502006007115D1 (de) | Extilbewehrtem beton | |
| CN208773807U (zh) | 一种仿生木质工程材 | |
| RU2731485C1 (ru) | Деревометаллическая двутавровая балка | |
| RU2441120C1 (ru) | Металлодеревянная двутавровая балка | |
| RU129128U1 (ru) | Составная деревянная двутавровая балка | |
| RU2340733C1 (ru) | Коньковый узел | |
| JP3132427U (ja) | 木造建物の壁補強フレーム | |
| FI112106B (fi) | Puuristikkorakenne | |
| RU175359U1 (ru) | Деревянный элемент | |
| RU41046U1 (ru) | Строительный брус | |
| RU168168U1 (ru) | Деревянная двутавровая клееная балка | |
| FI98471B (fi) | Yhdistelmäpalkki | |
| RU191866U1 (ru) | Сталебетонная стойка |
Legal Events
| Date | Code | Title | Description |
|---|---|---|---|
| MM1K | Utility model has become invalid (non-payment of fees) |
Effective date: 20170412 |
