RU131752U1 - Энергоэффективное здание - Google Patents
Энергоэффективное здание Download PDFInfo
- Publication number
- RU131752U1 RU131752U1 RU2013117140/03U RU2013117140U RU131752U1 RU 131752 U1 RU131752 U1 RU 131752U1 RU 2013117140/03 U RU2013117140/03 U RU 2013117140/03U RU 2013117140 U RU2013117140 U RU 2013117140U RU 131752 U1 RU131752 U1 RU 131752U1
- Authority
- RU
- Russia
- Prior art keywords
- supporting
- self
- floor slab
- insulating
- layer
- Prior art date
Links
- 239000002184 metal Substances 0.000 claims abstract description 18
- 239000011150 reinforced concrete Substances 0.000 claims abstract description 9
- 230000003014 reinforcing effect Effects 0.000 claims abstract description 6
- 230000004888 barrier function Effects 0.000 claims abstract description 5
- 239000011810 insulating material Substances 0.000 claims abstract description 4
- 239000000758 substrate Substances 0.000 claims description 4
- 238000010276 construction Methods 0.000 description 14
- 239000000463 material Substances 0.000 description 9
- 238000009413 insulation Methods 0.000 description 7
- 238000005516 engineering process Methods 0.000 description 4
- 230000007613 environmental effect Effects 0.000 description 3
- 238000009434 installation Methods 0.000 description 3
- 238000004519 manufacturing process Methods 0.000 description 3
- 238000000034 method Methods 0.000 description 3
- 239000002699 waste material Substances 0.000 description 3
- 239000002023 wood Substances 0.000 description 3
- 229910000831 Steel Inorganic materials 0.000 description 2
- 239000007787 solid Substances 0.000 description 2
- 125000006850 spacer group Chemical group 0.000 description 2
- 239000010959 steel Substances 0.000 description 2
- 238000005253 cladding Methods 0.000 description 1
- 239000000470 constituent Substances 0.000 description 1
- 238000001816 cooling Methods 0.000 description 1
- 238000005034 decoration Methods 0.000 description 1
- 239000012634 fragment Substances 0.000 description 1
- 238000010438 heat treatment Methods 0.000 description 1
- 239000011490 mineral wool Substances 0.000 description 1
- 238000004064 recycling Methods 0.000 description 1
- 239000000565 sealant Substances 0.000 description 1
- 230000001932 seasonal effect Effects 0.000 description 1
Images
Landscapes
- Building Environments (AREA)
Abstract
1. Энергоэффективное здание, содержащее основание, несущие стены, колонны, железобетонные плиты перекрытие, самонесущие ограждающие многослойные стены, состоящие из несущих элементов каркаса, облицовочных фасадных и внутренних слоев, тепло-шумоизолирующего слоя, элементов крепления фасадного слоя, ветрозащитного и пароизоляционного слоя, отличающееся тем, что по наружному периметру здания в теле железобетонной плиты перекрытия, параллельно ее наружной плоскости выполнены гнезда для размещения теплоизолирующих вкладышей, между гнездами размещены арматурные каркасы с возможностью закрепления на них закладных деталей, закладные детали размещены заподлицо наружной поверхности в наружном торце плиты перекрытия, а также заподлицо верхней и нижней плоскости плиты перекрытия, несущие элементы каркаса самонесущей ограждающей многослойной стены выполнены из тонкостенных металлических профилей одинаковой высоты С-образных стоек и/или П-образной обвязки, а тепло-шумоизолирующий слой выполнен, по меньшей мере, из двух слоев, причем с наружной стороны установлен дополнительный слой теплоизолирующего материала повышенной жесткости.2. Здание по п.1, отличающееся тем, что закладные детали, расположенные в наружном торце плиты перекрытия предназначены для крепления несущих конструкций фасада, а закладные детали, расположенные в верхней и нижней плоскостях плиты перекрытия, предназначены для крепления самонесущей ограждающей многослойной стены.3. Здание по п.1, отличающееся тем, что ширина гнезда для размещения теплоизолирующего вкладыша менее суммарной толщины самонесущей ограждающей многослойной стены, при�
Description
Полезная модель относится к области архитектуры и строительства, а именно, к конструкциям элементов зданий, и может быть использована при разработке проектов и последующей застройке территорий пригородных и сельских систем расселения постоянного жительства, а также рекреационных территорий сезонного отдыха для умеренного климатического пояса северного полушария, в строительстве объектов соцкультбыта, жилищного и промышленного назначения.
Известно деревянное строение из сборных панелей по патенту Российской Федерации №2135708, кл. E04B 1/10, 1999 г.. Оно построено из сборных панелей, выполненных из самоблокирующихся горизонтальных или вертикальных профилированных бревен или бруса и монтированных на фундамент, в котором стены и крыша сооружены из панелей, скрепленных между собой с помощью пазов и шипов, выполненных на концах панелей, и металлических стержней и стяжек, причем панели оборудованы проемами для окон, дверей и люков. Крепление стен осуществляют непосредственно на фундамент, а панели пола, не связанные с панелями стен, прикреплены на лагах, установленных на специальных выступах фундамента, причем в оконных и дверных проемах и в люках в плоскости стен на вертикальных торцах установлены металлические профили. На готовом фундаменте с анкерами и со специальными выступами укладывают лаги пола. Между стеной и панелями пола оставляют зазор, герметизируемый и закрываемый плинтусом. В углубления пазов, расположенных в бревне или брусе, в местах сочленения узлов вставляют утеплитель-уплотнитель из материала, выбранного из группы: базальтовая минеральная вата или резина. Для перекрытия потолка потолочные панели устанавливают и крепят на несущих балках из бруса после монтажа стен первого этажа.
В данном здании использованы элементы из цельной древесины: профилированные бревна или брус, что не только утяжеляет конструкцию, но и ведет к немалому расходу натуральной древесины. В сочетании с другими используемыми материалами здание не в полной мере отвечает условиям экологичности и энергоэффективности.
Известно здание по патенту Российской Федерации №2287643, кл. E04B 1/10, E04H 1/00, 2005 г. Оно содержит наружные стены, внутренние стены, плиты перекрытий и плиты крыши, которые состоят из плит древесного материала, содержащих, по меньшей мере, одну внутреннюю панель и, по меньшей мере, одну наружную панель, которые удерживаются на расстоянии друг от друга распорными элементами, соединены между собой и выполнены, по меньшей мере, в одном направлении целиком сплошными. Плиты предварительно изготовлены требуемых размеров и с требуемым выполнением краев. Между внутренними и наружными панелями плит имеются полости, которые содержат присоединения к устройству отопления или к устройству охлаждения. Полости в наружных стеновых плитах, внутренних стеновых плитах, плитах перекрытий и/или плитах крыши сообщены между собой, для чего, с одной стороны, в зоне сопряжения плиты перекрытия с наружной стеной в краевой зоне плиты перекрытия предусмотрены отверстия, которые соединяют полости в плите перекрытия с полостями в наружной стене, и для чего, с другой стороны, в зоне свеса между наружной стеной и крышей в одной панели плиты крыши предусмотрены отверстия, которые соединяют полости в наружной стене с полостями в плите крыши.
Основным недостатком известного здания является использование в его конструкции стен, перекрытий и крыши панелей, состоящих из двух панелей: внутренних и наружных, что не только увеличивает вес и расход материалов, но и увеличивает трудозатраты на их сборку и, как следствие, стоимость.
Известно энергоэффективное и экологичное здание по патенту Российской Федерации №80486, кл. E04H 1/00, 2009 г., принятое заявителем за прототип. Оно содержит основание, несущие стены, колонны, железобетонные плиты перекрытия, самонесущие ограждающие многослойные стены, состоящие из несущих элементов каркаса, облицовочных фасадных и внутренних слоев, тепло-шумоизолирующего слоя, элементов крепления фасадного слоя, ветрозащитного и пароизоляционного слоя.
Данное здание представляет собой энергоэффективное и экологическое здание, благодаря применению в нем натуральных, природных материалов и их отходов за счет пиломатериалов, изготовленных, например, из клееных, сращенных брусков и досок; за счет вторичной переработки отходов деревообрабатывающей и целлюлозной промышленностей; за счет частичного использования материалов, изготовленных из отходов.
Кроме того, используемая технология в строительстве предлагаемого здания: каркасно-панельная, представляет собой целесообразное и эффективное решение, дающее значительную экономию. Одной из составляющих которой является использование деревянного и металлического каркаса на основе легких стальных тонкостенных конструкций. А также использование фундамента с применением винтовых свай: он экономичен, позволяет полностью отказаться от земляных работ. Работы могут вестись в любое время года, даже зимой. Фундаменты с использованием винтовых свай позволяют существенно сэкономить сроки строительства, значительно снизить затраты на 30-50%, значительно рациональнее решить вопросы охраны окружающей среды.
Однако конструкция данного здания требует некоторых усовершенствований в части внесения изменений в конструкции плиты перекрытия и наружных стен, а также использования материалов и технологии строительства.
Технической задачей предлагаемой полезной модели является создание более энергоэффективного здания за счет большего использования в нем легких тонкостенных металлических профилей в наружных ограждающих конструкциях.
Поставленная техническая задача решается тем, что в предлагаемом решении по наружному периметру здания в теле железобетонной плиты перекрытия, параллельно ее наружной плоскости выполнены гнезда для размещения теплоизолирующих вкладышей, между гнездами размещены арматурные каркасы с возможностью закрепления на них закладных деталей, закладные детали размещены заподлицо наружной поверхности в наружном торце плиты перекрытия, а также заподлицо верхней и нижней плоскости плиты перекрытия, несущие элементы каркаса самонесущей ограждающей многослойной стены выполнены из тонкостенных металлических профилей одинаковой высоты С-образных стоек и/или П-образной обвязки, а тепло-шумоизолирующий слой выполнен, по меньшей мере, из двух слоев, причем с наружной стороны установлен дополнительный слой теплоизолирующего материала повышенной жесткости.
Кроме того, закладные детали, расположенные в наружном торце плиты перекрытия предназначены для крепления несущих конструкций фасада, а закладные детали, расположенные в верхней и нижней плоскостях плиты перекрытия, предназначены для крепления самонесущей ограждающей многослойной стены.
Кроме того, ширина гнезда для размещения теплоизолирующего вкладыша менее суммарной толщины самонесущей ограждающей многослойной стены, причем длина теплоизолирующего вкладыша превышает его толщину и ширину.
Кроме того, самонесущая ограждающая многослойная стена смонтирована на теплоизолирующую подложку, уложенную на плиту перекрытия, а внешний слой самонесущей ограждающей многослойной стены смонтирован заподлицо с наружным торцом плиты перекрытия.
Кроме того, самонесущая ограждающая многослойная стена установлена с напуском за наружный торец плиты перекрытия, причем более чем на ½ части своей толщины самонесущая ограждающая многослойная стена размещена на плите перекрытия.
Кроме того, несущие элементы каркаса самонесущей ограждающей многослойной стены выполнены, по меньшей мере, из двух тонкостенных С-образных металлических профилей, которые скреплены между собой через теплоизолирующую прокладку и расположены параллельно друг другу короткими сторонами, или расположены параллельно друг другу зеркально по длинной стороне, или со смещением друг против друга.
Кроме того, концы С-образных стоек обжаты с возможностью установки их в П-образную обвязку.
Технический результат, получаемый от использования предлагаемого решения заключается в обеспечении высокой энергоэффективности здания совокупностью конструктивных решений, архитектурных средств и приемов, выполнением входящих в него конструкций, их элементов, изготавливаемых и комплектующих материалов и изделий.
На фиг.1 изображен фрагмент плана размещения на плите перекрытия здания самонесущей ограждающей многослойной стены;
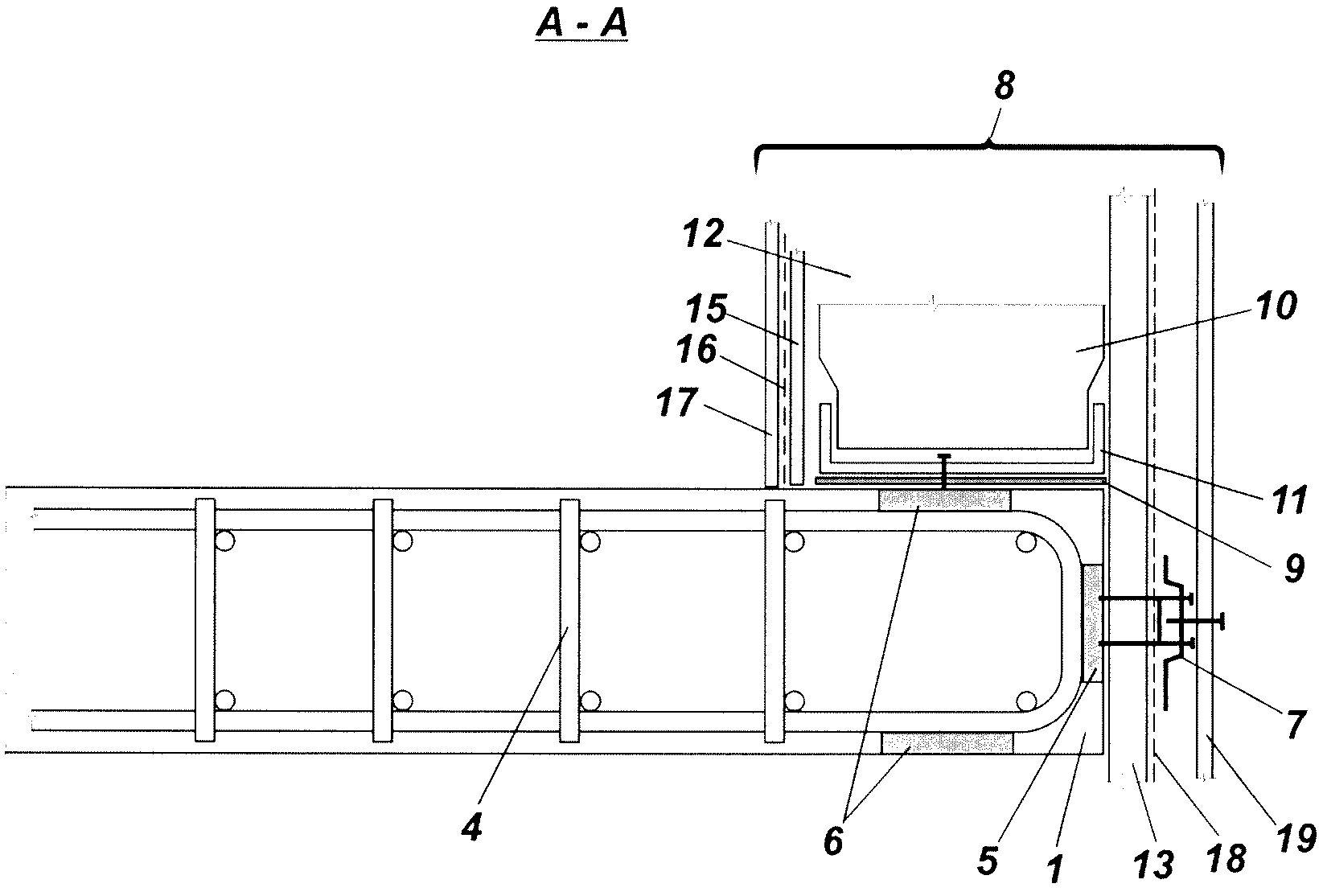
на фиг.2 - сечение А-А на фиг.1;
на фиг.3 - сечение Б-Б на фиг.1 в зоне гнезда с теплоизолирующим вкладышем;
на фиг.4 изображен вариант размещения самонесущей ограждающей многослойной стены на плите перекрытия;
на фиг.5 - вариант размещения С-образных металлических профилей параллельно друг другу короткими сторонами;
на фиг.6 - вариант размещения С-образных металлических профилей параллельно друг другу короткими сторонами с внутренним сопряжением соединения;
на фиг.7 - вариант размещения С-образных металлических профилей параллельно друг другу зеркально по длинной стороне с наружным соединением; или со смещением друг против друга;
на фиг.8 - вариант размещения С-образных металлических профилей параллельно друг другу по короткой стороне со смещением друг относительно друга.
Энергоэффективное здание содержит основание, несущие стены, колонны - на чертежах не показаны. А также оно содержит железобетонные плиты перекрытия, самонесущие ограждающие многослойные стены, состоящие из несущих элементов каркаса, облицовочных фасадных и внутренних слоев, тепло-шумоизолирующего слоя, элементов крепления фасадного слоя, ветрозащитного и пароизоляционного слоя.
По наружному периметру здания в теле железобетонной плиты перекрытия 1 параллельно ее наружной плоскости выполнены гнезда 2 для размещения теплоизолирующих вкладышей 3. Между гнездами 2 размещены арматурные каркасы 4 с возможностью закрепления на них закладных деталей 5 и 6. Закладные детали 5 размещены заподлицо с наружной плоскостью в наружном торце плиты перекрытия 1, а закладные детали 6 - заподлицо верхней и нижней плоскости плиты перекрытия 1.
Закладные детали 5, расположенные в наружном торце плиты перекрытия 1, предназначены для крепления несущих конструкций фасада 7. А закладные детали 6, расположенные в верхней и нижней плоскостях плиты перекрытия 1, предназначены для крепления самонесущей ограждающей многослойной стены 8.
Ширина гнезда 2 для размещения теплоизолирующего вкладыша 3 менее суммарной толщины самонесущей ограждающей многослойной стены 8, причем длина теплоизолирующих вкладышей 3 превышает их толщину и ширину.
Самонесущая ограждающая многослойная стена 8 смонтирована на тепло-звукоизолирующую подложку 9, уложенную на плиту перекрытия 1, внешний слой самонесущей ограждающей многослойной стены 8 смонтирован на наружном торце плиты перекрытия 1. Кроме того, самонесущая ограждающая многослойная стена 8 при необходимости может быть установлена с напуском за наружный торец плиты перекрытия 1, причем более чем на ½ части своей толщины самонесущая ограждающая многослойная стена 8 размещена на плите перекрытия 1.
Несущие элементы каркаса самонесущей ограждающей многослойной стены 8 выполнены из тонкостенных металлических профилей одинаковой высоты: С-образных стоек 10 и/или П-образной обвязки 11, а тепло-шумоизолирующая защита выполнена, по меньшей мере, двухслойной с внутренним первым тепло-звукоизоляционным слоем 12 и внешним вторым тепло-звукоизоляционным слоем 13, причем внешний слой 13 выполнен из тепло-звукоизоляционного материала повышенной жесткости. (Фиг.2)
Несущие элементы каркаса самонесущей ограждающей многослойной стены 8 могут быть выполнены, по меньшей мере, из двух тонкостенных С-образных металлических профилей, которые скреплены между собой через тепло-звукоизолирующую прокладку 14 и расположены параллельно друг другу короткими сторонами, или расположены параллельно друг другу зеркально по длинной стороне, или со смещением друг против друга. (Фиг.5, 6)
Для повышения надежности и точности установки С-образных стоек 10 в П-образную обвязку 11, концы стоек 10 обжаты. (Фиг.2, 3)
Высокую энергетическую эффективность здания обеспечивают в том числе, например, и путем исполнения конструкции плиты перекрытия и конструкции несущих ограждающих многослойных стен.
При изготовлении плиты перекрытия 1 или в заводских условиях, или непосредственно на стройке при изготовлении монолитной плиты перекрытия 1, в тело плиты 1 укладывают арматурные каркасы 4 с закладными деталями 5 и 6 так, чтобы одни закладные детали 5 были размещены заподлицо наружной плоскости торца плиты перекрытия 1. А другие 6 - заподлицо верхней и нижней плоскостям плиты перекрытия 1.
Между арматурными каркасами 4 в плите перекрытия 1 выполняют гнезда 2, в которые затем при монтаже плиты перекрытия 1 укладывают теплоизолирующие вкладыши 3.
После монтажа плиты перекрытия 1, монтируют самонесущую ограждающую многослойную стену 8.
Для этого по наружному периметру здания на поверхности плиты перекрытия 1 укладывают тепло-звукоизолирующую подложку 9, на которую устанавливают П-образную обвязку 11 также по всему периметру и крепят ее к плите перекрытия 1. Затем в П-образную обвязку 11 с определенным шагом устанавливают С-образные стойки 10 предварительно обжатыми концами, выполненными таковыми не только для удобства, но и надежности и точности установки.
По наружному торцу плиты перекрытия 1 к закладным деталям 5 крепят несущую конструкцию фасада 7.
Между С-образными стойками 10 на всю их высоту укладывают первый тепло-звукоизоляционный слой 12, затем - первый облицовочный внутренний слой 15, пароизоляционный слой 16 и второй облицовочный внутренний слой 17.
После этого с наружной стороны самонесущей ограждающей многослойной стены 8 устанавливают второй тепло-звукоизоляционный слой 13, ветрозащитный слой 18 и на несущую конструкцию фасада 7 монтируют облицовочный фасадный слой 19.
В зависимости от климатических условий самонесущую ограждающую многослойную стену 8 выполняют разной толщины посредством использования для С-образной стойки одного или двух металлических профилей и за счет различного их соединения.
Использование предлагаемого технического решения позволило создать высоко энергоэффективное здание за счет большего использования в нем каркаса из легких тонкостенных металлических профилей, энергоэффективных утеплителей, комплектующих, архитектурных средств и приемов.
Кроме того, используемая технология в строительстве предлагаемого здания: каркасно-панельная, представляет собой целесообразное и эффективное решение, дающее значительную экономию. Одной из составляющих которой является использование в ограждающих конструкциях металлического каркаса на основе легких стальных тонкостенных конструкций и несущего каркаса из железобетона с теплоизолирующими вкладышами.
Кроме того, конструкция стен отвечает основным требованиям будущих владельцев дома - теплая, экономичная, надежная и быстровозводимая.
В целом предложенная каркасно-панельная технология строительства имеет следующие преимущества:
- высокие темпы строительства;
- возможность строительства в любое время года без потери качества и увеличения стоимости работ;
- изготовление составляющих элементов здания с высокой заводской подготовкой и точностью;
- в процессе строительства не требуется специальной техники, поскольку части каркаса имеют небольшие размеры и вес, дом собирается усилиями бригады из 4-5 человек;
- возможность сохранить в целости ландшафт местности и имеющуюся на участке растительность;
- высокие теплоизоляционные и звукоизоляционные свойства конструкции;
- экологичность используемых материалов;
- большое разнообразие архитектурно - планировочных решений и внутренней отделки, возможность использования любых материалов для отделки фасада дома.
Claims (7)
1. Энергоэффективное здание, содержащее основание, несущие стены, колонны, железобетонные плиты перекрытие, самонесущие ограждающие многослойные стены, состоящие из несущих элементов каркаса, облицовочных фасадных и внутренних слоев, тепло-шумоизолирующего слоя, элементов крепления фасадного слоя, ветрозащитного и пароизоляционного слоя, отличающееся тем, что по наружному периметру здания в теле железобетонной плиты перекрытия, параллельно ее наружной плоскости выполнены гнезда для размещения теплоизолирующих вкладышей, между гнездами размещены арматурные каркасы с возможностью закрепления на них закладных деталей, закладные детали размещены заподлицо наружной поверхности в наружном торце плиты перекрытия, а также заподлицо верхней и нижней плоскости плиты перекрытия, несущие элементы каркаса самонесущей ограждающей многослойной стены выполнены из тонкостенных металлических профилей одинаковой высоты С-образных стоек и/или П-образной обвязки, а тепло-шумоизолирующий слой выполнен, по меньшей мере, из двух слоев, причем с наружной стороны установлен дополнительный слой теплоизолирующего материала повышенной жесткости.
2. Здание по п.1, отличающееся тем, что закладные детали, расположенные в наружном торце плиты перекрытия предназначены для крепления несущих конструкций фасада, а закладные детали, расположенные в верхней и нижней плоскостях плиты перекрытия, предназначены для крепления самонесущей ограждающей многослойной стены.
3. Здание по п.1, отличающееся тем, что ширина гнезда для размещения теплоизолирующего вкладыша менее суммарной толщины самонесущей ограждающей многослойной стены, причем длина теплоизолирующего вкладыша превышает его толщину и ширину.
4. Здание по п.1, отличающееся тем, что самонесущая ограждающая многослойная стена смонтирована на теплоизолирующую подложку, уложенную на плиту перекрытия, а внешний слой самонесущей ограждающей многослойной стены смонтирован заподлицо с наружным торцом плиты перекрытия.
5. Здание по п.4, отличающееся тем, что самонесущая ограждающая многослойная стена установлена с напуском за наружный торец плиты перекрытия, причем более чем на 1/2 части своей толщины самонесущая ограждающая многослойная стена размещена на плите перекрытия.
6. Здание по п.1, отличающееся тем, что несущие элементы каркаса самонесущей ограждающей многослойной стены выполнены, по меньшей мере, из двух тонкостенных С-образных металлических профилей, которые скреплены между собой через теплоизолирующую прокладку и расположены параллельно друг другу короткими сторонами, или расположены параллельно друг другу зеркально по длинной стороне, или со смещением напротив друг друга.
Priority Applications (1)
| Application Number | Priority Date | Filing Date | Title |
|---|---|---|---|
| RU2013117140/03U RU131752U1 (ru) | 2013-04-15 | 2013-04-15 | Энергоэффективное здание |
Applications Claiming Priority (1)
| Application Number | Priority Date | Filing Date | Title |
|---|---|---|---|
| RU2013117140/03U RU131752U1 (ru) | 2013-04-15 | 2013-04-15 | Энергоэффективное здание |
Publications (1)
| Publication Number | Publication Date |
|---|---|
| RU131752U1 true RU131752U1 (ru) | 2013-08-27 |
Family
ID=49164159
Family Applications (1)
| Application Number | Title | Priority Date | Filing Date |
|---|---|---|---|
| RU2013117140/03U RU131752U1 (ru) | 2013-04-15 | 2013-04-15 | Энергоэффективное здание |
Country Status (1)
| Country | Link |
|---|---|
| RU (1) | RU131752U1 (ru) |
Cited By (4)
| Publication number | Priority date | Publication date | Assignee | Title |
|---|---|---|---|---|
| RU2582241C2 (ru) * | 2014-06-16 | 2016-04-20 | Сергей Михайлович Анпилов | Способ строительства энергоэффективных, экологически-безопасных сооружений из сборных конструкций |
| RU172633U1 (ru) * | 2016-09-05 | 2017-07-18 | Общество с ограниченной ответственностью "ЗАВОД ЭКОСФЕРА" | Энергосберегающая панель |
| RU2745552C1 (ru) * | 2020-07-14 | 2021-03-26 | Сергей Михайлович Анпилов | Способ сухого строительства энергоэффективного здания |
| RU2808603C1 (ru) * | 2023-02-20 | 2023-12-01 | Павел Филиппович Васильев | Биоклиматический дом |
-
2013
- 2013-04-15 RU RU2013117140/03U patent/RU131752U1/ru not_active IP Right Cessation
Cited By (4)
| Publication number | Priority date | Publication date | Assignee | Title |
|---|---|---|---|---|
| RU2582241C2 (ru) * | 2014-06-16 | 2016-04-20 | Сергей Михайлович Анпилов | Способ строительства энергоэффективных, экологически-безопасных сооружений из сборных конструкций |
| RU172633U1 (ru) * | 2016-09-05 | 2017-07-18 | Общество с ограниченной ответственностью "ЗАВОД ЭКОСФЕРА" | Энергосберегающая панель |
| RU2745552C1 (ru) * | 2020-07-14 | 2021-03-26 | Сергей Михайлович Анпилов | Способ сухого строительства энергоэффективного здания |
| RU2808603C1 (ru) * | 2023-02-20 | 2023-12-01 | Павел Филиппович Васильев | Биоклиматический дом |
Similar Documents
| Publication | Publication Date | Title |
|---|---|---|
| AU2013201852B2 (en) | Modular Building | |
| US10724228B2 (en) | Building assemblies and methods for constructing a building using pre-assembled floor-ceiling panels and walls | |
| US9797137B2 (en) | Fully assembled, fully cast-in-place, composite-type house and construction method thereof | |
| WO2017036185A1 (zh) | 铝合金房屋 | |
| CA2722360A1 (en) | Building that uses composite light-weight panels for structure and a construction method therefor | |
| WO2017028575A1 (zh) | 铝合金房屋的外墙与横梁安装连接结构 | |
| RU2440471C1 (ru) | Способ возведения наружной стены здания и многослойная строительная панель для его осуществления | |
| JP3204340U (ja) | 生産管理プロセスのjグレード化されたエースシステムによるハイブリッド木造建築物 | |
| US20220049488A1 (en) | Systems and methods for constructing a multi-storey building | |
| RU2494198C1 (ru) | Способ возведения наружной стены здания | |
| US20180355601A1 (en) | Building system with a diaphragm provided by pre-fabricated floor panels | |
| RU120118U1 (ru) | Многослойная строительная панель | |
| RU131752U1 (ru) | Энергоэффективное здание | |
| US9453332B2 (en) | Building system, particularly a residential building | |
| RU80486U1 (ru) | Энергоэффективное и экологичное здание | |
| RU86634U1 (ru) | Каркасный модуль здания | |
| US20140202100A1 (en) | Insulated wall module | |
| KR20090098729A (ko) | 빌딩용 개선된 구조물 시스템 | |
| CN114737694A (zh) | 一种复合整体保温装配大墙板及其制作方法 | |
| RU2717600C1 (ru) | Технология строительства индивидуальных жилых домов и сооружений | |
| RU2485260C1 (ru) | Многослойная строительная панель | |
| RU164817U1 (ru) | Стеновая ограждающая конструкция для постройки здания | |
| RU2745552C1 (ru) | Способ сухого строительства энергоэффективного здания | |
| GB2548433A (en) | Light-weight and modular construction system | |
| RU2762659C1 (ru) | Способ монтажа сэндвич-панелей для ограждения стен в домах фахверкового типа |
Legal Events
| Date | Code | Title | Description |
|---|---|---|---|
| MM9K | Utility model has become invalid (non-payment of fees) |
Effective date: 20180416 |
