KR800001663B1 - 술실 연사장치 - Google Patents

술실 연사장치 Download PDF

Info

Publication number
KR800001663B1
KR800001663B1 KR1019800000595A KR800000595A KR800001663B1 KR 800001663 B1 KR800001663 B1 KR 800001663B1 KR 1019800000595 A KR1019800000595 A KR 1019800000595A KR 800000595 A KR800000595 A KR 800000595A KR 800001663 B1 KR800001663 B1 KR 800001663B1
Authority
KR
South Korea
Prior art keywords
fixed
needle
yarn
ring
bar
Prior art date
Legal status (The legal status is an assumption and is not a legal conclusion. Google has not performed a legal analysis and makes no representation as to the accuracy of the status listed.)
Expired
Application number
KR1019800000595A
Other languages
English (en)
Inventor
이응룡
이길일
Original Assignee
이응룡
이길일
Priority date (The priority date is an assumption and is not a legal conclusion. Google has not performed a legal analysis and makes no representation as to the accuracy of the date listed.)
Filing date
Publication date
Application filed by 이응룡, 이길일 filed Critical 이응룡
Priority to KR1019800000595A priority Critical patent/KR800001663B1/ko
Application granted granted Critical
Publication of KR800001663B1 publication Critical patent/KR800001663B1/ko
Expired legal-status Critical Current

Links

Images

Landscapes

  • Treatment Of Fiber Materials (AREA)

Abstract

내용 없음.

Description

술실 연사장치
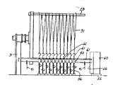
제1도는 본 발명 술실 연사장치에 전체사시도로서 그 일부를 절제하여 내부를 투시한 상태도,
제2도 및 제3도는 본 발명의 1구성부분도,
제4도는 제3도에 표시한 (B)부분의 화살표 방향으로 본 확대 측면도,
제5도는 제3도의 A―A 절단선에 의한 횡단 확대도,
제6도는 1구성요부의 일부를 파상한 횡단 평면도,
제7도와 제8도 및 제10도는 본 발명 연사장치에 의한 술실연사 과정을 설명하기 위한 설명도,
제9도는 제8도에 표시한 (E)의 화살표가 지시하는 부분의 사시도,
제11도는 고래로부터 사용되고있는 술틀의 사시도,
제12도는 그 술틀로 만든 술실로 노리개용 술을 만든 일예를 도시한 것이며,
제13도는 제11도의 술틀로 만든 술실소재를 처리하기 전의 사시도이다.
본 발명은 우리나라 고유의 전통수예품인 노리개용술(제12도 참조)을 만들 때 사용하는 술실소재(마')를 기계적으로 일시에 연사하는 장치에 관한 것이다.
현재에는 상기와 같은 술실의 소재를 만드는 수단으로서 제11도에 도시한 바와같은 원시적인 술틀을 사용하고 있는바, 그 술틀을 사용하면 일일이 손끝으로 작업을 해야하므로 꼬임상태가 고르지 못하고 또 길이가 일정하지 못하여 특히 상당한 시간을 요하게 되므로 생산성이 저하되었는 바 그 술틀의 구성상태와 사용방법을 설명하면,
받침대(가)상에 다수의 구멍(다)을 뚫은 기둥(나)를 세우고 구멍(다)에는 술실의 길이에 따라 택일된 통공에 굵은 바늘(라)(라')을 상하에 끼워서 그 상하바늘(라)(라′)에 인견사 또는 화학사를 꼬아서 만든 단사(마)를 돌려 감아서 그 단사(마)의 양단을 바늘에 결속한 다음, 첫번째 단사(마)끝에 도면과 같이 속칭:톳알구지라 부르는 추고리(바)를 걸고 하늘바늘(라')을 화살표(사) 방향으로 일각 후퇴시켜서 그 첫번째 단사(마)끝을 바늘에서 빼면 추고리(바)가 자유상태로 늘어져 있게되는바 이때에 추고리(바)의 하단을 손끝으로 잡고 단사의 꼬임방향으로 그 추고리(바)를 돌리면 납추(바')의 회전타력에 의하여 두가닥의 단사(마)가 합사되면서 서로 꼬아지는 바 이때에 납추(바')를 덜돌리면 꼬임도가 허술하게 되고, 반대로 많이 돌리면 꼬임도가 많아지므로 연사의 길이가 일정하지 못하게 된다. 따라서 납추(바')의 회전수를 눈어림으로 조정하면서 돌려야 한다.
이와같이 두 가닥의 첫번째 단사(마)가 적당한 꼬임도로 꼬아지면 별도로 마련된 처리용 바늘(제13도 참조)(아')끝을 꼬아진 술소재(마') 끝에 끼우고, 추고리(바)를 돌려뺀다. 연후에 그 추고리(바)를 다음 단사(마) 끝에 다시 끼운 다음, 또 하부바늘(라')을 약간 후퇴시켜서 그 두번째 단사(마)를 자유상태로 있게 한 후, 추고리(바)를 또 돌려서 그 두번째 단사(마)가 꼬아지게 하고, 계속하여 처리용 바늘(아')을 또 꼬아진 술소재(마')끝에 끼워나간다.
이와같이 하여 처리용 바늘(아')로 연달아서 끼워나가면 각 솔소재(마')끝에는 처리용 바늘(아')이 연달아서 끼워진 상태가 된다.
이와같은 상태에서 별개의 또 다른 처리용 바늘(아)로 상부바늘(라)에 매어달린 술소재의 상단을 순차로 끼우고 이를 술틀에서 들어내면 제13도와 같이 처리용 바늘(아)(아')에는 여러가닥의 술소재(마')가 의지되어 꼬임이 풀어지지 못하게되며, 이것을 그대로 고온증기에 2―3분 쪼이고 음건하면, 연사상태가 고정되므로 두개의 처리용바늘(아)(아')을 빼드라도 꼬임상태가 그대로 유지된다.
이와같이 완성된 술소재(마')인 연사는 제12도에 예시한 바와같은 노리개(자)용 술감으로 제공되는 것인바, 이것은 상기한 바와같이 일일이 손끝으로 제조하는 까닭에 숙련된 인력이 아니면, 꼬임상태가 고르지 못하게 되고 또 길이를 일정하게 만드는데 곤란하였을 뿐 아니라 술소재를 만드는데 있어 상당한 시간을 요하였으므로 생산성이 저하되었었다.
본 발명자는 이와같은 종래의 비능률점을 해소시켜서 다량의 술소재를 일시에 생산할 수 있게 하기 위하여 기틀상에 공지의 분해식 얼래틀을 회전자재하게 설치하는 것에 있어서, 상기한 얼레틀의 하방에 다수의 관축을 종설하여 기어군으로 전동되게하고, 그 관축속에는 말단에 추가달린 가요성바아를 내장함과 아울러 그 가요성 바아의 상단에 형성한 고리로 상기한 얼레틀에 감긴 다수의 단사를 일시에 연사하도록 구성한 것으로 이를 실시도에 의하여 상세히 설명하면 다음과 같다.
제1도는 본 발명의 술실연사 장치의 전체 사시도로서, 상자형기틀(1)의 상면판(2)의 일측에
Figure kpo00001
형 부래킷(3)(3')를 세우고 그상부에 대풀리(4)와 소풀리(5)를 가진 회전축(6)을 동일축으로 축설하여 핸들(7)로 회전하게 하고, 회전축(6)의 내단에는 얼래틀(8)의 주. 지지간(9)의 중간부를 제7a도와 같이 보울트(10)로 고정하고, 그 주. 지지간(9)의 양단부에는 나사구멍(11)(11')을 뚫어서 머리부(12)를 가진 파이프(13)(13')을 외측에서 나삽하고, 또 상기한 주. 지지간(9)의 중앙에도 나사구멍(14)을 형성하여, 중간지지봉(15)의 선단에 형성한 나사부(16)를 나삽하며 또 중간지지봉(15)의 머리부(17) 측에는 양단에 상기한 파이프(13)(13')의 선단부를 관삽하는 통공(18)(18')을 뚫은 외곽지지간(19)의 중간을 유감하여, 머리부(17)에 형성된 나비형 손잡이를 풀면 중간지지봉(15)이 상기한 나사구멍(14)에 빠져나오게 되므로 외곽 지지간(19)이 분해되게 하였으며, 제1도에 도시한
Figure kpo00002
형 부래킷(3)(3')의 앞면에는 도수계(20)를 착설하여 소풀리(5)와의 사이에 걸쳐진 벨트(21)로 구동되게 하여 얼레틀(8)의 회전수가 나타나게 하였다.
그리고 상면판(2)의 후측면에는 양측에 부래킷(21)(21')을 세워서 일단부에 소풀리(22)를 가진 나사봉(23)을 횡설하여 대풀리(4)로 벨트(24)에 의하여 소풀리(22)를 회전되게 하고, 또 양 부래킷(21)(21') 사이에는 상하 안내봉(25)(25')을 가설하여 그 안내봉(25)에 L자형 가동편(26)을 관설하되 상기한 나사봉(23)의 나조에 합치되는 반활나조(28)와 손잡이부(27')을 가진 이동편(27)의 선단에 통공(27")을 뚫어서 그 통공(27")을 상기한 L자형 가동편 사이에서 상부 안내봉(25)에 관설하여, L자형 가동편(26)과 행동을 같이 하게하고, 이동편(27)은 손잡이부(27')에 의하여 제2도와 같이 들었다 놓았다 할수 있게 되어 있다.
그리고 또 L자형 가동편(26)에는 통상의 실 긴장구(29)를 착설하여 실타래(30)에서 풀리는 단사(31)를 얼래틀(8)에 감을때 이를 긴장시키는 역할을 한다.
한편, 얼래틀(8)의 직하면에 해당하는 상면판(2)의 저면에는 3장의 지지판(32)(32')(32")을 지지봉(33)으로 지지하고 그 지지판(32)(32')(32")에는 제3도에 도시한 바와같이 활구(35)를 형성한 다수의 관측(34)들을 2열로 축지함과 아울러 그 관축(34)속에는 가요성 바아(36)를 내입하여 그 말단에 승강편(37)을 고정하고 그 승강편(37)은 상기한 관축(34)의 외부에 끼운 링상추(38)과 함께 비스(39)로 고정하여(제5도 참조) 활개구(35)를 따라 승강 자재하게 구성하고, 가요성바아(36)의 상단에는 고정편(40)과 함께 고리(41)를 형성함과 아울러 그 고리(41)의 곡면상에는 제4도와 같이 요입부(42)를 형성하며, 또 관축(34)의 말단에는 소형기어(43)을 고정하였다.
이와같이 고정된 각 기어(43)들은 지지판(32')(32") 사이에서 제6도에 도시한 바와같이 연동기어(44)들을 통하여 연대적으로 일시에 회전되게 하고, 상기한 연동기어(44)를 고정한 회전축중, 택일된 회전축(45)에는 해리컬기어(46)을 고정하고, 그 해리컬 기어(46)에는 수평회전축(47)(47')에 고정한 동일 외경을 가진 해리컬기어(48)와 교합시키고, 수평회전축(47)(47')은 지지판(32")의 저면에 착설한 메탈(49)49')에 각각 축설하고, 또 각 수평회전축(47)(47')의 일단에는 스프로켓(50)(50')을 고정하여 체인(51)으로 동시에 연동되게 하였으며, 일측 수평회전축(47')의 타단에는 대풀러(52)를 고정하여 모우터(53)(제1도에서 점선으로 표시)의 회전축(54)에 고정한 소풀리(55)와의 사이에 걸쳐진 벨트(56)를 통하여 구동되고, 그 동력의 전달은 클러치(57)에 의하여 수행되는 바 그 클러치의 절환작용은 제1도의 기틀(1)의 정면 좌측에 노출시킨 클러치레버(58)를 상하로 작동하는 데 따라 접리되게 하였다.
그리고 상기한 바와같은 구성외에 또 다른 부속물이 있는바, 이것은 제9도에 도시한 바와같이 다수의 절결구(60)를 등간격으로 형성하고 단면을 ㄱ형으로 형성한 한쌍의 지지부재(61)(61')의 양단에 절결구(62)(62')를 형성하여 그 일측절결구(62)는 상기한 부래킷(3)(3')에 감입되게하고, 타측절결구(62')는 4각주(63)에 부착된 안내 연부(64)(64')에 각각 감입되게 하며, 4각주(63)의 하면양측에는 절곡부(65)를 형성하여 상면판(2)에 고착한 감삽편(66)(666) 사이에 삽탈 가능하게 구성한 것이다.
상기한 바와같이 구성된 본 발명의 사용방법을 설명하면 다음과 같다.
먼저 제1도와 같이 인견사 또는 화학사를 꼬아서 만든 단사(31)를 실타래(30)에서 풀어내어 이를 긴장구(29)에 통과시켜서, 얼레틀(8)의 파이프(제7도)(13)(13')중 택일된 파이프의 근부에 맨다.
연후에 핸들(7)을 화살표 방향으로 회전시키면, 얼래틀(8)이 회전되는 한편, 회전축에 고정된 대풀리(4)가 벨트(24)를 통하여 후측의 소풀리(22)로 하여금 나사봉(23)을 회전되게 하므로 그 나사봉(23)의 리이드에 따라 반활나조(28)에 의하여 이동편(27)이 이동되면서 L자형 가동편(26)을 함께 측방으로 이행시키므로 그 L자형 가동편(26)상에 착설된 긴장구(29)도 함께 이동되어 그 긴장구(29)를 통한 단사(31)가 얼레틀(8)에 일정한 간격으로 감기게 되며, 도수계(20)를 통하여는 얼래틀(8)의 회전수에 비례한 단사(31)의 본수가 표시된다. 이와같이 소정된 본수가 감겨지면 파이프(13)(13')의 최종부서에 단사(31)을 끓고 얼래틀(8)의 끝부분에 맨다. 이와같이 하여 소정된 본 수의 단사(31)의 감겨진후, 얼래틀(8)을 수직상태로 세우는데 그 상태를 제7a도에 도시하였다.
이와같은 상태에서 중간 지지봉(15)의 머리부(17)의 나비형 손잡이를 잡고 그 중간 지지봉(15)의 선단 나사부(16)를 나해하면, 외곽지지간(19)이 얼래틀(8)에서 분해되고 (b)도와 같이 상하 파이프(13)(13')만 남게 된다. 이와같은 상태에서 상기한 다수의 고리(41)를 각 단사(31) 끝에 1개씩 걸은후, 가상선으로 표시된 하부 파이프(13')를 주. 지지간(9)의 나사구멍(11')으로부터 화살표(차) 방향으로 돌려뺀다.
연후에 제8도 및 제9도와 같이 4각주(63)의 하면 절곡부(65)를 감삽편(66)에 밀어 끼워서 입설하고, 지지부재(61)(61')에 형성된 다수의 절결구(60)에 고리(41)의 허리를 각각 끼워서 지지부재(61)(61')가 고정편(40)상에 얹어지게하고 그 일단부의 절결구(62)는 부래킷(3)(3')에 감입하고, 타단의 절결구(62')(62')는 4각주(63)의 양 안내연부(64)에 각각 감입한다.
이와같이 하여 사전준비가 끝나면 제1도에 도시한 클러치 레버(58)을 하방으로 내린다. 그러면 제6도에 도시한 클러치(57)가 서로 합치되어 모우터축(54)에 고정된 소풀리(55)가 회전되고, 벨트(56)에 의하여는 대풀리(52)를 회전시켜서 수평회전축(47')의 타단에 고정된 스프로켓(50')을 회동하므로 체인(51)에 의하여 타측 스프로켓(50)가 회전되어 그 수평회전축(47)도 동시에 회전된다.
그러면 각 수평회전축(47)(47')에 고정된 해리컬기어(48)들과 직각으로 교합된 해리컬기어(46)들이 회전하고, 그축(45)에 고정된 기어(44)는 인접된 기어(43)들을 교호로 연동시켜서 다수의 관축(제3도 참조)(34)들을 동시에 일방으로 회전시킨다. 그러면 그 관축(34)들은 링상추(38)과 함께 승강편(37)을 고정시킨 비스(39)가 활개구(35)에 개재되고 있으므로 가요성 바아(36)와 함께 회전되어 그 가요성 바아(36)의 상단에 고정편(40)으로 함께 고정시킨 고리(41)가 회전되면서, 그 고리(41)들이 걸고있는, 단사(31)들을 꼬임방향으로 합사하면서 일시에 서로 꼬아지게 된다. 그 상태를 제10a도에 표시하였다.
이와같이 하여 각 단사(31)들이 꼬아지게 되면 꼬임길이가 점차로 단축되는데 따라 각 고정편(40)상에 얹어진 지지부재(61)가 부래킷(3)(3')과 4각주(63)의 안내연부(64)의 안내에 따라 화살표(카)와 같이 따라 올라가는 동시에 각 절결구(60)에 끼워진 고리(41)들의 요동을 방지하여 꼬인실이 서로 접촉되지 않게 하고, 가요성 바아(36)의 하단에 고착한 승강편(37)과 함께 비스(39)로 고정한 링상추(38)가 따라 올라가면서 연사를 하방으로 당기는 작용을 하여 꼬임도를 강하게 한다.
이와같이 하여 소정의 꼬임도로 꼬아지면 클러치레버(58)를 올려서 클러치(57)로 하여금 모우터(53)의 동력전달을 중지 시키면 전체 기구의 작동이 정지된다.
이와같이 하여 운전이 끝나면, 제10b도와 같이 술소재(마')가 마련된다.
다음에 처리용 바늘(아')을 고리(41)(제4도 참조)에 형성된 요입부(42)의 공간에 통과시켜서 술소재(마')의 하단을 연달아서 꿰뚫은 다음, 4각주(63)를 감삽편(66)으로부터 빼내고, 지지부재(61)를 들어낸 다음, 각 고리(41)를 술소재(마')로부터 개별적으로 벗겨낸다.
다음에 솔소재(마')의 상단은 또 다른 처리용 바늘(아)의 선단을 파이프(13)에 삽입한 다음 그 파이프(13)를 주. 지지간(9)의 나사구멍(11)으로부터 외측(화살표)으로 조심성 있게 빼내면 술소재(마')의 상단고리부가 그 바늘(아)에 연달아서 끼워진 상태가 된다.
이와같이 하여 꼬여진 술소재(마')의 상하단부는 종래(제13도)와 같이 처리용 바늘(아)(아')에 의지되는 상태가 되므로 이것을 그대로 공지의 방식과 같이 증기에 2―3분간 쪼이고, 음건하면 꼬임상태가 고정되므로 이때에 처리용 바늘(아)(아')을 빼고 제12도와 같은 노리개(자)의 술재료(마')로 제공되는 것이다.
본 발명 장치는 상기한 바와같이 구성과 사용방법에 의하여 다량의 술소재를 단시간내에 얻을 수 있는 것이므로 종래의 원시적 술틀에서 문제시되고 있는 비능률성을 해소하여, 술소재의 생산능률을 향상시키는 효과가 크다.

Claims (1)

  1. 기틀(1)상에 분해식 얼래틀(8)을 회전 자재하게 설치하는 것에 있어서, 그 얼래틀(8)의 하방에 다수의 관축(34)을 종설하여 기어군으로 전동되게 하고, 상기한 관축(34)속에는 말단에 추(38)가 달린 가요성 바아(36)을 삽입하여 그 가요성 바아의 상단에 형성한 고리(41)로 얼래틀(8)에 감긴 단사들을 일시에 연사하는 것을 특징으로 하는 술실 연사장치.
KR1019800000595A 1980-02-15 1980-02-15 술실 연사장치 Expired KR800001663B1 (ko)

Priority Applications (1)

Application Number Priority Date Filing Date Title
KR1019800000595A KR800001663B1 (ko) 1980-02-15 1980-02-15 술실 연사장치

Applications Claiming Priority (1)

Application Number Priority Date Filing Date Title
KR1019800000595A KR800001663B1 (ko) 1980-02-15 1980-02-15 술실 연사장치

Publications (1)

Publication Number Publication Date
KR800001663B1 true KR800001663B1 (ko) 1980-12-31

Family

ID=19215538

Family Applications (1)

Application Number Title Priority Date Filing Date
KR1019800000595A Expired KR800001663B1 (ko) 1980-02-15 1980-02-15 술실 연사장치

Country Status (1)

Country Link
KR (1) KR800001663B1 (ko)

Similar Documents

Publication Publication Date Title
CN209428819U (zh) 一种钢绞线捻股机
KR800001663B1 (ko) 술실 연사장치
CN111763991B (zh) 一种蚕丝缫丝用快速撑开装置
GB462073A (en) Improvements in and relating to the production of artificial fibrous products
GB209119A (en) Improvements in net-making machines
CN215910228U (zh) 一种螺旋状纱线拉伸试验设备
US4422285A (en) Apparatus and process for making a fur yarn
US2238176A (en) Manufacture of twisted cords and twisted threads
US2920348A (en) Apparatus for forming spring cords
FR2381843A1 (fr) Dispositif pour la formation de torsions sur une fibre textile par retordage
CN208414767U (zh) 一种便于移动的纺织用纱架
CN107161764B (zh) 一种面料传送牵拉机构
JPS5812871Y2 (ja) モ−ルヤ−ンセイゾウソウチ
US2244415A (en) Yarn twisting and stabilizing machine
CN106165711B (zh) 线面伸串机
CN207774454U (zh) 一体式纱线收卷装置
US1954956A (en) Rayon spinning machine
US2476736A (en) Machine for the manufacture of ropes, cords, knitting wool, and the like
US515354A (en) mokay
EP0128255A1 (en) Apparatus and process for making a fur yarn
US633957A (en) Cordage-machine.
CN215905598U (zh) 纱线生产加工用间距可调节的导向设备
US1369723A (en) Machine for producing spiral puffs
CN108796898A (zh) 一种布料牵引染色装置
US1758006A (en) Polishing apparatus

Legal Events

Date Code Title Description
PA0109 Patent application

Patent event code: PA01091R01D

Comment text: Patent Application

Patent event date: 19800215

PE0902 Notice of grounds for rejection

Comment text: Notification of reason for refusal

Patent event date: 19800911

Patent event code: PE09021S01D

PG1605 Publication of application before grant of patent

Comment text: Decision on Publication of Application

Patent event code: PG16051S01I

Patent event date: 19801211

PE0701 Decision of registration

Patent event code: PE07011S01D

Comment text: Decision to Grant Registration

Patent event date: 19810327