KR20220155774A - 변위 센서 구조체 및 이를 구비한 페달 변위 센서 - Google Patents

변위 센서 구조체 및 이를 구비한 페달 변위 센서 Download PDF

Info

Publication number
KR20220155774A
KR20220155774A KR1020210063453A KR20210063453A KR20220155774A KR 20220155774 A KR20220155774 A KR 20220155774A KR 1020210063453 A KR1020210063453 A KR 1020210063453A KR 20210063453 A KR20210063453 A KR 20210063453A KR 20220155774 A KR20220155774 A KR 20220155774A
Authority
KR
South Korea
Prior art keywords
extension
displacement sensor
pedal
insertion groove
lever
Prior art date
Legal status (The legal status is an assumption and is not a legal conclusion. Google has not performed a legal analysis and makes no representation as to the accuracy of the status listed.)
Pending
Application number
KR1020210063453A
Other languages
English (en)
Inventor
정유리
Original Assignee
에이치엘만도 주식회사
Priority date (The priority date is an assumption and is not a legal conclusion. Google has not performed a legal analysis and makes no representation as to the accuracy of the date listed.)
Filing date
Publication date
Application filed by 에이치엘만도 주식회사 filed Critical 에이치엘만도 주식회사
Priority to KR1020210063453A priority Critical patent/KR20220155774A/ko
Priority to CN202221193586.4U priority patent/CN217145948U/zh
Publication of KR20220155774A publication Critical patent/KR20220155774A/ko
Pending legal-status Critical Current

Links

Images

Classifications

    • GPHYSICS
    • G05CONTROLLING; REGULATING
    • G05GCONTROL DEVICES OR SYSTEMS INSOFAR AS CHARACTERISED BY MECHANICAL FEATURES ONLY
    • G05G1/00Controlling members, e.g. knobs or handles; Assemblies or arrangements thereof; Indicating position of controlling members
    • G05G1/30Controlling members actuated by foot
    • G05G1/38Controlling members actuated by foot comprising means to continuously detect pedal position
    • BPERFORMING OPERATIONS; TRANSPORTING
    • B60VEHICLES IN GENERAL
    • B60KARRANGEMENT OR MOUNTING OF PROPULSION UNITS OR OF TRANSMISSIONS IN VEHICLES; ARRANGEMENT OR MOUNTING OF PLURAL DIVERSE PRIME-MOVERS IN VEHICLES; AUXILIARY DRIVES FOR VEHICLES; INSTRUMENTATION OR DASHBOARDS FOR VEHICLES; ARRANGEMENTS IN CONNECTION WITH COOLING, AIR INTAKE, GAS EXHAUST OR FUEL SUPPLY OF PROPULSION UNITS IN VEHICLES
    • B60K23/00Arrangement or mounting of control devices for vehicle transmissions, or parts thereof, not otherwise provided for
    • B60K23/02Arrangement or mounting of control devices for vehicle transmissions, or parts thereof, not otherwise provided for for main transmission clutches
    • BPERFORMING OPERATIONS; TRANSPORTING
    • B60VEHICLES IN GENERAL
    • B60KARRANGEMENT OR MOUNTING OF PROPULSION UNITS OR OF TRANSMISSIONS IN VEHICLES; ARRANGEMENT OR MOUNTING OF PLURAL DIVERSE PRIME-MOVERS IN VEHICLES; AUXILIARY DRIVES FOR VEHICLES; INSTRUMENTATION OR DASHBOARDS FOR VEHICLES; ARRANGEMENTS IN CONNECTION WITH COOLING, AIR INTAKE, GAS EXHAUST OR FUEL SUPPLY OF PROPULSION UNITS IN VEHICLES
    • B60K26/00Arrangement or mounting of propulsion-unit control devices in vehicles
    • B60K26/02Arrangement or mounting of propulsion-unit control devices in vehicles of initiating means or elements
    • B60K26/021Arrangement or mounting of propulsion-unit control devices in vehicles of initiating means or elements with means for providing feel, e.g. by changing pedal force characteristics
    • BPERFORMING OPERATIONS; TRANSPORTING
    • B60VEHICLES IN GENERAL
    • B60TVEHICLE BRAKE CONTROL SYSTEMS OR PARTS THEREOF; BRAKE CONTROL SYSTEMS OR PARTS THEREOF, IN GENERAL; ARRANGEMENT OF BRAKING ELEMENTS ON VEHICLES IN GENERAL; PORTABLE DEVICES FOR PREVENTING UNWANTED MOVEMENT OF VEHICLES; VEHICLE MODIFICATIONS TO FACILITATE COOLING OF BRAKES
    • B60T7/00Brake-action initiating means
    • B60T7/02Brake-action initiating means for personal initiation
    • B60T7/04Brake-action initiating means for personal initiation foot actuated
    • B60T7/042Brake-action initiating means for personal initiation foot actuated by electrical means, e.g. using travel or force sensors
    • GPHYSICS
    • G01MEASURING; TESTING
    • G01DMEASURING NOT SPECIALLY ADAPTED FOR A SPECIFIC VARIABLE; ARRANGEMENTS FOR MEASURING TWO OR MORE VARIABLES NOT COVERED IN A SINGLE OTHER SUBCLASS; TARIFF METERING APPARATUS; MEASURING OR TESTING NOT OTHERWISE PROVIDED FOR
    • G01D11/00Component parts of measuring arrangements not specially adapted for a specific variable
    • G01D11/24Housings ; Casings for instruments
    • G01D11/245Housings for sensors
    • GPHYSICS
    • G05CONTROLLING; REGULATING
    • G05GCONTROL DEVICES OR SYSTEMS INSOFAR AS CHARACTERISED BY MECHANICAL FEATURES ONLY
    • G05G1/00Controlling members, e.g. knobs or handles; Assemblies or arrangements thereof; Indicating position of controlling members
    • G05G1/30Controlling members actuated by foot
    • G05G1/44Controlling members actuated by foot pivoting
    • BPERFORMING OPERATIONS; TRANSPORTING
    • B60VEHICLES IN GENERAL
    • B60TVEHICLE BRAKE CONTROL SYSTEMS OR PARTS THEREOF; BRAKE CONTROL SYSTEMS OR PARTS THEREOF, IN GENERAL; ARRANGEMENT OF BRAKING ELEMENTS ON VEHICLES IN GENERAL; PORTABLE DEVICES FOR PREVENTING UNWANTED MOVEMENT OF VEHICLES; VEHICLE MODIFICATIONS TO FACILITATE COOLING OF BRAKES
    • B60T2220/00Monitoring, detecting driver behaviour; Signalling thereof; Counteracting thereof
    • B60T2220/04Pedal travel sensor, stroke sensor; Sensing brake request
    • BPERFORMING OPERATIONS; TRANSPORTING
    • B60VEHICLES IN GENERAL
    • B60YINDEXING SCHEME RELATING TO ASPECTS CROSS-CUTTING VEHICLE TECHNOLOGY
    • B60Y2400/00Special features of vehicle units
    • B60Y2400/30Sensors
    • B60Y2400/301Sensors for position or displacement
    • BPERFORMING OPERATIONS; TRANSPORTING
    • B60VEHICLES IN GENERAL
    • B60YINDEXING SCHEME RELATING TO ASPECTS CROSS-CUTTING VEHICLE TECHNOLOGY
    • B60Y2400/00Special features of vehicle units
    • B60Y2400/81Braking systems

Landscapes

  • Engineering & Computer Science (AREA)
  • Physics & Mathematics (AREA)
  • General Physics & Mathematics (AREA)
  • Transportation (AREA)
  • Mechanical Engineering (AREA)
  • Automation & Control Theory (AREA)
  • Chemical & Material Sciences (AREA)
  • Combustion & Propulsion (AREA)
  • Mechanical Control Devices (AREA)

Abstract

변위 센서 구조체 및 이를 구비한 페달 변위 센서가 제공된다. 본 발명의 일 실시예에 따른 변위 센서 구조체는, 센서; 상기 센서가 설치되는 내부 공간을 구비하며 일면에 관통홀이 형성된 센서 하우징; 상기 내부 공간 내에 배치되는 제1 몸체 및 상기 제1 몸체로부터 돌출되어 상기 관통홀을 관통하도록 형성되되, 연장 방향 일측에 삽입홈을 구비한 제1 연장부를 포함하며, 상기 제1 몸체 및 상기 제1 연장부가 상기 관통홀의 중심축을 중심으로 회전 가능한 브라켓; 상기 제1 연장부의 상기 삽입홈에 삽입되도록 연장된 제2 연장부를 구비한 제2 몸체 및 상기 제2 몸체로부터 상기 중심축의 반경 방향으로 연장된 돌출부를 포함하는 레버를 포함하며, 상기 제1 연장부 및 상기 제2 연장부에는 상기 브라켓과 상기 레버 사이의 상대 회전을 제한하기 위한 회전 제한부가 구비되고, 상기 회전 제한부는 상기 제1 연장부의 상기 삽입홈의 내주면 상에 원주 방향을 따라 돌출된 복수의 돌기홈 및 상기 제2 연장부의 외측면 상에 돌출 형성되되 상기 제2 연장부의 연장 방향으로 연장되어 상기 복수의 돌기홈에 치합되는 복수의 돌기를 포함할 수 있다.

Description

변위 센서 구조체 및 이를 구비한 페달 변위 센서{STRUCTURE FOR DISPLACEMENT SENSOR AND PEDAL DISPLACEMENT SENSOR HAVING THE SAME}
본 발명은 변위 센서 구조체 및 이를 구비한 페달 변위 센서에 관한 것으로서, 보다 상세하게는 피벗 회전하는 페달에 결합하여 페달의 회전 각도를 측정할 수 있는 변위 센서 구조체 및 이를 구비한 페달 변위 센서에 관한 것이다.
일반적으로, 차량에는 제동을 위한 브레이크 시스템이 필수적으로 장착되는데, 최근에 보다 강력하고 안정된 제동력을 얻기 위하여 휠에 장착된 휠 실린더 측으로 전달되는 제동 유압을 전자적으로 제어하는 시스템이 제안되고 있다.
전자식 브레이크 시스템의 일예로서, 안티록 브레이크 시스템(ABS: Anti-Lock Brake System), 브레이크 트랙션 제어 시스템(BTCS: Brake Traction Control System) 또는 차량자세제어 시스템(ESC: Electronic Stability Control System) 등이 있다.
이러한 전자식 브레이크 시스템은 운전자가 페달 패드를 밟으면 전자 제어유닛(ECU)이 이를 감지하고 유압발생 장치를 작동시켜 유압을 발생시킴으로써 제동작용을 수행하는 브레이크 시스템이다.
즉, 운전자가 브레이크 페달 패드를 밟으면 페달 변위 센서가 브레이크 페달의 변위를 감지하여 유압발생 장치가 작동함에 따라 제동작용을 수행하게 된다.
이를 위하여 페달 변위 센서는 페달의 일측에 설치되며 페달의 회전과 함께 회전하는 레버를 구비하여 레버의 회전 각도를 측정함으로써 페달의 회전각도를 측정한다.
따라서, 다양한 차종에 적용되는 다양한 페달의 형상에 따라서, 레버가 회전할 수 있는 범위가 달라질 수 있으며 레버와 페달 사이의 거리가 달리질 수 있다. 이에 따라 페달 변위 센서의 제조사는 차종별로 설치 가능한 페달 변위 센서를 각각 제조하여야 하는 문제가 있었다.
또한, 레버가 센서 하우징 내부의 결합 부재에 단순히 끼움 결합되는 경우에는, 작업자가 페달 변위 센서를 차량에 설치하는 과정이나 페달 변위 센서를 차량에 설치하기 위하여 운반하는 과정에서 센서 하우징이나 레버에 외력이 인가되는 경우 레버가 결합 부재로부터 이탈하는 문제가 발생할 수 있었다.
따라서, 차종에 상관없이 설치될 수 있으며, 레버가 이탈되는 것을 방지할 수 있는 페달 변위 센서에 대한 요구가 대두되고 있다.
일본공개공보 제1995-300203호(차량 브레이크 페달의 변위 검출 장치)
본 발명은, 페달의 형상에 따라 레버의 피벗 회전 범위를 조절할 수 있는 변위 센서 구조체 및 이를 구비한 페달 변위 센서를 제공하는데 목적이 있다.
본 발명은, 페달의 형상에 따라 레버와 페달 사이의 간격을 조절할 수 있는 변위 센서 구조체 및 이를 구비한 페달 변위 센서를 제공하는데 목적이 있다.
본 발명은, 레버가 센서 하우징으로부터 이탈되는 것을 방지할 수 있는 변위 센서 구조체 및 이를 구비한 페달 변위 센서를 제공하는데 목적이 있다.
본 발명의 과제들은 이상에서 언급한 과제들로 제한되지 않으며, 언급되지 않은 또 다른 과제들은 아래의 기재로부터 본 발명이 속하는 기술분야의 통상의 기술자에게 명확하게 이해될 수 있을 것이다.
상기 과제를 해결하기 위하여, 본 발명의 일 측면에 따른 변위 센서 구조체는 센서; 상기 센서가 설치되는 내부 공간을 구비하며 일면에 관통홀이 형성된 센서 하우징; 상기 내부 공간 내에 배치되는 제1 몸체 및 상기 제1 몸체로부터 돌출되어 상기 관통홀을 관통하도록 형성되되, 연장 방향 일측에 삽입홈을 구비한 제1 연장부를 포함하며, 상기 제1 몸체 및 상기 제1 연장부가 상기 관통홀의 중심축을 중심으로 회전 가능한 브라켓; 상기 제1 연장부의 상기 삽입홈에 삽입되도록 연장된 제2 연장부를 구비한 제2 몸체 및 상기 제2 몸체로부터 상기 중심축의 반경 방향으로 연장된 돌출부를 포함하는 레버를 포함하며, 상기 제1 연장부 및 상기 제2 연장부에는 상기 브라켓과 상기 레버 사이의 상대 회전을 제한하기 위한 회전 제한부가 구비되고, 상기 회전 제한부는 상기 제1 연장부의 상기 삽입홈의 내주면 상에 원주 방향을 따라 돌출된 복수의 돌기홈 및 상기 제2 연장부의 외측면 상에 돌출 형성되되 상기 제2 연장부의 연장 방향으로 연장되어 상기 복수의 돌기홈에 치합되는 복수의 돌기를 포함할 수 있다.
이 때, 상기 복수의 돌기홈 및 상기 복수의 돌기의 단면은 삼각형상으로 이루어질 수 있다.
이 때, 상기 복수의 돌기홈은 상기 삽입홈의 내주면 상에 전체적으로 형성되고, 상기 복수의 돌기는 상기 복수의 돌기홈 중 일부에 치합될 수 있다.
이 때, 상기 제2 연장부는 한 쌍으로 형성되고, 상기 한 쌍의 제2 연장부는 상기 삽입홈의 중심축에 대하여 원호형 혹은 사각 단면을 가지며, 상기 중심축을 중심으로 대향 배치될 수 있다.
이 때, 상기 제1 연장부의 상기 삽입홈에 삽입되도록 상기 제2 몸체로부터 연장된 제3 연장부를 더 포함하되, 상기 제1 연장부 및 상기 제3 연장부에는 상기 브라켓과 상기 레버 사이의 거리를 제한하기 위한 거리 제한부가 형성될 수 있다.
이 때, 상기 거리 제한부는, 상기 제1 연장부의 상기 삽입홈의 내주면 상에 함입 형성되되, 상기 제1 연장부의 연장 방향으로 이격 배치되는 복수의 걸림홈 및 상기 제3 연장부의 외측면에 형성되어 상기 제3 연장부가 상기 삽입홈에 삽입된 상태에서 상기 복수의 걸림홈 중 어느 하나에 걸림 결합되는 걸림 돌기를 포함할 수 있다.
이 때, 상기 복수의 걸림홈은 상기 삽입홈의 내주면 상에 소정 각도 범위 내로 형성되거나 혹은 360도 방향으로 형성될 수 있다.
이 때, 상기 제3 연장부는 한 쌍으로 형성되고, 상기 한 쌍의 제 3 연장부는 상기 삽입홈의 중심축에 대하여 원호형 혹은 사각 단면을 가지며, 상기 중심축을 중심으로 대향 배치될 수 있다.
이 때, 상기 센서는 상기 레버와 함께 회전하는 상기 브라켓에 인접 배치되어 상기 브라켓의 회전 각도를 측정하는 회로부일 수 있다.
이 때, 상기 레버가 피벗 회전 후 초기 위치로 돌아오도록 상기 브라켓을 탄성적으로 가압하는 탄성 부재; 를 더 포함할 수 있다.
본 발명의 일 측면에 따른 변위 센서 구조체를 구비하는 페달 변위 센서는 피벗 회전하는 페달의 변위를 측정하는 페달 변위 센서로서, 전술한 변위 센서 구조체의 레버가 상기 페달의 일측에 결합되어 피벗 회전 가능하게 형성되는 센서 구조체를 구비할 수 있다.
이 때, 상기 레버는 상기 페달의 일측면으로부터 돌출된 핀 부재에 결합될 수 있다.
본 발명의 일 실시예에 따른 변위 센서 구조체 및 이를 구비한 페달 변위 센서는, 페달의 형상에 따라 레버의 피벗 회전 범위를 조절할 수 있다.
본 발명의 일 실시예에 따른 변위 센서 구조체 및 이를 구비한 페달 변위 센서는, 페달의 형상에 따라 레버와 페달 사이의 간격을 조절할 수 있다.
본 발명의 일 실시예에 따른 변위 센서 구조체 및 이를 구비한 페달 변위 센서는, 레버가 센서 하우징으로부터 이탈되는 것을 방지할 수 있다.
본 발명의 효과는 상기한 효과로 한정되는 것은 아니며, 본 발명의 설명 또는 청구범위에 기재된 발명의 구성으로부터 추론 가능한 모든 효과를 포함하는 것으로 이해되어야 한다.
도 1은 본 발명의 일 실시예에 따른 변위 센서 구조체가 페달에 설치된 상태를 도시한 도면이다.
도 2는 본 발명의 일 실시예에 따른 변위 센서 구조체의 사시도이다.
도 3은 본 발명의 일 실시예에 따른 변위 센서 구조체의 분해사시도이다.
도 4는 본 발명의 일 실시예에 따른 변위 센서 구조체의 브라켓의 사시도이다.
도 5는 본 발명의 일 실시예에 따른 변위 센서 구조체의 레버의 사시도이다.
도 6 (a)는 본 발명의 일 실시예에 따른 변위 센서 구조체의 레버의 회전 각도를 나타내는 도면이고, 도 6 (b)는 본 발명의 일 실시예에 따른 변위 센서 구조체의 레버의 다른 회전 각도를 나타내는 도면이다.
도 7은 본 발명의 일 실시예에 따른 변위 센서 구조체의 단면도이다.
도 8 (a)는 본 발명의 일 실시예에 따른 변위 센서 구조체의 걸림 돌기가 제1 걸림홈에 안착된 상태를 도시한 도면이고, 도 8 (b)는 본 발명의 일 실시예에 따른 변위 센서 구조체의 걸림 돌기가 제2 걸림홈에 안착된 상태를 도시한 도면이고, 도 8 (c)는 본 발명의 일 실시예에 따른 변위 센서 구조체의 걸림 돌기가 제3 걸림홈에 안착된 상태를 도시한 도면이다.
이하, 첨부한 도면을 참고로 하여 본 발명의 실시예에 대하여 본 발명이 속하는 기술분야에서 통상의 지식을 가진 자가 용이하게 실시할 수 있도록 상세히 설명한다. 본 발명은 여러 가지 상이한 형태로 구현될 수 있으며 여기에서 설명하는 실시예에 한정되지 않는다.
도면에서 본 발명을 명확하게 설명하기 위해서 설명과 관계없는 부분은 생략하였으며, 명세서 전체를 통하여 동일 또는 유사한 구성요소에 대해서는 동일한 참조부호를 붙였다.
또한, 단수의 표현은 문맥상 명백하게 다르게 표현하지 않는 한, 복수의 표현을 포함한다. 본 발명의 실시예에서 사용되는 용어는 다르게 정의되지 않는 한, 해당 기술분야에서 통상의 지식을 가진 자에게 통상적으로 알려진 의미로 해석될 수 있다.
'제 1', '제 2' 등의 용어는 다양한 구성요소를 설명하는데 사용될 수 있지만, 상기 구성요소는 위 용어에 의해 한정되어서는 안 된다. 위 용어는 하나의 구성요소를 다른 구성요소로부터 구별하는 목적으로만 사용될 수 있다. 예를 들어, 본 발명의 권리범위를 벗어나지 않으면서 '제 1 구성요소'는 '제 2 구성요소'로 명명될 수 있고, 유사하게 '제 2 구성요소'도 '제 1 구성요소'로 명명될 수 있다.
본 발명은 변위 센서 구조체 및 이를 구비한 페달 변위 센서에 관한 것으로서, 보다 상세하게는 자동차의 브레이크 페달에 결합하여 페달의 회전 각도를 측정할 수 있는 변위 센서 구조체 및 이를 구비한 페달 변위 센서를 제공한다.
특히, 본 발명의 일 실시예로서, 변위 센서 구조체는 레버의 위치를 조절할 수 있으므로 변위 센서 구조체가 결합되는 페달의 크기나 형상이 다양하더라도 그 형상에 맞추어 결합될 수 있다. 본 발명의 일 실시예에 따른 변위 센서 구조체 및 이를 구비한 페달 변위 센서는 브레이크 페달에 한정되는 것은 아니고 클러치, 엑셀레이터 등 피벗 회전하는 페달에 설치될 수 있으나, 이하에서는 설명의 편의상 자동차의 브레이크 페달에 설치되는 것으로 규정하여 설명한다.
또한, 이하에서는 설명의 편의를 위하여 도 1에서 상부를 향하는 방향을 상측으로, 하부를 향하는 방향을 하측으로 규정하여 설명한다. 다만, 본 발명의 일 실시예에 따른 변위 센서 구조체 및 이를 구비한 페달 변위 센서가 도면 상의 방향으로만 배치될 수 있는 것은 아니며 다양한 방향으로 배치될 수 있다.
도 1은 본 발명의 일 실시예에 따른 변위 센서 구조체가 페달에 설치된 상태를 도시한 도면이다. 도 2는 본 발명의 일 실시예에 따른 변위 센서 구조체의 사시도이다. 도 3은 본 발명의 일 실시예에 따른 변위 센서 구조체의 분해사시도이다. 도 4는 본 발명의 일 실시예에 따른 변위 센서 구조체의 브라켓의 사시도이다. 도 5는 본 발명의 일 실시예에 따른 변위 센서 구조체의 레버의 사시도이다.
도 1에 도시된 바와 같이, 본 발명의 일 실시예에 따른 변위 센서 구조체(100)를 구비한 페달 변위 센서(1)는 차량의 브레이크 페달(10)의 페달암(12)의 일측에 설치된다.
이 때, 도 1에 도시된 바와 같이 페달암(12)의 일측면에는 페달 변위 센서(1)에 결합될 수 있는 핀 부재(16)가 돌출 형성된다. 핀 부재(16)는 후술하는 레버(160)에 결합될 수 있도록 단면이 원형으로 형성된다.
운전자가 페달암(12)의 선단부에 구비되는 페달 패드(14)를 밟으면 페달암(12)은 피벗 회전하게 된다. 이 때, 핀 부재(16)에 결합된 페달 변위 센서(1)는 레버(160)의 회전 각도를 측정함으로써 페달암(12)의 피벗 회전 각도를 측정할 수 있게 된다.
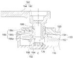
이 때, 도 2 및 도 3에 도시된 바와 같이, 본 발명의 일 실시예에 따른 페달 변위 센서(1)는 변위 센서 구조체(100), 센서 및 단자부(300)를 포함하며, 변위 센서 구조체(100)는 센서 하우징(110), 브라켓(130), 제1 연장부(134), 레버(160) 및 제2 연장부(150)를 구비한다.
이 때, 도 3에 도시된 바와 같이, 센서 하우징(110)은 센서가 설치되는 내부 공간(111)을 구비한다. 센서 하우징(110)은 내부에 공간이 형성될 수 있으면 형상에 제한이 있는 것은 아니다.
예를 들면, 센서 하우징(110)은 도 3에 도시된 바와 같이 판상의 바닥부와 바닥부 테두리로부터 상측으로 돌출되는 측벽을 구비하는 하부 하우징(116)과 상측으로 개방된 개구를 커버하여 내부 공간(111)을 외부와 구획하는 커버(114)로 형성될 수 있다. 이하에서는 설명의 편의상 센서 하우징(110)이 하부 하우징(116)과 커버(114)로 이루어지는 것으로 규정하여 설명한다.
이 때, 센서 하우징(110)의 형태, 즉 하부 하우징(116)과 커버(114)가 결합된 형태는 페달(10)에 설치되기 용이하도록 상하 방향의 높이가 좌우 길이보다 상대적으로 작도록 형성될 수 있다.
도 3에 도시된 바와 같이, 본 발명의 일 실시예에 따른 변위 센서 구조체(100)를 구비한 페달 변위 센서(1)의 센서 하우징(110)의 좌우 측에는 상하 방향으로 관통 형성되는 결합 홀(112)이 형성될 수 있다.
이 때, 센서 하우징(110)은 결합 홀(112)에 나사를 삽입하여 페달(10)의 일측에 나사 결합될 수 있다. 다만, 페달암(12)의 피벗 회전에도 센서 하우징(110)이 페달(10)에 단단히 고정될 수 있으면 센서 하우징(110)이 페달(10)의 일측에 결합되는 방법에 제한이 있는 것은 아니다.
한편, 본 발명의 일 실시예에 따른 변위 센서 구조체(100)를 구비한 페달 변위 센서(1)의 커버(114)에는 도 2에 도시된 바와 같이, 원형의 관통홀(118)이 형성된다.
이 때, 관통홀(118)에는 후술하는 제1 연장부(134)가 삽입되며, 관통홀(118)에 삽입된 채로 제1 연장부(134)가 회전할 수 있도록 관통홀(118)의 단면의 넓이가 제1 연장부(134)의 단면의 넓이보다 같거나 약간 크게 형성된다.
센서 하우징(110)의 내부에 형성된 내부 공간(111)에는 센서가 배치된다. 센서는 페달암(12)의 회전에 따른 브라켓(130)의 회전 각도를 측정하여 단자부(300)를 통하여 측정된 정보를 외부로 송출한다.
이 때, 센서는 회로기판 상에 브라켓(130)의 회전 각도를 측정하는 센싱 유닛이 실장되는 회로부(200)일 수 있다. 본 실시예에서는 센서를 회로부(200)로 규정하여 설명한다.
이 때, 회로부(200)는 도 3에 도시된 바와 같이, 하부 하우징(116)과 커버(114)에 의하여 형성된 내부 공간(111)의 바닥면에 배치되고, 회로부(200)의 일측에는 단자부(300)가 통전 가능하게 연결될 수 있다.
브라켓(130)의 회전 각도를 측정하기 위해 회로부(200)가 구비하는 센싱 유닛은 공지된 다양한 부품일 수 있다. 예를 들면, 브라켓(130)의 하부면에 브러쉬가 구비되고 회로기판 상에 브러쉬가 통전가능하게 접촉한 상태에서 브러쉬의 위치에 따른 전류 또는 전압 변화를 측정하여 브라켓의 회전 각도를 측정할 수 있다. 또는 브라켓(130)의 하부면에 영구자석이 배치되고 회로기판 상에 자속의 변화를 측정하여 브라켓의 회전 각도를 측정할 수 있다.
한편, 회로부(200)는 회로부(200)에서 측정한 정보를 외부로 송출하기 위하여 단자부(300)는 외부의 제어부(미도시)에 연결될 수 있다.
이 때, 도 3에 도시된 바와 같이, 본 발명의 일 실시예에 따른 변위 센서 구조체(100)를 구비한 페달 변위 센서(1)의 하부 하우징(116)의 일측부에는 내부 공간(111)과 외부가 소통 가능하도록 형성되는 커넥트 홀(190)이 형성된다.
커넥트 홀(190)을 통하여 단자부(300)가 일측이 회로부(200)에 연결된 채로 타측이 외부로 드러날 수 있게 된다. 이에 따라, 커넥트 홀(190)을 통해 외부의 제어부(미도시)의 단자가 단자부(300)와 통전 가능하게 결합될 수 있게 된다.
한편, 도 3에 도시된 바와 같이, 회로부(200)의 상부 측에는 브라켓(130)이 배치된다. 브라켓(130)은 하부 측이 센서 하우징(110) 내부 바닥면에 회전 가능하도록 결합되어 내부 공간(111)에서 회전축을 중심으로 소정의 각도로 회전할 수 있다.
이 때, 도 4에 도시된 바와 같이, 브라켓(130)은 센서 하우징(110)의 내부 공간(111)에 배치되어 중심축을 중심으로 회전하는 제1 몸체(132)와 제1 몸체(132)의 상부면에서 돌출되어 커버(114)의 관통홀(118)에 삽입되는 제1 연장부(134)를 구비한다.
제1 연장부(134)는 제1 몸체(132)의 회전 중심인 회전축을 중심축으로 돌출된다. 제1 연장부(134)는 상술한 바와 같이, 커버(114)에 형성된 원형의 관통홀(118)에 삽입되어 관통된 채로 회전될 수 있도록 원통형으로 형성된다. 이에 따라, 브라켓(130)은 관통홀(118)의 중심축을 중심으로 회전할 수 있게 된다.
도 4에 도시된 바와 같이, 제1 연장부(134)의 상단면에는 중심부에 제1 연장부(134)가 돌출되는 길이 방향으로 삽입홈(136)이 함몰 형성된다.
한편, 도 3에 도시된 바와 같이, 브라켓(130)에는 레버(160)가 결합되어 함께 회전된다. 이를 위하여, 도 5에 도시된 바와 같이, 본 발명의 일 실시예에 따른 변위 센서 구조체(100)의 레버(160)는 제2 몸체(162)와 제2 몸체(162)의 하부면으로부터 돌출 형성되는 제2 연장부(150), 및 제2 몸체(162)로부터 제1 연장부(134)가 회전하는 중심축의 반경 방향으로 연장된 돌출부(164)를 구비한다.
도 3에 도시된 바와 같이, 제2 연장부(150)의 하단부는 제1 연장부(134)에 형성된 삽입홈(136)에 길이 방향으로 삽입된다.
이를 위하여 제2 연장부(150)는 삽입홈(136)에 삽입될 수 있도록 삽입홈(136)의 단면과 동일한 단면 형상을 가지도록 형성될 수 있다.
또는, 제2 연장부(150)는 도 5에 도시된 바와 같이 한 쌍으로 삽입홈(136)의 내부에 반경방향 양단부에 중심축을 중심으로 대향하도록 배치되고 삽입홈(136)의 중심축(C)에 대하여 원호형 혹은 사각 단면을 가지도록 형성될 수 있다. 이에 따라 한 쌍의 제2 연장부(150)의 양 외측면이 삽입홈(136)의 내주면에 의하여 지지될 수 있다.
한편, 돌출부(164)는 제2 몸체(162)로부터 제1 연장부(134)가 회전하는 중심축의 반경 방향으로 연장된다. 즉, 제2 몸체(162)의 상단부의 측부로부터 제2 연장부(150)의 회전축을 연장한 방향과 수직한 방향으로 연장 형성된다. 이에 따라, 돌출부(164)는 제2 연장부(150)의 회전축을 회전축으로 하여 피벗 회전하게 된다.
이 때, 돌출부(164)는 페달암(12)의 측면으로부터 돌출 형성되는 핀 부재(16)에 결합된다. 이에 따라, 페달(10)에 피벗 회전하면 핀 부재(16)에 결합된 돌출부(164)도 함께 피벗 회전하게 된다. (도 1 참조)
핀 부재(16)가 돌출부(164)에 결합되는 구조에는 제한이 있는 것은 아니며, 핀 부재(16)와 결합하여 돌출부(164)가 페달암(12)의 회전에 따라 함께 회전할 수 있으면 공지된 다양한 구조가 적용될 수 있다.
예를 들면, 도 5에 도시된 바와 같이, 본 발명의 일 실시예에 따른 변위 센서 구조체(100)를 구비한 페달 변위 센서(1)의 돌출부(164)의 선단부에는 가이드 홈(166)이 형성될 수 있다.
가이드 홈(166)은 돌출부(164)의 선단부가 회전축으로 연장된 방향, 즉 도면 상의 상하 방향으로 개방되도록 선단부로부터 회전축 쪽으로 연장 형성된다.
이 때 도 5에 도시된 바와 같이 돌출부(164)의 선단부의 양단이 개방되어 가이드 홈(166)의 일단이 개방된 형태로 형성될 수 있다. 가이드 홈(166)의 일단부가 개방되면 페달(10)에 형성된 핀 부재(16)를 가이드 홈(166)의 개방된 일반부를 통하여 가이드 홈(166) 내부로 위치시킬 수가 있게 된다. 따라서, 페달 변위 센서(1)를 페달(10)에 결합하는 단계에서 페달(10) 근처의 차량의 구조가 다소 좁게 설계되더라도 용이하게 페달 변위 센서(1)를 페달(10)에 설치할 수 있게 된다.
본 발명의 일 실시예에 따른 변위 센서 구조체(100)를 구비한 페달 변위 센서(1)는 레버(160)가 피벗 회전 후 초기 위치로 돌아오도록 브라켓(130)을 탄성적으로 가압하는 탄성 부재(170)를 더 구비한다.
탄성 부재(170)의 일측에 센서 하우징(110)에 고정되고 타측이 브라켓(130)에 고정된다. 이 때, 도 3에 도시된 바와 같이, 토션 스프링의 형상으로 형성되고 스프링의 중앙부에 제1 연장부(134)가 배치될 수 있다. 이에 따라, 페달 변위 센서(1)의 내부 공간(111)에 각 구성이 효율적으로 배치될 수 있어서, 페달 변위 센서(1)를 소형화할 수 있게 된다. 다만, 탄성 부재(170)는 브라켓(130)을 가압할 수 있으면 형상에 제한이 있는 것은 아니다.
제2 연장부(150)가 제1 연장부(134)의 삽입홈(136)에 삽입된 상태에서 함께 회전할 수 있도록, 즉 제2 연장부(150)가 제1 연장부(134)와 상대적으로 회전하는 것을 방지하도록 본 발명의 일 실시예에 따른 변위 센서 구조체(100)를 구비한 페달 변위 센서(1)의 제1 연장부(134) 및 제2 연장부(150)에는 회전 제한부(140)가 구비된다.
이 때, 본 발명의 일 실시예에 따른 변위 센서 구조체(100)의 회전 제한부(140)는 복수의 돌기홈(142) 및 복수의 돌기(144)를 구비한다.
복수의 돌기홈(142)은 제1 연장부(134)의 삽입홈(136)의 내주면에 원주 방향을 따라 연속적으로 돌출 형성되고, 복수의 돌기홈(142) 사이사이에는 치합되도록 복수의 돌기(144)는 제2 연장부(150)의 외측면 상에 돌출 형성된다.
복수의 돌기홈(142) 및 복수의 돌기(144)는 도 5 및 도 4에 도시된 바와 같이, 제1 연장부(134)와 제2 연장부(150)의 길이 방향으로 연장 형성된다. 이 때, 복수의 돌기홈(142) 및 복수의 돌기(144)의 단면은 삼각 형상일 수 있다.
복수의 돌기홈(142)은 원통형으로 함몰된 삽입홈(136)의 내주면 상에 둘레 방향을 따라 전체적으로 형성된다.
이 때, 제2 연장부(150)의 형상에 따라서 복수의 돌기홈(142)에 치합되는 복수의 돌기(144)는 복수의 돌기홈(142) 중 일부에 치합될 수 있다.
예를 들면, 도 5에 도시된 바와 같이, 제2 연장부(150)가 한 쌍으로 형성되는 경우에는 한 쌍의 제2 연장부(150)의 외측면에 형성되어 복수의 돌기홈(142)의 일부에 치합될 수 있다.
복수의 돌기(144)와 복수의 돌기홈(142)의 개수에는 제한이 없으나, 개수에 따라 레버(160)의 회전 범위가 달라지게 된다. 이에 대하여 도 6 (a) 및 (b)를 통하여 상세히 설명한다.
도 6 (a)는 본 발명의 일 실시예에 따른 변위 센서 구조체의 레버의 회전 각도를 나타내는 도면이고, 도 6 (b)는 본 발명의 일 실시예에 따른 변위 센서 구조체의 레버의 다른 회전 각도를 나타내는 도면이다.
도 6 (a)에 도시된 바와 같이 레버(160)가 제2 연장부(150)를 통하여 브라켓(130)에 결합된 상태에서는 x축을 기준으로 시계 방향으로 θ1만큼 회전된 A위치가 레버(160)의 초기 위치가 된다
이 때, 페달(10)이 피벗 회전되면, 레버(160)가 함께 시계 방향으로 θ2만큼 회전하여 B위치에 배치된다. 이 때, 탄성 부재(170)는 탄성적으로 변형되며, 페달(10)이 원래 자리로 돌아가는 동안 레버(160)가 용이하게 A위치로 돌아갈 수 있도록 브라켓(130)을 가압하게 된다.
한편, 페달 변위 센서(1)가 설치될 수 있는 구조가 상이한 페달(10)에서는 도 6 (b)에 도시된 바와 같이 x축을 기준으로 시계 방향으로 θ1만큼 회전된 A'위치가 레버(160)의 초기 위치가 된다
이를 위하여, 작업자는 레버(160)를 브라켓(130)에 결합할 때, 도 6 (a)의 상태보다 레버(160)를 시계 방향으로 회전시킨 상태에서 제2 연장부(150)를 삽입홈(136)으로 삽입시키게 된다.
따라서, 이와 같은 상황에서는 페달(10)이 피벗 회전되면, 레버(160)가 함께 시계 방향으로 θ2만큼 회전하여 B'위치에 배치될 수 있게 된다.
도 6(a) 및 (b)에 도시된 바와 같이, 복수의 돌기(144)와 복수의 돌기홈(142)은 둘레 방향으로 동일한 형상으로 가지고 배치되므로 레버(160)의 길이 방향으로 연장된 선과 x축과의 각도가 복수의 돌기(144) 및 복수의 돌기홈(142)의 개수에 따라서 다양한 각도를 가질 수 있게 된다.
즉, 페달(10)의 형상이 다양하여 페달 변위 센서(1)가 설치되는 구조에 차이가 있더라도, 작업자는 레버(160)와 x축과의 체결 각도를 조절하여 임의의 페달(10)에 설치 가능한 형태로 페달 변위 센서(1)를 변형할 수 있게 된다.
도 7은 본 발명의 일 실시예에 따른 변위 센서 구조체의 단면도이다.
한편, 본 발명의 일 실시예에 따른 변위 센서 구조체(100)를 구비한 페달 변위 센서(1)는 제3 연장부(180) 및 거리 제한부(182)를 더 구비할 수 있다. (도 5 참조)
제3 연장부(180)는 레버(160)의 제2 몸체(162)의 하부면으로부터 제2 연장부(150)와 나란히 돌출된다. 제3 연장부(180)는 제1 연장부(134)의 삽입홈(136)에 제2 연장부(150)와 함께 삽입된다.
제3 연장부(180)는 제2 연장부(150)와 함께 삽입홈(136) 내에서 삽입홈(136)의 내주면에 지지되도록 배치된다. 이 때, 제3 연장부(180)는 제2 연장부(150)와 이격되어 배치될 수 있다. (도 5 참조)
제3 연장부(180)는 제2 연장부(150)와 같이 한 쌍으로 형성될 수 있다. 이 때, 한 쌍의 제3 연장부(180)는 한 쌍으로 형성된 제2 연장부(150)와 원주 방향으로 교호하여 배치될 수 있다. 또한, 한 쌍의 제3 연장부(180)는 서로 대향하도록 배치될 수 있다. (도 5 참조)
이 때, 한 쌍의 제3 연장부(180)는 삽입홈(136)의 중심축에 대하여 원호형 또는 사각 단면을 가지도록 형성될 수 있으나, 단면 형상에 제한이 있는 것은 아니다.
도면에 도시되어 있지는 않지만, 제3 연장부(180)의 외측면에는 제2 연장부(150)의 외측면에 형성되는 복수의 돌기(144)가 형성될 수 있다. 이 경우, 제2 연장부(150) 및 제3 연장부(180)의 외측면에 형성되는 복수의 돌기(144)는 삽입홈(136) 내주면에 형성되는 복수의 돌기홈(142) 사이사이에 배치되어 제2 연장부(150)와 제1 연장부(134)가 상대적으로 회전하는 것을 제한할 수 있다.
한편, 도 7에 도시된 바와 같이, 제3 연장부(180)의 하단부에는 거리 제한부(182)가 형성된다. (도 5 참조)
거리 제한부(182)는 브라켓(130)으로부터 레버(160)까지의 거리를 제한하고 레버(160)가 브라켓(130)으로부터 이탈하는 것을 방지하는 역할을 한다. 이를 위하여 본 발명의 일 실시예에 따른 변위 센서 구조체(100)를 구비한 페달 변위 센서(1)의 거리 제한부(182)는 걸림 돌기(184) 및 복수의 걸림홈(186)를 구비한다.
도 7에 도시된 바와 같이, 걸림 돌기(184)는 제3 연장부(180)의 선단부 외측면으로부터 방사 방향, 즉 중심축(C)에 수직한 방향으로 돌출되어 형성된다. 걸림 돌기(184)의 개수는 제3 연장부(180)의 개수에 대응되도록 형성된다. (도 5 참조)
이 때, 도 7에 도시된 바와 같이 제3 연장부(180)가 한 쌍으로 형성되는 경우에는 제3 연장부(180)의 선단에서 2개가 방사 방향으로 돌출되어 형성될 수 있다.
걸림홈(186)은 제3 연장부(180)가 삽입홈(136)에 삽입된 상태에서 삽입홈(136)의 내주면에 형성되는 복수의 걸림홈(186) 중 어느 하나에 걸림 결합된다.
이 때, 걸림홈(186)은 삽입홈(136)의 내주면에는 도 7에 도시된 바와 같이, 돌출된 걸림 돌기(184)가 안착되어 걸림 돌기(184)의 상부면이 지지될 수 있도록 함입 형성된다. 이와 같은 걸림홈(186)은 제1 연장부(134)의 연장 방향으로 이격되어 복수 개가 함입 형성될 수 있다. 함입 형성되는 걸림홈(186)의 개수에는 제한이 없으며, 제1 연장부(134)의 길이 또는 걸림 돌기(184)의 두께 등에 따라 걸림홈(186)의 개수가 다르게 설계될 수 있다. 다만 이하에서는 설명을 위하여 도 7에서와 같이 길이 방향으로 3개의 걸림홈(186)이 형성되는 것으로 규정하여 설명한다. 이 때, 하부 측에서부터 순서대로 제1 걸림홈(186a), 제2 걸림홈(186b), 제3 걸림홈(186c)을 규정하여 설명한다.
걸림 돌기(184)는 제3 연장부(180)가 삽입홈(136)의 중심축 측으로 탄성 변형된 상태로 삽입홈(136)으로 삽입된 뒤 걸림 돌기(184)가 걸림홈(186)에 도달하면 제3 연장부(180)가 탄성적으로 복원되면서 걸림홈(186)으로 안착된다.
도 7에 도시된 바와 같이, 걸림 돌기(184)가 걸림홈(186)에 안착된 뒤에는 걸림 돌기(184)의 상부면이 걸림홈(186)의 내측 상부면에 접촉되어 지지됨으로써 제3 연장부(180)가 삽입홈(136)으로부터 이탈하는 것이 방지된다.
이 때, 제3 연장부(180)와 제2 연장부(150)가 서로 이격되어 배치됨으로써 제3 연장부(180)와 제2 연장부(150) 사이에는 탄성제공홈(154)이 형성된다. (도 5 참조)
탄성제공홈(154)은 제3 연장부(180)가 삽입홈(136)으로 삽입 시 제3 연장부(180)가 삽입홈(136)의 중심축 측으로 탄성적으로 변형될 수 있도록 한다. 이를 통해, 작업자는 적은 힘으로도 제3 연장부(180)를 보다 쉽게 탄성적으로 변형시켜 삽입홈(136)으로 삽입시킬 수 있게 된다.
이 때, 탄성제공홈(154)이 형성되는 개수에는 제한이 없으나, 걸림 돌기(184) 부근의 제3 연장부(180)를 더욱 용이하게 탄성적으로 변형시키기 위하여는 걸림 돌기(184)의 양측에 한 쌍으로 형성될 수 있다. (도 5 참조)
한편, 걸림홈(186)은 삽입홈(136)의 내주면 상에서 내주면의 원주 방향으로 연장되어 형성된다. 이 때, 걸림홈(186)의 연장 길이는 삽입홈(136)의 중심축(C)과 걸림홈(186)이 이루는 부채꼴의 중심각이 소정 각도 범위 내로 형성될 수 있고, 소정의 각도 범위로 복수 개가 형성될 수도 있다.
또한, 걸림홈(186)이 삽입홈(136)의 내주면에 360도 방향으로 연장되어 형성될 수 있다. 이 경우 사용자가 레버(160)를 보다 다양한 각도로 설치할 수 있다는 장점이 있다. (도 4 참조)
도면에 도시되지는 않았으나, 걸림홈(186)은 제1 연장부(134)를 관통하여 형성되는 홀(미도시)의 형태로 형성될 수도 있으며, 소정의 각도를 가지고 복수로 형성될 수도 있다.
본 발명의 일 실시예에 따른 변위 센서 구조체(100)를 구비한 페달 변위 센서(1)의 걸림 돌기(184)에는 제3 연장부(180)가 삽입홈(136)으로 삽입되는 측으로 경사지게 형성되는 가이드면(188)이 형성될 수 있다.
제3 연장부(180)는 가이드면(188)에 따라 삽입홈(136)으로 안내되므로 작업자가 제3 연장부(180)를 삽입홈(136)에 쉽게 삽입할 수 있게 된다.
가이드면(188)이 설치됨에 따라 제3 연장부(180)를 삽입홈(136)에 삽입 시 가이드면(188)이 제3 연장부(180)의 탄성 변형을 유도하게 되어 걸림 돌기(184)가 제3 연장부(180)의 측면보다 돌출되더라도 제3 연장부(180)가 쉽게 삽입홈(136)에 삽입될 수 있게 된다.
도 8 (a)는 본 발명의 일 실시예에 따른 변위 센서 구조체의 걸림 돌기가 제1 걸림홈에 안착된 상태를 도시한 도면이고, 도 8 (b)는 본 발명의 일 실시예에 따른 변위 센서 구조체의 걸림 돌기가 제2 걸림홈에 안착된 상태를 도시한 도면이고, 도 8 (c)는 본 발명의 일 실시예에 따른 변위 센서 구조체의 걸림 돌기가 제3 걸림홈에 안착된 상태를 도시한 도면이다.
이하에서는 도 8 (a) 내지 (c)를 참조하여 본 발명의 일 실시예에 따른 변위 센서 구조체(100)를 구비한 페달 변위 센서(1)의 레버(160)의 설치 깊이에 대하여 설명한다.
페달 변위 센서(1)를 조립하는 작업자는 원칙적으로 제3 연장부(180)가 제1 연장부(134)에 견고하게 고정되기 위하여 삽입 방향으로 충분이 가압하면 걸림 돌기(184)가 도 8 (a)에서와 같이 제1 걸림홈(186a)에 안착된다. 이 때, 레버(160)와 커버(114)와의 간격은 D1이 된다.
하지만, 차량, 페달 등의 종류에 따라서, 레버(160)와 페달암(12)이 이격되어야 할 필요가 있는 경우에는, 작업자는 제3 연장부(180)를 삽입홈(136)에 삽입 시 걸림 돌기(184)가 제2 걸림홈(186b)에 안착되도록 할 수 있다. 이 때에는 제1 걸림홈(186a)에 안착된 경우보다 레버(160)와 커버(114) 사이의 간격(D2)이 크게 된다.
마찬가지로, 페달 변위 센서(1)가 결합되는 구조에 따라, 도 8 (c)에 도시된 바와 같이, 작업자는 제3 걸림홈(186c)에 걸림 돌기(184)를 안착시킬 수 있다. 이 경우에는 상술한 바와 마찬가지로 제2 걸림홈(186b)에 안착된 경우보다도 레버(160)와 커버(114) 사이의 간격(D3)이 커지게 된다.
즉, 위와 같이 본 발명의 일 실시예에 따른 페달 변위 센서(1)는 걸림 돌기(184)를 제1 걸림홈(186a) 내지 제3 걸림홈(186c) 중 어느 한 걸림홈(186)에 걸림 돌기(184)를 안착시킴으로써 다양한 차종, 페달에 설치할 수 있는 호환성을 가지게 된다.
이상에서는 본 발명의 일 실시예에 따른 변위 센서 구조체(100)를 구비한 페달 변위 센서(1)에 대하여 상세하게 설명하였다. 본 발명은 회전 제한부(140)를 구비함으로써 차종에 따라 센서 하우징(110)이 설치되는 방향이 달라지더라도 레버(160)의 방향을 다양하게 바꿀 수 있다. 또한, 거리 제한부(182)를 구비함으로써 걸림 돌기(184)를 복수의 걸림홈(186) 중 어느 한 걸림홈(186)에 안착시켜 레버(160)와 커버(114) 사이의 거리를 조절할 수 있다.
본 실시예에 따른 변위 센서 구조체(100)를 구비한 페달 변위 센서(1)는 자동차의 브레이크 시스템에만 적용될 수 있는 것은 아니며, 페달이 사용될 수 있는 장치에는 어느 곳에나 사용될 수 있음을 본 발명이 속하는 기술분야에서 통상의 지식을 가진 자라면 명확하게 이해할 수 있을 것이다.
이상과 같이 본 발명에 따른 바람직한 실시예를 살펴보았으며, 앞서 설명된 실시예 이외에도 본 발명이 그 취지나 범주에서 벗어남이 없이 다른 특정 형태로 구체화될 수 있다는 사실은 해당 기술에 통상의 지식을 가진 이들에게는 자명한 것이다. 그러므로, 상술한 실시예는 제한적인 것이 아니라 예시인 것으로 여겨져야 하고, 이에 따라 본 발명은 상술한 설명에 한정되지 않고 첨부된 청구항의 범주 및 그 동등 범위 내에서 변경될 수도 있다.
1 페달 변위 센서 142 복수의 돌기홈
10 페달 144 복수의 돌기
12 페달암 150 제2 연장부
14 페달 패드 154 탄성제공홈
16 핀 부재 160 레버
100 센서 구조체 162 제2 몸체
110 센서 하우징 164 돌출부
111 내부 공간 166 가이드 홈
112 결합 홀 170 탄성 부재
114 커버 180 제3 연장부
116 하부 하우징 182 거리 제한부
118 관통홀 184 걸림 돌기
130 브라켓 186 복수의 걸림홈
132 제1 몸체 188 가이드면
134 제1 연장부 190 커넥트 홀
136 삽입홈 200 회로부
140 회전 제한부 300 단자부

Claims (12)

  1. 센서;
    상기 센서가 설치되는 내부 공간을 구비하며 일면에 관통홀이 형성된 센서 하우징;
    상기 내부 공간 내에 배치되는 제1 몸체 및 상기 제1 몸체로부터 돌출되어 상기 관통홀을 관통하도록 형성되되, 연장 방향 일측에 삽입홈을 구비한 제1 연장부를 포함하며, 상기 제1 몸체 및 상기 제1 연장부가 상기 관통홀의 중심축을 중심으로 회전 가능한 브라켓;
    상기 제1 연장부의 상기 삽입홈에 삽입되도록 연장된 제2 연장부를 구비한 제2 몸체 및 상기 제2 몸체로부터 상기 중심축의 반경 방향으로 연장된 돌출부를 포함하는 레버를 포함하며,
    상기 제1 연장부 및 상기 제2 연장부에는 상기 브라켓과 상기 레버 사이의 상대 회전을 제한하기 위한 회전 제한부가 구비되고,
    상기 회전 제한부는
    상기 제1 연장부의 상기 삽입홈의 내주면 상에 원주 방향을 따라 돌출된 복수의 돌기홈 및
    상기 제2 연장부의 외측면 상에 돌출 형성되되 상기 제2 연장부의 연장 방향으로 연장되어 상기 복수의 돌기홈에 치합되는 복수의 돌기를 포함하는, 변위 센서 구조체.
  2. 제1 항에 있어서,
    상기 복수의 돌기홈 및 상기 복수의 돌기의 단면은 삼각형상으로 이루어지는, 변위 센서 구조체.
  3. 제1 항에 있어서,
    상기 복수의 돌기홈은 상기 삽입홈의 내주면 상에 전체적으로 형성되고,
    상기 복수의 돌기는 상기 복수의 돌기홈 중 일부에 치합되는, 변위 센서 구조체.
  4. 제1 항에 있어서,
    상기 제2 연장부는 한 쌍으로 형성되고,
    상기 한 쌍의 제2 연장부는 상기 삽입홈의 중심축에 대하여 원호형 혹은 사각 단면을 가지며, 상기 중심축을 중심으로 대향 배치되는, 변위 센서 구조체.
  5. 제1 항에 있어서,
    상기 제1 연장부의 상기 삽입홈에 삽입되도록 상기 제2 몸체로부터 연장된 제3 연장부를 더 포함하되,
    상기 제1 연장부 및 상기 제3 연장부에는 상기 브라켓과 상기 레버 사이의 거리를 제한하기 위한 거리 제한부가 형성되는, 변위 센서 구조체.
  6. 제5 항에 있어서,
    상기 거리 제한부는,
    상기 제1 연장부의 상기 삽입홈의 내주면 상에 함입 형성되되, 상기 제1 연장부의 연장 방향으로 이격 배치되는 복수의 걸림홈 및
    상기 제3 연장부의 외측면에 형성되어 상기 제3 연장부가 상기 삽입홈에 삽입된 상태에서 상기 복수의 걸림홈 중 어느 하나에 걸림 결합되는 걸림 돌기를 포함하는, 변위 센서 구조체.
  7. 제 6항에 있어서,
    상기 복수의 걸림홈은 상기 삽입홈의 내주면 상에 소정 각도 범위 내로 형성되거나 혹은 360도 방향으로 형성되는, 변위 센서 구조체.
  8. 제6 항에 있어서,
    상기 제3 연장부는 한 쌍으로 형성되고,
    상기 한 쌍의 제 3 연장부는 상기 삽입홈의 중심축에 대하여 원호형 혹은 사각 단면을 가지며, 상기 중심축을 중심으로 대향 배치되는, 변위 센서 구조체.
  9. 제1 항에 있어서,
    상기 센서는 상기 레버와 함께 회전하는 상기 브라켓에 인접 배치되어 상기 브라켓의 회전 각도를 측정하는 회로부인, 변위 센서 구조체.
  10. 제1 항에 있어서,
    상기 레버가 피벗 회전 후 초기 위치로 돌아오도록 상기 브라켓을 탄성적으로 가압하는 탄성 부재; 를 더 포함하는, 변위 센서 구조체.
  11. 피벗 회전하는 페달의 변위를 측정하는 페달 변위 센서로서,
    상기 제1 항 내지 제10 항 중 어느 한 항에 따른 변위 센서 구조체의 레버가 상기 페달의 일측에 결합되어 피벗 회전 가능하게 형성되는 센서 구조체를 구비하는, 페달 변위 센서.
  12. 제11 항에 있어서,
    상기 레버는 상기 페달의 일측면으로부터 돌출된 핀 부재에 결합되는, 페달 변위 센서.
KR1020210063453A 2021-05-17 2021-05-17 변위 센서 구조체 및 이를 구비한 페달 변위 센서 Pending KR20220155774A (ko)

Priority Applications (2)

Application Number Priority Date Filing Date Title
KR1020210063453A KR20220155774A (ko) 2021-05-17 2021-05-17 변위 센서 구조체 및 이를 구비한 페달 변위 센서
CN202221193586.4U CN217145948U (zh) 2021-05-17 2022-05-17 位移传感器结构体及具有其的踏板位移传感器

Applications Claiming Priority (1)

Application Number Priority Date Filing Date Title
KR1020210063453A KR20220155774A (ko) 2021-05-17 2021-05-17 변위 센서 구조체 및 이를 구비한 페달 변위 센서

Publications (1)

Publication Number Publication Date
KR20220155774A true KR20220155774A (ko) 2022-11-24

Family

ID=82667252

Family Applications (1)

Application Number Title Priority Date Filing Date
KR1020210063453A Pending KR20220155774A (ko) 2021-05-17 2021-05-17 변위 센서 구조체 및 이를 구비한 페달 변위 센서

Country Status (2)

Country Link
KR (1) KR20220155774A (ko)
CN (1) CN217145948U (ko)

Families Citing this family (1)

* Cited by examiner, † Cited by third party
Publication number Priority date Publication date Assignee Title
KR102732699B1 (ko) * 2022-10-31 2024-11-25 주식회사 동희산업 차량 페달용 변위 센싱 장치

Citations (1)

* Cited by examiner, † Cited by third party
Publication number Priority date Publication date Assignee Title
JPH07300203A (ja) 1994-05-09 1995-11-14 Hitachi Ltd 圧縮機能付ゴミ箱

Patent Citations (1)

* Cited by examiner, † Cited by third party
Publication number Priority date Publication date Assignee Title
JPH07300203A (ja) 1994-05-09 1995-11-14 Hitachi Ltd 圧縮機能付ゴミ箱

Also Published As

Publication number Publication date
CN217145948U (zh) 2022-08-09

Similar Documents

Publication Publication Date Title
EP3376333B1 (en) Pedal apparatus and manufacturing method thereof
EP2390752B1 (en) Accelerator Pedal For A Vehicle
US8806977B2 (en) Vehicle pedal assembly with hysteresis assembly
CN104661475B (zh) 电子控制装置及车辆用制动液压控制装置
CN104494694B (zh) 转向传感器组件
US20080276749A1 (en) Accelerator pedal for a vehicle
EP1394650B1 (en) Rotation angle detector
US8806978B2 (en) Accelerator device
US20110100153A1 (en) Accelerator Pedal Assembly
KR102607976B1 (ko) 하중 측정 장치를 갖는 드럼 브레이크
US20160070292A1 (en) Bidirectional pedal asembly
KR20220155774A (ko) 변위 센서 구조체 및 이를 구비한 페달 변위 센서
JP5780267B2 (ja) アクセル装置
WO2006138437A2 (en) Pedal assembly having a hysteresis mechanism
JP5720960B2 (ja) アクセル装置
CN212313287U (zh) 车辆用踏板装置
KR101659342B1 (ko) 전자식 가속 페달 조립체
JP4465703B2 (ja) アクセル装置
KR100885675B1 (ko) 회전체용 포지션 감지장치 및 그를 이용한 전자식액셀러레이터 페달
US10502587B2 (en) Shifting-range rotary sensor unit for a vehicle
JP2016211729A (ja) 締結構造体、および、これを用いたアクセル装置
JP2014088137A (ja) アクセル装置
KR20180102001A (ko) 페달 장치 및 그 제조 방법
JP2012250613A (ja) アクセル装置
KR20240140313A (ko) 차량 페달의 변위 센싱 장치용 페달연동 연결구 및 이를 포함하는 차량 페달의 변위 센싱 장치

Legal Events

Date Code Title Description
PA0109 Patent application

St.27 status event code: A-0-1-A10-A12-nap-PA0109

PN2301 Change of applicant

St.27 status event code: A-3-3-R10-R13-asn-PN2301

St.27 status event code: A-3-3-R10-R11-asn-PN2301

PN2301 Change of applicant

St.27 status event code: A-3-3-R10-R13-asn-PN2301

St.27 status event code: A-3-3-R10-R11-asn-PN2301

PG1501 Laying open of application

St.27 status event code: A-1-1-Q10-Q12-nap-PG1501

A201 Request for examination
PA0201 Request for examination

St.27 status event code: A-1-2-D10-D11-exm-PA0201

D13-X000 Search requested

St.27 status event code: A-1-2-D10-D13-srh-X000

E902 Notification of reason for refusal
PE0902 Notice of grounds for rejection

St.27 status event code: A-1-2-D10-D21-exm-PE0902

R18 Changes to party contact information recorded

Free format text: ST27 STATUS EVENT CODE: A-3-3-R10-R18-OTH-X000 (AS PROVIDED BY THE NATIONAL OFFICE)

R18-X000 Changes to party contact information recorded

St.27 status event code: A-3-3-R10-R18-oth-X000

E13 Pre-grant limitation requested

Free format text: ST27 STATUS EVENT CODE: A-2-3-E10-E13-LIM-X000 (AS PROVIDED BY THE NATIONAL OFFICE)

E13-X000 Pre-grant limitation requested

St.27 status event code: A-2-3-E10-E13-lim-X000

P11 Amendment of application requested

Free format text: ST27 STATUS EVENT CODE: A-2-2-P10-P11-NAP-X000 (AS PROVIDED BY THE NATIONAL OFFICE)

P11-X000 Amendment of application requested

St.27 status event code: A-2-2-P10-P11-nap-X000