KR20220105698A - 증강현실 안경 렌즈, 이를 포함하는 증강현실 안경 및 시스템 - Google Patents

증강현실 안경 렌즈, 이를 포함하는 증강현실 안경 및 시스템 Download PDF

Info

Publication number
KR20220105698A
KR20220105698A KR1020210008006A KR20210008006A KR20220105698A KR 20220105698 A KR20220105698 A KR 20220105698A KR 1020210008006 A KR1020210008006 A KR 1020210008006A KR 20210008006 A KR20210008006 A KR 20210008006A KR 20220105698 A KR20220105698 A KR 20220105698A
Authority
KR
South Korea
Prior art keywords
augmented reality
light emitting
reality glasses
eye lens
disposed
Prior art date
Legal status (The legal status is an assumption and is not a legal conclusion. Google has not performed a legal analysis and makes no representation as to the accuracy of the status listed.)
Pending
Application number
KR1020210008006A
Other languages
English (en)
Inventor
송종섭
이태현
Original Assignee
삼성전자주식회사
Priority date (The priority date is an assumption and is not a legal conclusion. Google has not performed a legal analysis and makes no representation as to the accuracy of the date listed.)
Filing date
Publication date
Application filed by 삼성전자주식회사 filed Critical 삼성전자주식회사
Priority to KR1020210008006A priority Critical patent/KR20220105698A/ko
Priority to US17/377,629 priority patent/US12105288B2/en
Priority to CN202111518341.4A priority patent/CN114815240A/zh
Publication of KR20220105698A publication Critical patent/KR20220105698A/ko
Pending legal-status Critical Current

Links

Images

Classifications

    • GPHYSICS
    • G02OPTICS
    • G02BOPTICAL ELEMENTS, SYSTEMS OR APPARATUS
    • G02B27/00Optical systems or apparatus not provided for by any of the groups G02B1/00 - G02B26/00, G02B30/00
    • G02B27/01Head-up displays
    • G02B27/017Head mounted
    • G02B27/0172Head mounted characterised by optical features
    • GPHYSICS
    • G02OPTICS
    • G02BOPTICAL ELEMENTS, SYSTEMS OR APPARATUS
    • G02B25/00Eyepieces; Magnifying glasses
    • G02B25/001Eyepieces
    • GPHYSICS
    • G02OPTICS
    • G02BOPTICAL ELEMENTS, SYSTEMS OR APPARATUS
    • G02B26/00Optical devices or arrangements for the control of light using movable or deformable optical elements
    • GPHYSICS
    • G02OPTICS
    • G02BOPTICAL ELEMENTS, SYSTEMS OR APPARATUS
    • G02B27/00Optical systems or apparatus not provided for by any of the groups G02B1/00 - G02B26/00, G02B30/00
    • G02B27/0093Optical systems or apparatus not provided for by any of the groups G02B1/00 - G02B26/00, G02B30/00 with means for monitoring data relating to the user, e.g. head-tracking, eye-tracking
    • GPHYSICS
    • G02OPTICS
    • G02BOPTICAL ELEMENTS, SYSTEMS OR APPARATUS
    • G02B27/00Optical systems or apparatus not provided for by any of the groups G02B1/00 - G02B26/00, G02B30/00
    • G02B27/01Head-up displays
    • G02B27/017Head mounted
    • G02B27/0176Head mounted characterised by mechanical features
    • GPHYSICS
    • G02OPTICS
    • G02BOPTICAL ELEMENTS, SYSTEMS OR APPARATUS
    • G02B6/00Light guides; Structural details of arrangements comprising light guides and other optical elements, e.g. couplings
    • G02B6/0001Light guides; Structural details of arrangements comprising light guides and other optical elements, e.g. couplings specially adapted for lighting devices or systems
    • G02B6/0011Light guides; Structural details of arrangements comprising light guides and other optical elements, e.g. couplings specially adapted for lighting devices or systems the light guides being planar or of plate-like form
    • G02B6/0075Arrangements of multiple light guides
    • G02B6/0076Stacked arrangements of multiple light guides of the same or different cross-sectional area
    • GPHYSICS
    • G06COMPUTING OR CALCULATING; COUNTING
    • G06TIMAGE DATA PROCESSING OR GENERATION, IN GENERAL
    • G06T19/00Manipulating 3D models or images for computer graphics
    • G06T19/006Mixed reality
    • HELECTRICITY
    • H01ELECTRIC ELEMENTS
    • H01LSEMICONDUCTOR DEVICES NOT COVERED BY CLASS H10
    • H01L23/00Details of semiconductor or other solid state devices
    • H01L23/48Arrangements for conducting electric current to or from the solid state body in operation, e.g. leads, terminal arrangements ; Selection of materials therefor
    • H01L23/488Arrangements for conducting electric current to or from the solid state body in operation, e.g. leads, terminal arrangements ; Selection of materials therefor consisting of soldered or bonded constructions
    • H01L23/498Leads, i.e. metallisations or lead-frames on insulating substrates, e.g. chip carriers
    • H01L23/49811Additional leads joined to the metallisation on the insulating substrate, e.g. pins, bumps, wires, flat leads
    • H01L23/49816Spherical bumps on the substrate for external connection, e.g. ball grid arrays [BGA]
    • HELECTRICITY
    • H01ELECTRIC ELEMENTS
    • H01LSEMICONDUCTOR DEVICES NOT COVERED BY CLASS H10
    • H01L23/00Details of semiconductor or other solid state devices
    • H01L23/52Arrangements for conducting electric current within the device in operation from one component to another, i.e. interconnections, e.g. wires, lead frames
    • H01L23/522Arrangements for conducting electric current within the device in operation from one component to another, i.e. interconnections, e.g. wires, lead frames including external interconnections consisting of a multilayer structure of conductive and insulating layers inseparably formed on the semiconductor body
    • H01L23/528Layout of the interconnection structure
    • HELECTRICITY
    • H01ELECTRIC ELEMENTS
    • H01LSEMICONDUCTOR DEVICES NOT COVERED BY CLASS H10
    • H01L23/00Details of semiconductor or other solid state devices
    • H01L23/52Arrangements for conducting electric current within the device in operation from one component to another, i.e. interconnections, e.g. wires, lead frames
    • H01L23/522Arrangements for conducting electric current within the device in operation from one component to another, i.e. interconnections, e.g. wires, lead frames including external interconnections consisting of a multilayer structure of conductive and insulating layers inseparably formed on the semiconductor body
    • H01L23/532Arrangements for conducting electric current within the device in operation from one component to another, i.e. interconnections, e.g. wires, lead frames including external interconnections consisting of a multilayer structure of conductive and insulating layers inseparably formed on the semiconductor body characterised by the materials
    • H01L23/53204Conductive materials
    • H01L23/53209Conductive materials based on metals, e.g. alloys, metal silicides
    • HELECTRICITY
    • H01ELECTRIC ELEMENTS
    • H01LSEMICONDUCTOR DEVICES NOT COVERED BY CLASS H10
    • H01L25/00Assemblies consisting of a plurality of semiconductor or other solid state devices
    • H01L25/03Assemblies consisting of a plurality of semiconductor or other solid state devices all the devices being of a type provided for in a single subclass of subclasses H10B, H10D, H10F, H10H, H10K or H10N, e.g. assemblies of rectifier diodes
    • H01L25/04Assemblies consisting of a plurality of semiconductor or other solid state devices all the devices being of a type provided for in a single subclass of subclasses H10B, H10D, H10F, H10H, H10K or H10N, e.g. assemblies of rectifier diodes the devices not having separate containers
    • H01L25/075Assemblies consisting of a plurality of semiconductor or other solid state devices all the devices being of a type provided for in a single subclass of subclasses H10B, H10D, H10F, H10H, H10K or H10N, e.g. assemblies of rectifier diodes the devices not having separate containers the devices being of a type provided for in group H10H20/00
    • H01L25/0753Assemblies consisting of a plurality of semiconductor or other solid state devices all the devices being of a type provided for in a single subclass of subclasses H10B, H10D, H10F, H10H, H10K or H10N, e.g. assemblies of rectifier diodes the devices not having separate containers the devices being of a type provided for in group H10H20/00 the devices being arranged next to each other
    • H01L33/0008
    • H01L33/0062
    • H01L33/48
    • H01L33/62
    • HELECTRICITY
    • H10SEMICONDUCTOR DEVICES; ELECTRIC SOLID-STATE DEVICES NOT OTHERWISE PROVIDED FOR
    • H10HINORGANIC LIGHT-EMITTING SEMICONDUCTOR DEVICES HAVING POTENTIAL BARRIERS
    • H10H20/00Individual inorganic light-emitting semiconductor devices having potential barriers, e.g. light-emitting diodes [LED]
    • H10H20/01Manufacture or treatment
    • H10H20/011Manufacture or treatment of bodies, e.g. forming semiconductor layers
    • H10H20/013Manufacture or treatment of bodies, e.g. forming semiconductor layers having light-emitting regions comprising only Group III-V materials
    • HELECTRICITY
    • H10SEMICONDUCTOR DEVICES; ELECTRIC SOLID-STATE DEVICES NOT OTHERWISE PROVIDED FOR
    • H10HINORGANIC LIGHT-EMITTING SEMICONDUCTOR DEVICES HAVING POTENTIAL BARRIERS
    • H10H20/00Individual inorganic light-emitting semiconductor devices having potential barriers, e.g. light-emitting diodes [LED]
    • H10H20/80Constructional details
    • H10H20/81Bodies
    • HELECTRICITY
    • H10SEMICONDUCTOR DEVICES; ELECTRIC SOLID-STATE DEVICES NOT OTHERWISE PROVIDED FOR
    • H10HINORGANIC LIGHT-EMITTING SEMICONDUCTOR DEVICES HAVING POTENTIAL BARRIERS
    • H10H20/00Individual inorganic light-emitting semiconductor devices having potential barriers, e.g. light-emitting diodes [LED]
    • H10H20/80Constructional details
    • H10H20/85Packages
    • HELECTRICITY
    • H10SEMICONDUCTOR DEVICES; ELECTRIC SOLID-STATE DEVICES NOT OTHERWISE PROVIDED FOR
    • H10HINORGANIC LIGHT-EMITTING SEMICONDUCTOR DEVICES HAVING POTENTIAL BARRIERS
    • H10H20/00Individual inorganic light-emitting semiconductor devices having potential barriers, e.g. light-emitting diodes [LED]
    • H10H20/80Constructional details
    • H10H20/85Packages
    • H10H20/8506Containers
    • HELECTRICITY
    • H10SEMICONDUCTOR DEVICES; ELECTRIC SOLID-STATE DEVICES NOT OTHERWISE PROVIDED FOR
    • H10HINORGANIC LIGHT-EMITTING SEMICONDUCTOR DEVICES HAVING POTENTIAL BARRIERS
    • H10H20/00Individual inorganic light-emitting semiconductor devices having potential barriers, e.g. light-emitting diodes [LED]
    • H10H20/80Constructional details
    • H10H20/85Packages
    • H10H20/857Interconnections, e.g. lead-frames, bond wires or solder balls
    • HELECTRICITY
    • H10SEMICONDUCTOR DEVICES; ELECTRIC SOLID-STATE DEVICES NOT OTHERWISE PROVIDED FOR
    • H10HINORGANIC LIGHT-EMITTING SEMICONDUCTOR DEVICES HAVING POTENTIAL BARRIERS
    • H10H29/00Integrated devices, or assemblies of multiple devices, comprising at least one light-emitting semiconductor element covered by group H10H20/00
    • H10H29/10Integrated devices comprising at least one light-emitting semiconductor component covered by group H10H20/00
    • H10H29/14Integrated devices comprising at least one light-emitting semiconductor component covered by group H10H20/00 comprising multiple light-emitting semiconductor components
    • GPHYSICS
    • G02OPTICS
    • G02BOPTICAL ELEMENTS, SYSTEMS OR APPARATUS
    • G02B27/00Optical systems or apparatus not provided for by any of the groups G02B1/00 - G02B26/00, G02B30/00
    • G02B27/01Head-up displays
    • G02B27/0101Head-up displays characterised by optical features
    • G02B2027/014Head-up displays characterised by optical features comprising information/image processing systems
    • GPHYSICS
    • G02OPTICS
    • G02BOPTICAL ELEMENTS, SYSTEMS OR APPARATUS
    • G02B27/00Optical systems or apparatus not provided for by any of the groups G02B1/00 - G02B26/00, G02B30/00
    • G02B27/01Head-up displays
    • G02B27/017Head mounted
    • G02B2027/0178Eyeglass type
    • GPHYSICS
    • G02OPTICS
    • G02BOPTICAL ELEMENTS, SYSTEMS OR APPARATUS
    • G02B6/00Light guides; Structural details of arrangements comprising light guides and other optical elements, e.g. couplings
    • G02B6/0001Light guides; Structural details of arrangements comprising light guides and other optical elements, e.g. couplings specially adapted for lighting devices or systems
    • G02B6/0011Light guides; Structural details of arrangements comprising light guides and other optical elements, e.g. couplings specially adapted for lighting devices or systems the light guides being planar or of plate-like form

Landscapes

  • Physics & Mathematics (AREA)
  • General Physics & Mathematics (AREA)
  • Optics & Photonics (AREA)
  • Engineering & Computer Science (AREA)
  • Microelectronics & Electronic Packaging (AREA)
  • Power Engineering (AREA)
  • Computer Hardware Design (AREA)
  • Condensed Matter Physics & Semiconductors (AREA)
  • Computer Graphics (AREA)
  • General Engineering & Computer Science (AREA)
  • Software Systems (AREA)
  • Theoretical Computer Science (AREA)
  • Geometry (AREA)
  • Holo Graphy (AREA)

Abstract

증강현실 안경은, 좌안 렌즈부 및 우안 렌즈부, 및 상기 좌안 렌즈부를 지지하는 좌안 렌즈 지지 영역, 상기 우안 렌즈부를 지지하는 우안 렌즈 지지 영역, 및 상기 좌안 렌즈 지지 영역과 상기 우안 렌즈 지지 영역을 연결하는 노즈 브릿지(nose bridge)를 포함하는 프레임을 포함하되, 상기 좌안 렌즈부 및 상기 우안 렌즈부는 각각, 증강현실 이미지를 표시하는 표시 영역, 및 적외선 대역의 파장의 광을 방출하는 복수의 광 출사부들이 위치하고, 상기 표시 영역을 둘러싸는 트래킹 영역을 포함한다.

Description

증강현실 안경 렌즈, 이를 포함하는 증강현실 안경 및 시스템{AUGMENTED REALITY GLASSES LENSES, AND AUGMENTED REALITY GLASSES AND SYSTEM INCLUDING THE SAME}
본 개시는 증강현실 안경 렌즈, 이를 포함하는 증강현실 안경 및 시스템에 관한 것이다.
최근 기술의 발전에 따라, 신체에 착용 가능한 다양한 형태의 웨어러블 장치가 나오고 있다. 그 중 헤드 마운티드 디스플레이(Head Mounted Display) 장치는 사용자의 머리에 착용하는 웨어러블 장치로써, 투명 디스플레이를 통해 가상 오브젝트에 대한 시각적 정보를 제공함으로써 사용자에게 증강현실(argmented reality) 서비스를 제공할 수 있다. 다만, 사용자가 헤드 마운티드 디스플레이를 착용했을 때, 헤드 마운티드 디스플레이의 전원이 오프된 상태에서는 헤드 마운티드 디스플레이가 사용자의 눈을 가리므로, 사용자는 헤드 마운티드 디스플레이 너머의 사물을 시각적으로 인지할 수 없다.
또한, 최근에 웨어러블 장치로서 헤드 마운티드 디스플레이와 다른 안경의 형태를 가진 증강현실 안경에 대해 연구가 이루어지고 있다. 증강현실 안경은 전원이 오프된 상태에서도 일반적인 안경과 같이, 증강현실 안경 너머의 사물을 시각적으로 인지할 수 있다.
본 개시의 실시예들에 따른 과제는 적외선 광을 방출하는 발광 칩이 실장된 증강현실 렌즈 및 이를 포함하는 증강현실 안경 및 시스템을 제공하는 것이다.
본 개시의 과제들은 이상에서 언급한 과제로 제한되지 않으며, 언급되지 않은 또 다른 기술적 과제들은 아래의 기재로부터 통상의 기술자에게 명확하게 이해될 수 있을 것이다.
상기 과제를 해결하기 위한 본 개시의 일 실시예에 따른 증강현실 안경은, 좌안 렌즈부 및 우안 렌즈부, 및 상기 좌안 렌즈부를 지지하는 좌안 렌즈 지지 영역, 상기 우안 렌즈부를 지지하는 우안 렌즈 지지 영역, 및 상기 좌안 렌즈 지지 영역과 상기 우안 렌즈 지지 영역을 연결하는 노즈 브릿지(nose bridge)를 포함하는 프레임을 포함하되, 상기 좌안 렌즈부 및 상기 우안 렌즈부는 각각, 증강현실 이미지를 표시하는 표시 영역, 및 적외선 대역의 파장의 광을 방출하는 복수의 광 출사부들이 위치하고, 상기 표시 영역을 둘러싸는 트래킹 영역을 포함한다.
상기 과제를 해결하기 위한 본 개시의 일 실시예에 따른 증강현실 시스템은, 통신 모듈, 및 제어부를 포함하는 제어 기기, 및 상기 통신 모듈과 통신 네트워크를 통해 연결되고, 상기 제어부에 의해 제어되어 가상현실 이미지를 표시하고, 사용자의 동공의 위치를 추적하는 증강현실 안경을 포함하되, 상기 증강현실 안경은, 좌안 렌즈부 및 우안 렌즈부, 및 상기 좌안 렌즈부를 고정하는 좌안 렌즈 지지 영역, 상기 우안 렌즈부를 지지하는 우안 렌즈 지지 영역, 및 상기 좌안 렌즈 지지 영역과 상기 우안 렌즈 지지 영역을 연결하는 노즈 브릿지(nose bridge)를 포함하는 프레임을 포함하되, 상기 좌안 렌즈부 및 상기 우안 렌즈부는 각각, 증강현실 이미지를 표시하는 표시 영역, 및 적외선 대역의 파장의 광을 방출하는 복수의 광 출사부들이 위치하고, 상기 표시 영역을 둘러싸는 트래킹 영역을 포함하고, 상기 각 광 출사부는, 베이스 기판, 상기 베이스 기판 상에 배치되는 발광 칩, 상기 발광 칩 상에 배치되고, 동일 층에 형성되는 제1 패드 및 제2 패드, 및 상기 발광 칩을 덮도록 형성되는 충진 부재를 포함한다.
상기 과제를 해결하기 위한 본 개시의 일 실시예에 따른 증강현실 안경 렌즈는, 사용자가 증강현실 안경 렌즈 너머의 사물을 시각적으로 인식할 수 있도록 구성되고, 증강현실 이미지를 표시하도록 구성되는 증강현실 안경 렌즈에 있어서, 제1 광학 렌즈, 일면에 리세스 영역을 포함하는 제2 광학 렌즈, 상기 제1 광학 렌즈와 상기 제2 광학 렌즈 사이에 배치되는 웨이브 가이드, 및 상기 웨이브 가이드와 상기 제2 광학 렌즈 사이에 배치되고, 상기 리세스 영역에 위치하는 광 출사부를 포함하되, 상기 광 출사부는, GaAs를 포함하는 베이스 기판, 상기 베이스 기판 상에 배치되고, 에피텍셜 성장형인 발광 칩, 상기 발광 칩 상에 배치되는 제1 패드 및 제2 패드, 및 상기 발광 칩 상에 배치되는 충진 부재를 포함하되, 상기 충진 부재는 레진을 포함하되, 상기 발광 칩을 덮고, 상기 리세스 영역을 메우도록 형성된다.
기타 실시예의 구체적인 사항들은 상세한 설명 및 도면들에 포함되어 있다.
본 개시의 실시예들에 따르면, 사용자의 안구를 트래킹(tracking) 하기 위한 적외선 광을 사용자의 안구 전면에서 방출하므로, 트래킹의 정확도가 증가할 수 있다.
또한, 발광 칩이 증강현실 렌즈 내 평평한 위치에 실장되므로, 발광 칩을 형성하는 공정의 난이도가 곡면을 가진 증강현실 안경의 프레임에 형성하는 공정의 난이도 보다 감소할 수 있다.
또한, 발광 칩이 증강현실 렌즈 내 실장되므로, 증강현실 안경의 프레임의 두께가 얇아질 수 있다.
실시예들에 따른 효과는 이상에서 예시된 내용에 의해 제한되지 않으며, 더욱 다양한 효과들이 본 명세서 내에 포함되어 있다.
도 1은 본 개시의 일 실시예에 따른 증강현실 시스템을 개략적으로 나타내는 개념도이다.
도 2는 본 개시의 일 실시예에 따른 증강현실 시스템을 설명하기 위한 개략적인 블록도이다.
도 3은 본 개시의 일 실시예에 따른 증강현실 안경의 표시부를 설명하기 위한 개략적인 블록도이다.
도 4는 본 개시의 일 실시예에 따른 증강현실 안경의 안구 추적부를 설명하기 위한 개략적인 블록도이다.
도 5는 일 예로서, 도 4의 안구 추적부가 초점을 조절하는 방법을 설명하기 위한 도면이다.
도 6은 일 예로서, 도 4의 안구 추적부가 시선을 추적하는 방법을 설명하기 위한 도면이다.
도 7은 본 개시의 일 실시예에 따른 증강현실 안경의 개략적인 사시도이다.
도 8은 도 7의 Ⅰ-Ⅰ'라인을 따라 자른 증강현실 안경의 단면도이다.
도 9는 도 7의 A영역을 확대한 도면이다.
도 10은 도 9의 Ⅱ-Ⅱ'라인을 따라 자른 광 출사부의 단면도이다.
도 11은 본 개시의 일 실시예에 따른 증강현실 안경의 일부 영역을 자른 단면도이다.
도 12는 본 개시의 일 실시예에 따른 증강현실 안경의 일부 영역을 자른 단면도이다.
도 13은 본 개시의 일 실시예에 따른 증강현실 안경의 개략적인 사시도이다.
도 14은 도 13의 Ⅲ-Ⅲ’라인을 따라 자른 증강현실 안경의 단면도이다.
도 15는 도 13의 A영역을 확대한 도면이다.
도 16은 도 15의 Ⅵ-Ⅵ’라인을 따라 자른 광 출사부의 단면도이다.
도 1은 본 개시의 일 실시예에 따른 증강현실 시스템을 개략적으로 나타내는 개념도이다. 도 2는 본 개시의 일 실시예에 따른 증강현실 시스템을 설명하기 위한 개략적인 블록도이다.
우선, 증강현실 안경(20)의 기능적 특징에 대해서 설명한다.
도 1 및 도 2를 참조하면, 증강현실(AR; Augmented Reality) 시스템은 증강현실 안경(20), 제어 기기(30) 및 통신 네트워크(40)를 포함한다.
증강현실 안경(20)은 사용자(10)의 헤드에 착용될 수 있다. 증강현실 안경(20)은 사용자(10)의 안구(11)에 인접하게 착용될 수 있다. 사용자(10)는 일반적인 안경을 착용한 것과 같이, 증강현실 안경(20) 너머의 실제 배경(REAL background)을 시각적을 인식할 수 있고, 증강현실 안경(20)을 통하여 작업 수행을 위한 다양한 표시 정보를 제공받을 수 있다. 증강현실 안경(20)은 상기 다양한 표시 정보로서 증강현실 이미지(Virtual IMAGE)를 표시할 수 있다. 증강현실 안경(20)은 사용자(10)의 주시 방향(Sight direction)에 따른 일부 영역(주시 영역)에 증강현실 이미지를 표시할 수 있다. 증강현실 이미지는 증강현실 안경 렌즈(예, 후술하는 렌즈부)에 투영된다. 이를 위하여, 증강현실 안경(20)은 증강현실 이미지를 표시하기 위한 디스플레이 패널을 포함할 수 있다. 증강현실 안경 렌즈는 가시광선 대역의 파장의 광에 대해 투과성을 가진다. 사용자(10)는 증강현실 안경(20)이 표시하는 증강현실 이미지와 증강현실 안경(20) 너머의 배경(실제 사물)을 중첩하여 시각적으로 인지할 수 있다.
증강현실 안경(20)의 동작 제어는 사용자(10)의 주시 방향에 기초하여 수행될 수 있다. 증강현실 안경(20)은 사용자(10)의 주시 방향을 판단하고, 판단 결과에 기초하여, 정보를 표시할 수 있다.
일 실시예로, 증강현실 안경(20)은 통신 네트워크(40)를 통해 연결된 제어 기기(30)에 의해 제어될 수 있다. 일 실시예로, 제어 기기(30)는 통신 네트워크(40)에 접속하도록 구성된 제1 통신 모듈(320) 및 증강현실 안경(20)을 제어하는 제어부(310)를 포함할 수 있다.
제어 기기(30)에 구비된 제1 통신 모듈(320)은, 예를 들어, 블루투스 모듈, 적외선 통신 모듈, RFID(Radio Frequency Identification) 통신 모듈, WLAN(Wireless Local Access Network) 통신 모듈, NFC 통신 모듈, 직비(Zigbee) 통신 모듈, 와이파이(Wifi) 모듈, 와이브로(Wireless broadband) 모듈, GSM(global System for Mobile Communication), CDMA(Code Division Multiple Access), WCDMA(Wideband Code Division Multiple Access), UMTS(universal mobile telecommunications system), TDMA(Time Division Multiple Access), LTE(Long Term Evolution), 5G 모듈 등 다양한 무선 통신 방식을 지원하는 무선 통신 모듈을 포함할 수 있다.
제어부(310)는 이미지 프로세싱을 수행하는 하드웨어 및 소프트웨어를 포함할 수 있다. 예를 들어, 상기 하드웨어는 중앙 처리 장치(central processing unit, CPU), 그래픽 처리 장치(graphics processing unit, GPU), 및/또는 본 발명의 실시예들에 따른 방법들이 수행되는 전용의 프로세서의 형태로 구현될 수 있다.
예를 들어, 제어 기기(30)는 무선 통신이 가능한 무선 기기로서, 스마트폰(smart phone), 태블릿 PC(tablet PC), 모바일폰(mobile phone), 스마트 워치(smart watch), 스마트 글래스(smart glass), e-book 리더기, 휴대용 게임기, 네비게이션(navigation) 장치, PDA(Personal Digital Assistant) 등의 형태로 구현될 수 있다.
일 실시예로, 증강현실 안경(20)은 기능적인 측면에서, 표시부(210), 안구 추적부(220) 및 제2 통신 모듈(230)을 포함할 수 있다.
증강현실 안경(20)에 구비된 제2 통신 모듈(230)은 제어 기기(30)와 통신할 수 있다. 예를 들어, 증강현실 안경(20)에 구비된 제2 통신 모듈(230)은 제1 통신 모듈(320)과 통신하기 위해, 제1 통신 모듈(320)과 동일한 무선 통신 방식을 지원하는 무선 통신 모듈을 포함할 수 있다.
도 3은 본 개시의 일 실시예에 따른 증강현실 안경의 표시부를 설명하기 위한 개략적인 블록도이다.
도 2 및 도 3을 참조하면, 표시부(210)는 화소부(214), 타이밍 제어부(211), 주사 구동부(213), 데이터 구동부(212), 광학 소자(215) 및 웨이브 가이드(240)를 포함할 수 있다.
증강현실 이미지는 화소부(214)로부터 출사되어 광학 소자(215) 및 웨이브 가이드(240)를 통해 사용자(10)의 동공으로 전달되는 가상 화상을 의미한다. 증강현실 이미지는 이미지 형태의 정지 영상이거나 동영상과 같은 것일 수 있다. 사용자(10)는 표시부(210)를 통해 실제 세계에 존재하는 실제 사물로부터 출사되는 화상광인 실제 사물 화상광을 눈으로 직접 응시함으로써 증강 현실 서비스를 제공받게 된다.
화소부(214)는 증강현실 이미지에 상응하는 화상광을 출사하는 수단이다. 화소부(214)는 복수의 화소들(PX1~PX4)을 포함할 수 있다. 화소부(214)는 주사 라인들(SL1~SLn, n은 2 이상의 자연수) 및 데이터 라인들(DL1~DLm, m은 2 이상의 자연수)에 의하여 구획된 영역에 위치되는 화소들(PX1~PX4)을 포함할 수 있다. 예를 들어, 복수의 화소들(PX1~PX4)은 각각 적색, 녹색, 청색의 화상광을 발광하는 화소들(PX1~PX4)을 포함할 수 있다. 다만, 몇몇 실시예에서 복수의 화소들(PX1~PX4)은 백색(white), 시안(cyan), 마젠타(magenta), 옐로(yellow) 색의 화상광을 발광하는 화소들(PX1~PX4)을 포함할 수도 있다.
타이밍 제어부(211)는 제어부(310)로부터 수신된 데이터에 기초하여, 각 프레임에 대한 데이터 값들, 제어 신호 등을 데이터 구동부(212)에 제공할 수 있다. 또한, 타이밍 제어부(211)는 제어부(310)로부터 수신된 데이터에 기초하여, 클록 신호, 제어 신호 등을 주사 구동부(213)에 제공할 수 있다. 증강현실 안경(20)에 위치하는 타이밍 제어부(211)는 제어 기기(30)에 위치하는 제어부(310)에 의해 제어될 수 있다. 예를 들어, 제어 기기(30)에 위치하는 제어부(310)는 증강현실 안경(20)과 무선 연결을 통해 타이밍 제어부(211)를 제어할 수 있다.
주사 구동부(213)는 주사 라인들(SL1~SLn)로 주사 신호(S1~Sn)를 순차적으로 공급할 수 있다. 데이터 구동부(212)는 데이터 신호들(D1~Dm)을 상기 주사 신호(S1~Sn)가 공급될 때마다 데이터 라인들(DL1~DLm)로 공급할 수 있다.
예를 들어, 화소부(214), 주사 구동부(213) 및 데이터 구동부(212)는 함께 디스플레이 패널로서 실리콘 상의 액정(liquid-crystal on Silicon, LCOS) 표시패널, 액정 표시패널(liquid crystal display panel), 유기발광(OLED) 표시패널, 마이크로 LED 표시패널(micro LED display panel), 플라즈마 표시패널(plasma display panel), 전기영동 표시패널(electrophoretic display panel), MEMS 표시패널(micro electromechanical system display panel), 일렉트로웨팅 표시패널(electrowetting display panel) 또는 이미지 프로젝터(image projector) 등의 형태로 구현될 수 있다.
광학 소자(215)는 화소부(214)로부터 출사되는 화상광을 반사, 굴절 또는 회절시켜, 웨이브 가이드(240)를 향해 전달할 수 있다. 광학 소자(215)는 반사 수단, 굴절 수단 또는 회절 수단 또는 이들의 조합으로 구성되는 다양한 광학 소자(215)를 사용할 수도 있다. 광학 소자(215)는 볼록 또는 오목 렌즈 또는 거울 등과 같은 종래의 광학 소자(215)를 포함할 수도 있다. 도시하진 않았지만, 실시예에 따라, 표시부(210)는 화소부(214)와 광학 소자(215) 사이에 콜리메이터를 더 포함할 수도 있다.
광학 소자(215)로부터 출사되는 화상광은 웨이브 가이드(240)(waveguide)로 전달될 수 있다. 일 실시예로, 웨이브 가이드(240)는 웨이브 가이드(240) 내면에서 적어도 1회 전반사되는 구성을 사용할 수 있다. 몇몇 실시예에서, 웨이브 가이드(240)가 전반사 구조를 사용하지 않는 경우에는 별도의 반사 수단을 구비하며, 화상광을 안구(11)(동공)로 전달하기 위한 적절한 위치에 배치될 수 있다.
웨이브 가이드(240)는 투명한 소재로 구성되는 소자로서, 다른 표현으로는 시스루 디스플레이(see-through display)로 정의된다. 웨이브 가이드(240)는 회절 격자가 형성된 복수의 영역을 포함할 수 있다. 웨이브 가이드(240)에 투사된 가상 이미지는 전반사(total reflection) 원리로 웨이브 가이드(240) 내에서 반사될 수 있다. 웨이브 가이드(240)에 투사된 화상광은 복수의 영역에 형성된 회절 격자에 의해 광 경로가 변경되어 최종적으로 사용자(10)의 안구(11)에 가상 객체가 출력되도록 할 수 있다. 웨이브 가이드(240)는 화상광의 광 경로를 변경하는 도광판과 같은 기능을 수행할 수 있다.
도 4는 본 개시의 일 실시예에 따른 증강현실 안경의 안구 추적부를 설명하기 위한 개략적인 블록도이다. 도 5는 일 예로서, 도 4의 안구 추적부가 초점을 조절하는 방법을 설명하기 위한 도면이다. 도 6은 일 예로서, 도 4의 안구 추적부가 시선을 추적하는 방법을 설명하기 위한 도면이다.
도 2, 도 4 내지 도 6을 참조하면, 증강현실 안경(20)은 사용자(10)의 안구(11) 내 동공의 위치를 추적함으로써, 사용자(10)의 시선 방향을 나타내는 시선 벡터를 획득할 수 있다. 예를 들어, 적외선의 각막 반사를 이용하여 시선 방향을 검출하는 기술을 이용하여 사용자(10)의 시선 벡터를 획득할 수 있다.
일 실시예로, 안구 추적부(220)는 광 출사부(250) 및 광 수신부(260)를 포함할 수 있다.
일 실시예로, 광 출사부(250)는 사용자(10)의 안구(11)(좌안 및 우안; 양안)의 각막 부분에 적외선 광을 조사하고, 광 수신부(260)는 각막으로부터 반사된 적외선 광을 검출할 수 있다. 안구 추적부(220)는 광 수신부(260)를 통해 검출된 적외선 광의 양을 통해 사용자(10)의 양안이 바라보는 시선 방향을 결정하고, 시선 방향을 나타내는 시선 벡터를 획득할 수 있다. 안구 추적부(220)는 획득한 시선 벡터를 제어부(310)로 전송할 수 있다. 제어부(310)는 좌안 및 우안의 각 시선 벡터를 획득하고, 획득된 각 시선 벡터에 기초하여 양안을 통해 바라보는 응시점(gaze point)의 위치를 추정할 수 있다. 일 실시예로, 제어부(310)는 각 시선 벡터에 기초하여, 응시점의 3차원 위치 좌표 값을 계산할 수 있다. 일 실시예로, 제어부(310)는 응시점의 3차원 위치 좌표 값에 기초하여, 좌안 및 우안의 초점 위치를 결정할 수 있다.
일 실시예로, 광 수신부(260)는 이미지 센서(적외선 카메라)의 형태로 구현될 수 있다. 광 수신부(260)는 물리적 환경 또는 공간을 촬영하여 비디오 및 정지 이미지를 획득할 수 있다. 광 수신부(260)는 획득된 비디오 데이터 및 정지 이미지를 제어부(310)로 전송할 수 있다. 광 수신부(260)는 적외선 광의 양을 통해 눈동자 이미지를 획득할 수 있다. 예를 들어, 안구 추적부(220)는 비전 기술을 이용하여 눈동자의 이미지를 획득하고, 제어부(310)는 획득된 이미지를 이용하여 눈동자의 위치 변화를 추적하고, 추적된 위치 변화에 기초하여 시선 벡터를 획득할 수 있다.
이하에서, 증강현실 안경(20)의 구조적 특징에 대해서 설명한다. 증강현실 안경(20)의 구조적 특징에 대한 설명에 있어 앞서 기능적 특징에서 설명한 소자와 동일한 기능을 가지는 소자에 대해 동일한 명칭 또는 동일한 도면 부호를 사용하였다.
도 7은 본 개시의 일 실시예에 따른 증강현실 안경의 개략적인 사시도이다. 도 8은 도 7의 Ⅰ-Ⅰ'라인을 따라 자른 증강현실 안경의 단면도이다.
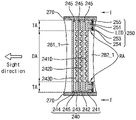
도 7 및 도 8을 참조하면, 일 실시예로, 증강현실 안경(20)은 좌안 렌즈부(291), 우안 렌즈부(292), 프레임(270), 광 출사부(250) 및 광 수신부(260)를 포함할 수 있다. 또한, 상술한 타이밍 제어부(211), 데이터 구동부(212), 주사 구동부(213), 화소부(214) 및 광학 소자(215)는 프레임(270) 내부에 위치할 수 있다.
좌안 렌즈부(291)와 우안 렌즈부(292)는 서로 대칭적 형상을 가지므로, 우안 렌즈부(292)를 기준으로 설명하고, 이와 중복된 설명은 생략하기로 한다. 이하에서, 좌안 렌즈부(291)와 우안 렌즈부(292)를 통칭하여 렌즈부(291, 292)로 칭하기로 한다.
렌즈부(291, 292)의 적어도 일부 영역은 투명할 수 있다. 사용자(10)는 상기 일부 영역을 투과하여 렌즈부(291, 292) 너머의 사물을 시각적으로 인식할 수 있다. 렌즈부(291, 292)의 상기 일부 영역에서 가시광선 파장 대역에 대한 광 투과성을 가질 수 있다.
렌즈부(291, 292)는 증강현실 이미지를 표시하는 표시 영역(DA)과 복수의 광 출사부(250)가 위치하는 트래킹 영역(TA)을 포함할 수 있다. 실시예에 따라, 트래킹 영역(TA)은 증강현실 이미지가 표시되지 않는 비표시(non-display) 영역일 수 있다.
트래킹 영역(TA)은 렌즈부(291, 292)의 테두리에 위치할 수 있다. 트래킹 영역(TA)은 표시 영역(DA)을 둘러쌀 수 있다. 일 실시예로, 트래킹 영역(TA)의 폭(w1)은 렌즈부(291, 292)의 테두리로부터 내측으로 2mm 이하일 수 있다. 표시 영역(DA)은 트래킹 영역(TA)의 내측에 위치할 수 있다.
일 실시예로, 렌즈부(291, 292)는 웨이브 가이드(240), 웨이브 가이드(240)의 전면에 배치되는 제1 광학 렌즈(281), 및 웨이브 가이드(240)의 배면에 배치되는 제2 광학 렌즈(282)를 포함할 수 있다. 본 명세서에서 렌즈부(291, 292)의 설명의 편의를 위해, 사용자(10)가 증강현실 안경(20)을 착용했을 때, 대향하는 면을 가지는 일 소자에서 사용자(10)의 시선 방향에 위치하는 면을 전면, 시선 방향의 반대 방향에 위치하는 면을 배면으로 정의하기로 한다.
일 실시예로, 제1 광학 렌즈(281)의 전면은 곡면이고, 제1 광학 렌즈(281)의 배면은 웨이브 가이드(240)의 전면과 접하는 면으로서 평면일 수 있다. 다만, 이에 제한되지 않고, 몇몇 실시예에서, 제1 광학 렌즈(281)의 전면은 평면일 수도 있다.
일 실시예로, 사용자(10)가 증강현실 안경(20)을 착용했을 때, 제2 광학 렌즈(282)는 제1 광학 렌즈(281) 보다 사용자(10)의 안구(11)에 더 가깝게 위치할 수 있다.
일 실시예로, 제2 광학 렌즈(282)의 전면은 웨이브 가이드(240)의 배면과 접하는 면으로서 평면이고, 제2 광학 렌즈(282)의 배면은 곡면일 수 있다. 다만, 이에 제한되지 않고, 몇몇 실시예에서, 제2 광학 렌즈(282)의 배면은 평면일 수도 있다. 제2 광학 렌즈(282)는 전면의 테두리에 광 출사부(250)가 배치될 수 있는 리세스 영역(RA)을 포함할 수 있다. 리세스 영역(RA)은 제2 광학 렌즈(282)와 웨이브 가이드(240) 사이에 위치할 수 있다. 리세스 영역(RA)은 트래킹 영역(TA)과 중첩할 수 있다. 제2 광학 렌즈(282)의 전면 중 리세스 영역(RA)은 광 출사부(250)와 접할 수 있고, 나머지 영역(예, 표시 영역(DA)과 중첩하는 영역, 및 트래킹 영역(TA)과 중첩하는 영역 중 리세스 영역(RA)이 형성되지 않은 영역)은 웨이브 가이드(240)와 접할 수 있다.
일 실시예로, 제1 광학 렌즈(281)는 제2 광학 렌즈(282)와 달리 리세스 영역(RA)을 불포함할 수 있다.
제1 광학 렌즈(281) 및 제2 광학 렌즈(282) 중 적어도 하나는 초점 렌즈의 기능을 포함할 수 있다. 예를 들어, 제1 광학 렌즈(281) 및/또는 제2 광학 렌즈(282)는 볼록 렌즈, 오목 렌즈 또는 평면 렌즈일 수 있다. 일 실시예로, 도 8에서, 제1 광학 렌즈(281) 및 제2 광학 렌즈(282)가 모두 볼록 렌즈인 것으로 도시하였지만, 실시예가 이에 제한되는 것은 아니다. 제1 광학 렌즈(281) 또는 제2 광학 렌즈(282)가 볼록 렌즈나 오목 렌즈인 경우, 사용자(10)의 시력에 맞추어 제1 광학 렌즈(281) 또는 제2 광학 렌즈(282)의 볼록한 정도나 오목한 정도가 조절될 수 있다.
웨이브 가이드(240)는 제1 광학 렌즈(281)와 제2 광학 렌즈(282) 사이에 배치될 수 있다. 일 실시예로, 웨이브 가이드(240)는 복수의 가이드를 포함할 수 있다. 예를 들어, 웨이브 가이드(240)는 제1 가이드(241), 제2 가이드(242), 제3 가이드(243) 및 커버 가이드(244)를 포함할 수 있다.
일 실시예로, 제1 가이드(241)의 전면 상에 제2 가이드(242)가 배치되고, 제2 가이드(242)의 전면 상에 제3 가이드(243)가 배치되고, 제3 가이드(243) 상에 커버 가이드(244)가 배치될 수 있다. 제1 가이드(241)의 배면은 제2 광학 렌즈(282)와 마주할 수 있다. 제1 가이드(241), 제2 가이드(242), 제3 가이드(243) 및 커버 가이드(244) 사이에 스페이서들(245)이 배치될 수 있다. 스페이서들(245)은 트래킹 영역(TA)에 중첩할 수 있다. 스페이서들(245)을 사이에 두고, 제1 가이드(241), 제2 가이드(242), 제3 가이드(243) 및 커버 가이드(244)는 소정의 간격을 두고 이격 배치될 수 있다.
일 실시예로, 제1 가이드(241), 제2 가이드(242) 및 제3 가이드(243)의 각 일 면(또는 양 면)에는 회절 격자(241D, 242D, 243D)를 포함할 수 있다. 회절 격자(241D, 242D, 243D)는 웨이브 가이드(240)의 내부에서 광을 전반사 시킬 수 있다. 또한, 회절 격자(241D, 242D, 243D)는 웨이브 가이드(240)의 정해진 영역에 대응하여, 웨이브 가이드(240)의 외부로 광을 출력할 수 있다. 또한, 회절 격자(241D, 242D, 243D)는 웨이브 가이드(240) 외부로 출사되는 광의 굴절 차수를 조절할 수 있다. 실시예에 따라, 회절 격자(241D, 242D, 243D)는 와이어 그리드 편광자(wire grid polarizer; WGP)를 포함할 수도 있다.
일 실시예로, 제1 가이드(241), 제2 가이드(242) 및 제3 가이드(243) 중 하나는 적색 광을 선택적으로 웨이브 가이드(240)의 외부로 출력하고, 다른 하나는 녹색 광을 웨이브 가이드(240)의 외부로 출력하고, 나머지 하나는 청색 광을 웨이브 가이드(240)의 외부로 출력할 수 있다. 예를 들어, 적색 광의 파장은 약 620nm 내지 750nm일 수 있고, 녹색 광의 파장은 약 495nm 내지 570nm일 수 있고, 청색 광의 파장은 약 450nm 내지 495nm일 수 있다.
커버 가이드(244)는 제1 가이드(241), 제2 가이드(242) 및 제3 가이드(243)를 보호하는 기능을 포함할 수 있다. 일 실시예로, 커버 가이드(244)는 두께가 일정할 수 있다.
프레임(270)은 사용자(10)가 증강 현실 안경을 착용시, 사용자(10)의 머리 부분에 장착되는 지지대일 수 있다. 프레임(270) 내부에는 타이밍 제어부(211), 주사 구동부(213), 데이터 구동부(212), 화소부(214), 광학 소자(215), 광 출사부(250) 및 광 수신부(260) 간의 전기 접속을 위한 전기 배선이 내장될 수 있다.
프레임(270)은 좌안 렌즈부(291) 및 우안 렌즈부(292)를 지지할 수 있다(또는, 고정시킬 수 있다). 프레임(270)은 좌안 렌즈 지지 영역(270L) 및 우안 렌즈 지지 영역(270R)을 포함할 수 있다. 좌안 렌즈 지지 영역(270L) 및 우안 렌즈 지지 영역(270R)은 각각 좌안 렌즈부(291) 및 우안 렌즈부(292)를 고정시킬 수 있다. 좌안 렌즈 지지 영역(270L) 및 우안 렌즈 지지 영역(270R)은 각각 좌안 렌즈부(291) 및 우안 렌즈부(292)의 각 테두리의 적어도 일부를 둘러쌀 수 있다.
일 실시예로, 프레임(270)은 노즈 브릿지(270N)(nose bridge)를 더 포함할 수 있다. 노즈 브릿지(270N)는 좌안 렌즈 지지 영역(270L)과 우안 렌즈 지지 영역(270R)을 연결하는 지지대로서, 사용자(10)가 증강 현실 안경을 착용한 경우 사용자(10)의 코 부분을 지지할 수 있다. 몇몇 실시예에서, 노즈 브릿지(270N)에는 소리를 녹음하고, 녹음된 음성 신호를 제어부(310)로 전송하는 마이크로폰(미도시)이 내장될 수도 있다.
일 실시예로, 광 수신부(260)는 프레임(270)에 내장될 수 있다. 예를 들어, 광 수신부(260)는 노즈 브릿지(270N)에 위치할 수 있다.
본 실시예에서, 노즈 브릿지(270N)는 프레임(270)에 포함되어 좌안 렌즈 지지 영역(270L) 및 우안 렌즈 지지 영역(270R)과 함께 일체인 것으로 도시했으나, 실시예에 따라, 프레임(270)과 노즈 브릿지(270N)(nose bridge)가 분리된 형태일 수도 있다.
이하에서, 광 출사부(250)에 대해 자세히 설명한다.
도 9는 도 7의 A영역을 확대한 도면이다. 도 10은 도 9의 Ⅱ-Ⅱ'라인을 따라 자른 광 출사부의 단면도이다.
도 7 내지 도 10을 참조하면, 광 출사부(250)는 베이스 기판(251), 베이스 기판(251) 상에 배치되는 발광 칩(LED), 절연층(256), 발광 칩(LED)과 연결되는 제1 패드(254)와 제2 패드(255), 및 충진 부재(253)를 포함할 수 있다.
일 실시예로, 광 출사부(250)는 제2 광학 렌즈(282)의 전면 테두리에 형성된 리세스 영역(RA) 상에 배치될 수 있다.
리세스 영역(RA) 상에(제2 광학 렌즈(282)의 전면 상에) 베이스 기판(251)이 배치될 수 있다. 일 실시예로, 베이스 기판(251)은 반도체의 성장에 적합한 물질이나 캐리어 웨이퍼 등일 수 있다. 일 실시예로, 베이스 기판(251)은 투명 기판일 수 있다. 예를 들어, 베이스 기판(251)의 재료는 GaAs를 포함할 수 있다. 다만, 베이스 기판(251)의 재료는 특정 재료에 한정되지 않고, 사파이어(Sapphire, Al2SO4), Si, SiC, GaN, ZnO 등과 같은 물질(또는 불투명 물질)을 포함할 수도 있다.
발광 칩(LED)은 베이스 기판(251)의 일면 상에 배치될 수 있다. 발광 칩(LED)은 n형 반도체층(257), 발광층(258) 및 p형 반도체층(259)을 포함할 수 있다.
일 실시예로, 발광 칩(LED)은 에피텍셜(epitaxial) 성장형일 수 있다.
베이스 기판(251) 상에 n형 반도체층(257)이 배치될 수 있다. n형 반도체층(257)은 베이스 기판(251) 상에서 성장될 수 있다. 구체적으로, n형 반도체층(257)의 성장은 MOCVD(Metal Organic Chemical Vapor Deposition), MOVPE(Metal Organic Vapor Phase Epitaxy) 또는 MBE(Molecular Beam Epitaxy)와 같은 증착 기술에 의해 이루어질 수 있다.
n형 반도체층(257) 상에 발광층(258) 및 p형 반도체층(259)을 순차적으로 배치될 수 있다. 여기서, 발광층(258) 및 p형 반도체층(259)을 성장키키기 위한 증착 기술은 전술한 n형 반도체층(257)의 증착 기술에서와 같다.
예를 들어, n형 반도체층(257)과 p형 반도체층(259)은 III-V족, II-VI족 등의 화합물 반도체로 구현될 수 있다. 몇몇 실시예에서, n형 반도체층(257)과 p형 반도체층(259)은 질화물 반도체층으로 구현될 수 있다. 예를 들어, n형 반도체층(257)과 p형 반도체층(259)은 각각 n-GaN 반도체층 및 p-GaN 반도체층일 수 있다. 그러나, 본 개시에 따른 n형 반도체층(257)과 p형 반도체층(259)이 이에 국한되는 것은 아니며, LED 소자에 요구되는 다양한 특성에 따라 다양한 재료로 이루어질 수 있다.
n형 반도체란 전하를 옮기는 캐리어로 자유전자가 사용되는 반도체로서, Si, Ge, Sn, Te 등과 같은 n형 도펀트를 도핑하여 만들어질 수 있다. p형 반도체란 전하를 옮기는 캐리어로 정공이 사용되는 반도체로서, Mg, Zn, Ca, Ba 등과 같은 p형 도펀트를 도핑하여 만들어 질 수 있다.
일 실시예로, n형 반도체층(257)의 일부 영역은 p형 반도체층(259)이 배치된 영역과 비중첩할 수 있다.
일 실시예로, 발광층(258)은 n형 반도체층(257)과 p형 반도체층(259) 사이에 위치하며, n형 반도체층(257)의 캐리어인 전자와 p형 반도체층(259)의 캐리어인 정공이 만나는 층이다. 발광층(258)에서 전자와 정공이 만나면, 전자와 정공이 재결합함에 따라 전위 장벽이 형성된다. 그리고 인가되는 전압에 따라 전자와 정공이 전위 장벽을 넘어 낮은 에너지 준위로 천이하게 되면, 그에 상응하는 파장의 광을 방출한다. 예를 들어 발광층(258)은 적외선 대역의 파장의 광을 방출할 수 있다.
일 실시예로, 발광층(258)은 다중 양자 우물(Multi-Quantum Wells: MQW) 구조일 수 있으나, 본 개시가 이에 한정되는 것은 아니며, 발광층(258)은 단일 양자 우물(Single-Quantum Well: SQW) 또는 퀀텀닷(Quantum Dot: QD) 구조 등 다양한 구조일 수 있다. 발광층(258)이 다중 양자 우물 구조로 형성되는 경우, 발광층(258)의 우물층/장벽층은 InGaN/GaN, InGaN/InGaN, GaAs(InGaGs)/AlGaAs와 같은 구조로 형성될 수 있으나, 본 개시가 이와 같은 구조에 한정되는 것은 아니다. 발광층(258)에 포함되는 양자 우물의 개수 또한 특정한 개수에 한정되지 않는다.
발광 칩(LED) 상에 절연층(256)이 배치될 수 있다. 일 실시예로, 절연층(256)은 패시베이션층일 수 있다. 예를 들어, 절연층(256)은 Al2O3, SiN 및 SiO2와 같은 절연 물질로 이루어질 수 있으며, 다만 특정 재료에 한정되는 것은 아니다.
일 실시예로, 제1 패드(254)와 제2 패드(255)가 각각 절연층(256) 상에 배치될 수 있다. 제1 패드(254)와 제2 패드(255)는 같은 레벨(동일 층)에 위치할 수 있다. 제1 패드(254)와 제2 패드(255)는 이격 배치될 수 있다. 제1 패드(254)는 n형 반도체층(257)과 전기적으로 연결될 수 있다. 예를 들어, 제1 패드(254)는 n형 반도체층(257)의 일면 중 p형 반도체층(259)이 배치된 영역과 비중첩하는 영역을 노출하는 제1 컨택홀(CH1)을 통해, 절연층(256)을 관통하여 n형 반도체층(257)에 연결될 수 있다. 제2 패드(255)는 p형 반도체층(259)을 노출하는 제2 컨택홀(CH2)을 통해, 절연층(256)을 관통하여 p형 반도체층(259)에 연결될 수 있다.
일 실시예로, 제1 패드(254)와 제2 패드(255)는 Ag, Ni, Cu, Sn 또는 Au 등을 포함하는 불투명 금속이거나, ITO, IZO 또는 ZnO 등을 포함하는 투명 금속일 수 있다.
일 실시예로, 증강현실 안경(20)은 제1 배선(101), 제2 배선(102) 및 범프들(103)을 더 포함할 수 있다. 제1 배선(101)은 제1 패드(254)에 전기적으로 연결되고, 제2 배선(102)은 제2 패드(255)에 전기적으로 연결될 수 있다. 제1 배선(101)과 제2 배선(102)은 프레임(270) 내부로 연장될 수 있다.
제1 패드(254) 및 제2 패드(255) 상에 직접 범프들(103)에 배치될 수 있다. 범프들(103) 상에 제1 배선(101) 및 제2 배선(102)이 배치될 수 있다. 제1 배선(101)과 제2 배선(102)은 같은 레벨(동일 층)에 배치될 수 있다. 제1 배선(101)과 제2 배선(102)은 이격 배치될 수 있다. 제1 패드(254)와 제1 배선(101) 사이, 및 제2 패드(255)와 제2 배선(102) 사이에는 각각 범프들(103)이 배치될 수 있다. 제1 배선(101)은 범프를 통해 제1 패드(254)와 전기적으로 연결될 수 있다. 제2 배선(102)은 범프를 통해 제2 패드(255)와 전기적으로 연결될 수 있다. 일 실시예로, 제1 배선(101)와 제2 배선(102)의 평면상 폭(w2)은 각각 50μm 내지 150μm일 수 있다.
일 실시예로, 범프들(103)은 Ag Epoxy 또는 SAC Epoxy 등과 같은 금속을 포함할 수 있다. 범프들(103)에 포함된 물질은 상대적으로 녹는점이 낮을 수 있다. 일 실시예로, 제1 배선(101)과 제2 배선(102)은 Ag, Ni, Cu, Sn 또는 Au 등을 포함하는 불투명 금속이거나, ITO, IZO 또는 ZnO 등을 포함하는 투명 금속일 수 있다.
일 실시예로, 발광 칩(LED)은 n형 전면 발광형일 수 있다. 예를 들어, 발광 칩(LED)은 칩은 n형 반도체층(257), 발광층(258) 및 p형 반도체층(259)의 적층 방향으로 광을 출사할 수 있다. 발광 칩(LED)은 사용자(10)의 안구(11)를 향하는 방향으로 직접 적외선 광을 출사할 수 있다.
충진 부재(253)는 리세스 영역을 메울 수 있다. 일 실시예로, 충진 부재(253)는 리세스 영역을 실질적으로 빈틈없이 메울 수 있다. 예를 들어, 충진 부재(253)는 절연층(256) 상에 배치될 수 있다. 예를 들어, 충진 부재(253)는 발광 칩(LED)의 상부 및 테두리를 덮도록 형성될 수 있다. 예를 들어, 충진 부재(253)는 제2 광학 렌즈(282)와 상기 발광 칩(LED) 사이를 절연층(256)이 형성된 부분을 제외하고, 빈틈없이 메울 수 있다.
일 실시예로, 충진 부재(253)는 투명 레진(resin)을 포함할 수 있다. 투명 레진(resin)은 가시광선 및 적외선 대역의 파장의 광을 투과시킬 수 있다. 충진 부재(253)는 제2 광학 렌즈(282)와 상기 발광 칩(LED) 사이를 빈틈없이 메우므로, 발광 칩(LED)과 충진 부재(253)의 사이, 및 충진 부재(253)와 제2 광학 렌즈(282) 사이의 각 굴절률 차가 상대적으로 작을 수 있다.
다음으로, 다른 실시예에 따른 증강현실 안경에 대해 설명하기로 한다. 이하, 도 1 내지 도 10과 도면상의 동일한 구성 요소에 대해서는 설명을 생략하고, 동일하거나 유사한 참조 부호를 사용하였다.
도 11은 본 개시의 일 실시예에 따른 증강현실 안경의 일부 영역을 자른 단면도이다.
도 11을 참조하면, 본 실시예에 따른 증강현실 안경은 도 8의 실시예에 따른 증강현실 안경 대비, 제1 광학 렌즈(281_1) 및 제2 광학 렌즈(282_1)가 오목 렌즈인 점에서 그 차이가 있다.
일 실시예로, 제1 광학 렌즈(281_1)의 전면은 곡면이고, 제1 광학 렌즈(281_1)의 배면은 웨이브 가이드(240)의 전면과 접하는 면으로서 평면일 수 있다. 제2 광학 렌즈(282_1)의 전면은 테두리에 리세스 영역을 포함하는 평면이고, 제2 광학 렌즈(281_2)의 배면은 곡면일 수 있다.
도 12는 본 개시의 일 실시예에 따른 증강현실 안경의 일부 영역을 자른 단면도이다.
도 12를 참조하면, 본 실시예에 따른 증강현실 안경은 도 8의 실시예에 따른 증강현실 안경 대비, 광 출사부(250_1)가 제1 광학 렌즈(281)와 웨이브 가이드(240) 사이에 배치되는 점에서 그 차이가 있다.
일 실시예로, 제1 광학 렌즈(281)의 전면은 곡면이고, 제1 광학 렌즈(281)의 배면은 웨이브 가이드(240)의 전면과 접하는 면으로서 평면일 수 있다. 제1 광학 렌즈(281)는 배면의 테두리에 광 출사부(250)가 배치될 수 있는 리세스 영역(RA)을 포함할 수 있다. 리세스 영역(RA)은 제1 광학 렌즈(281)와 웨이브 가이드(240) 사이에 위치할 수 있다. 일 실시예로, 제2 광학 렌즈(282)는 제1 광학 렌즈(281)와 달리 리세스 영역(RA)을 불포함할 수 있다.
도 13은 본 개시의 일 실시예에 따른 증강현실 안경의 개략적인 사시도이다. 도 14은 도 13의 Ⅲ-Ⅲ’라인을 따라 자른 증강현실 안경의 단면도이다. 도 15는 도 13의 A영역을 확대한 도면이다. 도 16은 도 15의 Ⅵ-Ⅵ’라인을 따라 자른 광 출사부의 단면도이다.
도 13 내지 도 16을 참조하면, 본 실시예에 따른 증강현실 안경은 도 7 내지 도 10에 실시예에 따른 증강현실 안경 대비, 충진 부재(253_1)가 블랙 레진을 포함하는 점에서 그 차이가 있다.
일 실시예로, 충진 부재(253_1)가 블랙 레진을 포함할 수 있다. 상기 블랙 레진은 적외선 대역의 파장의 광을 선택적으로 투과시키는 기능을 포함할 수 있다.
일 실시예로, 충진 부재(253_1)가 트레킹 영역(TA) 전면에 걸쳐 형성될 수 있다. 렌즈부(291, 292) 내 트레킹 영역(TA)에는 가시광선 대역의 파장의 광을 투과되지 않을 수 있다. 따라서, 트레킹 영역(TA)은 사용자(10)에게 어두운 색상(예, 검정색)으로 시인될 수 있다. 일 실시예로, 충진 부재(253_1)는 표시 영역(DA)에는 비배치될 수 있다.
충진 부재(253_1)는 프레임(270)과 함께 일체감을 줄 수 있으므로, 심미적인 기능을 더 포함할 수 있다. 또한, 충진 부재(253_1)는 트레킹 영역(TA)에서 제1 배선(101), 제2 배선(102) 및 발광 칩(LED)으로 인한 무아레(moire)가 시인되는 것을 최소화할 수 있다.
이상, 첨부된 도면을 참조하여 본 개시의 기술적 사상에 따른 실시 예들을 설명하였지만, 본 개시가 속하는 기술분야에서 통상의 지식을 가진 자는 본 개시가 그 기술적 사상이나 필수적인 특징을 변경하지 않고서 다른 구체적인 형태로 실시될 수 있다는 것을 이해할 수 있을 것이다. 이상에서 기술한 실시 예들은 모든 면에서 예시적인 것이며 한정적이 아닌 것으로 이해하여야 한다.
10: 사용자 11: 안구
20: 증강현실 안경 30: 제어 기기
40: 통신 네트워크 101: 제1 배선
102: 제2 배선 103: 범프들
210: 표시부 211: 타이밍 제어부
212: 데이터 구동부 213: 주사 구동부
214: 화소부 215: 광학 소자
220: 안구 추적부 230: 제2 통신 모듈
240: 웨이브 가이드 241: 제1 가이드
241D, 242D, 243D: 회절 격자 242: 제2 가이드
243: 제3 가이드 244: 커버 가이드
245: 스페이서들 250: 광 출사부
251: 베이스 기판 253: 충진 부재
254: 제1 패드 255: 제2 패드
256: 절연층 257: n형 반도체층
258: 발광층 259: p형 반도체층
260: 광 수신부 270: 프레임
281: 제1 광학 렌즈 282: 제2 광학 렌즈
291: 좌안 렌즈부 292: 우안 렌즈부
310: 제어부 320: 제1 통신 모듈
DA: 표시 영역 LD: 발광 칩
RA: 리세스 영역 TA: 트래킹 영역

Claims (20)

  1. 좌안 렌즈부 및 우안 렌즈부; 및
    상기 좌안 렌즈부를 지지하는 좌안 렌즈 지지 영역, 상기 우안 렌즈부를 지지하는 우안 렌즈 지지 영역, 및 상기 좌안 렌즈 지지 영역과 상기 우안 렌즈 지지 영역을 연결하는 노즈 브릿지(nose bridge)를 포함하는 프레임을 포함하되,
    상기 좌안 렌즈부 및 상기 우안 렌즈부는 각각,
    증강현실 이미지를 표시하는 표시 영역; 및
    적외선 대역의 파장의 광을 방출하는 복수의 광 출사부들이 위치하고, 상기 표시 영역을 둘러싸는 트래킹 영역을 포함하는, 증강현실 안경.
  2. 제1 항에 있어서,
    상기 트래킹 영역은 상기 좌안 렌즈부 및 상기 우안 렌즈부의 각 테두리에 위치하는, 증강현실 안경.
  3. 제2 항에 있어서,
    상기 트래킹 영역의 폭은 2mm 이하인, 증강현실 안경.
  4. 제1 항에 있어서,
    상기 광 출사부는 전면 발광형인 발광 칩을 포함하는, 증강현실 안경.
  5. 제4 항에 있어서,
    상기 각 광 출사부는,
    베이스 기판;
    상기 베이스 기판 상에 배치되는 상기 발광 칩; 및
    상기 발광 칩 상에 배치되는 제1 패드 및 제2 패드를 포함하되,
    상기 제1 패드 및 상기 제2 패드는 동일 레벨에 위치하는, 증강현실 안경.
  6. 제5 항에 있어서,
    상기 발광 칩은,
    상기 베이스 기판 상에 배치되고, 상기 제1 패드와 전기적으로 연결되는 n형 반도체층;
    상기 n형 반도체층 상에 배치되는 발광층; 및
    상기 발광층 상에 배치되고, 상기 제2 패드와 전기적으로 연결되는 p형 반도체층을 포함하는, 증강현실 안경.
  7. 제5 항에 있어서,
    상기 발광 칩은 에피텍셜(epitaxial) 성장형인, 증강현실 안경.
  8. 제7 항에 있어서,
    상기 베이스 기판은 GaAs를 포함하는, 증강현실 안경.
  9. 제5 항에 있어서,
    상기 제1 패드 및 상기 제2 패드 상에 각각 배치되는 범프들;
    상기 범프들 상에 배치되고 상기 제1 패드와 전기적으로 연결되는 제1 배선; 및
    상기 범프들 상에 배치되고 상기 제2 패드와 전기적으로 연결되는 제2 배선을 더 포함하되,
    상기 제1 배선 및 상기 제2 배선은 각각 상기 프레임 내부로 연장되는, 증강현실 안경.
  10. 제9 항에 있어서,
    상기 제1 배선 및 상기 제2 배선의 각 폭은 50μm 내지 150μm인, 증강현실 안경.
  11. 제9 항에 있어서,
    상기 제1 배선 및 상기 제2 배선은 각각 불투명 금속인, 증강현실 안경.
  12. 제1 항에 있어서,
    상기 노즈 브릿지에 위치하고, 적외선 대역의 파장의 광을 검출하는 광 수신부를 더 포함하는, 증강현실 안경.
  13. 제1 항에 있어서,
    상기 좌안 렌즈부 및 상기 우안 렌즈부는 각각,
    제1 광학 렌즈;
    테두리에 리세스 영역을 포함하는 제2 광학 렌즈; 및
    상기 제1 광학 렌즈와 상기 제2 광학 렌즈 사이에 배치되는 웨이브 가이드를 포함하되,
    상기 각 광 출사부는 상기 웨이브 가이드와 상기 제2 광학 렌즈 사이에 위치하는, 증강현실 안경.
  14. 제13 항에 있어서,
    상기 제2 광학 렌즈는 상기 제1 광학 렌즈보다 사용자의 안구에 가깝게 위치하도록 구성되는, 증강현실 안경.
  15. 제13 항에 있어서,
    상기 각 광 출사부는 상기 리세스 영역에 배치되는, 증강현실 안경.
  16. 제13 항에 있어서,
    상기 각 광 출사부는,
    베이스 기판;
    상기 베이스 기판 상에 배치되는 발광 칩;
    상기 발광 칩 상에 배치되는 제1 패드 및 제2 패드; 및
    상기 발광 칩 상에 배치되는 충진 부재를 포함하되,
    상기 충진 부재는 레진을 포함하고, 상기 발광 칩을 덮도록 형성되는, 증강현실 안경.
  17. 제16 항에 있어서,
    상기 충진 부재는 상기 제2 광학 렌즈와 상기 발광 칩 사이를 메우는, 증강현실 안경.
  18. 제17 항에 있어서,
    상기 충진 부재는 적외선 대역의 파장의 광을 선택적으로 투과하는 블랙 레진을 포함하는, 증강현실 안경.
  19. 통신 모듈, 및 제어부를 포함하는 제어 기기; 및
    상기 통신 모듈과 통신 네트워크를 통해 연결되고, 상기 제어부에 의해 제어되어 가상현실 이미지를 표시하고, 사용자의 동공의 위치를 추적하는 증강현실 안경을 포함하되,
    상기 증강현실 안경은,
    좌안 렌즈부 및 우안 렌즈부; 및
    상기 좌안 렌즈부를 고정하는 좌안 렌즈 지지 영역, 상기 우안 렌즈부를 지지하는 우안 렌즈 지지 영역, 및 상기 좌안 렌즈 지지 영역과 상기 우안 렌즈 지지 영역을 연결하는 노즈 브릿지(nose bridge)를 포함하는 프레임을 포함하되,
    상기 좌안 렌즈부 및 상기 우안 렌즈부는 각각,
    증강현실 이미지를 표시하는 표시 영역; 및
    적외선 대역의 파장의 광을 방출하는 복수의 광 출사부들이 위치하고, 상기 표시 영역을 둘러싸는 트래킹 영역을 포함하고,
    상기 각 광 출사부는,
    베이스 기판;
    상기 베이스 기판 상에 배치되는 발광 칩;
    상기 발광 칩 상에 배치되고, 동일 층에 형성되는 제1 패드 및 제2 패드; 및
    상기 발광 칩을 덮도록 형성되는 충진 부재를 포함하는, 증강현실 시스템.
  20. 사용자가 증강현실 안경 렌즈 너머의 사물을 시각적으로 인식할 수 있도록 구성되고, 증강현실 이미지를 표시하도록 구성되는 증강현실 안경 렌즈에 있어서,
    제1 광학 렌즈;
    일면에 리세스 영역을 포함하는 제2 광학 렌즈;
    상기 제1 광학 렌즈와 상기 제2 광학 렌즈 사이에 배치되는 웨이브 가이드; 및
    상기 웨이브 가이드와 상기 제2 광학 렌즈 사이에 배치되고, 상기 리세스 영역에 위치하는 광 출사부를 포함하되,
    상기 광 출사부는,
    GaAs를 포함하는 베이스 기판;
    상기 베이스 기판 상에 배치되고, 에피텍셜 성장형인 발광 칩;
    상기 발광 칩 상에 배치되는 제1 패드 및 제2 패드; 및
    상기 발광 칩 상에 배치되는 충진 부재를 포함하되,
    상기 충진 부재는 레진을 포함하되, 상기 발광 칩을 덮고, 상기 리세스 영역을 메우도록 형성되는, 증강현실 안경 렌즈.
KR1020210008006A 2021-01-20 2021-01-20 증강현실 안경 렌즈, 이를 포함하는 증강현실 안경 및 시스템 Pending KR20220105698A (ko)

Priority Applications (3)

Application Number Priority Date Filing Date Title
KR1020210008006A KR20220105698A (ko) 2021-01-20 2021-01-20 증강현실 안경 렌즈, 이를 포함하는 증강현실 안경 및 시스템
US17/377,629 US12105288B2 (en) 2021-01-20 2021-07-16 Augmented reality lenses, and augmented reality glasses and augmented reality system including the same
CN202111518341.4A CN114815240A (zh) 2021-01-20 2021-12-13 增强现实镜片及包括其的增强现实眼镜和增强现实系统

Applications Claiming Priority (1)

Application Number Priority Date Filing Date Title
KR1020210008006A KR20220105698A (ko) 2021-01-20 2021-01-20 증강현실 안경 렌즈, 이를 포함하는 증강현실 안경 및 시스템

Publications (1)

Publication Number Publication Date
KR20220105698A true KR20220105698A (ko) 2022-07-28

Family

ID=82406193

Family Applications (1)

Application Number Title Priority Date Filing Date
KR1020210008006A Pending KR20220105698A (ko) 2021-01-20 2021-01-20 증강현실 안경 렌즈, 이를 포함하는 증강현실 안경 및 시스템

Country Status (3)

Country Link
US (1) US12105288B2 (ko)
KR (1) KR20220105698A (ko)
CN (1) CN114815240A (ko)

Cited By (3)

* Cited by examiner, † Cited by third party
Publication number Priority date Publication date Assignee Title
WO2024144353A1 (ko) * 2022-12-29 2024-07-04 삼성전자 주식회사 시선 추적 센서를 포함하는 헤드 마운티드 디스플레이 장치 및 헤드 마운티드 디스플레이 장치의 동작 방법
WO2025095728A1 (ko) * 2023-11-02 2025-05-08 엘지이노텍 주식회사 광 가이드 장치 및 이를 포함하는 전자 디바이스
US12493345B2 (en) 2022-12-29 2025-12-09 Samsung Electronics Co., Ltd. Head mounted display apparatus including eye-tracking sensor and operating method thereof

Families Citing this family (2)

* Cited by examiner, † Cited by third party
Publication number Priority date Publication date Assignee Title
CN116413911B (zh) * 2021-12-31 2025-08-01 北京耐德佳显示技术有限公司 一种超薄型镜片、使用其的虚像成像装置和近眼显示器
US20240004199A1 (en) * 2022-07-01 2024-01-04 Google Llc Partially curved lightguide with pupil replicators

Family Cites Families (15)

* Cited by examiner, † Cited by third party
Publication number Priority date Publication date Assignee Title
US8398239B2 (en) 2009-03-02 2013-03-19 Honeywell International Inc. Wearable eye tracking system
US8989535B2 (en) * 2012-06-04 2015-03-24 Microsoft Technology Licensing, Llc Multiple waveguide imaging structure
US10095307B2 (en) 2016-05-13 2018-10-09 Google Llc Eye tracking systems and methods for virtual reality environments
EP4455840A3 (en) 2016-09-22 2025-01-01 Magic Leap, Inc. Augmented reality spectroscopy
US10345600B1 (en) 2017-06-08 2019-07-09 Facebook Technologies, Llc Dynamic control of optical axis location in head-mounted displays
US11102462B2 (en) * 2017-09-27 2021-08-24 University Of Miami Vision defect determination via a dynamic eye characteristic-based fixation point
CA3086206A1 (en) 2017-12-20 2019-06-27 Magic Leap, Inc. Insert for augmented reality viewing device
JP7200637B2 (ja) * 2017-12-25 2023-01-10 株式会社リコー 頭部装着型表示装置および表示システム
US10572731B1 (en) 2018-03-13 2020-02-25 Facebook Technologies, Llc Infrared transparent backlight device for eye tracking applications
US10775616B1 (en) 2018-03-21 2020-09-15 Facebook Technologies, Llc Lenses integrated with micro-light emitting diodes
US10718886B1 (en) 2018-05-23 2020-07-21 Facebook Technologies, Llc Optical substrate and transparent routing of light sources
US11885964B2 (en) * 2018-12-26 2024-01-30 Lg Electronics Inc. Electronic device
US11355665B2 (en) * 2019-06-19 2022-06-07 Facebook Technologies, Llc Process flow for hybrid TFT-based micro display projector
WO2021033784A1 (ko) * 2019-08-16 2021-02-25 엘지전자 주식회사 표시 모듈을 포함하는 전자 디바이스
KR20210127286A (ko) * 2020-04-13 2021-10-22 삼성디스플레이 주식회사 광학 장치

Cited By (3)

* Cited by examiner, † Cited by third party
Publication number Priority date Publication date Assignee Title
WO2024144353A1 (ko) * 2022-12-29 2024-07-04 삼성전자 주식회사 시선 추적 센서를 포함하는 헤드 마운티드 디스플레이 장치 및 헤드 마운티드 디스플레이 장치의 동작 방법
US12493345B2 (en) 2022-12-29 2025-12-09 Samsung Electronics Co., Ltd. Head mounted display apparatus including eye-tracking sensor and operating method thereof
WO2025095728A1 (ko) * 2023-11-02 2025-05-08 엘지이노텍 주식회사 광 가이드 장치 및 이를 포함하는 전자 디바이스

Also Published As

Publication number Publication date
CN114815240A (zh) 2022-07-29
US20220229296A1 (en) 2022-07-21
US12105288B2 (en) 2024-10-01

Similar Documents

Publication Publication Date Title
US12105288B2 (en) Augmented reality lenses, and augmented reality glasses and augmented reality system including the same
US12125959B2 (en) Bonding interface for hybrid TFT-based micro display projector
US9779643B2 (en) Imaging structure emitter configurations
US9368546B2 (en) Imaging structure with embedded light sources
US9726887B2 (en) Imaging structure color conversion
US20220131041A1 (en) Led arrays having a reduced pitch
US20220262976A1 (en) Reducing bowing of materials before wafer-to-wafer bonding for led manufacturing
TW202134691A (zh) 微型發光二極體的光萃取
US20130242056A1 (en) Imaging structure emitter calibration
US10649239B2 (en) Eyeglasses with embedded femtoprojectors
US20230034214A1 (en) Left and right projectors for display device
TW202134737A (zh) 對準準直器組件與發光二極體陣列
JP2023503800A (ja) ディスプレイパッケージの熱抵抗および平坦性を管理すること
JP2023513868A (ja) Led用の接触表面領域を増加させるための3d構造を備えた装置
EP4500595A1 (en) Guided light extraction in trenches
US20220005798A1 (en) Display Systems Having Monolithic Arrays of Light-Emitting Diodes
KR20230121899A (ko) 마이크로 발광 다이오드들을 위한 빔성형 2차 광학컴포넌트들
US20220199871A1 (en) Beam-shaping secondary optical components for micro light emitting diodes
KR20220150885A (ko) 상이한 웨이퍼 크기를 갖는 발광 회로와 제어 회로의 통합
US20240288693A1 (en) Display device and method for driving the same
KR102787443B1 (ko) 색 변환 광원 구조를 갖는 디스플레이 장치의 제조방법 및 이의 제조방법
KR102331938B1 (ko) 볼록렌즈를 이용해 시야를 넓힌 광학 장치 및 이를 이용한 머리 착용형 디스플레이 장치

Legal Events

Date Code Title Description
PA0109 Patent application

St.27 status event code: A-0-1-A10-A12-nap-PA0109

R17-X000 Change to representative recorded

St.27 status event code: A-3-3-R10-R17-oth-X000

PG1501 Laying open of application

St.27 status event code: A-1-1-Q10-Q12-nap-PG1501

A201 Request for examination
PA0201 Request for examination

St.27 status event code: A-1-2-D10-D11-exm-PA0201

P22-X000 Classification modified

St.27 status event code: A-2-2-P10-P22-nap-X000

D13-X000 Search requested

St.27 status event code: A-1-2-D10-D13-srh-X000

E902 Notification of reason for refusal
PE0902 Notice of grounds for rejection

St.27 status event code: A-1-2-D10-D21-exm-PE0902

E13-X000 Pre-grant limitation requested

St.27 status event code: A-2-3-E10-E13-lim-X000

P11-X000 Amendment of application requested

St.27 status event code: A-2-2-P10-P11-nap-X000