KR20220101445A - 전자 장치 및 전자 장치에서 디스플레이 동작 제어 방법 - Google Patents

전자 장치 및 전자 장치에서 디스플레이 동작 제어 방법 Download PDF

Info

Publication number
KR20220101445A
KR20220101445A KR1020210003472A KR20210003472A KR20220101445A KR 20220101445 A KR20220101445 A KR 20220101445A KR 1020210003472 A KR1020210003472 A KR 1020210003472A KR 20210003472 A KR20210003472 A KR 20210003472A KR 20220101445 A KR20220101445 A KR 20220101445A
Authority
KR
South Korea
Prior art keywords
display
electronic device
processor
proximity
proximity sensor
Prior art date
Legal status (The legal status is an assumption and is not a legal conclusion. Google has not performed a legal analysis and makes no representation as to the accuracy of the status listed.)
Withdrawn
Application number
KR1020210003472A
Other languages
English (en)
Inventor
박상헌
신현창
전남현
류성원
엄규동
이동섭
Original Assignee
삼성전자주식회사
Priority date (The priority date is an assumption and is not a legal conclusion. Google has not performed a legal analysis and makes no representation as to the accuracy of the date listed.)
Filing date
Publication date
Application filed by 삼성전자주식회사 filed Critical 삼성전자주식회사
Priority to KR1020210003472A priority Critical patent/KR20220101445A/ko
Priority to PCT/KR2022/000305 priority patent/WO2022149908A1/ko
Publication of KR20220101445A publication Critical patent/KR20220101445A/ko
Withdrawn legal-status Critical Current

Links

Images

Classifications

    • GPHYSICS
    • G09EDUCATION; CRYPTOGRAPHY; DISPLAY; ADVERTISING; SEALS
    • G09GARRANGEMENTS OR CIRCUITS FOR CONTROL OF INDICATING DEVICES USING STATIC MEANS TO PRESENT VARIABLE INFORMATION
    • G09G5/00Control arrangements or circuits for visual indicators common to cathode-ray tube indicators and other visual indicators
    • G09G5/02Control arrangements or circuits for visual indicators common to cathode-ray tube indicators and other visual indicators characterised by the way in which colour is displayed
    • GPHYSICS
    • G06COMPUTING OR CALCULATING; COUNTING
    • G06FELECTRIC DIGITAL DATA PROCESSING
    • G06F3/00Input arrangements for transferring data to be processed into a form capable of being handled by the computer; Output arrangements for transferring data from processing unit to output unit, e.g. interface arrangements
    • G06F3/01Input arrangements or combined input and output arrangements for interaction between user and computer
    • GPHYSICS
    • G06COMPUTING OR CALCULATING; COUNTING
    • G06FELECTRIC DIGITAL DATA PROCESSING
    • G06F3/00Input arrangements for transferring data to be processed into a form capable of being handled by the computer; Output arrangements for transferring data from processing unit to output unit, e.g. interface arrangements
    • G06F3/01Input arrangements or combined input and output arrangements for interaction between user and computer
    • G06F3/011Arrangements for interaction with the human body, e.g. for user immersion in virtual reality
    • GPHYSICS
    • G09EDUCATION; CRYPTOGRAPHY; DISPLAY; ADVERTISING; SEALS
    • G09GARRANGEMENTS OR CIRCUITS FOR CONTROL OF INDICATING DEVICES USING STATIC MEANS TO PRESENT VARIABLE INFORMATION
    • G09G3/00Control arrangements or circuits, of interest only in connection with visual indicators other than cathode-ray tubes
    • G09G3/20Control arrangements or circuits, of interest only in connection with visual indicators other than cathode-ray tubes for presentation of an assembly of a number of characters, e.g. a page, by composing the assembly by combination of individual elements arranged in a matrix no fixed position being assigned to or needed to be assigned to the individual characters or partial characters
    • G09G3/22Control arrangements or circuits, of interest only in connection with visual indicators other than cathode-ray tubes for presentation of an assembly of a number of characters, e.g. a page, by composing the assembly by combination of individual elements arranged in a matrix no fixed position being assigned to or needed to be assigned to the individual characters or partial characters using controlled light sources
    • G09G3/30Control arrangements or circuits, of interest only in connection with visual indicators other than cathode-ray tubes for presentation of an assembly of a number of characters, e.g. a page, by composing the assembly by combination of individual elements arranged in a matrix no fixed position being assigned to or needed to be assigned to the individual characters or partial characters using controlled light sources using electroluminescent panels
    • G09G3/32Control arrangements or circuits, of interest only in connection with visual indicators other than cathode-ray tubes for presentation of an assembly of a number of characters, e.g. a page, by composing the assembly by combination of individual elements arranged in a matrix no fixed position being assigned to or needed to be assigned to the individual characters or partial characters using controlled light sources using electroluminescent panels semiconductive, e.g. using light-emitting diodes [LED]
    • G09G3/3208Control arrangements or circuits, of interest only in connection with visual indicators other than cathode-ray tubes for presentation of an assembly of a number of characters, e.g. a page, by composing the assembly by combination of individual elements arranged in a matrix no fixed position being assigned to or needed to be assigned to the individual characters or partial characters using controlled light sources using electroluminescent panels semiconductive, e.g. using light-emitting diodes [LED] organic, e.g. using organic light-emitting diodes [OLED]
    • G09G3/3225Control arrangements or circuits, of interest only in connection with visual indicators other than cathode-ray tubes for presentation of an assembly of a number of characters, e.g. a page, by composing the assembly by combination of individual elements arranged in a matrix no fixed position being assigned to or needed to be assigned to the individual characters or partial characters using controlled light sources using electroluminescent panels semiconductive, e.g. using light-emitting diodes [LED] organic, e.g. using organic light-emitting diodes [OLED] using an active matrix
    • GPHYSICS
    • G09EDUCATION; CRYPTOGRAPHY; DISPLAY; ADVERTISING; SEALS
    • G09GARRANGEMENTS OR CIRCUITS FOR CONTROL OF INDICATING DEVICES USING STATIC MEANS TO PRESENT VARIABLE INFORMATION
    • G09G2360/00Aspects of the architecture of display systems
    • G09G2360/14Detecting light within display terminals, e.g. using a single or a plurality of photosensors
    • G09G2360/144Detecting light within display terminals, e.g. using a single or a plurality of photosensors the light being ambient light

Landscapes

  • Engineering & Computer Science (AREA)
  • Theoretical Computer Science (AREA)
  • Physics & Mathematics (AREA)
  • General Physics & Mathematics (AREA)
  • Computer Hardware Design (AREA)
  • General Engineering & Computer Science (AREA)
  • Human Computer Interaction (AREA)
  • Control Of Indicators Other Than Cathode Ray Tubes (AREA)

Abstract

본 개시에 따른 일 실시 예에서는, 디스플레이, 상기 디스플레이의 제1 영역의 배면에 배치되는 근접센서, 및 상기 디스플레이 및 상기 근접센서와 전기적으로 연결된 적어도 하나의 프로세서를 포함하고, 상기 적어도 하나의 프로세서는 상기 근접센서를 이용하여 사용자의 근접을 감지하고, 상기 근접이 감지되는 동안, 제1 시간 구간동안 상기 디스플레이를 비활성화 상태로 제어하고, 상기 제1 시간 구간에 연속하는 제2 시간 구간동안 상기 디스플레이 중 적어도 상기 제1 영역을 활성화 상태로 제어하는 전자 장치가 개시된다. 이 외에도 명세서를 통해 파악되는 다양한 실시 예가 가능하다.

Description

전자 장치 및 전자 장치에서 디스플레이 동작 제어 방법{ELECTRONIC DEVICE AND METHOD FOR CONTROLLING DISPLAY OPERATION IN ELECTRONIC DEVICE}
본 개시에 따른 다양한 실시 예들은 근접센서를 포함하는 전자 장치의 디스플레이에서 생기는 얼룩을 방지하는 기술에 관한 것이다.
스마트 폰(smart phone), 태블릿 PC(tablet PC), PMP(portable multimedia player), PDA(personal digital assistant), 랩탑 PC(laptop personal computer) 및 웨어러블 기기(wearable device)와 같이 디스플레이를 구비한 다양한 전자 장치들이 보급되고 있다. 특히, 최근에는 HOP(hybrid oxide and polycrystalline silicon)이 적용된 디스플레이를 구비한 전자 장치들이 보급되고 있다.
전자 장치들의 사용자에게 더 많은 정보를 제공하기 위해서, 전자 장치의 크기 및 최근의 전자 장치들이 구비하는 화면의 크기가 점차 증가하고 있는 추세이다. 이에 따라 전자 장치의 전면에 차지하고 있는 베젤(bezel)의 크기가 지속적으로 감소하는 추세이다.
전자 장치의 베젤의 크기가 감소하게 되면서, 베젤에 배치되는 다양한 전자 부품들(예: 조도센서, 근접센서)이 배치될 영역의 크기 역시 감소하게 되며, 베젤에 배치되었던 전자 부품들은 디스플레이 패널의 하단으로 배치하고 있다.
전자 장치가 구비하는 근접센서는 적외선 대역의 빛을 출력하고, 외부 객체에 의해 반사된 빛의 양에 따라서, 전자 장치에 대한 외부 객체(예: 사용자의 신체의 일부)의 근접 여부를 판단할 수 있다.
한편, 근접센서가 디스플레이 하부에 배치된 전자 장치에서 근접센서가 활성화되는 경우, 근접센서가 출력하는 적외선은 디스플레이에 얼룩을 발생시킬 수 있다. 예를 들면, 디스플레이가 턴-온(turn on)인 상태에서 적외선이 출력되는 경우 디스플레이에 하얀 점들이 발생할 수 있다. 다른 예를 들어, 디스플레이가 턴-오프(turn-off)인 상태에서 적외선이 출력되는 경우 디스플레이 활성화 시 디스플레이에 검은 점들이 발생할 수 있다.
본 개시에서 이루고자 하는 기술적 과제는 이상에서 언급한 기술적 과제로 제한되지 않으며, 언급되지 않은 또 다른 기술적 과제들은 아래의 기재로부터 본 발명이 속하는 기술분야에서 통상의 지식을 가진 자에게 명확하게 이해될 수 있을 것이다.
일 실시 예에서의 전자 장치는 디스플레이, 상기 디스플레이의 제1 영역의 배면에 배치되는 근접센서, 및 상기 디스플레이 및 상기 근접센서와 전기적으로 연결된 적어도 하나의 프로세서를 포함하고, 상기 적어도 하나의 프로세서는 상기 근접센서를 이용하여 사용자의 근접을 감지하고, 상기 근접이 감지되는 동안, 제1 시간 구간동안 상기 디스플레이를 비활성화 상태로 제어하고, 상기 제1 시간 구간에 연속하는 제2 시간 구간동안(a second time duration sequential to the first time duration) 상기 디스플레이 중 적어도 상기 제1 영역을 활성화 상태로 제어할 수 있다.
일 실시 예에서의 전자 장치의 동작 방법은 근접센서를 이용하여 사용자의 근접을 감지하는 동작, 근접이 감지되는 동안, 제1 시간 구간동안 디스플레이를 비활성화 상태로 제어하는 동작, 상기 제1 시간 구간에 연속하는 제2 시간 구간동안 상기 디스플레이 중 적어도 상기 제1 영역을 활성화 상태로 제어하는 동작을 포함할 수 있다.
본 개시에 따른 다양한 실시 예에서의 전자 장치는 디스플레이를 활성화 상태 또는 비활성화 상태로 제어함으로써 근접센서에 의해 발생하는 의도치 않은 얼룩의 발생을 방지할 수 있다.
도 1은 일 실시 예에 따른 전자 장치의 전면 사시도이다.
도 2는 일 실시 예에 따른 전자 장치의 블록도이다.
도 3a는 일 실시 예에 따른 전자 장치의 디스플레이의 영역의 제1 픽셀을 나타내는 도면이다.
도 3b는 일 실시 예에 따른 전자 장치의 디스플레이 패널의 단면 구조를 나타내는 도면이다.
도 4는 일 실시 예에 따른 전자 장치에서 디스플레이를 제어하는 동작을 나타내는 흐름도이다.
도 5는 일 실시 예에 따른 전자 장치에서 근접센서를 통해 근접 및 근접 해지를 감지하는 것에 기반하여 디스플레이를 제어하는 동작을 나타내는 흐름도이다.
도 6은 일 실시 예에 따른 전자 장치에서 디스플레이에 발생하는 얼룩을 방지하기 위한 알고리즘을 나타낸 흐름도이다.
도 7은 일 실시 예에 따른 네트워크 환경 내의 전자 장치의 블록도이다.
도면의 설명과 관련하여, 동일 또는 유사한 구성요소에 대해서는 동일 또는 유사한 참조 부호가 사용될 수 있다.
도 1은 일 실시 예에 따른 전자 장치의 전면 사시도이다.
도 1을 참조하면, 일 실시 예에 따른 전자 장치(100)는 디스플레이(120) 및 근접센서(200)를 포함할 수 있다.
일 실시 예에 따르면, 디스플레이(120)는 하우징(미도시)의 제 1면(미도시)의 적어도 일부에 배치되어 외부로 시각적으로 노출될 수 있다. 일 실시 예에 따르면, 디스플레이(120)는 LCD(liquid crystal display), OLED(organic light emitting diode)를 포함하는 다양한 형태로 구현될 수 있다. 일 실시 예에 따르면, 디스플레이(120)는 HOP(hybrid oxide and polycrystalline silicon) 기술이 적용된 OLED 디스플레이일 수 있다.
일 실시 예에 따르면, 근접센서(200)는 전자 장치(100)에 근접하는 외부 객체를 감지할 수 있다. 일 실시 예에 따르면, 근접센서(200)는 적외선을 발광하는 발광부(미도시) 및 외부 객체에 의해 반사된 적외선을 수신하는 수광부(미도시)를 포함할 수 있다.
일 실시 예에 따르면, 근접센서(200)는 디스플레이(120)와 제 2 면 사이(또는, 디스플레이(120)의 하부)에 배치될 수 있다. 일 실시 예에 따르면, 근접센서(200)가 디스플레이(120)와 제 2 면(미도시) 사이에 배치되는 경우, 디스플레이(120)는 근접센서(200)가 출력한 적외선에 의해 의도되지 않은 화면을 표시할 수 있다. 예를 들어, 디스플레이(120)는 근접센서(200)의 발광부로부터 출력된 적외선이 조사되는 영역(예: 제1 영역(101))에 얼룩을 디스플레이할 수 있다. 구체적으로, 예를 들어 디스플레이(120)가 활성화된 상태에서 임계 값 이상의 시간동안 근접센서(200)로부터 적외선이 출력되는 경우, 출력된 적외선이 조사되는 영역(예: 제1 영역(101))에 하얀 점들이 발생할 수 있다. 다른 예를 들어, 디스플레이(120)가 비활성화된 상태에서 임계 값 이상의 시간동안 근접센서(200)로부터 적외선이 출력되는 경우, 디스플레이(120) 활성화 시 출력된 적외선이 조사되는 영역(예: 제1 영역(101))에 검은 점들이 발생할 수 있다.
도 2는 일 실시 예에 따른 전자 장치의 블록도이다.
도 2를 참조하면, 전자 장치(100)는 프로세서(210), 디스플레이(120), 근접센서(200), 조도센서(220), 모션센서(230) 및 통신회로(250)를 포함할 수 있다. 다양한 실시 예에서, 전자 장치(100)는 도 2에 도시된 구성요소 외에 추가적인 구성요소를 포함하거나, 도 2에 도시된 구성요소 중 적어도 하나를 생략할 수 있다.
일 실시 예에 따르면, 프로세서(210)는 전자 장치(100)의 적어도 하나의 다른 구성요소들의 제어 및/또는 통신에 관한 연산이나 데이터 처리를 실행할 수 있다. 일 실시 예에 따르면, 프로세서(210)는 중앙처리장치(CPU), 그래픽처리장치(GPU), MCU(micro controller unit), 센서허브, 보조프로세서(supplementary processor), 통신프로세서(communication processor), 애플리케이션 프로세서(application processor), ASIC(application specific integrated circuit), FPGA(field programmable gate arrays) 중 적어도 하나를 포함할 수 있으며, 복수의 코어를 가질 수 있다.
일 실시 예에 따르면, 프로세서(210)는 이벤트 발생을 감지하고, 이벤트 발생에 대응하여 근접센서(200), 조도센서(220), 모션센서(230) 및 디스플레이(120)를 제어할 수 있다. 예를 들어, 이벤트 발생은 전자 장치(100)의 외부 표면에 존재하는 다양한 물리 버튼 또는 소프트웨어적으로 구현된 다양한 버튼을 누르는 입력을 수신하는 이벤트, 전자 장치(100)에 설치된 다양한 어플리케이션에서 발생하는 이벤트(예: 전화 어플리케이션에서 전화 수신 이벤트 발생, SMS 어플리케이션에서 문자 수신 이벤트 발생 또는 다양한 어플리케이션에서 발생하는 알림 이벤트 발생)을 포함하는 다양한 이벤트가 발생하는 것을 의미할 수 있다.
일 실시 예에 따르면, 프로세서(210)는 이벤트 발생을 감지하는 것에 응답하여 이벤트 발생과 관련된 화면을 표시하도록 디스플레이(120)를 제어할 수 있다. 예를 들어, 이벤트 발생과 관련된 화면은 이벤트 발생을 지시하는 인디케이터 또는 이벤트와 관련한 정보를 포함한 다양한 화면을 의미할 수 있다.
일 실시 예에 따르면, 프로세서(210)는 이벤트 발생에 대응하여 근접센서(200)를 활성화시킬 수 있다. 예를 들어, 프로세서(210)는 통신회로(250)(예: 무선 통신회로)를 통한 통화 수신을 감지하는 것에 응답하여 근접센서(200)를 활성화할 수 있다.
일 실시 예에 따르면, 프로세서(210)는 근접센서(200)를 통해 사용자가 전자 장치(100)를 이용한 통화(예: 콜 수신, 또는 콜 발신) 시에, 전자 장치(100)와 객체(예: 사용자의 귀, 사용자의 얼굴)의 거리에 기반하여 사용자의 근접을 감지할 수 있다.
일 실시 예에 따르면, 프로세서(210)는 조도센서(220)를 이용하여 획득한 데이터에 기반하여 전자 장치(100) 주변의 조도를 확인할 수 있다.
일 실시 예에 따르면, 프로세서(210)는 조도센서(220)를 이용하여 전자 장치(100)가 배치된 영역의 조도를 측정할 수 있다. 예를 들어, 프로세서(210)는 전자 장치(100)가 사용자 주머니 내부에 존재하는 경우 사용자 주머니 내부의 조도를 측정하도록 조도센서(220)를 제어할 수 있다. 또한 예를 들어, 프로세서(210)는 전자 장치(100)가 사용자의 가방 내부에 존재하는 경우 사용자 가방 내부의 조도를 측정하도록 조도센서(220)를 제어할 수 있다.
일 실시 예에 따르면, 프로세서(210)는 모션센서(230)를 이용하여 사용자와 관련된 자세(또는 모션)을 인식할 수 있다. 일 실시 예에 따르면, 프로세서(210)는 모션센서(230)로부터 사용자가 전자 장치(100)를 이용한 통화(예: 콜 수신, 또는 콜 발신) 시에, 사용자의 자세 변화, 및/또는 움직임(또는 이동)과 관련된 데이터를 획득할 수 있다. 예를 들어, 프로세서(210)는 모션센서(230)를 통해 사용자가 통화 시작 후 전자 장치(100)를 사용자의 귀에 가져가는 자세 및/또는 전자 장치(100)를 어깨에 끼운 자세와 같은 사용자의 자세 변화를 감지할 수 있다.
일 실시 예에 따르면, 프로세서(210)는 조도센서(220) 및/또는 모션센서(230)를 이용하여 획득한 데이터를 기반으로 근접센서(200)를 활성화시킬 수 있다. 예를 들어, 프로세서(210)는 조도센서(220)를 이용하여 측정된 조도가 지정된 조도 이하임을 확인하는 것에 응답하여 근접센서(200)를 활성화시킬 수 있다. 또한 예를 들어, 프로세서(210)는 모션센서(230)를 이용하여 판단된 자세로부터 미리 설정된 자세가 감지되는 것에 응답하여 근접센서(200)를 활성화시킬 수 있다. 프로세서(210)의 동작과 관련된 구체적인 내용은 도 5 및 도 6을 참조하여 후술한다.
일 실시 예에 따르면, 디스플레이(120)는 각종 컨텐츠(예: 텍스트, 이미지, 비디오, 아이콘, 및/또는 심볼 등)를 표시할 수 있다. 일 실시 예에 따르면, 디스플레이(120)는 액정 디스플레이(LCD), 발광 다이오드(LED) 디스플레이 또는 유기 발광 다이오드(OLED) 디스플레이를 포함할 수 있다. 일 실시 예에 따르면, 디스플레이(120)는 HOP 기술이 적용된 OLED 디스플레이일 수 있다.
일 실시 예에 따르면, 디스플레이(120)는 프로세서(210)의 명령에 따라 활성화 상태 또는 비활성화 상태일 수 있다. 예를 들어, 디스플레이(120)는 근접센서(200)를 통해 사용자의 근접이 감지되는 동안, 제1 시간 구간동안 비활성화 상태일 수 있다. 또한 예를 들어, 사용자의 근접이 감지되는 동안, 제1 시간 구간에 연속하는 제2 시간구간동안 디스플레이(120) 중 적어도 제1 영역(101)은 활성화 상태일 수 있다. 일 실시 예에 따르면, 디스플레이(120)는 제1 시간 구간 및 제2 시간 구간을 포함하는 시간 구간을 단위시간으로 하여 활성화 또는 비활성화 상태가 반복될 수 있다.
일 실시 예에 따르면, 디스플레이(120)는 터치를 감지하도록 설정된 터치 회로(touch circuitry), 상기 터치에 의해 발생되는 힘의 세기를 측정하도록 설정된 센서 회로(예: 압력 센서) 또는 스타일러스 펜으로부터 발생한 신호(예: 전자기 신호)를 검출하기 위한 검출 회로(예: 디지타이저)를 포함할 수 있다.
일 실시 예에 따르면, 통신회로(250)는 무선 통신회로(예: 셀룰러 통신 모듈, 근거리 무선 통신 모듈, 또는 GNSS(global navigation satellite system) 통신 모듈) 또는 유선 통신 모듈(예: LAN(local area network) 통신 모듈, 또는 전력선 통신 모듈)을 포함할 수 있다. 일 실시 예에 따르면, 프로세서(210)는 통신회로(250)를 이용하여 외부 전자 장치 간에 수립된 무선 통신 채널을 통한 통신 모드를 수행할 수 있다.
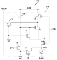
도 3a는 일 실시 예에 따른 전자 장치의 디스플레이의 영역의 제1 픽셀을 나타내는 도면이다.
도 3a를 참조하면 일 실시 예에 따른 디스플레이(120)의 영역에는 복수의 제1 픽셀(310)들이 배치될 수 있다. 일 실시 예에 따르면, 제1 픽셀(310)들 각각은 OLED와 제1 픽셀 회로(312)를 포함할 수 있다.
일 실시 예에 따르면, 제1 픽셀(310)은 스캔 라인, 데이터 라인(data line), 발광소자(예: OLED), 및 제1 픽셀 회로(312)를 포함할 수 있다. 일 실시 예에 따르면, 제1 픽셀 회로(312)는 스캔 라인 및 데이터 라인(data line)과 연결될 수 있다. 제1 픽셀(310)에 포함된 OLED는 제1 픽셀 회로(312)에 연결될 수 있다.
일 실시 예에 따르면, 제1 픽셀 회로(312) 각각은 하나 이상의 커패시터(Cstg), 및 복수의 제1 스위칭 소자(T1~T7)를 포함할 수 있다. 일 실시 예에 따르면, 제1 픽셀 회로(312)는 스토리지 커패시터(Cstg), 구동 TFT(T1), 스위칭 TFT(T2), 보상 TFT(T3), 제1 초기화 TFT(T4), 제1 발광 제어 TFT(T5), 제2 발광 제어 TFT(T6), 및 제2 초기화 TFT(T7)를 포함할 수 있다. 도 3a에서는 1개의 커패시터(Cstg)와 7개의 스위칭 소자(T1~T7)로 하나의 제1 픽셀 회로(312)를 구성하는 것을 일 예로 도시하였다. 이에 한정되지 않고, 하나의 제1 픽셀 회로(312)를 구성하는 커패시터 및 스위칭 소자들의 개수는 구동 방식에 따라서 달라질 수 있다.
일 실시 예에 따르면, 제1 픽셀 회로(312)에 포함된 구동 TFT(T1)의 드레인 전극은 제2 발광 제어 TFT(T6)를 경유하여 각각의 OLED와 전기적으로 연결될 수 있다. 일 실시 예에 따르면, 구동 TFT(T1)는 스위칭 TFT(T2)의 스위칭 동작에 따라서 데이터 신호(Dm)를 전달받아 각각의 OLED에 구동 전류를 공급할 수 있다.
일 실시 예에 따르면, 제1 픽셀 회로(312)에 포함된 스위칭 TFT(T2)의 게이트 전극은 제1 스캔 라인(S[n])과 연결될 수 있다. 일 실시 예에 따르면, 스위칭 TFT(T2)의 소스 전극은 데이터 라인(Data Line)과 연결될 수 있다. 일 실시 예에 따르면, 스위칭 TFT(T2)의 드레인 전극은 구동 TFT(T1) 및 제1 발광 제어 TFT(T5)와 연결될 수 있다. 일 실시 예에 따르면, 스위칭 TFT(T2)의 드레인 전극은 제1 발광 제어 TFT(T5)를 경유하여 구동전압(ELVDD) 라인과 연결될 수 있다.
일 실시 예에 따르면, 제1 픽셀 회로(312)에 포함된 제2 스위칭 TFT(T2)는 제1 스캔 라인을 통해 전달받은 제1 스캔 신호(Sn)에 따라 턴-온(Turn-on)되어, 데이터 라인(Data Line)에서 전달되는 데이터 신호(Dm)를 구동 TFT(T1)의 소스 전극으로 전달할 수 있다.
일 실시 예에 따르면, 제1 픽셀 회로(312)에 포함된 보상 TFT(T3)의 게이트 전극은 제1 스캔 라인(Sn)에 연결될 수 있다. 일 실시 예에 따르면, 보상 TFT(T3)의 소스 전극은 구동 TFT(T1)의 드레인 전극과 연결될 수 있다. 일 실시 예에 따르면, 보상 TFT(T3)는 제2 발광 제어 TFT(T6)를 경유하여 OLED의 화소 전극(pixel electrode)과 연결될 수 있다. 일 실시 예에 따르면, 보상 TFT(T3)의 드레인 전극은 스토리지 커패시터(Cstg)의 어느 하나의 전극, 제1 초기화 TFT(T4)의 소스 전극, 및 구동 TFT(T1)의 게이트 전극과 공통으로 연결될 수 있다.
일 실시 예에 따르면, 제1 픽셀 회로(312)에 포함된 보상 TFT(T3)는 제1 스캔 라인(Sn)을 통해 전달받은 제1 스캔 신호에 따라 턴-온(Turn-on)되어, 구동 TFT(T1)의 게이트 전극과 드레인 전극을 다이오드 연결(Diode-connection)할 수 있다.
일 실시 예에 따르면, 제1 픽셀 회로(312)에 포함된 제1 초기화 TFT(T4)의 게이트 전극은 제2 스캔 라인(Sn-1)과 연결될 수 있다. 일 실시 예에 따르면, 제1 초기화 TFT(T4)의 드레인 전극은 초기화 전압(Vint) 라인과 연결될 수 있다. 제1 초기화 TFT(T4)의 소스 전극은 스토리지 커패시터(Cstg)의 어느 하나의 전극, 보상 TFT(T3)의 드레인 전극, 및 구동 TFT(T1)의 게이트 전극과 공통으로 연결될 수 있다. 일 실시 예에 따르면, 제1 초기화 TFT(T4)는 제2 스캔 라인(Sn-1)을 통해 전달받은 제2 스캔 신호에 따라 턴-온(Turn-on)되어, 초기화 전압(Vint)을 구동 TFT(T1)의 게이트 전극에 전달할 수 있다. 일 실시 예에 따르면, 구동 TFT(T1)의 게이트 전극에 초기화 전압(Vint)이 입력되어, 구동 TFT(T1)의 게이트 전극의 전압을 초기화 시킬 수 있다.
일 실시 예에 따르면, 제1 픽셀 회로(312)에 포함된 제1 발광 제어 TFT(T5)의 게이트 전극은 발광 제어 라인(EMn)과 연결될 수 있다. 일 실시 예에 따르면, 제1 발광 제어 TFT(T5)의 소스 전극은 구동 전압(ELVDD) 라인과 연결될 수 있다. 일 실시 예에 따르면, 제1 발광 제어 TFT(T5)의 드레인 전극은 구동 TFT(T1)의 소스 전극, 스위칭 TFT(T2)의 드레인 전극과 공통으로 연결될 수 있다.
일 실시 예에 따르면, 제1 픽셀 회로(312)에 포함된 제2 발광 제어 TFT(T6)의 게이트 전극은 발광 제어 라인과 연결될 수 있다. 일 실시 예에 따르면, 제2 발광 제어 TFT(T6)의 소스 전극은 구동 TFT(T1)의 드레인 전극, 및 보상 TFT(T3)의 소스 전극과 공통으로 연결될 수 있다. 일 실시 예에 따르면, 제2 발광 제어 TFT(T6)의 드레인 전극은 OLED의 화소 전극(또는 애노드 전극)과 전기적으로 연결될 수 있다.
일 실시 예에 따르면, 제1 발광 제어 TFT(T5), 및 제2 발광 제어 TFT(T6)는 발광 제어 라인을 통해 전달받은 발광 제어 신호(EM)에 따라 동시에 턴-온(Turn-on)되어, 구동전압(ELVDD)이 OLED에 전달되도록 할 수 있다. OLED에 구동전압(ELVDD)이 전달되어 OLED에 구동 전류가 흐르게 된다.
일 실시 예에 따르면, 제1 픽셀 회로(312)에 포함된 제2 초기화 TFT(T7)의 게이트 전극은 제3 스캔 라인(BP)과 연결될 수 있다. 일 실시 예에 따르면, 제2 초기화 TFT(T7)의 소스 전극은 OLED의 화소 전극과 연결될 수 있다. 일 실시 예에 따르면, 제2 초기화 TFT(T7)의 드레인 전극은 초기화 전압(Vint) 라인과 연결될 수 있다. 일 실시 예에 따르면, 제2 초기화 TFT(T7)는 제3 스캔 라인(BP)을 통해 전달받은 제3 스캔 신호에 따라 턴-온(Turn-on)되어, OLED의 화소 전극(예: 애노드(anode) 전극)을 초기화시킬 수 있다.
일 실시 예에 따르면, 제1 픽셀 회로(312)에 포함된 스토리지 커패시터(Cstg)의 제1 전극은 구동 전압(ELVDD) 라인과 연결될 수 있다. 일 실시 예에 따르면, 스토리지 커패시터(Cstg)의 제2 전극은 구동 TFT(T1)의 게이트 전극, 보상 TFT(T3)의 드레인 전극, 및 제1 초기화 TFT(T4)의 소스 전극에 공통으로 연결될 수 있다.
일 실시 예에 따르면, 제1 픽셀 회로(312)에 포함된 OLED의 대향 전극(예: 캐소드 (cathode)전극)은 공통 전원(ELVSS) 라인과 연결될 수 있다. OLED는 구동 TFT(T1)으로부터 구동 전류를 전달받아, 구동 전류에 비례하는 휘도로 발광할 수 있다.
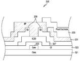
도 3b는 일 실시 예에 따른 전자 장치의 디스플레이 패널의 단면 구조를 나타내는 도면이다.
도 3b를 참조하면, 일 실시 예에 따른 디스플레이 패널(320)의 적어도 일 영역에 위치하는 제1 픽셀 회로(312)의 TFT들(T1~T7)은 산화물(Oxide) TFT(예: IGZO TFT(327))가 적용될 수 있다. 일 실시 예에 따르면, 산화물(Oxide) TFT(예: IGZO TFT(327))는 바텀 게이트(bottom gate) 방식으로 형성될 수 있다.
일 실시 예에 따르면, 기판(321)(예: 글래스) 상에 게이트(gate)(323)가 배치될 수 있다. 일 실시 예에 따르면, 게이트(323)를 둘러싸도록 게이트 절연층(GI)(325)이 배치될 수 있다. 일 실시 예에 따르면, 게이트 절연층(325) 상에 IGZO TFT(327)가 배치될 수 있다. 일 실시 예에 따르면, 게이트 절연층(325) 및 IGZO TFT(327) 상에 소스/드레인(SD)(329)이 배치될 수 있다. 일 실시 예에 따르면, 게이트 절연층(325) 상의 일측에 소스가 배치되고, 타측에 드레인이 배치될 수 있다. 일 실시 예에 따르면, IGZO TFT(327) 및 소스/드레인(329)을 덮도록 보호막(331)이 배치될 수 있다. 일 실시 예에 따르면, 보호막(331) 상에 화소 전극(pixel electrode)(333)이 배치될 수 있다. 일 실시 예에 따르면, IGZO TFT(327)와 동일 또는 유사하게 LTPS TFT(미도시)가 바텀 게이트(bottom gate) 방식으로 형성될 수 있다.
도 4는 일 실시 예에 따른 전자 장치에서 디스플레이를 제어하는 동작을 나타내는 흐름도이다.
도 4를 참조하면, 일 실시 예에 따른 프로세서(210)는 동작 410에서 근접센서(200)를 통해 외부 객체의 근접을 감지할 수 있다. 일 실시 예에 따르면, 프로세서(210)는 사용자가 전자 장치(100)를 이용하여 통화 시, 전자 장치(100)를 사용자의 귀에 가져가거나 전자 장치(100)를 어깨에 끼운 상태에서 통화를 하는 경우 근접센서(200)를 이용하여 사용자의 근접을 감지할 수 있다. 다른 실시 예에 따르면, 프로세서(210)는 전자 장치(100)가 사용자의 주머니 또는 사용자의 가방 내부에 배치된 것으로 판단되는 경우, 이벤트의 발생(예: 전화 수신 이벤트, 문자 수신 이벤트, 알림 이벤트)에 대응하여 근접센서(200)를 이용하여 외부 객체의 근접을 감지할 수 있다.
일 실시 예에 따르면, 프로세서(210)는 동작 420에서 근접이 감지되는 동안 제1 시간 구간(예: 30초)동안 디스플레이(120)를 비활성화 상태로 제어할 수 있다. 일 실시 예에 따르면, 프로세서(210)는 통화 모드 진입 동작에서, 근접센서(200)로부터 사용자의 근접이 감지되는 동안 제1 시간 구간동안 디스플레이(120)가 턴-오프(turn-off)되도록 제어할 수 있다. 일 실시 예에 따르면, 제1 시간 구간의 길이는 제1 임계값보다 낮게 설정될 수 있다. 일 실시 예에 따르면, 프로세서(210)는 근접이 감지되는 동안 디스플레이(120)의 터치 입력의 수신 기능을 비활성화 상태로 제어할 수 있다.
상술한 실시 예에 따르면, 통화 중 근접센서를 이용하여 근접 상태를 인식하고, 디스플레이(120)를 비활성화 상태로 제어함으로써 통화 중 오 터치가 발생하는 상황을 방지할 수 있다.
일 실시 예에 따르면, 프로세서(210)는 동작 430에서 제1 시간 구간(예: 30초)에 연속하는 제2 시간 구간(예: 10초)동안 디스플레이(120) 중 적어도 제1 영역(101)을 활성화 상태로 제어할 수 있다. 일 실시 예에 따르면, 프로세서(210)는 제2 시간 구간동안 디스플레이(120) 중 적어도 제1 영역(101)에 대응하는 픽셀을 블랙(black) 컬러로 활성화할 수 있다. 예를 들어, 프로세서(210)는 제2 시간 구간동안 디스플레이(120)의 제1 영역(101)을 포함하는 전체 영역을 활성화 상태로 제어할 수 있으나, 활성화되는 영역은 이에 한정되지 않는다. 일 실시 예에 따르면, 제2 시간 구간의 길이는 제2 임계 값보다 낮게 설정될 수 있다. 일 실시 예에 따르면, 제2 시간 구간의 길이 대 제1 시간 구간의 길이는 소정 비율로 결정될 수 있다. 일 실시 예에 따르면, 프로세서(210)는 제2 시간 구간동안 낮은 주사율(예: 1Hz)로 작동하도록 디스플레이(120)를 제어할 수 있다. 일 실시 예에 따르면, 프로세서(210)는 한 프레임 당 발광 주기를 낮출 수 있다. 상술한 실시 예에 따르면, 전자 장치(100)는 디스플레이(120)를 제2 시간 구간동안 활성화 상태로 제어하는 동안 낮은 주사율(예: 1Hz)로 변경함으로써 소모 전류를 절감할 수 있다.
도 5는 일 실시 예에 따른 전자 장치에서 근접센서를 통해 근접 및 근접 해지를 감지하는 것에 기반하여 디스플레이를 제어하는 동작을 나타내는 흐름도이다. 도 5의 설명과 관련하여 전술한 내용과 대응되거나 중복되는 내용은 간략히 하거나 생략될 수 있다.
도 5를 참조하면, 일 실시 예에 따른 프로세서(210)는 동작 501에서 근접센서(200)를 활성화할 수 있다. 일 실시 예에 따르면, 전자 장치(100)의 프로세서(210)는 통신회로(250)를 통해 통화를 수신하는 것에 기반하여 근접센서(200)를 제1 주기마다 활성화시킬 수 있다. 예를 들어, 통화 모드 시작은, 사용자 입력에 기반하여 콜을 발신하여 통화를 수행하는 동작, 또는 외부로부터 콜을 수신하여 통화를 수행하는 동작을 포함할 수 있다.
일 실시 예에 따르면, 프로세서(210)는 조도센서(220)를 이용하여 전자 장치(100)가 배치된 영역의 조도를 측정하고, 측정된 조도가 미리 설정된 조도 이하임을 감지하는 것에 응답하여 근접센서(200)를 활성화시킬 수 있다. 예를 들어, 프로세서(210)는 사용자가 전자 장치(100)를 이용한 통화 시에, 조도센서(220)를 이용하여 측정된 조도가 지정된 조도 이하임을 감지하면 근접센서(200)를 제1 주기마다 활성화시킬 수 있다. 다른 예를 들어, 프로세서(210)는 전자 장치(100)가 사용자의 주머니 내부 또는 사용자의 가방 내부에 존재하는 경우, 조도센서(220)를 이용하여 측정된 조도가 지정된 조도 이하임을 감지하는 것에 응답하여 근접센서(200)를 활성화시킬 수 있다.
일 실시 예에 따르면, 프로세서(210)는 모션센서(230)를 이용하여 사용자의 자세를 판단하고, 판단된 자세로부터 미리 설정된 자세가 감지되는 것에 응답하여 근접센서(200)를 활성화시킬 수 있다. 예를 들어, 프로세서(210)는 모션센서(230)를 통해 사용자가 전자 장치(100)를 이용한 통화 시에, 사용자의 자세 변화, 및/또는 움직임(또는 이동)과 관련된 데이터를 획득하고, 획득된 데이터로부터 미리 설정된 자세가 감지되면 근접센서(200)를 제1 주기마다 활성화시킬 수 있다.
일 실시 예에 따르면, 프로세서(210)는 동작 503에서 근접센서(200)를 이용하여 근접이 감지되는지 여부를 판단할 수 있다. 일 실시 예에 따르면, 프로세서(210)는 사용자가 전자 장치(100)를 이용하여 통화 시, 전자 장치(100)를 사용자의 귀에 가져가거나 전자 장치(100)를 어깨에 끼운 상태에서 통화를 하는 경우 근접센서(200)를 이용하여 사용자의 근접을 감지할 수 있다.
일 실시 예에 따르면, 프로세서(210)는 동작 503에서 근접이 감지되는 것으로 판단되는 경우 동작 505에서 디스플레이(120)를 비활성화 상태로 제어할 수 있다. 일 실시 예에 따르면, 프로세서(210)는 근접센서(200)를 통해 외부 객체의 근접을 감지하는 경우, 근접센서(200)를 제1 주기보다 짧은 제2 주기마다 활성화시킬 수 있다. 예를 들어, 프로세서(210)는 통화 모드에 진입하는 것에 응답하여, 디스플레이(120)를 비활성화 상태로 제어하는 것과 함께 근접센서(200)를 제1 주기보다 짧은 제2 주기마다 활성화시킬 수 있다. 다른 예를 들어, 프로세서(210)는 조도센서(220) 및/또는 모션센서(230)를 통해 전자 장치(100)의 위치가 사용자의 주머니 또는 사용자의 가방 내부인 것으로 판단되는 경우, 디스플레이(120)를 비활성화 상태로 제어하는 것과 함께 근접센서(200)를 제1 주기보다 짧은 제2 주기마다 활성화시킬 수 있다. 일 실시 예에 따르면, 프로세서(210)는 동작 503에서 근접이 감지되지 않는 것으로 판단되는 경우 근접센서(200)를 제1 주기로 활성화시키기 이전으로 돌아갈 수 있다.
일 실시 예에 따르면, 프로세서(210)는 동작 507에서 근접센서(200)를 이용하여 근접이 해지되는지 여부를 판단할 수 있다. 일 실시 예에 따르면, 프로세서(210)는 근접센서(200)를 이용하여 통화 모드 중 또는 통화 모드가 종료된 후 외부 객체(예: 사용자의 귀, 사용자의 얼굴)가 전자 장치(100)로부터 멀어지는지 여부를 판단할 수 있다.
일 실시 예에 따르면, 프로세서(210)는 동작 507에서 근접이 해지된 것으로 판단되는 경우 동작 509에서 디스플레이(120)를 활성화 상태로 제어할 수 있다. 일 실시 예에 따르면, 프로세서(210)는 근접센서(200)를 이용하여 통화 모드 중 또는 통화 모드 종료된 후 외부 객체가 전자 장치(100)로부터 멀어지는 것에 대응하여 외부 객체의 근접이 해지된 것으로 판단할 수 있다. 일 실시 예에 따르면, 프로세서(210)는 근접센서(200)를 이용하여 외부 객체의 근접이 해지된 것으로 판단되는 것에 응답하여 디스플레이(120)를 활성화 상태로 제어하는 것과 함께 근접센서(200)를 제2 주기보다 긴 제3 주기마다 활성화시킬 수 있다. 예를 들어, 프로세서(210)는 디스플레이(120)가 비활성화 되기 이전에 출력되던 실행화면을 표시하도록 디스플레이(120)를 제어할 수 있다.
일 실시 예에 따르면, 프로세서(210)는 동작 507에서 근접이 해지된 것으로 판단되지 않는 경우, 디스플레이(120)가 비활성화된 상태에서 제1 시간(예: 30초)이 초과되었는지 여부를 판단할 수 있다. 이에 대한 구체적인 설명은 도 6을 참조하여 후술한다.
도 6은 일 실시 예에 따른 전자 장치에서 디스플레이에 발생하는 얼룩을 방지하기 위한 알고리즘을 나타낸 흐름도이다.
도 6을 참조하면, 일 실시 예에 따른 프로세서(210)는 동작 610에서 디스플레이(120)가 비활성화된 시점부터 제1 시간(예: 30초)이 초과하였는지 여부를 판단할 수 있다. 예를 들어, 제1 시간구간의 길이는 제1 임계 값보다 낮게 설정될 수 있다. 일 실시 예에 따르면, 프로세서(210)는 근접센서(200)를 이용하여 외부 객체의 근접이 해지된 것으로 감지하는 경우, 상기 제1 시간의 초과여부 판단을 중단할 수 있다.
일 실시 예에 따르면, 프로세서(210)는 동작 610에서 제1 시간이 초과되었다고 판단되는 경우 동작 620에서 디스플레이(120)를 활성화할 수 있다. 일 실시 예에 따르면, 프로세서(210)는 디스플레이(120) 중 적어도 제1 영역(101)에 대응하는 픽셀을 블랙 컬러로 활성화할 수 있다. 예를 들면, 프로세서(210)는 디스플레이(120)의 전체 영역을 블랙 컬러로 활성화할 수 있다. 일 실시 예에 따르면, 디스플레이 구동 회로(display driver integrated circuit; DDI)는 디스플레이(120) 중 적어도 제1 영역(101)에 대응하는 픽셀의 출력 색상을 블랙 컬러로 출력하도록 설정할 수 있다. 일 실시 예에 따르면, 디스플레이 구동 회로는 내부의 그래픽 램에 저장된 이미지를 스캔하여 출력할 수 있다. 일 실시 예에 따르면, 프로세서(210)는 동작 610에서 제1 시간이 초과되었다고 판단되지 않는 경우, 계속하여 제1 시간이 초과되었는지 여부를 판단할 수 있다.
일 실시 예에 따르면, 프로세서(210)는 동작 630에서 디스플레이(120)가 활성화된 시점으로부터 제2 시간(예: 10초)이 초과하였는지 여부를 판단할 수 있다. 예를 들어, 제2 시간 구간의 길이는 제2 임계 값보다 낮게 설정될 수 있다. 일 실시 예에 따르면, 프로세서(210)는 근접센서(200)를 이용하여 외부 객체의 근접이 해지된 것으로 감지하는 경우, 상기 제2 시간의 초과여부 판단을 중단할 수 있다.
일 실시 예에 따르면, 프로세서(210)는 동작 630에서 제2 시간이 초과된 것으로 판단된 경우, 동작 640에서 디스플레이를 비활성화할 수 있다. 일 실시 예에 따르면, 프로세서(210)는 디스플레이(120)를 비활성화 한 후 동작 610으로 돌아가 동작 620 내지 동작 640을 반복할 수 있다. 일 실시 예에 따르면, 프로세서(210)는 동작 630에서 제2 시간이 초과된 것으로 판단되지 않은 경우, 계속하여 제2 시간이 초과되었는지 여부를 판단할 수 있다.
일 실시 예에 따르면, 프로세서(210)는 근접센서(200)에 의해 외부 객체의 근접이 해지된 것으로 판단될 때까지 동작 610 내지 동작 640을 반복할 수 있다.
상술한 실시 예에 따르면, 전자 장치(100)는 디스플레이(120)를 주기적으로 활성화 상태 또는 비활성화 상태로 제어함으로써 디스플레이(120)에 의도되지 않은 얼룩이 발생하는 것을 방지할 수 있다.
도 7은 일 실시 예에 따른 네트워크 환경(700) 내의 전자 장치(701)(예: 도 1의 전자 장치(100))의 블록도이다.
도 7을 참조하면, 네트워크 환경(700)에서 전자 장치(701)는 제 1 네트워크(798)(예: 근거리 무선 통신 네트워크)를 통하여 전자 장치(702)와 통신하거나, 또는 제 2 네트워크(799)(예: 원거리 무선 통신 네트워크)를 통하여 전자 장치(704) 또는 서버(708)와 통신할 수 있다. 일실시예에 따르면, 전자 장치(701)는 서버(708)를 통하여 전자 장치(704)와 통신할 수 있다. 일실시예에 따르면, 전자 장치(701)는 프로세서(710)(예: 도 2의 프로세서(210)), 메모리(730), 입력 모듈(750), 음향 출력 모듈(755), 디스플레이 모듈(760), 오디오 모듈(770), 센서 모듈(776), 인터페이스(777), 연결 단자(778), 햅틱 모듈(779), 카메라 모듈(780), 전력 관리 모듈(788), 배터리(789), 통신 모듈(790), 가입자 식별 모듈(796), 또는 안테나 모듈(797)을 포함할 수 있다. 어떤 실시예에서는, 전자 장치(701)에는, 이 구성요소들 중 적어도 하나(예: 연결 단자(778))가 생략되거나, 하나 이상의 다른 구성요소가 추가될 수 있다. 어떤 실시예에서는, 이 구성요소들 중 일부들(예: 센서 모듈(776), 카메라 모듈(780), 또는 안테나 모듈(797))은 하나의 구성요소(예: 디스플레이 모듈(760))로 통합될 수 있다.
프로세서(720)는, 예를 들면, 소프트웨어(예: 프로그램(740))를 실행하여 프로세서(720)에 연결된 전자 장치(701)의 적어도 하나의 다른 구성요소(예: 하드웨어 또는 소프트웨어 구성요소)를 제어할 수 있고, 다양한 데이터 처리 또는 연산을 수행할 수 있다. 일실시예에 따르면, 데이터 처리 또는 연산의 적어도 일부로서, 프로세서(720)는 다른 구성요소(예: 센서 모듈(776) 또는 통신 모듈(790))로부터 수신된 명령 또는 데이터를 휘발성 메모리(732)에 저장하고, 휘발성 메모리(732)에 저장된 명령 또는 데이터를 처리하고, 결과 데이터를 비휘발성 메모리(734)에 저장할 수 있다. 일실시예에 따르면, 프로세서(720)는 메인 프로세서(721)(예: 중앙 처리 장치 또는 어플리케이션 프로세서) 또는 이와는 독립적으로 또는 함께 운영 가능한 보조 프로세서(723)(예: 그래픽 처리 장치, 신경망 처리 장치(NPU: neural processing unit), 이미지 시그널 프로세서, 센서 허브 프로세서, 또는 커뮤니케이션 프로세서)를 포함할 수 있다. 예를 들어, 전자 장치(701)가 메인 프로세서(721) 및 보조 프로세서(723)를 포함하는 경우, 보조 프로세서(723)는 메인 프로세서(721)보다 저전력을 사용하거나, 지정된 기능에 특화되도록 설정될 수 있다. 보조 프로세서(723)는 메인 프로세서(721)와 별개로, 또는 그 일부로서 구현될 수 있다.
보조 프로세서(723)는, 예를 들면, 메인 프로세서(721)가 인액티브(예: 슬립) 상태에 있는 동안 메인 프로세서(721)를 대신하여, 또는 메인 프로세서(721)가 액티브(예: 어플리케이션 실행) 상태에 있는 동안 메인 프로세서(721)와 함께, 전자 장치(701)의 구성요소들 중 적어도 하나의 구성요소(예: 디스플레이 모듈(760), 센서 모듈(776), 또는 통신 모듈(790))와 관련된 기능 또는 상태들의 적어도 일부를 제어할 수 있다. 일실시예에 따르면, 보조 프로세서(723)(예: 이미지 시그널 프로세서 또는 커뮤니케이션 프로세서)는 기능적으로 관련 있는 다른 구성요소(예: 카메라 모듈(780) 또는 통신 모듈(790))의 일부로서 구현될 수 있다. 일실시예에 따르면, 보조 프로세서(723)(예: 신경망 처리 장치)는 인공지능 모델의 처리에 특화된 하드웨어 구조를 포함할 수 있다. 인공지능 모델은 기계 학습을 통해 생성될 수 있다. 이러한 학습은, 예를 들어, 인공지능이 수행되는 전자 장치(701) 자체에서 수행될 수 있고, 별도의 서버(예: 서버(708))를 통해 수행될 수도 있다. 학습 알고리즘은, 예를 들어, 지도형 학습(supervised learning), 비지도형 학습(unsupervised learning), 준지도형 학습(semi-supervised learning) 또는 강화 학습(reinforcement learning)을 포함할 수 있으나, 전술한 예에 한정되지 않는다. 인공지능 모델은, 복수의 인공 신경망 레이어들을 포함할 수 있다. 인공 신경망은 심층 신경망(DNN: deep neural network), CNN(convolutional neural network), RNN(recurrent neural network), RBM(restricted boltzmann machine), DBN(deep belief network), BRDNN(bidirectional recurrent deep neural network), 심층 Q-네트워크(deep Q-networks) 또는 상기 중 둘 이상의 조합 중 하나일 수 있으나, 전술한 예에 한정되지 않는다. 인공지능 모델은 하드웨어 구조 이외에, 추가적으로 또는 대체적으로, 소프트웨어 구조를 포함할 수 있다.
메모리(730)는, 전자 장치(701)의 적어도 하나의 구성요소(예: 프로세서(720) 또는 센서 모듈(776))에 의해 사용되는 다양한 데이터를 저장할 수 있다. 데이터는, 예를 들어, 소프트웨어(예: 프로그램(740)) 및, 이와 관련된 명령에 대한 입력 데이터 또는 출력 데이터를 포함할 수 있다. 메모리(730)는, 휘발성 메모리(732) 또는 비휘발성 메모리(734)를 포함할 수 있다.
프로그램(740)은 메모리(730)에 소프트웨어로서 저장될 수 있으며, 예를 들면, 운영 체제(742), 미들 웨어(744) 또는 어플리케이션(746)을 포함할 수 있다.
입력 모듈(750)은, 전자 장치(701)의 구성요소(예: 프로세서(720))에 사용될 명령 또는 데이터를 전자 장치(701)의 외부(예: 사용자)로부터 수신할 수 있다. 입력 모듈(750)은, 예를 들면, 마이크, 마우스, 키보드, 키(예: 버튼), 또는 디지털 펜(예: 스타일러스 펜)을 포함할 수 있다.
음향 출력 모듈(755)은 음향 신호를 전자 장치(701)의 외부로 출력할 수 있다. 음향 출력 모듈(755)은, 예를 들면, 스피커 또는 리시버를 포함할 수 있다. 스피커는 멀티미디어 재생 또는 녹음 재생과 같이 일반적인 용도로 사용될 수 있다. 리시버는 착신 전화를 수신하기 위해 사용될 수 있다. 일실시예에 따르면, 리시버는 스피커와 별개로, 또는 그 일부로서 구현될 수 있다.
디스플레이 모듈(760)은 전자 장치(701)의 외부(예: 사용자)로 정보를 시각적으로 제공할 수 있다. 디스플레이 모듈(760)은, 예를 들면, 디스플레이, 홀로그램 장치, 또는 프로젝터 및 해당 장치를 제어하기 위한 제어 회로를 포함할 수 있다. 일실시예에 따르면, 디스플레이 모듈(760)은 터치를 감지하도록 설정된 터치 센서, 또는 상기 터치에 의해 발생되는 힘의 세기를 측정하도록 설정된 압력 센서를 포함할 수 있다.
오디오 모듈(770)은 소리를 전기 신호로 변환시키거나, 반대로 전기 신호를 소리로 변환시킬 수 있다. 일실시예에 따르면, 오디오 모듈(770)은, 입력 모듈(750)을 통해 소리를 획득하거나, 음향 출력 모듈(755), 또는 전자 장치(701)와 직접 또는 무선으로 연결된 외부 전자 장치(예: 전자 장치(702))(예: 스피커 또는 헤드폰)를 통해 소리를 출력할 수 있다.
센서 모듈(776)은 전자 장치(701)의 작동 상태(예: 전력 또는 온도), 또는 외부의 환경 상태(예: 사용자 상태)를 감지하고, 감지된 상태에 대응하는 전기 신호 또는 데이터 값을 생성할 수 있다. 일실시예에 따르면, 센서 모듈(776)은, 예를 들면, 제스처 센서, 자이로 센서, 기압 센서, 마그네틱 센서, 가속도 센서, 그립 센서, 근접센서, 컬러 센서, IR(infrared) 센서, 생체 센서, 온도 센서, 습도 센서, 또는 조도센서를 포함할 수 있다.
인터페이스(777)는 전자 장치(701)가 외부 전자 장치(예: 전자 장치(702))와 직접 또는 무선으로 연결되기 위해 사용될 수 있는 하나 이상의 지정된 프로토콜들을 지원할 수 있다. 일실시예에 따르면, 인터페이스(777)는, 예를 들면, HDMI(high definition multimedia interface), USB(universal serial bus) 인터페이스, SD카드 인터페이스, 또는 오디오 인터페이스를 포함할 수 있다.
연결 단자(778)는, 그를 통해서 전자 장치(701)가 외부 전자 장치(예: 전자 장치(702))와 물리적으로 연결될 수 있는 커넥터를 포함할 수 있다. 일실시예에 따르면, 연결 단자(778)는, 예를 들면, HDMI 커넥터, USB 커넥터, SD 카드 커넥터, 또는 오디오 커넥터(예: 헤드폰 커넥터)를 포함할 수 있다.
햅틱 모듈(779)은 전기적 신호를 사용자가 촉각 또는 운동 감각을 통해서 인지할 수 있는 기계적인 자극(예: 진동 또는 움직임) 또는 전기적인 자극으로 변환할 수 있다. 일실시예에 따르면, 햅틱 모듈(779)은, 예를 들면, 모터, 압전 소자, 또는 전기 자극 장치를 포함할 수 있다.
카메라 모듈(780)은 정지 영상 및 동영상을 촬영할 수 있다. 일실시예에 따르면, 카메라 모듈(780)은 하나 이상의 렌즈들, 이미지 센서들, 이미지 시그널 프로세서들, 또는 플래시들을 포함할 수 있다.
전력 관리 모듈(788)은 전자 장치(701)에 공급되는 전력을 관리할 수 있다. 일실시예에 따르면, 전력 관리 모듈(788)은, 예를 들면, PMIC(power management integrated circuit)의 적어도 일부로서 구현될 수 있다.
배터리(789)는 전자 장치(701)의 적어도 하나의 구성요소에 전력을 공급할 수 있다. 일실시예에 따르면, 배터리(789)는, 예를 들면, 재충전 불가능한 1차 전지, 재충전 가능한 2차 전지 또는 연료 전지를 포함할 수 있다.
통신 모듈(790)은 전자 장치(701)와 외부 전자 장치(예: 전자 장치(702), 전자 장치(704), 또는 서버(708)) 간의 직접(예: 유선) 통신 채널 또는 무선 통신 채널의 수립, 및 수립된 통신 채널을 통한 통신 수행을 지원할 수 있다. 통신 모듈(790)은 프로세서(720)(예: 어플리케이션 프로세서)와 독립적으로 운영되고, 직접(예: 유선) 통신 또는 무선 통신을 지원하는 하나 이상의 커뮤니케이션 프로세서를 포함할 수 있다. 일실시예에 따르면, 통신 모듈(790)은 무선 통신 모듈(792)(예: 셀룰러 통신 모듈, 근거리 무선 통신 모듈, 또는 GNSS(global navigation satellite system) 통신 모듈) 또는 유선 통신 모듈(794)(예: LAN(local area network) 통신 모듈, 또는 전력선 통신 모듈)을 포함할 수 있다. 이들 통신 모듈 중 해당하는 통신 모듈은 제 1 네트워크(798)(예: 블루투스, WiFi(wireless fidelity) direct 또는 IrDA(infrared data association)와 같은 근거리 통신 네트워크) 또는 제 2 네트워크(799)(예: 레거시 셀룰러 네트워크, 5G 네트워크, 차세대 통신 네트워크, 인터넷, 또는 컴퓨터 네트워크(예: LAN 또는 WAN)와 같은 원거리 통신 네트워크)를 통하여 외부의 전자 장치(704)와 통신할 수 있다. 이런 여러 종류의 통신 모듈들은 하나의 구성요소(예: 단일 칩)로 통합되거나, 또는 서로 별도의 복수의 구성요소들(예: 복수 칩들)로 구현될 수 있다. 무선 통신 모듈(792)은 가입자 식별 모듈(796)에 저장된 가입자 정보(예: 국제 모바일 가입자 식별자(IMSI))를 이용하여 제 1 네트워크(798) 또는 제 2 네트워크(799)와 같은 통신 네트워크 내에서 전자 장치(701)를 확인 또는 인증할 수 있다.
무선 통신 모듈(792)은 4G 네트워크 이후의 5G 네트워크 및 차세대 통신 기술, 예를 들어, NR 접속 기술(new radio access technology)을 지원할 수 있다. NR 접속 기술은 고용량 데이터의 고속 전송(eMBB(enhanced mobile broadband)), 단말 전력 최소화와 다수 단말의 접속(mMTC(massive machine type communications)), 또는 고신뢰도와 저지연(URLLC(ultra-reliable and low-latency communications))을 지원할 수 있다. 무선 통신 모듈(792)은, 예를 들어, 높은 데이터 전송률 달성을 위해, 고주파 대역(예: mmWave 대역)을 지원할 수 있다. 무선 통신 모듈(792)은 고주파 대역에서의 성능 확보를 위한 다양한 기술들, 예를 들어, 빔포밍(beamforming), 거대 배열 다중 입출력(massive MIMO(multiple-input and multiple-output)), 전차원 다중입출력(FD-MIMO: full dimensional MIMO), 어레이 안테나(array antenna), 아날로그 빔형성(analog beam-forming), 또는 대규모 안테나(large scale antenna)와 같은 기술들을 지원할 수 있다. 무선 통신 모듈(792)은 전자 장치(701), 외부 전자 장치(예: 전자 장치(704)) 또는 네트워크 시스템(예: 제 2 네트워크(799))에 규정되는 다양한 요구사항을 지원할 수 있다. 일실시예에 따르면, 무선 통신 모듈(792)은 eMBB 실현을 위한 Peak data rate(예: 20Gbps 이상), mMTC 실현을 위한 손실 Coverage(예: 164dB 이하), 또는 URLLC 실현을 위한 U-plane latency(예: 다운링크(DL) 및 업링크(UL) 각각 0.5ms 이하, 또는 라운드 트립 1ms 이하)를 지원할 수 있다.
안테나 모듈(797)은 신호 또는 전력을 외부(예: 외부의 전자 장치)로 송신하거나 외부로부터 수신할 수 있다. 일실시예에 따르면, 안테나 모듈(797)은 서브스트레이트(예: PCB) 위에 형성된 도전체 또는 도전성 패턴으로 이루어진 방사체를 포함하는 안테나를 포함할 수 있다. 일실시예에 따르면, 안테나 모듈(797)은 복수의 안테나들(예: 어레이 안테나)을 포함할 수 있다. 이런 경우, 제 1 네트워크(798) 또는 제 2 네트워크(799)와 같은 통신 네트워크에서 사용되는 통신 방식에 적합한 적어도 하나의 안테나가, 예를 들면, 통신 모듈(790)에 의하여 상기 복수의 안테나들로부터 선택될 수 있다. 신호 또는 전력은 상기 선택된 적어도 하나의 안테나를 통하여 통신 모듈(790)과 외부의 전자 장치 간에 송신되거나 수신될 수 있다. 어떤 실시예에 따르면, 방사체 이외에 다른 부품(예: RFIC(radio frequency integrated circuit))이 추가로 안테나 모듈(797)의 일부로 형성될 수 있다.
다양한 실시예에 따르면, 안테나 모듈(797)은 mmWave 안테나 모듈을 형성할 수 있다. 일실시예에 따르면, mmWave 안테나 모듈은 인쇄 회로 기판, 상기 인쇄 회로 기판의 제 1 면(예: 아래 면)에 또는 그에 인접하여 배치되고 지정된 고주파 대역(예: mmWave 대역)을 지원할 수 있는 RFIC, 및 상기 인쇄 회로 기판의 제 2 면(예: 윗 면 또는 측 면)에 또는 그에 인접하여 배치되고 상기 지정된 고주파 대역의 신호를 송신 또는 수신할 수 있는 복수의 안테나들(예: 어레이 안테나)을 포함할 수 있다.
상기 구성요소들 중 적어도 일부는 주변 기기들간 통신 방식(예: 버스, GPIO(general purpose input and output), SPI(serial peripheral interface), 또는 MIPI(mobile industry processor interface))을 통해 서로 연결되고 신호(예: 명령 또는 데이터)를 상호간에 교환할 수 있다.
일 실시예에 따르면, 명령 또는 데이터는 제 2 네트워크(799)에 연결된 서버(708)를 통해서 전자 장치(701)와 외부의 전자 장치(704)간에 송신 또는 수신될 수 있다. 외부의 전자 장치(702, 또는 1004) 각각은 전자 장치(701)와 동일한 또는 다른 종류의 장치일 수 있다. 일실시예에 따르면, 전자 장치(701)에서 실행되는 동작들의 전부 또는 일부는 외부의 전자 장치들(702, 1004, 또는 1008) 중 하나 이상의 외부의 전자 장치들에서 실행될 수 있다. 예를 들면, 전자 장치(701)가 어떤 기능이나 서비스를 자동으로, 또는 사용자 또는 다른 장치로부터의 요청에 반응하여 수행해야 할 경우에, 전자 장치(701)는 기능 또는 서비스를 자체적으로 실행시키는 대신에 또는 추가적으로, 하나 이상의 외부의 전자 장치들에게 그 기능 또는 그 서비스의 적어도 일부를 수행하라고 요청할 수 있다. 상기 요청을 수신한 하나 이상의 외부의 전자 장치들은 요청된 기능 또는 서비스의 적어도 일부, 또는 상기 요청과 관련된 추가 기능 또는 서비스를 실행하고, 그 실행의 결과를 전자 장치(701)로 전달할 수 있다. 전자 장치(701)는 상기 결과를, 그대로 또는 추가적으로 처리하여, 상기 요청에 대한 응답의 적어도 일부로서 제공할 수 있다. 이를 위하여, 예를 들면, 클라우드 컴퓨팅, 분산 컴퓨팅, 모바일 에지 컴퓨팅(MEC: mobile edge computing), 또는 클라이언트-서버 컴퓨팅 기술이 이용될 수 있다. 전자 장치(701)는, 예를 들어, 분산 컴퓨팅 또는 모바일 에지 컴퓨팅을 이용하여 초저지연 서비스를 제공할 수 있다. 다른 실시예에 있어서, 외부의 전자 장치(704)는 IoT(internet of things) 기기를 포함할 수 있다. 서버(708)는 기계 학습 및/또는 신경망을 이용한 지능형 서버일 수 있다. 일실시예에 따르면, 외부의 전자 장치(704) 또는 서버(708)는 제 2 네트워크(799) 내에 포함될 수 있다. 전자 장치(701)는 5G 통신 기술 및 IoT 관련 기술을 기반으로 지능형 서비스(예: 스마트 홈, 스마트 시티, 스마트 카, 또는 헬스 케어)에 적용될 수 있다.
본 문서에 개시된 다양한 실시예들에 따른 전자 장치는 다양한 형태의 장치가 될 수 있다. 전자 장치는, 예를 들면, 휴대용 통신 장치(예: 스마트폰), 컴퓨터 장치, 휴대용 멀티미디어 장치, 휴대용 의료 기기, 카메라, 웨어러블 장치, 또는 가전 장치를 포함할 수 있다. 본 문서의 실시예에 따른 전자 장치는 전술한 기기들에 한정되지 않는다.
본 문서의 다양한 실시예들 및 이에 사용된 용어들은 본 문서에 기재된 기술적 특징들을 특정한 실시예들로 한정하려는 것이 아니며, 해당 실시예의 다양한 변경, 균등물, 또는 대체물을 포함하는 것으로 이해되어야 한다. 도면의 설명과 관련하여, 유사한 또는 관련된 구성요소에 대해서는 유사한 참조 부호가 사용될 수 있다. 아이템에 대응하는 명사의 단수 형은 관련된 문맥상 명백하게 다르게 지시하지 않는 한, 상기 아이템 한 개 또는 복수 개를 포함할 수 있다. 본 문서에서, "A 또는 B", "A 및 B 중 적어도 하나", "A 또는 B 중 적어도 하나", "A, B 또는 C", "A, B 및 C 중 적어도 하나", 및 "A, B, 또는 C 중 적어도 하나"와 같은 문구들 각각은 그 문구들 중 해당하는 문구에 함께 나열된 항목들 중 어느 하나, 또는 그들의 모든 가능한 조합을 포함할 수 있다. "제 1", "제 2", 또는 "첫째" 또는 "둘째"와 같은 용어들은 단순히 해당 구성요소를 다른 해당 구성요소와 구분하기 위해 사용될 수 있으며, 해당 구성요소들을 다른 측면(예: 중요성 또는 순서)에서 한정하지 않는다. 어떤(예: 제 1) 구성요소가 다른(예: 제 2) 구성요소에, "기능적으로" 또는 "통신적으로"라는 용어와 함께 또는 이런 용어 없이, "커플드" 또는 "커넥티드"라고 언급된 경우, 그것은 상기 어떤 구성요소가 상기 다른 구성요소에 직접적으로(예: 유선으로), 무선으로, 또는 제 3 구성요소를 통하여 연결될 수 있다는 것을 의미한다.
본 문서의 다양한 실시예들에서 사용된 용어 "모듈"은 하드웨어, 소프트웨어 또는 펌웨어로 구현된 유닛을 포함할 수 있으며, 예를 들면, 로직, 논리 블록, 부품, 또는 회로와 같은 용어와 상호 호환적으로 사용될 수 있다. 모듈은, 일체로 구성된 부품 또는 하나 또는 그 이상의 기능을 수행하는, 상기 부품의 최소 단위 또는 그 일부가 될 수 있다. 예를 들면, 일실시예에 따르면, 모듈은 ASIC(application-specific integrated circuit)의 형태로 구현될 수 있다.
본 문서의 다양한 실시예들은 기기(machine)(예: 전자 장치(701)) 의해 읽을 수 있는 저장 매체(storage medium)(예: 내장 메모리(736) 또는 외장 메모리(738))에 저장된 하나 이상의 명령어들을 포함하는 소프트웨어(예: 프로그램(740))로서 구현될 수 있다. 예를 들면, 기기(예: 전자 장치(701))의 프로세서(예: 프로세서(720))는, 저장 매체로부터 저장된 하나 이상의 명령어들 중 적어도 하나의 명령을 호출하고, 그것을 실행할 수 있다. 이것은 기기가 상기 호출된 적어도 하나의 명령어에 따라 적어도 하나의 기능을 수행하도록 운영되는 것을 가능하게 한다. 상기 하나 이상의 명령어들은 컴파일러에 의해 생성된 코드 또는 인터프리터에 의해 실행될 수 있는 코드를 포함할 수 있다. 기기로 읽을 수 있는 저장 매체는, 비일시적(non-transitory) 저장 매체의 형태로 제공될 수 있다. 여기서, ‘비일시적’은 저장 매체가 실재(tangible)하는 장치이고, 신호(signal)(예: 전자기파)를 포함하지 않는다는 것을 의미할 뿐이며, 이 용어는 데이터가 저장 매체에 반영구적으로 저장되는 경우와 임시적으로 저장되는 경우를 구분하지 않는다.
일 실시예에 따르면, 본 문서에 개시된 다양한 실시예들에 따른 방법은 컴퓨터 프로그램 제품(computer program product)에 포함되어 제공될 수 있다. 컴퓨터 프로그램 제품은 상품으로서 판매자 및 구매자 간에 거래될 수 있다. 컴퓨터 프로그램 제품은 기기로 읽을 수 있는 저장 매체(예: compact disc read only memory(CD-ROM))의 형태로 배포되거나, 또는 어플리케이션 스토어(예: 플레이 스토어TM)를 통해 또는 두 개의 사용자 장치들(예: 스마트 폰들) 간에 직접, 온라인으로 배포(예: 다운로드 또는 업로드)될 수 있다. 온라인 배포의 경우에, 컴퓨터 프로그램 제품의 적어도 일부는 제조사의 서버, 어플리케이션 스토어의 서버, 또는 중계 서버의 메모리와 같은 기기로 읽을 수 있는 저장 매체에 적어도 일시 저장되거나, 임시적으로 생성될 수 있다.
다양한 실시예들에 따르면, 상기 기술한 구성요소들의 각각의 구성요소(예: 모듈 또는 프로그램)는 단수 또는 복수의 개체를 포함할 수 있으며, 복수의 개체 중 일부는 다른 구성요소에 분리 배치될 수도 있다. 다양한 실시예들에 따르면, 전술한 해당 구성요소들 중 하나 이상의 구성요소들 또는 동작들이 생략되거나, 또는 하나 이상의 다른 구성요소들 또는 동작들이 추가될 수 있다. 대체적으로 또는 추가적으로, 복수의 구성요소들(예: 모듈 또는 프로그램)은 하나의 구성요소로 통합될 수 있다. 이런 경우, 통합된 구성요소는 상기 복수의 구성요소들 각각의 구성요소의 하나 이상의 기능들을 상기 통합 이전에 상기 복수의 구성요소들 중 해당 구성요소에 의해 수행되는 것과 동일 또는 유사하게 수행할 수 있다. 다양한 실시예들에 따르면, 모듈, 프로그램 또는 다른 구성요소에 의해 수행되는 동작들은 순차적으로, 병렬적으로, 반복적으로, 또는 휴리스틱하게 실행되거나, 상기 동작들 중 하나 이상이 다른 순서로 실행되거나, 생략되거나, 또는 하나 이상의 다른 동작들이 추가될 수 있다.
상술한 바와 같이, 일 실시 예에 따른 전자 장치(예: 도 1의 전자 장치(100))는 디스플레이(예: 도 1의 디스플레이(120)), 상기 디스플레이의 제1 영역의 배면에 배치되는 근접센서(예: 도 1의 근접센서(200)), 및 상기 디스플레이 및 상기 근접센서와 전기적으로 연결된 적어도 하나의 프로세서를 포함하고, 상기 적어도 하나의 프로세서는 상기 근접센서를 이용하여 사용자의 근접을 감지하고, 상기 근접이 감지되는 동안, 제1 시간 구간동안 상기 디스플레이를 비활성화 상태로 제어하고, 상기 제1 시간 구간에 연속하는 제2 시간 구간동안 상기 디스플레이 중 적어도 상기 제1 영역을 활성화 상태로 제어할 수 있다.
일 실시 예에 따르면, 상기 디스플레이는 HOP(hybrid oxide and polycrystalline silicon)이 적용된 OLED(organic light emitting diode) 디스플레이일 수 있다.
일 실시 예에 따르면, 상기 적어도 하나의 프로세서는 상기 제1 시간 구간 및 상기 제2 시간 구간을 포함하는 시간 구간을 단위 시간으로 하여 상기 활성화 상태 및 상기 비활성화 상태를 반복하도록 상기 디스플레이를 제어할 수 있다.
일 실시 예에 따르면, 상기 적어도 하나의 프로세서는 상기 근접센서를 이용하여 상기 근접의 해지를 감지하고, 상기 근접의 해지를 감지하는 것에 응답하여 상기 반복을 종료할 수 있다.
일 실시 예에 따른 전자 장치는, 무선 통신회로를 포함하고, 상기 적어도 하나의 프로세서는 상기 무선 통신회로를 통한 통화 수신을 감지하는 것에 응답하여 상기 근접센서를 활성화할 수 있다.
일 실시 예에 따르면, 상기 적어도 하나의 프로세서는 상기 제2 시간 구간동안 상기 디스플레이 중 적어도 상기 제1 영역에 대응하는 픽셀을 블랙(black) 컬러로 활성화할 수 있다.
일 실시 예에 따르면, 상기 적어도 하나의 프로세서는 상기 제2 시간 구간동안 상기 디스플레이의 전체 영역을 활성화 상태로 제어할 수 있다.
일 실시 예에 따르면, 상기 제1 시간 구간의 길이가 제1 임계 값보다 낮게 설정되고, 상기 제2 시간 구간의 길이가 제2 임계 값보다 낮게 설정될 수 있다.
일 실시 예에 따른 전자 장치는, 조도센서를 더 포함하고, 상기 적어도 하나의 프로세서는 상기 조도센서를 이용하여 상기 전자 장치가 배치된 영역의 조도를 측정하고, 상기 측정된 조도가 미리 설정된 조도 이하임을 확인하는 것에 응답하여 상기 근접센서를 활성화시킬 수 있다.
일 실시 예에 따르면, 상기 적어도 하나의 프로세서는 상기 측정된 조도가 미리 설정된 조도 이하임을 확인하는 것에 응답하여, 상기 디스플레이의 터치 입력의 수신 기능을 비활성화하도록 상기 디스플레이를 제어할 수 있다.
일 실시 예에 따른 전자 장치는, 모션센서를 더 포함하고, 상기 적어도 하나의 프로세서는 상기 모션센서를 이용하여 사용자의 자세를 판단하고, 상기 판단된 자세로부터 미리 설정된 자세가 감지되는 것에 응답하여 상기 근접센서를 활성화시킬 수 있다.
일 실시 예에 따르면, 상기 적어도 하나의 프로세서는 상기 근접센서를 이용하여 사용자의 근접을 감지하는 동안 상기 근접센서가 활성화되는 주기를 변경할 수 있다.
상술한 바와 같이, 일 실시 예에 따른 전자 장치의 동작 방법은 근접센서를 이용하여 사용자의 근접을 감지하는 동작, 근접이 감지되는 동안, 제1 시간 구간동안 디스플레이를 비활성화 상태로 제어하는 동작, 상기 제1 시간 구간에 연속하는 제2 시간 구간동안 상기 디스플레이 중 적어도 상기 제1 영역을 활성화 상태로 제어하는 동작을 포함할 수 있다.
일 실시 예에 따른 전자 장치의 동작 방법에서, 상기 디스플레이는 HOP이 적용된 OLED 디스플레이일 수 있다.
일 실시 예에 따른 전자 장치의 동작 방법은, 상기 제1 시간 구간 및 상기 제2 시간 구간을 포함하는 시간 구간을 단위 시간으로 하여 상기 활성화 상태 및 상기 비활성화 상태를 반복하도록 상기 디스플레이를 제어하는 동작을 더 포함할 수 있다.
일 실시 예에 따른 전자 장치의 동작 방법은, 상기 근접센서를 이용하여 상기 근접의 해지를 감지하는 동작 및 상기 근접의 해지를 감지하는 것에 응답하여 상기 반복을 종료하는 동작을 더 포함할 수 있다.
일 실시 예에 따른 전자 장치의 동작 방법은, 무선 통신회로를 통한 통화 수신을 감지하는 것에 응답하여 상기 근접센서를 활성화하는 동작을 포함할 수 있다.
일 실시 예에 따른 전자 장치의 동작 방법은, 상기 제2 시간 구간동안 상기 디스플레이 중 적어도 상기 제1 영역에 대응하는 픽셀을 블랙 컬러로 활성화하는 동작을 포함할 수 있다.
일 실시 예에 따른 전자 장치의 동작 방법에서, 상기 제1 시간 구간의 길이가 제1 임계 값보다 낮게 설정되고, 상기 제2 시간 구간의 길이가 제2 임계 값보다 낮게 설정될 수 있다.
일 실시 예에 따른 전자 장치의 동작 방법은, 조도센서를 이용하여 상기 전자 장치가 배치된 영역의 조도를 측정하는 동작 및 상기 측정된 조도가 미리 설정된 조도 이하임을 확인하는 것에 응답하여 상기 근접센서를 활성화시키는 동작을 포함할 수 있다.

Claims (20)

  1. 전자 장치에 있어서,
    디스플레이;
    상기 디스플레이의 제1 영역의 배면에 배치되는 근접센서; 및
    상기 디스플레이 및 상기 근접센서와 전기적으로 연결된 적어도 하나의 프로세서를 포함하고, 상기 적어도 하나의 프로세서는:
    상기 근접센서를 이용하여 사용자의 근접을 감지하고,
    상기 근접이 감지되는 동안, 제1 시간 구간동안 상기 디스플레이를 비활성화 상태로 제어하고,
    상기 제1 시간 구간에 연속하는 제2 시간 구간동안(a second time duration sequential to the first time duration) 상기 디스플레이 중 적어도 상기 제1 영역을 활성화 상태로 제어하는, 전자 장치.
  2. 청구항 1에 있어서,
    상기 디스플레이는 HOP(hybrid oxide and polycrystalline silicon)이 적용된 OLED(organic light emitting diode) 디스플레이인, 전자 장치.
  3. 청구항 1에 있어서,
    상기 적어도 하나의 프로세서는 상기 제1 시간 구간 및 상기 제2 시간 구간을 포함하는 시간 구간을 단위 시간으로 하여 상기 활성화 상태 및 상기 비활성화 상태를 반복하도록 상기 디스플레이를 제어하는, 전자 장치.
  4. 청구항 3에 있어서,
    상기 적어도 하나의 프로세서는 상기 근접센서를 이용하여 상기 근접의 해지를 감지하고, 상기 근접의 해지를 감지하는 것에 응답하여 상기 반복을 종료하는, 전자 장치.
  5. 청구항 1에 있어서,
    무선 통신회로를 포함하고,
    상기 적어도 하나의 프로세서는 상기 무선 통신회로를 통한 통화 수신을 감지하는 것에 응답하여 상기 근접센서를 활성화하는, 전자 장치.
  6. 청구항 1에 있어서,
    상기 적어도 하나의 프로세서는 상기 제2 시간 구간동안 상기 디스플레이 중 적어도 상기 제1 영역에 대응하는 픽셀을 블랙(black) 컬러로 활성화하는, 전자 장치.
  7. 청구항 1에 있어서,
    상기 적어도 하나의 프로세서는 상기 제2 시간 구간동안 상기 디스플레이의 전체 영역을 활성화 상태로 제어하는, 전자 장치.
  8. 청구항 1에 있어서,
    상기 제1 시간 구간의 길이가 제1 임계 값보다 낮게 설정되고, 상기 제2 시간 구간의 길이가 제2 임계 값보다 낮게 설정되는, 전자 장치.
  9. 청구항 1에 있어서,
    조도센서를 더 포함하고,
    상기 적어도 하나의 프로세서는 상기 조도센서를 이용하여 상기 전자 장치가 배치된 영역의 조도를 측정하고, 상기 측정된 조도가 미리 설정된 조도 이하임을 확인하는 것에 응답하여 상기 근접센서를 활성화시키는, 전자 장치.
  10. 청구항 9에 있어서,
    상기 적어도 하나의 프로세서는 상기 측정된 조도가 미리 설정된 조도 이하임을 확인하는 것에 응답하여, 상기 디스플레이의 터치 입력의 수신 기능을 비활성화하도록 상기 디스플레이를 제어하는, 전자 장치.
  11. 청구항 1에 있어서,
    모션센서를 더 포함하고,
    상기 적어도 하나의 프로세서는 상기 모션센서를 이용하여 사용자의 자세를 판단하고, 상기 판단된 자세로부터 미리 설정된 자세가 감지되는 것에 응답하여 상기 근접센서를 활성화시키는, 전자 장치.
  12. 청구항 1에 있어서,
    상기 적어도 하나의 프로세서는 상기 근접센서를 이용하여 사용자의 근접을 감지하는 동안 상기 근접센서가 활성화되는 주기를 변경하는, 전자 장치.
  13. 전자 장치의 동작 방법에 있어서,
    근접센서를 이용하여 사용자의 근접을 감지하는 동작;
    근접이 감지되는 동안, 제1 시간 구간동안 디스플레이를 비활성화 상태로 제어하는 동작;
    상기 제1 시간 구간에 연속하는 제2 시간 구간동안 상기 디스플레이 중 적어도 상기 제1 영역을 활성화 상태로 제어하는 동작을 포함하는, 전자 장치의 동작 방법.
  14. 청구항 13에 있어서,
    상기 디스플레이는 HOP이 적용된 OLED 디스플레이인, 전자 장치의 동작 방법.
  15. 청구항 13에 있어서,
    상기 제1 시간 구간 및 상기 제2 시간 구간을 포함하는 시간 구간을 단위 시간으로 하여 상기 활성화 상태 및 상기 비활성화 상태를 반복하도록 상기 디스플레이를 제어하는 동작을 더 포함하는, 전자 장치의 동작 방법.
  16. 청구항 15에 있어서,
    상기 근접센서를 이용하여 상기 근접의 해지를 감지하는 동작 및 상기 근접의 해지를 감지하는 것에 응답하여 상기 반복을 종료하는 동작을 더 포함하는, 전자 장치의 동작 방법.
  17. 청구항 13에 있어서,
    무선 통신회로를 통한 통화 수신을 감지하는 것에 응답하여 상기 근접센서를 활성화하는 동작을 포함하는, 전자 장치의 동작 방법.
  18. 청구항 13에 있어서,
    상기 제2 시간 구간동안 상기 디스플레이 중 적어도 상기 제1 영역에 대응하는 픽셀을 블랙 컬러로 활성화하는 동작을 포함하는, 전자 장치.
  19. 청구항 13에 있어서,
    상기 제1 시간 구간의 길이가 제1 임계 값보다 낮게 설정되고, 상기 제2 시간 구간의 길이가 제2 임계 값보다 낮게 설정되는, 전자 장치의 동작 방법.
  20. 청구항 13에 있어서,
    조도센서를 이용하여 상기 전자 장치가 배치된 영역의 조도를 측정하는 동작 및 상기 측정된 조도가 미리 설정된 조도 이하임을 확인하는 것에 응답하여 상기 근접센서를 활성화시키는 동작을 포함하는, 전자 장치의 동작 방법.
KR1020210003472A 2021-01-11 2021-01-11 전자 장치 및 전자 장치에서 디스플레이 동작 제어 방법 Withdrawn KR20220101445A (ko)

Priority Applications (2)

Application Number Priority Date Filing Date Title
KR1020210003472A KR20220101445A (ko) 2021-01-11 2021-01-11 전자 장치 및 전자 장치에서 디스플레이 동작 제어 방법
PCT/KR2022/000305 WO2022149908A1 (ko) 2021-01-11 2022-01-07 전자 장치 및 전자 장치에서 디스플레이 동작 제어 방법

Applications Claiming Priority (1)

Application Number Priority Date Filing Date Title
KR1020210003472A KR20220101445A (ko) 2021-01-11 2021-01-11 전자 장치 및 전자 장치에서 디스플레이 동작 제어 방법

Publications (1)

Publication Number Publication Date
KR20220101445A true KR20220101445A (ko) 2022-07-19

Family

ID=82358247

Family Applications (1)

Application Number Title Priority Date Filing Date
KR1020210003472A Withdrawn KR20220101445A (ko) 2021-01-11 2021-01-11 전자 장치 및 전자 장치에서 디스플레이 동작 제어 방법

Country Status (2)

Country Link
KR (1) KR20220101445A (ko)
WO (1) WO2022149908A1 (ko)

Cited By (2)

* Cited by examiner, † Cited by third party
Publication number Priority date Publication date Assignee Title
WO2025095446A1 (ko) * 2023-10-30 2025-05-08 삼성전자주식회사 디스플레이 장치 및 그의 영상 표시 방법
WO2025239521A1 (ko) * 2024-05-16 2025-11-20 삼성전자주식회사 근접 센서의 제어를 위한 전자 장치, 방법, 및 컴퓨터 판독 가능 저장 매체

Family Cites Families (5)

* Cited by examiner, † Cited by third party
Publication number Priority date Publication date Assignee Title
US8031164B2 (en) * 2007-01-05 2011-10-04 Apple Inc. Backlight and ambient light sensor system
KR101614947B1 (ko) * 2009-09-28 2016-04-22 엘지전자 주식회사 이동 통신 단말기에서 센서의 오작동 방지 방법 및 이를 적용한 이동 통신 단말기
KR102586792B1 (ko) * 2016-08-23 2023-10-12 삼성디스플레이 주식회사 표시장치 및 그의 구동방법
KR102656932B1 (ko) * 2018-12-28 2024-04-11 엘지디스플레이 주식회사 투과 광원을 포함하는 표시 장치
CN111798798A (zh) * 2019-11-26 2020-10-20 神盾股份有限公司 具有光学感测器的显示器及其光学感测模组

Cited By (2)

* Cited by examiner, † Cited by third party
Publication number Priority date Publication date Assignee Title
WO2025095446A1 (ko) * 2023-10-30 2025-05-08 삼성전자주식회사 디스플레이 장치 및 그의 영상 표시 방법
WO2025239521A1 (ko) * 2024-05-16 2025-11-20 삼성전자주식회사 근접 센서의 제어를 위한 전자 장치, 방법, 및 컴퓨터 판독 가능 저장 매체

Also Published As

Publication number Publication date
WO2022149908A1 (ko) 2022-07-14

Similar Documents

Publication Publication Date Title
US12039131B2 (en) Electronic device and method for controlling touch function
KR102880839B1 (ko) 디스플레이의 잔상을 줄일 수 있는 전자 장치 및 방법
KR20220101445A (ko) 전자 장치 및 전자 장치에서 디스플레이 동작 제어 방법
US11741870B2 (en) Electronic device, method, and computer-readable storage medium for reducing afterimage in display area
KR20220080663A (ko) 스트레처블 디스플레이의 인장 정보에 근거하여 광학 센서를 제어하기 위한 방법, 전자 장치 및 저장 매체
KR20220164431A (ko) 터치스크린을 포함하는 전자 장치와 이의 동작 방법
KR102725786B1 (ko) 디스플레이를 포함하는 전자 장치 및 그의 동작 방법
US20230114167A1 (en) Electronic device and synchronization method based on display driving signal in electronic device
KR102830408B1 (ko) 디스플레이를 다중 구동 주파수로 구동하는 방법 및 이를 수행하는 전자 장치
KR20220170610A (ko) 서로 다른 발광 신호들에 기반하여 서로 다른 표시 영역들을 제어하기 위한 전자 장치 및 그의 방법
KR20220031184A (ko) 센서를 포함하는 전자 장치 및 이를 이용한 생체 정보 획득 방법
KR20220154390A (ko) 지문 센서를 포함하는 전자 장치 및 방법
KR20220064267A (ko) 플렉서블 디스플레이를 포함하는 전자 장치 및 이를 이용하는 방법
US12189430B2 (en) Method for controlling flexible display and electronic device supporting the same
KR102713903B1 (ko) 전자 장치 및 전자 장치에서 픽셀 데이터를 보정하는 방법
KR102882937B1 (ko) 주변 장치로부터 입력을 수신하였을 때 화면을 빠르게 업데이트하는 전자 장치
KR20250024445A (ko) Aod 기능을 제공하는 전자 장치 및 그의 동작 방법
KR20240176400A (ko) 제1 광 또는 제2 광을 적응적으로 발광하는 근접 센서를 포함하는 전자 장치
KR20250161364A (ko) 터치 센서티브 디스플레이 및 그를 포함하는 전자 장치
KR20250103291A (ko) 의도된 터치 입력의 인식을 위한 하나 이상의 프로세싱 회로들을 포함하는 전자 장치 및 그의 방법
KR20240129974A (ko) 터치 회로로부터의 신호에 기반하여 이미지의 표시를 스케줄링하는 전자 장치 및 방법
KR20250105560A (ko) 저 전력 소비를 위한 상태로 동작하는 디스플레이를 포함하는 전자 장치 및 그의 방법
KR20250083972A (ko) 디스플레이 패널의 서로 다른 영역들 상에서 서로 다른 재생율들을 제공하기 위한 전자 장치 및 방법
KR20250099430A (ko) 디스플레이의 제어를 위한 전자 장치, 방법, 및 비일시적 컴퓨터 판독가능 저장 매체
KR20250164585A (ko) 근접 센서의 제어를 위한 전자 장치, 방법, 및 컴퓨터 판독 가능 저장 매체

Legal Events

Date Code Title Description
PA0109 Patent application

St.27 status event code: A-0-1-A10-A12-nap-PA0109

PG1501 Laying open of application

St.27 status event code: A-1-1-Q10-Q12-nap-PG1501

PC1203 Withdrawal of no request for examination

St.27 status event code: N-1-6-B10-B12-nap-PC1203