KR20210112716A - Vent with excellent insulation and aesthetic look - Google Patents

Vent with excellent insulation and aesthetic look Download PDF

Info

Publication number
KR20210112716A
KR20210112716A KR1020200028100A KR20200028100A KR20210112716A KR 20210112716 A KR20210112716 A KR 20210112716A KR 1020200028100 A KR1020200028100 A KR 1020200028100A KR 20200028100 A KR20200028100 A KR 20200028100A KR 20210112716 A KR20210112716 A KR 20210112716A
Authority
KR
South Korea
Prior art keywords
frame
window
insulation
glass
vent
Prior art date
Legal status (The legal status is an assumption and is not a legal conclusion. Google has not performed a legal analysis and makes no representation as to the accuracy of the status listed.)
Ceased
Application number
KR1020200028100A
Other languages
Korean (ko)
Inventor
김성진
백현옥
Original Assignee
주식회사 중앙알텍
주식회사 케이엘쏠라텍
Priority date (The priority date is an assumption and is not a legal conclusion. Google has not performed a legal analysis and makes no representation as to the accuracy of the date listed.)
Filing date
Publication date
Application filed by 주식회사 중앙알텍, 주식회사 케이엘쏠라텍 filed Critical 주식회사 중앙알텍
Priority to KR1020200028100A priority Critical patent/KR20210112716A/en
Publication of KR20210112716A publication Critical patent/KR20210112716A/en
Ceased legal-status Critical Current

Links

Images

Classifications

    • EFIXED CONSTRUCTIONS
    • E04BUILDING
    • E04BGENERAL BUILDING CONSTRUCTIONS; WALLS, e.g. PARTITIONS; ROOFS; FLOORS; CEILINGS; INSULATION OR OTHER PROTECTION OF BUILDINGS
    • E04B2/00Walls, e.g. partitions, for buildings; Wall construction with regard to insulation; Connections specially adapted to walls
    • E04B2/88Curtain walls
    • E04B2/96Curtain walls comprising panels attached to the structure through mullions or transoms
    • E04B2/965Connections of mullions and transoms
    • EFIXED CONSTRUCTIONS
    • E06DOORS, WINDOWS, SHUTTERS, OR ROLLER BLINDS IN GENERAL; LADDERS
    • E06BFIXED OR MOVABLE CLOSURES FOR OPENINGS IN BUILDINGS, VEHICLES, FENCES OR LIKE ENCLOSURES IN GENERAL, e.g. DOORS, WINDOWS, BLINDS, GATES
    • E06B3/00Window sashes, door leaves, or like elements for closing wall or like openings; Layout of fixed or moving closures, e.g. windows in wall or like openings; Features of rigidly-mounted outer frames relating to the mounting of wing frames
    • E06B3/04Wing frames not characterised by the manner of movement
    • E06B3/263Frames with special provision for insulation
    • EFIXED CONSTRUCTIONS
    • E06DOORS, WINDOWS, SHUTTERS, OR ROLLER BLINDS IN GENERAL; LADDERS
    • E06BFIXED OR MOVABLE CLOSURES FOR OPENINGS IN BUILDINGS, VEHICLES, FENCES OR LIKE ENCLOSURES IN GENERAL, e.g. DOORS, WINDOWS, BLINDS, GATES
    • E06B3/00Window sashes, door leaves, or like elements for closing wall or like openings; Layout of fixed or moving closures, e.g. windows in wall or like openings; Features of rigidly-mounted outer frames relating to the mounting of wing frames
    • E06B3/04Wing frames not characterised by the manner of movement
    • E06B3/263Frames with special provision for insulation
    • E06B2003/26349Details of insulating strips
    • E06B2003/2635Specific form characteristics

Landscapes

  • Engineering & Computer Science (AREA)
  • Civil Engineering (AREA)
  • Structural Engineering (AREA)
  • Architecture (AREA)
  • Physics & Mathematics (AREA)
  • Electromagnetism (AREA)
  • Wing Frames And Configurations (AREA)

Abstract

The present invention relates to a curtain wall vent installed on a structure such as an apartment, a building, or a school and, more specifically, to a vent with excellent insulation and appearance which has an insulation frame arranged on the outdoor side of a window frame, inserts a glass window into the insulation frame to attach and install the glass window to block the transfer of cold air or hot air from the outside to the indoor side to increase insulation, forms the insulation frame in the same color as components of the window to eliminate the need for separate painting work and have an excellent exterior appearance, reduces the number of assembled parts to increase constructability, and prevents deflection of the glass window. The vent with excellent insulation and appearance comprises: a main frame vertically and horizontally installed on the outside of a building, and provided with a space part in a rectangular shape; a windowsill frame attached to and installed on the inside of the space part of the main frame; a window frame installed on the inside of the windowsill frame to be opened and closed, and provided in a rectangular shape; an insulation frame coupled and installed around the outdoor side of the window frame; and a glass chair coupled to and installed on the insulation frame, and supporting a glass window.

Description

단열성과 미관이 우수한 벤트 {Vent with excellent insulation and aesthetic look}Vent with excellent insulation and aesthetic look

본 발명은 아파트나 빌딩 또는 학교 등의 건축물에 설치되는 커튼월 벤트(Curtain wall vent)에 관한 기술로서, 보다 상세하게 설명하면 창문 프레임의 실외측에 단열 프레임이 배치되고, 단열 프레임에 유리창이 끼워져 부착 설치됨으로써, 외부에서 냉기나 열기가 실내측으로 전달되는 것을 차단하여 단열성을 높이며, 또한 단열 프레임이 창문의 부속품과 동일한 색상으로 성형되므로, 별도로 도색 작업이 필요없고 외부 미관이 우수할 뿐만 아니라 조립되는 부품수를 줄여서 시공성이 높고, 유리창의 처짐을 방지하는 단열성과 미관이 우수한 벤트에 관한 기술이다.The present invention relates to a technology for a curtain wall vent installed in a building such as an apartment, a building, or a school. In more detail, an insulating frame is disposed on the outdoor side of the window frame, and a glass window is inserted into the insulating frame. By attaching and installing, it blocks the transfer of cold or hot air from the outside to the indoor side to increase the insulation, and also because the insulation frame is molded in the same color as the window accessories, there is no need for a separate painting work, and the external appearance is excellent as well as being assembled It is a technology related to a vent that has high workability by reducing the number of parts, and has excellent thermal insulation and aesthetics to prevent sagging of glass windows.

일반적으로, 아파트ㆍ학교ㆍ도서관ㆍ빌딩 등 대부분의 건물에 창호가 설치되며, 이러한 창호는 건물의 외관을 미려하게 꾸미고, 햇빛과 바람이 들어오는 통로 역할을 하면서 더위와 추위를 막아줄 뿐만 아니라 최근에는 방수ㆍ방음 및 관망(觀望) 기능으로 사용자에게 쾌적한 환경을 제공하고 있다.In general, windows are installed in most buildings such as apartments, schools, libraries, and buildings, and these windows not only decorate the exterior of the building beautifully and serve as a passageway for sunlight and wind to enter, but also block heat and cold. It provides a comfortable environment for users with waterproof, soundproof and pipe network functions.

최근 대부분의 창호는 건물의 외벽 공간에 창틀프레임이 고정 설치되고, 여기에 여닫이식 창문 또는 고정식 창문이 설치되며, 이와 같은 창호는 겨울철 난방을 하거나 또는 우천시 빗물이 실내로 들어오지 않도록 창문을 닫고, 또한 실내공기를 환기시키기 위하여 창문을 열게 된다.Recently, most windows have a window frame fixed to the outer wall space of a building, and a casement window or fixed window is installed here. The windows are opened to ventilate the indoor air.

한편 건물의 외부 벽체를 금속재 및 무기질 재료를 이용하여 비내력벽으로 시공하는 고층 빌딩은 대부분 커튼월(curtain wall)이 설치되고 있으며, 커튼월은 외부 벽체의 경량화가 가능하고, 사용하는 재료에 따라 건물의 외관이 수려하다는 장점으로, 고층 건물의 시공에 널리 이용되고 있다.On the other hand, most high-rise buildings where the exterior walls of buildings are constructed as non-bearing walls using metal and inorganic materials have curtain walls installed. It is widely used in the construction of high-rise buildings due to the advantage of its beautiful appearance.

종래 단열 성능을 더욱 향상시키고, 미관상 통일된 심미감을 제공하는 창호의 대표적인 선행기술로서, 대한민국 등록특허 제10-1486064호(창호의 단열 벤트 어셈블리)가 제시된 바 있다.As a representative prior art of windows and doors that further improve thermal insulation performance and provide a unified aesthetic feeling in the prior art, Korean Patent Registration No. 10-1486064 (insulation vent assembly of windows) has been proposed.

상기 선행기술의 "창호의 단열 벤트 어셈블리"는 복층 유리 창호의 가장자리에 대면하는 일단부가 복층 유리 창호를 마감 고정하며, 세로바의 실외측 면에 관통된 설치 슬롯의 실외측 가장자리에 고정된 제1 단열 부재와 타단부가 체결되어 설치 슬롯 및 설치 슬롯 내부 공간을 마감하는 연결 유닛에 의하여, 단열 성능을 더욱 향상시킴은 물론, 다양한 두께의 복층유리 창호와 다양한 규격의 벤트 구조에 적용할 수 있도록 함과 동시에, 미관상 통일된 심미감을 제공하는 효과가 있다.The "insulation vent assembly of the window" of the prior art has one end facing the edge of the double-glazed glass window and closed-fixing the double-glazed window, and the first fixed to the outdoor edge of the installation slot penetrated into the outdoor side of the vertical bar. The insulating member and the other end are fastened to the connection unit that closes the installation slot and the space inside the installation slot, which not only improves the insulation performance, but also allows it to be applied to double-glazed windows of various thicknesses and vent structures of various specifications. At the same time, it has the effect of providing a unified aesthetic feeling.

또한 종래 단열 효과를 높이고, 창문 프레임이 뒤틀리거나 휘어지는 것을 방지하는 창호의 대표적인 선행기술로서, 대한민국 등록특허 제10-1610195호(커튼월용 창호)가 제시된 바 있다.In addition, as a representative prior art of windows and doors that enhance the conventional insulation effect and prevent the window frame from being twisted or bent, Korean Patent Registration No. 10-1610195 (windows for curtain walls) has been proposed.

상기 선행기술의 "커튼월용 창호"는 문틀 프레임의 내측 둘레에 창문 프레임의 외측 둘레가 밀착되는 보강 단열수단을 구비함으로써, 외부에서 찬공기나 열기가 실내로 유입되는 것을 방지하여 단열 효과를 향상시키는 효과가 있고, 창문 프레임을 개폐할 경우에 강화유리의 무게나 개폐 충격으로 인하여 창문 프레임이 쉽게 뒤틀리거나 휘어지는 현상을 방지하는 효과가 있다.The "window for curtain wall" of the prior art has a reinforced heat insulating means for adhering the outer periphery of the window frame to the inner periphery of the door frame frame, thereby preventing cold air or heat from flowing into the room from the outside to improve the insulation effect. There is an effect, and when opening and closing the window frame, there is an effect of preventing the phenomenon that the window frame is easily twisted or bent due to the weight of the tempered glass or the opening and closing shock.

그러나, 선행기술에서 제시된 "창호"는 단열 성능이 더욱 향상되고, 미관상 통일된 심미감을 제공하고 있으나, 창문 프레임이 다수개의 부품과 단열부재로 조립 시공됨으로써, 조립되는 부품수가 많아져 시공성과 내구성이 저하되고, 실외측에 위치하는 복층 유리가 하중으로 인해 아래로 처지는 실정으로, 장기간 사용시 기밀성이 떨어지는 문제점이 있다.However, the "windows and doors" presented in the prior art have improved insulation performance and provide a unified aesthetic feeling. It is lowered, and the situation in which the laminated glass located on the outdoor side sags down due to the load has a problem of poor airtightness when used for a long period of time.

즉, 창문 프레임의 실외측에 연결 유닛과 다수개의 단열부재가 조립되어 복층 유리가 부착 시공됨으로써, 복층 유리의 하중에 대한 지지력이 떨어지고, 시간이 지날수록 복층 유리가 아래로 처지므로, 내구성과 기밀성이 저하되는 문제점이 있다.In other words, since the connecting unit and a plurality of heat insulating members are assembled on the outdoor side of the window frame and the laminated glass is attached and constructed, the bearing capacity for the load of the laminated glass is lowered, and the laminated glass sags downward as time goes by, so durability and airtightness There is a problem of this deterioration.

또한 선행기술은 창문 프레임과 단열부재 및 창문의 부속품을 동일한 색상(검정색)으로 도색하여 통일된 심미감을 제공하고 있으나, 도색 작업이 추가적으로 필요하고, 이로 인해 시공 비용이 증가함에 따라 사실상 도색 작업이 실시되지 못하고 있는 실정이다.In addition, the prior art provides a unified aesthetic feeling by painting the window frame, insulation member, and window accessories in the same color (black). It is currently not possible.

대한민국 등록특허 제10-0916998호.Korean Patent Registration No. 10-0916998. 대한민국 등록특허 제10-1230032호.Republic of Korea Patent Registration No. 10-1230032. 대한민국 등록특허 제10-1486064호.Korean Patent Registration No. 10-1486064. 대한민국 등록특허 제10-1610195호.Republic of Korea Patent Registration No. 10-1610195. 대한민국 등록특허 제10-2003964호.Republic of Korea Patent Registration No. 10-2003964.

본 발명은 종래 선행기술에서 제시된 "창호"의 문제점들을 개선하고자 안출된 기술로서, 외부에서 냉기나 열기가 실내측으로 전달되는 것을 차단하여 단열성이 높고, 창문 프레임의 실외측에 조립되는 단열 프레임이 창문의 부속품과 동일한 색상으로 성형됨으로써, 별도로 도색 작업이 필요없고 외부 미관이 우수하며, 조립되는 부품수를 줄여서 시공성이 높은 단열성과 미관이 우수한 벤트를 제공하는 것을 목적으로 한다.The present invention is a technology devised to improve the problems of "windows" presented in the prior art, and has high thermal insulation properties by blocking the transmission of cold air or heat from the outside to the indoor side, and the insulation frame assembled on the outdoor side of the window frame is a window By molding in the same color as the accessories of

또한 본 발명의 실시예는 유리창의 지지력을 보강하여 하중으로 인한 처짐 현상과 뒤틀림을 방지함으로써, 장기간 내구성과 기밀성을 유지하고, 방음 및 방수기능을 향상시키는 단열성과 미관이 우수한 벤트를 제공하는 것을 목적으로 한다.In addition, an embodiment of the present invention provides a vent with excellent thermal insulation and aesthetics that maintains long-term durability and airtightness, and improves sound insulation and waterproofing functions by reinforcing the bearing capacity of the glass window to prevent sagging and distortion due to load. do it with

본 발명은 상기와 같은 소기의 목적을 실현하고자,The present invention is to realize the desired object as described above,

건물의 외측부에 수직 및 수평상으로 설치되고, 장방형으로 공간부가 구성되는 메인 프레임; 상기 메인 프레임의 공간부 내측면에 부착 설치되는 창틀 프레임; 상기 창틀 프레임의 내측에 개폐가능케 설치되며, 장방형으로 구성되는 창문 프레임; 상기 창문 프레임의 실외측 둘레에 결합 설치되는 단열 프레임; 및 상기 단열 프레임에 결합 설치되고, 유리창을 받쳐 지지하는 유리의자;를 포함하여 구현된다.a main frame installed vertically and horizontally on the outside of the building, and comprising a rectangular space; a window frame frame attached and installed on the inner surface of the space of the main frame; a window frame which is installed so as to be opened and closed on the inside of the window frame and is configured in a rectangular shape; a thermal insulation frame coupled to the outer periphery of the window frame; and a glass chair coupled to the insulating frame and installed to support the glass window.

또한 본 발명의 실시예로서, 창문 프레임은 단면을 직사각 형상으로 구성하되, 실외측 방향의 외측면에 체결홈이 형성되고, 외측면 모서리 부분에 체결부가 형성되는 것을 특징으로 한다.In addition, as an embodiment of the present invention, the window frame has a rectangular cross section, and a fastening groove is formed on the outer surface of the outdoor direction, and a fastening part is formed on an outer side edge portion.

또한 본 발명의 실시예로서, 단열 프레임은 폴리아미드(Polyamide) 재질로 압출 성형되고, 실내측 방향의 단부에 체결부가 형성되며, 상기 체결부의 실외측 방향에 체결홈이 형성되는 한편 상기 체결홈의 외측부에 다른 하나의 체결홈이 형성되는 것을 특징으로 한다.In addition, as an embodiment of the present invention, the heat insulation frame is extrusion-molded with a polyamide material, and a fastening part is formed at the end of the indoor direction, and a fastening groove is formed in the outdoor direction of the fastening part while the fastening groove of the fastening groove is formed. It is characterized in that another fastening groove is formed on the outer side.

또한 본 발명의 실시예로서, 유리의자는 창문 프레임의 하부 외측에 수평상으로 배치된 단열 프레임에 설치되며, 수직상의 단부에 체결부가 형성되고, 수평상으로 배치된 외측부 위에 유리창이 놓여 설치되는 것을 특징으로 한다.In addition, as an embodiment of the present invention, the glass chair is installed in an insulating frame arranged horizontally on the outside of the lower part of the window frame, a fastening part is formed at a vertical end, and a glass window is installed on the outer part arranged horizontally. characterized.

본 발명의 실시예는 창문 프레임의 실외측에 단열 프레임이 배치되고, 단열 프레임에 유리창이 끼워져 부착 시공됨으로써, 외부에서 냉기나 열기가 실내측으로 전달되는 것을 차단하여 단열성을 높이며, 단열 프레임이 창문의 부속품과 동일한 색상으로 성형됨에 따라 별도로 도색 작업이 필요없고 외부 미관이 깔끔하고 우수하며, 조립되는 부품수를 줄여서 시공성이 높은 효과가 있다.In an embodiment of the present invention, a thermal insulation frame is disposed on the outdoor side of the window frame, and a glass window is inserted and attached to the insulation frame, so that cold air or heat from the outside is blocked from being transmitted to the indoor side to increase the thermal insulation, and the insulation frame is the window of the window. As it is molded in the same color as the accessories, there is no need for a separate painting work, the external appearance is neat and excellent, and the number of parts to be assembled is reduced, which has a high workability effect.

특히, 단열 프레임 전체가 열전도성이 매우 낮은 폴리아미드 재질로 성형됨으로써, 외부에서 실내측으로 전달되는 냉기나 열기를 효과적으로 차단하여 단열성이 보다 높고, 또한 단열 프레임이 창문의 부속품과 동일한 색상으로 성형되므로, 기존에 실시되었던 도색 작업이 필요없고, 시공 비용이 절감되는 한편 외부 미관이 동일한 색상으로 깔끔하게 시공되는 효과가 있다.In particular, since the entire insulation frame is molded of a polyamide material with very low thermal conductivity, it effectively blocks the cold or heat transmitted from the outside to the indoor side, so that the insulation is higher, and the insulation frame is molded in the same color as the window accessories There is no need for the existing painting work, the construction cost is reduced, and the exterior aesthetics are neatly constructed with the same color.

또한 본 발명의 실시예는 단열 프레임에 유리창을 받쳐 지지하는 유리의자가 끼워져 조립됨으로써, 유리창의 지지력을 보강하여 하중으로 인한 처짐 현상과 뒤틀림을 방지하므로, 장기간 내구성과 기밀성을 유지하고, 방음 및 방수기능을 향상시키는 효과도 있다.In addition, in the embodiment of the present invention, the glass chair supporting the glass window is inserted into the insulating frame and assembled, thereby reinforcing the supporting force of the glass window to prevent sagging and distortion due to the load, thus maintaining long-term durability and airtightness, soundproofing and waterproofing It also has the effect of improving the function.

도 1은 본 발명의 실시예를 나타낸 설치상태 정면도.
도 2는 본 발명의 실시예를 나타낸 설치상태 평단면도.
도 3은 본 발명에서 창문을 나타낸 측단면도.
도 4는 본 발명에서 창문을 나타낸 평단면도.
도 5는 본 발명에서 창문을 나타낸 요부 측단면도.
도 6은 본 발명에서 창문 프레임과 단열 프레임 및 유리의자를 나타낸 요부 사시도.
도 7은 본 발명에서 창문 프레임과 단열 프레임 및 유리의자를 나타낸 분해 측단면도.
도 8은 본 발명에서 창문을 나타낸 다른 평단면도.
도 9는 본 발명에서 창문을 나타낸 다른 요부 측단면도.
도 10은 본 발명에서 창문 프레임과 단열 프레임 및 유리의자를 나타낸 분해 측단면도.
1 is a front view of an installation state showing an embodiment of the present invention.
Figure 2 is an installation state plan sectional view showing an embodiment of the present invention.
Figure 3 is a side cross-sectional view showing the window in the present invention.
Figure 4 is a plan sectional view showing the window in the present invention.
5 is a side cross-sectional view showing the main part of the window in the present invention.
Figure 6 is a perspective view showing the main part of the window frame, the insulating frame and the glass chair in the present invention.
Figure 7 is an exploded side cross-sectional view showing a window frame, an insulating frame and a glass chair in the present invention.
8 is another plan sectional view showing a window in the present invention.
9 is a side cross-sectional view of another main part showing a window in the present invention.
Figure 10 is an exploded side cross-sectional view showing a window frame, an insulating frame and a glass chair in the present invention.

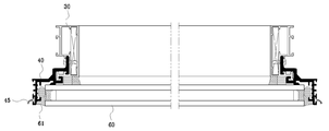
본 발명의 실시예에 따른 주요 구성은, 건물의 외측부에 수직 및 수평상으로 설치되고, 장방형으로 공간부가 구성되는 메인 프레임(10); 상기 메인 프레임(10)의 공간부 내측면에 부착 설치되는 창틀 프레임(20); 상기 창틀 프레임(20)의 내측에 개폐가능케 설치되며, 장방형으로 구성되는 창문 프레임(30); 상기 창문 프레임(30)의 실외측 둘레에 결합 설치되는 단열 프레임(40); 및 상기 단열 프레임(40)에 결합 설치되고, 유리창(60)을 받쳐 지지하는 유리의자(50);를 포함하여 이루어진다.The main configuration according to the embodiment of the present invention, the main frame 10 is installed vertically and horizontally on the outside of the building, the space portion is configured in a rectangular shape; a window frame 20 attached to and installed on the inner surface of the space of the main frame 10; a window frame 30 configured to be opened and closed on the inside of the window frame frame 20 and configured in a rectangular shape; Insulation frame 40 coupled to the outer periphery of the window frame 30; and a glass chair (50) coupled to the heat insulating frame (40) and supporting and supporting the glass window (60).

상기 실시예의 주요 구성에서 메인 프레임(10)은 건물의 외측부에 시공되는 구조물로서, 상기 메인 프레임(10)은 도면에서 도 1 및 도 2와 같이, 건물의 외부에 수직 및 수평상으로 설치되어 격자 형태로 시공되며, 외측부에 페어유리가 설치되는 한편 창문이 배치되는 위치에 장방형으로 소정 크기의 공간부가 구비된다.In the main configuration of the above embodiment, the main frame 10 is a structure constructed on the outer side of the building, and the main frame 10 is installed vertically and horizontally on the outside of the building as shown in FIGS. 1 and 2 in the drawings to provide a grid It is constructed in the form of a square, and a space portion of a predetermined size is provided in a rectangular shape at a position where a window is disposed while a fair glass is installed on the outside.

상기에서 메인 프레임(10)은 내구성과 내식성이 우수하고, 하중이 가벼운 알루미늄 프로파일로 압출 성형되며, 대부분 장방형의 단면 형상으로 구성되고, 별도의 브라켓을 이용하여 건물의 외부 벽체에 고정 설치된다.In the above, the main frame 10 has excellent durability and corrosion resistance, is extruded from an aluminum profile with a light load, is mostly composed of a rectangular cross-sectional shape, and is fixedly installed on the exterior wall of the building using a separate bracket.

한편 메인 프레임(10)은 외측면에 단열 브라켓(11)이 수직 및 수평상으로 결합 설치되어 격자 형태로 배치되고, 상기 단열 브라켓(11)의 내측부에 페어유리가 설치되는 한편 단열 브라켓(11)과 페어유리의 외측부에 마감캡(12)이 설치된다.On the other hand, the main frame 10 is arranged in a lattice form with insulating brackets 11 coupled vertically and horizontally on the outer surface, and a pair of glass is installed on the inner side of the insulating bracket 11 while the insulating bracket 11 is installed. And the closing cap 12 is installed on the outer side of the glass pair.

상기에서 단열 브라켓(11)은 열전도성이 매우 낮은 폴리아미드(Polyamide) 재질로 압출 성형되며, 외부에서 메인 프레임(10)으로 전달되는 냉기나 열기를 차단하여 단열성을 높이게 된다.In the above, the insulation bracket 11 is extruded from a polyamide material with very low thermal conductivity, and blocks cold air or heat transmitted from the outside to the main frame 10 to increase the insulation properties.

또한 상기 실시예의 주요 구성에서 창틀 프레임(20)은 메인 프레임(10)에 구비된 공간부에 창문을 설치하기 위한 구조물로서, 상기 창틀 프레임(20)은 도면에서 도 1 및 도 2와 같이, 메인 프레임(10)에서 장방형으로 구성된 공간부의 내측면 둘레에 다수개의 나사로 부착 설치된다.In addition, in the main configuration of the above embodiment, the window frame 20 is a structure for installing a window in a space provided in the main frame 10, and the window frame 20 is the main frame 20 as shown in FIGS. 1 and 2 in the drawings. A plurality of screws are attached to and installed around the inner surface of the rectangular space in the frame 10 .

상기에서 창틀 프레임(20)은 알루미늄 프로파일로 압출 성형되고, 메인 프레임(10)의 공간부 내측면 둘레에 수직 및 수평상으로 밀착되어 다수개의 나사로 고정 설치되며, 창문을 닫았을 때, 기밀성이 유지되도록 내측부 둘레에 복수개의 패킹이 끼워져 설치된다.In the above, the window frame 20 is extruded from an aluminum profile, and is vertically and horizontally in close contact with the inner surface of the space of the main frame 10 and is fixedly installed with a plurality of screws, and airtightness is maintained when the window is closed. A plurality of packings are fitted around the inner part so as to be installed.

또한 상기 실시예의 주요 구성에서 창문 프레임(30)은 유리창(60)을 설치하기 위한 구조물로서, 상기 창문 프레임(30)은 도면에서 도 1 내지 도 4와 같이, 장방형으로 구성되어 창틀 프레임(20)의 내측 공간에 배치되며, 상기 창틀 프레임(20)에 스테이암(stay arm)과 힌지부로 개폐가능케 설치된다.In addition, in the main configuration of the above embodiment, the window frame 30 is a structure for installing the glass window 60 , and the window frame 30 is configured in a rectangular shape as shown in FIGS. 1 to 4 in the drawings. It is disposed in the inner space of the window frame 20, it is installed so as to open and close by a stay arm (stay arm) and a hinge portion.

상기에서 창문 프레임(30)은 도면에서 도 5 내지 도 7과 같이, 알루미늄 프로파일로 압출 성형되고, 단면을 직사각 형상으로 구성하되, 실외측 방향의 외측면에 체결홈(31)이 형성되고, 외측면 모서리 부분에 체결부(32)가 형성된다.In the above, the window frame 30 is extruded from an aluminum profile as shown in FIGS. 5 to 7 in the drawings, and has a rectangular cross section, but a fastening groove 31 is formed on the outer surface in the outdoor direction, and the outside A fastening portion 32 is formed at the side edge portion.

상기에서 체결홈(31)은 창문 프레임(30)의 내측 방향으로 오목하게 형성되며, 체결부(32)는 모서리 부분에 연장하여 "

Figure pat00001
" 형상으로 구성되고, 사용자가 창문을 개폐하기 위한 핸들(33)이 실내측 내부 측면에 설치된다.In the above, the fastening groove 31 is formed to be concave in the inner direction of the window frame 30, and the fastening part 32 extends to the edge of the "
Figure pat00001
It is configured in the shape of ", and the handle 33 for the user to open and close the window is installed on the inner side of the room.

또한 상기 실시예의 주요 구성에서 단열 프레임(40)은 외부에서 냉기나 열기가 실내측으로 전달되는 것을 차단하는 기능으로서, 상기 단열 프레임(40)은 도면에서 도 2 내지 도 4와 같이, 창문 프레임(30)의 실외측 둘레에 결합 설치되고, 열전도성이 매우 낮은 폴리아미드(Polyamide) 재질의 검정색으로 압출 성형된다.In addition, in the main configuration of the embodiment, the insulation frame 40 serves to block the transfer of cold air or heat from the outside to the indoor side, and the insulation frame 40 is a window frame 30 as shown in FIGS. ) is installed around the outdoor side and is extrusion-molded in black made of a polyamide material with very low thermal conductivity.

상기에서 단열 프레임(40)은 도면에서 도 5 내지 도 7과 같이, 실내측 방향의 단부에 체결부(41)가 형성되고, 상기 체결부(41)의 실외측 방향에 체결홈(42)이 형성되는 한편 상기 체결홈(42)의 외측부에 다른 하나의 체결홈(43)이 형성된다.As shown in FIGS. 5 to 7 in the drawings, the heat insulation frame 40 has a fastening part 41 formed at an end in the indoor direction, and a fastening groove 42 in the outdoor direction of the fastening part 41 . Meanwhile, another fastening groove 43 is formed on the outer side of the fastening groove 42 .

한편 상기 체결홈(43)에서 실외측 방향으로 연장하여 외측부에 커버홈(44)이 형성되고, 상기 커버홈(44)에 창문을 닫았을 때, 기밀성을 유지하기 위한 커버(45)가 끼워져 설치되며, 상기 커버(45)는 메인 프레임(10)에서 실외측에 조립되는 브라켓에 밀착되어 기밀성을 확보한다.On the other hand, a cover groove 44 is formed on the outer side by extending from the fastening groove 43 in the outdoor direction, and when the window is closed in the cover groove 44, a cover 45 for maintaining airtightness is inserted and installed and the cover 45 is closely attached to the bracket assembled on the outdoor side of the main frame 10 to secure airtightness.

단열 프레임(40)은 실내측 방향의 단부에 형성된 체결부(41)가 창문 프레임(30)의 체결홈(31)에 길이 방향으로 끼워져 조립되는 한편 창문 프레임(30)의 체결부(32)가 단열 프레임(40)의 체결홈(42)에 길이 방향으로 끼워져 조립됨으로써, 창문 프레임(30)의 실외측 둘레에 단열 프레임(40)이 배치된다.The heat insulation frame 40 is assembled by inserting the fastening part 41 formed at the end in the interior direction into the fastening groove 31 of the window frame 30 in the longitudinal direction, while the fastening part 32 of the window frame 30 is By being fitted and assembled in the fastening groove 42 of the heat insulating frame 40 in the longitudinal direction, the heat insulating frame 40 is arranged around the outdoor side of the window frame 30 .

따라서, 단열 프레임(40)은 창문 프레임(30)의 실외측에 배치되어 외부에서 냉기나 열기가 창문 프레임(30)으로 전달되는 것을 차단하며, 또한 폴리아미드 재질의 검정색으로 성형됨에 따라 창문의 부속품(실리콘 실란트, 유리창 간봉, 유리창 테두리 등)과 색상이 동일하여 별도로 도색 작업이 필요없고 외부 미관이 깔끔하고 우수하다.Therefore, the insulating frame 40 is disposed on the outdoor side of the window frame 30 to block the transfer of cold air or heat from the outside to the window frame 30, and as it is molded in black of a polyamide material, it is a window accessory. Because it has the same color as (silicone sealant, window sealant, window border, etc.), no separate painting work is required, and the exterior appearance is neat and excellent.

특히, 단열 프레임(40) 전체가 열전도성이 매우 낮은 폴리아미드 재질로 성형됨으로써, 외부에서 실내측으로 전달되는 냉기나 열기를 효과적으로 차단하여 기존 선행기술 보다 단열성이 높게 시공된다.In particular, since the entire insulating frame 40 is molded of a polyamide material having very low thermal conductivity, it effectively blocks cold air or heat transmitted from the outside to the indoor side, so that the heat insulation property is higher than that of the existing prior art.

또한 단열 프레임(40)이 창문의 부속품과 동일한 색상으로 성형되므로, 기존에 실시되었던 도색 작업이 필요없고, 시공 비용이 절감되는 한편 외부 미관이 동일한 색상으로 깔끔하게 시공된다.In addition, since the insulating frame 40 is molded in the same color as the accessories of the window, there is no need for the previously performed painting work, the construction cost is reduced, and the exterior aesthetics are neatly constructed in the same color.

또한 상기 실시예의 주요 구성에서 유리의자(50)는 유리창(60)을 받쳐 지지하는 기능으로서, 상기 유리의자(50)는 도면에서 도 3과 같이, 창문 프레임(30)의 하부 외측에 수평상으로 배치된 단열 프레임(40)에 설치되며, 알루미늄 프로파일 또는 폴리아미드(Polyamide) 재질로 압출 성형된다.In addition, in the main configuration of the embodiment, the glass chair 50 serves to support and support the glass window 60, and as shown in FIG. It is installed in the arranged heat insulation frame 40, and is extrusion-molded with an aluminum profile or polyamide material.

상기에서 유리의자(50)는 도면에서 도 5 내지 도 7과 같이, 전반적인 형상이 "┘" 형태로 구성되고, 2~5㎝ 길이로 절단하여 사용하며, 단열 프레임(40)의 양측부에 끼워져 배치되고, 수직상의 단부에 체결부(51)가 형성되는 한편 수평상으로 배치된 외측부 위에 유리창(60)이 놓여 부착 설치된다.In the above, as shown in FIGS. 5 to 7 in the drawings, the glass chair 50 has an overall shape of "┘" shape, is cut to a length of 2 to 5 cm, and is inserted into both sides of the heat insulation frame 40. is disposed, the fastening portion 51 is formed at the end of the vertical, while the glass window 60 is placed on the outer portion arranged horizontally is attached and installed.

상기에서 수직상의 단부에 형성된 체결부(51)가 단열 프레임(40)에 구비된 체결홈(43)에 끼워져 조립 설치되며, 수평상으로 배치된 외측부 위에 고무 재질의 완충용 패드(61)가 놓이고, 그 위에 유리창(60)이 올려져 놓인다.In the above, the fastening part 51 formed at the vertical end is inserted into the fastening groove 43 provided in the heat insulation frame 40 and assembled and installed, and a rubber cushioning pad 61 is placed on the horizontally arranged outer part. and the glass window 60 is placed thereon.

상기에서 유리창(60)의 하단부와 단열 프레임(40)의 실외측 단부 사이에 실리콘 실란트(Sealant)(62)가 주입되어 기밀성이 확보되는 한편 유리창(60)이 부착 설치된다.In the above, silicone sealant 62 is injected between the lower end of the glass window 60 and the outdoor end of the heat insulating frame 40 to ensure airtightness, while the glass window 60 is attached and installed.

따라서, 본 발명의 실시예는 창문 프레임(30)의 실외측에 단열 프레임(40)과 유리의자(50)가 설치되고, 상기 유리의자(50) 위에 유리창(60)이 놓여 설치됨으로써, 외부에서 냉기나 열기가 실내측에 위치하는 창문 프레임(30)으로 전달되는 것을 차단하여 단열성을 높이며, 또한 유리의자(50)가 유리창(60)을 받쳐 지지하므로, 유리창의 지지력을 보강하여 하중으로 인한 유리창(60)의 처짐 현상과 뒤틀림을 방지하게 된다.Accordingly, in the embodiment of the present invention, the heat insulation frame 40 and the glass chair 50 are installed on the outdoor side of the window frame 30 , and the glass window 60 is placed on the glass chair 50 and installed, so that from the outside By blocking the transfer of cold air or heat to the window frame 30 located on the indoor side, heat insulation is improved, and since the glass chair 50 supports and supports the glass window 60, the supporting force of the glass window is reinforced to reinforce the glass window caused by the load. (60) to prevent sagging and distortion.

또한 도면에서 도 8 내지 도 10은 단열 프레임(40)과 유리의자(50)의 다른 실시예로서, 건물의 외부에 시공되는 커튼월에서 메인 프레임(10)의 설치구조에 따라 단열 프레임(40)과 유리의자(50)를 외측 방향으로 길게 연장하여 구성할 수 있다.In addition, in the drawings, FIGS. 8 to 10 are another embodiment of the heat insulation frame 40 and the glass chair 50, and the insulation frame 40 according to the installation structure of the main frame 10 in the curtain wall constructed outside the building. And it can be configured by extending the glass chair 50 in an outward direction.

여기서, 창문 프레임(30)과 단열 프레임(40) 및 유리의자(50)의 조립 방식은 위에서 설명한 조립 구조와 동일하며, 단지 단열 프레임(40)과 유리의자(50)가 외측 방향으로 길게 연장하여 형성된다.Here, the assembly method of the window frame 30, the heat insulation frame 40, and the glass chair 50 is the same as the assembly structure described above, only the heat insulation frame 40 and the glass chair 50 extend long in the outward direction. is formed

이러한 구성으로 이루어진 본 발명의 실시예는 창문 프레임의 실외측에 열전도성이 매우 낮은 단열 프레임이 배치됨으로써, 외부에서 냉기나 열기가 실내측으로 전달되는 것을 차단하여 단열성이 높고, 또한 창문 프레임의 실외측에 단열 프레임과 유리의자만 조립 설치되므로, 조립되는 부품수를 보다 줄여서 시공성이 우수하다.In the embodiment of the present invention having such a configuration, a thermal insulation frame with very low thermal conductivity is disposed on the outdoor side of the window frame, so that cold air or heat from the outside is blocked from being transmitted to the indoor side, so that the thermal insulation property is high, and also the outdoor side of the window frame Since only the insulation frame and glass chair are assembled and installed, the number of parts to be assembled is reduced and the workability is excellent.

또한 본 발명의 실시예는 단열 프레임이 폴리아미드 재질의 검정색으로 성형됨으로써, 창문의 부속품과 색상이 동일하여 별도로 도색 작업이 필요없으며, 외부 미관이 깔끔하고 우수하게 시공된다.In addition, in the embodiment of the present invention, since the insulating frame is molded in black made of polyamide material, there is no need for a separate painting operation because the color is the same as the accessories of the window, and the external appearance is neat and excellently constructed.

한편 본 발명의 실시예는 단열 프레임에 유리창을 받쳐 지지하는 유리의자가 설치됨으로써, 유리창의 지지력을 더욱 보강하여 하중으로 인한 유리창의 처짐 현상과 뒤틀림을 방지하므로, 장기간 내구성과 기밀성을 유지하고, 방음 및 방수기능을 향상시키게 된다.On the other hand, in the embodiment of the present invention, since a glass chair supporting the glass window is installed in the heat insulating frame, the supporting force of the glass window is further reinforced to prevent sagging and distortion of the glass window due to the load, so that durability and airtightness are maintained for a long time, and sound insulation And it will improve the waterproof function.

상기에서 본 발명의 바람직한 실시예를 참고로 설명 하였으며, 상기의 실시예에 한정되지 아니하고, 상기의 실시예를 통해 본 발명이 속하는 기술분야에서 통상의 지식을 가진 자가 본 발명의 요지를 벗어나지 않는 범위에서 다양한 변경으로 실시할 수 있는 것이다.The preferred embodiment of the present invention has been described with reference to the above, and it is not limited to the above embodiment, and a person of ordinary skill in the art to which the present invention belongs through the above embodiment does not deviate from the gist of the present invention It can be implemented with various changes in

10: 메인 프레임 11: 단열 브라켓
12: 마감캡 20: 창틀 프레임
30: 창문 프레임 31: 체결홈
32: 체결부 33: 핸들
40: 단열 프레임 41: 체결부
42(43): 체결홈 44: 커버홈
45: 커버 50: 유리의자
51: 체결부 60: 유리창
10: main frame 11: insulation bracket
12: Closing cap 20: Window frame frame
30: window frame 31: fastening groove
32: fastening part 33: handle
40: insulation frame 41: fastening part
42 (43): fastening groove 44: cover groove
45: cover 50: glass chair
51: fastening part 60: glass window

Claims (4)

건물의 외측부에 수직 및 수평상으로 설치되고, 장방형으로 공간부가 구성되는 메인 프레임(10);
상기 메인 프레임(10)의 공간부 내측면에 부착 설치되는 창틀 프레임(20);
상기 창틀 프레임(20)의 내측에 개폐가능케 설치되며, 장방형으로 구성되는 창문 프레임(30);
상기 창문 프레임(30)의 실외측 둘레에 결합 설치되는 단열 프레임(40); 및
상기 단열 프레임(40)에 결합 설치되고, 유리창(60)을 받쳐 지지하는 유리의자(50);를 포함하여 구성된 것을 특징으로 하는 단열성과 미관이 우수한 벤트.
The main frame 10 is installed vertically and horizontally on the outside of the building, and the space portion is configured in a rectangular shape;
a window frame 20 attached to and installed on the inner surface of the space of the main frame 10;
a window frame 30 configured to be opened and closed on the inside of the window frame frame 20 and configured in a rectangular shape;
Insulation frame 40 coupled to the outer periphery of the window frame 30; and
A vent with excellent thermal insulation and aesthetics, characterized in that it includes; a glass chair (50) that is coupled to the insulation frame (40) and supports and supports the glass window (60).
제1항에 있어서,
창문 프레임(30)은,
단면을 직사각 형상으로 구성하되, 실외측 방향의 외측면에 체결홈(31)이 형성되고, 외측면 모서리 부분에 체결부(32)가 형성된 것을 특징으로 하는 단열성과 미관이 우수한 벤트.
According to claim 1,
The window frame 30 is
A vent with excellent thermal insulation and aesthetics, characterized in that it has a rectangular cross section, a fastening groove (31) is formed on the outer surface of the outer side, and a fastening part (32) is formed on the edge of the outer surface.
제1항에 있어서,
단열 프레임(40)은,
폴리아미드(Polyamide) 재질로 압출 성형되고, 실내측 방향의 단부에 체결부(41)가 형성되며, 상기 체결부(41)의 실외측 방향에 체결홈(42)이 형성되는 한편 상기 체결홈(42)의 외측부에 다른 하나의 체결홈(43)이 형성된 것을 특징으로 하는 단열성과 미관이 우수한 벤트.
According to claim 1,
Insulation frame 40,
It is extrusion-molded with a polyamide material, and a fastening part 41 is formed at the end of the indoor direction, and a fastening groove 42 is formed in the outdoor direction of the fastening part 41 while the fastening groove ( A vent with excellent thermal insulation and aesthetics, characterized in that the other fastening groove 43 is formed on the outer side of the 42).
제1항에 있어서,
유리의자(50)는,
창문 프레임(30)의 하부 외측에 수평상으로 배치된 단열 프레임(40)에 설치되며, 수직상의 단부에 체결부(51)가 형성되고, 수평상으로 배치된 외측부 위에 유리창(60)이 놓여 설치되는 것을 특징으로 하는 단열성과 미관이 우수한 벤트.
According to claim 1,
The glass chair 50,
It is installed in the insulating frame 40 arranged horizontally on the lower outer side of the window frame 30, the fastening part 51 is formed at the end of the vertical, and the glass window 60 is placed on the outer part arranged horizontally and installed A vent with excellent thermal insulation and aesthetics.
KR1020200028100A 2020-03-06 2020-03-06 Vent with excellent insulation and aesthetic look Ceased KR20210112716A (en)

Priority Applications (1)

Application Number Priority Date Filing Date Title
KR1020200028100A KR20210112716A (en) 2020-03-06 2020-03-06 Vent with excellent insulation and aesthetic look

Applications Claiming Priority (1)

Application Number Priority Date Filing Date Title
KR1020200028100A KR20210112716A (en) 2020-03-06 2020-03-06 Vent with excellent insulation and aesthetic look

Publications (1)

Publication Number Publication Date
KR20210112716A true KR20210112716A (en) 2021-09-15

Family

ID=77793383

Family Applications (1)

Application Number Title Priority Date Filing Date
KR1020200028100A Ceased KR20210112716A (en) 2020-03-06 2020-03-06 Vent with excellent insulation and aesthetic look

Country Status (1)

Country Link
KR (1) KR20210112716A (en)

Cited By (1)

* Cited by examiner, † Cited by third party
Publication number Priority date Publication date Assignee Title
CN116591359A (en) * 2023-07-18 2023-08-15 北京市建筑设计研究院有限公司 Vertical variable cross-section ventilation energy-saving system of ultrahigh curtain wall

Citations (5)

* Cited by examiner, † Cited by third party
Publication number Priority date Publication date Assignee Title
KR100916998B1 (en) 2009-05-07 2009-09-14 주식회사 합플러스 Window frame structure with improved airtight performance
KR101230032B1 (en) 2010-10-19 2013-02-05 주식회사 케이씨씨 Curtain wall type window
KR101486064B1 (en) 2014-10-22 2015-01-23 주식회사 선우시스 Insulation and vent assembly for windows and doors
KR101610195B1 (en) 2014-04-08 2016-04-12 주식회사 효성금속 Window for curtain wall
KR102003964B1 (en) 2015-07-30 2019-10-01 주식회사 지에이에이치씨복합창 Curtain wall double skin system window and construction method

Patent Citations (5)

* Cited by examiner, † Cited by third party
Publication number Priority date Publication date Assignee Title
KR100916998B1 (en) 2009-05-07 2009-09-14 주식회사 합플러스 Window frame structure with improved airtight performance
KR101230032B1 (en) 2010-10-19 2013-02-05 주식회사 케이씨씨 Curtain wall type window
KR101610195B1 (en) 2014-04-08 2016-04-12 주식회사 효성금속 Window for curtain wall
KR101486064B1 (en) 2014-10-22 2015-01-23 주식회사 선우시스 Insulation and vent assembly for windows and doors
KR102003964B1 (en) 2015-07-30 2019-10-01 주식회사 지에이에이치씨복합창 Curtain wall double skin system window and construction method

Cited By (2)

* Cited by examiner, † Cited by third party
Publication number Priority date Publication date Assignee Title
CN116591359A (en) * 2023-07-18 2023-08-15 北京市建筑设计研究院有限公司 Vertical variable cross-section ventilation energy-saving system of ultrahigh curtain wall
CN116591359B (en) * 2023-07-18 2023-12-01 北京市建筑设计研究院有限公司 Vertical variable cross-section ventilation energy-saving system of ultrahigh curtain wall

Similar Documents

Publication Publication Date Title
KR102003964B1 (en) Curtain wall double skin system window and construction method
KR101588288B1 (en) Sliding windows are an excellent thermal insulation and airtightness
KR101360247B1 (en) Cacement with high insulation
KR101395139B1 (en) Glass windows of the support device
KR100795711B1 (en) Composite window system for easy combination of drainage and insulation panels
KR101612412B1 (en) Insulation of windows and doors windows finisher
KR200486254Y1 (en) A multiple insulated project window
KR20210112716A (en) Vent with excellent insulation and aesthetic look
KR20070083017A (en) Compound Double Window
CN210977207U (en) Independent inward opening window
KR200314547Y1 (en) Window and Door Prepared by Synthetic Resin Having high Adiabatic and Airtight property
KR20070024108A (en) Soundproof Structure of Slide Window
KR101953203B1 (en) Curtain wall type double skin facade system window having utility function and construction method thereof
KR20210101569A (en) Highly classified and durable open windows
KR101793476B1 (en) Windows insulated with insulation and tightness
KR102186140B1 (en) Window that combines convenience of opening and closing and excellent airtightness
KR102173709B1 (en) Curtain wall
KR20100137040A (en) Insulation Window
KR20110001229U (en) Exterior wall double window system
KR101258273B1 (en) Function-Improved Gasket for Windoors and Doors
JP7656395B2 (en) Fireproof fittings
CN223241347U (en) A hook-and-sharp sealing structure for a panoramic door
CN222315020U (en) Outer upper suspension waterproof outer window
CN2733235Y (en) Ventilation rod type ventilation installation
WO2008132530A1 (en) Profile for insulating a window frame

Legal Events

Date Code Title Description
PA0109 Patent application

Patent event code: PA01091R01D

Comment text: Patent Application

Patent event date: 20200306

PA0201 Request for examination
PE0902 Notice of grounds for rejection

Comment text: Notification of reason for refusal

Patent event date: 20210129

Patent event code: PE09021S01D

E601 Decision to refuse application
PE0601 Decision on rejection of patent

Patent event date: 20210830

Comment text: Decision to Refuse Application

Patent event code: PE06012S01D

Patent event date: 20210129

Comment text: Notification of reason for refusal

Patent event code: PE06011S01I

PG1501 Laying open of application