KR20150028864A - A Rotation Roaster - Google Patents

A Rotation Roaster Download PDF

Info

Publication number
KR20150028864A
KR20150028864A KR20130094236A KR20130094236A KR20150028864A KR 20150028864 A KR20150028864 A KR 20150028864A KR 20130094236 A KR20130094236 A KR 20130094236A KR 20130094236 A KR20130094236 A KR 20130094236A KR 20150028864 A KR20150028864 A KR 20150028864A
Authority
KR
South Korea
Prior art keywords
grill
housing
shaft hole
skewer
disc
Prior art date
Legal status (The legal status is an assumption and is not a legal conclusion. Google has not performed a legal analysis and makes no representation as to the accuracy of the status listed.)
Ceased
Application number
KR20130094236A
Other languages
Korean (ko)
Inventor
김해정
정선우
Original Assignee
김해정
정선우
Priority date (The priority date is an assumption and is not a legal conclusion. Google has not performed a legal analysis and makes no representation as to the accuracy of the date listed.)
Filing date
Publication date
Application filed by 김해정, 정선우 filed Critical 김해정
Priority to KR20130094236A priority Critical patent/KR20150028864A/en
Publication of KR20150028864A publication Critical patent/KR20150028864A/en
Ceased legal-status Critical Current

Links

Images

Classifications

    • AHUMAN NECESSITIES
    • A47FURNITURE; DOMESTIC ARTICLES OR APPLIANCES; COFFEE MILLS; SPICE MILLS; SUCTION CLEANERS IN GENERAL
    • A47JKITCHEN EQUIPMENT; COFFEE MILLS; SPICE MILLS; APPARATUS FOR MAKING BEVERAGES
    • A47J37/00Baking; Roasting; Grilling; Frying
    • A47J37/04Roasting apparatus with movably-mounted food supports or with movable heating implements; Spits
    • A47J37/042Roasting apparatus with movably-mounted food supports or with movable heating implements; Spits with food supports arranged on wheels or spiders rotating about a horizontal axis
    • AHUMAN NECESSITIES
    • A47FURNITURE; DOMESTIC ARTICLES OR APPLIANCES; COFFEE MILLS; SPICE MILLS; SUCTION CLEANERS IN GENERAL
    • A47JKITCHEN EQUIPMENT; COFFEE MILLS; SPICE MILLS; APPARATUS FOR MAKING BEVERAGES
    • A47J37/00Baking; Roasting; Grilling; Frying
    • A47J37/06Roasters; Grills; Sandwich grills
    • A47J37/07Roasting devices for outdoor use; Barbecues
    • A47J37/0745Roasting devices for outdoor use; Barbecues with motor-driven food supports

Landscapes

  • Engineering & Computer Science (AREA)
  • Food Science & Technology (AREA)
  • Baking, Grill, Roasting (AREA)

Abstract

상기한 바와 같은 본 발명의 목적을 달성하기 위하여, 본 발명에 따른 회전구이기는 U자형 판체와, 상기 U자형 판체의 후방과 전방에 각각 뒤판과 앞판이 세워지는 하우징과; 상기 하우징에 수용되는 구이부; 상기 하우징의 내부 양측방에 설치되는 열원부; 상기 하우징의 전방 일측에 상기 구이부와 기어로 연결된 구동부;로 구성되는 것을 특징으로 한다.
본 발명은 사용자가 구이부를 직접 회전시키지 않더라도 자동으로 회전되어 음식물이 익혀지게 되고, 기어 사이에 이물질이 끼이더라도 기어 사이의 유격이 있으므로 사용자는 사고를 당할 위험이 줄어든다. 또한 꼬치로 굽기 어려운 음식물을 그릴망 내부에 수용시켜 구울 수 있으며, 숯불에 불을 붙이는 별도의 수단이 필요없이 가스공급체로부터 가스공급을 받아 열원을 만들 수 있다.
According to an aspect of the present invention, there is provided a rotary grinder comprising: a U-shaped plate; a housing on which a back plate and a front plate are installed on rear and front sides of the U-shaped plate; A rope accommodated in the housing; A heat source unit installed on both inner sides of the housing; And a driving unit connected to the roughened part at one side of the front side of the housing.
Even if the user does not directly rotate the roving portion, the present invention automatically rotates to cook food, and even if foreign matter is caught between the gears, there is a gap between the gears, so that the risk of the user being accidentally reduced. In addition, it is possible to grill foods that are difficult to bake with skewers in grill net, and it is possible to make a heat source by receiving gas supply from the gas supply body, without needing any means for burning charcoal fire.

Description

회전구이기{A Rotation Roaster}{A Rotation Roaster}

본 발명은 회전구이기에 관한 것으로, 더욱 상세하게는 야외에서 꼬치를 자동으로 회전시켜 구울 수 있는 회전구이기에 관한 것이다.BACKGROUND OF THE INVENTION 1. Field of the Invention [0002] The present invention relates to a rotary grinder, and more particularly, to a rotary grinder capable of automatically rotating a skewer in the open air.

일반적으로 사람들이 여행을 떠나는 등 야외활동으로 여가를 즐기면서, 취사시 버너 또는 숯불을 이용해 음식을 조리하고 있다.Generally, people are enjoying outdoor activities such as going on a trip, cooking food using a cooker or a charcoal fire.

특허문헌 1은 숯불통 본체의 이동성 및 꼬치봉의 삽탈성을 높이고, 숯불과의 직화를 가능하게 하며, 기존의 테이블에 탈부착이 가능하고, 테이블의 활용도를 향상시킨 직화겸용 회전 분리식 숯불 구이기에 관한 것으로, 함체와 분리식 구이기 본체 및 축열겸용 직화구이판를 포함하고, 구이기 본체는 함체에 삽탈이 용이하고 동시에 운반 이동이 가능하게 되어 있는 직화겸용 회전 분리식 숯불 구이기를 게시하고 있다.Patent Document 1 discloses a charcoal-grilling machine having a flame-retardant charcoal grill which can increase the mobility of the charcoal tank main body and the frying and breaking ability of the skewer rod, enable flaming with charcoal, detachably attach to a conventional table, The present invention relates to a charcoal fire extinguisher for fire extinguishers, which comprises a casing, a separable burner body, and a fire extinguishing fire extinguisher, wherein the burner body is easy to insert and detach from the casing and is capable of carrying.

특허문헌 2는 내부에 공간이 형성되어 발화를 통해 열을 발생시킬 수 있게 하는 몸체부와; 상기 몸체부 일단에 착탈 가능하게 구비되며, 상단에 삽입홈이 형성되는 제1브래킷과; 상기 몸체부 타단에 착탈 가능하게 구비되는 제2브래킷과; 일단은 손잡이가 형성되어 상기 제1브래킷의 삽입홈에 끼워지며, 타단은 다수의 꼬치가 형성되는 꼬치부재와; 상기 제2브래킷이 장착된 몸체부 측에 구비되되, 상기 꼬치가 삽입되는 기어부와, 상기 기어부 중앙에 삽입 고정되는 고정축과, 상기 고정축 하부에 삽입되어 상기 기어부 외측 방향으로 돌출 형성되는 구동축으로 이루어지는 기어부재와; 상기 제2브래킷 상부에 장착되되, 내부에 모터가 구비되고 상기 모터와 연결되는 축의 중심에 장공 형상의 체결홀이 형성되며, 케이싱 형상의 마운팅 브래킷의 외측면에 삽입공이 형성되고, 상기 체결홀에 상기 기어부재의 구동축이 삽입되어 상기 기어부재를 회전시키는 회전부재로 구성된 꼬치구이장치를 게시하고 있다.Patent Document 2 discloses a heat exchanger having a body portion for allowing a space to be formed therein to generate heat through ignition; A first bracket detachably provided at one end of the body portion and having an insertion groove formed at an upper end thereof; A second bracket detachably attached to the other end of the body part; A skewer having a first end formed with a handle and fitted into the insertion groove of the first bracket and a second end formed with a plurality of skewers; A gear portion provided on the side of the body to which the second bracket is mounted, the gear portion having the skewer inserted therein; a fixed shaft inserted and fixed in the center of the gear portion; A gear member made of a drive shaft to be driven; A mounting hole is formed on the outer surface of the mounting bracket in the form of a casing, and a mounting hole is formed in the mounting hole of the mounting bracket, And a rotating member inserted into a driving shaft of the gear member to rotate the gear member.

하지만 상기 특허문헌 1의 직화겸용 회전 분리식 숯불 구이기는 숯불통의 사이에 꼬치를 각각 거치하게 되므로 불필요한 숯의 낭비가 발생할 수 있고, 특허문헌 2의 꼬치구이장치는 여러 개의 꼬치를 동시에 회전시키면서 고기를 구울 수 있지만, 기어의 구조가 복잡하여 이물질이 기어에 끼이는 경우 사용자에게 사고가 발생할 수 있다.However, the charcoal-grilling machine of the above-mentioned Patent Document 1 has a problem that unnecessary char is wasted because the charcoal grilling machine of the patent document 1 places the skewer between the charcoal boxes, and the skewer apparatus of patent document 2 simultaneously rotates several skewers However, if the structure of the gear is complicated and foreign matter is caught in the gear, an accident may occur to the user.

KRKR 20-035636520-0356365 Y1Y1 KRKR 10-119356110-1193561 B1B1

본 발명은 상기한 바와 같은 종래의 문제점을 해결하기 위한 것으로서, 본 발명의 목적은 하우징에 구이부와 열원부를 수용하고 구동부를 통해 상기 구이부가 자동으로 회전하는 회전구이기를 제공하는 것이다.SUMMARY OF THE INVENTION It is an object of the present invention to provide a rotary grinder in which a grill part and a heat source part are housed in a housing and the grill part is automatically rotated through a driving part.

본 발명의 다른 목적은 하우징에 수용되는 그릴망에 꼬치에 끼우기 어려운 음식물을 수용시키고 상기 그릴망을 회전시킴으로써 상기 음식물을 열원부에 의해 구울 수 있는 회전구이기를 제공하는 것이다.Another object of the present invention is to provide a grill which is capable of grasping foods that are difficult to fit on a skewer in a grill net housed in a housing and grinding the food by the heat source by rotating the grill net.

본 발명의 또 다른 목적은 제1기어부와 제2기어부의 맞물림에 유격을 두어 상기 기어부 사이에 이물질이 끼어도 제1기어부와 제2기어부를 헛돌게 하여 사고를 방지하는 회전구이기를 제공하는 것이다.It is a further object of the present invention to provide a rotary gauge for preventing an accident by preventing a first gear portion and a second gear portion from idling even if foreign matter is caught between the gear portions by making clearance between engagement of the first gear portion and the second gear portion .

상기한 바와 같은 본 발명의 목적을 달성하기 위하여, 본 발명에 따른 회전구이기는 U자형 판체와, 상기 U자형 판체의 후방과 전방에 각각 뒤판과 앞판이 세워지는 하우징과; 상기 하우징에 수용되어 회전가능한 구이부; 상기 하우징의 내부 양측방에 설치되는 열원부; 상기 하우징의 전방 일측에 상기 구이부와 기어로 연동되는 구동부;로 구성되는 것을 특징으로 한다.According to an aspect of the present invention, there is provided a rotary grinder comprising: a U-shaped plate; a housing on which a back plate and a front plate are installed on rear and front sides of the U-shaped plate; A grill portion received in the housing and rotatable; A heat source unit installed on both inner sides of the housing; And a driving unit interlocked with the gear unit at a front side of the housing.

본 발명에 따른 회전구이기에 있어서, 상기 하우징은 상부에 양측방 각각에 설치되는 그릴과; 중앙이 정해진 폭만큼 길이방향으로 개구되고, 양측부가 각각 하방으로 오목하게 형성되며, 상기 하우징의 상부와 대응하여 설치되어 상기 그릴이 놓여지고, 상기 그릴에 놓여진 조리물에서 떨어지는 액체를 받는 액체받이;가 더 구비되는 것을 특징으로 한다.According to the present invention, there is provided a rotary grinder, comprising: a grill installed at each of upper and lower sides of the housing; A liquid receiver which is opened in the longitudinal direction by a predetermined width, both sides of which are concave downwardly respectively, a liquid receiver installed in correspondence with an upper portion of the housing to receive the liquid falling from the food laid on the grill; Is further provided.

본 발명에 따른 회전구이기에 있어서, 판체형상으로 상기 그릴의 상방에서 상기 액체받이의 개구부를 덮고, 상기 하우징의 내부로부터 뿜어져 나오는 열기를 상기 그릴로 유도하는 뚜껑이 더 구비되는 것을 특징으로 한다.In the rotary grinder according to the present invention, a lid for covering the opening of the liquid receiver above the grille in a plate shape and guiding the heat emitted from the inside of the housing to the grille is further provided .

본 발명에 따른 회전구이기에 있어서, 상기 구이부는 원판형으로 중앙에 제1축구멍이 형성되고, 상기 제1축구멍으로부터 정해진 거리에 둘레를 따라 정해진 간격 이격된 다수개의 구멍이 형성된 후방디스크; 원판형으로 중앙에 제2축구멍이 형성되고, 상기 제2축구멍으로부터 정해진 거리에 둘레를 따라 정해진 간격 이격되어 상기 다수개의 구멍과 대응하는 위치에 다수개의 홈이 형성된 전방디스크; 상기 후방디스크의 제1축구멍과 전방디스크의 제2축구멍을 관통하여 잇고, 전방 끝단에 제1기어부가 형성된 축; 및 막대형상으로 일단에 손잡이가 형성되고, 어느 일부가 상기 홈에 삽입되어 안착되며, 타단이 뾰족하게 형성되어 상기 구멍에 삽입되어 관통하는 꼬치부;로 구성되는 것을 특징으로 한다.In the rotary grinder according to the present invention, the roughening portion may be a circular disk-shaped disk having a first shaft hole formed at the center thereof and a plurality of holes spaced apart from the first shaft hole by a predetermined distance along the circumference; A front disk having a disk shape and having a second shaft hole formed at a center thereof and spaced a predetermined distance along a circumference at a predetermined distance from the second shaft hole to form a plurality of grooves at positions corresponding to the plurality of holes; A shaft passing through the first shaft hole of the rear disk and the second shaft hole of the front disk and having a first gear portion at a front end thereof; And a skewer having a rod-like handle formed at one end thereof, a part of which is inserted into the groove and is seated, and the other end thereof is formed into a pointed shape and inserted into the hole.

본 발명에 따른 회전구이기에 있어서, 상기 꼬치부는 어느 일부에서 수직되게 뻗어나와 절곡되고 상기 꼬치부의 타단방향으로 평행한 보조꼬치부가 더 구비된 것을 특징으로 한다.In the rotary grinder according to the present invention, the skewer is further provided with an auxiliary skewer extending perpendicularly to any part thereof and bent and parallel to the other unidirectional direction of the skewer.

본 발명에 따른 회전구이기에 있어서 상기 구이부는 원판형으로 중앙에 제1축구멍이 형성되고 상기 제1축구멍으로부터 정해진 거리에 둘레를 따라 정해진 간격 이격된 다수개의 구멍이 형성된 후방디스크; 원판형으로 중앙에 제2축구멍이 형성되고 상기 제2축구멍으로부터 정해진 거리에 둘레를 따라 정해진 간격 이격되어 상기 구멍과 대응하는 위치에 다수개의 홈이 형성된 전방디스크; 상기 후방디스크의 제1축구멍과 전방디스크의 제2축구멍을 관통하여 잇고, 전방 끝단에 제1기어부가 형성된 축; 및 막대형상으로 상기 구멍 또는 홈과 동일한 개수로 형성되어 상기 구멍에 일단이 삽입되고 타단이 상기 홈에 삽입되는 다수개의 그릴축과, 상기 다수개의 그릴축 사이를 이어주는 그물부재로 구성되는 그릴망;으로 구성되는 것을 특징으로 한다.In the rotary grinder according to the present invention, the roughed portion may be a circular disk-shaped disk having a first shaft hole formed at the center thereof and a plurality of holes spaced apart from each other at a predetermined distance from the first shaft hole, A front disk having a disk-shaped second shaft hole formed at a center thereof and spaced a predetermined distance from the second shaft hole at a predetermined distance, and having a plurality of grooves formed at positions corresponding to the holes; A shaft passing through the first shaft hole of the rear disk and the second shaft hole of the front disk and having a first gear portion at a front end thereof; And a plurality of grill shafts formed in the same number as the holes or grooves in the rod shape and having one end inserted into the hole and the other end inserted into the groove, and a net member connecting the plurality of grill shafts; .

본 발명에 따른 회전구이기에 있어서, 상기 열원부에는 숯통 또는 발열판 중 어느 하나 이상이 구비된 것을 특징으로 한다.In the rotary kiln according to the present invention, the heat source unit may be provided with at least one of a charcoal or a heating plate.

본 발명에 따른 회전구이기에 있어서, 상기 열원부의 하단에는 일단이 하우징의 외부에 설치되는 가스공급체와 연결되고, 타단이 상기 하우징의 내부에서 상기 열원부를 향하여 각각 벌어져서 상기 열원부와 평행하게 형성되며, 상기 가스공급체에 설치된 밸브를 열면 가스가 공급되는 다수개의 가스분출공이 형성된 가스공급관이 더 구비된 것을 특징으로 한다.In the rotary kiln according to the present invention, the lower end of the heat source unit may have one end connected to a gas supply member provided outside the housing, and the other end may extend from the inside of the housing toward the heat source unit, And a gas supply pipe formed with a plurality of gas ejection holes through which gas is supplied when the valve provided in the gas supply member is opened.

본 발명에 따른 회전구이기에 있어서, 상기 구동부는 전원과; 상기 전원과 전기적으로 연결된 모터; 및 상기 모터와 연결되어 설치되며, 상기 제1기어부와 유격이 형성되어 맞물리는 제2기어부로 구성되는 것을 특징으로 한다.In the rotary grinder according to the present invention, the driving unit may include a power source; A motor electrically connected to the power supply; And a second gear portion connected to the motor, the second gear portion being engaged with the first gear portion to form a clearance therebetween.

본 발명은 사용자가 구이부를 직접 회전시키지 않더라도 상기 구이부가 구동부에 의해 자동으로 회전되어 음식물이 익혀지게 되고, 기어 사이에 이물질이 끼이더라도 기어 사이의 유격이 있으므로 사용자는 사고를 당할 위험이 줄어든다. 또한 꼬치로 굽기 어려운 음식물을 그릴망 내부에 수용시켜 구울 수 있으며, 숯불에 불을 붙이는 별도의 수단이 필요없이 가스공급체로부터 가스공급을 받아 열원을 만들 수 있다.Even if the user does not directly rotate the rope portion, the rope portion is automatically rotated by the driving portion so that food is picked up. Even if foreign matter is caught between the gears, there is a clearance between the gears. In addition, it is possible to grill foods that are difficult to bake with skewers in grill net, and it is possible to make a heat source by receiving gas supply from the gas supply body, without needing any means for burning charcoal fire.

도 1은 본 발명에 따른 구이부가 고치용인 회전구이기의 사시도.
도 2는 도 1의 내부사시도.
도 3은 도 1의 분해사시도.
도 4는 본 발명에 따른 구이부의 꼬치부를 나타낸 도면.
도 5는 본 발명에 따른 구이부가 그릴망인 회전구이기의 사시도.
도 6는 도 5의 내부사시도.
도 7은 도 5의 분해사시도
도 8은 본 발명에 따른 구이부의 그릴망을 나타낸 사시도.
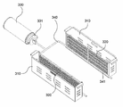
도 9는 본 발명에 따른 회전구이기의 내부 사시도.
도 10은 도 9의 열원부를 발췌한 사시도.
도 11은 본 발명에 따른 회전구이기의 제1 내지 제2기어부를 나타낸 도면.
BRIEF DESCRIPTION OF THE DRAWINGS FIG. 1 is a perspective view of a rotary grinder for a baked pot according to the present invention; FIG.
Figure 2 is an internal perspective view of Figure 1;
FIG. 3 is an exploded perspective view of FIG. 1; FIG.
4 is a view showing a skewer portion of a roasting portion according to the present invention.
5 is a perspective view of a rotary grill in which a roasting grille is provided according to the present invention.
Figure 6 is an internal perspective view of Figure 5;
7 is an exploded perspective view of Fig. 5
8 is a perspective view showing a grill net of a grill according to the present invention.
9 is an internal perspective view of a rotator according to the present invention.
10 is a perspective view illustrating the heat source unit of FIG.
11 is a view showing first to second gear portions of a rotary grinder according to the present invention.

이하, 본 발명의 실시예가 첨부된 도면을 참조하여 더욱 상세하게 설명한다.Hereinafter, embodiments of the present invention will be described in detail with reference to the accompanying drawings.

도 1 내지 도 11을 참조하면, 본 발명은 하우징(100)과 구이부(200), 열원부(300) 및 구동부(400)로 구성된다.Referring to FIGS. 1 to 11, the present invention includes a housing 100, a bulb 200, a heat source 300, and a driving unit 400.

상기 하우징(100)은 U자형 판체(110)와, 상기 U자형 판체(110)의 후방과 전방에 각각 세워지는 뒤판(120)과 앞판(130)으로 구성된다.The housing 100 includes a U-shaped plate 110 and a rear plate 120 and a front plate 130 which are respectively installed at the rear and front of the U-shaped plate 110.

상기 구이부(200)는 상기 하우징(100)에 수용되어 구동부(400)에 의해 회전이 가능하고, 상기 열원부(300)는 상기 하우징(100)의 내부 양측방에 설치되며, 상기 구동부(400)는 상기 하우징(100)의 전방 일측에 설치되어 상기 구이부(200)와 기어로 연동된다.The fan unit 200 is accommodated in the housing 100 and is rotatable by a driving unit 400. The heat source unit 300 is installed on both sides of the inside of the housing 100, Is installed on one side of the front side of the housing 100 and is interlocked with the grill part 200 by a gear.

상기 하우징(100)의 상부에는 양측방 각각에 설치되는 그릴(150)과, 중앙이 정해진 폭만큼 길이방향으로 개구되고 양측부가 각각 하방으로 오목하게 형성되며 상기 하우징(100)의 상부와 대응하여 설치되어 상기 그릴(150)이 놓여지고 상기 그릴(150)에 놓여진 조리물에서 떨어지는 액체를 받는 액체받이(160)가 더 설치될 수 있다.A grill 150 installed at each of upper and lower sides of the housing 100; a grill 150 installed at each of the upper and lower sides of the housing 100; And a liquid receiver 160 for receiving the liquid falling from the food laid on the grill 150 and placed on the grill 150 can be further installed.

그리고 상기 하우징(100)에는 뚜껑(170)을 더 설치할 수 있다.The housing 100 may further include a lid 170.

상기 뚜껑(170)은 판체형상인 것이 바람직하고, 하우징(100)의 일부(바람직하게는 상기 액체받이(160)의 개구부)를 덮어 상기 하우징(100)에 수용된 음식물을 익히는데 오븐과 같은 효과로 익히는 것이 가능하며, 또한 상기 뚜껑(170)은 상기 그릴(150)의 상방에서 상기 하우징(100)의 일부(바람직하게는 상기 액체받이(160) 사이의 개구부)를 덮으므로 상기 그릴(150)로 인해 상기 액체받이(160)와 정해진 간격만큼 떨어져서, 상기 하우징(100)의 내부에서 뿜어져 나오는 열기를 상기 그릴(150)로 유도하여 상기 그릴(150)에 놓인 음식물을 보온할 수 있다.The lid 170 is preferably in the form of a plate and covers the part of the housing 100 (preferably the opening of the liquid receiver 160) to acquire the food stored in the housing 100, And the lid 170 covers a part of the housing 100 (preferably, the opening between the liquid receivers 160) from above the grill 150, so that the grill 150 The user may heat the food placed on the grill 150 by guiding the heat emitted from the inside of the housing 100 to the grill 150 by a predetermined distance from the liquid receiver 160.

상기 구이부(200)는 후방디스크(210)와 전방디스크(220), 축(230) 및 꼬치부(240)로 구성된다.The grating unit 200 includes a rear disc 210, a front disc 220, a shaft 230, and a skewer 240.

상기 후방디스크(210)는 원판형으로 중앙에 제1축구멍(211)이 형성되고, 상기 제1축구멍(211)으로부터 정해진 거리에 둘레를 따라 정해진 간격 이격된 다수개의 구멍(212)이 형성된다.The rear disc 210 has a disc shape and has a first shaft hole 211 formed at the center thereof and a plurality of holes 212 spaced at predetermined intervals along a circumference at a predetermined distance from the first shaft hole 211 do.

상기 전방디스크(220)는 원판형으로 중앙에 제2축구멍(221)이 형성되고, 상기 제2축구멍(221)으로부터 정해진 거리에 둘레를 따라 정해진 간격 이격되어 상기 다수개의 구멍(212)과 대응하는 위치에 다수개의 홈(222)이 형성된다.The front disk 220 has a disk shape and has a second shaft hole 221 at a center thereof and is spaced apart from the second shaft hole 221 by a predetermined distance, A plurality of grooves 222 are formed at corresponding positions.

상기 축(230)은 상기 후방디스크(210)의 제1축구멍(211)과 전방디스크(220)의 제2축구멍(221)을 관통하여 잇고, 전방 끝단에 제1기어부(231)가 형성된다.The shaft 230 passes through the first shaft hole 211 of the rear disk 210 and the second shaft hole 221 of the front disk 220 and has a first gear portion 231 .

상기 꼬치부(240)는 막대형상으로 일단에 손잡이(241)가 형성되고, 손잡이측의 어느 일부가 상기 홈(222)에 삽입되어 안착되며, 타단이 뾰족하게 형성되어 상기 구멍(212)에 삽입되어 관통한다.The skewer 240 is rod-shaped and has a handle 241 formed at one end thereof. A part of the handle 225 is inserted into the groove 222 to be seated and the other end thereof is sharpened, .

또한 상기 전방디스크(220)와 앞판(130) 사이에는 보조판(180)이 설치되는 것이 바람직하다.Further, an auxiliary plate 180 may be provided between the front disk 220 and the front plate 130.

상기 보조판(180)은 상기 전방디스크(220)에 대응하는 위치가 오목하게 패인 판체 형상으로 상기 구이부(200)가 회전하며 홈(222)이 하방을 향할 때 상기 꼬치부(240)가 상기 홈(222)으로부터 이탈되는 것을 방지한다.The auxiliary plate 180 is shaped like a plate having a concave shape corresponding to the front disc 220. When the groove 220 rotates and the groove 222 is directed downward, (222).

상기 꼬치부(240)는 어느 일부에서 수직되게 뻗어나와 절곡되고 상기 꼬치부(240)의 타단방향으로 평행한 보조꼬치부(242)가 더 구비된 것이 바람직하다.Preferably, the skewer 240 is further provided with an auxiliary skewer 242 extending vertically and bent at a certain portion and parallel to the other unidirectional direction of the skewer 240.

음식물을 상기 꼬치부(240)와 보조꼬치부(242)에 꽂게 되면, 상기 꼬치부(240)와 보조꼬치부(242)는 수직면상에서 나란하게 되므로 상기 음식물이 수직방향으로 고정되고 상기 구이부(200)가 회전하더라도 상기 꼬치부(240)와 보조꼬치부(242)가 상기 꼬치부(240)를 중심으로 회전하지 않아 상기 음식물이 열원부(300)에 고루 노출된다.When the food is poured into the skewer 240 and the auxiliary skewer 242, the skewer 240 and the auxiliary skewer 242 are parallel to each other on the vertical plane, so that the food is fixed in the vertical direction, The skewer 240 and the auxiliary skewer 242 do not rotate about the skewer 240 so that the food is uniformly exposed to the heat source unit 300. [

한편, 상기 구이부(200)는 후방디스크(210´)와 전방디스크(220´), 축(230´) 및 그릴망(240´)으로 구성되는 것도 가능하다.The grill unit 200 may include a rear disc 210 ', a front disc 220', a shaft 230 ', and a grill net 240'.

상기 후방디스크(210´)는 원판형으로 중앙에 제1축구멍(211´)이 형성되고 상기 제1축구멍(211´)으로부터 정해진 거리에 둘레를 따라 정해진 간격 이격된 다수개의 구멍(212´)이 형성된다.The rear disk 210 'is disk-shaped and has a first shaft hole 211' formed at the center thereof and a plurality of holes 212 'spaced at predetermined intervals along a circumference at a predetermined distance from the first shaft hole 211' Is formed.

상기 전방디스크(220´)는 원판형으로 중앙에 제2축구멍(221´)이 형성되고 상기 제2축구멍(221´)으로부터 정해진 거리에 둘레를 따라 정해진 간격 이격되어 상기 구멍(212´)과 대응하는 위치에 다수개의 홈(222´)이 형성된다.The front disk 220 'is disk-shaped and has a second shaft hole 221' formed at the center thereof and spaced at a predetermined distance from the second shaft hole 221 ' A plurality of grooves 222 'are formed at corresponding positions.

상기 축(230´)은 상기 후방디스크(210´)의 제1축구멍(211´)과 전방디스크(220´)의 제2축구멍(221´)을 관통하여 잇고, 전방 끝단에 제1기어부(231)가 형성된다.The shaft 230 'passes through the first shaft hole 211' of the rear disk 210 'and the second shaft hole 221' of the front disk 220 ' A portion 231 is formed.

상기 그릴망(240´)은 그릴축(241´)과 그물부재(242´)로 구성된다.The grill net 240 'is composed of a grill shaft 241' and a net member 242 '.

상기 그릴축(241´)은 막대형상으로 상기 구멍(212´) 또는 홈(222´)과 동일한 개수로 형성되어 상기 구멍(212´)에 일단이 삽입되고 타단이 상기 홈(222´)에 삽입되며, 상기 그물부재(242´)는 상기 다수개의 그릴축(241´) 사이를 이어주는 것이 바람직하다.The grill shaft 241 'has a rod shape and is formed in the same number as the hole 212' or the groove 222 'so that one end is inserted into the hole 212' and the other end is inserted into the groove 222 ' , And the net member 242 'may be connected between the plurality of grill shafts 241'.

또한 상기 전방디스크(220´)와 앞판(130) 사이에는 보조판(180)이 설치되는 것이 바람직하다.Further, an auxiliary plate 180 may be provided between the front disc 220 'and the front plate 130.

상기 보조판(180)은 상기 전방디스크(220´)에 대응하는 위치가 오목하게 패인 판체 형상으로 상기 구이부(200)가 회전하며 홈(222´)이 하방을 향할 때 상기 그릴축(241´)이 상기 홈(222´)으로부터 이탈되는 것을 방지한다.The auxiliary plate 180 is shaped like a plate having a recessed shape corresponding to the front disc 220 'and is rotatable about the grill shaft 241' when the groove 200 rotates and the groove 222 ' To be separated from the groove 222 '.

상기 열원부(300)에는 숯통(310) 또는 발열판(320) 중 어느 하나가 구비되거나 상기 숯통(310)과 발열판(320)이 함께 구비될 수도 있다.The heat source unit 300 may be provided with one of the charcoal box 310 or the heating plate 320 or the charcoal box 310 and the heating plate 320 may be provided together.

상기 숯통(310)의 일측방은 열이 상기 구이부(200)로 전해지도록 개구되고, 상기 개구부에는 상기 숯통(310)에 수용된 숯이 이탈되지 않토록 숯이탈방지재(311)가 구비된 것이 바람직하다.One side of the charcoal box 310 is opened so that heat is transmitted to the charcoal box 200. The charcoal box 310 is provided with a charcoal release preventing material 311 so that charcoal contained in the charcoal box 310 is not detached desirable.

상기 발열판(320)은 불에 달구어져 구이부(200)의 음식물에 열기를 가하게 된다.The heating plate 320 is heated to apply heat to the food of the baking unit 200.

상기 숯통(310)과 발열판(320)은 각각 사용하는 하는 것도 가능하고, 같이 사용할 수도 있으며, 상기 숯통(310)의 숯이탈방지재(311) 대신에 상기 발열판(320)을 설치하여 사용할 수도 있고, 그 사용방법을 특별히 한정하지 않는다.The charcoal 310 and the heating plate 320 may be used individually or in combination and the heating plate 320 may be installed in place of the charcoal separation prevention member 311 of the charcoal 310 , And the use method thereof is not particularly limited.

상기 열원부(300)의 하단에는 일단이 하우징(100)의 외부에 설치되는 가스공급체(330)와 연결되고, 타단이 상기 하우징(100)의 내부에서 상기 열원부(300)를 향하여 각각 벌어져서 상기 열원부(300)와 평행하게 형성되며, 상기 가스공급체(330)에 설치된 밸브(331)를 열면 가스가 공급되는 다수개의 가스분출공(341)이 형성된 가스공급관(340)이 더 구비된 것이 바람직하다.One end of the heat source unit 300 is connected to a gas supply member 330 provided at the outside of the housing 100 and the other end of the heat source unit 300 extends from the inside of the housing 100 toward the heat source unit 300 A gas supply pipe 340 formed parallel to the heat source unit 300 and having a plurality of gas discharge holes 341 through which gas is supplied when a valve 331 provided in the gas supply member 330 is opened, .

상기 가스공급관(340)에 인접하여 점화플러그(미도시)를 설치하거나 별도의 점화수단으로 가스분출공(341)에서 분사되는 가스에 불을 붙이는 것도 가능하다.It is also possible to provide an ignition plug (not shown) adjacent to the gas supply pipe 340 or to ignite the gas injected from the gas ejection hole 341 by a separate ignition means.

분사되는 가스에 불이 붙고 상기 불에 의해 숯이 달구어져 숯에 불이 붙게 되면 상기 밸브(331)를 잠궈 가스가 더 이상 공급되지 않도록 한다.When the gas to be injected is ignited and the char is heated by the fire and the char is burnt, the valve 331 is closed so that the gas is no longer supplied.

그러나 숯을 사용하지 않고 가스의 화력으로 상기 발열판(320)을 달궈서 발생하는 열로 구이부(200)의 음식을 익히는 것도 가능하다.However, it is also possible to cook the food of the roasting part 200 by heat generated by heating the heating plate 320 with the thermal power of gas without using charcoal.

상기 구동부(400)는 전원(410)과, 상기 전원(410)와 전기적으로 연결된 모터(420) 및 상기 모터(420)와 연결되어 설치되며 상기 제1기어부(231)와 맞물리는 제2기어부(430)로 구성된다.The driving unit 400 includes a power source 410, a motor 420 electrically connected to the power source 410, and a second gear 423 connected to the motor 420 and meshed with the first gear unit 231. [ (430).

본 발명에 따른 회전구이기는 상기 전원(410)으로 건전지를 이용하여 휴대성을 높일 수 있으나 꼭 이에 한정하는 것은 아니다.The rotary grinder according to the present invention can increase the portability of the power source 410 by using a dry battery, but the present invention is not limited thereto.

또한 상기 제2기어부(430)는 제1기어부(231)와 맞물림이 헐겁도록 유격을 키워서 만약 상기 제1기어부(231)와 제2기어부(430) 사이에 이물질이 끼이더라도 서로 헛돌게하여 안전사고에 대비하는 것이 바람직하다.Also, the second gear portion 430 may be loosened so that engagement with the first gear portion 231 is loosened so that even if foreign matter is caught between the first gear portion 231 and the second gear portion 430, It is desirable to prepare for safety accidents by turning.

상기와 같이 구성되는 본 발명에 따른 회전구이기는 다음과 같이 조립되어 사용된다.The rotary grinder according to the present invention configured as described above is assembled and used as follows.

먼저 사용자는 U자형 판체(110)의 후방에 뒤판(120)을, 전방에는 앞판(130)을 고정시켜 하우징(100)을 완성하고, 상기 하우징(100)의 바닥면 상방에 가스분출공(341)이 형성된 가스공급관(340)을 상기 하우징(100)의 길이방향으로 연결한다.First, the user completes the housing 100 by fixing the back plate 120 on the rear side of the U-shaped plate 110 and the front plate 130 on the front side, and the gas ejection holes 341 Is connected to the housing 100 in the longitudinal direction of the housing 100.

이때, 상기 뒤판(120)의 어느 일부에 상기 가스공급관(340)이 관통하는 구멍(미도시)이 형성되어 있으므로 상기 하우징(100)의 후방에 상기 가스공급관(340)이 일부 노출되고, 상기 가스공급관(340)의 노출된 부분에 밸브(331)를 설치한다.At this time, since a hole (not shown) through which the gas supply pipe 340 passes is formed in a part of the back plate 120, the gas supply pipe 340 is partly exposed to the rear of the housing 100, A valve (331) is installed in the exposed portion of the supply pipe (340).

상기 완성된 하우징(100)의 하측에 다리(140)를 설치하고, 지면이나 편평한 바닥에 상기 다리(140)가 놓이도록 회전구이기를 설치한다.A leg 140 is installed on the lower side of the completed housing 100, and a rotator is installed on the floor or on a flat bottom so that the leg 140 is placed.

다음으로 구이부(200)를 준비하는데, 후방디스크(210)와 전방디스크(220)를 준비하여 후방디스크(210)의 중앙에 형성된 제1축구멍(211)과 전방디스크(220)의 중앙에 형성된 제2축구멍(221)에 축(230)을 관통삽입하여 후방디스크(210)와 전방디스크(220)를 고정한다.The rear disc 210 and the front disc 220 are prepared and the first shaft hole 211 formed at the center of the rear disc 210 and the front disc 220 are formed at the center of the front disc 220. [ The shaft 230 is inserted into the formed second shaft hole 221 to fix the rear disc 210 and the front disc 220.

그리고 꼬치부(240)에 굽고자 하는 음식물을 꽂아서 뾰족한 끝단이 상기 후방디스크(210)에 형성된 구멍(212)에 삽입하여 관통시키고, 상기 꼬치부(240)의 반대쪽 어느 일부를 상기 전방디스크(220)에 형성된 홈에 삽입시킨다.And a sharp end is inserted into a hole 212 formed in the rear disc 210 to penetrate the spoon 240 and a part of the opposite side of the skewer 240 is inserted into the front disc 220 As shown in Fig.

한편, 구이부(200)를 준비함에 있어서 그릴망(240´)을 준비할 수도 있다.Meanwhile, the grill net 240 'may be prepared in preparation of the grill part 200.

예컨대, 후방디스크(210´)와 전방디스크(220´)를 준비하여 후방디스크(210´)의 중앙에 형성된 제1축구멍(211´)과 전방디스크(220´)의 중앙에 형성된 제2축구멍(221´)에 축(230´)을 관통삽입하여 후방디스크(210´)와 전방디스크(220´)를 고정한다.For example, the rear disc 210 'and the front disc 220' are prepared and the first soccer yoke 211 'formed at the center of the rear disc 210' and the second soccer formed at the center of the front disc 220 ' The shaft 230 'is inserted into the yoke 221' to fix the rear disc 210 'and the front disc 220'.

상기 그릴망(240´)은 다수개의 그릴축(241´)과 상기 다수개의 그릴축(241´) 사이에 형성된 그물부재(242´)로 이루어진다.The grill net 240 'includes a plurality of grill shafts 241' and a net member 242 'formed between the plurality of grill shafts 241'.

상기 다수개의 그릴축(241´)의 끝단이 상기 후방디스크(210´)의 제1축구멍(211´)으로부터 정해진 거리에 둘레를 따라 정해진 간격 이격되며 상기 그릴축(241´)의 개수만큼 형성된 구멍(212´)에 삽입되고, 타측 어느 일부는 상기 전방디스크(220)의 제2축구멍(221´)으로부터 정해진 거리에 둘레를 따라 정해진 간격 이격되며 상기 그릴축(241´)의 개수만큼 형성된 홈(222´)에 삽입된다.The ends of the plurality of grill shafts 241 'are spaced apart from each other by a predetermined distance from the first shaft hole 211' of the rear disk 210 'and are formed by the number of the grill shafts 241' And a portion of the other side is spaced a predetermined distance from the second shaft hole 221 'of the front disk 220 by a predetermined distance and is formed in a number corresponding to the number of the grill shafts 241' Is inserted into the groove 222 '.

그 후 상기 전방디스크(220, 220´)와 앞판(130) 사이에 보조판(180)을 설치한다.Then, an auxiliary plate 180 is installed between the front discs 220 and 220 'and the front plate 130.

상기 보조판(180)은 상기 전방디스크(220, 220´)에 대응하는 위치에 오목하게 패여있는 판체이므로, 상기 구이부(200)가 회전하며 상기 홈(222, 222´)이 하방을 향할 때 상기 꼬치부(240) 또는 그릴축(241´)를 받쳐주어 상기 홈(222, 222´)으로부터 상기 꼬치부(240) 또는 그릴축(241´)의 이탈을 방지한다.Since the auxiliary plate 180 is a plate body recessed at a position corresponding to the front discs 220 and 220 ', when the groove portion 222 rotates and the grooves 222 and 222' And supports the skewer 240 or the grill shaft 241 'to prevent the skewer 240 or the grill shaft 241' from separating from the grooves 222 and 222 '.

그 다음 숯통(310)의 개구된 부분에 숯이탈방지재(311)를 설치하고 숯을 준비하여 상기 숯통(310)에 수용시킨다.Next, a charcoal off-off preventing material 311 is provided on the opened portion of the char hole 310, and char is prepared and accommodated in the char hole 310.

그리고 상기 숯통(310)을 상기 하우징(100)의 내부 양측방에 설치하는데, 상기 숯통(310)의 개구된 부분과 상기 가스공급관(340)은 바로 인접하게 된다.In addition, the charcoal box 310 is installed on both inner sides of the housing 100, and the open part of the charcoal box 310 and the gas supply pipe 340 are immediately adjacent to each other.

상기 하우징(100) 내부 숯통(310) 사이에 꼬치 또는 그릴망으로 이루어진 구이부(200)를 설치한다.Between the inner charcoal pipes 310 of the housing 100, a roasting part 200 made of a skewer or grill net is installed.

다음으로 상기 밸브(340)에 가스공급체(330)를 설치하여 밸브(340)를 열고 상기 가스공급체(330)의 가스를 상기 가스공급관(340)에 공급하며, 상기 가스는 가스분출공(341)을 통해 분사되기 시작한다.Next, the valve 340 is provided with a gas supply body 330 to open the valve 340 and supply the gas of the gas supply body 330 to the gas supply pipe 340, 341, < / RTI >

도면에 도시되지 않았지만 상기 가스분출공(341)과 인접하여 점화플러그(미도시)를 설치하여 분사되는 가스에 불을 붙이는 것도 가능하고, 별도의 점화장치(미도시)를 사용하여 분사되는 가스에 불을 붙일 수도 있으며, 어느 하나로 한정하지 않는다.Although not shown in the drawing, it is also possible to provide an ignition plug (not shown) adjacent to the gas ejection hole 341 to ignite the gas to be injected and to use a separate ignition device (not shown) It may be fired, but it is not limited to any one.

상기 분사되는 가스에 불꽃을 대어 불을 일으키고, 가스공급관(340)이 상기 숯통(310)에 바로 인접해있으므로 상기 불은 숯에 옮겨붙게 되고, 그 후 밸브(331)를 잠궈 가스공급을 중단한다.The fire is ignited by the flame on the gas to be injected and the gas is supplied to the char because the gas supply pipe 340 is directly adjacent to the charcoal 310 and then the valve 331 is closed to stop the gas supply.

한편 숯통(310)에 수용된 숯에 불을 붙일 때 가스를 사용하지 않고, 준비된 숯통(310)에 이미 불이 붙어있는 숯을 수용시키는 것도 가능하다.On the other hand, it is also possible to accommodate the charcoal that has already been lit in the prepared charcoal box 310 without using gas when the charcoal box 310 is lit.

다른 한편, 숯통(310)을 사용하지 않고 발열판(320)을 설치하여 가스공급체(330)로부터 가스공급을 통해 발열판(320)에 열을 가하고 구이부(200)의 음식물을 익히는 것도 가능하다.On the other hand, it is also possible to install the heat generating plate 320 without using the char box 310, to heat the heating plate 320 through gas supply from the gas supplying body 330, and to cook the food of the roasting part 200.

상기 숯통(310)과 발열판(320)은 각각 사용하는 하는 것도 가능하고, 같이 사용할 수도 있으며, 상기 숯통(310)의 숯이탈방지재(311) 대신에 상기 발열판(320)을 설치하여 사용할 수도 있고, 그 사용방법을 특별히 한정하지 않는다.The charcoal 310 and the heating plate 320 may be used individually or in combination and the heating plate 320 may be installed in place of the charcoal separation prevention member 311 of the charcoal 310 , And the use method thereof is not particularly limited.

다음으로 전원(410)을 켜서 모터(420)가 작동하여 제2기어부(430)가 회전하도록 하고, 제2기어부(430)는 제1기어부(231)와 맞물려 있으므로 제1기어부(231)도 회전하며 결국 구이부(200)가 회전하며 음식물에 열이 가해져 익혀진다.Next, the power source 410 is turned on so that the motor 420 is operated to rotate the second gear unit 430, and the second gear unit 430 is engaged with the first gear unit 231, 231) also rotates and finally the roasting unit 200 rotates and the food is heated and cooked.

이때, 상기 제1기어부(231)와 제2기어부(430)의 맞물림은 유격이 있어 헐거우므로 기어 사이에 이물질이 끼이게 되어 기어의 회전 속도가 낮아지더라도 회전이 계속되어 모터(420)에 과부하가 걸리지 않게 되고, 그로 인해 사용자가 다치는 일이 줄어들게 된다.At this time, since the first gear portion 231 and the second gear portion 430 are engaged with each other, foreign matter is caught between the gears due to the clearance therebetween and the rotation of the gear is continued, ) Is not overloaded, thereby reducing the injury to the user.

더하여 상기 하우징(100)의 상방, 즉 액체받이(160)에 그릴(150)을 설치하고, 액체받이(160)의 개구부에 뚜껑(170)을 덮어 상기 하우징(100) 내부에 수용된 음식물이 오븐효과를 더하여 익혀질 수 있으며, 상기 그릴(150)로 인해 상기 액체받이(160)와 상기 뚜껑(170)이 정해진 간격 이격되므로 상기 하우징(100) 내부의 열기가 그릴(150)로 대류 또는 전달되어 상기 그릴(150)에 놓여진 음식물을 보온한다.In addition, a grill 150 is installed above the housing 100, that is, the liquid receiver 160, and the lid 170 is covered with the opening of the liquid receiver 160, Since the grill 150 separates the liquid receiver 160 and the lid 170 from each other at a predetermined interval, the heat inside the housing 100 is convected or transferred to the grill 150, The food placed on the grill 150 is warmed.

이상에서 설명한 본 발명에 따른 회전구이기를 실시하기 위한 실시예에 불과한 것으로서, 본 발명은 상기한 실시예에 한정되지 않고, 이하 특허청구범위에서 청구하는 본 발명의 요지를 벗어남이 없이 본 발명이 속하는 분야에서 통상의 지식을 가진 자라면 누구든지 다양하게 변경하여 실시할 수 있는 범위까지 본 발명의 기술적 정신이 있다고 할 것이다.It is to be understood that the present invention is not limited to the above-described embodiment, and that various modifications and changes may be made without departing from the scope of the present invention as set forth in the appended claims. It will be understood by those of ordinary skill in the art that various changes and modifications may be made without departing from the scope of the present invention.

100 : 하우징 110 : U자형 판체 120 : 뒤판
130 : 앞판 140 : 다리 150 : 그릴
160 : 액체받이 170 : 뚜껑 180 : 보조판
190 : 이물받이 200, 200´: 구이부 210, 210´: 후방디스크
211, 211´: 제1축구멍 212, 212´: 구멍 220, 220´: 전방디스크
221, 221´: 제2축구멍 222, 222´ : 홈 230, 230´ : 축
231 : 제1기어부 240 : 꼬치부 240´: 그릴망
241 : 손잡이 241´: 그릴축 242 : 보조꼬치부
242´: 그물부재 300 : 열원부 310 : 숯통
311 : 숯이탈방지재 320 : 발열판 330 : 가스공급체
331 : 밸브 340 : 가스공급관 341 : 가스분출공
400 : 구동부 410 : 전원 420 : 모터
430 : 제2기어부
100: housing 110: U-shaped plate 120: back plate
130: front plate 140: leg 150: grill
160: liquid receiver 170: cap 180:
190: water tray 200, 200 ': roasting part 210, 210': rear disk
211, 211 ': first shaft hole 212, 212': hole 220, 220 ': front disk
221, 221 ': second shaft yoke 222, 222': groove 230, 230 '
231: first gear portion 240: skewer 240 ': grill mesh
241: handle 241 ': grill shaft 242: auxiliary skewer
242 ': net member 300: heat source part 310:
311: Charcoal separation prevention member 320: Heating plate 330: Gas supply member
331: valve 340: gas supply pipe 341: gas discharge hole
400: driving unit 410: power source 420: motor
430: second gear portion

Claims (9)

U자형 판체(110)와, 상기 U자형 판체(110)의 후방과 전방에 각각 뒤판(120)과 앞판(130)이 세워지는 하우징(100)과;
상기 하우징(100)에 수용되어 회전가능한 구이부(200);
상기 하우징(100)의 내부 양측방에 설치되는 열원부(300);
상기 하우징(100)의 전방 일측에 상기 구이부(200)와 기어로 연동되는 구동부(400);
로 구성되는 것을 특징으로 하는 회전구이기.
A housing 100 in which a back plate 120 and a front plate 130 are installed on the rear and front sides of the U-shaped plate 110, respectively;
A grill part (200) accommodated in the housing (100) and rotatable;
A heat source unit 300 installed on both inner sides of the housing 100;
A driving part 400 coupled to the roughened part 200 at a front side of the housing 100 in a gear;
≪ / RTI >
제1항에 있어서, 상기 하우징(100)은 상부에
양측방 각각에 설치되는 그릴(150)과;
중앙이 정해진 폭만큼 길이방향으로 개구되고, 양측부가 각각 하방으로 오목하게 형성되며, 상기 하우징(100)의 상부와 대응하여 설치되어 상기 그릴(150)이 놓여지고, 상기 그릴(150)에 놓여진 조리물에서 떨어지는 액체를 받는 액체받이(160);
가 더 구비되는 것을 특징으로 하는 회전구이기.
2. The apparatus of claim 1, wherein the housing (100)
A grill 150 installed in each of the two side rooms;
The grill 150 is placed in correspondence with the upper portion of the housing 100. The grill 150 is placed on the grill 150, A liquid receiver (160) for receiving liquid falling from the water;
And further comprising:
제2항에 있어서, 상기 하우징(100)은
판체형상으로 상기 그릴(150)의 상방에서 상기 액체받이(160)의 개구부를 덮고, 상기 하우징(100)의 내부로부터 뿜어져 나오는 열기를 상기 그릴(150)로 유도하는 뚜껑(170)이 더 구비되는 것을 특징으로 하는 회전구이기.
3. The apparatus of claim 2, wherein the housing (100)
A lid 170 for covering the opening of the liquid receiver 160 at a position above the grill 150 and guiding the heat emitted from the inside of the housing 100 to the grill 150 And a rotary shaft (20)
제1항에 있어서, 상기 구이부(200)는
원판형으로 중앙에 제1축구멍(211)이 형성되고, 상기 제1축구멍(211)으로부터 정해진 거리에 둘레를 따라 정해진 간격 이격된 다수개의 구멍(212)이 형성된 후방디스크(210);
원판형으로 중앙에 제2축구멍(221)이 형성되고, 상기 제2축구멍(221)으로부터 정해진 거리에 둘레를 따라 정해진 간격 이격되어 상기 다수개의 구멍(212)과 대응하는 위치에 다수개의 홈(222)이 형성된 전방디스크(220);
상기 후방디스크(210)의 제1축구멍(211)과 전방디스크(220)의 제2축구멍(221)을 관통하여 잇고, 전방 끝단에 제1기어부(231)가 형성된 축(230); 및
막대형상으로 일단에 손잡이(241)가 형성되고, 어느 일부가 상기 홈(222)에 삽입되어 안착되며, 타단이 뾰족하게 형성되어 상기 구멍(212)에 삽입되어 관통하는 꼬치부(240);
로 구성되는 것을 특징으로 하는 회전구이기.
[2] The apparatus of claim 1,
A rear disc (210) having a disc-shaped first hole (211) formed at the center thereof and formed with a plurality of holes (212) spaced by a predetermined distance along a circumference at a predetermined distance from the first hole (211);
A second shaft hole (221) is formed at the center of the first shaft hole (221). The first shaft hole (221) is spaced a predetermined distance from the second shaft hole (221) A front disc 220 having a front surface 222 formed thereon;
A shaft 230 passing through the first shaft hole 211 of the rear disk 210 and the second shaft hole 221 of the front disk 220 and having a first gear portion 231 at a front end thereof; And
A skewer 240 having a handle 241 formed at one end thereof, a part of which is inserted and seated in the groove 222, and the other end of the skewer 240 is inserted into the hole 212 through a sharp point;
≪ / RTI >
제4항에 있어서, 상기 꼬치부(240)는 어느 일부에서 수직되게 뻗어나와 절곡되고 상기 꼬치부(240)의 타단방향으로 평행한 보조꼬치부(242)가 더 구비된 것을 특징으로 하는 회전구이기.5. The skewer according to claim 4, characterized in that the skewer (240) further comprises an auxiliary skewer (242) extending vertically and bent in any part and parallel to the other unidirectional direction of the skewer (240) . 제1항에 있어서, 상기 구이부(200)는
원판형으로 중앙에 제1축구멍(211´)이 형성되고 상기 제1축구멍(211´)으로부터 정해진 거리에 둘레를 따라 정해진 간격 이격된 다수개의 구멍(212´)이 형성된 후방디스크(210´);
원판형으로 중앙에 제2축구멍(221´)이 형성되고 상기 제2축구멍(221´)으로부터 정해진 거리에 둘레를 따라 정해진 간격 이격되어 상기 구멍(212´)과 대응하는 위치에 다수개의 홈(222´)이 형성된 전방디스크(220´);
상기 후방디스크(210´)의 제1축구멍(211´)과 전방디스크(220´)의 제2축구멍(221´)을 관통하여 잇고, 전방 끝단에 제1기어부(231)가 형성된 축(230´);
막대형상으로 상기 구멍(212´) 또는 홈(222´)과 동일한 개수로 형성되어 상기 구멍(212´)에 일단이 삽입되고 타단이 상기 홈(222´)에 삽입되는 다수개의 그릴축(241´)과, 상기 다수개의 그릴축(241´) 사이를 이어주는 그물부재(242´)로 구성되는 그릴망(240´);
으로 구성되는 것을 특징으로 하는 회전구이기.
[2] The apparatus of claim 1,
A rear disc 210 'having a disc-shaped first shaft hole 211' formed at its center and a plurality of holes 212 'spaced at predetermined distances from the first shaft hole 211');
A second shaft hole 221 'is formed at the center in the shape of a disk and a plurality of grooves are formed at a position corresponding to the hole 212' at a predetermined distance from the second shaft hole 221 ' A front disc 220 'having a front disc 222' formed therein;
The first shaft hole 211 'of the rear disk 210' and the second shaft hole 221 'of the front disk 220' and the first gear portion 231 formed at the front end thereof, (230 ');
A plurality of grill shafts 241 'formed in the same number as the holes 212' or the grooves 222 'and having one end inserted into the holes 212' and the other end inserted into the grooves 222 ' And a net member 242 'connecting the plurality of grill shafts 241' to each other.
And a rotary grinder.
제1항에 있어서, 상기 열원부(300)에는 숯통(310) 또는 발열판(320) 중 어느 하나 이상이 구비된 것을 특징으로 하는 회전구이기.The rotary kiln of claim 1, wherein the heat source unit (300) is provided with at least one of a charcoal box (310) or a heating plate (320). 제7항에 있어서, 상기 열원부(300)의 하단에는 일단이 하우징(100)의 외부에 설치되는 가스공급체(330)와 연결되고, 타단이 상기 하우징(100)의 내부에서 상기 열원부(300)를 향하여 각각 벌어져서 상기 열원부(300)와 평행하게 형성되며, 상기 가스공급체(330)에 설치된 밸브(331)를 열면 가스가 공급되는 다수개의 가스분출공(341)이 형성된 가스공급관(340)이 더 구비된 것을 특징으로 하는 회전구이기.The heat exchanger according to claim 7, wherein one end of the heat source unit (300) is connected to a gas supply member (330) provided at the outside of the housing (100), and the other end is connected to the heat source unit And a plurality of gas ejection holes 341 through which gas is supplied when the valves 331 provided in the gas supply body 330 are opened are formed in parallel with the heat source unit 300, 340). ≪ / RTI > 제1항에 있어서, 상기 구동부(400)는
전원(410)과;
상기 전원(410)와 전기적으로 연결된 모터(420); 및
상기 모터(420)와 연결되어 설치되며, 상기 제1기어부(231)와 유격이 형성되어 맞물리는 제2기어부(430)로 구성되는 것을 특징으로 하는 회전구이기.
The apparatus of claim 1, wherein the driving unit (400)
A power source 410;
A motor 420 electrically connected to the power source 410; And
And a second gear part (430) connected to the motor (420) and formed with a clearance with the first gear part (231).
KR20130094236A 2013-08-08 2013-08-08 A Rotation Roaster Ceased KR20150028864A (en)

Priority Applications (1)

Application Number Priority Date Filing Date Title
KR20130094236A KR20150028864A (en) 2013-08-08 2013-08-08 A Rotation Roaster

Applications Claiming Priority (1)

Application Number Priority Date Filing Date Title
KR20130094236A KR20150028864A (en) 2013-08-08 2013-08-08 A Rotation Roaster

Publications (1)

Publication Number Publication Date
KR20150028864A true KR20150028864A (en) 2015-03-17

Family

ID=53023534

Family Applications (1)

Application Number Title Priority Date Filing Date
KR20130094236A Ceased KR20150028864A (en) 2013-08-08 2013-08-08 A Rotation Roaster

Country Status (1)

Country Link
KR (1) KR20150028864A (en)

Cited By (3)

* Cited by examiner, † Cited by third party
Publication number Priority date Publication date Assignee Title
KR20170000584U (en) * 2016-10-17 2017-02-14 (주)삼진 Roasting and cooking apparatus with charcoal fire and charcoal bucket for the same
WO2023027287A1 (en) * 2021-08-25 2023-03-02 농업회사법인 주식회사 하늘농부 Rotary roaster and meat roasting method
KR20230030717A (en) * 2021-08-25 2023-03-07 농업회사법인 주식회사 하늘농부 Rotary type roaster and roasting method

Cited By (3)

* Cited by examiner, † Cited by third party
Publication number Priority date Publication date Assignee Title
KR20170000584U (en) * 2016-10-17 2017-02-14 (주)삼진 Roasting and cooking apparatus with charcoal fire and charcoal bucket for the same
WO2023027287A1 (en) * 2021-08-25 2023-03-02 농업회사법인 주식회사 하늘농부 Rotary roaster and meat roasting method
KR20230030717A (en) * 2021-08-25 2023-03-07 농업회사법인 주식회사 하늘농부 Rotary type roaster and roasting method

Similar Documents

Publication Publication Date Title
KR101454356B1 (en) Portable and table-mountable combined roaster and heater
US3247827A (en) Barbecue accessory
US20090000493A1 (en) Rotisserie oven for a grill
KR200466279Y1 (en) A stove with roaster
KR200471216Y1 (en) barbecue apparatus
KR20130027730A (en) Heat transfer, an easy swivel roaster
KR101010264B1 (en) Grilling Cookware
KR101738814B1 (en) Charcoal Roasting Tool
KR200474658Y1 (en) Oven roaster of drawer type
KR20150028864A (en) A Rotation Roaster
US20090308262A1 (en) Marshmallow Roaster
KR101400775B1 (en) Meat roasting device using charcoal fire
KR20160095553A (en) Portable barbecue roaster
US9833108B2 (en) Barbecue grill with rotating fire receptacle
KR100601783B1 (en) Rotating Roasting Device
KR20150003312U (en) Portable Barbecue Burner using Charcoal Fire and Electric Heat
KR101464678B1 (en) Charcoal grilled device for camping
KR101055065B1 (en) Indirect heating portable barbecue equipment
KR101298093B1 (en) Barbeque equipment
KR200466205Y1 (en) Portable grill
KR20120009813A (en) Grilling device with air curtain
KR102235955B1 (en) Meat Roster having a rotary type gril
KR20130016044A (en) Multifunctional smokeless barbecue grill
KR101664456B1 (en) Using gas-fired Roaster
KR101580445B1 (en) Round slow cooking barbecue grill device

Legal Events

Date Code Title Description
A201 Request for examination
PA0109 Patent application

Patent event code: PA01091R01D

Comment text: Patent Application

Patent event date: 20130808

PA0201 Request for examination
E902 Notification of reason for refusal
PE0902 Notice of grounds for rejection

Comment text: Notification of reason for refusal

Patent event date: 20140625

Patent event code: PE09021S01D

AMND Amendment
E601 Decision to refuse application
PE0601 Decision on rejection of patent

Patent event date: 20141224

Comment text: Decision to Refuse Application

Patent event code: PE06012S01D

Patent event date: 20140625

Comment text: Notification of reason for refusal

Patent event code: PE06011S01I

AMND Amendment
PX0901 Re-examination

Patent event code: PX09011S01I

Patent event date: 20141224

Comment text: Decision to Refuse Application

Patent event code: PX09012R01I

Patent event date: 20140821

Comment text: Amendment to Specification, etc.

E902 Notification of reason for refusal
PE0902 Notice of grounds for rejection

Comment text: Notification of reason for refusal

Patent event date: 20150227

Patent event code: PE09021S01D

PG1501 Laying open of application
AMND Amendment
PX0601 Decision of rejection after re-examination

Comment text: Decision to Refuse Application

Patent event code: PX06014S01D

Patent event date: 20151125

Comment text: Amendment to Specification, etc.

Patent event code: PX06012R01I

Patent event date: 20150629

Comment text: Notification of reason for refusal

Patent event code: PX06013S01I

Patent event date: 20150227

Comment text: Amendment to Specification, etc.

Patent event code: PX06012R01I

Patent event date: 20150120

Comment text: Decision to Refuse Application

Patent event code: PX06011S01I

Patent event date: 20141224

Comment text: Amendment to Specification, etc.

Patent event code: PX06012R01I

Patent event date: 20140821

Comment text: Notification of reason for refusal

Patent event code: PX06013S01I

Patent event date: 20140625