KR20140020392A - Machine for manufacturing raw-material chip to recycle wasted plastic - Google Patents
Machine for manufacturing raw-material chip to recycle wasted plastic Download PDFInfo
- Publication number
- KR20140020392A KR20140020392A KR1020120086576A KR20120086576A KR20140020392A KR 20140020392 A KR20140020392 A KR 20140020392A KR 1020120086576 A KR1020120086576 A KR 1020120086576A KR 20120086576 A KR20120086576 A KR 20120086576A KR 20140020392 A KR20140020392 A KR 20140020392A
- Authority
- KR
- South Korea
- Prior art keywords
- mill
- grinder
- screw shaft
- synthetic resin
- waste synthetic
- Prior art date
- Legal status (The legal status is an assumption and is not a legal conclusion. Google has not performed a legal analysis and makes no representation as to the accuracy of the status listed.)
- Abandoned
Links
- 239000002994 raw material Substances 0.000 title claims abstract description 23
- 238000004519 manufacturing process Methods 0.000 title claims abstract description 18
- 239000002699 waste material Substances 0.000 claims abstract description 37
- 229920003002 synthetic resin Polymers 0.000 claims abstract description 35
- 239000000057 synthetic resin Substances 0.000 claims abstract description 35
- 238000000227 grinding Methods 0.000 claims abstract description 17
- 238000004064 recycling Methods 0.000 claims abstract description 17
- 239000012783 reinforcing fiber Substances 0.000 claims abstract description 16
- 229920005992 thermoplastic resin Polymers 0.000 claims abstract description 15
- 238000000034 method Methods 0.000 claims description 13
- 238000010298 pulverizing process Methods 0.000 claims description 12
- 239000000463 material Substances 0.000 claims description 8
- XLYOFNOQVPJJNP-UHFFFAOYSA-N water Substances O XLYOFNOQVPJJNP-UHFFFAOYSA-N 0.000 claims description 6
- 239000000835 fiber Substances 0.000 claims description 4
- 239000000498 cooling water Substances 0.000 claims description 2
- 230000003014 reinforcing effect Effects 0.000 claims 1
- 229920000915 polyvinyl chloride Polymers 0.000 abstract description 12
- 239000004800 polyvinyl chloride Substances 0.000 abstract description 12
- 239000004677 Nylon Substances 0.000 abstract description 3
- 229920001778 nylon Polymers 0.000 abstract description 3
- 229920000728 polyester Polymers 0.000 abstract description 3
- 239000000843 powder Substances 0.000 abstract description 2
- 238000003801 milling Methods 0.000 abstract 1
- 229920005989 resin Polymers 0.000 abstract 1
- 239000011347 resin Substances 0.000 abstract 1
- 239000010985 leather Substances 0.000 description 5
- 229920012485 Plasticized Polyvinyl chloride Polymers 0.000 description 1
- 238000001816 cooling Methods 0.000 description 1
- 238000010586 diagram Methods 0.000 description 1
- 239000000428 dust Substances 0.000 description 1
- 230000000694 effects Effects 0.000 description 1
- 238000000465 moulding Methods 0.000 description 1
- 239000008188 pellet Substances 0.000 description 1
- 229920001200 poly(ethylene-vinyl acetate) Polymers 0.000 description 1
- 229920000139 polyethylene terephthalate Polymers 0.000 description 1
- 239000011148 porous material Substances 0.000 description 1
- 239000011342 resin composition Substances 0.000 description 1
- 229920002994 synthetic fiber Polymers 0.000 description 1
- 239000012209 synthetic fiber Substances 0.000 description 1
Images
Classifications
-
- B—PERFORMING OPERATIONS; TRANSPORTING
- B29—WORKING OF PLASTICS; WORKING OF SUBSTANCES IN A PLASTIC STATE IN GENERAL
- B29B—PREPARATION OR PRETREATMENT OF THE MATERIAL TO BE SHAPED; MAKING GRANULES OR PREFORMS; RECOVERY OF PLASTICS OR OTHER CONSTITUENTS OF WASTE MATERIAL CONTAINING PLASTICS
- B29B17/00—Recovery of plastics or other constituents of waste material containing plastics
- B29B17/04—Disintegrating plastics, e.g. by milling
- B29B17/0412—Disintegrating plastics, e.g. by milling to large particles, e.g. beads, granules, flakes, slices
-
- B—PERFORMING OPERATIONS; TRANSPORTING
- B29—WORKING OF PLASTICS; WORKING OF SUBSTANCES IN A PLASTIC STATE IN GENERAL
- B29B—PREPARATION OR PRETREATMENT OF THE MATERIAL TO BE SHAPED; MAKING GRANULES OR PREFORMS; RECOVERY OF PLASTICS OR OTHER CONSTITUENTS OF WASTE MATERIAL CONTAINING PLASTICS
- B29B17/00—Recovery of plastics or other constituents of waste material containing plastics
- B29B17/04—Disintegrating plastics, e.g. by milling
- B29B2017/0424—Specific disintegrating techniques; devices therefor
- B29B2017/044—Knives
-
- Y—GENERAL TAGGING OF NEW TECHNOLOGICAL DEVELOPMENTS; GENERAL TAGGING OF CROSS-SECTIONAL TECHNOLOGIES SPANNING OVER SEVERAL SECTIONS OF THE IPC; TECHNICAL SUBJECTS COVERED BY FORMER USPC CROSS-REFERENCE ART COLLECTIONS [XRACs] AND DIGESTS
- Y02—TECHNOLOGIES OR APPLICATIONS FOR MITIGATION OR ADAPTATION AGAINST CLIMATE CHANGE
- Y02W—CLIMATE CHANGE MITIGATION TECHNOLOGIES RELATED TO WASTEWATER TREATMENT OR WASTE MANAGEMENT
- Y02W30/00—Technologies for solid waste management
- Y02W30/50—Reuse, recycling or recovery technologies
- Y02W30/52—Mechanical processing of waste for the recovery of materials, e.g. crushing, shredding, separation or disassembly
-
- Y—GENERAL TAGGING OF NEW TECHNOLOGICAL DEVELOPMENTS; GENERAL TAGGING OF CROSS-SECTIONAL TECHNOLOGIES SPANNING OVER SEVERAL SECTIONS OF THE IPC; TECHNICAL SUBJECTS COVERED BY FORMER USPC CROSS-REFERENCE ART COLLECTIONS [XRACs] AND DIGESTS
- Y02—TECHNOLOGIES OR APPLICATIONS FOR MITIGATION OR ADAPTATION AGAINST CLIMATE CHANGE
- Y02W—CLIMATE CHANGE MITIGATION TECHNOLOGIES RELATED TO WASTEWATER TREATMENT OR WASTE MANAGEMENT
- Y02W30/00—Technologies for solid waste management
- Y02W30/50—Reuse, recycling or recovery technologies
- Y02W30/62—Plastics recycling; Rubber recycling
Landscapes
- Engineering & Computer Science (AREA)
- Environmental & Geological Engineering (AREA)
- Mechanical Engineering (AREA)
- Separation, Recovery Or Treatment Of Waste Materials Containing Plastics (AREA)
Abstract
본 발명은 PVC(Polyvinyl chloride ; 염화비닐) 시트와 폴리에스터 또는 나일론 등의 보강섬유를 합포한 PVC 레쟈(폐합성수지)를 재활용하기 위해, 폐합성수지를 1차 분쇄기에서 1차 분쇄하고, 2차 분쇄기에서 1차 분쇄물을 마쇄하여 열가소성 수지와 보강섬유가 고르게 혼합되도록 하고, 고르게 혼합된 2차 분쇄물이 열에 의해 다시 뭉쳐지며, 3차 분쇄기에서 뭉쳐진 2차 분쇄물을 타공의 크기로 일정하게 분쇄하여 재활용 원료칩을 만들 수 있는 폐합성수지를 재활용하기 위한 원료칩 제조장치에 관한 것이다.
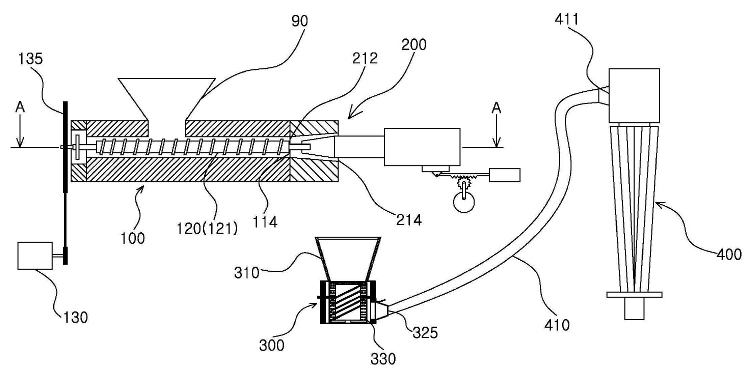
본 발명에 따른 폐합성수지를 재활용하기 위한 원료칩 제조장치는 테이블(50)에 1차 분쇄기(100)와 2차 분쇄기(200)가 일렬로 배열되어, 1차 분쇄기(100)의 배출구(114)가 2차 분쇄기(200)의 유입구(212)와 연결되고, 2차 분쇄기(200)의 배출구(214) 하부에 3차 분쇄기(300)가 배치됨으로써, 열가소성 수지와 보강섬유가 합포된 폐합성수지가 제 1 호퍼(90)를 통해 1차 분쇄기(100)로 공급되면, 1차 분쇄기(100)의 스크류 샤프트(120)에 의해 분쇄되면서 2차 분쇄기(200)로 이송되고, 1차 분쇄된 분쇄물이 2차 분쇄기(200)에서 마쇄되어, 열가소성 수지와 보강섬유가 고르게 혼합되고, 마쇄과정에서 발생하는 열에 의해 2차 분쇄물이 덩어리로 뭉쳐진 상태에서 낙하방식으로 3차 분쇄기(300)의 제 2 호퍼(310)로 공급되고, 뭉쳐진 덩어리가 3차 분쇄기(300)에서 다시 분쇄되어, 3차 분쇄기(300)의 타공망 형태로 형성된 내통(330)을 통해 외부로 배출되는 것을 특징으로 한다.The present invention is to recycle the PVC resin (waste synthetic resin) containing a sheet of PVC (Polyvinyl chloride) and reinforcing fibers such as polyester or nylon, the primary synthetic resin is first pulverized in a first mill, the second mill Grinding the primary pulverized in to ensure that the thermoplastic resin and the reinforcing fibers are evenly mixed, the evenly mixed secondary pulverized agglomerate again by heat, the secondary pulverized in the tertiary crusher uniformly pulverized to the size of the perforation The present invention relates to a raw material chip manufacturing apparatus for recycling waste synthetic resin capable of making recycled raw material chips.
In the raw material chip manufacturing apparatus for recycling the waste synthetic resin according to the present invention, the primary grinder 100 and the secondary grinder 200 are arranged in a row on the table 50, and the outlet 114 of the primary grinder 100 is disposed. Is connected to the inlet 212 of the secondary mill 200, the tertiary mill 300 is disposed below the outlet 214 of the secondary mill 200, whereby the waste synthetic resin in which the thermoplastic resin and the reinforcing fibers are combined When supplied to the primary grinder 100 through the first hopper 90, is transferred to the secondary grinder 200 while being crushed by the screw shaft 120 of the primary grinder 100, the first pulverized powder The second grinder 200 is ground in a second state, the thermoplastic resin and the reinforcing fibers are evenly mixed, and the second mill of the third mill 300 is dropped in a state in which the secondary milled products are agglomerated by heat generated during the milling process. Supplied to the hopper 310, the aggregated mass is crushed again in the tertiary mill 300, and the tertiary mill 3 00) characterized in that discharged to the outside through the inner cylinder 330 formed in the form of a perforated network.
Description
본 발명은 PVC(Polyvinyl chloride ; 염화비닐) 시트와 폴리에스터 또는 나일론 등의 보강섬유를 합포한 PVC 합성섬유(폐합성수지)를 재활용하기 위해, 폐합성수지를 1차 분쇄기에서 1차 분쇄하고, 2차 분쇄기에서 1차 분쇄물을 마쇄하여 열가소성 수지와 보강섬유가 고르게 혼합되도록 하고, 고르게 혼합된 2차 분쇄물이 열에 의해 다시 뭉쳐지며, 3차 분쇄기에서 뭉쳐진 2차 분쇄물을 타공의 크기로 일정하게 분쇄하여 재활용 원료칩을 만들 수 있는 폐합성수지를 재활용하기 위한 원료칩 제조장치에 관한 것이다.
The present invention is to firstly pulverize the waste synthetic resin in the first mill, to recycle the PVC synthetic fibers (waste synthetic resin) containing a sheet of PVC (polyvinyl chloride) and reinforcing fibers such as polyester or nylon, The first mill is ground in the mill so that the thermoplastic resin and the reinforcing fibers are evenly mixed, the second mill is evenly mixed by heat, and the second mill in the third mill is uniformly sized to the pore size. The present invention relates to a raw material chip manufacturing apparatus for recycling waste synthetic resin that can be pulverized to produce recycled raw material chips.
대한민국 특허 제10-0510931호(2005년 8월 20일, 등록)에 "섬유가 포함된 폐PVC 레쟈를 이용한 재활용 쉬트"가 소개되어 있다.Korean Patent No. 10-0510931 (registered on August 20, 2005) introduces a "recycled sheet using waste PVC leather containing fibers".
상기 섬유가 포함된 폐PVC 레쟈를 이용한 재활용 쉬트는 섬유가 포함된 폐 PVC 레쟈 분쇄물 100 중량부에, 가소화된 PVC 3 ∼ 50 중량부가 함유된 폐수지 조성물을 성형하여 제조한 것이다.The recycled sheet using the waste PVC leather containing the fiber is manufactured by molding a waste resin composition containing 3 to 50 parts by weight of plasticized PVC in 100 parts by weight of the waste PVC leather crushed product containing the fiber.
그러나, 상기 특허 제10-0510931호에는 폐 PVC 레쟈 분쇄물만 언급되어 있고, 폐 PVC 레쟈 분쇄물을 제조하는 장치에 대한 설명은 없다.
However, Patent No. 10-0510931 mentions only waste PVC leather pulverization, and there is no description of an apparatus for producing waste PVC leather pulverization.
따라서, 본 발명의 목적은 열가소성 수지와 보강섬유가 합포된 폐합성수지를 재활용하기 위해, 스크류 샤프트 타입의 1차 분쇄기에서 상기 폐합성수지를 1차 분쇄하고, 2차 분쇄기에서 1차 분쇄된 분쇄물을 마쇄하여 열가소성 수지와 보강섬유가 고르게 혼합되도록 하고, 고르게 혼합된 2차 분쇄물이 열에 의해 다시 뭉쳐지며, 3차 분쇄기에서 뭉쳐진 2차 분쇄물을 타공의 크기로 일정하게 분쇄하여 재활용 원료칩을 만들 수 있는 폐합성수지를 재활용하기 위한 원료칩 제조장치를 제공하는 것이다.
Accordingly, an object of the present invention is to firstly crush the waste synthetic resin in a screw shaft type first mill and recycle the first milled mill in a second mill to recycle the waste synthetic resin in which thermoplastic resin and reinforcing fiber are combined. After grinding, the thermoplastic resin and the reinforcing fiber are mixed evenly, and the evenly mixed secondary crushed material is agglomerated again by heat, and the secondary crushed material is uniformly pulverized in the third crusher to make the recycled raw material chip. It is to provide a raw material chip manufacturing apparatus for recycling the waste synthetic resin.
상기와 같은 목적을 달성하기 위한 본 발명에 따른 폐합성수지를 재활용하기 위한 원료칩 제조장치는 테이블에 1차 분쇄기와 2차 분쇄기가 일렬로 배열되어, 1차 분쇄기의 배출구가 2차 분쇄기의 유입구와 연결되고, 2차 분쇄기의 배출구 하부에 3차 분쇄기가 배치됨으로써, 열가소성 수지와 보강섬유가 합포된 폐합성수지가 제 1 호퍼를 통해 1차 분쇄기로 공급되면, 1차 분쇄기의 스크류 샤프트에 의해 분쇄되면서 2차 분쇄기로 이송되고, 1차 분쇄된 분쇄물이 2차 분쇄기에서 마쇄되어, 열가소성 수지와 보강섬유가 고르게 혼합되고, 마쇄과정에서 발생하는 열에 의해 2차 분쇄물이 덩어리로 뭉쳐진 상태에서 낙하방식으로 3차 분쇄기의 제 2 호퍼로 공급되고, 뭉쳐진 덩어리가 3차 분쇄기에서 다시 분쇄되어, 3차 분쇄기의 타공망 형태로 형성된 내통을 통해 외부로 배출되는 것을 특징으로 한다..The raw material chip manufacturing apparatus for recycling the waste synthetic resin according to the present invention for achieving the above object is the primary mill and the secondary mill are arranged in a row on the table, the outlet of the primary mill and the inlet of the secondary mill Connected to, and the tertiary mill is disposed below the outlet of the secondary mill, so that the waste synthetic resin in which the thermoplastic resin and the reinforcing fibers are combined is supplied to the primary mill through the first hopper, and then pulverized by the screw shaft of the primary mill. Transfer to the second grinder, the first crushed ground is ground in the second mill, the thermoplastic resin and reinforcing fibers are evenly mixed, the falling method in the state in which the secondary grounds are agglomerated by the heat generated during the grinding process Supplied to the second hopper of the tertiary mill, and the agglomerated mass is pulverized again in the tertiary mill, and passes through an inner cylinder formed in the form of a perforated network of the tertiary mill. It characterized in that the discharge to the outside.
또한, 본 발명에 따른 폐합성수지를 재활용하기 위한 원료칩 제조장치는 상기 3차 분쇄기의 배출구와 연결튜브에 의해 흡입구가 연결되는 사이클론을 더 포함하는 것을 특징으로 한다.In addition, the raw material chip manufacturing apparatus for recycling the waste synthetic resin according to the invention is characterized in that it further comprises a cyclone connected to the suction port by the outlet and the connection tube of the tertiary mill.
상기 1차 분쇄기는 본체 하우징의 내부에 스크류 샤프트가 회전 가능하게 배치되고, 스크류 샤프트가 제 1 스크류 샤프트와 제 2 스크류 샤프트로 구성되고, 제 1 모터의 동력이 풀리를 통해 제 1 스크류 샤프트로 전달되고, 제 1 스크류 샤프트의 구동기어와 제 2 스크류 샤프트의 종동기어가 연동되어, 제 2 스크류 샤프트가 제 1 스크류 샤프트와 함께 회전되고, 본체 하우징의 둘레를 워터자켓이 감싸고 있어, 워터자켓의 냉각수가 제 1 및 제 2 스크류 샤프트에 의해 폐합성수지가 분쇄되는 과정에서 발생하는 열을 흡수하는 것을 특징으로 한다.The primary mill has a screw shaft rotatably disposed inside the body housing, the screw shaft is composed of a first screw shaft and a second screw shaft, the power of the first motor is transmitted to the first screw shaft through the pulley. The drive gear of the first screw shaft and the driven gear of the second screw shaft are interlocked so that the second screw shaft rotates together with the first screw shaft, and the water jacket surrounds the main body housing, thereby cooling the water jacket. It is characterized in that to absorb the heat generated in the process of the waste synthetic resin is crushed by the first and second screw shaft.
상기 2차 분쇄기는 고정 분쇄통이 1차 분쇄기의 본체 하우징에 연결되고, 제 1 스크류 샤프트의 선단에 사각축이 연결되어, 사각축이 고정 본쇄통의 센터에 배치되고, 사각축이 가동부재의 콘 형상부의 선단에 길이 방향으로 형성된 사각홈에 끼워짐으로써, 사각축에 의해 가동부재가 회전되고, 가동부재의 원통부가 링베어링 홀더에 의해 슬라이더와 연결되어, 가동부재가 슬라이더에 대해 상대적으로 회전될 수 있으며, 슬라이더의 하부에 장착된 브라켓에 랙 기어의 일단이 연결되고, 랙 기어의 타단이 기어 박스에 이동 가능하게 지지되어, 랙 기어에 의해 슬라이더가 가이드 부재를 따라 고정 분쇄통 쪽으로 전후진될 수 있고, 랙 기어가 피니언 기어에 의해 전후진되며, 피니언 기어가 모터의 구동축과 체인에 의해 연결되는 것을 특징으로 한다.The secondary mill has a fixed grinding barrel connected to the main housing of the primary grinder, a square shaft is connected to the tip of the first screw shaft, the square shaft is disposed at the center of the fixed main cylinder, the square shaft of the movable member By being fitted into the square groove formed in the longitudinal direction at the tip of the cone-shaped portion, the movable member is rotated by the square shaft, the cylindrical portion of the movable member is connected to the slider by the ring bearing holder, and the movable member is rotated relative to the slider. One end of the rack gear is connected to the bracket mounted on the lower part of the slider, and the other end of the rack gear is movably supported by the gear box, so that the slider moves forward and backward along the guide member toward the fixed pulverization container by the rack gear. And the rack gear is advanced back and forth by the pinion gear, and the pinion gear is connected by the drive shaft and the chain of the motor.
상기 고정 분쇄통은 내주면에 요철부가 형성되고, 가동부재의 콘 형상부에 대응되게 유입구에서 배출구 쪽으로 갈수록 내경이 커지도록 내주면이 테이퍼지게 형성되는 것을 특징으로 한다.The fixed grinding barrel is characterized in that the concave-convex portion is formed on the inner circumferential surface, the inner circumferential surface is tapered so as to increase the inner diameter from the inlet to the outlet toward the cone-shaped portion of the movable member.
상기 3차 분쇄기는 투입구에 호퍼가 장착된 외통의 내부에 타공망 형태로 형성된 내통이 배치되고, 내통의 내부에 회전 커터가 배치되어, 호퍼를 통해 투입된 덩어리 형태의 2차 분쇄물이 회전 커터에 의해 3차 분쇄되어 내통의 타공을 통해 배출되는 것을 특징으로 한다.
The tertiary grinder has an inner cylinder formed in the form of a perforated network inside the outer cylinder equipped with a hopper in the inlet, a rotary cutter is disposed in the inner cylinder, and the secondary crushed product in the form of lumps introduced through the hopper is rotated by the rotary cutter. It is characterized in that the third crushed is discharged through the perforation of the inner cylinder.
이것에 의해, 본 발명에 따른 폐합성수지를 재활용하기 위한 원료칩 제조장치 열가소성 수지와 보강섬유가 합포된 폐합성수지를 1차 분쇄하고, 1차 분쇄된 분쇄물을 마쇄하여 열가소성 수지와 보강섬유가 고르게 혼합되도록 하고, 고르게 혼합된 2차 분쇄물이 열에 의해 다시 뭉쳐지며, 3차 분쇄기에서 뭉쳐진 2차 분쇄물을 타공의 크기로 일정하게 분쇄하여 재활용 원료칩을 만들 수 있는 효과가 있다.
As a result, the raw material chip manufacturing apparatus for recycling the waste synthetic resin according to the present invention is primarily pulverized the waste synthetic resin in which the thermoplastic resin and the reinforcing fiber are combined, and the first pulverized pulverized product is ground to uniform the thermoplastic resin and the reinforcing fiber. To be mixed, evenly mixed secondary pulverized by the heat again, the secondary pulverized in the tertiary crusher is uniformly crushed to the size of the perforation has the effect of making a recycled raw material chip.
도 1는 본 발명에 따른 폐합성수지를 재활용하기 위한 원료칩 제조장치의 요부를 도시한 사시도
도 1은 본 발명에 따른 폐합성수지를 재활용하기 위한 원료칩 제조장치를 개략적으로 도시한 구성도
도 3은 1차 분쇄기를 도시한 도 2의 A-A선에 따른 단면도
도 4는 2차 분쇄기를 개략적으로 도시한 구성도
도 5는 2차 분쇄기의 고정 분쇄통에 슬라이더에 장착된 가동부재가 끼워지는 구조를 도시한 분해 사시도
도 6은 고정 분쇄통을 확대 도시한 상세도
도 7은 3차 분쇄기를 도시한 단면도1 is a perspective view showing the main part of the raw material chip manufacturing apparatus for recycling the waste synthetic resin according to the present invention
1 is a configuration diagram schematically showing a raw material chip manufacturing apparatus for recycling waste synthetic resin according to the present invention
3 is a cross-sectional view taken along line AA of FIG. 2 showing a primary mill;
Figure 4 is a schematic view showing a secondary mill
FIG. 5 is an exploded perspective view illustrating a structure in which a movable member mounted to a slider is fitted to a fixed grinding container of a secondary grinder; FIG.
6 is an enlarged detailed view showing the fixed grinding container;
7 is a cross-sectional view showing a tertiary mill;
이하, 본 발명의 바람직한 실시예를 도면을 참조하여 상세하게 설명하기로 한다.Hereinafter, preferred embodiments of the present invention will be described in detail with reference to the drawings.
도 1 및 도 2를 참조하면, 본 발명에 따른 폐합성수지를 재활용하기 위한 원료칩 제조장치는 테이블(50)에 1차 분쇄기(100)와 2차 분쇄기(200)가 일렬로 배열되어, 1차 분쇄기(100)의 배출구(114)가 2차 분쇄기(200)의 유입구(212)와 연결되고, 2차 분쇄기(200)의 배출구(214) 하부에 3차 분쇄기(300)가 배치됨으로써, 열가소성 수지와 보강섬유가 합포된 폐합성수지(도시하지 않음)가 제 1 호퍼(90)를 통해 1차 분쇄기(100)로 공급되면, 1차 분쇄기(100)의 스크류 샤프트(120)에 의해 분쇄되면서 2차 분쇄기(200)로 이송되고, 1차 분쇄된 분쇄물이 2차 분쇄기(200)에서 마쇄되어, 열가소성 수지와 보강섬유가 고르게 혼합되고, 마쇄과정에서 발생하는 열에 의해 2차 분쇄물이 덩어리로 뭉쳐진 상태에서 낙하방식으로 3차 분쇄기(300)의 제 2 호퍼(310)로 공급되고, 뭉쳐진 덩어리가 3차 분쇄기(300)에서 다시 분쇄되어, 3차 분쇄기(300)의 타공망 형태로 형성된 내통(330)을 통해 외부로 배출된다.1 and 2, in the raw material chip manufacturing apparatus for recycling the waste synthetic resin according to the present invention, the
본 발명에 따른 폐합성수지를 재활용하기 위한 원료칩 제조장치에 있어서, 상기 3차 분쇄기(300)의 배출구(325)와 사이클론(400)의 흡입구(411)가 연결튜브(410)에 의해 연결된다.In the raw material chip manufacturing apparatus for recycling the waste synthetic resin according to the present invention, the
이것에 의해, 사이클론(400)의 흡입력에 의해 펠렛 형태의 3차 분쇄물이 사이클론(400)으로 공급되어, 사이클론(400)에서 분진과 3차 분쇄물이 분리된다. As a result, the tertiary pulverized product in pellet form is supplied to the
도 2 및 도 3을 참조하면, 상기 1차 분쇄기(100)는 본체 하우징(110)의 내부에 스크류 샤프트(120)가 회전 가능하게 배치되고, 스크류 샤프트(120)가 제 1 스크류 샤프트(121)와 제 2 스크류 샤프트(125)로 구성되고, 제 1 모터(130)의 동력이 풀리(135)를 통해 제 1 스크류 샤프트(121)로 전달되고, 제 1 스크류 샤프트(121)의 구동기어(122)와 제 2 스크류 샤프트(125)의 종동기어(126)가 연동되어, 제 2 스크류 샤프트(125)가 제 1 스크류 샤프트(121)와 함께 회전되고, 본체 하우징(110)의 둘레를 워터자켓(140)이 감싸고 있어, 워터자켓(140)의 냉각수가 제 1 및 제 2 스크류 샤프트(121, 125)에 의해 폐합성수지가 분쇄되는 과정에서 발생하는 열을 흡수한다.2 and 3, the
상기 제 1 스크류 샤프트(121)에 형성된 나선형의 스크류 커팅날(123)과 제 2 스크류 샤프트(125)에 형성된 나선형의 스크류 커팅날(127)이 서로 밀접하게 배치되고, 제 2 스크류 샤프트(125)의 스크류 커팅날(127)에 다수개의 절취부(128)가 형성된다.The spiral
이것에 의해, 상기 1차 분쇄기(100)는 제 1 호퍼(90)를 통해 공급되는 폐합성수지를 스크류 샤프트(120)가 마쇄하기 쉽도록 잘게 1차 분쇄한다.As a result, the
도 4 내지 도 6을 참조하면, 상기 2차 분쇄기(200)는 고정 분쇄통(210)이 1차 분쇄기(100)의 본체 하우징(110 ; 도 2 참조)에 연결되고, 제 1 스크류 샤프트(121)의 선단에 사각축(220)이 연결되어, 사각축(220)이 고정 본쇄통(210)의 센터에 배치되고, 사각축(220)이 가동부재(230)의 콘 형상부(231)의 선단에 길이 방향으로 형성된 사각홈(232)에 끼워짐으로써, 사각축(220)에 의해 가동부재(230)가 회전되고, 가동부재(230)의 원통부(235)가 링베어링 홀더(240)에 의해 슬라이더(250)와 연결되어, 가동부재(230)가 슬라이더(250)에 대해 상대적으로 회전될 수 있으며, 슬라이더(240)의 하부에 장착된 브라켓(260)에 랙 기어(265)의 일단이 연결되고, 랙 기어(265)의 타단이 기어 박스(270)에 이동 가능하게 지지되어, 랙 기어(265)에 의해 슬라이더(250)가 가이드 부재(280)를 따라 고정 분쇄통(210) 쪽으로 전후진될 수 있고, 랙 기어(265)가 피니언 기어(285)에 의해 전후진되며, 피니언 기어(285)가 모터(290)의 구동축(291)과 체인(295)에 의해 연결된다.4 to 6, the
도 4 및 도 6를 참조하면, 상기 고정 분쇄통(210)은 내주면에 요철부(211)가 형성되고, 가동부재(230)의 콘 형상부(231)에 대응되게 유입구(212)에서 배출구(214) 쪽으로 갈수록 내경이 커지도록 내주면이 테이퍼지게 형성된다.4 and 6, the
상기 가동부재(230)의 콘 형상부(231)에는 둘레에 커팅날(233)이 형성된다.The
상기와 같이 구성된 2차 분쇄기(200)는 다음과 같이 작동한다.The
1차 분쇄기(100)에서 고정 분쇄통(210)으로 공급되는 1차 분쇄물은 1차 분쇄기(100)의 스크류 샤프트(120)가 밀어내는 힘에 의해 고정 분쇄통(210)을 통과하게 된다. 이때, 제 1 스크류 샤프트(121)에 연결된 사각축(220)이 콘 형상부(231)의 사각홈(232)에 끼워져 있어, 제 1 스크류 샤프트(121)의 회전력에 의해 콘 형상부(231)가 회전하게 됨으로써, 1차 분쇄물이 고정 분쇄통(210)과 콘 형상부(231)가 사이로 강제적으로 이송되는 과정에서 콘 형상부(231)의 회전에 의해 1차 분쇄물이 마쇄되고, 1차 분쇄물이 마쇄되는 과정에서 발생하는 열에 의해 고정 분쇄통(210)에 형성된 요철부(211)의 요홈(212)를 따라 배출되는 마쇄된 2차 분쇄물이 다시 뭉쳐지게 되고, 뭉쳐진 상태에서 3차 분쇄장치로 낙하된다.The primary pulverized material supplied from the
여기서, PVC, 폴리에스터 또는 나일론, PET, EVA 등 합성수지의 성분에 따라 또는 고정 분쇄통(210)과 콘 형상부(231) 사이의 간극이 커서 마쇄가 잘 되지 않거나 분쇄물의 이송속도가 너무 빠른 경우, 피니언(285)에 의해 랙 기어(265)가 기어 박스(270)에서 인출되면서, 슬라이더(250)를 도 4의 화살표(252) 방향으로 밀게 됨으로써, 가동부재(230)의 콘 형상부(231)가 고정 분쇄통(210) 내부로 더 들어가게 되어, 고정 분쇄통(210)과 콘 형상부(231) 사이의 간극이 작아지게 된다. 이것에 의해, 분쇄물의 마쇄율을 높이거나 분쇄물의 이송속도를 늦출 수 있다. 그리고, 반대의 경우, 가동부재(230)의 콘 형상부(231)가 고정 분쇄통(210) 에서 나오게 되어, 고정 분쇄통(210)과 콘 형상부(231) 사이의 간극이 크게 할 수 있다.Here, according to the components of the synthetic resin, such as PVC, polyester or nylon, PET, EVA or the gap between the fixed
이와 같이, 분쇄물의 성분에 따라 또는 분쇄물의 이송속도에 따라 2차 분쇄기(200)에 의해 마쇄되는 속도를 조절함으로써, 열가소성 수지와 보강섬유가 고르게 혼합한 후, 다시 뭉쳐지게 할 수 있다.As such, by controlling the speed of grinding by the
도 7을 참조하면, 상기 3차 분쇄기(300)는 투입구(321)에 호퍼(310)가 장착된 외통(320)의 내부에 타공망 형태로 형성된 내통(330)이 배치되고, 내통(330)의 내부에 회전 커터(340)가 배치되어, 호퍼(310)를 통해 투입된 덩어리 형태의 2차 분쇄물이 회전 커터(340)에 의해 3차 분쇄되어 내통(330)의 타공(332)을 통해 배출된다. Referring to FIG. 7, the
이것에 의해, 회전 커터(340)에 의해 분쇄된 3차 분쇄물이 타공(332)을 통해 사이클론(400)으로 공급되기 때문에, 페합성수지를 재활용할 수 있는 일정한 크기의 원료칩을 만들 수 있다.
As a result, since the tertiary pulverized product pulverized by the
100 : 1차 분쇄기 200 : 2차 분쇄기
300 : 3차 분쇄기 400 : 사이클론100: first grinder 200: second grinder
300: tertiary shredder 400: cyclone
Claims (6)
The primary grinder 100 and the secondary grinder 200 are arranged in a row on the table 50, so that the outlet 114 of the primary grinder 100 is connected to the inlet 212 of the secondary grinder 200. The tertiary mill 300 is disposed under the outlet 214 of the second mill 200 so that the waste synthetic resin, in which the thermoplastic resin and the reinforcing fibers are combined, is transferred to the first mill 100 through the first hopper 90. When supplied, it is transferred to the secondary grinder 200 while being crushed by the screw shaft 120 of the primary grinder 100, and the first pulverized crushed product is ground in the secondary grinder 200, thereby reinforcing with the thermoplastic resin. The fibers are evenly mixed and supplied to the second hopper 310 of the tertiary crusher 300 in a dropping manner in a state in which the secondary crushed material is agglomerated by the heat generated in the grinding process, and the lumped mass is fed to the third pulverizer ( It is crushed again at 300, and discharged to the outside through the inner cylinder 330 formed in the form of a perforated network of the tertiary crusher 300 Raw material chip manufacturing apparatus for recycling the waste synthetic resin characterized in that.
상기 3차 분쇄기(300)의 배출구(325)와 연결튜브(410)에 의해 흡입구(411)가 연결되는 사이클론(400)을 더 포함하는 것을 특징으로 하는 폐합성수지를 재활용하기 위한 원료칩 제조장치.
The method of claim 1,
Raw material chip manufacturing apparatus for recycling the waste synthetic resin, characterized in that it further comprises a cyclone 400 is connected to the inlet 411 by the outlet 325 and the connection tube 410 of the third mill 300.
상기 1차 분쇄기(100)는 본체 하우징(110)의 내부에 스크류 샤프트(120)가 회전 가능하게 배치되고, 스크류 샤프트(120)가 제 1 스크류 샤프트(121)와 제 2 스크류 샤프트(125)로 구성되고, 제 1 모터(130)의 동력이 풀리(135)를 통해 제 1 스크류 샤프트(121)로 전달되고, 제 1 스크류 샤프트(121)의 구동기어(122)와 제 2 스크류 샤프트(125)의 종동기어(126)가 연동되어, 제 2 스크류 샤프트(125)가 제 1 스크류 샤프트(121)와 함께 회전되고, 본체 하우징(110)의 둘레를 워터자켓(140)이 감싸고 있어, 워터자켓(140)의 냉각수가 제 1 및 제 2 스크류 샤프트(121, 125)에 의해 폐합성수지가 분쇄되는 과정에서 발생하는 열을 흡수하는 것을 특징으로 하는 폐합성수지를 재활용하기 위한 원료칩 제조장치.
The method of claim 1,
The primary grinder 100 has a screw shaft 120 rotatably disposed inside the body housing 110, and the screw shaft 120 is connected to the first screw shaft 121 and the second screw shaft 125. The power of the first motor 130 is transmitted to the first screw shaft 121 through the pulley 135, the drive gear 122 and the second screw shaft 125 of the first screw shaft 121 Driven gear 126 is interlocked, the second screw shaft 125 is rotated with the first screw shaft 121, the water jacket 140 is wrapped around the body housing 110, the water jacket ( The raw material chip manufacturing apparatus for recycling the waste synthetic resin, characterized in that the cooling water of 140) absorbs the heat generated in the process of crushing the waste synthetic resin by the first and second screw shaft (121, 125).
상기 2차 분쇄기(200)는 고정 분쇄통(210)이 1차 분쇄기(100)의 본체 하우징(110)에 연결되고, 제 1 스크류 샤프트(121)의 선단에 사각축(220)이 연결되어, 사각축(220)이 고정 본쇄통(210)의 센터에 배치되고, 사각축(220)이 가동부재(230)의 콘 형상부(231)의 선단에 길이 방향으로 형성된 사각홈(232)에 끼워짐으로써, 사각축(220)에 의해 가동부재(230)가 회전되고, 가동부재(230)의 원통부(235)가 링베어링 홀더(240)에 의해 슬라이더(250)와 연결되어, 가동부재(230)가 슬라이더(250)에 대해 상대적으로 회전될 수 있으며, 슬라이더(240)의 하부에 장착된 브라켓(260)에 랙 기어(265)의 일단이 연결되고, 랙 기어(265)의 타단이 기어 박스(270)에 이동 가능하게 지지되어, 랙 기어(265)에 의해 슬라이더(250)가 가이드 부재(280)를 따라 고정 분쇄통(210) 쪽으로 전후진될 수 있고, 랙 기어(265)가 피니언 기어(285)에 의해 전후진되며, 피니언 기어(285)가 모터(290)의 구동축(291)과 체인(295)에 의해 연결되는 것을 특징으로 하는 폐합성수지를 재활용하기 위한 원료칩 제조장치.
The method of claim 1,
The secondary grinder 200 has a fixed grinding cylinder 210 is connected to the main housing 110 of the primary grinder 100, the square shaft 220 is connected to the front end of the first screw shaft 121, The square shaft 220 is disposed at the center of the fixed main cylinder 210, and the square shaft 220 is inserted into the square groove 232 formed in the longitudinal direction at the tip of the cone-shaped portion 231 of the movable member 230. As a result, the movable member 230 is rotated by the square shaft 220, the cylindrical portion 235 of the movable member 230 is connected to the slider 250 by the ring bearing holder 240, and the movable member ( 230 may be rotated relative to the slider 250, one end of the rack gear 265 is connected to the bracket 260 mounted to the bottom of the slider 240, and the other end of the rack gear 265 is geared. It is movably supported by the box 270 so that the slider 250 can be advanced back and forth along the guide member 280 toward the fixed pulverization cylinder 210 by the rack gear 265, the rack gear 265 is A raw material chip manufacturing apparatus for recycling waste synthetic resin, characterized in that the pinion gear (285) is advanced back and forth, the pinion gear (285) is connected by a drive shaft (291) and a chain (295) of the motor (290).
상기 고정 분쇄통(210)은 내주면에 요철부(211)가 형성되고, 가동부재(230)의 콘 형상부(231)에 대응되게 유입구(212)에서 배출구(214) 쪽으로 갈수록 내경이 커지도록 내주면이 테이퍼지게 형성되는 것을 특징으로 하는 폐합성수지를 재활용하기 위한 원료칩 제조장치.
5. The method of claim 4,
The fixed grinding barrel 210 has an uneven portion 211 is formed on the inner circumferential surface, the inner circumference so that the inner diameter increases toward the outlet 214 from the inlet 212 to correspond to the cone-shaped portion 231 of the movable member 230 Raw material chip manufacturing apparatus for recycling the waste synthetic resin characterized in that the tapered.
상기 3차 분쇄기(300)는 투입구(321)에 호퍼(310)가 장착된 외통(320)의 내부에 타공망 형태로 형성된 내통(330)이 배치되고, 내통(330)의 내부에 회전 커터(340)가 배치되어, 호퍼(310)를 통해 투입된 덩어리 형태의 2차 분쇄물이 회전 커터(340)에 의해 3차 분쇄되어 내통(330)의 타공(332)을 통해 배출되는 것을 특징으로 하는 폐합성수지를 재활용하기 위한 원료칩 제조장치. The method of claim 1,
The tertiary grinder 300 has an inner cylinder 330 formed in a perforated network inside the outer cylinder 320 in which the hopper 310 is mounted in the inlet 321, and the rotary cutter 340 in the inner cylinder 330. ) Is disposed, the waste synthetic resin characterized in that the secondary crushed product in the form of lumps injected through the hopper 310 is pulverized by the rotary cutter 340 and discharged through the perforations 332 of the inner cylinder 330. Raw material chip manufacturing apparatus for recycling.
Priority Applications (1)
| Application Number | Priority Date | Filing Date | Title |
|---|---|---|---|
| KR1020120086576A KR20140020392A (en) | 2012-08-08 | 2012-08-08 | Machine for manufacturing raw-material chip to recycle wasted plastic |
Applications Claiming Priority (1)
| Application Number | Priority Date | Filing Date | Title |
|---|---|---|---|
| KR1020120086576A KR20140020392A (en) | 2012-08-08 | 2012-08-08 | Machine for manufacturing raw-material chip to recycle wasted plastic |
Publications (1)
| Publication Number | Publication Date |
|---|---|
| KR20140020392A true KR20140020392A (en) | 2014-02-19 |
Family
ID=50267376
Family Applications (1)
| Application Number | Title | Priority Date | Filing Date |
|---|---|---|---|
| KR1020120086576A Abandoned KR20140020392A (en) | 2012-08-08 | 2012-08-08 | Machine for manufacturing raw-material chip to recycle wasted plastic |
Country Status (1)
| Country | Link |
|---|---|
| KR (1) | KR20140020392A (en) |
Cited By (8)
| Publication number | Priority date | Publication date | Assignee | Title |
|---|---|---|---|---|
| USD820836S1 (en) | 2016-06-21 | 2018-06-19 | Samsung Electronics Co., Ltd. | Electronic device |
| USD862457S1 (en) | 2016-06-21 | 2019-10-08 | Samsung Electronics Co., Ltd. | Electronic device |
| USD862458S1 (en) | 2016-06-21 | 2019-10-08 | Samsung Electronics Co., Ltd. | Electronic device |
| USD864954S1 (en) | 2016-06-21 | 2019-10-29 | Samsung Electronics Co., Ltd. | Electronic device |
| CN114274415A (en) * | 2021-12-16 | 2022-04-05 | 吴基雨 | A hot melt block device for EPS plastic foam recycling |
| KR102514587B1 (en) | 2021-11-30 | 2023-03-28 | 주식회사 루소 | Recycled plastic raw material packer system |
| KR20230081821A (en) | 2021-11-30 | 2023-06-08 | 주식회사 루소 | Recycled polymer scrap quantitative supply system |
| KR20250064716A (en) | 2023-11-02 | 2025-05-12 | 주식회사 루소 | Recycled plastic raw material packer system |
-
2012
- 2012-08-08 KR KR1020120086576A patent/KR20140020392A/en not_active Abandoned
Cited By (33)
| Publication number | Priority date | Publication date | Assignee | Title |
|---|---|---|---|---|
| USD862458S1 (en) | 2016-06-21 | 2019-10-08 | Samsung Electronics Co., Ltd. | Electronic device |
| USD863293S1 (en) | 2016-06-21 | 2019-10-15 | Samsung Electronics Co., Ltd. | Electronic device |
| USD820832S1 (en) | 2016-06-21 | 2018-06-19 | Samsung Electronics Co., Ltd. | Electronic device |
| USD820835S1 (en) | 2016-06-21 | 2018-06-19 | Samsung Electronics Co., Ltd. | Electronic device |
| USD820834S1 (en) | 2016-06-21 | 2018-06-19 | Samsung Electronics Co., Ltd. | Electronic device |
| USD820833S1 (en) | 2016-06-21 | 2018-06-19 | Samsung Electronics Co., Ltd. | Electronic device |
| USD821390S1 (en) | 2016-06-21 | 2018-06-26 | Samsung Electronics Co., Ltd. | Electronic device |
| USD821389S1 (en) | 2016-06-21 | 2018-06-26 | Samsung Electronics Co., Ltd. | Electronic device |
| USD827637S1 (en) | 2016-06-21 | 2018-09-04 | Samsung Electronics Co., Ltd. | Electronic device |
| USD851085S1 (en) | 2016-06-21 | 2019-06-11 | Samsung Electronics Co., Ltd. | Electronic device |
| USD854541S1 (en) | 2016-06-21 | 2019-07-23 | Samsung Electronics Co., Ltd. | Electronic device |
| USD857009S1 (en) | 2016-06-21 | 2019-08-20 | Samsung Electronics Co., Ltd. | Electronic device |
| USD857690S1 (en) | 2016-06-21 | 2019-08-27 | Samsung Electronics Co., Ltd. | Electronic device |
| USD861674S1 (en) | 2016-06-21 | 2019-10-01 | Samsung Electronics Co., Ltd. | Electronic device |
| USD861675S1 (en) | 2016-06-21 | 2019-10-01 | Samsung Electronics Co., Ltd. | Electronic device |
| USD862457S1 (en) | 2016-06-21 | 2019-10-08 | Samsung Electronics Co., Ltd. | Electronic device |
| USD820831S1 (en) | 2016-06-21 | 2018-06-19 | Samsung Electronics Co., Ltd. | Electronic device |
| USD864954S1 (en) | 2016-06-21 | 2019-10-29 | Samsung Electronics Co., Ltd. | Electronic device |
| USD820836S1 (en) | 2016-06-21 | 2018-06-19 | Samsung Electronics Co., Ltd. | Electronic device |
| USD866550S1 (en) | 2016-06-21 | 2019-11-12 | Samsung Electronics Co., Ltd. | Electronic device |
| USD866549S1 (en) | 2016-06-21 | 2019-11-12 | Samsung Electronics Co., Ltd. | Electronic device |
| USD867360S1 (en) | 2016-06-21 | 2019-11-19 | Samsung Electronics Co., Ltd. | Electronic device |
| USD868056S1 (en) | 2016-06-21 | 2019-11-26 | Samsung Electronics Co., Ltd. | Electronic device |
| USD868057S1 (en) | 2016-06-21 | 2019-11-26 | Samsung Electronics Co., Ltd. | Electronic device |
| USD868777S1 (en) | 2016-06-21 | 2019-12-03 | Samsung Electronics Co., Ltd. | Electronic device |
| USD871399S1 (en) | 2016-06-21 | 2019-12-31 | Samsung Electronics Co., Ltd. | Electronic device |
| USD871400S1 (en) | 2016-06-21 | 2019-12-31 | Samsung Electronics Co., Ltd. | Electronic device |
| USD873266S1 (en) | 2016-06-21 | 2020-01-21 | Samsung Electronics Co., Ltd. | Electronic device |
| USD981399S1 (en) | 2016-06-21 | 2023-03-21 | Samsung Electronics Co., Ltd. | Electronic device |
| KR102514587B1 (en) | 2021-11-30 | 2023-03-28 | 주식회사 루소 | Recycled plastic raw material packer system |
| KR20230081821A (en) | 2021-11-30 | 2023-06-08 | 주식회사 루소 | Recycled polymer scrap quantitative supply system |
| CN114274415A (en) * | 2021-12-16 | 2022-04-05 | 吴基雨 | A hot melt block device for EPS plastic foam recycling |
| KR20250064716A (en) | 2023-11-02 | 2025-05-12 | 주식회사 루소 | Recycled plastic raw material packer system |
Similar Documents
| Publication | Publication Date | Title |
|---|---|---|
| KR20140020392A (en) | Machine for manufacturing raw-material chip to recycle wasted plastic | |
| JP5961696B2 (en) | Plastic material processing equipment | |
| JP6356068B2 (en) | Plastic material processing equipment | |
| JP6219829B2 (en) | Plastic material processing equipment | |
| JP2017213899A (en) | Plastic material processing apparatus | |
| JP2014534092A (en) | Plastic material processing equipment | |
| JP2014534095A (en) | Plastic material processing equipment | |
| JP2014534910A (en) | Plastic material processing equipment | |
| JP2014530131A (en) | Plastic material processing equipment | |
| JP2014530133A (en) | Plastic material processing equipment | |
| JP2014534093A (en) | Plastic material processing equipment | |
| CN105965727A (en) | Plastic recycling crusher | |
| KR101389752B1 (en) | A manufacturing method of construction materials using synthetic resin of waste and a device using the medoth | |
| KR101737184B1 (en) | Apparatus for Recycling of Waste Plastic and Method for Disposal of Waste Plastic | |
| CN204769042U (en) | Take recovery unit's comminuted system | |
| KR20150015720A (en) | Crusher System of Multi-axis | |
| CN103568153B (en) | Plastic wastes ejecting device | |
| CN211098906U (en) | Granulating machine | |
| JP6197004B2 (en) | Crushing method, crushing device and rough crushing blade | |
| CN204768869U (en) | Circulation grinding screen optional equipment | |
| CN114728438B (en) | Device for treating materials, in particular plastic materials | |
| CN211566612U (en) | Plastic products's substandard product reducing mechanism | |
| KR101071079B1 (en) | Powder type recycled resin manufacturing device using resin scrap | |
| CN206106154U (en) | Device of plastics recycling preparation 3D printing consumables | |
| KR200457257Y1 (en) | low speed grinder of plastic tube |
Legal Events
| Date | Code | Title | Description |
|---|---|---|---|
| A201 | Request for examination | ||
| PA0109 | Patent application |
Patent event code: PA01091R01D Comment text: Patent Application Patent event date: 20120808 |
|
| PA0201 | Request for examination | ||
| E902 | Notification of reason for refusal | ||
| PE0902 | Notice of grounds for rejection |
Comment text: Notification of reason for refusal Patent event date: 20131112 Patent event code: PE09021S01D |
|
| PG1501 | Laying open of application | ||
| E701 | Decision to grant or registration of patent right | ||
| PE0701 | Decision of registration |
Patent event code: PE07011S01D Comment text: Decision to Grant Registration Patent event date: 20140422 |
|
| PC1904 | Unpaid initial registration fee |
