KR20090035160A - 창문틀의 상단프레임겸용 환기장치 - Google Patents
창문틀의 상단프레임겸용 환기장치 Download PDFInfo
- Publication number
- KR20090035160A KR20090035160A KR1020070100274A KR20070100274A KR20090035160A KR 20090035160 A KR20090035160 A KR 20090035160A KR 1020070100274 A KR1020070100274 A KR 1020070100274A KR 20070100274 A KR20070100274 A KR 20070100274A KR 20090035160 A KR20090035160 A KR 20090035160A
- Authority
- KR
- South Korea
- Prior art keywords
- frame
- window frame
- filter
- opening
- photocatalyst filter
- Prior art date
- Legal status (The legal status is an assumption and is not a legal conclusion. Google has not performed a legal analysis and makes no representation as to the accuracy of the status listed.)
- Ceased
Links
Images
Classifications
-
- E—FIXED CONSTRUCTIONS
- E06—DOORS, WINDOWS, SHUTTERS, OR ROLLER BLINDS IN GENERAL; LADDERS
- E06B—FIXED OR MOVABLE CLOSURES FOR OPENINGS IN BUILDINGS, VEHICLES, FENCES OR LIKE ENCLOSURES IN GENERAL, e.g. DOORS, WINDOWS, BLINDS, GATES
- E06B7/00—Special arrangements or measures in connection with doors or windows
- E06B7/02—Special arrangements or measures in connection with doors or windows for providing ventilation, e.g. through double windows; Arrangement of ventilation roses
- E06B7/10—Special arrangements or measures in connection with doors or windows for providing ventilation, e.g. through double windows; Arrangement of ventilation roses by special construction of the frame members
-
- F—MECHANICAL ENGINEERING; LIGHTING; HEATING; WEAPONS; BLASTING
- F24—HEATING; RANGES; VENTILATING
- F24F—AIR-CONDITIONING; AIR-HUMIDIFICATION; VENTILATION; USE OF AIR CURRENTS FOR SCREENING
- F24F13/00—Details common to, or for air-conditioning, air-humidification, ventilation or use of air currents for screening
- F24F13/28—Arrangement or mounting of filters
Landscapes
- Engineering & Computer Science (AREA)
- Civil Engineering (AREA)
- Structural Engineering (AREA)
- Chemical & Material Sciences (AREA)
- Combustion & Propulsion (AREA)
- Mechanical Engineering (AREA)
- General Engineering & Computer Science (AREA)
- Catalysts (AREA)
- Exhaust Gas Treatment By Means Of Catalyst (AREA)
- Disinfection, Sterilisation Or Deodorisation Of Air (AREA)
Abstract
Description
Claims (3)
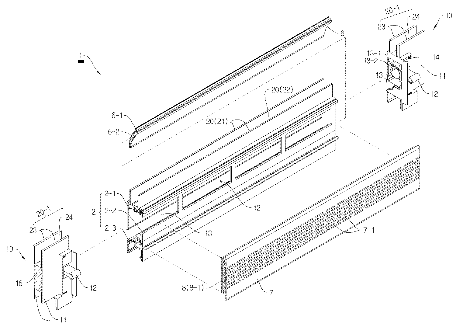
- 전면프레임(2-1)의 후측에는 배출구(5)가 일정한 간격으로 뚫어진 배면프레임(2-2)을 일체형으로 결합시키고, 배면프레임(2-2)의 하부 외측에는 하부프레임(2-3)을 일체형으로 결합시켜 전면프레임(2-1)과의 사이에 유입구(4)가 형성되도록 바디(2)를 형성하고, 바디(2)의 좌측과 우측에는 개폐장치가 설치된 측면커버뭉치(10)를 각각 결합하여 장착시키며, 바디(2)의 내부에는 개폐플립(6)을 장착하되, 측면커버뭉치(10)에 설치된 개폐장치에 결합시켜 개폐스위치(7)에 의해 유입구(4)를 개폐시키며, 배면프레임(2-2)에는 배출구(5)의 전면에 정면커버(7)를 착탈시키되 정면커버(7)에는 배출공(7-1)을 일정한 간격으로 형성하고 내부에는 필터(8)를 내장시킨 통풍장치에 있어서,상기 바디(2)와 각 측면커버뭉치(10)의 상단에는 창틀섀시(20)의 가이드레일(20-1)에서 슬라이드될 수 있도록 가이드장치(20)(20-1)를 각각 일체로 형성하여 창문틀의 상단프레임으로 겸용할 수 있도록 한 것과;상기 바디(2)의 좌측과 우측의 양단에 결합되는 각 측면커버뭉치(10)는 외측중앙부에 매입결속부(15)를 형성한 것과;정면커버(7)의 내부에 내장되는 필터(8)는 광촉매물질을 코팅 또는 함침시킨 광촉매필터(8-1)인 것;을 특징으로 하는 창문틀의 상단프레임겸용 환기장치.
- 청구항 1에 있어서, 바디(2)와 각 측면커버뭉치(10)의 상단에 일체로 형성되 는 가이드장치(20)는:전면프레임(2-1)과 배면프레임(2-2) 또는 나란하게 측면뭉치판(11)의 상단에 가이드플레이트(21)(23)를 일체로 나란하게 형성하여, 가이드플레이트(21)(23)의 사이에 가이드홈(22)이 형성되도록 한 것;을 특징으로 하는 창문틀의 상단프레임겸용 환기장치.
- 청구항 1에 있어서, 광촉매필터(8-1)에 코팅 또는 함침되는 광촉매물질은:PH농도가 PH6 ∼ PH8사이인 이산화티탄( TiO₂)인 것;을 특징으로 하는 창문틀의 상단프레임겸용 환기장치.
Priority Applications (1)
| Application Number | Priority Date | Filing Date | Title |
|---|---|---|---|
| KR1020070100274A KR20090035160A (ko) | 2007-10-05 | 2007-10-05 | 창문틀의 상단프레임겸용 환기장치 |
Applications Claiming Priority (1)
| Application Number | Priority Date | Filing Date | Title |
|---|---|---|---|
| KR1020070100274A KR20090035160A (ko) | 2007-10-05 | 2007-10-05 | 창문틀의 상단프레임겸용 환기장치 |
Publications (1)
| Publication Number | Publication Date |
|---|---|
| KR20090035160A true KR20090035160A (ko) | 2009-04-09 |
Family
ID=40760668
Family Applications (1)
| Application Number | Title | Priority Date | Filing Date |
|---|---|---|---|
| KR1020070100274A Ceased KR20090035160A (ko) | 2007-10-05 | 2007-10-05 | 창문틀의 상단프레임겸용 환기장치 |
Country Status (1)
| Country | Link |
|---|---|
| KR (1) | KR20090035160A (ko) |
Cited By (2)
| Publication number | Priority date | Publication date | Assignee | Title |
|---|---|---|---|---|
| KR101237714B1 (ko) * | 2010-02-16 | 2013-03-06 | 김기현 | 환기장치 |
| KR101286260B1 (ko) * | 2012-03-13 | 2013-07-23 | 타이톤코리아 (주) | 창호용 환기장치의 구조 |
-
2007
- 2007-10-05 KR KR1020070100274A patent/KR20090035160A/ko not_active Ceased
Cited By (2)
| Publication number | Priority date | Publication date | Assignee | Title |
|---|---|---|---|---|
| KR101237714B1 (ko) * | 2010-02-16 | 2013-03-06 | 김기현 | 환기장치 |
| KR101286260B1 (ko) * | 2012-03-13 | 2013-07-23 | 타이톤코리아 (주) | 창호용 환기장치의 구조 |
Similar Documents
| Publication | Publication Date | Title |
|---|---|---|
| KR102688994B1 (ko) | 창호형 환기장치 | |
| KR20130017658A (ko) | 환기장치 | |
| CN105465940A (zh) | 双向风道装置 | |
| KR20120003832U (ko) | 수직형 에어 커튼 장치 | |
| KR100628088B1 (ko) | 박형 환기장치 | |
| JP5741880B2 (ja) | 窓戸用の換気装置 | |
| KR100980199B1 (ko) | 창호용 환기장치의 장착연결구조 | |
| KR20090035160A (ko) | 창문틀의 상단프레임겸용 환기장치 | |
| CN101737854A (zh) | 空调机 | |
| KR101995119B1 (ko) | 창문설치형 공기청정기 | |
| KR101555199B1 (ko) | 공기조화기 | |
| KR20220000836U (ko) | 급기 레지스터 | |
| KR102318416B1 (ko) | 공기정화장치 창문설치방법 | |
| KR20240041117A (ko) | 필터 교체형 창호 환기장치 | |
| CN205448153U (zh) | 双向风道装置 | |
| KR100887935B1 (ko) | 천장 카세트형 환기유닛의 프론트 커버 | |
| KR102078925B1 (ko) | 창호형 환기 장치 | |
| KR20060098281A (ko) | 환기시스템 | |
| KR102202404B1 (ko) | 환기장치 | |
| KR20090006362A (ko) | 환기장치 | |
| KR200205601Y1 (ko) | 공기의 흡배출에 의한 공기정화 환풍기 | |
| KR100996626B1 (ko) | 실내공기 환기장치 | |
| KR102546545B1 (ko) | 붙박이용 가구의 환기구조 | |
| KR100640825B1 (ko) | 환기장치 | |
| KR100745015B1 (ko) | 무동력 댐퍼를 이용한 환기시스템 |
Legal Events
| Date | Code | Title | Description |
|---|---|---|---|
| A201 | Request for examination | ||
| PA0109 | Patent application |
Patent event code: PA01091R01D Comment text: Patent Application Patent event date: 20071005 |
|
| PA0201 | Request for examination | ||
| E902 | Notification of reason for refusal | ||
| PE0902 | Notice of grounds for rejection |
Comment text: Notification of reason for refusal Patent event date: 20081030 Patent event code: PE09021S01D |
|
| PG1501 | Laying open of application | ||
| E90F | Notification of reason for final refusal | ||
| PE0902 | Notice of grounds for rejection |
Comment text: Final Notice of Reason for Refusal Patent event date: 20090416 Patent event code: PE09021S02D |
|
| E601 | Decision to refuse application | ||
| PE0601 | Decision on rejection of patent |
Patent event date: 20091020 Comment text: Decision to Refuse Application Patent event code: PE06012S01D Patent event date: 20090416 Comment text: Final Notice of Reason for Refusal Patent event code: PE06011S02I Patent event date: 20081030 Comment text: Notification of reason for refusal Patent event code: PE06011S01I |
