JP7690010B2 - 音響装置およびこれを含む運送装置 - Google Patents

音響装置およびこれを含む運送装置 Download PDF

Info

Publication number
JP7690010B2
JP7690010B2 JP2023204257A JP2023204257A JP7690010B2 JP 7690010 B2 JP7690010 B2 JP 7690010B2 JP 2023204257 A JP2023204257 A JP 2023204257A JP 2023204257 A JP2023204257 A JP 2023204257A JP 7690010 B2 JP7690010 B2 JP 7690010B2
Authority
JP
Japan
Prior art keywords
vibration
sound
present specification
interior material
generating devices
Prior art date
Legal status (The legal status is an assumption and is not a legal conclusion. Google has not performed a legal analysis and makes no representation as to the accuracy of the status listed.)
Active
Application number
JP2023204257A
Other languages
English (en)
Other versions
JP2024080695A (ja
Inventor
ソンウク リー,
スンゴ チョン,
テホ キム,
テウォン キム,
スンウ ペク,
ドヒョン キム,
Original Assignee
エルジー ディスプレイ カンパニー リミテッド
Priority date (The priority date is an assumption and is not a legal conclusion. Google has not performed a legal analysis and makes no representation as to the accuracy of the date listed.)
Filing date
Publication date
Application filed by エルジー ディスプレイ カンパニー リミテッド filed Critical エルジー ディスプレイ カンパニー リミテッド
Publication of JP2024080695A publication Critical patent/JP2024080695A/ja
Application granted granted Critical
Publication of JP7690010B2 publication Critical patent/JP7690010B2/ja
Active legal-status Critical Current
Anticipated expiration legal-status Critical

Links

Images

Classifications

    • HELECTRICITY
    • H04ELECTRIC COMMUNICATION TECHNIQUE
    • H04RLOUDSPEAKERS, MICROPHONES, GRAMOPHONE PICK-UPS OR LIKE ACOUSTIC ELECTROMECHANICAL TRANSDUCERS; DEAF-AID SETS; PUBLIC ADDRESS SYSTEMS
    • H04R1/00Details of transducers, loudspeakers or microphones
    • H04R1/02Casings; Cabinets ; Supports therefor; Mountings therein
    • H04R1/025Arrangements for fixing loudspeaker transducers, e.g. in a box, furniture
    • HELECTRICITY
    • H04ELECTRIC COMMUNICATION TECHNIQUE
    • H04RLOUDSPEAKERS, MICROPHONES, GRAMOPHONE PICK-UPS OR LIKE ACOUSTIC ELECTROMECHANICAL TRANSDUCERS; DEAF-AID SETS; PUBLIC ADDRESS SYSTEMS
    • H04R9/00Transducers of moving-coil, moving-strip, or moving-wire type
    • H04R9/06Loudspeakers
    • HELECTRICITY
    • H04ELECTRIC COMMUNICATION TECHNIQUE
    • H04RLOUDSPEAKERS, MICROPHONES, GRAMOPHONE PICK-UPS OR LIKE ACOUSTIC ELECTROMECHANICAL TRANSDUCERS; DEAF-AID SETS; PUBLIC ADDRESS SYSTEMS
    • H04R17/00Piezoelectric transducers; Electrostrictive transducers
    • HELECTRICITY
    • H04ELECTRIC COMMUNICATION TECHNIQUE
    • H04RLOUDSPEAKERS, MICROPHONES, GRAMOPHONE PICK-UPS OR LIKE ACOUSTIC ELECTROMECHANICAL TRANSDUCERS; DEAF-AID SETS; PUBLIC ADDRESS SYSTEMS
    • H04R7/00Diaphragms for electromechanical transducers; Cones
    • H04R7/02Diaphragms for electromechanical transducers; Cones characterised by the construction
    • H04R7/04Plane diaphragms
    • H04R7/045Plane diaphragms using the distributed mode principle, i.e. whereby the acoustic radiation is emanated from uniformly distributed free bending wave vibration induced in a stiff panel and not from pistonic motion
    • HELECTRICITY
    • H04ELECTRIC COMMUNICATION TECHNIQUE
    • H04RLOUDSPEAKERS, MICROPHONES, GRAMOPHONE PICK-UPS OR LIKE ACOUSTIC ELECTROMECHANICAL TRANSDUCERS; DEAF-AID SETS; PUBLIC ADDRESS SYSTEMS
    • H04R7/00Diaphragms for electromechanical transducers; Cones
    • H04R7/02Diaphragms for electromechanical transducers; Cones characterised by the construction
    • H04R7/12Non-planar diaphragms or cones
    • HELECTRICITY
    • H04ELECTRIC COMMUNICATION TECHNIQUE
    • H04RLOUDSPEAKERS, MICROPHONES, GRAMOPHONE PICK-UPS OR LIKE ACOUSTIC ELECTROMECHANICAL TRANSDUCERS; DEAF-AID SETS; PUBLIC ADDRESS SYSTEMS
    • H04R9/00Transducers of moving-coil, moving-strip, or moving-wire type
    • H04R9/02Details
    • HELECTRICITY
    • H10SEMICONDUCTOR DEVICES; ELECTRIC SOLID-STATE DEVICES NOT OTHERWISE PROVIDED FOR
    • H10KORGANIC ELECTRIC SOLID-STATE DEVICES
    • H10K59/00Integrated devices, or assemblies of multiple devices, comprising at least one organic light-emitting element covered by group H10K50/00
    • HELECTRICITY
    • H04ELECTRIC COMMUNICATION TECHNIQUE
    • H04RLOUDSPEAKERS, MICROPHONES, GRAMOPHONE PICK-UPS OR LIKE ACOUSTIC ELECTROMECHANICAL TRANSDUCERS; DEAF-AID SETS; PUBLIC ADDRESS SYSTEMS
    • H04R2400/00Loudspeakers
    • H04R2400/11Aspects regarding the frame of loudspeaker transducers
    • HELECTRICITY
    • H04ELECTRIC COMMUNICATION TECHNIQUE
    • H04RLOUDSPEAKERS, MICROPHONES, GRAMOPHONE PICK-UPS OR LIKE ACOUSTIC ELECTROMECHANICAL TRANSDUCERS; DEAF-AID SETS; PUBLIC ADDRESS SYSTEMS
    • H04R2440/00Bending wave transducers covered by H04R, not provided for in its groups
    • H04R2440/05Aspects relating to the positioning and way or means of mounting of exciters to resonant bending wave panels
    • HELECTRICITY
    • H04ELECTRIC COMMUNICATION TECHNIQUE
    • H04RLOUDSPEAKERS, MICROPHONES, GRAMOPHONE PICK-UPS OR LIKE ACOUSTIC ELECTROMECHANICAL TRANSDUCERS; DEAF-AID SETS; PUBLIC ADDRESS SYSTEMS
    • H04R2499/00Aspects covered by H04R or H04S not otherwise provided for in their subgroups
    • H04R2499/10General applications
    • H04R2499/11Transducers incorporated or for use in hand-held devices, e.g. mobile phones, PDA's, camera's
    • HELECTRICITY
    • H04ELECTRIC COMMUNICATION TECHNIQUE
    • H04RLOUDSPEAKERS, MICROPHONES, GRAMOPHONE PICK-UPS OR LIKE ACOUSTIC ELECTROMECHANICAL TRANSDUCERS; DEAF-AID SETS; PUBLIC ADDRESS SYSTEMS
    • H04R2499/00Aspects covered by H04R or H04S not otherwise provided for in their subgroups
    • H04R2499/10General applications
    • H04R2499/13Acoustic transducers and sound field adaptation in vehicles
    • HELECTRICITY
    • H04ELECTRIC COMMUNICATION TECHNIQUE
    • H04RLOUDSPEAKERS, MICROPHONES, GRAMOPHONE PICK-UPS OR LIKE ACOUSTIC ELECTROMECHANICAL TRANSDUCERS; DEAF-AID SETS; PUBLIC ADDRESS SYSTEMS
    • H04R2499/00Aspects covered by H04R or H04S not otherwise provided for in their subgroups
    • H04R2499/10General applications
    • H04R2499/15Transducers incorporated in visual displaying devices, e.g. televisions, computer displays, laptops
    • HELECTRICITY
    • H04ELECTRIC COMMUNICATION TECHNIQUE
    • H04RLOUDSPEAKERS, MICROPHONES, GRAMOPHONE PICK-UPS OR LIKE ACOUSTIC ELECTROMECHANICAL TRANSDUCERS; DEAF-AID SETS; PUBLIC ADDRESS SYSTEMS
    • H04R7/00Diaphragms for electromechanical transducers; Cones
    • H04R7/02Diaphragms for electromechanical transducers; Cones characterised by the construction
    • H04R7/04Plane diaphragms

Landscapes

  • Engineering & Computer Science (AREA)
  • Physics & Mathematics (AREA)
  • Acoustics & Sound (AREA)
  • Signal Processing (AREA)
  • Multimedia (AREA)
  • Soundproofing, Sound Blocking, And Sound Damping (AREA)
  • Piezo-Electric Transducers For Audible Bands (AREA)
  • Fittings On The Vehicle Exterior For Carrying Loads, And Devices For Holding Or Mounting Articles (AREA)
  • Vehicle Interior And Exterior Ornaments, Soundproofing, And Insulation (AREA)
  • Diaphragms For Electromechanical Transducers (AREA)
  • Details Of Audible-Bandwidth Transducers (AREA)

Description

本明細書は音響装置およびこれを含む運送装置に関する。
装置は音響を提供するために別個のスピーカーまたは音響装置を含む。装置にスピーカーを配置する場合、スピーカーが占める空間によって装置のデザインおよび空間配置に制約が伴う問題が発生する。
装置に適用されるスピーカーは、例えば、マグネットおよびコイルを含むアクチュエーターであり得る。アクチュエーターを装置に適用する場合、厚さが厚い欠点がある。よって、薄い厚さを具現することができる圧電素子が注目されている。
圧電素子は、脆性特性によって、外部衝撃によって破損が容易に発生し、これにより音響再生の信頼性が低い問題点がある。そして、フレキシブル装置に圧電素子などのスピーカーを適用する場合、脆性特性によって破損が発生する問題点がある。
したがって、本明細書の発明者らは先に言及した問題点を認識し、音響の音質を向上させることができ、音圧特性を向上させることができる音響装置を具現するための多様な研究および実験を行った。多様な研究および実験によって、音響の音質を向上させることができ、音圧特性を向上させることができる新しい音響装置およびこれを含む運送装置を発明した。
本明細書の実施例による解決課題は、振動部材を振動させて振動または音響を発生させることができ、音響特性および/または音圧特性を向上させることができる音響装置およびこれを含む運送装置を提供することである。
本明細書の実施例による解決課題は先に言及した課題に限定されず、言及しなかった他の課題は以下の記載から当業者に明らかに理解可能であろう。
本明細書の実施例による音響装置は、振動部材と、振動部材の後面に備えられたエンクロージャーと、振動部材およびエンクロージャーの間に備えられた連結部材と、振動部材を振動させる振動装置とを含む。連結部材は、振動部材の縁部を移動可能に支持することができる。
本明細書の実施例による運送装置は、外装材と、外装材を覆う内装材と、外装材、内装材、および外装材と内装材との間のうちの少なくとも一つ以上に備えられた一つ以上の音響発生装置とを含む。一つ以上の音響発生装置は、振動部材と、振動部材の後面に備えられたエンクロージャーと、振動部材およびエンクロージャーの間に備えられた連結部材と、振動部材を振動させる振動装置とを含む。連結部材は振動部材の縁部を移動可能に支持することができる。内装材および外装材のうちの一つ以上は一つ以上の音響発生装置の振動によって振動することができる。
以上で言及した課題解決手段の他に、本明細書の多様な例による具体的な事項は以下の記載内容および図面に含まれている。
本明細書の実施例による音響装置は、表示パネルまたは振動部材を振動させる音響装置を構成することにより、装置の音の進行方向が表示パネルまたは振動部材の前面に向かうように音響を発生させることができる。
本明細書の実施例による音響装置は、装置の前面、後面、および側面に均一な音響特性および/または音圧特性を提供することができる。
本明細書の実施例による音響装置は、振動部材とエンクロージャーとの間に連結部材を構成するので、中低音域帯および/または高音域帯の周波数でピークおよび/またはディップ現象を最小化するかまたは防止することができる。
本明細書の実施例による音響装置は緩衝部材を備えるので、外部衝撃から振動装置を保護することができ、振動装置の運送工程や付着工程で発生し得るクラックなどを改善することができる。
以上で言及した解決しようとする課題、課題解決手段、および効果の内容は特許請求の範囲の必須特徴を特定するものではないので、特許請求の範囲の権利範囲は発明の内容に記載した事項によって限定されない。
本明細書の一実施例による音響装置を示す図である。 図1に示した線A-A’についての断面図である。 本明細書の他の実施例による図1に示した線A-A’についての他の断面図である。 本明細書の他の実施例による分解斜視図である。 本明細書の他の実施例による連結部材の拡大図である。 本明細書の一実施例による振動素子を示す図である。 図6に示した線B-B’についての断面図である。 本明細書の他の実施例による振動部を示す斜視図である。 本明細書の他の実施例による振動素子を示す図である。 図9に示した線C-C’についての断面図である。 実験例および本明細書の実施例による音響装置の音響出力特性を示す図である。 本明細書の他の実施例による図6に示した線B-B’についての他の断面図である。 本明細書の他の実施例による緩衝部材を示す図である。 本明細書の他の実施例による緩衝部材を示す図である。 本明細書の一実施例による運送装置を示す図である。 本明細書の一実施例による運送装置を示す断面図である。
本明細書の利点および特徴、並びにそれらを達成する方法は添付図面に基づいて詳細に後述する多様な例を参照すると明らかになるであろう。しかし、本明細書は以下で開示する一例に限定されるものではなく、互いに異なる多様な形態に具現可能であり、本明細書の一例等はただ本明細書の開示を完全にし、本明細書の技術思想が属する技術分野で通常の知識を有する者に技術思想の範疇を完全に知らせるために提供するものであり、本明細書の技術思想は請求範囲の範疇によってのみ定義される。
本明細書の実施例を説明するための図面に開示した形状、サイズ、比率、角度、個数などは例示的なものなので、本明細書が図示の事項に限定されるものではない。明細書全般にわたって同じ参照符号は同じ構成要素を示す。また、本明細書の説明において、関連した公知の技術についての具体的な説明が本明細書の要旨を不必要にあいまいにする可能性があると判断される場合、その詳細な説明は省略する。
本明細書で言及する「含む」、「有する」、「なる」などを使う場合、「~のみ」を使わない限り、他の部分が付け加わることができる。構成要素を単数で表現した場合、特に明示的な記載事項がない限り、複数を含む場合を含む。
構成要素の解釈において、誤差範囲についての別途の明示的な記載がないと言っても誤差範囲を含むものと解釈する。
位置関係についての説明の場合、例えば「~上に」、「~の上部に」、「~の下部に’、「~のそばに」などのように二つ部分の位置関係を説明する場合、「直ぐ」又は「直接」を使わない限り、二つ部分の間に一つ以上の他の部分が位置することもできる。
時間関係についての説明の場合、例えば、「~の後に」、「~に引き続き」、「~の次に」、「~の前に」などのように時間的に先後関係を説明する場合、「直ぐ」又は「直接」を使わない限り、連続的ではない場合も含むことができる。
第1、第2などを多様な構成要素を敍述するために使うが、これらの構成要素はこれらの用語に限定されない。これらの用語はただ一構成要素を他の構成要素と区別するために使用するものである。よって、以下で言及する第1構成要素は本明細書の技術的思想内で第2構成要素でもあり得る。
本明細書の構成要素の説明において、第1、第2、A、B、(a)、(b)などの用語を使うことができる。このような用語はその構成要素を他の構成要素と区別するためのものであるだけで、その用語によって当該構成要素の本質、順番、順序でまたは個数などが限定されない。ある構成要素が他の構成要素に「連結」、「結合」または「接続」されると記載する場合、その構成要素はその他の構成要素に直接的に連結されるかまたは接続され得るが、特に明示的な記載事項がない限り、間接的に連結されるかまたは接続され得る各構成要素の間に他の構成要素が[介在]されることもできると理解されなければならないであろう。
「少なくとも一つ」という用語は一つ以上のすべての組合せを含むものと理解しなければならないであろう。例えば、「第1、第2および第3構成要素のうちの少なくとも一つ」の意味は、第1、第2又は第3のそれぞれだけでなく、第1、第2および第3のうちで二つ以上の全ての構成要素の組合せを含むと言える。
本明細書の多くの実施例のそれぞれの特徴が部分的にまたは全体的に互いに結合または組合せ可能であり、技術的に多様な連動および駆動が可能であり、各実施例が互いに対して独立的に実施されることもでき、連関関係で一緒に実施されることもできる。
以下、添付図面および実施例に基づいて本明細書の実施例を説明する。図面に示す構成要素のスケールは説明の便宜のために実際とは違うスケールを有するので、図面に示すスケールに限定されない。
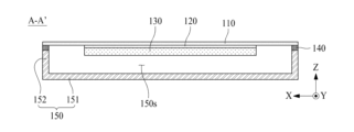
図1は本明細書の一実施例による音響装置を示す斜視図である。図2は図1に示した線A-A’についての断面図である。
図1および図2を参照すると、本明細書の一実施例による音響装置100は、振動部材110および振動装置130を含むことができる。
振動部材110は、振動装置130の振動によって音響を出力することができる。したがって、振動部材110は、振動対象物、振動板、振動パネル、音響板、音響出力部材、または音響出力パネルなどであり得るが、本明細書の実施例はこれに限定されない。
振動部材110は、透明、半透明、および不透明に構成され得る。本明細書の一実施例による振動部材110は、振動によって音響を出力するのに適した材料特性を有する金属材質を含むかまたは非金属材質(または複合非金属材質)を含むことができる。本明細書の実施例による振動部材110の金属材質は、ステンレススチール(stainless steel)、アルミニウム(Al)、アルミニウム(Al)合金、マグネシウム(Mg)、マグネシウム(Mg)合金、およびマグネシウムリチウム(Mg-Li)合金のうちのいずれか1種以上の材質を含むことができるが、本明細書の実施例はこれに限定されない。振動部材110の非金属材質(または複合非金属材質)は、ガラス、ゴム、プラスチック、カーボン、繊維、皮、木材、布地、および紙のうちの1種以上を含むことができるが、本明細書の実施例はこれに限定されない。例えば、振動部材110はABS(acrylonitrile-butadiene-styrene)で構成され得るが、本明細書の実施例はこれに限定されない。例えば、ABS(acrylonitrile-butadiene-styrene)は耐衝撃性および剛性を有する材料であり得る。
本明細書の一実施例による振動部材110は、広告用看板、ポスター、案内板などのアナログサイニジなどのようなサイニジパネルを具現することができる。例えば、振動部材110がサイニジパネルを具現する場合、アナログシャイニジは、文章、絵、および記号などのサイニジコンテンツを含むことができる。サイニジコンテンツは視認可能に振動部材110に配置され得る。例えば、サイニジコンテンツは、振動部材110の第1面(または前面)、および第1面と異なる(または反対の)第2面(または後面)のうちの一つ以上に付着され得る。例えば、サイニジコンテンツは、振動部材110の第1面(または前面)、および第1面と異なる(または反対の)第2面(または後面)のうちの一つ以上に直接付着され得る。例えば、サイニジコンテンツは紙などの媒体に印刷され得、サイニジコンテンツが印刷された媒体は振動部材110の第1面および第2面のうちの一つ以上に付着され得る。例えば、サイニジコンテンツが振動部材110の第2面に付着されるとき、振動部材110は透明な材質から構成され得る。
本明細書の一実施例による振動部材110は平面構造を有し得る。例えば、振動部材110は四角形の板状構造を有し得る。振動部材110は、第1方向Xに平行な横長、および第1方向Xと交差する第2方向Yに平行な縦長を有し得る。例えば、振動部材110は、横長が縦長よりも相対的に長い長方形を有し得る。しかし、これに限定されず、振動部材110は横長と縦長とが同一である正方形を有することもできる。
振動装置130は、印加される電気信号(またはボイス信号または音響信号)に応じて自ら振動(または変位または駆動)するように構成されるか、または振動部材(または振動板または振動対象物)を振動(または変位または駆動)させるように構成され得る。例えば、振動装置130は、振動構造物、振動器、振動発生素子、振動発生器、音響器、音響素子、音響発生素子、または音響発生器などであり得るが、本明細書の実施例はこれに限定されない。
本明細書の一実施例による振動装置130は、圧電特性を有する圧電物質または電気活性物質を含むことができる。振動装置130は、圧電物質に印加される電気信号(またはボイス信号または音響信号)による圧電物質の振動(または変位または駆動)によって振動部材110を振動(または変位または駆動)させることができる。例えば、振動装置130は、圧電効果(piezoelectric effect)(または圧電特性)によって収縮および/または膨張を交互に繰り返すことによって振動(または変位または駆動)することができる。例えば、振動装置130は、逆圧電効果によって収縮および/または膨張を交互に繰り返すことにより、垂直方向(または厚さ方向)(Z)に振動(または変位または駆動)することができる。
本明細書の一実施例による振動装置130は接着部材120を介して振動部材110の第2面に連結または結合され得る。例えば、接着部材120は振動部材110と振動装置130との間に配置され得る。
本明細書の一実施例による接着部材120は、密着力または接着力に優れた接着層(または粘着層)を含むことができる。例えば、接着部材120は、両面接着テープ、両面接着フォームテープ、両面接着フォームパッド、または粘着シートを含むことができるが、本明細書の実施例はこれに限定されない。例えば、接着部材120が粘着シート(または粘着層)を含むとき、接着部材120は、プラスチック材質などのベース部材なしに、接着層または粘着層のみを含むことができる。
本明細書の一実施例による接着部材120の接着層(または粘着層)は、エポキシ(epoxy)、アクリル(acrylic)、シリコン(silicone)、またはウレタン(urethane)を含むことができるが、本明細書の実施例はこれに限定されない。
本明細書の他の実施例による接着部材120の接着層(または粘着層)は、PSA(pressure sensitive adhesive)、OCA(optically clear adhesive)またはOCR(optically clear resin)を含むことができるが、本明細書の実施例はこれに限定されない。
本明細書の一実施例による音響装置100は、エンクロージャー150および連結部材140をさらに含むことができる。
エンクロージャー150は、振動部材110および振動装置130を覆うように振動部材110の後面に配置され得る。エンクロージャー150は振動装置130を収容するための収容空間150sを有し、一側が開口した箱状を有し得る。また、収容空間150sの一側の開口は振動部材110によってカバーされ、収容空間150sおよび振動部材110の間には所定のエアギャップ(air gap)が形成され得る。
本明細書の一実施例によるエンクロージャー150は、金属材質または非金属材質(または複合非金属材質)のうちの1種以上の材質を含むことができるが、本明細書の実施例はこれに限定されない。例えば、エンクロージャー150は、金属、プラスチック、カーボン、および木材のうちの1種以上の材質を含むことができるが、本明細書の実施例はこれに限定されない。例えば、エンクロージャー150は、ハウジング、ケース、外郭ケース、ケース部材、ハウジング部材、キャビネット、密閉部材、密閉キャップ、密閉ボックス、またはサウンドボックスなどであり得るが、本明細書の実施例はこれに限定されない。例えば、エンクロージャー150の収容空間150sは、ギャップ空間、エアギャップ、振動空間、音響空間、振動箱、または密閉空間などであり得るが、本明細書の実施例はこれに限定されない。
本明細書の一実施例によるエンクロージャー150は、振動部材110の振動の際、振動部材110に作用する空気(air)によるインピーダンス成分を一定に維持させることができる。例えば、振動部材110の周辺の空気(air)は振動部材110の振動に抵抗することになり、周波数によって異なる抵抗およびリアクタンス成分を有するインピーダンス成分として作用する。よって、エンクロージャー150は振動装置130を取り囲む密閉空間を構成することにより、空気(air)によって振動部材110に作用するインピーダンス成分(またはエアインピーダンスまたは弾性インピーダンス)を一定に維持させ、これにより振動部材110の振動によって発生する低音域帯の音響特性および/または音圧特性を向上させ、高音域帯音響の音質を向上させることができる。
本明細書の一実施例によるエンクロージャー150は、底部151および側部152を含むことができる。
底部151は振動部材110の後面に配置され得る。例えば、底部151は振動部材110の第2面および振動装置130を覆うように振動部材110の後面に配置され得る。例えば、底部151は、振動部材110の第2面および振動装置130から離隔するように配置され得る。例えば、底部151は、プレート、底部、ハウジングプレート、またはハウジング底部などであり得るが、本明細書の実施例はこれに限定されない。
側部152は底部151の縁端に連結され得る。例えば、側部152は連結部材140に連結され得る。例えば、側部152は底部151の縁端から振動部材110の厚さ方向に平行な第3方向Zに沿ってベンディングされ得る。例えば、側部152は、第1側部~第4側部を含むことができる。例えば、側部152は、側面、側壁部、ハウジング側面、またはハウジング側壁などであり得るが、本明細書の実施例はこれに限定されない。
側部152は底部151と一体化し得る。例えば、底部151および側部152は単一体に一体化し得る。よって、底部151上には側部152によって取り囲まれる収容空間150sが備えられ得る。よって、底部151および側部152は一側が開口した箱状をなし得る。
側部152は連結部材140を介して振動部材110の第2面に連結または結合され得る。例えば、側部152は、連結部材140を介して振動部材110の縁部と連結または結合され得る。例えば、側部152は連結部材140を介して振動部材110の第2面の縁部と連結または結合され得る。
本明細書の一実施例による連結部材140は、両面テープまたは両面フォームテープのうちの一つ以上を含むことができるが、本明細書の実施例はこれに限定されない。
本明細書の一実施例による振動装置130は音響処理回路から提供される振動駆動信号(または音響信号)に応じて振動して振動部材110を振動させることにより、音響を発生させるかまたは出力することができる。
振動部材110が平面構造に構成される場合、音響特性および/音圧特性が低下することを認識した。したがって、本明細書の発明者らは音響特性および/音圧特性を改善するための多様な研究および実験を行った。多様な研究および実験によって音響特性および/音圧特性を改善することができる新しい音響装置を発明した。これについて以下で説明する。
図3は本明細書の他の実施例による図1に示した線A-A’についての他の断面図である。図4は本明細書の他の実施例による分解斜視図である。図5は本明細書の他の実施例による連結部材の拡大図である。
図3~図5を参照すると、本明細書の他の実施例による音響装置100は、振動部材110および振動装置130を含むことができる。振動部材110および振動装置130についての説明は図1および図2で説明した内容と実質的に同一であるので、その説明を省略するかまたは手短にする。
本明細書の他の実施例による振動部材110は非平面構造に構成され得る。例えば、振動部材110は突出部111を含むことができる。例えば、突出部111は振動部材110の末端(または一側)に構成され得る。例えば、突出部111は振動部材110の第2面から突出し得る。例えば、突出部111は振動部材110の外周を取り囲むように形成され得る。突出部111は振動部材110の後面から突出した構成を有し得る。例えば、突出部111および振動部材110は単一体に一体化し得るが、本明細書の実施例はこれに限定されない。
突出部111は振動部材110と同じ材質の物質を含むことができるが、本明細書の実施例はこれに限定されない。突出部111はリブ(rib)などであり得るが、本明細書の実施例はこれに限定されない。
本明細書の他の実施例によれば、非平面構造の振動部材110で構成されるので、振動装置130の音響特性および/または音圧特性を改善することができる。例えば、非平面構造の振動部材110で構成されるので、振動装置130の高音域帯の音響特性および/または音圧特性を改善することができる。例えば、振動部材110に突出部111が構成されるので、振動装置130の高音域帯での音響特性および/または音圧特性を改善することができる。例えば、振動部材110に突出部111が構成されるので、2kHz~4kHzおよび/または6kHzの周波数での音響特性および/または音圧特性を改善することができる。
本明細書の他の実施例による振動部材110は、複数の固有振動数(または固有周波数)を有するように構成され得る。振動部材110は非平面構造を有することにより、複数の固有振動数を有し得る。振動部材110は、領域別に異なる複数の固有振動数を有し得る。例えば、振動部材110は、振動部材110の領域別厚さによって異なる複数の固有振動数を有し得る。
本明細書の他の実施例による音響装置100は、エンクロージャー150および連結部材145を含むことができる。エンクロージャー150についての説明は図1および図2で説明した内容と実質的に同一であるので、その説明を省略するかまたは手短にする。
本明細書の実施例による連結部材は振動部材110とエンクロージャー150との間に配置され得る。連結部材によって振動部材110とエンクロージャー150との間の物理的接触(または摩擦)が発生するので、振動部材110とエンクロージャー150との間の物理的接触(または摩擦)による騷音(またはノイズ)が発生する問題点がある。よって、中音域帯および/または高音域帯の周波数でピークおよび/またはディップ現象が現れることを認識した。ピークは特定の周波数で音圧が急に上がる現象であり得る。ディップは特定の周波数の発生が抑制されて低い音圧が発生する現象であり得る。ピークおよび/またはディップ現象によって音響装置100の音響出力特性が低下することがある。よって、本明細書の発明者らは音響装置100の音響出力特性を向上させることができる多様な研究および実験を行った。多様な研究および実験によって、音響装置100の音響出力特性を向上させることができる新しい音響装置を発明した。これについては以下で説明する。
本明細書の実施例による連結部材145は、振動部材110とエンクロージャー150との間の振動を吸収することができ、有効振動面積を増やすことができる構造を適用することができる。例えば、振動部材110とエンクロージャー150との間の連結部材で発生する音波を調節または制御することができずに戻る音波の補強および相殺の現象が発生する。これにより、中音域帯および/または高音域帯の周波数でピークおよび/またはディップ現象が発生する。したがって、本明細書の実施例による連結部材145は、振動部材110とエンクロージャー150との間の連結部材で発生する音波を調節するかまたは制御することができる。
図5を参照すると、本明細書の実施例による連結部材145は、エンクロージャー150と振動部材110との間に配置され得る。例えば、エンクロージャー150と振動部材110との間に配置された連結部材145は、振動部材110の振動がエンクロージャー150に伝達されることを最小化するかまたは防止するように構成され得る。連結部材145は振動の遮断に適した材料特性を有し得る。例えば、連結部材145は、振動吸収(または衝撃吸収)のために弾性を有する材質を含むことができる。例えば、連結部材145は弾性を有する可撓性材料で構成され得る。本明細書の実施例による連結部材145は、ポリウレタン(polyurethane)、ポリオレフィン(polyolefin)、またはシリコン(silicone)材質で構成され得るが、本明細書の実施例はこれに限定されない。本明細書の実施例による連結部材145は、両面ポリウレタン(polyurethane)テープ、両面ポリウレタンフォームテープ、両面ゴム(rubber)、または両面スポンジ(sponge)テープのうちの1種以上を含むことができるが、本明細書の実施例はこれに限定されない。
本明細書の実施例による連結部材145は振動部材110の縁部を移動可能に支持することができる。連結部材145は連結部を含むことができる。連結部は、第1連結部145c1および第2連結部145c2を含むことができる。例えば、連結部材145は、振動部材110の縁部を支持する第1連結部145c1を含むことができる。例えば、連結部材145は、振動部材110の縁部を支持する第2連結部145c2を含むことができる。例えば、第1連結部145c1は第1支持部であり得るが、本明細書の実施例はこれに限定されない。例えば、第2連結部145c2は第2支持部であり得るが、本明細書の実施例はこれに限定されない。
本明細書の実施例による振動部材110は、連結部材145と連結された突出部111を含むことができる。例えば、振動部材110は、第1連結部145c1および突出部111を含むことができる。例えば、エンクロージャー150は第2連結部145c2および側部152を含むことができる。例えば、連結部材145は振動部材110の突出部111とエンクロージャー150の側部152との間に配置され得る。例えば、連結部材145は、エンクロージャー150の側部152の一端(または一側)と突出部111の一端(または一側)とを連結するかまたは結合することができる。
第1連結部145c1は振動部材110と連結され得る。例えば、第1連結部145c1は振動部材110の突出部111と連結され得る。第2連結部145c2はエンクロージャー150と連結され得る。例えば、第2連結部145c2はエンクロージャー150の側部152と連結され得る。例えば、第1連結部145c1および第2連結部145c2は弾性を有する材質で構成され得る。例えば、第1連結部145c1および第2連結部145c2は、シリコン(silicone)、ゴム、またはポリウレタン(polyurethane)などの材質で構成され得るが、本明細書の実施例はこれに限定されない。
本明細書の実施例による連結部材145は収容空間を含むことができる。例えば、収容空間は、第1収容空間145s1および第2収容空間145s2を含むことができる。本明細書の実施例による連結部材145は溝を含むことができる。例えば、溝は、第1溝145g1および第2溝145g2を含むことができる。
本明細書の実施例による第1連結部145c1は第1収容空間145s1を含むことができる。例えば、第1収容空間145s1は突出部111を収容することができる。第1連結部145c1は第1収容空間145s1に連結された第1溝145g1を含むことができる。突出部111は第1連結部145c1の第1溝145g1に収容され得る。例えば、第1収容空間145s1は内部空間または収容部であり得るが、本明細書の実施例はこれに限定されない。例えば、第1溝145g1は、第1ホール、収容溝、または収容ホールであり得るが、本明細書の実施例はこれに限定されない。
本明細書の実施例による第2連結部145c2は第2収容空間145s2を含むことができる。例えば、第2収容空間145s2は側部152を収容することができる。第2連結部145c2は、第2収容空間145s2に連結された第2溝145g2を含むことができる。エンクロージャー150の側部152は第2連結部145c2の第2溝145g2に収容され得る。例えば、第2収容空間145s2は内部空間または収容部であり得るが、本明細書の実施例はこれに限定されない。例えば、第2溝145g2は、第2ホール、収容溝、または収容ホールであり得るが、本明細書の実施例はこれに限定されない。
例えば、連結部材145はベース部145cを含むことができる。ベース部145cは第1連結部145c1と第2連結部145c2との間に備えられ得る。例えば、ベース部145cは第1連結部145c1と第2連結部145c2とを連結することができる。
本明細書の他の実施例による連結部材145は、振動部材110の振動がエンクロージャー150に伝達されることを最小化するかまたは防止することができる厚さを有し得る。連結部材145は厚さおよび弾性によって振動部材110の振動を吸収することにより、振動部材110の振動がエンクロージャー150に伝達されることを最小化するかまたは防止することができる。また、連結部材145は振動部材110とエンクロージャー150との間の物理的接触(または摩擦)を防止し、これにより振動部材110とエンクロージャー150との間の物理的接触(または摩擦)による騷音(またはノイズ)の発生を防止することができる。例えば、連結部材145は、弾性部材、可撓性部材、ダンピング部材、振動吸収部材、または振動遮断部材などであり得るが、本明細書の実施例はこれに限定されない。
図3および図4を参照すると、本明細書の他の実施例によるエンクロージャー150は一つ以上のパターンPTをさらに含むことができる。例えば、一つ以上のパターンPTは底部151に配置され得る。
一つ以上のパターンPTは、音響装置内のギャップ空間の空気圧を減少させるために、エンクロージャー150の所定の領域に配置され得る。例えば、一つ以上のパターンPTは一定の間隔で配置され得る。一つ以上のパターンPTは振動装置130のサイズに対応して構成され得る。一つ以上のパターンPTは振動装置130と重畳し得る。例えば、一つ以上のパターンPTは振動装置130のサイズよりも小さくてもよい。例えば、振動装置130が配置された領域から振動装置130が配置されなかった領域に行くほど互いに異なるように一つ以上のパターンPTが配置され得る。例えば、エンクロージャー150の一つ以上のパターンPTは振動装置130の中央から縁部に行くほど変わるように配置され得る。一つ以上のパターンPTは同じ間隔で配置され得るが、本明細書の実施例はこれに限定されない。例えば、一つ以上のパターンPTは振動装置130の中心から縁部に行くほど互いに異なる間隔で形成され得る。例えば、一つ以上のパターンPTは振動装置130の中心から縁部に行くほど狭い間隔または広い間隔で形成され得る。例えば、一つ以上のパターンPTは、溝、ホール、またはスリットであり得るが、本明細書の実施例はこれに限定されない。
本明細書の実施例によれば、エンクロージャー150の一つ以上のパターンPTは、ギャップ空間の空気圧を減少させることによって低音域帯の帯域を拡張させることができるので、低音域帯の音響特性を改善することができる。例えば、ギャップ空間の圧力(または空気圧)が一つ以上のパターンPTによって低下することにより、振動部材110とエンクロージャー150との間に配置された振動装置130の変位量(または曲げ力)が増加することができ、これにより低音域帯の帯域が拡張することができ、低音域帯の音響特性および/または音圧特性が向上することができる。エンクロージャー150に一つ以上のパターンPTが配置されない場合は、振動装置130の振動によって発生する音波(sound wave)または音響によってギャップ空間内の空気圧が高くなって低音域帯の音響特性が低下することがある。
本明細書の実施例によれば、エンクロージャー150に一つ以上のパターンPTを構成することで、振動装置130の振動によって音波または音響が発生しても一つ以上のパターンPTを通して空気が排出されることができるので、ギャップ空間の空気圧が低くなることができる。これにより、低音域帯の帯域を拡張させることができるので、低音域帯の音響特性を改善することができる。
図4を参照すると、本明細書の実施例による連結部材145は開口部OPを含むことができる。開口部OPは信号ケーブル132が通過することができる。振動部材110とエンクロージャー150との間の部分のうち開口部OPを除いた残りの部分の連結部材145はシーリングされ得る。
本明細書の実施例による振動装置130は音響処理回路から提供される振動駆動信号(または音響信号)に応じて振動して振動部材110を振動させることにより、音響を発生させるかまたは出力することができる。非平面構造を有する振動部材110の振動によって発生する音響は、振動部材110の多様な固有振動数を有する振動によって音圧特性が増加し、再生音域帯域が拡張することができる。
本明細書の実施例による音響装置100の振動部材110は突出部111をさらに含むことにより、音響装置100の音響出力特性を改善することができ、ピークおよび/またはディップ現象を改善することができ、音響特性をより向上させることができる。ピークは特定の周波数で音圧が急に上がる現象であり得る。ディップは特定の周波数の発生が抑制されて低い音圧が発生する現象であり得る。ピークおよび/またはディップ現象によって音響装置100の音響出力特性が低下することがある。本明細書の他の実施例によれば、振動部材110に突出部111が構成されることにより、高音域帯でのピークおよび/またはディップ現象が改善されるので、高音域帯での音響特性および/または音圧特性がより改善することができる。低音域帯は500Hz以下の周波数範囲であり得、中音域帯は500Hz~2kHzの周波数範囲であり得、高音域帯は2kHz~20kHzの周波数範囲であり得る。低音域帯、中音域帯、および高音域帯の周波数範囲が本明細書の内容を限定するものではない。
本明細書の実施例による連結部材145は振動部材110の振動を吸収することにより、振動部材110の振動がエンクロージャー150に伝達されることを最小化するかまたは防止することができる。本明細書の実施例による連結部材145は振動部材110とエンクロージャー150との間の振動を吸収することができ、有効振動面積を増やすことができるので、中低音域帯および/または高音域帯の周波数でピークおよび/またはディップ現象を最小化するかまたは防止することができる。本明細書の実施例による連結部材145は振動部材110の縁部で移動可能に支持するので、中低音域帯および/または高音域帯の周波数でピークおよび/またはディップ現象を最小化するかまたは防止することができる。
図6は本明細書の一実施例による振動素子を示す図である。図7は図6に示した線B-B’についての断面図である。
図6および図7を参照すると、本明細書の一実施例による振動装置130は一つ以上の振動素子131を含むことができる。
本明細書の一実施例による一つ以上の振動素子131は、第1方向Xに平行な第1長さ、および第1方向Xと交差する第2方向Yに平行な第2長さを有する四角形を有し得る。例えば、一つ以上の振動素子131は、第1長さと第2長さとが同一である正方形を有し得る。しかし、これに限定されず、一つ以上の振動素子131は、第1長さおよび第2長さのいずれか一方が他方よりも大きい長方形、非方形、円形、または楕円形を有し得る。
本明細書の一実施例による振動素子131は、振動部131a、第1電極部131b、および第2電極部131cを含むことができる。
振動部131aは圧電効果を有する圧電物質または電気活性物質を含むことができる。例えば、圧電物質は、外力によって結晶構造に圧力またはねじれ現象が作用して、陽(+)イオンと陰(-)イオンの相対的な位置変化による誘電分極によって電位差が発生し、反対に印加される電圧による電界によって振動が発生する特性を有し得る。振動部131aは、振動層、圧電層、圧電物質層、電気活性層、圧電物質部、電気活性部、圧電構造物、圧電複合層、圧電複合体、または圧電セラミック複合体などであり得るが、本明細書の実施例はこれに限定されない。振動部131aは、透明、半透明、または不透明圧電物質からなり得るので、振動部131aは、透明、透明、または不透明であり得る。
振動部131aは無機物質部で構成され得る。無機物質部は圧電効果を含む圧電物質、複合圧電物質、または電気活性物質を含むことができる。
本明細書の一実施例による振動部131aは相対的に高い振動の具現が可能なセラミック系の物質からなるかペロブスカイト(perovskite)系の結晶構造を有する圧電セラミックからなり得る。ペロブスカイト結晶構造は圧電および逆圧電効果を有し、配向性を有する板状の構造を有し得る。ペロブスカイト結晶構造はABOの化学式で表現され、Aサイトは2価の金属元素からなり、Bサイトは4価の金属元素からなり得る。本明細書の実施例として、ABOの化学式で、AサイトおよびBサイトはカチオン(cations)であることができ、Oはアニオン(anions)であり得る。例えば、複数の第1部分131a1のそれぞれは、PbTiO、PbZrO、PbZrTiO、BaTiO、およびSrTiOのうちの少なくとも1種以上を含むことができるが、本明細書の実施例はこれに限定されるものではない。
圧電セラミックは単結晶構造を有する単結晶セラミックで構成され得るかまたは多結晶構造を有するセラミック物質または多結晶セラミックで構成され得る。単結晶セラミックの圧電物質は、α-AlPO、α-SiO、LiNbO、Tb(MoO、Li、またはZnOを含むことができるが、本明細書の実施例はこれに限定されない。多結晶セラミックの圧電物質は、鉛(Pb)、ジルコニウム(Zr)、およびチタン(Ti)を含むPZT(lead zirconate titanate)系物質、または鉛(Pb)、ジルコニウム(Zr)、ニッケル(Ni)、およびニオビウム(Nb)を含むPZNN(lead zirconate nickel niobate)系物質を含むことができるが、本明細書の実施例はこれに限定されない。
他の例によれば、振動部131aは、鉛(Pb)を含まないCaTiO、BaTiO、およびSrTiOのうちの少なくとも1種以上を含むことができるが、本明細書の実施例はこれに限定されない。
第1電極部131bは振動部131aの第1面(または上面)に配置され得る。第1電極部131bは複数の第1部分131a1のそれぞれの第1面および複数の第2部分131a2のそれぞれの第1面に共通して配置または結合され得るし、複数の第1部分131a1のそれぞれの第1面と電気的に連結され得る。例えば、第1電極部131bは振動部131aの第1面全体に配置された全電極の形態を有し得る。例えば、第1電極部131bは振動部131aと実質的に同じ形態を有し得るが、本明細書の実施例はこれに限定されない。
本明細書の一実施例による第1電極部131bは、透明導電性物質、半透明導電性物質、または不透明導電性物質からなり得る。例えば、透明または半透明導電性物質は、ITO(indium tin oxide)またはIZO(indium zinc oxide)を含むことができるが、本明細書の実施例はこれに限定されない。不透明導電性物質は、金(Au)、銀(Ag)、白金(Pt)、パラジウム(Pd)、モリブデン(Mo)、マグネシウム(Mg)、カーボン(carbon)、またはガラスフリット(glass frit)を含む銀(Ag)などを含むかまたはこれらの合金からなり得るが、本明細書の実施例はこれに限定されない。例えば、第1電極部131bは、振動部131aの電気的特性および/または振動特性を向上させるために、比抵抗の低い銀(Ag)を含むことができる。例えば、カーボンはカーボンブラック(carbon black)、ケッチェンブラック(ketjen black)、カーボンナノチューブ、およびグラファイトを含む炭素材料であり得るが、本明細書の実施例はこれに限定されない。
第2電極部131cは振動部131aの第1面と異なる(または反対の)第2面(または背面)上に配置され得る。第2電極部131cは複数の第1部分131a1のそれぞれの第2面および複数の第2部分131a2のそれぞれの第2面に共通して配置または結合され得、複数の第1部分131a1のそれぞれの第2面と電気的に連結され得る。例えば、第2電極部131cは振動部131aの第2面の全体に配置された全電極の形態を有し得る。例えば、第2電極部131cは振動部131aと同じ形態を有し得るが、本明細書の実施例はこれに限定されない。本明細書の一実施例による第2電極部131cは、透明導電性物質、半透明導電性物質、または不透明導電性物質からなり得る。例えば、第2電極部131cは第1電極部131bと同じ物質からなり得るが、本明細書の実施例はこれに限定されない。他の例によれば、第2電極部131cは第1電極部131bと異なる物質で構成され得る。
振動部131aは一定の温度雰囲気または高温から常温に変化する温度雰囲気で第1電極部131bおよび第2電極部131cに印加される一定の電圧によって分極化(またはポーリング)し得るが、本明細書の実施例はこれに限定されない。例えば、振動部131aは、外部から第1電極部131bおよび第2電極部131cに印加される音響信号(またはボイス信号)による逆圧電効果によって収縮および/または膨張を交互に繰り返すことによって振動することができる。例えば、振動部131aは第1電極部131bおよび第2電極部131cによる垂直方向の振動および平面方向の振動によって振動することができる。振動部131aの平面方向の収縮および/または膨張によって振動部材(または振動板または振動対象物)の変位(または振動または駆動)を増加させることができ、これにより振動装置の振動特性をより向上させることができる。
本明細書の一実施例による振動素子131は、第1カバー部材131dおよび第2カバー部材131eをさらに含むことができる。
第1カバー部材131dは振動素子131の第1面に配置され得る。例えば、第1カバー部材131dは第1電極部131bを覆うように構成され得る。よって、第1カバー部材131dは第1電極部131bを保護することができる。
第2カバー部材131eは振動素子131の第2面に配置され得る。例えば、第2カバー部材131eは第2電極部131cを覆うように構成され得る。よって、第2カバー部材131eは第2電極部131cを保護することができる。
本明細書の一実施例による第1カバー部材131dおよび第2カバー部材131eのそれぞれは、プラスチック、繊維、カーボン、および木材のうちの一つ以上の材質を含むことができるが、本明細書の実施例はこれに限定されない。例えば、第1カバー部材131dおよび第2カバー部材131eのそれぞれは同一であるかまたは相異なる材質を含むことができる。例えば、第1カバー部材131dおよび第2カバー部材131eのそれぞれは、ポリイミド(polyimide)フィルムまたはポリエチレンテレフタレート(polyethylene terephthalate)フィルムであり得るが、本明細書の実施例はこれに限定されない。
本明細書の一実施例による第1カバー部材131dは第1接着層131fを介して第1電極部131bに連結または結合され得る。例えば、第1カバー部材131dは第1接着層131fを介して行われるフィルムラミネーティング工程によって第1電極部131bに連結または結合され得る。
本明細書の一実施例による第2カバー部材131eは第2接着層131gを介して第2電極部131cに連結または結合され得る。例えば、第2カバー部材131eは第2接着層131gを介して行われるフィルムラミネーティング工程によって第2電極部131cに連結または結合され得る。
第1接着層131fは第1電極部131bと第1カバー部材131dとの間に配置され得る。第2接着層131gは第2電極部131cと第2カバー部材131eとの間に配置され得る。例えば、第1接着層131fおよび第2接着層131gは、振動部131aと第1電極部131bおよび第2電極部131cを完全に包むように、第1カバー部材131dと第2カバー部材131eとの間に構成され得る。例えば、振動部131aと第1電極部131bおよび第2電極部131cは第1接着層131fと第2接着層131gとの間に埋め込まれ得るかまたは内蔵され得る。
本明細書の実施例による第1接着層131fおよび第2接着層131gのそれぞれは接着性を有しながら圧縮および復元が可能である電気絶縁物質を含むことができる。例えば、第1接着層131fおよび第2接着層131gのそれぞれは、エポキシ(epoxy)樹脂、アクリル(acrylic)樹脂、シリコン(silicone)樹脂、またはウレタン(urethane)樹脂を含むことができるが、本明細書の実施例はこれに限定されない。
第1カバー部材131dおよび第2カバー部材131eのいずれか一方は接着部材を介して振動部材(または振動板または振動対象物)に付着または結合(または連結)され得る。
本明細書の一実施例によれば、第1カバー部材131dおよび第2カバー部材131eのうちのいずれか一方は接着部材を介して振動部材(または振動板または振動対象物)に付着または結合(または連結)され得る。例えば、第1カバー部材131dおよび第2カバー部材131eのうちのいずれか一方は、図1および図2を参照して説明したように、接着部材120を介して振動部材110に付着または結合(または連結)され得る。
本明細書の一実施例による振動素子131は、第1電源供給ラインPL1、第2電源供給ラインPL2、およびパッド部131pをさらに含むことができる。
第1電源供給ラインPL1は第1カバー部材131dに配置され得る。例えば、第1電源供給ラインPL1は第1電極部131bと第1カバー部材131dとの間に配置され、第1電極部131bと電気的に連結され得る。第1電源供給ラインPL1は第2方向Yに沿って長く延び、第1電極部131bの中央部分と電気的に連結され得る。一実施例として、第1電源供給ラインPL1は異方性導電フィルムを介して第1電極部131bと電気的に連結され得る。他の実施例として、第1電源供給ラインPL1は第1接着層131fに含有された導電性物質(または粒子)を介して第1電極部131bと電気的に連結され得る。
第2電源供給ラインPL2は第2カバー部材131eに配置され得る。例えば、第2電源供給ラインPL2は第2電極部131cと第2カバー部材131eとの間に配置され、第2電極部131cと電気的に連結され得る。第2電源供給ラインPL2は第2方向Yに沿って長く延び、第2電極部131cの中央部分と電気的に連結され得る。一実施例として、第2電源供給ラインPL2は異方性導電フィルムを介して第2電極部131cと電気的に連結され得る。他の実施例として、第2電源供給ラインPL2は第2接着層131gに含有された導電性物質(または粒子)を介して第2電極部131cと電気的に連結され得る。
本明細書の一実施例によれば、第1電源供給ラインPL1は第2電源供給ラインPL2と重畳しないように配置され得る。第1電源供給ラインPL1が第2電源供給ラインPL2と重畳しないように配置される場合、第1電源供給ラインPL1と第2電源供給ラインPL2との間の短絡不良の問題点を改善することができる。
パッド部131pは第1電源供給ラインPL1および第2電源供給ラインPL2に電気的に連結され得る。例えば、パッド部131pは、第1電源供給ラインPL1および第2電源供給ラインPL2のそれぞれの一側(または一端)と電気的に連結されるように、第1カバー部材131dおよび第2カバー部材131eのいずれか一方の一側縁部に構成され得る。
本明細書の一実施例によるパッド部131pは、第1電源供給ラインPL1の一端(または一側)と電気的に連結された第1パッド電極、および第2電源供給ラインPL2の一端(または一側)と電気的に連結された第2パッド電極を含むことができる。
第1パッド電極は第1カバー部材131dおよび第2カバー部材131eのいずれか一方の一側縁部に配置され、第1電源供給ラインPL1の一端(または一側)に連結され得る。例えば、第1パッド電極は第1カバー部材131dおよび第2カバー部材131eのうちのいずれか一方を貫通して第1電源供給ラインPL1の一端(または一側)と電気的に連結され得る。
第2パッド電極は第1パッド電極に平行に配置され、第2電源供給ラインPL2の一端(または一側)に連結され得る。例えば、第2パッド電極は第1カバー部材131dおよび第2カバー部材131eのうちのいずれか一方を貫通して第2電源供給ラインPL2の一端(または一側)と電気的に連結され得る。
本明細書の一実施例によれば、第1電源供給ラインPL1、第2電源供給ラインPL2、およびパッド部131pのそれぞれは、透明、半透明、または不透明に構成され得る。
本明細書の一実施例によるパッド部131pは信号ケーブル132と電気的に連結され得る。
信号ケーブル132は振動素子131に配置されたパッド部131pと電気的に連結され、音響処理回路から提供される振動駆動信号(または音響信号またはボイス信号)を振動素子131に供給することができる。本明細書の一実施例による信号ケーブル132は、パッド部131pの第1パッド電極と電気的に連結された第1端子、およびパッド部131pの第2パッド電極と電気的に連結された第2端子を含むことができる。例えば、信号ケーブル132は、フレキシブルプリント回路ケーブル、フレキシブルフラットケーブル、片面フレキシブルプリント回路、片面フレキシブルプリント回路ボード、フレキシブル多層プリント回路、またはフレキシブル多層プリント回路ボードで構成され得るが、本明細書の実施例はこれに限定されない。
音響処理回路は、外部の音響データ生成回路部から提供される音響データに基づいて第1振動駆動信号および第2振動駆動信号を含む交流形態の振動駆動信号を生成することができる。第1振動駆動信号は正極性(+)の振動駆動信号および負極性(-)の振動駆動信号のうちのいずれか一つであり、第2振動駆動信号は正極性(+)の振動駆動信号および負極性(-)の振動駆動信号のうちのいずれか一つであり得る。例えば、第1振動駆動信号は、信号ケーブル132の第1端子とパッド部131pの第1パッド電極および第1電源供給ラインPL1を介して第1電極部131bに供給され得る。第2振動駆動信号は、信号ケーブル132の第2端子とパッド部131pの第2パッド電極および第2電源供給ラインPL2を介して第2電極部131cに供給され得る。
本明細書の一実施例によれば、信号ケーブル132は、透明、半透明、または不透明に構成され得る。
本明細書の一実施例による振動素子131は、圧電特性を有する第1部分131a1とフレキシビリティーを有する第2部分131a2とが交互に繰り返して連結されることによって薄フィルム状に具現され得る。これにより、振動部材または振動対象物の形状に対応する形状に撓うことができる。例えば、振動素子131は、接着部材120を介して多様な曲面部を含む振動部材に連結されるかまたは結合されるとき、振動部材110の曲面部の形状に沿って曲面形状に撓うことができ、曲面形状に撓っても損傷または破損などの信頼性が低下しない。
図8は本明細書の他の実施例による振動部を示す斜視図である。
本明細書の一実施例による振動部131aは、複数の第1部分131a1および複数の第2部分131a2を含むことができる。例えば、複数の第1部分131a1および複数の第2部分131a2は第1方向X(または第2方向Y)に沿って交互に繰り返して配置され得る。例えば、第1方向Xは振動部131aの横方向であり得、第2方向Yは第1方向Xと交差する振動部131aの縦方向であり得るが、本明細書の実施例はこれに限定されない。例えば、第1方向Xは振動部131aの縦方向であり得、第2方向Yは振動部131aの横方向であり得る。
本明細書の他の実施例による一つ以上の振動素子131は柔軟性を有するように構成され得る。例えば、一つ以上の振動素子131は曲面を含む非平面形状に撓うように構成され得る。よって、本明細書の一実施例による一つ以上の振動素子131は、フレキシブル振動構造物、フレキシブル振動器、フレキシブル振動発生素子、フレキシブル振動発生器、フレキシブル音響器、フレキシブル音響素子、フレキシブル音響発生素子、フレキシブル音響発生器、フレキシブルアクチュエーター、フレキシブルスピーカー、フレキシブル圧電スピーカー、フィルムアクチュエーター、フィルム型圧電複合体アクチュエーター、フィルムスピーカー、フィルム型圧電スピーカー、またはフィルム型圧電複合体スピーカーであり得るが、本明細書の実施例はこれに限定されない。
複数の第1部分131a1のそれぞれは無機物質部で構成され得る。無機物質部は、圧電効果を有する圧電物質、複合圧電物質、または電気活性物質を含むことができる。
複数の第1部分131a1のそれぞれは相対的に高い振動の具現が可能なセラミック系物質で構成されるかまたはペロブスカイト(perovskite)系結晶構造を有する圧電セラミックで構成され得る。ペロブスカイト結晶構造は圧電および逆圧電効果を有し、配向性を有する板状の構造であり得る。ペロブスカイト結晶構造はABOの化学式で表現され、Aサイトは2価の金属元素からなり得、Bサイトは4価の金属元素からなり得る。本明細書の一実施例として、ABOの化学式で、AサイトおよびBサイトはカチオン(cations)であり得、Oはアニオン(anions)であり得る。例えば、複数の第1部分131a1のそれぞれは、PbTiO、PbZrO、PbZrTiO、BaTiO、およびSrTiOのうちの少なくとも1種以上を含むことができるが、本明細書の実施例はこれに限定されない。
圧電セラミックは、単結晶構造を有する単結晶セラミックで構成され得るかまたは多結晶構造を有するセラミック物質または多結晶セラミックで構成され得る。単結晶セラミックの圧電物質は、α-AlPO、α-SiO、LiNbO、Tb(MoO、Li、またはZnOを含むことができるが、本明細書の実施例はこれに限定されない。多結晶セラミックの圧電物質は、鉛(Pb)、ジルコニウム(Zr)、およびチタン(Ti)を含むPZT(lead zirconate titanate)系物質、または鉛(Pb)、ジルコニウム(Zr)ニッケル(Ni)、およびニオビウム(Nb)を含むPZNN(lead zirconate nickel niobate)系物質を含むことができるが、本明細書の実施例はこれに限定されない。
他の例によれば、振動部131aは、鉛(Pb)を含まないCaTiO、BaTiO、およびSrTiOのうちの少なくとも1種以上を含むことができるが、本明細書の実施例はこれに限定されない。
本明細書の一実施例による複数の第1部分131a1のそれぞれは複数の第2部分131a2の間に配置され、第1方向X(または第2方向Y)に平行な第1幅W1を有しながら第2方向Y(または第1方向X)に平行な長さを有し得る。複数の第2部分131aのそれぞれは第1方向X(または第2方向Y)に平行な第2幅W2を有しながら第2方向Y(または第1方向X)に平行な長さを有し得る。第1幅W1は第2幅W2と同一であっても異なってもよい。例えば、第1幅W1は第2幅W2よりも大きくてもよい。例えば、第1部分131a1と第2部分131a2とは互いに同じか異なるサイズを有するライン形またはストライプ形を有し得る。よって、振動部131aは2-2振動モードの圧電特性を有する2-2複合体(composite)構造を有することによって20kHz以下の共振周波数を有し得るが、本明細書の実施例はこれに限定されない。例えば、振動部131aの共振周波数は、形態、長さ、および厚さなどの少なくとも一つ以上によって変更され得る。
振動部131aで、複数の第1部分131a1および複数の第2部分131a2のそれぞれは同一平面(または同一層)に互いに平行に配置(または配列)され得る。複数の第2部分131a2のそれぞれは隣接した2個の第1部分131a1の間のギャップを満たすように構成されることにより、隣接した第1部分131a1と連結または接着され得る。よって、振動部131aは第1部分131a1と第2部分131a2との側面結合(または連結)によって所望のサイズまたは長さに拡張することができる。
振動部131aで、複数の第2部分131a2のそれぞれの幅W2は振動部131aまたは振動素子131の中間部分から両縁部(または両端)側に行くほど次第に減少し得る。
本明細書の一実施例によれば、複数の第2部分131a2のうち最大の幅W2を有する第2部分131a2は、振動部131aまたは振動素子131が上下方向Z(または厚さ方向)に振動するとき、最大の応力が集中する部分に位置し得る。複数の第2部分131a2のうち最小の幅W2を有する第2部分131a2は、振動部131aまたは振動素子131が上下方向Zに振動するとき、相対的に最小の応力が発生する部分に位置し得る。例えば、複数の第2部分131a2のうち最大の幅W2を有する第2部分131a2は振動部131aの中間部分に配置され、複数の第2部分131a2のうち最小の幅W2を有する第2部分131a2は振動部131aの両縁部に配置され得る。よって、振動部131aまたは振動素子131が上下方向Zに振動するとき、最大の応力が集中する部分で発生する音波の干渉または共振周波数の重畳が最小化することができ、これにより低音域帯で発生する音圧低下(dip)現象を改善することができ、低音域帯で音響特性の平坦度を改善することができる。
振動部131aで、複数の第1部分131a1のそれぞれは互いに異なるサイズ(または広さ)を有し得る。例えば、複数の第1部分131a1のそれぞれのサイズ(または広さ)は振動部131aまたは振動素子131の中間部分から両縁部(または両端)側に行くほど次第に減少または増加し得る。よって、振動部131aは互いに異なるサイズを有する複数の第1部分131a1のそれぞれの振動による多様な固有振動周波数によって音響の音圧特性が向上することができ、音響の再生帯域が拡張することができる。
複数の第2部分131a2のそれぞれは複数の第1部分131a1の間に配置され得る。よって、振動部131aまたは振動素子131は、第2部分131a2によって第1部分131a1の単位格子内のリンクによる振動エネルギーが増加することができるので、振動特性が増加することができ、圧電特性および柔軟性を確保することができる。例えば、第2部分131a2は、エポキシ(epoxy)系ポリマー、アクリル(acrylic)系ポリマー、およびシリコン(silicone)系ポリマーのうちの1種以上であり得るが、本明細書の実施例はこれに限定されない。
本明細書の一実施例による複数の第2部分131a2のそれぞれは有機物質部で構成され得る。例えば、有機物質部は無機物質部の間ごとに配置されることにより、無機物質部(または第1部分)に印加される衝撃を吸収することができ、無機物質部に集中するストレス(stress)をリリース(releasing)して振動部131aまたは振動素子131の耐久性を向上させることができ、振動部131aまたは振動素子131に柔軟性を提供することができる。
本明細書の一実施例による第2部分131a2は第1部分131a1に比べて低いモジュラス(modulus)および粘弾性を有することができ、よって第1部分131a1の脆性特性によって衝撃に脆弱な第1部分131a1の信頼性を向上させることができる。例えば、第2部分131a2は、0.01~1の損失係数および0.1~10GPa(GigaPascal)モジュラス(またはヤング率)を有する物質で構成され得る。
第2部分131a2に構成される有機物質部は、第1部分131a1である無機物質部に比べて柔軟な特性を有する有機物質、有機ポリマー、有機圧電物質、または有機非圧電物質を含むことができる。例えば、第2部分131a2は、柔軟性を有する接着部、伸縮部、ベンディング部、ダンピング部、または可撓性部などであり得るが、本明細書の実施例はこれに限定されない。
本明細書の一実施例による振動部131aは、複数の第1部分131a1および第2部分131a2が同一平面に配置(または連結)されることにより、単一の薄フィルム状を有することができる。例えば、振動部131aの複数の第1部分131a1が一側に連結された構造を有し得る。例えば、複数の第1部分131a1は振動部131aの全体にわたって連結された構造を有し得る。例えば、振動部131aは、振動特性を有する第1部分131a1によって振動部材110を基準に上下方向に振動することができ、柔軟性を有する第2部分131a2によって曲面形態に撓うことができる。また、本明細書の一実施例による振動部131aで、第1部分131a1のサイズおよび第2部分131a2のサイズは、振動部131aまたは振動素子131に要求される圧電特性および柔軟性によって設定することができる。一例として、柔軟性よりも圧電特性を要求する振動部131aの場合、第1部分131a1のサイズが第2部分131a2のサイズよりも大きく構成され得る。他の例として、圧電特性よりも柔軟性を要求する振動部131aの場合、第2部分131a2のサイズが第1部分131a1のサイズよりも大きく構成され得る。よって、振動部131aのサイズを要求特性によって調節することができるので、振動部131aの設計が容易であるという利点がある。
図8を参照すると、本明細書の他の実施例による振動部131aは、第1方向Xおよび第2方向Yに沿って互いに離隔した複数の第1部分131a1、および複数の第1部分131a1の間に配置された第2部分131a2を含むことができる。
複数の第1部分131a1のそれぞれは第1方向Xおよび第2方向Yのそれぞれに沿って互いに離隔して配置され得る。例えば、複数の第1部分131a1のそれぞれは互いに同じサイズを有する六面体形の格子状に配置され得る。複数の第1部分131a1のそれぞれは図7を参照して説明した第1部分131a1と実質的に同じ物質からなるので、これに対しては同じ図面符号を付与し、これについての重複説明は省略する。
第2部分131a2は第1方向Xおよび第2方向Yのそれぞれに沿って複数の第1部分131a1の間に配置され得る。第2部分131a2は隣接した2個の第1部分131a1の間のギャップを満たすかまたは複数の第1部分131a1のそれぞれを取り囲むように構成されることにより、隣接した第1部分131a1と連結または接着され得る。本明細書の一実施例によれば、第1方向Xに沿って隣接した2個の第1部分131a1の間に配置された第2部分131a2の幅は第1部分131a1の幅と同一であっても異なってもよく、第2方向Yに沿って隣接した2個の第1部分131a1の間に配置された第2部分131a2の幅は第1部分131a1の幅と同一であっても異なってもよい。第2部分131a2は図7を参照して説明した第2部分131a2と実質的に同じ有機物質からなるので、これに対しては同じ図面符号を付与し、これについての重複説明は省略する。
本明細書の他の実施例による振動部131aは1-3振動モードの圧電特性を有する1-3複合体構造を含むことにより、30MHz以下の共振周波数を有することができるが、本明細書の実施例はこれに限定されない。例えば、振動部131aの共振周波数は、形態、長さ、および厚さなどのうちの少なくとも一つ以上によって変更可能である。
本明細書の他の実施例による振動部131aは、複数の第1部分131a1のそれぞれが円形の平面構造を有し得る。例えば、複数の第1部分131a1のそれぞれは円盤状を有し得るが、本明細書の実施例はこれに限定されない。例えば、複数の第1部分131a1のそれぞれは、楕円形、多角形、またはドーナツ形などを含む点形態を有し得る。第1方向Xおよび第2方向Yに沿って互いに離隔した複数の第1部分131a1、および複数の第1部分131a1の間に配置された第2部分131a2を含むことができる。
本明細書の他の実施例による振動部131aは、複数の第1部分131a1のそれぞれが三角形の平面構造を有し得る。例えば、複数の第1部分131a1のそれぞれは三角板状を有し得る。
本明細書の他の実施例によれば、複数の第1部分131a1のうち隣接した4個の第1部分131a1は四角形(または正方形)を成すように隣接して配置され得る。四角形を成す隣接した4個の第1部分131a1のそれぞれの頂点は四角形の中央部(または真中部)に隣接して配置され得る。
本明細書の他の実施例による振動部131aは、複数の第1部分131a1のそれぞれが六角形の平面構造を有し得る。例えば、複数の第1部分131a1のそれぞれは六角板状を有し得る。
本明細書の他の実施例によれば、複数の第1部分131a1のうち隣接した6個の第1部分131a1は六角形(または正六角形)を成すように隣接して配置され得る。六角形を成す隣接した6個の第1部分131a1のそれぞれの頂点は六角形の中央部(または真中部)に隣接して配置され得る。
図9は本明細書の他の実施例による振動素子を示す図である。図10は図9に示した線C-C’についての断面図である。
図9および図10を参照すると、本明細書の他の実施例による振動素子131は、第1および第2振動発生部131-1、131-2を含むことができる。
第1および第2振動発生部131-1、131-2のそれぞれは第1方向Xに沿って互いに離隔し、電気的に分離されて配置され得る。第1および第2振動発生部131-1、131-2のそれぞれは圧電効果によって収縮および/または膨張を交互に繰り返すことによって振動することができる。例えば、第1および第2振動発生部131-1、131-2は、第1方向Xに沿って一定の間隔SD1で配置またはタイリングされ得る。よって、第1および第2振動発生部131-1、131-2がタイリングされた振動素子131は、振動アレイ、振動アレイ部、振動モジュールアレイ部、振動アレイ構造物、タイリング振動アレイ、タイリングアレイモジュール、またはタイリング振動フィルムであり得るが、本明細書の実施例はこれに限定されない。
本明細書の実施例による第1および第2振動発生部131-1、131-2のそれぞれは四角形を有し得る。例えば、第1および第2振動発生部131-1、131-2のそれぞれは5cm以上の幅を有する四角形を有し得る。例えば、第1および第2振動発生部131-1、131-2のそれぞれは5cm×5cm以上のサイズを有する正方形を有し得るが、本明細書の実施例はこれに限定されない。
第1および第2振動発生部131-1、131-2のそれぞれは同一平面上に配置またはタイリングされることにより、振動素子131は相対的に小さいサイズを有する第1および第2振動発生部131-1、131-2のタイリングによって大面積化することができる。
第1および第2振動発生部131-1、131-2のそれぞれは一定の間隔で配置またはタイリングされることにより、独立的に駆動せず、完全な単一体の形態として駆動される単一の振動装置(または単一振動装置)として具現され得る。本明細書の一実施例によれば、第1方向Xを基準に、第1および第2振動発生部131-1、131-2の間の第1離隔距離SD1は0.1mm以上3cm未満であり得るが、本明細書の実施例はこれに限定されない。
本明細書の一実施例によれば、第1および第2振動発生部131-1、131-2のそれぞれは0.1mm以上3cm未満の第1離隔距離(または間隔)SD1を有するように配置またはタイリングされることにより、単一の振動装置として駆動することができ、第1および第2振動発生部131-1、131-2の単一体振動に連動して発生する音響の再生帯域および音響の音圧特性のそれぞれが増加することができる。例えば、第1および第2振動発生部131-1、131-2の単一体振動に連動して発生する音響の再生帯域を増加させ、低音域帯音響、例えば、500Hz以下での音圧特性を増加させるために、第1および第2振動発生部131-1、131-2は0.1mm以上5mm未満の間隔SD1で配置され得る。
本明細書の一実施例によれば、第1および第2振動発生部131-1、131-2が0.1mm未満の間隔SD1でまたは間隔SD1なしに配置されるとき、第1および第2振動発生部131-1、131-2のそれぞれの振動の際、相互間の物理的接触によるクラックの発生または破損によって第1および第2振動発生部131-1、131-2または振動素子131の信頼性が低下することがある。
本明細書の一実施例によれば、第1および第2振動発生部131-1、131-2が3cm以上の間隔SD1で配置されるとき、第1および第2振動発生部131-1、131-2のそれぞれの独立的な振動によって第1および第2振動発生部131-1、131-2が単一の振動装置として駆動しないことがある。よって、第1および第2振動発生部131-1、131-2の振動によって発生する音響の再生帯域および音響の音圧特性が低下することがある。例えば、第1および第2振動発生部131-1、131-2が3cm以上の間隔SD1で配置されるとき、低音域帯、例えば、500Hz以下での音響特性および音圧特性がそれぞれ低下することがある。
本明細書の一実施例によれば、第1および第2振動発生部131-1、131-2が5mmの間隔SD1で配置されるとき、第1および第2振動発生部131-1、131-2のそれぞれが単一の振動装置として駆動しないから、低音域帯、例えば、200Hz以下で音響特性および音圧特性がそれぞれ低下することがある。
本明細書の他の例によれば、第1および第2振動発生部131-1、131-2が1mmの間隔SD1で配置されるとき、第1および第2振動発生部131-1、131-2が単一の振動装置として振動することにより、音響の再生帯域が増加し、低音域帯音響、例えば、500Hz以下での音圧特性が増加することができる。例えば、第1および第2振動発生部131-1、131-2が1mmの間隔SD1で配置されるとき、振動素子131は第1および第2振動発生部131-1、131-2の間の離隔距離が最適化することによって大面積化した振動体として具現され得る。これにより、第1および第2振動発生部131-1、131-2の単一体振動による大面的振動体として駆動することができ、これにより振動素子131の大面的振動に連動して発生する音響の再生帯域および低音域帯での音響特性および/または音圧特性のそれぞれが増加するかまたは向上することができる。
したがって、第1および第2振動発生部131-1、131-2の単一体振動(または単一の振動装置)を具現するために、第1および第2振動発生部131-1、131-2の間の第1離隔距離SD1は0.1mm以上3cm未満に設定することができる。また、第1および第2振動発生部131-1、131-2の単一体振動(または単一の振動装置)を具現しながら低音域帯音響の音圧特性を増加させるために、第1および第2振動発生部131-1、131-2の間の第1離隔距離SD1は0.1mm以上5mm未満に設定することができる。
本明細書の一実施例による第1および第2振動発生部131-1、131-2のそれぞれは、振動部131a、第1電極部131b、および第2電極部131cを含むことができる。
第1および第2振動発生部131-1、131-2のそれぞれの振動部131aは、圧電効果を有する圧電物質または電気活性物質を含むことができる。例えば、第1および第2振動発生部131-1、131-2のそれぞれの振動部131aは図7および図8を参照して説明した振動部131aのうちのいずれか一つと実質的に同一に構成されるので、これに対しては同じ図面符号を付与し、これについての重複説明は省略する。例えば、図9では図8の振動部131aで構成したが、図7の振動部131aとして構成することができる。
本明細書の一実施例によれば、第1および第2振動発生部131-1、131-2のそれぞれは図7および図8を参照して説明した振動部131aのうちのいずれか一つの振動部131aを含むかまたは互いに異なる振動部131aを含むことができる。
第1電極部131bは振動部131aの第1面に配置され、振動部131aの第1面と電気的に連結され得る。これは、図7を参照して説明した第1電極部131bと実質的に同一であるので、これに対しては同じ図面符号を付与し、これについての重複説明は省略する。
第2電極部131cは振動部131aの第2面に配置され、振動部131aの第2面と電気的に連結され得る。これは、図7を参照して説明した第2電極部131cと同一であるので、これに対しては同じ図面符号を付与し、これについての重複説明は省略する。
本明細書の他の実施例による振動素子131は、第1カバー部材131dおよび第2カバー部材131eをさらに含むことができる。
第1カバー部材131dは振動素子131の第1面に配置され得る。例えば、第1カバー部材131dは第1および第2振動発生部131-1、131-2のそれぞれの第1面上に配置された第1電極部131bを覆うことにより、第1および第2振動発生部131-1、131-2のそれぞれの第1面に共通して連結されるかまたは第1および第2振動発生部131-1、131-2のそれぞれの第1面を共通して支持することができる。これにより、第1カバー部材131dは第1および第2振動発生部131-1、131-2のそれぞれの第1面または第1電極部131bを保護することができる。
第2カバー部材131eは振動素子131の第2面に配置され得る。例えば、第2カバー部材131eは第1および第2振動発生部131-1、131-2のそれぞれの第2面上に配置された第2電極部131cを覆うことにより、第1および第2振動発生部131-1、131-2のそれぞれの第2面に共通して連結されるかまたは第1および第2振動発生部131-1、131-2のそれぞれの第2面を共通して支持することができる。これにより、第2カバー部材131eは第1および第2振動発生部131-1、131-2のそれぞれの第2面または第2電極部131cを保護することができる。
本明細書の一実施例による第1カバー部材131dおよび第2カバー部材131eのそれぞれは、プラスチック、繊維、カーボン、および木材のうちの一つ以上の材質を含むことができるが、本明細書の実施例はこれに限定されない。例えば、第1カバー部材131dおよび第2カバー部材131eのそれぞれは同一であるかまたは相異なる材質を含むことができる。例えば、第1カバー部材131dおよび第2カバー部材131eのそれぞれは、ポリイミド(polyimide)フィルムまたはポリエチレンテレフタレート(polyethylene terephthalate)フィルムであり得るが、本明細書の実施例はこれに限定されない。
本明細書の一実施例による第1カバー部材131dは第1接着層131fを介して第1および第2振動発生部131-1、131-2のそれぞれの第1面に配置され得る。例えば、第1カバー部材131dは第1接着層131fを介して行われるフィルムラミネーティング工程によって第1および第2振動発生部131-1、131-2のそれぞれの第1面に直接的に配置され得る。よって、第1および第2振動発生部131-1、131-2のそれぞれは一定の間隔SD1を有するように第1カバー部材131dに一体化(または配置)するかまたはタイリングされ得る。
本明細書の一実施例による第2カバー部材131eは第2接着層131gを介して第1および第2振動発生部131-1、131-2のそれぞれの第2面に配置され得る。例えば、第2カバー部材131eは第2接着層131gを介して行われるフィルムラミネーティング工程によって第1および第2振動発生部131-1、131-2のそれぞれの第2面に直接的に配置され得る。よって、第1および第2振動発生部131-1、131-2のそれぞれは一定の間隔SD1を有するように第2カバー部材131eに一体化(または配置)するかまたはタイリングされ得る。
第1接着層131fは、第1および第2振動発生部131-1、131-2の間、および第1および第2振動発生部131-1、131-2のそれぞれの第1面に配置され得る。例えば、第1接着層131fは第1および第2振動発生部131-1、131-2のそれぞれの第1面と向き合う第1カバー部材131dの後面(または内面)に形成されて第1および第2振動発生部131-1、131-2の間に充填され、第1および第2振動発生部131-1、131-2のそれぞれの第1面と第1カバー部材131dとの間に配置され得る。
第2接着層131gは第1および第2振動発生部131-1、131-2の間、および第1および第2振動発生部131-1、131-2のそれぞれの第2面に配置され得る。例えば、第2接着層131gは第1および第2振動発生部131-1、131-2のそれぞれの第2面と向き合う第2カバー部材131eの前面(または内面)に形成されて第1および第2振動発生部131-1、131-2の間に充填され、第1および第2振動発生部131-1、131-2のそれぞれの第2面と第2カバー部材131eとの間に配置され得る。
第1および第2接着層131f、131gは第1および第2振動発生部131-1、131-2の間で互いに連結または結合され得る。よって、第1および第2振動発生部131-1、131-2のそれぞれは第1および第2接着層131f、131gによって取り囲まれ得る。例えば、第1および第2接着層131f、131gは、第1および第2振動発生部131-1、131-2のそれぞれを完全に取り囲むように、第1カバー部材131dと第2カバー部材131eとの間に構成され得る。例えば、第1および第2振動発生部131-1、131-2のそれぞれは第1接着層131fと第2接着層131gとの間に埋め込まれ得るかまた内蔵され得る。
本明細書の一実施例による第1および第2接着層131f、131gのそれぞれは、接着性を有しながら圧縮および復元が可能である電気絶縁物質を含むことができる。例えば、第1および第2接着層131f、131gのそれぞれは、エポキシ(epoxy)樹脂、アクリル(acrylic)樹脂、シリコン(silicone)樹脂、またはウレタン(urethane)樹脂を含むことができるが、本明細書の実施例はこれに限定されない。例えば、第1および第2接着層131f、131gのそれぞれは、透明、半透明、または不透明に構成され得る。
本明細書の他の実施例による振動素子131は、第1電源供給ラインPL1、第2電源供給ラインPL2、およびパッド部131pをさらに含むことができる。
第1電源供給ラインPL1は第1カバー部材131dに配置され得る。例えば、第1電源供給ラインPL1は第1および第2振動発生部131-1、131-2のそれぞれの第1面と向き合う第1カバー部材131dの後面に配置され得る。第1電源供給ラインPL1は第1および第2振動発生部131-1、131-2のそれぞれの第1電極部131bと電気的に連結され得る。例えば、第1電源供給ラインPL1は第1および第2振動発生部131-1、131-2のそれぞれの第1電極部131bと直接電気的に連結され得る。一例として、第1電源供給ラインPL1は異方性導電フィルムを介して第1および第2振動発生部131-1、131-2のそれぞれの第1電極部131bと電気的に連結され得る。他の例として、第1電源供給ラインPL1は第1接着層131fに含有された導電性物質(または粒子)を介して第1および第2振動発生部131-1、131-2のそれぞれの第1電極部131bと電気的に連結され得る。
本明細書の一実施例による第1電源供給ラインPL1は、第2方向Yに沿って配置された第1および第2上部電源ラインPL11、PL12を含むことができる。例えば、第1上部電源ラインPL11は第1振動発生部131-1の第1電極部131bと電気的に連結され得る。第2上部電源ラインPL12は第2振動発生部131-2の第1電極部131bと電気的に連結され得る。
第2電源供給ラインPL2は第2カバー部材131eに配置され得る。例えば、第2電源供給ラインPL2は第1および第2振動発生部131-1、131-2のそれぞれの第2面と向き合う第2カバー部材131eの前面に配置され得る。第2電源供給ラインPL2は第1および第2振動発生部131-1、131-2のそれぞれの第2電極部131cと電気的に連結され得る。例えば、第2電源供給ラインPL2は第1および第2振動発生部131-1、131-2のそれぞれの第2電極部131cと直接電気的に連結され得る。一例として、第2電源供給ラインPL2は異方性導電フィルムを介して第1および第2振動発生部131-1、131-2のそれぞれの第2電極部131cと電気的に連結され得る。他の例として、第2電源供給ラインPL2は第2接着層131gに含有された導電性物質(または粒子)を介して第1および第2振動発生部131-1、131-2のそれぞれの第2電極部131cと電気的に連結され得る。
本明細書の一実施例による第2電源供給ラインPL2は、第2方向Yに沿って配置された第1および第2下部電源ラインPL21、PL22を含むことができる。第1下部電源ラインPL21は第1振動発生部131-1の第2電極部131cと電気的に連結され得る。本明細書の実施例によれば、第1上部電源ラインPL11は第1下部電源ラインPL21と重畳しないように配置され得る。第1上部電源ラインPL11が第1下部電源ラインPL21と重畳しないように配置される場合、第1上部電源ラインPL11と第1下部電源ラインPL21との間の短絡不良の問題点を改善することができる。本明細書の実施例によれば、第2上部電源ラインPL12は第2下部電源ラインPL22と重畳しないように配置され得る。第2上部電源ラインPL12が第2下部電源ラインPL22と重畳しないように配置される場合、第2上部電源ラインPL12と第2下部電源ラインPL22との間の短絡不良の問題点を改善することができる。
パッド部131pは第1電源供給ラインPL1および第2電源供給ラインPL2に電気的に連結され得る。例えば、パッド部131pは、第1電源供給ラインPL1および第2電源供給ラインPL2のそれぞれの一側(または一端)と電気的に連結されるように、第1カバー部材131dおよび第2カバー部材131eのうちのいずれか一方の一側縁部に構成され得る。
本明細書の一実施例によるパッド部131pは、第1電源供給ラインPL1の一端(または一側)と電気的に連結された第1パッド電極、および第2電源供給ラインPL2の一端(または一側)と電気的に連結された第2パッド電極を含むことができる。
第1パッド電極は第1電源供給ラインPL1の第1および第2上部電源ラインPL11、PL12のそれぞれの一端(または一側)に共通して連結され得る。例えば、第1および第2上部電源ラインPL11、PL12のそれぞれの一端は第1パッド電極から分岐し得る。第2パッド電極は第2電源供給ラインPL2の第1および第2下部電源ラインPL21、PL22のそれぞれの一端に共通して連結され得る。例えば、第1および第2下部電源ラインPL21、PL22のそれぞれの一端(または一側)は第2パッド電極から分岐し得る。
本明細書の他の実施例による振動素子131は信号ケーブル132をさらに含むことができる。
信号ケーブル132は振動素子131に配置されたパッド部131pと電気的に連結され、音響処理回路から提供される振動駆動信号(または音響信号)を振動素子131に供給することができる。本明細書の一実施例による信号ケーブル132は、パッド部131pの第1パッド電極と電気的に連結された第1端子、およびパッド部131pの第2パッド電極と電気的に連結された第2端子を含むことができる。例えば、フレキシブルプリント回路ケーブル、フレキシブルフラットケーブル、片面フレキシブルプリント回路、片面フレキシブルプリント回路ボード、フレキシブル多層プリント回路、またはフレキシブル多層プリント回路ボードで構成され得るが、本明細書の実施例はこれに限定されない。
音響処理回路は、音響データに基づいて第1振動駆動信号および第2振動駆動信号を含む交流形態の振動駆動信号を生成することができる。第1振動駆動信号は正極性(+)の振動駆動信号および負極性(-)の振動駆動信号のうちのいずれか一つであり、第2振動駆動信号は正極性(+)の振動駆動信号および負極性(-)の振動駆動信号のうちのいずれか一つであり得る。例えば、第1振動駆動信号は、信号ケーブル132の第1端子とパッド部131pの第1パッド電極および第1電源供給ラインPL1を介して第1および第2振動発生部131-1、131-2のそれぞれの第1電極部131bに供給され得る。第2振動駆動信号は、信号ケーブル132の第2端子とパッド部131pの第2パッド電極および第2電源供給ラインPL2を介して第1および第2振動発生部131-1、131-2のそれぞれの第2電極部131cに供給され得る。
図11は本明細書の実施例による音響装置の音響出力特性を示す図である。
音響出力特性は音響分析装備によって測定することができる。音響分析装備は、制御用PC(Control PC)と音を送受信するサウンドカード、サウンドカードから発生した音を音響装置に増幅して伝達するアンプ(amplifier)、および振動部材から音響装置を介して発生する音響を収集するマイクで構成され得る。例えば、マイクは音響装置の中心に配置され、振動部材とマイクとの間の距離は50cmであり得る。音響装置にマイクを垂直にして音響を測定することができる。マイクで収集された音響はサウンドカードを介して制御用PCに入力され、これを制御用プログラムで確認して音響装置の音響を分析するようになる。例えば、パルスプログラムを用いて100Hz~20kHzの周波数範囲の周波数応答特性を測定することができる。
図11で、横軸は周波数(Frequency、Hz(hertz))を示し、縦軸は音圧(Sound Pressure Level;SPL、dB(decibel))を示す。図11の実線は図3~図5の音響装置の音響出力特性である。図3~図5の音響装置において連結部材はシリコン材質で構成される。図11の点線は振動部材とエンクロージャーとの間に備えられた連結部材で構成された音響装置の音響出力特性を示す。
図11を参照すると、実線は、点線と比較して、2kHz~4kHzおよび2kHz~10kHzの周波数範囲で音響出力特性が向上することが分かる。例えば、実線は、点線と比較して、中音域帯および/または高音域帯でのピークおよび/またはディップ現象が改善することができる。よって、実線は、点線と比較して、中音域帯および/または高音域帯での音圧が向上することができる。例えば、実線は、点線と比較して、2kHz~4kHzで平均的に約20dB以上向上することが分かり、6kHz~10kHzの周波数範囲で約5dB以上向上することが分かる。
フレキシブル装置に音響装置100を適用する場合、圧電素子である振動装置130の脆性特性によってクラックが発生するかまたは割れやすい問題点がある。例えば、外部衝撃によってクラックが発生する場合、振動装置130に備えられた第1電極部131bおよび第2電極部131cに電気的短絡が発生する。そして、振動部材110に振動装置130を付着する前の運送工程や振動部材110に振動装置130を付着する工程で振動装置130の破損が発生する問題点がある。したがって、本明細書の発明者らは振動装置130の剛性を高め、衝撃に強い振動装置を具現するための多様な研究および実験を行った。多様な研究および実験によって、剛性および耐衝撃性を有することができる新しい振動装置を発明した。これについて以下で説明する。
図12は図6に示した線B-B’についての他の断面図である。
図12を参照すると、本明細書の他の実施例による音響装置100は一つ以上の緩衝部材をさらに含むことができる。一つ以上の緩衝部材は外部衝撃から振動装置130を保護することができる。図12の振動部131aは図8の振動部で構成することもできる。
本明細書の実施例による一つ以上の緩衝部材は振動装置130の下に備えられ得る。一つ以上の緩衝部材は、第1緩衝部材135および第2緩衝部材137を含むことができる。図12で、第1カバー部材131dが振動部材110に連結または結合され得る。例えば、第1カバー部材131dを含む振動装置130が接着部材120を介して振動部材110に連結または結合され得る。本明細書の他の実施例によれば、第2カバー部材131eを含む振動装置130が接着部材120を介して振動部材110に連結または結合され得る。
本明細書の実施例による第1緩衝部材135は第2カバー部材131eにまたは第2カバー部材131eの上に配置され得る。本明細書の他の実施例による第1緩衝部材135は第1カバー部材131dにまたは第1カバー部材131dの上に配置され得る。第2緩衝部材137は第1緩衝部材135の上に配置され得る。第1緩衝部材135は第2緩衝部材137よりも振動装置130に近くに配置され得る。第1緩衝部材135は第2緩衝部材137の弾性係数と異なる弾性係数の材質で構成され得る。例えば、第1緩衝部材135の弾性係数(またはヤング率)は第2緩衝部材137の弾性係数(またはヤング率)と異なってもよい。例えば、第1緩衝部材135の弾性係数は第2緩衝部材137の弾性係数よりも低い材質で構成され得る。
本明細書の実施例による第2緩衝部材137は外部衝撃を分散させることができる弾性係数を有する材質で構成され得る。例えば、第2緩衝部材137は、外部衝撃を振動装置130の水平方向に分散させることができる弾性係数を有する材質で構成され得る。例えば、第2緩衝部材137は高い弾性係数を有する材質で構成され得る。これにより、外部衝撃によって局部的に発生する衝撃エネルギーを広く分散させることができる。本明細書の実施例による振動装置130は第2緩衝部材137によって剛性を補強することができるので、振動装置130の運送工程や付着工程で発生するクラックなどの問題点を解決することができる。例えば、第2緩衝部材137はポリエチレンテレフタレート(polyethylene terephthalate)などで構成され得るが、本明細書の実施例はこれに限定されない。例えば、第2緩衝部材137は衝撃分散部材または衝撃分散層であり得るが、本明細書の実施例はこれに限定されない。
本明細書の実施例による第1緩衝部材135は外部衝撃を吸収することができる材質で構成され得る。例えば、第1緩衝部材135は第2緩衝部材137よりも振動装置130に近くに構成されるので、外部衝撃を吸収することができる材質で構成され得る。例えば、第1緩衝部材135は外部衝撃を吸収することができる弾性係数を有する材質で構成され得る。例えば、第1緩衝部材135は第2緩衝部材137の弾性係数よりも低い弾性係数を有する材質で構成され得る。例えば、第1緩衝部材135は、ポリウレタン(polyurethane)、またはポリウレタンフォーム(polyurethane foam)などで構成され得るが、本明細書の実施例はこれに限定されない。例えば、第1緩衝部材135は衝撃吸収部材または衝撃吸収層であり得るが、本明細書の実施例はこれに限定されない。
本明細書の実施例によれば、第1緩衝部材135および第2緩衝部材137を備えるので、外部衝撃から振動装置130を保護することができ、振動装置130の運送工程や付着工程で発生し得るクラックなどを改善することができる。
図13Aおよび図13Bは本明細書の他の実施例による緩衝部材を示す図である。
図13Aおよび図13Bを参照すると、第2緩衝部材137にパターンがさらに構成され得る。例えば、パターンは屈曲面を有する振動部材110に付着されるかまたはラミネーション工程を考慮して柔軟性を確保することができるように構成され得る。パターンは振動部材110が撓う方向に垂直な方向に構成され得る。パターンはスリットまたは溝であり得るが、本明細書の実施例はこれに限定されない。
図13Aを参照すると、パターンは均一に構成され得る。図13Bを参照すると、パターンは不均一に構成され得る。パターンの形状は多様に構成され得るが、本明細書の実施例はこれに限定されない。
以下の[表1]は実験例および本明細書の実施例によるボールドロップ(ball-drop)テスト結果である。
Figure 0007690010000001
[表1]で、実験例は本明細書の実施例による第1緩衝部材および第2緩衝部材が構成されていない音響装置である。実施例1および実施例2は、図12で説明したように、本明細書の実施例による第1緩衝部材および第2緩衝部材が構成された音響装置である。実施例1および実施例2の第1緩衝部材はポリウレタンフォームで構成した。実施例1および実施例2の第1緩衝部材は、ポリエチレンテレフタレートで構成した。実施例1で、第1緩衝部材の厚さは1mmであり、第2緩衝部材の厚さは0.1mmであった。実施例2で、第1緩衝部材の厚さは3mmであり、第2緩衝部材の厚さは0.1mmであった。第1緩衝部材および第2緩衝部材の材質が本明細書の内容を限定するものではない。また、第1緩衝部材および第2緩衝部材の厚さが本明細書の内容を限定するものではない。
ボールドロップ(ball-drop)テストで、ボールの直径は18mm、重さは21.68gにした。ボールの落下をガイドするボールドロップシリンダー装置と音響装置との間の距離は5cmにした。ボールドロップ(balldrop)テストは、音響装置の上部に備えられたボールドロップシリンダー装置のシリンダー内でボールドロップの高さを変更しながらボールドロップシリンダーを通してボールを落下させて音響装置の損傷有無を確認するテストであり得る。例えば、音響装置の損傷が発生し始めるボールドロップの高さが高いほど音響装置が外部衝撃に対してよりよく耐えるものと解釈することができる。例えば、図12の装置で、第2緩衝部材137の上部からボールドロップ高さを変更しながらボールを落下させて音響装置の損傷有無を確認した。例えば、ボールドロップテストでは、図2の音響装置において連結部材140およびエンクロージャー150を除き、図2の振動部材110、接着部材120、および振動装置130で構成した。振動装置130は図12の装置で構成し、図12の音響装置を上下に反転させた後、第2緩衝部材137の上部からボールドロップの高さを変更しながらボールを落下させて音響装置の損傷有無を確認した。
[表1]は、ボールドロップテストで、音響装置の損傷、例えば、クラックが発生し始めるボールドロップの高さを示したものである。実験例は4cmの高さで音響装置にクラックが発生した。実施例1は23cmの高さで音響装置にクラックが発生した。実施例2は50cm以上の高さで音響装置にクラックが発生した。したがって、緩衝部材を適用した音響装置は、緩衝部材を適用しなかった実験例に比べて、剛性および/または耐衝撃性が向上することが分かる。実施例2は、実施例1に比べて、第1緩衝部材の厚さをよりも厚く構成するので、実施例1よりも剛性および/または耐衝撃性が向上することが分かる。例えば、実施例1および実施例2は、実験例に比べて、音響装置に損傷が発生する高さが高いので、実施例1および実施例2の音響装置が外部衝撃に対してよりよく耐えられ、剛性および/または耐衝撃性が向上することが分かる。
図14は本明細書の一実施例による運送装置を示す図である。図15は本明細書の一実施例による運送装置を示す断面図である。
図14および図15を参照すると、本明細書の実施例による運送装置は、外装材520および内装材530のうちの一つ以上に音響を出力するように構成された一つ以上の音響発生装置10を含むことができる。例えば、外装材520および内装材530のうちの一つ以上は一つ以上の音響発生装置10の振動によって音響を出力することができる。図14および図15で、点線で表示した部分は一つ以上の音響発生装置10が配置されることができる部分を表示したものである。
一つ以上の音響発生装置10は、外装材520、内装材530、または外装材520と内装材530との間に配置されて音響を出力することができる。例えば、一つ以上の音響発生装置10は、外装材520、内装材530、および外装材520と内装材530との間のうちの少なくとも一つ以上に配置されて音響を出力することができる。
本明細書の実施例による内装材は、ダッシュボード530A、ピラー内装材530B、ルーフ内装材530C、ドア内装材530D、座席内装材、ハンドル内装材530F、フロア内装材530G、およびリアパッケージ内装材530Jのうちの少なくとも一つ以上を含むことができる。一つ以上の音響発生装置10は、ダッシュボード530A、ピラー内装材530B、ルーフ内装材530C、ドア内装材530D、座席内装材、ハンドル内装材530F、フロア内装材530G、およびリアパッケージ内装材530Jのうちの少なくとも一つ以上を振動させることができる。一つ以上の音響発生装置10は、ダッシュボード530A、ピラー内装材530B、ルーフ内装材530C、ドア内装材530D、座席内装材、ハンドル内装材530F、およびフロア内装材530Gのうちの少なくとも一つ以上と外装材520との間に配置され得る。これにより、1チャネル以上の音響を出力することができる。
例えば、一つ以上の音響発生装置10のうちの少なくとも一つ以上は透明または半透明に構成され得る。例えば、ガラスが全体的に透明な場合、一つ以上の音響発生装置10のうちの少なくとも一つ以上は透明に構成され、ガラス窓の中間領域または周辺領域に配置され得る。ガラス窓が半透明部または不透明部を含む場合、一つ以上の音響発生装置10のうちの少なくとも一つ以上は半透明または不透明に構成され、ガラス窓の半透明部または不透明部に配置され得る。例えば、一つ以上の音響発生装置10のうちの少なくとも一つ以上は、透明振動発生器、透明振動発生装置または透明音響発生装置などであり得るが、本明細書の実施例はこれに限定されない。
図14および図15を参照すると、本明細書の実施例による一つ以上の音響発生装置10はダッシュパネルとダッシュボード530Aとの間に配置され、ダッシュボード530Aを間接的にまたは直接的に振動させて音響を出力するように構成され得る。例えば、一つ以上の音響発生装置10は図1~図13Bを参照して説明した音響装置100を含むので、これについての重複説明は省略する。例えば、一つ以上の音響発生装置10はダッシュボードスピーカーまたは第1スピーカーなどであり得るが、本明細書の実施例はこれに限定されない。
本明細書の実施例によれば、ダッシュパネルおよびダッシュボード530Aのうちの少なくとも一つ以上は、運転席DSに対応する第1領域、助手席FPSに対応する第2領域、および第1領域と第2領域との間の第3領域(または中間領域)を含むことができる。ダッシュパネルおよびダッシュボード530Aのうちの少なくとも一つ以上は助手席FPSと向き合いながら傾いた第4領域を含むことができる。本明細書の実施例によれば、一つ以上の音響発生装置10はダッシュボード530Aの第1~第4領域のうちの少なくとも一つ以上を振動させることができるように配置され得る。例えば、一つ以上の音響発生装置10はダッシュボード530Aの第1および第2領域のそれぞれに配置され得るか、または第1~第4領域のそれぞれに配置され得る。例えば、一つ以上の音響発生装置10はダッシュボード530Aの第1および第2領域のそれぞれに配置され得るか、または第1~第4領域のうちの少なくとも一つ以上に配置され得る。例えば、一つ以上の音響発生装置10は150Hzで20kHzの音響を出力するように構成され得る。例えば、ダッシュボード530Aの第1~第4領域のうちの少なくとも一つ以上を振動させるように構成された一つ以上の音響発生装置10は互いに同じか異なる音響出力特性を有し得る。例えば、ダッシュボード530Aの第1~第4領域のそれぞれを振動させるように構成された一つ以上の音響発生装置10は互いに同じか異なる音響出力特性を有し得る。
本明細書の実施例による一つ以上の音響発生装置10はピラーパネルとピラー内装材530Bとの間に配置され、ピラー内装材530Bを間接的にまたは直接的に振動させて音響を出力するように構成され得る。例えば、一つ以上の音響発生装置10は図1~図13Bを参照して説明した音響装置100を含むので、これについての重複説明は省略する。一つ以上の音響発生装置10は、ピラースピーカー、ツイータースピーカー、または第2スピーカーなどであり得るが、本明細書の実施例はこれに限定されない。
本明細書の実施例によれば、ピラーパネルは、前方ガラス窓の両側に配置された第1ピラー(またはAピラー)、車体中央の両側に配置された第2ピラー(またはBピラー)、および車体の後側の両側に配置された第3ピラー(またはCピラー)を含むことができる。ピラー内装材530Bは、第1ピラーを覆う第1ピラー内装材530B1、第2ピラーを覆う第2ピラー内装材530B2、および第3ピラーを覆う第3ピラー内装材530B3を含むことができる。本明細書の実施例によれば、一つ以上の音響発生装置10は第1ピラーと第1ピラー内装材530B1との間、第2ピラーと第2ピラー内装材530B2との間、および第3ピラーと第3ピラー内装材530B3との間のうちの少なくとも一つ以上に配置されることにより、第1~第3ピラー内装材530B1、530B2、530B3のうちの少なくとも一つ以上を振動させることができる。例えば、一つ以上の音響発生装置10は2kHzで20kHzの音響を出力するように構成され得るが、本明細書の実施例はこれに限定されない。例えば、一つ以上の音響発生装置10は150Hzで20kHzの音響を出力するように構成され得る。例えば、第1~第3ピラー内装材530B1、530B2、530B3のうちの少なくとも一つ以上を振動させるように構成された一つ以上の音響発生装置10は互いに同じか異なる音響出力特性を有し得る。
本明細書の実施例による一つ以上の音響発生装置10はルーフパネルとルーフ内装材530Cとの間に配置され、ルーフ内装材530Cを間接的にまたは直接的に振動させて音響を出力するように構成され得る。例えば、一つ以上の音響発生装置10は透明にまたは半透明に構成され得る。例えば、一つ以上の音響発生装置10は図1~図13Bを参照して説明した音響装置100を含むので、これについての重複説明は省略する。例えば、一つ以上の音響発生装置10はルーフスピーカーまたは第3スピーカーなどであり得るが、本明細書の実施例はこれに限定されない。
本明細書の実施例によれば、ルーフパネルおよびルーフパネルを覆うルーフ内装材530Cのうちの少なくとも一つ以上は、運転席DSに対応する第1領域、助手席FPSに対応する第2領域、運転席DSと助手席FPSとの間に対応する第3領域、運転席DSの後側の第1後方同乗席RPS1に対応する第4領域、助手席FPSの後側の第2後方同乗席RPS2に対応する第5領域、第1後方同乗席RPS1と第2後方同乗席RPS2との間に対応する第6領域、および第3領域と第6領域との間の第7領域を含むことができる。例えば、一つ以上の音響発生装置10は、ルーフ内装材530Cの第1~第7領域のうちの少なくとも一つ以上を振動させるように構成され得る。例えば、一つ以上の音響発生装置10は150Hzで20kHzの音響を出力するように構成され得る。例えば、ルーフ内装材530Cの第1~第7領域のうちの少なくとも一つ以上を振動させるように構成された一つ以上の音響発生装置10は互いに同じか異なる音響出力特性を有し得る。例えば、ルーフ内装材530Cの第1~第7領域のそれぞれを振動させるように構成された一つ以上の音響発生装置10は互いに同じか異なる音響出力特性を有し得る。例えば、ルーフ内装材530Cの第1~第7領域のうちの少なくとも一つ以上を振動させるように構成された一つ以上の音響発生装置10のうちの少なくとも一つ以上は2kHzで20kHzの音響を出力するように構成され得、残りは150Hzで20kHzの音響を出力するように構成され得る。例えば、ルーフ内装材530Cの第1~第7領域のそれぞれを振動させるように構成された一つ以上の音響発生装置10のうちの少なくとも一つ以上は2kHzで20kHzの音響を出力するように構成され得、残りは150Hzで20kHzの音響を出力するように構成され得る。
本明細書の実施例によれば、一つ以上の音響発生装置10はドアフレームとドア内装材530Dとの間に配置され、ドア内装材530Dを間接的にまたは直接的に振動させて音響を出力するように構成され得る。例えば、一つ以上の音響発生装置10は図1~図13Bを参照して説明した音響装置100を含むので、これについての重複説明は省略する。例えば、一つ以上の音響発生装置10はドアスピーカーまたは第4スピーカーなどであり得るが、本明細書の実施例はこれに限定されない。
本明細書の実施例によれば、ドアフレームおよびドア内装材530Dのうちの少なくとも一つ以上は、高さ方向Zを基準に、上部領域、中間領域、および下部領域を含むことができる。例えば、一つ以上の音響発生装置10は、ドアフレームとドア内装材530Dとの間の上部領域、中間領域、および下部領域のうちの少なくとも一つ以上に配置されることにより、ドア内装材530Dの上部領域、中間領域、および下部領域のうちの少なくとも一つ以上を振動させることができる。
本明細書の実施例によれば、ドア内装材530Dの上部領域は、相対的に小さい曲率半径を有する曲面部を含むことができる。ドア内装材530Dの上部領域を振動させるための一つ以上の音響発生装置10は、図6~図10の音響装置のうちの一つ以上に示した振動素子131のフレキシビリティーを有する第2部分131a2によって、ドア内装材530Dの上部領域の曲面部の形状(または表面形状)に正確に対応する形状に撓うことができる。
本明細書の実施例によれば、ドアフレームは、第1ドアフレーム(または左側フロントドアフレーム)、第2ドアフレーム(または右側フロントドアフレーム)、第3ドアフレーム(または左側リアドアフレーム)、および第4ドアフレーム(または右側リアドアフレーム)を含むことができる。本明細書の実施例によれば、ドア内装材530Dは、第1ドアフレームを覆う第1ドア内装材(または左側フロントドア内装材)530D1、第2ドアフレームを覆う第2ドア内装材(または右側フロントドア内装材)530D2、第3ドアフレームを覆う第3ドア内装材(または左側リアドア内装材)530D3、および第4ドアフレームを覆う第4ドア内装材(または右側リアドア内装材)530D4を含むことができる。例えば、一つ以上の音響発生装置10は、第1~第4ドアフレームのそれぞれと第1~第4ドア内装材530D1~530D4との間の上部領域、中間領域、および下部領域のうちの少なくとも一つ以上に配置され、第1~第4ドア内装材530D1~530D4のそれぞれの上部領域、中間領域、および下部領域のうちの少なくとも一つ以上を振動させることができる。
本明細書の実施例によれば、第1~第4ドア内装材530D1~530D4のそれぞれの上部領域を振動させるように構成された一つ以上の音響発生装置10は2kHzで20kHzの音響を出力するように構成され得るかまたは150Hzで20kHzの音響を出力するように構成され得る。例えば、第1~第4ドア内装材530D1~530D4のうちの少なくとも一つ以上の上部領域を振動させるように構成された一つ以上の音響発生装置10は2kHzで20kHzの音響を出力するように構成され得るかまたは150Hzで20kHzの音響を出力するように構成され得る。
本明細書の実施例によれば、第1~第4ドア内装材530D1~530D4のうちの少なくとも一つ以上の中間領域または/および下部領域を振動させるように構成された一つ以上の音響発生装置10は150Hzで20kHzの音響を出力するように構成され得る。第1~第4ドア内装材530D1~530D4のそれぞれの中間領域または/および下部領域を振動させるように構成された一つ以上の音響発生装置10は150Hzで20kHzの音響を出力するように構成され得る。例えば、第1~第4ドア内装材530D1~530D4のうちの少なくとも一つ以上の中間領域または/および下部領域を振動させるように構成された一つ以上の音響発生装置10は、ウーファー、ミッドウーファー、およびサブウーファーのうちのいずれか一つ以上であり得る。例えば、第1~第4ドア内装材530D1~530D4のそれぞれの中間領域または/および下部領域を振動させるように構成された一つ以上の音響発生装置10は、ウーファー、ミッドウーファー、およびサブウーファーのうちのいずれか一つ以上であり得る。
第1ドア内装材530D1に配置された一つ以上の音響発生装置10および第2ドア内装材530D2に配置された一つ以上の音響発生装置10のそれぞれから出力される音響は合わせられて出力され得る。例えば、第1ドア内装材530D1に配置された一つ以上の音響発生装置10および第2ドア内装材530D2に配置された一つ以上の音響発生装置10のうちの少なくとも一つ以上から出力される音響は合わせられて出力され得る。そして、第3ドア内装材530D3に配置された一つ以上の音響発生装置10によって出力される音響と第4ドア内装材530D4に配置された一つ以上の音響発生装置10によって出力される音響とは互いに合わせられて出力され得る。
本明細書の実施例によれば、第1~第4ドア内装材530D1~530D4のそれぞれの上部領域は、ダッシュボード530Aに隣接した第1上部領域、後座席RPS1、RPS2、RPS3に隣接した第2上部領域、および第1上部領域と第2上部領域との間の第3上部領域を含むことができる。例えば、一つ以上の音響発生装置10は、第1~第4ドア内装材530D1~530D4のそれぞれの第1~第3上部領域のうちの一つ以上に配置され得る。例えば、一つ以上の音響発生装置10は第1および第2ドア内装材530D1、530D2のそれぞれの第1上部領域に配置され得、第1および第2ドア内装材530D1、530D2のそれぞれの第2および第3上部領域のうちの一つ以上に配置され得る。例えば、一つ以上の音響発生装置10は、第1~第4ドア内装材530D1~530D4のうちの少なくとも一つ以上の第1~第3上部領域のうちの一つ以上に配置され得る。例えば、第1および第2ドア内装材530D1、530D2のうちの一つ以上の第1上部領域を振動させるように構成された一つ以上の音響発生装置10は2kHzで20kHzの音響を出力するように構成され得、第1および第2ドア内装材530D1、530D2のそれぞれの第2および第3上部領域のうちの一つ以上を振動させるように構成された一つ以上の音響発生装置10は2kHzで20kHzの音響を出力するように構成され得るかまたは150Hzで20kHzの音響を出力するように構成され得る。例えば、第1および第2ドア内装材530D1、530D2のうちの少なくとも一つ以上の第2および第3上部領域のうちの一つ以上を振動させるように構成された一つ以上の音響発生装置10は2kHzで20kHzの音響を出力するように構成され得るかまたは150Hzで20kHzの音響を出力するように構成され得る。
本明細書の実施例によれば、一つ以上の音響発生装置10は座席フレームと座席内装材との間に配置され、座席内装材を間接的にまたは直接的に振動させて音響を出力するように構成され得る。例えば、一つ以上の音響発生装置10は図1~図13Bを参照して説明した音響装置100を含むので、これについての重複説明は省略する。例えば、一つ以上の音響発生装置10は、シートスピーカー、ヘッドレストスピーカー、または第5スピーカーなどであり得るが、本明細書の実施例はこれに限定されない。
本明細書の実施例によれば、座席フレームは、第1座席フレーム(または運転席フレーム)、第2座席フレーム(または助手席フレーム)、第3座席フレーム(または第1同乗席フレーム)、第4座席フレーム(または第2同乗席フレーム)、および第5座席フレーム(または第3同乗席フレーム)を含むことができる。本明細書の実施例によれば、座席内装材は、第1座席フレームを取り囲む第1座席内装材、第2座席フレームを取り囲む第2座席内装材、第3座席フレームを取り囲む第3座席内装材、第4座席フレームを取り囲む第4座席内装材、および第5座席フレームを取り囲む第5座席内装材を含むことができる。
本明細書の実施例によれば、第1~第5座席フレームのうちの少なくとも一つ以上は、座席底フレーム、座席後方フレーム、およびヘッドレストフレームを含むことができる。座席内装材は、座席底フレームを取り囲む座席底内装材、座席後方フレームを取り囲む座席後方内装材、およびヘッドレストフレームを取り囲むヘッドレスト内装材を含むことができる。座席底内装材、座席後方内装材、およびヘッドレスト内装材のうちの少なくとも一つ以上は、座席内部内装材および座席外部内装材を含むことができる。座席内部内装材は発泡層を含むことができる。座席外部内装材は、繊維または皮を含む表皮層を含むことができる。座席外部内装材は、表皮層を支持するプラスチック材質のベース層をさらに含むことができる。
本明細書の実施例によれば、一つ以上の音響発生装置10は座席後方フレームと座席後方内装材との間およびヘッドレストフレームとヘッドレスト内装材との間のうちの少なくとも一つ以上に配置されることにより、座席後方内装材の座席外部内装材およびヘッドレスト内装材の座席外部内装材のうちの少なくとも一つ以上を振動させることができる。
本明細書の実施例によれば、運転席DSおよび助手席FPSのうちの少なくとも一つ以上に配置された一つ以上の音響発生装置10は座席後方フレームと座席後方内装材との間およびヘッドレストフレームとヘッドレスト内装材との間のうちの少なくとも一つ以上に配置され得る。
本明細書の実施例によれば、第1~第3同乗席RPS1、RPS2、RPS3のうちの少なくとも一つ以上に配置された一つ以上の音響発生装置10はヘッドレストフレームとヘッドレスト内装材との間に配置され得る。例えば、第1~第3同乗席RPS1、RPS2、RPS3のうちの少なくとも一つ以上は、ヘッドレストフレームとヘッドレスト内装材との間に配置された一つ以上の音響発生装置10を含むことができる。
本明細書の実施例によれば、運転席DSおよび助手席FPSのうちの少なくとも一つ以上の座席後方内装材を振動させる一つ以上の音響発生装置10は150Hzで20kHzの音響を出力するように構成され得る。
本明細書の実施例によれば、運転席DS、助手席FPS、および第1~第3同乗席RPS1、RPS2、RPS3のうちの少なくとも一つ以上のヘッドレスト内装材を振動させる一つ以上の音響発生装置10は2kHzで20kHzの音響を出力するように構成され得るかまたは150Hzで20kHzの音響を出力するように構成され得る。
図15を参照すると、一つ以上の音響発生装置10はハンドルフレームとハンドル内装材530Fとの間に配置され、ハンドル内装材530Fを間接的にまたは直接的に振動させて音響を出力するように構成され得る。例えば、一つ以上の音響発生装置10は図1~図13Bを参照して説明した音響装置100を含むので、これについての重複説明は省略する。例えば、一つ以上の音響発生装置10は、ハンドルスピーカー、ステアリングスピーカー、または第6スピーカーなどであり得るが、本明細書の実施例はこれに限定されない。
本明細書の実施例によれば、一つ以上の音響発生装置10はハンドル内装材530Fを間接的にまたは直接的に振動させて音響を運転者に提供することができる。ハンドル内装材530Fに備えられた一つ以上の音響発生装置10によって出力される音響は、ダッシュパネルとダッシュボード530Aとの間に備えられた一つ以上の音響発生装置10、ピラーパネルとピラー内装材530Bとの間に備えられた一つ以上の音響発生装置10、ルーフパネルとルーフ内装材530Cとの間に備えられた一つ以上の音響発生装置10、ドアフレームとドア内装材530Dとの間に備えられた一つ以上の音響発生装置10、および座席フレームと座席内装材との間に備えられた一つ以上の音響発生装置10のそれぞれによって出力される音響と同じか異なる音響であり得る。例えば、一つ以上の音響発生装置10によって出力される音響は、ダッシュパネルとダッシュボード530Aとの間に備えられた一つ以上の音響発生装置10、ピラーパネルとピラー内装材530Bとの間に備えられた一つ以上の音響発生装置10、ルーフパネルとルーフ内装材530Cとの間に備えられた一つ以上の音響発生装置10、ドアフレームとドア内装材530Dとの間に備えられた一つ以上の音響発生装置10、および座席フレームと座席内装材との間に備えられた一つ以上の音響発生装置10のうちの少なくとも一つ以上によって出力される音響と同じか異なる音響であり得る。本明細書の一実施例として、ハンドル内装材530Fに備えられた一つ以上の音響発生装置10は運転者にのみ提供される音響を出力することができる。本明細書の他の実施例として、ハンドル内装材530Fに備えられた一つ以上の音響発生装置10によって出力される音響と、ダッシュパネルとダッシュボード530Aとの間に備えられた一つ以上の音響発生装置10、ピラーパネルとピラー内装材530Bとの間に備えられた一つ以上の音響発生装置10、ルーフパネルとルーフ内装材530Cとの間に備えられた一つ以上の音響発生装置10、ドアフレームとドア内装材530Dとの間に備えられた一つ以上の音響発生装置10、および座席フレームと座席内装材との間に備えられた一つ以上の音響発生装置10のそれぞれによって出力される音響とは互いに合わせられて出力され得る。例えば、ハンドル内装材530Fに備えられた一つ以上の音響発生装置10によって出力される音響と、ダッシュパネルとダッシュボード530Aとの間に備えられた一つ以上の音響発生装置10、ピラーパネルとピラー内装材530Bとの間に備えられた一つ以上の音響発生装置10、ルーフパネルとルーフ内装材530Cとの間に備えられた一つ以上の音響発生装置10、ドアフレームとドア内装材530Dとの間に備えられた一つ以上の音響発生装置10、および座席フレームと座席内装材との間に備えられた一つ以上の音響発生装置10のうちの少なくとも一つ以上によって出力される音響とは互いに合わせられて出力され得る。
本明細書の実施例によれば、一つ以上の音響発生装置10はフロアパネルとフロア内装材530Gとの間に配置され、フロア内装材530Gを間接的にまたは直接的に振動させて音響を出力するように構成され得る。一つ以上の音響発生装置10は、前座席DS、FPSと第3後方同乗席RPS3との間に配置されたフロアパネルとフロア内装材530Gとの間に配置され得る。例えば、一つ以上の音響発生装置10は図1~図13Bを参照して説明した音響装置100を含むので、これについての重複説明は省略する。例えば、一つ以上の音響発生装置10は150Hzで20kHzの音響を出力するように構成され得る。例えば、一つ以上の音響発生装置10は、フロアスピーカー、底スピーカー、アンダースピーカー、または第7スピーカーなどであり得るが、本明細書の実施例はこれに限定されない。
本明細書の実施例による運送装置は、室内空間に露出した内装材530に配置された一つ以上の音響発生装置10をさらに含むことができる。例えば、本明細書の実施例による運送装置は、内装材530に配置された一つ以上の音響発生装置10の代わりに室内空間に露出した内装材530に配置された一つ以上の音響発生装置10のみを含むか、または内装材530に配置された一つ以上の音響発生装置10および室内空間に露出した内装材530に配置された一つ以上の音響発生装置10の両者を含むことができる。例えば、内装材530に配置された一つ以上の音響発生装置10および/または室内空間に露出した内装材530に配置された一つ以上の音響発生装置10は内装材530に配置されて音響を出力することができる。例えば、内装材530は、一つ以上の音響発生装置(または振動装置)の振動によって音響を出力することができる。
本明細書の実施例によれば、内装材530は、リアビューミラー530H、オーバーヘッドコンソール530I、リアパッケージ内装材530J、グローブボックス、およびサンバイザーなどをさらに含むことができる。
本明細書の実施例による一つ以上の音響発生装置10は、リアビューミラー530H、オーバーヘッドコンソール530I、リアパッケージ内装材530J、グローブボックス、およびサンバイザーのうちの少なくとも一つ以上に配置され得る。例えば、一つ以上の音響発生装置10は1チャネル以上の音響を出力することができる。
一つ以上の音響発生装置10はリアビューミラー530Hに配置され、リアビューミラーを間接的にまたは直接的に振動させて音響を出力するように構成され得る。一つ以上の音響発生装置10は、ミラーハウジングとミラーハウジングに支持されたリアビューミラー530Hとの間に配置され得る。例えば、一つ以上の音響発生装置10は図1~図13Bを参照して説明した音響装置100を含むので、これについての重複説明は省略する。例えば、一つ以上の音響発生装置10は150Hzで20kHzの音響を出力するように構成され得る。例えば、一つ以上の音響発生装置10は、ミラースピーカーまたは第8スピーカーなどであり得るが、本明細書の実施例はこれに限定されない。
本明細書の実施例によれば、一つ以上の音響発生装置10はオーバーヘッドコンソール530Iに配置され、オーバーヘッドコンソール530Iのコンソールカバーを間接的にまたは直接的に振動させて音響を出力するように構成され得る。本明細書の一実施例によれば、オーバーヘッドコンソール530Iは、ルーフパネルに埋め込まれたコンソールボックス、コンソールボックスに配置された照明機構、および照明器具およびコンソールボックスを覆うコンソールカバーを含むことができる。
一つ以上の音響発生装置10はオーバーヘッドコンソール530Iのコンソールボックスとコンソールカバーとの間に配置され、コンソールカバーを振動させることができる。例えば、一つ以上の音響発生装置10はオーバーヘッドコンソール530Iのコンソールボックスとコンソールカバーとの間に配置され、コンソールカバーを直接的に振動させることができる。例えば、少なくとも一つ以上の音響発生装置10は図1~図13Bを参照して説明した音響装置100を含むので、これについての重複説明は省略する。例えば、一つ以上の音響発生装置10は150Hzで20kHzの音響を出力するように構成され得る。例えば、一つ以上の音響発生装置10は、コンソールスピーカー、照明スピーカー、または第9スピーカーなどであり得るが、本明細書の実施例はこれに限定されない。
本明細書の実施例による運送装置は、ルーフ内装材530Cの中央領域に配置された中央照明ボックス、中央照明ボックスに配置された中央照明機構、および中央照明器具を覆う中央照明カバーをさらに含むことができる。この場合、一つ以上の音響発生装置10は中央照明器具の中央照明ボックスと中央照明カバーとの間にさらに配置され、中央照明カバーをさらに振動させることができる。
図14を参照すると、一つ以上の音響発生装置10はリアパッケージ内装材530Jに配置され、リアパッケージ内装材530Jを間接的にまたは直接的に振動させて音響を出力するように構成され得る。リアパッケージ内装材530Jは第1~第3同乗席RPS1、RPS2、RPS3の後側に配置され得る。例えば、リアパッケージ内装材530Jの一部は後方ガラス窓540Cの下に配置され得る。
一つ以上の音響発生装置10はリアパッケージ内装材530Jの背面に配置され、リアパッケージ内装材530Jを振動させることができる。例えば、一つ以上の音響発生装置10は図1~図13Bを参照して説明した音響装置100を含むので、これについての重複説明は省略する。例えば、一つ以上の音響発生装置10は、リアスピーカーまたは第10スピーカーなどであり得るが、本明細書の実施例はこれに限定されない。
本明細書の実施例によれば、リアパッケージ内装材530Jは、第1後方同乗席RPS1の後方に対応する第1領域、第2後方同乗席RPS2の後方に対応する第2領域、および第3後方同乗席RPS3の後方に対応する第3領域を含むことができる。本明細書の実施例によれば、一つ以上の音響発生装置10はリアパッケージ内装材530Jの第1~第3領域のうちの少なくとも一つ以上を振動させることができるように配置され得る。例えば、一つ以上の音響発生装置10はリアパッケージ内装材530Jの第1および第2領域のそれぞれに配置され得るかまたは第1~第3領域のそれぞれに配置され得る。例えば、一つ以上の音響発生装置10はリアパッケージ内装材530Jの第1および第2領域のうちの少なくとも一つ以上に配置され得るかまたは第1~第3領域のうちの少なくとも一つ以上に配置され得る。例えば、一つ以上の音響発生装置10は150Hzで20kHzの音響を出力するように構成され得る。例えば、リアパッケージ内装材530Jの第1~第3領域のそれぞれを振動させるように構成された一つ以上の音響発生装置10は互いに同じか異なる音響出力特性を有し得る。例えば、リアパッケージ内装材530Jの第1~第3領域のうちの少なくとも一つ以上を振動させるように構成された一つ以上の音響発生装置10は互いに同じか異なる音響出力特性を有し得る。
本明細書の実施例によれば、一つ以上の音響発生装置10はグローブボックスに配置され、グローブボックスを間接的にまたは直接的に振動させて音響を出力するように構成され得る。グローブボックスは助手席FPSの前方に対応するダッシュボード530Aに配置され得る。
一つ以上の音響発生装置10はグローブボックスの内側面に配置され、グローブボックスを振動させることができる。例えば、一つ以上の音響発生装置10は図1~図13Bを参照して説明した音響装置100を含むので、これについての重複説明は省略する。例えば、一つ以上の音響発生装置10は150Hzで20kHzの音響を出力するように構成され、ウーファー、ミッドウーファー、およびサブウーファーのうちの一つ以上であり得る。例えば、一つ以上の音響発生装置10はグローブボックススピーカーまたは第11スピーカーなどであり得るが、本明細書の実施例はこれに限定されない。
本明細書の実施例によれば、一つ以上の音響発生装置10はサンバイザーに配置され、サンバイザーを間接的にまたは直接的に振動させて音響を出力するように構成され得る。サンバイザーは、運転席DSに対応する第1サンバイザー、および助手席FPSに対応する第2サンバイザーを含むことができる。
一つ以上の音響発生装置10は第1サンバイザー530L1および第2サンバイザー530L2のうちの少なくとも一つ以上に配置され、第1サンバイザー530L1および第2サンバイザー530L2のうちの少なくとも一つ以上を間接的にまたは直接的に振動させることができる。例えば、第12振動装置550Lは図1~図13Bを参照して説明した音響装置100を含むので、これについての重複説明は省略する。例えば、一つ以上の音響発生装置10は150Hzで20kHzの音響を出力するように構成され得る。例えば、一つ以上の音響発生装置10はサンバイザースピーカーまたは第12スピーカーなどであり得るが、本明細書の実施例はこれに限定されない。
本明細書の実施例によれば、第1サンバイザーおよび第2サンバイザーのうちの少なくとも一つ以上はサンバイザーミラーをさらに含むことができる。この場合、一つ以上の音響発生装置10は第1サンバイザーおよび第2サンバイザーのうちの少なくとも一つ以上のサンバイザーミラーを間接的にまたは直接的に振動させることができるように構成され得る。サンバイザーミラーを振動させる一つ以上の音響発生装置10は図1~図13Bを参照して説明した音響装置100を含むので、これについての重複説明は省略する。
図14を参照すると、本明細書の実施例による運送装置は、ガラス窓540に配置された一つ以上の音響発生装置10をさらに含むことができる。例えば、一つ以上の音響発生装置10はガラス窓540に配置され、音響を出力することができる。例えば、ガラス窓540は一つ以上の音響発生装置(または振動装置)の振動によって音響を出力することができる。例えば、一つ以上の音響発生装置10は、ウィンドウスピーカー、透明音響発生装置、透明スピーカー、または不透明スピーカーなどであり得るが、本明細書の実施例はこれに限定されない。
本明細書の実施例による一つ以上の音響発生装置10はガラス窓540を間接的にまたは直接的に振動させて音響を出力するように構成され得る。例えば、一つ以上の音響発生装置10は図1~図13Bを参照して説明した音響装置100のうちの一つ以上を含み、透明、半透明、または不透明に構成され得る。
本明細書の実施例によれば、ガラス窓540は、前方ガラス窓、側面ガラス窓540B、および後方ガラス窓540Cを含むことができる。本明細書の実施例によれば、ガラス窓540はルーフガラス窓をさらに含むことができる。例えば、運送装置がルーフガラス窓を含むとき、ルーフフレームおよびルーフ内装材530Cの領域の一部はルーフガラス窓に代替され得る。例えば、運送装置がルーフガラス窓を含むとき、一つ以上の音響発生装置10はルーフガラス窓を取り囲むルーフ内装材530Cの縁部を間接的にまたは直接的に振動させて音響を出力するように構成され得る。
本明細書の実施例によれば、一つ以上の音響発生装置10は前方ガラス窓に配置され、自体振動によって音響を出力するかまたは前方ガラス窓を間接的にまたは直接的に振動させて音響を出力するように構成され得る。
本明細書の実施例によれば、前方ガラス窓は、運転席DSに対応する第1領域、助手席FPSに対応する第2領域、および第1領域と第2領域との間の第3領域(または中間領域)を含むことができる。例えば、一つ以上の音響発生装置10は前方ガラス窓の第1~第3領域のうちの少なくとも一つ以上に配置され得る。例えば、一つ以上の音響発生装置10は前方ガラス窓の第1および第2領域のそれぞれに配置され得るかまたは第1~第3領域のそれぞれに配置され得る。例えば、一つ以上の音響発生装置10は前方ガラス窓の第1および第2領域のうちの少なくとも一つ以上に配置され得るかまたは第1~第3領域のうちの少なくとも一つ以上に配置され得る。例えば、前方ガラス窓の第1~第3領域のそれぞれに配置された一つ以上の音響発生装置10は互いに同じか異なる音響出力特性を有し得る。例えば、前方ガラス窓の第1~第3領域のうちの一つ以上に配置された一つ以上の音響発生装置10は互いに同じか異なる音響出力特性を有し得る。例えば、一つ以上の音響発生装置10は150Hzで20kHzの音響を出力するように構成され得る。例えば、一つ以上の音響発生装置10は前方ウィンドウスピーカーまたは第13スピーカーなどであり得るが、本明細書の実施例はこれに限定されない。
図15を参照すると、本明細書の実施例による一つ以上の音響発生装置10は側面ガラス窓540Bに配置され、自体振動によって音響を出力するかまたは側面ガラス窓540Bを間接的にまたは直接的に振動させて音響を出力するように構成され得る。
本明細書の実施例によれば、側面ガラス窓540Bは、第1側面ガラス窓(または左側フロントウィンドウ)、第2側面ガラス窓(または右側フロントウィンドウ)540B2、第3側面ガラス窓(または左側リアウィンドウ)、および第4側面ガラス窓(または右側リアウィンドウ)540B4を含むことができる。
本明細書の実施例によれば、一つ以上の音響発生装置10は第1~第4側面ガラス窓540B2、540B4のうちの少なくとも一つ以上に配置され得る。例えば、第1~第4側面ガラス窓540B2、540B4のうちの少なくとも一つ以上は一つ以上の音響発生装置10を含むことができる。
本明細書の実施例によれば、一つ以上の音響発生装置10は第1~第4側面ガラス窓540B2、540B4のうちの少なくとも一つ以上に配置され、自体振動によって音響を出力するかまたは当該側面ガラス窓540B2、540B4を間接的にまたは直接的に振動させて音響を出力するように構成され得る。例えば、一つ以上の音響発生装置10は150Hzで20kHzの音響を出力するように構成され得る。例えば、第1~第4側面ガラス窓540B2、540B4のうちの少なくとも一つ以上に配置された一つ以上の音響発生装置10は互いに同じか異なる音響出力特性を有し得る。例えば、一つ以上の音響発生装置10は150Hzで20kHzの音響を出力するように構成され得る。例えば、一つ以上の音響発生装置10は側面ウィンドウスピーカーまたは第14スピーカーなどであり得るが、本明細書の実施例はこれに限定されない。
図14を参照すると、本明細書の実施例による一つ以上の音響発生装置10は後方ガラス窓540Cに配置され、自体振動によって音響を出力するかまたは後方ガラス窓540Cを間接的にまたは直接的に振動させて音響を出力するように構成され得る。
本明細書の実施例によれば、後方ガラス窓540Cは、第1後方同乗席RPS1の後方に対応する第1領域、第2後方同乗席RPS2の後方に対応する第2領域、および第3後方同乗席RPS3の後方に対応する第3領域を含むことができる。本明細書の実施例によれば、一つ以上の音響発生装置10は後方ガラス窓540Cの第1~第3領域のそれぞれに配置され得る。例えば、一つ以上の音響発生装置10は後方ガラス窓540Cの第1~第3領域のうちの少なくとも一つ以上に配置され得る。例えば、一つ以上の音響発生装置10は後方ガラス窓540Cの第1および第2領域のそれぞれに配置され得るかまたは第1~第3領域のそれぞれに配置され得る。例えば、一つ以上の音響発生装置10は後方ガラス窓540Cの第1および第2領域のうちの少なくとも一つ以上に配置され得るかまたは第1~第3領域のうちの少なくとも一つ以上に配置され得る。例えば、一つ以上の音響発生装置10は150Hzで20kHzの音響を出力するように構成され得る。例えば、後方ガラス窓540Cの第1~第3領域のそれぞれに配置された一つ以上の音響発生装置10は互いに同じか異なる音響出力特性を有し得る。例えば、後方ガラス窓540Cの第1~第3領域のうちの少なくとも一つ以上に配置された一つ以上の音響発生装置10は互いに同じか異なる音響出力特性を有し得る。例えば、後方ガラス窓540Cの第1および第2領域のうちの少なくとも一つ以上に配置された一つ以上の音響発生装置10は150Hzで20kHzの音響を出力するように構成され、ウーファー、ミッドウーファー、およびサブウーファーのうちのいずれか一つ以上であり得る。例えば、一つ以上の音響発生装置10は後方ウィンドウスピーカーまたは第15スピーカーなどであり得るが、本明細書の実施例はこれに限定されない。
本明細書の実施例によれば、一つ以上の音響発生装置10はルーフガラス窓に配置され、自体振動によって音響を出力するかまたはルーフガラス窓を間接的にまたは直接的に振動させて音響を出力するように構成され得る。
本明細書の実施例によるルーフガラス窓は、前座席DS、FPSの上に配置され得る。例えば、一つ以上の音響発生装置10はルーフガラス窓の中間領域に配置され得る。例えば、一つ以上の音響発生装置10は150Hzで20kHzの音響を出力するように構成され得る。例えば、一つ以上の音響発生装置10はルーフウィンドウスピーカーまたは第16スピーカーなどであり得るが、本明細書の実施例はこれに限定されない。
本明細書の他の実施例によるルーフガラス窓は、前座席DS、PSの上に配置され得るかまたは前座席DS、PSおよび後座席RPS1、RPS2、RPS3の上に配置され得る。例えば、ルーフガラス窓は、前座席DS、PSに対応する第1領域、および後座席RPS1、RPS2、RPS3に対応する第2領域を含むことができる。そして、ルーフガラス窓は、第1領域および第2領域の間の第3領域を含むことができる。例えば、一つ以上の音響発生装置10はルーフガラス窓の第1および第2領域のうちの少なくとも一つ以上に配置され得るかまたはルーフガラス窓の第1~第3領域のうちの少なくとも一つ以上に配置され得る。例えば、一つ以上の音響発生装置10は150Hzで20kHzの音響を出力するように構成され得る。例えば、ルーフガラス窓の第1~第3領域のうちの少なくとも一つ以上に配置された一つ以上の音響発生装置10は互いに同じか異なる音響出力特性を有し得る。
図14および図15を参照すると、本明細書の実施例による運送装置は、ダッシュボード530A、ドアフレーム、およびリアパッケージ内装材530Jのうちの少なくとも一つ以上に配置されたウーファースピーカーWSをさらに含むことができる。
本明細書の実施例によるウーファースピーカーWSは、ウーファー、ミッドウーファー、およびサブウーファーのうち一つ以上であり得る。例えば、ウーファースピーカーWSは60Hzで150Hzの音響を出力するスピーカーなどであり得るが、本明細書の実施例はこれに限定されない。
したがって、ウーファースピーカーWSは60Hzで150Hzの音響を出力することにより、室内空間に出力される音響の低音域帯特性を向上させることができる。
本明細書の実施例によれば、ウーファースピーカーWSは、ダッシュボード530Aの第1および第2領域のうちの少なくとも一つ以上に配置され得る。本明細書の実施例によれば、ウーファースピーカーWSはドア内装材530Dの第1~第4ドアフレームのそれぞれに配置され、ドア内装材530Dの第1~第4ドア内装材530D1~530D4のそれぞれの下部領域に露出し得る。例えば、ウーファースピーカーWSはドア内装材530Dの第1~第4ドアフレームのうちの少なくとも一つ以上に配置され、ドア内装材530Dの第1~第4ドア内装材530D1~530D4のうちの少なくとも一つ以上の下部領域に露出し得る。本明細書の実施例によれば、ウーファースピーカーWSはリアパッケージ内装材530Jの第1および第2領域のうちの少なくとも一つ以上に配置され得る。例えば、第1~第4ドア内装材530D1~530D4のそれぞれの下部領域に配置された一つ以上の音響発生装置10はウーファースピーカーWSに代替され得る。例えば、第1~第4ドア内装材530D1~530D4のうちの少なくとも一つ以上の下部領域に配置された一つ以上の音響発生装置10はウーファースピーカーWSに代替され得る。
本明細書の実施例による運送装置は、室内空間に露出した内装材530の一部を覆うガーニッシュ部材、および内装材530に配置された一つ以上の音響発生装置10をさらに含むことができる。例えば、一つ以上の音響発生装置10はガーニッシュ部材および内装材530に配置されて音響を出力することができる。例えば、ガーニッシュ部材および内装材530のうちの少なくとも一つ以上は一つ以上の音響発生装置(または振動装置)の振動によって音響を出力することができる。
ガーニッシュ部材は室内空間に露出したドア内装材530Dの一部を覆うように構成され得るが、本明細書の実施例はこれに限定されない。例えば、ガーニッシュ部材は、室内空間に露出したダッシュボード530A、ピラー内装材530B、およびルーフ内装材530Cのうちの一つ以上の一部を覆うように構成され得る。
本明細書の実施例によるガーニッシュ部材は振動によって音響を発生するのに適した材料特性を有する金属材質を含むかまたは非金属材質(または複合非金属材質)を含むことができる。例えば、ガーニッシュ部材の金属材質は、ステンレススチール(stainless steel)、アルミニウム(Al)、アルミニウム(Al)合金、マグネシウム(Mg)、マグネシウム(Mg)合金、およびマグネシウムリチウム(Mg-Li)合金のうちのいずれか1種以上の材質を含むことができるが、本明細書の実施例はこれに限定されない。ガーニッシュ部材の非金属材質(または複合非金属材質)は、木、プラスチック、ガラス、金属、布地、繊維、ゴム、紙、カーボン、および皮のうちの一つ以上を含むことができるが、本明細書の実施例はこれに限定されない。例えば、ガーニッシュ部材は高音域帯の音響を発生するのに適した材料特性を有する金属材質を含むことができるが、本明細書の実施例はこれに限定されない。例えば、高音域帯は1kHz以上または3kHz以上の周波数を有し得るが、本明細書の実施例はこれに限定されない。
一つ以上の音響発生装置10はガーニッシュ部材と内装材530との間に配置され得る。例えば、一つ以上の音響発生装置10はガーニッシュスピーカーまたは第17スピーカーなどであり得るが、本明細書の実施例はこれに限定されない。
本明細書の実施例による一つ以上の音響発生装置10は図1~図13Bを参照して説明した音響装置100のうちの一つ以上を含むことができる。一つ以上の音響発生装置10はメイン内装材または内装材530およびガーニッシュ部材に配置され、ガーニッシュ部材に連結または結合され得る。
本明細書の実施例による一つ以上の音響発生装置10はガーニッシュ部材を間接的にまたは直接的に振動させて運送装置の室内空間に音響を出力するように構成され得る。例えば、一つ以上の音響発生装置10は高音域帯の音響を出力するように構成され得るが、本明細書の実施例はこれに限定されない。
図14および図15を参照すると、本明細書の実施例による運送装置は、外装材520の内側面に配置された一つ以上の音響発生装置10をさらに含むことができる。例えば、一つ以上の音響発生装置10は外装材520に配置されて音響を出力することができる。例えば、外装材520は一つ以上の音響発生装置(または振動装置)の振動によって音響を出力することができる。
本明細書の実施例による外装材520は、フードパネル520A、フロントフェンダーパネル520B、ドアフレーム、ルーフパネル、ピラーパネル、トランクパネル520C、前面バンパー、後面バンパー、スポイラー、ヘッドライト、尾灯、霧灯、および車体底CBのうちの少なくとも一つ以上を含むことができる。一つ以上の音響発生装置は、フードパネル520A、フロントフェンダーパネル520B、ドアフレーム、ルーフパネル、ピラーパネル、トランクパネル520C、前面バンパー、後面バンパー、スポイラー、ヘッドライト、尾灯、霧灯、および車体底CBのうちの少なくとも一つ以上を外面または内面で振動させることができる。
一つ以上の音響発生装置10は、フードパネル520A、フロントフェンダーパネル520B、およびトランクパネル520Cのうちの一つ以上に配置され得る。よって、1チャネル以上の音響を出力することができる。
本明細書の実施例による一つ以上の音響発生装置10はフードパネル520Aの内側面に連結されるかまたは結合され、フードパネル520Aを間接的にまたは直接的に振動させて運送装置の外部空間に音響を出力するように構成され得る。例えば、一つ以上の音響発生装置10はフードパネル520Aの内側面の中心部および縁部のうちの一つ以上に連結されるかまたは結合されるように構成され得る。
本明細書の実施例による一つ以上の音響発生装置10は図1~図13Bを参照して説明した音響装置100のうちの一つ以上を含むことができる。一つ以上の音響発生装置10はフードパネル520Aの内側面に連結または結合され得る。例えば、一つ以上の音響発生装置10は150Hzで20kHzの音響を出力するように構成され得る。例えば、一つ以上の音響発生装置10はフードパネルスピーカーまたは第18スピーカーなどであり得るが、本明細書の実施例はこれに限定されない。
本明細書の実施例による一つ以上の音響発生装置10はフロントフェンダーパネル520Bの内側面に連結されるかまたは結合され、フロントフェンダーパネル520Bを間接的にまたは直接的に振動させて運送装置の外部空間に音響を出力するように構成され得る。例えば、一つ以上の音響発生装置10はフロントフェンダーパネル520Bの内側面に一定の間隔で配置され得る。
本明細書の実施例による一つ以上の音響発生装置10は図1~図13Bを参照して説明した音響装置100のうちの一つ以上を含むことができる。一つ以上の音響発生装置10はフロントフェンダーパネル520Bの内側面に連結または結合され得る。例えば、一つ以上の音響発生装置10は150Hzで20kHzの音響を出力するように構成され得る。例えば、一つ以上の音響発生装置10はフェンダーパネルスピーカーまたは第19スピーカーなどと言えるが、本明細書の実施例はこれに限定されない。
本明細書の実施例による一つ以上の音響発生装置10はトランクパネル520Cの内側面に連結されるかまたは結合され、トランクパネル520Cを間接的にまたは直接的に振動させて運送装置の外部空間に音響を出力するように構成され得る。例えば、一つ以上の音響発生装置10はトランクパネル520Cの内側面の中心部および縁部のうちの一つ以上に連結されるかまたは結合されるように構成され得る。
本明細書の実施例による一つ以上の音響発生装置10は図1~図13Bを参照して説明した音響装置100のうちの一つ以上を含むことができる。一つ以上の音響発生装置10はトランクパネル520Cの内側面に連結または結合され得る。例えば、一つ以上の音響発生装置10は150Hzで20kHzの音響を出力するように構成され得る。例えば、一つ以上の音響発生装置10はトランクパネルスピーカーまたは第20スピーカーなどであり得るが、本明細書の実施例はこれに限定されない。
本明細書の他の実施例によれば、一つ以上の音響発生装置10はドアインナーパネルおよびドアアウターパネルのうちの一つ以上に配置され得る。
図15を参照すると、本明細書の実施例による運送装置は、バッテリーモジュールBMおよび車体底CBをさらに含むことができる。
例えば、バッテリーモジュールBMは外装材520に配置され得る。例えば、車体底CBはバッテリーモジュールBMを覆うことができる。車体底CBは車体パネルであり得るが、本明細書の実施例はこれに限定されない。
最近、電気車などの騷音がない環境に優しい運送装置は、運送装置の動くとき、歩行者がこれを認知することができない問題点がある。よって、運送装置は危険性を認知することができるAVASを運送装置に装着している。
本明細書の実施例によれば、運送装置はAVAS(Acoustic Vehicle Alert System)をさらに含むことができる、AVASは運送装置の位置および/または運行情報を歩行者に伝達する装置であり得る。AVASは仮想エンジンサウンドシステムまた車両接近情報装置であり得るが、本明細書の実施例はこれに限定されない。
例えば、AVASは運送装置の前方のエンジンに構成され得る。よって、運送装置の前方の音響は後方の音響と同等な音響を出力することができない問題点がある。そして、前方に備えられた音響装置で運送装置の後方の音響を合わせる場合、前方の音響が相対的に大きくなり、室内に音響が流入する問題点がある。したがって、本明細書の発明者らは運送装置の前方の音響および後方の音響を同等な音響に調節するための多様な研究および実験を行った。これについて以下で説明する。
一つ以上の音響発生装置10はバッテリーモジュールBMと車体底CBとの間に配置され得る。図14を参照すると、一つ以上の音響発生装置10は運送装置の中央に配置され得る。他の例によれば、一つ以上の音響発生装置10は、運送装置の前後左右のうちの一側以上に配置され得る。
本明細書の実施例によれば、バッテリーモジュールBMと車体底CBとの間に配置される一つ以上の音響発生装置10はAVASであり得る。よって、運送装置のエンジンにAVASが配置される場合に発生する前方の音響と後方の音響とが異なる問題点を解決することができるので、運送装置の周辺に同等な音響を有するAVASを提供することができる。そして、運送装置の室内に対して遮蔽される部分にAVASを配置することができるので、室内に流入する音響および/またはノイズを最小化するかまたは減らすことができる。本明細書の実施例によれば、図3~図5を参照して説明した連結部材145を有する音響装置100でAVASを具現することができるので、中低音域帯および/または高音域帯での音響特性が向上したAVASを提供することができ、運送装置の配置の自由度が向上することができる。
本明細書の実施例による運送装置は、内装材530に配置された一つ以上の音響発生装置10、室内空間に露出した内装材530に配置された一つ以上の音響発生装置10、ガラス窓540に配置された一つ以上の音響発生装置10、ガーニッシュ部材に配置された一つ以上の音響発生装置10、および外装材520に配置された一つ以上の音響発生装置10のうちの少なくとも一つ以上を介して音響を室内空間および外部空間のうちの一つ以上に出力することにより、外装材520および内装材530のうちの一つ以上を音響振動板として使用して音響を出力することができ、多チャンネルを含むサラウンド立体音響を出力することができる。
本明細書の実施例による音響装置およびこれを含む運送装置は下記のように説明することができる。
本明細書の実施例による音響装置は、振動部材と、振動部材の後面に備えられたエンクロージャーと、振動部材およびエンクロージャーの間に備えられ、振動部材の縁部を移動可能に支持する連結部材と、振動部材を振動させる振動装置とを含むことができる。
本明細書の一つ以上の実施例によれば、振動部材は、平面構造または非平面構造を有することができる。
本明細書の一つ以上の実施例によれば、振動部材は、連結部材と連結された突出部を含むことができる。
本明細書の一つ以上の実施例によれば、突出部は振動部材の後面から突出することができる。連結部材は、突出部を収容する溝を含むことができる。
本明細書の一つ以上の実施例によれば、連結部材は、振動部材の後面の縁部を支持する第1支持部を含むことができる。第1支持部は、内部空間および内部空間に連結されたホールを含むことができる。突出部は第1支持ホールに収容され得る。
本明細書の一つ以上の実施例によれば、エンクロージャーは、底部と、底部の縁端に連結され、連結部材と連結された側部とを含むことができる。
本明細書の一つ以上の実施例によれば、連結部材は、振動部材と連結された第1連結部と、エンクロージャーと連結された第2連結部とを含むことができる。第1連結部および第2連結部のそれぞれは弾性を有することができる。
本明細書の一つ以上の実施例によれば、振動部材は、第1連結部と連結された突出部を含むことができる。エンクロージャーは、第2連結部と連結された側部を含むことができる。
本明細書の一つ以上の実施例によれば、第1連結部は、突出部を収容する第1収容部を含むことができる。第2連結部は、側部を収容する第2収容部を含むことができる。
本明細書の一つ以上の実施例によれば、連結部材は、弾性を有する可撓性材料で構成され得る。
本明細書の一つ以上の実施例によれば、振動装置は振動素子を含むことができる。振動素子は、振動部と、振動部の第1面に備えられた第1電極部と、振動部の第1面と異なる面に備えられた第2電極部とを含むことができる。
本明細書の一つ以上の実施例によれば、振動部は、圧電特性を有する無機物質部を含むことができる。
本明細書の一つ以上の実施例によれば、振動部は、圧電特性を有する複数の無機物質部と、複数の無機物質部の間に備えられた有機物質部とを含むことができる。
本明細書の一つ以上の実施例によれば、振動装置は、第1電極部に備えられた第1カバー部材と、第2電極部に備えられた第2カバー部材とを含むことができる。
本明細書の一つ以上の実施例によれば、振動装置は、第1カバー部材と第1電極部との間に備えられた第1接着層と、第2カバー部材と第2電極部との間に備えられた第2接着層とをさらに含むことができる。
本明細書の一つ以上の実施例によれば、振動装置の下に備えられた一つ以上の緩衝部材をさらに含むことができる。
本明細書の一つ以上の実施例によれば、一つ以上の緩衝部材は、第1緩衝部材および第1緩衝部材上に備えられた第2緩衝部材を含むことができる。第1緩衝部材は、第2緩衝部材の弾性係数と異なる弾性係数を有する材質で構成され得る。
本明細書の一つ以上の実施例によれば、第2緩衝部材は、振動部材が撓う方向に垂直な方向のパターンを含むことができる。
本明細書の一つ以上の実施例によれば、振動部材は金属材質を含むか、または木材、ゴム、プラスチック、カーボン、ガラス、繊維、布地、紙、および皮のうちの一つ以上の単一の非金属材質または複合非金属材質を含むことができる。
本明細書の一つ以上の実施例によれば、振動装置は、信号ケーブルをさらに含むことができる。
本明細書の一つ以上の実施例によれば、連結部材は、信号ケーブルが通過する開口部を含むことができる。振動部材とエンクロージャーとの間の部分のうち開口部を除いた残りの部分をシーリングすることができる。
本明細書の一つ以上の実施例によれば、振動部材は、映像を表示する画素を有する表示パネル、表示装置から映像が投射されるスクリーンパネル、照明パネル、サイニジパネル、運送手段の内装材、運送手段のガラス窓、運送手段の外装材、建物の天井材、建物の内装材、建物のガラス窓、航空機の内装材、航空機のガラス窓、金属、木材、ゴム、プラスチック、カーボン、ガラス、繊維、布地、紙、皮、および鏡のうちの一つ以上を含むことができる。
本明細書の実施例による運送装置は、外装材と、外装材を覆う内装材と、外装材、内装材、および外装材と内装材との間のうちの少なくとも一つ以上に備えられた一つ以上の音響発生装置とを含むことができる。一つ以上の音響発生装置は、請求項1~21のいずれか一項に記載の音響装置を含むことができる。内装材および外装材のうちの一つ以上は一つ以上の音響発生装置の振動によって音響を出力することができる。
本明細書の一つ以上の実施例によれば、内装材および外装材のうちの一つは、音響装置のエンクロージャーで構成され得る。
本明細書の一つ以上の実施例によれば、内装材および外装材のうちの一つは、音響装置の振動部材で構成され得る。
本明細書の一つ以上の実施例によれば、内装材は、ダッシュボード、ピラー内装材、ルーフ内装材、ドア内装材、座席内装材、ハンドル内装材、フロア内装材、およびリアパッケージ内装材のうちの少なくとも一つ以上を含むことができる。一つ以上の音響発生装置は、ダッシュボード、ピラー内装材、ルーフ内装材、ドア内装材、座席内装材、ハンドル内装材、フロア内装材、およびリアパッケージ内装材のうちの少なくとも一つ以上を振動させることができる。
本明細書の一つ以上の実施例によれば、外装材は、フードパネル、フロントフェンダーパネル、ドアフレーム、ルーフパネル、ピラーパネル、トランクパネル、前面バンパー、後面バンパー、スポイラー、ヘッドライト、尾灯、霧灯、および車体底のうちの少なくとも一つ以上を含むことができる。一つ以上の音響発生装置は、フードパネル、フロントフェンダーパネル、ドアフレーム、ルーフパネル、ピラーパネル、トランクパネル、前面バンパー、後面バンパー、スポイラー、ヘッドライト、尾灯、霧灯、および車体底のうちの少なくとも一つ以上を外面または内面で振動させることができる。
本明細書の一つ以上の実施例によれば、外装材に配置されたバッテリーモジュールをさらに含み、外装材は、バッテリーモジュールを覆う車体底を含むことができる。一つ以上の音響発生装置は、バッテリーモジュールと車体底との間に配置され得る。
本明細書の実施例による音響装置は装置に配置される音響装置に適用可能である。本明細書の実施例による装置は、モバイルデバイス、映像電話機、スマートウォッチ(smart watch)、ウォッチフォン(watch phone)、ウェアラブル機器(wearable apparatus)、フォールダブル機器(foldable apparatus)、ローラブル機器(rollable apparatus)、ベンダブル機器(bendable apparatus)、フレキシブル機器(flexible apparatus)、カーブド機器(curved apparatus)、スライディング機器(sliding apparatus)、可変型機器(variable apparatus)、電子手帳、電子本、PMP(portable multimedia player)、PDA(personal digital assistant)、MP3プレーヤー、モバイル医療機器、デスクトップPC(desktop PC)、ラップトップPC(laptop PC)、ネットブックコンピュータ(netbook computer)、ワークステーション(workstation)、ナビゲーション、車両用ナビゲーション、車両用表示装置、車両用装置、劇場用装置、劇場用表示装置、テレビ、ウォールペーパー(wallpaper)機器、サイニジ(signage)機器、ゲーム機器、ノートブックPC、モニター、カメラ、カムコーダー、および家電機器などに適用可能である。そして、本明細書のいくつかの実施例による音響装置は有機発光照明装置または無機発光照明装置に適用可能である。音響装置が照明装置に適用される場合、照明装置は照明およびスピーカーの役割を果たすことができる。そして、本明細書のいくつかの実施例による音響装置がモバイルデバイスなどに適用される場合、音響装置は、スピーカー、レシーバー、およびハプティック装置のうちの一つ以上であり得るが、本明細書の実施例はこれに限定されない。
以上で説明した本明細書は前述した実施例および添付図面に限定されるものではなく、本明細書の技術的思想を逸脱しない範囲内でさまざまな置換、変形および変更が可能であるというのは本明細書が属する技術分野で通常の知識を有する者に明らかであろう。したがって、本明細書の範囲は後述する特許請求の範囲によって決定され、特許請求の範囲の意味および範囲並びにその等価の概念から導出されるすべての変更または変形の形態は本明細書の範囲に含まれるものと解釈されなければならない。
100 音響装置
110 振動部材
120 接着部材
130 振動装置
140、145 連結部材
150 エンクロージャー
135、137 緩衝部材

Claims (28)

  1. 振動部材と、
    前記振動部材の後面に備えられたエンクロージャーと、
    前記振動部材および前記エンクロージャーの間に備えられ、前記振動部材の縁部を移動可能に支持する連結部材と、
    前記振動部材を振動させる振動装置と、を含み、
    前記振動部材は、前記連結部材と連結された突出部を含み、
    前記連結部材は、前記振動部材の後面の縁部を支持する第1連結部を含み、
    前記第1連結部は、内部空間および前記内部空間に連通するホールを含み、
    前記突出部は前記第1連結部の前記ホールに収容されている、音響装置。
  2. 前記振動部材は、平面構造または非平面構造を有する、請求項1に記載の音響装置。
  3. 前記連結部材は、
    前記振動部材と連結された前記第1連結部と、
    前記エンクロージャーと連結された第2連結部と、を含む、請求項1に記載の音響装置。
  4. 前記突出部は前記振動部材の後面から突出し、
    前記連結部材は、前記突出部を収容する溝を含む、請求項に記載の音響装置。
  5. 前記振動部材は、前記第1連結部と連結された前記突出部を含み、
    前記エンクロージャーは、前記第2連結部と連結された側部を含む、請求項3に記載の音響装置。
  6. 前記エンクロージャーは、
    底部と、
    前記底部の縁端に連結され、前記連結部材と連結された側部と、を含む、請求項1に記載の音響装置。
  7. 前記連結部材は、
    前記振動部材と連結された前記第1連結部と、
    前記エンクロージャーと連結された第2連結部と、を含み、
    前記第1連結部および前記第2連結部のそれぞれは弾性を有する、請求項1に記載の音響装置。
  8. 前記振動部材は、前記第1連結部と連結された突出部を含み、
    前記エンクロージャーは、前記第2連結部と連結された側部を含む、請求項7に記載の音響装置。
  9. 前記第1連結部は、前記突出部を収容する第1収容部を含み、
    前記第2連結部は、前記側部を収容する第2収容部を含む、請求項8に記載の音響装置。
  10. 前記連結部材は、弾性を有する可撓性材料で構成される、請求項1に記載の音響装置。
  11. 前記振動装置は振動素子を含み、
    前記振動素子は、
    振動部と、
    前記振動部の第1面に備えられた第1電極部と、
    前記振動部の前記第1面と異なる面に備えられた第2電極部と、を含む、請求項1に記載の音響装置。
  12. 前記振動部は、圧電特性を有する無機物質部を含む、請求項11に記載の音響装置。
  13. 前記振動部は、
    圧電特性を有する複数の無機物質部と、
    前記複数の無機物質部の間に備えられた有機物質部と、を含む、請求項11に記載の音響装置。
  14. 前記振動装置は、
    前記第1電極部に備えられた第1カバー部材と、
    前記第2電極部に備えられた第2カバー部材と、を含む、請求項11に記載の音響装置。
  15. 前記振動装置は、
    前記第1カバー部材と前記第1電極部との間に備えられた第1接着層と、
    前記第2カバー部材と前記第2電極部との間に備えられた第2接着層と、をさらに含む、請求項14に記載の音響装置。
  16. 前記振動装置の下に備えられた一つ以上の緩衝部材をさらに含む、請求項1に記載の音響装置。
  17. 前記一つ以上の緩衝部材は、第1緩衝部材および前記第1緩衝部材上に備えられた第2緩衝部材を含み、
    前記第1緩衝部材は、前記第2緩衝部材の弾性係数と異なる弾性係数を有する材料で構成される、請求項16に記載の音響装置。
  18. 前記第1連結部は、前記突出部を収容する第1収容空間を含み、
    前記第2連結部は、前記側部を収容する第2収容空間を含む、請求項5に記載の音響装置。
  19. 前記振動部材は金属材料を含むか、または木材、ゴム、プラスチック、カーボン、ガラス、繊維、布地、紙、および皮のうちの一つ以上の単一の非金属材料または複合非金属材料を含む、請求項1に記載の音響装置。
  20. 前記振動装置は、信号ケーブルをさらに含む、請求項1に記載の音響装置。
  21. 前記連結部材は前記信号ケーブルが通過する開口部を含み、前記振動部材と前記エンクロージャーとの間の部分のうち前記開口部を除いた残りの部分シーリングされる、請求項20に記載の音響装置。
  22. 前記振動部材は、映像を表示する画素を有する表示パネル、表示装置から映像が投射されるスクリーンパネル、照明パネル、サイネージパネル、運送手段の内装材、運送手段のガラス窓、運送手段の外装材、建物の天井材、建物の内装材、建物のガラス窓、航空機の内装材、航空機のガラス窓、金属、木材、ゴム、プラスチック、カーボン、ガラス、繊維、布地、紙、皮、および鏡のうちの一つ以上を含む、請求項1に記載の音響装置。
  23. 外装材と、
    前記外装材を覆う内装材と、
    前記外装材、前記内装材、および前記外装材と前記内装材との間のうちの少なくとも一つ以上に備えられた一つ以上の音響発生装置と、を含み、
    前記一つ以上の音響発生装置は、請求項1~22のいずれか一項に記載の音響装置を含み、
    前記内装材および前記外装材のうちの一つ以上は前記一つ以上の音響発生装置の振動によって音響を出力する、運送装置。
  24. 前記内装材および前記外装材のうちの一つは、前記音響装置のエンクロージャーで構成される、請求項23に記載の運送装置。
  25. 前記内装材および前記外装材のうちの一つは、前記音響装置の振動部材で構成される、請求項23に記載の運送装置。
  26. 前記内装材は、ダッシュボード、ピラー内装材、ルーフ内装材、ドア内装材、座席内装材、ハンドル内装材、フロア内装材、およびリアパッケージ内装材のうちの少なくとも一つ以上を含み、
    前記一つ以上の音響発生装置は、前記ダッシュボード、前記ピラー内装材、前記ルーフ内装材、前記ドア内装材、前記座席内装材、前記ハンドル内装材、前記フロア内装材、および前記リアパッケージ内装材のうちの少なくとも一つ以上を振動させる、請求項23に記載の運送装置。
  27. 前記外装材は、フードパネル、フロントフェンダーパネル、ドアフレーム、ルーフパネル、ピラーパネル、トランクパネル、前面バンパー、後面バンパー、スポイラー、ヘッドライト、尾灯、霧灯、および車体底のうちの少なくとも一つ以上を含み、
    前記一つ以上の音響発生装置は、前記フードパネル、前記フロントフェンダーパネル、前記ドアフレーム、前記ルーフパネル、前記ピラーパネル、前記トランクパネル、前記前面バンパー、前記後面バンパー、前記スポイラー、前記ヘッドライト、前記尾灯、前記霧灯、および前記車体底のうちの少なくとも一つ以上を外面または内面から振動させる、請求項23に記載の運送装置。
  28. 前記外装材に配置されたバッテリーモジュールをさらに含み、
    前記外装材は、前記バッテリーモジュールを覆う車体底を含み、
    前記一つ以上の音響発生装置は、前記バッテリーモジュールと前記車体底との間に配置されている、請求項23に記載の運送装置。
JP2023204257A 2022-12-01 2023-12-01 音響装置およびこれを含む運送装置 Active JP7690010B2 (ja)

Applications Claiming Priority (2)

Application Number Priority Date Filing Date Title
KR1020220165763A KR20240081964A (ko) 2022-12-01 2022-12-01 음향 장치 및 이를 포함하는 운송 장치
KR10-2022-0165763 2022-12-01

Publications (2)

Publication Number Publication Date
JP2024080695A JP2024080695A (ja) 2024-06-13
JP7690010B2 true JP7690010B2 (ja) 2025-06-09

Family

ID=88969461

Family Applications (1)

Application Number Title Priority Date Filing Date
JP2023204257A Active JP7690010B2 (ja) 2022-12-01 2023-12-01 音響装置およびこれを含む運送装置

Country Status (5)

Country Link
US (1) US20240187768A1 (ja)
EP (1) EP4380194A1 (ja)
JP (1) JP7690010B2 (ja)
KR (1) KR20240081964A (ja)
CN (1) CN118138960A (ja)

Citations (5)

* Cited by examiner, † Cited by third party
Publication number Priority date Publication date Assignee Title
JP2009105610A (ja) 2007-10-23 2009-05-14 Casio Hitachi Mobile Communications Co Ltd 防水構造及び電子機器
WO2009063568A1 (ja) 2007-11-16 2009-05-22 Pioneer Corporation スピーカ装置
JP2019161619A (ja) 2018-03-16 2019-09-19 パナソニックIpマネジメント株式会社 スピーカ、電子機器および移動体装置
JP2021180486A (ja) 2020-05-11 2021-11-18 エルジー ディスプレイ カンパニー リミテッド 車両用音響発生装置およびこれを含む車両
JP2022172467A (ja) 2021-05-04 2022-11-16 エルジー ディスプレイ カンパニー リミテッド 装置

Family Cites Families (6)

* Cited by examiner, † Cited by third party
Publication number Priority date Publication date Assignee Title
JP4774861B2 (ja) * 2005-08-18 2011-09-14 ソニー株式会社 フラットパネルスピーカ
KR102740794B1 (ko) * 2020-03-31 2024-12-09 엘지디스플레이 주식회사 진동 장치 및 이를 포함하는 표시 장치
KR102805671B1 (ko) * 2020-03-31 2025-05-09 엘지디스플레이 주식회사 진동발생장치 및 이를 구비한 표시장치
EP3962108A1 (en) * 2020-08-31 2022-03-02 LG Display Co., Ltd. Vibration apparatus and apparatus including the same
US12114117B2 (en) * 2020-12-09 2024-10-08 Lg Display Co., Ltd. Apparatus including vibration member to generate sound and vibration for enhancing sound characteristic and sound pressure level characteristic
KR20220150820A (ko) * 2021-05-04 2022-11-11 엘지디스플레이 주식회사 장치

Patent Citations (5)

* Cited by examiner, † Cited by third party
Publication number Priority date Publication date Assignee Title
JP2009105610A (ja) 2007-10-23 2009-05-14 Casio Hitachi Mobile Communications Co Ltd 防水構造及び電子機器
WO2009063568A1 (ja) 2007-11-16 2009-05-22 Pioneer Corporation スピーカ装置
JP2019161619A (ja) 2018-03-16 2019-09-19 パナソニックIpマネジメント株式会社 スピーカ、電子機器および移動体装置
JP2021180486A (ja) 2020-05-11 2021-11-18 エルジー ディスプレイ カンパニー リミテッド 車両用音響発生装置およびこれを含む車両
JP2022172467A (ja) 2021-05-04 2022-11-16 エルジー ディスプレイ カンパニー リミテッド 装置

Also Published As

Publication number Publication date
JP2024080695A (ja) 2024-06-13
KR20240081964A (ko) 2024-06-10
US20240187768A1 (en) 2024-06-06
CN118138960A (zh) 2024-06-04
EP4380194A1 (en) 2024-06-05

Similar Documents

Publication Publication Date Title
JP2024105488A (ja) 振動装置とそれを含む装置および運送装置
JP7784482B2 (ja) 音響装置およびそれを含む運送装置
US12335686B2 (en) Apparatus and vehicular apparatus including the same
JP7690010B2 (ja) 音響装置およびこれを含む運送装置
JP7637107B2 (ja) 音響装置
US20240260475A1 (en) Vibration apparatus and apparatus including the same
US20240179457A1 (en) Apparatus
US20250048037A1 (en) Acoustic apparatus and vehicular apparatus comprising the same
US20250168544A1 (en) Sound apparatus and vehicular apparatus including the same
US20250175743A1 (en) Acoustic apparatus
US20240422472A1 (en) Sound apparatus and vehicular apparatus including the same
KR20250123437A (ko) 음향 구동 회로, 이를 포함하는 음향 장치 및 운송 장치
KR20240177255A (ko) 음향 장치 및 이를 포함하는 운송 장치
KR20240177256A (ko) 음향 장치 및 이를 포함하는 운송 장치
KR20250050480A (ko) 진동 장치 및 이를 포함하는 운송 장치
CN120224086A (zh) 电子设备

Legal Events

Date Code Title Description
A621 Written request for application examination

Free format text: JAPANESE INTERMEDIATE CODE: A621

Effective date: 20231204

A977 Report on retrieval

Free format text: JAPANESE INTERMEDIATE CODE: A971007

Effective date: 20241212

A131 Notification of reasons for refusal

Free format text: JAPANESE INTERMEDIATE CODE: A131

Effective date: 20250121

A521 Request for written amendment filed

Free format text: JAPANESE INTERMEDIATE CODE: A523

Effective date: 20250401

TRDD Decision of grant or rejection written
A01 Written decision to grant a patent or to grant a registration (utility model)

Free format text: JAPANESE INTERMEDIATE CODE: A01

Effective date: 20250507

A61 First payment of annual fees (during grant procedure)

Free format text: JAPANESE INTERMEDIATE CODE: A61

Effective date: 20250528

R150 Certificate of patent or registration of utility model

Ref document number: 7690010

Country of ref document: JP

Free format text: JAPANESE INTERMEDIATE CODE: R150