JP7679482B2 - 生物物理学的信号の読み取りに基づき電磁治療プロトコルを生成するためのシステムおよび方法 - Google Patents

生物物理学的信号の読み取りに基づき電磁治療プロトコルを生成するためのシステムおよび方法 Download PDF

Info

Publication number
JP7679482B2
JP7679482B2 JP2023553510A JP2023553510A JP7679482B2 JP 7679482 B2 JP7679482 B2 JP 7679482B2 JP 2023553510 A JP2023553510 A JP 2023553510A JP 2023553510 A JP2023553510 A JP 2023553510A JP 7679482 B2 JP7679482 B2 JP 7679482B2
Authority
JP
Japan
Prior art keywords
sensors
electromagnetic field
patient
array
emitters
Prior art date
Legal status (The legal status is an assumption and is not a legal conclusion. Google has not performed a legal analysis and makes no representation as to the accuracy of the status listed.)
Active
Application number
JP2023553510A
Other languages
English (en)
Other versions
JP2024509174A (ja
Inventor
ジャスミナ・イサコヴィッチ
Current Assignee (The listed assignees may be inaccurate. Google has not performed a legal analysis and makes no representation or warranty as to the accuracy of the list.)
Individual
Original Assignee
Individual
Priority date (The priority date is an assumption and is not a legal conclusion. Google has not performed a legal analysis and makes no representation as to the accuracy of the date listed.)
Filing date
Publication date
Application filed by Individual filed Critical Individual
Publication of JP2024509174A publication Critical patent/JP2024509174A/ja
Application granted granted Critical
Publication of JP7679482B2 publication Critical patent/JP7679482B2/ja
Active legal-status Critical Current
Anticipated expiration legal-status Critical

Links

Images

Classifications

    • AHUMAN NECESSITIES
    • A61MEDICAL OR VETERINARY SCIENCE; HYGIENE
    • A61NELECTROTHERAPY; MAGNETOTHERAPY; RADIATION THERAPY; ULTRASOUND THERAPY
    • A61N2/00Magnetotherapy
    • A61N2/02Magnetotherapy using magnetic fields produced by coils, including single turn loops or electromagnets
    • AHUMAN NECESSITIES
    • A61MEDICAL OR VETERINARY SCIENCE; HYGIENE
    • A61NELECTROTHERAPY; MAGNETOTHERAPY; RADIATION THERAPY; ULTRASOUND THERAPY
    • A61N1/00Electrotherapy; Circuits therefor
    • A61N1/18Applying electric currents by contact electrodes
    • A61N1/32Applying electric currents by contact electrodes alternating or intermittent currents
    • A61N1/36Applying electric currents by contact electrodes alternating or intermittent currents for stimulation
    • AHUMAN NECESSITIES
    • A61MEDICAL OR VETERINARY SCIENCE; HYGIENE
    • A61BDIAGNOSIS; SURGERY; IDENTIFICATION
    • A61B18/00Surgical instruments, devices or methods for transferring non-mechanical forms of energy to or from the body
    • A61B18/04Surgical instruments, devices or methods for transferring non-mechanical forms of energy to or from the body by heating
    • A61B18/12Surgical instruments, devices or methods for transferring non-mechanical forms of energy to or from the body by heating by passing a current through the tissue to be heated, e.g. high-frequency current
    • A61B18/1206Generators therefor
    • AHUMAN NECESSITIES
    • A61MEDICAL OR VETERINARY SCIENCE; HYGIENE
    • A61BDIAGNOSIS; SURGERY; IDENTIFICATION
    • A61B5/00Measuring for diagnostic purposes; Identification of persons
    • A61B5/01Measuring temperature of body parts ; Diagnostic temperature sensing, e.g. for malignant or inflamed tissue
    • AHUMAN NECESSITIES
    • A61MEDICAL OR VETERINARY SCIENCE; HYGIENE
    • A61BDIAGNOSIS; SURGERY; IDENTIFICATION
    • A61B5/00Measuring for diagnostic purposes; Identification of persons
    • A61B5/05Detecting, measuring or recording for diagnosis by means of electric currents or magnetic fields; Measuring using microwaves or radio waves
    • A61B5/053Measuring electrical impedance or conductance of a portion of the body
    • AHUMAN NECESSITIES
    • A61MEDICAL OR VETERINARY SCIENCE; HYGIENE
    • A61BDIAGNOSIS; SURGERY; IDENTIFICATION
    • A61B5/00Measuring for diagnostic purposes; Identification of persons
    • A61B5/24Detecting, measuring or recording bioelectric or biomagnetic signals of the body or parts thereof
    • A61B5/316Modalities, i.e. specific diagnostic methods
    • A61B5/369Electroencephalography [EEG]
    • AHUMAN NECESSITIES
    • A61MEDICAL OR VETERINARY SCIENCE; HYGIENE
    • A61BDIAGNOSIS; SURGERY; IDENTIFICATION
    • A61B5/00Measuring for diagnostic purposes; Identification of persons
    • A61B5/44Detecting, measuring or recording for evaluating the integumentary system, e.g. skin, hair or nails
    • AHUMAN NECESSITIES
    • A61MEDICAL OR VETERINARY SCIENCE; HYGIENE
    • A61BDIAGNOSIS; SURGERY; IDENTIFICATION
    • A61B5/00Measuring for diagnostic purposes; Identification of persons
    • A61B5/48Other medical applications
    • A61B5/4836Diagnosis combined with treatment in closed-loop systems or methods
    • AHUMAN NECESSITIES
    • A61MEDICAL OR VETERINARY SCIENCE; HYGIENE
    • A61NELECTROTHERAPY; MAGNETOTHERAPY; RADIATION THERAPY; ULTRASOUND THERAPY
    • A61N1/00Electrotherapy; Circuits therefor
    • A61N1/18Applying electric currents by contact electrodes
    • A61N1/32Applying electric currents by contact electrodes alternating or intermittent currents
    • A61N1/36Applying electric currents by contact electrodes alternating or intermittent currents for stimulation
    • A61N1/36014External stimulators, e.g. with patch electrodes
    • A61N1/3603Control systems
    • A61N1/36031Control systems using physiological parameters for adjustment
    • AHUMAN NECESSITIES
    • A61MEDICAL OR VETERINARY SCIENCE; HYGIENE
    • A61NELECTROTHERAPY; MAGNETOTHERAPY; RADIATION THERAPY; ULTRASOUND THERAPY
    • A61N1/00Electrotherapy; Circuits therefor
    • A61N1/40Applying electric fields by inductive or capacitive coupling ; Applying radio-frequency signals
    • AHUMAN NECESSITIES
    • A61MEDICAL OR VETERINARY SCIENCE; HYGIENE
    • A61NELECTROTHERAPY; MAGNETOTHERAPY; RADIATION THERAPY; ULTRASOUND THERAPY
    • A61N2/00Magnetotherapy
    • A61N2/004Magnetotherapy specially adapted for a specific therapy
    • AHUMAN NECESSITIES
    • A61MEDICAL OR VETERINARY SCIENCE; HYGIENE
    • A61NELECTROTHERAPY; MAGNETOTHERAPY; RADIATION THERAPY; ULTRASOUND THERAPY
    • A61N2/00Magnetotherapy
    • A61N2/004Magnetotherapy specially adapted for a specific therapy
    • A61N2/006Magnetotherapy specially adapted for a specific therapy for magnetic stimulation of nerve tissue
    • AHUMAN NECESSITIES
    • A61MEDICAL OR VETERINARY SCIENCE; HYGIENE
    • A61NELECTROTHERAPY; MAGNETOTHERAPY; RADIATION THERAPY; ULTRASOUND THERAPY
    • A61N2/00Magnetotherapy
    • A61N2/004Magnetotherapy specially adapted for a specific therapy
    • A61N2/008Magnetotherapy specially adapted for a specific therapy for pain treatment or analgesia
    • GPHYSICS
    • G06COMPUTING OR CALCULATING; COUNTING
    • G06NCOMPUTING ARRANGEMENTS BASED ON SPECIFIC COMPUTATIONAL MODELS
    • G06N20/00Machine learning
    • GPHYSICS
    • G16INFORMATION AND COMMUNICATION TECHNOLOGY [ICT] SPECIALLY ADAPTED FOR SPECIFIC APPLICATION FIELDS
    • G16HHEALTHCARE INFORMATICS, i.e. INFORMATION AND COMMUNICATION TECHNOLOGY [ICT] SPECIALLY ADAPTED FOR THE HANDLING OR PROCESSING OF MEDICAL OR HEALTHCARE DATA
    • G16H10/00ICT specially adapted for the handling or processing of patient-related medical or healthcare data
    • G16H10/60ICT specially adapted for the handling or processing of patient-related medical or healthcare data for patient-specific data, e.g. for electronic patient records
    • GPHYSICS
    • G16INFORMATION AND COMMUNICATION TECHNOLOGY [ICT] SPECIALLY ADAPTED FOR SPECIFIC APPLICATION FIELDS
    • G16HHEALTHCARE INFORMATICS, i.e. INFORMATION AND COMMUNICATION TECHNOLOGY [ICT] SPECIALLY ADAPTED FOR THE HANDLING OR PROCESSING OF MEDICAL OR HEALTHCARE DATA
    • G16H20/00ICT specially adapted for therapies or health-improving plans, e.g. for handling prescriptions, for steering therapy or for monitoring patient compliance
    • G16H20/30ICT specially adapted for therapies or health-improving plans, e.g. for handling prescriptions, for steering therapy or for monitoring patient compliance relating to physical therapies or activities, e.g. physiotherapy, acupressure or exercising
    • GPHYSICS
    • G16INFORMATION AND COMMUNICATION TECHNOLOGY [ICT] SPECIALLY ADAPTED FOR SPECIFIC APPLICATION FIELDS
    • G16HHEALTHCARE INFORMATICS, i.e. INFORMATION AND COMMUNICATION TECHNOLOGY [ICT] SPECIALLY ADAPTED FOR THE HANDLING OR PROCESSING OF MEDICAL OR HEALTHCARE DATA
    • G16H20/00ICT specially adapted for therapies or health-improving plans, e.g. for handling prescriptions, for steering therapy or for monitoring patient compliance
    • G16H20/40ICT specially adapted for therapies or health-improving plans, e.g. for handling prescriptions, for steering therapy or for monitoring patient compliance relating to mechanical, radiation or invasive therapies, e.g. surgery, laser therapy, dialysis or acupuncture
    • GPHYSICS
    • G16INFORMATION AND COMMUNICATION TECHNOLOGY [ICT] SPECIALLY ADAPTED FOR SPECIFIC APPLICATION FIELDS
    • G16HHEALTHCARE INFORMATICS, i.e. INFORMATION AND COMMUNICATION TECHNOLOGY [ICT] SPECIALLY ADAPTED FOR THE HANDLING OR PROCESSING OF MEDICAL OR HEALTHCARE DATA
    • G16H40/00ICT specially adapted for the management or administration of healthcare resources or facilities; ICT specially adapted for the management or operation of medical equipment or devices
    • G16H40/60ICT specially adapted for the management or administration of healthcare resources or facilities; ICT specially adapted for the management or operation of medical equipment or devices for the operation of medical equipment or devices
    • G16H40/67ICT specially adapted for the management or administration of healthcare resources or facilities; ICT specially adapted for the management or operation of medical equipment or devices for the operation of medical equipment or devices for remote operation

Landscapes

  • Health & Medical Sciences (AREA)
  • Life Sciences & Earth Sciences (AREA)
  • Engineering & Computer Science (AREA)
  • General Health & Medical Sciences (AREA)
  • Public Health (AREA)
  • Biomedical Technology (AREA)
  • Veterinary Medicine (AREA)
  • Animal Behavior & Ethology (AREA)
  • Nuclear Medicine, Radiotherapy & Molecular Imaging (AREA)
  • Medical Informatics (AREA)
  • Radiology & Medical Imaging (AREA)
  • Biophysics (AREA)
  • Surgery (AREA)
  • Heart & Thoracic Surgery (AREA)
  • Physics & Mathematics (AREA)
  • Molecular Biology (AREA)
  • Primary Health Care (AREA)
  • Epidemiology (AREA)
  • Pathology (AREA)
  • Neurology (AREA)
  • Theoretical Computer Science (AREA)
  • Software Systems (AREA)
  • Hospice & Palliative Care (AREA)
  • Medicinal Chemistry (AREA)
  • Pain & Pain Management (AREA)
  • Chemical & Material Sciences (AREA)
  • Physiology (AREA)
  • Physical Education & Sports Medicine (AREA)
  • Business, Economics & Management (AREA)
  • General Business, Economics & Management (AREA)
  • Urology & Nephrology (AREA)
  • Psychiatry (AREA)
  • Psychology (AREA)
  • Data Mining & Analysis (AREA)
  • Evolutionary Computation (AREA)
  • Computer Vision & Pattern Recognition (AREA)
  • Computing Systems (AREA)
  • General Engineering & Computer Science (AREA)
  • General Physics & Mathematics (AREA)
  • Mathematical Physics (AREA)

Description

本発明は、感染性疾患、欠乏性疾患、遺伝性疾患(遺伝的疾患および非遺伝的疾患の両方を含む)、および生理学的疾患、さらには他の疾患を含む、傷害、炎症、または虚血を患っている神経系、他の組織、または任意の臓器の電磁治療に関する。より具体的には、本発明は、生物物理学的信号の読み取りと同時に電磁治療プロトコルを生成するためのシステムおよび方法に関する。
電磁場(EMF)は、他の電荷または電磁場とのエネルギー相互作用が生じる帯電物体の変位によって生じるベクトル場である。電場は、電荷がその付近にある別の帯電体に電気力を及ぼす空間を表す一方、磁場は、電荷が磁気の影響を受ける場である。
電磁場は、その性質または種類および方向によって、均一と不均一とに分けられる。均一場は空間的一貫性を特徴とし、不均一場は空間的に可変である。場の性質が時間に関して変化する場合、その場は時間変動場と呼ばれる。次いで、これらの場は、その付近の電荷と相互作用するだけでなく、互いに影響し合うこともできる。変化する磁場が電場を誘導するのとちょうど同じように、変化する電場は磁場を誘導する。
神経系内の変質および脱髄が進行するか、または身体の他の部位内に炎症が生じた結果、多くのイオンチャネルが活性化動態および細胞膜に沿った分布の変化を受け、その結果、イオン流動および細胞外または細胞内濃度の不均衡が生じる。電磁場の主な特性の1つは、付近にある帯電物体に影響を及ぼす能力であるので、EMFは、細胞膜に沿った電荷分布を修正することができる。また、これらはイオンの移動を導き、電位依存性イオンチャネルの活性を制御することもできる。
中枢神経系内のすべての細胞の固有の電荷は、電磁場の影響を受けやすくする。現在、脳組織への電磁場投与の最も一般的な方法は、迷走神経刺激(VNS)、(反復)経頭蓋磁気刺激(rTMS)、脳深部刺激(DBS)、パルス電磁場(PEMF)、低周波磁場(LF-MF)からなり、これらはすべて、何らかの形で、ニューロンを通る信号伝達とその活動に影響を及ぼす。
したがって、神経系を標的とする時間変化する電磁場の適用は、外傷、脳卒中、脊髄損傷後の機能回復を促進し、さらには痛みを管理し、炎症を減少させるものとして実証されている。この適用はまた、自閉症、アルツハイマー病、てんかん、パーキンソン病、注意欠如多動性障害(ADHD)、または他の健康状態など、脳もしくは神経系の他の病状を治療するために将来利用できる潜在的可能性を示している。
病気を診断し、さらには疾患進行および治療の成功を追跡するために、脳および神経系の活動を測定するための様々な技術が開発されてきた。たとえば、脳波記録(EEG)は、脳の全体的な活動を測定するために利用され得る。脳磁図(MEG)は、脳の外側表面付近の局所的脳活動をマッピングするために使用され得る。機能的磁気共鳴画像法(fMRI)は、脳活動の空間的画像および時間的画像の両方を取得し得る。
PCT国際公開第2018/047164号は、認知課題を実行することと、EEG、MEG、およびfMRI技術により撮像を行うこととを同時に行って患者の脳の画像を提供するシステムを開示しており、患者の脳をデジタルスキャンした後に、これは患者の脳のデジタル画像を他の患者の脳の1つまたは複数の画像と比較して治療プロトコルを生成することを含む。治療は、次いで、以前の診断に基づき設定される。WO2018047164号では、患者の脳のデジタル画像を作成し、他の患者の画像の不活動部分を比較することによって、脳のどの部分が刺激される必要があるかを結論付けることに主眼を置いている。さらに、WO2018047164のシステムは、治療プロトコルを生成し電磁場発生器に入力するための神経活動のバルク空間マップを生成することに主眼を置いているが、すべて指定された治療周波数を使用して指示された損なわれた機能性を治療することを目的としている。このシステムは、神経網の機能障害を治療するために治療用電磁場を発生させるので、これは脳の機能部位さらには損なわれた機能の部位の両方に影響を及ぼす、全身的治療を行うように見える。WO2018047164は、適用される刺激のセッション中に患者に配置されている一連の神経活動センサから収集されたデータを含む情報を受信するための通信インターフェース、および複数の異なる治療プロトコルを生成するように構成されているプロセッサからなるが、本発明のシステムは、適用それ自体の際の治療個人化を目的として、エミッタとのフィードバックループ上で機能する、ビルトインセンサを有するポータブルユニット、ならびに治療設計、治療モニタリング、およびキャリブレーション用の固定ユニットからなる。
米国特許出願公開第2017/0087367号は、MEG、EEG、tMRI技術、PETスキャン、SPECT、ECOG、sMRI、OTT、MRS、およびfNRISを使用して、脳の外観をデジタル方式で可視化し、機能障害のある脳の部位を診断する。治療を行うためのシステムは、少なくとも1つの電極を組織の領域に関して配置するためのハウジングからなり、ハウジングは、少なくとも1つの電極を通して画成される開口部が空洞またはチャネルに対して開放されるように空洞またはチャネルを画成する。このシステムは、経頭蓋磁気刺激(TMS)、反復TMS(rTMS)、脈動電磁場(PEMF)、経頭蓋交流電流刺激(TACS)、経頭蓋ランダムノイズ刺激(TRNS)、時間変動電気刺激(TVES)、および超音波脳刺激(UBS)の群からの刺激モードのうちの1つから選択される放射場の強度(strength)を徐々に増大させるための「ランプアップ/ランプダウン(ramp up/ramp down)」法の原理に基づき機能する。
前述の開示の欠点のうちの1つは、人体が、絶えず変化する特性および状態を有する動的システムであるという事実を考慮せずに、単一の治療期間中一定に保たれる治療プロトコルを計画することである。したがって、治療期間にわたって一定の治療プロトコルを適用することは、リアルタイムでのヒト組織の特性、さらには生体の反応を無視するだけでなく、本発明のシステムに比べて効果が低い。
本発明のシステムおよび方法と従来技術の開示の大部分との間の別の顕著な違いは、従来技術の大部分は、神経またはニューロンの機能的変化を目的として、何らかの外傷または病気の後の患者の認知特性を改善することに主眼を置いているが、本発明のシステムおよび方法では、アルツハイマー病、多発性硬化症、脳卒中、ALS、および任意の他の自己免疫疾患もしくは生体の他の病的状態などの神経系の疾患、さらには癌の患者に対して、ニューロンだけでなく他の細胞種類の組織学的変化の誘発を通じて細胞機能を回復させるために、患者の脳または他の組織によって放射される場に類似する様々な性質の電磁場(脈動する不均一な時間変化電磁場など)を使用する点にある。信号増幅ツールとしてのみ機能するのとは反対に、本発明の電磁場は、結合組織、神経組織、免疫系、筋肉組織などの異なる細胞種類、または臓器全般の様々な細胞プロセス(細胞死、活性、遊走、分裂など)に影響を及ぼし、細胞レベルでの変化を引き起こすためにも使用され得る。本発明の解決方法は、細胞内の分子の再配向を誘発し、埋め込まれたイオンチャネルの変形を引き起こし、その活性化動態を変化させ、さらには細胞膜周辺ならびに細胞内および細胞外空間内のイオンの分布を再編成することによって機能する。これは、細胞極性形成、イオンおよびリガンド結合の速度の変化、シグナル伝播の増幅もしくは減衰、さらには電磁誘導を引き起こす。それに加えて、本発明のシステムおよび方法は、リアルタイムのセンサ読み取り値に従って個人化された治療を提供するためにエミッタとセンサとの間の対にされたフィードバックループを利用する。
最新技術の開示と本発明の技術的解決方法との間にある別の明確な違いは、治療最適化を目的としてすべての主要組織および臓器内の各細胞種類に最適なものとして特に選択された電磁場の強度および周波数の事前定義された範囲である。本発明の解決方法は、組織の不均一性を考慮し、治療プロトコルを設計する際に、各臓器または組織上で最適な治療効果をもたらすために使用されるべき電磁場の強度および周波数の事前定義された範囲を、一般的もしくは標的細胞種類に応じて定義する。人体内の各細胞は、その膜チャネルの固有共振周波数を有しているので、これらの周波数で細胞を標的にすると、細胞膜チャネルを横切るイオン流束の著しい変化を引き起こすことを通して活性を増減させることができ、これは細胞機能の変化を誘発する。これは、免疫系の細胞の活性化が亢進して脱髄を引き起こす多発性硬化症などの自己免疫疾患、さらには細胞活性の亢進が顕著になり、進行中の病理学的事象につながる可能性のある癌および他の疾病もしくは疾患を治療する上で特に重要なものとなり得る。
したがって、本発明の技術的解決方法は、以前のシステムを著しく改善するが、それは、治療適用時にセンサおよびエミッタの各々を対にすることと、同時に治療適用を修正しさらには様々な細胞プロセスの変化(細胞死、活性、遊走、分裂など)を誘発することを目的として患者の生物学的、化学的、および物理的パラメータをリアルタイムで監視することとを含むからである。それに加えて、本システムは、標的部位への移植細胞の電磁誘導または誘導薬物送達システムの目的を果たすために細胞移植と併せて使用され得るように設計されている。
国際公開第2018/047164号 米国特許出願公開第2017/0087367号明細書
したがって、本発明の実施形態によれば、生物学的および/または生物物理学的および/または生化学的信号の読み取りと同時に電磁療法プロトコルを生成し、適用するためのシステムおよび方法が提供される。ここで、本明細書において使用される用語の今後のすべての言及は、「生物物理学的」、「生物学的」、または「生化学的」信号を指し、これらは前述の信号種類のいずれかまたはすべてに対応する。
電磁療法プロトコルを生成するためのシステムは、電磁場の適用と、適用された療法の成功および経過をリアルタイムで監視するための電磁場、組織インピーダンス、抵抗、および他のパラメータの測定という2つの目的を有する。本発明のシステムは、脳のいくつかの領域、または身体の任意の部分内の細胞に影響を及ぼす集束電磁場を発生させることに向けられており、適用される電磁場の性質、周波数、および強さ(intensity)が適用される治療の経過を最適化するように自動的に修正されるフィードバックループ制御システムの原理に基づき動作する。
本発明の主な目的は、生物学的および/または生物物理学的および/または生化学的信号の測定と同時に、患者の脳、神経系、または身体の任意の部分に集束電磁刺激を印加するためのプロトコル生成および治療システムを提供することである。
本発明のプロトコル生成および治療システムは、医療患者データ、複数のベースライン治療プロトコル(baseline treatment protocol)であって、各ベースライン治療プロトコルは特定の疾病または傷害、炎症、もしくは虚血の影響を受けた神経系、臓器、もしくは他の組織の指示された損なわれた機能性に関連付けられている、複数のベースライン治療プロトコル、一般的または標的細胞種類、および1つもしくは複数の関連付けられている基準センサおよびエミッタの位置決めマップに応じて、各臓器または組織に対して最適な治療効果をもたらす電磁場強度および周波数の基準範囲、ならびに健常者の各神経組織、臓器、および細胞種類に対する基準電磁場範囲に関連付けられている代表的な神経組織、臓器、および組織のプロファイルを含む少なくとも1つの患者個人フォルダを記憶するように構成された主データベースと、特定の疾病または指示された損なわれた機能性に関連付けられている医療患者データを比較し、特定の疾病または指示された損なわれた機能性に関連付けられている1つまたは複数のベースライン治療プロトコルを設計し外挿し、前記ベースライン治療プロトコルに関連付けられている1つまたは複数の基準センサおよびエミッタ位置決めマップを提供し、前記位置決めマップおよびベースライン治療プロトコルのうちのどれが患者に適しているかを決定するように構成される機械学習ソフトウェアと、電磁場を発生するように構成されている電磁場発生器を備えるポータブル装置と、生物物理学的信号を測定するように構成されているセンサのアレイおよび電磁場を印加するように構成されているエミッタのアレイと、センサのアレイの各々からの測定された生物物理学的信号をリアルタイムで記録し、測定された生物物理学的信号を基準電磁場範囲と比較するために電磁場発生器を制御し、エミッタのアレイおよびポータブル装置のコンポーネント用の電源を通して複数の異なる電磁場を印加するように構成されているコンピューティングユニットと、ポータブル装置をキャリブレートし、その精度に関してセンサおよびエミッタのアレイを検査し、ベースライン治療プロトコルを設計し、患者使用の前にベースライン治療プロトコルと基準センサおよびエミッタ位置決めマップを主データベースおよびポータブル装置のストレージ領域内に保存し、ポータブル装置の動作を遠隔制御するように構成されている固定デバイスとを備える。
本明細書で、「患者に適している」という言い回しは、治療プロトコルまたは配置マップが選択されるために満たされなければならない必須条件および非本質的条件のセットとして定義される。治療プロトコルまたは配置マップがデータベース内の医療患者データから取得された場合、満たされなければならない必須条件のセットは、疾患、罹患した臓器または組織、疾患進行の段階または症状の期間、および患者年齢からなる。非本質的条件は、限定はしないが、罹患臓器の部位、病歴または以前の診断読み取り値の結果、および現在の症状を含む。前述の条件を満たす治療プロトコルが存在しない場合、機械学習アルゴリズムは、各組織または臓器に対する基準電磁場範囲、さらにはベースライン配置マップを引き、それをベースライン治療プロトコルとして使用し得る。
コンピューティングユニットは、センサのアレイの各々からの生物物理学的信号の測定と同時に、エミッタのアレイの各々を通して印加される電磁場を修正するようにさらに構成され、互いに近接近して位置決めされた、エミッタのアレイの各々およびセンサのアレイの各々は、対として動作しており、各エミッタを通して印加される電磁場は、対のセンサによる測定された生物学的および/または生物物理学的および/または生化学的信号が基準電磁場または信号範囲内にあるということが達成されるまで、連続的に修正される。ベースライン治療プロトコルは、センサがその特定の組織または臓器について基準電磁場範囲内の電磁場、またはその基準範囲内の他の生物物理学的信号を測定するまで修正され得る。ベースライン治療プロトコルを修正するこのプロセスは、個人化された治療プロトコルを作成することを必要とするであろう。基準電磁場範囲、または他の測定の基準範囲に対応する活性プロファイルが測定できないような場合、ベースライン治療プロトコルは停止され、患者はチェックインのために保健施設またはクリニックに報告することもあり得る。この後に、新たな配置マップを生成すること、または適用治療中の組織の反応パターンをセンサが記録し始める保存療法プロトコルを継続するようにセンサおよびエミッタを再プログラミングすることが続くものとしてよい。細胞活動パターンが経時的変化を示さない場合、ベースライン治療プロトコルは、周辺組織に電磁誘導を引き起こし、基準電磁場範囲との細胞活動の同期を達成するために、特定の細胞種類の固有共振周波数を考慮して、基準電磁場範囲内の電磁場を放射するように調整され得る。それに加えて、新たなセンサおよびエミッタ配置マップが生成され、センサ読み取り値の変化が観察されるまでベースライン治療プロトコルに従うこともあり得る。
さらに、本発明の一実施形態によれば、生成されたベースラインまたは個別化された治療プロトコルは、振幅、周波数、強度、方向、適用の持続時間、および種類からなる特性の群から選択された適用される電磁場の特性を定義する。
さらに、本発明の一実施形態によれば、生成されたベースラインまたは個人化された治療プロトコルは一般的または標的細胞種類に応じて、各臓器または組織に対する最適な治療効果のために使用されるべき電磁場強度および周波数の基準範囲を含む。
さらに、本発明の一実施形態によれば、適用される電磁場は、一定のまたは時間的に変化する均一なおよび/もしくは不均一な電磁場、またはそれらの組合せであってもよい。
さらに、本発明の一実施形態によれば、ポータブル装置が提供される。
さらに、本発明の一実施形態によれば、ポータブル装置のコンピューティングユニットは、センサのアレイの各々からの生物物理学的信号の測定と同時にエミッタのアレイの各々を通して印加される電磁場を修正するように構成され、互いに近接近して位置決めされた、エミッタのアレイの各々およびセンサのアレイの各々は、対として動作している。
さらに、本発明の一実施形態によれば、ベースライン治療プロトコルを生成する方法が提供される。
さらに、本発明の一実施形態によれば、個人化されたベースライン治療プロトコルを生成する方法が提供される。
さらに、本発明の一実施形態によれば、基準センサおよびエミッタ配置マップを生成するための方法が提供される。
様々な例の詳細は、添付図面および以下の説明で述べられる。他の特徴、目的、および利点は、説明と図面、および特許請求の範囲から明らかになるであろう。
本発明の一実施形態による、電磁治療プロトコルを生成するためのシステムのポータブル装置を示す概略斜視図である。 本発明の一実施形態による、システムの固定デバイスを示す概略斜視図である。 本発明の一実施形態による、エミッタを示す概略斜視、側面、頂面図である。 本発明の実施形態による、前記エミッタのハウジング内に収容され得る電極の異なる形状を有するエミッタを示す概略側面図である。 患者に対する電極およびセンサ位置決めにおける最も一般的な変動を示す概略正面、後面、頂面図である。 本発明の一実施形態による、感染性疾患を管理するために患者に電磁場療法を施すためのポータブル装置を例示する図である。 本発明の一実施形態による、ワクチン生産で使用するためのポータブル装置を例示する図である。 本発明の一実施形態による、電磁ワクチンアジュバントの形態として、ワクチンに対してより迅速に活発に応答するように免疫系を刺激するために使用するポータブル装置を例示する図である。 本発明の一実施形態による、病院環境内に配置構成された電磁治療プロトコルを生成するためのシステムの別の実施形態の図である。 本発明の一実施形態による、傷害、炎症、または虚血の影響を受けた神経系、他の組織、または任意の臓器を治療するためのベースライン電磁治療プロトコルを生成する方法を示すフローチャートである。 本発明の一実施形態による、生物物理学的信号を考慮し、患者のニーズに合うようにポータブル装置をキャリブレートして個人化されたベースライン電磁治療プロトコルを生成する方法を示すフローチャートである。 本発明の一実施形態による、個人の傷害、炎症、または虚血の影響を受けた神経系、他の組織、または任意の臓器の疾患および疾病を治療する方法を示すフローチャートである。 本発明の一実施形態による、1つまたは複数の基準センサおよびエミッタ配置マップを生成する方法を示すフローチャートである、 実験条件でのグリア細胞繊維性酸性タンパク質の平均強さを例示する図である。 実験条件でのβチューブリンの平均強さを例示する図である。 実験条件でのネスチンの平均強さを例示する図である。
次の詳細な説明では、本発明を完全に理解できるように多数の具体的詳細が述べられている。しかしながら、当業者であれば、これらの具体的詳細がなくても本発明が実施され得ることを理解するであろう。他の場合には、よく知られている方法、手順、コンポーネント、装置、モジュール、ユニット、および/または回路は、本発明をわかりにくくしないために詳細には説明されていない。
本発明の実施形態は、この点で限定されないけれども、たとえば、「処理」、「コンピューティング」、「計算」、「決定」、「確立」、「分析」、「チェック」、「コンピュータ化されたニューラルネットワーク」、「機械学習」、「ディープラーニング」、「信号処理」、または類似の言い回しなどの語を利用する説明は、コンピュータのレジスタおよび/またはメモリ内の物理的(たとえば、電子的)量として表されるデータを操作し、かつ/または動作および/もしくはプロセスを実行する命令を記憶し得るコンピュータのレジスタおよび/もしくはメモリもしくは他の情報非一時的記憶媒体(たとえば、メモリ)内で物理的量として同様に表される他のデータに変換する、コンピュータ、コンピューティングユニット、コンピューティングプラットフォーム、コンピューティングシステム、または他の電子コンピューティングデバイスの動作および/もしくはプロセスを指すものとしてよい。本発明の実施形態はこの点で限定されないけれども、本明細書で使用されるような「複数(plurality)」、「複数(a plurality)」および「アレイ(array)」、「アレイ(an array)」は、たとえば、「多数」または「2つまたはそれ以上」を含み得る。「複数(plurality)」または「複数(a plurality)」」という語は、本明細書全体を通して、2つまたはそれ以上のコンポーネント、装置、要素、ユニット、パラメータなどを説明するために使用され得る。特に断りのない限り、本明細書において説明されている方法実施形態は、特定の順序またはシーケンスに束縛されない。それに加えて、説明されている方法実施形態またはその要素のいくつかは、同時に、同じ時点で、または一斉に発生するか、または実行され得る。別段の指示がない限り、本明細書において使用されるような「または」という接続詞は、包含的(述べられている選択肢のいずれかまたはすべて)と理解されるべきである。
本発明のいくつかの実施形態は、コンピュータ、コンピューティングユニット、もしくはプロセッサ可読媒体、またはたとえばメモリ、ディスクドライブ、USBフラッシュメモリ、もしくはプロセッサ、計算ユニット、もしくはコントローラによって実行されたときに、本明細書において開示されている方法を実行する命令、たとえば、コンピュータ実行可能命令をエンコードするか、含むか、もしくは記憶する、明確に定義された場所(クラウドストレージのような)にあってもなくてもよい、任意の他の種類の記憶媒体などのコンピュータもしくはプロセッサ非一時的記憶媒体などの物品を含み得る。
本明細書において説明されている方法およびシステムは、傷害、炎症、虚血、慢性状態、または変性の影響を受けた神経系または他の組織/臓器の生物物理学的信号の読み取り値を特徴付けること、および生物物理学的信号の読み取り値に基づき、傷害、炎症、虚血、慢性状態、または変性の影響を受けた神経系または他の組織の各領域に対して電磁場パラメータをリアルタイムで同時に設定することを提供する。
本明細書において使用されているように、「電磁場」という語は、その強度、方向、適用持続時間、周波数、振幅、および種類によって特徴付けられる、一定のまたは時間的に変化する均一および/または不均一な電磁場を指す。
本発明の主な目的は以下の通りである。
- システムは、患者の標的部分に付けた複数のセンサおよびバイオマーカーから取得される情報を通じて脳または神経系、他の組織または任意の臓器の電磁特性(振幅、周波数、波長、もしくは強さ)または他の生物学的、生物物理学的、もしくは生化学的パラメータを模倣し、さらには人体のより深い部位に対する神経画像処理を補助することによって、個人化療法の原理に基づき動作する。
- 時間的に変化する脈動する均一および/または不均一な電磁場の複製および適用。
- 神経系、他の組織、または任意の臓器から取得される信号の特性およびパラメータをリアルタイムで読み取り、患者の神経系、他の組織、または任意の臓器から読み取られたのと同一の、または大幅に異なる信号を適用する。
- SQUIDセンサであり得るセンサ、ならびに生理学的および電気生理学的データ、組織特性、および他の細胞の他の特性を測定する他のセンサを使用する、治療適用前および治療適用と同時の電磁場(EMF)の測定。
- 装置はポータブルであってよく、毎日数時間患者によって装着され得る。
- 患者が認知課題、または任意の他の受動的活動を実行するときの電磁場を測定して、神経系、他の組織、もしくは任意の臓器内のどこで欠陥が発生しているかをより的確に決定し、センサから受信された信号に基づき、神経系、他の組織、および任意の臓器の欠陥のある部分に治療を集中させる。
- 対になったセンサとエミッタとの間にビルトインフィードバックループを使用し、治療プロトコルはその適用時に自動的に修正される。
- 組織内の幹細胞または他の細胞の電磁伝導および/または案内を通じて電磁場治療と細胞移植を組み合わせ、患者の血液/血漿/脳脊髄液から標的細胞を分離して細胞培養で培養し、次いでEMFを印加して個人化治療プロトコルを設計する、すなわち電磁場適用に必要な最適強度および周波数を決定する。
本発明の一実施形態によれば、一定のまたは時間的に変化する均一なおよび/または不均一な電磁場による治療のためのプロトコルが、システムによって自動的に生成される。治療プロトコルは、治療システム内に入力されるものとしてよく、治療システムは、患者の全身または身体部位に適用され得る振動する時間変化する均一なおよび/または不均一な電磁場を発生するための装置を含む。(本明細書における電磁気への参照は、電磁石または強度、方向、周波数、振幅、および種類を含む時間的に変化する脈動電磁場を発生するように構成されている電磁場発生器によって生成される時間的に変化する磁場を指す。)振動電磁場は、周波数および振幅、種類、強度、または強さによって特徴付けられる。本明細書において使用されているように、「強さ」および「振幅」という用語は、適用される電磁場の強度を示す振幅、最大値、平均値、二乗平均平方根、もしくは他の特性値もしくは代表値を表すか、または測定された神経または他の組織/臓器活動信号のスペクトルを特徴付けるために交換可能に使用される。治療プロトコルは、適用される電磁場の周波数、振幅、強さ、および強度、さらには電磁場の1つまたは複数の他の特性(たとえば、場の各適用の持続時間、均一なまたは不均一な場などの電磁場の種類、適用の回数、適用と適用との間の間隔、または他の特性)を定義するものとしてよい。治療プロトコルは、定義されたシーケンスで(たとえば、同時にまたは異なる時間に)患者に適用され得る異なる周波数、強さ、および種類の2つまたはそれ以上の電磁場を定義し得る。
治療システムは、患者に関する情報を受信するためのインターフェースを備えるように構成され得る。情報は、患者の1つまたは複数の損なわれた機能さらには任意の他の併存疾患を説明する記述とともに臨床データを含み得る。特に、この記述では、傷害、炎症、または虚血の影響を受けた患者の神経系または他の組織の損なわれた機能に関係することが知られているかまたは疑われる損なわれた機能性を説明し得る。たとえば、臨床データは、患者の診察に基づき医療専門家によって、または患者の申告さらには過去の病歴に基づき入力され得る。
それに加えて、受信された情報は、神経系の様々な位置における患者の神経系の機能の測定(たとえば、患者の皮膚上の様々な場所、または他の場所に配置されたセンサによる)の結果を含む。測定は、患者の脳、脊髄、患者の神経系の他の構成要素、または傷害、炎症、もしくは虚血の影響を受けた他の組織に関して知られている位置に配置構成されたセンサのアレイを含み得る。たとえば、これらのセンサは、脳波記録(EEG)、脳磁図(MEG)、神経筋電図記録(EMNG)、または生理学的および電気生理学的データ、組織、他の細胞、および臓器の特性を測定するように設計されているセンサの他の種類に合わせて設計されたセンサを含み得る。本発明の好ましい実施形態によれば、センサは、インピーダンスセンサ、温度センサ、磁場センサ(SQUIDセンサまたはホール効果センサなど)、電場または衝撃センサを含む。センサからのそのような情報は、記憶および分析のために通信モジュール、機械学習ソフトウェアまたは主データベースに直接入力されるか、またはユーザによって、たとえば、テキストとしてもしくは医療コード(たとえば、メニューから選択される)として入力されてもよい。
センサ測定は、1つまたは複数の刺激の連続的適用を含む治療セッションと同時に患者から取得され得る。本明細書において使用されているように、刺激は、患者によって能動的に適用され得る。たとえば、患者は、自発的身体的課題(たとえば、静止状態、肢または身体部位の移動、四肢または身体部位の動きに抵抗すること、話すこと、呼吸を制御すること、対象を見ること、または別の能動的な身体的課題)、認知的(たとえば、静止状態、状況を想像すること、特定の主題について考えること、問題を解くことを試みること、選択された感覚入力に集中すること、または別の能動的な認知的課題)、身体的課題を行うことを試みること(たとえば、麻痺している、すでに切断されている、または拘束されている肢を動かすことに集中すること)、または自発的もしくは能動的課題を実行するものとしてよい。刺激は、患者は受動的状態を保ったまま外部エージェントによって適用され得る。たとえば、患者の肢または身体部位が外部エージェントによって(たとえば、別の人によってまたは機械によって)動かされ得るか、患者が感覚入力を受けるか、または他の何らかの形で受動的に刺激され得る。刺激は、別の人によって実行される(たとえば、じかにまたは記録される)動作、または画面上、仮想現実デバイス上、もしくは他の方法でのアニメーションを用いた動作を観察することを含み得る。刺激の適用は、2つまたはそれ以上の異なる刺激の同時(または交互)適用を含み得る。刺激の能動的または受動的適用は、課題の実行として本明細書において交換可能に参照される。
センサ測定データは、処理済みデータのセット(たとえば、電磁場の振幅、周波数、強さおよび強度、温度、生理学的データおよび電気生理学的データ、ならびに特定の組織種類または臓器の電気インピーダンス、誘電率もしくは透磁率などの組織および他の細胞の特性)を取得するために分析され得る。たとえば、データの各セットは、特定の刺激または複数の刺激の適用時のセンサによる(またはいくつかの場合において、2つまたはそれ以上のセンサのグループによる)測定を表し得る。代替的に、またはそれに加えて、特定の刺激の適用時に取得された測定値は、その刺激の識別でマークされるか、または標識され得る。
いくつかの場合において、分析は、AI、機械学習、またはディープラーニングソフトウェアを使用する統計分析に基づき、関連するパラメータを区別することを含み得る。たとえば、そのような機械学習は、1つまたは複数の測定された電磁場の特徴と、患者の身体の特定の領域内の特定の電磁場の適用との間の相関関係を識別し得る。そのような分析は、現在または以前に取得された患者データに基づき得るか、またはたとえば類似の臨床的特性を共有する、たとえば病歴の共通特徴によって特徴付けられる、患者群の分析に基づき得る。
患者の傷害、炎症、または虚血によって影響を受けた神経系または他の組織の指示された損なわれた機能性または病理学的事象に関連するか、または関連付けられ得る1つまたは複数の測定された生物物理学的信号が識別され得る。たとえば、損なわれた機能性は、受信された臨床データに基づき(たとえば、患者または患者の家族もしくは知人から報告された症状、医療専門家による診察または観察中に指摘された症状、医学的検査によって得られた症状、他の何らかのものから)識別されるか、または疑われ得る。病理学的事象は、受信されたセンサ測定値または実行された病理学的分析に基づき識別されるかまたは疑われ得る。
各識別された電磁場における、測定された神経活動、または他の組織内の細胞の電気的活動は、空間活動マップを生成するように編成され得る。たとえば、測定された電磁場の空間的位置は、その電磁場の測定に使用されたセンサの識別情報によって決定され得る。空間マップは、各マッピングされた位置における、神経活動、または他の細胞の電気的活動の電磁場を示し得る。本明細書において使用されているように、空間的位置は、患者の身体上もしくは身体内の場所を指すか、または特定のセンサの場所を指すものとしてよい。マッピングされた神経活動、または他の細胞種類の活動は、空間活動マップの形態でまたは他の何らかの形で(たとえば、座標またはセンサ識別子および特定の結果のセットとして)表示されるものとしてよく、1つまたは複数の脳波スペクトルから導出される値または2つの値の間の相関または1つもしくは複数の量を含んでもよい。
1つまたは複数の対応する基準ベースライン治療プロトコルおよび対応する1つまたは複数の基準センサおよびエミッタ位置決めマップは、主データベースまたは他のデータストレージ設備から取り出され得る。基準ベースライン治療プロトコルおよび前記位置決めマップは、限定はしないが、同じ疾患または状態、症状および罹患した組織または臓器を含む、次のパラメータのいずれかまたはすべてに基づいて取り出され得る。各ベースライン治療プロトコルさらにはセンサおよびエミッタ位置決めマップは、健全な神経系もしくは他の組織(たとえば、神経系もしくは他の組織が機能障害なく機能していると決定された被験者の測定値に基づく)または知られている様式で機能に欠陥がある傷害、炎症、または虚血の影響を受けた神経系もしくは他の組織の、いずれかに対する代表的な電磁場、または他の生物物理学的、生化学的、もしくは生物学的パラメータの値さらには一般的もしくは標的細胞種類に応じて各臓器または組織への最適な治療効果のために使用されるべき電磁場の強度および周波数の基準範囲を示し得る。
取り出された基準センサおよびエミッタ位置決めマップの各々は、対応する(傷害、炎症もしくは虚血の影響を受けた神経系または他の組織の生物物理学的信号の読み取り値に基づく)生成されたセンサおよびエミッタ位置決めマップと比較され得る。基準センサおよびエミッタ位置決めマップに関する電磁場および皮膚インピーダンスの計算された変動の領域の比較は、生成されたセンサおよびエミッタ位置決めマップが機能不良または進行中の病理学的事象を示す領域を指示し得る。たとえば、基準センサおよびエミッタ位置決めマップと生成されたセンサおよびエミッタ位置決めマップとの比較における1つまたは複数の場所は、健全な神経系を表す基準センサおよびエミッタ位置決めマップから逸脱する空間領域における機能のレベル、または機能不全の神経網を表す基準センサおよびエミッタ位置決めマップに類似する空間領域における機能のレベルを指示し得る。
1つまたは複数の生成されたセンサおよびエミッタ位置決めマップ上の1つまたは複数の場所が機能不良を示すときに、治療プロトコルが生成され得る。治療プロトコルは、治療用電磁場を発生させるためのポータブル装置に入力され得る。治療プロトコルは、患者に適用されるべき1つまたは複数の時間的に変化する治療用電磁場の特性を指定するものとしてよい。治療プロトコルは、たとえばコンピュータによって自動的に電磁場発生器に入力され得るか、またはたとえばベースラインもしくは個人化された治療プロトコルに基づきユーザによって選択されるかもしくは入力され得る。治療プロトコルは、電磁場発生器に入力されると、電磁場発生器がその強度、方向、周波数、振幅、および種類によって特徴付けられる時間的に変化する均一なおよび/または不均一な電磁場のシーケンスを発生することを引き起こすものとしてよく、各臓器および細胞種類について基準電磁場範囲は事前定義されている。治療プロトコルは、場のシーケンスの他の特性を指定し得る。これらの特性は、場の強さまたは振幅、持続時間、異なる周波数の場の適用の順序、異なる場の適用と適用との間の間隔、場の各々の適用の回数、または他のパラメータのうちの1つまたは複数を含み得る。治療プロトコルは、患者の全身に、または頭部、頸部、脊髄、もしくは他の組織の1つもしくは複数などの患者の身体の一部に適用され得る。
各識別された電磁場は、特定の神経網または他の組織と関連付けられ得る。本明細書において使用されているように、神経網は、神経系の特定の機能性に関連付けられている神経系の構成要素を含む。典型的には、特定の刺激に対する反応または特定の課題の実行は、2つまたはそれ以上の異なる神経網を伴い得る。
各結合組織、神経組織、免疫系、筋肉組織、および臓器について決定された基準電磁場範囲および患者皮膚インピーダンスは、いくつかの場合において現在治療されている患者を含む、被験者の集団に対して行われた測定の分析から以前に導出されていることがあり得る。
神経系の他の部分における外傷の場所を検出するために、皮膚インピーダンスセンサが使用され、これにより患者の神経系、臓器、または他の組織のすべての部分における異なる種類の血腫が検出され得る。
たとえば、集団は、神経系が完全に機能しているように見える健常者と、神経系が知られている様式で機能不全を起こしていると決定された個人の両方を含んでいる可能性があり、いくつかの場合において、完全に機能しているように見えるが、1つまたは複数の神経網に欠陥があり得る(たとえば、他の神経網がその欠陥を補う)被験者を含み得る。様々な測定値を比較した結果は、各機能性、したがって各神経網または他の組織に関連付けられる電磁場および皮膚インピーダンスの特性を指示し得る。神経系または他の組織活動の神経系(たとえば、脳、脊髄、または他の主要神経の1つまたは複数)の上の空間マッピングは、神経活動の偏差が特定の神経網または他の組織の機能の特定の欠陥に関連付けられる神経系または組織の領域を指示し得る。
神経活動プロファイルは、人または集団に対して行われた神経機能測定に基づき得る。神経活動プロファイルは、人(患者、対照群内の人、もしくは他の人)または集団(たとえば、集団内の個人について行われた測定に対する平均化または他の統計的操作の適用後)の神経活動を特徴付ける。神経活動プロファイルは、EEG、MEG、または1人もしくは複数のヒト被験者の脳または神経系の他の部分で行われる他の測定に基づいてもよい。たとえば、脳、脊髄、または神経系の他の部分における神経活動を測定するために、MEGセンサに類似するセンサ、またはEEGセンサもしくは他のセンサに類似するセンサが使用されてもよい。本明細書において使用されているように、MEGまたはEEG測定は、それぞれ、MEGに似たまたはEEGに似たセンサを使用する神経系の任意の部分の測定を指す。同様に、MEGまたはEEGセンサは、本明細書において使用されているように、センサが脳活動または神経系の別の構成要素の活動の測定を目的としているかどうかにかかわらず、MEG(磁場を感知する)またはEEG(電流または電圧を感知する)センサと同様に機能するセンサを指す。
測定値、特にEEG、MEG、EMNGまたは類似の測定は、神経系内の複数の識別可能な場所における測定神経活動のマップをもたらすと解釈され得る。たとえば、EEGもしくはMEGセンサ、または他の局所的センサは、神経活動の空間マップを取得するために、人の頭部、背中、神経活動が発生する別の場所(たとえば、活発な臓器もしくは肢、感覚器官の付近、または他の場所)の所定の場所のセット、または上記の任意の組合せに配置され得る。測定された局所的神経活動の場所は、局所的活動を測定したセンサの場所またはセンサから導出され得る。いくつかの場合において、局所的神経活動が複数のセンサによって測定される場合、三角測量または他の技術が適用され、センサの知られている場所に関する測定された局所的活動の場所を決定し得る。それに加えて、測定(たとえば、機能的磁気共鳴画像法(fMRI)または他の測定)が、脳全体の活動を示すと解釈され得る。
測定は、各被験者の神経系が特定の神経機能を活性化しているときに行われ得る。たとえば、神経機能は、被験者が1つまたは複数の課題を実行することに関連付けられ得る。課題は、静止すること(たとえば、他の測定された神経機能の比較対象の神経活動の1つもしくは複数のベースライン測定を確立することを目的とする)、1つもしくは複数の能動的(たとえば、患者による肢、顔の特徴、もしくは他の身体部分の随意運動)または受動的(たとえば、身体の一部が別の人、機械、もしくは他の外部エージェントによって動かされる)運動活動もしくは運動を実行すること、1つもしくは複数の能動的もしくは受動的認知的課題(たとえば、物体認識、記憶検索、問題解決、または別の認知的活動)、自動的課題(たとえば、自律神経系を活性化させる環境条件、感覚入力、または他の刺激を受けること)、または他の課題を実行することを含み得る。課題の実行中に活動がベースラインレベルから変化する神経系の構成要素は、本明細書では、課題および神経機能に関連付けられる神経網として参照される。
各臓器および細胞種類に対する基準電磁場範囲を含む代表的な神経活動プロファイルおよび他の組織または臓器活動のプロファイルの主データベースは、被験者の集団に対して測定を実行することによって生成され得る。各基準電磁場範囲は、周波数、振幅、強さ、および強度によって決定される。被験者の集団は、神経系、または注目する他の臓器および組織が健康であると決定され(たとえば、神経系または他の組織に知られている欠陥もしくは外傷がないことによって決定されるように)、一般に健康であると決定される個人を含み得る。いくつかの場合において、集団は部分集団に分割され(たとえば、年齢、性別、または神経活動プロフィールに影響することが知られているかまたは疑われている他の特性によって分割される)得る。健全であると想定される集団について決定される神経活動プロファイルおよび他の組織もしくは臓器活動のプロファイルは、本明細書では基準プロファイルと称される。
いくつかの場合において、患者の神経網または他の組織の機能不良が疑われることがある。たとえば、そのような機能不良が、脳卒中、外傷、病気、疾患、またはときには神経系もしくは他の組織の1つもしくは複数の構成要素に結果として、傷害を引き起こす可能性があるか、または引き起こすことが疑われ得る他の出来事の後に疑われることがある。別の例として、患者は、神経網の機能不良が疑われ得るような、1つまたは複数の課題をうまく実行することが困難であると報告するか、または困難であることが観察され得る。
神経網の機能不良が疑われるときに、患者に対して一連の神経活動測定が行われ得る。たとえば、MEG、EEG、EMNG、または神経活動の他の測定は、患者が一連の課題を実行するときに患者に対して行われ得る。一連の課題は、患者の完全な神経活動プロファイルを取得する際に使用される課題の完全なセットを含み得る。代替的に、実行される課題は、特定の疑われる神経網の欠陥に関係するか、または特定の神経網内の欠陥の診断を促進するのに有効であろう課題のサブセットに限定してもよい。
取得された患者の神経活動プロファイルは、次いで、基準プロファイルと比較され得る。基準プロファイルは、すべての個人に対する標準プロファイルを含み得るか、または部分集団の特徴であり得る。たとえば、基準プロファイルは、特定の年齢層、性別、人種もしくは民族集団、職歴もしくは学歴、または他の何らかの形で定義された部分集団のうちの1つもしくは複数に特有のものであってもよい。いくつかの場合において、比較は、特定の疑われる欠陥に特徴的であるか、または関係すると疑われる頻度に限定され得る。たとえば、治療システムは、1つまたは複数の神経網、または他の細胞群の電気的活動に特徴的であると決定された電磁場を取り出すように構成され得る。この比較では、次いで、測定された神経活動が、識別された特徴的電磁場の1つにおいて、基準プロファイルを含む主データベースから取り出される基準神経活動プロファイル、または他の細胞の電気的活動プロファイルと異なるかどうかをチェックし得る。たとえば、この比較は、1つまたは複数の場所において、患者について測定された特定の神経網に関連付けられる神経活動のスペクトルが、それらの場所におけるその神経網に対する基準神経活動プロファイルと異なり得ることを示し得る。差は定量化され得る。たとえば、各神経網に対する差スコアは、測定された神経活動プロファイルと対応する基準神経活動プロファイルとの間の差の関数であり得る。たとえば、差スコアは、各神経網に対する正常な神経活動の割合またはパーセントとして表され得る。同じ差スコアが、罹患組織または臓器内の他の細胞の電気的もしくは他の生物学的活動についても取得され得る。
この比較は、1つまたは複数の神経網または他の組織内の識別された欠陥を是正するための電磁治療に対する1つまたは複数の提案された治療プロトコルをもたらし得る。たとえば、治療プロトコルは、患者に適用され得る治療用の時間的に変化する電磁場の周波数および強度または周波数スペクトルおよび強度スペクトルを指定し得る。治療プロトコルは、指定された治療用電磁場が適用されるべき患者身体上の場所を指定し得るか、または電磁場が脳全体、特定の身体部分、または患者の全身に適用されるべきであることを指定し得る。治療プロトコルは、治療用電磁場の振幅、または適用されるべき治療用電磁場の強度に関係する別の量を指定し得る。治療プロトコルは、適用されるべき治療用電磁場の種類(たとえば、均一および/または不均一)を指定するものとしてよい。治療プロトコルは、治療用電磁場への曝露持続時間を指定し得る。治療プロトコルは、治療セッションの数、後続の治療セッション間の間隔を指定するか、または他の何らかの形で一連の治療を定義し得る。治療が2つもしくはそれ以上の神経網または組織に対して必要とされる場合、治療プロトコルは、異なる神経網および組織に対する治療の適用(たとえば、2つもしくはそれ以上の場の周波数で)を指定し得る。たとえば、治療プロトコルは、治療の順序、たとえば異なる種類の前記場もしくは強さを有する電磁場の適用の順序、異なる電磁場の連続的適用の間隔、または異なる神経網もしくは組織の治療に関係する他のパラメータを指定し得る。
治療プロトコルは、治療の有効性を示し得る、監視されている生物学的、生物物理学的、または生化学的センサの読み取りの結果を指定し得る。治療セッション中、治療プロトコルは、次いで、監視されている生物学的、生物物理学的、または生化学的センサの読み取り値に従って、またそれと同時に、自動的に修正され得る。治療システム、またはプロトコル生成システムの治療監視ユニットは、その測定が神経網および他の組織、または神経系もしくは他の臓器の1つもしくは複数の部分における活動を示し得る1つまたは複数のセンサを備え得る。たとえば、監視されている生物物理学的センサの読み取り値は、電磁場、組織インピーダンス、その領域の温度および皮膚伝導度(たとえば、局部温度の上昇は局部血流の増大を示し、ひいては局所的脳活動の増大を示す)によって示されるような傷害、炎症、または虚血の影響を受けた脳または神経系または他の組織の領域における監視されている活動を含み得る。代替的に、またはそれに加えて、別のセンサが使用されてもよい。そのような他のセンサは、たとえば、心電図(ECG)センサ、EEGもしくはMEGセンサ、筋肉活動の電気的測定のためのEMNGセンサ、近赤外線センサ、血液含有量分析器、または1つもしくは複数の他の種類のセンサを含み得る。センサは、患者の身体の動きを測定するように構成されている1つまたは複数のセンサを含み得る。たとえば、そのような運動センサは、遠隔運動センサ(たとえば、超音波、電磁波もしくはパルス、または他のものに基づく)、仮想現実(VR)センサ(たとえば、VRグローブ、完全もしくは部分的VRスーツ、または他のVRセンサ)、患者に付けられ、1つもしくは複数の撮像デバイスによって記録される、発光素子もしくは反射体、または別の種類の運動センサを含み得る。患者身体上に、または患者の付近に、たとえば、適用される治療用電磁場内に、配置されるように構成されているセンサは、磁場内で動作するように構成され得る(たとえば、核磁気共鳴画像法(MRI)との併用中、またはMRI装置の磁場内に配置されている患者身体上で使用するように設計される)。代替的に、またはそれに加えて、治療システムは、治療用場を間欠的に(たとえば、磁場が適用されない定期的中断を挟んで)適用するように構成されるものとしてよく、センサは場の動作の間の中断でのみ構成される。
たとえば、ベースライン治療プロトコルは、前臨床試験および臨床試験全体を通しての代表的な結果、理論、または他の何らかの形で治療への典型的な予想される反応に基づく適用される基準電磁場の持続時間、周波数、種類、および範囲を指示し得る。しかしながら、反応は、個別の患者ごとに異なり得る。したがって、治療用電磁場の適用時に、患者の頭部または神経系の温度マップ、活動マップ、または他の監視結果は、たとえば、サーマルカメラまたは他のセンサを使用して取得され得る。たとえば、測定された温度は、治療されている神経網に関連付けられる神経系の領域(たとえば、適用される場による刺激に反応する神経網の回復に起因して治療の結果として活動が増大すると予想され得る脳の一部)における治療の結果として活動が増大したかどうかを指示し得る。
治療システムは、ビルトインフィードバックループシステムを使用して1つまたは複数の監視されている生物物理学的センサの読み取り値に従ってベースライン治療プロトコルを調整するかまたは修正するように構成され得る。たとえば、監視されている電磁場が、神経網または他の組織の機能改善を示すレベルまで増大した場合、その神経網または組織に特徴的な電磁場による治療は停止されるか(たとえば、現在の治療セッションの残りの間、または他の何らかの期間)または低減される(たとえば、振幅、周波数、強さ、または持続時間を低減する)ものとしてよい。したがって、ベースライン治療プロトコルは、センサがその組織または臓器について基準電磁場範囲内の電磁場、またはその基準範囲内の他の生物物理学的信号を測定するまで修正され得る。基準電磁場範囲、または他の測定の基準範囲に対応する活性プロファイルが測定されないような場合、治療プロトコルは停止され、患者はチェックインのために保健施設またはクリニックに報告することがあり得る。この後に、新たな配置マップを生成すること、または適用治療中の組織の反応パターンをセンサが記録し始める保存療法プロトコルを継続するようにセンサおよびエミッタを再プログラミングすることが続くものとしてよい。細胞活動パターンが経時的変化を示さない場合、治療プロトコルは、周辺組織に電磁誘導を引き起こし、基準電磁場範囲との細胞活動の同期を達成するために、特定の細胞種類の固有共振周波数を考慮して、基準電磁場範囲内の電磁場を放射するように調整され得る。それに加えて、新たなセンサおよびエミッタ配置マップが生成され、センサ読み取り値の変化が観察されるまでベースライン治療プロトコルに従うこともあり得る。
治療用の時間的に変化する不均一な電磁場の適用は、神経網および他の臓器もしくは組織の再生または機能回復を円滑にし得る。不均一な電磁場は、細胞間の相互作用さらには細胞と細胞外マトリックスとの相互作用、細胞と神経線維との相互作用にも影響を及ぼし、ニューロンの周りの場の性質にも影響を及ぼす。不均一な電磁場は人体内の生得的な電磁場と性質が類似しているので、不均一な電磁場は、ニューロン損傷、および他の組織または臓器への損傷の原因となる炎症反応の負の成分を減少させ、組織再生を促進する。埋め込まれたイオンチャネルの変形を引き起こし、その活性化動態を変化させ、細胞膜周辺ならびに細胞内および細胞外空間内のイオン分布を再編成することを通して、不均一な電磁場は、電位依存性イオンチャネルの開閉を制御し、イオンおよびリガンドの結合速度を変化させ、さらには電磁誘導を引き起こすことができる。これは、次いで、細胞活性化、遊走、活動、および分裂のダイナミクスを変化させる。代替的に、これらの場は、生体の機能障害を引き起こし、進行中の病理学的事象の一因となっているこれらの場合において細胞活動および細胞分裂を低下させることもある。
各神経網、または注目している他の細胞に対する差スコアは、システムのオペレータに提示され得る。医師または他の医療専門家は、差スコアを調べ得る。いくつかの場合において、プロトコル生成システムは、ベースライン治療プロトコルを自動的に決定するように構成され得る。いくつかの場合において、プロトコル生成システムは、ベースライン治療プロトコルを治療システムに自動的に伝送するように構成され得る。治療システムは、(たとえば、ベースライン治療プロトコルが生成された患者に対して治療が適用されるべきであることを人間オペレータが指示するときに)伝送されたプロトコルに従って1つまたは複数の電磁場を発生させるように構成され得る。
次いで、システム医療従事者は、治療が必要かどうかを決定し、1つまたは複数の神経網または他の組織の治療のために、システムによって提案された治療プロトコルの1つまたは複数の適用を優先順位付けし得る。医療専門家による治療プロトコルの決定は、患者の最初の臨床検査に加えて、患者の選好、各神経網または組織に対する損傷の程度、患者病歴、時間制限、または他の情報もしくは基準に基づくものとしてよい。異なる神経網または他の組織の治療の順序の決定では、患者の必要性および選好、各神経網を治療するのに要する推定時間、治療の必要性(たとえば、他の考慮事項と組み合わせた差スコアによって指示される)、過去の成功、または他の考慮事項などの要因を考慮するものとしてよい。
本発明のシステムは、組織内の幹細胞または他の細胞の電磁伝導を誘発するために幹細胞移植と組み合わせて電磁場療法を組み合わせ、患者の血液/血漿/脳脊髄液から標的細胞を分離し、細胞培養で培養し、次いで電磁場療法を適用して個人化された療法を設計する、すなわち、脳または任意の身体部分もしくは組織のいくつかの領域の細胞を刺激し/再生するための最適な強度および周波数を決定するために使用され得る。システムの磁気特性は、標識された細胞を体内の所望の場所に誘導するためにも使用され得、すなわち、幹細胞または移植を目的とする他の細胞を磁気誘導することで、成長因子の放出を通じて組織再生を開始するために、または機能が損なわれた細胞を機能的に置き換えるために、標的臓器もしくは組織の他の細胞種類への分化を可能にする。さらに、このシステムは、薬物を所望の場所に電磁誘導することを通じて標的薬物療法を可能にし、その迅速な放出および作用を円滑にするために使用され得る。
固定デバイスは、一般に、専門機関(病院、クリニックなど)に設置され、これを通じて、訓練を受けた医療スタッフが、患者のための療法を構成し、ポータブル装置をキャリブレートし、さらには使用者によるデバイスの誤用を防ぐために、患者が家に持ち帰ることもできるポータブル装置の動作を遠隔制御することが可能である。
本発明の別の可能な実施形態は、病院内で発生する感染症(手術中、パンデミックなど)に対抗するためにスタッフ/患者が短期間試みる専用電磁療法を生み出し、さらには免疫学的に損なわれているまたは他の何らかの形で自己免疫疾患を有する患者の免疫系の一般的ブーストを提供し得る複数の電極を伴う壁を内側に設置することである。
患者に対する癌または腫瘍治療療法も、本発明のシステムを用い、われわれのセンサ(SQUID/ホール効果など)を通じて癌細胞それ自体から以前に測定されたものから同じ周波数または逆の符号の電磁場による作用によって達成することができ、この目的は、分裂を阻害し、その活性を低下させ、さらにはMHC抗原処理および提示、さらにはその発現のアップレギュレーションを通じて、免疫系の細胞によるその認識を高めることを通じて、腫瘍または癌細胞を破壊し/弱体化させることである。また、そのような適用は、放射線の影響を改善し、多くの否定的転帰を軽減し、患者における放射線治療の有害効果の一種の緩和として働くように、放射線治療と組み合わせて使用され得る。さらに、このシステムは、患者の健康状態を改善しさらには免疫系の働きを高めるために化学療法と併用することも可能である。
電磁場は、人体の細胞、特にわれわれの免疫系の細胞内の危険信号の活性化に関連する細胞信号および因子を修正するために使用され得る。これらは、細胞内の分子の再配向を誘発する能力を有し、埋め込まれたイオンチャネルの変形を引き起こし、その活性化動態を変化させ、それにより細胞活動を低下させるか、または高める。電磁場は、また、細胞膜の周りならびに細胞内および細胞外空間内のイオン分布の再編成を引き起こし、その結果、細胞極性形成を引き起こしさらには電位依存性チャネルの開閉を制御することもできる。これらは、また、イオンおよびリガンド結合の速度を変化させ、シグナル伝搬を増幅または減衰させさらには電磁誘導、すなわち、場が適用されていない身体の特定の部位において電流を増やし、細胞内シグナル伝達カスケードをさらに増幅させることもできる。この上にさらに、これらは非侵襲的モダリティでもあり、薬物や外科手術に比べてより経済的でより安全であり、より多くの患者および医療専門家の手に届く可能性がある。
電磁場の2つの主要な作用機序は、細胞上の外部電荷の変化による細胞粘着の調節、および細胞同士自体の間さらには細胞と細胞外マトリックスとの間の両方の細胞内シグナル伝達および通信の速度と性質の変化である。注目している場の周波数および性質に応じて、標的細胞は、抗炎症もしくは炎症反応をトリガーするかまたは、それらの反応を完全に抑制したりすることができる。
主要組織適合性複合体II(MHC II)および主要組織適合性複合体I(MHC I)さらには熱ショックタンパク質(HSP)、アデノシン三リン酸(ATP)、インターロイキン、および他の分子メディエータに作用することによって、電磁場は、免疫細胞による抗原認識を改善し、免疫反応を遅らせるか、または加速し、さらには組織再生を開始することができる。興味深いことに、最近の研究が示唆しているように、COVID-19患者の肺の損傷の一部は、過剰活性免疫反応によっても引き起こされる可能性があり、したがって特定の場の周波数で免疫反応を標的にすることによって免疫反応を抑制することも重要であり得る。この場合、本発明のシステムおよび方法は、この疾病または任意の他の感染症の症状を緩和するための単独療法として、あるいは症状を緩和するために使用される開発されたワクチンもしくは医薬品、または移植幹細胞もしくは任意の他の細胞と組み合わせて使用され得る。さらに、本発明のシステムおよび方法は、炎症性サイトカインのレベルを下げることによって炎症反応の阻害を引き起こし、さらには過剰活性免疫反応によって影響を受けた肺または他の臓器への炎症細胞の動員を低減し得る。さらに、電磁場を投与する前に幹細胞移植が実行される場合、本発明のシステムおよび方法は、炎症性免疫反応を低下させるために使用されるだけでなく、その磁気特性は、影響を受けた臓器の機能的再生を引き起こすために標識された幹細胞を所望の部位に誘導するためにも使用され得る。
1つまたは複数のコイルが、選択された治療プロトコルに従って1つまたは複数の時間的に変化する電磁場を発生させるように操作され得る。電磁場は、身体の選択されたセクション(たとえば、頭部、胴体、胸郭、腹部、肢、または身体の別のセクションの全部または一部)に適用され得るか、または患者の全身に適用され得る。
インピーダンスセンサを介して組織インピーダンスを測定することによって、組織内の炎症/欠陥の部位がより迅速に正確に決定され、そのセンサからの情報は、患者の組織上の異なる種類の血腫を検出するのに役立ち得る。
治療プロトコル生成システムは、患者のベースライン治療プロトコルを生成するように構成され、前記プロトコルは、生物物理学的信号の読み取りと同時にリアルタイムで更新され、個人化されたベースライン治療プロトコルをもたらし得る。治療プロトコル生成システムは、治療システムを含み、患者に治療用電磁場を適用するように構成されているシステムから分離していてもよい。いくつかの場合において、プロトコル生成システムは、治療システムを含む別個のシステムと通信するように構成され得る。いくつかの場合において、プロトコル生成システムは、治療システムを含む単一のプロトコル生成および治療システムに組み込まれ得るか、またはプロトコル生成システムが治療システムを組み込んでもよい。
プロトコル生成システムは、センサ500のアレイを備えるか、またはセンサ500のアレイと通信してもよい。センサ500のアレイは、1つまたは複数の種類の神経活動、温度、組織インピーダンス、透磁率および誘電率、ならびに電磁場さらには多数の他の生物物理学的、生物学的または生化学的パラメータを測定するように構成されている1つまたは複数の種類のセンサを含み得る。
生物物理学的信号の同時読み取りに基づくプロトコル生成および治療システムは、
医療患者データを含む少なくとも1つの患者個人フォルダ、複数のベースライン治療プロトコルであって、各ベースライン治療プロトコルは1つまたは複数の関連付けられた基準センサ500およびエミッタ400の位置決めマップを含み、各ベースライン治療プロトコルは特定の疾病もしくは疾患、または患者の傷害、炎症、もしくは虚血の影響を受ける神経系、臓器、もしくは他の組織の指示された損なわれた機能性に関連付けられ、各ベースライン治療プロトコルは、一般的もしくは標的細胞種類に応じて、各臓器もしくは組織に対する最適な治療効果をもたらすように提供される電磁場強度および周波数の基準範囲に関連付けられる、複数のベースライン治療プロトコルを記憶するように構成された主データベースと、
医療患者のデータを類似のベースライン治療プロトコルからのデータと比較し、特定の疾病もしくは指示された損なわれた機能性に関連付けられる1つまたは複数のベースライン治療プロトコルを外挿し、ベースライン治療プロトコルに関連付けられる1つまたは複数の基準センサ500およびエミッタ400の位置決めマップを提供し、生物物理学的信号の読み取り値を考慮して、位置決めマップおよびベースライン治療プロトコルのどれが患者に適しているかをチェックし、生物物理学的信号の読み取り値を考慮して位置決めマップおよびベースライン治療プロトコルを修正し個人化された位置決めマップおよび治療プロトコルにするように構成されている機械学習ソフトウェアおよびプロセッサと、
強度、方向、周波数、振幅、および種類を含む一定のもしくは時間的に変化する脈動電磁場を発生するように構成されている電磁場発生器と、ポータブル装置100のコンポーネントのための電源と、電磁場を含む生物学的、生物物理学的、および生化学的信号を測定するように構成されているセンサ500のアレイと、電磁場を印加するように構成されているエミッタ400のアレイと、センサ500のアレイの各々からの生物物理学的信号の読み取り値を記録し、生物物理学的信号の読み取り値を基準電磁場範囲と比較して、特定の疾病もしくは指示された損なわれた機能性に対応する複数の生物物理学的信号のうちの1つもしくは複数を識別するように構成されているコンピューティングユニット104とを備えるポータブル装置100であって、各ベースライン治療プロトコルは、エミッタ400のアレイの各々を通じて適用される時間的に変化する脈動電磁場の特性を定義する、ポータブル装置100と、
機械学習ソフトウェア、プロセッサ、および通信インターフェースを備える固定デバイス200であって、固定デバイス200は、ポータブル装置100をキャリブレートし、センサ500およびエミッタ400のアレイを精度について検査し、患者使用前にベースライン治療プロトコルをポータブル装置100のストレージ領域内に保存し、適用される刺激のセッション時に患者に装着された神経活動センサのアレイから収集されたデータ、および治療適用中に患者に装着されたセンサ500のアレイから収集されたデータを含む情報を記憶するように構成されている、固定デバイス200とを備える。
治療プロトコル生成方法は、コンピューティングユニット104によって実行され得る。治療プロトコル生成方法は、電磁場、温度、患者の皮膚伝導度を測定するためにセンサ500のアレイが位置決めされたときに実行され得る。取得された測定済み生物物理学的信号は、神経系の異なる領域、任意の組織または臓器に対するデータ、および患者が異なる課題を実行しているか、または異なる適用される刺激のセッションを受けている間のデータを含むものとしてよい。
取得された測定済み生物物理学的信号は、取得された記録済み生物物理学的信号の1つまたは複数の測定の電磁場範囲を計算するために分析され得る。たとえば、各センサ500によって(または2つもしくはそれ以上のセンサのグループによって)検出された各測定済み生物物理学的信号は、スペクトル分析され、電磁場のセットをもたらし得、たとえば各々センサ500によってまたはセンサ500のグループによって測定される場所(単一のまたは隣接する場所において、単一の神経に沿って、または他の何らかの形で神経系内の場所を代表する信号を生成することが予想される場所)で任意の他の細胞種類の神経網の神経活動、または任意の他の細胞種類の電気的活動を特徴付ける。別々の電磁場が、適用される刺激ごとに、およびセンサ500の場所ごとに計算され得る。
次いで、治療システムは、ベースライン治療プロトコルに従って操作され、電磁場発生器に各臓器/細胞種類の基準電磁場範囲を発生させることができる。
ベースライン治療プロトコルは、以前に設計されたベースライン治療プロトコルの主データベースから以前に設計された治療プロトコルを選択することによって生成され得る。各ベースライン治療プロトコルは、1つまたは複数の基準センサ500およびエミッタ400の位置決めマップさらには一般的または標的細胞種類に応じて、各臓器または組織に対する最適な治療効果をもたらすために提供される電磁場強度および周波数の基準範囲に関連付けられている。別の例として、治療プロトコルは、識別されたサブセットに基づきさらには(たとえば、臨床データから導出されるような)他の要因に基づき生成され得る。たとえば、異なる種類の電磁場の適用の順序、または各神経網、組織、もしくは臓器の相対的な治療持続時間は、健全な機能からの逸脱の深刻さ、患者の要求もしく選好は、または他の基準に基づく各神経網、組織、または臓器の治療の緊急性によって決定され得る。
いくつかの場合において、複数のベースライン治療プロトコルが生成され得る。たとえば、いくつかの異なるベースライン治療プロトコルが生成され、そこから医療専門家が治療に際して適用するものを1つ、および1つまたは複数の基準センサ500およびエミッタ400の位置決めマップを選択し得る。センサ500のアレイからの生物物理学的信号から測定値を取得した後、医療従事者は、1つの基準センサ500およびエミッタ400の位置決めマップを選択するものとしてよい。生成されたベースライン治療プロトコルは、ポータブル装置100で使用するために利用可能にされ得る。生成されたベースライン治療プロトコルは、患者の身体上の場所に対して、または患者の全身に対して使用できるよう利用可能にされ得る。
ベースライン治療プロトコルは、適用される電磁場のシーケンスを指定するものとしてよい。各適用される電磁場は、1つまたは複数の周波数、性質、持続時間、および振幅によって、または他の特性によって特徴付けられ得る。ベースライン治療プロトコルは、異なる電磁場の適用の順序、適用の頻度、連続する適用と適用との間の間隔、または他の特性を指示し得る。各ベースライン治療プロトコルは、2つまたはそれ以上の提案されたベースライン治療プロトコルの間で選択する際に医療従事者によって考慮され得る評価に関連付けられ得る。選択されたベースライン治療プロトコルは、患者を治療するためにポータブル装置100を操作する際に(たとえば、自動的にまたは手動で)適用され得る。ベースライン治療プロトコルの適用は、患者への治療用電磁場の適用中に修正され得る。たとえば、患者は、1つまたは複数の監視センサまたはセンサ500のアレイを介して治療の適用時に監視され得る。エミッタ400のアレイの各々の治療用電磁場の適用は、センサ500のアレイの各々からの生物物理学的信号の結果の測定に従って(たとえば、適用される場の持続時間、振幅、周波数、性質または他の特性を変更することによって)修正されるものとしてよく、各特定のエミッタ400は、各特定のセンサ500に近接近して位置決めされ、前記エミッタ400およびセンサ500は、対として動作する。
治療プロトコル生成方法は、治療用電磁場の適用後に繰り返され得る。たとえば、治療プロトコル生成方法は、治療の有効性が評価されるべきときに再実行され得る。
ポータブル装置100は、エミッタ400のアレイの各々を通して一定のまたは時間的に変化する脈動電磁場を適用するのと同時にセンサ500のアレイの各々から生物物理学的、生化学的、または他の生物学的信号の測定値を取得するように動作可能であり、コンピューティングユニット104は、リアルタイムで、エミッタ400のアレイの各々の近くに位置決めされたセンサ500のアレイの各々からの測定に基づき患者の身体の特定の領域内に位置決めされたエミッタ400のアレイの各々の時間的に変化する脈動電磁場を修正するようにさらに構成され、エミッタ400のアレイの各々の時間的に変化する脈動電磁場の種類、強度、周波数、方向、および強さは、健康な個人の患者身体の特定の領域に特徴的である範囲内の少なくとも基準電磁場を印加するように修正される。したがって、エミッタ400のアレイの各々の近くに位置決めされたセンサ500のアレイの各々は、フィードバックループ制御システムによって動作する対として構成される。ニューロン、他の組織、もしくは臓器の周りの測定済み電磁場の性質が著しく変化するか、または何らかの異常が認められたときに、ポータブル装置100は、エミッタ400のアレイのすべてまたはいくつかの電磁場の印加を自動的に低減するか、増大させるか、または完全に停止する。ベースライン治療プロトコルは、センサ500のアレイの各々からの生物物理学的信号の読み取りと同時に常に修正され得る。したがって、ベースライン治療プロトコルの各更新は、個人化された治療プロトコルとなる。
エミッタ400のアレイの各々の時間的に変化する脈動電磁場は、健康な個人の患者身体の特定の領域に特徴的である基準電磁場を印加するように設定され得るか、またはセンサ500のアレイの各々から得られた測定値に一致する電磁場を印加し、患者の組織/臓器から測定された大幅に異なる信号を適用するか、または(センサ500によって測定されるものとは対照的に)異なる波形によって特徴付けられる電磁場を適用して破壊的もしくは部分的に破壊的な干渉を引き起こすように設定され得る。この場合、適用される信号の波形は、センサ500によって測定されるのとは異なるものでなければならず、適用される電磁場の周波数および振幅を変化させることを通じて、部分的または完全に破壊的な干渉が達成され得る。
大幅に「異なる信号」は、異なる振幅、周波数、強さ、および/または異なる波形を有する信号を指す。「波形」という用語は、周期的波形タイプ(正弦波、方形波、三角波、のこぎり波、ランプアップ波、ランプダウン波、方形波、パルス波、丸みのあるパルス波、円形パルス波、三角形パルス波、ランプパルス波、正弦三乗波、フレーム、半円波、およびこれらの波形のすべてのバリエーション)、上述の波形の逆波形タイプ(逆正弦波、逆正接波、逆余弦波、および逆方形波、逆三角波、逆のこぎり波など)、および必ずしも周期的ではないランダムな波形タイプを指す。
「異なる波形」を適用するときに、センサによって読み取られている波形の反転/逆波形が適用され得るか、または上記のリストから、全く異なる波形が適用され得る(たとえば、正弦波を読み取りながら、正接波または方形波を適用する)。目標が、何らかの形態の建設的干渉または破壊的干渉を達成することである場合、ポータブル装置100は、実際の波形(建設的干渉)またはその逆(破壊的干渉)を使用して同じ波形タイプのバリエーションで動作する。たとえば、取得された信号の形状が正弦波であり、目標が建設的干渉を達成することである場合、波形が正弦波状である電磁場が適用される。他方で、破壊的干渉が達成されるべきであった場合、逆正弦波形は、それが正弦波の逆波形であるので適用され、これは各波形についても同様である。読み取り信号が方形波である場合、建設的干渉は、方形波を適用することによって得られ、破壊的干渉は、逆方形波が適用される場合に得られる。
部分的に破壊的なまたは部分的に建設的な干渉は、異なる振幅もしくは周波数の同じ、または反対の、波形が適用される場合に得られ得る。さらに、機械学習ソフトウェアの提案に応じて、最初の波形(正弦波-方形波)とは完全に異なる波形は、目標が干渉の特定の値を達成することでない場合適用され得る。
エミッタ400のアレイの各々を通して印加される時間的に変化する脈動電磁場の種類は、均一かつ/または不均一であり得る。
神経活動センサが、固定デバイス200内に組み込まれ得る。たとえば、神経活動センサは、病院、クリニック、リハビリテーションセンター内、もしくは開放環境内に配置され得るか、またはポータブルもしくは患者の場所まで運搬可能であり得る。神経活動センサは、また、センサ500のアレイ内のポータブル装置100内に組み込まれ得る。
たとえば、神経活動センサは、MEGセンサのアレイを含み得る。各MEGセンサは、脳内の神経活動によって発生する電流の結果生じる磁場を測定するように構成され得る。典型的には、各MEGセンサは、そのMEGセンサに近い脳の領域内から発生する磁場を測定する。したがって、MEGセンサのアレイによる測定は、脳内の神経活動の空間マップがもたらし得る。
神経活動センサは、EEG電極を含み得る。EEG電極は、患者の頭皮に、たとえば頭皮上の標準的な場所に、取り付けるように構成され得る。EEG電極は、頭皮上での電位を測定するように構成され得る。測定された電位は、脳の一セクション内の電気的活動を示し得る。したがって、EEG電極による測定は、近くにEEG電極が取り付けられる脳のセクションにおける神経活動の測定をもたらし得る。
神経活動センサは、MNG電極を含み得る。EMNG電極は、消毒済み針電極を使用して、または電流で刺激される電極を用いて、運動神経と知覚神経の速度および伝導度を測定する。測定された筋反応の質は、損傷組織の重症度および末梢神経の損傷の種類を伝え得る。
神経活動センサは、脊髄神経活動センサを含み得る。たとえば、各脊髄神経活動センサは、MEGセンサと同一であるか、またはMEGセンサと同様に動作し得る。この場合、患者の脊柱に沿って配置構成されている脊髄神経活動センサのアレイは、脊髄の神経活動によって生じる電流の結果発生する磁場を測定し得る。したがって、脊髄神経活動センサを使用する測定は、脊髄内の神経活動のマップをもたらし得る。いくつかの場合において、脊髄神経活動センサは、EEG電極と同様に、または脊髄における神経活動を測定するのに適している別の方式で動作しているものとしてよい。いくつかの場合において、脊髄神経活動センサ、または他の種類のセンサは、神経系の他の部分(たとえば、1つまたは複数の神経の近く)の神経活動の近くに配置し、測定するように構成され得る。
神経活動センサは、正しい医学的診断を決定することを目的として傷害、炎症、または虚血の影響を受けた組織内の神経活動、または任意の他の細胞種類の活動を測定するための他の種類のセンサを含み得る。
本発明の好ましい実施形態によれば、センサ500のアレイは、インピーダンスセンサ、温度センサ、電磁場センサ(SQUIDセンサおよび/またはホール効果センサなど)、さらには誘電率および透磁率センサを含む。SQUIDの極限感度は、生物学の研究に理想的である。脳磁図(MEG)は、たとえば、SQUIDのアレイからの測定値を使用して、脳内の神経活動に関して推測する。SQUIDは、脳によって放射される信号において注目する最も高い時間周波数(kHz)に比べてかなり高い取得速度で動作することができるので、MEGは、良好な時間分解能を達成する。SQUIDの新規性のある適用は、経口投与薬剤の経路を追跡するために使用される、磁気マーカー監視方法である。臨床環境では、SQUIDは心臓病学において、診断およびリスク層別化のために心臓の磁場を検出する磁場画像法(MFI)で使用される。ホール効果センサ(または単にホールセンサ)は、磁場の大きさを測定するためのデバイスである。その出力電圧は、それを通る磁場の強度に正比例する。
一般的に、センサ500のアレイおよびエミッタ400のアレイの配置構成は、傷害、炎症、または虚血の影響を受けた神経系または他の組織の領域を示す生物物理学的信号の読み取り値に一致するように設定され得る。治療セッションの回数を重ねた後、神経変性もしくは炎症の影響を主に受ける傷害、炎症、または虚血の影響を受けた神経系または他の組織の領域の生物物理学的信号の読み取り値が、臨床転帰の改善を示す場合、機械学習ソフトウェアは、センサ500およびエミッタ400の再位置決め(すなわち、新たなセンサ500およびエミッタ400位置決めマップ)を傷害、炎症、または虚血の影響を受けた神経系または他の組織/臓器の示されている損なわれた機能性をいぜんとして示す患者身体の他の領域に対する新たなベースライン治療プロトコルの設定と同時に命令し得る。前記再位置決めマップに従う前記新たなベースライン治療プロトコルは、また、センサ500のアレイの各々からの生物物理学的信号の読み取りと同時にリアルタイムで常に更新され得る。
本発明の好ましい実施形態によれば、エミッタ400のアレイの各々によって放射される電磁場は、センサ500のアレイの各々からの生物物理学的信号の読み取りと同時にリアルタイムで修正されてもよく、各特定のエミッタ400は、各特定のセンサ500に近接近して位置決めされ、前記エミッタ400およびセンサ500は、対として動作する。
ポータブル装置100は、患者の頭部上にまたはその周りに配置するためのヘルメット、キャップ、または他のかぶり物もしくは配置構成を含むものとしてよく、センサ500のアレイおよびエミッタ400のアレイは、時間的に変化する脈動電磁場が、神経変性、虚血、傷害、または炎症の影響を受ける脳の領域に印加され得るように移動可能であり得る。より好ましくは、センサ500のアレイおよびエミッタ400のアレイの配置構成は、神経変性、虚血、傷害、または炎症の影響を主に受ける脳の領域、または他の組織を示す生物物理学的信号の読み取り値に一致するように設定され得る。治療セッションの回数を重ねた後、脳の領域の生物物理学的信号の読み取り値が臨床転帰の改善を示した場合、センサ500のアレイおよびエミッタ400のアレイの配置構成は、同様に神経変性、虚血、傷害、または炎症の影響を受ける脳の他の領域、または他の組織に変更され得る。
機械学習ソフトウェアによってセンサ500およびエミッタ400の位置を含む配置マップが作られた後、電極およびエミッタは、患者の組織/臓器に対する特注エンクロージャ上に配置され得る。機械学習ソフトウェアがセンサ500およびエミッタ400のアレイの最適な位置に対する正確な座標を計算するときに、それに加えて、構造安定性をもたらす主エンクロージャに簡単に取り付けることができ、センサ500またはエミッタ400を正確に装着する能力を有するエクステンダが作られ得る。前記エンクロージャは、センサ500およびエミッタ400の調整可能なプレインストール済みアレイを有するケーシングを備えるものとしてよく、このケーシングは、次いで、X、Y、およびZ軸に沿って最適な治療位置まで移動され得る。
図1は、本発明のシステムのポータブル装置100の概略透視図である。一般的に、これは一日中または装着時間全体を通して治療を行うために患者の背中または肩に載せられるように調整可能ストラップ101を備えるポータブル装置100として設計される。これは、センサ500のアレイおよびエミッタ400のアレイの保管領域を提供する基本ポケット102と、治療プロトコルの種類、残り時間、バッテリの状態、以前の治療セッションおよび現在の治療セッションに関する一般的情報(使用される電流、電圧、および周波数、生物物理学的信号の読み取り値のグラフ表示など)、他すべての重要な情報を指示するためのタッチスクリーンディスプレイ103からなり、生物物理学的信号の読み取りと同時に治療プロトコルを変更することを可能にする。ポータブルユニット100は、また、不適切な使用またはその機能に関して患者に警告するように構成される。タッチスクリーンディスプレイ103は、クラウドサービスを介して、またプロセッサおよびコンピューティングユニット104を通じて、センサ500のアレイからの生体物理学的信号の読み取りを考慮しながら、治療プロトコルの同時修正を可能にするように構成される。タッチスクリーンディスプレイ103は、ニューロンまたは他の組織の周りの電磁場の強度、および治療セッションにおけるその変化を示すように構成される。タッチスクリーンディスプレイ103は、ポータブル装置100のポータブル部分を介して、患者のかかりつけ医によってリアルタイムでアクセスされ得るオンライン主データベースにワイヤレス方式で接続され、施される治療プロトコルの転帰の進捗状況を監視し、必要ならば、緊急介入を実行することができる。
それ自体の中で、ポータブル装置100は、センサ500のアレイからの生物物理学的信号のすべての測定値を記録し、同時にフィードバックループ制御システムを通じてコンピューティングユニット104によって制御されるエミッタ400のアレイの各々を介してベースラインまたは個別化された治療プロトコルを送達するためのコンピューティングユニット104を収納する。最後に、ポータブル装置100は、可搬性を維持することを目的として前記ポータブル装置100内に挿入され得る充電式電池105などの電源を備える。システムのポータブル装置100は、限定はしないが、センサ/エミッタセクションとともに機械学習ソフトウェアを制御するプロセッサ、RAMメモリ、およびストレージ領域を備える主制御ボード、充電式バッテリ105を伴うバッテリ管理システム、ヒューズおよびFID素子を備えるセキュリティセクションなどのいくつかの主要コンポーネントを内部に備える。ポータブル装置100は、複数の充電式バッテリ105を備えているので、患者が1つのバッテリ105を使い切ったときに、患者はそれを充電し、充電が完了するのを待つ代わりに、他の前にフル充電されているバッテリ105を用いて治療セッションを続行することができる。ポータブル装置100は、バッテリを再充電するための電源として機能するように様々なソーラーパネルで構成されてもよい。
コンピューティングユニット104は、タッチスクリーンディスプレイ103を介してセンサ500のアレイとインターフェースするように構成されている1つまたは複数のユニットを含み得る。たとえば、コンピューティングユニット104のユニットは、単一のケースまたはハウジング内に封じ込められ得るか、または互いに分離していてもよい。コンピューティングユニット104の別個のユニットは、ケーブルによって、またはワイヤレス接続を介して、相互接続され得る。いくつかの場合において、コンピューティングユニット104のユニットは、互いに離れていてもよい。コンピューティングユニット104のユニットが互いから離れているときに、コンピューティングユニット104の異なるユニットは、ネットワークまたは他のケーブルまたはワイヤレス通信チャネルを介して互いに通信するように構成され得る。いくつかの場合において、タッチスクリーンディスプレイ103の一部または全部が、プロセッサに含まれてもよい(この場合、タッチスクリーンディスプレイ103は、センサ500のアレイへのプロセッサの接続のみを含み得る)。いくつかの場合において、タッチスクリーンディスプレイ103の機能の一部または全部は、プログラムされた命令に従って動作するプロセッサによって提供されてもよい。
ポータブル装置100は、ポータブル装置100の背面に配置構成されたポートを通じて固定デバイス200に接続されてもよく、これは、固定デバイス200の接続ポート204に嵌め込まれ、その結果、キャリブレーションおよび初期化プロセスが行われるか、または状況により適切とみなされ得る任意の他の接続方法が行われる。初期化プロセスが完了し、ベースラインまたは新たな治療プロトコルが機械学習ソフトウェアによってチェックされ、医療専門家によって監督された後、患者はポータブル装置100を自宅に持ち帰り、多くの患者が嫌う環境である病院内で類似のデバイスを使用する代わりに、自宅で快適に使用し得る。このようにして、治療は、より長期間にわたって行われ、さらには患者のライフスタイルおよび症状の重症度に合わせて手直しされ、多くの場合に、より長い治療曝露時間を必要とする。ポータブル装置100は、その形状を変えてもよく、構成要素および他のコンポーネントは、所望の効果、患者の必要性および治療期間に応じて変更され得る。
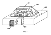
図2は、本発明のシステムの固定デバイス200、通常保健施設内に位置決めされるキャリブレーション、制御、および治療ステーションの斜視図を示している。固定デバイス200は、自動デバイスキャリブレーションステーション201ならびに処理、制御、および治療ステーション202(以下、「処理ステーション202」)を備える。ポータブル装置100を固定デバイス200の接続ポート204に挿入した後、ポータブル装置100は、使用する患者に手渡す前に、自動的にキャリブレートされ、センサ500およびエミッタ400のアレイが精度について検査され、ベースライン治療プロトコルが送達され得る。そのような自動キャリブレーションの主な利点は、類似の疾病管理および患者回復転帰の以前の事例に基づき、治療計画プロセスにおける人為的ミスの可能性を減少させ、さらには機械学習アルゴリズムを適用してベースライン治療プロトコルと治療期間を最適化する点である。他方で、処理ステーション202は、ポータブル装置100内で利用可能なセンサ500のアレイからの収集された測定値の可視化、以前に行われた他の診断検査、患者の病歴の可視化、さらには個人化されたデータ表現、フィルタリング、および記録を通じて将来の治療プロトコルを計画し、患者の回復進捗状況を追跡することを可能にするように構成される。このデータは、主データベースのローカルに、さらにはクラウド上に記憶され得る。このアイデアは、医療専門家がLCDスクリーンの前でワークスペースを使用し、患者の回復進捗状況をより良く解釈し理解できるようにすることである。患者が持ってきたポータブル装置100が接続ポート204に挿入されると、キャリブレーションシーケンスが開始し、さらには医療専門家がベースライン治療プロトコルに変更を加え、治療が進行している間に患者回復転帰を検査することを可能にし得る。ポータブル装置100のコンピューティングユニット104は、教育を受けた医療専門家によって容易にアクセスできるようにHDDまたはクラウドストレージに保存された治療データを固定デバイスストレージに送信するように構成される。医療専門家は、装置100および200の両方を操作する方法、さらには患者が対照健康評価を受けるごとに生物物理学的信号の記録された測定値に基づきベースライン治療プロトコルを調整するという共同目標において機械学習ソフトウェアと連携する最適な方法に関する教育コースに合格しているべきである。固定デバイス200は、電源ケーブルで電源コンセントに接続されていることがあり、理想的なセットアップでは、停電が発生したときに、患者の治療に関する潜在的情報を失うことさらにはキャリブレーションプロセスが進行している間に固定デバイス200の完全性を損なうことがないように緊急バックアップ発電機に接続される必要があるであろう。
処理ステーション202の通信インターフェースは、1つまたは複数のコンポーネントとインターフェースし得る。たとえば、通信インターフェースは、処理ステーション202へのオペレータ入力を可能にするために入力デバイスと通信し得る。たとえば、オペレータ入力は、臨床データ、プロトコル生成システムの(または治療システムの)コンポーネントの動作を制御するための操作コマンド、または他の入力データを含み得る。通信インターフェースは、1つまたは複数の種類のポータブルまたは取外し可能データ記憶媒体を読み書きするためのデバイスまたはポートを含み得る。たとえば、データ記憶媒体は、処理ステーション202に入力する取得済み測定データもしくは臨床データ、または治療システムに入力する治療プロトコルを記憶するために使用され得る。
測定された量は、取得された測定データとしてデータ記憶装置デバイス上に記憶され得る。たとえば、取得された測定データは、感知された電磁場、組織インピーダンス、誘電率および透磁率、温度、または知られている時間に取得された他の測定値のシーケンスの形態であってもよい。処理ステーション202は、取得された測定データに1つまたは複数のデータ操作技術を適用するように構成され得る。たとえば、データ操作技術は、平均化、デジタルノイズ低減、キャリブレーションを適用すること、スケーリングすること、背景信号(たとえば、患者が安静にしているかまたは何もしていないときに取得される信号)から信号を分離すること、平滑化もしくは鮮鋭化(たとえば、ローパスもしくはハイパスデジタルフィルタを適用すること)、または別の分析技術を適用することを含み得る。
1つまたは複数の信号処理または他のデータ分技術が取得された測定データに適用され得る。データ分析技術の適用の結果、1つまたは複数の基準プロファイル(神経活動プロファイルおよび他の組織活動プロファイル)が得られ得る。たとえば、各神経網活動プロファイルは、(たとえば、患者がその特定の神経網に関連付けられている課題を実行している間に取得される測定値に基づき)特定の神経網に関連付けられている測定された神経活動を、異なる神経網に関連付けられている(または、患者が安静にしているときなど、神経網が活動しないと予想されるときの)測定された神経活動から区別する1つまたは複数の特徴を識別するデータ解析の結果得られる。その結果得られた基準プロファイルは、データ記憶装置デバイス上の主データベースの一部として記憶され得る。たとえば、測定された電磁界の時間シーケンスの形態で取得された測定データは、振幅、周波数、強さ、および強度の形態でスペクトルを取得するように処理され得る。フーリエ変換、ウェーブレット変換、または他の変換などの1つまたは複数の変換が、取得された測定データに適用され得る。変換は、たとえば、高速フーリエ変換(FFT)、フィルタリングFFT、ウェーブレット解析、または別のスペクトルフィルタなどのアルゴリズムを利用することによって適用され得る。他の分析技術も適用されてよい。そのような他の技術は、1つまたは複数の計算ニューラルネットワーク、機械学習、またはディープラーニングアルゴリズムの適用などの1つまたは複数の統計的評価を含み得る。
分析は、センサ500のアレイの各々について、センサ500のアレイのサブセット(たとえば、隣接するまたは機能的にリンクされた場所における同じ種類のもの)について、またはすべてのセンサ500(たとえば、特定の種類のもの)について別々に実行されてもよい。分析は、個別の患者と期待される性能との間の差を識別するものとしてよい。分析は、個別の患者が、特定の治療プロトコルが有益であることが以前に見出されたより一般化されたグループに関連付けられているかどうかを識別するものとしてよい。
神経系が明らかに健全である(たとえば、被験者の病歴に神経系を損なうことが疑われ得る事象がない、被験者に神経系に対する傷害の観察可能な症状がない、または他の何らかの形で健全であると決定される)被験者の群についてデータが取得されたとき、取得された分析データは、たとえば、平均化することによって、または、別の統計的もしくはデータ組合せ技術を適用することによって、組み合わされ得る。各プロファイルの結果として得られた組合せは、神経網、臓器、または他の組織に対する基準プロファイルとして主データベースに記憶され得る。
神経系、臓器、または他の組織の機能に1つまたは複数の形で欠陥があることが知られている被験者に対して類似の測定および分析が実施され得る。たとえば、欠陥機能は、特定の課題(たとえば、運動、認知、感覚、または他の課題)の実行に関係し得るか、または知られている解剖学的異常(たとえば、撮像技術、もしくは他方法によって決定されるような)に関連付けられ得る。その結果得られるプロファイルは、対応する代表的な基準プロファイルと比較され得る。この比較は、欠陥機能に関連付けられている神経網、臓器、または組織に特徴的な1つまたは複数の電磁場をもたらし得る。
プロトコル生成システムは、患者の神経系への傷害が疑われるときに患者に対して神経活動プロファイルを測定してもよい。患者の身体上の1つまたは複数の場所における神経活動測定は、脳波記録(EEG)、筋電図(EMNG)、または脳磁図(MEG)センサのアレイ、ならびに温度センサ、SQUIDおよび/もしくはホール効果センサ、または電磁場を測定するための他のセンサなどのセンサ500のアレイなどの神経活動センサを使用して取得され得る。測定の分析の結果、1つまたは複数の基準プロファイルと比較され得る患者プロファイルが得られ得る。特に、患者が特定の神経網の欠陥機能に関連付けられる症状を示すときに、分析は、その神経網に関連付けられる神経網電磁場での比較に限定されるか、または優先順位付けされるか、または強調され得る。
患者プロファイルは、処理ステーション202によって、主データベースから取り出され得る対応する基準プロファイルと比較され得る。1つまたは複数の神経網、臓器、または他の組織の電磁場が分析のために選択され得る。神経網、臓器、または他の組織電磁場は、前臨床データおよび臨床データに基づき選択され得る。たとえば、患者は、臨床データに記録されている1つまたは複数の症状を呈することがある。たとえば、症状は、自発的に肢を動かす能力(たとえば、骨格および筋骨格が無傷である場合)、話す能力、感覚を受ける能力、認知課題を実行する(たとえば、読む、人もしくは物を識別する、問題を解決する、または別の認知課題を実行する)能力、または別の種類の刺激に反応する能力がないか、または能力が低下していることを含み得る。各症状は、傷害、炎症または虚血の影響を受けた1つまたは複数の神経網、臓器、または他の組織の損なわれた機能(たとえば、神経系の様々な記憶、計画、運動活性化、フィードバック、組織化、または他の機能性に関係する)の結果生じる可能性もある。電磁場の各選択された値は、神経網の1つに対応し得る。さらなる分析は、次いで、選択された神経網の1つまたは複数の損なわれた機能を検出することを試みる。臓器または他の組織にもそれぞれ同じことが適用される。
いくつかの場合において、患者プロファイルと対応する取り出された基準プロファイルとの間の比較で、患者の神経網、臓器、または他の組織の機能と、健常者のその神経網、臓器、または他の組織の機能との間の1つまたは複数の差または偏差を検出し得る。比較は、検出された偏差が生じる電磁場範囲を識別し得る。そのような偏差は、対応する神経網、特定の細胞群、臓器、または他の組織の挙動の異常を指示し得る。
特に、この比較は、1つまたは複数の電磁場における患者プロファイルの振幅、周波数、強さ、または強度の偏差を示し得る。測定された患者プロファイルは、傷害、炎症、または虚血の影響を受けた患者の脳、神経系、臓器、または他の組織の上に空間的にマッピングされ得る。
処理ステーション202は、患者プロファイルと取り出された基準プロファイルとの間の検出された差に基づきベースライン治療プロトコルを生成するように構成されてもよい。生成されたベースライン治療プロトコルは、ポータブル装置100のデータ記憶装置デバイス上に記憶され得る。代替的に、またはそれに加えて、たとえば、プロトコル生成システムおよび治療システムが単一のシステムに組み込まれている場合、または相互通信するように構成されている場合、ポータブル装置100は、対応する患者を治療するために使用されるべきベースライン治療プロトコルを治療システムのデータ記憶装置デバイスから自動的に取り出し得る。
生成されたベースライン治療プロトコルは、治療コイル304~310を流れる電流を生成するように構成されている電磁場発生器を動作させる際にコンピューティングデバイス104によって適用され得る。電磁場発生器の動作は、電流が1つまたは複数の導電性治療コイル304~310を流れることを引き起こし得る。治療コイル304~310を通る電流の流れは、患者に適用される治療用電磁場を発生させ得る。電流の流れの振幅は、治療用電磁場の振幅を決定し得る。ベースライン治療プロトコルまたは個人化された治療プロトコルに従って治療用電磁場を患者に適用することは、結果として神経活動、または標的組織内の周囲細胞の活動を増大させ得る。神経活動の増大は、周囲組織内の細胞の活動の増大と組み合わさって、神経系および患者の身体におけるリハビリテーションプロセスを円滑にし、したがって、神経系機能の回復および組織再生を円滑にし得る。
センサ500のアレイは、電磁場発生装置の動作時に患者を監視するために使用される。センサ500のアレイは、固定装置100内に組み込まれる。SQUID、ホール効果センサ、インピーダンスセンサ、および温度センサに加えて、センサ500のアレイは、患者の身体の運動、さらには組織の誘電率および透磁率を測定するように構成されている1つまたは複数のセンサを備え得る。センサ500のアレイは、エミッタ400のアレイによって放射された磁場と干渉しないように構成され得る。
コンピューティングユニット104は、センサ500のアレイによって監視される1つまたは複数の量に従ってベースライン治療プロトコルの適用(たとえば、少なくとも特定の患者に適用されるような)をリアルタイムで修正するかまたは更新するように構成され得る。たとえば、1つまたは複数のセンサ500によって取得される監視される量の値が期待値から逸脱する場合、コンピューティングユニット104は、期待値を得るために、前記センサ500と対として各々動作するそれぞれの1つまたは複数のエミッタ400を介して、患者に適用される治療用電磁場の振幅、周波数、種類、または持続時間を変更するように構成され得る。期待値は、前臨床試験および臨床試験を通じて定義された各臓器および細胞種類に対する、電磁場範囲、または他の生物学的、生物物理学的、もしくは生化学的信号範囲内にある。別の例として、監視されている量の値が、治療が完了したこと(たとえば、患者に所望のまたは期待される効果をもたらしたこと)を示している場合、治療用電磁場の継続的適用は、短縮されるか、低減されるか、または他の何らかの形で修正され得る。
いくつかの場合において、ベースライン治療プロトコルは、治療用電磁場の適用の期間または持続時間を示し得る。この期間は、1回の治療セッションの期間に対するものであってもよい(その場合、プロトコルは、治療用電磁場の適用の繰り返しの頻度、治療用電磁場を適用する回数、治療用電磁場の適用と適用との間の間隔のうちの1つまたは複数を指示し得る)。この期間は、治療時間全体を含み得る(たとえば、治療用電磁場の異なる適用が累積的な効果を有することが期待される状況において)。ベースライン治療プロトコルは、(たとえば、特定の患者に対する、または患者のクラスもしくはグループに対する)治療の繰り返し適用について反復スキームを含み得る。
図3Aは、1つのエミッタ400の透視図、側面図、および頂面図を概略的に例示する。一般に、各エミッタ400は、エミッタコイルハウジング303と、前記ハウジング303内に配置構成された電極304~310であって、前記電極304~310は、均一および不均一な時間的に変化するまたは定常の電磁場を放射するように構成されている、電極304~310と、異なる電磁場タイプおよびその性質を得るためにより容易なコイルの抜き出しおよび交換を可能にするエミッタコイルハウジング303の頂部に配置構成されているハウジングキャップ302、さらには前記電極に電力を供給するために電極304~310に接続されている電流供給線301とを備える。
エミッタ400の各々は、治療送達の効率を最大化するために導電性ゲルまたは他の導電性物質が以前に塗布された患者の身体の特定の部分に位置決めされるであろう。エミッタコイルハウジング303は、コイル304~310の各々によって生成される電磁場と相互作用しないように、プラスチックなどの非磁性材料から作られている。エミッタコイルハウジング303の寸法は、エミッタ400のアレイが適用される患者の身体の特定の領域に関して異なり得る。コイル304~310に電力を供給する電線は、ポータブル装置100が使用されている間に事故が発生する危険性を最小にするように絶縁され、ポータブル装置100の内部のコンピューティングユニット104のセンサ/エミッタ部分に直接的に接続される。エミッタコイル304~310のアレイの各々は、生物物理学的信号、特に電磁場を測定するためのセンサ500のアレイと干渉しないが、それはエミッタ400のアレイの各々がコイル304~310によって放射されるより強い電磁場をフィルタリングするビルトイン要素(いわゆるスクリーナ)を備えているからである。
エミッタ400の各々は、ベースライン治療プロトコルによって定義された、電磁場の電力、振幅、種類、および周波数さらには治療の持続時間を調節するコンピューティングユニット104に接続されている。ベースライン治療プロトコルは、機械学習ソフトウェアによって生成され、医療専門家によって監督される。ベースライン治療プロトコルは、ポータブル装置100の設定により直接的に修正され得る。
本発明の様々な実施形態によれば、エミッタコイルハウジング303は選好に基づき、さらには複数のコイル304~310を含むエミッタコイルハウジング303を可能にするかまたはその異なる構成/配置構成を含むように変更され得る。
図3Bは、前記ハウジング303内に配置構成され得る様々な異なる形状のコイル304~310を含むエミッタコイルハウジング303の側面図を示している。一般に、均一および不均一な時間的に変化するまたは定常の電磁場を放射するために使用され得るコイルの最も基本的な形状は、ソレノイド/テスラコイル304、電流供給ループ305、電流ループ306、ヘルムホルツコイル307、マクスウェルコイル308、ソレノイドコーン309、電流供給ループのバリエーション310、およびそれらの組合せ、さらには前述のコイルの異なる幾何学的形状を備える、以前にリストしなかった他のコイルタイプを含む群から選択される。
上述のコイル304~310の各々は、患者が受ける治療プロトコルの種類に応じて、スプレー絶縁銅線(spray insulated copper wire)、または異なる材質の電線から作られ得る。選択されたコイル304~310の各々、またはこれらの組合せは、エミッタ400のアレイの各々を患者の身体に配置している間に前記ハウジング303内で位置ズレを起こすのを防止するために各エミッタコイルハウジング303の内部に固定される。
さらに、本発明の実施形態によれば、上述のコイル304~310は、金、銀、アルミニウムなどの異なる金属から作られ、これらは患者の必要性に基づいて変更され得る。たとえば、患者の身体に配置されるエミッタ400のアレイがあるので、コイル304~310のより軽いセットが必要であるときに、アルミニウムコイルが使用されることもあり得、より強いエミッタ400の、より少ない数のアレイが必要とされる場合に、金コイルが、抵抗を最小化することによって電磁場印加の効率を最大化するために使用されることもあり得る。
そこでは、コイル形状の一般的な説明が示されているが、それらは、疾病の種類および各治療セッションの持続時間に基づき場強度および送達治療プロトコルを最適化するために、上述の7つの基本的な種類に基づきさらに変更されてもよい。
図4は、患者の基礎状態さらにはそれの影響を受ける組織もしくは臓器に応じた、患者に対するエミッタ400およびセンサ500の位置決めマップの最も一般的なバリエーションを正面図、背面図、および頂面図に例示している。患者の基礎状態、疾病、疾患、または傷害、炎症、もしくは虚血の影響を受ける神経系、臓器、もしくは他の組織の指示された損なわれた機能性は、ベースライン治療プロトコル、エミッタ400のアレイの関連付けられている位置決めマップ、およびそれに応じて、センサ500のアレイを決定する。注目している疾病がその性質上神経学的なものである場合、エミッタ400のアレイは、患者の頭皮401、脊髄405、または他の部位に沿って配置され得る。ベースライン(個人化された)治療プロトコル、すなわち、個人化された電磁場の強度、周波数、性質、および方向を一定時間内に送達するために、電磁場、インピーダンス、温度を測定するためのセンサ500および任意の他のセンサのアレイの各々は、エミッタ400の各々に近接近して配置されてもよく、互いに近接近して配置構成されている、センサ500のアレイの各々およびエミッタ400のアレイの各々は、対として動作する。他のセンサは、患者の心臓および腕に配置され、患者の生体機能を監視するものとしてよい。
ポータブル装置100は、神経学的なものから腫瘍学的なもの、慢性的なもの、ウイルス性のものまでの、傷害、炎症、または虚血の影響を受ける組織などの任意の病状の治療に使用され得るので、エミッタ400およびセンサ500のアレイの基準位置決めマップおよびベースライン治療プロトコルは、各疾病さらには臓器または組織についても個別に確立される。ポータブル装置100が、移植細胞、注射または摂取された薬物または薬剤の磁気、電気、または電磁誘導において使用されることを目指している場合、エミッタ400のアレイの配置およびその形状は、治療または移植細胞が到達すべき所望の場所に大きく依存する。
図5は、ポータブル装置100の別の実施形態であり、一般にウイルスまたは感染症の影響を受ける疾患を管理するために患者に電磁場療法を施す例示的な治療システムを例示している。ポータブル装置100のこの実施形態は、ウイルス複製を無効化し、ウイルス結合さらには他の抗病原菌機構の効率を低下させるために使用され得る。
一般に、ウイルスが細胞内にないか、または細胞に感染し始めたばかりのときに、ウイルスは3つの主要部分、すなわち、ウイルスが作用する際に使用する構造タンパク質をエンコードする役割を担う遺伝物質、ウイルスの遺伝物質を保護するカプシド(タンパク膜)、およびウイルスエンベロープ(リン脂質二重層)からなる。現在使用されているワクチンのように、免疫系を訓練するためにウイルス結合部位を標的にするかまたは抗原を誘導すること加えて、われわれはまた、ウイルスがすでに生体内に入ってしまったときに、その構造に基づきウイルスと闘うための3つの他の潜在的アプローチ、すなわち、遺伝物質を標的にし、ウイルス複製を無効化するアプローチ、カプシドの完全性を損なって遺伝物質を露出させ、ウイルス複製を阻害するアプローチ、および脂質エンベロープを破壊し、ウイルス結合を無効化するアプローチを認識している。
これらのアプローチの各々は、遺伝子レベルおよび脂質レベルの両方に作用することができる電磁場を使用して達成することも可能であろう。その目的のために、ポータブル装置100は、宿主細胞にとって無害な特定の周波数および強度で患者の全身治療を行う電磁場ベースの抗病原菌療法を実施するものとしてよい。生体内のウイルス抑制に注目したときに、前記療法は、ウイルス遺伝物質を標的とすることと、ウイルスエンベロープを標的とすることとの2つの作用を有する。ウイルス遺伝物質を標的にすることは、不均一または均一な時間的に変化する電磁場周波数を送達することを含み、前記周波数は遺伝物質の共振周波数と一致し、その完全性に影響を及ぼし、適切なウイルス複製を無効化する-ウイルスの進行を遅くし、その効果を弱める。
新型SARS-CoV-2の場合のように、多くのウイルスの脂質エンベロープを構成するリン脂質二重層を見たときに、これは脂質分子の二重層からなる薄い極性膜である。この脂質膜の極性は、その固有の電気双極子モーメントにより極めて電気的に操作可能にし、正負に帯電した端部に電荷分離を引き起こす。
このような分極した脂質二重層の最も興味深い特性のひとつが撓電性である。これは誘電性物質の特性であり、ひずみ勾配によって誘起される自発的電気分極を示す。これは、いったん機械的応力がウイルスに加えられた後、ウイルスは電気分極を示すことを意味する。ウイルスはその構造および機能が異なるので、ウイルスは、免疫系の生得的な細胞とは大きく異なる外部表面電荷も示すはずであり、その構造的完全性を変えることを目的に電荷固有の場の周波数および強度を使用して、ウイルスを簡単に標的にできる。
ポータブル装置100は、ウイルスエンベロープの伝導率、誘電率、透磁率、および極性に影響を及ぼし得る。その上、脂質エンベロープ上に荷電成分があることにより、ポータブル装置100は、膜の自発分極を変化させる。SARS-CoV-2が細胞に感染する現在認識されている主なメカニズムは、TMPRSS2と呼ばれるタンパク質によるウイルス表面のスパイクタンパク質の切断である。これは、細胞内へのウイルスRNAの放出を引き起こし、細胞にウイルスのコピーを産生させて、ウイルスがばらまかれてより多くの細胞に感染する。ポータブル装置100は、ウイルス表面のスパイクタンパク質を、表面電荷を変化させることによって機能的に不安定にするために使用され得る。このようにして、われわれは、ウイルスがヒト細胞内に侵入する効率を著しく低下させ得る。
図6は、ワクチン生産に使用するポータブル装置100の別の実施形態を例示している。電磁場ベースの装置の適用は、ワクチンの生産をスピードアップし得る。簡単に言うと、ワクチンとは、病気から身を守るために抗体産生を誘発する微生物の懸濁液である。これは、生体それ自身の免疫系が、病原体送達抗原に対して適切な免疫反応を発生させ、ワクチン接種適用後に宿主が感染した後、身体が病原体と闘うことを可能にするであろう抗体ができることに大きく依存している。ワクチンは、2つの主要な種類、すなわち、ホールエージェントワクチン(whole-agent vaccine)とサブユニットワクチンとに分けられ得る。ホールエージェントワクチンは、不活化(死滅させた)または弱毒化(弱めた)された微生物のいずれかであり得る。たいていはホルマリンを使用して微生物を死滅させた不活化ワクチンとは対照的に、弱毒ワクチンでは、長期間の細胞培養増殖中にDNA/RNA変異が蓄積し、微生物が弱毒化される。他方では、サブユニットワクチンは、ワクチンの効果を高めるために、微生物の一部または産物およびアジュバント(洗浄剤もしくは死滅非病原性細菌)を使用する。このワクチンは、B型肝炎、百日咳、または肺炎球菌ワクチンによって引き起こされる肺炎などのように、免疫系を最もよく刺激する抗原(またはエピトープ)を含む。これら2つの主要なグループに加えて、コンジュゲートワクチンも存在し、これは抗原が多糖類に結合している特殊なサブユニットワクチンで、このことは作るのを極端に複雑にするものでもある。これらのワクチンは、幼児の未熟なシステムに最も効果的であり、H.インフルエンザB型、および肺炎球菌によって引き起こされる肺炎を含む。実験的な種類のワクチンも多数あり、それらのうちの2つはDNA/RNAおよび組換えベクターワクチンである。DNA/RNAワクチンは、細胞に導入される重要な抗原のDNA/RNAを含み、これらはインフルエンザ、ヘルペス、およびHIVを対象として開発されているが、組換えベクターワクチンは、微生物のDNA/RNAを細胞に導入するために使用される弱毒化されたウイルスまたは細菌(ベクター)からなる。組換えベクターワクチンは、また、HIV、狂犬病、および麻疹に対しても試験されている。現在使用されている最も一般的な肺炎またはインフルエンザワクチンは、サブユニット型ワクチンまたはコンジュゲート型ワクチンのいずれかに分類される。サブユニット、コンジュゲート、およびDNA/RNAワクチン生産の主要な欠点のうちの1つは、特異性抗原を識別するのに時間を要することであり、これは今日SARS-CoV-2ワクチン開発において特に生じていることである。特異性抗原を識別する困難で長いプロセスによって開発の速度が落ちる。
より良い抗原賦活化を円滑にし、ワクチン生産のスピードを上げるために、電磁システムの別の実施形態は、すべての段階、すなわち、抗原の生成、抗原の放出および単離、ならびに精製においてワクチン生産を前進させるために使用され得る。ワクチンが生産される前に、生体の免疫反応をトリガーする抗原が生成される必要がある。これは、病原体のタンパク質またはDNA/RNAを収集し増殖させることによって行われるが、そのためには、ニワトリ胚に由来する細胞などの初代細胞でウイルスを増殖させること、バイオリアクターで細菌を増殖させて抗原の産生を最適化すること、および酵母、細菌、または細胞培養で病原体から組換えタンパク質を誘導することのいずれかを行う。本発明の電磁システムで抗原の産生を実行することによって、免疫細胞間の伝達が、シグナル伝達経路変更または増幅を通じて著しく加速され、それによりスクリーニングのプロセスを前進させる。
病原体の多くを放出するために、抗原は、次いで、細胞から分離され、タンパク質またはまだ存在している増殖培地の任意の他の部分から単離される。本発明の電磁システムは、特異的な場勾配を発生させることによって、抗原分離をスピードアップし、より正確なものにする。
抗原を精製するために、いくつかの分離ステップが実行され、その際に、タンパク質のサイズ、物理化学的特性、結合親和性、または生物学的活動の違いを利用する。本発明の電磁システムは、電磁精製において効率的であるが、そのために、タンパク質の電磁的および電気機械的な差を利用して、精製プロセスをスピードアップし、より効率的にする。
図7は、電磁場療法を患者に施し、免疫系を刺激してワクチンに対する反応をより迅速により活発にする例示的な治療システムを例示するポータブル装置100の別の実施形態である。アジュバントが、供給された抗原に対する患者の免疫反応を高めるために添加される。安定剤または保存剤を添加した後、すべての成分は、次いで、単一のバイアル内で、組み合わされ、均一に混合される。抗原と他の成分との間に潜在的な不適合性および相互作用があるので、このステップは、混合ワクチンの開発をより困難なものにしている。アジュバントが添加された後、抗原とワクチンの他の成分との間の潜在的な不適合性および望ましくない相互作用が生じ得るので、ワクチン投与部位に電磁場療法を使用することで、免疫系を局部的に刺激し、ワクチンに対する反応をより迅速により活発にする。
図8は、病院環境における本発明のシステムの別の実施形態である。新型SARS-CoV-2ウイルスだけでなく、今後数年のうちに出現すると予測される他のウイルスについても、薬剤生産およびワクチン接種を加速し、改善する必要性が突然世界的に認識されるようになり、本発明のシステムは、新しいウイルスに対応するため、または単に化学療法、放射線療法を受けている患者、または免疫系が損なわれている患者に対する補助療法として、免疫系を強化するために全身に電磁場を放射する複数の電極400に関して変更され得る。したがって、本システムは、生体の後天的もしくは先天的疾患を治療することを目的として、または健常者の保護として、いくつもの異なる方法で実行され得る。システムの主な実施形態が提示されているが、これは人の免疫力を即座に、しかし短期に、高めることを目的として電磁場を放射する壁面上の複数の電極400の形態で実行されてもよい。その主な利点は、全身療法を提供し、免疫系の全体的な機能を改善することであり、ウイルスまたは細菌にすぐに感染する危険性のある人(たとえば、医療専門家、高齢者、免疫不全者)に使用されるべきである。
本明細書において参照されているフローチャートに関して、フローチャートのブロックによって表される個別の操作への例示されている方法の分割は、便宜上および明確さためにのみ選択されていることは理解されるべきである。例示されている方法を離散的な操作に分ける代替的分割は、同等の結果とともに可能である。例示されている方法を離散的な操作に分けるそのような代替的分割は、例示されている方法の他の実施形態を表すものとして理解されるべきである。
同様に、断りのない限り、本明細書において参照される任意のフローチャートのブロックによって表される操作の例示された実行順序は、便宜上および明確さのためにのみ選択されていることは理解されるべきである。例示されている方法の操作は、代替的順序で、または同時に実行され、同等の結果が得られ得る。例示されている方法の操作のそのような並べ替えは、例示されている方法の他の実施形態を表すものとして理解されるべきである。
図9は、患者に対する傷害、疾病/疾患、炎症、または虚血の影響を受けた神経系、他の組織、または臓器を治療するための電磁治療プロトコルを生成する方法のフローチャートを例示している。本発明の一実施形態によれば、患者に対する傷害、炎症、疾病/疾患、または虚血の影響を受けた神経系または他の組織または臓器を治療するための電磁治療プロトコルを生成する方法は、患者個人フォルダを作成し、患者個人フォルダをポータブル装置100のシリアル番号に関連付けること(ブロック601)と、患者の病歴(すなわち、患者データ)を電子患者記録から患者個人フォルダにインポートし、患者の症状および徴候の説明はどの疾病または病状のものであるかを決定すること(ブロック602)と、一般的または標的細胞種類に応じて、各臓器もしくは組織に対する最適な治療効果を得るために使用されるべき事前定義された電磁場強度および周波数をインポートすること(ブロック603)と、機械学習ソフトウェアによって、患者データを主データベース内の類似のまたは同じ病状症例と比較し、1つまたは複数のベースライン治療プロトコルおよび1つまたは複数の基準センサ500およびエミッタ400の位置決めマップをインポートすること(ブロック604)と、類似のベースライン治療プロトコルが見つかった場合(ブロック605)、機械学習ソフトウェアは患者データを類似のプロトコルからのものと比較し、ベースライン治療プロトコルおよび1つまたは複数の基準センサ500およびエミッタ400の位置決めマップを外挿すること(ブロック606)と、医療専門家によってベースライン治療プロトコルおよび基準位置決めマップ(EMF強度、治療持続時間、波形、周波数など)を検討し、ベースライン治療プロトコルを確認するかまたは患者に適合する新たなプロトコルに修正すること(ブロック608)と、ベースライン/新たな治療プロトコルおよび1つの基準もしくは新たな位置決めマップを主データベースの患者の個人フォルダに保存し、ポータブル装置100上に保存し、センサ500およびエミッタ400のアレイを精度に関して検査するために固定デバイス200によってポータブル装置100をキャリブレートし、患者使用前にベースラインまたは新たな治療プロトコルをポータブル装置100のストレージ領域内に保存すること(ブロック609)とを含む。類似のベースライン治療プロトコルが見つからなかった場合(ブロック605)、患者の電子記録からデータを入力し、1つまたは複数の位置決めマップを機械学習支援マッピングシミュレーションソフトウェアにインポートして、センサ500およびエミッタ400位置決めマップに関する情報を取得すること(ブロック607)と、新たな治療プロトコルならびに新たなセンサ500およびエミッタ400位置決めマップを提案し、新たな治療プロトコルのパラメータを機械学習ソフトウェアに入力すること(ブロック610)と、新たな治療プロトコルならびに新たなセンサ500およびエミッタ400位置決めマップをシミュレートして信頼区間を確立すること(ブロック611)とを含む。シミュレーションが高い信頼区間を有していない場合、ブロック606のステップは、高い信頼区間が達成されるまで繰り返され、次いで、ベースライン/新たな治療プロトコルおよび新たな位置決めマップを患者の個人フォルダ、主データベースおよびポータブル装置100上に保存し、センサ500およびエミッタ400のアレイを精度について検査するために固定デバイス200によってポータブル装置100をキャリブレートし、ベースラインまたは新たな治療プロトコルを患者使用前にポータブル装置100のストレージ領域内に保存する(ブロック609)。
図10は、傷害、炎症、または虚血の影響を受けた神経系、他の組織、または臓器を治療するための生物物理学的信号を考慮して電磁治療プロトコルを生成し、患者の必要性に合わせてキャリブレートする方法を示すフローチャートである。患者の個人フォルダが作成され、病歴が電子患者記録からインポートされると(ブロック601、602、701)、保健施設にいる間に、ベースライン治療プロトコルは、生物物理学的パラメータの追加の読み取りを行うことによってさらに最適化され、それにより機械学習ソフトウェアは患者の身体上の基準センサ500およびエミッタ400位置決めマップを提案し得る。患者の疾病または病状に対してより適切なベースライン治療プロトコルを取得するために、ベースライン治療プロトコルを生成する方法は、ビルトインセンサ(ブロック702)または他の診断ツールを使用して、MEG、EEG、EMNG、組織インピーダンス、温度、皮膚伝導率、さらには他の生物学的、物理的または化学的パラメータを取得することをさらに含む。取得されたパラメータのすべてを患者の電子記録にインポートした後、センサ500のアレイの位置決めおよび初期生物物理学的信号の感知(ブロック704)に続き、機械学習ソフトウェアは、感知された初期生物物理学的信号により患者の個人フォルダを更新し(ブロック705)、続いて、機械学習ソフトウェアを実行して1つもしくは複数のベースライン治療プロトコルを主データベースから取り出し、患者の疾病または病状に関連付けられる1つもしくは複数のセンサ500およびエミッタ400配置マップに関連付ける(ブロック604、703)。患者の疾病または病状に関連付けられている1つまたは複数のセンサ500およびエミッタ400配置マップを取得した後に、センサ500のアレイの位置決めおよび初期生物物理学的信号の感知が続き、前記信号は、1つまたは複数の種類の神経活動、温度、組織インピーダンス、および電磁場の測定値を含む(ブロック704)。その後、機械学習ソフトウェアは、読み取った生物物理学的信号で患者個人フォルダを更新し(ブロック705)、生物物理学的信号を考慮して1つまたは複数のベースライン治療プロトコルが患者に適しているかどうかを評価する(ブロック706)。ベースライン治療プロトコルのうちの1つが、生物物理学的信号を考慮して患者に適している場合、機械学習ソフトウェアは、ベースライン治療プロトコルおよび基準位置決めマップを、主データベース内の患者個人フォルダに保存し、ポータブル装置100に保存する(ブロック、609 707)。ベースライン治療プロトコルのうちの1つが、生物物理学的信号を考慮して患者に適していない場合、この方法は、1つまたは複数のベースライン治療プロトコルが生物物理学的信号フィードバックを考慮して患者に適しているかどうかを評価するために、センサ500のアレイの設定および再位置決めならびに生物物理学的信号の感知(ブロック708)ならびに機械学習ソフトウェアへのフィードバック生物物理学的信号の提供(ブロック705)をさらに含む。ベースライン治療プロトコルのうちの1つが、生物物理学的信号フィードバックを考慮して患者に適している場合、機械学習ソフトウェアは、新たな治療プロトコルおよび新たな位置決めマップを、主データベース内の患者個人フォルダに保存し、ポータブル装置100に保存する(ブロック、609および707)。センサ500のアレイの再位置決めおよびフィードバック生物物理学的信号の感知は、治療プロトコルが意図された効果を達成するまで繰り返される。新たな、個人化された治療プロトコルおよびセンサ500のアレイの関連付けられた再位置決めは、各患者について個人化され、類似の疾病および病状を有する他の患者に対して使用するためのベースライン治療プロトコルおよび基準位置決めマップとして主データベースに記憶され得る。
最適なベースライン治療プロトコルまたは新たな治療プロトコルを使用し決定するポータブル装置100の準備をするために、ポータブル装置100は、接続ポート204を介して、固定デバイス200に接続され、患者個人フォルダが作成される。医療専門家は、ポータブル装置100がキャリブレートされている間に、患者に病歴に関する詳細な情報を尋ね、オンラインデータベースから患者データをコピーすることを実行しさらには手動入力を可能にする。患者データは、個別の患者に関して保持されている医療情報である。患者データは、患者の過去および現在の健康状態または病気、治療歴、ライフスタイル選択、および遺伝子データに関係する情報を含み得る。これは、また、機械/コンピュータによってチェックされ得る任意の測定可能な身体特性である、バイオメトリックデータも含み得る。並行して、機械学習ソフトウェアは、前臨床試験および臨床試験で開発された以前に構築された療法レジームプロトコルを含む治療プロトコルの主データベースから取り出すことによって、患者の医療データに基づき、患者のベースライン治療プロトコルを計算する。このステップは、適用される必要のある電磁場の治療持続時間、強度、および性質を決定し、さらには使用されるべき潜在的コイル形状を提案する。次に、機械学習ソフトウェアは、患者の疾病に関連付けられている1つまたは複数のベースライン治療プロトコルを最適化することを目指して記録された患者データと他の患者症例とを比較することを続ける。前記専門家は、患者、その医療記録、ならびにMEG、EEG、EMNG、組織インピーダンス、温度、および皮膚伝導度、さらにはビルトインセンサを使用する任意の他の生物学的、物理的、または化学的パラメータから取得された情報を考慮し、それを、機械学習ソフトウェアが治療に関して提案する1つまたは複数のベースライン治療プロトコルを考慮して新たな(個人化された)治療プロトコルに組み合わせる。その後組み合わされて、新たな治療プロトコルは患者のポータブル装置100および固定デバイス200の個人患者フォルダ内に保存され、これは医療専門家がポータブル装置100の理想的な使用方法を確認(および潜在的な調整)すると同時に治療中の最大効率を確実にすることを可能にする。
患者のライフスタイル選択に関する追加の情報(患者が喫煙しているか、アルコールを飲み過ぎているか、運動を十分にしていないなどの場合)を考慮することによって、機械学習ソフトウェアは、どの臓器が最も病んでいるか、患者に対して近い将来どのような問題が生じ得るかについて(シミュレーションに基づき)計算を行うこともできる。この実施形態は、EMF療法の治療を予測する際に使用されるであろう。
図12は、本発明の一実施形態による、1つまたは複数の基準センサ500およびエミッタ400配置マップを生成する方法を示すフローチャートである。
1つまたは複数の基準センサ500およびエミッタ400配置マップを生成する方法は、診断読み取り値(EEG、MEG、MRI、PET、RTG、EKG、EMNGなど)を主要な疾病群内の異なる疾病に対する様々な医療記録からコンパイルするステップ、主要な疾病の影響を受ける最も一般的な臓器領域を医療専門家によって検討し、各主要な疾病について1つまたは複数の基準センサ500およびエミッタ400配置マップを設計し(ブロック902)、各臓器(心臓、脳、肺など)について1つまたは複数の基準センサ500およびエミッタ400配置マップを設計するステップ(ブロック903)と、基準配置マップを機械学習ソフトウェアに入力し、エミッタ400配置が最も一般的に罹患する臓器領域を標的としているかどうかをチェックするシミュレーションを実行し、それを診断読み取り値901と相互参照するステップ(ブロック904)、電磁場線を考慮してセンサ500を磁束が最も少ない部位/領域内に配置するステップ(ブロック905)、機械学習支援ソフトウェアに新たなセンサ500およびエミッタ400配置マップを用いてシミュレーションを再実行させるステップ(ブロック906)であって、シミュレーションは、前臨床試験および臨床試験全体を通して定義された一般的または標的細胞種類に応じて、各臓器または組織に最適な治療効果をもたらし、新たなベースライン配置マップをポータブル装置100、クラウド、および固定装置200に保存する(ブロック907)ように、特定の事前定義された基準電磁場範囲で実行される、ステップを含む。シミュレーションは、前臨床試験および臨床試験全体を通して定義された一般的または標的細胞種類に応じて、各臓器または組織に最適な治療効果をもたらすように特定の事前定義された電磁場範囲で実行される。
主要な疾病および疾患は、限定はしないが、感染性疾患、欠乏性疾患、遺伝性疾患(遺伝的疾患および非遺伝的疾患の両方を含む)、および生理学的疾患を含み、これは、これらの疾病/疾患の影響を受ける解剖学的領域に基づき、神経疾患、心臓疾患、肺疾患、消化管の疾患などにさらに分けられ得る。
個人化されたセンサ500およびエミッタ400配置マップが設計された後、次のステップは、機械学習ソフトウェア、またはポータブル装置100の前臨床試験または臨床試験時に取得された以前に設計された一般的スキーム/マップに従って、センサ500のアレイが患者の身体に配置されることである。センサ500のアレイは、ビルトインセンサを使用して、組織インピーダンス、温度、および皮膚伝導率、さらには任意の他の生物学的、物理的、または化学的パラメータに関する初期読み取り値を得るものとしてよい。その情報を用いて、機械学習ソフトウェアは、患者プロファイルを更新し、提案された療法が、測定された身体パラメータを考慮して患者に適しているかどうかをチェックする。
ベースライン治療プロトコルが適している場合、ポータブル装置100は、正常にキャリブレートされており、患者は、医療専門家からの指示に応じて、ポータブル装置100を自宅および日常生活で使用するために持ち運ぶものとしてよい。他方で、機械学習ソフトウェアが、提案された療法が不適当であることを示唆した場合、ポータブル装置100は、治療プロトコルを更新するためにセンサ500のアレイを再位置決めし、生物物理学的信号の測定の別のラウンドを実行し、機械学習ソフトウェアを実行することによって修正される。次いで、その治療プロトコルが適している場合、患者は、個人化された治療プロトコルを開始することができる。
図11は、本発明の一実施形態による、個人の怪我、炎症、または虚血の影響を受けた神経系、他の組織、または任意の臓器の疾患および疾病を治療する方法を示すフローチャートである。
個人において傷害、炎症、または虚血の影響を受けた神経系、他の組織、または任意の臓器の疾患および疾病を治療する方法は、センサ500のアレイから生物物理学的信号を取得すること(ブロック801)、読み取られた生物物理学的信号に従って、ベースライン治療プロトコル707を更新して患者について個人化し、更新された個人化された治療プロトコルをエミッタ400を通してリアルタイムで適用し(ブロック803)、センサ500のアレイから生物物理学的信号を同時に取得すること(ブロック804)であって、各特定のエミッタ400が各特定のセンサ500に近接近して位置決めされ、前記エミッタ400およびセンサ500は対として動作する、こと、限定はしないが、基準電磁場範囲を含む、各センサ500の生物物理学的信号を、健康な個人のデータベースおよび各臓器または組織に対する基準電磁場強度および周波数を含むデータベース内の信号と比較すること(ブロック805)であって、センサ500のアレイのすべてまたはいくつかについて同様の生物物理学的信号が得られた場合に、センサ500のアレイのすべてまたはいくつかに対する治療プロトコルを停止し(ブロック807)、疾患進行および治療転帰を評価すること(ブロック808)を含む。他方で、センサ500のアレイのすべてまたはいくつかに対して類似の生物物理学的信号が得られない場合(ブロック806)、センサ500のアレイからの生物物理学的信号の取り出しが繰り返され、ステップ802から806は、センサ500のアレイのすべてが基準電磁場範囲内の電磁場を読み取るまで、または得られた生物物理学的信号にかかわらず、ベースライン治療プロトコルすなわち治療セッションによって定義された治療用電磁場への曝露の指定された持続時間まで繰り返される。類似の生物物理学的信号は、MEG、EEG、MRI、PET、RTG、EKG、EMNGなど、または類似の病歴/診断もしくは類似の症状であり得る。
本発明は、身体の病気、精神疾患、感染性疾患、非感染性疾患、欠乏性疾患、遺伝性疾患、変性疾患などを治療するために使用されるプロトコル生成および治療システムを提供する。
本明細書において説明されているようなプロトコル生成および治療システムは、神経系の疾患および疾病、てんかんなどの認知障害、双極性障害、統合失調症、認知症、心臓疾患、免疫不全または自己免疫疾患、腫瘍、癌および他の腫瘍学的疾患、ウイルスまたは細菌感染、炎症性疾患、筋肉組織の疾患および疾病、結合組織の疾患および疾病の治療に使用され得る。
神経疾患は、中枢神経系および末梢神経系の疾病である。これは言い換えると、脳、脊髄、脳神経、末梢神経、神経根、自律神経系、神経筋接合部、および筋肉である。
本明細書において説明されているプロトコル生成および治療システムは、限定はしないが、てんかん、アルツハイマー病および他の認知症、脳卒中を含む脳血管疾患、片頭痛および他の頭痛疾患、多発性硬化症、パーキンソン病、ハンチントン病、ALS、神経感染症、脳腫瘍(グリア芽腫、星状細胞腫、上衣細胞腫など)、頭部外傷に起因する神経系の外傷性疾患、ならびに栄養失調症の結果として神経疾患を含む神経系の疾患および疾病を治療する際に使用され得る。さらに、これらは、脳動脈瘤、硬膜下/硬膜外血腫、脳浮腫、脳卒中、物理的脳傷害、水頭症、てんかん、ならびに他の神経の病気および神経系疾患も含む。
本明細書において説明されているプロトコル生成および治療システムは、限定はしないが、血管炎、狼瘡、癌、筋けいれん、心臓発作、スポーツ傷害、筋ジストロフィー、脳性麻痺、皮膚筋炎、コンパートメント症候群、重症筋無力症、ミトコンドリア筋症、横紋筋融解症、多発性筋炎、線維筋痛症、筋緊張症、筋筋膜性疼痛症候群、筋けいれん、捻挫および挫傷、腱炎、うつ病、尿失禁および便失禁、高血圧症、背痛、下肢静止不能症候群、ギラン・バレー症候群、四肢麻痺、対麻痺、糖尿病性多発神経障害、運動障害、知覚異常、歯科治療痛、変形性膝関節症、麻酔、狭心症、強直性脊椎炎、熱傷痛、癌性疼痛、慢性疼痛、月経困難症、頭痛、片麻痺、片側不全麻痺、陣痛、顔面痛、三叉神経痛、歯ぎしり痛、筋膜痛、妊娠中の吐き気、首または肩の痛み、骨折痛、肋骨骨折、糖尿病性末梢神経障害、幻肢痛、帯状疱疹後神経痛、術後イレウス、過敏性腸症候群、術後悪心または嘔吐、術後疼痛、脳卒中後リハビリテーション、関節リウマチ、皮膚潰瘍、脊髄損傷、側頭下顎関節痛、排尿筋不安定、脊髄性筋萎縮症(小児)、子宮鏡検査時の疼痛、胃不全麻痺、慢性閉塞性肺疾患リハビリテーション、手根管症候群、軟部組織損傷、間欠性跛行、注意欠陥多動性障害(ADHD)、認知障害、人工膝関節置換術損傷、アカラシア、萎縮性湿疹、滑液包炎、認知症、うつ病、口内乾燥ジストニア、脳の血流促進、子宮および胎盤の血液灌流促進、食道けいれん、線維筋痛、骨折痛、ギラン・バレー症候群、血友病、ヘルペス、股関節痛、間質性膀胱炎、過敏性腸症候群、心因性掻痒症、分娩誘発、生理痛、筋けいれん、筋痙直、筋挫傷または疼痛、筋骨格外傷、筋筋膜疼痛機能不全症候群、神経損傷、変形性関節症、鎮痛薬補助、膵炎、レイノー現象、反復運動過多損傷、仙骨痛、帯状疱疹、肩関節亜脱臼、鎌状赤血球貧血痛、皮膚フラップ虚血(形成手術)、オディ括約筋疾患、スポーツ外傷、静脈血栓症、耳鳴り、振戦、むち打ち症、神経痛、睡眠不足、不安、幻覚、片頭痛、心的外傷後ストレス障害(PTSD)、恐怖症性障害、境界性人格障害、食欲障害、疲労、衝動制御障害、イライラ、気分障害、動作障害、トゥレット症候群、抜毛症、暴力的/自己破壊的行動、異痛症、神経線維損傷または外傷後の回復期間の短縮、腫瘍、虚血性心疾患または冠動脈疾患、下気道感染症、慢性閉塞性肺疾患などからなる群から選択された疾患および疾病を治療する際に使用され得る。
(実施例)
(実施例1)
この例示的実験は、ミクログリア、アストロサイト、およびオリゴデンドロサイトの活性に対するEMF効果を評価するように設計されており、C57BL6アルビノマウスから単離された混合グリア細胞で実施され、その結果は、実験条件におけるグリア細胞繊維性酸性タンパク質の平均強度を例示する図に示されている(図13参照)。細胞は、10%加熱不活性化ウシ胎仔血清(FBS)および1%ペニシリン-ストレプトマイシン(Pen Strep)を含むダルベッコ変法イーグル培地/栄養混合物F-12(DMEM/F-12)中で、24ウェルプレートの100,000細胞/15.6mmウェルでプレーティングされ、5日間かけて安定させた。その後、培地は1% Pen StrepとDMEM/F-12と交換され、細胞は37℃で安定させられた。次いで、EMF装置がインキュベータに入れられ、細胞が本出願の教示に従って構成された1~6Aの振動キャリアパルスからなる非熱EMF信号で3時間かけて処理された。この方法は、6~11Aおよび11~15Aの発振電流強度に対応する2つの追加のEMF強度について繰り返され、これは異なるコイル形状の使用さらには場の性質を変えることを含んでいた。対照群に割り当てられた培養物は、常に別個のインキュベータ内に保管され、EMFシグナルがない状態で同じ条件に曝された。その後、細胞は固定され、グリア細胞繊維性酸性タンパク質(GFAP)および分化分子11b(CD11b)のクラスタで免疫細胞化学的に標識され、その後の分析のために写真撮影された。細胞核は、4',6-ジアミジノ-2-フェニルインドール(DAPI)で標識された。データは、ANOVAで分析され、全画像強度(100%)のパーセンテージで表された各標識の強度のグラフが表示された。観察された差異が偶然のみで生じた確率を定量化するために、P値が使用され、P≦0.05は統計的に有意(*)である、P≦0.01は統計的に大いに有意(***)である、P≦0.001は統計的に極めて有意(***)である、P≦0.0001は統計的に極めて有意(****)である、nsは統計的に有意ではないとみなされた。図13の結果は、EMF適用が細胞活性を有意に高めたことを示しており、統計的有意性が対照群と場強度B2(P≦0.01)および場強度B3(P≦0.05)との間に見ることができる。3つの処理群の間で追加の統計的有意差を見ることができ、ただしB1~B2およびB1~B3についてはP≦0.05、B2~B3についてはP≦0.0001である。これらの結果は、本発明に従って構成されたEMF信号がアストロサイト、ミクログリア、オリゴデンドロサイト活性を調節し、次いで、認知プロセス、免疫学的反応、さらには組織修復および再生を調節し得ることを示している。
神経系内に最も豊富にある細胞として、アストロサイトは、ミクログリアとともに、神経免疫系の重要な役割を果たしている。ミクログリアが外来病原体に対する防御の第1の段階として機能する一方、アストロサイトは傷害組織の修復および再生に関与する。ミクログリアは、また、アストロサイトの自然免疫機能を調節して、神経防護機能または神経毒性機能を決定する。次にアストロサイトは、ミクログリア活性化をトリガーする分子を分泌し、その運動性および食作用に影響を及ぼすことによってミクログリアの表現型および機能を調節する。アストロサイトは、これまで、CNSのホメオスタシス調節を助ける神経細胞支持細胞にすぎないとみなされてきたが、様々な研究は、ミクログリアの表現型および機能、さらにはCNS内の自然免疫応答の調節におけるアストロサイトの役割を示しており、アストロサイト応答がミクログリア応答をさらに調節する可能性のあることを示唆している。
アストロサイトは、CNS内の生理学的状態および免疫反応において不可欠な役割を果たしているが、これらはトランスフォーミング成長因子β(TGF-β)および神経成長因子(NGF)などの神経栄養因子も放出し、グリア性瘢痕の形成の役割を果たしている。以前にはグリア性瘢痕は軸索再生を妨げると考えられていたとしても、最近の研究は、慢性アストロサイト性瘢痕を切除すると、脊髄損傷(SCI)病変内の切断された軸索の自然再生が無効にされ、軸索の変性退縮が増えることを示している。したがって、一般に認められたドグマに反して、アストロサイト性瘢痕の形成は、軸索再成長にとって極めて重要であり、神経回復の極めて重要なステップである。
これらの結果の解釈は、異なる治療モダリティが、対照群と比較したときに、アストロサイト活性に異なる様式で影響を及ぼすので、この治療は次のために使用され得ることを示唆している。
I.アストロサイト活性を高める
これはさらなるミクログリア活性化およびアストロサイト性瘢痕の形成を引き起こし、神経再生および神経回復につながる可能性がある、または
II.アストロサイト活性を低下させる
これは、CNS内の自然免疫系の反応が過剰に活発な疾病(MSなど)において特に有用である。この治療モダリティを使用することで、アストロサイト活性が抑制され、さらなる脱髄、変性、または自己免疫反応の予防につながる可能性がある。
(実施例2)
神経細胞およびNSC細胞の活性に対するEMF効果を評価するために設計されたこの例示的な実験は、C57BL6アルビノマウスから単離された細胞上で実施され、結果は、実験条件におけるβチューブリンの平均強度を例示する図(図14参照)および実験条件におけるネスチンの平均強度を例示する図(図15参照)に示されている。細胞は、10%加熱不活性化ウシ胎仔血清(FBS)および1%ペニシリン-ストレプトマイシン(Pen Strep)を含むダルベッコ変法イーグル培地/栄養混合物F-12(DMEM/F-12)中で、24ウェルプレートの50,000細胞/15.6mmウェルでプレーティングされ、5日間かけて安定させた。その後、培地は1% Pen StrepとDMEM/F-12と交換され、細胞は37℃で安定させられた。次いで、EMF装置がインキュベータに入れられ、細胞が本出願の教示に従って構成された1~6Aの振動キャリアパルスからなる非熱EMF信号で3時間かけて処理された。この方法は、6~11Aおよび11~15Aの発振電流強度に対応する2つの追加のEMF強度について繰り返され、これは異なるコイル形状の使用さらには場の性質およびその周波数を変えることを含んでいた。対照群に割り当てられた培養物は、常に別個のインキュベータ内に保管され、EMFシグナルがない状態で同じ条件に曝された。その後、細胞は固定され、β-チューブリン(ニューロン)およびネスチン(NSC)で免疫細胞化学的に標識され、その後の分析のために写真撮影された。細胞核は、4',6-ジアミジノ-2-フェニルインドール(DAPI)で標識された。データは、ANOVAで分析され、全画像強度(100%)のパーセンテージで表された各標識の強度のグラフが表示された。観察された差異が偶然のみで生じた確率を定量化するために、P値が使用され、P≦0.05は統計的に有意(*)である、P≦0.01は統計的に大いに有意(***)である、P≦0.001は統計的に極めて有意(***)である、P≦0.0001は統計的に極めて有意(****)である、nsは統計的に有意ではないとみなされた。図14の結果は、EMF適用がニューロン活性を有意に高めたことを示しており、統計的有意性が対照群と場強度B1(P≦0.0001)および場強度B2(P≦0.05)との間に見ることができる。3つの処理群の間で追加の統計的有意差を見ることができ、ただしB1~B2およびB1~B3についてP≦0.0001である。図15の結果は、EMF適用がNSC活性を有意に高めることを示しており、統計的有意性が対照群と場強度B2(P≦0.0001)との間に見ることができる。処理群それ自体の間で追加の統計的有意性を見ることができ、ただしB1~B2およびB1~B3についてP≦0.01である。これらの結果は、本発明に従って構成されたEMF信号がNSCおよびニューロン活性を調節し、次いで、認知プロセス、さらには神経修復および再生を調節し得ることを示している。
ニューロンまたは神経細胞は、電気的興奮細胞であり、シナプスと呼ばれる特殊な結合を介して他の細胞と通信する。他方で、神経幹細胞(NSC)は自己更新する多能性細胞であり、胚発生の過程で、すべての動物の神経系のニューロンおよびグリアを生み出す放射状グリア前駆細胞を最初に生み出す。いくつかの神経前駆幹細胞は、脊椎動物成熟脳では非常に限定された領域にとどまり、生涯を通じてニューロンを産生し続ける。
そのことを念頭に置いて、予備結果を解釈すると、異なる治療モダリティが、対照群と比較したときに、NSCおよびニューロン活性に異なる様式で影響を及ぼすので、この治療は次のために使用され得ることを示唆する。
I.NSC/ニューロン活性を高める
このことは、神経細胞活性の増大を引き起こし、既存の結合を強化し、それらが損なわれているか欠如している疾病において新しい結合の形成を潜在的に可能にし得る。
II.NSC/ニューロン活性を低下させる
他方では、特定の治療モダリティは、NSC/ニューロン活性の低下を示しており、過剰なニューロン発火を伴う疾病において過剰に活発なニューロン結合を抑制する際の潜在的使用を示唆している。
NSC、ニューロン、ミクログリア、オリゴデンドロサイト、およびアストロサイトは、中枢神経系(CNS)および末梢神経系(PNS)の両方の神経系および組織の主構成単位であると考えられ得るので、われわれは、各患者に合わせて場の強さ、強度、および性質に関して修正され得る、われわれの治療モダリティが実際に神経組織に影響を及ぼし、疾病治療をもたらすと主張することができる。
それに加えて、ミクログリアは、血液および免疫系の細胞を生み出す胚体中胚葉から誘導されるので、本発明のシステムに対応する同様の治療プロトコルは、疾病や疾患治療を目的として、免疫系を含む身体の他のシステムにも適用され得る、という追加の主張もなされ得る。前者の類推に従うと、神経突起が筋細胞と自然に織り混ざり、その結果筋細胞の豊富な神経支配を生じるので、本発明のシステムは、筋肉疾病および疾患、さらには電気的興奮細胞を含む他の組織の治療にも使用され得る。
異なる実施形態が本明細書において開示されている。いくつかの実施形態の特徴は、他の実施形態の特徴と組み合わされるものとしてよく、したがって、いくつかの実施形態は、複数の実施形態の特徴の組合せであってもよい。本発明の実施形態の前述の説明は、例示および説明を目的として提示されている。網羅的であることも本発明を開示されている正確な形態に制限することも意図されていない。当業者であれば、上記の教示に照らして、多くの修正形態、変形形態、置換形態、変更形態、および等価形態が可能であることは理解されるであろう。したがって、付属の特許請求の範囲は、本発明の真の精神の範囲内に収まるようなすべての修正形態および/または変更形態を対象とすることが意図されていると理解されたい。
本明細書において本発明のいくつかの特徴が例示され説明されているが、多くの修正形態、置換形態、変更形態および均等形態が、当業者には想起されるであろう。したがって、付属の特許請求の範囲は、本発明の真の精神の範囲内に収まるようなすべての修正形態および/または変更形態を対象とすることが意図されていると理解されたい。
100 ポータブル装置
101 調整可能ストラップ
102 基本ポケット
103 タッチスクリーンディスプレイ
104 コンピューティングユニット
105 充電式電池
200 固定デバイス
202 処理ステーション
204 接続ポート
301 電流供給線
302 ハウジングキャップ
303 エミッタコイルハウジング
304,305,306,307,308,309,310 治療コイル
304 ソレノイド/テスラコイル
305 電流供給ループ
306 電流ループ
307 ヘルムホルツコイル
308 マクスウェルコイル
309 ソレノイドコーン
310 電流供給ループのバリエーション
400 エミッタ
401 患者の頭皮
405 脊髄
500 センサ

Claims (26)

  1. プロトコル生成および治療システムであって、
    - 医療患者データを含む少なくとも1つの患者個人フォルダと、複数のベースライン治療プロトコルであって、各ベースライン治療プロトコルは、傷害、炎症または虚血の影響を受けた神経系、臓器、または他の組織の特定の疾病もしくは指示された損なわれた機能性に関連付けられる、複数のベースライン治療プロトコルと、1つまたは複数の関連付けられた基準センサ(500)およびエミッタ(400)位置決めマップと、健常者の各神経組織、臓器、および細胞種類に対する基準電磁場範囲に関連付けられている代表的な神経組織、臓器、および他の組織の活動プロファイルとを保存するように構成されている主データベースと、
    - 前記特定の疾病または前記指示された損なわれた機能性に関連付けられている前記医療患者データを比較し、前記特定の疾病または前記指示された損なわれた機能性に関連付けられている1つまたは複数のベースライン治療プロトコルを外挿し、前記ベースライン治療プロトコルに関連付けられている1つまたは複数の基準センサ(500)およびエミッタ(400)位置決めマップを提供し、前記位置決めマップおよびベースライン治療プロトコルのうちのどれが患者に適しているかを決定するように構成される機械学習ソフトウェアおよびプロセッサと、
    - ポータブル装置(100)であって、電磁場を発生するように構成されている電磁場発生器と、前記ベースライン治療プロトコルならびに基準センサ(500)およびエミッタ(400)位置決めマップを保存するように構成されるストレージ領域と、生物学的、生物物理学的、および生化学的信号を測定するように構成されているセンサ(500)のアレイと、電磁場を印加するように構成されているエミッタ(400)のアレイと、センサ(500)の前記アレイの各々から測定された生物物理学的信号をリアルタイムで記録し、測定された生物物理学的信号を前記基準電磁場範囲と比較するために前記電磁場発生器を制御し、エミッタ(400)の前記アレイを通して複数の異なる電磁場を印加するように構成されているコンピューティングユニット(104)と、前記ポータブル装置(100)のコンポーネント用の電源とを含むポータブル装置(100)と、
    - 前記機械学習ソフトウェア、前記プロセッサ、および通信インターフェースを備える固定デバイス(200)であって、前記固定デバイス(200)は、前記ポータブル装置(100)をキャリブレートし、センサ(500)およびエミッタ(400)の前記アレイをそれらの精度について検査し、患者使用前に前記ベースライン治療プロトコルならびに基準センサ(500)およびエミッタ(400)位置決めマップを前記主データベースおよび前記ポータブル装置(100)の前記ストレージ領域内に保存し、前記ポータブル装置(100)の動作を遠隔制御し、適用される刺激のセッション時に患者に装着された神経活動センサのアレイから収集されたデータ、および治療適用前に前記患者に装着されたセンサ(500)の前記アレイから収集されたデータを含む情報を記憶するように構成されている、固定デバイス(200)と
    を備え、
    - 前記コンピューティングユニット(104)は、センサ(500)の前記アレイの各々からの生物物理学的信号の測定と同時にエミッタ(400)の前記アレイの各々を通して印加される電磁場を修正するようにさらに構成され、互いに近接近して位置決めされた、エミッタ(400)の前記アレイの各々およびセンサ(500)の前記アレイの各々は、対として動作しており、
    - 各エミッタ(400)を通して印加される前記電磁場は、対のセンサ(500)による前記測定された生物物理学的信号が前記基準電磁場範囲内にあるということが達成されるまで連続的に修正される、
    ことを特徴とするシステム。
  2. 電磁場強度および周波数の基準範囲は、一般的または標的細胞種類に基づき各臓器または組織について規定される、請求項1に記載のシステム。
  3. 前記コンピューティングユニット(104)は、前記測定された生物物理学的信号に基づき、前記複数のエミッタ(400)のうちのすべてまたはいくつかの電磁場の印可を停止するようにさらに構成される、請求項1に記載のシステム。
  4. 前記機械学習ソフトウェアは、前記ポータブル装置(100)の使用前に測定された初期生物物理学的信号を考慮して前記基準センサ(500)およびエミッタ(400)位置決めマップならびに前記ベースライン治療プロトコルを修正するようにさらに構成される、請求項1に記載のシステム。
  5. センサ(500)の前記アレイの各々は、組織インピーダンスセンサ、温度センサ、電気および磁場センサ、皮膚伝導率センサ、誘電率および透磁率センサ、ならびに他の生物学的、生化学的または生物物理学的センサを含む、請求項1に記載のシステム。
  6. エミッタ(400)の前記アレイの各々は、ソレノイド/テスラコイル(304)、電流供給ループ(305)、電流ループ(306)、ヘルムホルツコイル(307)、マクスウェルコイル(308)、ソレノイドコーン(309)、前記電流供給ループのバリエーション(310)、または前述のコイルの異なる幾何学的形状を含むこれらの組合せからなる群から選択されたコイルを備える、請求項1に記載のシステム。
  7. エミッタ(400)の前記アレイの各々を通して印加される前記電磁場は、一定であるか、または時間的に変化する、均一なおよび/または不均一な電磁場である、請求項1に記載のシステム。
  8. 前記基準電磁場範囲は、各臓器、組織、および細胞種類についてその強度、方向、適用の持続時間、波形、周波数、および振幅によって定義される、請求項1に記載のシステム。
  9. 破壊的、部分的破壊的、または建設的干渉を引き起こすために、エミッタ(400)の前記アレイの各々を通して印加される前記電磁場は、波形が各対のセンサ(500)によって測定される波形と反対または同じ種類であることを特徴とする、請求項1に記載のシステム。
  10. 破壊的、部分的破壊的、または建設的干渉を引き起こすために、エミッタ(400)の前記アレイの各々を通して印加される前記電磁場は、波形が各対のセンサ(500)によって測定される前記波形と異なるまたは同じ振幅もしくは周波数であることを特徴とする、請求項9に記載のシステム。
  11. 前記ポータブル装置(100)は、患者の頭部上にまたはその周りに配置するためのヘルメット、キャップ、または他のかぶり物もしくは配置構成を含み、センサ500の前記アレイおよびエミッタ(400)の前記アレイは、前記電磁場が、神経変性、虚血、傷害、または炎症の影響を受ける脳の領域に印加され得るように移動可能であるように配置構成される、請求項1から10のいずれか一項に記載のシステム。
  12. 前記ポータブル装置(100)は、特注のエンクロージャを前記患者に取り付け、任意の組織または臓器を治療するためのエクステンダを備える前記エンクロージャを含み、前記機械学習ソフトウェアは、センサ(500)およびエミッタ(400)の前記アレイの最適な位置に対する正確な座標を計算する、請求項1から11のいずれか一項に記載のシステム。
  13. 前記特注のエンクロージャは、前記ベースライン治療プロトコルならびに関連付けられている基準センサ(500)およびエミッタ(400)位置決めマップに従ってセンサ(500)およびエミッタ(400)の前記アレイを位置決めするためにX、Y、およびZ軸に沿って移動可能であるセンサ(500)およびエミッタ(400)の調整可能事前設置アレイを有するケーシングを備える、請求項12に記載のシステム。
  14. 神経系の疾患および疾病、てんかんを含む認知障害、双極性障害、統合失調症、認知症、心臓疾患、免疫不全または自己免疫疾患、腫瘍、癌および他の腫瘍学的疾患、ウイルスまたは細菌感染、炎症性疾患、筋肉組織の疾患、疾病、ならびに結合組織の疾患および疾病の治療に使用し、ワクチン投与後に免疫反応を刺激するための、請求項1から13のいずれか一項に記載のシステム。
  15. ポータブル装置(100)であって、
    電磁場を発生するように構成されている電磁場発生器と、
    生物物理学的信号を測定するように構成されているセンサ(500)のアレイと、
    電磁場を印加するように構成されているエミッタ(400)のアレイと、
    ベースライン治療プロトコルならびに基準センサ(500)およびエミッタ(400)位置決めマップを記憶するように構成されるストレージ領域と、
    センサ(500)の前記アレイの各々から測定された生物物理学的信号をリアルタイムで記録し、測定された生物物理学的信号を基準電磁場範囲と比較するために前記電磁場発生器を制御し、エミッタ(400)の前記アレイを通して複数の異なる電磁場を印加するように構成されているコンピューティングユニット(104)と、
    前記ポータブル装置(100)のコンポーネント用の電源と
    を備え、
    前記コンピューティングユニット(104)は、センサ(500)の前記アレイの各々からの生物物理学的信号の測定と同時にエミッタ(400)の前記アレイの各々を通して印加される電磁場を修正するようにさらに構成され、
    互いに近接近して位置決めされた、エミッタ(400)の前記アレイの各々およびセンサ(500)の前記アレイの各々は、対として動作し、各エミッタ(400)を通して印加される前記電磁場は、対のセンサ(500)による前記測定された生物物理学的信号が前記基準電磁場範囲内にあるということが達成されるまで連続的に修正される、
    ことを特徴とするポータブル装置(100)。
  16. 前記コンピューティングユニット(104)は、前記測定された生物物理学的信号に基づき、前記複数のエミッタ(400)のうちのすべてまたはいくつかの電磁場の印可を停止するようにさらに構成される、請求項15に記載のポータブル装置(100)。
  17. センサ(500)の前記アレイの各々は、組織インピーダンスセンサ、温度センサ、電気および磁場センサ、皮膚伝導率センサ、誘電率および透磁率センサ、またはこれらの組合せを含む、請求項15に記載のポータブル装置(100)。
  18. エミッタ(400)の前記アレイの各々は、ソレノイド/テスラコイル(304)、電流供給ループ(305)、電流ループ(306)、ヘルムホルツコイル(307)、マクスウェルコイル(308)、ソレノイドコーン(309)、前記電流供給ループのバリエーション(310)、または前述のコイルの異なる幾何学的形状を含むこれらの組合せからなる群から選択されたコイルを備える、請求項15に記載のポータブル装置(100)。
  19. エミッタ(400)の前記アレイの各々を通して印加される前記電磁場は、一定であるか、または時間的に変化する、均一なおよび/または不均一な電磁場である、請求項15に記載のポータブル装置(100)。
  20. 前記基準電磁場範囲は、各臓器、組織、および細胞種類についてその強度、方向、適用の持続時間、波形、周波数、および振幅によって定義される、請求項15に記載のポータブル装置(100)。
  21. 破壊的、部分的破壊的、または建設的干渉を引き起こすために、エミッタ(400)の前記アレイの各々を通して印加される前記電磁場は、波形が各対のセンサ(500)によって測定される波形と反対または同じ種類であることを特徴とする、請求項15に記載のポータブル装置(100)。
  22. 破壊的、部分的破壊的、または建設的干渉を引き起こすために、エミッタ(400)の前記アレイの各々を通して印加される前記電磁場は、波形が各対のセンサ(500)によって測定される前記波形と異なるまたは同じ振幅もしくは周波数であることを特徴とする、請求項21に記載のポータブル装置(100)。
  23. 患者の頭部上にまたはその周りに配置するためのヘルメット、キャップ、または他のかぶり物もしくは配置構成をさらに含み、センサ500の前記アレイおよびエミッタ(400)の前記アレイは、前記電磁場が、神経変性、虚血、傷害、または炎症の影響を受ける脳の領域に印加され得るように移動可能であるように配置構成される、請求項15から22のいずれか一項に記載のポータブル装置(100)。
  24. 特注のエンクロージャを患者に取り付け、任意の組織または臓器を治療するためのエクステンダを備える前記エンクロージャをさらに含み、機械学習ソフトウェアが、センサ(500)およびエミッタ(400)の前記アレイの最適な位置に対する正確な座標を計算する、請求項15から22のいずれか一項に記載のポータブル装置(100)。
  25. 前記特注のエンクロージャは、前記ベースライン治療プロトコルならびに関連付けられている基準センサ(500)およびエミッタ(400)位置決めマップに従ってセンサ(500)およびエミッタ(400)の前記アレイを位置決めするためにX、Y、およびZ軸に沿って移動可能であるセンサ(500)およびエミッタ(400)の調整可能事前設置アレイを有するケーシングを備える、請求項24に記載のポータブル装置(100)。
  26. 神経系の疾患および疾病、てんかんを含む認知障害、双極性障害、統合失調症、認知症、心臓疾患、免疫不全または自己免疫疾患、腫瘍、癌および他の腫瘍学的疾患、ウイルスまたは細菌感染、炎症性疾患、筋肉組織の疾患、疾病、ならびに結合組織の疾患および疾病の治療に使用し、ワクチン投与後に免疫反応を刺激するための、請求項15から25のいずれか一項に記載のポータブル装置。
JP2023553510A 2021-03-04 2021-03-04 生物物理学的信号の読み取りに基づき電磁治療プロトコルを生成するためのシステムおよび方法 Active JP7679482B2 (ja)

Applications Claiming Priority (1)

Application Number Priority Date Filing Date Title
PCT/EP2021/025090 WO2022184225A1 (en) 2021-03-04 2021-03-04 System and method for generating electromagnetic treatment protocol based on readings of biophysical signals

Publications (2)

Publication Number Publication Date
JP2024509174A JP2024509174A (ja) 2024-02-29
JP7679482B2 true JP7679482B2 (ja) 2025-05-19

Family

ID=74858386

Family Applications (1)

Application Number Title Priority Date Filing Date
JP2023553510A Active JP7679482B2 (ja) 2021-03-04 2021-03-04 生物物理学的信号の読み取りに基づき電磁治療プロトコルを生成するためのシステムおよび方法

Country Status (9)

Country Link
US (1) US20240139537A1 (ja)
EP (1) EP4301452A1 (ja)
JP (1) JP7679482B2 (ja)
KR (1) KR20230155512A (ja)
CN (1) CN116997384A (ja)
AU (1) AU2021431027A1 (ja)
CA (1) CA3211481A1 (ja)
IL (1) IL305361A (ja)
WO (1) WO2022184225A1 (ja)

Families Citing this family (3)

* Cited by examiner, † Cited by third party
Publication number Priority date Publication date Assignee Title
KR20240095234A (ko) * 2021-10-08 2024-06-25 옥탄 이노베이션 인크. 개인화된 생체 전자기 치료법
WO2024229307A2 (en) * 2023-05-02 2024-11-07 Richard Postrel Multipolar magnetic pulse therapy for autism and other neurological disorders
CN117281478B (zh) * 2023-10-17 2024-05-28 天津大学 一种皮肤病辅助诊断装置及系统

Citations (4)

* Cited by examiner, † Cited by third party
Publication number Priority date Publication date Assignee Title
US4754753A (en) 1981-05-12 1988-07-05 Medtronic, Inc. System for sensing electrical depolarization wave signals and their direction
WO2013074813A1 (en) 2011-11-15 2013-05-23 Boston Scientific Scimed, Inc. Device and methods for renal nerve modulation monitoring
JP2019526418A (ja) 2016-09-06 2019-09-19 ブレインキュー テクノロジーズ リミテッド 電磁治療プロトコルを生成するためのシステムおよび方法
WO2021003473A1 (en) 2019-07-03 2021-01-07 NeuraLace Medical, Inc. Devices, systems, and methods for non-invasive chronic pain therapy

Family Cites Families (2)

* Cited by examiner, † Cited by third party
Publication number Priority date Publication date Assignee Title
DE102008043450A1 (de) * 2008-11-04 2010-05-06 Biotronik Crm Patent Ag Einkammer-Herzstimulator
US10946196B2 (en) 2012-11-16 2021-03-16 Stimscience Inc. System for variably configurable, adaptable electrode arrays and effectuating software

Patent Citations (4)

* Cited by examiner, † Cited by third party
Publication number Priority date Publication date Assignee Title
US4754753A (en) 1981-05-12 1988-07-05 Medtronic, Inc. System for sensing electrical depolarization wave signals and their direction
WO2013074813A1 (en) 2011-11-15 2013-05-23 Boston Scientific Scimed, Inc. Device and methods for renal nerve modulation monitoring
JP2019526418A (ja) 2016-09-06 2019-09-19 ブレインキュー テクノロジーズ リミテッド 電磁治療プロトコルを生成するためのシステムおよび方法
WO2021003473A1 (en) 2019-07-03 2021-01-07 NeuraLace Medical, Inc. Devices, systems, and methods for non-invasive chronic pain therapy

Also Published As

Publication number Publication date
CN116997384A (zh) 2023-11-03
EP4301452A1 (en) 2024-01-10
CA3211481A1 (en) 2022-09-09
AU2021431027A1 (en) 2023-09-07
WO2022184225A1 (en) 2022-09-09
IL305361A (en) 2023-10-01
KR20230155512A (ko) 2023-11-10
US20240139537A1 (en) 2024-05-02
JP2024509174A (ja) 2024-02-29

Similar Documents

Publication Publication Date Title
Squair et al. Neuroprosthetic baroreflex controls haemodynamics after spinal cord injury
Jangwan et al. Brain augmentation and neuroscience technologies: current applications, challenges, ethics and future prospects
CN104023790B (zh) 用于认知以及神经系统损伤的电磁治疗的方法和设备
JP7679482B2 (ja) 生物物理学的信号の読み取りに基づき電磁治療プロトコルを生成するためのシステムおよび方法
JP7581218B2 (ja) 変調マルチスペクトル磁気刺激のためのシステム及び方法
US20150174418A1 (en) Device and Methods for Noninvasive Neuromodulation Using Targeted Transcranial Electrical Stimulation
US20200155061A1 (en) Neuromodulation method and system for sleep disorders
US20160016014A1 (en) Methods for improving balance
Barra et al. Noninvasive brain stimulation therapies to promote recovery of consciousness: where we are and where we should go
Zhang et al. Noninvasive electrical stimulation neuromodulation and digital brain technology: a review
Alfihed et al. Non-invasive brain sensing technologies for modulation of neurological disorders
Quiles et al. Review of tDCS configurations for stimulation of the lower-limb area of motor cortex and cerebellum
Yuan et al. Closed-loop transcranial ultrasound stimulation with a fuzzy controller for modulation of motor response and neural activity of mice
Zhang et al. A review on combined strategy of non-invasive brain stimulation and robotic therapy
US20210290155A1 (en) Neuromodulation method and system for sleep disorders
Oyama et al. Adaptive deep brain stimulation in real world: first observational data from the Japanese early adapter studies on adaptive deep brain stimulation (aDBS)
Loitz et al. Impact of electrode geometry on force generation during functional electrical stimulation
EP4204077A1 (en) Computer-implemented method for enabling patient-specific electrostimulation of neuronal tissue and associated devices and software
Grigoreva et al. Optimizing transducer placement for transcranial ultrasonic stimulation of specific thalamic nuclei
Costazza et al. Franz Anton Mesmer and the advancements in electromagnetic brain stimulation: from a flawed perspective to the transcranial magnetic stimulation
Shah et al. Use of quantitative tremor evaluation to enhance target selection during deep brain stimulation surgery for essential tremor
Shulga et al. Paired associative stimulation consisting of high-frequency peripheral nerve stimulation and high-intensity transcranial magnetic stimulation at subacute stage of incomplete spinal cord injury: double-blind randomized sham-controlled clinical trial
Maesincee et al. Localization of the Upper Extremity Area on the Primary Motor Cortex with Transcranial Magnetic Stimulation Figure-of-Eight Coil: A Clinical Study
Savvateev Focal targeting of the prefrontal cortex via electrical temporal interference
Miller et al. A coupling model of transcranial magnetic stimulation activation of cortical cell populations

Legal Events

Date Code Title Description
A621 Written request for application examination

Free format text: JAPANESE INTERMEDIATE CODE: A621

Effective date: 20240219

A977 Report on retrieval

Free format text: JAPANESE INTERMEDIATE CODE: A971007

Effective date: 20241025

A131 Notification of reasons for refusal

Free format text: JAPANESE INTERMEDIATE CODE: A131

Effective date: 20241028

A521 Request for written amendment filed

Free format text: JAPANESE INTERMEDIATE CODE: A523

Effective date: 20241216

TRDD Decision of grant or rejection written
A01 Written decision to grant a patent or to grant a registration (utility model)

Free format text: JAPANESE INTERMEDIATE CODE: A01

Effective date: 20250408

A61 First payment of annual fees (during grant procedure)

Free format text: JAPANESE INTERMEDIATE CODE: A61

Effective date: 20250507

R150 Certificate of patent or registration of utility model

Ref document number: 7679482

Country of ref document: JP

Free format text: JAPANESE INTERMEDIATE CODE: R150