JP7621651B2 - Aircraft Propulsion and Torque Mitigation Technology - Google Patents

Aircraft Propulsion and Torque Mitigation Technology Download PDF

Info

Publication number
JP7621651B2
JP7621651B2 JP2021502713A JP2021502713A JP7621651B2 JP 7621651 B2 JP7621651 B2 JP 7621651B2 JP 2021502713 A JP2021502713 A JP 2021502713A JP 2021502713 A JP2021502713 A JP 2021502713A JP 7621651 B2 JP7621651 B2 JP 7621651B2
Authority
JP
Japan
Prior art keywords
rotor
shaft
rotor shaft
thrust
aircraft
Prior art date
Legal status (The legal status is an assumption and is not a legal conclusion. Google has not performed a legal analysis and makes no representation as to the accuracy of the status listed.)
Active
Application number
JP2021502713A
Other languages
Japanese (ja)
Other versions
JP2021532011A (en
Inventor
ケコア ピープルズ,ダニエル
Original Assignee
スラスト ドライブ エルエルシー
Priority date (The priority date is an assumption and is not a legal conclusion. Google has not performed a legal analysis and makes no representation as to the accuracy of the date listed.)
Filing date
Publication date
Application filed by スラスト ドライブ エルエルシー filed Critical スラスト ドライブ エルエルシー
Priority claimed from PCT/US2019/024294 external-priority patent/WO2019191240A1/en
Publication of JP2021532011A publication Critical patent/JP2021532011A/en
Application granted granted Critical
Publication of JP7621651B2 publication Critical patent/JP7621651B2/en
Active legal-status Critical Current
Anticipated expiration legal-status Critical

Links

Images

Landscapes

  • Structures Of Non-Positive Displacement Pumps (AREA)

Description

本開示は、概して航空機用の、そして特に垂直揚力航空機用の航空機推進およびトルク緩和技術に関する。より詳しくは、本開示は、航空機のロータブレードを回転させるために回転トルクを提供すると共に、逆トルク方法ならびにテールロータおよび逆回転ブレードなどの装置の必要性を緩和するかまたは排除さえする技術に関する。 The present disclosure relates generally to aircraft propulsion and torque mitigation techniques for aircraft, and specifically for vertical lift aircraft. More specifically, the present disclosure relates to techniques that provide rotational torque to rotate rotor blades of an aircraft, and that mitigate or even eliminate the need for counter-torque methods and devices such as tail rotors and counter-rotating blades.

垂直揚力航空機、例えばヘリコプタのロータブレードを回転させるための様々な方法が存在する。1つのアプローチでは、ロータブレードに接続しているロータシャフトを利用し、ここで、ロータシャフトはエンジンおよび航空機の胴体に機械的に接続している。そのアプローチではエンジンが使用可能であるときに、ロータブレードを回転させるために生成されるトルクは、反対方向に航空機のボディ(胴体)上の対向するトルクも発生させる。打ち消されない場合、対向するトルクによって航空機のボディがロータシャフトの軸のまわりを回転することがあり得て、航空機が制御を失って回転する可能性がある。そのために、航空機のボディにかかる対向するトルクを緩和するかまたは排除する逆トルク機構が開発されて、それによって制御された飛行を容易にしている。 There are various methods for rotating the rotor blades of a vertical lift aircraft, e.g., a helicopter. One approach utilizes a rotor shaft that connects to the rotor blades, where the rotor shaft is mechanically connected to the engine and to the aircraft fuselage. In that approach, when the engine is enabled, the torque generated to rotate the rotor blades also generates an opposing torque on the aircraft body in the opposite direction. If not countered, the opposing torque can cause the aircraft body to rotate about the axis of the rotor shaft, potentially causing the aircraft to spin uncontrollably. Therefore, counter torque mechanisms have been developed to mitigate or eliminate the opposing torque on the aircraft body, thereby facilitating controlled flight.

トルクを打ち消す1つの方法は、航空機の胴体に接続されるエンジンによるメインロータの回転によってできるトルクの反対側の方向にトルクを発生させる、テールロータを航空機に取り付けることである。テールロータおよびその関連したアセンブリは、多くの場合、主エンジン、ギアボックス、テールブームドライブシャフト、テールロータの伝動装置、テールロータ自体および関連した構造部材へのリンク機構を含む。このようなコンポーネントによって、航空機には相当な重量、電力消費、複雑さ、初期製造コストおよび継続的な保守コストが追加となる。テールロータ(および/または関連したコンポーネント)が機械的故障を有するか、損傷を受けるか、または失われる場合、航空機は制御を失って回転し、クラッシュすることが多い。テールロータの使用はまた、航空機への設計、音響及び操作上の課題を与えており、例えば、限定するものではないが、重量の増加、ノイズ発生の増加、振動の増加、着陸場所および駐機場所の増大などがある。また、作動中に回転するテールロータは、航空機の外側にいる人間に対する安全上の問題を呈する。 One method of torque cancellation is to attach a tail rotor to the aircraft, which generates a torque in the opposite direction to that produced by the rotation of the main rotor by an engine connected to the aircraft fuselage. The tail rotor and its associated assemblies often include linkages to the main engine, gearbox, tail boom drive shaft, tail rotor transmission, the tail rotor itself and associated structural members. Such components add significant weight, power consumption, complexity, initial manufacturing costs and ongoing maintenance costs to the aircraft. If the tail rotor (and/or associated components) has a mechanical failure, is damaged or is lost, the aircraft will often spin uncontrollably and crash. The use of a tail rotor also presents design, acoustic and operational challenges to the aircraft, including, but not limited to, increased weight, increased noise generation, increased vibration, and increased landing and parking space. A tail rotor that spins during operation also presents a safety hazard to personnel outside the aircraft.

垂直揚力航空機のトルクを打ち消す別の方法は、逆回転方向に回転するロータブレードを航空機に取り付けることが必要である。このような逆回転ロータブレードは、メインロータ翼と同軸とすることができ、または、メインロータ翼とは異なる軸上にあることも可能である。トルクを打ち消すさらに別の方法は、垂直揚力航空機上の複数の回転プロペラを利用する。テールロータと同様に、このような方法は、複雑さの増加、効率の損失、重量の増加および、航空機に対する保守および製造コストの追加という代償を伴う。逆回転翼機械要素またはプロペラの故障は、自動回転の能力を損なうかまたはなくすことがあり得て、航空機の制御の喪失につながる可能性がある。複数の回転プロペラシステムはまた、単一のロータ垂直揚力システムより効率的でないことが多く、現在利用できるバッテリ技術によって電力を供給される電気エンジンを含む場合があり、それはエネルギーソースとして液体燃料を使用することと比較して、電池エネルギー密度制限および付加重量のため飛行時間を短縮することになり得る。 Another method of torque cancellation on a vertical lift aircraft involves fitting the aircraft with rotor blades that rotate in counter-rotating directions. Such counter-rotating rotor blades may be coaxial with the main rotor blades or may be on a different axis than the main rotor blades. Yet another method of torque cancellation utilizes multiple rotating propellers on a vertical lift aircraft. As with tail rotors, such methods come at the cost of increased complexity, loss of efficiency, increased weight, and added maintenance and manufacturing costs to the aircraft. Failure of the counter-rotating mechanical elements or propellers can impair or eliminate the ability to autorotate, potentially leading to loss of control of the aircraft. Multiple rotating propeller systems are also often less efficient than single rotor vertical lift systems and may include electric engines powered by currently available battery technology, which may result in reduced flight time due to battery energy density limitations and added weight compared to using liquid fuel as the energy source.

過去において、垂直揚力航空機上の逆トルク機構の必要性を排除する技術を開発する努力がなされてきた。このような努力は、逆トルク機構を排除する2つの方法の開発につながっており、すなわちそれらは、(1)S.Heller,Jr.らに対する、1956年9月4日付の米国特許第2,761,635号にて開示されている、ロータ翼自体の先端に載置されるエンジン、および、(2)ロータブレード自体に沿っているか、またはそれ自体の中にある管またはダクトであって、それによってエンジンからの推力がこのような管またはダクトを通してロータブレードの外側の先端に送達されてそれらを回転させる、管またはダクトである。それらの方法の両方とも、飛行のために必要なトルクを発生させる手段として、ロータブレードそれ自体を用いることによって(すなわち、ロータブレード上で、その中で、それに直接接続して、そしてそれと同一平面にある、推力装置を利用することによって)、航空機のボディ上にトルクを作り出すことなくロータブレードの回転を提供する。しかしながら、それらの方法は、例えば航空機のメインロータブレードに対する重量および不安定性の増加、寄生抗力の増加および過剰なノイズなどの様々な課題を伴う。第1の方法は、航空機が自動回転する能力も損なう。その結果として、それらの2つの方法は、広く使われていなかった。 In the past, there have been efforts to develop technology that would eliminate the need for counter-torque mechanisms on vertical lift aircraft. Such efforts have led to the development of two methods of eliminating counter-torque mechanisms: (1) engines mounted on the tips of the rotor blades themselves, as disclosed in U.S. Patent No. 2,761,635, issued Sep. 4, 1956 to S. Heller, Jr. et al., and (2) tubes or ducts along or within the rotor blades themselves, whereby thrust from the engines is delivered through such tubes or ducts to the outer tips of the rotor blades to rotate them. Both of these methods provide for the rotation of the rotor blades without creating torque on the body of the aircraft, by using the rotor blades themselves (i.e., by utilizing thrust devices on, within, directly connected to, and flush with the rotor blades) as a means of generating the torque required for flight. However, these methods are associated with various challenges, such as increased weight and instability for the aircraft's main rotor blades, increased parasitic drag, and excessive noise. The first method also impairs the aircraft's ability to autorotate. As a result, those two methods were not widely used.

したがって、垂直揚力航空機の分野では、エンジンによって航空機のボディへのトルク伝達を減らすかまたはなくし、こうして逆トルク機構の使用の必要性を緩和するかまたはなくしさえする、他の方法と装置の必要性が残っている。 本開示の技術は、その必要性に対処して、実施形態において、トルク伝達およびその関連した課題を減らすかまたはなくすための有効な機構を提供すると共に、航空機が自動回転する能力を維持する。 Therefore, there remains a need in the field of vertical lift aircraft for other methods and apparatus that reduce or eliminate torque transfer by the engines to the body of the aircraft, thus mitigating or even eliminating the need for the use of counter torque mechanisms. The techniques of the present disclosure address that need and, in embodiments, provide an effective mechanism for reducing or eliminating torque transfer and its associated challenges while maintaining the ability of the aircraft to auto-rotate.

請求された主題の実施形態の特徴および効果は、以下の発明を実施するための形態に進むにつれて、そして、同様の数字が同様の部分を示している図面を参照すると、明らかになる。 Features and advantages of the embodiments of the claimed subject matter will become apparent as we proceed to the following detailed description and by reference to the drawings, in which like numerals refer to like parts.

明瞭にするために従来のヘリコプタのいくつかの機械要素を図から省略して、回転トルクがどのように胴体から分離されているか、そしてロータブレードが回転推力支持構造物の下のどこにあるかの概要を示している、本開示の実施形態の概略側面図である。FIG. 1 is a schematic side view of an embodiment of the present disclosure, with some mechanical elements of a conventional helicopter omitted from the view for clarity, outlining how the rotational torque is separated from the fuselage and where the rotor blades are located below the rotary thrust support structure. 図1の上面図である。FIG. 2 is a top view of FIG. 1 . 推力支持構造物の外側の先端への通路に沿った推力送達を示している、本開示の実施形態の側面概略図である。FIG. 13 is a side schematic view of an embodiment of the present disclosure showing thrust delivery along a path to the outer tip of a thrust support structure. 図3の上面図である。FIG. 4 is a top view of FIG. 3 . ロータブレードの上に取り付けられたエンジンおよび推力支持構造物の概略側面図であり、エンジンが推力支持構造物に沿って長手方向に推力を送達するものである。FIG. 2 is a schematic side view of an engine and thrust support structure mounted above a rotor blade, the engine delivering thrust longitudinally along the thrust support structure. 図5の上面図である。FIG. 6 is a top view of FIG. 5 . 推力支持構造物に垂直に、そしてその上部に取り付けられて推力を生じ、このような推力をこのような推力支持構造物の外側の先端に送達しているエンジンを示す、概略側面図である。FIG. 1 is a schematic side view showing an engine mounted perpendicular to and on top of a thrust support structure to generate thrust and to deliver such thrust to the outer tip of such thrust support structure; 図7の上面図である。FIG. 8 is a top view of FIG. ギアボックスおよびドライブシャフトを備え、推力支持構造物の上部に、そしてそれに垂直に取り付けられているエンジンを示す概略側面図であり、動力をドライブシャフトを介してこのような構造の先端にある推進手段に送達し、このような構造がロータブレードの上にあるものである。FIG. 1 is a schematic side view showing an engine with a gearbox and drive shaft mounted on top of and perpendicular to a thrust support structure, delivering power via the drive shaft to a propulsion means at the tip of such structure, which is above the rotor blades. 図9の上面図である。FIG. 10 is a top view of FIG. 推力をマニホールドに送達するエンジンを示す概略側面図であり、マニホールドは推力送達構造の通路を通してこのような構造の外端に推力を送達し、次いでこの構造が回転してトルクをロータシャフトに提供し、ロータブレードはこのような推力送達構造の上にあるものである。FIG. 1 is a schematic side view showing an engine delivering thrust to a manifold, which delivers thrust through passages in a thrust delivery structure to an outer end of such structure, which then rotates to provide torque to a rotor shaft, with rotor blades resting on such thrust delivery structure. 図11の上面図である。FIG. 12 is a top view of FIG. ロータブレードが推力支持構造物の上にあるように図1に示されるコンポーネントを配置している実施形態の概略側面図である。2 is a schematic side view of an embodiment of the components shown in FIG. 1 arranged such that the rotor blades are above a thrust support structure. 図13の上面図である。FIG. 14 is a top view of FIG. 13 . 推力支持構造物がロータブレードの上にある図1に示した実施形態のための本開示のコンポーネントの拡大断面図である。FIG. 2 is an enlarged cross-sectional view of the components of the present disclosure for the embodiment shown in FIG. 1 in which the thrust support structures are above the rotor blades. 推力支持構造物がロータブレードの下にある図13に示した実施形態のための本開示のコンポーネントの拡大断面図である。FIG. 14 is an enlarged cross-sectional view of the components of the present disclosure for the embodiment shown in FIG. 13 where the thrust support structure is below the rotor blades. 係合位置にある1つのタイプのクラッチを示している概略断面側面図である。FIG. 2 is a schematic cross-sectional side view showing one type of clutch in an engaged position. 分離位置にある1つのタイプのクラッチの概略側面図である。FIG. 2 is a schematic side view of one type of clutch in a disengaged position. 係合位置にある1つのタイプのクラッチを示している概略端面図である。FIG. 2 is a schematic end view showing one type of clutch in an engaged position. 分離位置にある1つのタイプのクラッチの概略端面図である。FIG. 2 is a schematic end view of one type of clutch in a disengaged position. エンジンがロータシャフトの基部に固定されて、エンジンドライブシャフトがロータシャフトの内部を通ってギアボックスに伸び、他のドライブシャフトが推力支持構造物に沿ってその先端のドライブ推進手段に伸びている、本開示の実施形態を示している概略側面図である。FIG. 1 is a schematic side view showing an embodiment of the present disclosure in which an engine is fixed to the base of a rotor shaft, an engine drive shaft runs through the interior of the rotor shaft to a gearbox, and another drive shaft runs along a thrust support structure to a drive propulsion means at its tip. 図21の上面図である。FIG. 21 is a top view of FIG. 1つのタイプの方位制御装置の分解図である。FIG. 2 is an exploded view of one type of orientation control device. この実施形態が図23に示されるような方位制御装置を含むことを除いては、図1に示されるものと同じ航空機の概略側面図である。24 is a schematic side view of the same aircraft as shown in FIG. 1, except that this embodiment includes an azimuth control device as shown in FIG. 23. 図24の上面図である。FIG. 25 is a top view of FIG. 胴体から分離されており、したがってテールロータなどの逆トルク機構の必要性をなくすトルクを例示している、本開示の実施形態の概略側面図である。FIG. 1 is a schematic side view of an embodiment of the present disclosure illustrating a torque that is decoupled from the fuselage, thus eliminating the need for a counter-torque mechanism such as a tail rotor. 胴体へ伝達されており、したがって逆トルク機構 、この場合はテールロータ、を必要としているトルクを例示している、従来のヘリコプタの概略側面図である。1 is a schematic side view of a conventional helicopter illustrating torque being transmitted to the fuselage, thus necessitating a counter-torque mechanism, in this case the tail rotor. 方位制御のために方位制御装置およびテールラダーの両方を含んでいる、本開示の実施形態を例示している概略側面図である。FIG. 1 is a schematic side view illustrating an embodiment of the present disclosure including both a azimuth control device and a tail rudder for azimuth control. 方位制御のためにテールラダーのみを含んでいる、本開示の実施形態を例示している概略側面図である。FIG. 1 is a schematic side view illustrating an embodiment of the present disclosure including only a tail rudder for azimuth control. テールラダーがなく、方位制御装置が方位制御を提供する、本開示の実施形態を例示している概略側面図である。FIG. 1 is a schematic side view illustrating an embodiment of the present disclosure in which there is no tail rudder and a azimuth control device provides azimuth control. 通常条件下での従来のヘリコプタの空気流を例示する。1 illustrates the airflow of a conventional helicopter under normal conditions. 渦の環状態での従来のヘリコプタの空気流を例示する。1 illustrates conventional helicopter airflow with a vortex ring condition. 通常条件下での空気流を示している本発明の実施形態を例示する。1 illustrates an embodiment of the present invention showing airflow under normal conditions. 乱れた渦の環状態を示している本発明の実施形態を例示する。1 illustrates an embodiment of the present invention showing a turbulent vortex ring condition. 本開示と整合した回転ユニオンの1つの実施例を表す。1 illustrates one embodiment of a rotating union consistent with the present disclosure. 1つ以上のエンジンが推力支持構造物に直接組み込まれている、本開示と整合した一実施形態の側断面図である。FIG. 2 is a cross-sectional side view of an embodiment consistent with the present disclosure in which one or more engines are integrated directly into a thrust support structure; 1つ以上のエンジンが推力支持構造物に直接組み込まれている、本開示と整合した一実施形態の上面図である。FIG. 2 is a top view of an embodiment consistent with the present disclosure in which one or more engines are integrated directly into a thrust support structure. 1つ以上のエンジンが、ロータシャフトに直結されている推力支持構造物に直接組み込まれている、本開示と整合した実施形態の側断面図である。FIG. 2 is a cross-sectional side view of an embodiment consistent with the present disclosure in which one or more engines are mounted directly to a thrust support structure that is directly connected to a rotor shaft. 1つ以上のエンジンが、ロータシャフトに直結されている推力支持構造物に直接組み込まれている、本開示と整合した一実施形態の上面図である。FIG. 2 is a top view of an embodiment consistent with the present disclosure in which one or more engines are mounted directly to a thrust support structure that is directly connected to a rotor shaft. モータ付テールブレード77またはテールファン78アセンブリのいずれかを方向(方位)制御のために利用する、本開示と整合した航空機の概略図である。FIG. 1 is a schematic diagram of an aircraft consistent with the present disclosure utilizing either a motorized tail blade 77 or tail fan 78 assembly for directional (azimuth) control. 同心の内側および外側シャフトを用いて航空機の各種コンポーネントを支持し、および/または分離する、本開示の実施形態を例示している概略側面図である。FIG. 1 is a schematic side view illustrating an embodiment of the present disclosure using concentric inner and outer shafts to support and/or separate various aircraft components. 本開示と整合した、垂直方向と水平方向の間で移動することができる推進機械要素を含む航空機の1つの実施例を例示する概略側面図である。1 is a schematic side view illustrating one embodiment of an aircraft including a propulsion machine element capable of moving between vertical and horizontal orientations consistent with the present disclosure. 本開示と整合した1つ以上の減衰要素を含む航空機推進システムの1つの実施例の概略側面図である。1 is a schematic side view of an example of an aircraft propulsion system including one or more damping elements consistent with the present disclosure. 本開示と整合したパルスジェットエンジンを含む航空機の概略側面図である。1 is a schematic side view of an aircraft including a pulse jet engine consistent with the present disclosure; 本開示と整合した方位制御装置の実施例を表す。1 illustrates an embodiment of an orientation control device consistent with the present disclosure. 本開示と整合した可変ロータブレードを含む推進システムの1つの実施例の概略図である。1 is a schematic diagram of one embodiment of a propulsion system including variable rotor blades consistent with the present disclosure. 様々なコンポーネントが空気流によって冷却される、本開示と整合した推進システムの1つの実施例の概略図である。FIG. 1 is a schematic diagram of one embodiment of a propulsion system consistent with the present disclosure in which various components are cooled by airflow. 本開示と整合した、整流板を含む推力支持構造物の1つの実施例の側面および縦断面図を表す。1 illustrates a side and longitudinal cross-sectional view of one embodiment of a thrust support structure including a baffle consistent with the present disclosure; 本開示と整合した、推力支持構造物およびロータブレードがクラッチを用いずにロータシャフトに接続されている推進システムの実施形態を例示する。1 illustrates an embodiment of a propulsion system in which the thrust support structure and rotor blades are connected to the rotor shaft without a clutch, consistent with this disclosure. 本開示と整合した、スライド式レールシステムを含む航空機推進システムの実施形態を例示する。1 illustrates an embodiment of an aircraft propulsion system including a sliding rail system consistent with the present disclosure. 1つ以上の関節動作式ノズルを含む推力支持構造物を含んでいる推進システムの1つの実施例の側面図である。FIG. 1 is a side view of an example of a propulsion system including a thrust support structure including one or more articulating nozzles. 本開示と整合した、単一の推力支持構造物によって駆動される複数セットのロータブレードを含む推進システムの1つの実施例を表す。1 illustrates one embodiment of a propulsion system including multiple sets of rotor blades driven by a single thrust support structure consistent with the present disclosure. 複合ヘリコプタの環境における本開示の技術の使用の1つの実施例を表す。1 illustrates one example of the use of the techniques of the present disclosure in a composite helicopter environment. 複合ヘリコプタの環境における本開示の技術の使用の別の実施例を表す。13 illustrates another example of the use of the techniques of the present disclosure in a composite helicopter environment. 本開示と整合した推進システムの1つの実施例の上面および側面図を表し、推進システムはクラッチを含まず、同一平面にある推力支持構造物およびロータブレードを含むものである。1 illustrates a top and side view of one embodiment of a propulsion system consistent with the present disclosure, the propulsion system not including a clutch and including a thrust support structure and rotor blades that are flush with one another; 1つまたは複数のファンユニットがエンジンによって駆動されて固定であるか可変的な方向に向けることができる空気流を生じさせる、本開示の一実施形態を表す。1 depicts one embodiment of the present disclosure in which one or more fan units are driven by an engine to generate airflow that can be directed in a fixed or variably direction. 1つまたは複数のファンユニットがエンジンによって駆動されて固定であるか可変的な方向に向けることができる空気流を生じさせる、本開示の別の実施例を表す。1 depicts another embodiment of the present disclosure in which one or more fan units are driven by an engine to generate airflow that can be directed in a fixed or variably direction. 本開示の別の例示の実施形態の側面図であり、別個のシャフトが航空機推進システムの異なるコンポーネントのために利用されるものである。FIG. 2 is a side view of another example embodiment of the present disclosure in which separate shafts are utilized for different components of an aircraft propulsion system. 本開示の別の例示の実施形態の側面図であり、燃料タンク、バッテリおよびエンジンが推力支持構造物に連結されているものである。FIG. 13 is a side view of another exemplary embodiment of the present disclosure, in which a fuel tank, a battery, and an engine are connected to a thrust support structure. 本開示と整合した推進システムを含む航空機の別の実施形態の概略側断面図である。2 is a schematic cross-sectional side view of another embodiment of an aircraft including a propulsion system consistent with the present disclosure. 本開示と整合した推進システムの1つの実施例の上面および側面図を表し、推進システムが航空機用のロータブレードとして機能するように構成されている推力支持構造物を含むものである。1 illustrates a top and side view of one embodiment of a propulsion system consistent with the present disclosure, the propulsion system including a thrust support structure configured to function as a rotor blade for an aircraft. 本開示の一実施形態を表し、本開示と整合した推力支持構造物が航空機用のロータブレードとして機能するように構成され、そして1つ以上のエンジンによって生じる空気流が固定であるか可変的な方向に向けられるものである。1 represents one embodiment of the present disclosure, in which a thrust support structure consistent with the present disclosure is configured to function as a rotor blade for an aircraft, and in which airflow generated by one or more engines is directed in a fixed or variable direction. 本開示と整合した推進システムを含む航空機の別の実施形態の概略側断面図であり、推進システムが航空機のロータブレードとして機能するように構成されている推力支持構造物を含むものである。1 is a schematic cross-sectional side view of another embodiment of an aircraft including a propulsion system consistent with the present disclosure, the propulsion system including a thrust support structure configured to function as a rotor blade of the aircraft. 本開示と整合した推進システムを含む航空機の別の実施形態の概略側断面図であり、推進システムが航空機のロータブレードとして機能するように構成されている推力支持構造物を含み、1つ以上の関節動作式ノズルを含むものである。1 is a schematic cross-sectional side view of another embodiment of an aircraft including a propulsion system consistent with the present disclosure, the propulsion system including a thrust support structure configured to function as a rotor blade for the aircraft and including one or more articulating nozzles. 本開示と整合した推進システムを含む航空機の別の実施形態の概略側断面図であり、1つ以上の胴体搭載のエンジンからの空気流が一対の逆回転ロータブレードの中の配管に向けられるものである。FIG. 2 is a schematic cross-sectional side view of another embodiment of an aircraft including a propulsion system consistent with the present disclosure, in which airflow from one or more fuselage-mounted engines is directed into ducts within a pair of counter-rotating rotor blades. 本開示と整合した推進システムを含む航空機の別の実施形態の概略側断面図であり、1つ以上の胴体搭載エンジンからの空気流の一部が航空機の後方に向かって方向を定められるものである。2 is a schematic cross-sectional side view of another embodiment of an aircraft including a propulsion system consistent with the present disclosure, in which a portion of the airflow from one or more fuselage-mounted engines is directed toward the rear of the aircraft. 本開示と整合した航空機の別の実施形態の概略側断面図である。2 is a schematic cross-sectional side view of another embodiment of an aircraft consistent with the present disclosure.

本開示の態様は、垂直揚力航空機などの航空機のトルク伝達を減らすかまたは排除するシステム、装置および方法に関する。実施形態において、本開示の態様は、航空機の胴体4に対して1つ以上のエンジン5によって生じるトルクの伝達が、例えば、1つ以上の支持ベアリング2によって減らされるかまたは、排除さえされる、方法と装置を含む。いくつかの例において、1つ以上のエンジン5によって生じるトルクの量は、エンジン5、ロータシャフト1およびその関連するコンポーネントを胴体4から分離することから、支持ベアリング2の能力を上回らない。航空機の胴体4に対するトルク伝達の緩和/排除は、テールロータまたは逆回転ブレードなどの逆トルク機構の必要性を減らすかまたは排除する。特に、本明細書において説明されている技術は、エンジン5からの回転推力の喪失が生じた場合、航空機が自動回転する能力を維持する。 Aspects of the present disclosure relate to systems, devices, and methods for reducing or eliminating torque transfer in aircraft, such as vertical lift aircraft. In embodiments, aspects of the present disclosure include methods and devices in which the transmission of torque generated by one or more engines 5 to the aircraft fuselage 4 is reduced or even eliminated, for example, by one or more support bearings 2. In some examples, the amount of torque generated by the one or more engines 5 does not exceed the capacity of the support bearings 2 from isolating the engines 5, rotor shaft 1, and their associated components from the fuselage 4. The reduction/elimination of torque transfer to the aircraft fuselage 4 reduces or eliminates the need for counter-torque mechanisms, such as tail rotors or counter-rotating blades. In particular, the techniques described herein maintain the ability of the aircraft to auto-rotate in the event of loss of rotational thrust from the engines 5.

航空機のボディは、限定するものではないが、例えば、胴体4、貨物ボックス、カメラおよび監視パッケージ、兵器、航空機上部構造ならびに航空および制御装置などの、1つ以上の移動可能なユニットを含むことができるかまたはそれに連結することができる。一実施形態において、本開示の技術は、推力を支持構造物7に提供することができるエンジン5を使用する。推力支持構造物7は、ロータブレード3と同一平面ではなく、ロータシャフト1のいずれの側にも同軸でありかつそこに伸びている。エンジン5によって印加される推力に応じて、推力支持構造物7は、ロータシャフト1の軸のまわりを回転する。このような回転は、クラッチ6(支持構造物7を押すために接続されている)をロータシャフト1に係合させて、ロータシャフト1を回転させる。ロータシャフト1の回転が、次にロータハブ11および取り付けられたロータブレード3を回転させる。 The aircraft body may include or be coupled to one or more movable units, such as, but not limited to, the fuselage 4, cargo boxes, camera and surveillance packages, weapons, aircraft superstructure, and flight and control equipment. In one embodiment, the disclosed technique employs an engine 5 capable of providing thrust to a support structure 7. The thrust support structure 7 is not flush with the rotor blades 3, but is coaxial with and extends to either side of the rotor shaft 1. In response to thrust applied by the engine 5, the thrust support structure 7 rotates about the axis of the rotor shaft 1. Such rotation engages the clutch 6 (connected to push the support structure 7) to the rotor shaft 1, causing the rotor shaft 1 to rotate. The rotation of the rotor shaft 1 in turn rotates the rotor hub 11 and the attached rotor blades 3.

推力支持構造物7がエンジン5から推力を受けていないとき、クラッチ6はロータシャフト1から推力支持構造物7を分離する。その状態において、ロータシャフト1、ロータハブ11およびロータブレード3は、自由に回転することができる。実施形態において、ロータシャフト1は、常にロータシャフト1(および、付属のロータブレード3)が胴体4に関して自由に回転することができる1つまたは複数の支持ベアリング2だけによって、胴体4に接続される。いくつかの実施形態では、本明細書において説明されている技術は、空気流(例えば、エンジン5によって生成される)を推力支持構造物7の外側の先端へ供給するように構成される管/ダクトを含む。このような管/ダクトは、例えば、推力支持構造物7の内側または外側の1つ以上のチャネルまたは空洞を介して、推力支持構造物7の外側または内部に含まれるか、連結されるか、あるいは空気流を供給することができる。実施形態において、管/ダクトの端部は、推力支持構造物7の先端からの出口に配置される。したがって、管/ダクトを通る空気流によって、ロータシャフト1の軸周辺で、推力支持構造物7の回転が生じ得る。推力支持構造物7の回転は次にクラッチ6をロータシャフト1に係合させ、したがってロータハブ11および付属のロータブレード3の回転を引き起こす。前述のように、エンジン5が推力を推力支持構造物7へ供給していないときは、クラッチ6はロータシャフト1から推力支持構造物7を分離して、ロータシャフト1および付属のロータブレード3が自由に自動回転するのを可能にする。 When the thrust support structure 7 is not receiving thrust from the engine 5, the clutch 6 separates the thrust support structure 7 from the rotor shaft 1. In that state, the rotor shaft 1, rotor hub 11 and rotor blades 3 are free to rotate. In an embodiment, the rotor shaft 1 is connected to the fuselage 4 only by one or more support bearings 2, which allow the rotor shaft 1 (and attached rotor blades 3) to rotate freely relative to the fuselage 4 at all times. In some embodiments, the techniques described herein include a tube/duct configured to supply airflow (e.g., generated by the engine 5) to the outer tip of the thrust support structure 7. Such a tube/duct can be included, coupled to, or supply airflow to the outside or interior of the thrust support structure 7, for example, via one or more channels or cavities on the inside or outside of the thrust support structure 7. In an embodiment, the end of the tube/duct is positioned at an outlet from the tip of the thrust support structure 7. Thus, airflow through the tube/duct can cause rotation of the thrust support structure 7 around the axis of the rotor shaft 1. Rotation of the thrust support structure 7 in turn engages the clutch 6 with the rotor shaft 1, thus causing rotation of the rotor hub 11 and associated rotor blades 3. As previously mentioned, when the engine 5 is not providing thrust to the thrust support structure 7, the clutch 6 disengages the thrust support structure 7 from the rotor shaft 1, allowing the rotor shaft 1 and associated rotor blades 3 to freely rotate automatically.

支持ベアリング2は、エンジン5によって生じるトルクおよび/または上述機械要素の回転を胴体4から分離するように一般に機能する。実施形態において、エンジン5および/または上述のコンポーネントの回転によって生じるトルクは、このようなトルクを胴体4から分離する支持ベアリング2の能力を上回らない。このような分離のため、逆トルク装置は必要とされず、航空機設計から排除することができる。より具体的には、本明細書において説明されている技術は、テールロータまたは逆回転翼などの逆トルク装置の必要性、およびすべてのそれらの関連コスト、電力消費、重量、保守および安全問題を排除することができる。 The support bearings 2 generally function to isolate torque generated by the engine 5 and/or rotation of the aforementioned mechanical elements from the fuselage 4. In an embodiment, the torque generated by the rotation of the engine 5 and/or the aforementioned components does not exceed the ability of the support bearings 2 to isolate such torque from the fuselage 4. Because of such isolation, counter-torque devices are not required and can be eliminated from the aircraft design. More specifically, the techniques described herein can eliminate the need for counter-torque devices, such as tail rotors or counter-rotating wings, and all their associated costs, power consumption, weight, maintenance and safety issues.

本発明のさらに別の実施形態では、本明細書において説明されている技術は、推力支持構造物7に対して様々な位置に置かれるエンジン5を利用する。さらに、推力支持構造物7は、航空機の他のコンポーネントに対して、様々な位置に配置することができる。例えば、推力支持構造物7は、ロータブレード3と同軸でかつロータシャフト1に対して垂直であってもよく、そしてロータブレード3の上に、下に、または、上下に配置されてもよい。2つ以上の支持構造物7が存在し得て、すべてが同一平面上にあるか、あるいはロータシャフト1と同軸である異なる平面上にあるかのいずれかであることに留意する必要がある。例えば、実施形態において、第1推力支持構造物7はロータブレード3と同軸でかつその上に配置することができ、第2推力支持構造物7はロータブレード3と同軸でかつその下に配置することができ、第1および第2推力支持構造物7はそれぞれ1つ以上のエンジン5に連結されている。 In yet another embodiment of the present invention, the techniques described herein utilize engines 5 that are located at various positions relative to the thrust support structures 7. Additionally, the thrust support structures 7 can be located at various positions relative to other components of the aircraft. For example, the thrust support structures 7 can be coaxial with the rotor blades 3 and perpendicular to the rotor shaft 1, and can be located above, below, or above and below the rotor blades 3. It should be noted that there can be more than one support structure 7, either all on the same plane or on different planes that are coaxial with the rotor shaft 1. For example, in an embodiment, a first thrust support structure 7 can be located coaxially with and above the rotor blades 3, and a second thrust support structure 7 can be located coaxially with and below the rotor blades 3, with the first and second thrust support structures 7 each being coupled to one or more engines 5.

本開示の技術は、特に逆トルク回転ソリューションと比較すると、多数の利点を提供することができる。このような利点には、限定されるものではないが、以下のものが含まれる。(1)テールロータおよび逆回転翼のような反トルク機構の排除、(2)方位制御は、方位制御装置12または、方位制御装置12が回転力を方向制御および安定化のために胴体に課すような同じ機能を実行する類似の装置によって提供でき、または、方位制御はテールラダー8によって提供でき、または、方位制御はテールラダー8および方位制御装置12の組合せによって提供できるので、航空機は全くテールを有する必要がない、(3)テールロータおよびその拡張テールブームがもはや必要ないので、ブーム打撃のリスクは排除することができる、(4)電力容量などのための送達可能なペイロードは、テールロータ、ブーム、ギアボックスおよび関連した構造的コンポーネントの重量および抗力が排除されるため増加させることができる、(5)テールロータが要求されないので、テールロータ騒音が排除される、(6)テールロータが排除されるため、周期的トリムによってテールロータ推力を相殺する必要なしに航空機が離陸、着陸およびホバリングすることができるので、ディスク傾斜は排除される、(7)テールロータまたはロータブレードの第2のセットを駆動する必要性の排除に起因して、および/または推力支持構造物7およびその付属物の追加的な慣性に起因して、自動回転性能は改善することができる、(8)製造および保守コストを低減することができる、(9)回転テールロータと関連した危険性は排除することができる、(10)テールロータならびにその構造および動作コンポーネントにとっての損失、故障または損傷による制御の喪失と関連した危険は、低減することができるかまたは排除することさえできる、(11)離陸、着陸および駐機設置面積は低減することができる、(12)現在利用できる地上設備、すでに訓練されているパイロットおよびパイロット訓練手順、連邦、州および地域管理規則、増加した胴体容量および増加した安全性の追加的利点を備えた既存の製造およびテスト技術を利用する能力、(13)より小さいドローンから大型の一般用および軍用航空機までの様々な航空機サイズ用としての技術の容易な適合性、(14)多種多様なエンジンを利用する能力、(15)本発明の強化された自動回転能力は、他によって提案されている多数の複数ロータデザインを上回る膨大な安全上の利点を提供する、 (16)エンジン5の推力線による渦の環状態緩和はローターブレード3の上に水平に扇形に広がる高速度空気流を作り出し、結果としてローターブレード3の上に低圧領域が形成されてさらに揚力を改善する、などである。 このような利点は例のために列挙されており、他の利点は当業者にとって明らかである。 The techniques disclosed herein can provide numerous advantages, especially when compared to counter-torque rotation solutions, including, but not limited to: (1) elimination of anti-torque mechanisms such as tail rotors and counter rotors; (2) azimuth control can be provided by azimuth control device 12 or a similar device performing the same function such as azimuth control device 12 imposing a rotational force on the fuselage for directional control and stabilization, or azimuth control can be provided by tail rudder 8, or azimuth control can be provided by a combination of tail rudder 8 and azimuth control device 12, so the aircraft need not have a tail at all; (3) the risk of boom strike can be eliminated since the tail rotor and its extended tail boom are no longer required; (4) deliverable payload for power capacity and the like can be increased since the weight and drag of the tail rotor, boom, gearbox and associated structural components are eliminated; (5) tail rotor noise is eliminated since a tail rotor is not required; (6) disk tilt is eliminated since the tail rotor is eliminated, so the aircraft can take off, land and hover without the need to counterbalance tail rotor thrust by cyclic trim; (7) the tail rotor or a second set of rotor blades can be driven without the need to counterbalance tail rotor thrust by cyclic trim; (8) manufacturing and maintenance costs can be reduced; (9) hazards associated with a rotating tail rotor can be eliminated; (10) hazards associated with loss of control due to loss, failure or damage to the tail rotor and its structural and operating components can be reduced or even eliminated; (11) takeoff, landing and parking footprint can be reduced; (12) ability to utilize existing manufacturing and testing technology with currently available ground facilities, already trained pilots and pilot training procedures, federal, state and local regulatory controls, with the added benefits of increased fuselage capacity and increased safety; (13) easy adaptability of the technology for a variety of aircraft sizes from smaller drones to large general and military aircraft; (14) ability to utilize a wide variety of engines; (15) the enhanced autorotation capabilities of the present invention provide enormous safety advantages over many of the multiple rotor designs proposed by others. (16) Vortex ring relaxation by the thrust lines of the engine 5 creates a high-velocity airflow that fans out horizontally over the rotor blades 3, resulting in a low-pressure area over the rotor blades 3, further improving lift, etc. These advantages are listed by way of example, and other advantages will be apparent to those skilled in the art.

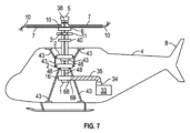
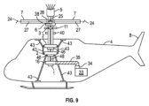
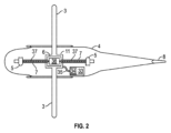
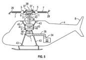
図1は、本開示の一実施形態の代表的な側面図であり、本発明の航空機が、テールロータまたは逆回転ロータブレードなどの逆トルク装置なしで作動することを可能にするコンポーネントを示す。図2は、同じ実施形態の上面図である。示すように、図1では、ロータシャフト1およびすべてのその付属物は、支持ベアリング2、ベアリング支持体46およびベアリング支持構造43から成るアセンブリによって支持されている。結果として得られるアセンブリは、ロータシャフト1およびその付属物の胴体との唯一の接点がベアリング支持構造43および支持ベアリング2であるように、胴体4に取り付けられる。ロータシャフト1およびその付属物によって発揮されるトルクは、胴体4を前記トルクから分離する支持ベアリング2の能力を上回らない。トルクが胴体へ伝達されないので、従来のヘリコプタにおいて用いられる逆トルク装置の要件は排除することができる。 Figure 1 is a representative side view of one embodiment of the present disclosure, showing components that allow the aircraft of the present invention to operate without a counter-torque device such as a tail rotor or counter-rotating rotor blades. Figure 2 is a top view of the same embodiment. As shown, in Figure 1, the rotor shaft 1 and all its appendages are supported by an assembly consisting of a support bearing 2, a bearing support 46, and a bearing support structure 43. The resulting assembly is attached to the fuselage 4 such that the only points of contact of the rotor shaft 1 and its appendages with the fuselage are the bearing support structure 43 and the support bearing 2. The torque exerted by the rotor shaft 1 and its appendages does not exceed the ability of the support bearing 2 to isolate the fuselage 4 from said torque. Since the torque is not transmitted to the fuselage, the requirement for a counter-torque device used in conventional helicopters can be eliminated.

回転推力支持構造物
図1、2および15に例示するように、エンジン5によって生じたトルクは、推力支持構造物7の回転によって、ロータシャフト1に送達される。推力支持構造物7は、その外端に配置されるエンジン5をサポートする構造部材である。例示の実施形態において、推力支持構造物7は、ロータシャフト1に対して同軸でかつ垂直であり、ロータブレード3とは異なる平面に(例えば、ロータブレード3の上に)位置する。しかしながら、推力支持構造物7およびロータブレード3は、後述するように共通平面にあってもよい。いずれにせよ、エンジン5が使用可能であるときに、推力支持構造物7はロータシャフト1のまわりを回転する。
Rotating Thrust Support Structure As illustrated in Figures 1, 2 and 15, torque generated by the engine 5 is delivered to the rotor shaft 1 by rotation of the thrust support structure 7. The thrust support structure 7 is a structural member that supports the engine 5 located at its outer end. In the illustrated embodiment, the thrust support structure 7 is coaxial and perpendicular to the rotor shaft 1 and lies in a different plane than the rotor blades 3 (e.g., above the rotor blades 3). However, the thrust support structure 7 and the rotor blades 3 may be in a common plane, as described below. In any case, the thrust support structure 7 rotates about the rotor shaft 1 when the engine 5 is operational.

クラッチ
図15は、推力支持構造物7がロータブレード3の上にある図1の実施形態のための本開示のコンポーネントの部分断面図である。示すように、その外端にエンジン5が接続された推力支持構造物7は、ロータシャフト1と同軸であり、ロータブレード3の上に配置されている。推力支持構造物7は、係合状態および分離状態を有するクラッチ6に接続されている。エンジン5が使用可能であるときに、それらによって推力支持構造物7の回転が生じ、そして、回転トルクを引き起こす。このようなトルクにより、取付けられたクラッチ6が係合状態になってロータシャフト1をきつく締め付け、そしてロータシャフト1が回転させられて、それにより次にロータハブ11および付属のロータブレード3が回転することになる。クラッチ6は、一方向ベアリングまたは同じ機能を実行するいかなる好適な装置でもあることができる。様々な方法でこの機能を実行する多数の装置が、当業者には公知である。
Clutch FIG. 15 is a partial cross-sectional view of the components of the present disclosure for the embodiment of FIG. 1 where the thrust support structure 7 is above the rotor blades 3. As shown, the thrust support structure 7, with the engine 5 connected at its outer end, is coaxial with the rotor shaft 1 and is located above the rotor blades 3. The thrust support structure 7 is connected to a clutch 6 having an engaged and disengaged state. When the engine 5 is enabled, they cause the thrust support structure 7 to rotate and cause a rotational torque. Such torque causes the attached clutch 6 to engage and clamp tightly against the rotor shaft 1, which in turn rotates the rotor hub 11 and the attached rotor blades 3. The clutch 6 can be a one-way bearing or any suitable device that performs the same function. Numerous devices that perform this function in various ways are known to those skilled in the art.

使用することができる1つのタイプのクラッチが、図17、18、19および20においてさらに詳細に例示される。図17および19は、係合状態でロータシャフト1を確実に把持しているクラッチ6を例示する。図18および20は、エンジン5が使用可能でない分離状態であって推力支持構造物7の回転速度がロータシャフト1の回転速度未満である、クラッチ6を例示する。それにより、クラッチ6およびその付属の推力支持構造物7は自動的にロータシャフト1から分離し、ロータシャフト1が自由に回転することができるようになり、それはロータシャフト1に取り付けられたロータブレード3が自動回転するのを可能にする。 One type of clutch that can be used is illustrated in more detail in Figures 17, 18, 19 and 20. Figures 17 and 19 illustrate the clutch 6 in an engaged state, positively gripping the rotor shaft 1. Figures 18 and 20 illustrate the clutch 6 in a disengaged state, where the engine 5 is not operational and the rotational speed of the thrust support structure 7 is less than the rotational speed of the rotor shaft 1. The clutch 6 and its associated thrust support structure 7 then automatically disengage from the rotor shaft 1, allowing the rotor shaft 1 to rotate freely, which allows the rotor blades 3 attached to the rotor shaft 1 to rotate automatically.

クラッチ6の1つの例の動作を、ここで図17、18、19および20に関連して説明する。図19は、係合位置にあるクラッチ6の概略図である。クラッチ外側ケース58の回転移動によって、クラッチ可動ベアリング52が傾斜に沿ってクラッチベアリング空洞64内の示される位置へ動かされる。クラッチ可動ベアリング52がこの位置にあるときに、クラッチ外側ケース58がクラッチ外側ケース58およびクラッチ内側レース114の両方に接触させられる。その位置において、クラッチ可動ベアリング52は、クラッチ内側レース114(ロータシャフト1に直接接続される)を確実に把持して、ロータシャフト1をクラッチ外側ケース58と同じ方向に回転させる。図17は、係合位置にある図19に示されるクラッチ6のタイプの断面概略側面図である。推力ベアリングアセンブリ57は、ロータシャフト1上のその位置に適切にクラッチ6を保持するファスナ54によってロータシャフト1に取り付けられると共に、クラッチ6がロータシャフト1を係合するかまたはロータシャフト1を分離することを可能にする。図17に示すように、クラッチ可動ベアリング52は、ロータシャフト1に対してしっかりと係合することができ、したがってクラッチ6およびロータシャフト1を同時に一緒に回転させることができる。 The operation of one example of the clutch 6 will now be described in connection with Figures 17, 18, 19 and 20. Figure 19 is a schematic diagram of the clutch 6 in an engaged position. The rotational movement of the clutch outer case 58 moves the clutch mobile bearing 52 along the incline to the position shown in the clutch bearing cavity 64. When the clutch mobile bearing 52 is in this position, the clutch outer case 58 is brought into contact with both the clutch outer case 58 and the clutch inner race 114. In that position, the clutch mobile bearing 52 securely grips the clutch inner race 114 (which is directly connected to the rotor shaft 1) to rotate the rotor shaft 1 in the same direction as the clutch outer case 58. Figure 17 is a cross-sectional schematic side view of the type of clutch 6 shown in Figure 19 in an engaged position. The thrust bearing assembly 57 is attached to the rotor shaft 1 by fasteners 54 that hold the clutch 6 in place in its position on the rotor shaft 1 and allow the clutch 6 to engage or disengage the rotor shaft 1. As shown in FIG. 17, the clutch movable bearing 52 can be securely engaged with the rotor shaft 1, so that the clutch 6 and the rotor shaft 1 can rotate together at the same time.

ここで図20を参照すると、これは分離位置にあるクラッチ6の概略図である。クラッチ外側ケース58の回転運動量が存在しないか、または減少していると、クラッチ外側ケース58はロータシャフト1に対するその関係において減速し始める。クラッチ可動ベアリング52は、それらの運動量および遠心力のため、クラッチ内側レース114(繰り返すが、ロータシャフト1に取り付けられている)から遠ざかりそれの把持を緩め、したがってロータシャフト1をクラッチ外側ケース58から切り離して、ロータシャフト1がクラッチ6に関して自由に回転することを可能にする。また、ロータシャフト1の速度がクラッチ6の回転速度より大きいときに、クラッチ6はロータシャフト1から分離される。クラッチ6の分離状態によって、ロータシャフト1が自由に回転することができ、推力支持構造物7および動力システムからのいかなる誘導抗力もなく自動回転することができる。また、自動回転の間、ロータシャフト1の速度がクラッチ6の回転速度以下であるいかなる時も、動力システムの保存された慣性は、ロータシャフト1へ伝達される。この状態が存在している間、この動力システム慣性伝達は、航空機の自動回転のために必要とされる安全な角度まで総体的な傾斜を下げるためにより多くの時間を提供する。 20, which is a schematic diagram of the clutch 6 in the disengaged position. With the absence or reduction of rotational momentum of the clutch outer case 58, the clutch outer case 58 begins to decelerate in its relationship to the rotor shaft 1. The clutch moving bearings 52, due to their momentum and centrifugal forces, move away from and loosen their grip on the clutch inner race 114 (which is again attached to the rotor shaft 1), thus disengaging the rotor shaft 1 from the clutch outer case 58 and allowing the rotor shaft 1 to rotate freely with respect to the clutch 6. Also, the clutch 6 is disengaged from the rotor shaft 1 when the speed of the rotor shaft 1 is greater than the rotational speed of the clutch 6. The disengaged state of the clutch 6 allows the rotor shaft 1 to rotate freely and to autorotate without any induced drag from the thrust support structure 7 and the power system. Also, during autorotation, the preserved inertia of the power system is transferred to the rotor shaft 1 at any time when the speed of the rotor shaft 1 is equal to or less than the rotational speed of the clutch 6. While this condition exists, the power system inertial transfer provides more time to reduce the overall pitch to the safe angle required for the aircraft to autorotate.

図38はクラッチ6の別の実施形態を示し、それはこの場合ロータハブ11に直結されている。この構成によって、ロータブレード3がロータシャフト1および他の全ての駆動システムコンポーネントから独立して回転することができる。エンジン5は、直結されている推力支持構造物7に組み込まれて、ロータシャフト1を駆動する。ロータシャフト上のその位置に関するこの構成は、ロータブレード3と同一平面の上に、下に、および/または中に位置する推力支持構造物7によって適用することができる。 Figure 38 shows another embodiment of the clutch 6, which in this case is directly connected to the rotor hub 11. This configuration allows the rotor blades 3 to rotate independently of the rotor shaft 1 and all other drive system components. The engine 5 is integrated into a directly connected thrust support structure 7 to drive the rotor shaft 1. This configuration with respect to its location on the rotor shaft can be applied with the thrust support structure 7 located above, below and/or in the same plane as the rotor blades 3.

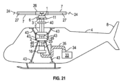
燃料、電力、データ送達システム
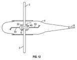
図1および2は、下部燃料ライン35に接続している燃料タンク33および燃料ポンプ34を示す。図1および15は、下部回転ユニオン16に接続されている燃料ラインシャフト48に接続している下部燃料ライン35を示す。下部回転ユニオン16は、図35にさらに詳細に示されている。実施形態において、下部回転ユニオン16および上部回転ユニオン38は、異なる配向を有する同じ装置でもよい。図35および図15に示すように、下部回転ユニオン16は、下部燃料ライン35から来ている燃料入力、データ配線68から来ているデータ入力および電源配線69から来ている電源入力を有する。図15は、データ配線68が下部回転ユニオン16から上へロータシャフト1を通して上部回転ユニオン38に伸びるデータ導管66を示す。図35は、燃料、データおよび電力がどのように下部回転ユニオン16および上部回転ユニオン38を通して伝達されるかについて示す。図15の実施形態において、上部回転ユニオン38を出た後に、データ配線68は、適切な防護遮へい体を通して、推力支持構造物7に沿って、またはそれを通してエンジン5に、または、データを必要としているそのような他の装置に向かう。電源配線69は、別個の電力導管72を通してであることを除けば、データ配線と同様の方法で、ロータシャフト1の最下部からロータシャフト1の最上部まで、エンジン5または他の電力を必要としている装置に向かう。図35はまた、下部回転ユニオン16および上部回転ユニオン38の詳細を、それらが異なる配向を有する同じ装置のものであるので、示している。
Fuel, Power and Data Delivery System Figures 1 and 2 show the fuel tank 33 and fuel pump 34 connecting to the lower fuel line 35. Figures 1 and 15 show the lower fuel line 35 connecting to the fuel line shaft 48 which is connected to the lower rotary union 16. The lower rotary union 16 is shown in more detail in Figure 35. In an embodiment, the lower rotary union 16 and the upper rotary union 38 may be the same device with different orientations. As shown in Figures 35 and 15, the lower rotary union 16 has a fuel input coming from the lower fuel line 35, a data input coming from a data line 68 and a power input coming from a power line 69. Figure 15 shows a data conduit 66 with data line 68 running from the lower rotary union 16 up through the rotor shaft 1 to the upper rotary union 38. Figure 35 shows how fuel, data and power are transferred through the lower rotary union 16 and the upper rotary union 38. In the embodiment of Figure 15, after leaving the upper rotating union 38, the data wiring 68 runs through suitable protective shielding, along or through the thrust support structure 7 to the engines 5 or such other device needing data. The power wiring 69 runs in a similar manner to the data wiring, except through a separate power conduit 72, from the bottom of the rotor shaft 1 to the top of the rotor shaft 1 to the engines 5 or other device needing power. Figure 35 also shows details of the lower rotating union 16 and upper rotating union 38, as they are the same device with different orientations.

燃料は、下部回転ユニオン16を通して、ロータシャフト1と同調して回転するロータシャフト内部燃料ライン47に、ポンプ圧送することができる。図15は、燃料が、上部回転ユニオン38にロータシャフト1の内部を通して上へ伸びているロータシャフト内部燃料ライン47を通してどのようにポンプ圧送されることができるかについて示している。図35の実施形態において、回転ユニオンシール49は、下部回転ユニオン16および上部回転ユニオン38がロータシャフト1によって回転する際に、燃料漏れを防止する。回転ユニオンベアリング50によって、ロータシャフト1に取り付けられている下部回転ユニオン16および上部回転ユニオン38は、ロータシャフト1の下端および上端で燃料ラインシャフト48に関して自由に回転することができる。それから、燃料は、ロータシャフト1の上端の燃料ラインシャフト48から上部燃料ライン37を通して、エンジン5まで送達される。図15において、上部燃料ライン37は、推力支持構造物7に固定されているか、またはその内側に収容されている。ヘリコプタ航空機用の燃料輸送および送達のこれらの方法は、米国特許第2,761,635号(Hiller)に開示される手段と類似の機能を実行する。電力、空気圧およびデータなどの他の要素もまた、類似の回転ユニオンまたはスリップリングタイプの装置によって、ロータシャフト1の下部からロータシャフト1の上部まで送達することが可能である。様々な図は、使用可能なすべての従来のヘリコプタの運転および制御装置を示すというわけではなく、図1及び15の代表的な形に示される回転斜板40をこのような装置の例として示す。 Fuel can be pumped through the lower rotary union 16 to the rotor shaft internal fuel line 47 that rotates in unison with the rotor shaft 1. FIG. 15 shows how fuel can be pumped through the rotor shaft internal fuel line 47 that runs up through the inside of the rotor shaft 1 to the upper rotary union 38. In the embodiment of FIG. 35, the rotary union seals 49 prevent fuel leakage as the lower rotary union 16 and the upper rotary union 38 rotate with the rotor shaft 1. The lower rotary union 16 and the upper rotary union 38, which are attached to the rotor shaft 1 by the rotary union bearings 50, can rotate freely with respect to the fuel line shafts 48 at the lower and upper ends of the rotor shaft 1. Fuel is then delivered from the fuel line shaft 48 at the upper end of the rotor shaft 1 through the upper fuel line 37 to the engine 5. In FIG. 15, the upper fuel line 37 is fixed to or housed inside the thrust support structure 7. These methods of fuel transportation and delivery for helicopter aircraft perform similar functions as those disclosed in U.S. Patent No. 2,761,635 (Hiller). Other elements such as power, air pressure and data can also be delivered from the lower part of the rotor shaft 1 to the upper part of the rotor shaft 1 by similar rotary union or slip ring type devices. The various figures do not show all conventional helicopter operation and control devices that can be used, but show the rotating swash plate 40 shown in representative form in Figures 1 and 15 as an example of such a device.

図35は、ロータシャフト1との間で燃料、電流およびデータを送達する機能を実行する回転ユニオンの1つの例を表す。回転ユニオンは、互いに対して異なる速度で回転している可能性があるコンポーネントを接続すると共に、それらの接続の連続性を保証する、単純な方法を提供する。回転ユニオンの主要構造は、回転ユニオンハウジング63が回転ユニオンシャフト55に関して自由に回転することを可能にしている回転ユニオンベアリング50を含む、回転ユニオンハウジング63からなる。 Figure 35 depicts one example of a rotating union that performs the functions of delivering fuel, current, and data to and from the rotor shaft 1. The rotating union provides a simple way to connect components that may be rotating at different speeds relative to one another while ensuring continuity of those connections. The primary structure of the rotating union consists of the rotating union housing 63, which contains the rotating union bearings 50 that allow the rotating union housing 63 to rotate freely about the rotating union shaft 55.

下部燃料ライン35は、燃料が回転ユニオンシャフト55のボディに転送されることを可能にしているねじ接続によって、回転ユニオンシャフト55に接続されている。回転シャフト内部燃料ライン47は、回転ユニオンハウジング63にねじ切りされて、回転ユニオンシール49に対して上へ押圧して、回転シャフト1を通して燃料の転送を可能にしている。データ線68および電力線69は、回転ユニオンシャフト55内の機械加工した通路を通過する。これらの配線は、ベアリング支持体46の中に含まれるブラシ67へのこれらの接続の連続性を可能にする接点70に接続している。配線は、続けてブラシ67から回転ユニオンハウジング63内の通路を通って出て、ロータシャフト1の内部に沿って走っている導管(図示せず)に入る。 The lower fuel line 35 is connected to the rotary union shaft 55 by a threaded connection that allows fuel to be transferred to the body of the rotary union shaft 55. The rotary shaft internal fuel line 47 is threaded into the rotary union housing 63 and presses up against the rotary union seal 49 to allow fuel transfer through the rotary shaft 1. The data wires 68 and power wires 69 pass through machined passages in the rotary union shaft 55. These wires connect to contacts 70 that allow continuity of these connections to brushes 67 contained within the bearing support 46. The wires continue from the brushes 67 through passages in the rotary union housing 63 and into conduits (not shown) that run along the interior of the rotor shaft 1.

実施形態において、回転ユニオンの主要構造は、回転ユニオンハウジング63が回転ユニオンシャフト55に関して自由に回転することを可能にしている回転ユニオンベアリング50含む回転ユニオンハウジング63を含む。下部燃料ライン35は、燃料が回転ユニオンシャフト55のボディに転送されることを可能にするように、任意の適切な手段(例えば、ねじ接続)によって、回転ユニオンシャフト55に接続されている。例えば回転シャフト内部燃料ライン47は、回転ユニオンハウジング63にねじ切りされてもよく、回転ユニオンシール49に対して上へ押圧して、回転シャフト1を通して燃料の転送を可能にしている。データ線68および電力線69は、回転ユニオンシャフト55内の機械加工した通路を通過する。このような配線は、ベアリング支持体46の中に含まれるブラシ67へのこれらの接続の連続性を可能にする接点70に接続している。配線は、続けてブラシ67から回転ユニオンハウジング63内の通路を通って出て、ロータシャフト1の内部に沿って走っている導管(図示せず)に入る。 In an embodiment, the primary structure of the rotary union includes a rotary union housing 63 containing a rotary union bearing 50 that allows the rotary union housing 63 to rotate freely with respect to the rotary union shaft 55. The lower fuel line 35 is connected to the rotary union shaft 55 by any suitable means (e.g., a threaded connection) to allow fuel to be transferred to the body of the rotary union shaft 55. For example, the rotary shaft internal fuel line 47 may be threaded into the rotary union housing 63 and press up against the rotary union seal 49 to allow fuel transfer through the rotary union shaft 1. Data lines 68 and power lines 69 pass through machined passages in the rotary union shaft 55. Such wiring connects to contacts 70 that allow continuity of these connections to brushes 67 contained within the bearing support 46. The wiring continues from the brushes 67 through passages in the rotary union housing 63 and into conduits (not shown) that run along the interior of the rotor shaft 1.

方位制御装置
方位制御装置12は、図1および15の代表的な形で、そして、図23の分解立体図の形で示され、このようなアセンブリをどのように航空機の方位制御のために用いることができるかについて説明する。本実施形態において、方位制御装置12は電動可逆モータであり、モータのシャフトはロータシャフト1である。方位制御が要求されると、モータは瞬間的に通電され胴体に回転力を生じさせる。ロータシャフト1およびその補助的コンポーネントの大量の回転速度のため、通電されているステータ18の正味効果によって、方位制御装置スペーサ穴44を通してスペーサ19に取り付けられている回転マグネット17に対して反力を引き起こして、スペーサ19がキーおよびキー溝23によってロータシャフト1に取り付けられる。方位制御装置12のシャフトでもあるロータシャフト1は、方位制御モータベアリング21によってモータボディ支持板20から分離される。方位制御モータベアリング21は、ロータシャフト1に付けられているシャフトクランプ22によって留められる。モータボディ支持板20およびステータ18の全ては方位制御装置ステータ保持孔51を通してファスナ54(例えば、ボルト)と一緒に連結されて、それによりステータ18およびモータボディ支持板20アセンブリが胴体構造部材56によって胴体4に取り付けられる。ステータモータ巻線73が通電されると、それらは付属のステータ18および接続コンポーネントそして胴体4を回転させる。方位制御装置12が基本的に可逆モータであるので、方位制御装置12に通電することによって作り出される効果は、航空機の時計回りであるか反時計回りの偏揺れを引き起こすことができる。ステータモータ巻線73およびマグネットロータ17上のマグネットのロータシャフト1の中心からの距離を増やすことが、方位制御装置12のより多くのトルクおよび効率を提供する点に留意する必要がある。この設計の軸方向磁束モータは、電動およびハイブリッド車で利用されるものと類似している。
The azimuth control device 12 is shown in representative form in Figs. 1 and 15 and in an exploded view in Fig. 23 to explain how such an assembly can be used for azimuth control of an aircraft. In this embodiment, the azimuth control device 12 is an electric reversible motor, the shaft of which is the rotor shaft 1. When azimuth control is required, the motor is momentarily energized to generate a rotational force on the fuselage. Due to the mass rotational speed of the rotor shaft 1 and its auxiliary components, the net effect of the energized stator 18 causes a reaction force against the rotating magnet 17 attached to the spacer 19 through the azimuth control device spacer hole 44, which is attached to the rotor shaft 1 by a key and keyway 23. The rotor shaft 1, which is also the shaft of the azimuth control device 12, is separated from the motor body support plate 20 by the azimuth control motor bearing 21. The azimuth control motor bearing 21 is held by a shaft clamp 22 attached to the rotor shaft 1. All of the motor body support plate 20 and stator 18 are coupled together with fasteners 54 (e.g., bolts) through the azimuth control stator retaining holes 51, thereby attaching the stator 18 and motor body support plate 20 assembly to the fuselage 4 by the fuselage structural members 56. When the stator motor windings 73 are energized, they rotate the attached stator 18 and connected components and the fuselage 4. Since the azimuth control 12 is essentially a reversible motor, the effect created by energizing the azimuth control 12 can cause the aircraft to yaw clockwise or counterclockwise. It should be noted that increasing the distance of the stator motor windings 73 and the magnets on the magnet rotor 17 from the center of the rotor shaft 1 provides more torque and efficiency for the azimuth control 12. Axial flux motors of this design are similar to those utilized in electric and hybrid vehicles.

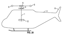
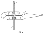
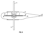
本開示は方位を制御するための他の機構も提供しており、そのいくつかは図28、29および30に例示される。図28は、方位制御のためにテールラダー8および方位制御装置12を使用している航空機の代表的な側面図である。図29は、方位制御のためにテールラダー8のみを使用している航空機の代表的な側面図である。図30は、方位制御のために方位制御装置12のみを利用している航空機の代表的な側面図である。 The present disclosure also provides other mechanisms for controlling azimuth, some of which are illustrated in Figures 28, 29, and 30. Figure 28 is a representative side view of an aircraft using a tail rudder 8 and an azimuth control device 12 for azimuth control. Figure 29 is a representative side view of an aircraft using only a tail rudder 8 for azimuth control. Figure 30 is a representative side view of an aircraft utilizing only an azimuth control device 12 for azimuth control.

反トルク機構との比較
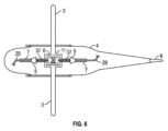
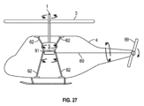
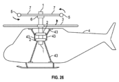
図27は、エンジン5ならびにロータシャフト1およびロータブレード3などの他の回転コンポーネントが、堅く接続された支持機構62によって胴体4にかけられる回転トルクをどのように作り出すかについて示している、従来のヘリコプタの側面概略図である。胴体4にかけられるこのようなトルクが胴体4から分離されないので、それが打ち消されない限り、それによって胴体4はロータシャフト1の軸のまわりを回転する。従来のヘリコプタは、現場の方向に相殺トルクを作り出して航空機が制御できずにスピンすることのないように保つ逆回転(反トルク)機構を使用する。この概念の1つの例は図27に示されており、それは反トルク機構としてテールロータ59およびテールブームを有する航空機を示す。対照的に、図26は本開示の実施形態を表しており、ここではロータシャフト1およびその付属物によってかけられるトルクは胴体4から分離されて、その結果胴体4はロータシャフト1のまわりを回転させられることがなく、テールロータなどの逆トルク装置の必要性が排除されている。
Comparison with Anti-Torque Mechanisms FIG. 27 is a side schematic view of a conventional helicopter showing how the engine 5 and other rotating components such as rotor shaft 1 and rotor blades 3 create a rotational torque that is applied to the fuselage 4 by a rigidly connected support mechanism 62. Because such torque applied to the fuselage 4 is not isolated from the fuselage 4, it will rotate the fuselage 4 around the axis of the rotor shaft 1 unless it is countered. Conventional helicopters use a counter-rotation (anti-torque) mechanism that creates a counter torque in the direction of the scene to keep the aircraft from spinning uncontrollably. One example of this concept is shown in FIG. 27, which shows an aircraft with a tail rotor 59 and tail boom as an anti-torque mechanism. In contrast, FIG. 26 represents an embodiment of the present disclosure in which the torque applied by the rotor shaft 1 and its appendages is isolated from the fuselage 4, so that the fuselage 4 is not forced to rotate around the rotor shaft 1, eliminating the need for a counter-torque device such as a tail rotor.

渦の環状態の緩和
従来のヘリコプタは、渦の環状態と呼ばれる危険な現象の影響を受ける。これは、航空機がそれ自身の吹き降ろしの中でとどまっているためメインロータの先端渦が成長し、これが先端渦を作り上げ、サイズおよび強さにおいて増幅することを許すときに作り出される、空力条件である。航空機がその吹き降ろしから出て、より新しい乱されていない空気の中に移動しない場合、渦の環状態は、ロータの上で形成されている正の空気圧力波のため、メインロータによって発生される揚力の量を減らし得る。これは、結果として、クラッシュに至ることになり得る、突然かつ制御できない高度の低下になる可能性がある。
Vortex Ring Mitigation Conventional helicopters are subject to a dangerous phenomenon called vortex ring. This is an aerodynamic condition created when the tip vortex of the main rotor grows because the aircraft remains in its own downwash, which allows the tip vortex to build up and grow in size and strength. If the aircraft does not move out of its downwash and into newer, less disturbed air, the vortex ring can reduce the amount of lift generated by the main rotor due to positive air pressure waves forming above the rotor. This can result in a sudden and uncontrolled loss of altitude that can lead to a crash.

本開示の技術は、ロータブレードの上の渦および空気圧の形成を阻害することができるかまたは抑止することができる、空気の強い向流をもたらすことができる。いくつかの実施形態では、向流は、渦が形をなす経路にエンジン5の推力線を直接置くことによって生成される。エンジン5の推力線は、ロータブレード3の上/下で水平に、そして、概してロータブレード3と同一平面で扇形に広がる、高速度空気流を作り出す。高速度空気流は、エンジン5のすぐ後ろで、そして、ロータブレード3の上に低圧領域を形成させることもでき、さらに揚力を改善して渦の環状態の影響を緩和する。従来の航空機および本開示の航空機上の渦の環状態による通常の空気流および乱された空気流の関係は、図31、32、33、34に例示される。 The techniques of the present disclosure can result in a strong countercurrent of air that can inhibit or inhibit the formation of vortices and air pressure above the rotor blades. In some embodiments, the countercurrent is generated by placing the thrust lines of the engines 5 directly in the path of the vortices. The thrust lines of the engines 5 create high velocity airflow that fans horizontally above/below the rotor blades 3 and generally in the same plane as the rotor blades 3. The high velocity airflow can also cause a low pressure area to form just behind the engines 5 and above the rotor blades 3, further improving lift and mitigating the effects of the vortex ring condition. The relationship of normal and disturbed airflow due to the vortex ring condition on a conventional aircraft and the aircraft of the present disclosure is illustrated in Figures 31, 32, 33, and 34.

追加の実施形態
前記説明は、航空機の推進システムの機械要素(例えば、ロータシャフト1、ロータブレード、推力支持構造物7など)が航空機の胴体4に対して実質的に同じ配向のままである実施形態に焦点を当てているが、このような構成が必須というわけではない。実際、本開示は、航空機の推進システムの様々な機械要素の配向が変化することができる実施形態を含みかつ想定している。このような実施形態は、例えば、傾斜ロータ、垂直離着陸(VTOL)、短距離離着陸(STOL)ならびに短距離離陸および垂直離着陸(STOVL)航空機に役立ち得る。その点で、図42を参照すると、それは航空機推進システムの機械要素が胴体4に対して複数の配向の間で移行することができる1つの例示的航空機構成を示す。より具体的には、図42は、ロータシャフト1、ロータブレード3、胴体4、エンジン5、クラッチ6、推力支持構造物7、テールラダー8およびロータハブ11を含む航空機の1つの例を表し、このような機械要素は図42で示す垂直配向から水平配向に移行することができる。垂直配向と水平配向の間の(および、逆もまた同じ)このようなコンポーネントの移動は、ピボット15を用いて達成される。本実施形態において、ピボット15は約90度の可動域を可能にするが、ピボット15はいかなる所望の可動域も提供するように構成することができる。さらに、実施形態において、ピボット15は、図42に示される垂直および水平配向の間のいかなる位置でも推進システムの上記の機械要素の安定した保持を可能にするように構成される。したがって、例えば、ピボット15が90度の可動域を可能にしている場合、それは、胴体4に対して、約0度と約90度の間のいかなる角度配向でも安定して推進システムの機械要素を保持するように構成することができる。
Additional Embodiments Although the above description focuses on an embodiment in which the aircraft's propulsion system mechanical elements (e.g., rotor shaft 1, rotor blades, thrust support structure 7, etc.) remain in substantially the same orientation relative to the aircraft's fuselage 4, such a configuration is not required. Indeed, the present disclosure includes and contemplates an embodiment in which the orientation of various aircraft's propulsion system mechanical elements can change. Such an embodiment may be useful, for example, for tilt rotor, vertical take-off and landing (VTOL), short take-off and landing (STOL), and short take-off and vertical take-off and landing (STOVL) aircraft. In that regard, reference is made to FIG. 42, which illustrates one exemplary aircraft configuration in which the aircraft's propulsion system mechanical elements can transition between multiple orientations relative to the fuselage 4. More specifically, FIG. 42 illustrates one example of an aircraft including rotor shaft 1, rotor blades 3, fuselage 4, engine 5, clutch 6, thrust support structure 7, tail rudder 8, and rotor hub 11, and such mechanical elements can transition from a vertical orientation to a horizontal orientation as illustrated in FIG. 42. Movement of such components between vertical and horizontal orientations (and vice versa) is accomplished using pivot 15. In this embodiment, pivot 15 allows for a range of motion of approximately 90 degrees, however pivot 15 can be configured to provide any desired range of motion. Additionally, in embodiments, pivot 15 is configured to allow stable retention of the above-mentioned mechanical elements of the propulsion system at any position between the vertical and horizontal orientations shown in FIG. 42. Thus, for example, if pivot 15 allows for a range of motion of 90 degrees, it can be configured to stably hold the mechanical elements of the propulsion system at any angular orientation between approximately 0 degrees and approximately 90 degrees relative to fuselage 4.

図42のロータシャフト1、ロータブレード3、エンジン5、クラッチ6、推力支持構造物7およびロータハブ11の性質と機能は、上記説明と同一であり、簡潔にするため繰り返さない。そして、前記説明と整合して、このような機械要素の配置は、図42に示される配置に限られてはいない。例えば、推力支持構造物7およびエンジン5は、ロータブレード3の上に、ロータブレード3の下に、ロータブレード3と同一平面に、またはそれらの組み合わせで配置することができる。単一のエンジン5または複数のエンジン5からの推力は、任意の好適な方法で推力支持構造物7に印加することができる。例えば、エンジン5は推力支持構造物7に直接連結することができ、および/または、エンジン5からの推力はダクト流によって推力支持構造物7の外端に印加することができる。複数の再配置可能な推進ユニット(それぞれがロータシャフト、ロータブレード、エンジン、クラッチ、推力支持構造物、ロータハブなどを含む)も航空機で使用することができ、そのことは当業者によって理解される。そのうえ、そして、図42において示すように、翼28および1つ以上の水平安定板92は、航空機上の適切な位置に配置することができ、例えば、揚力、制御および/または安定化を提供する。使用の際には、翼28および/または水平安定板92はまた、複数の位置(例えば水平および垂直配向)の間で再適合されてもよい。その目的のために、翼28および/または水平安定板92を再適合させるための1つ以上のピボットまたは他の制御機構が、航空機に含まれることも可能である。最後に、図42はロータブレード3および関連する駆動要素の単一セットを使用した実施形態を表しているが、ロータブレード3および関連する駆動要素の複数の(例えば、2、3、4またはそれ以上の)セットも使用することができる。 The nature and function of the rotor shaft 1, rotor blades 3, engines 5, clutches 6, thrust support structures 7, and rotor hubs 11 in FIG. 42 are the same as those described above and will not be repeated for brevity. And, consistent with the above description, the arrangement of such mechanical elements is not limited to the arrangement shown in FIG. 42. For example, the thrust support structures 7 and engines 5 can be arranged above the rotor blades 3, below the rotor blades 3, flush with the rotor blades 3, or combinations thereof. Thrust from a single engine 5 or multiple engines 5 can be applied to the thrust support structures 7 in any suitable manner. For example, the engines 5 can be directly coupled to the thrust support structures 7 and/or thrust from the engines 5 can be applied to the outer ends of the thrust support structures 7 by ducted flow. Multiple relocatable propulsion units (each including a rotor shaft, rotor blades, engines, clutches, thrust support structures, rotor hubs, etc.) can also be used on an aircraft, as would be understood by one skilled in the art. Additionally, and as shown in FIG. 42, the wings 28 and one or more horizontal stabilizers 92 can be positioned in suitable locations on the aircraft to provide, for example, lift, control, and/or stabilization. In use, the wings 28 and/or horizontal stabilizers 92 can also be reoriented between multiple positions (e.g., horizontal and vertical orientations). To that end, one or more pivots or other control mechanisms for reorienting the wings 28 and/or horizontal stabilizers 92 can also be included on the aircraft. Finally, while FIG. 42 depicts an embodiment using a single set of rotor blades 3 and associated drive elements, multiple (e.g., two, three, four or more) sets of rotor blades 3 and associated drive elements can also be used.

胴体4または他のコンポーネントの振動、調和運動、発振、不安定性などは、本明細書において説明されている航空機の各種要素に対する機械的であるか他の応力を与えることがある。例えば従来の伝動装置がロータシャフトを回転航空機の胴体に相互接続するために用いられると、ロータブレードからの振動、調和運動および/または応力は伝動装置を通して胴体に伝達され得る。これは、航空機および/またはパイロットにとって望ましくない動作条件を生じさせる場合がある。特に、従来の伝動装置のサイズおよび位置は、ロータブレードから航空機の胴体への振動および/または調和運動の伝達を緩和するための特定のオプションの使用を妨害するかまたは妨げることさえあり得る。 Vibrations, harmonic motions, oscillations, instabilities, etc., of the fuselage 4 or other components may impart mechanical or other stresses to various elements of the aircraft described herein. For example, when conventional transmissions are used to interconnect the rotor shaft to the fuselage of a rotating aircraft, vibrations, harmonic motions, and/or stresses from the rotor blades may be transmitted through the transmissions to the fuselage. This may result in undesirable operating conditions for the aircraft and/or pilot. In particular, the size and location of conventional transmissions may impede or even prevent the use of certain options for mitigating the transmission of vibrations and/or harmonic motions from the rotor blades to the fuselage of the aircraft.

それを念頭に置いて、本明細書において説明されている推進システムは、上述のように、ロータシャフトを胴体と相互接続するために従来の伝動装置を使用することを必要としない。むしろ、本明細書において説明されている推進システムはクラッチ6を使用し、それは胴体4の外部に配置することができる。その結果、従来の伝動装置によって占有されることがあり得た胴体4の中の容積は、本開示の航空機の他の用途に利用可能となり得る。例えば、このような容積は1つ以上の減衰要素を収容するために用いることができて、減衰要素はロータブレード1から胴体4(またはその中の機械要素)への振動および/または調和運動の伝達を緩和するか妨げさえするように構成される。 With that in mind, the propulsion systems described herein do not require the use of conventional transmissions to interconnect the rotor shaft with the fuselage, as discussed above. Rather, the propulsion systems described herein use a clutch 6, which can be located outside the fuselage 4. As a result, volume within the fuselage 4 that could be occupied by a conventional transmission can be made available for other uses of the aircraft of the present disclosure. For example, such volume can be used to house one or more damping elements, which are configured to mitigate or even prevent the transmission of vibrations and/or harmonic motions from the rotor blades 1 to the fuselage 4 (or mechanical elements therein).

このような問題に対処するために、1つ以上の減衰要素を利用して、望ましくない力/応力を弱めるかまたは緩和することができる。その点について、図43を参照すると、それは、本開示と整合した1つ以上の能動的および/または受動的減衰要素を含む航空機推進システムの1つの実施例の概略側面図である。 To address such issues, one or more damping elements may be utilized to attenuate or mitigate the undesirable forces/stresses. In that regard, reference is made to FIG. 43, which is a schematic side view of one embodiment of an aircraft propulsion system including one or more active and/or passive damping elements consistent with the present disclosure.

この実施形態では、胴体4は内部容積を含むかまたは画定して、その中に胴体構造部材56が配置されている。ロータシャフト1は、クラッチ6およびロータブレード3に連結されて、胴体4の中に達する。複数の減衰要素が胴体4の中に含まれて、ロータブレード3から胴体4への振動および/または望ましくない(例えば、調和)動作の伝達を緩和するか、減衰させるかまたは、妨げさえする。 In this embodiment, the fuselage 4 includes or defines an interior volume within which the fuselage structural member 56 is disposed. The rotor shaft 1 is coupled to the clutch 6 and the rotor blades 3 and extends into the fuselage 4. A number of damping elements are included within the fuselage 4 to mitigate, dampen, or even prevent the transmission of vibrations and/or undesirable (e.g., harmonic) motion from the rotor blades 3 to the fuselage 4.

より具体的には、図43は、緩衝器82が支持ベアリング2と胴体構造部材56の間に配置されている例示の実施形態を表す。一般に、緩衝器82はロータシャフト1(および/またはロータブレード3)から胴体4への、そしてその逆の向きの、機械的および他の力(例えば、振動、調和運動、不安定性などに起因する)の伝達を弱めるかまたは緩和するように構成されている。実施形態において、緩衝器82は、ガス、液体または機械的緩衝器(例えば、ガス/液体ストラット、1つ以上の減衰ばね、それらの組み合わせなど)のような受動的減衰要素の形とすることができる。例えば、いくつかの実施形態では、緩衝器82は振動または他の望ましくない動作を吸収することができるかまたは緩和することができるハウジング(例えば、金属体)および弾性物質(例えば、ゴムなどのポリマー)を含み、したがってロータシャフト1から胴体構造部材56へのこのような力の伝達を制限するか妨げる。 More specifically, FIG. 43 depicts an example embodiment in which a snubber 82 is disposed between the support bearing 2 and the fuselage structural member 56. In general, the snubber 82 is configured to dampen or mitigate the transmission of mechanical and other forces (e.g., due to vibrations, harmonic motions, instabilities, etc.) from the rotor shaft 1 (and/or rotor blades 3) to the fuselage 4 and vice versa. In embodiments, the snubber 82 can be in the form of a passive damping element such as a gas, liquid, or mechanical snubber (e.g., gas/liquid struts, one or more damping springs, combinations thereof, etc.). For example, in some embodiments, the snubber 82 includes a housing (e.g., a metal body) and a resilient material (e.g., a polymer such as rubber) that can absorb or mitigate vibrations or other undesirable motions, thus limiting or preventing the transmission of such forces from the rotor shaft 1 to the fuselage structural member 56.

1つ以上の能動的減衰要素を用いて、ロータシャフト3から胴体4への振動または他の望ましくない力の伝達を緩和するか妨げることもできる。この概念は図43に示され、それは振動低減アクチュエータ106が利用される例示の実施形態を表す。一般に、振動低減アクチュエータ106は、適切な力の印加によって振動をキャンセルするかまたは弱めるために作用する能動的減衰要素である。例えば、振動低減アクチュエータ106は、ロータブレード3または支持構造物7から来ている調和振動数または振動を適合させて、および/または相殺し、それにより、胴体4へのそれらの伝達を緩和するかまたは排除さえするように構成することができる。実施形態において、振動低減アクチュエータ106は外側の(例えば、銅)コイルを含み、内側要素(例えば鉄のロッドまたは管)はコイルの開口中心の中に配置される。コイルに対する電気エネルギーの適切な印加は、結果として内側要素の位置を変化させる電磁界の生成になり得る。内側要素の移動は、当業者によって理解されるように、入って来る振動、調和振動数などをキャンセルするかまたは緩和するような方法で、コイルに電気エネルギーを印加することによって制御することができる。 One or more active damping elements may also be used to mitigate or prevent the transmission of vibrations or other undesirable forces from the rotor shaft 3 to the fuselage 4. This concept is illustrated in FIG. 43, which depicts an example embodiment in which a vibration reduction actuator 106 is utilized. In general, the vibration reduction actuator 106 is an active damping element that acts to cancel or dampen vibrations by application of an appropriate force. For example, the vibration reduction actuator 106 may be configured to match and/or cancel harmonic frequencies or vibrations coming from the rotor blades 3 or the support structure 7, thereby mitigating or even eliminating their transmission to the fuselage 4. In an embodiment, the vibration reduction actuator 106 includes an outer (e.g., copper) coil, and an inner element (e.g., an iron rod or tube) is disposed within the open center of the coil. Appropriate application of electrical energy to the coil may result in the generation of an electromagnetic field that changes the position of the inner element. Movement of the inner element may be controlled by applying electrical energy to the coil in such a manner as to cancel or mitigate the incoming vibrations, harmonic frequencies, etc., as will be appreciated by those skilled in the art.

図43は単一の振動低減アクチュエータ106と組み合わせた単一の緩衝器82の使用を表すが、このような構成が必須というわけではない。いかなる数の緩衝器82および振動低減アクチュエータ106も使うことができて、このような機械要素が互いと独立して用いられ得ることを理解すべきである。さらに、このような機械要素の位置および構成は、図43に示される位置に限られてはいない。 Although FIG. 43 depicts the use of a single damper 82 in combination with a single vibration reduction actuator 106, such a configuration is not required. It should be understood that any number of dampers 82 and vibration reduction actuators 106 may be used and such mechanical elements may be used independently of one another. Furthermore, the location and configuration of such mechanical elements are not limited to the locations shown in FIG. 43.

様々なタイプのエンジンが、エンジン5として用いられてもよい。エンジンとして用いることができる適切なエンジンの非限定的な例には、往復(ピストン)エンジンおよびタービンエンジンなどのシャフトエンジン、ジェットエンジン、パルスジェットエンジン、ターボファンエンジンおよびロケットエンジンなどの反動エンジン、バンケルエンジン、ディーゼルエンジン、電気エンジン、それらの組み合わせなどが含まれる。いくつかの実施形態では、エンジン5は、パルスジェットエンジンでもよい。例えば、図44の実施形態では、エンジン5は、パルスジェットエンジンの形である。本実施形態において、エンジン5のそれぞれは、シェル84によって囲まれて、垂直空気取入口88を含む。限定されるものではないが、実施形態において、シェル84および垂直空気取入口88は、周囲環境に、そして、特に、地上および/または胴体4の方へエンジンから音が漏れるのを制限するか、減衰させるかまたは、防止さえするように構成されている。この例では、エンジン5からの推力は空気ギャップ83を通して方向を定められた後に入力配管10に入り、これが空気ギャップ83から追加の空気を巻き込んでエンジン出力を高める推力増大器として作用する。それから、推力は配管10の先端から排出され、推力支持構造物を回転させる。明らかなように、シェル84および配管10の使用は音波が環境に漏れるのを制限するか防止することができ、そして、航空機の動作の間に生じるノイズの量を減らす。 Various types of engines may be used as the engines 5. Non-limiting examples of suitable engines that may be used as the engines include shaft engines such as reciprocating (piston) engines and turbine engines, reaction engines such as jet engines, pulse jet engines, turbofan engines and rocket engines, Wankel engines, diesel engines, electric engines, combinations thereof, and the like. In some embodiments, the engines 5 may be pulse jet engines. For example, in the embodiment of FIG. 44, the engines 5 are in the form of pulse jet engines. In this embodiment, each of the engines 5 is surrounded by a shell 84 and includes a vertical air intake 88. In a non-limiting embodiment, the shells 84 and the vertical air intakes 88 are configured to limit, attenuate, or even prevent sound from escaping from the engines to the surrounding environment, and in particular, toward the ground and/or fuselage 4. In this example, thrust from the engines 5 is directed through the air gap 83 before entering the input duct 10, which acts as a thrust augmenter that entrains additional air from the air gap 83 to increase engine power. The thrust is then discharged from the tip of the duct 10, rotating the thrust support structure. As will be apparent, the use of the shell 84 and duct 10 can limit or prevent sound waves from escaping into the environment, reducing the amount of noise generated during the operation of the aircraft.

上記のように、様々な機構を利用して、方位制御を本開示と整合した航空機に提供することができる。それを念頭に置いて、図45は、本開示と整合した方位制御装置の別の例を表す。上記の方位制御装置12と同様に、図45は電動可逆モータの形である方位制御装置の実施形態を表しており、モータのシャフトはロータシャフト1である。しかしながら、この場合、モータは回転マグネット17および回転マグネットサポート87を含む可逆モータであり、その両方はロータシャフト1に連結されている。ステータ18は、胴体構造部材56によって航空機の胴体4に連結されている。1つの方向又は別の方向にモータを作動させることによって、反力がステータ18に伝達されることができ、それによって(それが胴体4に取り付けられているので)力が方位制御のために胴体4に加えられる。 As noted above, various mechanisms can be utilized to provide azimuth control to an aircraft consistent with the present disclosure. With that in mind, FIG. 45 depicts another example of an azimuth control device consistent with the present disclosure. Similar to azimuth control device 12 described above, FIG. 45 depicts an embodiment of an azimuth control device in the form of an electric reversible motor, the shaft of the motor being rotor shaft 1. However, in this case, the motor is a reversible motor including a rotating magnet 17 and a rotating magnet support 87, both of which are coupled to rotor shaft 1. Stator 18 is coupled to the aircraft fuselage 4 by fuselage structural member 56. By operating the motor in one direction or another, a reaction force can be transferred to stator 18, which (because it is attached to fuselage 4) applies a force to fuselage 4 for azimuth control.

前述の説明は、ロータブレード3が固定長である実施形態に焦点を当てている。しかしながら、このような構成が必須というわけではなく、いかなる固定または可変長のロータブレードもロータブレード3として用いることができる。実施形態において、ロータブレード3は可変長であり、航空機によって生成される推力を調整および/または増大するように構成することができる。例えばロータ機の動推力を改善するために、可変長ロータブレード3を使用することができて、この場合、ロータブレード3の長さは、より速い前進飛行のために垂直揚力から水平推力に移行するときに減らされてもよい。その点について、図46を参照すると、それは、本開示と整合した可変ロータブレードを含むシステムの1つの実施例の概略図である。示すように、システムは、ロータブレード3のそれぞれ(この場合、すぐ近くのロータシャフト1)の1つの(最初の)端部に接続されるブレードグリップ121を含む。各ブレードグリップ121は、親ねじ119に連結されたモータ91(例えば、リニア電気または油圧モータ)を含み、それは次に各ロータブレード3に連結され(例えば、ねじ込まれ)ている。モータ91の動作は親ねじを回転させる場合があり、結果としてロータブレード3の拡張または収縮になる。実施形態において、対向するブレードグリップ94上のモータ91は、共通シャフト(例えば、共通の親ねじ)にリンクされて、対向するロータブレードの線形位置決めを提供することができる。勿論、ロータブレード3を拡張および収縮させるための他の任意の適切な機構を使用することもできる。 The preceding description has focused on an embodiment in which the rotor blades 3 are of fixed length. However, such a configuration is not required, and any fixed or variable length rotor blades can be used as the rotor blades 3. In an embodiment, the rotor blades 3 are of variable length and can be configured to adjust and/or increase the thrust generated by the aircraft. For example, variable length rotor blades 3 can be used to improve the kinetic thrust of a rotor vehicle, where the length of the rotor blades 3 may be reduced when transitioning from vertical lift to horizontal thrust for faster forward flight. In that regard, reference is made to FIG. 46, which is a schematic diagram of one example of a system including variable rotor blades consistent with the present disclosure. As shown, the system includes a blade grip 121 connected to one (initial) end of each of the rotor blades 3 (in this case the immediately adjacent rotor shaft 1). Each blade grip 121 includes a motor 91 (e.g., a linear electric or hydraulic motor) coupled to a lead screw 119, which is in turn coupled (e.g., screwed) to each rotor blade 3. Operation of the motor 91 may rotate the lead screw, resulting in the extension or contraction of the rotor blades 3. In an embodiment, the motors 91 on the opposing blade grips 94 can be linked to a common shaft (e.g., a common lead screw) to provide linear positioning of the opposing rotor blades. Of course, any other suitable mechanism for extending and retracting the rotor blades 3 can also be used.

作動中に、エンジン5は熱および1つ以上の排気流を生じ、それは航空機の赤外線シグネチャを変えることがあり得る。エンジン5の動作および推力支持構造物7の回転は、推力支持構造物7の温度に上昇させる場合がある。これは、いくつかの用途、特に航空機の赤外線シグネチャが重要である軍の用途では望ましくないものであり得る。それを念頭に置いて、本開示のいくつかの態様は、本開示と整合した推力支持構造物の温度を調整するためのシステム及び方法に関する。その点で、図47を参照すると、それは本開示と整合した推進システムの1つの実施例を表し、各種コンポーネントは空気流によって冷却される。例示された実施形態において、エンジン5は、推力支持構造物7の中で配管10に推力の方向を定めるジェットエンジンの形である。コンプレッサブリード空気85(すなわち、ジェットエンジンの燃料燃焼セクションのコンプレッサ段の奥からとられる空気)は、推力の周辺に向けられるかまたは中に注入される。コンプレッサブリード空気85が推力より冷たいので、コンプレッサブリード空気85の推力との混合は配管10を冷やして、したがって、推力支持構造物7を冷やす。この技術は、他のタイプのエンジン5で同じように適用することができる。前述の説明は、多くの場合推力支持構造物7の全体または一部が外部環境にさらされる実施形態に焦点を当てている。このような実施形態が有用である一方で、推力支持構造物7自体の空気力学はいくつかの用途にとっては理想的でない場合がある。例えば、推力支持構造物7の形状は、飛行中の航空機の抗力係数および効率に影響を与え得る。例えば、推力支持構造物7の形状が球形である場合、抗力係数は、ホバリングの間の、または、前進飛行中の航空機姿勢に関係なく同一である。球形の形状の推力支持構造物は航空機設計を単純化することができるが、それは所望の抗力係数を提供することができない。例えば、より小さい抗力係数は、球体とは対照的に、エアフォイル形状を用いて得ることができる。 During operation, the engine 5 generates heat and one or more exhaust streams that can change the infrared signature of the aircraft. The operation of the engine 5 and the rotation of the thrust support structure 7 can increase the temperature of the thrust support structure 7. This can be undesirable in some applications, particularly military applications where the infrared signature of the aircraft is important. With that in mind, some aspects of the present disclosure relate to systems and methods for regulating the temperature of the thrust support structure consistent with the present disclosure. In that regard, reference is made to FIG. 47, which illustrates one example of a propulsion system consistent with the present disclosure, in which various components are cooled by airflow. In the illustrated embodiment, the engine 5 is in the form of a jet engine that directs thrust into ducting 10 within the thrust support structure 7. Compressor bleed air 85 (i.e., air taken from behind the compressor stage of the fuel combustion section of the jet engine) is directed toward or injected into the thrust periphery. Since the compressor bleed air 85 is cooler than the thrust, the mixing of the compressor bleed air 85 with the thrust cools the ducting 10 and therefore the thrust support structure 7. This technique can be applied in the same way in other types of engines 5. The above description has focused on embodiments in which the thrust support structure 7 is often exposed in whole or in part to the external environment. While such embodiments are useful, the aerodynamics of the thrust support structure 7 itself may not be ideal for some applications. For example, the shape of the thrust support structure 7 may affect the drag coefficient and efficiency of the aircraft in flight. For example, if the shape of the thrust support structure 7 is spherical, the drag coefficient is the same regardless of the aircraft attitude during hover or in forward flight. Although a spherically shaped thrust support structure may simplify the aircraft design, it may not provide the desired drag coefficient. For example, a smaller drag coefficient may be obtained using an airfoil shape as opposed to a sphere.

それを念頭に置いて、本開示の態様は、推力支持構造物の空力調整ができるようにする推進システムに関する。 その点について、図48を参照すると、それは本開示と整合した整流板を含む推力支持構造物7の1つの実施例の側面および縦断面図を表す。例示された実施形態において、推力支持構造物7は、エアフォイル形状の整流板89によって囲まれている。従来技術において理解されているように、接近する空気に対するエアフォイルの角度はその抗力プロフィールに影響を与える。したがって、エアフォイル形状の整流板89が常にロータシャフト1と垂直で、ロータシャフト1が前進飛行中に前方に傾けられる場合、航空機移動方向はエアフォイル形状の整流板89ともはや平行でなく、結果として不必要な抗力になることがあり得る。この問題に対処するための1つのオプションは、エアフォイル形状の整流板89が推力支持構造物に沿って回転して航空機の姿勢または動きに関係なく低い抗力係数を維持することを可能にするベアリングと一緒に、推力支持構造物を含むエアフォイル形状のシェルを使用することである。このようにして、エアフォイル形状の整流板89は、推力支持構造物7が遭遇する支配的な空気流に「風向計的に動く」ことを可能にする。モータを使用して、あり得るセンサ入力に基づいて自動的にエアフォイルを移動してその角度を最適化することもでき、あるいは、モータをパイロットが手動で制御して航空機の全体の揚力を改善するかまたは必要に応じて空力ブレーキ効果を作成することができる。 With that in mind, aspects of the present disclosure relate to a propulsion system that allows for aerodynamic tuning of the thrust support structure. In that regard, reference is made to FIG. 48, which depicts a side and longitudinal cross-sectional view of one embodiment of a thrust support structure 7 including a straightening vane consistent with the present disclosure. In the illustrated embodiment, the thrust support structure 7 is surrounded by an airfoil-shaped straightening vane 89. As understood in the prior art, the angle of the airfoil relative to the approaching air affects its drag profile. Thus, if the airfoil-shaped straightening vane 89 is always perpendicular to the rotor shaft 1 and the rotor shaft 1 is tilted forward in forward flight, the aircraft movement direction may no longer be parallel to the airfoil-shaped straightening vane 89, resulting in unnecessary drag. One option to address this issue is to use an airfoil-shaped shell that includes the thrust support structure, along with bearings that allow the airfoil-shaped straightening vane 89 to rotate along the thrust support structure to maintain a low drag coefficient regardless of the aircraft's attitude or motion. In this way, the airfoil-shaped fairing 89 allows the thrust support structure 7 to "weathervane" into the prevailing airflow it encounters. Motors can be used to automatically move the airfoil to optimize its angle based on possible sensor inputs, or the motors can be manually controlled by the pilot to improve the aircraft's overall lift or create an aerodynamic braking effect as needed.

したがって、実施形態において、整流板89は、推力支持構造物の空気力学が推力支持構造物7の周囲を動く優勢な空気流に対して流線形となることができるように構成される。その目的のために、整流板支持ベアリング90は整流板89の各先端に配置されて、整流板89が推力支持構造物7およびエンジン5に関して自由に移動することを可能にする。1つ以上の位置決めモータ91は、推力支持構造物7に含まれて、ロータシャフト1に比較的近くに配置することができる。このようなモータ91は、能動的に整流板89及び推力支持構造物7の方向(そして、したがって、空気力学)を変更するために通電することができる。整流板89(そして、したがって、推力支持構造物7)の位置の適切な制御を行うことによって、この構造が、空気流に対する推力支持構造物の方向における変更に関係なく、推力支持構造物7の周囲を動く空気流に空気力学的に流線形となることができる。 Thus, in an embodiment, the fairing 89 is configured to allow the aerodynamics of the thrust support structure to be streamlined with respect to the prevailing airflow moving around the thrust support structure 7. To that end, fairing support bearings 90 are disposed at each end of the fairing 89 to allow the fairing 89 to move freely with respect to the thrust support structure 7 and the engine 5. One or more positioning motors 91 may be included in the thrust support structure 7 and disposed relatively close to the rotor shaft 1. Such motors 91 may be energized to actively change the orientation (and thus the aerodynamics) of the fairing 89 and the thrust support structure 7. By providing suitable control of the position of the fairing 89 (and thus the thrust support structure 7), the structure may be aerodynamically streamlined with respect to the airflow moving around the thrust support structure 7, regardless of changes in the orientation of the thrust support structure with respect to the airflow.

前述の説明は、多くの場合推力支持構造物7およびロータブレード3がクラッチ6を有するロータシャフト1に接続している実施形態に焦点を当てている。クラッチ6は前述したように多数の利点を提供することができるが、その使用は必須というわけではない。例えば、図49は、推力支持構造物7およびロータブレード3がクラッチ6を用いずにロータシャフト1に接続されている(例えば、堅く接続されている)推進システムの実施形態を例示する。この例示した実施形態は他の説明されている実施形態の利点を提供できないが、それは、このような利点が求められない場合では興味深いものである。例えば、このような構成は、無人航空機などの特殊目的航空機のために使用することができる。 The above description has often focused on an embodiment in which the thrust support structure 7 and rotor blades 3 are connected to the rotor shaft 1 with a clutch 6. Although the clutch 6 can provide a number of advantages as discussed above, its use is not required. For example, FIG. 49 illustrates an embodiment of a propulsion system in which the thrust support structure 7 and rotor blades 3 are connected to the rotor shaft 1 without a clutch 6 (e.g., rigidly connected). While this illustrated embodiment does not provide the advantages of the other described embodiments, it may be of interest in cases where such advantages are not desired. For example, such a configuration may be used for special purpose aircraft, such as unmanned aerial vehicles.

図42に関して前述したように、本開示と整合した推進システムの配向は、垂直配向から水平配向に移行することができて、逆もまた同じである。このような実施形態では、推進システムを配向するいかなる適切な機構も使用することができる。その点で、図50を参照すると、それは、スライド式レールシステムが垂直配向と水平配向の間の推進システムの全体または一部の再配向を容易にする、航空機推進システムの実施形態を例示する。本実施形態において、フレームレールガイド93は、航空機の胴体4の外側に沿って配置されている。フレームレールガイドはいかなる適切な位置にも配置することができるが、実施形態では、それは胴体4の中央に沿って位置決めされる。加えて、ロータシステムカートハウジング95は航空機の推進システムのベースに連結されており、そのためロータシステムカートハウジングが胴体と推進システムの間にある。フレームレールガイド93は、示すように、推進システムが垂直および水平の配向間で移行するにつれて、ロータシステム自動車のハウジング95に連結されたローラ94(または他のガイド機械要素)をガイドするように構成されている。 ローラ94(または他のガイド機械要素)は、垂直揚力のための所望の推力線または前進飛行のための水平推力に応じて垂直または水平配向にロータシステムカートハウジング95を移動するために、直接または間接的に(例えば、電気または油圧モータを用いて)動かすことができる。翼28および水平安定板92は、ロータブレードに対して比較的垂直なままであるように配向して、前進飛行の間、揚力および安定性を提供することができる。 As previously described with respect to FIG. 42, the orientation of a propulsion system consistent with the present disclosure can transition from a vertical orientation to a horizontal orientation and vice versa. In such an embodiment, any suitable mechanism for orienting the propulsion system can be used. In that regard, reference is now made to FIG. 50, which illustrates an embodiment of an aircraft propulsion system in which a sliding rail system facilitates reorientation of all or a portion of the propulsion system between a vertical orientation and a horizontal orientation. In this embodiment, a frame rail guide 93 is disposed along the outside of the aircraft fuselage 4. Although the frame rail guide can be disposed in any suitable location, in an embodiment, it is positioned along the center of the fuselage 4. In addition, a rotor system cart housing 95 is coupled to the base of the aircraft propulsion system such that the rotor system cart housing is between the fuselage and the propulsion system. The frame rail guide 93 is configured to guide rollers 94 (or other guide mechanical elements) coupled to the rotor system car housing 95 as the propulsion system transitions between the vertical and horizontal orientations, as shown. The rollers 94 (or other guide mechanical elements) can be moved directly or indirectly (e.g., with electric or hydraulic motors) to move the rotor system cart housing 95 to a vertical or horizontal orientation depending on the desired thrust line for vertical lift or horizontal thrust for forward flight. The wings 28 and horizontal stabilizers 92 can be oriented to remain relatively perpendicular to the rotor blades to provide lift and stability during forward flight.

推力支持構造物に直接組み込まれるエンジン5を含む推進システムの様々な実施形態は、上で説明してきた。例えば、図47は、1つ以上のジェットエンジンが推力支持構造物7に組み込まれて、配管10を通して推力を提供して推力支持構造物に回転させる実施形態を表す。このようなエンジンによって生成される推力が(例えば、固定ノズルを通して)固定方向に定められてもよいが、いくつかの例では、推力支持構造物7から出る推力の方向を制御することが望ましい場合もある。その点で、図51を参照すると、これは、方向推力制御ができるようにする1つ以上の関節動作式ノズルを含む推力支持構造物を含んでいる推進システムの1つの実施例の側面図である。示すように、関節動作式ノズル96は、推力支持構造物7の対応する先端に連結されて、配管10から推力を受け取るように構成されている。ノズル96は、推力が流れる出口(別個にラベル付けしていない)をそれぞれ含む。ノズル96はそれらのそれぞれの出口を移動するかまたは再適合させるように(例えば、1つ以上の駆動モータによって)関節接続することができ、したがって、推力支持構造物7から出る推力線の直接制御を可能にしている。図36および図37は、エンジン5が推力支持構造物7に直接組み込まれて、クラッチ6からすぐ外側に配置されている別の実施形態を示す。エンジン5は、ギアボックス26に接続されていて1つ以上のダクト付きファンまたはプロペラ24を駆動するドライブシャフト27に動力を供給する。図38および39の実施形態において、エンジン5は、ロータシャフト1に直結されている推力支持構造物7に、直接組み込まれている。エンジン5は、ダクト付きファンまたはプロペラ24を駆動するためにギアボックス26に接続されているドライブシャフト27に動力を供給する。クラッチ6はロータハブ11に組み込まれており、それにより、ロータブレード3は、クラッチが分離状態であるときドライブシステムコンポーネントから独立して回転することができる。 Various embodiments of a propulsion system including an engine 5 directly integrated into a thrust support structure have been described above. For example, FIG. 47 depicts an embodiment in which one or more jet engines are integrated into a thrust support structure 7 to provide thrust through ducting 10 to rotate the thrust support structure. While the thrust generated by such engines may be fixedly oriented (e.g., through fixed nozzles), in some instances it may be desirable to control the direction of the thrust exiting the thrust support structure 7. In that regard, reference is made to FIG. 51, which is a side view of one example of a propulsion system including a thrust support structure including one or more articulating nozzles that allow for directional thrust control. As shown, the articulating nozzles 96 are coupled to corresponding extremities of the thrust support structure 7 and are configured to receive thrust from the ducting 10. The nozzles 96 each include an outlet (not separately labeled) through which thrust flows. The nozzles 96 can be articulated (e.g., by one or more drive motors) to move or realign their respective outlets, thus allowing for direct control of the thrust line exiting the thrust support structure 7. 36 and 37 show another embodiment in which the engine 5 is directly integrated into the thrust support structure 7 and located just outside the clutch 6. The engine 5 powers a drive shaft 27 that is connected to a gear box 26 and drives one or more ducted fans or propellers 24. In the embodiment of Figs. 38 and 39, the engine 5 is directly integrated into the thrust support structure 7 that is directly connected to the rotor shaft 1. The engine 5 powers a drive shaft 27 that is connected to a gear box 26 to drive the ducted fans or propellers 24. The clutch 6 is integrated into the rotor hub 11, allowing the rotor blades 3 to rotate independently of the drive system components when the clutch is disengaged.

本開示の多くは、ロータブレードの単一のセットが利用される実施形態に焦点を当てている。このような構成が必須というわけではなく、任意の適切な数のロータブレードを使用してもよい。例えば、1、2、3、4セットまたはそれ以上のセットのロータブレードが、本明細書において説明されている航空機推進システムで利用されてもよい。その概念を例示するために、図52を参照すると、それは、本開示と整合した、単一の推力支持構造物によって駆動される複数セットのロータブレードを含む推進システムの1つの実施例を表す。本実施形態において、推力支持構造物7は、内側シャフト81を通してトルクを提供する。トルクはクラッチ6を介して内側シャフト81によって外側シャフト80に伝達されて、それぞれが外側シャフト80に接続されているロータブレード3の複数のセットを駆動する。ロータブレードの各セットの位置は変化することができて、所望の飛行特性を達成するために設定することができる。図52の実施形態において、例えば、ロータブレード3の2つのセットは、互いに平行であるが同じ軸上からはずれて(例えば、約1度 ~約10度)取り付けることができ、例えば、空力および音響性能を高めることができる。このような配置は、ロータ3の下部のセットがロータ3の上部のセットの伴流を捉えることを可能にすることによって、より大きな揚力を生じさせることもできる。さらに、ロータの両方のセットを同じ方向に駆動して、逆回転ブレードによって生成される伴流干渉問題を回避することができる。そして、ロータ3の複数のセットの使用によって、ロータブレード3の単一のセットと同等な量でありながらより小さい設置面積の中で揚力を生成することを可能にすることができる。 Much of this disclosure focuses on an embodiment in which a single set of rotor blades is utilized. Such a configuration is not required, and any suitable number of rotor blades may be used. For example, one, two, three, four or more sets of rotor blades may be utilized in the aircraft propulsion systems described herein. To illustrate the concept, refer to FIG. 52, which depicts one example of a propulsion system including multiple sets of rotor blades driven by a single thrust support structure consistent with this disclosure. In this embodiment, the thrust support structure 7 provides torque through the inner shaft 81. The torque is transferred by the inner shaft 81 through the clutch 6 to the outer shaft 80 to drive multiple sets of rotor blades 3, each connected to the outer shaft 80. The position of each set of rotor blades can be varied and set to achieve desired flight characteristics. In the embodiment of FIG. 52, for example, the two sets of rotor blades 3 can be mounted parallel to each other but offset from the same axis (e.g., about 1 degree to about 10 degrees), for example, to enhance aerodynamic and acoustic performance. Such an arrangement can also generate more lift by allowing the lower set of rotors 3 to catch the wake of the upper set of rotors 3. Additionally, both sets of rotors can be driven in the same direction to avoid wake interference problems created by counter-rotating blades. And the use of multiple sets of rotors 3 can allow for the generation of lift in an equivalent amount to a single set of rotor blades 3, but in a smaller footprint.

本明細書において説明されている技術は、多種多様な航空機設計で実施することができて、図の多くに例示されているものなどの比較的従来型のヘリコプタ設計での使用に限られてはいない。実際、本明細書において説明されている技術は、それらの使用から利益を得ることができるあらゆるタイプの航空機設計において有用性がある。例えば、本開示の技術は、いずれもヘリプレーンと呼ばれることがある、複合ヘリコプタ、複合ジャイロプレーンなどのハイブリッド航空機で用いることができる。このような航空機揚力において、ヘリコプタと同様のロータシステムは、離着陸中に使用することができて、二次推進システム(例えば、プッシュまたはプルプロペラ、1つ以上のジェットエンジン、1つ以上のターボファンエンジンなど)を用いて飛行中に水平(前方および/または後方)推力を提供する。揚力は全身/逆進飛行中に翼によって生成されることもでき、ヘリコプタと同様のロータブレードの速度を減じることができる。 The techniques described herein may be implemented in a wide variety of aircraft designs and are not limited to use in relatively conventional helicopter designs such as those illustrated in many of the figures. Indeed, the techniques described herein have utility in any type of aircraft design that may benefit from their use. For example, the techniques of the present disclosure may be used in hybrid aircraft such as compound helicopters, compound gyroplanes, and the like, both of which may be referred to as heliplanes. In such aircraft lift, a helicopter-like rotor system may be used during takeoff and landing, with a secondary propulsion system (e.g., push or pull propellers, one or more jet engines, one or more turbofan engines, etc.) providing horizontal (forward and/or aft) thrust during flight. Lift may also be generated by wings during full-body/reverse flight, reducing the speed of helicopter-like rotor blades.

図53は、複合ヘリコプタの環境における本開示の技術の使用の1つの実施例を表す。例示された実施形態において、航空機は、推力支持構造物7(エンジン5および配管10を含む)によって駆動される複数セットの同軸ロータブレード3を含む複合ヘリコプタである。航空機はスラスタ97をさらに含んで、飛行中に前進推力を提供する。本実施形態において、スラスタ97は単一のプッシュプロペラであるが、いかなる適切なタイプおよび数のスラスタも使用できることを理解すべきである。例えば、スラスタ97は、1つ以上のジェットエンジン、ターボファンエンジン、ロケットエンジン、ファン、プロペラ、それらの組み合わせなどでもよい。 Figure 53 depicts one example of the use of the techniques of the present disclosure in a compound helicopter environment. In the illustrated embodiment, the aircraft is a compound helicopter including multiple sets of coaxial rotor blades 3 driven by a thrust support structure 7 (including engines 5 and ducting 10). The aircraft further includes thrusters 97 to provide forward thrust during flight. In this embodiment, thruster 97 is a single push propeller, although it should be understood that any suitable type and number of thrusters may be used. For example, thruster 97 may be one or more jet engines, turbofan engines, rocket engines, fans, propellers, combinations thereof, and the like.

作動中に、同軸ロータブレード3は揚力のために使用することができて、スラスタ97は、航空機を所望の飛行条件に応じて加速するか、減速するか、または静止状態に保つために使用することができる。航空機が前進飛行であるときに、揚力は翼28によって与えることもできる。このような実施形態では、前進飛行においてロータ3によって直接与えられる揚力の必要性が減っているため、ロータ3の速度は、例えば、エンジン5の速度を落して、および/または、一時的にそれらをシャットダウンすることによって、減速することができる。このような例において、方位制御のためのホバリングにおいて使われるモータ(図示せず)は、ロータシャフト1(図53においてラベル付けされず)へ一定の低動力を供給して安定性と制御を維持するために、再度タスクを与えられてもよい。このような状態で起こっている偏揺れ運動(もしあれば)は、安定器(例えば、垂直安定板 、図示せず)を用いて相殺することができ、それに応じて減らすことができる。 In operation, the coaxial rotor blades 3 can be used for lift, and the thrusters 97 can be used to accelerate, decelerate, or hold the aircraft stationary depending on the desired flight conditions. Lift can also be provided by the wings 28 when the aircraft is in forward flight. In such an embodiment, the speed of the rotors 3 can be reduced, for example, by slowing down the engines 5 and/or temporarily shutting them down, since there is a reduced need for lift provided directly by the rotors 3 in forward flight. In such an example, the motors (not shown) used in hovering for azimuth control may be retasked to provide constant low power to the rotor shaft 1 (not labeled in FIG. 53) to maintain stability and control. Any yaw motion (if any) occurring in such a condition can be counteracted using stabilizers (e.g., vertical stabilizers, not shown) and reduced accordingly.

図54は、複合ヘリコプタの環境における本開示の技術の使用の別の実施例を表す。本実施例は、図53の実施形態で使われた複数の同軸ロータブレードの代わりに、ロータブレード3の単一のセットが使われていることを除いて、図53の実施形態と実質的に類似している。図54の機械要素の性質および機能が図53に関して上に示して説明したものと同じであるので、それらは簡潔にするためにここでは繰り返さない。 Figure 54 illustrates another example of the use of the techniques of the present disclosure in a composite helicopter environment. This example is substantially similar to the embodiment of Figure 53, except that a single set of rotor blades 3 is used instead of the multiple coaxial rotor blades used in the embodiment of Figure 53. As the nature and function of the machine elements of Figure 54 are the same as those shown and described above with respect to Figure 53, they will not be repeated here for the sake of brevity.

前述の実施形態の多くは、クラッチ6、推力支持構造物7およびロータブレード3の1つ以上のセットを含む推進システムを利用して、ここでは、推力支持構造物7およびロータブレード3は互いに連結されて、ロータシャフト1に沿って互いから垂直に中心を外れている。このような構成が必須というわけではなく、本開示は、クラッチ6が用いられない、および/または、ロータブレード3および推力支持構造物がロータシャフト1に連結されて、同一平面に位置決めされている実施形態を含む。この概念の1つの実施例は図55に示されて、これは、本開示と整合した推進システムの1つの実施例の上面および側面図を表し、推進システムはクラッチ6を含まないが、同一平面にある推力支持構造物7およびロータブレード3を含む。より詳しくは、本実施形態では、推力支持構造物7およびロータブレード3が共通構造ハブ98に一体化されているか連結されており、これが次にロータシャフト1に一体化されているか連結されている。共通構造ハブ98は、1つ以上のファスナ、機械的干渉ジョイント、溶接、接着、それらの組み合わせなどを介するなどして、任意の適切な手段によってロータシャフト1に一体化されるかあるいは固定して取り付けられている。より詳しくは、共通構造ハブはロータシャフト1に一体化されるかまたは連結されて、そのためその位置はロータシャフト1の位置に対して固定されたままである(すなわち、共通構造ハブ98は、ロータシャフト1と独立して回転はしない)。同様に、推力支持構造物7およびロータブレード3は、1つ以上のファスナ、機械的干渉ジョイント、溶接、接着、それらの組み合わせなどを介するなどして、任意の適切な手段によって共通構造98に一体化されるかあるいは連結されてもよい。作動中に、エンジン5は推力支持構造物7を回転させる。結果として得られるトルクは推力支持構造物7から共通構造ハブ98へ、そして、次にロータシャフト1に伝達されて、ロータシャフト1を回転させる。共通構造ハブ98がロータシャフト1に固定して取り付けられるので、ロータシャフト1の回転が最終的にロータブレードを回転させる。 Many of the above-described embodiments utilize a propulsion system including a clutch 6, a thrust support structure 7, and one or more sets of rotor blades 3, where the thrust support structure 7 and rotor blades 3 are coupled to one another and vertically off-center from one another along the rotor shaft 1. Such a configuration is not required, and the present disclosure includes embodiments in which the clutch 6 is not used and/or the rotor blades 3 and thrust support structure are coupled to the rotor shaft 1 and positioned in the same plane. One example of this concept is shown in FIG. 55, which depicts a top and side view of one example of a propulsion system consistent with the present disclosure, where the propulsion system does not include a clutch 6, but includes thrust support structures 7 and rotor blades 3 that are in the same plane. More specifically, in this embodiment, the thrust support structure 7 and rotor blades 3 are integrated or coupled to a common structural hub 98, which is in turn integrated or coupled to the rotor shaft 1. The common structural hub 98 is integral with or fixedly attached to the rotor shaft 1 by any suitable means, such as through one or more fasteners, mechanical interference joints, welding, adhesives, combinations thereof, and the like. More specifically, the common structural hub is integral with or coupled to the rotor shaft 1 so that its position remains fixed relative to the position of the rotor shaft 1 (i.e., the common structural hub 98 does not rotate independently of the rotor shaft 1). Similarly, the thrust support structure 7 and the rotor blades 3 may be integral with or coupled to the common structure 98 by any suitable means, such as through one or more fasteners, mechanical interference joints, welding, adhesives, combinations thereof, and the like. During operation, the engine 5 rotates the thrust support structure 7. The resulting torque is transferred from the thrust support structure 7 to the common structural hub 98 and then to the rotor shaft 1 to rotate the rotor shaft 1. Because the common structural hub 98 is fixedly attached to the rotor shaft 1, the rotation of the rotor shaft 1 ultimately rotates the rotor blades.

ジェットまたは他のエンジンが、推力支持構造物に連結されるかまたは一体化されており、配管を通して方向を定められている空気流の形で推力を発生させて推力支持構造物を回転させるように動作可能である、様々な実施形態を上記で説明してきた。このような実施形態が役立つ一方で、推力支持構造物を通るダクトで送られた空気流の使用が必須というわけではなく、他の構成が使用されてもよい。例えば、推力支持構造物に連結されるかまたは一体化されている1つ以上のエンジンは、1つ以上のドライブシャフトに連結することができ、それが次に1つ以上のファンに連結されてもよい。動作において、エンジンはドライブシャフトにファンを駆動して空気流を生じさせることができ、それは固定であるか可変的な方向に放出されて、推力支持構造物を回転させることができる。 Various embodiments have been described above in which jet or other engines are coupled to or integral with the thrust support structure and are operable to generate thrust in the form of airflow directed through ducting to rotate the thrust support structure. While such embodiments are useful, the use of ducted airflow through the thrust support structure is not required and other configurations may be used. For example, one or more engines coupled to or integral with the thrust support structure may be coupled to one or more drive shafts, which may in turn be coupled to one or more fans. In operation, the engines may drive the fans on the drive shafts to generate airflow that may be discharged in a fixed or variable direction to rotate the thrust support structure.

図56は、1つまたは複数のファンがモータによって駆動されて固定であるか可変的な方向に向けることができる空気流を生じさせる、本開示の一実施形態を表す。より具体的には、図56は、複数のエンジン5が推力支持構造物7の近位端に連結されるかまたは一体化されており、ロータハブ1に近接して配置されている実施形態を表す。ドライブシャフト27の第1の(近位)端部は、各エンジン5に連結されている。各ドライブシャフト27は、推力支持構造物7の外部に配置されてもよく、または推力支持構造物7の中のチャネルを通り抜けてもよい。いずれの場合でも、各ドライブシャフト27の第2の(遠位)端部は、推力支持構造物7の遠位端にあるファンユニット99に連結されている。動作において、エンジン5は、ドライブシャフト27がファンユニットに空気流を生じさせるようにする。各ファンユニット99は、推力支持構造物7と同一であるか実質的に同一の平面にある空気流を作り出すように配向される。そうすることによって、推力支持構造物7が動いている一方で、各ファンユニットのファンブレードおよびファンブレードハブ(図示せず)上の負荷さえ容易にすることができる。 FIG. 56 depicts an embodiment of the present disclosure in which one or more fans are driven by a motor to generate an airflow that can be directed in a fixed or variable direction. More specifically, FIG. 56 depicts an embodiment in which multiple engines 5 are coupled to or integrated with the proximal end of the thrust support structure 7 and are located in close proximity to the rotor hub 1. A first (proximal) end of a drive shaft 27 is coupled to each engine 5. Each drive shaft 27 may be located outside the thrust support structure 7 or may pass through a channel in the thrust support structure 7. In either case, a second (distal) end of each drive shaft 27 is coupled to a fan unit 99 at the distal end of the thrust support structure 7. In operation, the engine 5 causes the drive shaft 27 to generate an airflow in the fan unit. Each fan unit 99 is oriented to create an airflow that is in the same or substantially the same plane as the thrust support structure 7. By doing so, it is possible to even facilitate the load on the fan blades and fan blade hubs (not shown) of each fan unit while the thrust support structure 7 is moving.

本実施形態において、空気流ガイドベーンノズル100は、各ファンユニット99に連結されて、各ファンユニット99によってできる空気流の方向を定めるように構成されている。例示された実施形態において、空気流ガイドベーンノズル100は、ファンユニット99からの空気流を、この場合推力支持構造物7の平面に対しておよそ90度である、所望の出口角へリダイレクトするように構成されている静的ノズルである。例示した構成は例としてのためだけのもので、ガイドベーンノズル100は、ファンユニット99によってできる空気流をいかなる所望の出口角にもリダイレクトするように構成することができる。そして、実施形態では、ガイドベーンノズル100および/またはその出口は、(例えば、図示していないが、1つ以上のモータによって)関節接続することができ、それにより、空気流出口角の動的制御を可能にする。出口角の制御を行って、空気流を望ましい角度にリダイレクトして、推力支持構造物7およびクラッチ6を動かすために推力を発生させることができる。例えば、ガイドベーンノズル100の使用によって、ファンユニット99によってできる空気流を、推力支持構造物の平面に対して0度から180度以上までリダイレクトすることを可能にし得る。 In this embodiment, an airflow guide vane nozzle 100 is coupled to each fan unit 99 and configured to direct the airflow generated by each fan unit 99. In the illustrated embodiment, the airflow guide vane nozzle 100 is a static nozzle configured to redirect the airflow from the fan unit 99 to a desired exit angle, in this case approximately 90 degrees relative to the plane of the thrust support structure 7. The illustrated configuration is by way of example only, and the guide vane nozzle 100 can be configured to redirect the airflow generated by the fan unit 99 to any desired exit angle. And, in an embodiment, the guide vane nozzle 100 and/or its exit can be articulated (e.g., by one or more motors, not shown), thereby allowing dynamic control of the airflow exit angle. Control of the exit angle can be performed to redirect the airflow to a desired angle to generate thrust for moving the thrust support structure 7 and the clutch 6. For example, the use of guide vane nozzles 100 may allow the airflow generated by the fan unit 99 to be redirected from 0 degrees to 180 degrees or more relative to the plane of the thrust support structure.

推力支持構造物7の遠位端の近くのロータシャフト1およびファンユニット99に近接してエンジン5を位置決めする1つの利点は、推力支持構造物7が動いている間に加えられる向心力が、ファンユニット99による推力の生成から作り出されるブレード負荷によって部分的に相殺され得るということである。このようなブレード負荷は、ドライブシャフト27およびエンジン5の方へファンユニット99のファンブレードを引き戻すことができる。さらに、ドライブシャフト27が推力支持構造物7より非常に薄くてもよいので、図56の構成は、配管10を含む推力支持構造物7の部分に対して、推力支持構造物7のより薄い中間部を使用可能にすることができる。 One advantage of positioning the engine 5 in close proximity to the rotor shaft 1 and fan unit 99 near the distal end of the thrust support structure 7 is that centripetal forces applied while the thrust support structure 7 is moving can be partially offset by blade loads created from the generation of thrust by the fan unit 99. Such blade loads can pull the fan blades of the fan unit 99 back toward the drive shaft 27 and the engine 5. Furthermore, because the drive shaft 27 can be much thinner than the thrust support structure 7, the configuration of FIG. 56 can enable a thinner intermediate portion of the thrust support structure 7 to be used relative to the portion of the thrust support structure 7 that includes the piping 10.

図57は、推力支持構造物7の遠位端に位置するか近接して位置する1つ以上のファンユニットを利用して、推力を発生させて推力支持構造物を回転させる、本開示の別の実施例を表す。本実施形態において、ファンユニット99は、遠心送風機101の形である。ファンユニット99と同様に、遠心送風機101はドライブシャフト27によって駆動され、それは次に1つ以上のエンジン5によって駆動される。動作において、各遠心送風機101は、ドライブシャフト27によって駆動されて、トルクを作り出して推力支持構造物7を駆動して、次に、ロータブレード3を回転させる空気流を生じさせる。遠心送風機101の配向は、所望の空力条件を達成するように設定することができる。例えば、そして、図57に示すように、遠心送風機101は、第1軸に沿って比較的長いが、第1軸に対して直角である第2軸に沿って比較的薄くてもよい。このような例において、遠心送風機101は、それらの長寸(第1軸に沿った)が推力支持構造物7に沿って伸びている軸に対して直角(例えば、垂直であるか実質的に垂直)であるように、配向することができる。対照的に、遠心送風機101の短寸は、推力支持構造物7に沿って伸びている軸と平行であるかまたは実質的に平行であるように配向することができる。このような構成において、遠心送風機101の比較的薄い寸法は推力支持構造物7の回転の方向に示され、それは遠心送風機101によって作成される誘導抵抗を推力支持構造物7が回転するにつれて低減するかまたは最小化することができる。 FIG. 57 illustrates another embodiment of the present disclosure utilizing one or more fan units located at or proximate to the distal end of the thrust support structure 7 to generate thrust and rotate the thrust support structure. In this embodiment, the fan units 99 are in the form of centrifugal blowers 101. Like the fan units 99, the centrifugal blowers 101 are driven by a drive shaft 27, which in turn is driven by one or more engines 5. In operation, each centrifugal blower 101 is driven by the drive shaft 27 to create a torque to drive the thrust support structure 7, which in turn creates an airflow that rotates the rotor blades 3. The orientation of the centrifugal blowers 101 can be set to achieve desired aerodynamic conditions. For example, and as shown in FIG. 57, the centrifugal blowers 101 may be relatively long along a first axis, but relatively thin along a second axis that is perpendicular to the first axis. In such an example, the centrifugal blowers 101 can be oriented such that their long dimension (along the first axis) is perpendicular (e.g., perpendicular or substantially perpendicular) to the axis extending along the thrust support structure 7. In contrast, the short dimension of the centrifugal blowers 101 can be oriented such that it is parallel or substantially parallel to the axis extending along the thrust support structure 7. In such a configuration, the relatively thin dimension of the centrifugal blowers 101 is presented in the direction of rotation of the thrust support structure 7, which can reduce or minimize the induced drag created by the centrifugal blowers 101 as the thrust support structure 7 rotates.

図56と同様に、図57の実施形態は、ドライブシャフト27を使用できるようにし、配管10を含む推力支持構造物の形状に対して、より薄型形状の推力支持構造物7の使用を可能にする。そして、ガイドベーンノズル100と同様に、遠心送風機101の配向は、固定することができるかまたは関節接続することができる。後者の例では、遠心送風機101の関節は、それらが発生させる空気流の出口角の動的制御を可能にすることができる。 As with FIG. 56, the embodiment of FIG. 57 allows for the use of a drive shaft 27 and allows for the use of a lower profile thrust support structure 7 relative to the shape of the thrust support structure including the piping 10. And as with the guide vane nozzle 100, the orientation of the centrifugal blowers 101 can be fixed or articulated. In the latter example, the articulation of the centrifugal blowers 101 can allow for dynamic control of the exit angle of the airflow they generate.

図41は、本開示による別の実施形態を表して、ここでは、同心シャフトを用いて航空機の各種コンポーネントを支持し、分離する。示すように、外側シャフト80は、ロータブレード3に直結にされて、支持ベアリング2によって支持されて、胴体から分離される。内側シャフト81は外側シャフト80の中に配置されており、推力支持構造物7に直結されて、それが次にエンジン5に接続されている。内側シャフト81は、同心のシャフトベアリング79によって外側シャフト80から支持されて分離され、それは外側シャフト80の内部表面と内側シャフト81の外部表面の間に配置されている。クラッチ6は、内側シャフト81および/または外側シャフト80を係合するかまたは分離するように構成されており、任意の適切な位置に配置することができる。例えば、そして、図41に示すように、クラッチ6は、外側シャフト80内に(すなわち、外側シャフト80と内側シャフト81の間に)配置することができて、内側シャフト81と係合し分離するように構成することができる。図41は、推力支持構造物7が内側シャフト81に連結され、ロータブレード3が外側シャフト80に連結されている実施形態を表しているが、このような構成が必須というわけではなく、推力支持構造物およびロータブレード3がそれぞれ内側シャフト81または外側シャフト80に連結できることを理解すべきである。 FIG. 41 depicts another embodiment according to the present disclosure, in which concentric shafts are used to support and separate various components of an aircraft. As shown, the outer shaft 80 is connected directly to the rotor blades 3, supported by support bearings 2, and separated from the fuselage. The inner shaft 81 is disposed within the outer shaft 80 and connected directly to the thrust support structure 7, which in turn is connected to the engine 5. The inner shaft 81 is supported and separated from the outer shaft 80 by a concentric shaft bearing 79, which is disposed between the inner surface of the outer shaft 80 and the outer surface of the inner shaft 81. The clutch 6 is configured to engage or separate the inner shaft 81 and/or the outer shaft 80, and can be disposed in any suitable location. For example, and as shown in FIG. 41, the clutch 6 can be disposed within the outer shaft 80 (i.e., between the outer shaft 80 and the inner shaft 81) and configured to engage and separate the inner shaft 81. FIG. 41 illustrates an embodiment in which the thrust support structure 7 is connected to the inner shaft 81 and the rotor blades 3 are connected to the outer shaft 80, but it should be understood that such a configuration is not required and the thrust support structure and rotor blades 3 can be connected to the inner shaft 81 or the outer shaft 80, respectively.

図58は本開示の別の実施形態の側面図であり、別個のシャフトが、制御システム、ロータシステムおよび駆動システムなどの航空機推進システムの異なるコンポーネントのために利用されている。図58の機械要素の多くのものの性質および機能は、他の実施形態に関連して上記で説明したもの同一であり、簡潔にするために繰り返さない。本実施形態において、例示した推進システムは、外側シャフト80、内側シャフト81および中間シャフト102を含む。中間シャフト102は、外側シャフト80と内側シャフト81の間に配置されている。外側シャフト80は、それが回転しないように、胴体構造部材56に(例えば、シャフトマウント103によって)固定される。ピッチ制御ロッド41は、ロータブレード3にリンクされてロータ制御を提供する回転斜板40に接続している。中間シャフト102は、同心のベアリング79によって外側シャフト80から分離されている。ロータハブ11およびロータブレード3は、中間シャフト102に直結していて、それによって支持されている。内側シャフト81は同心のシャフトベアリング79によって中間シャフト102から分離されて、推力支持構造物7からのトルクおよびファンユニット99を駆動しているエンジン5が推力を発生させるときに、クラッチ6によって中間シャフト102に接続しているだけであり、内側シャフト81および中間シャフト102を同時に回転させる。この配置は、強力な支持システムを推進システムの様々なコンポーネントに提供して、このようなコンポーネントの直接の交換またはサービス作業を可能にする。これによって、航空機の改良または任務が変化するにつれて、コンポーネントが独立してモジュール型でアップグレードされることも可能である。燃料タンク33およびバッテリ74は、下部回転ユニオン16および内側シャフト81の内部に沿って走る接続を通してエンジン5に接続されている。図58に示される他のコンポーネントは、他の実施形態で説明されており、単に複数のシャフトが用いられ得る完全な実施形態を例証するために示されている。勿論、複数のシャフトは、同様に他の実施形態で用いることができる。複数のシャフトを使用する1つの利点は、それによって推進システムのコンポーネントがモジュール式であり、独立して、または、ユニットとしてアップグレード可能とすることができるということである。 FIG. 58 is a side view of another embodiment of the present disclosure in which separate shafts are utilized for different components of an aircraft propulsion system, such as the control system, rotor system, and drive system. The nature and function of many of the machine elements of FIG. 58 are identical to those described above in connection with other embodiments and will not be repeated for the sake of brevity. In this embodiment, the illustrated propulsion system includes an outer shaft 80, an inner shaft 81, and an intermediate shaft 102. The intermediate shaft 102 is disposed between the outer shaft 80 and the inner shaft 81. The outer shaft 80 is fixed (e.g., by a shaft mount 103) to the fuselage structural member 56 so that it does not rotate. The pitch control rod 41 connects to the swash plate 40, which is linked to the rotor blades 3 to provide rotor control. The intermediate shaft 102 is separated from the outer shaft 80 by a concentric bearing 79. The rotor hub 11 and the rotor blades 3 are directly connected to and supported by the intermediate shaft 102. The inner shaft 81 is separated from the intermediate shaft 102 by a concentric shaft bearing 79 and is only connected to the intermediate shaft 102 by a clutch 6 when torque from the thrust support structure 7 and the engine 5 driving the fan unit 99 generate thrust, causing the inner shaft 81 and the intermediate shaft 102 to rotate simultaneously. This arrangement provides a strong support system for the various components of the propulsion system, allowing direct replacement or service of such components. This also allows the components to be upgraded independently and modularly as aircraft upgrades or missions change. The fuel tanks 33 and the battery 74 are connected to the engine 5 through connections that run along the lower rotating union 16 and the interior of the inner shaft 81. Other components shown in FIG. 58 are described in other embodiments and are shown merely to illustrate a complete embodiment in which multiple shafts may be used. Of course, multiple shafts may be used in other embodiments as well. One advantage of using multiple shafts is that it allows the components of the propulsion system to be modular and upgradeable independently or as a unit.

上記実施形態の多くにおいて、燃料タンクおよびバッテリなどのエネルギーソースは、航空機の胴体の中に置かれて、胴体ビザ燃料ライン、ワイヤなどの外部にあるコンポーネントに連結されている。このような構成が必須というわけではなく、バッテリ、燃料タンクなどのエネルギーソースは他の位置に置いてもよい。その点で、図59を参照すると、これは燃料タンクおよびバッテリなどのエネルギーソースが推力支持構造物に一体化されているかまたは連結されている航空機推進システムの1つの実施例の側面図を表す。外側シャフト80に接続されているロータブレード3および回転斜板40は、胴体構造部材56に接続されている支持ベアリング2の別個のセットによって支持されている。燃料タンク33、バッテリ74およびエンジン5の全ては推力支持構造物7に取り付けられており、電力線、燃料ラインなどを内側シャフト81に通す必要性を排除する。加えて、無線コントロール/テレメトリモジュール105は、エンジン5に対する通信およびデータのシグナリングを可能にしている。したがって、内側シャフト81は、燃料ライン、電力ケーブル、制御線など、そうしなければその中を経由する可能性があるものを取り除いたり移動する必要なしに、修理点検することができる。例えば、内側シャフト81は、支持ベアリング2、同心のシャフトベアリング79およびクラッチ6で接続を分離することによって、胴体4から取り除くことができる。このような構成は、シャフト間に燃料ライン、制御線、電力線などを経路設定するために用いることができる軸封装置および/またはスリップリングの必要性も排除することができる。図60は、本開示と整合した推進システムを含む航空機の別の実施形態の概略側断面図である。本実施形態において、ロータシャフト1は胴体4の中に伸び、そしてベアリング支持構造43および推力ベアリングアセンブリ57の中の1つ以上の支持ベアリング2によって支持されている。本実施形態において、支持ベアリング2は、ベアリングハウジング107の中に配置されており、内側および外側レースケージの間にあるボールベアリングを含む。いずれ場合でも、内側および外側レースの支持ベアリング2は、ロータシャフト1の負荷を支持するように構成されている。 In many of the above embodiments, the energy sources, such as fuel tanks and batteries, are located within the fuselage of the aircraft and are connected to components that are external to the fuselage, such as fuel lines, wires, etc. Such a configuration is not required, and the energy sources, such as batteries, fuel tanks, etc., may be located elsewhere. In that regard, reference is made to FIG. 59, which illustrates a side view of one embodiment of an aircraft propulsion system in which the energy sources, such as fuel tanks and batteries, are integrated into or connected to the thrust support structure. The rotor blades 3 and swash plate 40, which are connected to the outer shaft 80, are supported by a separate set of support bearings 2, which are connected to the fuselage structural member 56. The fuel tanks 33, batteries 74, and engines 5 are all mounted to the thrust support structure 7, eliminating the need to route power lines, fuel lines, etc. through the inner shaft 81. In addition, the wireless control/telemetry module 105 allows communication and data signaling to the engines 5. Thus, the inner shaft 81 can be serviced without the need to remove or move fuel lines, power cables, control lines, etc. that might otherwise be routed therethrough. For example, the inner shaft 81 can be removed from the fuselage 4 by isolating the connection at the support bearing 2, the concentric shaft bearing 79, and the clutch 6. Such a configuration can also eliminate the need for shaft seals and/or slip rings that can be used to route fuel lines, control lines, power lines, and the like between the shafts. FIG. 60 is a schematic side cross-sectional view of another embodiment of an aircraft including a propulsion system consistent with the present disclosure. In this embodiment, the rotor shaft 1 extends into the fuselage 4 and is supported by one or more support bearings 2 in the bearing support structure 43 and the thrust bearing assembly 57. In this embodiment, the support bearings 2 are disposed in the bearing housing 107 and include ball bearings between the inner and outer race cages. In either case, the support bearings 2 of the inner and outer races are configured to support the load of the rotor shaft 1.

支持ベアリング2は、任意の適切な手段によって、例えば、ベアリング支持構造43に(例えば、溶接、機械的ファスナなどによって)取り付けられているベアリングハウジング107によって、ベアリング支持構造43に連結されている。実施形態において、ベアリング支持構造43は、ロータシャフト1から支持ベアリング2へ伝達される負荷を支持するのに十分な強さおよび特性を有する、金属、合金、複合材料または他の適切な材料などの任意の適切な材料から形成されている、中空管状フレームの形である。ベアリング支持構造43は、任意の適切な方法で(例えば、溶接、機械的ファスナ等によって)、胴体4に取り付けられる。 The support bearing 2 is coupled to the bearing support structure 43 by any suitable means, for example, by a bearing housing 107 that is attached (e.g., by welding, mechanical fasteners, etc.) to the bearing support structure 43. In an embodiment, the bearing support structure 43 is in the form of a hollow tubular frame formed from any suitable material, such as a metal, alloy, composite, or other suitable material, having sufficient strength and properties to support the loads transferred from the rotor shaft 1 to the support bearing 2. The bearing support structure 43 is attached to the fuselage 4 in any suitable manner (e.g., by welding, mechanical fasteners, etc.).

実施形態において、支持ベアリング2の外側レースは、ベアリングハウジング107を介してベアリング支持構造43に連結されており、支持ベアリング2の内側レースはロータシャフト1の外部表面に(例えば、機械的ファスナ、溶接または他の適切な固定手段を介して)連結されている。このような実施形態では、ロータシャフト1の回転によって生じた回転トルクは、胴体4をこのようなトルクから分離する支持ベアリング2の能力を上回らない。 In an embodiment, the outer race of the support bearing 2 is coupled to the bearing support structure 43 via the bearing housing 107, and the inner race of the support bearing 2 is coupled to the outer surface of the rotor shaft 1 (e.g., via mechanical fasteners, welding, or other suitable fastening means). In such an embodiment, the rotational torque caused by the rotation of the rotor shaft 1 does not exceed the ability of the support bearing 2 to isolate the fuselage 4 from such torque.

図60の実施形態は、回転マグネット17およびステータ18をさらに含む。回転マグネット17は、ロータシャフト1にそのハブで連結されるディスク形構造上に配置され、そのためディスク形構造およびロータシャフトが同時に一緒に回転することができる。本実施形態におけるステータ18は一対の(例えば、金属)プレートおよび金属(例えば、銅)コイルの形であり、それは回転マグネット17の上下に配置されて、支持構造物43を露出することによって胴体4に連結されている。勿論、ステータ18は例示した構成に限られておらず、航空機のために必要とされる方位制御の量に応じて、1対または2対以上のプレートおよびコイルを含むことがでる。 The embodiment of FIG. 60 further includes a rotating magnet 17 and a stator 18. The rotating magnet 17 is disposed on a disk-shaped structure that is connected to the rotor shaft 1 at its hub, so that the disk-shaped structure and the rotor shaft can rotate together simultaneously. The stator 18 in this embodiment is in the form of a pair of (e.g., metal) plates and metal (e.g., copper) coils that are disposed above and below the rotating magnet 17 and are connected to the fuselage 4 by exposing the support structure 43. Of course, the stator 18 is not limited to the illustrated configuration and can include one or more pairs of plates and coils depending on the amount of azimuth control required for the aircraft.

本実施形態において、ロータブレード3はロータハブ11に連結されており、それは次にロータシャフト1に連結されている。したがって、ロータシャフト1の回転は、ロータブレード3を回転させる。例示の実施形態は下部シャフトフランジカラー108および上部シャフトフランジカラー109も含み、それらはロータシャフト1にその上端の近くで連結されている。本実施形態において、下部シャフトフランジカラー108および上部シャフトフランジカラー109は、ロータブレード3の上にあり、クラッチ6のロータシャフト1への取り付けポイントを提供する。 In this embodiment, the rotor blades 3 are coupled to a rotor hub 11, which is in turn coupled to the rotor shaft 1. Thus, rotation of the rotor shaft 1 rotates the rotor blades 3. The exemplary embodiment also includes a lower shaft flange collar 108 and an upper shaft flange collar 109, which are coupled to the rotor shaft 1 near its upper end. In this embodiment, the lower shaft flange collar 108 and the upper shaft flange collar 109 are above the rotor blades 3 and provide attachment points for the clutch 6 to the rotor shaft 1.

クラッチ6は、ロータシャフト1を推力支持構造7と係合して/分離するように構成されている。上記のように、クラッチ6は、2つの回転構造部材を係合および分離することができる一方向ベアリングまたは他の類似の装置であることができる。クラッチ6の内側レースは、例えば、機械的ファスナを介して、または、他の手段を通して、下部シャフトフランジカラー108と上部シャフトフランジカラー109の間に連結され、そのためにそれが上部フレームレールフランジ110および下部フレームレールフランジ116に取り付けられて、ロータシャフト1によって回転することができる。 The clutch 6 is configured to engage/disengage the rotor shaft 1 from the thrust support structure 7. As noted above, the clutch 6 can be a one-way bearing or other similar device capable of engaging and disengaging two rotating structural members. The inner race of the clutch 6 is coupled, for example, via mechanical fasteners or through other means, between the lower shaft flange collar 108 and the upper shaft flange collar 109 so that it is attached to the upper frame rail flange 110 and the lower frame rail flange 116 and can be rotated by the rotor shaft 1.

図60の実施形態において、推力支持構造物7は、上部フレームレールフランジ100、下部フレームレールフランジ116、フレームレール112、横材111、エンジンマウント113、エンジン5、配管フランジ115および配管10を含む。推力支持構造物7の中心線は、ロータシャフト1に垂直に伸びて、180度離れている。上部フレームレールフランジ110および下部フレームレールフランジ116は、1つ以上の金属、合金、複合材料などの任意の適切な材料から造ることができる。上部フレームレールフランジ110および下部フレームレールフランジ116は、任意の適切なな方法で、例えば溶接、機械的ファスナなどを介して、クラッチ6の外側レースに連結される。 60, the thrust support structure 7 includes an upper frame rail flange 100, a lower frame rail flange 116, a frame rail 112, a cross member 111, an engine mount 113, an engine 5, a piping flange 115, and a piping 10. The centerline of the thrust support structure 7 extends perpendicular to the rotor shaft 1 and is 180 degrees apart. The upper frame rail flange 110 and the lower frame rail flange 116 may be made of any suitable material, such as one or more metals, alloys, composites, etc. The upper frame rail flange 110 and the lower frame rail flange 116 are coupled to the outer race of the clutch 6 in any suitable manner, such as via welding, mechanical fasteners, etc.

一般に、フレームレール112は構造支持を提供し、エンジンマウント113に連結され、これが任意の適切な方法でフレームレール113に固定される。実施形態において、フレームレール112は、任意の適切な数の強化横材111を含む1つまたは複数の構造レールから形成されている。エンジン5は、長手方向にフレームレール112の間に載置されている。例えば、エンジン5は、その(例えば、それらの吸入および排気部に近い)両辺上に締め具取付け位置を含むことができて、このような締め具取付け位置を介してフレームレール112の間に載置することができる。フレームレール112は、配管フランジ115にも連結されている。配管フランジ115はエンジン5の排気通路を取り囲み、それらの推力が配管10へ伝達されるのを可能にする。配管10は、空気流を引き込んで、熱および向心力に対して構造的完全性を維持するのに十分である金属または合成材料または他の材料でできている、単純な、丸いか、卵円であるか、流線形の形の中空管とすることができる。実施形態において、配管10は、エンジン5の排気通路の近くの配管フランジ115から適切な長さまで、エンジン5から発生している高速度空気流が配管10の外端で推力を提供するのを可能にするために伸びて、ロータブレード3に動力を与えるのに必要な回転トルクを発生させて、飛行に十分な揚力を提供する。 In general, the frame rails 112 provide structural support and are connected to engine mounts 113, which are secured to the frame rails 113 in any suitable manner. In an embodiment, the frame rails 112 are formed from one or more structural rails including any suitable number of reinforcing cross members 111. The engine 5 is mounted longitudinally between the frame rails 112. For example, the engine 5 can include fastener mounting locations on both sides thereof (e.g., near their intake and exhaust) and can be mounted between the frame rails 112 via such fastener mounting locations. The frame rails 112 are also connected to piping flanges 115. The piping flanges 115 surround the exhaust passages of the engines 5 and allow their thrust to be transferred to the piping 10. The piping 10 can be a simple round, oval, or streamlined hollow tube made of metal or synthetic material or other material sufficient to draw air flow and maintain structural integrity against thermal and centripetal forces. In an embodiment, the piping 10 extends from the piping flange 115 near the exhaust passage of the engine 5 to an appropriate length to allow the high velocity airflow emanating from the engine 5 to provide thrust at the outer end of the piping 10, generating the rotational torque necessary to power the rotor blades 3 and provide sufficient lift for flight.

本開示と整合した推力支持構造物の回転は、航空機の飛行を促進し、推力支持構造物とは別個のロータブレードの必要性を減らすかまたは排除さえするために利用することができる揚力を、それ自体の中でそれ自身で提供することができる。言い換えると、本開示と整合した推力支持構造物は、航空機用のロータブレードとして役立つように構成することができる。このような構成は、航空機胴体の上の構造と関連した抗力を排除するか、低減するかまたは、最適化することを含むがこれに限らず、様々な利点を提供することができる。例えば、推力支持構造物が航空機用のロータブレードとして機能するときに、別個のロータブレードの必要性は減らすことができるかまたは排除されることさえでき、別個のロータブレードの使用に起因している抗力および他の非効率性を制限するかまたは排除さえする。別個のロータブレードの排除はまた、クラッチがロータシャフトからロータブレードを係合して分離する必要性を減らすかまたは排除することもでき、クラッチの使用に関連した機械的複雑さおよび効率上の考慮事項を回避することができる。したがって、本開示の実施形態は航空機用の推進システムに関するものであり、推力支持構造物はロータブレードとして機能するように構成されている。 Rotation of a thrust support structure consistent with the present disclosure can provide lift within itself that can be utilized to facilitate flight of an aircraft and reduce or even eliminate the need for rotor blades separate from the thrust support structure. In other words, a thrust support structure consistent with the present disclosure can be configured to serve as a rotor blade for an aircraft. Such a configuration can provide various advantages, including, but not limited to, eliminating, reducing, or optimizing drag associated with structures above an aircraft fuselage. For example, when a thrust support structure serves as a rotor blade for an aircraft, the need for a separate rotor blade can be reduced or even eliminated, limiting or eliminating drag and other inefficiencies that result from the use of separate rotor blades. The elimination of separate rotor blades can also reduce or eliminate the need for a clutch to engage and separate the rotor blades from the rotor shaft, avoiding mechanical complexities and efficiency considerations associated with the use of a clutch. Thus, embodiments of the present disclosure relate to a propulsion system for an aircraft, in which a thrust support structure is configured to serve as a rotor blade.

その概念の実施例は図61~64に示され、それらは本開示と整合した推進システムの様々な実施形態を表し、推進システムはロータブレードとして機能するように構成された推力支持構造物7を含む。このような実施形態において、推進システムは、前に説明しているように、ロータハブ11または共通構造ハブ98を含む。エンジン5は、ロータハブ11または共通構造ハブ98に連結されており、そのため、近位端がロータハブ11または共通構造ハブ98の近くに(すなわち、近接して)配置されている。したがって、エンジン5の少なくとも一部が完全に、または、部分的に共通構造ハブ98/ロータハブ11によって支持されていることを理解すべきである。エンジン5は、配管10にも連結されている。あるいは、エンジン5は、ロータハブ11または共通構造ハブ98と一体化され(例えば中に収容され)ていてもよい。 An example of the concept is shown in Figures 61-64, which represent various embodiments of a propulsion system consistent with the present disclosure, including a thrust support structure 7 configured to function as a rotor blade. In such an embodiment, the propulsion system includes a rotor hub 11 or a common structural hub 98, as previously described. The engine 5 is coupled to the rotor hub 11 or the common structural hub 98, such that a proximal end is located near (i.e., in close proximity to) the rotor hub 11 or the common structural hub 98. It should therefore be understood that at least a portion of the engine 5 is fully or partially supported by the common structural hub 98/rotor hub 11. The engine 5 is also coupled to the piping 10. Alternatively, the engine 5 may be integrated with (e.g., housed within) the rotor hub 11 or the common structural hub 98.

配管10はその中に1つ以上のチャネル10’を含む。示すように、配管10の近位端は、遠位端エンジン5に連結されている。説明のために、図61~64の実施形態は、エンジン5が配管10および共通構造ハブ98/ロータハブ11と同一平面に配置されており、そのため配管10の近位端がエンジン5の遠位端に直接連結されていることを示す。その構成が必須というわけではなく、エンジン5および配管10はいかなる適切な方法でも配置することができる。例えば、エンジン5は、ロータハブ11/共有構造ハブ98の上か下か側部に中心を外れていてもよく、そして配管10は、そこにチャネル10’に流動的に連結することができる1つ以上のチャネルを含む接続部材によって連結されてもよい。 The tubing 10 includes one or more channels 10' therein. As shown, the proximal end of the tubing 10 is coupled to the distal engine 5. For purposes of illustration, the embodiment of Figures 61-64 shows the engine 5 positioned flush with the tubing 10 and the common structural hub 98/rotor hub 11, such that the proximal end of the tubing 10 is directly coupled to the distal end of the engine 5. That configuration is not required, and the engine 5 and tubing 10 can be positioned in any suitable manner. For example, the engine 5 can be off-center above, below, or to the side of the rotor hub 11/common structural hub 98, and the tubing 10 can be coupled by a connecting member that includes one or more channels therein that can be fluidly coupled to the channel 10'.

さらに一般的に言えば、エンジン5は、任意の適切な方法で配管10に連結することができる。例えば、そして、図61~64に示すように、エンジン5は、示すように、カップラ120を介して配管10に連結することができる。一般に、カップラ120は、配管10をエンジン5に、例えば、回転接合、ガスシールまたはブレードグリップを介して、流動的に連結するように機能する。どの場合でも、カップラ120は、エンジン5および配管10のチャネル10'と流動的に連結するように構成された少なくとも1つのつながったチャネル(図示せず)を含むことができる。したがって、エンジン5によって生成される推力は、カップラ120のつながったチャネルを通してチャネル10'の中に流れることができる。実施形態において、カップラ120は、エンジンによって生成される推力がチャネル10'に伝達されるのを可能にするとともに、それでも配管10が、例えば関節動作可能なロータブレードと同じ方法で、軸の周りを旋回することができるようにする。その点で、カップラ120は、回転可能なジョイント、回転可能なガスシールまたは回転可能なブレードグリップの形であることができる。このような例では、配管10の配向は、示すように、コントロールアーム41または回転斜板40を介して制御することができる。 More generally, the engine 5 can be coupled to the piping 10 in any suitable manner. For example, and as shown in FIGS. 61-64, the engine 5 can be coupled to the piping 10 via a coupler 120, as shown. In general, the coupler 120 functions to fluidly couple the piping 10 to the engine 5, for example, via a rotary joint, a gas seal, or a blade grip. In any case, the coupler 120 can include at least one connected channel (not shown) configured to fluidly couple with the engine 5 and the channel 10' of the piping 10. Thus, thrust generated by the engine 5 can flow through the connected channel of the coupler 120 into the channel 10'. In an embodiment, the coupler 120 allows thrust generated by the engine to be transferred to the channel 10' while still allowing the piping 10 to pivot about an axis, for example, in the same manner as an articulating rotor blade. In that regard, the coupler 120 can be in the form of a rotatable joint, a rotatable gas seal, or a rotatable blade grip. In such an example, the orientation of the piping 10 can be controlled via a control arm 41 or a rotating swash plate 40, as shown.

配管10は、推力支持構造物が回転するにつれて、揚力を発生させることができるいかなる外部の形状も有することができる。説明を簡単かつ容易にするために、配管10は中空の楕円体の形で図61に例示されているが、当業者によって理解されるように、他のいかなる好適な形も用いることができる。実施形態において、配管10はその中に1つ以上のチャネル10'を有するエアフォイルの形であるが、あらゆる周知であるか今後開発されるロータブレード形状を使用することができる。実施形態において、配管10の外部の形状は、その部分が、推力支持構造物7がロータハブ11/共通構造ハブ98の軸の周りを回転するにつれて、大部分の揚力を生成するように構成されている。例えば、配管10の外部の形状は、配管10の外側の3分の1が揚力の大部分を提供するように構成することができる。このような実施形態では、配管の外部の形状は、先端ジェット駆動のSud-Ouest Djinnヘリコプタにおいて使用されるロータブレードの形状と同一であるか、類似していてもよい。 The tubing 10 can have any external shape capable of generating lift as the thrust support structure rotates. For simplicity and ease of explanation, the tubing 10 is illustrated in FIG. 61 in the form of a hollow ellipsoid, but any other suitable shape can be used, as will be understood by those skilled in the art. In an embodiment, the tubing 10 is in the form of an airfoil having one or more channels 10' therein, but any known or later developed rotor blade shape can be used. In an embodiment, the external shape of the tubing 10 is configured such that the portion generates the majority of the lift as the thrust support structure 7 rotates about the axis of the rotor hub 11/common structural hub 98. For example, the external shape of the tubing 10 can be configured such that the outer third of the tubing 10 provides the majority of the lift. In such an embodiment, the external shape of the tubing can be the same as or similar to the shape of the rotor blades used in the tip-jet-powered Sud-Ouest Djinn helicopter.

いずれの場合も、推力(例えば、排気、コンプレッサブリード空気等の形で)がチャネル10'を通して配管10の遠位端に向かって方向を定められるように、配管10はエンジン5に流動的に連結することができる。推力(空気流)は、推力支持構造物を回転させるような方法で、チャネル10'から出る方向に向けることができる。例えば、そして、図62に示すように(および、上の図56の記述と整合して)、推進システムは、推力支持構造物7と同じかまたは実質的に同じ平面である空気流を生成するように構成することができる。その目的のために、そして、図62に示すように、実施形態で、推進システムは、配管10の遠位端に連結する空気流ガイドベーンノズル100を含む。図56の記述と整合して、空気流ガイドベーンノズル100は、エンジン5によって作られて、チャネル10'の中を流れている空気流の方向を定めるように構成されている。図62の実施形態において、空気流ガイドベーンノズル100は、配管10'から、所望の、例えば、推力支持構造物7の平面に対して約90度の出口角へ空気流をリダイレクトする(向きを変える)ように構成されている静的ノズルである。例示した構成は例としてのためだけのもので、ガイドベーンノズル100は、エンジン5によってできる空気流をいかなる所望の出口角にもリダイレクトするように構成することができる。実施形態では、ガイドベーンノズル100および/またはその出口は、(例えば、図示していないが、1つ以上のモータによって)関節接続することができ、それにより、空気流出口角の動的制御を可能にする。出口角の制御を行って、空気流を望ましい角度にリダイレクトして、推力支持構造物7およびクラッチ6(用いられるとき)を動かすために推力を発生させることができる。例えば、ガイドベーンノズル100の使用によって、エンジン5によってできる空気流を、推力支持構造物7の平面に対して約0度から約180度以上までリダイレクトすることを可能にし得る。 In either case, the ducting 10 can be fluidly coupled to the engine 5 such that thrust (e.g., in the form of exhaust, compressor bleed air, etc.) is directed through the channel 10' toward the distal end of the ducting 10. The thrust (airflow) can be directed out of the channel 10' in such a manner as to rotate the thrust support structure. For example, and as shown in FIG. 62 (and consistent with the description of FIG. 56 above), the propulsion system can be configured to generate an airflow that is coplanar or substantially coplanar with the thrust support structure 7. To that end, and as shown in FIG. 62, in an embodiment, the propulsion system includes an airflow guide vane nozzle 100 coupled to the distal end of the ducting 10. Consistent with the description of FIG. 56, the airflow guide vane nozzle 100 is configured to direct the airflow produced by the engine 5 and flowing through the channel 10'. In the embodiment of FIG. 62, the airflow guide vane nozzle 100 is a static nozzle configured to redirect the airflow from the duct 10' to a desired exit angle, e.g., about 90 degrees relative to the plane of the thrust support structure 7. The illustrated configuration is by way of example only, and the guide vane nozzle 100 can be configured to redirect the airflow generated by the engine 5 to any desired exit angle. In an embodiment, the guide vane nozzle 100 and/or its exit can be articulated (e.g., by one or more motors, not shown), thereby allowing dynamic control of the airflow exit angle. Control of the exit angle can be performed to redirect the airflow to a desired angle to generate thrust for moving the thrust support structure 7 and clutch 6 (when used). For example, the use of the guide vane nozzle 100 can allow the airflow generated by the engine 5 to be redirected from about 0 degrees to about 180 degrees or more relative to the plane of the thrust support structure 7.

図63は、ロータブレードとして機能して、方向推力制御ができるようにする1つ以上の関節動作式ノズルを含む推力支持構造物を含んでいる推進システムの1つの実施例の側面図である。示すように、関節動作式ノズル96は、配管10の対応する先端に連結されて、チャネル10'から推力を受け取るように構成されている。ノズル96は、推力が流れる出口(別個にラベル付けしていない)をそれぞれ含む。ノズル96はそれらのそれぞれの出口を移動するかまたは再適合させるように(例えば、1つ以上の駆動モータによって)関節接続することができ、したがって、推力支持構造物7から出る空気の推力線(推力)の直接制御を可能にしている。図63に示される他のコンポーネントは、他の実施形態で説明されているので、簡潔にするためにここで再説明はしない。 63 is a side view of one example of a propulsion system including a thrust support structure including one or more articulating nozzles that function as rotor blades to provide directional thrust control. As shown, the articulating nozzles 96 are configured to couple to corresponding ends of the piping 10 and receive thrust from the channel 10'. The nozzles 96 each include an outlet (not separately labeled) through which thrust flows. The nozzles 96 can be articulated (e.g., by one or more drive motors) to move or realign their respective outlets, thus allowing direct control of the thrust line (thrust) of air exiting the thrust support structure 7. Other components shown in FIG. 63 have been described in other embodiments and will not be described again here for the sake of brevity.

図64は、本開示と整合した、ロータブレードとして機能する推力支持構造物を含む推進システムの別の実施形態を表す。図64のコンポーネントの多くのものの性質および機能は、図60に関連して上で説明されているので、簡潔にするために表していない。しかしながら、図60の実施形態とは異なり、図64の実施形態には、別個のロータブレード3が無く、その代わりに、配管10(またはさらに一般的には、推力支持構造物7)をロータブレードとして利用する。図63および64の実施形態も、それらがクラッチ6を含むという点で、図61および62の実施形態と異なる。クラッチ6の使用の説明は、ロータブレードとして機能する推力支持構造物の環境におけるその使用を示すために設けられているが、図61および62に示すように必須というわけではない。 64 depicts another embodiment of a propulsion system including a thrust support structure functioning as a rotor blade consistent with the present disclosure. The nature and function of many of the components of FIG. 64 are not depicted for the sake of brevity, as they have been described above in connection with FIG. 60. However, unlike the embodiment of FIG. 60, the embodiment of FIG. 64 does not have separate rotor blades 3, but instead utilizes tubing 10 (or more generally, thrust support structure 7) as rotor blades. The embodiments of FIGS. 63 and 64 also differ from the embodiments of FIGS. 61 and 62 in that they include a clutch 6. The description of the use of the clutch 6 is provided to illustrate its use in the context of a thrust support structure functioning as a rotor blade, but is not required to be as shown in FIGS. 61 and 62.

本開示と整合した推進システムの別の実施形態は、それぞれがロータブレードとしての働きをする1つ以上の推力支持構造物を含み、1つ以上の胴体搭載のエンジンからの空気流はロータシャフトを通して、そして、ロータブレードのうち1つ以上の内部のダクトを通してリダイレクトされる。このようなシステムは、図63、64に示して上で説明されたように、配管に連結された1つ以上のエンジンを含んでいる推力支持構造物の有無にかかわらず、使用することができる。いずれの場合も、1つ以上の推力ダイバータは、胴体搭載のエンジンの排気流の中に位置することができて、このことにより生成される空気流のフローを制御するように構成されている。より具体的には、推力ダイバータは、ロータシャフトに方向を定められて(向けられて)、1つ以上のロータブレード内部の配管に分配された胴体搭載のエンジンによって生成される空気流の量を制御するように構成されている。 Another embodiment of a propulsion system consistent with the present disclosure includes one or more thrust support structures, each of which serves as a rotor blade, where airflow from one or more fuselage-mounted engines is redirected through the rotor shaft and through ducts inside one or more of the rotor blades. Such a system can be used with or without the thrust support structure including one or more engines connected to ducting, as shown in FIGS. 63 and 64 and described above. In either case, one or more thrust diverters can be located in the exhaust flow of the fuselage-mounted engines and configured to control the flow of the airflow generated thereby. More specifically, the thrust diverters are oriented (pointed) toward the rotor shaft and configured to control the amount of airflow generated by the fuselage-mounted engines that is distributed to the ducting inside the one or more rotor blades.

垂直飛行の間、胴体搭載のエンジンによって生成される空気流のすべてまたは有意な部分は、推力ダイバータによってロータシャフトに向けられて、そして、(例えば、プレナムによって)1つ以上のロータブレードに方向を定めることができる。このように方向を定められた空気流は、その先端に近接した開口部を経てロータブレードを出ることができて、ロータの回転ブレードを加速するかまたは減速して、所望の量の揚力を生成する。前進飛行の間、推力ダイバータが作動して、空気流の相当量が推力ダイバータ(すなわち、ロータシャフトに変更されずに)の直接後方に出ることを可能にすることができ、そして、航空機の速度を上げる。特に、前進飛行の間、揚力のために必要とされるロータ電力はより少なく、エンジン推力の大部分を前方への推進のために利用することができる。 During vertical flight, all or a significant portion of the airflow generated by the fuselage-mounted engines may be directed by the thrust diverter to the rotor shaft and then directed (e.g., by a plenum) to one or more rotor blades. The airflow thus directed may exit the rotor blades through openings proximate their tips, accelerating or decelerating the rotor's rotating blades to generate a desired amount of lift. During forward flight, the thrust diverter may be activated to allow a substantial amount of the airflow to exit directly aft of the thrust diverter (i.e., undiverted to the rotor shaft), thus increasing the aircraft's speed. Notably, during forward flight, less rotor power is required for lift, and a majority of the engine thrust may be utilized for forward propulsion.

この概念を例示するために、本開示と整合した航空機推進システムの1つの実施例を表す図65Aおよび65Bを参照すると、1つ以上の胴体搭載のエンジンからの空気流の全部または一部は、一対の逆回転ロータブレード中の配管に向けられる。このようなシステムは、本明細書において、反動駆動システムと呼んでもよい。図65Aおよび65Bの実施形態において、エンジン5は、航空機胴体4に埋め込まれるかまたは外部に取り付けることができる。いずれの場合でも、推力ダイバータ117は、エンジン5の下流に、そして、ダイバータマニホールド118の中に配置することができる。概して、推力ダイバータ117は、エンジン5によって生成される空気流をリダイレクトするように構成されている。推力ダイバータ117の位置は、ロータブレード3に方向を定められて揚力を作り出し、および/または、ダイバータ117を過ぎて方向を定められて推進力を与える、エンジン5によって生成される空気流の相対量に影響を与えることができる。ロータブレード3に、または、それを過ぎて方向を定められる空気流の相対量は、垂直揚力生成、前進速度またはそれらの組み合わせを含む航空機の飛行特性に、直接影響を与えることができる。 To illustrate this concept, refer to FIGS. 65A and 65B, which depict one example of an aircraft propulsion system consistent with the present disclosure, where all or a portion of the airflow from one or more fuselage-mounted engines is directed into a duct in a pair of counter-rotating rotor blades. Such a system may be referred to herein as a reaction drive system. In the embodiment of FIGS. 65A and 65B, the engines 5 may be embedded in the aircraft fuselage 4 or may be externally mounted. In either case, the thrust diverter 117 may be located downstream of the engines 5 and in a diverter manifold 118. In general, the thrust diverter 117 is configured to redirect the airflow generated by the engines 5. The position of the thrust diverter 117 may affect the relative amount of airflow generated by the engines 5 that is directed into the rotor blades 3 to create lift and/or past the diverter 117 to provide thrust. The relative amount of airflow directed at or past the rotor blades 3 can directly affect the flight characteristics of the aircraft, including vertical lift production, forward speed, or a combination thereof.

このような実施形態では、胴体の中の空気流配管29は、空気がロータシャフト1に進路変更され得るように構成されている。ロータシャフト1に入る空気流は、プレナム14に送られて、それからプレナム14によってロータブレード3の中の配管に分配される。実施形態において、プレナム14はこのような空気流を均一に分配するように構成されている。しかしながら、このような構成が必須というわけではなく、プレナム14は個々のロータブレードへの空気流の分配のよりきめ細かい制御を可能にするために個々に制御可能でもよい。ロータブレード3に入る空気流は、先端の近くのロータブレード3を出ることができ、上述のように推力を発生させてロータブレード3を回転させる。航空機が垂直飛行に携わるときには、システムは図65(A)に示すように構成することができて、エンジン5からの大量の空気流は、ロータブレード3に向けられて垂直揚力を生成する。航空機が前進飛行に移行するときには、推力ダイバータ117を作動させて、ロータブレード3に方向を定められる空気流の量を減少させて、図65(B)の実施例に示すように、航空機の後方に方向を定められる空気流の量を増加させることができる。言い換えると、航空機が前進飛行へ移行する際、ロータブレード3向けられる空気流の量が減少するにつれて、後方に向かう空気流の量は増加し得る。このような場合には、ロータブレード3に向かう空気流の量を(推力ダイバータ117の作動によって)調整して、航空機の揚力、安定性および操縦性を維持することができる。 In such an embodiment, the airflow ducts 29 in the fuselage are configured to allow air to be diverted to the rotor shaft 1. Airflow entering the rotor shaft 1 is routed to the plenum 14 and then distributed by the plenum 14 to the ducts in the rotor blades 3. In an embodiment, the plenum 14 is configured to distribute such airflow evenly. However, such a configuration is not required and the plenum 14 may be individually controllable to allow finer control of the distribution of airflow to the individual rotor blades. The airflow entering the rotor blades 3 may exit the rotor blades 3 near their tips, generating thrust to rotate the rotor blades 3 as described above. When the aircraft is engaged in vertical flight, the system may be configured as shown in FIG. 65(A) where the bulk airflow from the engines 5 is directed to the rotor blades 3 to generate vertical lift. When the aircraft transitions to forward flight, the thrust diverter 117 may be actuated to reduce the amount of airflow directed toward the rotor blades 3 and increase the amount of airflow directed toward the rear of the aircraft, as shown in the embodiment of FIG. 65(B). In other words, as the aircraft transitions to forward flight, the amount of airflow directed toward the rotor blades 3 may decrease, while the amount of airflow directed toward the rear may increase. In such a case, the amount of airflow directed toward the rotor blades 3 may be adjusted (by actuation of the thrust diverter 117) to maintain the lift, stability, and controllability of the aircraft.

図66は、本開示と整合した航空機の別の実施形態を例示する。図65Aおよび65Bの航空機と同様で、図66の航空機は、エンジンから空気流を利用して、推力支持構造物(および、したがって、1つ以上のロータブレード)を回転させる。例えば、図66の実施形態で、静止している(すなわち回転していない)ロータシャフト1は、近位端で1つ以上のエンジン5に連結されて、空気流を受けるための1つ以上のチャネル(シャフトダクト)を含む。クラッチ6(例えば、封止クラッチ)は、その遠位端の近くで、ロータシャフト1を連結する。外側シャフト80は、ロータシャフト1周辺に配置され、クラッチ6とロータシャフト1の近位端の間に位置する。 66 illustrates another embodiment of an aircraft consistent with the present disclosure. Similar to the aircraft of FIGS. 65A and 65B, the aircraft of FIG. 66 utilizes airflow from an engine to rotate a thrust support structure (and thus one or more rotor blades). For example, in the embodiment of FIG. 66, a stationary (i.e., non-rotating) rotor shaft 1 is coupled at a proximal end to one or more engines 5 and includes one or more channels (shaft ducts) for receiving the airflow. A clutch 6 (e.g., a sealing clutch) couples the rotor shaft 1 near its distal end. An outer shaft 80 is disposed about the rotor shaft 1 and is located between the clutch 6 and the proximal end of the rotor shaft 1.

係合状態において、クラッチ6は外側シャフト80に連結されるが、分離状態では、クラッチ6は外側シャフト80から切り離される。さらに示すように、推力支持構造物7は、クラッチ6を介してロータシャフト1に連結されている。ロータシャフト1と同様に、本実施形態における推力支持構造物7は、空気流を受けるための少なくとも1つのチャネル(推力ダクト)を含む。加えて、推力支持構造物は、クラッチ6および/またはロータシャフト1の上方への伸張部に対してある角度(例えば、垂直な角度)で空気流の方向を定めるための少なくとも1つの出口(推力出口、ラベル表示無し)を含む。クラッチ6は、外側シャフト80を取り外し可能に係合する(および、分離する)ことができる、限定するものではないが、図19および20に関連して上で図と共に説明されているるクラッチなどの、いかなる適切なクラッチであってもよい。勿論、他のクラッチのタイプおよび構造も用いることができる。 In the engaged state, the clutch 6 is coupled to the outer shaft 80, while in the disengaged state, the clutch 6 is disengaged from the outer shaft 80. As further shown, the thrust support structure 7 is coupled to the rotor shaft 1 via the clutch 6. Like the rotor shaft 1, the thrust support structure 7 in this embodiment includes at least one channel (thrust duct) for receiving airflow. In addition, the thrust support structure includes at least one outlet (thrust outlet, not labeled) for directing airflow at an angle (e.g., perpendicular) to the clutch 6 and/or the upward extension of the rotor shaft 1. The clutch 6 may be any suitable clutch capable of releasably engaging (and disengaging) the outer shaft 80, such as, but not limited to, the clutch illustrated and described above in connection with FIGS. 19 and 20. Of course, other clutch types and configurations may be used.

理解を容易にするために、図66の航空機の動作をここで説明するが、クラッチ6は、図19および20に関連して上で図と共に説明したクラッチと同じであるか類似の構造を備えている。このような例では、エンジン5の動作は、ロータシャフト1の中の入口開口部に方向を定められた空気流(矢印によって示す)を生成する。入口開口部を通過している空気流は、ロータシャフト1の1つ以上のロータダクト内に流入してその遠位端へ向かう。ロータシャフト1の遠位端に近接して、少なくとも空気流の一部は、ロータダクトから推力支持構造物7の中の1つ以上の入口開口部に流れる。例示された実施形態において、推力支持構造物7は少なくとも2つの入口開口部を含み、それぞれがその反対側の中の対応する推力チャネルに通じている。 For ease of understanding, the operation of the aircraft of FIG. 66 will now be described, with the clutch 6 having the same or similar structure as the clutch described above in conjunction with FIGS. 19 and 20. In such an example, the operation of the engine 5 generates an airflow (indicated by the arrows) directed to an inlet opening in the rotor shaft 1. The airflow passing through the inlet opening flows into one or more rotor ducts of the rotor shaft 1 toward its distal end. Proximate the distal end of the rotor shaft 1, at least a portion of the airflow flows from the rotor ducts to one or more inlet openings in the thrust support structure 7. In the illustrated embodiment, the thrust support structure 7 includes at least two inlet openings, each leading to a corresponding thrust channel in its opposite side.

入口開口部を通過している空気流は、対応する推力チャネル内に流入して推力支持構造物7の両側の遠位端に向かう。推力チャネルの中の空気流は、示すように、1つ以上の出口開口部を経て最終的に推力支持構造物7を出る。例示の実施形態において、推力支持構造物7はその2つの遠位端のそれぞれに単一の出口開口部を含むが、いかなる適切な数(例えば、2、3、4、5、10など)の出口開口部も使うことができて、このような開口部が推力支持構造物7に沿ったいかなる適切な位置または位置の組合せにも置くことができることを理解すべきである。さらに、推力支持構造物7は、2つの遠位端に限られておらず、いかなる適切な数(例えば、3、4、5、10など)の遠位端も含むことができる。 Airflow passing through the inlet openings flows into corresponding thrust channels toward opposite distal ends of the thrust support structure 7. The airflow in the thrust channels ultimately exits the thrust support structure 7 through one or more outlet openings, as shown. In the illustrated embodiment, the thrust support structure 7 includes a single outlet opening at each of its two distal ends, but it should be understood that any suitable number of outlet openings (e.g., 2, 3, 4, 5, 10, etc.) can be used and such openings can be located at any suitable location or combination of locations along the thrust support structure 7. Furthermore, the thrust support structure 7 is not limited to two distal ends, but can include any suitable number of distal ends (e.g., 3, 4, 5, 10, etc.).

いずれの場合も、出口開口部は、それが所望の出口角で推力支持構造物7を出るように空気流の方向を定めるように構成することができる。実施形態において、出口開口部は、出口角がクラッチ6および/またはロータシャフト1の上方への突出部分に対して垂直であるか実質的に垂直なように空気流の方向を定めるように構成されている。あるいは、または、加えて、実施形態におて、出口開口部は、クラッチ6および/またはロータシャフト1の上方への伸張位置に対して、空気流出口が0度を超えて180度までの範囲の角度、例えば0を超えて120度まで、または0度を超えて90度までの範囲の角度でさえ、推力支持構造物7を出るように、構成されている。実施形態において、出口角は固定することができるが、他の実施形態では、出口角は可変的でもよい。後者の例では、出口開口部は、図51、56、62、63に関連して前に説明したように、空気流が望ましい角度で推力支持構造物7を出るように移動させることができる関節動作式ノズルの形であるかまたはそれらを含むことができる。 In either case, the outlet opening can be configured to direct the airflow so that it exits the thrust support structure 7 at a desired exit angle. In an embodiment, the outlet opening is configured to direct the airflow so that the exit angle is perpendicular or substantially perpendicular to the upwardly extended portion of the clutch 6 and/or rotor shaft 1. Alternatively, or in addition, in an embodiment, the outlet opening is configured so that the airflow exits the thrust support structure 7 at an angle ranging from 0 degrees to 180 degrees, such as from 0 degrees to 120 degrees, or even from 0 degrees to 90 degrees, relative to the upwardly extended position of the clutch 6 and/or rotor shaft 1. In an embodiment, the exit angle can be fixed, while in other embodiments the exit angle can be variable. In the latter example, the outlet opening can be in the form of or include an articulating nozzle that can be moved so that the airflow exits the thrust support structure 7 at a desired angle, as previously described in connection with Figures 51, 56, 62, and 63.

いずれの場合でも、少なくとも1つの出口開口部を通る空気流は、図66の曲がった矢印で示すように、推力支持構造物7を回転させる。推力支持構造物7の回転によって生成されるトルクはクラッチ6に伝えられて、クラッチ6を外側シャフト80に係合させる。例えば、クラッチ6に与えられるトルクは、クラッチ可動ベアリング52が、クラッチ外側ケースの傾斜に沿って、クラッチ可動ベアリング52が傾斜の表面およびクラッチ内側レース114(前の実施形態の文脈における内側レース114のロータシャフト1との係合と同様に外側シャフト80に連結されている -図19及び20を参照)の表面に係合するまで、登らせることができる。クラッチ6がそのように係合するときに、推力支持構造物7の回転によって与えられるトルクは、外側シャフト80にクラッチ6を介して(または、より詳しくは、内側レース114を介して)伝えられて、図66に示すように外側シャフト80を回転させる。外側シャフト80の回転が次にロータブレード3の回転を引き起こす。他の実施形態に関連して上記のとおり、支持ベアリング2は、胴体4からロータブレード3および外側シャフト80の回転によって生成されるトルクを分離するように機能する。 In either case, the airflow through at least one outlet opening rotates the thrust support structure 7, as shown by the curved arrow in FIG. 66. The torque generated by the rotation of the thrust support structure 7 is transmitted to the clutch 6, engaging the clutch 6 with the outer shaft 80. For example, the torque applied to the clutch 6 can cause the clutch mobile bearing 52 to climb along the incline of the clutch outer case until the clutch mobile bearing 52 engages with the surface of the incline and with the surface of the clutch inner race 114 (which is connected to the outer shaft 80 in a manner similar to the engagement of the inner race 114 with the rotor shaft 1 in the context of the previous embodiment - see FIGS. 19 and 20). When the clutch 6 is so engaged, the torque applied by the rotation of the thrust support structure 7 is transmitted to the outer shaft 80 through the clutch 6 (or, more specifically, through the inner race 114), rotating the outer shaft 80 as shown in FIG. 66. The rotation of the outer shaft 80 in turn causes the rotor blades 3 to rotate. As described above in connection with other embodiments, the support bearings 2 function to decouple the torque generated by the rotation of the rotor blades 3 and outer shaft 80 from the fuselage 4.

クラッチ6(または、より詳しくは外側ケース58)の回転運動量が存在しないか、または減少していると、クラッチ外側ケース58は外側シャフト80に対するその関係において減速し始める。クラッチ可動ベアリング52は、それらの運動量および遠心力のため、クラッチ内側レース114(繰り返すが、外側シャフト80に取り付けられている)から遠ざかりそれの把持を緩め、したがって外側シャフト80をクラッチ外側ケース58から切り離して、外側シャフト80がラッチ6に関して自由に回転することを可能にする。また、外側シャフト80の速度がクラッチ6の回転速度より大きいときに、クラッチ6は外側シャフト80から分離される。クラッチ6の分離状態によって、外側シャフト80が自由に回転することができ、推力支持構造物7および動力システムからのいかなる誘導抗力もなく自動回転することができる。また、自動回転の間、外側シャフト80の速度がクラッチ6の回転速度以下であるいかなる時も、動力システムの保存された慣性は、外側シャフト80へ伝達される。その状態において、動力システム慣性の伝達は、航空機の自動回転のために必要とされる安全な角度まで総体的な傾斜を下げるためにより多くの時間を提供することができる。 When the rotational momentum of the clutch 6 (or, more specifically, the outer case 58) is absent or reduced, the clutch outer case 58 begins to decelerate in its relationship to the outer shaft 80. The clutch moving bearings 52, due to their momentum and centrifugal force, move away from and loosen their grip on the clutch inner race 114 (which, again, is attached to the outer shaft 80), thus disengaging the outer shaft 80 from the clutch outer case 58 and allowing the outer shaft 80 to rotate freely with respect to the latch 6. Also, the clutch 6 is disengaged from the outer shaft 80 when the speed of the outer shaft 80 is greater than the rotational speed of the clutch 6. The disengaged state of the clutch 6 allows the outer shaft 80 to rotate freely and to self-rotate without any induced drag from the thrust support structure 7 and the power system. Also, during self-rotation, the preserved inertia of the power system is transferred to the outer shaft 80 at any time when the speed of the outer shaft 80 is equal to or less than the rotational speed of the clutch 6. In that condition, the transfer of power system inertia can provide more time to reduce the overall pitch to the safe angle required for the aircraft to autorotate.

以下の実施例は、本開示の追加の非限定的な実施形態である。 The following examples are additional non-limiting embodiments of the present disclosure.

実施例1:本実施例によれば、胴体と、前記胴体に連結された支持ベアリングと、支持ベアリングによって胴体に取り付けられたロータシャフトであって、前記ロータシャフトは前記ロータシャフトを通って伸びている第1軸のまわりを回転することができ、前記支持ベアリングは常に前記ロータシャフトが前記第1軸のまわりを前記胴体に対して回転することを可能にする、ロータシャフトと、前記ロータシャフトに連結されたロータブレードであって、前記ロータシャフトの回転は前記ロータブレードに第1軸のまわりを回転させる、ロータブレードと、前記ロータシャフトに連結された推力支持構造物と、前記胴体または前記推力支持構造物に連結されたエンジンとを含み、作動中に、前記エンジンは前記推力支持構造物に前記第1軸のまわりを回転させ、前記推力支持構造物の回転は前記ロータシャフトに前記第1軸のまわりを回転させ、それは次に前記ロータブレードに前記第1軸のまわりを回転させ、前記支持ベアリングは前記胴体を少なくとも前記ロータブレードの回転によって生成したトルクから分離する、航空機が提供される。 Example 1: According to this example, an aircraft is provided that includes a fuselage, a support bearing connected to the fuselage, a rotor shaft attached to the fuselage by the support bearing, the rotor shaft being capable of rotating about a first axis extending through the rotor shaft, the support bearings allowing the rotor shaft to rotate relative to the fuselage about the first axis at all times, a rotor shaft, rotor blades connected to the rotor shaft, the rotation of the rotor shaft causing the rotor blades to rotate about the first axis, a thrust support structure connected to the rotor shaft, and an engine connected to the fuselage or the thrust support structure, in operation, the engine causes the thrust support structure to rotate about the first axis, the rotation of the thrust support structure causes the rotor shaft to rotate about the first axis, which in turn causes the rotor blades to rotate about the first axis, and the support bearings isolate the fuselage from at least the torque generated by the rotation of the rotor blades.

実施例2:本実施例は、実施例1のいずれかまたはすべての前記機能を含み、さらに前記ロータシャフトに連結されたクラッチまたは前記ロータシャフトに連結されたロータハブを含み、前記クラッチには係合状態および分離状態がある。 Example 2: This example includes any or all of the features of Example 1, and further includes a clutch coupled to the rotor shaft or a rotor hub coupled to the rotor shaft, the clutch having an engaged state and a disengaged state.

実施例3:本実施例は、実施例2のいずれかまたはすべての前記機能を含み、作動中に、前記エンジンは前記推力支持構造物に前記ロータシャフトの第2回転速度以上である第1回転速度で前記第1軸のまわりを回転させ、前記クラッチに前記係合状態に入らせて前記ロータシャフトを把持させる。 Example 3: This example includes any or all of the features of Example 2, and during operation, the engine causes the thrust support structure to rotate about the first axis at a first rotational speed that is greater than or equal to the second rotational speed of the rotor shaft, causing the clutch to enter the engaged state and grip the rotor shaft.

実施例4:本実施例は、実施例3のいずれかまたはすべての前記機能を含み、前記第1回転速度が前記第2回転速度未満であるときに、前記クラッチは前記分離状態に入るかまたは前記分離状態である。 Example 4: This example includes any or all of the features of Example 3, and the clutch enters or is in the disengaged state when the first rotational speed is less than the second rotational speed.

実施例5:本実施例は、実施例2のいずれかまたはすべての前記機能を含み、前記クラッチがクラッチ外側ケース、前記ロータシャフトに連結されたクラッチ内側レースおよびクラッチ可動ベアリングを含み、前記クラッチ外側ケースが傾斜および空洞を含み、前記係合状態において、前記クラッチ可動ベアリングは、前記傾斜および前記クラッチ内側レースの両方の間に配置されて接触し、それにより、前記クラッチ外側ケースと前記クラッチ内側レースを係合し、前記分離状態において、前記クラッチ可動ベアリングは、前記空洞内に配置されており、前記クラッチ外側ケースと接触しているだけである。 Example 5: This example includes any or all of the features of Example 2, and further includes the clutch including a clutch outer case, a clutch inner race connected to the rotor shaft, and a clutch movable bearing, the clutch outer case including a ramp and a cavity, and in the engaged state, the clutch movable bearing is disposed between and in contact with both the ramp and the clutch inner race, thereby engaging the clutch outer case and the clutch inner race, and in the disengaged state, the clutch movable bearing is disposed within the cavity and only in contact with the clutch outer case.

実施例6:本実施例は、実施例2のいずれかまたはすべての前記機能を含み、前記クラッチが前記ロータシャフトに連結されている。 Example 6: This example includes any or all of the features of Example 2, and the clutch is coupled to the rotor shaft.

実施例7:本実施例は、実施例2のいずれかまたはすべての前記機能を含み、前記クラッチが前記ロータハブに連結されている。 Example 7: This example includes any or all of the features of Example 2, and the clutch is coupled to the rotor hub.

実施例8:本実施例は、実施例1から7のいずれかの、いずれかまたはすべての前記機能を含み、前記支持ベアリングが、内側および外側レースケージを有するベアリングハウジングと内側および外側レースケージの間の少なくとも1つのベアリングとを含み、前記ロータシャフトが、前記胴体の中に、そして、前記支持ベアリングの中に伸びている。 Example 8: This example includes any or all of the features of any of examples 1-7, wherein the support bearing includes a bearing housing having inner and outer race cages and at least one bearing between the inner and outer race cages, and the rotor shaft extends into the fuselage and into the support bearing.

実施例9:本実施例は、実施例8のいずれかまたはすべての前記機能を含み、さらにベアリング支持構造を含み、前記支持ベアリングは前記ベアリング支持構造に連結されており、前記ベアリング支持構造は前記胴体に連結されている。 Example 9: This example includes any or all of the features of example 8, and further includes a bearing support structure, the support bearing is coupled to the bearing support structure, and the bearing support structure is coupled to the fuselage.

実施例10:本実施例は、実施例9のいずれかまたはすべての前記機能を含み、前記ロータシャフトが前記支持ベアリングおよび前記ベアリング支持構造のみによって前記胴体に連結されている。 Example 10: This example includes any or all of the features of Example 9, and the rotor shaft is connected to the fuselage only by the support bearing and the bearing support structure.

実施例11:本実施例は、実施例1から10のいずれかの、いずれかまたはすべての前記機能を含み、前記エンジンが前記推力支持構造物に連結されている。 Example 11: This example includes any or all of the features of any of Examples 1 to 10, and the engine is coupled to the thrust support structure.

実施例12:本実施例は、実施例11のいずれかまたはすべての前記機能を含み、前記推力支持構造物が、前記ロータシャフトに連結された近位部分及び前記エンジンに連結された遠位部分を含む。 Example 12: This example includes any or all of the features of example 11, and the thrust support structure includes a proximal portion coupled to the rotor shaft and a distal portion coupled to the engine.

実施例13:本実施例は、実施例1から12のいずれか1つの、いずれかまたはすべての機能を含み、前記エンジンによって生成される空気流の形(気流状、気流の形態)の推力は、ロータブレードの上に、ロータブレードの下に、または、ロータブレードの上下に水平に伸びている推力線に全般的に沿って方向を定められる。 Example 13: This example includes any or all of the features of any one of examples 1 to 12, wherein the thrust in the form of an airflow generated by the engine is directed generally along thrust lines that extend horizontally above, below, or above and below the rotor blades.

実施例14:本実施例は、実施例13のいずれかまたはすべての前記機能を含み、前記空気流が前記ロータブレードの上の渦の前記形成を阻害する。 Example 14: This example includes any or all of the features of example 13, and the airflow inhibits the formation of vortices above the rotor blades.

実施例15:本実施例は、実施例1から14のいずれか1つの、いずれかまたはすべての前記機能を含み、さらに方位制御装置を含む。 Example 15: This example includes any or all of the features of any one of Examples 1 to 14, and further includes a heading control device.

実施例16:本実施例は、実施例15のいずれかまたはすべての前記機能を含み、前記方位制御装置がモータシャフトを含む電動可逆モータを含み、前記モータシャフトは前記ロータシャフトである。 Example 16: This example includes any or all of the features of example 15, and the orientation control device includes an electric reversible motor including a motor shaft, the motor shaft being the rotor shaft.

実施例17:本実施例は、実施例16のいずれかまたはすべての前記機能を含み、前記方位制御装置がロータおよびステータを含み、前記ステータが通電されると、力が前記回転マグネットに印加され、それは次に、前記胴体を前記第1軸のまわりに回転させる力を前記胴体に与える。 Example 17: This example includes any or all of the features of example 16, wherein the orientation control device includes a rotor and a stator, and when the stator is energized, a force is applied to the rotating magnet, which in turn provides a force to the fuselage that rotates the fuselage about the first axis.

実施例18:本実施例は、実施例17のいずれかまたはすべての前記機能を含み、前記方位制御装置が前記ロータシャフトに連結されているスペーサを含み、前記回転マグネットが前記スペーサに連結されており、前記ステータが前記胴体に連結されている。 Example 18: This example includes any or all of the features of example 17, wherein the orientation control device includes a spacer coupled to the rotor shaft, the rotating magnet is coupled to the spacer, and the stator is coupled to the fuselage.

実施例19:本実施例は、実施例15のいずれかまたはすべての前記機能を含み、前記方位制御装置がラダーを含む。 Example 19: This example includes any or all of the features of example 15, and the heading control device includes a rudder.

実施例20:本実施例は、実施例16のいずれかまたはすべての前記機能を含み、前記航空機にはテールが無い。 Example 20: This example includes any or all of the features of example 16, and the aircraft does not have a tail.

実施例21:本実施例は、実施例1から20のいずれか1つの、いずれかまたはすべての前記機能を含み、前記ロータシャフトが前記胴体に対して第1位置と第2位置の間で移動可能である。 Example 21: This example includes any or all of the features of any one of examples 1 to 20, wherein the rotor shaft is movable between a first position and a second position relative to the fuselage.

実施例22:本実施例は、実施例21のいずれかまたはすべての前記機能を含み、前記第1位置の前記ロータシャフトと前記第2位置の前記ロータシャフトの間の角度が定められ、前記角度は約90度以下である。 Example 22: This example includes any or all of the features of example 21, and further includes defining an angle between the rotor shaft in the first position and the rotor shaft in the second position, the angle being less than or equal to about 90 degrees.

実施例23:本実施例は、実施例21のいずれかまたはすべての前記機能を含み、前記胴体に連結されたピボットをさらに含み、前記ロータシャフトが前記ピボットに連結されており、前記ピボットが第2軸のまわりを回転可能であり、前記第2軸のまわりの前記ピボットの回転は、前記ロータシャフトに前記第1位置と前記第2位置の間で移動させる。 Example 23: This example includes any or all of the features of example 21, and further includes a pivot coupled to the fuselage, the rotor shaft coupled to the pivot, the pivot rotatable about a second axis, and rotation of the pivot about the second axis causes the rotor shaft to move between the first position and the second position.

実施例24:本実施例は、実施例23のいずれかまたはすべての前記機能を含み、角度は、前記ピボットに対して、前記第1位置の前記ロータシャフトおよび前記第2位置の前記ロータシャフトによって定められ、前記角度は約90度以下である。 Example 24: This example includes any or all of the features of example 23, wherein an angle is subtended by the rotor shaft in the first position and the rotor shaft in the second position relative to the pivot, the angle being less than or equal to about 90 degrees.

実施例25:本実施例は、実施例21のいずれかまたはすべての前記機能を含み、さらに、前記胴体の前記外側に連結されたフレームレールガイドと、前記フレームレールガイドに連結されたロータシステムカートハウジングとを含み、前記ロータシャフトが前記ロータシステムカートハウジングに連結されており、前記ロータシステムカートハウジングは、前記ロータシャフトに前記第1位置から前記第2位置へ移動するようにさせるために、前記フレームレールガイドに沿って移動するように構成されており、逆もまた同じである。 Example 25: This example includes any or all of the features of example 21, and further includes a frame rail guide coupled to the exterior of the fuselage, and a rotor system cart housing coupled to the frame rail guide, the rotor shaft coupled to the rotor system cart housing, and the rotor system cart housing configured to move along the frame rail guide to cause the rotor shaft to move from the first position to the second position, and vice versa.

実施例26:本実施例は、実施例2のいずれかまたはすべての前記機能を含み、前記胴体が内部体積を定めて、少なくとも1つの胴体構造部材を含み、前記航空機が、前記支持ベアリングと前記胴体構造部材の間に減衰要素をさらに含む。 Example 26: This example includes any or all of the features of example 2, wherein the fuselage defines an interior volume and includes at least one fuselage structural member, and the aircraft further includes a damping element between the support bearing and the fuselage structural member.

実施例27:本実施例は、実施例26のいずれかまたはすべての前記機能を含み、前記減衰要素が能動的減衰要素または受動的減衰要素である。 Example 27: This example includes any or all of the features of Example 26, where the damping element is an active damping element or a passive damping element.

実施例28:本実施例は、実施例27のいずれかまたはすべての前記機能を含み、前記減衰要素が受動的減衰要素であり、前記受動的減衰要素はガス緩衝器、液体緩衝器、機械的緩衝器またはそれらの組み合わせである。 Example 28: This example includes any or all of the features of Example 27, and wherein the damping element is a passive damping element, and the passive damping element is a gas shock absorber, a liquid shock absorber, a mechanical shock absorber, or a combination thereof.

実施例29:本実施例は、実施例28のいずれかまたはすべての前記機能を含み、前記減衰要素がガスストラット、液体ストラット、減衰ばね、弾性物質またはそれらの組み合わせを含む。 Example 29: This example includes any or all of the features of example 28, and the damping element includes a gas strut, a liquid strut, a damping spring, an elastic material, or a combination thereof.

実施例30:本実施例は、実施例27のいずれかまたはすべての前記機能を含み、前記減衰要素が能動的減衰要素である。 Example 30: This example includes any or all of the features of example 27, and the damping element is an active damping element.

実施例31:本実施例は、実施例30のいずれかまたはすべての前記機能を含み、前記能動的減衰要素が、前記ロータブレード、前記推力支持構造物またはそれらの組み合わせによって生じる調和振動数または振動と一致するかまたは相殺するように構成されている。 Example 31: This example includes any or all of the features of example 30, and wherein the active damping element is configured to match or cancel harmonic frequencies or vibrations caused by the rotor blades, the thrust support structure, or a combination thereof.

実施例32:本実施例は、実施例1から31のいずれか1つの、いずれかまたはすべての前記機能を含み、前記ロータブレードが固定長または可変長を有する。 Example 32: This example includes any or all of the features of any one of examples 1 to 31, wherein the rotor blades have a fixed length or a variable length.

実施例33:本実施例は、実施例32のいずれかまたはすべての前記機能を含み、前記ロータブレードが可変長を有する。 Example 33: This example includes any or all of the features of example 32, and the rotor blades have a variable length.

実施例34:本実施例は、実施例32のいずれかまたはすべての前記機能を含み、モータを含むブレードグリップをさらに含み、前記ブレードグリップは前記ロータブレードに連結されており、前記モータの動作は前記ロータブレードの長さを変化させる。 Example 34: This example includes any or all of the features of example 32, and further includes a blade grip including a motor, the blade grip coupled to the rotor blade, and operation of the motor changes the length of the rotor blade.

実施例35:本実施例は、実施例1から34のいずれか1つの、いずれかまたはすべての前記機能を含み、前記推力支持構造物が少なくとも1つのダクトおよび開口部を含む遠位端を含み、前記少なくとも1つのダクトは前記エンジンによって生成される推力空気流を受けて、前記空気流を前記開口部に伝達するようになっている。 Example 35: This example includes any or all of the features of any one of examples 1 to 34, wherein the thrust support structure includes a distal end including at least one duct and an opening, the at least one duct adapted to receive a thrust airflow generated by the engine and transmit the airflow to the opening.

実施例36:本実施例は、実施例35のいずれかまたはすべての前記機能を含み、前記推力空気流は、第1温度T1を有し、前記エンジンは第2温度T2を有するコンプレッサブリード空気流(圧縮されたブリード空気流)を作り出すようにさらに構成されており、T2はT1未満であり、前記少なくとも1つのダクトは前記コンプレッサブリード空気流を受けるようにさらに構成されており、その結果作動中に、前記コンプレッサブリード空気流は前記推力空気流に注入されて温度T3を有する混合空気流を作り出し、T2はT1未満である。 Example 36: This example includes any or all of the features of example 35, wherein the thrust airflow has a first temperature T1, the engine is further configured to produce a compressor bleed airflow (compressed bleed airflow) having a second temperature T2, T2 being less than T1, and the at least one duct is further configured to receive the compressor bleed airflow, such that during operation, the compressor bleed airflow is injected into the thrust airflow to produce a mixed airflow having a temperature T3, T2 being less than T1.

実施例37:本実施例は、実施例35のいずれかまたはすべての前記機能を含み、前記推力空気流は、第1温度T1を有し、前記エンジンは第2温度T2を有するコンプレッサブリード空気流を作り出すようにさらに構成されており、T2はT1未満であり、前記少なくとも1つのダクトは前記コンプレッサブリード空気流を受けるようにさらに構成されており、その結果作動中に、前記コンプレッサブリード空気流は、前記推力空気流の周りに方向を定められる。 Example 37: This example includes any or all of the features of example 35, wherein the thrust airflow has a first temperature T1, the engine is further configured to produce a compressor bleed airflow having a second temperature T2, T2 being less than T1, and the at least one duct is further configured to receive the compressor bleed airflow, such that during operation, the compressor bleed airflow is directed about the thrust airflow.

実施例38:本実施例は、実施例1から37のいずれか1つの、いずれかまたはすべての前記機能を含み、前記推力支持構造物がエアフォイル形状を有する。 Example 38: This example includes any or all of the features of any one of examples 1 to 37, and the thrust support structure has an airfoil shape.

実施例39:本実施例は、実施例1から38のいずれか1つの、いずれかまたはすべての前記機能を含み、前記推力支持構造物の周りに配置されたエアフォイル形状の整流板をさらに含む。 Example 39: This example includes any or all of the features of any one of Examples 1 to 38, and further includes an airfoil-shaped fairing disposed about the thrust support structure.

実施例40:本実施例は、実施例39のいずれかまたはすべての前記機能を含み、前記エアフォイル形状の整流板に連結された整流板位置決めモータをさらに含み、前記整流板位置決めモータは前記エアフォイル形状の整流板の方向を変えるように動作可能である。 Example 40: This example includes any or all of the features of example 39, and further includes a vane positioning motor coupled to the airfoil-shaped vane, the vane positioning motor operable to change the orientation of the airfoil-shaped vane.

実施例41:本実施例は、実施例1のいずれかまたはすべての前記機能を含み、前記推力支持構造物が、第1開口部を含む遠位端および少なくとも1つのダクトを含み、前記エンジンが前記推力支持構造物に連結されるかまたは組み込まれており、作動中に、前記エンジンによって生成された空気流は、前記少なくとも1つのダクトを通って、そして、前記推力支持構造物の前記第1開口部を通って導かれる。 Example 41: This example includes any or all of the features of example 1, wherein the thrust support structure includes a distal end including a first opening and at least one duct, the engine is coupled to or incorporated into the thrust support structure, and during operation, airflow generated by the engine is directed through the at least one duct and through the first opening of the thrust support structure.

実施例42:本実施例は、実施例41のいずれかまたはすべての前記機能を含み、前記第1開口部と流体連通しているノズルをさらに含み、前記ノズルは第1開口部を通過している空気流を受けてリダイレクトするように構成されている。 Example 42: This example includes any or all of the features of example 41, and further includes a nozzle in fluid communication with the first opening, the nozzle configured to receive and redirect airflow passing through the first opening.

実施例43:本実施例は、実施例42のいずれかまたはすべての前記機能を含み、前記ノズルが出口を含み、前記第1開口部を通過している空気流は前記ノズルを通って、そして、前記出口を通って流れ、前記ノズルは、少なくとも第1ノズル位置および第2ノズル位置の間で関節動作するように構成されており、前記第1ノズル位置の前記出口の方向は前記第2ノズル位置の前記出口の方向とは異なる。 Example 43: This example includes any or all of the features of example 42, wherein the nozzle includes an outlet, air flow passing through the first opening flows through the nozzle and through the outlet, and the nozzle is configured to articulate between at least a first nozzle position and a second nozzle position, and a direction of the outlet at the first nozzle position is different from a direction of the outlet at the second nozzle position.

実施例44:本実施例は、実施例43のいずれかまたはすべての前記機能を含み、前記ノズルに連結された駆動モータをさらに含み、前記駆動モータは少なくとも前記第1ノズル位置および前記第2ノズル位置の間で前記ノズルを関節動作させるように動作可能である。 Example 44: This example includes any or all of the features of example 43, and further includes a drive motor coupled to the nozzle, the drive motor operable to articulate the nozzle between at least the first nozzle position and the second nozzle position.

実施例45:本実施例は、実施例1から44のいずれか1つの、いずれかまたはすべての前記機能を含み、前記ロータシャフトは第1シャフトおよび第2シャフトを含み、前記第1シャフトは前記第2シャフトのルーメン内に配置されており、前記推力支持構造物が、前記第1シャフトに連結されており、前記航空機は、前記第2シャフトが前記第1シャフトに連結されている係合状態と、前記第2シャフトが前記第1シャフトから切り離されている分離状態とを有するクラッチをさらに含み、作動中に、前記第1軸のまわりの前記推力支持構造物の回転が前記クラッチを前記係合状態に入らせ、それは次に前記第2シャフトおよび前記ロータブレードを第1軸のまわりで回転させる。 Example 45: This example includes any or all of the features of any one of examples 1 to 44, wherein the rotor shaft includes a first shaft and a second shaft, the first shaft is disposed within a lumen of the second shaft, the thrust support structure is coupled to the first shaft, and the aircraft further includes a clutch having an engaged state in which the second shaft is coupled to the first shaft and a disengaged state in which the second shaft is disengaged from the first shaft, and during operation, rotation of the thrust support structure about the first axis causes the clutch to enter the engaged state, which in turn rotates the second shaft and the rotor blades about the first axis.

実施例46:本実施例は、実施例45のいずれかまたはすべての前記機能を含み、前記航空機は、前記第2シャフトに連結された第1ロータブレードおよび前記第1ロータブレードの上の前記第2シャフトに連結された第2ロータブレードを含み、前記第1および第2ロータブレードのそれぞれは前記第1軸のまわりを回転するように構成されており、作動中に、前記第1軸のまわりの前記推力支持構造物の回転は前記クラッチを前記係合状態に入らせ、それは次に前記第2シャフトならびに前記第1および2ロータブレードを前記第1軸のまわりに回転させる。 Example 46: This example includes any or all of the features of example 45, wherein the aircraft includes a first rotor blade coupled to the second shaft and a second rotor blade coupled to the second shaft above the first rotor blade, each of the first and second rotor blades configured to rotate about the first axis, and during operation, rotation of the thrust support structure about the first axis causes the clutch to enter the engaged state, which in turn rotates the second shaft and the first and second rotor blades about the first axis.

実施例47:本実施例は、実施例45のいずれかまたはすべての前記機能を含み、第3シャフトをさらに含み、前記第2シャフトが前記第3シャフトのルーメン内に配置されており、前記第3シャフトは前記胴体に連結されており回転せず、少なくとも1つの同心のベアリングが前記第2シャフトと前記第3シャフトの間に配置されており、前記第2シャフトを前記第3シャフトから分離している。 Example 47: This example includes any or all of the features of example 45, and further includes a third shaft, the second shaft is disposed within a lumen of the third shaft, the third shaft is coupled to the body and does not rotate, and at least one concentric bearing is disposed between the second shaft and the third shaft to separate the second shaft from the third shaft.

実施例48:本実施例は、実施例1から47のいずれか1つの、いずれかまたはすべての前記機能を含み、前記航空機の飛行の間水平推力を提供するためのスラスタをさらに含む。 Example 48: This example includes any or all of the features of any one of examples 1 to 47, and further includes a thruster for providing horizontal thrust during flight of the aircraft.

実施例49:本実施例は、実施例48のいずれかまたはすべての前記機能を含み、前記スラスタが、前記第1軸に対して直角である第2軸のまわりを回転するように構成されている第2ロータブレードを含む。 Example 49: This example includes any or all of the features of example 48, and further includes a second rotor blade configured to rotate about a second axis, the second axis being perpendicular to the first axis, the thruster.

実施例50:本実施例は、実施例45のいずれかまたはすべての前記機能を含み、前記航空機の飛行の間水平推力を提供するためのスラスタをさらに含んでいることをさらに含む。 Example 50: This example includes any or all of the features of example 45, and further includes a thruster for providing horizontal thrust during flight of the aircraft.

実施例51:本実施例は、実施例50のいずれかまたはすべての前記機能を含み、前記スラスタが、前記第1軸に対して直角である第2軸のまわりを回転するように構成されている第3ロータブレードを含む。 Example 51: This example includes any or all of the features of example 50, and further includes a third rotor blade, the thruster configured to rotate about a second axis that is perpendicular to the first axis.

実施例52:本実施例は、実施例1から51のいずれか1つの、いずれかまたはすべての前記機能を含み、前記推力支持構造物は前記ロータブレードの上または下の前記ロータシャフトに連結されている。 Example 52: This example includes any or all of the features of any one of examples 1 to 51, and the thrust support structure is coupled to the rotor shaft above or below the rotor blades.

実施例53:本実施例は、実施例1から52のいずれか1つの、いずれかまたはすべての前記機能を含み、前記推力支持構造物およびロータブレードは前記ロータシャフトに連結されており、実質上同じ平面に配置されている。 Example 53: This example includes any or all of the features of any one of examples 1 to 52, wherein the thrust support structure and rotor blades are coupled to the rotor shaft and are disposed in substantially the same plane.

実施例54:本実施例は、実施例53のいずれかまたはすべての前記機能を含み、前記ロータシャフトに連結された共通構造ハブをさらに含み、前記推力支持構造物および前記ロータブレードが前記ロータシャフトに連結されており、実質上同じ平面に配置されている。 Example 54: This example includes any or all of the features of example 53, and further includes a common structural hub coupled to the rotor shaft, and the thrust support structure and the rotor blades are coupled to the rotor shaft and are disposed in substantially the same plane.

実施例55:本実施例は、実施例54のいずれかまたはすべての前記機能を含み、前記共通構造ハブが前記ロータシャフトの遠位端に連結されており、前記ロータシャフトの近位端は前記胴体内に配置されている。 Example 55: This example includes any or all of the features of example 54, wherein the common structural hub is coupled to a distal end of the rotor shaft, and the proximal end of the rotor shaft is disposed within the fuselage.

実施例56:本実施例は、実施例1から55のいずれか1つの、いずれかまたはすべての前記機能を含み、前記エンジンが前記推力支持構造物の遠位端に連結されているファンを含む。 Example 56: This example includes any or all of the features of any one of examples 1 to 55, and the engine includes a fan coupled to a distal end of the thrust support structure.

実施例57:本実施例によれば、胴体と、ローターシャフトと、前記ローターシャフトに連結されたロータハブと、前記ロータハブに連結されたエンジンと、前記エンジンの遠位端に連結された推力支持構造物とを含む航空機が提供され、前記推力支持構造物が前記航空機のロータブレードとして機能するように構成されており、前記推力支持構造物は、近位端、遠位端および少なくとも1つのチャネルを有する配管を含み、前記少なくとも1つのチャネルは、作動中に、前記エンジンによって生成される推力が前記チャネルによって受け取られてリダイレクトされ、前記推力支持構造物を回転させるように、前記エンジンに流動的に連結されている。 Example 57: According to this example, an aircraft is provided that includes a fuselage, a rotor shaft, a rotor hub coupled to the rotor shaft, an engine coupled to the rotor hub, and a thrust support structure coupled to a distal end of the engine, the thrust support structure configured to function as a rotor blade for the aircraft, the thrust support structure including piping having a proximal end, a distal end, and at least one channel, the at least one channel fluidly coupled to the engine such that, during operation, thrust generated by the engine is received and redirected by the channel to rotate the thrust support structure.

実施例58:本実施例は、実施例57のいずれかまたはすべての前記機能を含み、前記航空機には前記推力支持構造物以外のロータブレードが無い。 Example 58: This example includes any or all of the features of example 57, and the aircraft has no rotor blades other than the thrust support structure.

実施例59:本実施例は、実施例57のいずれかまたはすべての前記機能を含み、前記胴体に連結された支持ベアリングをさらに含み、前記支持ベアリングは少なくとも前記推力支持構造物の回転によって生成されるトルクから前記胴体を分離する。 Example 59: This example includes any or all of the features of example 57, and further includes a support bearing coupled to the fuselage, the support bearing isolating the fuselage from torque generated by at least rotation of the thrust support structure.

実施例60:本実施例によれば、胴体と、前記胴体に載置されているエンジンと、前記エンジンに連結されているダイバータマニホールドと、前記ダイバータマニホールドに配置されている推力ダイバータと、前記エンジンに連結されたロータシャフトであって、前記ダイバータマニホールドと流体連通しているシャフトダクトを含むロータシャフトとを含む、航空機が提供され、動作において、前記エンジンは前記ダイバータマニホールドに方向を定められた空気流を生成し、前記推力ダイバータが前記シャフトダクトに方向を定められている前記ダイバータマニホールドの中で前記空気流の相対量を制御するように構成されている。 Example 60: According to this example, an aircraft is provided that includes a fuselage, an engine mounted on the fuselage, a diverter manifold coupled to the engine, a thrust diverter disposed in the diverter manifold, and a rotor shaft coupled to the engine, the rotor shaft including a shaft duct in fluid communication with the diverter manifold, and in operation, the engine generates an airflow directed to the diverter manifold, and the thrust diverter is configured to control a relative amount of the airflow within the diverter manifold that is directed to the shaft duct.

実施例61:本実施例は、実施例60のいずれかまたはすべての前記機能を含み、さらに、前記ロータシャフトに連結されて前記シャフトダクトと流体連通しているプレナムと、前記プレナムに連結されたロータブレードであって、前記プレナムと流体連通しているブレードダクトを含み、さらに開口部を含んでいる、ロータブレードとを含み、前記プレナムは、前記空気流の全体または一部が前記開口部を出るように、前記ロータダクトに向けられた前記空気流の少なくとも一部を前記ブレードダクトに方向を定めるように構成されている。 Example 61: This example includes any or all of the features of example 60, and further includes a plenum coupled to the rotor shaft and in fluid communication with the shaft duct, and a rotor blade coupled to the plenum, the rotor blade including a blade duct in fluid communication with the plenum and further including an opening, the plenum configured to direct at least a portion of the airflow directed toward the rotor duct to the blade duct such that all or a portion of the airflow exits the opening.

実施例62:本実施例は、実施例60のいずれかまたはすべての前記機能を含み、前記エンジンが前記胴体上またはその中に配置されている。 Example 62: This example includes any or all of the features of example 60, and the engine is located on or within the fuselage.

実施例63:本実施例は、実施例61のいずれかまたはすべての前記機能を含み、前記胴体に連結された支持ベアリングをさらに含み、前記支持ベアリングは少なくとも前記ロータブレードの回転によって生成されるトルクから前記胴体を分離する。 Example 63: This example includes any or all of the features of example 61, and further includes a support bearing coupled to the fuselage, the support bearing isolating the fuselage from at least torque generated by rotation of the rotor blades.

実施例64:本実施例によれば、胴体と、エンジンと、前記胴体に連結された静止ロータシャフトであって、近位端、遠位端および前記近位端から前記遠位端まで伸びているシャフトダクトを含み、前記シャフトダクトが前記エンジンと流体連通している、静止ロータシャフトと、前記静止ロータシャフトに連結された推力支持構造物であって、前記ロータダクトと流体連通している入口開口部、出口開口部ならびに前記入口開口部および前記出口開口部と流体連通している推力ダクトを含む、推力支持構造物と、前記ロータシャフトの前記遠位端の少なくとも一部のまわりに配置された回転可能な外側シャフトと、前記静止ロータシャフトに連結されたクラッチであって、係合状態および分離状態を有するクラッチとを含む、航空機が提供され、動作において、エンジン5からの空気流は、前記ロータダクトを通って、前記入口開口部を通って、前記推力ダクトを通って、そして、前記出口開口部を通って導かれ、それにより、前記推力支持構造物を回転させ、前記推力支持構造物の回転は、前記クラッチに、それが前記外側シャフトに連結されている前記係合状態に入るようにさせて、その結果、前記推力支持構造物の回転によって生成されるトルクが前記外側シャフトに伝えられ、前記外側シャフトおよび前記ロータブレードを回転させる。 Example 64: According to this example, a stationary rotor shaft is provided with a fuselage, an engine, a stationary rotor shaft coupled to the fuselage, the stationary rotor shaft including a proximal end, a distal end, and a shaft duct extending from the proximal end to the distal end, the shaft duct being in fluid communication with the engine, a thrust support structure coupled to the stationary rotor shaft, the thrust support structure including an inlet opening, an outlet opening, and a thrust duct in fluid communication with the rotor duct, the thrust support structure including an inlet opening, an outlet opening, and a thrust duct in fluid communication with the inlet opening and the outlet opening, a rotatable outer shaft disposed around at least a portion of the distal end of the rotor shaft, and a rotatable outer shaft disposed around at least a portion of the distal end of the stationary rotor shaft. An aircraft is provided that includes a clutch connected to a rotor shaft, the clutch having an engaged state and a disengaged state, and in operation, airflow from an engine 5 is directed through the rotor duct, through the inlet opening, through the thrust duct, and through the outlet opening, thereby rotating the thrust support structure, and the rotation of the thrust support structure causes the clutch to enter the engaged state in which it is connected to the outer shaft, so that the torque generated by the rotation of the thrust support structure is transmitted to the outer shaft, causing the outer shaft and the rotor blades to rotate.

実施例65:本実施例は、実施例64のいずれかまたはすべての前記機能を含み、さらに、前記静止ロータシャフトおよび前記外側シャフトに連結された支持ベアリングを含み、前記支持ベアリングは、少なくとも前記胴体を、前記外側シャフトおよび前記ロータブレードの回転によって生成されるトルクから分離する。。 Example 65: This example includes any or all of the features of example 64, and further includes a support bearing coupled to the stationary rotor shaft and the outer shaft, the support bearing isolating at least the fuselage from torque generated by rotation of the outer shaft and the rotor blades. .

実施例66:本実施例は、実施例64のいずれかまたはすべての前記機能を含み、作動中に、前記エンジンは前記推力支持構造物に前記外側シャフトの第2回転速度以上である第1回転速度で第1軸のまわりを回転させ、前記クラッチに前記係合状態に入らせて前記外側シャフトを把持させる。 Example 66: This example includes any or all of the features of example 64, and in operation, the engine causes the thrust support structure to rotate about a first axis at a first rotational speed that is greater than or equal to the second rotational speed of the outer shaft, causing the clutch to enter the engaged state and grip the outer shaft.

実施例67:本実施例は、実施例66のいずれかまたはすべての前記機能を含み、前記第1回転速度が前記第2回転速度未満であるときに、前記クラッチは前記分離状態に入るかまたは前記分離状態である。 Example 67: This example includes any or all of the features of example 66, and the clutch enters or is in the disengaged state when the first rotational speed is less than the second rotational speed.

実施例68:本実施例は、実施例64のいずれかまたはすべての前記機能を含み、前記クラッチがクラッチ外側ケース、前記外側シャフトに連結されたクラッチ内側レースおよびクラッチ可動ベアリングを含み、前記クラッチ外側ケースが傾斜および空洞を含み、前記係合状態において、前記クラッチ可動ベアリングは、前記傾斜および前記クラッチ内側レースの両方の間に配置されて接触し、それにより、前記クラッチ外側ケースと前記クラッチ内側レースを係合し、前記分離状態において、前記クラッチ可動ベアリングは、前記空洞内に配置されており、前記クラッチ外側ケースと接触しているだけである。 Example 68: This example includes any or all of the features of example 64, wherein the clutch includes a clutch outer case, a clutch inner race connected to the outer shaft, and a clutch movable bearing, the clutch outer case includes a ramp and a cavity, and in the engaged state, the clutch movable bearing is disposed between and in contact with both the ramp and the clutch inner race, thereby engaging the clutch outer case and the clutch inner race, and in the disengaged state, the clutch movable bearing is disposed within the cavity and only in contact with the clutch outer case.

実施例69:本実施例は、実施例1から67のいずれか1つの、いずれかまたはすべての前記機能を含み、前記航空機は逆トルク機構を含まない。 Example 69: This example includes any or all of the features of any one of examples 1 to 67, and the aircraft does not include a counter torque mechanism.

本開示の原理を本明細書において説明してきているが、この説明が例証として行われているだけであり、請求されている本発明の範囲に関して限定するものではないことは、当業者によってよく理解されるはずである。本明細書において開示される具体的な実施形態を参照して説明されている機能および態様は、本明細書において説明されている様々な他の実施形態との組合せおよび/または用途の余地がある。このような他の実施形態に対するこのような説明されている機能および態様のこのような組合せおよび/または用途は、本明細書において意図されている。修正および他の実施形態は本明細書において意図されており、本開示の範囲内である。 While the principles of the present disclosure have been described herein, it should be appreciated by those skilled in the art that this description is made by way of example only and is not intended to be limiting with respect to the scope of the invention as claimed. Features and aspects described with reference to specific embodiments disclosed herein are susceptible to combination and/or application with various other embodiments described herein. Such combinations and/or applications of such described features and aspects with such other embodiments are contemplated herein. Modifications and other embodiments are contemplated herein and are within the scope of the present disclosure.

Claims (23)

航空機であって、
胴体と、
前記胴体に連結された支持ベアリングと、
支持ベアリングによって胴体に取り付けられたロータシャフトであって、前記ロータシャフトは前記ロータシャフトを通って伸びている第1軸のまわりを回転することができ、前記支持ベアリングは常に前記ロータシャフトが前記第1軸のまわりを前記胴体に対して回転することを可能にする、ロータシャフトと、
前記ロータシャフトに連結されたロータブレードであって、前記ロータシャフトの回転は前記ロータブレードに第1軸のまわりを回転させる、ロータブレードと、
前記ロータシャフトに連結された推力支持構造物と、
前記推力支持構造物に連結され、前記第1軸から半径方向にずれた距離を回転するように構成されたエンジンであって、前記エンジンは燃料を受けるとともに、前記燃料を燃焼して推力空気流を生成するように構成されたエンジンと、
前記ロータブレードと前記ロータシャフトとの間に配置されたクラッチとを、含み、
前記クラッチは、前記ロータブレードに選択的にトルクを伝達するように構成され、
前記推力支持構造物は、少なくとも1つの配管およびノズルを含む遠位端をさらに含み、前記少なくとも1つの配管は前記エンジンによって生成される前記推力空気流を受けて、前記推力空気流を前記ノズルに伝達するように構成され、前記ノズルは、出口を通過する前記推力空気流を受け、大気に対してリダイレクトして、前記推力支持構造物に前記第1軸のまわりを回転させるように構成され、
作動中に、
前記推力支持構造物の回転は前記ロータシャフトに前記第1軸のまわりを回転させ、それは次に前記ロータブレードに前記第1軸のまわりを回転させ、
前記支持ベアリングは前記胴体を少なくとも前記ロータブレードの回転によって生成したトルクから分離する、
航空機。
1. An aircraft,
The torso and
a support bearing coupled to the fuselage;
a rotor shaft mounted to a fuselage by support bearings, the rotor shaft rotatable about a first axis extending through the rotor shaft, the support bearings allowing the rotor shaft to rotate about the first axis relative to the fuselage at all times;
rotor blades coupled to the rotor shaft, such that rotation of the rotor shaft causes the rotor blades to rotate about a first axis;
a thrust support structure connected to the rotor shaft;
an engine coupled to the thrust support structure and configured to rotate at a radially offset distance from the first axis, the engine configured to receive fuel and combust the fuel to generate a thrust airflow;
a clutch disposed between the rotor blades and the rotor shaft;
the clutch is configured to selectively transfer torque to the rotor blades;
the thrust support structure further comprises a distal end including at least one pipe and a nozzle, the at least one pipe configured to receive the thrust airflow generated by the engine and transfer the thrust airflow to the nozzle, the nozzle configured to receive the thrust airflow through an outlet and redirect it against the atmosphere to cause the thrust support structure to rotate about the first axis;
During operation,
rotation of the thrust support structure causes the rotor shaft to rotate about the first axis, which in turn causes the rotor blades to rotate about the first axis;
the support bearings isolate the fuselage from at least the torque generated by the rotation of the rotor blades;
aircraft.
航空機であって、
胴体と、
前記胴体に連結された支持ベアリングと、
支持ベアリングによって胴体に取り付けられたロータシャフトであって、前記ロータシャフトは前記ロータシャフトを通って伸びている第1軸のまわりを回転することができ、前記支持ベアリングは常に前記ロータシャフトが前記第1軸のまわりを前記胴体に対して回転することを可能にする、ロータシャフトと、
前記ロータシャフトに連結されたロータブレードであって、前記ロータシャフトの回転は前記ロータブレードに第1軸のまわりを回転させる、ロータブレードと、
前記ロータシャフトに連結された推力支持構造物と、
前記胴体または前記推力支持構造物に連結されたエンジンと、
前記推力支持構造物と前記ロータシャフトとの間に配置され、前記ロータブレードに選択的にトルクを伝達するように構成されたクラッチと、を含み、
作動中に、前記エンジンは前記推力支持構造物に前記ロータシャフトの第2回転速度以上である第1回転速度で前記第1軸のまわりを回転させ、前記クラッチに係合状態に入らせて前記ロータシャフトを把持させ、前記第1回転速度が前記第2回転速度未満であるときに、前記クラッチが分離状態に入るかまたは分離状態であり、
前記推力支持構造物の回転は、前記ロータシャフトに、前記第1軸のまわりを回転させ、次いで、前記ロータブレードに、前記第1軸のまわりを回転させ、
前記支持ベアリングは前記胴体を、少なくとも1つの前記ロータブレードの回転によって生成されたトルクから分離する、航空機。
1. An aircraft,
The torso and
a support bearing coupled to the fuselage;
a rotor shaft mounted to a fuselage by support bearings, the rotor shaft rotatable about a first axis extending through the rotor shaft, the support bearings allowing the rotor shaft to rotate about the first axis relative to the fuselage at all times;
rotor blades coupled to the rotor shaft, such that rotation of the rotor shaft causes the rotor blades to rotate about a first axis;
a thrust support structure connected to the rotor shaft;
an engine coupled to the fuselage or the thrust supporting structure;
a clutch disposed between the thrust support structure and the rotor shaft and configured to selectively transfer torque to the rotor blades;
During operation, the engine causes the thrust support structure to rotate about the first axis at a first rotational speed that is greater than or equal to a second rotational speed of the rotor shaft, causing the clutch to enter an engaged state and grip the rotor shaft, and the clutch enters or is in a disengaged state when the first rotational speed is less than the second rotational speed;
rotation of the thrust support structure causes the rotor shaft to rotate about the first axis, which in turn causes the rotor blades to rotate about the first axis;
The support bearing isolates the fuselage from torque generated by rotation of at least one of the rotor blades.
航空機であって、
胴体と、
前記胴体に連結された支持ベアリングと、
支持ベアリングによって胴体に取り付けられたロータシャフトであって、前記ロータシャフトは前記ロータシャフトを通って伸びている第1軸のまわりを回転することができ、前記支持ベアリングは常に前記ロータシャフトが前記第1軸のまわりを前記胴体に対して回転することを可能にする、ロータシャフトと、
前記ロータシャフトに連結されたロータブレードであって、前記ロータシャフトの回転は前記ロータブレードに第1軸のまわりを回転させる、ロータブレードと、
前記ロータシャフトに連結された推力支持構造物と、
前記胴体または前記推力支持構造物に連結されたエンジンと、
前記推力支持構造物と前記ロータシャフトとの間に配置され、前記ロータブレードに選択的にトルクを伝達するように構成されたクラッチと、を含み、
前記クラッチがクラッチ外側ケース、前記ロータシャフトに連結されたクラッチ内側レースおよびクラッチ可動ベアリングを含み、
前記クラッチ外側ケースは傾斜および空洞を含み、
係合状態において、前記クラッチ可動ベアリングは、前記傾斜および前記クラッチ内側レースの両方の間に配置されて接触し、それにより、前記クラッチ外側ケースと前記クラッチ内側レースを係合し、
分離状態において、前記クラッチ可動ベアリングは、前記空洞内に配置されており、前記クラッチ外側ケースと接触しているだけである、航空機。
1. An aircraft,
The torso and
a support bearing coupled to the fuselage;
a rotor shaft mounted to a fuselage by support bearings, the rotor shaft rotatable about a first axis extending through the rotor shaft, the support bearings allowing the rotor shaft to rotate about the first axis relative to the fuselage at all times;
rotor blades coupled to the rotor shaft, such that rotation of the rotor shaft causes the rotor blades to rotate about a first axis;
a thrust support structure connected to the rotor shaft;
an engine coupled to the fuselage or the thrust supporting structure;
a clutch disposed between the thrust support structure and the rotor shaft and configured to selectively transfer torque to the rotor blades;
the clutch includes a clutch outer case, a clutch inner race connected to the rotor shaft, and a clutch movable bearing;
the clutch outer case includes a ramp and a cavity;
In an engaged state , the clutch movable bearing is disposed between and in contact with both the ramp and the clutch inner race, thereby engaging the clutch outer case and the clutch inner race;
In a disengaged state , the clutch movable bearing is disposed within the cavity and only contacts the clutch outer case.
前記支持ベアリングが、内側および外側レースケージを有するベアリングハウジングと内側および外側レースケージの間の少なくとも1つのベアリングとを含み、
前記ロータシャフトが、前記胴体の中に、そして、前記支持ベアリングの中に伸びている、
請求項1に記載の航空機。
the support bearing includes a bearing housing having inner and outer race cages and at least one bearing between the inner and outer race cages;
the rotor shaft extends into the fuselage and into the support bearings;
2. The aircraft of claim 1.
ベアリング支持構造をさらに含み、
前記支持ベアリングが前記ベアリング支持構造に連結され、前記ベアリング支持構造が前記胴体に連結されており、
前記ロータシャフトが前記支持ベアリングおよび前記ベアリング支持構造のみによって前記胴体に連結されている、
請求項に記載の航空機。
further comprising a bearing support structure;
the support bearing is connected to the bearing support structure, and the bearing support structure is connected to the fuselage;
the rotor shaft is connected to the fuselage only by the support bearings and the bearing support structure;
5. An aircraft as claimed in claim 4 .
前記エンジンが前記推力支持構造物に連結されており、前記推力支持構造物は前記ロータシャフトに連結された近位部分および前記エンジンに連結された遠位部分を含む、請求項1に記載の航空機。 The aircraft of claim 1, wherein the engine is coupled to the thrust support structure, the thrust support structure including a proximal portion coupled to the rotor shaft and a distal portion coupled to the engine. 前記エンジンによって生成される空気流の形の推力が前記ロータブレードの上に、前記ロータブレードの下に、または、前記ロータブレードの上下に水平に伸びている推力線に全般的に沿って方向を定められる、請求項1に記載の航空機。 The aircraft of claim 1, wherein thrust in the form of airflow generated by the engine is directed generally along thrust lines extending horizontally above, below, or above the rotor blades. 方位制御装置をさらに含む、請求項1に記載の航空機。 The aircraft of claim 1, further comprising a heading control device. 前記方位制御装置がモータシャフトを含む電動可逆モータを含み、
前記モータシャフトは前記ロータシャフトである、
請求項に記載の航空機。
the orientation control device includes an electric reversible motor including a motor shaft;
The motor shaft is the rotor shaft.
9. An aircraft as claimed in claim 8 .
前記方位制御装置が回転マグネットおよびステータを含み、前記ステータが通電されると、力が前記回転マグネットに印加され、それは次に、前記胴体を前記第1軸のまわりに回転させる力を前記胴体に与える、請求項に記載の航空機。 10. The aircraft of claim 9, wherein the azimuth control device includes a rotating magnet and a stator, and when the stator is energized, a force is applied to the rotating magnet which in turn provides a force to the fuselage to rotate the fuselage about the first axis. 前記方位制御装置が前記ロータシャフトに連結されているスペーサを含み、
前記回転マグネットが前記スペーサに連結されており、
前記ステータが前記胴体に連結されている、
請求項10に記載の航空機。
the orientation control device includes a spacer coupled to the rotor shaft;
the rotating magnet is coupled to the spacer;
The stator is connected to the fuselage.
11. The aircraft of claim 10 .
テールが無い、請求項に記載の航空機。 10. The aircraft of claim 9 , wherein the aircraft is tailless. 前記ロータシャフトが前記胴体に対して第1位置と第2位置の間で移動可能であり、
前記第1位置の前記ロータシャフトと前記第2位置の前記ロータシャフトの間の角度が定められ、前記角度は約90度以下である、
請求項1に記載の航空機。
the rotor shaft is movable between a first position and a second position relative to the fuselage;
an angle is defined between the rotor shaft at the first position and the rotor shaft at the second position, the angle being less than or equal to about 90 degrees;
2. The aircraft of claim 1.
前記胴体に連結されたピボットをさらに含み、前記ロータシャフトが前記ピボットに連結されており、
前記ピボットが第2軸のまわりを回転可能であり、
前記第2軸のまわりの前記ピボットの回転は、前記ロータシャフトに前記第1位置と前記第2位置の間で移動させる、
請求項13に記載の航空機。
a pivot coupled to the fuselage, the rotor shaft coupled to the pivot;
the pivot is rotatable about a second axis;
Rotation of the pivot about the second axis causes the rotor shaft to move between the first position and the second position.
14. An aircraft as claimed in claim 13 .
前記胴体の外側に連結されたフレームレールガイドと、
前記フレームレールガイドに連結されたロータシステムカートハウジングと
をさらに含み、
前記ロータシャフトが前記ロータシステムカートハウジングに連結されており、
前記ロータシステムカートハウジングは、前記ロータシャフトに前記第1位置から前記第2位置へ移動するようにさせるために、前記フレームレールガイドに沿って移動するように構成されており、逆もまた同じである、
請求項13に記載の航空機。
A frame rail guide connected to the outer side of the fuselage;
a rotor system cart housing coupled to the frame rail guide;
the rotor shaft is coupled to the rotor system cart housing;
the rotor system cart housing is configured to move along the frame rail guides to cause the rotor shaft to move from the first position to the second position, and vice versa.
14. An aircraft as claimed in claim 13 .
前記胴体が内部体積を定めて、少なくとも1つの胴体構造部材を含み、
前記航空機が、前記支持ベアリングと前記胴体構造部材の間に減衰要素をさらに含み、前記減衰要素は、能動的減衰要素であるかまたは受動的減衰要素である、
請求項に記載の航空機。
the fuselage defines an interior volume and includes at least one fuselage structural member;
the aircraft further includes a damping element between the support bearing and the fuselage structural member, the damping element being an active damping element or a passive damping element;
2. The aircraft of claim 1 .
前記減衰要素が受動的減衰要素であり、前記受動的減衰要素はガス緩衝器、液体緩衝器、機械的緩衝器またはそれらの組み合わせである、請求項16に記載の航空機。 17. The aircraft of claim 16 , wherein the damping element is a passive damping element, the passive damping element being a gas shock absorber, a liquid shock absorber, a mechanical shock absorber, or a combination thereof. 前記ロータブレードが可変長を有する、請求項1に記載の航空機。 The aircraft of claim 1, wherein the rotor blades have a variable length. 前記ロータブレードが可変長を有し、前記航空機がモータを含むブレードグリップをさらに含み、
前記ブレードグリップは前記ロータブレードに連結されており、
前記モータの動作は前記ロータブレードの長さを変化させる、
請求項18に記載の航空機。
the rotor blades having a variable length, the aircraft further comprising a blade grip including a motor;
the blade grip is coupled to the rotor blade;
Operation of the motor varies the length of the rotor blades.
20. The aircraft of claim 18 .
前記推力空気流は第1温度T1を有し、
前記エンジンは第2温度T2を有するコンプレッサブリード空気流を作り出すようにさらに構成されており、T2はT1未満である、
請求項1に記載の航空機。
the thrust airflow has a first temperature T1;
The engine is further configured to produce a compressor bleed airflow having a second temperature T2, T2 being less than T1.
2. The aircraft of claim 1.
作動中に、
前記少なくとも1つの配管は前記コンプレッサブリード空気流を受けるようにさらに構成されており、その結果作動中に、前記コンプレッサブリード空気流は前記推力空気流に注入されて温度T3を有する混合空気流を作り出すか、または、
前記少なくとも1つの配管は前記コンプレッサブリード空気流を受けるようにさらに構成されており、その結果作動中に、前記コンプレッサブリード空気流は、前記推力空気流の周りに方向を定められる、
請求項20に記載の航空機。
During operation,
the at least one conduit is further configured to receive the compressor bleed airflow, such that during operation, the compressor bleed airflow is injected into the thrust airflow to create a mixed airflow having a temperature T3; or
the at least one duct is further configured to receive the compressor bleed airflow, such that during operation, the compressor bleed airflow is directed about the thrust airflow.
21. The aircraft of claim 20 .
航空機であって、
胴体と、
前記胴体に連結された支持ベアリングと、
支持ベアリングによって胴体に取り付けられたロータシャフトであって、前記ロータシャフトは前記ロータシャフトを通って伸びている第1軸のまわりを回転することができ、前記支持ベアリングは常に前記ロータシャフトが前記第1軸のまわりを前記胴体に対して回転することを可能にする、ロータシャフトと、
前記ロータシャフトに連結されたロータブレードであって、前記ロータシャフトの回転は前記ロータブレードに第1軸のまわりを回転させる、ロータブレードと、
前記ロータシャフトに連結された推力支持構造物と、
前記胴体または前記推力支持構造物に連結されたエンジンと、を含み、
作動中に、前記エンジンは前記推力支持構造物に前記第1軸のまわりを回転させ、
前記推力支持構造物の回転は、前記ロータシャフトに、前記第1軸のまわりを回転させ、次いで、前記ロータブレードに、前記第1軸のまわりを回転させ、
前記支持ベアリングは前記胴体を、少なくとも1つの前記ロータブレードの回転によって生成されたトルクから分離し、
前記ロータシャフトは第1シャフトおよび第2シャフトを含み、前記第1シャフトは前記第2シャフトのルーメン内に配置され、
前記推力支持構造物が、前記第1シャフトに連結されており、
前記航空機は、前記第2シャフトが前記第1シャフトに連結されている係合状態と、前記第2シャフトが前記第1シャフトから切り離されている分離状態とを有するクラッチをさらに含み、
作動中に、前記第1軸のまわりの前記推力支持構造物の回転が前記クラッチを前記係合状態に入らせ、それは次に前記第2シャフトおよび前記ロータブレードを第1軸のまわりで回転させる、航空機。
1. An aircraft,
The torso and
a support bearing coupled to the fuselage;
a rotor shaft mounted to a fuselage by support bearings, the rotor shaft rotatable about a first axis extending through the rotor shaft, the support bearings allowing the rotor shaft to rotate about the first axis relative to the fuselage at all times;
rotor blades coupled to the rotor shaft, such that rotation of the rotor shaft causes the rotor blades to rotate about a first axis;
a thrust support structure connected to the rotor shaft;
an engine coupled to the fuselage or the thrust supporting structure;
During operation, the engine causes the thrust support structure to rotate about the first axis;
rotation of the thrust support structure causes the rotor shaft to rotate about the first axis, which in turn causes the rotor blades to rotate about the first axis;
the support bearing isolates the fuselage from torque generated by rotation of at least one of the rotor blades;
the rotor shaft includes a first shaft and a second shaft, the first shaft being disposed within a lumen of the second shaft;
the thrust support structure is connected to the first shaft;
the aircraft further includes a clutch having an engaged state in which the second shaft is coupled to the first shaft and a disengaged state in which the second shaft is disengaged from the first shaft;
In operation, rotation of the thrust support structure about the first axis causes the clutch to enter the engaged state, which in turn causes the second shaft and the rotor blades to rotate about the first axis.
第3シャフトをさらに含み、
前記第2シャフトが前記第3シャフトのルーメン内に配置されており、
前記第3シャフトは前記胴体に連結されており回転せず、
少なくとも1つの同心のベアリングが前記第2シャフトと前記第3シャフトの間に配置されており、前記第2シャフトを前記第3シャフトから分離している、
請求項22に記載の航空機。
Further comprising a third shaft;
the second shaft is disposed within the lumen of the third shaft;
the third shaft is connected to the body and does not rotate;
At least one concentric bearing is disposed between the second shaft and the third shaft and separates the second shaft from the third shaft.
23. The aircraft of claim 22 .
JP2021502713A 2018-03-28 2019-03-27 Aircraft Propulsion and Torque Mitigation Technology Active JP7621651B2 (en)

Applications Claiming Priority (7)

Application Number Priority Date Filing Date Title
US201862649334P 2018-03-28 2018-03-28
US62/649,334 2018-03-28
US201862702618P 2018-07-24 2018-07-24
US62/702,618 2018-07-24
US201862764840P 2018-08-16 2018-08-16
US62/764,840 2018-08-16
PCT/US2019/024294 WO2019191240A1 (en) 2018-03-28 2019-03-27 Aircraft propulsion and torque mitigation technologies

Publications (2)

Publication Number Publication Date
JP2021532011A JP2021532011A (en) 2021-11-25
JP7621651B2 true JP7621651B2 (en) 2025-01-27

Family

ID=78606374

Family Applications (1)

Application Number Title Priority Date Filing Date
JP2021502713A Active JP7621651B2 (en) 2018-03-28 2019-03-27 Aircraft Propulsion and Torque Mitigation Technology

Country Status (1)

Country Link
JP (1) JP7621651B2 (en)

Families Citing this family (2)

* Cited by examiner, † Cited by third party
Publication number Priority date Publication date Assignee Title
CN115258143B (en) * 2022-08-31 2025-06-20 台州学院 Wingtip jet autogyro hybrid power system
CN115844595B (en) * 2023-03-03 2023-05-16 上海汇禾医疗器械有限公司 Anchor clamps device of repeatable operation

Citations (3)

* Cited by examiner, † Cited by third party
Publication number Priority date Publication date Assignee Title
US2761635A (en) 1951-06-25 1956-09-04 Hiller Helicopters Rotary wing aircraft system
US20100252673A1 (en) 2007-07-24 2010-10-07 Jean-Claude Tourn Aerial device
JP2016172556A (en) 2013-10-30 2016-09-29 優章 荒井 Vertical takeoff and landing vehicle

Family Cites Families (4)

* Cited by examiner, † Cited by third party
Publication number Priority date Publication date Assignee Title
US2738844A (en) * 1951-10-23 1956-03-20 Nagler Helicopter Co Inc Steering mechanism for rotary wing aircraft
US2689615A (en) * 1952-12-03 1954-09-21 Charles J Fletcher Drive system for convertible type aircraft having jet-driven lifting rotor
JPH09150797A (en) * 1995-11-29 1997-06-10 Kazuo Kimiwada Helicopter
US6655915B2 (en) * 2002-05-01 2003-12-02 Sikorsky Aircraft Corporation Drive system for the retraction/extension of variable diameter rotor systems

Patent Citations (3)

* Cited by examiner, † Cited by third party
Publication number Priority date Publication date Assignee Title
US2761635A (en) 1951-06-25 1956-09-04 Hiller Helicopters Rotary wing aircraft system
US20100252673A1 (en) 2007-07-24 2010-10-07 Jean-Claude Tourn Aerial device
JP2016172556A (en) 2013-10-30 2016-09-29 優章 荒井 Vertical takeoff and landing vehicle

Also Published As

Publication number Publication date
JP2021532011A (en) 2021-11-25

Similar Documents

Publication Publication Date Title
US12384534B2 (en) Aircraft propulsion and torque mitigation technologies
US11518504B2 (en) Compound helicopters having auxiliary propulsive systems
RU2743903C2 (en) Mechanically distributed power plant and method of aircraft operation control
CN110035954B (en) Ventilated rotor mounting boom for private aircraft
US8496200B2 (en) Control flows and forces in VTOL vehicles
US8636241B2 (en) Hybrid jet/electric VTOL aircraft
US9085355B2 (en) Vertical takeoff and landing aircraft
US11267579B2 (en) Compound helicopters having hybrid propulsion engines
US20100019079A1 (en) Thrust generator for a rotary wing aircraft
JP2011502847A (en) Autonomous rotor system for aircraft
JP7621651B2 (en) Aircraft Propulsion and Torque Mitigation Technology
US20180186449A1 (en) Annular lift fan vtol aircraft
EP3743331B1 (en) A vertical take off and landing flying machine
US20120199692A1 (en) Reactive drive rotor head with external swashplate
US11332241B2 (en) Centrifugal fans for vertical take-off and landing (VTOL) aircraft propulsion
KR20050016643A (en) Ducted air power plant

Legal Events

Date Code Title Description
A711 Notification of change in applicant

Free format text: JAPANESE INTERMEDIATE CODE: A711

Effective date: 20210408

A521 Request for written amendment filed

Free format text: JAPANESE INTERMEDIATE CODE: A821

Effective date: 20210408

A621 Written request for application examination

Free format text: JAPANESE INTERMEDIATE CODE: A621

Effective date: 20220325

A977 Report on retrieval

Free format text: JAPANESE INTERMEDIATE CODE: A971007

Effective date: 20230124

A131 Notification of reasons for refusal

Free format text: JAPANESE INTERMEDIATE CODE: A131

Effective date: 20230131

A601 Written request for extension of time

Free format text: JAPANESE INTERMEDIATE CODE: A601

Effective date: 20230426

A601 Written request for extension of time

Free format text: JAPANESE INTERMEDIATE CODE: A601

Effective date: 20230629

A521 Request for written amendment filed

Free format text: JAPANESE INTERMEDIATE CODE: A523

Effective date: 20230726

A131 Notification of reasons for refusal

Free format text: JAPANESE INTERMEDIATE CODE: A131

Effective date: 20230905

A601 Written request for extension of time

Free format text: JAPANESE INTERMEDIATE CODE: A601

Effective date: 20231201

A521 Request for written amendment filed

Free format text: JAPANESE INTERMEDIATE CODE: A523

Effective date: 20240131

A131 Notification of reasons for refusal

Free format text: JAPANESE INTERMEDIATE CODE: A131

Effective date: 20240416

A601 Written request for extension of time

Free format text: JAPANESE INTERMEDIATE CODE: A601

Effective date: 20240712

A601 Written request for extension of time

Free format text: JAPANESE INTERMEDIATE CODE: A601

Effective date: 20240913

A521 Request for written amendment filed

Free format text: JAPANESE INTERMEDIATE CODE: A523

Effective date: 20241011

TRDD Decision of grant or rejection written
A01 Written decision to grant a patent or to grant a registration (utility model)

Free format text: JAPANESE INTERMEDIATE CODE: A01

Effective date: 20241210

A61 First payment of annual fees (during grant procedure)

Free format text: JAPANESE INTERMEDIATE CODE: A61

Effective date: 20250107

R150 Certificate of patent or registration of utility model

Ref document number: 7621651

Country of ref document: JP

Free format text: JAPANESE INTERMEDIATE CODE: R150