JP7598570B2 - Bottom garment with support band - Google Patents

Bottom garment with support band Download PDF

Info

Publication number
JP7598570B2
JP7598570B2 JP2023079675A JP2023079675A JP7598570B2 JP 7598570 B2 JP7598570 B2 JP 7598570B2 JP 2023079675 A JP2023079675 A JP 2023079675A JP 2023079675 A JP2023079675 A JP 2023079675A JP 7598570 B2 JP7598570 B2 JP 7598570B2
Authority
JP
Japan
Prior art keywords
support
support band
pelvic
band
pelvic floor
Prior art date
Legal status (The legal status is an assumption and is not a legal conclusion. Google has not performed a legal analysis and makes no representation as to the accuracy of the status listed.)
Active
Application number
JP2023079675A
Other languages
Japanese (ja)
Other versions
JP2024163793A (en
Inventor
大輔 小柳
Original Assignee
株式会社ディーライズ
Priority date (The priority date is an assumption and is not a legal conclusion. Google has not performed a legal analysis and makes no representation as to the accuracy of the date listed.)
Filing date
Publication date
Application filed by 株式会社ディーライズ filed Critical 株式会社ディーライズ
Priority to JP2023079675A priority Critical patent/JP7598570B2/en
Publication of JP2024163793A publication Critical patent/JP2024163793A/en
Application granted granted Critical
Publication of JP7598570B2 publication Critical patent/JP7598570B2/en
Active legal-status Critical Current
Anticipated expiration legal-status Critical

Links

Images

Landscapes

  • Orthopedics, Nursing, And Contraception (AREA)

Description

本発明は、ズボン及びスカートなどのボトム衣類の内側に、骨盤底筋をサポートするサポートバンドが取り付けられているサポートバンド付きボトム衣類に関する。 The present invention relates to bottom clothing with a support band, in which a support band that supports the pelvic floor muscles is attached to the inside of bottom clothing such as trousers and skirts.

骨盤底筋をサポートするベルトを装着することにより、骨盤底筋の弛みを改善する効果があることが知られている。例えば、特許文献1には、股間を経由する布と、前記布を引き上げて腰ベルト部分に着脱自在に接続する着脱部分と、前記布を引き上げる力を腸骨周囲の摩擦力で支える腰ベルト部分とから構成される骨盤底用サポーターが開示されている。 It is known that wearing a belt that supports the pelvic floor muscles can help alleviate slackness in the pelvic floor muscles. For example, Patent Document 1 discloses a pelvic floor supporter that is made up of a piece of cloth that goes through the crotch area, a removable part that pulls up the cloth and connects it detachably to a waist belt, and a waist belt part that uses friction around the ilium to support the force pulling up the cloth.

国際公開第2017/175663号公報International Publication No. WO 2017/175663

特許文献1に開示される前記骨盤底用サポーターを装着する際には、最初に、前記腰ベルト部分を使用者に対して適切な位置に装着し、次に、前記股間を経由する布を使用者に対して適切な位置に配置しつつ前記腰ベルト部分に接続する必要がある。このように、前記骨盤底用サポーターの装着方法は、複雑である。また、前記骨盤底用サポーターは、衣類とは別に装着する必要がある。さらに、前記骨盤底用サポーターは、装着後に外部から力を受けた場合に、使用者の身体から脱落する可能性がある。 When wearing the pelvic floor supporter disclosed in Patent Document 1, it is first necessary to wear the waist belt portion in an appropriate position relative to the user, and then connect the cloth that passes through the crotch area to the waist belt portion while arranging it in an appropriate position relative to the user. In this way, the method of wearing the pelvic floor supporter is complicated. Furthermore, the pelvic floor supporter needs to be worn separately from clothing. Furthermore, if the pelvic floor supporter is subjected to an external force after being worn, it may fall off the user's body.

これに対して、簡易に装着可能で且つ装着した状態を容易に維持可能な骨盤底筋サポートバンドが望まれている。 In response to this, there is a demand for a pelvic floor muscle support band that is easy to put on and can be easily maintained in that position.

本発明の目的は、骨盤底筋をサポートするサポートバンドをボトム衣類の着用と同時に簡易に装着可能なサポートバンド付きボトム衣類を提供することである。 The object of the present invention is to provide bottom clothing with a support band that can be easily attached at the same time as wearing the bottom clothing, and that supports the pelvic floor muscles.

本発明の一実施形態に係るサポートバンド付きボトム衣類は、筒状のウエスト部及び少なくとも一部が筒状の身頃部を有するボトム本体部と、前記ボトム本体部の内側に取り付けられたサポートバンド部と、を有する。前記サポートバンド部は、前記ボトム本体部の前身頃側で前記ボトム本体部の周方向に延びる帯状の前部と、前記ボトム本体部の後身頃側で前記周方向に延びる帯状の後部とを有し、少なくとも周方向に伸縮する素材によって構成された筒状の骨盤サポート部と、前記ボトム本体部の前後方向に延びる帯状であり、少なくとも長手方向に伸縮する素材によって構成された骨盤底筋サポート部と、を有する。前記骨盤サポート部の筒軸方向の一方の端部は、前記ボトム本体部の前記ウエスト部に支持されている。前記骨盤底筋サポート部の長手方向の一方の端部は、前記骨盤サポート部の前記前部における筒軸方向の他方の端部に支持されている。前記骨盤底筋サポート部の長手方向の他方の端部は、前記骨盤サポート部の前記後部における筒軸方向の他方の端部に支持されている(第1の構成)。 The bottom garment with support band according to one embodiment of the present invention has a bottom body part having a cylindrical waist part and a body part at least partially cylindrical, and a support band part attached to the inside of the bottom body part. The support band part has a band-shaped front part extending in the circumferential direction of the bottom body part on the front body side of the bottom body part, and a band-shaped rear part extending in the circumferential direction on the rear body side of the bottom body part, and has a cylindrical pelvic support part made of a material that stretches at least in the circumferential direction, and a pelvic floor muscle support part that is band-shaped extending in the front-rear direction of the bottom body part and made of a material that stretches at least in the longitudinal direction. One end of the pelvic support part in the cylindrical axis direction is supported by the waist part of the bottom body part. One end of the pelvic floor muscle support part in the longitudinal direction is supported by the other end of the pelvic support part in the cylindrical axis direction at the front part. The other end of the pelvic floor muscle support part in the longitudinal direction is supported by the other end of the pelvic support part in the cylindrical axis direction at the rear part of the pelvic support part (first configuration).

上述のサポートバンド付きボトム衣類では、骨盤サポート部をボトム本体部の内面に沿って前記ボトム本体部の周方向に延びるように環状に配置し、且つ、骨盤底筋サポート部を、前記骨盤サポート部に対して前記ボトム本体部の裾側で前後方向に延びるように配置可能である。よって、使用者がサポートバンド付きボトム衣類を着用する際に、サポートバンド部の骨盤サポート部を前記使用者の骨盤回りに装着し、サポートバンド部の骨盤底筋サポート部を前記使用者の股間を経由して前後方向に延びるように装着することができる。前記骨盤サポート部及び前記骨盤底筋サポート部は、伸縮する素材によって構成されているので、使用者がサポートバンド付きボトム衣類を着用することによって、前記サポートバンド部を前記使用者の身体に対して適切な位置に容易に位置付けることができる。 In the above-mentioned bottom garment with support band, the pelvic support part is arranged in an annular shape so as to extend circumferentially along the inner surface of the bottom body part, and the pelvic floor muscle support part can be arranged so as to extend in the front-rear direction at the hem side of the bottom body part relative to the pelvic support part. Therefore, when a user wears the bottom garment with support band, the pelvic support part of the support band part can be worn around the user's pelvis, and the pelvic floor muscle support part of the support band part can be worn so as to extend in the front-rear direction via the user's crotch. The pelvic support part and the pelvic floor muscle support part are made of a stretchable material, so that the user can easily position the support band part in an appropriate position relative to the user's body by wearing the bottom garment with support band.

また、前記骨盤サポート部は、周方向に伸縮する。よって、前記骨盤サポート部は、前記使用者の骨盤回りに容易に固定できる。したがって、使用者がサポートバンド付きボトム衣類を着用した状態で、前記使用者の身体に対して前記サポートバンド部の装着位置が変わることを抑制できる。また、骨盤サポート部は、使用者のウエストで保持されるウエスト部を有するボトム本体部に支持されている。したがって、前記サポートバンド付きボトム衣類を着用した使用者が動いた場合でも、前記サポートバンド部が、前記使用者から脱落することを抑制できる。 The pelvic support section also expands and contracts in the circumferential direction. Therefore, the pelvic support section can be easily fixed around the user's pelvis. This prevents the support band section from being attached to the user's body in a position where it is not displaced when the user is wearing the bottom garment with the support band. The pelvic support section is also supported by a bottom body section having a waist section that is held by the user's waist. Therefore, even if the user moves while wearing the bottom garment with the support band, the support band section can be prevented from falling off the user.

よって、骨盤底筋をサポートするサポートバンドをボトム衣類の着用と同時に簡易に装着可能なサポートバンド付きボトム衣類を提供することができる。 This makes it possible to provide bottom clothing with a support band that can be easily attached at the same time as wearing the bottom clothing, to support the pelvic floor muscles.

前記第1の構成のサポートバンド付きボトム衣類は、前記ボトム本体部の内側に、前記サポートバンド部を吊り下げ可能なサポートバンド吊り下げ部を有する。前記骨盤サポート部は、前記サポートバンド吊り下げ部を介して、前記ボトム本体部に支持されている(第2の構成)。 The bottom garment with support band of the first configuration has a support band hanging part on the inside of the bottom body part, from which the support band part can be hung. The pelvis support part is supported by the bottom body part via the support band hanging part (second configuration).

サポートバンド吊り下げ部により、使用者の身体に対して骨盤サポート部及び骨盤底筋サポート部が装着される位置を微調整することができる。また、使用者がしゃがんだ場合などにように、ボトム本体部に、所定の方向に引っ張られるような力が加えられた場合でも、前記骨盤サポート部及び前記骨盤底筋サポート部が前記使用者の身体に対して移動することを抑制できる。 The support band hanging section allows fine adjustment of the position where the pelvic support section and the pelvic floor muscle support section are attached relative to the user's body. Also, even if a force is applied to the bottom main body section that pulls it in a specific direction, such as when the user squats, the pelvic support section and the pelvic floor muscle support section can be prevented from moving relative to the user's body.

前記第1の構成のサポートバンド付きボトム衣類において、前記サポートバンド吊り下げ部は、前記骨盤サポート部及び前記骨盤底筋サポート部を構成する素材よりもヤング率が小さい素材によって構成されている(第3の構成)。 In the bottom garment with a support band of the first configuration, the support band hanging part is made of a material having a smaller Young's modulus than the material constituting the pelvic support part and the pelvic floor muscle support part (third configuration).

サポートバンド吊り下げ部は、骨盤サポート部及び骨盤底筋サポート部よりも容易に伸縮する。したがって、ボトム本体部に所定の方向に引っ張られるような力が加えられた場合に、前記骨盤サポート部及び前記骨盤底筋サポート部が使用者の身体に対して移動することをより確実に抑制できる。 The support band hanging section stretches and contracts more easily than the pelvic support section and the pelvic floor muscle support section. Therefore, when a force is applied to the bottom body section that pulls it in a specific direction, the pelvic support section and the pelvic floor muscle support section can be more reliably prevented from moving relative to the user's body.

前記第1から第3のいずれか一つの構成のサポートバンド付きボトム衣類は、前記骨盤底筋サポート部の幅方向の中央部に、長手方向に延び、且つ、前記幅方向の両側部よりもヤング率が大きい伸縮補強部が設けられている(第4の構成)。 A bottom garment with a support band having any one of the first to third configurations has an elastic reinforcement section at the center of the width of the pelvic floor muscle support section, which extends in the longitudinal direction and has a greater Young's modulus than both sides in the width direction (fourth configuration).

これにより、骨盤底筋サポート部の幅方向の中央部を、前記幅方向の両側部よりも伸びにくくすることができる。よって、前記中央部を、使用者の左右の臀部の間の凹み内にフィットさせることができる。したがって、使用者がサポートバンド付きボトム衣類を着用した状態で、前記骨盤底筋サポート部を、前記使用者の身体に対して適切な位置に容易に位置付けることができる。 This makes it possible to make the widthwise central portion of the pelvic floor muscle support section less stretchable than the widthwise side portions. This allows the central portion to fit within the depression between the left and right buttocks of the user. This allows the user to easily position the pelvic floor muscle support section in an appropriate position relative to the user's body when wearing bottom clothing with a support band.

前記第4の構成のサポートバンド付きボトム衣類において、前記伸縮補強部は、前記骨盤底筋サポート部における長手方向の中央よりも後側に設けられている(第5の構成)。 In the bottom garment with support band of the fourth configuration, the stretch reinforcement portion is provided rearward of the longitudinal center of the pelvic floor muscle support portion (fifth configuration).

この構成により、骨盤底筋サポート部の幅方向の中央部を、使用者の左右の臀部の間の凹み内により確実にフィットさせることができる。 This configuration allows the widthwise center of the pelvic floor muscle support section to fit more securely into the recess between the left and right buttocks of the user.

前記第4の構成のサポートバンド付きボトム衣類において、前記伸縮補強部は、前記骨盤底筋サポート部の幅方向の中央部に、前記骨盤底筋サポート部の長手方向に延びるように接続され、前記骨盤底筋サポート部よりも幅の狭い帯状の弾性部材によって構成されている(第6の構成)。 In the bottom garment with support band of the fourth configuration, the stretch reinforcement part is connected to the widthwise center of the pelvic floor muscle support part so as to extend in the longitudinal direction of the pelvic floor muscle support part, and is composed of a band-shaped elastic member narrower than the pelvic floor muscle support part (sixth configuration).

この構成により、骨盤底筋サポート部に伸縮補強部を容易に形成することができる。 This configuration makes it easy to form an elastic reinforcement section in the pelvic floor muscle support section.

前記第1から第3のいずれか一つの構成のサポートバンド付きボトム衣類において、前記骨盤サポート部は、筒軸方向の一方の端部から筒軸方向の他方の端部に亘って周方向の長さが一定である(第7の構成)。 In a bottom garment with a support band having any one of the first to third configurations, the pelvis support portion has a constant circumferential length from one end in the axial direction to the other end in the axial direction (seventh configuration).

これにより、骨盤サポート部によって使用者の骨盤を筒軸方向に亘って均一に締め付けることができる。よって、前記使用者の腰回りに、前記骨盤サポート部をより確実に固定することができる。したがって、サポートバンド付きボトム衣類を着用した使用者に対して、前記サポートバンド部の位置が変わることをより確実に抑制できる。 This allows the pelvic support section to tighten the user's pelvis evenly along the axial direction of the cylinder. This allows the pelvic support section to be more securely fixed around the user's waist. This makes it possible to more reliably prevent the position of the support band section from changing for a user wearing bottom clothing with a support band.

前記第1から第3のいずれか一つの構成のサポートバンド付きボトム衣類において、前記骨盤サポート部は、前記前部において前記周方向の中央に位置する前側中央部と、前記後部において前記周方向の中央に位置する後側中央部と、前記前側中央部と前記後側中央部とを前記周方向に連結する第1連結部及び第2連結部と、を有する。前記骨盤底筋サポート部は、前記前側中央部及び前記後側中央部に対して一体に形成されている(第8の構成)。 In the bottom garment with support band of any one of the first to third configurations, the pelvic support portion has a front central portion located in the center of the circumferential direction in the front portion, a rear central portion located in the center of the circumferential direction in the rear portion, and a first connecting portion and a second connecting portion connecting the front central portion and the rear central portion in the circumferential direction. The pelvic floor muscle support portion is formed integrally with the front central portion and the rear central portion (eighth configuration).

この構成では、骨盤サポート部の前側中央部及び後側中央部と骨盤底筋サポート部とが一体に形成されている。よって、前記骨盤底筋サポート部の強度を向上することができるとともに、ボトム本体部によって前記骨盤底筋サポート部をより確実に支持することができる。したがって、より確実に使用者の骨盤底筋をサポート可能な構成を実現できる。 In this configuration, the front and rear central portions of the pelvic support section and the pelvic floor muscle support section are integrally formed. This improves the strength of the pelvic floor muscle support section and allows the bottom body section to more reliably support the pelvic floor muscle support section. This allows for a configuration that can more reliably support the user's pelvic floor muscles.

本発明の一実施形態によれば、サポートバンド付きボトム衣類は、ボトム本体部の内側に取り付けられたサポートバンド部を有する。前記サポートバンド部は、少なくとも周方向に伸縮する素材によって構成された筒状の骨盤サポート部と、少なくとも長手方向に伸縮する素材によって構成された帯状の骨盤底筋サポート部とを有する。前記骨盤サポート部の筒軸方向の一方の端部は、前記ボトム本体部のウエスト部に支持されている。前記骨盤底筋サポート部の長手方向の一方の端部は、前記骨盤サポート部の前部における筒軸方向の他方の端部に支持されている。前記骨盤底筋サポート部の長手方向の他方の端部は、前記骨盤サポート部の後部における筒軸方向の他方の端部に支持されている。骨盤底筋をサポートするサポートバンド部は、ボトム本体部の内側に取り付けられているので、前記ボトム本体部を着用することにより装着可能である。 According to one embodiment of the present invention, a bottom garment with a support band has a support band attached to the inside of a bottom body. The support band has a cylindrical pelvis support part made of a material that stretches at least in the circumferential direction, and a belt-shaped pelvic floor muscle support part made of a material that stretches at least in the longitudinal direction. One end of the pelvic support part in the cylindrical axis direction is supported by the waist part of the bottom body. One end of the pelvic floor muscle support part in the longitudinal direction is supported by the other end of the pelvic floor muscle support part in the cylindrical axis direction at the front part of the pelvic support part. The other end of the pelvic floor muscle support part in the longitudinal direction is supported by the other end of the pelvic support part in the cylindrical axis direction at the rear part of the pelvic support part. The support band part that supports the pelvic floor muscles is attached to the inside of the bottom body, so it can be worn by wearing the bottom body part.

これにより、骨盤底筋をサポートするサポートバンドをボトム衣類の着用と同時に簡易に装着可能なサポートバンド付きボトム衣類を提供することができる。 This makes it possible to provide bottom clothing with a support band that can be easily put on at the same time as putting on the bottom clothing, to support the pelvic floor muscles.

図1は、実施形態1に係るサポートバンド付きボトム衣類の概略構成を模式的に示す図である。FIG. 1 is a diagram showing a schematic configuration of a bottom garment with a support band according to a first embodiment. 図2は、サポートバンド吊り下げ部及びサポートバンド部の概略構成を示す斜視図である。FIG. 2 is a perspective view showing a schematic configuration of a support band hanging portion and a support band portion. 図3は、使用者がサポートバンド付きボトム衣類を着用した状態を模式的に示す図である。FIG. 3 is a schematic diagram showing a state in which a user wears a bottom garment with a support band. 図4は、実施形態2に係るサポートバンド付きボトム衣類におけるサポートバンド吊り下げ部及びサポートバンド部の概略構成を示す斜視図である。FIG. 4 is a perspective view showing a schematic configuration of a support band hanging portion and a support band portion in a bottom garment with a support band according to the second embodiment. 図5は、その他の実施形態に係るサポートバンド付きボトム衣類におけるサポートバンド吊り下げ部及びサポートバンド部の概略構成を模式的に示す平面図である。FIG. 5 is a plan view showing a schematic configuration of a support band suspending portion and a support band portion in a bottom garment with a support band according to another embodiment.

以下、図面を参照し、本発明の実施の形態を詳しく説明する。なお、図中の同一または相当部分については同一の符号を付してその説明は繰り返さない。 The following describes in detail an embodiment of the present invention with reference to the drawings. Note that the same or corresponding parts in the drawings are given the same reference numerals and their description will not be repeated.

なお、本明細書で使用する各図において、各構成部材の配置等は、本発明のサポートバンド付きボトム衣類1における各構成部材の相互関係を説明するために模式的に表したものであって、実際の寸法比率等とは、異なっている。 In addition, the arrangement of each component in each figure used in this specification is shown diagrammatically to explain the interrelationships between each component in the bottom garment with support band 1 of the present invention, and differs from the actual dimensional ratios, etc.

以下の説明では、ボトム本体部2の後身頃に対して前身頃が位置する方向を前方とする。また、ボトム本体部2の裾2bに対して穿き口2aが位置する方向を上方とする。また、ボトム本体部2を着用した使用者から見て右の方向を右方とし前記使用者から見て左の方向を左方とする。 In the following description, the direction in which the front body is positioned relative to the back body of the bottom body 2 is referred to as the forward direction. Additionally, the direction in which the opening 2a is positioned relative to the hem 2b of the bottom body 2 is referred to as the upward direction. Additionally, the right direction as seen by a user wearing the bottom body 2 is referred to as the right side, and the left direction as seen by the user is referred to as the left side.

(実施形態1)
図1から図3を参照して、実施形態に係るサポートバンド付きボトム衣類1について説明する。図1は、サポートバンド付きボトム衣類1の概略構成を模式的に示す図である。図1に示すように、サポートバンド付きボトム衣類1は、ボトム本体部2と、サポートバンド吊り下げ部3と、サポートバンド部4とを有する。
(Embodiment 1)
A bottom garment with support bands 1 according to an embodiment will be described with reference to Fig. 1 to Fig. 3. Fig. 1 is a diagram showing a schematic configuration of the bottom garment with support bands 1. As shown in Fig. 1, the bottom garment with support bands 1 has a bottom body part 2, a support band hanging part 3, and a support band part 4.

ボトム本体部2は、人が下半身に着用する衣類である。ボトム本体部2は、例えば、スカート及びズボンなどである。本実施形態では、ボトム本体部2がズボンである場合を一例として説明する。図1は、ボトム本体部2を前から見た図である。図1に示すように、ボトム本体部2は、ウエスト部21と、身頃部22とを有する。 The bottom body part 2 is a garment worn by a person on the lower body. The bottom body part 2 is, for example, a skirt or trousers. In this embodiment, a case where the bottom body part 2 is trousers will be described as an example. FIG. 1 is a view of the bottom body part 2 as seen from the front. As shown in FIG. 1, the bottom body part 2 has a waist part 21 and a body part 22.

ウエスト部21は、筒状である。ウエスト部21の上端は、穿き口2aである。ウエスト部21は、使用者がボトム本体部2を着用した状態で、使用者のウエスト周辺に位置付けられる。 The waist portion 21 is cylindrical. The upper end of the waist portion 21 is the opening 2a. The waist portion 21 is positioned around the waist of the user when the user is wearing the bottom body portion 2.

身頃部22は、ウエスト部21と裾2bとの間に位置する部分である。身頃部22は、ボトム本体部2を着用した使用者の胴回り及び左右の足を覆う。身頃部22のうちウエスト部21側は、筒状である。以下の説明では、ボトム本体部2のウエスト部21の軸方向を、ボトム本体部2の軸方向とし、ウエスト部21の周方向を、ボトム本体部2の周方向とする。 The body portion 22 is a portion located between the waist portion 21 and the hem 2b. The body portion 22 covers the torso and both legs of a user wearing the bottom main body portion 2. The waist portion 21 side of the body portion 22 is cylindrical. In the following description, the axial direction of the waist portion 21 of the bottom main body portion 2 is referred to as the axial direction of the bottom main body portion 2, and the circumferential direction of the waist portion 21 is referred to as the circumferential direction of the bottom main body portion 2.

サポートバンド吊り下げ部3及びサポートバンド部4は、ボトム本体部2の内側に配置されている。本実施形態では、サポートバンド吊り下げ部3は、ボトム本体部2の内面における穿き口2a側に接続されている。サポートバンド部4は、サポートバンド吊り下げ部3に接続されている。サポートバンド部4は、ボトム本体部2には、直接、接続されていない。 The support band hanging part 3 and the support band part 4 are arranged inside the bottom body part 2. In this embodiment, the support band hanging part 3 is connected to the perforation opening 2a side on the inner surface of the bottom body part 2. The support band part 4 is connected to the support band hanging part 3. The support band part 4 is not directly connected to the bottom body part 2.

よって、ボトム本体部2の穿き口2aを地面よりも上方に持ち上げた場合、サポートバンド部4は、サポートバンド吊り下げ部3によってボトム本体部2の内側に吊り下げられる。なお、サポートバンド部4は、例えば、ボトム本体部2の穿き口2a側を下方に向けた場合は、ボトム本体部2の外側に露出する。また、ボトム本体部2を平面に置いた場合は、吊り下げられない。 Therefore, when the piercing opening 2a of the bottom body 2 is raised above the ground, the support band 4 is suspended from the inside of the bottom body 2 by the support band suspension part 3. Note that, for example, when the piercing opening 2a of the bottom body 2 is facing downward, the support band 4 is exposed on the outside of the bottom body 2. Also, when the bottom body 2 is placed on a flat surface, it is not suspended.

図2は、サポートバンド吊り下げ部3及びサポートバンド部4の概略構成を示す斜視図である。図2は、サポートバンド吊り下げ部3がサポートバンド部4を吊り下げている状態を示す。以下のサポートバンド吊り下げ部3及びサポートバンド部4に関する説明では、図2の姿勢を基準とする。 Figure 2 is a perspective view showing the schematic configuration of the support band hanging part 3 and the support band part 4. Figure 2 shows the state in which the support band hanging part 3 hangs the support band part 4. The following explanation of the support band hanging part 3 and the support band part 4 will be based on the position in Figure 2.

本実施形態では、図2に示すように、サポートバンド吊り下げ部3は、環状である。サポートバンド吊り下げ部3は、ボトム本体部2の周方向に延びている。サポートバンド吊り下げ部3の一方の端部3aは、例えば、ボトム本体部2の内面におけるウエスト部21と身頃部22との境界部分に接続されている。サポートバンド吊り下げ部3の他方の端部3bには、骨盤サポート部41の筒軸方向の一方の端部4aが接続されている。 In this embodiment, as shown in FIG. 2, the support band hanging part 3 is annular. The support band hanging part 3 extends in the circumferential direction of the bottom body part 2. One end 3a of the support band hanging part 3 is connected, for example, to the boundary between the waist part 21 and the body part 22 on the inner surface of the bottom body part 2. The other end 3b of the support band hanging part 3 is connected to one end 4a in the axial direction of the pelvis support part 41.

なお、図2に示すサポートバンド吊り下げ部3の構成は、一例である。サポートバンド吊り下げ部は、ボトム本体部の内側にサポートバンド部を吊り下げることができる構成を有していればよい。例えば、サポートバンド吊り下げ部は、ボトム本体部の周方向に延びる複数の部材で構成されていてもよい。サポートバンド吊り下げ部は、サポートバンド部を吊り下げ可能な複数の紐状の部材であってもよい。 The configuration of the support band hanging part 3 shown in FIG. 2 is one example. The support band hanging part only needs to have a configuration that allows the support band part to be hung inside the bottom main body part. For example, the support band hanging part may be composed of multiple members that extend in the circumferential direction of the bottom main body part. The support band hanging part may be multiple string-like members that allow the support band part to be hung.

本実施形態では、サポートバンド吊り下げ部3は、周方向及び軸方向に伸縮する素材によって構成されている。サポートバンド吊り下げ部3を構成する素材のヤング率は、骨盤サポート部41及び骨盤底筋サポート部42を構成する素材のヤング率よりも小さい。 In this embodiment, the support band hanging part 3 is made of a material that stretches in the circumferential and axial directions. The Young's modulus of the material that makes up the support band hanging part 3 is smaller than the Young's modulus of the material that makes up the pelvic support part 41 and the pelvic floor muscle support part 42.

なお、サポートバンド吊り下げ部は、周方向または軸方向の一方に伸縮する素材によって構成されていてもよい。サポートバンド吊り下げ部は、軸方向に対して傾斜する方向に伸縮する素材によって構成されていてもよい。サポートバンド吊り下げ部は、伸縮しない素材によって構成されていてもよい。 The support band hanging portion may be made of a material that stretches in either the circumferential or axial direction. The support band hanging portion may be made of a material that stretches in a direction inclined relative to the axial direction. The support band hanging portion may be made of a material that does not stretch.

図2に示すように、サポートバンド部4は、骨盤サポート部41と、骨盤底筋サポート部42とを有する。 As shown in FIG. 2, the support band portion 4 has a pelvic support portion 41 and a pelvic floor muscle support portion 42.

骨盤サポート部41は、筒状である。骨盤サポート部41は、筒軸方向の一方の端部4aがサポートバンド吊り下げ部3に接続されている。上述したように、骨盤サポート部41は、ボトム本体部2には、直接接続されていない。骨盤サポート部41は、サポートバンド吊り下げ部3を介して、ボトム本体部2に支持されている。 The pelvis support part 41 is cylindrical. One end 4a of the pelvis support part 41 in the cylindrical axial direction is connected to the support band hanging part 3. As described above, the pelvis support part 41 is not directly connected to the bottom main body part 2. The pelvis support part 41 is supported by the bottom main body part 2 via the support band hanging part 3.

骨盤サポート部41は、前部411と、後部412とを含む。前部411は、ボトム本体部2の前身頃側でボトム本体部2の周方向に延びる帯状である。後部412は、ボトム本体部2の後身頃側でボトム本体部2の周方向に延びる帯状である。図2に、前部411と後部412との境界Cを、一点鎖線によって示す。 The pelvis support part 41 includes a front part 411 and a rear part 412. The front part 411 is a band-like shape that extends in the circumferential direction of the bottom main body part 2 on the front body side of the bottom main body part 2. The rear part 412 is a band-like shape that extends in the circumferential direction of the bottom main body part 2 on the rear body side of the bottom main body part 2. In FIG. 2, the boundary C between the front part 411 and the rear part 412 is indicated by a dashed line.

骨盤サポート部41は、少なくとも周方向に伸縮する素材によって構成されている。本実施形態では、骨盤サポート部41を構成する素材の前記周方向のヤング率は、サポートバンド吊り下げ部3を構成する素材のヤング率よりも大きい。 The pelvis support section 41 is made of a material that stretches at least in the circumferential direction. In this embodiment, the Young's modulus in the circumferential direction of the material that makes up the pelvis support section 41 is greater than the Young's modulus of the material that makes up the support band hanging section 3.

骨盤サポート部41は、複数の部材が接続されて構成されていてもよいし、1つの部材によって構成されていてもよい。 The pelvis support section 41 may be made up of multiple connected members, or may be made up of a single member.

本実施形態では、骨盤サポート部41は、筒軸方向の一方の端部4aから筒軸方向の他方の端部4bに亘って周方向の長さが一定である。骨盤サポート部41の周方向の長さは、ボトム本体部2を着用する使用者の標準的な骨盤回りよりも短い。 In this embodiment, the pelvis support part 41 has a constant circumferential length from one end 4a in the axial direction to the other end 4b in the axial direction. The circumferential length of the pelvis support part 41 is shorter than the standard pelvis circumference of a user wearing the bottom body part 2.

骨盤底筋サポート部42は、帯状である。骨盤底筋サポート部42の長手方向の一方の端部は、骨盤サポート部41の前部411における筒軸方向の他方の端部4bのうち、前記周方向における中央部分4cに支持されている。骨盤底筋サポート部42の長手方向の他方の端部は、骨盤サポート部41の後部412における筒軸方向の他方の端部4bのうち、前記周方向における中央部分4dに支持されている。骨盤底筋サポート部42は、ボトム本体部2には、直接接続されていない。骨盤底筋サポート部42は、サポートバンド吊り下げ部3及び骨盤サポート部41を介して、ボトム本体部2に支持されている。 The pelvic floor muscle support part 42 is belt-shaped. One longitudinal end of the pelvic floor muscle support part 42 is supported by the central part 4c in the circumferential direction of the other end 4b in the axial direction at the front part 411 of the pelvis support part 41. The other longitudinal end of the pelvic floor muscle support part 42 is supported by the central part 4d in the circumferential direction of the other end 4b in the axial direction at the rear part 412 of the pelvis support part 41. The pelvic floor muscle support part 42 is not directly connected to the bottom main body part 2. The pelvic floor muscle support part 42 is supported by the bottom main body part 2 via the support band hanging part 3 and the pelvis support part 41.

骨盤底筋サポート部42は、少なくとも長手方向に伸縮する素材によって構成されている。骨盤底筋サポート部42を構成する素材の前記長手方向のヤング率は、サポートバンド吊り下げ部3を構成する素材のヤング率よりも大きい。 The pelvic floor muscle support section 42 is made of a material that stretches at least in the longitudinal direction. The Young's modulus in the longitudinal direction of the material that makes up the pelvic floor muscle support section 42 is greater than the Young's modulus of the material that makes up the support band hanging section 3.

骨盤底筋サポート部42は、複数の部材が接続されて構成されていてもよいし、1つの部材によって構成されていてもよい。また、骨盤底筋サポート部42と、骨盤サポート部41とは、別体であってもよいし、一体であってもよい。 The pelvic floor muscle support part 42 may be configured by connecting multiple members, or may be configured by a single member. Furthermore, the pelvic floor muscle support part 42 and the pelvis support part 41 may be separate bodies, or may be integrated.

図3は、使用者がサポートバンド付きボトム衣類1を着用した状態を模式的に示す図である。図3に示すように、使用者がサポートバンド付きボトム衣類1を着用した状態で、骨盤サポート部41は、使用者の骨盤回りに位置する。骨盤底筋サポート部42は、使用者の足の間を前後方向に延びるように位置する。 Figure 3 is a schematic diagram showing a state in which a user is wearing bottom garment 1 with support bands. As shown in Figure 3, when a user is wearing bottom garment 1 with support bands, pelvic support section 41 is positioned around the user's pelvis. Pelvic floor muscle support section 42 is positioned to extend in the front-to-back direction between the user's legs.

したがって、使用者は、ボトム本体部2を着用すると同時に、骨盤サポート部41を骨盤回りに装着し、且つ、骨盤底筋サポート部42を、股間を経由して前後方向に延びるように装着することができる。 Therefore, the user can wear the bottom body part 2 while simultaneously attaching the pelvic support part 41 around the pelvis and the pelvic floor muscle support part 42 so that it extends in the front-rear direction via the crotch area.

上述したように、骨盤サポート部41は、伸縮する素材によって構成されている。したがって、使用者は、骨盤サポート部41の周方向の長さを、前記使用者の骨盤回りよりも長くなるように伸ばしながら、骨盤サポート部41を装着することができる。 As described above, the pelvic support part 41 is made of an elastic material. Therefore, the user can wear the pelvic support part 41 while stretching the circumferential length of the pelvic support part 41 so that it is longer than the circumference of the user's pelvis.

骨盤サポート部41の周方向の長さは、ボトム本体部2を着用する使用者の標準的な骨盤回りよりも短い。したがって、使用者が骨盤サポート部41を装着した状態で、骨盤サポート部41は、伸びている。よって、使用者が骨盤サポート部41を装着した状態で、骨盤サポート部41は、復元力によって使用者の骨盤回りを締め付けている。これにより、骨盤サポート部41を、使用者の骨盤回りに、より確実に装着することができる。 The circumferential length of the pelvic support part 41 is shorter than the standard pelvic circumference of a user wearing the bottom main body part 2. Therefore, when the user wears the pelvic support part 41, the pelvic support part 41 is stretched. Therefore, when the user wears the pelvic support part 41, the pelvic support part 41 tightens around the user's pelvis by its restoring force. This allows the pelvic support part 41 to be more securely worn around the user's pelvis.

また、骨盤サポート部41は、伸縮するので、伸ばすことにより使用者の身体に対する位置を移動させることができる。これにより、骨盤底筋サポート部42による使用者の骨盤底筋のサポート力を調整することができる。 The pelvic support section 41 is also stretchable, so that its position relative to the user's body can be moved by stretching it. This allows the support force of the pelvic floor muscle support section 42 on the user's pelvic floor muscles to be adjusted.

例えば、骨盤サポート部41をボトム本体部2の上方に移動させることにより、骨盤底筋サポート部42による使用者の骨盤底筋のサポート力を大きくすることができる。 For example, by moving the pelvis support section 41 upward in the bottom body section 2, the support force of the pelvic floor muscle support section 42 on the user's pelvic floor muscles can be increased.

また、骨盤サポート部41を吊り下げているサポートバンド吊り下げ部3は、骨盤サポート部41よりもヤング率が小さい素材によって構成されている。よって、サポートバンド吊り下げ部3は、ボトム本体部2の上下方向に、容易に伸縮することができる。したがって、骨盤サポート部41は、ボトム本体部2の下方にも移動可能である。これにより、骨盤底筋サポート部42による使用者の骨盤底筋のサポート力を小さくすることができる。 In addition, the support band hanging part 3 that suspends the pelvic support part 41 is made of a material with a smaller Young's modulus than the pelvic support part 41. Therefore, the support band hanging part 3 can easily expand and contract in the vertical direction of the bottom main body part 2. Therefore, the pelvic support part 41 can also move downward of the bottom main body part 2. This makes it possible to reduce the support force of the pelvic floor muscle support part 42 on the user's pelvic floor muscles.

また、サポートバンド部4は、サポートバンド吊り下げ部3を介して、ボトム本体部2に支持されている。したがって、サポートバンド付きボトム衣類1を着用した使用者が動いた場合でも、サポートバンド部4が、使用者の身体から脱落することを抑制できる。また、例えば、使用者がサポートバンド付きボトム衣類1を着用した状態でしゃがんだ場合などのように、ボトム本体部2に、所定の方向に引っ張られるような力が加えられた場合でも、使用者の身体に対する骨盤サポート部41及び骨盤底筋サポート部42の位置が大きく変わることを抑制できる。 The support band portion 4 is supported by the bottom body portion 2 via the support band hanging portion 3. Therefore, even if the user wearing the bottom garment 1 with support bands moves, the support band portion 4 can be prevented from falling off the user's body. Furthermore, even if a force is applied to the bottom body portion 2 that pulls it in a specific direction, such as when the user squats down while wearing the bottom garment 1 with support bands, the positions of the pelvic support portion 41 and the pelvic floor muscle support portion 42 relative to the user's body can be prevented from changing significantly.

以上説明したように、本実施形態に係るサポートバンド付きボトム衣類1は、筒状のウエスト部21及び少なくとも一部が筒状の身頃部22を有するボトム本体部2と、ボトム本体部2の内側に取り付けられたサポートバンド部4と、を有する。サポートバンド部4は、骨盤サポート部41と、骨盤底筋サポート部42とを有する。骨盤サポート部41は、ボトム本体部2の前身頃側でボトム本体部2の周方向に延びる帯状の前部411と、ボトム本体部2の後身頃側で前記周方向に延びる帯状の後部412とを有し、少なくとも周方向に伸縮する素材によって構成された筒状である。骨盤底筋サポート部42は、ボトム本体部2の前後方向に延びる帯状であり、少なくとも長手方向に伸縮する素材によって構成されている。骨盤サポート部41の筒軸方向の一方の端部4aは、ボトム本体部2のウエスト部21に支持されている。骨盤底筋サポート部42の長手方向の一方の端部は、骨盤サポート部41の前部411における筒軸方向の他方の端部4bに支持されている。骨盤底筋サポート部42の長手方向の他方の端部は、骨盤サポート部41の後部412における筒軸方向の他方の端部4bに支持されている。 As described above, the bottom garment with support band 1 according to this embodiment has a bottom body part 2 having a cylindrical waist part 21 and a body part 22 with at least a part of the body part 2 being cylindrical, and a support band part 4 attached to the inside of the bottom body part 2. The support band part 4 has a pelvis support part 41 and a pelvic floor muscle support part 42. The pelvis support part 41 has a band-shaped front part 411 extending in the circumferential direction of the bottom body part 2 on the front body side of the bottom body part 2, and a band-shaped rear part 412 extending in the circumferential direction on the rear body side of the bottom body part 2, and is cylindrical and made of a material that stretches at least in the circumferential direction. The pelvic floor muscle support part 42 is band-shaped extending in the front-rear direction of the bottom body part 2, and is made of a material that stretches at least in the longitudinal direction. One end part 4a of the pelvis support part 41 in the cylindrical axis direction is supported by the waist part 21 of the bottom body part 2. One end of the pelvic floor muscle support part 42 in the longitudinal direction is supported by the other end 4b in the axial direction of the front part 411 of the pelvis support part 41. The other end of the pelvic floor muscle support part 42 in the longitudinal direction is supported by the other end 4b in the axial direction of the rear part 412 of the pelvis support part 41.

上述の構成を有するサポートバンド付きボトム衣類1では、骨盤サポート部41をボトム本体部2の内面に沿ってボトム本体部2の周方向に延びるように環状に配置し、且つ、骨盤底筋サポート部42を、骨盤サポート部41に対してボトム本体部2の裾2b側で前後方向に延びるように配置可能である。よって、使用者がサポートバンド付きボトム衣類1を着用する際に、サポートバンド部4の骨盤サポート部41を使用者の骨盤回りに装着し、サポートバンド部4の骨盤底筋サポート部42を前記使用者の股間を経由して前後方向に延びるように装着することができる。骨盤サポート部41及び骨盤底筋サポート部42は、伸縮する素材によって構成されている。よって、使用者がサポートバンド付きボトム衣類1を着用することによって、サポートバンド部4を前記使用者の身体に対して適切な位置に容易に位置付けることができる。 In the bottom garment 1 with support band having the above-mentioned configuration, the pelvis support part 41 is arranged in a ring shape so as to extend in the circumferential direction of the bottom body part 2 along the inner surface of the bottom body part 2, and the pelvic floor muscle support part 42 can be arranged so as to extend in the front-rear direction on the hem 2b side of the bottom body part 2 relative to the pelvis support part 41. Therefore, when a user wears the bottom garment with support band 1, the pelvis support part 41 of the support band part 4 can be attached around the user's pelvis, and the pelvic floor muscle support part 42 of the support band part 4 can be attached so as to extend in the front-rear direction via the user's crotch. The pelvis support part 41 and the pelvic floor muscle support part 42 are made of a stretchable material. Therefore, when a user wears the bottom garment with support band 1, the support band part 4 can be easily positioned at an appropriate position relative to the user's body.

また、骨盤サポート部41は、周方向に伸縮する。よって、骨盤サポート部41は、前記使用者の骨盤回りに容易に固定できる。したがって、使用者がサポートバンド付きボトム衣類1を着用した状態で、前記使用者の身体に対してサポートバンド部4が装着された位置が変わることを抑制できる。また、骨盤サポート部41は、使用者のウエストで保持されるウエスト部21を有するボトム本体部2に支持されている。したがって、サポートバンド付きボトム衣類1を着用した使用者が動いた場合でも、サポートバンド部4が前記使用者の身体から脱落することを抑制できる。 The pelvic support section 41 also expands and contracts in the circumferential direction. Therefore, the pelvic support section 41 can be easily fixed around the user's pelvis. This prevents the support band section 4 from changing its position relative to the user's body when the user is wearing the bottom garment 1 with support band. The pelvic support section 41 is also supported by the bottom body section 2, which has a waist section 21 that is held by the user's waist. Therefore, even if the user wearing the bottom garment 1 with support band moves, the support band section 4 can be prevented from falling off the user's body.

よって、骨盤底筋をサポートするサポートバンドをボトム衣類の着用と同時に簡易に装着可能なサポートバンド付きボトム衣類1を提供することができる。 Therefore, it is possible to provide bottom garment 1 with a support band that can be easily attached at the same time as putting on the bottom garment, to support the pelvic floor muscles.

(実施形態2)
次に、図4を参照して、実施形態2に係るサポートバンド付きボトム衣類について説明する。本実施形態では、サポートバンド付きボトム衣類のサポートバンド吊り下げ部103及びサポートバンド部104の構成が、実施形態1に係るサポートバンド付きボトム衣類1のサポートバンド吊り下げ部3及びサポートバンド部4とは、異なる。以下では、実施形態1と同一の構成には同一の符号を付し、説明を省略し、実施形態1の構成とは異なる構成について説明する。
(Embodiment 2)
Next, a bottom garment with support bands according to embodiment 2 will be described with reference to Fig. 4. In this embodiment, the configurations of the support band hanging part 103 and the support band part 104 of the bottom garment with support bands are different from the support band hanging part 3 and the support band part 4 of the bottom garment with support bands 1 according to embodiment 1. In the following, the same components as those in embodiment 1 are given the same reference numerals, and the description will be omitted, and the components different from those in embodiment 1 will be described.

図4は、本実施形態に係るサポートバンド付きボトム衣類におけるサポートバンド吊り下げ部103及びサポートバンド部104の概略構成を示す斜視図である。本実施形態でも、サポートバンド吊り下げ部103及びサポートバンド部104は、実施形態1と同様に、ボトム本体部2の内側に取り付けられている。本実施形態では、サポートバンド吊り下げ部103及びサポートバンド部104は、複数の布が縫合されることにより形成されている。 Figure 4 is a perspective view showing the schematic configuration of the support band hanging part 103 and the support band part 104 in the bottom garment with support band according to this embodiment. In this embodiment, the support band hanging part 103 and the support band part 104 are attached to the inside of the bottom body part 2, as in the first embodiment. In this embodiment, the support band hanging part 103 and the support band part 104 are formed by sewing together multiple pieces of cloth.

図4に示すように、サポートバンド吊り下げ部103は、帯状の布の長手方向の一方の端部と他方の端部とが縫合部Aで縫合されることにより、環状に形成されている。サポートバンド吊り下げ部103は、軸方向の一方の端部3aが、ボトム本体部2の内面に縫合されている。サポートバンド吊り下げ部103とボトム本体部2との縫合部分の図示は省略する。 As shown in FIG. 4, the support band hanging part 103 is formed into a ring shape by sewing one end and the other end of the belt-shaped cloth in the longitudinal direction at sewing part A. One axial end 3a of the support band hanging part 103 is sewn to the inner surface of the bottom body part 2. The sewing part between the support band hanging part 103 and the bottom body part 2 is omitted from the illustration.

サポートバンド吊り下げ部103は、サポートバンド部104を構成する布よりもヤング率が小さい布によって構成されている。サポートバンド吊り下げ部103は、例えば、メッシュ状の布によって構成されている。 The support band hanging part 103 is made of a cloth having a smaller Young's modulus than the cloth that makes up the support band part 104. The support band hanging part 103 is made of, for example, a mesh-like cloth.

図4に示すように、サポートバンド部104は、骨盤サポート部141と、骨盤底筋サポート部142とを有する。 As shown in FIG. 4, the support band portion 104 has a pelvic support portion 141 and a pelvic floor muscle support portion 142.

本実施形態では、骨盤サポート部141は、前側中央部141aと、後側中央部141bと、第1連結部141cと、第2連結部141dとを有する。前側中央部141a、第1連結部141c、後側中央部141b及び第2連結部141dは、ボトム本体部2の周方向に並んでいる。 In this embodiment, the pelvis support portion 141 has a front central portion 141a, a rear central portion 141b, a first connecting portion 141c, and a second connecting portion 141d. The front central portion 141a, the first connecting portion 141c, the rear central portion 141b, and the second connecting portion 141d are aligned in the circumferential direction of the bottom body portion 2.

前側中央部141aは、ボトム本体部2の前身頃側における左右方向の中央に位置する。後側中央部141bは、ボトム本体部2の後身頃側における左右方向の中央に位置する。 The front center portion 141a is located in the center in the left-right direction on the front body side of the bottom body portion 2. The back center portion 141b is located in the center in the left-right direction on the back body side of the bottom body portion 2.

第1連結部141cは、前側中央部141a及び後側中央部141bに対して右側に位置するとともに、前側中央部141aと後側中央部141bとの間に位置する。第1連結部141cは、前側中央部141aと後側中央部141bとを周方向に連結している。 The first connecting portion 141c is located to the right of the front central portion 141a and the rear central portion 141b, and is located between the front central portion 141a and the rear central portion 141b. The first connecting portion 141c connects the front central portion 141a and the rear central portion 141b in the circumferential direction.

第2連結部141dは、前側中央部141a及び後側中央部141bに対して左側に位置するとともに、前側中央部141aと後側中央部141bとの間に位置する。第2連結部141dは、前側中央部141aと後側中央部141bとを周方向に連結している。 The second connecting portion 141d is located to the left of the front central portion 141a and the rear central portion 141b, and is located between the front central portion 141a and the rear central portion 141b. The second connecting portion 141d connects the front central portion 141a and the rear central portion 141b in the circumferential direction.

本実施形態では、骨盤底筋サポート部142は、骨盤サポート部141の前側中央部141a及び後側中央部141bと一体に形成されている。 In this embodiment, the pelvic floor muscle support portion 142 is formed integrally with the front central portion 141a and the rear central portion 141b of the pelvic support portion 141.

具体的には、本実施形態では、サポートバンド部104は、第1布151、第2布152及び第3布153が縫合されることにより構成されている。 Specifically, in this embodiment, the support band portion 104 is formed by sewing together a first cloth 151, a second cloth 152, and a third cloth 153.

第1布151は、ボトム本体部2の前後方向に延びている。第1布151は、少なくとも長手方向に伸縮する。第1布151の長手方向の一方の端部は、サポートバンド吊り下げ部103の軸方向の他方の端部3bのうち、前側の左右方向の中央部分3cに縫合されている。第1布151の長手方向の他方の端部は、サポートバンド吊り下げ部103の軸方向の他方の端部3bのうち、後側の左右方向の中央部分3dに縫合されている。 The first cloth 151 extends in the front-rear direction of the bottom body portion 2. The first cloth 151 stretches at least in the longitudinal direction. One longitudinal end of the first cloth 151 is sewn to the front left-right center portion 3c of the other axial end portion 3b of the support band hanging portion 103. The other longitudinal end of the first cloth 151 is sewn to the rear left-right center portion 3d of the other axial end portion 3b of the support band hanging portion 103.

第1布151は、第1布前部151aと、第1布後部151bと、第1布中間前部151cと、第1布中間後部151dとを有する。図4に、第1布前部151aと第1布中間前部151cとの境界B1、第1布中間前部151cと第1布中間後部151dとの境界B2、及び、第1布中間後部151dと第1布後部151bとの境界B3を、それぞれ一点鎖線によって示す。 The first cloth 151 has a first cloth front portion 151a, a first cloth rear portion 151b, a first cloth intermediate front portion 151c, and a first cloth intermediate rear portion 151d. In FIG. 4, the boundary B1 between the first cloth front portion 151a and the first cloth intermediate front portion 151c, the boundary B2 between the first cloth intermediate front portion 151c and the first cloth intermediate rear portion 151d, and the boundary B3 between the first cloth intermediate rear portion 151d and the first cloth rear portion 151b are each indicated by a dashed line.

第1布前部151aは、ボトム本体部2の前身頃側の内面に沿って上下方向に延びている。第1布前部151aは、骨盤サポート部141の前側中央部141aを構成する。第1布後部151bは、ボトム本体部2の後身頃側の内面に沿って上下方向に延びている。第1布後部151bは、骨盤サポート部141の後側中央部141bを構成する。 The first cloth front part 151a extends vertically along the inner surface of the front body side of the bottom body part 2. The first cloth front part 151a constitutes the front center part 141a of the pelvis support part 141. The first cloth rear part 151b extends vertically along the inner surface of the rear body side of the bottom body part 2. The first cloth rear part 151b constitutes the rear center part 141b of the pelvis support part 141.

第1布中間前部151cは、第1布前部151aと第1布後部151bとの間に位置し、且つ、ボトム本体部2の前身頃側で前後方向に延びている。第1布中間後部151dは、第1布中間前部151cと第1布後部151bとの間に位置し、且つ、ボトム本体部2の後身頃側で前後方向に延びている。第1布中間前部151c及び第1布中間後部151dは、骨盤底筋サポート部142を構成する。 The first cloth intermediate front portion 151c is located between the first cloth front portion 151a and the first cloth rear portion 151b, and extends in the front-to-rear direction on the front body side of the bottom body portion 2. The first cloth intermediate rear portion 151d is located between the first cloth intermediate front portion 151c and the first cloth rear portion 151b, and extends in the front-to-rear direction on the rear body side of the bottom body portion 2. The first cloth intermediate front portion 151c and the first cloth intermediate rear portion 151d constitute the pelvic floor muscle support portion 142.

第2布152は、ボトム本体部2の右側の内面に沿ってボトム本体部2の周方向に延びている。第2布152は、少なくとも長手方向に伸縮する。第2布152の長手方向の前側の端部は、第1布151の第1布前部151aに縫合されている。第2布152の長手方向の後側の端部は、第1布151の第1布後部151bに縫合されている。第2布152の短手方向の一方の端部4aは、サポートバンド吊り下げ部103の軸方向の他方の端部3bに縫合されている。第2布152は、骨盤サポート部141の第1連結部141cを構成する。 The second cloth 152 extends in the circumferential direction of the bottom body part 2 along the inner surface of the right side of the bottom body part 2. The second cloth 152 stretches at least in the longitudinal direction. The front end of the second cloth 152 in the longitudinal direction is sewn to the first cloth front part 151a of the first cloth 151. The rear end of the second cloth 152 in the longitudinal direction is sewn to the first cloth rear part 151b of the first cloth 151. One end 4a in the short direction of the second cloth 152 is sewn to the other end 3b in the axial direction of the support band hanging part 103. The second cloth 152 constitutes the first connecting part 141c of the pelvis support part 141.

第3布153は、ボトム本体部2の左側の内面に沿ってボトム本体部2の周方向に延びている。第3布153は、少なくとも長手方向に伸縮する。第3布153の長手方向の前側の端部は、第1布151の第1布前部151aに縫合されている。第3布153の長手方向の後側の端部は、第1布151の第1布後部151bに縫合されている。第3布153の短手方向の一方の端部4aは、サポートバンド吊り下げ部103の軸方向の他方の端部3bに縫合されている。第3布153は、骨盤サポート部141の第2連結部141dを構成する。 The third cloth 153 extends in the circumferential direction of the bottom body part 2 along the inner surface of the left side of the bottom body part 2. The third cloth 153 stretches at least in the longitudinal direction. The front end of the third cloth 153 in the longitudinal direction is sewn to the first cloth front part 151a of the first cloth 151. The rear end of the third cloth 153 in the longitudinal direction is sewn to the first cloth rear part 151b of the first cloth 151. One end 4a in the short direction of the third cloth 153 is sewn to the other end 3b in the axial direction of the support band hanging part 103. The third cloth 153 constitutes the second connecting part 141d of the pelvis support part 141.

上述の構成を有するサポートバンド部104では、骨盤底筋サポート部142を構成する第1布中間前部151c及び第1布中間後部151dは、骨盤サポート部141の第1布前部151a及び第1布後部151bと一体である。第1布前部151a及び第1布後部151bは、サポートバンド吊り下げ部103に縫合されている。サポートバンド吊り下げ部103は、ボトム本体部2に縫合されている。これにより、骨盤底筋サポート部142の強度を向上することができるとともに、ボトム本体部2によって骨盤底筋サポート部142をより確実に支持することができる。したがって、より確実に使用者の骨盤底筋をサポート可能な構成を実現できる。 In the support band section 104 having the above-mentioned configuration, the first cloth intermediate front section 151c and the first cloth intermediate rear section 151d constituting the pelvic floor muscle support section 142 are integral with the first cloth front section 151a and the first cloth rear section 151b of the pelvis support section 141. The first cloth front section 151a and the first cloth rear section 151b are sewn to the support band hanging section 103. The support band hanging section 103 is sewn to the bottom main body section 2. This improves the strength of the pelvic floor muscle support section 142 and allows the bottom main body section 2 to more reliably support the pelvic floor muscle support section 142. Therefore, a configuration that can more reliably support the user's pelvic floor muscles can be realized.

本実施形態では、骨盤底筋サポート部142には、長手方向の中央よりも後側における幅方向の中央部に、長手方向に延び、且つ、前記幅方向の両側部よりもヤング率が大きい伸縮補強部144が設けられている。 In this embodiment, the pelvic floor muscle support section 142 is provided with an elastic reinforcement section 144 at the center of the width direction behind the center of the length direction, which extends in the longitudinal direction and has a larger Young's modulus than both sides of the width direction.

これにより、骨盤底筋サポート部142の幅方向の中央部を、前記幅方向の両側部よりも伸びにくくすることができる。よって、前記幅方向の中央部を、使用者の左右の臀部の間の凹み内にフィットさせることができる。したがって、使用者がサポートバンド付きボトム衣類を着用した状態で、骨盤底筋サポート部142を、前記使用者の身体に対して適切な位置に容易に位置付けることができる。 This makes it possible to make the widthwise center portion of the pelvic floor muscle support section 142 less stretchable than the widthwise side portions. This allows the widthwise center portion to fit into the recess between the left and right buttocks of the user. This allows the pelvic floor muscle support section 142 to be easily positioned in an appropriate position relative to the user's body when the user is wearing bottom clothing with a support band.

本実施形態では、伸縮補強部144は、第1布151において、境界B2よりも後側における幅方向の中央部に、弾性部材154を縫合することにより構成されている。弾性部材154は、第1布151の長手方向に延びる帯状である。弾性部材154は、第1布151よりも幅が狭い。 In this embodiment, the stretch reinforcement portion 144 is configured by sewing an elastic member 154 to the center of the width of the first cloth 151 behind the boundary B2. The elastic member 154 is a strip extending in the longitudinal direction of the first cloth 151. The elastic member 154 is narrower than the first cloth 151.

第1布151のうち、弾性部材154が縫合された部分は、縫合されていない部分よりも、長手方向に伸びにくくなる。よって、この構成により、第1布151のうち、境界B2よりも後側における中央部を、使用者の左右の臀部の間の窪み内にフィットさせることができる。 The portion of the first cloth 151 to which the elastic member 154 is sewn is less likely to stretch in the longitudinal direction than the portion that is not sewn. This configuration therefore allows the central portion of the first cloth 151 behind the boundary B2 to fit within the hollow between the left and right buttocks of the user.

なお、伸縮補強部は、例えば、第1布の幅方向の中央部を、幅方向の両側部よりもヤング率が大きくなるように編むことにより、形成されてもよい。これにより、前記中央部を伸びにくくすることができる。なお、本実施形態のように、第1布151に弾性部材154を縫合することによって、伸縮補強部144を構成することにより、骨盤底筋サポート部142に伸縮補強部144を容易に形成することができる。 The stretch reinforcement section may be formed, for example, by knitting the widthwise center of the first fabric so that the Young's modulus is greater than that of both widthwise sides. This makes it possible to make the center less likely to stretch. In this embodiment, the stretch reinforcement section 144 is formed by sewing an elastic member 154 to the first fabric 151, so that the stretch reinforcement section 144 can be easily formed in the pelvic floor muscle support section 142.

(その他の実施形態)
以上、本発明の実施の形態を説明したが、上述した実施の形態は本発明を実施するための例示に過ぎない。よって、上述した実施の形態に限定されることなく、その趣旨を逸脱しない範囲内で上述した実施の形態を適宜変形して実施することが可能である。
Other Embodiments
Although the embodiment of the present invention has been described above, the above-mentioned embodiment is merely an example for carrying out the present invention. Therefore, the present invention is not limited to the above-mentioned embodiment, and it is possible to carry out the above-mentioned embodiment by appropriately modifying it within the scope of the gist of the present invention.

前記各実施形態では、サポートバンド付きボトム衣類1は、サポートバンド吊り下げ部3,103を有し、サポートバンド部4,104は、サポートバンド吊り下げ部3,103を介して、ボトム本体部2に支持されている。しかしながら、サポートバンド付きボトム衣類は、サポートバンド吊り下げ部を有さなくてもよい。この場合、サポートバンド部は、ボトム本体部に直接接続されていてもよい。サポートバンド部は、他の部材を介してボトム本体部2に支持されていてもよい。 In each of the above embodiments, the bottom garment with support band 1 has a support band hanging part 3, 103, and the support band part 4, 104 is supported by the bottom body part 2 via the support band hanging part 3, 103. However, the bottom garment with support band does not have to have a support band hanging part. In this case, the support band part may be directly connected to the bottom body part. The support band part may be supported by the bottom body part 2 via another member.

前記各実施形態では、サポートバンド吊り下げ部3,103を構成する素材のヤング率は、骨盤サポート部41,141及び骨盤底筋サポート部42,142を構成する素材のヤング率よりも小さい。しかしながら、サポートバンド吊り下げ部を構成する素材のヤング率は、骨盤サポート部及び骨盤底筋サポート部を構成する素材のヤング率と同じ、または、大きくてもよい。 In each of the above embodiments, the Young's modulus of the material constituting the support band hanging part 3, 103 is smaller than the Young's modulus of the material constituting the pelvic support part 41, 141 and the pelvic floor muscle support part 42, 142. However, the Young's modulus of the material constituting the support band hanging part may be the same as or larger than the Young's modulus of the material constituting the pelvic support part and the pelvic floor muscle support part.

前記各実施形態では、骨盤サポート部41,141は、筒軸方向の一方の端部4aから筒軸方向の他方の端部4bに亘って周方向の長さが一定である。しかしながら、骨盤サポート部は、筒軸方向の一方の端部と筒軸方向の他方の端部との間に、周方向の長さが異なる部分を有してもよい。 In each of the above embodiments, the pelvis support portion 41, 141 has a constant circumferential length from one end 4a in the axial direction to the other end 4b in the axial direction. However, the pelvis support portion may have a portion with a different circumferential length between one end in the axial direction and the other end in the axial direction.

前記実施形態1では、骨盤底筋サポート部42の長手方向の一方の端部は、骨盤サポート部41の前部411における筒軸方向の他方の端部4bのうち、前記周方向における中央部分4cに支持されている。骨盤底筋サポート部42の長手方向の他方の端部は、骨盤サポート部41の後部412における筒軸方向の他方の端部4bのうち、前記周方向における中央部分4dに支持されている。しかしながら、骨盤底筋サポート部の長手方向の一方の端部は、骨盤サポート部の前部の下端部のうち、前記周方向における中央部分以外の部分に支持されていてもよい。骨盤底筋サポート部の長手方向の他方の端部は、骨盤サポート部の後部の下端部のうち、前記周方向における中央部分以外の部分に支持されていてもよい。 In the first embodiment, one longitudinal end of the pelvic floor muscle support part 42 is supported by the central part 4c in the circumferential direction of the other end 4b in the axial direction at the front part 411 of the pelvis support part 41. The other longitudinal end of the pelvic floor muscle support part 42 is supported by the central part 4d in the circumferential direction of the other end 4b in the axial direction at the rear part 412 of the pelvis support part 41. However, one longitudinal end of the pelvic floor muscle support part may be supported by a part of the lower end of the front part of the pelvis support part other than the central part in the circumferential direction. The other longitudinal end of the pelvic floor muscle support part may be supported by a part of the lower end of the rear part of the pelvis support part other than the central part in the circumferential direction.

前記実施形態2では、第1布151の長手方向の一方の端部は、サポートバンド吊り下げ部103の軸方向の他方の端部3bのうち、前側の左右方向の中央部分3cに縫合されている。第1布151の長手方向の他方の端部は、サポートバンド吊り下げ部103の軸方向の他方の端部3bのうち、後側の左右方向の中央部分3dに縫合されている。しかしながら、第1布の長手方向の一方の端部は、前記前側の左右方向の中央部分以外の部分に縫合されてもよい。第1布の長手方向の他方の端部は、前記後側の左右方向の中央部分以外の部分に縫合されてもよい。例えば、第1布の長手方向の一方の端部は、ボトム本体部の前身頃に縫合されていてもよい。第1布の長手方向の他方の端部は、ボトム本体部の後身頃に縫合されていてもよい。 In the second embodiment, one end of the first cloth 151 in the longitudinal direction is sewn to the front left-right center portion 3c of the other end 3b in the axial direction of the support band hanging portion 103. The other end of the first cloth 151 in the longitudinal direction is sewn to the rear left-right center portion 3d of the other end 3b in the axial direction of the support band hanging portion 103. However, one end of the first cloth in the longitudinal direction may be sewn to a portion other than the front left-right center portion. The other end of the first cloth in the longitudinal direction may be sewn to a portion other than the rear left-right center portion. For example, one end of the first cloth in the longitudinal direction may be sewn to the front body of the bottom main body portion. The other end of the first cloth in the longitudinal direction may be sewn to the rear body of the bottom main body portion.

前記実施形態2では、サポートバンド部104には、伸縮補強部144が設けられている。しかしながら、サポートバンド部には、伸縮補強部が設けられていなくてもよい。 In the second embodiment, the support band portion 104 is provided with an elastic reinforcement portion 144. However, the support band portion does not necessarily have to be provided with an elastic reinforcement portion.

前記実施形態2では、伸縮補強部144は、骨盤底筋サポート部142の長手方向の中央よりも後側に延びている。しかしながら、伸縮補強部は、前記長手方向の中央よりも前側にも延びていてもよい。伸縮補強部は、前記長手方向の中央よりも後方から後側に延びていてもよい。 In the second embodiment, the elastic reinforcement portion 144 extends rearward from the center of the longitudinal direction of the pelvic floor muscle support portion 142. However, the elastic reinforcement portion may also extend forward from the center of the longitudinal direction. The elastic reinforcement portion may also extend rearward from the center of the longitudinal direction.

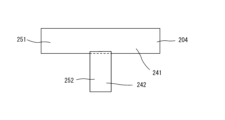
前記実施形態2において、図4は、サポートバンド部104を構成する素材の配置の一例を示す。サポートバンド部204を構成する素材は、例えば図5に示すように配置されていてもよい。図5は、サポートバンド部204を前から見た平面図である。 In the second embodiment, FIG. 4 shows an example of the arrangement of the materials constituting the support band portion 104. The materials constituting the support band portion 204 may be arranged, for example, as shown in FIG. 5. FIG. 5 is a plan view of the support band portion 204 as viewed from the front.

図5に示す一例では、サポートバンド部204の骨盤サポート部241は、第1布251によって構成されている。第1布251は、ボトム本体部2の内面に沿ってボトム本体部2の軸方向に延びる筒状である。第1布251は、ボトム本体部2の前身頃側でボトム本体部2の周方向に延びる帯状の前部と、ボトム本体部2の後身頃側でボトム本体部2の周方向に延びる帯状の後部と、を有する。 In the example shown in FIG. 5, the pelvis support portion 241 of the support band portion 204 is composed of a first cloth 251. The first cloth 251 is tubular and extends in the axial direction of the bottom body portion 2 along the inner surface of the bottom body portion 2. The first cloth 251 has a band-shaped front portion that extends in the circumferential direction of the bottom body portion 2 on the front body side of the bottom body portion 2, and a band-shaped rear portion that extends in the circumferential direction of the bottom body portion 2 on the rear body side of the bottom body portion 2.

サポートバンド部204の骨盤底筋サポート部242は、第2布252によって構成されている。第2布252は、ボトム本体部の前後方向に延びる帯状である。第2布252の長手方向の一方の端部は、第1布251の前記前部における筒軸方向の端部に縫合されている。第2布252の長手方向の他方の端部は、第1布251の前記後部における筒軸方向の端部に縫合されている。 The pelvic floor muscle support section 242 of the support band section 204 is composed of a second cloth 252. The second cloth 252 is strip-shaped and extends in the front-to-rear direction of the bottom body section. One longitudinal end of the second cloth 252 is sewn to the end of the first cloth 251 in the axial direction at the front part. The other longitudinal end of the second cloth 252 is sewn to the end of the first cloth 251 in the axial direction at the rear part.

このような構成によっても、骨盤底筋をサポートするサポートバンドをボトム衣類の着用と同時に簡易に装着可能なサポートバンド付きボトム衣類を提供することができる。 This configuration also makes it possible to provide bottom clothing with a support band that can be easily attached at the same time as putting on the bottom clothing, to support the pelvic floor muscles.

本発明は、ボトム衣類の内側に、サポートバンドが取り付けられているサポートバンド付きのボトム衣類に利用可能である。 The present invention can be used for bottom garments with a support band, where the support band is attached to the inside of the bottom garment.

1 サポートバンド付きボトム衣類
2 ボトム本体部
2a 穿き口
2b 裾
3、103 サポートバンド吊り下げ部
3a 一方の端部
3b 他方の端部
3c、3d 中央部分
4、104、204 サポートバンド部
4a 一方の端部
4b 他方の端部
4c、4d 中央部分
21 ウエスト部
22 身頃部
41、141、241 骨盤サポート部
141a 前側中央部
141b 後側中央部
141c 第1連結部
141d 第2連結部
42、142、242 骨盤底筋サポート部
144 伸縮補強部
151、251 第1布
151a 第1布前部
151b 第1布後部
151c 第1布中間前部
151d 第1布中間後部
152、252 第2布
153 第3布
154 弾性部材
411 前部
412 後部
1 Bottom garment with support band 2 Bottom body part 2a Opening 2b Hem 3, 103 Support band hanging part 3a One end 3b Other end 3c, 3d Central part 4, 104, 204 Support band part 4a One end 4b Other end 4c, 4d Central part 21 Waist part 22 Body part 41, 141, 241 Pelvic support part 141a Front central part 141b Rear central part 141c First connecting part 141d Second connecting part 42, 142, 242 Pelvic floor muscle support part 144 Elastic reinforcement part 151, 251 First cloth 151a First cloth front part 151b First cloth rear part 151c First cloth middle front part 151d First cloth middle rear part 152, 252 Second cloth 153 Third cloth 154 Elastic member 411 Front part 412 rear end

Claims (8)

筒状のウエスト部及び少なくとも一部が筒状の身頃部を有するボトム本体部と、
前記ボトム本体部の内側に取り付けられたサポートバンド部と、
を有し、
前記サポートバンド部は、
前記ボトム本体部の前身頃側で前記ボトム本体部の周方向に延びる帯状の前部と、前記ボトム本体部の後身頃側で前記周方向に延びる帯状の後部とを有し、少なくとも周方向に伸縮する素材によって構成されて、復元力によって使用者の骨盤周りを締め付け可能であり、伸ばすことにより使用者の身体に対する位置を移動可能な筒状の骨盤サポート部と、
前記ボトム本体部の前後方向に延びる帯状であり、少なくとも長手方向に伸縮する素材によって構成された骨盤底筋サポート部と、
を有し、
前記骨盤サポート部の筒軸方向の一方の端部は、
前記ボトム本体部の前記ウエスト部に支持されていて、
前記骨盤底筋サポート部は前記骨盤サポート部の前記使用者の身体に対する上下移動により、骨盤底筋のサポート力を調整可能なように、長手方向の一方の端部が、前記骨盤サポート部の前記前部における筒軸方向の他方の端部に支持されていて、長手方向の他方の端部が、前記骨盤サポート部の前記後部における筒軸方向の他方の端部に支持されている、
サポートバンド付きボトム衣類。
A bottom body portion having a cylindrical waist portion and a body portion at least partially having a cylindrical shape;
A support band portion attached to the inside of the bottom body portion;
having
The support band portion is
a cylindrical pelvis support part having a band-shaped front part extending in the circumferential direction of the bottom body part on the front body side of the bottom body part and a band-shaped rear part extending in the circumferential direction on the rear body side of the bottom body part, the cylindrical pelvis support part being made of a material that stretches at least in the circumferential direction , capable of tightening around the user's pelvis by a restoring force, and capable of moving its position relative to the user's body by stretching ;
A pelvic floor muscle support part that is a strip-like part extending in the front-rear direction of the bottom body part and is made of a material that is stretchable at least in the longitudinal direction;
having
One end of the pelvis support portion in the cylindrical axis direction is
The bottom body part is supported by the waist part,
The pelvic floor muscle support section has one end in the longitudinal direction supported by the other end in the axial direction at the front part of the pelvic support section, and the other end in the longitudinal direction supported by the other end in the axial direction at the rear part of the pelvic support section , so that the support force of the pelvic floor muscles can be adjusted by vertical movement of the pelvic support section relative to the body of the user.
Bottom garment with support band.
請求項1に記載のサポートバンド付きボトム衣類において、
前記ボトム本体部の内側に、前記サポートバンド部を吊り下げ可能なサポートバンド吊
り下げ部を有し、
前記骨盤サポート部は、
前記サポートバンド吊り下げ部を介して、前記ボトム本体部に支持されている、
サポートバンド付きボトム衣類。
In the bottom garment with support band according to claim 1,
a support band hanging portion capable of hanging the support band portion is provided on the inside of the bottom body portion,
The pelvic support portion is
The support band is supported by the bottom body via the support band hanging portion.
Bottom garment with support band.
請求項2に記載のサポートバンド付きボトム衣類において、
前記サポートバンド吊り下げ部は、
前記骨盤サポート部及び前記骨盤底筋サポート部を構成する素材よりもヤング率が小
さい素材によって構成されている、
サポートバンド付きボトム衣類。
In the bottom garment with support band according to claim 2,
The support band hanging portion is
The pelvic support portion and the pelvic floor muscle support portion are made of a material having a smaller Young's modulus than the material constituting the pelvic support portion.
Bottom garment with support band.
請求項1から3のいずれか一つに記載のサポートバンド付きボトム衣類において、
前記骨盤底筋サポート部の幅方向の中央部に、
長手方向に延び、且つ、前記幅方向の両側部よりもヤング率が大きい伸縮補強部が設
けられている、
サポートバンド付きボトム衣類。
In the bottom garment with a support band according to any one of claims 1 to 3,
At the center of the width of the pelvic floor muscle support part,
An elastic reinforcement portion is provided which extends in the longitudinal direction and has a larger Young's modulus than both side portions in the width direction.
Bottom garment with support band.
請求項4に記載のサポートバンド付きボトム衣類において、
前記伸縮補強部は、
前記骨盤底筋サポート部における長手方向の中央よりも後側に設けられている、
サポートバンド付きボトム衣類。
In the bottom garment with support band according to claim 4,
The elastic reinforcement portion is
The pelvic floor muscle support portion is provided rearward of the longitudinal center thereof.
Bottom garment with support band.
請求項4に記載のサポートバンド付きボトム衣類において、
前記伸縮補強部は、
前記骨盤底筋サポート部の幅方向の中央部に、該骨盤底筋サポート部の長手方向に延
びるように接続され、前記骨盤底筋サポート部よりも幅の狭い帯状の弾性部材によって構
成されている、
サポートバンド付きボトム衣類。
In the bottom garment with support band according to claim 4,
The elastic reinforcement portion is
The pelvic floor muscle support part is connected to the center of the width direction of the pelvic floor muscle support part so as to extend in the longitudinal direction of the pelvic floor muscle support part, and is configured by a band-shaped elastic member having a narrower width than the pelvic floor muscle support part.
Bottom garment with support band.
請求項1から3のいずれか一つに記載のサポートバンド付きボトム衣類において、
前記骨盤サポート部は、
筒軸方向の一方の端部から筒軸方向の他方の端部に亘って周方向の長さが一定である

サポートバンド付きボトム衣類。
In the bottom garment with a support band according to any one of claims 1 to 3,
The pelvic support portion is
The circumferential length is constant from one end in the cylindrical axis direction to the other end in the cylindrical axis direction.
Bottom garment with support band.
請求項1から3のいずれか一つに記載のサポートバンド付きボトム衣類において、
前記骨盤サポート部は、
前記前部において前記周方向の中央に位置する前側中央部と、
前記後部において前記周方向の中央に位置する後側中央部と、
前記前側中央部と前記後側中央部とを前記周方向に連結する第1連結部及び第2連結
部と、
を有し、
前記骨盤底筋サポート部は、前記前側中央部及び前記後側中央部に対して一体に形成さ
れている、
サポートバンド付きボトム衣類。
In the bottom garment with a support band according to any one of claims 1 to 3,
The pelvic support portion is
a front central portion located at a center in the circumferential direction of the front portion;
a rear central portion located at a center in the circumferential direction of the rear portion;
a first connecting portion and a second connecting portion connecting the front central portion and the rear central portion in the circumferential direction;
having
The pelvic floor muscle support portion is integrally formed with the front central portion and the rear central portion.
Bottom garment with support band.
JP2023079675A 2023-05-12 2023-05-12 Bottom garment with support band Active JP7598570B2 (en)

Priority Applications (1)

Application Number Priority Date Filing Date Title
JP2023079675A JP7598570B2 (en) 2023-05-12 2023-05-12 Bottom garment with support band

Applications Claiming Priority (1)

Application Number Priority Date Filing Date Title
JP2023079675A JP7598570B2 (en) 2023-05-12 2023-05-12 Bottom garment with support band

Publications (2)

Publication Number Publication Date
JP2024163793A JP2024163793A (en) 2024-11-22
JP7598570B2 true JP7598570B2 (en) 2024-12-12

Family

ID=93523272

Family Applications (1)

Application Number Title Priority Date Filing Date
JP2023079675A Active JP7598570B2 (en) 2023-05-12 2023-05-12 Bottom garment with support band

Country Status (1)

Country Link
JP (1) JP7598570B2 (en)

Families Citing this family (1)

* Cited by examiner, † Cited by third party
Publication number Priority date Publication date Assignee Title
JP7696548B2 (en) * 2023-11-10 2025-06-23 有限会社青葉 Bottom clothing

Citations (4)

* Cited by examiner, † Cited by third party
Publication number Priority date Publication date Assignee Title
JP2008196089A (en) 2007-02-15 2008-08-28 Shinwa:Kk Trousers with pelvis supporting band
WO2019065708A1 (en) 2017-09-26 2019-04-04 株式会社女性医療研究所 Assistive device for supporting pelvic floor muscle
US20210220106A1 (en) 2020-01-17 2021-07-22 Eurl Cornier Device for the external support of the female urethra under stress
JP2023012782A (en) 2021-07-14 2023-01-26 株式会社ジヴァスタジオ girdle

Family Cites Families (2)

* Cited by examiner, † Cited by third party
Publication number Priority date Publication date Assignee Title
JP2670567B2 (en) * 1995-08-11 1997-10-29 リバー・ストーン株式会社 Pants or skirts with straightening girdle
JPH11206796A (en) * 1998-01-20 1999-08-03 Ripurosu:Kk Hernia band

Patent Citations (4)

* Cited by examiner, † Cited by third party
Publication number Priority date Publication date Assignee Title
JP2008196089A (en) 2007-02-15 2008-08-28 Shinwa:Kk Trousers with pelvis supporting band
WO2019065708A1 (en) 2017-09-26 2019-04-04 株式会社女性医療研究所 Assistive device for supporting pelvic floor muscle
US20210220106A1 (en) 2020-01-17 2021-07-22 Eurl Cornier Device for the external support of the female urethra under stress
JP2023012782A (en) 2021-07-14 2023-01-26 株式会社ジヴァスタジオ girdle

Also Published As

Publication number Publication date
JP2024163793A (en) 2024-11-22

Similar Documents

Publication Publication Date Title
AU2010326009B2 (en) Garment having support
JP2010529310A (en) Clothing covering the abdomen
US10085503B2 (en) Shirt retainer undergarment
JPWO2017073105A1 (en) Trousers with waist protection belt
JP7598570B2 (en) Bottom garment with support band
JP6653738B2 (en) Work chair
JP4185340B2 (en) Straight clothing with crotch
JP5273532B2 (en) Molded clothing
JP2008274501A (en) Garment having correcting belt
JP4610661B2 (en) pants
JP4491302B2 (en) Clothing with waist protection belt
JP3224647U (en) Lower body clothing
JP2005068609A (en) Slacks for raising hip
JP6462455B2 (en) Exercise clothes
JP3760268B2 (en) Hips slacks
JP2018175607A (en) Piggyback belt
JP7026910B1 (en) Walking support equipment
JP7627533B1 (en) Clothing
JP7340843B2 (en) support innerwear
WO2020065971A1 (en) Shirt and pants
JP2007224457A (en) Kimono
JP3135570U (en) Coverall
JP3208132U (en) Undergarment
JP6925737B2 (en) pants
JP3216670U (en) Festival crotch

Legal Events

Date Code Title Description
A621 Written request for application examination

Free format text: JAPANESE INTERMEDIATE CODE: A621

Effective date: 20240305

A871 Explanation of circumstances concerning accelerated examination

Free format text: JAPANESE INTERMEDIATE CODE: A871

Effective date: 20240305

A131 Notification of reasons for refusal

Free format text: JAPANESE INTERMEDIATE CODE: A131

Effective date: 20240528

A601 Written request for extension of time

Free format text: JAPANESE INTERMEDIATE CODE: A601

Effective date: 20240725

A521 Request for written amendment filed

Free format text: JAPANESE INTERMEDIATE CODE: A523

Effective date: 20240905

TRDD Decision of grant or rejection written
A01 Written decision to grant a patent or to grant a registration (utility model)

Free format text: JAPANESE INTERMEDIATE CODE: A01

Effective date: 20241112

A61 First payment of annual fees (during grant procedure)

Free format text: JAPANESE INTERMEDIATE CODE: A61

Effective date: 20241115

R150 Certificate of patent or registration of utility model

Ref document number: 7598570

Country of ref document: JP

Free format text: JAPANESE INTERMEDIATE CODE: R150