JP7584525B2 - 無線通信システムでネットワーク選択精度を高める方法及び装置 - Google Patents

無線通信システムでネットワーク選択精度を高める方法及び装置 Download PDF

Info

Publication number
JP7584525B2
JP7584525B2 JP2022549525A JP2022549525A JP7584525B2 JP 7584525 B2 JP7584525 B2 JP 7584525B2 JP 2022549525 A JP2022549525 A JP 2022549525A JP 2022549525 A JP2022549525 A JP 2022549525A JP 7584525 B2 JP7584525 B2 JP 7584525B2
Authority
JP
Japan
Prior art keywords
scp
entity
information
nrf
network
Prior art date
Legal status (The legal status is an assumption and is not a legal conclusion. Google has not performed a legal analysis and makes no representation as to the accuracy of the status listed.)
Active
Application number
JP2022549525A
Other languages
English (en)
Other versions
JP2023515021A (ja
Inventor
サンス・ジョン
Current Assignee (The listed assignees may be inaccurate. Google has not performed a legal analysis and makes no representation or warranty as to the accuracy of the list.)
Samsung Electronics Co Ltd
Original Assignee
Samsung Electronics Co Ltd
Priority date (The priority date is an assumption and is not a legal conclusion. Google has not performed a legal analysis and makes no representation as to the accuracy of the date listed.)
Filing date
Publication date
Priority claimed from KR1020200034678A external-priority patent/KR20210104510A/ko
Application filed by Samsung Electronics Co Ltd filed Critical Samsung Electronics Co Ltd
Publication of JP2023515021A publication Critical patent/JP2023515021A/ja
Application granted granted Critical
Publication of JP7584525B2 publication Critical patent/JP7584525B2/ja
Active legal-status Critical Current
Anticipated expiration legal-status Critical

Links

Images

Classifications

    • HELECTRICITY
    • H04ELECTRIC COMMUNICATION TECHNIQUE
    • H04WWIRELESS COMMUNICATION NETWORKS
    • H04W48/00Access restriction; Network selection; Access point selection
    • H04W48/18Selecting a network or a communication service
    • HELECTRICITY
    • H04ELECTRIC COMMUNICATION TECHNIQUE
    • H04WWIRELESS COMMUNICATION NETWORKS
    • H04W24/00Supervisory, monitoring or testing arrangements
    • H04W24/02Arrangements for optimising operational condition
    • HELECTRICITY
    • H04ELECTRIC COMMUNICATION TECHNIQUE
    • H04WWIRELESS COMMUNICATION NETWORKS
    • H04W48/00Access restriction; Network selection; Access point selection
    • H04W48/16Discovering, processing access restriction or access information
    • HELECTRICITY
    • H04ELECTRIC COMMUNICATION TECHNIQUE
    • H04WWIRELESS COMMUNICATION NETWORKS
    • H04W8/00Network data management
    • H04W8/02Processing of mobility data, e.g. registration information at HLR [Home Location Register] or VLR [Visitor Location Register]; Transfer of mobility data, e.g. between HLR, VLR or external networks
    • HELECTRICITY
    • H04ELECTRIC COMMUNICATION TECHNIQUE
    • H04WWIRELESS COMMUNICATION NETWORKS
    • H04W8/00Network data management
    • H04W8/02Processing of mobility data, e.g. registration information at HLR [Home Location Register] or VLR [Visitor Location Register]; Transfer of mobility data, e.g. between HLR, VLR or external networks
    • H04W8/06Registration at serving network Location Register, VLR or user mobility server
    • H04W8/065Registration at serving network Location Register, VLR or user mobility server involving selection of the user mobility server
    • HELECTRICITY
    • H04ELECTRIC COMMUNICATION TECHNIQUE
    • H04WWIRELESS COMMUNICATION NETWORKS
    • H04W88/00Devices specially adapted for wireless communication networks, e.g. terminals, base stations or access point devices
    • H04W88/18Service support devices; Network management devices
    • H04W88/182Network node acting on behalf of an other network entity, e.g. proxy
    • HELECTRICITY
    • H04ELECTRIC COMMUNICATION TECHNIQUE
    • H04WWIRELESS COMMUNICATION NETWORKS
    • H04W88/00Devices specially adapted for wireless communication networks, e.g. terminals, base stations or access point devices
    • H04W88/14Backbone network devices

Landscapes

  • Engineering & Computer Science (AREA)
  • Computer Networks & Wireless Communication (AREA)
  • Signal Processing (AREA)
  • Computer Security & Cryptography (AREA)
  • Databases & Information Systems (AREA)
  • Mobile Radio Communication Systems (AREA)

Description

本開示は、無線通信システムで設定されるネットワーク選択の精度を高める方法に関する。より具体的に次世代無線通信システムで複数のネットワーク機能エンティティーからネットワーク機能エンティティーを選択する方法に関する。
4G(4th generation)通信システム商用化以後の増加趨勢にある無線データトラフィック需要を満たすために、改善された5G(5th generation)通信システム又はpre-5G通信システムを開発するための努力が行われている。このような理由で、5G通信システム又はpre-5G通信システムは4Gネットワーク以後(Beyond 4G Network)通信システム又はLTE(Long Term Evolution)システム以後(Post LTE)システムと呼ばれている。
高いデータ送信率を達成するために、5G通信システムは超高周波(mmWave)帯域(例えば、60ギガ(60GHz)帯域のような)での具現が考慮されている。超高周波の帯域での伝播の経路損失緩和及び伝達距離を増加させるために、5G通信システムではビームフォーミング(beamforming)、massive MIMO(Multiple-Input Multiple-Output)、FD-MIMO(Full Dimensional MIMO)、アレイアンテナ(array antenna)、アナログビームフォーミング(analog beam-forming)、及び大規模アンテナ(large scale antenna)技術が論議されている。
さらに、システムのネットワーク改善のために、5G通信システムでは進化された小型セル、改善された小型セル(advanced small cell)、クラウド無線アクセスネットワーク(cloud radio access network:cloud RAN)、超高密度ネットワーク(ultra-dense network)、D2D通信(Device-to-Device communication)、無線バックホール(wireless backhaul)、移動ネットワーク(moving network)、協力通信(cooperative communication)、CoMP(Coordinated Multi-Points)、及び受信干渉除去(interference cancellation)などの技術開発が行われている。
その他にも、5Gシステムでは進歩されたコーディング変調(Advanced Coding Modulation、ACM)方式であるFQAM(Hybrid FSK and QAM Modulation)及びSWSC(Sliding Window Superposition Coding)と、進歩された接続技術であるFBMC(Filter Bank Multi Carrier)、NOMA(Non Orthogonal Multiple Access)、及びSCMA(Sparse Code Multiple Access)などが開発されている。
一方、インターネットは人間が情報を生成し消費する人間中心の接続網から、事物などの分散された構成要素の間に情報を交換して処理するIOT(Internet of Things、モノのインターネット)網へ進化しつつある。クラウドサーバーなどとの接続を通じたビッグデータ(Big data)処理技術などがIoT技術に結合されたIoE(Internet of Everything)技術も台頭している。IoTを具現するためには、センシング技術、有無線通信及びネットワークインフラ、サービスインタフェース技術、セキュリティ技術のような技術要素が要求され、近年には物事の間の接続のためのセンサネットワーク(sensor network)、M2M(Machine to Machine)、MTC(Machine Type Communication)などの技術が研究されている。IoT環境では接続された事物の間に生成されるデータを収集、分析して人間の生活に新しい価値を創出する知能型IT(Internet Technology)サービスが提供されることができる。IoTは既存IT(information technology)技術と多様な産業の間のコンバージェンス及び複合を介してスマートホーム、スマートビルディング、スマートシティ、スマートカー又はコネクテッドカー、スマートグリド、ヘルスケア、スマート家電、先端医療サービスなどの分野に応用されることができる。
これによって、5G通信システムをIoT網に適用するための多様な試みが行われている。例えば、センサネットワーク(sensor network)、M2M(Machine to Machine)、MTC(Machine Type Communication)などの5G通信技術がビームフォーミング、MIMO、及びアレイアンテナなどの技法によって具現されることができる。前述のビッグデータ処理技術としてクラウド無線アクセスネットワーク(cloud RAN)が適用されることも5G技術とIoT技術のコンバージェンスの例と見なされることができる。
多様なIT(information technology)技術の発展に応じて通信装備(network equipment)が仮想化(virtualization)技術を適用して仮想化された(virtualized)ネットワーク機能(network function,NF;以下、「ネットワーク要素」と混用して使用されても良い)へ進化し、仮想化されたNFは物理的な制約から外れてソフトウェア形態で具現されて多数の類型のクラウドやデータセンター(data center、DC)で設置/操作されることができる。特に、NFはサービス要求事項やシステム容量、ネットワーク負荷(load)によって自由に拡張又は縮小(scaling)されるか、設置(initiation)又は終了(termination)されることができる。このようなNFがソフトウェア形態で具現されても基本的に物理的構成、例えば、所定の装備上で駆動されなければならないため、物理的構成を排除することではないことに留意すべきである。また、NFを単純な物理的構成、すなわち、ハードウェアだけで具現しても良い。
このような多様なネットワーク構造で多様なサービスをサポートするためにネットワークスライシング(network slicing)技術が導入された。ネットワークスライシングは特定サービスをサポートするためのネットワーク機能(NF)の集合でネットワークを論理的に構成し、これを別のスライスと分離する技術である。一つの端末は多様なサービスを受ける場合、2個以上のスライスに接続することができる。
本開示は、多様なサービスをサポートするためのネットワークスライスから構成されたネットワークを効果的に管理し、複数のネットワーク要素から特定ネットワーク要素を選択するための開示を説明する。
前記のような問題点を解決するための本開示は、無線通信システムのSCP(service communication proxy)エンティティーによって行われる方法を提供する。前記方法は、前記SCPエンティティーのSCPプロファイルを含むNF(network function)登録リクエストメッセージをNRF(network repository function)エンティティーに送信する段階と、及び前記SCPエンティティーの登録の結果を含むNF登録応答メッセージを前記NRFエンティティーから受信する段階と、を含み、前記SCPプロファイルは前記NRFエンティティーで維持されることができる。
前記方法で、前記SCPプロファイルは前記SCPエンティティーのNFのタイプと、前記SCPエンティティーのNF識別子(identifier)と、及び前記SCPエンティティーのアドレスと、を含み、前記SCPエンティティーの前記NFのタイプはSCPと設定されることができる。
前記方法で、前記SCPプロファイルは前記SCPエンティティーと連関されたネットワークスライス関連識別子、前記SCPエンティティーと互いに接続された他のSCPエンティティーと連関されたSCPドメイン情報、又は前記SCPエンティティーによってサービングされるNFエンティティーと連関されたNFセット(set)情報のうちの少なくとも一つを含むことができる。
前記方法は、プロデューサー(producer)NFエンティティーと連関されたNFディスカバリーリクエストメッセージを前記NRFエンティティーに送信する段階と、及び前記プロデューサーNFエンティティーと連関された情報を含むNFディスカバリー応答メッセージを前記NRFエンティティーから受信する段階と、をさらに含むことができる。
また、前記のような問題点を解決するための他の開示は、無線通信システムのSCP(service communication proxy)エンティティーを提供する。前記SCPエンティティーは、信号を送受信する送受信部と、及び前記送受信部と接続され、前記SCPエンティティーのSCPプロファイルを含むNF(network function)登録リクエストメッセージをNRF(network repository function)エンティティーに送信し、前記SCPエンティティーの登録の結果を含むNF登録応答メッセージを前記NRFエンティティーから受信する制御部と、を含み、前記SCPプロファイルは前記NRFエンティティーで維持されることができる。
また、前記のような問題点を解決するための他の開示は、無線通信システムのNRF(network repository function)エンティティーによって行われる方法を提供する。前記方法は、SCP(service communication proxy)エンティティーから、前記SCPエンティティーのSCPプロファイルを含むNF(network function)登録リクエストメッセージを受信する段階と、前記NF登録リクエストメッセージに基づいて前記SCPプロファイルを維持する段階と、及び前記SCPエンティティーの登録の結果を含むNF登録応答メッセージを前記SCPエンティティーに送信する段階と、を含むことができる。
また、前記のような問題点を解決するための他の開示は、無線通信システムのNRF(network repository function)エンティティーを提供する。前記NRFエンティティーは、信号を送受信する送受信部と、及び前記送受信部と接続され、SCP(service communication proxy)エンティティーから、前記SCPエンティティーのSCPプロファイルを含むNF(network function)登録リクエストメッセージを受信し、前記NF登録リクエストメッセージに基づいて前記SCPプロファイルを維持し、前記SCPエンティティーの登録の結果を含むNF登録応答メッセージを前記SCPエンティティーに送信する制御部と、を含むことができる。
開示された実施例によれば、複数のネットワーク機能エンティティーをセット(Set)単位で管理し、セットからネットワーク機能エンティティーを選択することによって無線リソースが効率的に用いられることができ、ユーザに多様なサービスが効率的に提供されることができる。
また、実施例によれば、ユーザは多様なサービスを提供する複数のネットワーク機能エンティティーを効率的に探索することによってネットワーク機能エンティティーに効率的に接近することができる。
本発明の他の様態、利点及び顕著な特徴は添付図面と共に本発明の多様な実施様態を開示する次の詳細な説明から当業者に明らかになるだろう。
本開示及びその利点に対するより完全な理解のために、以下の説明を添付図面と併せて参照する。同一照番号は同一部分を示されている。
本開示の多様な実施例による無線通信システムを示す図面である。 本開示の実施例による網構造を示す図面である。 本開示の実施例によってSSFを網に連動するための動作を示す図面である。 SSFを基地局と連動するための動作を示す図面である。 SSFを用いてRANの設定変更をコア網に効果的に反映する動作を示す図面である。 本開示のまた他の実施例による網構成を示す図面である。 本開示の実施例によってSSNを基地局及びコア網と連動するための動作を示す図面である。 本開示の実施例によってSSNを介してスライス情報を管理する方法を示す図面である。 本開示の実施例によってSSN又はSSFを用いたスライス及びAMFを選択する全体動作を示す図面である。 本開示の実施例によってSSN又はSSFによってスライス及びAMFを選択する動作を示す図面である。 本発明の一実施例によってSCPに対する情報追加をNRFに行う方法を示す図面である。 本発明の一実施例によってSCPに対する情報をNFが自分の登録過程のうちの一緒にNRFに行う方法を示す図面である。 本発明の一実施例によるNFがNRFを介して他のNFの情報を受信する方法を示す図面である。 本開示の実施例による端末装置を示す図面である。 本開示の実施例による基地局装置を示す図面である。 本開示の実施例によるNF装置を示す図面である。
以下の詳細な説明を行う前に、本特許明細書全体にかけて用いられる特定単語及び文句を定義する必要がある。「含む」という用語だけでなくこの派生語は制限無しに含むことを意味する。「又は」という用語は包括的な意味であり、及び/又はを意味する。用語「~と連関される」及び「~と関連された」という用語だけでなくこの派生語は、「~を含む」、「~内に含まれる」、「~と相互接続する」、「~を含有する」、「~に含有される」、「~に又は、~と接続する」、「~に又は、~と結合する」、「~と通信可能である」、「~と協力する」、「~をインタリーブする」、「~を併置する」、「~に近づく」、「~に又は、~とバウンディングされる」、「有する」、「所有している」、「~に又は、~と関係を有する」 などを意味する。「制御部」という用語は少なくとも一つの動作を制御する任意のデバイス、システム又はその一部を意味し、デバイスはハードウェア、ファームウエア又はソフトウェア、又はこれらのうちの少なくとも2つの組み合わせで具現されることができる。任意の特定制御部に係る機能はローカル又は遠隔に関わらず中央集中化されたり分散されることができる。
さらに、以下に説明する様々な機能は、コンピュータが読み取り可能なプログラムコードで構成され、コンピュータが読み取り可能な媒体に具現された1つ以上のコンピュータプログラムによって具現又はサポートされることができる。用語「アプリケーション」及び「プログラム」は、 1つ以上のコンピュータプログラム、ソフトウェア構成要素、命令セット、手順、機能、オブジェクト、クラス、インスタンス、関連データ、又は適切なコンピュータ可読プログラムで具現するように構成されたその一部を示す。「コンピュータ可読プログラムコード」という文句は、ソースコード、目的コード、及び実行コードを含むあらゆるタイプのコンピュータコードが含まれる。「コンピュータ可読媒体」という文句は、ROM(Read Only Memory)、RAM(Random Access Memory)、ハードディスクドライブ、CD(Compact Disc)、デジタルビデオディスク(DVD)、又はその他の類型のメモリのようにコンピュータによってアクセスされることができる任意の類型の媒体を含む。「非-一時的」コンピュータ可読媒体は一時的な電気又はその他の信号を送信する有線、無線、光学又はその他の通信リンクを排除する。非-一時的コンピュータ可読媒体はデータが永久的に記憶される媒体、及び再記録が可能な光ディスク又は消去可能なメモリ装置のような、データが記憶されて後で上書きされる(overwriting)媒体を含む。
特定の単語及び文句の定義は本特許文書全体にわたって提供される。通常の技術者はほとんどの場合ではないが、多くの場合においてこのように定義された単語及び文句の以前及び以後の使用に適用されることを理解しなければならない。
以下で論議される図1乃至図15、及び本特許文書で本開示の原理を説明するために用いられた多様な実施例は例示のみのためのことで、どんな方式でも本開示の範囲を制限する方式に解釈されてはいけない。当業者は本開示の原理が適切に配置された任意のシステム又はデバイスで具現されることができるということを理解することができる。
本開示で用いられる用語は、単に特定の実施例を説明するために用いられ、他の実施例の範囲を限定することを意図していない。単数の表現は、文脈上明らかに他に意味がない限り、複数の表現を含み得る。技術的又は科学的用語を含む本明細書で用いられる用語は、本開示に記載されている技術分野で通常の知識を有する者によって一般に理解されることと同じ意味を有することができる。本開示で用いられる用語のうちの一般的に辞書に定義された用語は、関連技術の文脈上の有する意味と同じであるか、または類似の意味として解釈することができ、本開示で明確に定義されない限り、理想的又は過度に形式的な意味で解釈されてないけない。場合によっては、本開示で定義された用語であっても、本開示の実施形態を排除するように解釈することはできない。
以下に説明される本開示の様々な実施例では、ハードウェア接近方法が一例として説明されている。しかし、本開示の様々な実施例はハードウェアとソフトウェアの両方を使用する技術を含むため、本開示の様々な実施例はソフトウェアベース基盤の接近方法を除外しない。
以下、添付の図面を参照して本開示の好ましい実施例を詳しく説明する。このとき、添付の図面において同じ構成要素は可能な限り同じ符号で付していることに留意されたい。なお、本開示の要旨を不明瞭にすることができる公知の機能及び構成の詳細な説明は省略する。
本明細書で実施例を説明するに当り本開示が属する技術分野によく知られており、本開示と直接的に関連がない技術内容に対しては説明を省略する。これは不必要な説明を省略することによって本開示の要旨を明瞭にしてより明確に伝達するためことである。
同様の理由で添付図面において一部構成要素は誇張されたり省略されたり概略的に図示された。また、各構成要素のサイズは実際サイズを全的に反映することではない。各図面で同一又は対応する構成要素には同一な参照番号を付した。
本開示の利点及び特徴、及びそれらを達成する方法は添付される図面と共に詳細に後述されている実施例を参考すれば明確になるだろう。しかし、本開示は以下で開示される実施例に限定されるのではなく互いに異なる多様な形態で具現されることができ、ただ本実施例は本開示を完全にし、本開示が属する技術分野で通常の知識を有する者に開示の範囲を完全に知らせるために提供されることであり、本開示は請求項の範囲によって定義されるだけである。明細書全体にかけて同一参照番号は同一構成要素を称する。
このとき、処理フローチャートの各ブロックとフローチャートの図面の組み合せは、コンピュータプログラムインストラクションによって行われることができることを理解することができるだろう。これらコンピュータプログラムインストラクションは汎用コンピュータ、特殊用コンピュータ又はその他のプログラム可能なデータプロセッシング装備のプロセッサに搭載されることができるので、コンピュータ又はその他のプログラム可能なデータプロセッシング装備のプロセッサを介して行われるそのインストラクションが、フローチャートブロックで説明された機能を行う手段を生成するようになる。これらコンピュータプログラムインストラクションは、特定方式で機能を具現するためにコンピュータ又はその他のプログラム可能なデータプロセッシング装備を志向することができるコンピュータ利用可能、又はコンピュータ可読メモリに記憶されることも可能であるので、そのコンピュータ利用可能又はコンピュータ可読メモリに記憶されたインストラクションはフローチャートブロックで説明された機能を行うインストラクション手段を内包する製造品目を生産することも可能である。コンピュータプログラムインストラクションはコンピュータ又はその他のプログラム可能なデータプロセッシング装備上に搭載されることも可能であるので、コンピュータ又はその他のプログラム可能なデータプロセッシング装備上で一連の動作段階が行われ、コンピュータで実行されるプロセスを生成してコンピュータ又はその他のプログラム可能なデータプロセッシング装備を行うインストラクションはフローチャートブロックで説明された機能を行うための段階を提供することも可能である。
また、各ブロックは、特定された論理的機能を行うための1つ以上の実行可能なインストラクションを含むモジュール、セグメント又はコードの一部を示すことができる。また、幾つか代替実行例ではブロックで言及された機能が順序を外れて発生することも可能であることを注目しなければならない。例えば、接して示されている2つのブロックは、実は実質的に同時に行われることも可能で、又はそのブロックが時々該当する機能によって逆順に行われることも可能である。
このとき、本実施形態に用いられる「~部」という用語は、ソフトウェア又はFPGA又はASICのようなハードウェア構成要素を意味し、「~部」はどんな役目を行う。しかし、「~部」は、ソフトウェア又はハードウェアに限定される意味ではない。「~部」はアドレシングすることができる記憶媒体にあるように構成されることもでき、1つ又はその以上のプロセッサを再生させるように構成されることもできる。したがって、一例として「~部」はソフトウェア構成要素、客体志向ソフトウェア構成要素、クラス構成要素及びタスク構成要素のような構成要素と、プロセス、関数、属性、プロシージャ、サブルーティン、プログラムコードのセグメント、ドライバー、ファームウエア、マイクロコード、回路、データ、データベース、データ構造、テーブル、アレイ、及び変数を含む。構成要素と「~部」のうちで提供される機能はより小さい数の構成要素及び「~部」に結合されたり追加的な構成要素と「~部」でさらに分離されることができる。だけでなく、構成要素及び「~部」はデバイス又は保安マルチメディアカード内の1つ又はその以上のCPUを再生させるように具現されることもできる。
以下、本開示は無線通信システムで多様なサービスをサポートするための方法及び装置に関する。具体的に、本開示は無線通信システムで端末の移動性をサポートすることによって多様なサービスをサポートするための技術を説明する。
以下、説明で用いられる接続ノード(node)を識別するための用語、網客体(network entity)又はNF(network function)を指称する用語、メッセージを指称する用語、網客体の間のインターフェースを指称する用語、多様な識別情報を指称する用語などは説明の便宜のために例示されたことである。したがって、本開示で後述される用語に限定されることではなく、同等な技術的意味を有する対象を指称する他の用語が用いられる。
以下、説明の便宜のために、本開示は3GPP(登録商標) LTE(3rd generation partnership project long term evolution)及び5G規格で定義している用語及び名称を用いる。しかし、本開示で前記用語及び名称によって限定されることではなく、他の規格によるシステムにも同様に適用されることができる。
本開示で接続制御及び状態管理のために情報を交換する対象を総称してNFで説明する。NFは例えば、アクセス及び移動性管理機能(Access and Mobility Management Function、以下、AMFとする)装置、セッション管理機能(Session Management Function、以下、SMFとする)装置、ネットワークスライス選択機能装置(Network slice selection function、以下、NSSFとする)のうちの少なくとも一つの装置になることができる。しかし、本開示の実施例は実際にNFがインスタンス(Instance、それぞれAMF Instance、SMF Instance、NSSF Instanceなど)で具現される場合にも同様に適用されることができる。
本開示でInstanceは特定なNFがソフトウェアのコード形態で存在し、物理的なコンピューティングシステム、例えば、コアネットワーク上に存在する特定のコンピューティングシステムでNFの機能を行うためにコンピューティングシステムから物理的又は/及び論理的なリソースが割り当てられる実行可能な状態を意味することができる。したがって、AMF Instance、SMF InstanceなどのすべてのNFのInstanceはそれぞれのコアネットワーク上に存在する特定のコンピューティングシステムからNF動作のために物理的又は/及び論理的リソースが割り当てられて用いることができることを意味しても良い。結果的に、物理的なAMF、SMFなどNF装置が存在する場合とネットワーク上に存在する特定なコンピューティングシステムからNFの動作のために物理的又は/及び論理的リソースが割り当てられて用いるNFInstanceは同じ動作を行うことができる。
図1は、本開示の多様な実施例による無線通信システムを示す。
図1を参照すれば、無線通信システムで無線チャンネルを用いるノード(node)の一部として、基地局(radio access node、RAN)110、端末(user equipment、UE)120を例示した。図1は、一つの基地局110と一つの端末120のみを示すが、基地局110と同一又は類似の他の基地局がさらに含まれることができる。
また、図1では一つの基地局110内に一つの端末120だけが通信する場合のみを例示した。
しかし、実際に一つの基地局110内に複数の端末が通信することができることは自明である。
基地局110は端末120で無線接続を提供するネットワークインフラストラクチャー(infrastructure)である。基地局110は信号を送信することができる距離に基づいて決定された地理的領域と定義されるカバレッジ(coverage)を有する(図1に図示せず)。基地局110は基地局(base station)の外に「アクセスポイント(access point、AP)、「eノードB(eNodeB、eNB)」、「5Gノード(5th generation node)」、「無線ポイント(wireless point)」、「送受信ポイント(transmission/reception point、TRP)」又はこれと同等な技術的意味を有する他の用語と指称されることができる。
端末120はユーザによって用いられる装置として、基地局110と無線チャンネルを介して通信を行う。場合によって、端末120はユーザの関与なしに操作されることができる。例えば、端末120は機械タイプ通信(machine type communication、MTC)を行う装置として、ユーザによって携帯されないことがある。図1に例示された端末120は少なくとも一つのユーザ携帯装置を含むことができ、少なくとも一つのMTCを含むことができる。図1の端末120は「端末(terminal)」、「移動局(mobile station)」、「加入者局」(subscriber station)」、「遠隔端末(remote terminal)」、「無線端末(wireless terminal)」、又は「ユーザ装置(user device)」又はこれと同等な技術的意味を有する他の用語と指称されることができる。
AMF装置131は端末120に対する無線ネットワーク接続(Access)及び移動性を管理(Mobility Management)するネットワークエンティティーになることができる。SMF装置132は端末120でパケットデータを提供するためのパケットデータネットワーク(Packet Data Network)の接続を管理するネットワークエンティティーになることができる。端末20とSMF132の間の接続はPDUセッション(Session)になることができる。
ユーザ平面機能(User Plane Function、以下、UPFとする)装置133は端末120が送受信するパケットを伝達するゲートウェー又はゲートウェー役目を行うネットワークエンティティーになることができる。UPF133はインターネットで接続されるデータネットワーク(data network、DN)140と接続され、端末120とDN140の間のデータ送受信のための経路を提供することができる。したがって、UPF133は端末120が送信するパケットのうちのインターネットで伝達されなければならないデータをインターネットデータネットワークにラウティングすることができる。
ネットワークスライス選択機能(Network slice selection function、NSSF)装置134は本開示で説明するネットワーク選択動作、例えば、ネットワークスライスを選択する動作を行うネットワークエンティティーになることができる。NSSF装置134の動作に対しては後述する図面でより詳しく説明する。
AUSF(Authentication Server Function)装置151は加入者認証処理のためのサービスを提供する装備(ネットワークエンティティー)になることができる。
ネットワーク露出機能(Network Exposure Function、NEF)装置152は5Gネットワークで端末120を管理する情報に接近が可能であり、当該端末の移動性管理(Mobility Management)イベントに対する購読、当該端末のセッション管理(Session Management)イベントに対する購読、セッション関連情報に対するリクエスト、当該端末の課金情報設定、当該端末に対するPDUセッション政策(session Policy)変更リクエスト、当該端末に対する小さいデータを送信することができるネットワークエンティティーになることができる。
ネットワーク記憶機能(Network Repository Function、NRF)装置153はNFの状態情報を記憶し、他のNFが接続可能なNFを見つけるためのリクエストを処理する機能を有するNF(ネットワークエンティティー)になることができる。
政策及び課金機能(Policy and Charging Function、以下、 PCFとする)装置154は端末120に対する移動通信事業者のサービス政策、課金政策、及びPDU sessionに対する政策を適用するネットワークエンティティーになることができる。
統合されたデータ管理(Unified Data Management、以下、UDMとする)装置155は加入者又は/及び端末120に対する情報を記憶しているネットワークエンティティーになることができる。
アプリケーション機能(Application Function、AF)装置156は移動通信通信ネットワークと連動してユーザにサービスを提供する機能を有するNF(ネットワークエンティティー)になることができる。
サービス通信プロキシ(Service Communication Proxy、SCP)装置157はNFの間の通信のためのNF検索(Discovery)、NFの間のメッセージ伝達などの機能を提供するNF(ネットワークエンティティー)である。SCP157は事業者選択によってNRF153と統合された形態で動作することができ、この場合、SCP157はNRF153の機能を含むか、逆にNRF153がSCP157の機能で含むことができる。
以下では説明の便宜のために、接続制御及び状態管理のために情報を交換する対象を総称してNFで説明する。NFは例えば、アクセス及び移動性管理機能(Access and Mobility Management Function、以下、AMFと称する)装置、セッション管理機能(Session Management Function、以下、SMFとする)装置、ネットワークスライス選択機能装置(Network slice selection function、NSSF)などのNF装置のうちの一つになることができる。しかし、本開示の実施例は実際にNFがインスタンス(Instance、それぞれAMF Instance、SMF Instance、NSSF Instanceなど)で具現される場合にも同様に適用されることができる。
網内に基地局の数が多いか、基地局の設定情報を受信しなければならないコア網のNF(e.g.、AMF)の数が多い場合、シグナリング過負荷が発生するか、又はシグナリングの送信及び処理時間の差によってネットワーク構成情報の不一致又は衝突する状況が発生することができる。また、特定サービスや網の構成状態、Slice情報を用いてコア網のNFを基地局が選択しなければならない場合、このようなすべての情報や変更を基地局に反映して行うことは効率的ではない。
本開示では基地局とコア網(Core Network)の間で設定情報を効果的に交換し、サービス類型又はスライスによる適合なコア網を選択することに用いられる技術を提案する。
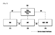
図2は、本開示の実施例による網構造を示す図面である。
網構成はネットワークスライスに係る基地局210の情報をコア網で伝達するか、ネットワークスライスをサポートすることができるAMF220を選択するためのNF(本開示ではSSF:Slice Supporting Functionと称する、230)を含む。本実施例でSSF230はコア網のNFで動作し、基地局210とはN2’(又はS1’)インターフェースで、他のコア網NF220、240とはSBI(Service-based Interface)に連動される。
図3は、本開示の実施例によってSSFを網に連動するための動作を示す図面である。
図3を参照すれば、SSFはSBIを介して、NRF(又はSCP)とサービス提供及び使用のためのNFregistration過程を行うことができる(301)。SSFは自分のNFProfile(NF Type=SSF、接続アドレス、Instance ID、Capability、サポートPLMN ID、サポート領域、サポートするAMF set情報、サポートするS-NSSAI情報など)をNRFで伝達することができる。
AMFはSSFが提供するサービスを利用するか、SSFに情報を伝達するためにSSFを選択するための過程及び動作を行うことができる(302)。既存に選択されたSSFがなく、SSF選択のための十分な情報をAMFが有していない場合、AMFはNRF又はSCPを通じるSSF Discovery過程を行い、SSFを選択するための情報を受信することができる。
AMFは自分がサポートするネットワークスライス情報をSSFに記憶するためのサービスをリクエストすることができる(303)。リクエストメッセージにはAMFのNFInstance ID、AMFがサポートするGUAMI(Globally Unique AMF ID)のリスト、サポートするNSSAI、連動するNSSFの情報が含まれることができる。NSSFの情報はNSSFを見つけることができるFQDN(fully qualified domain name)又はNSSFのIPアドレスのうちの一つ以上を含むことができる。SSFは以後の当該AMFの情報を記憶し、これをスライス選択動作に用いることができる。
SSFは基地局から受信した情報を利用し、AMFと連動された基地局がサポートするネットワークスライス情報を含む応答メッセージをAMFで伝達することができる(304)。この時、SSFは基地局から受信された情報のうちのAMFで使用可能な対象スライス情報を選別的に構成するためにAMFが伝達したGUAMI情報、AMF region又はAMF region及びAMF set情報を利用することができる。AMFはSSFから受信した情報を記憶し、NSSFへのNSSAI availability info追加/更新やスライス関連動作に用いることができる。
図4は、SSFを基地局と連動するための動作を示す図面である。
図4を参照すれば、SSFを基地局と連動するための動作は次の通りである。新しい基地局が網に追加されたり、基地局の設定が変更される(401)。
基地局はAMFと網構成及び管理のための新しい関係及び接続が必要な場合、基地局セットアップ(NG Setup)手順を行うか、又は既存に接続がある場合、基地局設定アップデート(RAN configuration update)手順を行うことができる(402)。この時、基地局が送信するリクエストメッセージには基地局の名前、識別子、基地局がサポートするTAのListが含まれることができる。TAのListはTA別の当該TAでサポートされる一つ以上のS-NSSAIが含まれることができる。さらに、基地局は自分がSSFを利用したスライス管理選択動作をサポートするかどうかを示すIndicatorをリクエストメッセージに含ませることができる。
AMFは基地局のリクエストに対する応答メッセージを送信することができる。この時、応答メッセージにはAMFの設定情報が含まれ、AMFの名前、AMFがサポートするGUAMIのList、基地局が接続するSSFの情報が含まれることができる(403)。AMFが送信する応答メッセージはまた自分がSSFを利用したスライス管理、選択機能をサポートするか否かを示すIndicatorを含むことができる。基地局が接続するSSFの情報はSSFを検索することができるFQDN又はSSFのIPアドレスのうちの一つ以上であれば良い。
基地局はAMFの情報と共にSSFの情報を記憶することができる(404)。
前記の手順を介し、基地局の設定情報又はSliceに係る情報(サポートするTA、S-NSSAIなど)が変更されたり追加されることができる(405)。
基地局はSSFとスライス構成及び管理のために、新しい関係及び接続が必要な場合、基地局セットアップ(NG’Setup)手順を行うか、又は既存に接続がある場合、基地局設定アップデート(RAN configuration update)手順を行うことができる(406)。この時、基地局が送信するリクエストメッセージには基地局の名前、識別子、基地局がサポートするTAのListが含まれることができる。TAのListはTA別の当該TAでサポートされる一つ以上のS-NSSAIが含まれることができる。さらに、基地局は当該情報が適用される対象AMFの情報をリクエストメッセージに含ませることができる。AMF対象情報はGUAMIのリスト又はAMF Region情報、又はAMF Region及びSet情報の組み合せることができる。これを受信したSSFは基地局のスライス情報を記憶し、対象になるAMFで伝達が必要な情報がある場合、情報を伝達するための過程を行うことができる。
図5は、SSFを用いてRANの設定変更をコア網に効果的に反映する動作を示す図面である。
図5を参照すれば、基地局が新たに追加されたり、設定情報又はSliceに係る情報(サポートするTA、S-NSSAIなど)が変更されたり追加されることができる(501)。
基地局はSSFとスライス構成及び管理のための新しい関係及び接続が必要な場合、基地局セットアップ(NG’Setup)手順を行うか、又は既存に接続がある場合、基地局設定アップデート(RAN configuration update)手順を行うことができる(502)。この時、基地局が送信するリクエストメッセージには基地局の名前、識別子、基地局がサポートするTAのListが含まれることができる。TAのListはTA別の当該TAでサポートされる一つ以上のS-NSSAIが含まれることができる。また、基地局は当該情報が適用される対象AMFの情報をリクエストメッセージに含ませることができる。AMF対象情報はGUAMIのリスト又はAMF Region情報、又はAMF Region及びSet情報の組み合せになることができる。これを受信したSSFは基地局のスライス情報を記憶することができる。
SSFは、スライス情報が追加/変更され、これをコア網にも通知しなければならない場合、このため動作を行うことができる(503)。特にコア網内でスライスに当たるスライスインスタンス、AMFを選択するNSSFやコア網内のNF選択を助けるNRFに情報を伝達することができる。SSFは基地局から受信した情報によってネットワークスライス及びTA情報が追加されたり変更されてスライス選択過程に考慮すべきであるかを判断することができる。スライス選択のための網構成が変更された場合、SSFはNSSF(又はNRF、SCPなど網状態情報を管理して検出するNFで代替可能)でNSSAI Availability Updateのためのサービスを呼び出すことができる。NSSAI(Network Slice Selection Assistance Information)は一つ以上のS-NSSAIから構成されることができる。サービスリクエストメッセージには同様に追加又は変更されなければならないTAIとNSSAIのリストが含まれることができる。また、スライス情報が適用になるAMFの情報が含まれることができる。AMF対象情報はGUAMIのリスト又はAMF Region情報、又はAMF Region及びSet情報の組み合せになることができる。
NSSFはSSFのリクエストに応じてSlice及びSliceがサポートされる領域(TA)情報に変更が必要な場合、これを更新したり追加することができる(504)。この時 NSSFの記憶するデータはリクエストしたSSF Instanceの識別子(ID)を用いて区分されることができる。NSSFは更新されたNSSAI Availabilityの適用時点(時間)を決定することができる。また、NSSFは既存に記憶された情報、受信された情報を利用し、使用が許容又は非許容されたスライス及び領域情報を含むAuthorized NSSAI Availability Infoを更新することができる。
NSSFはSSFのリクエストに対する応答を送信し、許容されたスライス情報(AuthorizedNssaiAvailability)が変更されたり追加された場合、これを含んで通知することができる(505)。この時、NSSFは更新されたAvailability適用時点を多くのNFと合わせるために、当該時間情報を応答メッセージに含んで送信することができる。時間情報を受信したNFは当該時間条件が充足される時から更新された情報を適用して動作する。
NSSFは対象になるAMFに属する他のAMF InstanceのNSSAI Available Informationを共に更新することができる(506)。すなわち、NSSFはSSFから受信した対象AMFに含まれるAMFのInstance IDに識別されるNSSAI Available Informationを共に更新することができる。これにより当該AMF Instanceに対する許容されたスライス情報が共に更新されることができ、NSSFはNSSAI Availability Information又はAuthorizedNssaiAvailabilityが変更されたり追加された場合、これを通知するためのメッセージを各AMF Instanceに送信することができる。これはNSSAI Availability Update Notificationサービスを用いて進行されることができる。この時、NSSFは更新されたAvailability適用時点を他のAMF Instanceと合わせるために、当該時間情報をAMF Instanceに送信するメッセージに含んで送信することができる。時間情報を受信したAMFは当該時間条件が充足される時から更新された情報を適用して動作する。
AMFは基地局のリクエストに対する応答を送信することができる(507)。
図6は、本開示のまた他の実施例による網構成を示す図面である。
網構成はネットワークスライスに係る基地局610の情報をコア網で伝達するか、ネットワークスライスをサポートすることができるAMF620を選択するためのノード(本開示ではSSN:Slice Supporting Nodeと称する、630)を含む。本実施例でSSN(630は基地局ネットワークの一ノードで動作し、他の基地局とはXn’(又はX2’)インターフェースで、AMF620とはN2’(又はS1’)インターフェースで、他のコア網NF640とはSBI(Service-based Interface)に連動される。
図7は、本開示の実施例よってSSNを基地局及びコア網と連動するための動作を示す図面である。
図7を参照すれば、新しい基地局が網に追加されるか、基地局の設定が変更されることができる(701)。
基地局はSSNと網構成及び管理のための新しい関係及び接続が必要な場合、Xn’Setup手順を行うか、又は既存に接続がある場合、RAN configuration update手順を行う(702)。この時、基地局が送信するリクエストメッセージには基地局の名前、識別子、基地局がサポートするTAのListが含まれることができる。TAのListはTA別の当該TAでサポートされる一つ以上のS-NSSAIが含まれることができる。また、リクエストメッセージにはRANが連動されるAMFの地域(region)情報又は対象になるAMFの情報が含まれることができる。AMF対象情報はGUAMIのリスト又はAMF Region情報、又はAMF Region及びSet情報の組み合せになることができる。また、基地局は自分がSSNを利用したスライス管理選択動作をサポートするかどうかを示すインジケーター(Indicator)をリクエストメッセージに含むことができる。
SSNは基地局のリクエストに対する応答を送信し、この時、SSNの設定情報が含み、SSNの名前、SSNが連動される対象AMFの情報が含まれることができる(703)。AMF対象情報はGUAMIのリスト又はAMF Region情報、又はAMF Region及びSet情報の組み合せになることができる。
SSNはAMFとスライス構成及び管理のための新しい関係及び接続が必要な場合、NG’Setup手順を行うか、又は既存に接続がある場合、RAN configuration update手順を行うことができる(704)。この時、SSNが送信するリクエストメッセージにはSSNの名前、識別子、SSNがサポートするTAのListが含まれることができ、TAのListはTA別の当該TAでサポートされる一つ以上のS-NSSAIが含まれることができる。SSNが提供するTA及びスライス情報は基地局から受信した情報を用いて生成されたことであれば良い。これを受信したAMFは基地局のスライス情報を記憶し、他のNFで伝達が必要な情報がある場合、情報を伝達するための過程を行うことができる。
AMFはSSNで応答メッセージを送信し、この時、応答にはAMFの情報が含まれることができ、AMFの名前、AMFがサポートするGUAMIのList、AMFがサポートするスライスの情報が含まれることができる(705)。AMFがサポートするスライス情報は以後の端末が接続するスライス又はAMFを選択するのに用いられることができる。すなわち、基地局から受信した端末のメッセージ(Initial UE message、Registration request messageなどのNAS message)を伝達するスライス又はAMFを選択するのに用いられることができる。
図8は、本開示の実施例によってSSNを介してスライス情報を管理する方法を示す図面である。
図8を参照すれば、基地局が新たに追加されたり、設定情報又はSliceに係る情報(サポートするTA、S-NSSAIなど)が変更されたり追加されることができる(801)。
基地局はSSNとスライス構成及び管理のための新しい関係及び接続が必要な場合、Xn’Setup手順を行うか、又は既存に接続がある場合、RAN configuration update手順を行うことができる(802)。この時、基地局が送信するリクエストメッセージには基地局の名前、識別子、基地局がサポートするTAのListが含まれることができる。TAのListはTA別の当該TAでサポートされる一つ以上のS-NSSAIが含まれることができる。また、基地局は当該情報が適用される対象AMFの情報をリクエストメッセージに含むことができる。AMF対象情報はGUAMIのリスト又はAMF Region情報、又はAMF Region及びSet情報の組み合せになることができる。これを受信したSSNは基地局のスライス情報を記憶することができる。
SSNは、スライス情報が追加/変更され、これをコア網にも通知しなければならない場合、対象になるAMFを選択することができる(803)。SSNが基地局から受信した情報にAMF region情報だけ含まれた場合、SSNは当該AMF regionに属するAMF Set又はAMF Instanceを選択することができる。
SSNはスライス情報をコア網内でスライスに当たるスライスインストンス、AMFを選択するNSSFやコア網内のNF選択を助けるNRFに情報を伝達することができる(804)。
SSNは基地局から受信した情報によって、ネットワークスライス及びTA情報が追加されたり変更されてスライス選択過程に考慮されなければならないかを判断することができる。スライス選択のための網構成が変更された場合、SSNはNSSF(又はNRF、SCPなど網状態情報を管理して検索するNFで代替可能)でNSSAI Availability Updateのためのサービスを呼び出すことができる。NSSAI(Network Slice Selection Assistance Information)は一つ以上のS-NSSAIから構成されることができる。サービスリクエストメッセージには同様に追加又は変更されなければならないTAIとNSSAIのリストが含まれることができる。また、スライス情報が適用されるAMFの情報が含まれることができる。AMF対象情報はGUAMIのリスト又はAMF Region情報、又はAMF Region及びSet情報の組み合せになることができる。
NSSFはSSNのリクエストに従ってSlice及びSliceがサポートされる領域(TA)情報に変更が必要な場合、これを更新したり追加することができる(805)。この時、NSSFの記憶するデータはリクエストしたSSN Instanceの識別子(ID)を用いて区分されることができる。NSSFは更新されたNSSAI Availabilityの適用時点(時間)を決定することができる。また、NSSFは既存に記憶された情報、受信された情報を用い、使用が許容又は非許容されたスライス及び領域情報を含むAuthorized NSSAI Availability Infoを更新することができる。
NSSFはSSFのリクエストに対する応答を送信し、許容されたスライス情報(AuthorizedNssaiAvailability)が変更されたり追加された場合、これを含んで知らせることができる(806)。この時 NSSFは更新されたAvailability適用時点を多くのNFと合わせるために、当該時間情報を応答メッセージに含んで送信することができる。時間情報を受信したNFは当該時間条件が充足される時から更新された情報を適用して動作する。
NSSFは対象になるAMFに属する他のAMF InstanceのNSSAI Available Informationを共に更新することができる(807)。すなわち、NSSFはSSFから受信した対象AMFに含まれるAMFのInstance IDに識別されるNSSAI Available Informationを共に更新することができる。これによって当該AMF Instanceに対する許容されたスライス情報が更新されることができ、NSSFはNSSAI Availability Information又はAuthorizedNssaiAvailabilityが変更されたり追加された場合、これを通知するためのメッセージを各AMF Instanceに送信することができる。これはNSSAI Availability Update Notificationサービスを用いて進行されることができる。この時 NSSFは更新されたAvailability適用時点を他のAMF Instanceと合わせるために、当該時間情報をAMF Instanceに送信するメッセージに含んで送信することができる。時間情報を受信したAMFは当該時間条件が充足される時から更新された情報を適用して動作する。
AMFは基地局のリクエストに対する応答を送信することができる(808)。
図9a乃至9bは、本開示の実施例によってSSN又はSSFを用いてスライス及びAMFを選択する動作を示す図面である。
先ず、図9aを参考し、本開示によるSSN(又はSSF)を用いてスライス及びAMFを選択する全体プロセスを説明する。
端末は接続(Registration)のためのNASメッセージを含むRRCメッセージを基地局に送信することができる(901)。この時、端末はサービスを利用するために自分が接続しようとするスライス情報(NSSAI)をAS Layer又はNAS Layerパラメーターで含むことができる。
基地局は端末が使用した識別子(ID)、端末が接続しようとするスライス情報、設定された情報を用いてAMFを選択することができる。基地局がSlice情報を利用したAMF選択を行うことができないか、端末が送信したメッセージにAS Layerスライス情報が含まれない場合(902)、基地局はSSN(又はSSF)を選択し、端末が送信したInitial UE messageをSSN(又はSSF)で伝達することができる(903)。
SSN(又はSSF)は必要の時、UDMから加入情報を受信することができ、この時の加入者に対して適用可能なスライス情報、Subscribed S-NSSAIsなどが受信されることができる(904)。SSNは端末が端末メッセージに選択したスライス情報(例えば、Requested NSSAI and/or subscribed NSSAI)を含む場合、これを考慮することができ、UDMから受信した加入情報を考慮してAMFを選択することができる(905)。AMFが選択されると、AMFを識別することができる情報(例えば、AMF情報、AMF set情報又はGUAMI)及び端末が送信したInitial UE message(又はRegistration request)を含んでReroute NAS messageを基地局に送信することができる(906)。
基地局はSSN(又はSSF)から受信した情報を用いて端末のリクエストを伝達するAMFをさらに選択することができる(907)。一つのAMFが指定され、当該AMFと連動が可能な場合、基地局は当該AMFを選択することができる。AMF set情報が受信された場合、AMF setのうちに一つのAMFを選択することができる。基地局は選択されたAMFで端末メッセージをさらに送信する。
図9bは、図9aで説明した実施例につきましてSSN(又はSSF)の動作を時計列的な流れによって説明する。
図9bを参照すれば、SSN(又はSSF)は基地局から端末が接続(Registration)のために基地局に送信したNASメッセージを含むRRCメッセージが伝達されることができる(921)。端末が基地局に送信した端末メッセージには加入者識別子(ID)、端末が接続しようとするスライス情報、設定された情報などが含まれることができる。
SSN(又はSSF)は必要な場合、基地局から伝達された端末メッセージに含まれた情報(例えば、加入者識別子)を用いてUDMから端末の加入情報を受信することができる(922)。この時、加入者に対して適用可能なスライス情報、Subscribed S-NSSAIsが受信されることができる。
SSN(又はSSF)は端末が端末メッセージに選択したスライス情報(例えば、Requested NSSAI and/or subscribed NSSAI)を含む場合、これを考慮することができ、UDMから受信した加入情報を考慮して端末にスライスをサービスするAMFを選択することができる(923)。
SSN(又はSSF)はAMF選択が完了されると、AMFを識別することができる情報(例えば、AMF情報、AMF set情報又はGUAMI)及び端末が送信した端末メッセージ(Initial UE message又はRegistration request)を含んで端末の初期リクエストメッセージに応答するReroute NAS messageを基地局に送信することができる(924)。
Reroute NAS messageを受信した基地局は前記メッセージに含まれた情報を用いて端末をサービスするAMFを確認し、選択されたAMFで端末の初期リクエストメッセージを送信することによって端末と選択されたAMFの通信が開始されることができる(925)。
図10は、本発明の一実施例によってSCPに対する情報追加をNRFに行う方法を示す図面である。
図10を参照すれば、SCPは自分の情報を登録し、他のNFリクエストの際、自分の情報を伝達するためにNFregister(新規)又はupdate(変更)をリクエストするリクエストメッセージをNRFに送信することができる(1001)。この時、SCPが送信するリクエストメッセージにはSCPのパラメーター、特徴、設定情報を含むSCPProfile(SCPのNFID、SCPのアドレス、SCPのCommunication Mode、他のSCPとの接続情報、自分と連動された(interconnected)NF情報など)、SCPがサポートする機能Supported Features情報が含まれることができる。Supported Feature情報はSCPのindirect communication、delegated discovery、binding indicationそれぞれに対するサポートするかどうかが含まれることができる。Supported featureはNFProfile一部に含まれるか、又は分離して別途のData形態でリクエストメッセージに含まれることができる。また、SCPが特定NW Sliceに属する場合、対象になるSliceの識別子(S-NSSAI)の一つ以上を含むことができる。連動されたNF情報、SCPの情報は連動されたNF/SCPのID、アドレスを含むことができ、さらに、多重Hopに連動された網構成では各NF/SCPの間の接続順序を示す情報を含むこともできる。前記登録リクエストはSCPを一つのNF Typeと見なされ、NRFに送信するNF Register/Updateリクエスト時の自分のType(NF Type)がSCPであることを明示しながら進行するか、又は別途のSCPRegister/updateリクエストで進行されることができる。
NRFは受信した情報を用いてSCPの情報を記憶/更新し(1002)、リクエストに対する応答を送信することができる(1003)。応答メッセージにはSCPが現在登録された網で使用可能な更新されたsupported featureが含まれることができる。Supported featureに含まれることができる内容及びメッセージ構成はリクエストメッセージに含まれたことと同じであれば良い。また、NRFの応答は追加的にSCPが異なるNFと通信する時に適用する情報(接続された他のSCPのProfile、Supported Featuresなど)を含むことができる。
NRFは、他のNFからSCPに対するDiscoveryリクエストを受けるか、又は特定Sliceに対する構成情報に対するDiscoveryリクエストを受ける時、記憶されたSCPの情報を用いて情報を提供することができる(1004)。特定NF又はNFserviceに対するDiscoveryリクエストをNFから受信した場合、NRFがリクエストに従って選択した候補NF又はNFserviceが連動されたSCPがある場合、応答時にこれに対する情報(SCPのID、SCPのアドレス、動作Communication mode)を選択されたNF又はNFservice情報と共に伝達することができる。網構成上のNFとSCPの接続が多重Hopから構成された場合、Discovery応答はDiscoveryをリクエストしたNF(又はSCP)観点でNext HopのNF(又はSCP)の情報のみを伝達するか、各ホップの順序を含んで送信経路上のNF(又はSCP)の情報をいずれも含むこともできる。
図11は、本発明の一実施例によってSCPに対する情報をNFが自分の登録過程のうちの一緒にNRFに行う方法を示す図面である。
図11を参照すれば、NFは自分と連動されたSCPの情報(SCPのID、SCPのアドレス、SCPのサポート機能など)に対する設定情報を受信することができる(1101)。これはSCPからメッセージを受信して獲得するか、OAMシステムを介して獲得するか又はNFの設定情報内部に記憶されてあり得る。
NFは自分及び連動されたSCPの情報を登録し、他のNFリクエストの際、自分の情報を伝達するためにNFregister(新規)又はupdate(変更)リクエストをNRFに送信することができる(1102)。この時、NFがNRFに送信するリクエストメッセージには自分のNFprofileだけでなく、自分と連動されたSCPのパラメーター、特徴、設定情報を含むSCPのProfile(SCPのNFID、SCPのアドレス、SCPのCommunication Mode、他のSCPとの接続情報など)、SCPがサポートする機能Supported Features情報が含まれることができる。Supported Feature情報はSCPのindirect communication、delegated discovery、binding indicationそれぞれに対するサポートするかどうかが含まれることができる。Supported featureはSCPのProfile一部に含まれるか、又は分離して別途のData形態でリクエストメッセージに含まれることができる。また、SCPが特定NW Sliceに属する場合、対象になるSliceの識別子一つ以上を含むことができる。連動されたSCPの情報は連動されたSCPのID、アドレスを含むことができ、また多重Hopに連動された網構成ではNF/SCPの間の接続順序を示す情報を含むことができる。SCPのProfileはNF自分のNFProfileの一部に含まれるか、又は別途のData Typeに区分されてリクエストメッセージに含まれることができる。
NRFはNFから受信した情報を用いてNF及び連動されたSCPの情報を記憶/更新して(1103)、NFのリクエストに対する応答を送信することができる(1104)。
NRFは、他のNFからSCPに対するDiscoveryリクエストを受けるか、又は特定Sliceに対する構成情報に対するDiscoveryリクエストを受ける時、記憶されたSCPの情報を用いて情報を提供することができる(1105)。又は特定NF又はNFserviceに対するDiscoveryリクエストをNFから受信した場合、NRFがリクエストに従って選択した候補NF又はNFserviceが連動されたSCPがある場合、応答時にこれに対する情報(SCPのID、SCPのアドレス、動作 Communication mode)を選択されたNF又はNFservice情報と共に伝達することができる。網構成上NFとSCPの接続が多重Hopから構成された場合、Discovery応答はDiscoveryをリクエストしたNF(又はSCP)観点でNext HopのNF(又はSCP)の情報のみを伝達するか、各ホップの順序を含んで送信経路上のNF(又はSCP)の情報を皆含むこともできる。
図12は、本発明の一実施例によるNFがNRFを介して他のNFの情報を受信する方法を示す図面である。
図12を参照すれば、ネットワークの一つのNF(Consumer又はProducerで動作可能)は他のNF又はNFserviceを検索又は選択するか、情報を受信するためのDiscoveryリクエストをNRFに送信することができる(1201)。この時、NFが送信するリクエストメッセージにはDiscoveryの対象になるNF又はNFserviceの情報が含まれることができ、リクエストするNFがサポートするSupported Features情報が含まれることができ、追加でSCPの情報を共にリクエストすることを示す情報が含まれることができる。Supported Feature情報はNFのサポート機能のうちの特にSBAの拡張機能(enhancements to SBA)でindirect communication、delegated discovery、SM context transfer、binding indication,NFsetそれぞれに対するサポートするかどうかが含まれることができる。また、リクエストするNFは特定NW Sliceに対してSCP情報を受信しなければならない場合、対象になるSliceの識別子をリクエストメッセージに含むことができる。
NRFはNFのリクエストに対して条件が充足されるNF又はNFserviceがあるか検索し(1202)、応答を送信することができる(1203)。NRFが受信したリクエストメッセージが明示的にSCPの情報を共にリクエストすることを通知する情報を含んでいると、応答メッセージにはリクエストしたNF及び選択されたNF又はNFserviceの間に用いることができるSCPの情報(SCPのアドレス、NFID、SCPのサポートSliceの識別子、SCPと異なるSCPの間の接続関係など)及びSCPのsupported feature、SCPを用いたNFのCommunication mode (mode A、B、C、Dのうちの一つが)、in-direct communication使用するか否か、delegated discovery使用するか否かを含むことができる。NRFは、NFがリクエストするメッセージに明示的にSCP関連情報を共にリクエストすることを示す情報がなくても、リクエストNFのSupported featureがSCPを利用したCommunication mode又はin-direct communication使用するか否か、delegated discovery使用するか否かを含む場合、これに基づいてSCP使用が可能であることを判断し、前記SCPに係る情報を応答メッセージに共に含んで伝達することができる。網構成上のNFとSCPの接続が多重Hopから構成された場合、Discovery応答はDiscoveryをリクエストしたNF(又はSCP)観点でNext HopのNF(又はSCP)の情報のみを伝達するか、各ホップの順序を含んで送信経路上のNF(又はSCP)の情報をいずれも含むこともできる。
NFはNRFから受信した情報を記憶し、以後の応答によって受信されたNF又はNFServiceと通信を行う時に受信された情報SCP関連情報(SCP使用するか否か、SCPのアドレス,NFID、in-direct communication、delegated discovery使用するか否かなど)を用いることができる(図示せず)。NRFから受信した応答が、SCPがないという情報を含むか、又はSCP情報を含まない場合、NFは以後の動作時のSCPがないと仮定することができる。
図13は、本開示の一実施例による端末の構造を示す図面である。
図13を参考すれば、端末は送受信部1310、端末制御部1320、記憶部1330を含むことができる。本開示で端末制御部1320は、回路又はアプリケーション特定統合回路又は少なくとも一つのプロセッサと定義されることができる。
送受信部1310は他のネットワークエンティティーと信号を送受信することができる。送受信部は例えば、基地局からシステム情報を受信することができ、同期信号又は基準信号を受信することができる。
端末制御部1320は本開示で提案する実施例による端末の全般的な動作を制御することができる。例えば、端末制御部は前述した図面とフローチャートによる動作を行うように各ブロック間の信号流れを制御することができる。具体的に、端末制御部は基地局からの制御信号によって動作して端末及び/又はネットワークエンティティーとメッセージ又は信号を取り交わすことができる。
記憶部1330は送受信部1310を介して送受信される情報及び端末制御部を介して生成される情報のうちの少なくとも一つを記憶することができる。
図14は、本開示の一実施例による基地局の構造を示す図面である。図14に示されている基地局は前述したSSNを含ませることができる。
図14を参考すれば、基地局は送受信部1410、基地局制御部1420、記憶部1430を含むことができる。本開示で基地局制御部1420は、回路又はアプリケーション特定統合回路又は少なくとも一つのプロセッサと定義されることができる。
送受信部1410は他のネットワークエンティティーと信号を送受信することができる。送受信部は例えば、端末にシステム情報を送信することができ、同期信号又は基準信号を送信することができ、NFから端末にサービスを提供するための情報を受信することができる。
基地局制御部1420は本開示で提案する実施例による基地局の全般的な動作を制御することができる。例えば、基地局制御部は前述した図面とフローチャートによる動作を行うように各ブロック間の信号流れを制御することができる。具体的に、基地局制御部は端末、基地局及び/又はネットワークエンティティーとメッセージ又は信号を取り交わすことができる。
記憶部1430は送受信部を介して送受信される情報及び基地局制御部を介して生成される情報のうちの少なくとも一つを記憶することができる。
図15は、本開示の一実施例によるNF(NF instanceを含み)の構造を示す図面である。図15に示されているNFは前述したSSF、AMF、NSSF、NRF,SCP及びUDMのうちの少なくともどの一つを含むことができ、特定NFに限ることではない。
図15を参考すれば、NFは送受信部1510、NF制御部1520、記憶部1530を含むことができる。
送受信部1510は他のネットワークエンティティーと信号を送受信することができる。送受信部は例えば、基地局(RAN)にシステム情報を送信することができ、同期信号又は基準信号を送信することができる。
NF制御部1520は本開示で提案する実施例によるNFの全般的な動作を制御することができる。
記憶部1530は送受信部を介して送受信される情報及び基地局制御部を介して生成される情報のうちの少なくとも一つを記憶することができる。
本開示の請求項又は明細書に記載した実施例による方法はハードウェア、ソフトウェア、又はハードウェアとソフトウェアの組み合せの形態で具現される(implemented)ことができる。
ソフトウェアで具現する場合、一つ以上のプログラム(ソフトウェアモジュール)を記憶するコンピュータ可読記憶媒体が提供されることができる。コンピュータ可読記憶媒体に記憶される一つ以上のプログラムは、電子装置(device)内の一つ以上のプロセッサによって実行可能になるように構成される(configured for execution)。一つ以上のプログラムは、電子装置にとって本開示たの請求項又は明細書に記載された実施例による方法を行うようにする命令語(instructions)を含む。
このようなプログラム(ソフトウェアモジュール、ソフトウェア)はランダムアクセスメモリ(random access memory)、フラッシュ(flash)メモリを含む揮発性(non-volatile)メモリ、RОM(read only memory)、電気的消去可能プログラマブルRОM(electrically erasable programmable read only memory、EEPROM)、磁気ディスク記憶装置(magnetic disc storage device)、コンパクトディスクROM(compact disc-ROM、CD-ROM)、デジタル多目的ディスク(digital versatile discs、DVDs)又は他の形態の光学記憶装置、マグネチックカセット(magnetic cassette)に記憶されることができる。又は、これらの一部又は全部の組み合せで構成されたメモリに記憶されることができる。また、それぞれの構成メモリは多数個含まれることもできる
また、プログラムはインターネット(Internet)、イントラネット(Intranet)、LAN(local area network)、WAN(wide area network)、又はSAN(storage area network)のような通信ネットワーク、又はこれらの組み合せから構成された通信ネットワークを介してアクセス(access)できる取り付け可能な (attachable)記憶装置(storage device)に記憶されることができる。このような記憶装置は外部ポートを介して本開示の実施例を行う装置に接続することができる。また、通信ネットワーク上の別途の記憶装置が本開示の実施例を行う装置に接続することもできる。
上述した本開示の具体的な実施例で、開示に含まれる構成要素は提示された具体的な実施例によって単数又は複数で表現された。しかし、単数又は複数の表現は説明の便宜のために提示した状況に適合に選択されたことで、本開示が単数又は複数の構成要素に制限されることではなく、複数で表現された構成要素と言っても単数で構成されるか、単数で表現された構成要素と言っても複数で構成されることができる。
一方、本開示の詳細な説明では具体的な実施例に関して説明したが、本開示の範囲から逸脱せず限度内で様々な変形が可能であることは勿論である。したがって、本開示の範囲は説明された実施例に限って定められてはいけなく、後述する特許請求の範囲だけではなくこの特許請求の範囲と均等なものなどによって定められなければならない。
110 基地局
120 端末
131 AMF装置
132 SMF装置
133 UPF
134 NSSF装置

Claims (15)

  1. 無線通信システムのSCP(service communication proxy)エンティティーによって行われる方法であって、
    前記SCPエンティティーのSCPプロファイルを含むNF(network function)登録リクエストメッセージをNRF(network repository function)エンティティーに送信する段階と
    記SCPエンティティーの登録の結果を含むNF登録応答メッセージを前記NRFエンティティーから受信する段階と、を含み、
    前記SCPプロファイルは前記NRFエンティティーで維持され
    前記SCPプロファイルは、前記SCPエンティティーのSCPドメイン情報を含み、前記SCPエンティティーは、前記SCPドメイン情報に基づいて他のSCPエンティティーと連関していることを特徴とする、方法。
  2. 前記SCPプロファイルは前記SCPエンティティーのNFのタイプと、前記SCPエンティティーのNF識別子(identifier)と、前記SCPエンティティーのアドレスと、をさらに含み、
    前記SCPエンティティーの前記NFのタイプはSCP設定されることを特徴とする、請求項1に記載の方法。
  3. 前記SCPプロファイルは前記SCPエンティティーと連関したネットワークスライス関連識別子、又は前記SCPエンティティーによってサービングされるNFエンティティーと連関したNFセット(set)情報のうち少なくとも一つをさらに含むことを特徴とする、請求項1に記載の方法。
  4. プロデューサー(producer)NFエンティティーと連関したNFディスカバリーリクエストメッセージを前記NRFエンティティーに送信する段階と
    記プロデューサーNFエンティティーと連関した情報を含むNFディスカバリー応答メッセージを前記NRFエンティティーから受信する段階と、をさらに含むことを特徴とする、請求項1に記載の方法。
  5. 無線通信システムのSCP(service communication proxy)エンティティーであって、
    前記SCPエンティティーは、
    信号を送受信する送受信部と
    記送受信部と接続され、前記SCPエンティティーのSCPプロファイルを含むNF(network function)登録リクエストメッセージをNRF(network repository function)エンティティーに送信し、前記SCPエンティティーの登録の結果を含むNF登録応答メッセージを前記NRFエンティティーから受信する制御部と、を含み、
    前記SCPプロファイルは前記NRFエンティティーで維持され、
    前記SCPプロファイルは、前記SCPエンティティーのSCPドメイン情報を含み、前記SCPエンティティーは、前記SCPドメイン情報に基づいて他のSCPエンティティーと連関していることを特徴とする、SCPエンティティー。
  6. 前記SCPプロファイルは前記SCPエンティティーのNFのタイプと、前記SCPエンティティーのNF識別子(identifier)と、前記SCPエンティティーのアドレスと、をさらに含み、
    前記SCPエンティティーの前記NFのタイプはSCP設定されることを特徴とする、請求項5に記載のSCPエンティティー。
  7. 前記SCPプロファイルは前記SCPエンティティーと連関したネットワークスライス関連識別子、又は前記SCPエンティティーによってサービングされるNFエンティティーと連関したNFセット(set)情報のうち少なくとも一つをさらに含むことを特徴とする、請求項5に記載のSCPエンティティー。
  8. 前記制御部は、
    プロデューサー(producer)NFエンティティーと連関したNFディスカバリーリクエストメッセージを前記NRFエンティティーに送信し、前記プロデューサーNFエンティティーと連関した情報を含むNFディスカバリー応答メッセージを前記NRFエンティティーから受信することを特徴とする、請求項5に記載のSCPエンティティー。
  9. 無線通信システムのNRF(network repository function)エンティティーによって行われる方法であって、
    SCP(service communication proxy)エンティティーから、前記SCPエンティティーのSCPプロファイルを含むNF(network function)登録リクエストメッセージを受信する段階と、
    前記NF登録リクエストメッセージに基づいて前記SCPプロファイルを維持する段階と
    記SCPエンティティーの登録の結果を含むNF登録応答メッセージを前記SCPエンティティーに送信する段階と、を含み、
    前記SCPプロファイルは、前記SCPエンティティーのSCPドメイン情報を含み、前記SCPエンティティーは、前記SCPドメイン情報に基づいて他のSCPエンティティーと連関している、方法。
  10. 前記SCPプロファイルは前記SCPエンティティーのNFのタイプと、前記SCPエンティティーのNF識別子(identifier)と、前記SCPエンティティーのアドレスと、をさらに含み、
    前記SCPエンティティーの前記NFのタイプはSCP設定され、
    前記SCPプロファイルは前記SCPエンティティーと連関したネットワークスライス関連識別子、又は前記SCPエンティティーによってサービングされるNFエンティティーと連関したNFセット(set)情報のうち少なくとも一つをさらに含むことを特徴とする、請求項9に記載の方法。
  11. プロデューサー(producer)NFエンティティーと連関したNFディスカバリーリクエストメッセージを前記SCPエンティティーから受信する段階と
    記プロデューサーNFエンティティーと連関した情報を含むNFディスカバリー応答メッセージを前記SCPエンティティーに送信する段階と、をさらに含むことを特徴とする、請求項9に記載の方法。
  12. 無線通信システムのNRF(network repository function)エンティティーであって、
    前記NRFエンティティーは、
    信号を送受信する送受信部と
    記送受信部と接続され、SCP(service communication proxy)エンティティーから、前記SCPエンティティーのSCPプロファイルを含むNF(network function)登録リクエストメッセージを受信し、前記NF登録リクエストメッセージに基づいて前記SCPプロファイルを維持し、前記SCPエンティティーの登録の結果を含むNF登録応答メッセージを前記SCPエンティティーに送信する制御部と、を含み、
    前記SCPプロファイルは、前記SCPエンティティーのSCPドメイン情報を含み、前記SCPエンティティーは、前記SCPドメイン情報に基づいて他のSCPエンティティーと連関している、NRFエンティティー。
  13. 前記SCPプロファイルは前記SCPエンティティーのNFのタイプと、前記SCPエンティティーのNF識別子(identifier)と、前記SCPエンティティーのアドレスと、をさらに含み、
    前記SCPエンティティーの前記NFのタイプはSCP設定されることを特徴とする、請求項12に記載のNRFエンティティー。
  14. 前記SCPプロファイルは前記SCPエンティティーと連関したネットワークスライス関連識別子、又は前記SCPエンティティーによってサービングされるNFエンティティーと連関したNFセット(set)情報のうち少なくとも一つをさらに含むことを特徴とする、請求項12に記載のNRFエンティティー。
  15. 前記制御部は、
    プロデューサー(producer)NFエンティティーと連関したNFディスカバリーリクエストメッセージを前記SCPエンティティーから受信し、前記プロデューサーNFエンティティーと連関した情報を含むNFディスカバリー応答メッセージを前記SCPエンティティーに送信することを特徴とする、請求項12に記載のNRFエンティティー。
JP2022549525A 2020-02-17 2021-02-10 無線通信システムでネットワーク選択精度を高める方法及び装置 Active JP7584525B2 (ja)

Applications Claiming Priority (5)

Application Number Priority Date Filing Date Title
KR10-2020-0019264 2020-02-17
KR20200019264 2020-02-17
KR1020200034678A KR20210104510A (ko) 2020-02-17 2020-03-20 무선 통신 시스템에서 네트워크 선택 정확도를 높이는 방법 및 장치
KR10-2020-0034678 2020-03-20
PCT/KR2021/001810 WO2021167290A1 (en) 2020-02-17 2021-02-10 Method and apparatus for enhancing network selection accuracy in wireless communication system

Publications (2)

Publication Number Publication Date
JP2023515021A JP2023515021A (ja) 2023-04-12
JP7584525B2 true JP7584525B2 (ja) 2024-11-15

Family

ID=74595214

Family Applications (1)

Application Number Title Priority Date Filing Date
JP2022549525A Active JP7584525B2 (ja) 2020-02-17 2021-02-10 無線通信システムでネットワーク選択精度を高める方法及び装置

Country Status (5)

Country Link
US (2) US11856508B2 (ja)
EP (1) EP3866559B1 (ja)
JP (1) JP7584525B2 (ja)
CN (1) CN115152320B (ja)
WO (1) WO2021167290A1 (ja)

Families Citing this family (9)

* Cited by examiner, † Cited by third party
Publication number Priority date Publication date Assignee Title
US11902389B2 (en) * 2019-07-18 2024-02-13 Nokia Solutions And Networks Oy Mechanism to facilitate signaling traffic
EP4104406B1 (en) * 2020-02-12 2025-09-24 Telefonaktiebolaget Lm Ericsson (Publ) Selection of service-providing network functions in a 3gpp communication network
WO2021167290A1 (en) * 2020-02-17 2021-08-26 Samsung Electronics Co., Ltd. Method and apparatus for enhancing network selection accuracy in wireless communication system
EP3886502B1 (en) * 2020-03-23 2024-03-06 Nokia Technologies Oy Apparatus, method and computer readable medium related to information about scp(s) and sepp(s) stored in nrf
US12381842B2 (en) * 2020-05-21 2025-08-05 Nokia Solutions And Networks Oy Physical service communication proxy domain
EP4189864B1 (en) * 2020-07-31 2024-12-18 Telefonaktiebolaget LM Ericsson (publ) Network functionality (nf) aware service provision based on service communication proxy (scp)
CN117714290A (zh) * 2021-01-31 2024-03-15 瑞典爱立信有限公司 用于提供绑定指示的网络节点及其中的方法
US20220353263A1 (en) * 2021-04-28 2022-11-03 Verizon Patent And Licensing Inc. Systems and methods for securing network function subscribe notification process
CN116347561A (zh) * 2021-12-22 2023-06-27 中国移动通信有限公司研究院 一种信息处理方法、装置、设备及可读存储介质

Family Cites Families (21)

* Cited by examiner, † Cited by third party
Publication number Priority date Publication date Assignee Title
FI98971C (fi) 1994-11-01 1997-09-10 Nokia Telecommunications Oy Menetelmä älyverkkopalvelujen käynnistämiseksi matkaviestinjärjestelmässä sekä matkaviestinjärjestelmä
CN1257631C (zh) * 2002-08-29 2006-05-24 中国移动通信集团公司 一种基于互联网的短消息传送系统及数据传送的方法
US20080287150A1 (en) * 2007-04-16 2008-11-20 John Yue Jun Jiang Method and system for inserting advertisment content into a text message
US9553997B2 (en) * 2014-11-01 2017-01-24 Somos, Inc. Toll-free telecommunications management platform
CN113411784B (zh) * 2017-04-27 2022-01-11 三星电子株式会社 网络可切片区域信息获取方法
US20190230556A1 (en) * 2018-01-19 2019-07-25 Electronics And Telecommunications Research Institute Apparatus and method for network function profile management
US10963553B2 (en) * 2018-02-15 2021-03-30 Nokia Technologies Oy Security management for service authorization in communication systems with service-based architecture
WO2019162862A1 (en) * 2018-02-21 2019-08-29 Telefonaktiebolaget Lm Ericsson (Publ) Dead network function (nf) service producer detection
US11582685B2 (en) * 2018-07-27 2023-02-14 Telefonaktiebolaget Lm Ericsson (Publ) Transparent network function discovery and addressing
CN110830543B (zh) * 2018-08-13 2021-10-19 华为技术有限公司 通信方法和通信设备
KR102572054B1 (ko) * 2019-02-18 2023-08-28 후아웨이 테크놀러지 컴퍼니 리미티드 5g 네트워크에서 분석 네트워크 기능 인스턴스의 자동 구성 및 선택을 위한 엔티티 및 방법
CN110072273B (zh) 2019-05-06 2022-02-15 腾讯科技(深圳)有限公司 一种通信方法、装置、实体及存储介质
CN110234140B (zh) * 2019-06-17 2022-07-08 腾讯科技(深圳)有限公司 一种通信方法、装置、实体及存储介质
EP4014572A4 (en) * 2019-08-15 2023-08-09 Telefonaktiebolaget Lm Ericsson (Publ) METHOD AND APPARATUS FOR NETWORK FEATURE SERVICE DISCOVERY
TW202119798A (zh) * 2019-11-13 2021-05-16 財團法人資訊工業策進會 服務通訊代理裝置及方法
US11831458B2 (en) * 2019-11-19 2023-11-28 Intel Corporation Provisioning of multicast and broadcast services with different quality of service levels
US11929882B2 (en) * 2019-11-28 2024-03-12 Telefonaktiebolaget Lm Ericsson (Publ) Migration to indirect communication mode in a service-based architecture
US11224009B2 (en) * 2019-12-30 2022-01-11 Oracle International Corporation Methods, systems, and computer readable media for enabling transport quality of service (QoS) in 5G networks
US11509476B2 (en) * 2020-02-12 2022-11-22 Verizon Patent And Licensing Inc. System and method for enabling secure service-based communications via 5G proxies
WO2021167290A1 (en) * 2020-02-17 2021-08-26 Samsung Electronics Co., Ltd. Method and apparatus for enhancing network selection accuracy in wireless communication system
US12381842B2 (en) * 2020-05-21 2025-08-05 Nokia Solutions And Networks Oy Physical service communication proxy domain

Non-Patent Citations (2)

* Cited by examiner, † Cited by third party
Title
3rd Generation Partnership Project; Technical Specification Group Services and System Aspects; Procedures for the 5G System (5GS); Stage 2 (Release 16),3GPP TS 23.502 V16.3.0 (2019-12),2019年12月,第483-484頁
Oracle Corporation, Verizon UK Ltd, Nokia, Nokia Shanghai-Bell, Samsung, Ericsson, ITRI, CATT, AT & T, ZTE, InterDigital.,Enablers for multiple SCPs (23.502),3GPP TSG SA WG2 #138e S2-2003270,2020年04月20日,Internet<URL:https://www.3gpp.org/ftp/tsg_sa/WG2_Arch/TSGS2_138e_Electronic/Docs/S2-2003270.zip>

Also Published As

Publication number Publication date
US12490181B2 (en) 2025-12-02
US20240172103A1 (en) 2024-05-23
CN115152320A (zh) 2022-10-04
WO2021167290A1 (en) 2021-08-26
EP3866559B1 (en) 2025-04-30
EP3866559A1 (en) 2021-08-18
US11856508B2 (en) 2023-12-26
JP2023515021A (ja) 2023-04-12
US20210258871A1 (en) 2021-08-19
CN115152320B (zh) 2025-05-02

Similar Documents

Publication Publication Date Title
JP7584525B2 (ja) 無線通信システムでネットワーク選択精度を高める方法及び装置
US12438777B2 (en) Method and apparatus for providing service in wireless communication system
US12328223B2 (en) Method and apparatus for changing network configuration in wireless communication system
JP7621983B2 (ja) 無線通信システムにおいて、サービス安定性を高める方法及びその装置
CN114667765A (zh) 无线通信系统中选择网络切片的方法和装置
KR102742779B1 (ko) 무선 통신 시스템에서 직접 통신 제공 방법 및 장치
US20240324034A1 (en) Method and apparatus for enhancing reliability in wireless communication systems
JP7720328B2 (ja) ユーザサブスクリプションデータをプロビジョニングするための接続性を提供するネットワークを発見及び選択する方法及び装置
CN114503777A (zh) 无线通信系统中的直接通信会话管理方法和装置
JP7649801B2 (ja) 端末認証及び加入者データ転送のためのサーバを検索及び選択する方法及び装置
KR20210144211A (ko) 단말 가입자 데이터를 프로비저닝하기 위한 네트워크를 검색하고 선택하는 방법 및 장치
JP7328461B2 (ja) 無線通信システムにおけるシステム間の移動性支援のための方法及びその装置
JP7768889B2 (ja) グループイベントモニタリングのためのグループ管理方法及びこのため装置
KR20210104510A (ko) 무선 통신 시스템에서 네트워크 선택 정확도를 높이는 방법 및 장치
KR20210104511A (ko) 무선 통신 시스템에서 네트워크 구성을 변경하는 방법 및 장치

Legal Events

Date Code Title Description
A521 Request for written amendment filed

Free format text: JAPANESE INTERMEDIATE CODE: A523

Effective date: 20220818

A621 Written request for application examination

Free format text: JAPANESE INTERMEDIATE CODE: A621

Effective date: 20231227

TRDD Decision of grant or rejection written
A01 Written decision to grant a patent or to grant a registration (utility model)

Free format text: JAPANESE INTERMEDIATE CODE: A01

Effective date: 20241007

A61 First payment of annual fees (during grant procedure)

Free format text: JAPANESE INTERMEDIATE CODE: A61

Effective date: 20241105

R150 Certificate of patent or registration of utility model

Ref document number: 7584525

Country of ref document: JP

Free format text: JAPANESE INTERMEDIATE CODE: R150