JP7570544B2 - ビットストリーム送信装置及びビットストリーム送信方法 - Google Patents
ビットストリーム送信装置及びビットストリーム送信方法 Download PDFInfo
- Publication number
- JP7570544B2 JP7570544B2 JP2024005368A JP2024005368A JP7570544B2 JP 7570544 B2 JP7570544 B2 JP 7570544B2 JP 2024005368 A JP2024005368 A JP 2024005368A JP 2024005368 A JP2024005368 A JP 2024005368A JP 7570544 B2 JP7570544 B2 JP 7570544B2
- Authority
- JP
- Japan
- Prior art keywords
- block
- partition
- pixels
- partition mode
- blocks
- Prior art date
- Legal status (The legal status is an assumption and is not a legal conclusion. Google has not performed a legal analysis and makes no representation as to the accuracy of the status listed.)
- Active
Links
- 238000000034 method Methods 0.000 title claims description 170
- 230000005540 biological transmission Effects 0.000 title claims description 6
- 238000005192 partition Methods 0.000 claims description 559
- 230000033001 locomotion Effects 0.000 description 108
- 230000008569 process Effects 0.000 description 86
- 238000013139 quantization Methods 0.000 description 75
- 238000010586 diagram Methods 0.000 description 71
- 238000012545 processing Methods 0.000 description 66
- 239000013598 vector Substances 0.000 description 53
- 230000009466 transformation Effects 0.000 description 19
- 238000000638 solvent extraction Methods 0.000 description 18
- 238000006243 chemical reaction Methods 0.000 description 14
- 230000006835 compression Effects 0.000 description 14
- 238000007906 compression Methods 0.000 description 14
- 238000004891 communication Methods 0.000 description 13
- 230000006870 function Effects 0.000 description 12
- 238000012937 correction Methods 0.000 description 11
- 238000009826 distribution Methods 0.000 description 11
- 238000011156 evaluation Methods 0.000 description 11
- 230000011664 signaling Effects 0.000 description 10
- 230000005236 sound signal Effects 0.000 description 8
- 230000000694 effects Effects 0.000 description 7
- PXFBZOLANLWPMH-UHFFFAOYSA-N 16-Epiaffinine Natural products C1C(C2=CC=CC=C2N2)=C2C(=O)CC2C(=CC)CN(C)C1C2CO PXFBZOLANLWPMH-UHFFFAOYSA-N 0.000 description 6
- 230000008859 change Effects 0.000 description 6
- 101100537098 Mus musculus Alyref gene Proteins 0.000 description 5
- 230000003044 adaptive effect Effects 0.000 description 5
- 101150095908 apex1 gene Proteins 0.000 description 5
- 238000009795 derivation Methods 0.000 description 5
- 238000000926 separation method Methods 0.000 description 5
- 230000008901 benefit Effects 0.000 description 4
- 230000002146 bilateral effect Effects 0.000 description 4
- 230000003287 optical effect Effects 0.000 description 4
- 238000003860 storage Methods 0.000 description 4
- 230000002123 temporal effect Effects 0.000 description 4
- 238000004458 analytical method Methods 0.000 description 3
- 238000003702 image correction Methods 0.000 description 3
- 238000012986 modification Methods 0.000 description 3
- 230000004048 modification Effects 0.000 description 3
- 238000004590 computer program Methods 0.000 description 2
- 230000001934 delay Effects 0.000 description 2
- 239000011159 matrix material Substances 0.000 description 2
- 238000001228 spectrum Methods 0.000 description 2
- 230000007480 spreading Effects 0.000 description 2
- 238000003892 spreading Methods 0.000 description 2
- 230000001131 transforming effect Effects 0.000 description 2
- 238000012935 Averaging Methods 0.000 description 1
- 241000023320 Luma <angiosperm> Species 0.000 description 1
- 238000013459 approach Methods 0.000 description 1
- 230000001174 ascending effect Effects 0.000 description 1
- 230000003190 augmentative effect Effects 0.000 description 1
- 230000002457 bidirectional effect Effects 0.000 description 1
- 238000004364 calculation method Methods 0.000 description 1
- 238000010276 construction Methods 0.000 description 1
- 238000013500 data storage Methods 0.000 description 1
- 230000001419 dependent effect Effects 0.000 description 1
- 238000001514 detection method Methods 0.000 description 1
- 238000011161 development Methods 0.000 description 1
- 230000018109 developmental process Effects 0.000 description 1
- 239000000284 extract Substances 0.000 description 1
- 239000000446 fuel Substances 0.000 description 1
- 230000006872 improvement Effects 0.000 description 1
- 238000010801 machine learning Methods 0.000 description 1
- 238000004519 manufacturing process Methods 0.000 description 1
- 239000000463 material Substances 0.000 description 1
- OSWPMRLSEDHDFF-UHFFFAOYSA-N methyl salicylate Chemical group COC(=O)C1=CC=CC=C1O OSWPMRLSEDHDFF-UHFFFAOYSA-N 0.000 description 1
- 238000010295 mobile communication Methods 0.000 description 1
- 238000005457 optimization Methods 0.000 description 1
- 230000002093 peripheral effect Effects 0.000 description 1
- 238000012805 post-processing Methods 0.000 description 1
- 238000007781 pre-processing Methods 0.000 description 1
- 239000004065 semiconductor Substances 0.000 description 1
- 239000007787 solid Substances 0.000 description 1
- 230000001360 synchronised effect Effects 0.000 description 1
Images
Classifications
-
- H—ELECTRICITY
- H04—ELECTRIC COMMUNICATION TECHNIQUE
- H04N—PICTORIAL COMMUNICATION, e.g. TELEVISION
- H04N19/00—Methods or arrangements for coding, decoding, compressing or decompressing digital video signals
- H04N19/70—Methods or arrangements for coding, decoding, compressing or decompressing digital video signals characterised by syntax aspects related to video coding, e.g. related to compression standards
-
- H—ELECTRICITY
- H04—ELECTRIC COMMUNICATION TECHNIQUE
- H04N—PICTORIAL COMMUNICATION, e.g. TELEVISION
- H04N19/00—Methods or arrangements for coding, decoding, compressing or decompressing digital video signals
- H04N19/44—Decoders specially adapted therefor, e.g. video decoders which are asymmetric with respect to the encoder
-
- H—ELECTRICITY
- H04—ELECTRIC COMMUNICATION TECHNIQUE
- H04N—PICTORIAL COMMUNICATION, e.g. TELEVISION
- H04N19/00—Methods or arrangements for coding, decoding, compressing or decompressing digital video signals
- H04N19/10—Methods or arrangements for coding, decoding, compressing or decompressing digital video signals using adaptive coding
- H04N19/102—Methods or arrangements for coding, decoding, compressing or decompressing digital video signals using adaptive coding characterised by the element, parameter or selection affected or controlled by the adaptive coding
- H04N19/119—Adaptive subdivision aspects, e.g. subdivision of a picture into rectangular or non-rectangular coding blocks
-
- H—ELECTRICITY
- H04—ELECTRIC COMMUNICATION TECHNIQUE
- H04N—PICTORIAL COMMUNICATION, e.g. TELEVISION
- H04N19/00—Methods or arrangements for coding, decoding, compressing or decompressing digital video signals
- H04N19/10—Methods or arrangements for coding, decoding, compressing or decompressing digital video signals using adaptive coding
- H04N19/102—Methods or arrangements for coding, decoding, compressing or decompressing digital video signals using adaptive coding characterised by the element, parameter or selection affected or controlled by the adaptive coding
- H04N19/124—Quantisation
-
- H—ELECTRICITY
- H04—ELECTRIC COMMUNICATION TECHNIQUE
- H04N—PICTORIAL COMMUNICATION, e.g. TELEVISION
- H04N19/00—Methods or arrangements for coding, decoding, compressing or decompressing digital video signals
- H04N19/10—Methods or arrangements for coding, decoding, compressing or decompressing digital video signals using adaptive coding
- H04N19/102—Methods or arrangements for coding, decoding, compressing or decompressing digital video signals using adaptive coding characterised by the element, parameter or selection affected or controlled by the adaptive coding
- H04N19/13—Adaptive entropy coding, e.g. adaptive variable length coding [AVLC] or context adaptive binary arithmetic coding [CABAC]
-
- H—ELECTRICITY
- H04—ELECTRIC COMMUNICATION TECHNIQUE
- H04N—PICTORIAL COMMUNICATION, e.g. TELEVISION
- H04N19/00—Methods or arrangements for coding, decoding, compressing or decompressing digital video signals
- H04N19/10—Methods or arrangements for coding, decoding, compressing or decompressing digital video signals using adaptive coding
- H04N19/134—Methods or arrangements for coding, decoding, compressing or decompressing digital video signals using adaptive coding characterised by the element, parameter or criterion affecting or controlling the adaptive coding
- H04N19/157—Assigned coding mode, i.e. the coding mode being predefined or preselected to be further used for selection of another element or parameter
-
- H—ELECTRICITY
- H04—ELECTRIC COMMUNICATION TECHNIQUE
- H04N—PICTORIAL COMMUNICATION, e.g. TELEVISION
- H04N19/00—Methods or arrangements for coding, decoding, compressing or decompressing digital video signals
- H04N19/10—Methods or arrangements for coding, decoding, compressing or decompressing digital video signals using adaptive coding
- H04N19/134—Methods or arrangements for coding, decoding, compressing or decompressing digital video signals using adaptive coding characterised by the element, parameter or criterion affecting or controlling the adaptive coding
- H04N19/157—Assigned coding mode, i.e. the coding mode being predefined or preselected to be further used for selection of another element or parameter
- H04N19/159—Prediction type, e.g. intra-frame, inter-frame or bidirectional frame prediction
-
- H—ELECTRICITY
- H04—ELECTRIC COMMUNICATION TECHNIQUE
- H04N—PICTORIAL COMMUNICATION, e.g. TELEVISION
- H04N19/00—Methods or arrangements for coding, decoding, compressing or decompressing digital video signals
- H04N19/10—Methods or arrangements for coding, decoding, compressing or decompressing digital video signals using adaptive coding
- H04N19/169—Methods or arrangements for coding, decoding, compressing or decompressing digital video signals using adaptive coding characterised by the coding unit, i.e. the structural portion or semantic portion of the video signal being the object or the subject of the adaptive coding
- H04N19/17—Methods or arrangements for coding, decoding, compressing or decompressing digital video signals using adaptive coding characterised by the coding unit, i.e. the structural portion or semantic portion of the video signal being the object or the subject of the adaptive coding the unit being an image region, e.g. an object
- H04N19/176—Methods or arrangements for coding, decoding, compressing or decompressing digital video signals using adaptive coding characterised by the coding unit, i.e. the structural portion or semantic portion of the video signal being the object or the subject of the adaptive coding the unit being an image region, e.g. an object the region being a block, e.g. a macroblock
-
- H—ELECTRICITY
- H04—ELECTRIC COMMUNICATION TECHNIQUE
- H04N—PICTORIAL COMMUNICATION, e.g. TELEVISION
- H04N19/00—Methods or arrangements for coding, decoding, compressing or decompressing digital video signals
- H04N19/46—Embedding additional information in the video signal during the compression process
-
- H—ELECTRICITY
- H04—ELECTRIC COMMUNICATION TECHNIQUE
- H04N—PICTORIAL COMMUNICATION, e.g. TELEVISION
- H04N19/00—Methods or arrangements for coding, decoding, compressing or decompressing digital video signals
- H04N19/10—Methods or arrangements for coding, decoding, compressing or decompressing digital video signals using adaptive coding
- H04N19/134—Methods or arrangements for coding, decoding, compressing or decompressing digital video signals using adaptive coding characterised by the element, parameter or criterion affecting or controlling the adaptive coding
- H04N19/146—Data rate or code amount at the encoder output
-
- H—ELECTRICITY
- H04—ELECTRIC COMMUNICATION TECHNIQUE
- H04N—PICTORIAL COMMUNICATION, e.g. TELEVISION
- H04N19/00—Methods or arrangements for coding, decoding, compressing or decompressing digital video signals
- H04N19/90—Methods or arrangements for coding, decoding, compressing or decompressing digital video signals using coding techniques not provided for in groups H04N19/10-H04N19/85, e.g. fractals
- H04N19/96—Tree coding, e.g. quad-tree coding
Landscapes
- Engineering & Computer Science (AREA)
- Multimedia (AREA)
- Signal Processing (AREA)
- Compression Or Coding Systems Of Tv Signals (AREA)
- Compression Of Band Width Or Redundancy In Fax (AREA)
Description
本開示は、ブロック分割を用いて映像及び画像を符号化及び復号するための方法及び装置に関する。
従来の画像及び映像符号化方法では、画像は、一般的にブロックに分割され、ブロックレベルで符号化及び復号処理が行われる。最近の映像規格開発では、典型的な8x8又は16x16サイズの他に様々なブロックサイズで符号化及び復号処理を行うことができる。画像の符号化及び復号処理のために4x4から256x256までのサイズの範囲を用いることができる。
H.265(ISO/IEC 23008-2 HEVC(High Efficiency Video Coding))
4x4から256x256までのサイズの範囲を表すためには、ブロックパーティションモード(例えば、四分木、二分木及び三分木)及びパーティションフラグ(例えばスプリットフラグ)のようなブロック分割情報がブロックのために決定及び信号化される。その信号化のオーバーヘッドは、分割深さが増加すれば増加する。そして、増加したオーバーヘッドは、映像圧縮効率を低下させる。
そこで、本開示の一態様に係る符号化装置は、ブロック分割情報の符号化において圧縮効率を向上させることができる符号化装置等を提供する。
本開示の一態様に係る画像復号装置は、前記回路に結合されたメモリと、を備え、前記回路は、動作において、第1パーティションモードを用いて、ピクチャのブロックを複数のサブブロックに第1方向に分割し、前記複数のサブブロックを復号し、前記第1パーティションモードを用いた前記ブロックの分割では、ビットストリームから読み解いたパーティションモードに関するパラメータに基づいて、前記ブロックのサイズがNx2N画素であり、前記第1方向が2N画素に沿っており、Nが整数である場合、N/4x2N画素サイズの少なくとも1つのサブブロックを含む複数のサブブロックへの前記ブロックの分割を選択し、N/2x2N画素サイズの2つのサブブロックへの前記ブロックの分割を選択せず、前記ブロックのサイズが2NxN画素であり、前記第1方向が2N画素に沿っており、Nが整数である場合、2NxN/4画素サイズの少なくとも1つのサブブロックを含む複数のサブブロックへの前記ブロックの分割を選択し、2NxN/2画素サイズの2つのサブブロックへの前記ブロックの分割を選択せず、前記パーティションモードに関するパラメータを含むビットストリームを送信する。
なお、これらの包括的又は具体的な態様は、システム、方法、集積回路、コンピュータプログラム又はコンピュータ読み取り可能なCD-ROMなどの記録媒体で実現されてもよく、システム、方法、集積回路、コンピュータプログラム及び記録媒体の任意な組み合わせで実現されてもよい。
本開示によれば、ブロック分割情報の符号化において圧縮効率を向上させることができる。
以下、実施の形態について図面を参照しながら具体的に説明する。
なお、以下で説明する実施の形態は、いずれも包括的または具体的な例を示すものである。以下の実施の形態で示される数値、形状、材料、構成要素、構成要素の配置位置及び接続形態、ステップ、ステップの順序などは、一例であり、請求の範囲を限定する主旨ではない。また、以下の実施の形態における構成要素のうち、最上位概念を示す独立請求項に記載されていない構成要素については、任意の構成要素として説明される。
(実施の形態1)
まず、後述する本開示の各態様で説明する処理および/または構成を適用可能な符号化装置および復号化装置の一例として、実施の形態1の概要を説明する。ただし、実施の形態1は、本開示の各態様で説明する処理および/または構成を適用可能な符号化装置および復号化装置の一例にすぎず、本開示の各態様で説明する処理および/または構成は、実施の形態1とは異なる符号化装置および復号化装置においても実施可能である。
まず、後述する本開示の各態様で説明する処理および/または構成を適用可能な符号化装置および復号化装置の一例として、実施の形態1の概要を説明する。ただし、実施の形態1は、本開示の各態様で説明する処理および/または構成を適用可能な符号化装置および復号化装置の一例にすぎず、本開示の各態様で説明する処理および/または構成は、実施の形態1とは異なる符号化装置および復号化装置においても実施可能である。
実施の形態1に対して本開示の各態様で説明する処理および/または構成を適用する場合、例えば以下のいずれかを行ってもよい。
(1)実施の形態1の符号化装置または復号化装置に対して、当該符号化装置または復号化装置を構成する複数の構成要素のうち、本開示の各態様で説明する構成要素に対応する構成要素を、本開示の各態様で説明する構成要素に置き換えること
(2)実施の形態1の符号化装置または復号化装置に対して、当該符号化装置または復号化装置を構成する複数の構成要素のうち一部の構成要素について機能または実施する処理の追加、置き換え、削除などの任意の変更を施した上で、本開示の各態様で説明する構成要素に対応する構成要素を、本開示の各態様で説明する構成要素に置き換えること
(3)実施の形態1の符号化装置または復号化装置が実施する方法に対して、処理の追加、および/または当該方法に含まれる複数の処理のうちの一部の処理について置き換え、削除などの任意の変更を施した上で、本開示の各態様で説明する処理に対応する処理を、本開示の各態様で説明する処理に置き換えること
(4)実施の形態1の符号化装置または復号化装置を構成する複数の構成要素のうちの一部の構成要素を、本開示の各態様で説明する構成要素、本開示の各態様で説明する構成要素が備える機能の一部を備える構成要素、または本開示の各態様で説明する構成要素が実施する処理の一部を実施する構成要素と組み合わせて実施すること
(5)実施の形態1の符号化装置または復号化装置を構成する複数の構成要素のうちの一部の構成要素が備える機能の一部を備える構成要素、または実施の形態1の符号化装置または復号化装置を構成する複数の構成要素のうちの一部の構成要素が実施する処理の一部を実施する構成要素を、本開示の各態様で説明する構成要素、本開示の各態様で説明する構成要素が備える機能の一部を備える構成要素、または本開示の各態様で説明する構成要素が実施する処理の一部を実施する構成要素と組み合わせて実施すること
(6)実施の形態1の符号化装置または復号化装置が実施する方法に対して、当該方法に含まれる複数の処理のうち、本開示の各態様で説明する処理に対応する処理を、本開示の各態様で説明する処理に置き換えること
(7)実施の形態1の符号化装置または復号化装置が実施する方法に含まれる複数の処理のうちの一部の処理を、本開示の各態様で説明する処理と組み合わせて実施すること
なお、本開示の各態様で説明する処理および/または構成の実施の仕方は、上記の例に限定されるものではない。例えば、実施の形態1において開示する動画像/画像符号化装置または動画像/画像復号化装置とは異なる目的で利用される装置において実施されてもよいし、各態様において説明した処理および/または構成を単独で実施してもよい。また、異なる態様において説明した処理および/または構成を組み合わせて実施してもよい。
(2)実施の形態1の符号化装置または復号化装置に対して、当該符号化装置または復号化装置を構成する複数の構成要素のうち一部の構成要素について機能または実施する処理の追加、置き換え、削除などの任意の変更を施した上で、本開示の各態様で説明する構成要素に対応する構成要素を、本開示の各態様で説明する構成要素に置き換えること
(3)実施の形態1の符号化装置または復号化装置が実施する方法に対して、処理の追加、および/または当該方法に含まれる複数の処理のうちの一部の処理について置き換え、削除などの任意の変更を施した上で、本開示の各態様で説明する処理に対応する処理を、本開示の各態様で説明する処理に置き換えること
(4)実施の形態1の符号化装置または復号化装置を構成する複数の構成要素のうちの一部の構成要素を、本開示の各態様で説明する構成要素、本開示の各態様で説明する構成要素が備える機能の一部を備える構成要素、または本開示の各態様で説明する構成要素が実施する処理の一部を実施する構成要素と組み合わせて実施すること
(5)実施の形態1の符号化装置または復号化装置を構成する複数の構成要素のうちの一部の構成要素が備える機能の一部を備える構成要素、または実施の形態1の符号化装置または復号化装置を構成する複数の構成要素のうちの一部の構成要素が実施する処理の一部を実施する構成要素を、本開示の各態様で説明する構成要素、本開示の各態様で説明する構成要素が備える機能の一部を備える構成要素、または本開示の各態様で説明する構成要素が実施する処理の一部を実施する構成要素と組み合わせて実施すること
(6)実施の形態1の符号化装置または復号化装置が実施する方法に対して、当該方法に含まれる複数の処理のうち、本開示の各態様で説明する処理に対応する処理を、本開示の各態様で説明する処理に置き換えること
(7)実施の形態1の符号化装置または復号化装置が実施する方法に含まれる複数の処理のうちの一部の処理を、本開示の各態様で説明する処理と組み合わせて実施すること
なお、本開示の各態様で説明する処理および/または構成の実施の仕方は、上記の例に限定されるものではない。例えば、実施の形態1において開示する動画像/画像符号化装置または動画像/画像復号化装置とは異なる目的で利用される装置において実施されてもよいし、各態様において説明した処理および/または構成を単独で実施してもよい。また、異なる態様において説明した処理および/または構成を組み合わせて実施してもよい。
[符号化装置の概要]
まず、実施の形態1に係る符号化装置の概要を説明する。図1は、実施の形態1に係る符号化装置100の機能構成を示すブロック図である。符号化装置100は、動画像/画像をブロック単位で符号化する動画像/画像符号化装置である。
まず、実施の形態1に係る符号化装置の概要を説明する。図1は、実施の形態1に係る符号化装置100の機能構成を示すブロック図である。符号化装置100は、動画像/画像をブロック単位で符号化する動画像/画像符号化装置である。
図1に示すように、符号化装置100は、画像をブロック単位で符号化する装置であって、分割部102と、減算部104と、変換部106と、量子化部108と、エントロピー符号化部110と、逆量子化部112と、逆変換部114と、加算部116と、ブロックメモリ118と、ループフィルタ部120と、フレームメモリ122と、イントラ予測部124と、インター予測部126と、予測制御部128と、を備える。
符号化装置100は、例えば、汎用プロセッサ及びメモリにより実現される。この場合、メモリに格納されたソフトウェアプログラムがプロセッサにより実行されたときに、プロセッサは、分割部102、減算部104、変換部106、量子化部108、エントロピー符号化部110、逆量子化部112、逆変換部114、加算部116、ループフィルタ部120、イントラ予測部124、インター予測部126及び予測制御部128として機能する。また、符号化装置100は、分割部102、減算部104、変換部106、量子化部108、エントロピー符号化部110、逆量子化部112、逆変換部114、加算部116、ループフィルタ部120、イントラ予測部124、インター予測部126及び予測制御部128に対応する専用の1以上の電子回路として実現されてもよい。
以下に、符号化装置100に含まれる各構成要素について説明する。
[分割部]
分割部102は、入力動画像に含まれる各ピクチャを複数のブロックに分割し、各ブロックを減算部104に出力する。例えば、分割部102は、まず、ピクチャを固定サイズ(例えば128x128)のブロックに分割する。この固定サイズのブロックは、符号化ツリーユニット(CTU)と呼ばれることがある。そして、分割部102は、再帰的な四分木(quadtree)及び/又は二分木(binary tree)ブロック分割に基づいて、固定サイズのブロックの各々を可変サイズ(例えば64x64以下)のブロックに分割する。この可変サイズのブロックは、符号化ユニット(CU)、予測ユニット(PU)あるいは変換ユニット(TU)と呼ばれることがある。なお、本実施の形態では、CU、PU及びTUは区別される必要はなく、ピクチャ内の一部又はすべてのブロックがCU、PU、TUの処理単位となってもよい。
分割部102は、入力動画像に含まれる各ピクチャを複数のブロックに分割し、各ブロックを減算部104に出力する。例えば、分割部102は、まず、ピクチャを固定サイズ(例えば128x128)のブロックに分割する。この固定サイズのブロックは、符号化ツリーユニット(CTU)と呼ばれることがある。そして、分割部102は、再帰的な四分木(quadtree)及び/又は二分木(binary tree)ブロック分割に基づいて、固定サイズのブロックの各々を可変サイズ(例えば64x64以下)のブロックに分割する。この可変サイズのブロックは、符号化ユニット(CU)、予測ユニット(PU)あるいは変換ユニット(TU)と呼ばれることがある。なお、本実施の形態では、CU、PU及びTUは区別される必要はなく、ピクチャ内の一部又はすべてのブロックがCU、PU、TUの処理単位となってもよい。
図2は、実施の形態1におけるブロック分割の一例を示す図である。図2において、実線は四分木ブロック分割によるブロック境界を表し、破線は二分木ブロック分割によるブロック境界を表す。
ここでは、ブロック10は、128x128画素の正方形ブロック(128x128ブロック)である。この128x128ブロック10は、まず、4つの正方形の64x64ブロックに分割される(四分木ブロック分割)。
左上の64x64ブロックは、さらに2つの矩形の32x64ブロックに垂直に分割され、左の32x64ブロックはさらに2つの矩形の16x64ブロックに垂直に分割される(二分木ブロック分割)。その結果、左上の64x64ブロックは、2つの16x64ブロック11、12と、32x64ブロック13とに分割される。
右上の64x64ブロックは、2つの矩形の64x32ブロック14、15に水平に分割される(二分木ブロック分割)。
左下の64x64ブロックは、4つの正方形の32x32ブロックに分割される(四分木ブロック分割)。4つの32x32ブロックのうち左上のブロック及び右下のブロックはさらに分割される。左上の32x32ブロックは、2つの矩形の16x32ブロックに垂直に分割され、右の16x32ブロックはさらに2つの16x16ブロックに水平に分割される(二分木ブロック分割)。右下の32x32ブロックは、2つの32x16ブロックに水平に分割される(二分木ブロック分割)。その結果、左下の64x64ブロックは、16x32ブロック16と、2つの16x16ブロック17、18と、2つの32x32ブロック19、20と、2つの32x16ブロック21、22とに分割される。
右下の64x64ブロック23は分割されない。
以上のように、図2では、ブロック10は、再帰的な四分木及び二分木ブロック分割に基づいて、13個の可変サイズのブロック11~23に分割される。このような分割は、QTBT(quad-tree plus binary tree)分割と呼ばれることがある。
なお、図2では、1つのブロックが4つ又は2つのブロックに分割されていたが(四分木又は二分木ブロック分割)、分割はこれに限定されない。例えば、1つのブロックが3つのブロックに分割されてもよい(三分木ブロック分割)。このような三分木ブロック分割を含む分割は、MBT(multi type tree)分割と呼ばれることがある。
[減算部]
減算部104は、分割部102によって分割されたブロック単位で原信号(原サンプル)から予測信号(予測サンプル)を減算する。つまり、減算部104は、符号化対象ブロック(以下、カレントブロックという)の予測誤差(残差ともいう)を算出する。そして、減算部104は、算出された予測誤差を変換部106に出力する。
減算部104は、分割部102によって分割されたブロック単位で原信号(原サンプル)から予測信号(予測サンプル)を減算する。つまり、減算部104は、符号化対象ブロック(以下、カレントブロックという)の予測誤差(残差ともいう)を算出する。そして、減算部104は、算出された予測誤差を変換部106に出力する。
原信号は、符号化装置100の入力信号であり、動画像を構成する各ピクチャの画像を表す信号(例えば輝度(luma)信号及び2つの色差(chroma)信号)である。以下において、画像を表す信号をサンプルともいうこともある。
[変換部]
変換部106は、空間領域の予測誤差を周波数領域の変換係数に変換し、変換係数を量子化部108に出力する。具体的には、変換部106は、例えば空間領域の予測誤差に対して予め定められた離散コサイン変換(DCT)又は離散サイン変換(DST)を行う。
変換部106は、空間領域の予測誤差を周波数領域の変換係数に変換し、変換係数を量子化部108に出力する。具体的には、変換部106は、例えば空間領域の予測誤差に対して予め定められた離散コサイン変換(DCT)又は離散サイン変換(DST)を行う。
なお、変換部106は、複数の変換タイプの中から適応的に変換タイプを選択し、選択された変換タイプに対応する変換基底関数(transform basis function)を用いて、予測誤差を変換係数に変換してもよい。このような変換は、EMT(explicit multiple core transform)又はAMT(adaptive multiple transform)と呼ばれることがある。
複数の変換タイプは、例えば、DCT-II、DCT-V、DCT-VIII、DST-I及びDST-VIIを含む。図3は、各変換タイプに対応する変換基底関数を示す表である。図3においてNは入力画素の数を示す。これらの複数の変換タイプの中からの変換タイプの選択は、例えば、予測の種類(イントラ予測及びインター予測)に依存してもよいし、イントラ予測モードに依存してもよい。
このようなEMT又はAMTを適用するか否かを示す情報(例えばAMTフラグと呼ばれる)及び選択された変換タイプを示す情報は、CUレベルで信号化される。なお、これらの情報の信号化は、CUレベルに限定される必要はなく、他のレベル(例えば、シーケンスレベル、ピクチャレベル、スライスレベル、タイルレベル又はCTUレベル)であってもよい。
また、変換部106は、変換係数(変換結果)を再変換してもよい。このような再変換は、AST(adaptive secondary transform)又はNSST(non-separable secondary transform)と呼ばれることがある。例えば、変換部106は、イントラ予測誤差に対応する変換係数のブロックに含まれるサブブロック(例えば4x4サブブロック)ごとに再変換を行う。NSSTを適用するか否かを示す情報及びNSSTに用いられる変換行列に関する情報は、CUレベルで信号化される。なお、これらの情報の信号化は、CUレベルに限定される必要はなく、他のレベル(例えば、シーケンスレベル、ピクチャレベル、スライスレベル、タイルレベル又はCTUレベル)であってもよい。
ここで、Separableな変換とは、入力の次元の数だけ方向ごとに分離して複数回変換を行う方式であり、Non-Separableな変換とは、入力が多次元であった際に2つ以上の次元をまとめて1次元とみなして、まとめて変換を行う方式である。
例えば、Non-Separableな変換の1例として、入力が4×4のブロックであった場合にはそれを16個の要素を持ったひとつの配列とみなし、その配列に対して16×16の変換行列で変換処理を行うようなものが挙げられる。
また、同様に4×4の入力ブロックを16個の要素を持ったひとつの配列とみなした後に、その配列に対してGivens回転を複数回行うようなもの(Hypercube Givens Transform)もNon-Separableな変換の例である。
[量子化部]
量子化部108は、変換部106から出力された変換係数を量子化する。具体的には、量子化部108は、カレントブロックの変換係数を所定の走査順序で走査し、走査された変換係数に対応する量子化パラメータ(QP)に基づいて当該変換係数を量子化する。そして、量子化部108は、カレントブロックの量子化された変換係数(以下、量子化係数という)をエントロピー符号化部110及び逆量子化部112に出力する。
量子化部108は、変換部106から出力された変換係数を量子化する。具体的には、量子化部108は、カレントブロックの変換係数を所定の走査順序で走査し、走査された変換係数に対応する量子化パラメータ(QP)に基づいて当該変換係数を量子化する。そして、量子化部108は、カレントブロックの量子化された変換係数(以下、量子化係数という)をエントロピー符号化部110及び逆量子化部112に出力する。
所定の順序は、変換係数の量子化/逆量子化のための順序である。例えば、所定の走査順序は、周波数の昇順(低周波から高周波の順)又は降順(高周波から低周波の順)で定義される。
量子化パラメータとは、量子化ステップ(量子化幅)を定義するパラメータである。例えば、量子化パラメータの値が増加すれば量子化ステップも増加する。つまり、量子化パラメータの値が増加すれば量子化誤差が増大する。
[エントロピー符号化部]
エントロピー符号化部110は、量子化部108から入力である量子化係数を可変長符号化することにより符号化信号(符号化ビットストリーム)を生成する。具体的には、エントロピー符号化部110は、例えば、量子化係数を二値化し、二値信号を算術符号化する。
エントロピー符号化部110は、量子化部108から入力である量子化係数を可変長符号化することにより符号化信号(符号化ビットストリーム)を生成する。具体的には、エントロピー符号化部110は、例えば、量子化係数を二値化し、二値信号を算術符号化する。
[逆量子化部]
逆量子化部112は、量子化部108からの入力である量子化係数を逆量子化する。具体的には、逆量子化部112は、カレントブロックの量子化係数を所定の走査順序で逆量子化する。そして、逆量子化部112は、カレントブロックの逆量子化された変換係数を逆変換部114に出力する。
逆量子化部112は、量子化部108からの入力である量子化係数を逆量子化する。具体的には、逆量子化部112は、カレントブロックの量子化係数を所定の走査順序で逆量子化する。そして、逆量子化部112は、カレントブロックの逆量子化された変換係数を逆変換部114に出力する。
[逆変換部]
逆変換部114は、逆量子化部112からの入力である変換係数を逆変換することにより予測誤差を復元する。具体的には、逆変換部114は、変換係数に対して、変換部106による変換に対応する逆変換を行うことにより、カレントブロックの予測誤差を復元する。そして、逆変換部114は、復元された予測誤差を加算部116に出力する。
逆変換部114は、逆量子化部112からの入力である変換係数を逆変換することにより予測誤差を復元する。具体的には、逆変換部114は、変換係数に対して、変換部106による変換に対応する逆変換を行うことにより、カレントブロックの予測誤差を復元する。そして、逆変換部114は、復元された予測誤差を加算部116に出力する。
なお、復元された予測誤差は、量子化により情報が失われているので、減算部104が算出した予測誤差と一致しない。すなわち、復元された予測誤差には、量子化誤差が含まれている。
[加算部]
加算部116は、逆変換部114からの入力である予測誤差と予測制御部128からの入力である予測サンプルとを加算することによりカレントブロックを再構成する。そして、加算部116は、再構成されたブロックをブロックメモリ118及びループフィルタ部120に出力する。再構成ブロックは、ローカル復号ブロックと呼ばれることもある。
加算部116は、逆変換部114からの入力である予測誤差と予測制御部128からの入力である予測サンプルとを加算することによりカレントブロックを再構成する。そして、加算部116は、再構成されたブロックをブロックメモリ118及びループフィルタ部120に出力する。再構成ブロックは、ローカル復号ブロックと呼ばれることもある。
[ブロックメモリ]
ブロックメモリ118は、イントラ予測で参照されるブロックであって符号化対象ピクチャ(以下、カレントピクチャという)内のブロックを格納するための記憶部である。具体的には、ブロックメモリ118は、加算部116から出力された再構成ブロックを格納する。
ブロックメモリ118は、イントラ予測で参照されるブロックであって符号化対象ピクチャ(以下、カレントピクチャという)内のブロックを格納するための記憶部である。具体的には、ブロックメモリ118は、加算部116から出力された再構成ブロックを格納する。
[ループフィルタ部]
ループフィルタ部120は、加算部116によって再構成されたブロックにループフィルタを施し、フィルタされた再構成ブロックをフレームメモリ122に出力する。ループフィルタとは、符号化ループ内で用いられるフィルタ(インループフィルタ)であり、例えば、デブロッキング・フィルタ(DF)、サンプルアダプティブオフセット(SAO)及びアダプティブループフィルタ(ALF)などを含む。
ループフィルタ部120は、加算部116によって再構成されたブロックにループフィルタを施し、フィルタされた再構成ブロックをフレームメモリ122に出力する。ループフィルタとは、符号化ループ内で用いられるフィルタ(インループフィルタ)であり、例えば、デブロッキング・フィルタ(DF)、サンプルアダプティブオフセット(SAO)及びアダプティブループフィルタ(ALF)などを含む。
ALFでは、符号化歪みを除去するための最小二乗誤差フィルタが適用され、例えばカレントブロック内の2x2サブブロックごとに、局所的な勾配(gradient)の方向及び活性度(activity)に基づいて複数のフィルタの中から選択された1つのフィルタが適用される。
具体的には、まず、サブブロック(例えば2x2サブブロック)が複数のクラス(例えば15又は25クラス)に分類される。サブブロックの分類は、勾配の方向及び活性度に基づいて行われる。例えば、勾配の方向値D(例えば0~2又は0~4)と勾配の活性値A(例えば0~4)とを用いて分類値C(例えばC=5D+A)が算出される。そして、分類値Cに基づいて、サブブロックが複数のクラス(例えば15又は25クラス)に分類される。
勾配の方向値Dは、例えば、複数の方向(例えば水平、垂直及び2つの対角方向)の勾配を比較することにより導出される。また、勾配の活性値Aは、例えば、複数の方向の勾配を加算し、加算結果を量子化することにより導出される。
このような分類の結果に基づいて、複数のフィルタの中からサブブロックのためのフィルタが決定される。
ALFで用いられるフィルタの形状としては例えば円対称形状が利用される。図4A~図4Cは、ALFで用いられるフィルタの形状の複数の例を示す図である。図4Aは、5x5ダイヤモンド形状フィルタを示し、図4Bは、7x7ダイヤモンド形状フィルタを示し、図4Cは、9x9ダイヤモンド形状フィルタを示す。フィルタの形状を示す情報は、ピクチャレベルで信号化される。なお、フィルタの形状を示す情報の信号化は、ピクチャレベルに限定される必要はなく、他のレベル(例えば、シーケンスレベル、スライスレベル、タイルレベル、CTUレベル又はCUレベル)であってもよい。
ALFのオン/オフは、例えば、ピクチャレベル又はCUレベルで決定される。例えば、輝度についてはCUレベルでALFを適用するか否かが決定され、色差についてはピクチャレベルでALFを適用するか否かが決定される。ALFのオン/オフを示す情報は、ピクチャレベル又はCUレベルで信号化される。なお、ALFのオン/オフを示す情報の信号化は、ピクチャレベル又はCUレベルに限定される必要はなく、他のレベル(例えば、シーケンスレベル、スライスレベル、タイルレベル又はCTUレベル)であってもよい。
選択可能な複数のフィルタ(例えば15又は25までのフィルタ)の係数セットは、ピクチャレベルで信号化される。なお、係数セットの信号化は、ピクチャレベルに限定される必要はなく、他のレベル(例えば、シーケンスレベル、スライスレベル、タイルレベル、CTUレベル、CUレベル又はサブブロックレベル)であってもよい。
[フレームメモリ]
フレームメモリ122は、インター予測に用いられる参照ピクチャを格納するための記憶部であり、フレームバッファと呼ばれることもある。具体的には、フレームメモリ122は、ループフィルタ部120によってフィルタされた再構成ブロックを格納する。
フレームメモリ122は、インター予測に用いられる参照ピクチャを格納するための記憶部であり、フレームバッファと呼ばれることもある。具体的には、フレームメモリ122は、ループフィルタ部120によってフィルタされた再構成ブロックを格納する。
[イントラ予測部]
イントラ予測部124は、ブロックメモリ118に格納されたカレントピクチャ内のブロックを参照してカレントブロックのイントラ予測(画面内予測ともいう)を行うことで、予測信号(イントラ予測信号)を生成する。具体的には、イントラ予測部124は、カレントブロックに隣接するブロックのサンプル(例えば輝度値、色差値)を参照してイントラ予測を行うことでイントラ予測信号を生成し、イントラ予測信号を予測制御部128に出力する。
イントラ予測部124は、ブロックメモリ118に格納されたカレントピクチャ内のブロックを参照してカレントブロックのイントラ予測(画面内予測ともいう)を行うことで、予測信号(イントラ予測信号)を生成する。具体的には、イントラ予測部124は、カレントブロックに隣接するブロックのサンプル(例えば輝度値、色差値)を参照してイントラ予測を行うことでイントラ予測信号を生成し、イントラ予測信号を予測制御部128に出力する。
例えば、イントラ予測部124は、予め規定された複数のイントラ予測モードのうちの1つを用いてイントラ予測を行う。複数のイントラ予測モードは、1以上の非方向性予測モードと、複数の方向性予測モードと、を含む。
1以上の非方向性予測モードは、例えばH.265/HEVC(High-Efficiency Video Coding)規格(非特許文献1)で規定されたPlanar予測モード及びDC予測モードを含む。
複数の方向性予測モードは、例えばH.265/HEVC規格で規定された33方向の予測モードを含む。なお、複数の方向性予測モードは、33方向に加えてさらに32方向の予測モード(合計で65個の方向性予測モード)を含んでもよい。図5Aは、イントラ予測における67個のイントラ予測モード(2個の非方向性予測モード及び65個の方向性予測モード)を示す図である。実線矢印は、H.265/HEVC規格で規定された33方向を表し、破線矢印は、追加された32方向を表す。
なお、色差ブロックのイントラ予測において、輝度ブロックが参照されてもよい。つまり、カレントブロックの輝度成分に基づいて、カレントブロックの色差成分が予測されてもよい。このようなイントラ予測は、CCLM(cross-component linear model)予測と呼ばれることがある。このような輝度ブロックを参照する色差ブロックのイントラ予測モード(例えばCCLMモードと呼ばれる)は、色差ブロックのイントラ予測モードの1つとして加えられてもよい。
イントラ予測部124は、水平/垂直方向の参照画素の勾配に基づいてイントラ予測後の画素値を補正してもよい。このような補正をともなうイントラ予測は、PDPC(position dependent intra prediction combination)と呼ばれることがある。PDPCの適用の有無を示す情報(例えばPDPCフラグと呼ばれる)は、例えばCUレベルで信号化される。なお、この情報の信号化は、CUレベルに限定される必要はなく、他のレベル(例えば、シーケンスレベル、ピクチャレベル、スライスレベル、タイルレベル又はCTUレベル)であってもよい。
[インター予測部]
インター予測部126は、フレームメモリ122に格納された参照ピクチャであってカレントピクチャとは異なる参照ピクチャを参照してカレントブロックのインター予測(画面間予測ともいう)を行うことで、予測信号(インター予測信号)を生成する。インター予測は、カレントブロック又はカレントブロック内のサブブロック(例えば4x4ブロック)の単位で行われる。例えば、インター予測部126は、カレントブロック又はサブブロックについて参照ピクチャ内で動き探索(motion estimation)を行う。そして、インター予測部126は、動き探索により得られた動き情報(例えば動きベクトル)を用いて動き補償を行うことでカレントブロック又はサブブロックのインター予測信号を生成する。そして、インター予測部126は、生成されたインター予測信号を予測制御部128に出力する。
インター予測部126は、フレームメモリ122に格納された参照ピクチャであってカレントピクチャとは異なる参照ピクチャを参照してカレントブロックのインター予測(画面間予測ともいう)を行うことで、予測信号(インター予測信号)を生成する。インター予測は、カレントブロック又はカレントブロック内のサブブロック(例えば4x4ブロック)の単位で行われる。例えば、インター予測部126は、カレントブロック又はサブブロックについて参照ピクチャ内で動き探索(motion estimation)を行う。そして、インター予測部126は、動き探索により得られた動き情報(例えば動きベクトル)を用いて動き補償を行うことでカレントブロック又はサブブロックのインター予測信号を生成する。そして、インター予測部126は、生成されたインター予測信号を予測制御部128に出力する。
動き補償に用いられた動き情報は信号化される。動きベクトルの信号化には、予測動きベクトル(motion vector predictor)が用いられてもよい。つまり、動きベクトルと予測動きベクトルとの間の差分が信号化されてもよい。
なお、動き探索により得られたカレントブロックの動き情報だけでなく、隣接ブロックの動き情報も用いて、インター予測信号が生成されてもよい。具体的には、動き探索により得られた動き情報に基づく予測信号と、隣接ブロックの動き情報に基づく予測信号と、を重み付け加算することにより、カレントブロック内のサブブロック単位でインター予測信号が生成されてもよい。このようなインター予測(動き補償)は、OBMC(overlapped block motion compensation)と呼ばれることがある。
このようなOBMCモードでは、OBMCのためのサブブロックのサイズを示す情報(例えばOBMCブロックサイズと呼ばれる)は、シーケンスレベルで信号化される。また、OBMCモードを適用するか否かを示す情報(例えばOBMCフラグと呼ばれる)は、CUレベルで信号化される。なお、これらの情報の信号化のレベルは、シーケンスレベル及びCUレベルに限定される必要はなく、他のレベル(例えばピクチャレベル、スライスレベル、タイルレベル、CTUレベル又はサブブロックレベル)であってもよい。
OBMCモードについて、より具体的に説明する。図5B及び図5Cは、OBMC処理による予測画像補正処理の概要を説明するためのフローチャート及び概念図である。
まず、符号化対象ブロックに割り当てられた動きベクトル(MV)を用いて通常の動き補償による予測画像(Pred)を取得する。
次に、符号化済みの左隣接ブロックの動きベクトル(MV_L)を符号化対象ブロックに適用して予測画像(Pred_L)を取得し、前記予測画像とPred_Lとを重みを付けて重ね合わせることで予測画像の1回目の補正を行う。
同様に、符号化済みの上隣接ブロックの動きベクトル(MV_U)を符号化対象ブロックに適用して予測画像(Pred_U)を取得し、前記1回目の補正を行った予測画像とPred_Uとを重みを付けて重ね合わせることで予測画像の2回目の補正を行い、それを最終的な予測画像とする。
なお、ここでは左隣接ブロックと上隣接ブロックを用いた2段階の補正の方法を説明したが、右隣接ブロックや下隣接ブロックを用いて2段階よりも多い回数の補正を行う構成とすることも可能である。
なお、重ね合わせを行う領域はブロック全体の画素領域ではなく、ブロック境界近傍の一部の領域のみであってもよい。
なお、ここでは1枚の参照ピクチャからの予測画像補正処理について説明したが、複数枚の参照ピクチャから予測画像を補正する場合も同様であり、各々の参照ピクチャから補正した予測画像を取得した後に、得られた予測画像をさらに重ね合わせることで最終的な予測画像とする。
なお、前記処理対象ブロックは、予測ブロック単位であっても、予測ブロックをさらに分割したサブブロック単位であってもよい。
OBMC処理を適用するかどうかの判定の方法として、例えば、OBMC処理を適用するかどうかを示す信号であるobmc_flagを用いる方法がある。具体的な一例としては、符号化装置において、符号化対象ブロックが動きの複雑な領域に属しているかどうかを判定し、動きの複雑な領域に属している場合はobmc_flagとして値1を設定してOBMC処理を適用して符号化を行い、動きの複雑な領域に属していない場合はobmc_flagとして値0を設定してOBMC処理を適用せずに符号化を行う。一方、復号化装置では、ストリームに記述されたobmc_flagを復号化するとことで、その値に応じてOBMC処理を適用するかどうかを切替えて復号化を行う。
なお、動き情報は信号化されずに、復号装置側で導出されてもよい。例えば、H.265/HEVC規格で規定されたマージモードが用いられてもよい。また例えば、復号装置側で動き探索を行うことにより動き情報が導出されてもよい。この場合、カレントブロックの画素値を用いずに動き探索が行われる。
ここで、復号装置側で動き探索を行うモードについて説明する。この復号装置側で動き探索を行うモードは、PMMVD(pattern matched motion vector derivation)モード又はFRUC(frame rate up-conversion)モードと呼ばれることがある。
FRUC処理の一例を図5Dに示す。まず、カレントブロックに空間的又は時間的に隣接する符号化済みブロックの動きベクトルを参照して、各々が予測動きベクトルを有する複数の候補のリスト(マージリストと共通であってもよい)が生成される。次に、候補リストに登録されている複数の候補MVの中からベスト候補MVを選択する。例えば、候補リストに含まれる各候補の評価値が算出され、評価値に基づいて1つの候補が選択される。
そして、選択された候補の動きベクトルに基づいて、カレントブロックのための動きベクトルが導出される。具体的には、例えば、選択された候補の動きベクトル(ベスト候補MV)がそのままカレントブロックのための動きベクトルとして導出される。また例えば、選択された候補の動きベクトルに対応する参照ピクチャ内の位置の周辺領域において、パターンマッチングを行うことにより、カレントブロックのための動きベクトルが導出されてもよい。すなわち、ベスト候補MVの周辺の領域に対して同様の方法で探索を行い、さらに評価値が良い値となるMVがあった場合は、ベスト候補MVを前記MVに更新して、それをカレントブロックの最終的なMVとしてもよい。なお、当該処理を実施しない構成とすることも可能である。
サブブロック単位で処理を行う場合も全く同様の処理としてもよい。
なお、評価値は、動きベクトルに対応する参照ピクチャ内の領域と、所定の領域との間のパターンマッチングによって再構成画像の差分値を求めることにより算出される。なお、差分値に加えてそれ以外の情報を用いて評価値を算出してもよい。
パターンマッチングとしては、第1パターンマッチング又は第2パターンマッチングが用いられる。第1パターンマッチング及び第2パターンマッチングは、それぞれ、バイラテラルマッチング(bilateral matching)及びテンプレートマッチング(template matching)と呼ばれることがある。
第1パターンマッチングでは、異なる2つの参照ピクチャ内の2つのブロックであってカレントブロックの動き軌道(motion trajectory)に沿う2つのブロックの間でパターンマッチングが行われる。したがって、第1パターンマッチングでは、上述した候補の評価値の算出のための所定の領域として、カレントブロックの動き軌道に沿う他の参照ピクチャ内の領域が用いられる。
図6は、動き軌道に沿う2つのブロック間でのパターンマッチング(バイラテラルマッチング)の一例を説明するための図である。図6に示すように、第1パターンマッチングでは、カレントブロック(Cur block)の動き軌道に沿う2つのブロックであって異なる2つの参照ピクチャ(Ref0、Ref1)内の2つのブロックのペアの中で最もマッチするペアを探索することにより2つの動きベクトル(MV0、MV1)が導出される。具体的には、カレントブロックに対して、候補MVで指定された第1の符号化済み参照ピクチャ(Ref0)内の指定位置における再構成画像と、前記候補MVを表示時間間隔でスケーリングした対称MVで指定された第2の符号化済み参照ピクチャ(Ref1)内の指定位置における再構成画像との差分を導出し、得られた差分値を用いて評価値を算出する。複数の候補MVの中で最も評価値が良い値となる候補MVを最終MVとして選択するとよい。
連続的な動き軌道の仮定の下では、2つの参照ブロックを指し示す動きベクトル(MV0、MV1)は、カレントピクチャ(Cur Pic)と2つの参照ピクチャ(Ref0、Ref1)との間の時間的な距離(TD0、TD1)に対して比例する。例えば、カレントピクチャが時間的に2つの参照ピクチャの間に位置し、カレントピクチャから2つの参照ピクチャへの時間的な距離が等しい場合、第1パターンマッチングでは、鏡映対称な双方向の動きベクトルが導出される。
第2パターンマッチングでは、カレントピクチャ内のテンプレート(カレントピクチャ内でカレントブロックに隣接するブロック(例えば上及び/又は左隣接ブロック))と参照ピクチャ内のブロックとの間でパターンマッチングが行われる。したがって、第2パターンマッチングでは、上述した候補の評価値の算出のための所定の領域として、カレントピクチャ内のカレントブロックに隣接するブロックが用いられる。
図7は、カレントピクチャ内のテンプレートと参照ピクチャ内のブロックとの間でのパターンマッチング(テンプレートマッチング)の一例を説明するための図である。図7に示すように、第2パターンマッチングでは、カレントピクチャ(Cur Pic)内でカレントブロック(Cur block)に隣接するブロックと最もマッチするブロックを参照ピクチャ(Ref0)内で探索することによりカレントブロックの動きベクトルが導出される。具体的には、カレントブロックに対して、左隣接および上隣接の両方もしくはどちらか一方の符号化済み領域の再構成画像と、候補MVで指定された符号化済み参照ピクチャ(Ref0)内の同等位置における再構成画像との差分を導出し、得られた差分値を用いて評価値を算出し、複数の候補MVの中で最も評価値が良い値となる候補MVをベスト候補MVとして選択するとよい。
このようなFRUCモードを適用するか否かを示す情報(例えばFRUCフラグと呼ばれる)は、CUレベルで信号化される。また、FRUCモードが適用される場合(例えばFRUCフラグが真の場合)、パターンマッチングの方法(第1パターンマッチング又は第2パターンマッチング)を示す情報(例えばFRUCモードフラグと呼ばれる)がCUレベルで信号化される。なお、これらの情報の信号化は、CUレベルに限定される必要はなく、他のレベル(例えば、シーケンスレベル、ピクチャレベル、スライスレベル、タイルレベル、CTUレベル又はサブブロックレベル)であってもよい。
ここで、等速直線運動を仮定したモデルに基づいて動きベクトルを導出するモードについて説明する。このモードは、BIO(bi-directional optical
flow)モードと呼ばれることがある。
flow)モードと呼ばれることがある。
図8は、等速直線運動を仮定したモデルを説明するための図である。図8において、(vx,vy)は、速度ベクトルを示し、τ0、τ1は、それぞれ、カレントピクチャ(Cur Pic)と2つの参照ピクチャ(Ref0,Ref1)との間の時間的な距離を示す。(MVx0,MVy0)は、参照ピクチャRef0に対応する動きベクトルを示し、(MVx1、MVy1)は、参照ピクチャRef1に対応する動きベクトルを示す。
このとき速度ベクトル(vx,vy)の等速直線運動の仮定の下では、(MVx0,MVy0)及び(MVx1,MVy1)は、それぞれ、(vxτ0,vyτ0)及び(-vxτ1,-vyτ1)と表され、以下のオプティカルフロー等式(1)が成り立つ。
ここで、I(k)は、動き補償後の参照画像k(k=0,1)の輝度値を示す。このオプティカルフロー等式は、(i)輝度値の時間微分と、(ii)水平方向の速度及び参照画像の空間勾配の水平成分の積と、(iii)垂直方向の速度及び参照画像の空間勾配の垂直成分の積と、の和が、ゼロと等しいことを示す。このオプティカルフロー等式とエルミート補間(Hermite interpolation)との組み合わせに基づいて、マージリスト等から得られるブロック単位の動きベクトルが画素単位で補正される。
なお、等速直線運動を仮定したモデルに基づく動きベクトルの導出とは異なる方法で、復号装置側で動きベクトルが導出されてもよい。例えば、複数の隣接ブロックの動きベクトルに基づいてサブブロック単位で動きベクトルが導出されてもよい。
ここで、複数の隣接ブロックの動きベクトルに基づいてサブブロック単位で動きベクトルを導出するモードについて説明する。このモードは、アフィン動き補償予測(affine motion compensation prediction)モードと呼ばれることがある。
図9Aは、複数の隣接ブロックの動きベクトルに基づくサブブロック単位の動きベクトルの導出を説明するための図である。図9Aにおいて、カレントブロックは、16の4x4サブブロックを含む。ここでは、隣接ブロックの動きベクトルに基づいてカレントブロックの左上角制御ポイントの動きベクトルv0が導出され、隣接サブブロックの動きベクトルに基づいてカレントブロックの右上角制御ポイントの動きベクトルv1が導出される。そして、2つの動きベクトルv0及びv1を用いて、以下の式(2)により、カレントブロック内の各サブブロックの動きベクトル(vx,vy)が導出される。
ここで、x及びyは、それぞれ、サブブロックの水平位置及び垂直位置を示し、wは、予め定められた重み係数を示す。
このようなアフィン動き補償予測モードでは、左上及び右上角制御ポイントの動きベクトルの導出方法が異なるいくつかのモードを含んでもよい。このようなアフィン動き補償予測モードを示す情報(例えばアフィンフラグと呼ばれる)は、CUレベルで信号化される。なお、このアフィン動き補償予測モードを示す情報の信号化は、CUレベルに限定される必要はなく、他のレベル(例えば、シーケンスレベル、ピクチャレベル、スライスレベル、タイルレベル、CTUレベル又はサブブロックレベル)であってもよい。
[予測制御部]
予測制御部128は、イントラ予測信号及びインター予測信号のいずれかを選択し、選択した信号を予測信号として減算部104及び加算部116に出力する。
予測制御部128は、イントラ予測信号及びインター予測信号のいずれかを選択し、選択した信号を予測信号として減算部104及び加算部116に出力する。
ここで、マージモードにより符号化対象ピクチャの動きベクトルを導出する例を説明する。図9Bは、マージモードによる動きベクトル導出処理の概要を説明するための図である。
まず、予測MVの候補を登録した予測MVリストを生成する。予測MVの候補としては、符号化対象ブロックの空間的に周辺に位置する複数の符号化済みブロックが持つMVである空間隣接予測MV、符号化済み参照ピクチャにおける符号化対象ブロックの位置を投影した近辺のブロックが持つMVである時間隣接予測MV、空間隣接予測MVと時間隣接予測MVのMV値を組合わせて生成したMVである結合予測MV、および値がゼロのMVであるゼロ予測MV等がある。
次に、予測MVリストに登録されている複数の予測MVの中から1つの予測MVを選択することで、符号化対象ブロックのMVとして決定する。
さらに可変長符号化部では、どの予測MVを選択したかを示す信号であるmerge_idxをストリームに記述して符号化する。
なお、図9Bで説明した予測MVリストに登録する予測MVは一例であり、図中の個数とは異なる個数であったり、図中の予測MVの一部の種類を含まない構成であったり、図中の予測MVの種類以外の予測MVを追加した構成であったりしてもよい。
なお、マージモードにより導出した符号化対象ブロックのMVを用いて、後述するDMVR処理を行うことによって最終的なMVを決定してもよい。
ここで、DMVR処理を用いてMVを決定する例について説明する。
図9Cは、DMVR処理の概要を説明するための概念図である。
まず、処理対象ブロックに設定された最適MVPを候補MVとして、前記候補MVに従って、L0方向の処理済みピクチャである第1参照ピクチャ、およびL1方向の処理済みピクチャである第2参照ピクチャから参照画素をそれぞれ取得し、各参照画素の平均をとることでテンプレートを生成する。
次に、前記テンプレートを用いて、第1参照ピクチャおよび第2参照ピクチャの候補MVの周辺領域をそれぞれ探索し、最もコストが最小となるMVを最終的なMVとして決定する。なお、コスト値はテンプレートの各画素値と探索領域の各画素値との差分値およびMV値等を用いて算出する。
なお、符号化装置および復号化装置では、ここで説明した処理の概要は基本的に共通である。
なお、ここで説明した処理そのものでなくても、候補MVの周辺を探索して最終的なMVを導出することができる処理であれば、他の処理を用いてもよい。
ここで、LIC処理を用いて予測画像を生成するモードについて説明する。
図9Dは、LIC処理による輝度補正処理を用いた予測画像生成方法の概要を説明するための図である。
まず、符号化済みピクチャである参照ピクチャから符号化対象ブロックに対応する参照画像を取得するためのMVを導出する。
次に、符号化対象ブロックに対して、左隣接および上隣接の符号化済み周辺参照領域の輝度画素値と、MVで指定された参照ピクチャ内の同等位置における輝度画素値とを用いて、参照ピクチャと符号化対象ピクチャとで輝度値がどのように変化したかを示す情報を抽出して輝度補正パラメータを算出する。
MVで指定された参照ピクチャ内の参照画像に対して前記輝度補正パラメータを用いて輝度補正処理を行うことで、符号化対象ブロックに対する予測画像を生成する。
なお、図9Dにおける前記周辺参照領域の形状は一例であり、これ以外の形状を用いてもよい。
また、ここでは1枚の参照ピクチャから予測画像を生成する処理について説明したが、複数枚の参照ピクチャから予測画像を生成する場合も同様であり、各々の参照ピクチャから取得した参照画像に同様の方法で輝度補正処理を行ってから予測画像を生成する。
LIC処理を適用するかどうかの判定の方法として、例えば、LIC処理を適用するかどうかを示す信号であるlic_flagを用いる方法がある。具体的な一例としては、符号化装置において、符号化対象ブロックが輝度変化が発生している領域に属しているかどうかを判定し、輝度変化が発生している領域に属している場合はlic_flagとして値1を設定してLIC処理を適用して符号化を行い、輝度変化が発生している領域に属していない場合はlic_flagとして値0を設定してLIC処理を適用せずに符号化を行う。一方、復号化装置では、ストリームに記述されたlic_flagを復号化するとことで、その値に応じてLIC処理を適用するかどうかを切替えて復号化を行う。
LIC処理を適用するかどうかの判定の別の方法として、例えば、周辺ブロックでLIC処理を適用したかどうかに従って判定する方法もある。具体的な一例としては、符号化対象ブロックがマージモードであった場合、マージモード処理におけるMVの導出の際に選択した周辺の符号化済みブロックがLIC処理を適用して符号化したかどうかを判定し、その結果に応じてLIC処理を適用するかどうかを切替えて符号化を行う。なお、この例の場合、復号化における処理も全く同様となる。
[復号装置の概要]
次に、上記の符号化装置100から出力された符号化信号(符号化ビットストリーム)を復号可能な復号装置の概要について説明する。図10は、実施の形態1に係る復号装置200の機能構成を示すブロック図である。復号装置200は、動画像/画像をブロック単位で復号する動画像/画像復号装置である。
次に、上記の符号化装置100から出力された符号化信号(符号化ビットストリーム)を復号可能な復号装置の概要について説明する。図10は、実施の形態1に係る復号装置200の機能構成を示すブロック図である。復号装置200は、動画像/画像をブロック単位で復号する動画像/画像復号装置である。
図10に示すように、復号装置200は、エントロピー復号部202と、逆量子化部204と、逆変換部206と、加算部208と、ブロックメモリ210と、ループフィルタ部212と、フレームメモリ214と、イントラ予測部216と、インター予測部218と、予測制御部220と、を備える。
復号装置200は、例えば、汎用プロセッサ及びメモリにより実現される。この場合、メモリに格納されたソフトウェアプログラムがプロセッサにより実行されたときに、プロセッサは、エントロピー復号部202、逆量子化部204、逆変換部206、加算部208、ループフィルタ部212、イントラ予測部216、インター予測部218及び予測制御部220として機能する。また、復号装置200は、エントロピー復号部202、逆量子化部204、逆変換部206、加算部208、ループフィルタ部212、イントラ予測部216、インター予測部218及び予測制御部220に対応する専用の1以上の電子回路として実現されてもよい。
以下に、復号装置200に含まれる各構成要素について説明する。
[エントロピー復号部]
エントロピー復号部202は、符号化ビットストリームをエントロピー復号する。具体的には、エントロピー復号部202は、例えば、符号化ビットストリームから二値信号に算術復号する。そして、エントロピー復号部202は、二値信号を多値化(debinarize)する。これにより、エントロピー復号部202は、ブロック単位で量子化係数を逆量子化部204に出力する。
エントロピー復号部202は、符号化ビットストリームをエントロピー復号する。具体的には、エントロピー復号部202は、例えば、符号化ビットストリームから二値信号に算術復号する。そして、エントロピー復号部202は、二値信号を多値化(debinarize)する。これにより、エントロピー復号部202は、ブロック単位で量子化係数を逆量子化部204に出力する。
[逆量子化部]
逆量子化部204は、エントロピー復号部202からの入力である復号対象ブロック(以下、カレントブロックという)の量子化係数を逆量子化する。具体的には、逆量子化部204は、カレントブロックの量子化係数の各々について、当該量子化係数に対応する量子化パラメータに基づいて当該量子化係数を逆量子化する。そして、逆量子化部204は、カレントブロックの逆量子化された量子化係数(つまり変換係数)を逆変換部206に出力する。
逆量子化部204は、エントロピー復号部202からの入力である復号対象ブロック(以下、カレントブロックという)の量子化係数を逆量子化する。具体的には、逆量子化部204は、カレントブロックの量子化係数の各々について、当該量子化係数に対応する量子化パラメータに基づいて当該量子化係数を逆量子化する。そして、逆量子化部204は、カレントブロックの逆量子化された量子化係数(つまり変換係数)を逆変換部206に出力する。
[逆変換部]
逆変換部206は、逆量子化部204からの入力である変換係数を逆変換することにより予測誤差を復元する。
逆変換部206は、逆量子化部204からの入力である変換係数を逆変換することにより予測誤差を復元する。
例えば符号化ビットストリームから読み解かれた情報がEMT又はAMTを適用することを示す場合(例えばAMTフラグが真)、逆変換部206は、読み解かれた変換タイプを示す情報に基づいてカレントブロックの変換係数を逆変換する。
また例えば、符号化ビットストリームから読み解かれた情報がNSSTを適用することを示す場合、逆変換部206は、変換係数に逆再変換を適用する。
[加算部]
加算部208は、逆変換部206からの入力である予測誤差と予測制御部220からの入力である予測サンプルとを加算することによりカレントブロックを再構成する。そして、加算部208は、再構成されたブロックをブロックメモリ210及びループフィルタ部212に出力する。
加算部208は、逆変換部206からの入力である予測誤差と予測制御部220からの入力である予測サンプルとを加算することによりカレントブロックを再構成する。そして、加算部208は、再構成されたブロックをブロックメモリ210及びループフィルタ部212に出力する。
[ブロックメモリ]
ブロックメモリ210は、イントラ予測で参照されるブロックであって復号対象ピクチャ(以下、カレントピクチャという)内のブロックを格納するための記憶部である。具体的には、ブロックメモリ210は、加算部208から出力された再構成ブロックを格納する。
ブロックメモリ210は、イントラ予測で参照されるブロックであって復号対象ピクチャ(以下、カレントピクチャという)内のブロックを格納するための記憶部である。具体的には、ブロックメモリ210は、加算部208から出力された再構成ブロックを格納する。
[ループフィルタ部]
ループフィルタ部212は、加算部208によって再構成されたブロックにループフィルタを施し、フィルタされた再構成ブロックをフレームメモリ214及び表示装置等に出力する。
ループフィルタ部212は、加算部208によって再構成されたブロックにループフィルタを施し、フィルタされた再構成ブロックをフレームメモリ214及び表示装置等に出力する。
符号化ビットストリームから読み解かれたALFのオン/オフを示す情報がALFのオンを示す場合、局所的な勾配の方向及び活性度に基づいて複数のフィルタの中から1つのフィルタが選択され、選択されたフィルタが再構成ブロックに適用される。
[フレームメモリ]
フレームメモリ214は、インター予測に用いられる参照ピクチャを格納するための記憶部であり、フレームバッファと呼ばれることもある。具体的には、フレームメモリ214は、ループフィルタ部212によってフィルタされた再構成ブロックを格納する。
フレームメモリ214は、インター予測に用いられる参照ピクチャを格納するための記憶部であり、フレームバッファと呼ばれることもある。具体的には、フレームメモリ214は、ループフィルタ部212によってフィルタされた再構成ブロックを格納する。
[イントラ予測部]
イントラ予測部216は、符号化ビットストリームから読み解かれたイントラ予測モードに基づいて、ブロックメモリ210に格納されたカレントピクチャ内のブロックを参照してイントラ予測を行うことで、予測信号(イントラ予測信号)を生成する。具体的には、イントラ予測部216は、カレントブロックに隣接するブロックのサンプル(例えば輝度値、色差値)を参照してイントラ予測を行うことでイントラ予測信号を生成し、イントラ予測信号を予測制御部220に出力する。
イントラ予測部216は、符号化ビットストリームから読み解かれたイントラ予測モードに基づいて、ブロックメモリ210に格納されたカレントピクチャ内のブロックを参照してイントラ予測を行うことで、予測信号(イントラ予測信号)を生成する。具体的には、イントラ予測部216は、カレントブロックに隣接するブロックのサンプル(例えば輝度値、色差値)を参照してイントラ予測を行うことでイントラ予測信号を生成し、イントラ予測信号を予測制御部220に出力する。
なお、色差ブロックのイントラ予測において輝度ブロックを参照するイントラ予測モードが選択されている場合は、イントラ予測部216は、カレントブロックの輝度成分に基づいて、カレントブロックの色差成分を予測してもよい。
また、符号化ビットストリームから読み解かれた情報がPDPCの適用を示す場合、イントラ予測部216は、水平/垂直方向の参照画素の勾配に基づいてイントラ予測後の画素値を補正する。
[インター予測部]
インター予測部218は、フレームメモリ214に格納された参照ピクチャを参照して、カレントブロックを予測する。予測は、カレントブロック又はカレントブロック内のサブブロック(例えば4x4ブロック)の単位で行われる。例えば、インター予測部218は、符号化ビットストリームから読み解かれた動き情報(例えば動きベクトル)を用いて動き補償を行うことでカレントブロック又はサブブロックのインター予測信号を生成し、インター予測信号を予測制御部220に出力する。
インター予測部218は、フレームメモリ214に格納された参照ピクチャを参照して、カレントブロックを予測する。予測は、カレントブロック又はカレントブロック内のサブブロック(例えば4x4ブロック)の単位で行われる。例えば、インター予測部218は、符号化ビットストリームから読み解かれた動き情報(例えば動きベクトル)を用いて動き補償を行うことでカレントブロック又はサブブロックのインター予測信号を生成し、インター予測信号を予測制御部220に出力する。
なお、符号化ビットストリームから読み解かれた情報がOBMCモードを適用することを示す場合、インター予測部218は、動き探索により得られたカレントブロックの動き情報だけでなく、隣接ブロックの動き情報も用いて、インター予測信号を生成する。
また、符号化ビットストリームから読み解かれた情報がFRUCモードを適用することを示す場合、インター予測部218は、符号化ストリームから読み解かれたパターンマッチングの方法(バイラテラルマッチング又はテンプレートマッチング)に従って動き探索を行うことにより動き情報を導出する。そして、インター予測部218は、導出された動き情報を用いて動き補償を行う。
また、インター予測部218は、BIOモードが適用される場合に、等速直線運動を仮定したモデルに基づいて動きベクトルを導出する。また、符号化ビットストリームから読み解かれた情報がアフィン動き補償予測モードを適用することを示す場合には、インター予測部218は、複数の隣接ブロックの動きベクトルに基づいてサブブロック単位で動きベクトルを導出する。
[予測制御部]
予測制御部220は、イントラ予測信号及びインター予測信号のいずれかを選択し、選択した信号を予測信号として加算部208に出力する。
予測制御部220は、イントラ予測信号及びインター予測信号のいずれかを選択し、選択した信号を予測信号として加算部208に出力する。
(実施の形態2)
実施の形態2に係る符号化処理及び復号処理について、図11及び図12を参照しながら具体的に説明し、実施の形態2に係る符号化装置及び復号装置について、図15及び図16を参照しながら具体的に説明する。
実施の形態2に係る符号化処理及び復号処理について、図11及び図12を参照しながら具体的に説明し、実施の形態2に係る符号化装置及び復号装置について、図15及び図16を参照しながら具体的に説明する。
[符号化処理]
図11は、実施の形態2に係る映像符号化処理を示す。
図11は、実施の形態2に係る映像符号化処理を示す。
まず、ステップS1001では、第1ブロックを複数のサブブロックに分割するためのパーティションモードを複数のパーティションモードの中から識別する第1パラメータをビットストリームに書き込む。パーティションモードを用いれば、ブロックは、複数のサブロックに分割される。異なる分割モードが用いられれば、ブロックは、異なる形、異なる高さ又は異なる幅の複数のサブブロックに分割される。
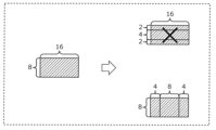
図28は、実施の形態2においてNxN画素のブロックを分割するためのパーティションモードの例を示す。図28において、(a)~(h)は、互いに異なるパーティションモードを示す。図28に示すように、パーティションモード(a)を用いれば、NxN画素(例えば16x16画素、「N」の値としては、8から128までの4の整数倍のいかなる値もとり得る)のブロックは、2つのN/2xN画素(例えば8x16画素)のサブブロックに分割される。パーティションモード(b)を用いれば、NxN画素のブロックは、N/4xN画素(例えば4x16画素)のサブブロックと、3N/4xN画素(例えば12x16画素)のサブブロックとに分割される。パーティションモード(c)を用いれば、NxN画素のブロックは、3N/4xN画素(例えば12x16画素)のサブブロックと、N/4xN画素(例えば4x16画素)のサブブロックとに分割される。パーティションモード(d)を用いれば、NxN画素のブロックは、(N/4)xN画素(例えば4x16画素)のサブブロックと、N/2xN画素(例えば8x16画素)のサブブロックと、N/4xN画素(例えば4x16画素)のサブブロックとに分割される。パーティションモード(e)を用いれば、NxN画素のブロックは、2つのNxN/2画素(例えば16x8画素)のサブブロックに分割される。パーティションモード(f)を用いれば、NxN画素のブロックは、NxN/4画素(例えば16x4画素)のサブブロックと、Nx3N/4画素(例えば16x12画素)のサブブロックとに分割される。パーティションモード(g)を用いれば、NxN画素のブロックは、Nx3N/4画素(例えば16x12画素)のサブブロックと、NxN/4画素(例えば16x4画素)のサブブロックとに分割される。パーティションモード(h)を用いれば、NxN画素のブロックは、NxN/4画素(例えば16x4画素)のサブブロックと、NxN/2画素(例えば16x8画素)のサブブロックと、NxN/4画素(例えば16x4画素)のサブブロックとに分割される。
次に、ステップS1002では、第1パラメータが第1パーティションモードを識別しているか否かを判断する。
次に、ステップS1003では、少なくとも、第1パラメータが第1パーティションモードを識別しているか否かの判断に基づいて、第2ブロックを分割するための候補として第2パーティションモードを選択しないかどうかを判断する。
2つの異なるパーティションモードセットは、ブロックを同じ形状及びサイズのサブブロックに分割するかもしれない。例えば、図31Aに示すように、(1b)及び(2c)のサブブロックは同じ形状及びサイズを有する。1つのパーティションモードセットは、少なくとも2つのパーティションモードを含むことができる。例えば、図31Aの(1a)及び(1b)に示すように、1つのパーティションモードセットは、三分木垂直分割に続いて、中央のサブブロックの二分木垂直分割と他のサブブロックの非分割とを含むことができる。また例えば、図31Aの(2a)、(2b)及び(2c)に示すように、他のパーティションモードセットは、二分木垂直分割に続いて、両方のサブブロックの二分木垂直分割を含むことができる。どちらのパーティションモードセットも、同じ形状及びサイズのサブブロックになる。
ブロックを同じ形状及びサイズのサブブロックに分割する2つのパーティションモードセットであって、ビットストリーム内に符号化されたときに異なるビン数又は異なるビット数の2つのパーティションモードセットの中から選択する場合、より少ないビン数又はより少ないビット数のパーティションモードセットが選択される。なお、ビン数及びビット数は、符号量に相当する。
ブロックを同じ形状及びサイズのサブブロックに分割する2つのパーティションモードセットであって、ビットストリーム内に符号化されたときに同じビン数又は同じビット数の2つのパーティションモードセットの中から選択する場合、複数のパーティションモードセットの所定の順序で最初に現れるパーティションモードセットが選択される。所定の順序は、例えば、各パーティションモードセット内のパーティションモードの数に基づく順序であってもよい。
図31A及び図31Bは、パーティションモードの符号化においてより少ないビン数のパーティションモードセットを用いてブロックをサブブロックに分割する一例を示す図である。この例では、左側のNxN画素のブロックが2つのサブブロックに垂直に分割された場合に、ステップ(2c)において、右側のNxN画素のブロックのための第2パーティションモードは選択されない。これは、図31Bのパーティションモードの符号化方法において、第2パーティションモードセット(2a、2b、2c)は、第1パーティションモードセット(1a、1b)と比較して、パーティションモードの符号化により多くのビンを要求するからである。
図32A~図32Cは、複数のパーティションモードセットの所定の順序で最初に現れるパーティションモードセットを用いてブロックをサブブロックに分割する一例を示す図である。この例では、2NxN/2画素のブロックが3つのサブブロックに垂直に分割された場合に、ステップ(2c)において、下の2NxN/2画素のブロックのための第2パーティションモードは選択されない。これは、図32Bのパーティションモードの符号化方法において、第2パーティションモードセット(2a、2b、2c)は、第1パーティションモードセット(1a、1b、1c、1d)と同じビン数であり、かつ、図32Cに示すパーティションモードセットの所定の順序において、第1パーティションモードセット(1a、1b、1c、1d)の後に現れるからである。複数のパーティションモードセットの所定の順序は、固定することもできるし、ビットストリーム内に信号化することもできる。
図20は、実施の形態2において、ステップ(2c)に示すように、2NxN画素のブロックの分割のために第2パーティションモードが選択されない一例を示す。図20に示すように、第1の分割方法(i)を用いて、ステップ(1a)のように、2Nx2N画素(例えば、16x16画素)のブロックを、NxN画素(例えば8x8画素)の4つのサブブロックに等分割することができる。また、第2の分割方法(ii)を用いて、ステップ(2a)のように、2Nx2N画素のブロックを、2NxN画素(例えば、16x8画素)の2つのサブブロックに水平に等分割することもできる。ここで、第2の分割方法(ii)において、ステップ(2b)のように第1パーティションモードによって上側の2NxN画素のブロック(第1ブロック)が2つのNxN画素のサブブロックに垂直に分割される場合、ステップ(2c)において、下側の2NxN画素のブロック(第2ブロック)を2つのNxN画素のサブブロックに垂直に分割する第2パーティションモードは、可能なパーティションモードの候補として選択されない。これは、第1の分割方法(i)の四分割によって得られるサブブロックサイズと同じサブブロックサイズが生成されるからである。
以上のように、図20では、第1パーティションモードを用いれば、第1ブロックが、垂直方向に、2つのサブブロックに等分割され、かつ、第2パーティションモードを用いれば、第1ブロックに垂直方向に隣接する第2ブロックが、垂直方向に、2つのサブブロックに等分割される場合に、第2パーティションモードは、候補として選択されない。
図21は、実施の形態2において、ステップ(2c)に示すように、Nx2N画素のブロックの分割のために第2パーティションモードが選択されない一例を示す。図21に示すように、第1の分割方法(i)を用いて、ステップ(1a)のように、2Nx2N画素のブロックを、NxN画素の4つのサブブロックに等分割することができる。また、第2の分割方法(ii)を用いて、ステップ(2a)のように、2Nx2N画素のブロックを、2NxN画素(例えば、8x16画素)の2つのサブブロックに垂直に等分割することもできる。第2の分割方法(ii)において、ステップ(2b)のように第1パーティションモードによって左側のNx2N画素のブロック(第1ブロック)が2つのNxN画素のサブブロックに水平に分割される場合、ステップ(2c)において、右側のNx2N画素のブロック(第2ブロック)を2つのNxN画素のサブブロックに水平に分割する第2パーティションモードは、可能なパーティションモードの候補として選択されない。これは、第1の分割方法(i)の四分割によって得られるサブブロックサイズと同じサブブロックサイズが生成されるからである。
以上のように、図21では、第1パーティションモードを用いれば、第1ブロックが、水平方向に、2つのサブブロックに等分割され、かつ、第2パーティションモードを用いれば、第1ブロックに水平方向に隣接する第2ブロックが、水平方向に、2つのサブブロックに等分割される場合に、第2パーティションモードは、候補として選択されない。
図22は、実施の形態2において、ステップ(2c)に示すように、NxN画素のブロックの分割のために第2パーティションモードが選択されない一例を示す。図22に示すように、第1の分割方法(i)を用いて、ステップ(1a)のように、2NxN画素(例えば、16x8画素、「N」の値としては、8から128までの4の整数倍のいかなる値もとり得る)のブロックを、N/2xN画素のサブブロック、NxN画素のサブブロック、及びN/2xN画素のサブブロック(例えば、4x8画素のサブブロック、8x8画素のサブブロック、及び4x8画素のサブブロック)に垂直に分割することができる。また、第2の分割方法(ii)を用いて、ステップ(2a)のように、2NxN画素のブロックを、2つのNxN画素のサブブロックに分割することもできる。第1の分割方法(i)において、ステップ(1b)で中央のNxN画素のブロックを2つのN/2xN画素(例えば4x8画素)のサブブロックに垂直に分割することができる。第2の分割方法(ii)において、ステップ(2b)のように左側のNxN画素のブロック(第1ブロック)が2つのN/2xN画素のサブブロックに垂直に分割される場合、ステップ(2c)において、右側のNxN画素のブロック(第2ブロック)を2つのN/2xN画素のサブブロックに垂直に分割するパーティションモードは、可能なパーティションモードの候補として選択されない。これは、第1の分割方法(i)によって得られるサブブロックサイズと同じサブブロックサイズ、つまり4つのN/2xN画素のサブブロックが生成されるからである。
以上のように、図22では、第1パーティションモードを用いれば、第1ブロックが、垂直方向に、2つのサブブロックに等分割され、かつ、第2パーティションモードを用いれば、第1ブロックに水平方向に隣接する第2ブロックが、垂直方向に、2つのサブブロックに等分割される場合に、第2パーティションモードは、候補として選択されない。
図23は、実施の形態2において、ステップ(2c)に示すように、NxN画素のブロックの分割のために第2パーティションモードが選択されない一例を示す。図23に示すように、第1の分割方法(i)を用いて、ステップ(1a)のように、Nx2N画素(例えば8x16画素、「N」の値としては、8から128までの4の整数倍のいかなる値もとり得る)をNxN/2画素のサブブロック、NxN画素のサブブロック、及びNxN/2画素のサブブロック(例えば8x4画素のサブブロック、8x8画素のサブブロック及び8x4画素のサブブロック)に分割することができる。また、第2の分割方法を用いて、ステップ(2a)のように、2つのNxN画素のサブブロックに分割することもできる。第1の分割方法(i)において、ステップ(1b)のように、中央のNxN画素のブロックを、2つのNxN/2画素のサブブロックに分割することができる。第2の分割方法(ii)において、ステップ(2b)のように上側のNxN画素のブロック(第1ブロック)が2つのNxN/2画素のサブブロックに水平に分割される場合、ステップ(2c)において、下側のNxN画素のブロック(第2ブロック)を2つのNxN/2画素のサブブロックに水平に分割するパーティションモードは、可能なパーティションモードの候補として選択されない。これは、第1の分割方法(i)によって得られるサブブロックサイズと同じサブブロックサイズ、つまり4つのNxN/2画素のサブブロックが生成されるからである。
以上のように、図23では、第1パーティションモードを用いれば、第1ブロックが、水平方向に、2つのサブブロックに等分割され、かつ、第2パーティションモードを用いれば、第1ブロックに垂直方向に隣接する第2ブロックが、水平方向に、2つのサブブロックに等分割される場合に、第2パーティションモードは、候補として選択されない。
第2パーティションモードが第2ブロックを分割するための候補として選択されると判断されれば(S1003のN)、ステップS1004において、第2パーティションモードを候補として含む複数のパーティションモードからパーティションモードが選択される。ステップS1005において、選択結果を示す第2パラメータがビットストリームに書き込まれる。
第2パーティションモードが第2ブロックを分割するための候補として選択されないと判断されれば(S1003のY)、ステップS1006において、第2パーティションモードと異なるパーティションモードが第2ブロックを分割するために選択される。ここで選択されたパーティションモードは、第2パーティションモードによって生成されるサブブロックと比較して異なる形又は異なるサイズを有するサブブロックにブロックを分割する。
図24は、実施の形態2において、ステップ(3)に示すように、第2パーティションモードが選択されないときに選択されたパーティションモードを用いて2NxN画素のブロックを分割する一例を示す。図24に示すように、選択されたパーティションモードは、2NxN画素のカレントブロック(この例では下ブロック)を、図24の(c)及び(f)に示すように3つのサブブロックに分割することができる。3つのサブブロックのサイズは異なってもよい。例えば、3つのサブブロックにおいて、大サブブロックは、小サブブロックの2倍の幅/高さを有してもよい。また例えば、選択されたパーティションモードは、カレントブロックを、図24の(a)、(b)、(d)及び(e)に示すように、サイズが異なる2つのサブブロック(非対称二分木)に分割することもできる。例えば、非対称二分木が用いられる場合、大サブブロックは小サブブロックの3倍の幅/高さを有することができる。
図25は、実施の形態2において、ステップ(3)に示すように、第2パーティションモードが選択されないときに選択されたパーティションモードを用いてNx2N画素のブロックを分割する一例を示す。図25に示すように、選択されたパーティションモードは、Nx2N画素のカレントブロック(この例では右ブロック)を、図25の(c)及び(f)に示すように3つのサブブロックに分割することができる。3つのサブブロックのサイズは異なってもよい。例えば、3つのサブブロックにおいて、大サブブロックは、小サブブロックの2倍の幅/高さを有してもよい。また例えば、選択されたパーティションモードは、カレントブロックを、図25の(a)、(b)、(d)及び(e)に示すように、サイズが異なる2つのサブブロック(非対称二分木)に分割することもできる。例えば、非対称二分木が用いられる場合、大サブブロックは小サブブロックの3倍の幅/高さを有することができる。
図26は、実施の形態2において、ステップ(3)に示すように、第2パーティションモードが選択されないときに選択されたパーティションモードを用いてNxN画素のブロックを分割する一例を示す。図26に示すように、ステップ(1)において、2NxN画素のブロックは、2つのNxN画素のサブブロックに垂直に分割され、ステップ(2)において、左側のNxN画素のブロックは、2つのN/2xN画素のサブブロックに垂直に分割される。ステップ(3)では、NxN画素のカレントブロック(この例では、左ブロック)のための選択されたパーティションモードを用いて、図26の(c)及び(f)に示すように、カレントブロックを3つのサブブロックに分割することができる。3つのサブブロックのサイズは異なってもよい。例えば、3つのサブブロックにおいて、大サブブロックは、小サブブロックの2倍の幅/高さを有してもよい。また例えば、選択されたパーティションモードは、カレントブロックを、図26の(a)、(b)、(d)及び(e)に示すように、サイズが異なる2つのサブブロック(非対称二分木)に分割することもできる。例えば、非対称二分木が用いられる場合、大サブブロックは小サブブロックの3倍の幅/高さを有することができる。
図27は、実施の形態2において、ステップ(3)に示すように、第2パーティションモードが選択されないときに選択されたパーティションモードを用いてNxN画素のブロックを分割する一例を示す。図27に示すように、ステップ(1)において、Nx2N画素のブロックは、2つのNxN画素のサブブロックに水平に分割され、ステップ(2)において、上側のNxN画素のブロックは、2つのNxN/2画素のサブブロックに水平に分割される。ステップ(3)では、NxN画素のカレントブロック(この例では、下ブロック)のための選択されたパーティションモードを用いて、図27の(c)及び(f)に示すように、カレントブロックを3つのサブブロックに分割することができる。3つのサブブロックのサイズは異なってもよい。例えば、3つのサブブロックにおいて、大サブブロックは、小サブブロックの2倍の幅/高さを有してもよい。また例えば、選択されたパーティションモードは、カレントブロックを、図27の(a)、(b)、(d)及び(e)に示すように、サイズが異なる2つのサブブロック(非対称二分木)に分割することもできる。例えば、非対称二分木が用いられる場合、大サブブロックは小サブブロックの3倍の幅/高さを有することができる。
図17は、圧縮映像ストリーム内の第1パラメータの考えられる位置を示す。図17に示すように、第1パラメータは、ビデオパラメータセット、シーケンスパラメータセット、ピクチャパラメータセット、スライスヘッダ、又はコーディングツリーユニット内に配置することができる。第1パラメータは、ブロックを複数のサブブロックに分割する方法を示すことができる。例えば、第1パラメータは、ブロックを水平方向又は垂直方向に分割するかどうかを示すフラグを含むことができる。第1パラメータは、ブロックを2以上のサブブロックに分割するかどうかを示すパラメータを含むこともできる。
図18は、圧縮映像ストリーム内の第2パラメータの考えられる位置を示す。図18に示すように、第2パラメータは、ビデオパラメータセット、シーケンスパラメータセット、ピクチャパラメータセット、スライスヘッダ、又はコーディングツリーユニット内に配置することができる。第2パラメータは、ブロックを複数のサブブロックに分割する方法を示すことができる。例えば、第2パラメータは、ブロックを水平方向又は垂直方向に分割するかどうかを示すフラグを含むことができる。第2パラメータは、ブロックを2以上のサブブロックに分割するかどうかを示すパラメータを含むこともできる。第2パラメータは、図19に示すように、ビットストリーム内で第1パラメータの後に続いて配置される。
第1ブロック及び第2ブロックは、異なるブロックである。第1ブロック及び第2ブロックは、同一のフレームに含まれてもよい。例えば、第1ブロックは、第2ブロックの上に隣接するブロックであってもよい。また例えば、第1ブロックは、第2ブロックの左に隣接するブロックであってもよい。
ステップS1007において、第2ブロックは、選択されたパーティションモードを用いてサブブロックに分割される。ステップS1008において、分割されたブロックは符号化される。
[符号化装置]
図15は、実施の形態2又は3に係る映像/画像符号化装置の構造を示すブロック図である。
図15は、実施の形態2又は3に係る映像/画像符号化装置の構造を示すブロック図である。
映像符号化装置5000は、入力映像/画像をブロック毎に符号化して符号化出力ビットストリームを生成するための装置である。図15に示すように、映像符号化装置5000は、変換部5001と、量子化部5002と、逆量子化部5003と、逆変換部5004と、ブロックメモリ5005と、フレームメモリ5006と、イントラ予測部5007と、インター予測部5008と、エントロピー符号化部5009と、ブロック分割決定部5010と、を備える。
入力映像は、加算器に入力され、加算値が変換部5001に出力される。変換部5001は、ブロック分割決定部5010によって導出されたブロックパーティションモードに基づいて、加算値を周波数係数に変換し、周波数係数を量子化部5002に出力する。ブロックパーティションモードは、ブロックパーティションモード、ブロックパーティションタイプ、又はブロックパーティション方向に関連付けることができる。量子化部5002は、入力量子化係数を量子化し、量子化値を逆量子化部5003及びエントロピー符号化部5009に出力する。
逆量子化部5003は、量子化部5002から出力された量子化値を逆量子化し、周波数係数を逆変換部5004に出力する。逆変換部5004は、ブロック分割決定部5010によって導出されたブロックパーティションモードに基づいて、周波数係数に逆周波数変換を実行して、周波数係数をビットストリームのサンプル値に変換し、サンプル値を加算器に出力する。
加算器は、逆変換部5004から出力されたビットストリームのサンプル値を、イントラ/インター予測部5007、5008から出力された予測映像/画像値に加算し、加算値をさらなる予測のためにブロックメモリ5005又はフレームメモリ5006に出力する。ブロック分割決定部5010は、ブロックメモリ5005又はフレームメモリ5006からブロック情報を収集し、ブロックパーティションモード及びブロックパーティションモードに関するパラメータを導出する。導出されたブロックパーティションモードを用いれば、ブロックは、複数のサブブロックに分割される。イントラ/インター予測部5007、5008は、ブロックメモリ5005に格納された映像/画像、又は、ブロック分割決定部5010によって導出されたブロックパーティションモードで再構成されたフレームメモリ5006内の映像/画像の中から探索し、例えば予測対象の入力映像/画像に最も類似する映像/画像領域を推定する。
エントロピー符号化部5009は、量子化部5002から出力された量子化値を符号化し、ブロック分割決定部5010からのパラメータを符号化し、ビットストリームを出力する。
[復号処理]
図12は、実施の形態2に係る映像復号処理を示す。
図12は、実施の形態2に係る映像復号処理を示す。
まず、ステップS2001では、複数のパーティションモードの中から第1ブロックをサブブロックに分割するためのパーティションモードを識別する第1パラメータをビットストリームから読み解く。パーティションモードを用いれば、ブロックはサブブロックに分割され、異なるパーティションモードを用いれば、ブロックは、異なる形、異なる高さ又は異なる幅を有するサブブロックに分割される。
図28は、実施の形態2においてNxN画素のブロックを分割するためのパーティションモードの例を示す。図28において、(a)~(h)は、互いに異なるパーティションモードを示す。図28に示すように、パーティションモード(a)を用いれば、NxN画素(例えば16x16画素、「N」の値としては、8から128までの4の整数倍のいかなる値もとり得る)のブロックは、2つのN/2xN画素(例えば8x16画素)のサブブロックに分割される。パーティションモード(b)を用いれば、NxN画素のブロックは、N/4xN画素(例えば4x16画素)のサブブロックと、3N/4xN画素(例えば12x16画素)のサブブロックとに分割される。パーティションモード(c)を用いれば、NxN画素のブロックは、3N/4xN画素(例えば12x16画素)のサブブロックと、N/4xN画素(例えば4x16画素)のサブブロックとに分割される。パーティションモード(d)を用いれば、NxN画素のブロックは、(N/4)xN画素(例えば4x16画素)のサブブロックと、N/2xN画素(例えば8x16画素)のサブブロックと、N/4xN画素(例えば4x16画素)のサブブロックとに分割される。パーティションモード(e)を用いれば、NxN画素のブロックは、2つのNxN/2画素(例えば16x8画素)のサブブロックに分割される。パーティションモード(f)を用いれば、NxN画素のブロックは、NxN/4画素(例えば16x4画素)のサブブロックと、Nx3N/4画素(例えば16x12画素)のサブブロックとに分割される。パーティションモード(g)を用いれば、NxN画素のブロックは、Nx3N/4画素(例えば16x12画素)のサブブロックと、NxN/4画素(例えば16x4画素)のサブブロックとに分割される。パーティションモード(h)を用いれば、NxN画素のブロックは、NxN/4画素(例えば16x4画素)のサブブロックと、NxN/2画素(例えば16x8画素)のサブブロックと、NxN/4画素(例えば16x4画素)のサブブロックとに分割される。
次に、ステップS2002では、第1パラメータが第1パーティションモードを識別しているか否かを判断する。
次に、ステップS2003では、少なくとも、第1パラメータが第1パーティションモードを識別しているか否かの判断に基づいて、第2ブロックを分割するための候補として第2パーティションモードを選択しないかどうかを判断する。
2つの異なるパーティションモードセットは、ブロックを同じ形状及びサイズのサブブロックに分割するかもしれない。例えば、図31Aに示すように、(1b)及び(2c)のサブブロックは同じ形状及びサイズを有する。1つのパーティションモードセットは、少なくとも2つのパーティションモードを含むことができる。例えば、図31Aの(1a)及び(1b)に示すように、1つのパーティションモードセットは、三分木垂直分割に続いて、中央のサブブロックの二分木垂直分割と他のサブブロックの非分割とを含むことができる。また例えば、図31Aの(2a)、(2b)及び(2c)に示すように、他のパーティションモードセットは、二分木垂直分割に続いて、両方のサブブロックの二分木垂直分割を含むことができる。どちらのパーティションモードセットも、同じ形状及びサイズのサブブロックになる。
ブロックを同じ形状及びサイズのサブブロックに分割する2つのパーティションモードセットであって、ビットストリーム内に符号化されたときに異なるビン数又は異なるビット数の2つのパーティションモードセットの中から選択する場合、より少ないビン数又はより少ないビット数のパーティションモードセットが選択される。
ブロックを同じ形状及びサイズのサブブロックに分割する2つのパーティションモードセットであって、ビットストリーム内に符号化されたときに同じビン数又は同じビット数の2つのパーティションモードセットの中から選択する場合、複数のパーティションモードセットの所定の順序で最初に現れるパーティションモードセットが選択される。所定の順序は、例えば、各パーティションモードセット内のパーティションモードの数に基づく順序であってもよい。
図31A及び図31Bは、パーティションモードの符号化においてより少ないビン数のパーティションモードセットを用いてブロックをサブブロックに分割する一例を示す図である。この例では、左側のNxN画素のブロックが2つのサブブロックに垂直に分割された場合に、ステップ(2c)において、右側のNxN画素のブロックのための第2パーティションモードは選択されない。これは、図31Bのパーティションモードの符号化方法において、第2パーティションモードセット(2a、2b、2c)は、第1パーティションモードセット(1a、1b)と比較して、パーティションモードの符号化により多くのビンを要求するからである。
図32Aは、複数のパーティションモードセットの所定の順序で最初に現れるパーティションモードセットを用いてブロックをサブブロックに分割する一例を示す図である。この例では、2NxN/2画素のブロックが3つのサブブロックに垂直に分割された場合に、ステップ(2c)において、下の2NxN/2画素のブロックのための第2パーティションモードは選択されない。これは、図32Bのパーティションモードの符号化方法において、第2パーティションモードセット(2a、2b、2c)は、第1パーティションモードセット(1a、1b、1c、1d)と同じビン数であり、かつ、図32Cに示すパーティションモードセットの所定の順序において、第1パーティションモードセット(1a、1b、1c、1d)の後に現れるからである。複数のパーティションモードセットの所定の順序は、固定することもできるし、ビットストリーム内に信号化することもできる。
図20は、実施の形態2において、ステップ(2c)に示すように、2NxN画素のブロックの分割のために第2パーティションモードが選択されない一例を示す。図20に示すように、第1の分割方法(i)を用いて、ステップ(1a)のように、2Nx2N画素(例えば、16x16画素)のブロックを、NxN画素(例えば8x8画素)の4つのサブブロックに等分割することができる。また、第2の分割方法(ii)を用いて、ステップ(2a)のように、2Nx2N画素のブロックを、2NxN画素(例えば、16x8画素)の2つのサブブロックに水平に等分割することもできる。第2の分割方法(ii)において、ステップ(2b)のように第1パーティションモードによって上側の2NxN画素のブロック(第1ブロック)が2つのNxN画素のサブブロックに垂直に分割される場合、ステップ(2c)において、下側の2NxN画素のブロック(第2ブロック)を2つのNxN画素のサブブロックに垂直に分割する第2パーティションモードは、可能なパーティションモードの候補として選択されない。これは、第1の分割方法(i)の四分割によって得られるサブブロックサイズと同じサブブロックサイズが生成されるからである。
以上のように、図20では、第1パーティションモードを用いれば、第1ブロックが、垂直方向に、2つのサブブロックに等分割され、かつ、第2パーティションモードを用いれば、第1ブロックに垂直方向に隣接する第2ブロックが、垂直方向に、2つのサブブロックに等分割される場合に、第2パーティションモードは、候補として選択されない。
図21は、実施の形態2において、ステップ(2c)に示すように、Nx2N画素のブロックの分割のために第2パーティションモードが選択されない一例を示す。図21に示すように、第1の分割方法(i)を用いて、ステップ(1a)のように、2Nx2N画素のブロックを、NxN画素の4つのサブブロックに等分割することができる。また、第2の分割方法(ii)を用いて、ステップ(2a)のように、2Nx2N画素のブロックを、2NxN画素(例えば、8x16画素)の2つのサブブロックに垂直に等分割することもできる。第2の分割方法(ii)において、ステップ(2b)のように第1パーティションモードによって左側のNx2N画素のブロック(第1ブロック)が2つのNxN画素のサブブロックに水平に分割される場合、ステップ(2c)において、右側のNx2N画素のブロック(第2ブロック)を2つのNxN画素のサブブロックに水平に分割する第2パーティションモードは、可能なパーティションモードの候補として選択されない。これは、第1の分割方法(i)の四分割によって得られるサブブロックサイズと同じサブブロックサイズが生成されるからである。
以上のように、図21では、第1パーティションモードを用いれば、第1ブロックが、水平方向に、2つのサブブロックに等分割され、かつ、第2パーティションモードを用いれば、第1ブロックに水平方向に隣接する第2ブロックが、水平方向に、2つのサブブロックに等分割される場合に、第2パーティションモードは、候補として選択されない。
図22は、実施の形態2において、ステップ(2c)に示すように、NxN画素のブロックの分割のために第2パーティションモードが選択されない一例を示す。図22に示すように、第1の分割方法(i)を用いて、ステップ(1a)のように、2NxN画素(例えば、16x8画素、「N」の値としては、8から128までの4の整数倍のいかなる値もとり得る)のブロックを、N/2xN画素のサブブロック、NxN画素のサブブロック、及びN/2xN画素のサブブロック(例えば、4x8画素のサブブロック、8x8画素のサブブロック、及び4x8画素のサブブロック)に垂直に分割することができる。また、第2の分割方法(ii)を用いて、ステップ(2a)のように、2NxN画素のブロックを、2つのNxN画素のサブブロックに分割することもできる。第1の分割方法(i)において、ステップ(1b)で中央のNxN画素のブロックを2つのN/2xN画素(例えば4x8画素)のサブブロックに垂直に分割することができる。第2の分割方法(ii)において、ステップ(2b)のように左側のNxN画素のブロック(第1ブロック)が2つのN/2xN画素のサブブロックに垂直に分割される場合、ステップ(2c)において、右側のNxN画素のブロック(第2ブロック)を2つのN/2xN画素のサブブロックに垂直に分割するパーティションモードは、可能なパーティションモードの候補として選択されない。これは、第1の分割方法(i)によって得られるサブブロックサイズと同じサブブロックサイズ、つまり4つのN/2xN画素のサブブロックが生成されるからである。
以上のように、図22では、第1パーティションモードを用いれば、第1ブロックが、垂直方向に、2つのサブブロックに等分割され、かつ、第2パーティションモードを用いれば、第1ブロックに水平方向に隣接する第2ブロックが、垂直方向に、2つのサブブロックに等分割される場合に、第2パーティションモードは、候補として選択されない。
図23は、実施の形態2において、ステップ(2c)に示すように、NxN画素のブロックの分割のために第2パーティションモードが選択されない一例を示す。図23に示すように、第1の分割方法(i)を用いて、ステップ(1a)のように、Nx2N画素(例えば8x16画素、「N」の値としては、8から128までの4の整数倍のいかなる値もとり得る)をNxN/2画素のサブブロック、NxN画素のサブブロック、及びNxN/2画素のサブブロック(例えば8x4画素のサブブロック、8x8画素のサブブロック及び8x4画素のサブブロック)に分割することができる。また、第2の分割方法を用いて、ステップ(2a)のように、2つのNxN画素のサブブロックに分割することもできる。第1の分割方法(i)において、ステップ(1b)のように、中央のNxN画素のブロックを、2つのNxN/2画素のサブブロックに分割することができる。第2の分割方法(ii)において、ステップ(2b)のように上側のNxN画素のブロック(第1ブロック)が2つのNxN/2画素のサブブロックに水平に分割される場合、ステップ(2c)において、下側のNxN画素のブロック(第2ブロック)を2つのNxN/2画素のサブブロックに水平に分割するパーティションモードは、可能なパーティションモードの候補として選択されない。これは、第1の分割方法(i)によって得られるサブブロックサイズと同じサブブロックサイズ、つまり4つのNxN/2画素のサブブロックが生成されるからである。
以上のように、図23では、第1パーティションモードを用いれば、第1ブロックが、水平方向に、2つのサブブロックに等分割され、かつ、第2パーティションモードを用いれば、第1ブロックに垂直方向に隣接する第2ブロックが、水平方向に、2つのサブブロックに等分割される場合に、第2パーティションモードは、候補として選択されない。
第2パーティションモードが第2ブロックを分割するための候補として選択されると判断されれば(S2003のN)、ステップS2004において、ビットストリームから第2パラメータが読み解かれ、第2パーティションモードを候補として含む複数のパーティションモードからパーティションモードが選択される。
第2パーティションモードが第2ブロックを分割するための候補として選択されないと判断されれば(S2003のY)、ステップS2005において、第2パーティションモードと異なるパーティションモードが第2ブロックを分割するために選択される。ここで選択されたパーティションモードは、第2パーティションモードによって生成されるサブブロックと比較して異なる形又は異なるサイズを有するサブブロックにブロックを分割する。
図24は、実施の形態2において、ステップ(3)に示すように、第2パーティションモードが選択されないときに選択されたパーティションモードを用いて2NxN画素のブロックを分割する一例を示す。図24に示すように、選択されたパーティションモードは、2NxN画素のカレントブロック(この例では下ブロック)を、図24の(c)及び(f)に示すように3つのサブブロックに分割することができる。3つのサブブロックのサイズは異なってもよい。例えば、3つのサブブロックにおいて、大サブブロックは、小サブブロックの2倍の幅/高さを有してもよい。また例えば、選択されたパーティションモードは、カレントブロックを、図24の(a)、(b)、(d)及び(e)に示すように、サイズが異なる2つのサブブロック(非対称二分木)に分割することもできる。例えば、非対称二分木が用いられる場合、大サブブロックは小サブブロックの3倍の幅/高さを有することができる。
図25は、実施の形態2において、ステップ(3)に示すように、第2パーティションモードが選択されないときに選択されたパーティションモードを用いてNx2N画素のブロックを分割する一例を示す。図25に示すように、選択されたパーティションモードは、Nx2N画素のカレントブロック(この例では右ブロック)を、図25の(c)及び(f)に示すように3つのサブブロックに分割することができる。3つのサブブロックのサイズは異なってもよい。例えば、3つのサブブロックにおいて、大サブブロックは、小サブブロックの2倍の幅/高さを有してもよい。また例えば、選択されたパーティションモードは、カレントブロックを、図25の(a)、(b)、(d)及び(e)に示すように、サイズが異なる2つのサブブロック(非対称二分木)に分割することもできる。例えば、非対称二分木が用いられる場合、大サブブロックは小サブブロックの3倍の幅/高さを有することができる。
図26は、実施の形態2において、ステップ(3)に示すように、第2パーティションモードが選択されないときに選択されたパーティションモードを用いてNxN画素のブロックを分割する一例を示す。図26に示すように、ステップ(1)において、2NxN画素のブロックは、2つのNxN画素のサブブロックに垂直に分割され、ステップ(2)において、左側のNxN画素のブロックは、2つのN/2xN画素のサブブロックに垂直に分割される。ステップ(3)では、NxN画素のカレントブロック(この例では、左ブロック)のための選択されたパーティションモードを用いて、図26の(c)及び(f)に示すように、カレントブロックを3つのサブブロックに分割することができる。3つのサブブロックのサイズは異なってもよい。例えば、3つのサブブロックにおいて、大サブブロックは、小サブブロックの2倍の幅/高さを有してもよい。また例えば、選択されたパーティションモードは、カレントブロックを、図26の(a)、(b)、(d)及び(e)に示すように、サイズが異なる2つのサブブロック(非対称二分木)に分割することもできる。例えば、非対称二分木が用いられる場合、大サブブロックは小サブブロックの3倍の幅/高さを有することができる。
図27は、実施の形態2において、ステップ(3)に示すように、第2パーティションモードが選択されないときに選択されたパーティションモードを用いてNxN画素のブロックを分割する一例を示す。図27に示すように、ステップ(1)において、Nx2N画素のブロックは、2つのNxN画素のサブブロックに水平に分割され、ステップ(2)において、上側のNxN画素のブロックは、2つのNxN/2画素のサブブロックに水平に分割される。ステップ(3)では、NxN画素のカレントブロック(この例では、下ブロック)のための選択されたパーティションモードを用いて、図27の(c)及び(f)に示すように、カレントブロックを3つのサブブロックに分割することができる。3つのサブブロックのサイズは異なってもよい。例えば、3つのサブブロックにおいて、大サブブロックは、小サブブロックの2倍の幅/高さを有してもよい。また例えば、選択されたパーティションモードは、カレントブロックを、図27の(a)、(b)、(d)及び(e)に示すように、サイズが異なる2つのサブブロック(非対称二分木)に分割することもできる。例えば、非対称二分木が用いられる場合、大サブブロックは小サブブロックの3倍の幅/高さを有することができる。
図17は、圧縮映像ストリーム内の第1パラメータの考えられる位置を示す。図17に示すように、第1パラメータは、ビデオパラメータセット、シーケンスパラメータセット、ピクチャパラメータセット、スライスヘッダ、又はコーディングツリーユニット内に配置することができる。第1パラメータは、ブロックを複数のサブブロックに分割する方法を示すことができる。例えば、第1パラメータは、ブロックを水平方向又は垂直方向に分割するかどうかを示すフラグを含むことができる。第1パラメータは、ブロックを2以上のサブブロックに分割するかどうかを示すパラメータを含むこともできる。
図18は、圧縮映像ストリーム内の第2パラメータの考えられる位置を示す。図18に示すように、第2パラメータは、ビデオパラメータセット、シーケンスパラメータセット、ピクチャパラメータセット、スライスヘッダ、又はコーディングツリーユニット内に配置することができる。第2パラメータは、ブロックを複数のサブブロックに分割する方法を示すことができる。例えば、第2パラメータは、ブロックを水平方向又は垂直方向に分割するかどうかを示すフラグを含むことができる。第2パラメータは、ブロックを2以上のサブブロックに分割するかどうかを示すパラメータを含むこともできる。第2パラメータは、図19に示すように、ビットストリーム内で第1パラメータの後に続いて配置される。
第1ブロック及び第2ブロックは、異なるブロックである。第1ブロック及び第2ブロックは、同一のフレームに含まれてもよい。例えば、第1ブロックは、第2ブロックの上に隣接するブロックであってもよい。また例えば、第1ブロックは、第2ブロックの左に隣接するブロックであってもよい。
ステップS2006において、第2ブロックは、選択されたパーティションモードを用いてサブブロックに分割される。ステップS2007において、分割されたブロックは復号される。
[復号装置]
図16は、実施の形態2又は3に係る映像/画像復号装置の構造を示すブロック図である。
図16は、実施の形態2又は3に係る映像/画像復号装置の構造を示すブロック図である。
映像復号装置6000は、入力符号化ビットストリームをブロック毎に復号し、映像/画像を出力するための装置である。映像復号装置6000は、図16に示すように、エントロピー復号部6001と、逆量子化部6002と、逆変換部6003と、ブロックメモリ6004と、フレームメモリ6005と、イントラ予測部6006と、インター予測部6007と、ブロック分割決定部6008と、を備える。
入力符号化ビットストリームは、エントロピー復号部6001に入力される。入力符号化ビットストリームがエントロピー復号部6001に入力された後、エントロピー復号部6001は、入力符号化ビットストリームを復号し、パラメータをブロック分割決定部6008に出力し、復号値を逆量子化部6002に出力する。
逆量子化部6002は、復号値を逆量子化し、周波数係数を逆変換部6003に出力する。逆変換部6003は、ブロック分割決定部6008によって導出されたブロックパーティションモードに基づいて、周波数係数に逆周波数変換を実行して、周波数係数をサンプル値に変換し、サンプル値を加算器に出力する。ブロックパーティションモードは、ブロックパーティションモード、ブロックパーティションタイプ、又はブロックパーティション方向に関連付けることができる。加算器は、サンプル値をイントラ/インター予測部6006、6007から出力された予測映像/画像値に加算し、加算値をディスプレイに出力し、加算値をさらなる予測のためにブロックメモリ6004又はフレームメモリ6005に出力する。ブロック分割決定部6008は、ブロックメモリ6004又はフレームメモリ6005からブロック情報を収集し、エントロピー復号部6001によって復号されたパラメータを用いて、ブロックパーティションモードを導出する。導出されたブロックパーティションモードを用いれば、ブロックは、複数のサブブロックに分割される。さらに、イントラ/インター予測部6006、6007は、ブロックメモリ6004に格納された映像/画像、又は、ブロック分割決定部6008によって導出されたブロックパーティションモードで再構成されたフレームメモリ6005内の映像/画像から復号対象ブロックの映像/画像領域を予測する。
[効果等]
以上のように、本実施の形態に係る映像符号化装置5000は、画像のブロックを符号化する画像符号化装置であって、プロセッサと、メモリと、を備え、前記プロセッサは、前記メモリを用いて、複数のパーティションモードの中から、第1ブロックをサブブロックに分割するためのパーティションモードを識別する第1パラメータをビットストリームに書き込み、前記第1パラメータが第1パーティションモードを識別しているか否かを判断し、少なくとも前記第1パラメータが前記第1パーティションモードを識別しているか否かの判断に基づいて、前記第1ブロックと異なる第2ブロックを分割するための候補として第2パーティションモードを選択しないかどうかを判断し、前記第2ブロックを分割するための候補として前記第2パーティションモードを選択すると判断された場合、前記第2パーティションモードを候補として含む複数のパーティションモードの中からパーティションモードを選択し、選択結果を示す第2パラメータをビットストリームに書き込み、前記第2ブロックを分割するための候補として前記第2パーティションモードを選択しないと判断された場合、前記第2パーティションモードと異なるパーティションモードであって、前記第2パーティションモードによって生成されるサブブロックと比較して異なる形状又は異なるサイズのサブブロックにブロックを分割するパーティションモードを選択し、選択された前記パーティションモードを用いて、前記第2ブロックをサブブロックに分割し、分割された前記ブロックを符号化する。
以上のように、本実施の形態に係る映像符号化装置5000は、画像のブロックを符号化する画像符号化装置であって、プロセッサと、メモリと、を備え、前記プロセッサは、前記メモリを用いて、複数のパーティションモードの中から、第1ブロックをサブブロックに分割するためのパーティションモードを識別する第1パラメータをビットストリームに書き込み、前記第1パラメータが第1パーティションモードを識別しているか否かを判断し、少なくとも前記第1パラメータが前記第1パーティションモードを識別しているか否かの判断に基づいて、前記第1ブロックと異なる第2ブロックを分割するための候補として第2パーティションモードを選択しないかどうかを判断し、前記第2ブロックを分割するための候補として前記第2パーティションモードを選択すると判断された場合、前記第2パーティションモードを候補として含む複数のパーティションモードの中からパーティションモードを選択し、選択結果を示す第2パラメータをビットストリームに書き込み、前記第2ブロックを分割するための候補として前記第2パーティションモードを選択しないと判断された場合、前記第2パーティションモードと異なるパーティションモードであって、前記第2パーティションモードによって生成されるサブブロックと比較して異なる形状又は異なるサイズのサブブロックにブロックを分割するパーティションモードを選択し、選択された前記パーティションモードを用いて、前記第2ブロックをサブブロックに分割し、分割された前記ブロックを符号化する。
これによれば、第2ブロックを分割するための候補として第2パーティションモードを選択しないと判断された場合、第2パーティションモードと異なるパーティションモードを選択することができる。したがって、選択可能なパーティションモードを減少させることができ、パーティションモードの符号量を削減して圧縮効率を向上させることができる。
また、本実施の形態に係る映像符号化装置5000において、前記第2パーティションモードと異なる選択された前記パーティションモードは、ブロックを、前記第2パーティションモードよりも多くのサブブロックに分割し、又は、前記ブロックを、前記第2パーティションモードと同じ数で異なるサイズのサブブロックに分割してもよい。
これによれば、第2パーティションモードが候補として選択されない場合に、第2パーティションモードによって得られるサブブロックと異なるサブブロックに分割することができる。
また、本実施の形態に係る映像符号化装置5000において、前記第2パーティションモードを選択しないかどうかの判断では、前記第1パラメータが第1パーティションモードを識別している場合に、前記第1パーティションモード及び前記第2パーティションモードを含む第1パーティションモードセットの第1符号量、及び、前記第1パーティションモードセットと異なる第2パーティションモードセットの第2符号量に基づいて、前記第2パーティションモードを前記候補として選択しないかどうかを判断し、前記第2パーティションモードセットは、前記第1パーティションモード及び前記第2パーティションモードを用いて前記第1ブロック及び前記第2ブロックを分割して得られるサブブロックの形状及びサイズと同じサブブロックの形状及びサイズにブロックを分割するための少なくとも1つのパーティションモードを含んでもよい。
これによれば、パーティションモードセットの符号量に基づいて、第2パーティションを候補として選択しないかどうかを判断することができ、パーティションモードの符号量を削減して圧縮効率を向上させることができる。
また、本実施の形態に係る映像符号化装置5000において、前記第2パーティションモードを選択しないかどうかの判断では、前記第1符号量が前記第2符号量よりも大きい場合に、前記第2パーティションモードを選択しないと判断してもよい。
これによれば、より多い符号量のパーティションモードセットが選択されることを防ぐことができ、パーティションモードの符号量を削減して圧縮効率を向上させることができる。
また、本実施の形態に係る映像符号化装置5000において、前記第2パーティションモードを選択しないかどうかの判断では、前記第1符号量が前記第2符号量と等しい場合に、前記第1パーティションモードセット及び前記第2パーティションモードセットを含む複数のパーティションモードセットの所定の順序において、前記第2パーティションモードセットが前記第1パーティションモードセットよりも先に現れれば、前記第2パーティションモードを選択しないと判断してもよい。
これによれば、2つのパーティションモードセットの符号量が等しい場合に、所定の順序に基づいてパーティションモードセットを選択することができる。
以上のように、本実施の形態に係る映像復号装置6000は、画像のブロックを復号する画像復号装置であって、プロセッサと、メモリと、を備え、前記プロセッサは、前記メモリを用いて、複数のパーティションモードの中から、第1ブロックをサブブロックに分割するためのパーティションモードを識別する第1パラメータをビットストリームから読み解き、前記第1パラメータが第1パーティションモードを識別しているか否かを判断し、少なくとも前記第1パラメータが前記第1パーティションモードを識別しているか否かの判断に基づいて、前記第1ブロックと異なる第2ブロックを分割するための候補として第2パーティションモードを選択しないかどうかを判断し、前記第2ブロックを分割するための候補として前記第2パーティションモードを選択すると判断された場合、前記第2パーティションモードを候補として含む複数のパーティションモードの中から前記第2ブロックを分割するためのパーティションモードを選択するための第2パラメータをビットストリームから読み解き、前記第2ブロックを分割するための候補として前記第2パーティションモードを選択しないと判断された場合、前記第2パーティションモードと異なるパーティションモードであって、前記第2パーティションモードによって生成されるサブブロックと比較して異なる形状又は異なるサイズのサブブロックにブロックを分割するパーティションモードを選択し、選択された前記パーティションモードを用いて、前記第2ブロックをサブブロックに分割し、分割された前記ブロックを復号する。
これによれば、第2ブロックを分割するための候補として第2パーティションモードを選択しないと判断された場合、第2パーティションモードと異なるパーティションモードを選択することができる。したがって、選択可能なパーティションモードを減少させることができ、パーティションモードの符号量を削減して圧縮効率を向上させることができる。
また、本実施の形態に係る映像復号装置6000において、前記第2パーティションモードと異なる選択された前記パーティションモードは、ブロックを、前記第2パーティションモードよりも多くのサブブロックに分割し、又は、前記ブロックを、前記第2パーティションモードと同じ数で異なるサイズのサブブロックに分割してもよい。
これによれば、第2パーティションモードが候補として選択されない場合に、第2パーティションモードによって得られるサブブロックと異なるサブブロックに分割することができる。
また、本実施の形態に係る映像復号装置6000において、前記第2パーティションモードを選択しないかどうかの判断では、前記第1パラメータが第1パーティションモードを識別している場合に、前記第1パーティションモード及び前記第2パーティションモードを含む第1パーティションモードセットの第1符号量、及び、前記第1パーティションモードセットと異なる第2パーティションモードセットの第2符号量に基づいて、前記第2パーティションモードを前記候補として選択しないかどうかを判断し、前記第2パーティションモードセットは、前記第1パーティションモード及び前記第2パーティションモードを用いて前記第1ブロック及び前記第2ブロックを分割して得られるサブブロックの形状及びサイズと同じサブブロックの形状及びサイズにブロックを分割するための少なくとも1つのパーティションモードを含んでもよい。
これによれば、パーティションモードセットの符号量に基づいて、第2パーティションを候補として選択しないかどうかを判断することができ、パーティションモードの符号量を削減して圧縮効率を向上させることができる。
また、本実施の形態に係る映像復号装置6000において、前記第2パーティションモードを選択しないかどうかの判断では、前記第1符号量が前記第2符号量よりも大きい場合に、前記第2パーティションモードを選択しないと判断してもよい。
これによれば、より多い符号量のパーティションモードセットが選択されることを防ぐことができパーティションモードの符号量を削減して圧縮効率を向上させることができる。
また、本実施の形態に係る映像復号装置6000において、前記第2パーティションモードを選択しないかどうかの判断では、前記第1符号量が前記第2符号量と等しい場合に、前記第1パーティションモードセット及び前記第2パーティションモードセットを含む複数のパーティションモードセットの所定の順序において、前記第2パーティションモードセットが前記第1パーティションモードセットよりも先に現れれば、前記第2パーティションモードを選択しないと判断してもよい。
これによれば、2つのパーティションモードセットの符号量が等しい場合に、所定の順序に基づいてパーティションモードセットを選択することができる。
本態様を本開示における他の態様の少なくとも一部と組み合わせて実施してもよい。また、本態様のフローチャートに記載の一部の処理、装置の一部の構成、シンタックスの一部などを他の態様と組み合わせて実施してもよい。
(実施の形態3)
実施の形態3に係る符号化処理及び復号処理について、図13及び図14を参照しながら具体的に説明する。実施の形態3に係る符号化装置及び復号装置について、図15及び図16を参照しながら具体的に説明する。
実施の形態3に係る符号化処理及び復号処理について、図13及び図14を参照しながら具体的に説明する。実施の形態3に係る符号化装置及び復号装置について、図15及び図16を参照しながら具体的に説明する。
[符号化処理]
図13は、実施の形態3に係る映像符号化処理を示す。
図13は、実施の形態3に係る映像符号化処理を示す。
まず、ステップS3001では、複数のパーティションタイプの中から、第1ブロックをサブブロックに分割するためのパーティションタイプを識別する第1パラメータがビットストリームに書き込まれる。
次のステップS3002では、パーティション方向を示す第2パラメータがビットストリームに書き込まれる。第2パラメータは、ビットストリーム内で第1パラメータの後に続いて配置される。パーティションタイプは、パーティション方向と一緒になって、パーティションモードを構成してもよい。パーティションタイプは、ブロックを分割するための、サブブロックの数及びパーティション比を示す。
図29は、実施の形態3においてNxN画素のブロックを分割するためのパーティションタイプ及びパーティション方向の一例を示す。図29において、(1)、(2)、(3)及び(4)は、異なるパーティションタイプであり、(1a)、(2a)、(3a)及び(4a)は、垂直方向のパーティション方向でパーティションタイプが異なるパーティションモードであり、(1b)、(2b)、(3b)及び(4b)は、水平方向のパーティション方向でパーティションタイプが異なるパーティションモードである。図29に示すように、パーティション比が1:1で垂直方向に対称二分木(つまり、2つのサブブロック)で分割される場合に、NxN画素のブロックは、パーティションモード(1a)を用いて分割される。パーティション比が1:1で水平方向に対称二分木(つまり、2つのサブブロック)で分割される場合に、NxN画素のブロックは、パーティションモード(1b)を用いて分割される。パーティション比が1:3で垂直方向に非対称二分木(つまり、2つのサブブロック)で分割される場合に、NxN画素のブロックは、パーティションモード(2a)を用いて分割される。パーティション比が1:3で水平方向に非対称二分木(つまり、2つのサブブロック)で分割される場合に、NxN画素のブロックは、パーティションモード(2b)を用いて分割される。パーティション比が3:1で垂直方向に非対称二分木(つまり、2つのサブブロック)で分割される場合に、NxN画素のブロックは、パーティションモード(3a)を用いて分割される。パーティション比が3:1で水平方向に非対称二分木(つまり、2つのサブブロック)で分割される場合に、NxN画素のブロックは、パーティションモード(3b)を用いて分割される。パーティション比が1:2:1で垂直方向に三分木(つまり、3つのサブブロック)で分割される場合に、NxN画素のブロックは、パーティションモード(4a)を用いて分割される。パーティション比が1:2:1で水平方向に三分木(つまり、3つのサブブロック)で分割される場合に、NxN画素のブロックは、パーティションモード(4b)を用いて分割される。
図17は、圧縮映像ストリーム内の第1パラメータの考えられる位置を示す。図17に示すように、第1パラメータは、ビデオパラメータセット、シーケンスパラメータセット、ピクチャパラメータセット、スライスヘッダ、又はコーディングツリーユニット内に配置することができる。第1パラメータは、ブロックを複数のサブブロックに分割する方法を示すことができる。例えば、第1パラメータは、ブロックを水平方向又は垂直方向に分割するかどうかを示すフラグを含むことができる。第1パラメータは、ブロックを2以上のサブブロックに分割するかどうかを示すパラメータを含むこともできる。
図18は、圧縮映像ストリーム内の第2パラメータの考えられる位置を示す。図18に示すように、第2パラメータは、ビデオパラメータセット、シーケンスパラメータセット、ピクチャパラメータセット、スライスヘッダ、又はコーディングツリーユニット内に配置することができる。第2パラメータは、ブロックを複数のサブブロックに分割する方法を示すことができる。例えば、第2パラメータは、ブロックを水平方向又は垂直方向に分割するかどうかを示すフラグを含むことができる。第2パラメータは、ブロックを2以上のサブブロックに分割するかどうかを示すパラメータを含むこともできる。第2パラメータは、図19に示すように、ビットストリーム内で第1パラメータの後に続いて配置される。
図30は、パーティションタイプの前にパーティション方向を符号化する場合と比較してパーティション方向の前にパーティションタイプを符号化することによる利点を示す。この例では、サポートされていないサイズ(16x2画素)のために、水平方向のパーティション方向が無効化されている場合に、パーティション方向を符号化する必要はない。この例では、パーティション方向は、垂直方向のパーティション方向として決定され、水平方向のパーティション方向は無効にされる。パーティション方向の前にパーティションタイプを符号化することは、パーティションタイプの前にパーティション方向を符号化する場合に比べて、パーティション方向の符号化による符号ビットを抑える。
このように、予め定められたブロック分割可能又は不可能の条件に基づいて、水平方向及び垂直方向の各々にブロックが分割可能か否かを判定してもよい。そして、水平方向及び垂直方向の一方のみ分割可能と判定された場合に、パーティション方向のビットストリームへの書き込みがスキップされてもよい。さらに、水平方向及び垂直方向の両方とも分割不可能と判定された場合には、パーティション方向に加えてパーティションタイプのビットストリームへの書き込みがスキップされてもよい。
予め定められたブロック分割可能又は不可能の条件は、例えば、サイズ(画素数)又は分割回数などによって定義される。このブロック分割可能又は不可能条件は、標準規格に予め定義されてもよい。また、ブロック分割可能又は不可能条件は、ビデオパラメータセット、シーケンスパラメータセット、ピクチャパラメータセット、スライスヘッダ、又はコーディングツリーユニットに含まれてもよい。ブロック分割可能又は不可能条件は、すべてのブロックで固定であってもよいし、ブロックの特性(例えば輝度及び色差ブロック)又はピクチャの特性(例えばI、P、Bピクチャ)などに応じて動的に切り替えられてもよい。
ステップS3003において、ブロックは、識別されたパーティションタイプ及び示されたパーティション方向を用いて、サブブロックに分割される。ステップS3004において、分割されたブロックは符号化される。
[符号化装置]
図15は、実施の形態2又は3に係る映像/画像符号化装置の構造を示すブロック図である。
図15は、実施の形態2又は3に係る映像/画像符号化装置の構造を示すブロック図である。
映像符号化装置5000は、入力映像/画像をブロック毎に符号化して符号化出力ビットストリームを生成するための装置である。図15に示すように、映像符号化装置5000は、変換部5001と、量子化部5002と、逆量子化部5003と、逆変換部5004と、ブロックメモリ5005と、フレームメモリ5006と、イントラ予測部5007と、インター予測部5008と、エントロピー符号化部5009と、ブロック分割決定部5010と、を備える。
入力映像は、加算器に入力され、加算値が変換部5001に出力される。変換部5001は、ブロック分割決定部5010によって導出されたブロックパーティションタイプ及び方向に基づいて、加算値を周波数係数に変換し、周波数係数を量子化部5002に出力する。ブロックパーティションタイプ及び方向は、ブロックパーティションモード、ブロックパーティションタイプ、又はブロックパーティション方向に関連付けることができる。量子化部5002は、入力量子化係数を量子化し、量子化値を逆量子化部5003及びエントロピー符号化部5009に出力する。
逆量子化部5003は、量子化部5002から出力された量子化値を逆量子化し、周波数係数を逆変換部5004に出力する。逆変換部5004は、ブロック分割決定部5010によって導出されたブロックパーティションタイプ及び方向に基づいて、周波数係数に逆周波数変換を実行して、周波数係数をビットストリームのサンプル値に変換し、サンプル値を加算器に出力する。
加算器は、逆変換部5004から出力されたビットストリームのサンプル値を、イントラ/インター予測部5007、5008から出力された予測映像/画像値に加算し、加算値をさらなる予測のためにブロックメモリ5005又はフレームメモリ5006に出力する。ブロック分割決定部5010は、ブロックメモリ5005又はフレームメモリ5006からブロック情報を収集し、ブロックパーティションタイプ及び方向、並びに、ブロックパーティションタイプ及び方向に関するパラメータを導出する。導出されたブロックパーティションタイプ及び方向を用いれば、ブロックは、複数のサブブロックに分割される。イントラ/インター予測部5007、5008は、ブロックメモリ5005に格納された映像/画像、又は、ブロック分割決定部5010によって導出されたブロックパーティションタイプ及び方向で再構成されたフレームメモリ5006内の映像/画像の中から探索し、例えば予測対象の入力映像/画像に最も類似する映像/画像領域を推定する。
エントロピー符号化部5009は、量子化部5002から出力された量子化値を符号化し、ブロック分割決定部5010からのパラメータを符号化し、ビットストリームを出力する。
[復号処理]
図14は、実施の形態3に係る映像復号処理を示す。
図14は、実施の形態3に係る映像復号処理を示す。
まず、ステップS4001では、複数のパーティションタイプの中から第1ブロックをサブブロックに分割するためのパーティションタイプを識別する第1パラメータをビットストリームから読み解く。
次のステップS4002では、ビットストリームからパーティション方向を示す第2パラメータを読み解く。第2パラメータは、ビットストリーム内において第1パラメータの後に続いている。パーティションタイプは、パーティション方向と一緒になって、パーティションモードを構成してもよい。パーティションタイプは、ブロックを分割するための、サブブロックの数及びパーティション比を示す。
図29は、実施の形態3においてNxN画素のブロックを分割するためのパーティションタイプ及びパーティション方向の一例を示す。図29において、(1)、(2)、(3)及び(4)は、異なるパーティションタイプであり、(1a)、(2a)、(3a)及び(4a)は、垂直方向のパーティション方向でパーティションタイプが異なるパーティションモードであり、(1b)、(2b)、(3b)及び(4b)は、水平方向のパーティション方向でパーティションタイプが異なるパーティションモードである。図29に示すように、パーティション比が1:1で垂直方向に対称二分木(つまり、2つのサブブロック)で分割される場合に、NxN画素のブロックは、パーティションモード(1a)を用いて分割される。パーティション比が1:1で水平方向に対称二分木(つまり、2つのサブブロック)で分割される場合に、NxN画素のブロックは、パーティションモード(1b)を用いて分割される。パーティション比が1:3で垂直方向に非対称二分木(つまり、2つのサブブロック)で分割される場合に、NxN画素のブロックは、パーティションモード(2a)を用いて分割される。パーティション比が1:3で水平方向に非対称二分木(つまり、2つのサブブロック)で分割される場合に、NxN画素のブロックは、パーティションモード(2b)を用いて分割される。パーティション比が3:1で垂直方向に非対称二分木(つまり、2つのサブブロック)で分割される場合に、NxN画素のブロックは、パーティションモード(3a)を用いて分割される。パーティション比が3:1で水平方向に非対称二分木(つまり、2つのサブブロック)で分割される場合に、NxN画素のブロックは、パーティションモード(3b)を用いて分割される。パーティション比が1:2:1で垂直方向に三分木(つまり、3つのサブブロック)で分割される場合に、NxN画素のブロックは、パーティションモード(4a)を用いて分割される。パーティション比が1:2:1で水平方向に三分木(つまり、3つのサブブロック)で分割される場合に、NxN画素のブロックは、パーティションモード(4b)を用いて分割される。
図17は、圧縮映像ストリーム内の第1パラメータの考えられる位置を示す。図17に示すように、第1パラメータは、ビデオパラメータセット、シーケンスパラメータセット、ピクチャパラメータセット、スライスヘッダ、又はコーディングツリーユニット内に配置することができる。第1パラメータは、ブロックを複数のサブブロックに分割する方法を示すことができる。例えば、第1パラメータは、上述したパーティションタイプの識別子を含むことができる。例えば、第1パラメータは、ブロックを水平方向又は垂直方向に分割するかどうかを示すフラグを含むことができる。第1パラメータは、ブロックを2以上のサブブロックに分割するかどうかを示すパラメータを含むこともできる。
図18は、圧縮映像ストリーム内の第2パラメータの考えられる位置を示す。図18に示すように、第2パラメータは、ビデオパラメータセット、シーケンスパラメータセット、ピクチャパラメータセット、スライスヘッダ、又はコーディングツリーユニット内に配置することができる。第2パラメータは、ブロックを複数のサブブロックに分割する方法を示すことができる。例えば、第2パラメータは、ブロックを水平方向又は垂直方向に分割するかどうかを示すフラグを含むことができる。つまり、第2パラメータは、パーティション方向を示すパラメータを含むことができる。第2パラメータは、ブロックを2以上のサブブロックに分割するかどうかを示すパラメータを含むこともできる。第2パラメータは、図19に示すように、ビットストリーム内で第1パラメータの後に続いて配置される。
図30は、パーティションタイプの前にパーティション方向を符号化する場合と比較してパーティション方向の前にパーティションタイプを符号化することによる利点を示す。この例では、サポートされていないサイズ(16x2画素)のために、水平方向のパーティション方向が無効化されている場合に、パーティション方向を符号化する必要はない。この例では、パーティション方向は、垂直方向のパーティション方向として決定され、水平方向のパーティション方向は無効にされる。パーティション方向の前にパーティションタイプを符号化することは、パーティションタイプの前にパーティション方向を符号化する場合に比べて、パーティション方向の符号化による符号ビットを抑える。
このように、予め定められたブロック分割可能又は不可能の条件に基づいて、水平方向及び垂直方向の各々にブロックが分割可能か否かを判定してもよい。そして、水平方向及び垂直方向の一方のみ分割可能と判定された場合に、パーティション方向のビットストリームからの読み解きがスキップされてもよい。さらに、水平方向及び垂直方向の両方とも分割不可能と判定された場合には、パーティション方向に加えてパーティションタイプのビットストリームからの読み解きがスキップされてもよい。
予め定められたブロック分割可能又は不可能の条件は、例えば、サイズ(画素数)又は分割回数などによって定義される。このブロック分割可能又は不可能条件は、標準規格に予め定義されてもよい。また、ブロック分割可能又は不可能条件は、ビデオパラメータセット、シーケンスパラメータセット、ピクチャパラメータセット、スライスヘッダ、又はコーディングツリーユニットに含まれてもよい。ブロック分割可能又は不可能条件は、すべてのブロックで固定であってもよいし、ブロックの特性(例えば輝度及び色差ブロック)又はピクチャの特性(例えばI、P、Bピクチャ)などに応じて動的に切り替えられてもよい。
ステップS4003において、ブロックは、識別されたパーティションタイプ及び示されたパーティション方向を用いて、サブブロックに分割される。ステップS4004において、分割されたブロックは復号される。
[復号装置]
図16は、実施の形態2又は3に係る映像/画像復号装置の構造を示すブロック図である。
図16は、実施の形態2又は3に係る映像/画像復号装置の構造を示すブロック図である。
映像復号装置6000は、入力符号化ビットストリームをブロック毎に復号し、映像/画像を出力するための装置である。映像復号装置6000は、図16に示すように、エントロピー復号部6001と、逆量子化部6002と、逆変換部6003と、ブロックメモリ6004と、フレームメモリ6005と、イントラ予測部6006と、インター予測部6007と、ブロック分割決定部6008と、を備える。
入力符号化ビットストリームは、エントロピー復号部6001に入力される。入力符号化ビットストリームがエントロピー復号部6001に入力された後、エントロピー復号部6001は、入力符号化ビットストリームを復号し、パラメータをブロック分割決定部6008に出力し、復号値を逆量子化部6002に出力する。
逆量子化部6002は、復号値を逆量子化し、周波数係数を逆変換部6003に出力する。逆変換部6003は、ブロック分割決定部6008によって導出されたブロックパーティションタイプ及び方向に基づいて、周波数係数に逆周波数変換を実行して、周波数係数をサンプル値に変換し、サンプル値を加算器に出力する。ブロックパーティションタイプ及び方向は、ブロックパーティションモード、ブロックパーティションタイプ、又はブロックパーティション方向に関連付けることができる。加算器は、サンプル値をイントラ/インター予測部6006、6007から出力された予測映像/画像値に加算し、加算値をディスプレイに出力し、加算値をさらなる予測のためにブロックメモリ6004又はフレームメモリ6005に出力する。ブロック分割決定部6008は、ブロックメモリ6004又はフレームメモリ6005からブロック情報を収集し、エントロピー復号部6001によって復号されたパラメータを用いて、ブロックパーティションタイプ及び方向を導出する。導出されたブロックパーティションタイプ及び方向を用いれば、ブロックは、複数のサブブロックに分割される。さらに、イントラ/インター予測部6006、6007は、ブロックメモリ6004に格納された映像/画像、又は、ブロック分割決定部6008によって導出されたブロックパーティションタイプ及び方向で再構成されたフレームメモリ6005内の映像/画像から復号対象ブロックの映像/画像領域を予測する。
[効果等]
以上のように、本実施の形態に係る映像符号化装置5000は、画像のブロックを符号化する画像符号化装置であって、プロセッサと、メモリと、を備え、前記プロセッサは、前記メモリを用いて、複数のパーティションタイプの中から、ブロックを2以上のサブブロックに分割するためのパーティションタイプを識別する第1パラメータをビットストリームに書き込み、パーティション方向を示す第2パラメータであってビットストリーム内で前記第1パラメータの後に続く第2パラメータをビットストリームに書き込み、識別された前記パーティションタイプ及び示された前記パーティション方向を用いて、前記ブロックをサブブロックに分割し、分割された前記ブロックを符号化する。
以上のように、本実施の形態に係る映像符号化装置5000は、画像のブロックを符号化する画像符号化装置であって、プロセッサと、メモリと、を備え、前記プロセッサは、前記メモリを用いて、複数のパーティションタイプの中から、ブロックを2以上のサブブロックに分割するためのパーティションタイプを識別する第1パラメータをビットストリームに書き込み、パーティション方向を示す第2パラメータであってビットストリーム内で前記第1パラメータの後に続く第2パラメータをビットストリームに書き込み、識別された前記パーティションタイプ及び示された前記パーティション方向を用いて、前記ブロックをサブブロックに分割し、分割された前記ブロックを符号化する。
これによれば、パーティションタイプを識別する第1パラメータの後ろにパーティション方向を示す第2パラメータを書き込むことができる。したがって、パーティション方向を示す必要がない場合に第2パラメータを省略することができ、パーティションモードの符号量を削減して圧縮効率を向上させることができる。
また、本実施の形態に係る映像符号化装置5000において、パーティションタイプを識別されたパーティション方向とともに用いれば、ブロックは、識別された前記パーティション方向でサブブロックに分割され、異なるパーティションタイプをパーティション方向とともに用いれば、ブロックは、異なる形状、異なる高さ又は異なる幅のサブブロックに分割されてもよい。
これによれば、パーティションタイプ及びパーティション方向によって、サブブロックの形状、高さ又は幅を制御することができる。
また、本実施の形態に係る映像符号化装置5000において、前記プロセッサは、さらに、前記第1パラメータによって識別された前記パーティションタイプを用いて、前記ブロックを水平方向及び垂直方向の各々に分割可能か否かを判定し、前記水平方向及び前記垂直方向の一方のみ分割可能と判定された場合に、前記第2パラメータのビットストリームへの書き込みをスキップし、識別された前記パーティションタイプ及び前記水平方向及び前記垂直方向の他方を用いて、前記ブロックをサブブロックに分割してもよい。
これによれば、水平方向及び垂直方向の一方においてブロックの分割が不可能な場合に、パーティション方向を示す第2パラメータの書き込みをスキップすることができる。つまり、ビットストリーム内で第2パラメータを省略することができ、ブロック分割方法に係る符号量を削減して圧縮効率を向上させることができる。
以上のように、本実施の形態に係る映像復号装置6000は、画像のブロックを復号する画像復号装置であって、プロセッサと、メモリと、を備え、前記プロセッサは、前記メモリを用いて、複数のパーティションタイプの中から、ブロックを2以上のサブブロックに分割するためのパーティションタイプを識別する第1パラメータをビットストリームから読み解き、パーティション方向を示す第2パラメータであってビットストリーム内で前記第1パラメータの後に続く第2パラメータをビットストリームから読み解き、識別された前記パーティションタイプ及び示された前記パーティション方向を用いて、前記ブロックをサブブロックに分割し、分割された前記ブロックを復号する。
これによれば、パーティションタイプを識別する第1パラメータの後ろにパーティション方向を示す第2パラメータを書き込むことができる。したがって、パーティション方向を示す必要がない場合に第2パラメータを省略することができ、パーティションモードの符号量を削減して圧縮効率を向上させることができる。
また、本実施の形態に係る映像復号装置6000において、パーティションタイプを識別されたパーティション方向とともに用いれば、ブロックは、識別された前記パーティション方向でサブブロックに分割され、異なるパーティションタイプをパーティション方向とともに用いれば、ブロックは、異なる形状、異なる高さ又は異なる幅のサブブロックに分割されてもよい。
これによれば、パーティションタイプ及びパーティション方向によって、サブブロックの形状、高さ又は幅を制御することができる。
また、本実施の形態に係る映像復号装置6000において、前記プロセッサは、さらに、前記第1パラメータによって識別された前記パーティションタイプを用いて、前記ブロックを水平方向及び垂直方向の各々に分割可能か否かを判定し、前記水平方向及び前記垂直方向の一方のみ分割可能と判定された場合に、前記第2パラメータのビットストリームからの読み解きをスキップし、識別された前記パーティションタイプ、及び、前記水平方向及び前記垂直方向の他方を前記パーティション方向として用いて、前記ブロックをサブブロックに分割してもよい。
これによれば、水平方向及び垂直方向の一方においてブロックの分割が不可能な場合に、パーティション方向を示す第2パラメータの読み解きをスキップすることができる。つまり、ビットストリーム内で第2パラメータを省略することができ、ブロック分割方法に係る符号量を削減して圧縮効率を向上させることができる。
本態様を本開示における他の態様の少なくとも一部と組み合わせて実施してもよい。また、本態様のフローチャートに記載の一部の処理、装置の一部の構成、シンタックスの一部などを他の態様と組み合わせて実施してもよい。
(実施の形態4)
以上の各実施の形態において、機能ブロックの各々は、通常、MPU及びメモリ等によって実現可能である。また、機能ブロックの各々による処理は、通常、プロセッサなどのプログラム実行部が、ROM等の記録媒体に記録されたソフトウェア(プログラム)を読み出して実行することで実現される。当該ソフトウェアはダウンロード等により配布されてもよいし、半導体メモリなどの記録媒体に記録して配布されてもよい。なお、各機能ブロックをハードウェア(専用回路)によって実現することも、当然、可能である。
以上の各実施の形態において、機能ブロックの各々は、通常、MPU及びメモリ等によって実現可能である。また、機能ブロックの各々による処理は、通常、プロセッサなどのプログラム実行部が、ROM等の記録媒体に記録されたソフトウェア(プログラム)を読み出して実行することで実現される。当該ソフトウェアはダウンロード等により配布されてもよいし、半導体メモリなどの記録媒体に記録して配布されてもよい。なお、各機能ブロックをハードウェア(専用回路)によって実現することも、当然、可能である。
また、各実施の形態において説明した処理は、単一の装置(システム)を用いて集中処理することによって実現してもよく、又は、複数の装置を用いて分散処理することによって実現してもよい。また、上記プログラムを実行するプロセッサは、単数であってもよく、複数であってもよい。すなわち、集中処理を行ってもよく、又は分散処理を行ってもよい。
本開示の態様は、以上の実施例に限定されることなく、種々の変更が可能であり、それらも本開示の態様の範囲内に包含される。
さらにここで、上記各実施の形態で示した動画像符号化方法(画像符号化方法)又は動画像復号化方法(画像復号方法)の応用例とそれを用いたシステムを説明する。当該システムは、画像符号化方法を用いた画像符号化装置、画像復号方法を用いた画像復号装置、及び両方を備える画像符号化復号装置を有することを特徴とする。システムにおける他の構成について、場合に応じて適切に変更することができる。
[使用例]
図33は、コンテンツ配信サービスを実現するコンテンツ供給システムex100の全体構成を示す図である。通信サービスの提供エリアを所望の大きさに分割し、各セル内にそれぞれ固定無線局である基地局ex106、ex107、ex108、ex109、ex110が設置されている。
図33は、コンテンツ配信サービスを実現するコンテンツ供給システムex100の全体構成を示す図である。通信サービスの提供エリアを所望の大きさに分割し、各セル内にそれぞれ固定無線局である基地局ex106、ex107、ex108、ex109、ex110が設置されている。
このコンテンツ供給システムex100では、インターネットex101に、インターネットサービスプロバイダex102又は通信網ex104、及び基地局ex106~ex110を介して、コンピュータex111、ゲーム機ex112、カメラex113、家電ex114、及びスマートフォンex115などの各機器が接続される。当該コンテンツ供給システムex100は、上記のいずれかの要素を組合せて接続するようにしてもよい。固定無線局である基地局ex106~ex110を介さずに、各機器が電話網又は近距離無線等を介して直接的又は間接的に相互に接続されていてもよい。また、ストリーミングサーバex103は、インターネットex101等を介して、コンピュータex111、ゲーム機ex112、カメラex113、家電ex114、及びスマートフォンex115などの各機器と接続される。また、ストリーミングサーバex103は、衛星ex116を介して、飛行機ex117内のホットスポット内の端末等と接続される。
なお、基地局ex106~ex110の代わりに、無線アクセスポイント又はホットスポット等が用いられてもよい。また、ストリーミングサーバex103は、インターネットex101又はインターネットサービスプロバイダex102を介さずに直接通信網ex104と接続されてもよいし、衛星ex116を介さず直接飛行機ex117と接続されてもよい。
カメラex113はデジタルカメラ等の静止画撮影、及び動画撮影が可能な機器である。また、スマートフォンex115は、一般に2G、3G、3.9G、4G、そして今後は5Gと呼ばれる移動通信システムの方式に対応したスマートフォン機、携帯電話機、又はPHS(Personal Handyphone System)等である。
家電ex118は、冷蔵庫、又は家庭用燃料電池コージェネレーションシステムに含まれる機器等である。
コンテンツ供給システムex100では、撮影機能を有する端末が基地局ex106等を通じてストリーミングサーバex103に接続されることで、ライブ配信等が可能になる。ライブ配信では、端末(コンピュータex111、ゲーム機ex112、カメラex113、家電ex114、スマートフォンex115、及び飛行機ex117内の端末等)は、ユーザが当該端末を用いて撮影した静止画又は動画コンテンツに対して上記各実施の形態で説明した符号化処理を行い、符号化により得られた映像データと、映像に対応する音を符号化した音データと多重化し、得られたデータをストリーミングサーバex103に送信する。即ち、各端末は、本開示の一態様に係る画像符号化装置として機能する。
一方、ストリーミングサーバex103は要求のあったクライアントに対して送信されたコンテンツデータをストリーム配信する。クライアントは、上記符号化処理されたデータを復号化することが可能な、コンピュータex111、ゲーム機ex112、カメラex113、家電ex114、スマートフォンex115、又は飛行機ex117内の端末等である。配信されたデータを受信した各機器は、受信したデータを復号化処理して再生する。即ち、各機器は、本開示の一態様に係る画像復号装置として機能する。
[分散処理]
また、ストリーミングサーバex103は複数のサーバ又は複数のコンピュータであって、データを分散して処理したり記録したり配信するものであってもよい。例えば、ストリーミングサーバex103は、CDN(Contents Delivery Network)により実現され、世界中に分散された多数のエッジサーバとエッジサーバ間をつなぐネットワークによりコンテンツ配信が実現されていてもよい。CDNでは、クライアントに応じて物理的に近いエッジサーバが動的に割り当てられる。そして、当該エッジサーバにコンテンツがキャッシュ及び配信されることで遅延を減らすことができる。また、何らかのエラーが発生した場合又はトラフィックの増加などにより通信状態が変わる場合に複数のエッジサーバで処理を分散したり、他のエッジサーバに配信主体を切り替えたり、障害が生じたネットワークの部分を迂回して配信を続けることができるので、高速かつ安定した配信が実現できる。
また、ストリーミングサーバex103は複数のサーバ又は複数のコンピュータであって、データを分散して処理したり記録したり配信するものであってもよい。例えば、ストリーミングサーバex103は、CDN(Contents Delivery Network)により実現され、世界中に分散された多数のエッジサーバとエッジサーバ間をつなぐネットワークによりコンテンツ配信が実現されていてもよい。CDNでは、クライアントに応じて物理的に近いエッジサーバが動的に割り当てられる。そして、当該エッジサーバにコンテンツがキャッシュ及び配信されることで遅延を減らすことができる。また、何らかのエラーが発生した場合又はトラフィックの増加などにより通信状態が変わる場合に複数のエッジサーバで処理を分散したり、他のエッジサーバに配信主体を切り替えたり、障害が生じたネットワークの部分を迂回して配信を続けることができるので、高速かつ安定した配信が実現できる。
また、配信自体の分散処理にとどまらず、撮影したデータの符号化処理を各端末で行ってもよいし、サーバ側で行ってもよいし、互いに分担して行ってもよい。一例として、一般に符号化処理では、処理ループが2度行われる。1度目のループでフレーム又はシーン単位での画像の複雑さ、又は、符号量が検出される。また、2度目のループでは画質を維持して符号化効率を向上させる処理が行われる。例えば、端末が1度目の符号化処理を行い、コンテンツを受け取ったサーバ側が2度目の符号化処理を行うことで、各端末での処理負荷を減らしつつもコンテンツの質と効率を向上させることができる。この場合、ほぼリアルタイムで受信して復号する要求があれば、端末が行った一度目の符号化済みデータを他の端末で受信して再生することもできるので、より柔軟なリアルタイム配信も可能になる。
他の例として、カメラex113等は、画像から特徴量抽出を行い、特徴量に関するデータをメタデータとして圧縮してサーバに送信する。サーバは、例えば特徴量からオブジェクトの重要性を判断して量子化精度を切り替えるなど、画像の意味に応じた圧縮を行う。特徴量データはサーバでの再度の圧縮時の動きベクトル予測の精度及び効率向上に特に有効である。また、端末でVLC(可変長符号化)などの簡易的な符号化を行い、サーバでCABAC(コンテキスト適応型二値算術符号化方式)など処理負荷の大きな符号化を行ってもよい。
さらに他の例として、スタジアム、ショッピングモール、又は工場などにおいては、複数の端末によりほぼ同一のシーンが撮影された複数の映像データが存在する場合がある。この場合には、撮影を行った複数の端末と、必要に応じて撮影をしていない他の端末及びサーバを用いて、例えばGOP(Group of Picture)単位、ピクチャ単位、又はピクチャを分割したタイル単位などで符号化処理をそれぞれ割り当てて分散処理を行う。これにより、遅延を減らし、よりリアルタイム性を実現できる。
また、複数の映像データはほぼ同一シーンであるため、各端末で撮影された映像データを互いに参照し合えるように、サーバで管理及び/又は指示をしてもよい。または、各端末からの符号化済みデータを、サーバが受信し複数のデータ間で参照関係を変更、又はピクチャ自体を補正或いは差し替えて符号化しなおしてもよい。これにより、一つ一つのデータの質と効率を高めたストリームを生成できる。
また、サーバは、映像データの符号化方式を変更するトランスコードを行ったうえで映像データを配信してもよい。例えば、サーバは、MPEG系の符号化方式をVP系に変換してもよいし、H.264をH.265に変換してもよい。
このように、符号化処理は、端末、又は1以上のサーバにより行うことが可能である。よって、以下では、処理を行う主体として「サーバ」又は「端末」等の記載を用いるが、サーバで行われる処理の一部又は全てが端末で行われてもよいし、端末で行われる処理の一部又は全てがサーバで行われてもよい。また、これらに関しては、復号処理についても同様である。
[3D、マルチアングル]
近年では、互いにほぼ同期した複数のカメラex113及び/又はスマートフォンex115などの端末により撮影された異なるシーン、又は、同一シーンを異なるアングルから撮影した画像或いは映像を統合して利用することも増えてきている。各端末で撮影した映像は、別途取得した端末間の相対的な位置関係、又は、映像に含まれる特徴点が一致する領域などに基づいて統合される。
近年では、互いにほぼ同期した複数のカメラex113及び/又はスマートフォンex115などの端末により撮影された異なるシーン、又は、同一シーンを異なるアングルから撮影した画像或いは映像を統合して利用することも増えてきている。各端末で撮影した映像は、別途取得した端末間の相対的な位置関係、又は、映像に含まれる特徴点が一致する領域などに基づいて統合される。
サーバは、2次元の動画像を符号化するだけでなく、動画像のシーン解析などに基づいて自動的に、又は、ユーザが指定した時刻において、静止画を符号化し、受信端末に送信してもよい。サーバは、さらに、撮影端末間の相対的な位置関係を取得できる場合には、2次元の動画像だけでなく、同一シーンが異なるアングルから撮影された映像に基づき、当該シーンの3次元形状を生成できる。なお、サーバは、ポイントクラウドなどにより生成した3次元のデータを別途符号化してもよいし、3次元データを用いて人物又はオブジェクトを認識或いは追跡した結果に基づいて、受信端末に送信する映像を、複数の端末で撮影した映像から選択、又は、再構成して生成してもよい。
このようにして、ユーザは、各撮影端末に対応する各映像を任意に選択してシーンを楽しむこともできるし、複数画像又は映像を用いて再構成された3次元データから任意視点の映像を切り出したコンテンツを楽しむこともできる。さらに、映像と同様に音も複数の相異なるアングルから収音され、サーバは、映像に合わせて特定のアングル又は空間からの音を映像と多重化して送信してもよい。
また、近年ではVirtual Reality(VR)及びAugmented Reality(AR)など、現実世界と仮想世界とを対応付けたコンテンツも普及してきている。VRの画像の場合、サーバは、右目用及び左目用の視点画像をそれぞれ作成し、Multi-View Coding(MVC)などにより各視点映像間で参照を許容する符号化を行ってもよいし、互いに参照せずに別ストリームとして符号化してもよい。別ストリームの復号時には、ユーザの視点に応じて仮想的な3次元空間が再現されるように互いに同期させて再生するとよい。
ARの画像の場合には、サーバは、現実空間のカメラ情報に、仮想空間上の仮想物体情報を、3次元的位置又はユーザの視点の動きに基づいて重畳する。復号装置は、仮想物体情報及び3次元データを取得又は保持し、ユーザの視点の動きに応じて2次元画像を生成し、スムーズにつなげることで重畳データを作成してもよい。または、復号装置は仮想物体情報の依頼に加えてユーザの視点の動きをサーバに送信し、サーバは、サーバに保持される3次元データから受信した視点の動きに合わせて重畳データを作成し、重畳データを符号化して復号装置に配信してもよい。なお、重畳データは、RGB以外に透過度を示すα値を有し、サーバは、3次元データから作成されたオブジェクト以外の部分のα値が0などに設定し、当該部分が透過する状態で、符号化してもよい。もしくは、サーバは、クロマキーのように所定の値のRGB値を背景に設定し、オブジェクト以外の部分は背景色にしたデータを生成してもよい。
同様に配信されたデータの復号処理はクライアントである各端末で行っても、サーバ側で行ってもよいし、互いに分担して行ってもよい。一例として、ある端末が、一旦サーバに受信リクエストを送り、そのリクエストに応じたコンテンツを他の端末で受信し復号処理を行い、ディスプレイを有する装置に復号済みの信号が送信されてもよい。通信可能な端末自体の性能によらず処理を分散して適切なコンテンツを選択することで画質のよいデータを再生することができる。また、他の例として大きなサイズの画像データをTV等で受信しつつ、鑑賞者の個人端末にピクチャが分割されたタイルなど一部の領域が復号されて表示されてもよい。これにより、全体像を共有化しつつ、自身の担当分野又はより詳細に確認したい領域を手元で確認することができる。
また今後は、屋内外にかかわらず近距離、中距離、又は長距離の無線通信が複数使用可能な状況下で、MPEG-DASHなどの配信システム規格を利用して、接続中の通信に対して適切なデータを切り替えながらシームレスにコンテンツを受信することが予想される。これにより、ユーザは、自身の端末のみならず屋内外に設置されたディスプレイなどの復号装置又は表示装置を自由に選択しながらリアルタイムで切り替えられる。また、自身の位置情報などに基づいて、復号する端末及び表示する端末を切り替えながら復号を行うことができる。これにより、目的地への移動中に、表示可能なデバイスが埋め込まれた隣の建物の壁面又は地面の一部に地図情報を表示させながら移動することも可能になる。また、符号化データが受信端末から短時間でアクセスできるサーバにキャッシュされている、又は、コンテンツ・デリバリー・サービスにおけるエッジサーバにコピーされている、などの、ネットワーク上での符号化データへのアクセス容易性に基づいて、受信データのビットレートを切り替えることも可能である。
[スケーラブル符号化]
コンテンツの切り替えに関して、図34に示す、上記各実施の形態で示した動画像符号化方法を応用して圧縮符号化されたスケーラブルなストリームを用いて説明する。サーバは、個別のストリームとして内容は同じで質の異なるストリームを複数有していても構わないが、図示するようにレイヤに分けて符号化を行うことで実現される時間的/空間的スケーラブルなストリームの特徴を活かして、コンテンツを切り替える構成であってもよい。つまり、復号側が性能という内的要因と通信帯域の状態などの外的要因とに応じてどのレイヤまで復号するかを決定することで、復号側は、低解像度のコンテンツと高解像度のコンテンツとを自由に切り替えて復号できる。例えば移動中にスマートフォンex115で視聴していた映像の続きを、帰宅後にインターネットTV等の機器で視聴したい場合には、当該機器は、同じストリームを異なるレイヤまで復号すればよいので、サーバ側の負担を軽減できる。
コンテンツの切り替えに関して、図34に示す、上記各実施の形態で示した動画像符号化方法を応用して圧縮符号化されたスケーラブルなストリームを用いて説明する。サーバは、個別のストリームとして内容は同じで質の異なるストリームを複数有していても構わないが、図示するようにレイヤに分けて符号化を行うことで実現される時間的/空間的スケーラブルなストリームの特徴を活かして、コンテンツを切り替える構成であってもよい。つまり、復号側が性能という内的要因と通信帯域の状態などの外的要因とに応じてどのレイヤまで復号するかを決定することで、復号側は、低解像度のコンテンツと高解像度のコンテンツとを自由に切り替えて復号できる。例えば移動中にスマートフォンex115で視聴していた映像の続きを、帰宅後にインターネットTV等の機器で視聴したい場合には、当該機器は、同じストリームを異なるレイヤまで復号すればよいので、サーバ側の負担を軽減できる。
さらに、上記のように、レイヤ毎にピクチャが符号化されており、ベースレイヤの上位にエンハンスメントレイヤが存在するスケーラビリティを実現する構成以外に、エンハンスメントレイヤが画像の統計情報などに基づくメタ情報を含み、復号側が、メタ情報に基づきベースレイヤのピクチャを超解像することで高画質化したコンテンツを生成してもよい。超解像とは、同一解像度におけるSN比の向上、及び、解像度の拡大のいずれであってもよい。メタ情報は、超解像処理に用いる線形或いは非線形のフィルタ係数を特定するため情報、又は、超解像処理に用いるフィルタ処理、機械学習或いは最小2乗演算におけるパラメータ値を特定する情報などを含む。
または、画像内のオブジェクトなどの意味合いに応じてピクチャがタイル等に分割されており、復号側が、復号するタイルを選択することで一部の領域だけを復号する構成であってもよい。また、オブジェクトの属性(人物、車、ボールなど)と映像内の位置(同一画像における座標位置など)とをメタ情報として格納することで、復号側は、メタ情報に基づいて所望のオブジェクトの位置を特定し、そのオブジェクトを含むタイルを決定できる。例えば、図35に示すように、メタ情報は、HEVCにおけるSEIメッセージなど画素データとは異なるデータ格納構造を用いて格納される。このメタ情報は、例えば、メインオブジェクトの位置、サイズ、又は色彩などを示す。
また、ストリーム、シーケンス又はランダムアクセス単位など、複数のピクチャから構成される単位でメタ情報が格納されてもよい。これにより、復号側は、特定人物が映像内に出現する時刻などが取得でき、ピクチャ単位の情報と合わせることで、オブジェクトが存在するピクチャ、及び、ピクチャ内でのオブジェクトの位置を特定できる。
[Webページの最適化]
図36は、コンピュータex111等におけるwebページの表示画面例を示す図である。図37は、スマートフォンex115等におけるwebページの表示画面例を示す図である。図36及び図37に示すようにwebページが、画像コンテンツへのリンクであるリンク画像を複数含む場合があり、閲覧するデバイスによってその見え方は異なる。画面上に複数のリンク画像が見える場合には、ユーザが明示的にリンク画像を選択するまで、又は画面の中央付近にリンク画像が近付く或いはリンク画像の全体が画面内に入るまでは、表示装置(復号装置)は、リンク画像として各コンテンツが有する静止画又はIピクチャを表示したり、複数の静止画又はIピクチャ等でgifアニメのような映像を表示したり、ベースレイヤのみ受信して映像を復号及び表示したりする。
図36は、コンピュータex111等におけるwebページの表示画面例を示す図である。図37は、スマートフォンex115等におけるwebページの表示画面例を示す図である。図36及び図37に示すようにwebページが、画像コンテンツへのリンクであるリンク画像を複数含む場合があり、閲覧するデバイスによってその見え方は異なる。画面上に複数のリンク画像が見える場合には、ユーザが明示的にリンク画像を選択するまで、又は画面の中央付近にリンク画像が近付く或いはリンク画像の全体が画面内に入るまでは、表示装置(復号装置)は、リンク画像として各コンテンツが有する静止画又はIピクチャを表示したり、複数の静止画又はIピクチャ等でgifアニメのような映像を表示したり、ベースレイヤのみ受信して映像を復号及び表示したりする。
ユーザによりリンク画像が選択された場合、表示装置は、ベースレイヤを最優先にして復号する。なお、webページを構成するHTMLにスケーラブルなコンテンツであることを示す情報があれば、表示装置は、エンハンスメントレイヤまで復号してもよい。また、リアルタイム性を担保するために、選択される前又は通信帯域が非常に厳しい場合には、表示装置は、前方参照のピクチャ(Iピクチャ、Pピクチャ、前方参照のみのBピクチャ)のみを復号及び表示することで、先頭ピクチャの復号時刻と表示時刻との間の遅延(コンテンツの復号開始から表示開始までの遅延)を低減できる。また、表示装置は、ピクチャの参照関係を敢えて無視して全てのBピクチャ及びPピクチャを前方参照にして粗く復号し、時間が経ち受信したピクチャが増えるにつれて正常の復号を行ってもよい。
[自動走行]
また、車の自動走行又は走行支援のため2次元又は3次元の地図情報などの静止画又は映像データを送受信する場合、受信端末は、1以上のレイヤに属する画像データに加えて、メタ情報として天候又は工事の情報なども受信し、これらを対応付けて復号してもよい。なお、メタ情報は、レイヤに属してもよいし、単に画像データと多重化されてもよい。
また、車の自動走行又は走行支援のため2次元又は3次元の地図情報などの静止画又は映像データを送受信する場合、受信端末は、1以上のレイヤに属する画像データに加えて、メタ情報として天候又は工事の情報なども受信し、これらを対応付けて復号してもよい。なお、メタ情報は、レイヤに属してもよいし、単に画像データと多重化されてもよい。
この場合、受信端末を含む車、ドローン又は飛行機などが移動するため、受信端末は、当該受信端末の位置情報を受信要求時に送信することで、基地局ex106~ex110を切り替えながらシームレスな受信及び復号を実現できる。また、受信端末は、ユーザの選択、ユーザの状況又は通信帯域の状態に応じて、メタ情報をどの程度受信するか、又は地図情報をどの程度更新していくかを動的に切り替えることが可能になる。
以上のようにして、コンテンツ供給システムex100では、ユーザが送信した符号化された情報をリアルタイムでクライアントが受信して復号し、再生することができる。
[個人コンテンツの配信]
また、コンテンツ供給システムex100では、映像配信業者による高画質で長時間のコンテンツのみならず、個人による低画質で短時間のコンテンツのユニキャスト、又はマルチキャスト配信が可能である。また、このような個人のコンテンツは今後も増加していくと考えられる。個人コンテンツをより優れたコンテンツにするために、サーバは、編集処理を行ってから符号化処理を行ってもよい。これは例えば、以下のような構成で実現できる。
また、コンテンツ供給システムex100では、映像配信業者による高画質で長時間のコンテンツのみならず、個人による低画質で短時間のコンテンツのユニキャスト、又はマルチキャスト配信が可能である。また、このような個人のコンテンツは今後も増加していくと考えられる。個人コンテンツをより優れたコンテンツにするために、サーバは、編集処理を行ってから符号化処理を行ってもよい。これは例えば、以下のような構成で実現できる。
撮影時にリアルタイム又は蓄積して撮影後に、サーバは、原画又は符号化済みデータから撮影エラー、シーン探索、意味の解析、及びオブジェクト検出などの認識処理を行う。そして、サーバは、認識結果に基いて手動又は自動で、ピントずれ又は手ブレなどを補正したり、明度が他のピクチャに比べて低い又は焦点が合っていないシーンなどの重要性の低いシーンを削除したり、オブジェクトのエッジを強調したり、色合いを変化させるなどの編集を行う。サーバは、編集結果に基いて編集後のデータを符号化する。また撮影時刻が長すぎると視聴率が下がることも知られており、サーバは、撮影時間に応じて特定の時間範囲内のコンテンツになるように上記のように重要性が低いシーンのみならず動きが少ないシーンなどを、画像処理結果に基き自動でクリップしてもよい。または、サーバは、シーンの意味解析の結果に基づいてダイジェストを生成して符号化してもよい。
なお、個人コンテンツには、そのままでは著作権、著作者人格権、又は肖像権等の侵害となるものが写り込んでいるケースもあり、共有する範囲が意図した範囲を超えてしまうなど個人にとって不都合な場合もある。よって、例えば、サーバは、画面の周辺部の人の顔、又は家の中などを敢えて焦点が合わない画像に変更して符号化してもよい。また、サーバは、符号化対象画像内に、予め登録した人物とは異なる人物の顔が映っているかどうかを認識し、映っている場合には、顔の部分にモザイクをかけるなどの処理を行ってもよい。または、符号化の前処理又は後処理として、著作権などの観点からユーザが画像を加工したい人物又は背景領域を指定し、サーバは、指定された領域を別の映像に置き換える、又は焦点をぼかすなどの処理を行うことも可能である。人物であれば、動画像において人物をトラッキングしながら、顔の部分の映像を置き換えることができる。
また、データ量の小さい個人コンテンツの視聴はリアルタイム性の要求が強いため、帯域幅にもよるが、復号装置は、まずベースレイヤを最優先で受信して復号及び再生を行う。復号装置は、この間にエンハンスメントレイヤを受信し、再生がループされる場合など2回以上再生される場合に、エンハンスメントレイヤも含めて高画質の映像を再生してもよい。このようにスケーラブルな符号化が行われているストリームであれば、未選択時又は見始めた段階では粗い動画だが、徐々にストリームがスマートになり画像がよくなるような体験を提供することができる。スケーラブル符号化以外にも、1回目に再生される粗いストリームと、1回目の動画を参照して符号化される2回目のストリームとが1つのストリームとして構成されていても同様の体験を提供できる。
[その他の使用例]
また、これらの符号化又は復号処理は、一般的に各端末が有するLSIex500において処理される。LSIex500は、ワンチップであっても複数チップからなる構成であってもよい。なお、動画像符号化又は復号用のソフトウェアをコンピュータex111等で読み取り可能な何らかの記録メディア(CD-ROM、フレキシブルディスク、又はハードディスクなど)に組み込み、そのソフトウェアを用いて符号化又は復号処理を行ってもよい。さらに、スマートフォンex115がカメラ付きである場合には、そのカメラで取得した動画データを送信してもよい。このときの動画データはスマートフォンex115が有するLSIex500で符号化処理されたデータである。
また、これらの符号化又は復号処理は、一般的に各端末が有するLSIex500において処理される。LSIex500は、ワンチップであっても複数チップからなる構成であってもよい。なお、動画像符号化又は復号用のソフトウェアをコンピュータex111等で読み取り可能な何らかの記録メディア(CD-ROM、フレキシブルディスク、又はハードディスクなど)に組み込み、そのソフトウェアを用いて符号化又は復号処理を行ってもよい。さらに、スマートフォンex115がカメラ付きである場合には、そのカメラで取得した動画データを送信してもよい。このときの動画データはスマートフォンex115が有するLSIex500で符号化処理されたデータである。
なお、LSIex500は、アプリケーションソフトをダウンロードしてアクティベートする構成であってもよい。この場合、端末は、まず、当該端末がコンテンツの符号化方式に対応しているか、又は、特定サービスの実行能力を有するかを判定する。端末がコンテンツの符号化方式に対応していない場合、又は、特定サービスの実行能力を有さない場合、端末は、コーデック又はアプリケーションソフトをダウンロードし、その後、コンテンツ取得及び再生する。
また、インターネットex101を介したコンテンツ供給システムex100に限らず、デジタル放送用システムにも上記各実施の形態の少なくとも動画像符号化装置(画像符号化装置)又は動画像復号化装置(画像復号装置)のいずれかを組み込むことができる。衛星などを利用して放送用の電波に映像と音が多重化された多重化データを載せて送受信するため、コンテンツ供給システムex100のユニキャストがし易い構成に対してマルチキャスト向きであるという違いがあるが符号化処理及び復号処理に関しては同様の応用が可能である。
[ハードウェア構成]
図38は、スマートフォンex115を示す図である。また、図39は、スマートフォンex115の構成例を示す図である。スマートフォンex115は、基地局ex110との間で電波を送受信するためのアンテナex450と、映像及び静止画を撮ることが可能なカメラ部ex465と、カメラ部ex465で撮像した映像、及びアンテナex450で受信した映像等が復号されたデータを表示する表示部ex458とを備える。スマートフォンex115は、さらに、タッチパネル等である操作部ex466と、音声又は音響を出力するためのスピーカ等である音声出力部ex457と、音声を入力するためのマイク等である音声入力部ex456と、撮影した映像或いは静止画、録音した音声、受信した映像或いは静止画、メール等の符号化されたデータ、又は、復号化されたデータを保存可能なメモリ部ex467と、ユーザを特定し、ネットワークをはじめ各種データへのアクセスの認証をするためのSIMex468とのインタフェース部であるスロット部ex464とを備える。なお、メモリ部ex467の代わりに外付けメモリが用いられてもよい。
図38は、スマートフォンex115を示す図である。また、図39は、スマートフォンex115の構成例を示す図である。スマートフォンex115は、基地局ex110との間で電波を送受信するためのアンテナex450と、映像及び静止画を撮ることが可能なカメラ部ex465と、カメラ部ex465で撮像した映像、及びアンテナex450で受信した映像等が復号されたデータを表示する表示部ex458とを備える。スマートフォンex115は、さらに、タッチパネル等である操作部ex466と、音声又は音響を出力するためのスピーカ等である音声出力部ex457と、音声を入力するためのマイク等である音声入力部ex456と、撮影した映像或いは静止画、録音した音声、受信した映像或いは静止画、メール等の符号化されたデータ、又は、復号化されたデータを保存可能なメモリ部ex467と、ユーザを特定し、ネットワークをはじめ各種データへのアクセスの認証をするためのSIMex468とのインタフェース部であるスロット部ex464とを備える。なお、メモリ部ex467の代わりに外付けメモリが用いられてもよい。
また、表示部ex458及び操作部ex466等を統括的に制御する主制御部ex460と、電源回路部ex461、操作入力制御部ex462、映像信号処理部ex455、カメラインタフェース部ex463、ディスプレイ制御部ex459、変調/復調部ex452、多重/分離部ex453、音声信号処理部ex454、スロット部ex464、及びメモリ部ex467とがバスex470を介して接続されている。
電源回路部ex461は、ユーザの操作により電源キーがオン状態にされると、バッテリパックから各部に対して電力を供給することによりスマートフォンex115を動作可能な状態に起動する。
スマートフォンex115は、CPU、ROM及びRAM等を有する主制御部ex460の制御に基づいて、通話及データ通信等の処理を行う。通話時は、音声入力部ex456で収音した音声信号を音声信号処理部ex454でデジタル音声信号に変換し、これを変調/復調部ex452でスペクトラム拡散処理し、送信/受信部ex451でデジタルアナログ変換処理及び周波数変換処理を施した後にアンテナex450を介して送信する。また受信データを増幅して周波数変換処理及びアナログデジタル変換処理を施し、変調/復調部ex452でスペクトラム逆拡散処理し、音声信号処理部ex454でアナログ音声信号に変換した後、これを音声出力部ex457から出力する。データ通信モード時は、本体部の操作部ex466等の操作によってテキスト、静止画、又は映像データが操作入力制御部ex462を介して主制御部ex460に送出され、同様に送受信処理が行われる。データ通信モード時に映像、静止画、又は映像と音声を送信する場合、映像信号処理部ex455は、メモリ部ex467に保存されている映像信号又はカメラ部ex465から入力された映像信号を上記各実施の形態で示した動画像符号化方法によって圧縮符号化し、符号化された映像データを多重/分離部ex453に送出する。また、音声信号処理部ex454は、映像又は静止画等をカメラ部ex465で撮像中に音声入力部ex456で収音した音声信号を符号化し、符号化された音声データを多重/分離部ex453に送出する。多重/分離部ex453は、符号化済み映像データと符号化済み音声データを所定の方式で多重化し、変調/復調部(変調/復調回路部)ex452、及び送信/受信部ex451で変調処理及び変換処理を施してアンテナex450を介して送信する。
電子メール又はチャットに添付された映像、又はウェブページ等にリンクされた映像を受信した場合、アンテナex450を介して受信された多重化データを復号するために、多重/分離部ex453は、多重化データを分離することにより、多重化データを映像データのビットストリームと音声データのビットストリームとに分け、同期バスex470を介して符号化された映像データを映像信号処理部ex455に供給するとともに、符号化された音声データを音声信号処理部ex454に供給する。映像信号処理部ex455は、上記各実施の形態で示した動画像符号化方法に対応した動画像復号化方法によって映像信号を復号し、ディスプレイ制御部ex459を介して表示部ex458から、リンクされた動画像ファイルに含まれる映像又は静止画が表示される。また音声信号処理部ex454は、音声信号を復号し、音声出力部ex457から音声が出力される。なおリアルタイムストリーミングが普及しているため、ユーザの状況によっては音声の再生が社会的にふさわしくない場も起こりえる。そのため、初期値としては、音声信号は再生せず映像データのみを再生する構成の方が望ましい。ユーザが映像データをクリックするなど操作を行った場合にのみ音声を同期して再生してもよい。
またここではスマートフォンex115を例に説明したが、端末としては符号化器及び復号化器を両方持つ送受信型端末の他に、符号化器のみを有する送信端末、及び、復号化器のみを有する受信端末という3通りの実装形式が考えられる。さらに、デジタル放送用システムにおいて、映像データに音声データなどが多重化された多重化データを受信又は送信するとして説明したが、多重化データには、音声データ以外に映像に関連する文字データなどが多重化されてもよいし、多重化データではなく映像データ自体が受信又は送信されてもよい。
なお、CPUを含む主制御部ex460が符号化又は復号処理を制御するとして説明したが、端末はGPUを備えることも多い。よって、CPUとGPUで共通化されたメモリ、又は共通に使用できるようにアドレスが管理されているメモリにより、GPUの性能を活かして広い領域を一括して処理する構成でもよい。これにより符号化時間を短縮でき、リアルタイム性を確保し、低遅延を実現できる。特に動き探索、デブロックフィルタ、SAO(Sample Adaptive Offset)、及び変換・量子化の処理を、CPUではなく、GPUでピクチャなどの単位で一括して行うと効率的である。
マルチメディアデータの符号化/復号、特にブロック符号化/復号を用いる画像及び映像符号化/復号装置に用いることができる。
100 符号化装置
102 分割部
104 減算部
106、5001 変換部
108、5002 量子化部
110、5009 エントロピー符号化部
112、5003、6002 逆量子化部
114、5004、6003 逆変換部
116 加算部
118、5005、6004 ブロックメモリ
120 ループフィルタ部
122、5006、6005 フレームメモリ
124、5007、6006 イントラ予測部
126、5008、6007 インター予測部
128 予測制御部
200 復号装置
202、6001 エントロピー復号部
204 逆量子化部
206 逆変換部
208 加算部
210 ブロックメモリ
212 ループフィルタ部
214 フレームメモリ
216 イントラ予測部
218 インター予測部
220 予測制御部
5000 映像符号化装置
5010、6008 ブロック分割決定部
6000 映像復号装置
102 分割部
104 減算部
106、5001 変換部
108、5002 量子化部
110、5009 エントロピー符号化部
112、5003、6002 逆量子化部
114、5004、6003 逆変換部
116 加算部
118、5005、6004 ブロックメモリ
120 ループフィルタ部
122、5006、6005 フレームメモリ
124、5007、6006 イントラ予測部
126、5008、6007 インター予測部
128 予測制御部
200 復号装置
202、6001 エントロピー復号部
204 逆量子化部
206 逆変換部
208 加算部
210 ブロックメモリ
212 ループフィルタ部
214 フレームメモリ
216 イントラ予測部
218 インター予測部
220 予測制御部
5000 映像符号化装置
5010、6008 ブロック分割決定部
6000 映像復号装置
Claims (2)
- 回路と、
前記回路に結合されたメモリと、を備え、
前記回路は、動作において、
第1パーティションモードを用いて、ピクチャのブロックを複数のサブブロックに第1方向に分割し、
前記複数のサブブロックを符号化し、
前記第1パーティションモードを用いた前記ブロックの分割では、ビットストリームに書き込むパーティションモードに関するパラメータに基づいて、
前記ブロックのサイズがNx2N画素であり、前記第1方向が2N画素に沿っており、Nが整数である場合、N/4x2N画素サイズの少なくとも1つのサブブロックを含む複数のサブブロックへの前記ブロックの分割を選択し、N/2x2N画素サイズの2つのサブブロックへの前記ブロックの分割を選択せず、
前記ブロックのサイズが2NxN画素であり、前記第1方向が2N画素に沿っており、Nが整数である場合、2NxN/4画素サイズの少なくとも1つのサブブロックを含む複数のサブブロックへの前記ブロックの分割を選択し、2NxN/2画素サイズの2つのサブブロックへの前記ブロックの分割を選択せず、
前記パーティションモードに関するパラメータを含むビットストリームを送信する、
ビットストリーム送信装置。 - 第1パーティションモードを用いて、ピクチャのブロックを複数のサブブロックに第1方向に分割し、
前記複数のサブブロックを符号化し、
前記第1パーティションモードを用いた前記ブロックの分割では、ビットストリームに書き込むパーティションモードに関するパラメータに基づいて、
前記ブロックのサイズがNx2N画素であり、前記第1方向が2N画素に沿っており、Nが整数である場合、N/4x2N画素サイズの少なくとも1つのサブブロックを含む複数のサブブロックへの前記ブロックの分割を選択し、N/2x2N画素サイズの2つのサブブロックへの前記ブロックの分割を選択せず、
前記ブロックのサイズが2NxN画素であり、前記第1方向が2N画素に沿っており、Nが整数である場合、2NxN/4画素サイズの少なくとも1つのサブブロックを含む複数のサブブロックへの前記ブロックの分割を選択し、2NxN/2画素サイズの2つのサブブロックへの前記ブロックの分割を選択せず、
前記パーティションモードに関するパラメータを含むビットストリームを送信する、
ビットストリーム送信方法。
Priority Applications (2)
| Application Number | Priority Date | Filing Date | Title |
|---|---|---|---|
| JP2024176465A JP7738144B2 (ja) | 2017-03-31 | 2024-10-08 | 画像符号化装置、符号化方法、画像復号装置、復号方法、ビットストリーム送信装置及びビットストリーム送信方法 |
| JP2025144765A JP2025172127A (ja) | 2017-03-31 | 2025-09-01 | 画像符号化装置、符号化方法、画像復号装置、復号方法、ビットストリーム送信装置及びビットストリーム送信方法 |
Applications Claiming Priority (4)
| Application Number | Priority Date | Filing Date | Title |
|---|---|---|---|
| US201762479586P | 2017-03-31 | 2017-03-31 | |
| US62/479,586 | 2017-03-31 | ||
| JP2021016377A JP7086240B2 (ja) | 2017-03-31 | 2021-02-04 | 画像復号装置及び復号方法 |
| JP2022091977A JP7423691B2 (ja) | 2017-03-31 | 2022-06-07 | 画像符号化装置及び符号化方法 |
Related Parent Applications (1)
| Application Number | Title | Priority Date | Filing Date |
|---|---|---|---|
| JP2022091977A Division JP7423691B2 (ja) | 2017-03-31 | 2022-06-07 | 画像符号化装置及び符号化方法 |
Related Child Applications (1)
| Application Number | Title | Priority Date | Filing Date |
|---|---|---|---|
| JP2024176465A Division JP7738144B2 (ja) | 2017-03-31 | 2024-10-08 | 画像符号化装置、符号化方法、画像復号装置、復号方法、ビットストリーム送信装置及びビットストリーム送信方法 |
Publications (2)
| Publication Number | Publication Date |
|---|---|
| JP2024026819A JP2024026819A (ja) | 2024-02-28 |
| JP7570544B2 true JP7570544B2 (ja) | 2024-10-21 |
Family
ID=63675969
Family Applications (6)
| Application Number | Title | Priority Date | Filing Date |
|---|---|---|---|
| JP2019509958A Active JP6858248B2 (ja) | 2017-03-31 | 2018-03-28 | 画像復号装置及び復号方法 |
| JP2021016377A Active JP7086240B2 (ja) | 2017-03-31 | 2021-02-04 | 画像復号装置及び復号方法 |
| JP2022091977A Active JP7423691B2 (ja) | 2017-03-31 | 2022-06-07 | 画像符号化装置及び符号化方法 |
| JP2024005368A Active JP7570544B2 (ja) | 2017-03-31 | 2024-01-17 | ビットストリーム送信装置及びビットストリーム送信方法 |
| JP2024176465A Active JP7738144B2 (ja) | 2017-03-31 | 2024-10-08 | 画像符号化装置、符号化方法、画像復号装置、復号方法、ビットストリーム送信装置及びビットストリーム送信方法 |
| JP2025144765A Pending JP2025172127A (ja) | 2017-03-31 | 2025-09-01 | 画像符号化装置、符号化方法、画像復号装置、復号方法、ビットストリーム送信装置及びビットストリーム送信方法 |
Family Applications Before (3)
| Application Number | Title | Priority Date | Filing Date |
|---|---|---|---|
| JP2019509958A Active JP6858248B2 (ja) | 2017-03-31 | 2018-03-28 | 画像復号装置及び復号方法 |
| JP2021016377A Active JP7086240B2 (ja) | 2017-03-31 | 2021-02-04 | 画像復号装置及び復号方法 |
| JP2022091977A Active JP7423691B2 (ja) | 2017-03-31 | 2022-06-07 | 画像符号化装置及び符号化方法 |
Family Applications After (2)
| Application Number | Title | Priority Date | Filing Date |
|---|---|---|---|
| JP2024176465A Active JP7738144B2 (ja) | 2017-03-31 | 2024-10-08 | 画像符号化装置、符号化方法、画像復号装置、復号方法、ビットストリーム送信装置及びビットストリーム送信方法 |
| JP2025144765A Pending JP2025172127A (ja) | 2017-03-31 | 2025-09-01 | 画像符号化装置、符号化方法、画像復号装置、復号方法、ビットストリーム送信装置及びビットストリーム送信方法 |
Country Status (7)
| Country | Link |
|---|---|
| US (4) | US11368703B2 (ja) |
| EP (2) | EP3606072A4 (ja) |
| JP (6) | JP6858248B2 (ja) |
| KR (3) | KR102774043B1 (ja) |
| CN (6) | CN116828179A (ja) |
| TW (3) | TWI841500B (ja) |
| WO (1) | WO2018181448A1 (ja) |
Cited By (1)
| Publication number | Priority date | Publication date | Assignee | Title |
|---|---|---|---|---|
| JP2024180439A (ja) * | 2017-03-31 | 2024-12-26 | パナソニック インテレクチュアル プロパティ コーポレーション オブ アメリカ | 画像符号化装置、符号化方法、画像復号装置、復号方法、ビットストリーム送信装置及びビットストリーム送信方法 |
Families Citing this family (21)
| Publication number | Priority date | Publication date | Assignee | Title |
|---|---|---|---|---|
| EP4586613A3 (en) * | 2016-12-16 | 2025-09-10 | Sharp Kabushiki Kaisha | An image decoding apparatus and a computer-readable recording medium |
| WO2018221631A1 (ja) * | 2017-06-02 | 2018-12-06 | パナソニック インテレクチュアル プロパティ コーポレーション オブ アメリカ | 符号化装置、復号装置、符号化方法および復号方法 |
| WO2019151297A1 (ja) | 2018-01-30 | 2019-08-08 | パナソニック インテレクチュアル プロパティ コーポレーション オブ アメリカ | 符号化装置、復号装置、符号化方法及び復号方法 |
| CA3093204C (en) | 2018-03-05 | 2022-05-24 | Panasonic Intellectual Property Corporation Of America | Video coding in which a block is split into multiple sub-blocks in a first direction, whereby interior sub-blocks are prohibited from splitting in the first direction |
| WO2019172202A1 (ja) * | 2018-03-05 | 2019-09-12 | パナソニック インテレクチュアル プロパティ コーポレーション オブ アメリカ | 符号化装置及び符号化方法 |
| CN112154662B (zh) * | 2018-05-22 | 2022-05-10 | 松下电器(美国)知识产权公司 | 编码装置、解码装置、编码方法、解码方法及图片压缩程序 |
| KR20200001554A (ko) * | 2018-06-27 | 2020-01-06 | 한국전자통신연구원 | 영상 부호화/복호화 방법, 장치 및 비트스트림을 저장한 기록 매체 |
| CN112369034B (zh) * | 2018-07-02 | 2024-01-26 | 英迪股份有限公司 | 使用合并候选的视频编码方法和装置 |
| CN112368743A (zh) * | 2018-09-11 | 2021-02-12 | 松下电器(美国)知识产权公司 | 三维数据编码方法、三维数据解码方法、三维数据编码装置及三维数据解码装置 |
| KR102653562B1 (ko) | 2018-11-06 | 2024-04-02 | 베이징 바이트댄스 네트워크 테크놀로지 컴퍼니, 리미티드 | 위치에 따른 인트라 예측 |
| CN113170122B (zh) | 2018-12-01 | 2023-06-27 | 北京字节跳动网络技术有限公司 | 帧内预测的参数推导 |
| CN118764634A (zh) * | 2019-03-12 | 2024-10-11 | 现代自动车株式会社 | 用于有效地对残差块解码的方法和装置 |
| WO2020244658A1 (en) * | 2019-06-06 | 2020-12-10 | Beijing Bytedance Network Technology Co., Ltd. | Sub-block based intra block copy |
| JP7460661B2 (ja) | 2019-06-06 | 2024-04-02 | 北京字節跳動網絡技術有限公司 | 映像符号化のための動き候補リストの構成 |
| WO2020259426A1 (en) | 2019-06-22 | 2020-12-30 | Beijing Bytedance Network Technology Co., Ltd. | Motion candidate list construction for intra block copy mode |
| KR20220065758A (ko) | 2019-09-20 | 2022-05-20 | 베이징 바이트댄스 네트워크 테크놀로지 컴퍼니, 리미티드 | 코딩 블록의 스케일링 프로세스 |
| CN111031319B (zh) * | 2019-12-13 | 2022-04-19 | 浙江大华技术股份有限公司 | 一种局部光照补偿预测方法、终端设备及计算机存储介质 |
| EP4193593A1 (en) * | 2020-08-07 | 2023-06-14 | InterDigital VC Holdings France, SAS | Combining abt with vvc sub-block-based coding tools |
| US12301889B2 (en) | 2023-02-03 | 2025-05-13 | Tencent America LLC | Systems and methods for blending block sections in a partition-based prediction mode |
| US20240275965A1 (en) * | 2023-02-03 | 2024-08-15 | Tencent America LLC | Systems and methods for partition-based prediction mode reordering |
| WO2025149034A1 (en) * | 2024-01-10 | 2025-07-17 | Beijing Dajia Internet Information Technology Co., Ltd. | Methods and devices on geometric partitioning mode |
Citations (6)
| Publication number | Priority date | Publication date | Assignee | Title |
|---|---|---|---|---|
| WO2016091161A1 (en) | 2014-12-10 | 2016-06-16 | Mediatek Singapore Pte. Ltd. | Method of video coding using binary tree block partitioning |
| WO2017008678A1 (en) | 2015-07-15 | 2017-01-19 | Mediatek Singapore Pte. Ltd | Method of conditional binary tree block partitioning structure for video and image coding |
| WO2017090967A1 (ko) | 2015-11-24 | 2017-06-01 | 삼성전자 주식회사 | 부호화 순서 부호화 방법 및 그 장치, 복호화 방법 및 그 장치 |
| WO2017205704A1 (en) | 2016-05-25 | 2017-11-30 | Arris Enterprises Llc | General block partitioning method |
| WO2018065302A1 (en) | 2016-10-05 | 2018-04-12 | Thomson Licensing | Method and apparatus for binary-tree split mode coding |
| WO2018110600A1 (ja) | 2016-12-16 | 2018-06-21 | シャープ株式会社 | 画像復号装置、および画像符号化装置 |
Family Cites Families (20)
| Publication number | Priority date | Publication date | Assignee | Title |
|---|---|---|---|---|
| KR20100095992A (ko) * | 2009-02-23 | 2010-09-01 | 한국과학기술원 | 비디오 부호화에서의 분할 블록 부호화 방법, 비디오 복호화에서의 분할 블록 복호화 방법 및 이를 구현하는 기록매체 |
| US8879632B2 (en) * | 2010-02-18 | 2014-11-04 | Qualcomm Incorporated | Fixed point implementation for geometric motion partitioning |
| EP3962088B1 (en) * | 2010-11-04 | 2023-06-21 | GE Video Compression, LLC | Picture coding supporting block merging and skip mode |
| US9532058B2 (en) * | 2011-06-03 | 2016-12-27 | Qualcomm Incorporated | Intra prediction mode coding with directional partitions |
| US9787982B2 (en) * | 2011-09-12 | 2017-10-10 | Qualcomm Incorporated | Non-square transform units and prediction units in video coding |
| JP2013118424A (ja) * | 2011-11-04 | 2013-06-13 | Sharp Corp | 画像復号装置、画像符号化装置、および符号化データのデータ構造 |
| WO2013065431A1 (ja) * | 2011-11-04 | 2013-05-10 | シャープ株式会社 | 画像復号装置、画像復号方法および画像符号化装置 |
| CN107071434A (zh) * | 2011-11-08 | 2017-08-18 | 株式会社Kt | 对视频信号进行解码的方法 |
| US9883203B2 (en) * | 2011-11-18 | 2018-01-30 | Qualcomm Incorporated | Adaptive overlapped block motion compensation |
| WO2013082291A2 (en) * | 2011-11-29 | 2013-06-06 | Huawei Technologies Co., Ltd. | Unified partitioning structures and signaling methods for high efficiency video coding |
| US10805617B2 (en) * | 2012-01-19 | 2020-10-13 | Texas Instruments Incorporated | Scalable prediction type coding |
| US10009612B2 (en) * | 2012-04-12 | 2018-06-26 | Hfi Innovation Inc. | Method and apparatus for block partition of chroma subsampling formats |
| GB2501535A (en) * | 2012-04-26 | 2013-10-30 | Sony Corp | Chrominance Processing in High Efficiency Video Codecs |
| US10382795B2 (en) * | 2014-12-10 | 2019-08-13 | Mediatek Singapore Pte. Ltd. | Method of video coding using binary tree block partitioning |
| JP2016134852A (ja) * | 2015-01-21 | 2016-07-25 | キヤノン株式会社 | 符号化装置、符号化方法及びプログラム |
| WO2017069588A1 (ko) * | 2015-10-22 | 2017-04-27 | 엘지전자(주) | 영상의 부호화/복호화 방법 및 이를 위한 장치 |
| US10284845B2 (en) | 2016-05-25 | 2019-05-07 | Arris Enterprises Llc | JVET quadtree plus binary tree (QTBT) structure with multiple asymmetrical partitioning |
| MX384086B (es) * | 2016-05-25 | 2025-03-14 | Arris Entpr Llc | Particionamiento binario, ternario, cuaternario para jvet. |
| KR102774043B1 (ko) * | 2017-03-31 | 2025-02-27 | 파나소닉 인텔렉츄얼 프로퍼티 코포레이션 오브 아메리카 | 화상 부호화 장치, 화상 복호 장치, 화상 부호화 방법 및 화상 복호 방법 |
| CN116389732A (zh) | 2017-12-22 | 2023-07-04 | 数码士有限公司 | 视频信号处理方法和设备 |
-
2018
- 2018-03-28 KR KR1020237026865A patent/KR102774043B1/ko active Active
- 2018-03-28 CN CN202310779970.5A patent/CN116828179A/zh active Pending
- 2018-03-28 TW TW112140110A patent/TWI841500B/zh active
- 2018-03-28 WO PCT/JP2018/012690 patent/WO2018181448A1/ja not_active Ceased
- 2018-03-28 KR KR1020257005751A patent/KR20250030010A/ko active Pending
- 2018-03-28 JP JP2019509958A patent/JP6858248B2/ja active Active
- 2018-03-28 EP EP18775108.6A patent/EP3606072A4/en not_active Ceased
- 2018-03-28 CN CN202310777140.9A patent/CN116684601A/zh active Pending
- 2018-03-28 TW TW113114108A patent/TWI860960B/zh active
- 2018-03-28 CN CN202310777374.3A patent/CN116684602A/zh active Pending
- 2018-03-28 KR KR1020197028302A patent/KR102566332B1/ko active Active
- 2018-03-28 TW TW107110782A patent/TWI820019B/zh active
- 2018-03-28 CN CN202310778292.0A patent/CN116684604A/zh active Pending
- 2018-03-28 CN CN201880021386.0A patent/CN110463203B/zh active Active
- 2018-03-28 EP EP24207352.6A patent/EP4546786A3/en active Pending
- 2018-03-28 CN CN202310778281.2A patent/CN116684603A/zh active Pending
-
2019
- 2019-09-30 US US16/587,961 patent/US11368703B2/en active Active
-
2021
- 2021-02-04 JP JP2021016377A patent/JP7086240B2/ja active Active
-
2022
- 2022-05-12 US US17/743,348 patent/US11876992B2/en active Active
- 2022-06-07 JP JP2022091977A patent/JP7423691B2/ja active Active
-
2023
- 2023-11-15 US US18/510,430 patent/US12206882B2/en active Active
-
2024
- 2024-01-17 JP JP2024005368A patent/JP7570544B2/ja active Active
- 2024-10-08 JP JP2024176465A patent/JP7738144B2/ja active Active
- 2024-12-09 US US18/974,444 patent/US20250106424A1/en active Pending
-
2025
- 2025-09-01 JP JP2025144765A patent/JP2025172127A/ja active Pending
Patent Citations (6)
| Publication number | Priority date | Publication date | Assignee | Title |
|---|---|---|---|---|
| WO2016091161A1 (en) | 2014-12-10 | 2016-06-16 | Mediatek Singapore Pte. Ltd. | Method of video coding using binary tree block partitioning |
| WO2017008678A1 (en) | 2015-07-15 | 2017-01-19 | Mediatek Singapore Pte. Ltd | Method of conditional binary tree block partitioning structure for video and image coding |
| WO2017090967A1 (ko) | 2015-11-24 | 2017-06-01 | 삼성전자 주식회사 | 부호화 순서 부호화 방법 및 그 장치, 복호화 방법 및 그 장치 |
| WO2017205704A1 (en) | 2016-05-25 | 2017-11-30 | Arris Enterprises Llc | General block partitioning method |
| WO2018065302A1 (en) | 2016-10-05 | 2018-04-12 | Thomson Licensing | Method and apparatus for binary-tree split mode coding |
| WO2018110600A1 (ja) | 2016-12-16 | 2018-06-21 | シャープ株式会社 | 画像復号装置、および画像符号化装置 |
Non-Patent Citations (2)
| Title |
|---|
| F. Le Leannec, T. Poirier and F. Urban,Asymmetric Coding Units in QTBT,Joint Video Exploration Team (JVET) of ITU-T SG 16 WP 3 and ISO/IEC JTC 1/SC 29/WG 11,JVET-D0064-r1,4th Meeting: Chengdu, CN,2016年10月,pp.1-10 |
| Xiang Li, et al.,Multi-Type-Tree,Joint Video Exploration Team (JVET) of ITU-T SG 16 WP 3 and ISO/IEC JTC 1/SC 29/WG 11,JVET-D0117r1,4th Meeting: Chengdu, CN,2016年10月,pp.1-3 |
Cited By (1)
| Publication number | Priority date | Publication date | Assignee | Title |
|---|---|---|---|---|
| JP2024180439A (ja) * | 2017-03-31 | 2024-12-26 | パナソニック インテレクチュアル プロパティ コーポレーション オブ アメリカ | 画像符号化装置、符号化方法、画像復号装置、復号方法、ビットストリーム送信装置及びビットストリーム送信方法 |
Also Published As
Similar Documents
| Publication | Publication Date | Title |
|---|---|---|
| JP7570544B2 (ja) | ビットストリーム送信装置及びビットストリーム送信方法 | |
| JP7690097B2 (ja) | 符号化装置、復号装置及びビットストリーム生成装置 | |
| JP7568875B2 (ja) | 符号化装置、復号装置及び非一時的記憶媒体 | |
| JP7636482B2 (ja) | 符号化装置、復号装置、符号化方法及び復号方法 | |
| JP7650390B2 (ja) | 符号化装置、符号化方法、復号装置及び復号方法 | |
| JP7712431B2 (ja) | 符号化装置及び復号装置 | |
| JP7699703B2 (ja) | 符号化装置、復号装置、符号化方法、及び復号方法 | |
| JP7602599B2 (ja) | 画像符号化装置 | |
| JP7529872B2 (ja) | 符号化装置及び符号化方法 | |
| JP7681757B2 (ja) | 符号化装置及び復号装置 | |
| JP7535642B2 (ja) | 符号化装置、及び、符号化方法 | |
| JP7529740B2 (ja) | 復号装置及び符号化装置 | |
| JP7665687B2 (ja) | 符号化装置及び符号化方法 | |
| JP7681160B2 (ja) | 送信装置及び送信方法 | |
| JP7651044B2 (ja) | 送信装置、送信方法、送信プログラム及びそれを保存する非一時的記憶媒体 |
Legal Events
| Date | Code | Title | Description |
|---|---|---|---|
| A621 | Written request for application examination |
Free format text: JAPANESE INTERMEDIATE CODE: A621 Effective date: 20240117 |
|
| TRDD | Decision of grant or rejection written | ||
| A01 | Written decision to grant a patent or to grant a registration (utility model) |
Free format text: JAPANESE INTERMEDIATE CODE: A01 Effective date: 20240910 |
|
| A61 | First payment of annual fees (during grant procedure) |
Free format text: JAPANESE INTERMEDIATE CODE: A61 Effective date: 20241008 |
|
| R150 | Certificate of patent or registration of utility model |
Ref document number: 7570544 Country of ref document: JP Free format text: JAPANESE INTERMEDIATE CODE: R150 |
