JP7531832B2 - 遊技機 - Google Patents

遊技機 Download PDF

Info

Publication number
JP7531832B2
JP7531832B2 JP2020118041A JP2020118041A JP7531832B2 JP 7531832 B2 JP7531832 B2 JP 7531832B2 JP 2020118041 A JP2020118041 A JP 2020118041A JP 2020118041 A JP2020118041 A JP 2020118041A JP 7531832 B2 JP7531832 B2 JP 7531832B2
Authority
JP
Japan
Prior art keywords
performance
unit
display
game
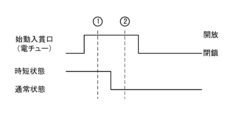
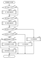
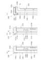
diagram showing
Prior art date
Legal status (The legal status is an assumption and is not a legal conclusion. Google has not performed a legal analysis and makes no representation as to the accuracy of the status listed.)
Active
Application number
JP2020118041A
Other languages
English (en)
Japanese (ja)
Other versions
JP2022015308A5 (enExample
JP2022015308A (ja
Inventor
高明 市原
渉 坂根
Current Assignee (The listed assignees may be inaccurate. Google has not performed a legal analysis and makes no representation or warranty as to the accuracy of the list.)
Daiichi Co Ltd
Original Assignee
Daiichi Shokai Co Ltd
Priority date (The priority date is an assumption and is not a legal conclusion. Google has not performed a legal analysis and makes no representation as to the accuracy of the date listed.)
Filing date
Publication date
Application filed by Daiichi Shokai Co Ltd filed Critical Daiichi Shokai Co Ltd
Priority to JP2020118041A priority Critical patent/JP7531832B2/ja
Publication of JP2022015308A publication Critical patent/JP2022015308A/ja
Publication of JP2022015308A5 publication Critical patent/JP2022015308A5/ja
Application granted granted Critical
Publication of JP7531832B2 publication Critical patent/JP7531832B2/ja
Active legal-status Critical Current
Anticipated expiration legal-status Critical

Links

Images

Landscapes

  • Display Devices Of Pinball Game Machines (AREA)
  • Game Rules And Presentations Of Slot Machines (AREA)
JP2020118041A 2020-07-08 2020-07-08 遊技機 Active JP7531832B2 (ja)

Priority Applications (1)

Application Number Priority Date Filing Date Title
JP2020118041A JP7531832B2 (ja) 2020-07-08 2020-07-08 遊技機

Applications Claiming Priority (1)

Application Number Priority Date Filing Date Title
JP2020118041A JP7531832B2 (ja) 2020-07-08 2020-07-08 遊技機

Publications (3)

Publication Number Publication Date
JP2022015308A JP2022015308A (ja) 2022-01-21
JP2022015308A5 JP2022015308A5 (enExample) 2024-02-28
JP7531832B2 true JP7531832B2 (ja) 2024-08-13

Family

ID=80120722

Family Applications (1)

Application Number Title Priority Date Filing Date
JP2020118041A Active JP7531832B2 (ja) 2020-07-08 2020-07-08 遊技機

Country Status (1)

Country Link
JP (1) JP7531832B2 (enExample)

Citations (4)

* Cited by examiner, † Cited by third party
Publication number Priority date Publication date Assignee Title
JP2013226406A (ja) 2012-03-30 2013-11-07 Takao Co Ltd 弾球遊技機
JP2017184873A (ja) 2016-04-01 2017-10-12 株式会社三共 遊技機
JP2017189197A (ja) 2016-04-11 2017-10-19 京楽産業.株式会社 遊技機
JP7009421B2 (ja) 2019-06-14 2022-01-25 株式会社大一商会 遊技機

Patent Citations (4)

* Cited by examiner, † Cited by third party
Publication number Priority date Publication date Assignee Title
JP2013226406A (ja) 2012-03-30 2013-11-07 Takao Co Ltd 弾球遊技機
JP2017184873A (ja) 2016-04-01 2017-10-12 株式会社三共 遊技機
JP2017189197A (ja) 2016-04-11 2017-10-19 京楽産業.株式会社 遊技機
JP7009421B2 (ja) 2019-06-14 2022-01-25 株式会社大一商会 遊技機

Also Published As

Publication number Publication date
JP2022015308A (ja) 2022-01-21

Similar Documents

Publication Publication Date Title
JP7591232B2 (ja) 遊技機
JP7592268B2 (ja) 遊技機
JP7591235B2 (ja) 遊技機
JP7591233B2 (ja) 遊技機
JP7591234B2 (ja) 遊技機
JP7591236B2 (ja) 遊技機
JP7591237B2 (ja) 遊技機
JP7570624B2 (ja) 遊技機
JP7531828B2 (ja) 遊技機
JP7539672B2 (ja) 遊技機
JP7533904B2 (ja) 遊技機
JP7542242B2 (ja) 遊技機
JP7539673B2 (ja) 遊技機
JP7535334B2 (ja) 遊技機
JP7531826B2 (ja) 遊技機
JP7531827B2 (ja) 遊技機
JP7595890B2 (ja) 遊技機
JP7595891B2 (ja) 遊技機
JP7595892B2 (ja) 遊技機
JP7548527B2 (ja) 遊技機
JP7590742B2 (ja) 遊技機
JP7576291B2 (ja) 遊技機
JP7490274B2 (ja) 遊技機
JP7525896B2 (ja) 遊技機
JP7469782B2 (ja) 遊技機

Legal Events

Date Code Title Description
A621 Written request for application examination

Free format text: JAPANESE INTERMEDIATE CODE: A621

Effective date: 20230703

A521 Request for written amendment filed

Free format text: JAPANESE INTERMEDIATE CODE: A523

Effective date: 20231117

A521 Request for written amendment filed

Free format text: JAPANESE INTERMEDIATE CODE: A523

Effective date: 20240219

A977 Report on retrieval

Free format text: JAPANESE INTERMEDIATE CODE: A971007

Effective date: 20240313

A131 Notification of reasons for refusal

Free format text: JAPANESE INTERMEDIATE CODE: A131

Effective date: 20240328

A521 Request for written amendment filed

Free format text: JAPANESE INTERMEDIATE CODE: A523

Effective date: 20240520

TRDD Decision of grant or rejection written
A01 Written decision to grant a patent or to grant a registration (utility model)

Free format text: JAPANESE INTERMEDIATE CODE: A01

Effective date: 20240723

A61 First payment of annual fees (during grant procedure)

Free format text: JAPANESE INTERMEDIATE CODE: A61

Effective date: 20240723

R150 Certificate of patent or registration of utility model

Ref document number: 7531832

Country of ref document: JP

Free format text: JAPANESE INTERMEDIATE CODE: R150