JP7245331B2 - 香味吸引器および挿入ガイド部材 - Google Patents

香味吸引器および挿入ガイド部材 Download PDF

Info

Publication number
JP7245331B2
JP7245331B2 JP2021529583A JP2021529583A JP7245331B2 JP 7245331 B2 JP7245331 B2 JP 7245331B2 JP 2021529583 A JP2021529583 A JP 2021529583A JP 2021529583 A JP2021529583 A JP 2021529583A JP 7245331 B2 JP7245331 B2 JP 7245331B2
Authority
JP
Japan
Prior art keywords
flavor
generating article
peripheral surface
opening
inner peripheral
Prior art date
Legal status (The legal status is an assumption and is not a legal conclusion. Google has not performed a legal analysis and makes no representation as to the accuracy of the status listed.)
Active
Application number
JP2021529583A
Other languages
English (en)
Other versions
JPWO2021001908A1 (ja
Inventor
学 山田
康信 井上
干城 隅井
Current Assignee (The listed assignees may be inaccurate. Google has not performed a legal analysis and makes no representation or warranty as to the accuracy of the list.)
Japan Tobacco Inc
Original Assignee
Japan Tobacco Inc
Priority date (The priority date is an assumption and is not a legal conclusion. Google has not performed a legal analysis and makes no representation as to the accuracy of the date listed.)
Filing date
Publication date
Application filed by Japan Tobacco Inc filed Critical Japan Tobacco Inc
Publication of JPWO2021001908A1 publication Critical patent/JPWO2021001908A1/ja
Priority to JP2023037158A priority Critical patent/JP7561904B2/ja
Application granted granted Critical
Publication of JP7245331B2 publication Critical patent/JP7245331B2/ja
Priority to JP2024164767A priority patent/JP7742919B2/ja
Active legal-status Critical Current
Anticipated expiration legal-status Critical

Links

Images

Classifications

    • AHUMAN NECESSITIES
    • A24TOBACCO; CIGARS; CIGARETTES; SIMULATED SMOKING DEVICES; SMOKERS' REQUISITES
    • A24FSMOKERS' REQUISITES; MATCH BOXES; SIMULATED SMOKING DEVICES
    • A24F40/00Electrically operated smoking devices; Component parts thereof; Manufacture thereof; Maintenance or testing thereof; Charging means specially adapted therefor
    • A24F40/40Constructional details, e.g. connection of cartridges and battery parts
    • AHUMAN NECESSITIES
    • A24TOBACCO; CIGARS; CIGARETTES; SIMULATED SMOKING DEVICES; SMOKERS' REQUISITES
    • A24FSMOKERS' REQUISITES; MATCH BOXES; SIMULATED SMOKING DEVICES
    • A24F40/00Electrically operated smoking devices; Component parts thereof; Manufacture thereof; Maintenance or testing thereof; Charging means specially adapted therefor
    • A24F40/20Devices using solid inhalable precursors
    • AHUMAN NECESSITIES
    • A24TOBACCO; CIGARS; CIGARETTES; SIMULATED SMOKING DEVICES; SMOKERS' REQUISITES
    • A24FSMOKERS' REQUISITES; MATCH BOXES; SIMULATED SMOKING DEVICES
    • A24F40/00Electrically operated smoking devices; Component parts thereof; Manufacture thereof; Maintenance or testing thereof; Charging means specially adapted therefor
    • A24F40/40Constructional details, e.g. connection of cartridges and battery parts
    • A24F40/46Shape or structure of electric heating means

Description

本発明は、香味吸引器および挿入ガイド部材に関する。
従来、香味源を含有する基材の燃焼をすることなく香味を吸引するための香味吸引器が知られている。このような香味吸引器として、たばこレシーバ中に挿入されたたばこを摺動的に受ける加熱要素を備えた電気喫煙システムが知られている(例えば、特許文献1参照)。
特表2001-521123号公報
本発明の目的は、新たな構造を有する香味吸引器および挿入ガイド部材を提供することである。
本発明の一実施形態によれば、香味吸引器が提供される。この香味吸引器は、棒状の香味発生物品と一緒に使用されるものである。また、この香味吸引器は、香味発生物品を挿入可能な開口と、開口から挿入された香味発生物品の外周を取り囲む内周面と、内周面から突出して内周面の全周にわたって延在し、挿入された香味発生物品の外周面の全周にわたって香味発生物品と当接する環状の突出部と、を有する挿入ガイド部材を備え、突出部は、内周面の周方向において、挿入された香味発生物品の外周面と当接する香味発生物品の長手方向位置が変化する部分を含む。
本発明の他の一実施形態によれば、上記香味吸引器および挿入ガイド部材が提供される。
本実施形態に係る香味吸引器の全体斜視図である。 香味発生物品を保持した状態の本実施形態に係る香味吸引器の全体斜視図である。 香味発生物品の断面図である。 図1Aに示した矢視3-3における断面図である。 加熱部の断面図である。 挿入ガイド部材の断面図である。 挿入ガイド部材の斜視図である。 挿入ガイド部材の断面斜視図である。 挿入ガイド部材の断面斜視図である。 挿入ガイド部材の平面図である。 挿入ガイド部材の底面図である。 変形例1に係る突出部の斜視図である。 変形例1に係る内周面を模式的に示す断面図である。 変形例1に係る内周面を模式的に示す断面図である。 変形例2に係る突出部の斜視図である。 変形例2に係る内周面を模式的に示す断面図である。 変形例2に係る内周面を模式的に示す断面図である。 変形例3に係る突出部の斜視図である。 変形例3に係る内周面を模式的に示す断面図である。 変形例3に係る内周面を模式的に示す断面図である。 変形例4に係る突出部の斜視図である。 変形例4に係る内周面を模式的に示す断面図である。 変形例4に係る内周面を模式的に示す断面図である。 変形例5に係る突出部の斜視図である。 変形例5に係る内周面を模式的に示す断面図である。 変形例5に係る内周面を模式的に示す断面図である。 変形例6に係る突出部の斜視図である。 変形例6に係る内周面を模式的に示す断面図である。 変形例6に係る内周面を模式的に示す断面図である。 変形例7に係る突出部の斜視図である。 変形例7に係る内周面を模式的に示す断面図である。 変形例7に係る内周面を模式的に示す断面図である。
以下、本発明の実施形態について図面を参照して説明する。以下で説明する図面において、同一のまたは相当する構成要素には、同一の符号を付して重複した説明を省略する。本実施形態に係る香味吸引器は、棒状の香味発生物品と一緒に使用されるものである。
図1Aは、本実施形態に係る香味吸引器の全体斜視図である。図1Bは、香味発生物品を保持した状態の本実施形態に係る香味吸引器の全体斜視図である。本実施形態に係る香味吸引器10は、例えば、エアロゾル源を含んだ香味源を有する香味発生物品110を加熱することで、香味を含むエアロゾルを生成するように構成される。
図1Aおよび図1Bに示すように、香味吸引器10は、トップハウジング11Aと、ボトムハウジング11Bと、カバー12と、スイッチ13と、蓋部14と、第1通気口15と、キャップ16と、を有する。トップハウジング11Aとボトムハウジング11Bとは、互いに接続されることで、香味吸引器10の最外のアウタハウジング11を構成する。アウタハウジング11は、使用者の手に収まるようなサイズである。使用者が香味吸引器10を使用する際は、香味吸引器10を手で保持して、香味を吸引することができる。
トップハウジング11Aは、図示しない開口を有し、カバー12は、当該開口を閉じるようにトップハウジング11Aに結合される。図1Bに示すように、カバー12は、香味発生物品110を挿入可能な開口12aを有する。蓋部14は、カバー12の開口12aを開閉するように構成される。具体的には、蓋部14は、カバー12に取り付けられ、開口12aを閉鎖する第1位置と開口12aを開放する第2位置との間を、カバー12の表面に沿って移動可能に構成される。これにより、蓋部14は、香味吸引器10の内部(図4に示す挿入ガイド部材17の開口61)への香味発生物品110のアクセスを許可または制限することができる。
スイッチ13は、香味吸引器10の作動のオンとオフとを切り替えるために使用される。例えば、使用者は、図1Bに示すように香味発生物品110を開口12aに挿入した状態でスイッチ13を操作することで、図示しない加熱部材に図示しない電源から電力が供給され、香味発生物品110を燃焼させずに加熱することができる。香味発生物品110が加熱されると、香味発生物品110に含まれるエアロゾル源からエアロゾルが蒸発し、エアロゾルに香味源の香味が取り込まれる。使用者は、香味発生物品110の香味吸引器10から突出した部分(図1Bにおいて図示された部分)を吸引することで、香味を含んだエアロゾルを吸引することができる。
第1通気口15は、アウタハウジング11の内部空間に格納される、加熱アセンブリ41(図3参照)の内部に空気を導入するための通気口である。キャップ16は、ボトムハウジング11Bに着脱自在に構成されている。キャップ16がボトムハウジング11Bに取り付けられることで、ボトムハウジング11Bとキャップ16との間に第1通気口15が形成される。キャップ16は、例えば図示しない貫通孔または切欠き等を有し得る。なお、本明細書において、香味吸引器10の長手方向とは、香味発生物品110が開口12aに挿入される方向をいう。また、本明細書の香味吸引器10において、空気が流入する側(例えば、第1通気口15側)を上流側とし、空気が流出する側(例えば開口12a側)を下流側とする。
次に、本実施形態に係る香味吸引器10に使用される香味発生物品110の構成について説明する。図2は、香味発生物品110の断面図である。図2に示す実施形態においては、香味発生物品110は、充填物111と、充填物111を巻装する第1の巻紙112と、を含む基材部110Aと、基材部110Aとは反対側の端部を形成する吸口部110Bと、を有する。基材部110Aと吸口部110Bとは、第1の巻紙112とは異なる第2の巻紙113によって連結されている。ただし、第2の巻紙113を省略し、第1の巻紙112を用いて基材部110Aと吸口部110Bとを連結することもできる。
図2中の吸口部110Bは、紙管部114と、フィルタ部115と、紙管部114とフィルタ部115との間に配置された中空セグメント部116と、を有する。中空セグメント部116は、例えば、1つまたは複数の中空チャネルを有する充填層と、充填層を覆うプラグラッパーとで構成される。充填層は、繊維の充填密度が高いため、吸引時、空気やエアロゾルは、中空チャンネルのみを流れることになり、充填層内はほとんど流れない。香味発生物品110において、フィルタ部115でのエアロゾル成分の濾過による減少を少なくしたいときに、フィルタ部115の長さを短くして中空セグメント部116で置き換えることは、エアロゾルのデリバリ量を増大させるために有効である。
図2中の吸口部110Bは、3つのセグメントから構成されているが、本実施形態において、吸口部110Bは、1つまたは2つのセグメントから構成されていてもよいし、4つまたはそれ以上のセグメントから構成されていてもよい。例えば、中空セグメント部116を省略し、紙管部114とフィルタ部115とを互いに隣接配置して吸口部110Bを形成することもできる。
図2に示す実施形態において、香味発生物品110の長手方向の長さは、40mm~90mmであることが好ましく、50mm~75mmであることがより好ましく、50mm~60mmであることがさらに好ましい。香味発生物品110の円周は、15mm~25mmであることが好ましく、17mm~24mmであることがより好ましく、20mm~23mmであることがさらに好ましい。また、香味発生物品110における基材部110Aの長さは20mm、第1の巻紙112の長さは20mm、中空セグメント部116の長さは8mm、フィルタ部115の長さは7mmであってよいが、これら個々のセグメントの長さは、製造適性、要求品質等に応じて、適宜変更できる。
本実施形態において、香味発生物品110の充填物111は、所定温度で加熱されてエアロゾルを発生するエアロゾル源を含有し得る。エアロゾル源の種類は、特に限定されず、用途に応じて種々の天然物からの抽出物質および/またはそれらの構成成分を選択することができる。エアロゾル源として、例えば、グリセリン、プロピレングリコール、トリアセチン、1,3-ブタンジオール、およびこれらの混合物を挙げることができる。充填物111中のエアロゾル源の含有量は、特に限定されず、十分にエアロゾルを発生するとともに、良好な香喫味の付与の観点から、通常5重量%以上であり、好ましくは10重量%以上であり、また、通常50重量%以下であり、好ましくは20重量%以下である。
本実施形態における香味発生物品110の充填物111は、香味源としてたばこ刻みを含有し得る。たばこ刻みの材料は特に限定されず、ラミナや中骨等の公知のものを用いることができる。香味発生物品110における充填物111の含有量の範囲は、円周22mm、長さ20mmの場合、例えば、200mg~400mgであり、250mg~320mgであることが好ましい。充填物111の水分含有量は、例えば、8重量%~18重量%であり、10重量%~16重量%であることが好ましい。このような水分含有量であると、巻染みの発生を抑制し、基材部110Aの製造時の巻上適性を良好にする。充填物111として用いるたばこ刻みの大きさやその調製法については特に制限はない。例えば、乾燥したたばこ葉を、幅0.8mm~1.2mmに刻んだものを用いてもよい。また、乾燥したたばこ葉を平均粒径が20μm~200μm程度になるように粉砕して均一化したものをシート加工し、それを幅0.8mm~1.2mmに刻んだものを用いてもよい。さらに、上記のシート加工したものについて刻まずにギャザー加工したものを充填物111として用いてもよい。また、充填物111は、1種または2種以上の香料を含んでいてもよい。当該香料の種類は特に限定されないが、良好な喫味の付与の観点から、好ましくはメンソールである。
本実施形態において、香味発生物品110の第1の巻紙112および第2の巻紙113は、坪量が例えば20gsm~65gsmであり、好ましくは25gsm~45gsmである原紙から作られることができる。第1の巻紙112および第2の巻紙113の厚みは、特に限定されないが、剛性、通気性、および製紙時の調整の容易性の観点から、10μm~100μmであり、好ましくは20μm~75μmであり、より好ましくは30μm~50μmである。
本実施形態において、香味発生物品110の第1の巻紙112および第2の巻紙113には、填料が含まれ得る。填料の含有量は、第1の巻紙112および第2の巻紙113の全重量に対して10重量%~60重量%を挙げることができ、15重量%~45重量%であることが好ましい。本実施形態において、好ましい坪量の範囲(25gsm~45gsm)に対して、填料が15重量%~45重量%であることが好ましい。填料としては、例えば、炭酸カルシウム、二酸化チタン、カオリン等を使用することができる。このような填料を含む紙は、香味発生物品110の巻紙として利用する外観上の観点から好ましい白色系の明るい色を呈し、恒久的に白さを保つことができる。そのような填料を多く含有させることで、例えば、巻紙のISO白色度を83%以上にすることができる。また、香味発生物品110の巻紙として利用する実用上の観点から、第1の巻紙112および第2の巻紙113は、8N/15mm以上の引張強度を有することが好ましい。この引張強度は、填料の含有量を少なくすることで高めることができる。具体的には、上記で例示した各坪量の範囲において示した填料の含有量の上限よりも填料の含有量を少なくすることで、引張強度を高めることができる。
次に、図1Aおよび図1Bに示した香味吸引器10の内部構造について説明する。図3は、図1Aに示した矢視3-3における断面図である。図3に示すように、香味吸引器10は、アウタハウジング11およびインナハウジング18の内部空間に、電源部20と、回路部30と、加熱部40と、を有する。アウタハウジング11を構成するトップハウジング11Aおよびボトムハウジング11Bは、インナハウジング18を取り囲んで、インナハウジング18を内部空間に格納する。
回路部30は、互いに電気的に接続された第1回路基板31と、第2回路基板32と、第3回路基板33と、を有する。第1回路基板31は、例えば、図示のように矩形状の電源21の一面に隣接して長手方向に延びて配置される。第1回路基板31と加熱部40との間には、隔壁34が設けられており、これにより、電源部20と第1回路基板31とを収容する領域の少なくとも一部が区画される。隔壁34には、電源部20側の空間と加熱部40側の空間とを流体連通する切欠きや貫通孔等が設けられてもよい。
第2回路基板32は、トップハウジング11Aの内側でカバー12と電源部20との間に配置され、第1回路基板31の延在方向と直交する方向に延びる。スイッチ13は、第2回路基板32と隣接して配置される。使用者がスイッチ13を押下したとき、スイッチ13の一部が、第2回路基板32と接触し得る。第3回路基板33は、加熱部40に対して、開口12aの反対側に形成された空間において、長手方向に延びて配置される。
第3回路基板33は、種々の電子部品が取り付けられた主面を有する。例えば、第3回路基板33は、その主面が長手方向に対して傾斜するように、ボトムハウジング11B内に配置されてもよい。これにより、第3回路基板33の主面を大きくすることができ、ボトムハウジング11B内の空間を有効活用することができる。
第1回路基板31、第2回路基板32および第3回路基板33は、例えばマイクロプロセッサ等を含み、電源部20から加熱部40への電力の供給を制御することができる。これにより、第1回路基板31、第2回路基板32および第3回路基板33は、加熱部40による香味発生物品110の加熱を制御することができる。
電源部20は、第1回路基板31、第2回路基板32および第3回路基板33に電気的に接続される電源21を有する。電源21は、例えば、充電式バッテリまたは非充電式のバッテリであり得る。電源21は、第1回路基板31、第2回路基板32および第3回路基板33の少なくとも1つを介して、加熱部40と電気的に接続される。これにより、電源21は、香味発生物品110を適切に加熱するように、加熱部40に電力を供給することができる。また、図示のように、電源21は、加熱部40と並列に配置される。これにより、電源21の大きさを大きくしても、香味吸引器10の長手方向の長さが長くなることを抑制することができる。
また、香味吸引器10は、外部電源と接続可能な端子22を有する。端子22は、例えばマイクロUSB等のケーブルと接続することができる。電源21が充電式バッテリである場合は、端子22に外部電源を接続することで、外部電源から電源21に電流を流し、電源21を充電することができる。また、端子22にマイクロUSB等のデータ送信ケーブルを接続することにより、香味吸引器10の作動に関連するデータを外部装置に送信できるようにしてもよい。
加熱部40は、図示のように、長手方向に延びる加熱アセンブリ41と、断面L字状のボトムキャップ50と、略筒状の挿入ガイド部材17と、を有する。加熱アセンブリ41は、複数の筒状の部材を含み、全体として筒状体をなしている。加熱アセンブリ41は、その内部に香味発生物品110の一部を収納可能に構成され、香味発生物品110へ供給する空気の流路を画定する機能、および香味発生物品110を外周から加熱する機能を有する。
ボトムハウジング11Bには、加熱アセンブリ41の内部に空気を流入するための第1通気口15および第2通気口19が形成される。具体的には、第1通気口15は、ボトムキャップ50を貫通して加熱アセンブリ41に至る流路の上流端と流体連通する。つまり、第1通気口15は、ボトムキャップ50の貫通流路を介して加熱アセンブリ41の上流端と流体連通する。また、第2通気口19は、アウタハウジング11とインナハウジング18との間に形成される空気流路19Aの上流端と流体連通する。さらに、空気流路19Aの下流端は、ボトムキャップ50を貫通する流路の上流端に流体連通するので、第1通気口15と同じく、第2通気口19も最終的には加熱アセンブリ41と流体連通する。
加熱アセンブリ41の下流端は、挿入ガイド部材17を貫通して図1Bに示した開口12aに至る流路の上流端と流体連通する。挿入ガイド部材17は、例えば樹脂材料により形成され、開口12aを有するカバー12と加熱アセンブリ41の下流端との間に設けられた部材である。香味発生物品110は、図1Bに示すようにカバー12の開口12aから香味吸引器10の内部に挿入されると、挿入ガイド部材17を通過し、香味発生物品110の一部が加熱アセンブリ41の内部に配置される。このため、挿入ガイド部材17は、加熱アセンブリ41の下流側の開口の大きさよりも、カバー12側の開口の方が大きくなるように形成されることが好ましい。これにより、香味発生物品110を開口12aから挿入ガイド部材17の内部に挿入し易くなる。
図1Bに示すように、香味発生物品110が開口12aから香味吸引器10内に挿入された状態で、使用者が、香味発生物品110の香味吸引器10から突出した部分、即ち図2に示したフィルタ部115から吸引すると、第1通気口15および第2通気口19から加熱アセンブリ41の内部に空気が流入する。流入した空気は、加熱アセンブリ41の内部を通過して、香味発生物品110から生じるエアロゾルと共に、使用者の口内に到達する。したがって、加熱アセンブリ41の第1通気口15および第2通気口19に近い側(ボトムキャップ50に近い側)は上流側であり、加熱アセンブリ41の開口12aに近い側(挿入ガイド部材17に近い側)は下流側である。
次に、図3に示した加熱部40の構成について説明する。図4は、加熱部40の断面図である。図4に示すように、加熱部40は、加熱アセンブリ41と、ボトムキャップ50と、挿入ガイド部材17と、を有する。加熱アセンブリ41は、香味発生物品110を収容するチャンバを形成するカップ状の容器42と、加熱部材43と、熱収縮チューブ44と、断熱部材45と、を有する。
容器42は、香味発生物品110を挿入可能な第1開口42aを一端に有し、かつ空気入口を形成する第2開口42bを他端に有して、香味発生物品110を収容可能に構成される。本実施形態では、容器42は、第1開口42aから挿入された香味発生物品110の外壁の少なくとも一部と接触するように構成された内壁を有する。さらに、容器42は、第1開口42aから挿入された香味発生物品110の先端が突き当てられるに底壁42dを有する。第2開口42bは、容器42の底壁42dに形成された貫通孔である。第2開口42bは、空気流の上流側に位置し、第1開口42aは、下流側に位置する。また、容器42の第1開口42a側の内周面には、挿入された香味発生物品110の外壁を径方向内向きに押圧するように構成されたボス42cが形成されている。
加熱部材43は、例えば2枚のPI(ポリイミド)等のフィルムで発熱抵抗体を挟み込んで構成される、可撓性のフィルムヒータであり得る。加熱部材43は、容器42に接触するように配置される。具体的には、図示の例では、加熱部材43が容器42の外周面に配置され、加熱部材43の内部表面が容器42の外部表面に密着している。加熱部材43は、容器42の外周面に沿って配置されるので、全体として略筒状に変形される。
熱収縮チューブ44は、筒状であり、加熱部材43が容器42に密着した状態を維持する。具体的には、熱収縮チューブ44は、加熱部材43の外周側に配置された状態で熱が加えられることにより熱収縮しており、これにより、加熱部材43を容器42に押し付けるように加熱部材43に応力を与える。ここで、熱収縮チューブ44は、ボトムキャップ50の下流側の一部を覆って熱収縮しており、これにより、容器42とボトムキャップ50とを密着させることができる。
断熱部材45は、二重管構造を有する筒状の部材であり、熱収縮チューブ44から径方向外向きに所定の間隔を隔てて配置されている。断熱部材45は、内側管状部材45a、外側管状部材45b、第1環状部材45cおよび第2環状部材45dを有している。内側管状部材45aおよび外側管状部材45bは、挿入された香味発生物品110の径方向に並んで配置されている。第1環状部材45cは、内側管状部材45aおよび外側管状部材45bの下流側に配置され、第2環状部材45dは、内側管状部材45aおよび外側管状部材45bの上流側に配置されている。例えば、断熱部材45は、二重管構造の内側に減圧空気または真空を有する真空断熱材であり得る。具体的には、内側管状部材45aおよび外側管状部材45bと、第1環状部材45cおよび第2環状部材45dとで形成された空間を減圧することにより、加熱部材43から発生する熱が、加熱アセンブリ41の外側に伝わりにくくなる。ただし、断熱部材45の構造は上記に限定されないし、図中の断熱部材45は省略されてもよい。
ボトムキャップ50は、容器42の上流端(第2開口42b側の端部)と係合する下流端50aと、下流端50aの反対側の上流端50bと、を有する配管を形成する部材である。ボトムキャップ50は、容器42の第2開口42bに向けて空気を導入する内部流路を形成する。図4に示したボトムキャップ50は、L字状に曲がった内部流路を形成する。また、ボトムキャップ50の上流端50bは、図3に示した第1通気口15および空気流路19Aと近接または隣接して配置される。
挿入ガイド部材17の上流端(第1開口42a側の端部)は、容器42の下流端の外周を取り囲み、挿入ガイド部材17と容器42との間には、所定の空隙が設けられている。即ち、挿入ガイド部材17の上流端は、容器42の下流端を収容可能な、容器42の下流端の外径よりも大きい内径を備える。
次に、図4に示した挿入ガイド部材17の構成について説明する。図5は、挿入ガイド部材17の断面図である。図6は、挿入ガイド部材17の斜視図である。図7および図8は、挿入ガイド部材17の断面斜視図である。図9は、挿入ガイド部材の平面図である。図10は、挿入ガイド部材の底面図である。
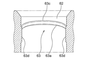
図5~図10に示すように、挿入ガイド部材17は、開口61と、内周面62と、突出部63と、ガイド部64と、溝部65と、包囲部66と、を有する。開口61は、カバー12の開口12aと連通し、香味発生物品110を挿入可能に構成される。内周面62は、開口61から挿入された香味発生物品110の外周を取り囲むように構成される。また、内周面62は、突出部63の開口61側および開口61の反対側に隣接して形成され、挿入された香味発生物品110の外周面から離間した領域を含む非突出部62aを有する。
突出部63は、環状であり、内周面62から突出して内周面62の全周にわたって延在する。また、突出部63は、挿入された香味発生物品110の外周面の全周にわたって香味発生物品110と当接するように構成される。ここで、突出部63は、内周面62の周方向において、挿入された香味発生物品110と当接する香味発生物品110の長手方向位置が変化する部分を含む。具体的には、突出部63は、傾斜部63a、2つの凸状部63bおよび一対の水平部63cを含む。傾斜部63aは、挿入された香味発生物品110の長手方向に対して斜めに延在するように構成される。凸状部63bは、開口61側に突き出すように2箇所設けられている。2箇所の凸状部63bは、内周面62の周方向において等間隔に配置されている。水平部63cは、挿入された香味発生物品110の長手方向に垂直に延在し、かつ挿入された香味発生物品110の中心軸に対して互いに対向するように配置されている。また、水平部63cは、挿入された香味発生物品110の長手方向における突出部63の開口61の反対側(図5における下側)の端部を形成している。
ガイド部(第2ガイド部)64は、内周面62に設けられ、水平部63cから挿入された香味発生物品110の長手方向に沿って開口61の反対側(図5における下側)に延在するように構成される。ガイド部64は、内周面62に対する香味発生物品110の移動を案内する。また、ガイド部64は、挿入された香味発生物品110の外周面に対向するように配置されたガイド面64aを有する。ガイド面64aは、挿入された香味発生物品110の外周面から離間し、かつ挿入された香味発生物品110の長手方向に沿って延在するように構成される。
溝部65は、挿入ガイド部材17の開口61側に設けられ、カバー12に取り付けられて、カバー12の開口12aを開閉する蓋部14が移動するための空間を形成する。包囲部66は、挿入ガイド部材17の、開口61の反対側(挿入ガイド部材17の上流端)に設けられ、容器42の下流端の外周を取り囲むように構成される。
上記構成によれば、挿入された香味発生物品110の外周面が突出部63と当接する領域における、香味発生物品110の長手方向の各位置において、香味発生物品110の外周面が内周面62から離間した領域、即ち空隙が形成される。そのため、香味発生物品110の挿入および/または抜去時に香味発生物品110の外周面が突出部63から押圧力を受けたとしても、その押圧力の少なくとも一部は、空隙における香味発生物品110の移動および/または変形に使われる。したがって、香味発生物品110の外周面が突出部63から実際に受ける垂直抗力は、空隙が形成されない場合の押圧力よりも小さくなる。このように、上記構成によれば、突出部63から香味発生物品110の外周面に作用する垂直抗力が小さくなるので、香味発生物品110の挿入および/または抜去時に香味発生物品110に作用する摩擦力を低減することができる。
また、突出部63は、挿入された香味発生物品110の外周面の全周にわたって香味発生物品110と当接するので、加熱部40で発生した熱蒸気が開口61から漏出することを防止することができる。突出部63は、挿入された香味発生物品110における長手方向の各部分のうちの、径方向内向きの押圧力を受けて弾性的に変形しやすい部分に当接するように構成されてもよい。例えば、突出部63は、図2に示した香味発生物品110のうちの、紙管部114に当接するように構成されてもよい。
また、ガイド部64は、挿入された香味発生物品110の外周面に対向するように配置されたガイド面64aを有するので、ガイド面64aにより、挿入された香味発生物品110が水平部63cを支点として揺動することを防止することができる。
なお、挿入ガイド部材17は、複数の部材を組み合わせて形成されてもよい。これにより、複雑な形状を有する挿入ガイド部材17を容易に形成することができる。このとき、突出部63は、複数の部材同士の継ぎ目に形成されてもよい。複数の部材を組み合わせた場合には、部材同士の継ぎ目に生じる段差をなくす処理が必要になるが、この段差を突出部63として積極的に利用することにより、段差をなくす処理を省略することができる。
また、上記実施形態において、非突出部62aは、突出部63の開口61側および開口61の反対側のいずれか一方のみに形成されてもよい。また、凸状部63bは、2箇所に限定されず、内周面62の周方向において等間隔に配置されていれば、3箇所以上設けられてもよい。凸状部63bは、内周面62に1箇所だけ設けられてもよい。また、ガイド部(第1ガイド部)64は、水平部63cから挿入された香味発生物品110の長手方向に沿って開口61側(図5における上側)に延在するように構成されてもよい。さらに、ガイド部64は、水平部63cの一方のみから延在してもよい。
以下、上記実施形態における突出部63およびガイド部64の変形例について説明する。
(変形例1)
図11は、変形例1に係る突出部の斜視図である。図12は、変形例1に係る内周面を模式的に示す断面図である。図13は、変形例1に係る内周面を模式的に示す断面図である。図12は、図11に示した矢視12-12における内周面62の断面図であり、図13は、図11に示した矢視13-13における内周面62の断面図である。
図11~図13に示すように、突出部63は、挿入された香味発生物品110の長手方向に対して斜めに延在する傾斜部63aにより形成されている。上記構成によれば、突出部63から香味発生物品110の外周面に作用する垂直抗力を、香味発生物品110の長手方向に均等に分散することができる。また、挿入された香味発生物品110の外周面が突出部63と当接する領域における、香味発生物品110の長手方向の各位置において、突出部63と香味発生物品110との接触点が、1点または2点となる。そのため、香味発生物品110の長手方向の各位置において、空隙が大きくなるので、香味発生物品110が移動および/または変形しやすくなる。
(変形例2)
図14は、変形例2に係る突出部の斜視図である。図15は、変形例2に係る内周面を模式的に示す断面図である。図16は、変形例2に係る内周面を模式的に示す断面図である。図15は、図14に示した矢視15-15における内周面62の断面図であり、図16は、図14に示した矢視16-16における内周面62の断面図である。
図14~図16に示すように、突出部63は、変形例1と同様に、傾斜部63aにより形成されている。また、ガイド部(第2ガイド部)64は、突出部63の開口61側(図14における上側)の端部から、挿入された香味発生物品110の長手方向に沿って開口61の反対側(図14における下側)に延在するように構成される。また、ガイド部64は、挿入された香味発生物品110の外周面に対向するように配置されたガイド面64aを有する。
上記構成によれば、ガイド面64aにより、挿入された香味発生物品110が揺動することを防止することができる。また、ガイド部64は、突出部63の開口61側(図14における上側)の端部から、開口61の反対側(図14における下側)に延在しているので、香味発生物品110の長手方向の長い範囲にわたって香味発生物品110の移動を案内することができる。
なお、ガイド部64は、突出部63の開口61側(図14における上側)の端部から延在するものに限定されず、突出部63のいずれの位置から延在してもよい。また、ガイド部(第1ガイド部)64は、突出部63から、挿入された香味発生物品110の長手方向に沿って開口61側(図14における上側)に延在してもよい。
(変形例3)
図17は、変形例3に係る突出部の斜視図である。図18は、変形例3に係る内周面を模式的に示す断面図である。図19は、変形例3に係る内周面を模式的に示す断面図である。図18は、図17に示した矢視18-18における内周面62の断面図であり、図19は、図17に示した矢視19-19における内周面62の断面図である。
図17~図19に示すように、突出部63は、傾斜部63a、2つの垂直部63dおよび水平部63cを含む。垂直部63dは、挿入された香味発生物品110の長手方向に沿って、互いに隣接して延在するように構成される。水平部(第1水平部)63cは、挿入された香味発生物品110の長手方向に垂直に延在し、挿入された香味発生物品110の長手方向における突出部63の開口61側(図17における上側)の端部を形成する。ここで、垂直部63dは、傾斜部63aの開口61側(図17における上側)の端部から開口61側に延在し、垂直部63dの開口61側の端部は、水平部63cで連結される。
上記構成によれば、垂直部63dが内周面62に対する香味発生物品110の移動を案内する挿入ガイドの機能を果たすので、例えば図14等に示されたガイド部64を不要とすることができる。また、水平部63cは、挿入された香味発生物品110のラジアル方向の位置決めを行う軸受けの機能を果たすことができる。
(変形例4)
図20は、変形例4に係る突出部の斜視図である。図21は、変形例4に係る内周面を模式的に示す断面図である。図22は、変形例4に係る内周面を模式的に示す断面図である。図21は、図20に示した矢視21-21における内周面62の断面図であり、図22は、図20に示した矢視22-22における内周面62の断面図である。
図20~図22に示すように、突出部63は、傾斜部63a、一対の垂直部63dおよび水平部63cを含む。垂直部63dは、挿入された香味発生物品110の長手方向に沿って延在するように構成される。水平部(第1水平部)63cは、挿入された香味発生物品110の長手方向に垂直に延在し、挿入された香味発生物品110の長手方向における突出部63の開口61側(図20における上側)の端部を形成する。ここで、垂直部63dは、傾斜部63aの長手方向の略中間位置において、挿入された香味発生物品110の中心軸に対して互いに対向するように配置されている。なお、水平部63cは、設けられなくてもよい。
上記構成によれば、垂直部63dが内周面62に対する香味発生物品110の移動を案内する挿入ガイドの機能を果たすので、例えば図14等に示されたガイド部64を不要とすることができる。また、水平部63cは、挿入された香味発生物品110のラジアル方向の位置決めを行う軸受けの機能を果たすことができる。また、垂直部63dを傾斜部63aの長手方向中間位置に配置することにより、香味発生物品110の挿入および/または抜去時に垂直部63dの端部が香味発生物品110に引っかかることを防止することができる。
(変形例5)
図23は、変形例5に係る突出部の斜視図である。図24は、変形例5に係る内周面を模式的に示す断面図である。図25は、変形例5に係る内周面を模式的に示す断面図である。図24は、図23に示した矢視24-24における内周面62の断面図であり、図25は、図23に示した矢視25-25における内周面62の断面図である。
図23~図25に示すように、突出部63は、4つの垂直部63dおよび4つの水平部63cを含む。垂直部63dは、挿入された香味発生物品110の長手方向に沿って延在するように構成される。水平部63cは、挿入された香味発生物品110の長手方向に垂直に延在し、隣接する垂直部63dの端部同士を連結するように構成される。また、水平部(第1水平部、第2水平部)63cは、挿入された香味発生物品110の長手方向における突出部63の開口61側(図23における上側)の端部を形成するとともに、開口61の反対側(図23における下側)の端部を形成する。ここで、垂直部63dおよび水平部63cは、開口61側(図23における上側)に突き出した2箇所の凸状部63bを形成する。2箇所の凸状部(上向き凸状部)63bは、内周面62の周方向において等間隔に配置されている。なお、突出部63の開口61側の端部に形成された水平部63cを基準にすると、垂直部63dおよび水平部63cは、開口61の反対側(図23における下側)に突き出した2箇所の凸状部(下向き凸状部)を形成するとみることもできる。
上記構成によれば、垂直部63dが内周面62に対する香味発生物品110の移動を案内する挿入ガイドの機能を果たすので、例えば図14等に示されたガイド部64を不要とすることができる。また、水平部63cは、挿入された香味発生物品110のラジアル方向の位置決めを行う軸受けの機能を果たすことができる。また、突出部63の全長を長くすることができるので、挿入ガイドの機能をより効果的に発揮することができる。
(変形例6)
図26は、変形例6に係る突出部の斜視図である。図27は、変形例6に係る内周面を模式的に示す断面図である。図28は、変形例6に係る内周面を模式的に示す断面図である。図27は、図26に示した矢視27-27における内周面62の断面図であり、図28は、図26に示した矢視28-28における内周面62の断面図である。
図26~図28に示すように、突出部63は、傾斜部63a、2つの凸状部63bおよび4つの水平部63cを含む。凸状部63bは、開口61側(図26における上側)に突き出すように2箇所設けられている。2箇所の凸状部63bは、内周面62の周方向において等間隔に配置されている。水平部63cは、挿入された香味発生物品110の長手方向に垂直に延在するように構成されている。また、水平部(第1水平部、第2水平部)63cは、挿入された香味発生物品110の長手方向における突出部63の開口61側(図26における上側)の端部を形成するとともに、開口61の反対側(図26における下側)の端部を形成する。ここで、水平部63cは、極力短くなるように構成されている。
上記構成によれば、水平部63cを極力短くしたことにより、水平部63cによる、挿入された香味発生物品110のラジアル方向の位置決めを行う軸受けの機能を残しつつ、香味発生物品110の挿入および/または抜去時における挿入抵抗を低減することができる。
(変形例7)
図29は、変形例7に係る突出部の斜視図である。図30は、変形例7に係る内周面を模式的に示す断面図である。図31は、変形例7に係る内周面を模式的に示す断面図である。図30は、図29に示した矢視30-30における内周面62の断面図であり、図31は、図29に示した矢視31-31における内周面62の断面図である。
図29~図31に示すように、突出部63は、傾斜部63aおよび2つの凸状部63bを含む。凸状部63bは、開口61側(図29における上側)に突き出すように2箇所設けられている。2箇所の凸状部63bは、内周面62の周方向において等間隔に配置されている。
上記構成によれば、挿入された香味発生物品110の長手方向に沿って延在する垂直部や、挿入された香味発生物品110の長手方向に垂直に延在する水平部を省略したことにより、香味発生物品110の挿入および/または抜去時における香味発生物品110の引っかかりを防止することができる。
以上に本発明の実施形態を説明したが、本発明は上記実施形態に限定されるものではなく、特許請求の範囲、および明細書と図面に記載された技術的思想の範囲内において種々の変形が可能である。なお直接明細書および図面に記載のない何れの形状や材質であっても、本願発明の作用・効果を奏する以上、本願発明の技術的思想の範囲内である。
以下に本明細書が開示する形態のいくつかを記載しておく。
第1形態によれば、棒状の香味発生物品と一緒に使用される香味吸引器であって、香味発生物品を挿入可能な開口と、開口から挿入された香味発生物品の外周を取り囲む内周面と、内周面から突出して内周面の全周にわたって延在し、挿入された香味発生物品の外周面の全周にわたって香味発生物品と当接する環状の突出部と、を有する挿入ガイド部材を備え、突出部は、内周面の周方向において、挿入された香味発生物品の外周面と当接する香味発生物品の長手方向位置が変化する部分を含む香味吸引器が提供される。
第2形態によれば、第1形態の香味吸引器において、内周面は、突出部の開口側および開口の反対側の少なくとも一方に隣接して形成され、挿入された香味発生物品の外周面から離間した領域を含む非突出部を有する。
第3形態によれば、第1形態または第2形態の香味吸引器において、突出部は、挿入された香味発生物品の長手方向に対して斜めに延在する傾斜部を含む。
第4形態によれば、第1形態から第3形態までのいずれかの香味吸引器において、突出部は、開口側に突き出した複数の凸状部を含み、複数の凸状部は、内周面の周方向において等間隔に配置されている。
第5形態によれば、第1形態から第4形態までのいずれかの香味吸引器において、突出部は、挿入された香味発生物品の長手方向に垂直に延在する少なくとも1つの水平部を含み、少なくとも1つの水平部は、長手方向における突出部の開口側の端部を形成する第1水平部および/または開口の反対側の端部を形成する第2水平部を含む。
第6形態によれば、第1形態から第4形態までのいずれかの香味吸引器において、突出部は、挿入された香味発生物品の長手方向に垂直に延在し、かつ挿入された香味発生物品の中心軸に対して互いに対向する一対の水平部を含み、一対の水平部は、長手方向における突出部の開口の反対側の端部を形成している。
第7形態によれば、第1形態から第6形態までのいずれかの香味吸引器において、内周面に設けられ、内周面に対する香味発生物品の移動を案内するように構成された少なくとも1つのガイド部を含み、少なくとも1つのガイド部は、突出部から挿入された香味発生物品の長手方向に沿って開口側に延在する第1ガイド部および/または開口の反対側に延在する第2ガイド部を含む。
第8形態によれば、第7形態の香味吸引器において、ガイド部は、挿入された香味発生物品の外周面に対向するように配置されたガイド面を有する。
第9形態によれば、第8形態の香味吸引器において、ガイド面は、挿入された香味発生物品の外周面から離間し、かつ長手方向に沿って延在するように構成されている。
第10形態によれば、第1形態から第3形態までのいずれかの香味吸引器において、突出部は、挿入された香味発生物品の長手方向に沿って、互いに隣接して延在する一対の垂直部と、長手方向に垂直に延在する水平部と、を含み、一対の垂直部は、傾斜部の開口側の端部から開口側に延在し、一対の垂直部の開口側の端部は、水平部で連結される。
第11形態によれば、第1形態から第3形態までのいずれかの香味吸引器において、突出部は、挿入された香味発生物品の長手方向に沿って延在する一対の垂直部、を含み、一対の垂直部は、長手方向に対して互いに対向するように配置されている。
第12形態によれば、第1形態または第2形態の香味吸引器において、突出部は、挿入された香味発生物品の長手方向に沿って延在する複数の垂直部と、長手方向に垂直に延在し、隣接する垂直部の端部同士を連結する水平部と、を含み、垂直部および水平部は、開口側に突き出した上向き凸状部および/または開口の反対側に突き出した下向き凸状部を形成する。
第13形態によれば、第1形態から第12形態までのいずれかの香味吸引器において、挿入ガイド部材は、複数の部材を組み合わせて形成され、突出部は、複数の部材同士の継ぎ目に形成される。
第14形態によれば、棒状の香味発生物品の挿入ガイド部材であって、香味発生物品を挿入可能な開口と、開口から挿入された香味発生物品の外周を取り囲む内周面と、内周面から突出して内周面の全周にわたって延在し、挿入された香味発生物品の外周面の全周にわたって香味発生物品と当接する環状の突出部と、を備え、突出部は、内周面の周方向において、挿入された香味発生物品の外周面と当接する香味発生物品の長手方向位置が変化する部分を含む挿入ガイド部材が提供される。
10…香味吸引器
17…挿入ガイド部材
61…開口
62…内周面
62a…非突出部
63…突出部
63a…傾斜部
63b…凸状部
63c…水平部
63d…垂直部
64…ガイド部
64a…ガイド面
65…溝部
66…包囲部
110…香味発生物品

Claims (14)

  1. 棒状の香味発生物品と一緒に使用される香味吸引器であって、
    前記香味発生物品を挿入可能な開口と、
    前記開口から挿入された前記香味発生物品の外周を取り囲む内周面と、
    前記内周面から突出して前記内周面の全周にわたって延在し、挿入された前記香味発生物品の外周面の全周にわたって前記香味発生物品と当接する環状の突出部と、を有する挿入ガイド部材を備え、
    前記突出部は、前記内周面の周方向において、挿入された前記香味発生物品の外周面と当接する前記香味発生物品の長手方向位置が変化する部分を含む
    香味吸引器。
  2. 請求項1に記載の香味吸引器であって、
    前記内周面は、前記突出部の前記開口側および前記開口の反対側の少なくとも一方に隣接して形成され、挿入された前記香味発生物品の外周面から離間した領域を含む非突出部を有する
    香味吸引器。
  3. 請求項1または請求項2に記載の香味吸引器であって、
    前記突出部は、挿入された前記香味発生物品の長手方向に対して斜めに延在する傾斜部を含む
    香味吸引器。
  4. 請求項1から請求項3までのいずれか1項に記載の香味吸引器であって、
    前記突出部は、前記開口側に突き出した複数の凸状部を含み、
    前記複数の凸状部は、前記内周面の周方向において等間隔に配置されている
    香味吸引器。
  5. 請求項1から請求項4までのいずれか1項に記載の香味吸引器であって、
    前記突出部は、挿入された前記香味発生物品の長手方向に垂直に延在する少なくとも1つの水平部を含み、
    前記少なくとも1つの水平部は、前記長手方向における前記突出部の前記開口側の端部を形成する第1水平部および/または前記開口の反対側の端部を形成する第2水平部を含む
    香味吸引器。
  6. 請求項1から請求項4までのいずれか1項に記載の香味吸引器であって、
    前記突出部は、挿入された前記香味発生物品の長手方向に垂直に延在し、かつ挿入された前記香味発生物品の中心軸に対して互いに対向する一対の水平部を含み、
    前記一対の水平部は、前記長手方向における前記突出部の前記開口の反対側の端部を形成している
    香味吸引器。
  7. 請求項1から請求項6までのいずれか1項に記載の香味吸引器であって、
    前記内周面に設けられ、前記内周面に対する前記香味発生物品の移動を案内するように構成された少なくとも1つのガイド部を含み、
    前記少なくとも1つのガイド部は、前記突出部から挿入された前記香味発生物品の長手方向に沿って前記開口側に延在する第1ガイド部および/または前記開口の反対側に延在する第2ガイド部を含む
    香味吸引器。
  8. 請求項7に記載の香味吸引器であって、
    前記ガイド部は、挿入された前記香味発生物品の外周面に対向するように配置されたガイド面を有する
    香味吸引器。
  9. 請求項8に記載の香味吸引器であって、
    前記ガイド面は、挿入された前記香味発生物品の外周面から離間し、かつ前記長手方向に沿って延在するように構成されている
    香味吸引器。
  10. 求項3に記載の香味吸引器であって、
    前記突出部は、
    挿入された前記香味発生物品の前記長手方向に沿って、互いに隣接して延在する一対の垂直部と、
    前記長手方向に垂直に延在する水平部と、
    を含み、
    前記一対の垂直部は、前記傾斜部の前記開口側の端部から前記開口側に延在し、前記一対の垂直部の前記開口側の端部は、前記水平部で連結される
    香味吸引器。
  11. 求項3に記載の香味吸引器であって、
    前記突出部は、
    挿入された前記香味発生物品の長手方向に沿って延在する一対の垂直部、
    を含み、
    前記一対の垂直部は、前記傾斜部の前記長手方向の略中間位置において、前記長手方向に対して互いに対向するように配置されている、
    香味吸引器。
  12. 請求項1または請求項2に記載の香味吸引器であって、
    前記突出部は、
    挿入された前記香味発生物品の長手方向に沿って延在する複数の垂直部と、
    前記長手方向に垂直に延在し、隣接する前記垂直部の端部同士を連結する水平部と、
    を含み、
    前記垂直部および前記水平部は、前記開口側に突き出した上向き凸状部および/または前記開口の反対側に突き出した下向き凸状部を形成する、
    香味吸引器。
  13. 請求項1から請求項12までのいずれか1項に記載の香味吸引器であって、
    前記挿入ガイド部材は、複数の部材を組み合わせて形成され、
    前記突出部は、前記複数の部材同士の継ぎ目に形成される
    香味吸引器。
  14. 棒状の香味発生物品の挿入ガイド部材であって、
    前記香味発生物品を挿入可能な開口と、
    前記開口から挿入された前記香味発生物品の外周を取り囲む内周面と、
    前記内周面から突出して前記内周面の全周にわたって延在し、挿入された前記香味発生物品の外周面の全周にわたって前記香味発生物品と当接する環状の突出部と、を備え、
    前記突出部は、前記内周面の周方向において、挿入された前記香味発生物品の外周面と当接する前記香味発生物品の長手方向位置が変化する部分を含む
    挿入ガイド部材。
JP2021529583A 2019-07-01 2019-07-01 香味吸引器および挿入ガイド部材 Active JP7245331B2 (ja)

Priority Applications (2)

Application Number Priority Date Filing Date Title
JP2023037158A JP7561904B2 (ja) 2019-07-01 2023-03-10 香味吸引器および挿入ガイド部材
JP2024164767A JP7742919B2 (ja) 2019-07-01 2024-09-24 香味吸引器および挿入ガイド部材

Applications Claiming Priority (1)

Application Number Priority Date Filing Date Title
PCT/JP2019/026175 WO2021001908A1 (ja) 2019-07-01 2019-07-01 香味吸引器および挿入ガイド部材

Related Child Applications (1)

Application Number Title Priority Date Filing Date
JP2023037158A Division JP7561904B2 (ja) 2019-07-01 2023-03-10 香味吸引器および挿入ガイド部材

Publications (2)

Publication Number Publication Date
JPWO2021001908A1 JPWO2021001908A1 (ja) 2021-01-07
JP7245331B2 true JP7245331B2 (ja) 2023-03-23

Family

ID=74100969

Family Applications (3)

Application Number Title Priority Date Filing Date
JP2021529583A Active JP7245331B2 (ja) 2019-07-01 2019-07-01 香味吸引器および挿入ガイド部材
JP2023037158A Active JP7561904B2 (ja) 2019-07-01 2023-03-10 香味吸引器および挿入ガイド部材
JP2024164767A Active JP7742919B2 (ja) 2019-07-01 2024-09-24 香味吸引器および挿入ガイド部材

Family Applications After (2)

Application Number Title Priority Date Filing Date
JP2023037158A Active JP7561904B2 (ja) 2019-07-01 2023-03-10 香味吸引器および挿入ガイド部材
JP2024164767A Active JP7742919B2 (ja) 2019-07-01 2024-09-24 香味吸引器および挿入ガイド部材

Country Status (4)

Country Link
EP (1) EP3995013A4 (ja)
JP (3) JP7245331B2 (ja)
TW (1) TW202102144A (ja)
WO (1) WO2021001908A1 (ja)

Families Citing this family (2)

* Cited by examiner, † Cited by third party
Publication number Priority date Publication date Assignee Title
KR102567136B1 (ko) * 2020-09-01 2023-08-18 주식회사 케이티앤지 가열 효율이 향상된 에어로졸 발생 장치
CN117179383A (zh) * 2023-09-11 2023-12-08 深圳市吉迩科技有限公司 一种加热组件和气溶胶产生装置

Citations (4)

* Cited by examiner, † Cited by third party
Publication number Priority date Publication date Assignee Title
CN106880086A (zh) 2017-04-07 2017-06-23 云南中烟工业有限责任公司 一种电子烟与低温烤烟的混合烟
WO2018007633A1 (en) 2016-07-07 2018-01-11 Philip Morris Products S.A. Non-combustible vaping element with tobacco insert
WO2018050735A1 (en) 2016-09-15 2018-03-22 Philip Morris Products S.A. Aerosol-generating device
WO2018054793A1 (en) 2016-09-20 2018-03-29 British American Tobacco (Investments) Limited A method of manufacturing an aerosol provision apparatus and an aerosol provision apparatus

Family Cites Families (8)

* Cited by examiner, † Cited by third party
Publication number Priority date Publication date Assignee Title
US5388594A (en) * 1991-03-11 1995-02-14 Philip Morris Incorporated Electrical smoking system for delivering flavors and method for making same
US5954979A (en) 1997-10-16 1999-09-21 Philip Morris Incorporated Heater fixture of an electrical smoking system
PL2782463T5 (pl) * 2011-11-21 2022-09-05 Philip Morris Products S.A. Ekstraktor do urządzenia do wytwarzania aerozolu
KR101656061B1 (ko) * 2013-12-18 2016-09-22 신종수 전자담배
GB2534213B (en) * 2015-01-19 2018-02-21 Ngip Res Ltd Aerosol-generating device
TW201742556A (zh) * 2016-05-13 2017-12-16 British American Tobacco Investments Ltd 用以加熱可吸菸材料之裝置(一)
WO2018190606A1 (ko) * 2017-04-11 2018-10-18 주식회사 케이티앤지 에어로졸 생성 장치
GB201705888D0 (en) * 2017-04-12 2017-05-24 British American Tobacco Investments Ltd Apparatus for volatilising smokable material and a smoking article

Patent Citations (4)

* Cited by examiner, † Cited by third party
Publication number Priority date Publication date Assignee Title
WO2018007633A1 (en) 2016-07-07 2018-01-11 Philip Morris Products S.A. Non-combustible vaping element with tobacco insert
WO2018050735A1 (en) 2016-09-15 2018-03-22 Philip Morris Products S.A. Aerosol-generating device
WO2018054793A1 (en) 2016-09-20 2018-03-29 British American Tobacco (Investments) Limited A method of manufacturing an aerosol provision apparatus and an aerosol provision apparatus
CN106880086A (zh) 2017-04-07 2017-06-23 云南中烟工业有限责任公司 一种电子烟与低温烤烟的混合烟

Also Published As

Publication number Publication date
EP3995013A1 (en) 2022-05-11
JP7742919B2 (ja) 2025-09-22
JP2023071995A (ja) 2023-05-23
JP2024178340A (ja) 2024-12-24
WO2021001908A1 (ja) 2021-01-07
EP3995013A4 (en) 2023-05-31
JPWO2021001908A1 (ja) 2021-01-07
JP7561904B2 (ja) 2024-10-04
TW202102144A (zh) 2021-01-16

Similar Documents

Publication Publication Date Title
JP7185796B2 (ja) 喫煙システム
JP7742919B2 (ja) 香味吸引器および挿入ガイド部材
JP7258908B2 (ja) 筐体およびこれを備えた香味吸引器
JP7204918B2 (ja) 加熱アセンブリおよび香味吸引器
JP7170118B2 (ja) 吸引装置、吸引装置の制御装置、情報処理方法及びプログラム
JP7425829B2 (ja) 加熱アセンブリおよびこれを備える香味吸引器
JP7708842B2 (ja) 加熱アセンブリ及びこれを備えた香味吸引器
JP7263518B2 (ja) 加熱アセンブリおよび香味吸引器
JP7267423B2 (ja) 香味吸引器
JP7267422B2 (ja) 香味吸引器
JP7274668B2 (ja) 吸引装置
JP7296021B2 (ja) 筐体およびこれを備えた香味吸引器
JP7612759B2 (ja) 筐体およびこれを備えた香味吸引器
KR102553517B1 (ko) 전자담배
KR102175704B1 (ko) 흡연습관 교정기

Legal Events

Date Code Title Description
A621 Written request for application examination

Free format text: JAPANESE INTERMEDIATE CODE: A621

Effective date: 20211215

A131 Notification of reasons for refusal

Free format text: JAPANESE INTERMEDIATE CODE: A131

Effective date: 20221202

A521 Request for written amendment filed

Free format text: JAPANESE INTERMEDIATE CODE: A523

Effective date: 20230117

TRDD Decision of grant or rejection written
A01 Written decision to grant a patent or to grant a registration (utility model)

Free format text: JAPANESE INTERMEDIATE CODE: A01

Effective date: 20230209

A61 First payment of annual fees (during grant procedure)

Free format text: JAPANESE INTERMEDIATE CODE: A61

Effective date: 20230310

R150 Certificate of patent or registration of utility model

Ref document number: 7245331

Country of ref document: JP

Free format text: JAPANESE INTERMEDIATE CODE: R150