JP7079552B2 - Simultaneous deployment of narrowband carriers and wideband carriers - Google Patents

Simultaneous deployment of narrowband carriers and wideband carriers Download PDF

Info

Publication number
JP7079552B2
JP7079552B2 JP2020123258A JP2020123258A JP7079552B2 JP 7079552 B2 JP7079552 B2 JP 7079552B2 JP 2020123258 A JP2020123258 A JP 2020123258A JP 2020123258 A JP2020123258 A JP 2020123258A JP 7079552 B2 JP7079552 B2 JP 7079552B2
Authority
JP
Japan
Prior art keywords
spectrum
carrier
narrowband
carriers
iot
Prior art date
Legal status (The legal status is an assumption and is not a legal conclusion. Google has not performed a legal analysis and makes no representation as to the accuracy of the status listed.)
Expired - Fee Related
Application number
JP2020123258A
Other languages
Japanese (ja)
Other versions
JP2020184794A (en
Inventor
ユーン、リカルド
シー. カールソン、ペータル
プリヤント、バスキ
Current Assignee (The listed assignees may be inaccurate. Google has not performed a legal analysis and makes no representation or warranty as to the accuracy of the list.)
Sony Corp
Original Assignee
Sony Corp
Priority date (The priority date is an assumption and is not a legal conclusion. Google has not performed a legal analysis and makes no representation as to the accuracy of the date listed.)
Filing date
Publication date
Application filed by Sony Corp filed Critical Sony Corp
Priority to JP2020123258A priority Critical patent/JP7079552B2/en
Publication of JP2020184794A publication Critical patent/JP2020184794A/en
Application granted granted Critical
Publication of JP7079552B2 publication Critical patent/JP7079552B2/en
Expired - Fee Related legal-status Critical Current
Anticipated expiration legal-status Critical

Links

Images

Landscapes

  • Mobile Radio Communication Systems (AREA)

Description

様々な実施形態は、第1のスペクトル内のリソースを含み、第1の無線アクセス技術に従って動作する少なくとも1つの狭帯域キャリア上で、ワイヤレスネットワークの少なくとも1つのアクセスノードと第1の端末との間で通信することに関する。特に、様々な実施形態は、少なくとも1つのアクセスノードと第2の端末との間の通信が広帯域キャリア上で実行される第2のスペクトル内に第1のスペクトルが少なくとも部分的に配置されるシナリオに関する。 Various embodiments include resources within the first spectrum between at least one access node and the first terminal of the wireless network on at least one narrowband carrier operating according to the first wireless access technique. Regarding communicating with. In particular, various embodiments are scenarios in which the first spectrum is at least partially located within a second spectrum in which communication between at least one access node and the second terminal is performed on a broadband carrier. Regarding.

セルラーネットワークによる移動通信は、現代生活の不可欠な一部分である。セルラーネットワークの一例は、3GPP(Third Generation Partnership Project) LTE(Long Term Evolution)技術である。従来のLTE技術は、E-UTRA(evolved Universal Mobile Telecommunications System (UMTS) Terrestrial Radio Access)と呼ばれる無線アクセス技術(RAT)を使用している。E-UTRA RATは1.4~20MHzの帯域幅を使用する。 Mobile communication over cellular networks is an integral part of modern life. An example of a cellular network is 3GPP (Third Generation Partnership Project) LTE (Long Term Evolution) technology. The conventional LTE technology uses a radio access technology (RAT) called E-UTRA (evolved Universal Mobile Telecommunications System (UMTS) Terrestrial Radio Access). The E-UTRA RAT uses a bandwidth of 1.4 to 20 MHz.

3GPPフレームワーク内で、低コスト、低複雑度、低電力消費などの目標基準を満たすことを目指すさらなるRATが研究されている。 Within the 3GPP framework, further RATs are being studied that aim to meet target criteria such as low cost, low complexity and low power consumption.

研究された1つのRATは、マシン型通信(MTC)である。MTCは、3GPP LTE通信の変形であり、1.4MHzの低減された帯域幅を使用している。データレートは最大1MBpsまでに制限されている。例えば、3GPP Technical Report(TR)36.888 V12.0.0(2013-6)を参照されたい。MTC RATは、E-UTRA RATに基づき得る。 One RAT studied is machine-based communication (MTC). MTC is a variant of 3GPP LTE communication, using a reduced bandwidth of 1.4 MHz. The data rate is limited to a maximum of 1 MBps. See, for example, 3GPP Technical Report (TR) 36.888 V12.0.0 (2013-6). The MTC RAT may be based on the E-UTRA RAT.

研究されたさらなるRATは、NB-IoT(Narrow Band Internet of Things)である。開発目標は、180kHzの帯域幅、及び約100kbpsのデータレートを指す。3GPP RP-151621“New Work Item:NarrowBand IOT(NB-IOT)”を参照されたい。わかるように、NB-IoTは、LTEとMTCの両方と比較した場合、狭帯域キャリアを使用している。NB-IoT RATは、E-UTRA RATに基づき得る。 A further RAT studied is the NB-IoT (Narrow Band Internet of Things). The development goal is a bandwidth of 180 kHz and a data rate of about 100 kbps. See 3GPP RP-151621 "New Work Item: NowBand IOT (NB-IOT)". As can be seen, NB-IoT uses narrowband carriers when compared to both LTE and MTC. NB-IoT RAT may be based on E-UTRA RAT.

NB-IoT RATに係る通信の技法は、いくつかの制限及び欠点に直面している。例えば、NB-IoTの既存のフレームワーク内では、データレートは、比較的低い値に固定される。さらに、データレートは、静的に固定されており、データレートの動的適応は可能ではない、又は限られた程度までしか可能ではない。 Communication techniques for NB-IoT RAT face some limitations and drawbacks. For example, within the existing framework of NB-IoT, the data rate is fixed at a relatively low value. Moreover, the data rates are statically fixed and dynamic adaptation of the data rates is not possible or possible to a limited extent.

したがって、NB-IoT RATに係る通信の高度な技法が必要である。特に、NB-IoT RATに係る通信のデータレートに関する柔軟性を付加する技法が必要である。 Therefore, advanced communication techniques related to NB-IoT RAT are required. In particular, there is a need for techniques to add flexibility regarding the data rate of communications relating to NB-IoT RAT.

この必要性は、独立クレームの特徴によって満たされる。従属クレームは、実施形態を定義する。 This need is met by the characteristics of independent claims. Dependent claims define an embodiment.

様々な実施形態によれば、方法が提供される。この方法は、複数の狭帯域キャリア上で通信することを含む。前記通信は、ワイヤレスネットワークの少なくとも1つのアクセスノードと、ワイヤレスネットワークに接続された第1の端末との間で行われる。複数の狭帯域キャリアは、第1のスペクトル内のリソースを含む。複数の狭帯域キャリアは、第1のRATに従って動作する。第1のスペクトルは、少なくとも部分的に第2のスペクトル内に配置される。第2のスペクトル上では、少なくとも1つのアクセスノードと第2の端末との間の通信は、広帯域キャリア上で実行される。広帯域キャリアは、第2のスペクトル内のリソースを含む。 According to various embodiments, methods are provided. This method involves communicating on multiple narrowband carriers. The communication takes place between at least one access node of the wireless network and a first terminal connected to the wireless network. The plurality of narrowband carriers include resources in the first spectrum. The plurality of narrowband carriers operate according to the first RAT. The first spectrum is at least partially located within the second spectrum. On the second spectrum, communication between at least one access node and the second terminal is performed on the broadband carrier. Broadband carriers include resources within the second spectrum.

広帯域キャリアは、第2のRATに従って動作する。第2のRATは、第1のRATとは異なる。 The broadband carrier operates according to the second RAT. The second RAT is different from the first RAT.

様々な実施形態によれば、コンピュータプログラム製品が提供される。コンピュータプログラム製品は、少なくとも1つのプロセッサによって実行されるプログラムコードを含む。プログラムコードを実行することによって、少なくとも1つのプロセッサが方法を実行する。この方法は、複数の狭帯域キャリア上で通信することを含む。前記通信は、ワイヤレスネットワークの少なくとも1つのアクセスノードと、ワイヤレスネットワークに接続された第1の端末との間で行われる。複数の狭帯域キャリアは、第1のスペクトル内のリソースを含む。複数の狭帯域キャリアは、第1のRATに従って動作する。第1のスペクトルは、少なくとも部分的に第2のスペクトル内に配置される。第2のスペクトル上では、少なくとも1つのアクセスノードと第2の端末との間の通信は、広帯域キャリア上で実行される。広帯域キャリアは、第2のスペクトル内のリソースを含む。広帯域キャリアは、第2のRATに従って動作する。第2のRATは、第1のRATとは異なる。 According to various embodiments, computer program products are provided. Computer program products include program code executed by at least one processor. By executing the program code, at least one processor executes the method. This method involves communicating on multiple narrowband carriers. The communication takes place between at least one access node of the wireless network and a first terminal connected to the wireless network. The plurality of narrowband carriers include resources in the first spectrum. The plurality of narrowband carriers operate according to the first RAT. The first spectrum is at least partially located within the second spectrum. On the second spectrum, communication between at least one access node and the second terminal is performed on the broadband carrier. Broadband carriers include resources within the second spectrum. The broadband carrier operates according to the second RAT. The second RAT is different from the first RAT.

様々な実施形態によれば、方法が提供される。この方法は、少なくとも1つの狭帯域キャリア上で通信することを含む。前記通信は、ワイヤレスの少なくとも1つのアクセスノードと、ワイヤレスネットワークに接続された第1の端末との間で行われる。少なくとも1つの狭帯域キャリアは、第1のスペクトル内のリソースを含む。少なくとも1つの狭帯域キャリアは、第1のRATに従って動作する。少なくとも1つのアクセスノードと第2の端末との間の通信が広帯域キャリア上で実行される第2のスペクトル内に、第1のスペクトルが少なくとも部分的に配置される。広帯域キャリアは、第2のスペクトル内のリソースを含む。広帯域キャリアは、第2のRATに従って動作する。第2のRATは、第1のRATとは異なる。第1のスペクトルと第2のスペクトルは両方、共有スペクトルを含む。 According to various embodiments, methods are provided. This method involves communicating on at least one narrowband carrier. The communication takes place between at least one wireless access node and a first terminal connected to a wireless network. At least one narrowband carrier comprises resources in the first spectrum. At least one narrowband carrier operates according to the first RAT. The first spectrum is at least partially located within the second spectrum in which communication between the at least one access node and the second terminal is performed on the broadband carrier. Broadband carriers include resources within the second spectrum. The broadband carrier operates according to the second RAT. The second RAT is different from the first RAT. Both the first spectrum and the second spectrum include a shared spectrum.

様々な実施形態によれば、コンピュータプログラム製品が提供される。コンピュータプログラム製品は、少なくとも1つのプロセッサによって実行されるプログラムコードを含む。プログラムコードを実行することによって、少なくとも1つのプロセッサが方法を実行する。この方法は、少なくとも1つの狭帯域キャリア上で通信することを含む。前記通信は、ワイヤレスの少なくとも1つのアクセスノードと、ワイヤレスネットワークに接続された第1の端末との間で行われる。少なくとも1つの狭帯域キャリアは、第1のスペクトル内のリソースを含む。少なくとも1つの狭帯域キャリアは、第1のRATに従って動作する。少なくとも1つのアクセスノードと第2の端末との間の通信が広帯域キャリア上で実行される第2のスペクトル内に、第1のスペクトルが少なくとも部分的に配置される。広帯域キャリアは、第2のスペクトル内のリソースを含む。広帯域キャリアは、第2のRATに従って動作する。第2のRATは、第1のRATとは異なる。第1のスペクトルと第2のスペクトルは両方、共有スペクトルを含む。 According to various embodiments, computer program products are provided. Computer program products include program code executed by at least one processor. By executing the program code, at least one processor executes the method. This method involves communicating on at least one narrowband carrier. The communication takes place between at least one wireless access node and a first terminal connected to a wireless network. At least one narrowband carrier comprises resources in the first spectrum. At least one narrowband carrier operates according to the first RAT. The first spectrum is at least partially located within the second spectrum in which communication between the at least one access node and the second terminal is performed on the broadband carrier. Broadband carriers include resources within the second spectrum. The broadband carrier operates according to the second RAT. The second RAT is different from the first RAT. Both the first spectrum and the second spectrum include a shared spectrum.

様々な実施形態によれば、ワイヤレスネットワークのアクセスノードが提供される。アクセスノードは、無線リンク上でワイヤレスに送受信するように構成されたインターフェースを備える。アクセスノードは、インターフェースを介して端末と通信するように構成された少なくとも1つのプロセッサをさらに備える。端末は、ワイヤレスネットワークに接続されている。前記通信は、複数の狭帯域キャリア上で行われる。複数の狭帯域キャリアは、第1のスペクトル内のリソースを含み、第1のRATに従って動作する。少なくとも1つのアクセスノードと第2の端末との間の通信が広帯域キャリア上で実行される第2のスペクトル内に、第1のスペクトルが少なくとも部分的に配置される。広帯域キャリアは、第2のスペクトル内のリソースを含む。広帯域キャリアは、第2のRATに従って動作する。第2のRATは、第1のRATとは異なる。 According to various embodiments, access nodes for wireless networks are provided. The access node comprises an interface configured to send and receive wirelessly over a wireless link. The access node further comprises at least one processor configured to communicate with the terminal via an interface. The terminal is connected to a wireless network. The communication is performed on a plurality of narrow band carriers. The plurality of narrowband carriers include resources in the first spectrum and operate according to the first RAT. The first spectrum is at least partially located within the second spectrum in which communication between the at least one access node and the second terminal is performed on the broadband carrier. Broadband carriers include resources within the second spectrum. The broadband carrier operates according to the second RAT. The second RAT is different from the first RAT.

様々な実施形態によれば、ワイヤレスネットワークのアクセスノードが提供される。アクセスノードは、無線リンク上でワイヤレスに送受信するように構成されたインターフェースを備える。アクセスノードは、インターフェースを介して端末と通信するように構成された少なくとも1つのプロセッサを備える。端末は、ワイヤレスネットワークに接続されている。前記通信は、少なくとも1つの狭帯域キャリア上で行われる。少なくとも1つの狭帯域キャリアは、第1のスペクトル内のリソースを含む。少なくとも1つの狭帯域キャリアは、第1のRATに従って動作する。第1のスペクトルは、少なくとも部分的に第2のスペクトル内に配置される。第2のスペクトル上では、少なくとも1つのアクセスノードと第2の端末との間の通信は、広帯域キャリア上で実行される。広帯域キャリアは、第2のスペクトル内のリソースを含む。広帯域キャリアは、第2のRATに従って動作する。第2のRATは、第1のRATとは異なる。第1のスペクトルと第2のスペクトルは両方、共有スペクトルを含む。 According to various embodiments, access nodes for wireless networks are provided. The access node comprises an interface configured to send and receive wirelessly over a wireless link. The access node comprises at least one processor configured to communicate with the terminal via an interface. The terminal is connected to a wireless network. The communication takes place on at least one narrowband carrier. At least one narrowband carrier comprises resources in the first spectrum. At least one narrowband carrier operates according to the first RAT. The first spectrum is at least partially located within the second spectrum. On the second spectrum, communication between at least one access node and the second terminal is performed on the broadband carrier. Broadband carriers include resources within the second spectrum. The broadband carrier operates according to the second RAT. The second RAT is different from the first RAT. Both the first spectrum and the second spectrum include a shared spectrum.

様々な実施形態によれば、方法が提供される。この方法は、複数の狭帯域キャリア上で通信することを含む。前記通信は、ワイヤレスネットワークの少なくとも1つのアクセスノードと、ワイヤレスネットワークに接続された第1の端末との間で行われる。複数の狭帯域キャリアは、第1のスペクトル内のリソースを含む。複数の狭帯域キャリアは、第1のRATに従って動作する。第1のスペクトルは、少なくとも部分的に第2のスペクトル内に配置される。この方法は、広帯域キャリア上で、少なくとも1つのアクセスノードと第2の端末との間で通信することをさらに含む。広帯域キャリアは、第2のスペクトル内のリソースを含む。広帯域キャリアは、第2のRATに従って動作する。第2のRATは、第1のRATとは異なる。 According to various embodiments, methods are provided. This method involves communicating on multiple narrowband carriers. The communication takes place between at least one access node of the wireless network and a first terminal connected to the wireless network. The plurality of narrowband carriers include resources in the first spectrum. The plurality of narrowband carriers operate according to the first RAT. The first spectrum is at least partially located within the second spectrum. The method further comprises communicating between the at least one access node and the second terminal on a broadband carrier. Broadband carriers include resources within the second spectrum. The broadband carrier operates according to the second RAT. The second RAT is different from the first RAT.

様々な実施形態によれば、方法が提供される。この方法は、少なくとも1つの狭帯域キャリア上で通信することを含む。前記通信は、ワイヤレスネットワークの少なくとも1つのアクセスノードと、ワイヤレスネットワークに接続された第1の端末との間で行われる。少なくとも1つの狭帯域キャリアは、第1のスペクトル内のリソースを含む。少なくとも1つの狭帯域キャリアは、第1のRATに従って動作する。第1のスペクトルは、少なくとも部分的に第2のスペクトル内に配置される。この方法は、広帯域キャリア上で、少なくとも1つのアクセスノードと第2の端末との間で通信することをさらに含む。広帯域キャリアは、第2のスペクトル内のリソースを含む。広帯域キャリアは、第2のRATに従って動作する。第2のRATは、第1のRATとは異なる。第1のスペクトルと第2のスペクトルは両方、共有スペクトルを含む。 According to various embodiments, methods are provided. This method involves communicating on at least one narrowband carrier. The communication takes place between at least one access node of the wireless network and a first terminal connected to the wireless network. At least one narrowband carrier comprises resources in the first spectrum. At least one narrowband carrier operates according to the first RAT. The first spectrum is at least partially located within the second spectrum. The method further comprises communicating between the at least one access node and the second terminal on a broadband carrier. Broadband carriers include resources within the second spectrum. The broadband carrier operates according to the second RAT. The second RAT is different from the first RAT. Both the first spectrum and the second spectrum include a shared spectrum.

上述した特徴及び以下に説明する特徴は、示されたそれぞれの組み合わせだけでなく、本発明の範囲から逸脱することなく、他の組み合わせ又は単独で使用され得ることを理解されたい。 It should be appreciated that the features described above and the features described below may be used not only in each of the combinations shown, but also in other combinations or alone without departing from the scope of the invention.

第1のRATに係る第1のアクセスノードと第1の端末との間の通信と、第2のRATに係る第2のアクセスノードと第2の端末との間の通信の概略図である。It is a schematic diagram of the communication between the 1st access node and the 1st terminal which concerns on a 1st RAT, and the communication between a 2nd access node and a 2nd terminal which concerns on a 2nd RAT. アクセスノードが、第1のRATに従って第1の端末と通信し、第2のRATに従って第2の端末と通信するように構成され、第1のRATがNB-IoTに対応し、第2のRATがE-UTRAである、3GPP LTE及びNB-IoTフレームワークに係るセルラーネットワークの概略図である。The access node is configured to communicate with the first terminal according to the first RAT and with the second terminal according to the second RAT, the first RAT corresponds to NB-IoT, and the second RAT. Is a schematic diagram of a cellular network relating to the 3GPP LTE and NB-IoT frameworks of E-UTRA. 狭帯域NB-IoTキャリアの第1のスペクトルが広帯域LTEキャリアの第2のスペクトル内に配置されるシナリオを概略的に示す、無線リンク上のリソースを示す図である。FIG. 6 shows resources on a radio link schematically illustrating a scenario in which the first spectrum of a narrowband NB-IoT carrier is located within the second spectrum of a wideband LTE carrier. 複数の狭帯域NB-IoTキャリアの第1のスペクトルが広帯域LTEキャリアの第2のスペクトル内に配置されるシナリオを概略的に示し、帯域内不連続配備シナリオを概略的に示す、様々な実施形態に係る無線リンク上のリソースを示す図である。Various embodiments illustrating a scenario in which the first spectrum of a plurality of narrowband NB-IoT carriers is located within a second spectrum of a broadband LTE carrier and schematically an intraband discontinuous deployment scenario. It is a figure which shows the resource on the wireless link which concerns on. 複数の狭帯域NB-IoTキャリアの第1のスペクトルが広帯域LTEキャリアの第2のスペクトル内に配置されるシナリオを概略的に示し、帯域内連続配備シナリオを概略的に示す、様々な実施形態に係る無線リンク上のリソースを示す図である。In various embodiments, the first spectrum of the plurality of narrowband NB-IoT carriers is schematically shown in the second spectrum of the wideband LTE carrier, and the in-band continuous deployment scenario is shown roughly. It is a figure which shows the resource on the said wireless link. 複数の狭帯域NB-IoTキャリアの第1のスペクトルが広帯域LTEキャリアの第2のスペクトル内に部分的に配置されるシナリオを概略的に示し、帯域内/保護帯域に混在する不連続配備シナリオを示す、様々な実施形態に係る無線リンク上のリソースを示す図である。A scenario in which the first spectrum of a plurality of narrowband NB-IoT carriers is partially arranged in the second spectrum of a wideband LTE carrier is shown schematically, and a discontinuous deployment scenario in which the in-band / protection band is mixed is shown. It is a figure which shows the resource on the wireless link which concerns on the various embodiments shown. メッセージの各々が所与の冗長バージョン(redundancy version)に従って符号化されたデータを含む、後続の送信間隔で通信されるメッセージのバンドルされた送信セットを概略的に示す図である。It is a diagram schematically showing a bundled transmission set of messages communicated at subsequent transmission intervals, each of which contains data encoded according to a given redundancy version. 異なる冗長バージョンに従って符号化されたデータを含むメッセージを概略的に示す図である。It is a diagram schematically showing a message containing data encoded according to different redundant versions. 様々な実施形態に係る複数の狭帯域NB-IoTキャリア間の制御メッセージ及び制御信号の非対称の分布を概略的に示す図である。It is a figure which shows the asymmetric distribution of the control message and the control signal among a plurality of narrow band NB-IoT carriers which relate to various embodiments. 様々な実施形態に係る複数の狭帯域NB-IoTキャリアの非対称の送信電力を概略的に示す図である。It is a figure which shows schematic the asymmetric transmission power of a plurality of narrow band NB-IoT carriers which concerns on various embodiments. 様々な実施形態に係る、複数の狭帯域NB-IoTキャリアがそれに従って動作しているNB-IoT RATの通信プロトコルスタックのメディアアクセス層において複数の狭帯域キャリア上で通信されるメッセージのアグリゲーションを概略的に示す図である。The aggregation of messages communicated on a plurality of narrowband carriers in the media access layer of the communication protocol stack of the NB-IoT RAT in which the plurality of narrowband NB-IoT carriers according to the various embodiments are outlined. It is a figure which shows. 少なくとも1つの狭帯域NB-IoTキャリアの第1のスペクトル及び広帯域LTEキャリアの第2のスペクトルの両方が共有スペクトルを含むシナリオを概略的に示す、様々な実施形態に係る無線リンク上のリソースを示す図である。Shown are resources on radio links according to various embodiments that illustrate scenarios in which both the first spectrum of at least one narrowband NB-IoT carrier and the second spectrum of a wideband LTE carrier comprise a shared spectrum. It is a figure. 少なくとも1つの狭帯域NB-IoTキャリアの第1のスペクトル、広帯域LTEキャリアの第2のスペクトル、及び広帯域MTCキャリアの第3のスペクトルがすべて共有スペクトルを含むシナリオを概略的に示す、様々な実施形態に係る無線リンク上のリソースを示す図である。Various embodiments schematically illustrating a scenario in which the first spectrum of the at least one narrowband NB-IoT carrier, the second spectrum of the wideband LTE carrier, and the third spectrum of the wideband MTC carrier all include a shared spectrum. It is a figure which shows the resource on the wireless link which concerns on. 様々な実施形態に係る端末の概略図である。It is a schematic diagram of the terminal which concerns on various embodiments. 様々な実施形態に係るアクセスノードの概略図である。It is a schematic diagram of the access node which concerns on various embodiments. 様々な実施形態に係る方法のフローチャートである。It is a flowchart of the method which concerns on various embodiments.

以下、添付の図面を参照しながら、本発明の実施形態を詳細に説明する。実施形態の以下の説明は、限定的な意味で解釈されないものとすることを理解されたい。本発明の範囲は、単に例示的なものに過ぎない図面又は以下で説明する実施形態によって限定されないものとする。 Hereinafter, embodiments of the present invention will be described in detail with reference to the accompanying drawings. It should be understood that the following description of the embodiments shall not be construed in a limited sense. The scope of the invention is not limited to the drawings merely exemplary or the embodiments described below.

図面は概略表現であるとみなされ、図面に示される要素は、必ずしも縮尺通りに示されていない。むしろ、様々な要素は、それらの機能及び一般的な目的が当業者に明らかになるように表される。図面に示されている、又は本明細書に記載されている機能ブロック、デバイス、構成要素、又は他の物理的又は機能的ユニット間の任意の接続又は結合は、間接的な接続又は結合によっても実装され得る。構成要素間の結合は、ワイヤレス接続を介して確立されてもよい。 Drawings are considered schematic and the elements shown in the drawings are not necessarily shown to scale. Rather, the various elements are manifested to those skilled in the art in their function and general purpose. Any connection or connection between functional blocks, devices, components, or other physical or functional units shown in the drawings or described herein may also be by indirect connection or connection. Can be implemented. Coupling between the components may be established via a wireless connection.

機能ブロックは、ハードウェア、ファームウェア、ソフトウェア、又はそれらの組み合わせで実装され得る。 Functional blocks can be implemented in hardware, firmware, software, or a combination thereof.

以下では、一方では、第1のスペクトル内のリソースを含み、第1のRATに従って動作する少なくとも1つの狭帯域キャリア上の通信、他方では、第2のスペクトル内のリソースを含み、第2のRATに従って動作する広帯域キャリア上の通信を、同時配備する技法が開示されている。 In the following, on the one hand, the communication on at least one narrowband carrier that contains the resources in the first spectrum and operates according to the first RAT, and on the other hand, the resources in the second spectrum that contain the resources in the second spectrum and the second RAT. Techniques for simultaneous deployment of communications on wideband carriers that operate according to are disclosed.

同時配備は、狭帯域キャリアと広帯域キャリアとの間の干渉が存在する、少なくとも重複する地理エリアにおける第1及び第2のRATを介した通信を可能にすることを指し得る。同時配備は、第1及び第2のRAT上の通信間の干渉を回避するために、制御された干渉緩和を含むことができる。したがって、同時配備は、調整された方法で第1及び第2のRATを介して通信することに対応し得る。例えば、少なくともロールアウト中などに、集中調整が適用されてもよい。例えば、同時配備は、第1及び第2のRATの配備を調整する1つ以上のネットワークオペレータに対応し得る。 Simultaneous deployment can refer to allowing communication via first and second RATs at least in overlapping geographic areas where interference between narrowband and wideband carriers exists. Simultaneous deployment can include controlled interference mitigation to avoid interference between communications on the first and second RATs. Therefore, simultaneous deployment may correspond to communicating via the first and second RATs in a coordinated manner. For example, centralized adjustment may be applied, at least during rollouts. For example, simultaneous deployment may accommodate one or more network operators coordinating the deployment of first and second RATs.

RATは、無線リンク上で通信するための物理的接続技術に対応し得る。したがって、RATは、無線リンク上での通信を可能にする1組のルールを指定することがある。RATは、RATのキャリアに関連付けられたスペクトルの周波数帯域の帯域幅、送信時間間隔(TTI)の持続時間、例えばターボコード、畳み込み符号化、インターリービングなどの変調及び符号化方式(MCS)、例えば直交周波数分割多重化(OFDM)、バイナリ位相シフトキーイング(BPSK)、ガウス型最小シフトキーイング(GMSK)などの変調を含むグループから選択された要素を指定し得る。異なるRATは、そのようなルールの少なくとも1つに関して異なり得る。 The RAT may correspond to a physical connection technique for communicating over a wireless link. Therefore, the RAT may specify a set of rules that allow communication over the wireless link. RAT is a modulation and coding scheme (MCS) such as frequency band bandwidth of the spectrum associated with the carrier of RAT, duration of transmission time interval (TTI), eg turbocode, convolution coding, interleaving, etc. Elements selected from groups may be specified that include modulation such as orthogonal frequency division multiplexing (OFDM), binary phase shift keying (BPSK), Gaussian minimum shift keying (GMSK). Different RATs can be different with respect to at least one such rule.

RATは、キャリア上で実装され得る。キャリアは、所定のRATに係る通信を実装することができるリソースの特定の組を指定する。したがって、各キャリアは、あるスペクトルを含み、あるスペクトル上で通信するための1つ以上の論理チャネルを実装し得る。典型的には、比較的大きい総帯域幅の1つ以上の周波数帯域を有するスペクトルを含むキャリアは、広帯域キャリアと呼ばれ、これは、典型的には狭帯域キャリアと呼ばれる、比較的小さい総帯域幅の1つ以上の周波数帯域を有するスペクトルを含むキャリアとは対照的である。ここで、狭帯域キャリア及び広帯域キャリアは、同時配備のシナリオでは、互いに関して相対的に定義され得る。 The RAT can be implemented on the carrier. The carrier specifies a particular set of resources that can implement communication for a given RAT. Thus, each carrier may include one spectrum and implement one or more logical channels for communication on the spectrum. Carriers that include a spectrum with one or more frequency bands with a relatively large total bandwidth are typically referred to as wideband carriers, which are typically referred to as narrowband carriers, which are relatively small total bands. This is in contrast to carriers that contain spectra with one or more frequency bands of width. Here, narrowband carriers and wideband carriers can be defined relative to each other in a simultaneous deployment scenario.

狭帯域キャリア及び広帯域キャリアの第1及び第2のスペクトルはそれぞれ、両方とも1つ以上の周波数帯域を含み得る。スペクトルの周波数帯域は、連続的に配置される必要はない。いくつかの例では、第1及び第2のスペクトルは重複しない場合があり、すなわち、第1のスペクトルと第2のスペクトルの両方によって含まれる共有スペクトルが存在しない場合がある。さらなる例では、第1及び第2のスペクトルは、共有スペクトルを含み、共有スペクトルは、周波数ドメインにおける重複を画定し得る。 Both the first and second spectra of the narrowband carrier and the wideband carrier may both include one or more frequency bands. The frequency bands of the spectrum do not need to be arranged continuously. In some examples, the first and second spectra may not overlap, i.e., there may be no shared spectrum contained by both the first and second spectra. In a further example, the first and second spectra include a shared spectrum, which can define overlap in the frequency domain.

特に、以下では、広帯域キャリアに対する狭帯域キャリアの帯域内シナリオの技法が開示される。帯域内配置は、第1のスペクトルが少なくとも部分的に第2のスペクトル内に配置されることに対応し得る。例えば、帯域内配備のシナリオでは、第1のスペクトルの1つ以上の周波数帯域が、例えば保護帯域(guard bands)なしで、第2のスペクトルの1つ以上の周波数帯域に隣接して配置され得る。 In particular, the following discloses techniques for narrowband carrier in-band scenarios for wideband carriers. The in-band arrangement may correspond to the first spectrum being at least partially located within the second spectrum. For example, in an in-band deployment scenario, one or more frequency bands in the first spectrum may be placed adjacent to one or more frequency bands in the second spectrum, eg, without guard bands. ..

この文脈において、以下では、それぞれ少なくとも1つの狭帯域キャリア及び広帯域キャリアへのリソース割振りを柔軟に調整することを可能にする例が開示される。例えば、少なくとも1つの狭帯域キャリア上の通信がより高いデータレートを必要とするシナリオでは、追加のリソースを少なくとも1つの狭帯域キャリアに割り振る場合があり、ここでは、少なくとも1つの狭帯域キャリアのための追加のリソースが広帯域キャリアから取り除かれる可能性がある。 In this context, the following discloses examples that allow flexible adjustment of resource allocation to at least one narrowband carrier and wideband carrier, respectively. For example, in a scenario where communication on at least one narrowband carrier requires a higher data rate, additional resources may be allocated to at least one narrowband carrier, here for at least one narrowband carrier. Additional resources may be removed from the bandwidth carrier.

第1の例では、複数の狭帯域キャリア上での通信を実装することができる。複数の狭帯域キャリア上の通信は、いくつかのシナリオで、狭帯域キャリアアグリゲーション(CA)によって実装され得る。CAは、複数の狭帯域キャリアの各々について、第1のRATのそれぞれの通信プロトコルスタックの物理層の分離された、又は大きく分離された下端を実装し、通信プロトコルスタックを、例えば、メディアアクセス層又は物理層の上位のサブレイヤなど、下端の物理層より上のあるポイントにボンディングすることに対応し得る。CAは、複数のキャリアを介して単一の端末に通信することに対応する。複数の狭帯域キャリアを使用することによって、第1のスペクトルにおいて利用可能なリソースの量が増加し、それによって、第1のRATに係る通信のためのデータレートも増加させることができる。 In the first example, communication on a plurality of narrow band carriers can be implemented. Communication on multiple narrowband carriers may be implemented by narrowband carrier aggregation (CA) in some scenarios. For each of the plurality of narrowband carriers, the CA implements a separated or largely separated lower end of the physical layer of each communication protocol stack of the first RAT to provide the communication protocol stack, eg, the media access layer. Alternatively, it may correspond to bonding to a certain point above the physical layer at the lower end, such as a sublayer above the physical layer. CA corresponds to communicating with a single terminal via multiple carriers. By using a plurality of narrowband carriers, the amount of resources available in the first spectrum can be increased, thereby increasing the data rate for communication with respect to the first RAT.

第2の例では、少なくとも1つの狭帯域キャリアがそれに従って動作する第1のRATの第1のスペクトルと、広帯域キャリアがそれに従って動作する第2のRATの第2のスペクトルの両方が、共有スペクトルを含む。共有スペクトル内のリソースは、例えば、少なくとも1つの狭帯域キャリアの必要なデータレート、トラフィックスループットなどに応じて、少なくとも1つの狭帯域キャリア又は広帯域キャリアのいずれかに柔軟に割り振られ得る。したがって、第1及び第2のRATにわたる集中スケジューリングを実装することができる。例えば、スケジューリング方式は、少なくとも1つの狭帯域キャリアと広帯域キャリアとの間で、時分割多重化(TDM)方式で、共有スペクトル内のリソースを割り振り得る。 In the second example, both the first spectrum of the first RAT in which at least one narrowband carrier operates accordingly and the second spectrum of the second RAT in which the wideband carrier operates accordingly are shared spectra. including. Resources within the shared spectrum can be flexibly allocated to either at least one narrowband carrier or wideband carrier, depending on, for example, the required data rate, traffic throughput, etc. of at least one narrowband carrier. Therefore, centralized scheduling across the first and second RATs can be implemented. For example, the scheduling scheme may allocate resources within a shared spectrum in a time division multiplexing (TDM) scheme between at least one narrowband carrier and a wideband carrier.

本明細書に開示される様々な例は、LTE及び/又はMTCに関するNB-IoTの同時配備シナリオの特定の適用例を見出すことができる。特に、NB-IoTの単一キャリアは、典型的には、例えば180kHzの帯域幅に関連付けられているが、LTEの単一キャリアは、1.4MHz~20MHzの範囲内の帯域幅を有する。また、MTCの単一キャリアは、例えば1.4MHzの帯域幅を有する。したがって、NB-IoTキャリアは、LTEキャリア(広帯域LTEキャリア)及び/又はMTCキャリア(広帯域MTCキャリア)によって実装される広帯域キャリアに対して、狭帯域キャリア(狭帯域NB-IoTキャリア)を実装することができる。 The various examples disclosed herein can be found to be specific applications of NB-IoT co-deployment scenarios for LTE and / or MTC. In particular, a single carrier of NB-IoT is typically associated with a bandwidth of, for example, 180 kHz, whereas a single carrier of LTE has a bandwidth in the range of 1.4 MHz to 20 MHz. Also, a single carrier of the MTC has a bandwidth of, for example, 1.4 MHz. Therefore, the NB-IoT carrier implements a narrow band carrier (narrow band NB-IoT carrier) with respect to the wide band carrier mounted by the LTE carrier (broad band LTE carrier) and / or the MTC carrier (broad band MTC carrier). Can be done.

したがって、少なくとも1つの狭帯域NB-IoTキャリア及び広帯域LTEキャリア若しくは広帯域MTCキャリアの文脈で様々なシナリオを説明するが、本明細書に開示される技法は、他の種類の広帯域キャリア及び/又は狭帯域キャリアに容易に適用することができる。例えば、広帯域キャリアに関しては、同様の技法を、GSM(Global Systems for Mobile Communications)、WCDMA(Wideband Code Division Multiplex)、GPRS(General Packet Radio Service)、EDGE(Enhanced Data Rates for GSM Evolution)、EGPRS(Enhanced GPRS)、UMTS(Universal Mobile Telecommunications System)、及びHSPA(High Speed Packet Access)などの様々な種類の3GPP指定のRAT、並びに関連のセルラーネットワークの対応するアーキテクチャに容易に適用することができる。例えば、狭帯域キャリアに関しては、同様の技法を、LTE-M(LTE-Machine to Machine)などの様々な種類の他のRATに容易に適用することができる。 Thus, although various scenarios are described in the context of at least one narrowband NB-IoT carrier and wideband LTE or wideband MTC carrier, the techniques disclosed herein are other types of wideband carriers and / or narrow. It can be easily applied to band carriers. For example, for broadband carriers, similar techniques are used for GSM (Global Systems for Mobile Communications), WCDMA (Wideband Code Division Multiplex), GPRS (General Packet Radio Service), EDGE (Enhanced Data Rates for GSM Evolution), and EGPRS (Enhanced). It can be easily applied to various types of 3GPP designated RATs such as GPRS), UMTS (Universal Mobile Telecommunications System), and HSPA (High Speed Packet Access), as well as the corresponding architectures of related cellular networks. For example, for narrowband carriers, similar techniques can be readily applied to various types of other RATs such as LTE-M (LTE-Machine to Machine).

図1は、すなわちLTE技術に係る、NB-IoT RAT191及びE-UTRA RAT192の同時配備シナリオの態様を概略的に示す。図1の例では、第1のアクセスノード112-1は、無線リンク101上に実装された狭帯域NB-IoTキャリア上で第1の端末130-1(図1ではユーザ機器、UEと表示)と通信する。狭帯域NB-IoTキャリアは、NB-IoT RATに従って動作する。第2のアクセスノード112-2は、無線リンク101上に実装された広帯域LTEキャリア上で第2の端末130-2と通信する。広帯域LTEキャリアは、E-UTRA RATに従って動作する。 FIG. 1 schematically illustrates an aspect of a simultaneous deployment scenario of NB-IoT LAT191 and E-UTRA LAT192 relating to LTE technology. In the example of FIG. 1, the first access node 112-1 is the first terminal 130-1 on the narrow band NB-IoT carrier mounted on the wireless link 101 (indicated as a user device and UE in FIG. 1). Communicate with. The narrowband NB-IoT carrier operates according to the NB-IoT RAT. The second access node 112-2 communicates with the second terminal 130-2 on the broadband LTE carrier mounted on the wireless link 101. Broadband LTE carriers operate according to the E-UTRA RAT.

図1の例では、第1の端末130-1及び第2の端末130-2は、所与の地理的エリアに配置され、したがって、原則として、狭帯域NB-IoTキャリア上の通信が広帯域LTEキャリア上の通信を妨害する可能性がある。したがって、図1の例では、制御シグナリングは、第1のアクセスノード112-1と第2のアクセスノード112-2との間で干渉緩和を容易にするよう実装される。いくつかの例では、第1のアクセスノード112-1及び第2のアクセスノード112-2が同一の場所に配置され(co-located)、単一のアクセスノードによって実装されることも可能である。そのようなシナリオが図2に示される。 In the example of FIG. 1, the first terminal 130-1 and the second terminal 130-2 are located in a given geographical area, and therefore, in principle, communication on the narrowband NB-IoT carrier is wideband LTE. It may interfere with communication on the carrier. Therefore, in the example of FIG. 1, control signaling is implemented to facilitate interference mitigation between the first access node 112-1 and the second access node 112-2. In some examples, the first access node 112-1 and the second access node 112-2 may be co-located and implemented by a single access node. .. Such a scenario is shown in FIG.

図2は、いくつかの例示的な実装形態に係るセルラーネットワーク100のアーキテクチャを示す。特に、図2の例に係るセルラーネットワーク100は、時として発展型パケットシステム(EPS)と呼ばれることがある、3GPP LTEアーキテクチャを実装する。EPSはNB-IoTをサポートするように拡張されている。 FIG. 2 shows the architecture of a cellular network 100 according to some exemplary implementations. In particular, the cellular network 100 according to the example of FIG. 2 implements a 3GPP LTE architecture, sometimes referred to as an advanced packet system (EPS). EPS has been extended to support NB-IoT.

第2の端末130-2は、無線リンク101を介して、セルラーネットワーク100のアクセスノード112に接続されている。アクセスノード112及び端末130-2は、E-UTRA RATを実装し、したがって、アクセスポイントノード112はeNB112である。例えば、第2の端末130-2は、スマートフォン、携帯電話、テーブル、ノート、コンピュータ、スマートテレビなどを含むグループから選択され得る。 The second terminal 130-2 is connected to the access node 112 of the cellular network 100 via the wireless link 101. The access node 112 and the terminal 130-2 implement the E-UTRA RAT, and therefore the access point node 112 is an eNB 112. For example, the second terminal 130-2 may be selected from a group including smartphones, mobile phones, tables, notebooks, computers, smart TVs and the like.

第1の端末130-1は、無線リンク101を介してeNB112に接続されている。しかし、第1の端末130-1及びeNB112は、NB-IoT RATに従って通信する。例えば、第1の端末130-1は、IoTデバイスであってもよい。 The first terminal 130-1 is connected to the eNB 112 via the wireless link 101. However, the first terminals 130-1 and eNB 112 communicate according to the NB-IoT RAT. For example, the first terminal 130-1 may be an IoT device.

IoTデバイスは、典型的には、例えばLTEデバイス又はMTCデバイスと比較すると、データトラフィック量に対する要求が低く、レイテンシ要件が緩やかなデバイスである。さらに、IoTデバイスを使用する通信は、低複雑度及び低コストを達成するはずである。特に、無線周波数(RF)モデムは低複雑度を有するはずである。さらに、IoTデバイスのエネルギー消費は、バッテリー電源式デバイスが比較的長い持続時間にわたって機能することを可能にするために、比較的低いはずである。バッテリー寿命は、例えば最大10年間の通信ケイパビリティを提供するほど十分に長いはずである。 IoT devices are typically devices that have lower demands on data traffic and less latency requirements than, for example, LTE or MTC devices. In addition, communications using IoT devices should achieve low complexity and low cost. In particular, radio frequency (RF) modems should have low complexity. In addition, the energy consumption of IoT devices should be relatively low to allow battery-powered devices to function over a relatively long duration. Battery life should be long enough to provide communication capabilities, for example up to 10 years.

eNB112は、サービングゲートウェイ(SGW)117によって実装されるゲートウェイノードに接続される。SGW117は、ペイロードデータをルーティング及び転送し、端末130-1、130-2のハンドオーバ中のモビリティアンカーとして働き得る。 The eNB 112 is connected to a gateway node implemented by the serving gateway (SGW) 117. The SGW 117 can route and transfer payload data and act as a mobility anchor during handover of terminals 130-1 and 130-2.

SGW117は、パケットデータネットワークゲートウェイ(PGW)118によって実装されるゲートウェイノードに接続される。PGW118は、パケットデータネットワーク(PDN、図2には図示せず)に向かうデータのためのセルラーネットワーク110の出口点及び入口点として働き、このために、PGW118は、パケットデータネットワークのアクセスポイントノード121に接続される。アクセスポイントノード121は、アクセスポイント名(APN)によって一意に識別される。APNは、端末130-1、130-2によってパケットデータネットワークへのアクセスを求めるために使用される。 The SGW 117 is connected to a gateway node implemented by the Packet Data Network Gateway (PGW) 118. The PGW 118 serves as an exit point and an entry point for the cellular network 110 for data destined for the packet data network (PDN, not shown in FIG. 2), for which the PGW 118 serves as an access point node 121 for the packet data network. Connected to. The access point node 121 is uniquely identified by an access point name (APN). The APN is used by terminals 130-1 and 130-2 to seek access to the packet data network.

PGW118は、端末130-1、130-2のパケット化されたペイロードデータについてのエンドツーエンド接続(図2には図示せず)のエンドポイントとすることができる。エンドツーエンド接続は、特定のサービスのデータを通信するために使用され得る。異なるサービスは、異なるエンドツーエンド接続を使用してもよく、又は、少なくとも部分的に、あるエンドツーエンド接続を共有してもよい。エンドツーエンド接続は、サービス固有のデータを通信するために使用される1つ以上のベアラによって実装され得る。QoSクラス識別子(QCI)によって示される、あるサービス品質パラメータの組によって特徴付けられるEPSベアラ。 The PGW 118 can be an endpoint for an end-to-end connection (not shown in FIG. 2) for packetized payload data of terminals 130-1 and 130-2. End-to-end connections can be used to communicate data for a particular service. Different services may use different end-to-end connections, or at least partially share an end-to-end connection. The end-to-end connection can be implemented by one or more bearers used to communicate service-specific data. An EPS bearer characterized by a set of quality of service parameters, indicated by a QoS class identifier (QCI).

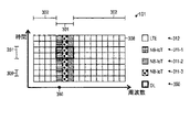
図3は、参照実装に係る同時配備シナリオにおける無線リンク101上の通信の態様を示す。図3は、広帯域LTEキャリア312と狭帯域NB-IoTキャリア311との間のリソース308の分布を示す。図3は、時間周波数リソースグリッドを示す。 FIG. 3 shows a mode of communication on the wireless link 101 in the simultaneous deployment scenario according to the reference implementation. FIG. 3 shows the distribution of resources 308 between the wideband LTE carrier 312 and the narrowband NB-IoT carrier 311. FIG. 3 shows a time frequency resource grid.

図3では、特定のリソース308は、強調表示されており、NB-IoT RAT191に係るeNB112と端末130-1との間のデータパケット350を含むDLペイロードメッセージの通信のためのダウンリンク(DL)スケジューリング割当てによって識別される(以下の図において同じグラフィカル表記に従う)。 In FIG. 3, the specific resource 308 is highlighted and is a downlink (DL) for communication of a DL payload message including a data packet 350 between the eNB 112 and the terminal 130-1 according to the NB-IoT RAT191. Identified by scheduling allocation (following the same graphical notation in the figure below).

図3の例では、リソース308の各々は、所与の冗長バージョンに従って符号化されたデータパケット350を搬送し、図3の例では、データパケット350が繰り返し送信される。他の例では、例えばHARQ再送ごとに、データパケット350の単一の反復のみが送信されることも可能である。 In the example of FIG. 3, each of the resources 308 carries a data packet 350 encoded according to a given redundant version, and in the example of FIG. 3, the data packet 350 is repeatedly transmitted. In another example, it is possible, for example, for each HARQ retransmission that only a single iteration of the data packet 350 be transmitted.

図3は、データパケット350のDL通信について例示されているが、それぞれの技法は、アップリンク(UL)スケジューリング許可(grant)にも容易に適用され得る。ここでは、UL通信のために特定のリソース308が識別される。 Although FIG. 3 illustrates DL communication of data packet 350, each technique can also be readily applied to uplink (UL) scheduling grants. Here, a particular resource 308 is identified for UL communication.

各リソース308は、例えば、あるビット数を無線リンク101上で通信することができる時間周波数リソースブロックを指定することができる。MCSに応じて、リソース308当たりのビット数は変わり得る。リソース308は、時間ドメイン(図3の垂直軸)において明確な持続時間を有する。リソース308の持続時間は、時としてサブフレーム309と呼ばれることがあるTTIの持続時間に対応する。所与の持続時間の間に、ある数のシンボルがその後通信されることがある。同様に、リソース308は、周波数ドメイン(図3の水平軸)において明確な幅を有する。例えば、幅は180kHzになり得る。典型的には、各リソース308は、シンボルが直交変調される複数のサブキャリアを含む。 Each resource 308 can specify, for example, a time frequency resource block capable of communicating a certain number of bits on the wireless link 101. Depending on the MCS, the number of bits per resource 308 can vary. Resource 308 has a well-defined duration in the time domain (vertical axis in FIG. 3). The duration of resource 308 corresponds to the duration of TTI, sometimes referred to as subframe 309. During a given duration, a certain number of symbols may subsequently be communicated. Similarly, resource 308 has a well-defined width in the frequency domain (horizontal axis of FIG. 3). For example, the width can be 180 kHz. Typically, each resource 308 contains a plurality of subcarriers whose symbols are quadrature modulated.

わかるように、広帯域LTEキャリア312は、第2のスペクトル302内のリソース308を含む。第2のスペクトル302は、2つの不連続に配置された周波数帯域を含む。第2のスペクトル302の範囲内に、狭帯域NB-IoTキャリア311の第1のスペクトル301のリソース308が配置される。第1のスペクトル301は、図3の例では単一の周波数帯域のみを含む。例えば、第1のスペクトル301の単一の周波数帯域は、180kHzの帯域幅を有している可能性があり、これは、単一のリソース308の周波数幅に対応し得る。第1のスペクトル301の単一の周波数帯域は、第2のスペクトル302の2つの周波数帯域に隣接して配置される。 As can be seen, the broadband LTE carrier 312 includes the resource 308 in the second spectrum 302. The second spectrum 302 includes two discontinuously arranged frequency bands. Within the range of the second spectrum 302, the resource 308 of the first spectrum 301 of the narrowband NB-IoT carrier 311 is arranged. The first spectrum 301 includes only a single frequency band in the example of FIG. For example, the single frequency band of the first spectrum 301 may have a bandwidth of 180 kHz, which may correspond to the frequency width of a single resource 308. The single frequency band of the first spectrum 301 is arranged adjacent to the two frequency bands of the second spectrum 302.

図3の例における第1及び第2のスペクトル301、302は、周波数領域において重複しないので、狭帯域NB-IoTキャリア311上で通信することと、広帯域LTEキャリア312上で通信することとの間の干渉が緩和される。 The first and second spectra 301 and 302 in the example of FIG. 3 do not overlap in the frequency domain, so that between communicating on the narrowband NB-IoT carrier 311 and communicating on the wideband LTE carrier 312. Interference is mitigated.

狭帯域NB-IoTキャリア311と広帯域LTEキャリア312の両方は、例えば、あるアプリケーションの上位層のユーザデータを含むデータパケットを搬送するペイロードメッセージを通信するための1つ以上のペイロードチャネルを実装し得る。特に、ペイロードチャネルは、UL通信及びDL通信を容易にする可能性がある。例えば、広帯域LTEキャリア312の場合、DLペイロードチャネルは、時として物理ダウンリンク共有チャネル(PDSCH)と呼ばれることがある。例えば、広帯域LTEキャリア312の場合、ULペイロードチャネルは、時として物理アップリンク共有チャネル(PUSCH)と呼ばれることがある。狭帯域NB-IoTキャリア311についてのいくつかのシナリオでは、同様の表記が使用され得る。 Both the narrowband NB-IoT carrier 311 and the wideband LTE carrier 312 may implement, for example, one or more payload channels for communicating payload messages carrying data packets containing user data in the upper layers of an application. .. In particular, the payload channel may facilitate UL and DL communications. For example, in the case of the broadband LTE carrier 312, the DL payload channel is sometimes referred to as the physical downlink shared channel (PDSCH). For example, in the case of the broadband LTE carrier 312, the UL payload channel is sometimes referred to as the physical uplink shared channel (PUSCH). Similar notations may be used in some scenarios for the narrowband NB-IoT carrier 311.

狭帯域NB-IoTキャリア311と広帯域LTEキャリア312の両方は、それぞれのRAT191、192に従って通信を構成するための制御情報を搬送する制御メッセージを通信するための1つ以上の制御チャネルを実装し得る。例えば、広帯域LTEキャリア312の場合、特定のDL制御チャネルは、スケジューリング制御メッセージ、電力制御メッセージ、無線リソース制御(RRC)制御シグナリングなどの通信に使用される物理ダウンリンク制御チャネル(PDCCH)である。制御チャネルのさらなる例には、PCFICH(Physical Control Format Indicator Channel)、再送を制御することによってデータの通信を保護する自動再送要求(ARQ)プロトコルの肯定応答メッセージを通信するためのPHICH(Physical Hybrid-ARQ Indicator Channel)、及びPBCH(Physical Broadcast Channel)がある。PBCHは、ネットワークへのアクセスを要求する端末のためのシステム情報を搬送することができる。システム情報は、マスター情報ブロック(MIB)制御メッセージ又はシステム情報ブロック(SIB)制御メッセージを含み得る。広帯域LTEキャリア312に関して上記で開示したのと同様の制御チャネルが、狭帯域NB-IOTキャリア311についても実装され得る。 Both the narrowband NB-IoT carrier 311 and the wideband LTE carrier 312 may implement one or more control channels for communicating control messages carrying control information for configuring communication according to their respective RAT191,192. .. For example, in the case of the broadband LTE carrier 312, the particular DL control channel is a physical downlink control channel (PDCCH) used for communication such as scheduling control messages, power control messages, radio resource control (RRC) control signaling and the like. Further examples of control channels are PCFICH (Physical Control Format Indicator Channel), PHICH (Physical Hybrid-) for communicating acknowledgment messages of the Automatic Repeat Request (ARQ) protocol, which protects the communication of data by controlling retransmissions. There are ARQ Indicator Channel) and PBCH (Physical Broadcast Channel). The PBCH can carry system information for terminals requesting access to the network. System information may include a master information block (MIB) control message or a system information block (SIB) control message. Control channels similar to those disclosed above for the wideband LTE carrier 312 may also be implemented for the narrowband NB-IOT carrier 311.

図3の例では、狭帯域NB-IoTキャリア311上のNB-IoT RAT191に係るメッセージの通信に利用可能な第1のスペクトル301の周波数帯域の帯域幅は、180kHzに制限される。このため、データレートも制限される。 In the example of FIG. 3, the bandwidth of the frequency band of the first spectrum 301 available for communication of the message relating to the NB-IoT RAT191 on the narrowband NB-IoT carrier 311 is limited to 180 kHz. Therefore, the data rate is also limited.

また、図3の例では、通信のレイテンシは比較的長い。これは、データパケット350を通信するために、4つの後続のサブフレーム309が必要とされるからである。詳細には、図3のような参照実装によれば、同じ冗長バージョンの符号化データのある回数の反復送信(図3の例では、同じ冗長バージョンの4回の送信が、データパケット350の通信に使用される)。したがって、ARQプロトコル内の符号化データの各冗長バージョンは、ある回数反復される。ここでは、典型的には、同一の冗長バージョンを搬送するメッセージの反復が、無線リンク上で実装されるチャネルの連続/後続のサブフレーム309において通信されるメッセージのバンドルされた送信セット351によって実装されると仮定されており、例えば、3GPP Technical Report(TR)45.820 V13.0.0(2015-08),Section6.2.1.3又は3GPP TR 36.888 V12.0.0(2013-6)を参照されたい。バンドルされた送信セット351を使用することによって、無線リンク上で通信する条件が悪いシナリオでも、送信の成功の可能性を高めることができる。それによって、MTC及びNB-IoTドメイン内で想定される低送信電力の場合であっても、セルラーネットワークのカバレージをかなり強化することができる。これは、時としてカバレージ強化(CE)と呼ばれることがある。 Further, in the example of FIG. 3, the communication latency is relatively long. This is because four subsequent subframes 309 are required to communicate the data packet 350. Specifically, according to the reference implementation as shown in FIG. 3, a certain number of iterative transmissions of the same redundant version of encoded data (in the example of FIG. 3, four transmissions of the same redundant version are the communications of the data packet 350. Used for). Therefore, each redundant version of the coded data in the ARQ protocol is repeated a certain number of times. Here, message iterations that carry the same redundant version are typically implemented by a bundled transmission set 351 of messages communicated in successive / subsequent subframes 309 of channels implemented on the wireless link. For example, 3GPP Technical Report (TR) 45.820 V13.0.0 (2015-08), Section 6.2.1.3 or 3GPP TR 36.888 V12.0.0 (2013). Please refer to -6). By using the bundled transmission set 351 it is possible to increase the probability of successful transmission even in a scenario where the conditions for communicating on the wireless link are poor. Thereby, even in the case of the low transmission power assumed within the MTC and NB-IoT domains, the coverage of the cellular network can be significantly enhanced. This is sometimes referred to as coverage enhancement (CE).

以下では、NB-IoT RAT191に係る通信に利用可能な総帯域幅の柔軟な調整を可能にする様々な技法が開示され、それによって、NB-IoT RAT191に係る通信のデータレートも柔軟に調整することができ、代替又は追加として、例えば、同じ冗長バージョンのデータの送信を調整することによって、送信レイテンシを低減することも可能である。 In the following, various techniques that allow flexible adjustment of the total bandwidth available for communication according to NB-IoT RAT191 are disclosed, thereby flexibly adjusting the data rate of communication according to NB-IoT RAT191. It can be possible to reduce transmission latency as an alternative or addition, eg, by coordinating the transmission of the same redundant version of the data.

以下に開示される技法は、IoTデバイスを実装する端末130-1の限られたRFモデムの複雑さが、典型的に、その利用される無線帯域幅及びピークデータレートのみによって、又は主にそれらによって決定されないことを知ることによって動機付けられる。特に、RFサブシステム又はRFモデムのアナログフロントエンドなどのいくつかの他のパラメータは、サイズ及びコスト、したがって複雑さを定義する。この結果として、一部のRFモデムベンダーは、例えば規模の経済の恩恵を受けるために、MTCとNB-IoT RFモデムの両方のためにハードウェア構成要素の設計を再利用することがある。したがって、NB-IoT RFモデムは、単一の狭帯域NB-IoTキャリア(図3参照)に対応する、例えば180kHzよりも大きい帯域幅及びデータレートを利用することができるハードウェアであり得る。ハードウェアのケイパビリティがそのような帯域幅の増加をサポートする可能性があるので、これは、NB-IoT RAT191に係る通信に利用可能な帯域幅の増加を促す。 The techniques disclosed below show that the complexity of the limited RF modems of terminals 130-1 that implement IoT devices is typically due solely to the radio bandwidth and peak data rates utilized, or primarily to them. Motivated by knowing that it is not determined by. In particular, some other parameters, such as the RF subsystem or the analog front end of the RF modem, define size and cost, and thus complexity. As a result, some RF modem vendors may reuse hardware component designs for both MTC and NB-IoT RF modems, for example to benefit from economies of scale. Thus, an NB-IoT RF modem can be hardware that supports a single narrowband NB-IoT carrier (see FIG. 3) and is capable of utilizing bandwidths and data rates greater than, for example, 180 kHz. This encourages an increase in the bandwidth available for communication according to the NB-IoT RAT191, as hardware capabilities may support such an increase in bandwidth.

図4は、NB-IoT RAT191に係る通信により大きい総帯域幅を使用するリソース308の分布の第1の例である。図3及び図4の比較から、図4の例のNB-IoT RAT191に係る通信は、複数の狭帯域NB-IoTキャリア311-1、311-2を使用することがわかる。図4の例では、2つの狭帯域NB-IoTキャリア311-1、311-2は、帯域内不連続配備シナリオで配置される。第1のスペクトル301の周波数帯域の総帯域幅は2倍になる。それによって、総データレートをも増加させることができる。 FIG. 4 is a first example of the distribution of resources 308 using a larger total bandwidth for communications according to NB-IoT RAT191. From the comparison of FIGS. 3 and 4, it can be seen that the communication according to the NB-IoT RAT191 of the example of FIG. 4 uses a plurality of narrowband NB-IoT carriers 311-1 and 311-2. In the example of FIG. 4, the two narrowband NB-IoT carriers 311-1 and 311-2 are arranged in an in-band discontinuous deployment scenario. The total bandwidth of the frequency band of the first spectrum 301 is doubled. Thereby, the total data rate can also be increased.

図5は、NB-IoT RAT191に係る通信により大きい総帯域幅を使用するリソース308の分布の第2の例である。図3及び図5の比較から、図5の例のNB-IoT RAT191に係る通信は、複数の狭帯域NB-IoTキャリア311-1、311-2、311-3を使用することがわかる。図5の例では、3つの狭帯域NB-IoTキャリア311-1、311-2、311-3は、帯域内連続配備シナリオで配置される。第1のスペクトル301の周波数帯域の総帯域幅は3倍になる。それによって、総データレートをも増加させることができる。 FIG. 5 is a second example of the distribution of resources 308 using a larger total bandwidth for communications according to NB-IoT RAT191. From the comparison of FIGS. 3 and 5, it can be seen that the communication according to the NB-IoT RAT191 of the example of FIG. 5 uses a plurality of narrowband NB-IoT carriers 311-1, 311-2, 311-3. In the example of FIG. 5, the three narrowband NB-IoT carriers 311-1, 311-2, 311-3 are arranged in an in-band continuous deployment scenario. The total bandwidth of the frequency band of the first spectrum 301 is tripled. Thereby, the total data rate can also be increased.

図6は、NB-IoT RAT191に係る通信により大きい総帯域幅を使用するリソース308の分布の第3の例である。図3及び図6の比較から、図6の例のNB-IoT RAT191に係る通信は、複数のNB-IoTキャリア311-1、311-2を使用することがわかる。図6の例では、2つの狭帯域NB-IoTキャリア311-1、311-2は、帯域内/保護帯域に混在する不連続配備シナリオで配置される。第1のスペクトル301の周波数帯域の総帯域幅は2倍になる。それによって、総データレートも増加させることができる。 FIG. 6 is a third example of the distribution of resources 308 using a larger total bandwidth for communications according to NB-IoT RAT191. From the comparison of FIGS. 3 and 6, it can be seen that the communication according to the NB-IoT RAT191 of the example of FIG. 6 uses a plurality of NB-IoT carriers 311-1 and 311-2. In the example of FIG. 6, the two narrowband NB-IoT carriers 311-1 and 311-2 are arranged in a discontinuous deployment scenario in which the in-band / protection band is mixed. The total bandwidth of the frequency band of the first spectrum 301 is doubled. Thereby, the total data rate can also be increased.

図4~図6のシナリオでは、図3の参照実装と比較すると、NB-IoT RAT191の総帯域幅が増加する。したがって、追加の狭帯域NB-IoTキャリア311-1、311-2、311-3の拡張された帯域幅で通信する端末130-1のケイパビリティ、例えば、ハードウェア及び/又はソフトウェアのケイパビリティを確保することが望ましい場合がある。このために、ケイパビリティ制御メッセージが狭帯域NB-IoTキャリア311-1、311-2、311-3の制御チャネルで通信されることが可能であり、ケイパビリティ制御メッセージは、第1の端末130-1の第1のスペクトル301での通信のケイパビリティを示すインジケータを含む。 In the scenarios of FIGS. 4-6, the total bandwidth of the NB-IoT RAT191 is increased as compared to the reference implementation of FIG. Therefore, the capabilities of the terminal 130-1 communicating with the extended bandwidth of the additional narrowband NB-IoT carriers 311-1, 311-2, 311-3, such as the hardware and / or software capabilities, are ensured. May be desirable. Therefore, the capability control message can be communicated on the control channel of the narrow band NB-IoT carrier 311-1, 311-2, 311-3, and the capability control message is the first terminal 130-1. Includes an indicator indicating the capabilities of communication in the first spectrum 301 of.

したがって、図4~図6に係るシナリオでは、複数の狭帯域キャリア311-1、311-2、311-3が使用され、第1のスペクトル301は、第2のスペクトル302の範囲内に少なくとも部分的に配置される。例えば、図6を参照すると、第1のスペクトル301の帯域内周波数帯域は、第2のスペクトル302の周波数帯域に隣接し、第1のスペクトル301の保護帯域周波数帯域は、第2のスペクトル302の周波数帯域に隣接しない。 Therefore, in the scenario according to FIGS. 4-6, a plurality of narrowband carriers 311-1, 311-2, 311-3 are used, and the first spectrum 301 is at least a portion within the range of the second spectrum 302. Is arranged. For example, referring to FIG. 6, the in-band frequency band of the first spectrum 301 is adjacent to the frequency band of the second spectrum 302, and the protected band frequency band of the first spectrum 301 is that of the second spectrum 302. Not adjacent to the frequency band.

図4~図6では、2つ又は3つのNB-IoTキャリア、311-1、311-2、311-3が使用される例が開示されているが、他の例では、より多くの数のNB-IoTキャリア、例えば、4つ、5つ、最高10などのNB-IoTキャリアが使用され得る。図4~図6の特定の時間周波数割振り方式は、説明の目的でのみ提供される。図4~図6に示す例は、互いに組み合わせることができる。 4 to 6 disclose examples in which two or three NB-IoT carriers, 311-1, 311-2, 311-3 are used, but in other examples, a larger number. NB-IoT carriers such as 4, 5, 5 and up to 10 NB-IoT carriers can be used. The specific time-frequency allocation schemes of FIGS. 4-6 are provided for illustration purposes only. The examples shown in FIGS. 4 to 6 can be combined with each other.

図6Aは、バンドリングポリシーの態様を示す。バンドリングポリシーは、所与の冗長バージョンに従って符号化されたデータを含むメッセージをバンドルされた送信セット351として通信することに対応する。これらの技法は、UL及びDLに使用することができる。バンドリングポリシーは、所与の冗長バージョンに従って符号化された同じデータパケットが複数の反復を使用してどのように通信されるかを指定する。バンドリングポリシーの適用はオプションである。バンドリングポリシーが適用される様々な例が開示されているが、バンドリングポリシーは、本明細書に開示された技法には密接な関係がなく、例えば、CAシナリオなど、複数の異なる狭帯域NB-IoTキャリア上での通信を使用する技法には、密接な関係はない。例えば、各HARQ再送内で、所与の冗長バージョン371~373の単一の反復のみが通信されることが可能である。 FIG. 6A shows an aspect of the bundling policy. The bundling policy corresponds to communicating a message containing data encoded according to a given redundant version as a bundled transmission set 351. These techniques can be used for UL and DL. The bundling policy specifies how the same data packet encoded according to a given redundant version is communicated using multiple iterations. Applying a bundling policy is optional. Although various examples to which bundling policies apply are disclosed, bundling policies are not closely related to the techniques disclosed herein and are not closely related to different narrowband NBs, such as CA scenarios. -The techniques that use communication on IoT carriers are not closely related. For example, within each HARQ retransmission, only a single iteration of a given redundant version 371-373 can be communicated.

図6Aは、バンドリングポリシー下でペイロードチャネルを介して通信されるペイロードメッセージを示す。ペイロードメッセージは、第1の冗長バージョン371(図6AにはRV0と表示)に従って符号化されたデータパケット350を含む。図6Aからわかるように、メッセージは、後続のサブフレーム309において連続して通信され、それによって、バンドルされた送信セット351を実装する。例えば、バンドルされた送信セット351は、20よりも大きい、又は50よりも大きい、又は100よりも大きい数のペイロードメッセージを含んでいてもよく、すべてデータパケット350の冗長な反復を搬送する。 FIG. 6A shows a payload message communicated over the payload channel under a bundling policy. The payload message includes a data packet 350 encoded according to the first redundant version 371 (indicated as RV0 in FIG. 6A). As can be seen from FIG. 6A, the messages are communicated continuously in subsequent subframes 309, thereby implementing the bundled transmission set 351. For example, the bundled transmit set 351 may contain a number of payload messages greater than 20, greater than 50, or greater than 100, all carrying redundant iterations of the data packet 350.

データパケット350を搬送する後続のサブフレーム309は、異なる狭帯域NB-IoTキャリア311-1、311-2にわたって分布する。いくつかの例では、バンドルされた送信セット351のサブフレーム309の時間的配置及び/又は数は、異なる狭帯域NB-IoTキャリア311-1、311-2にわたって対称的に分布していてもよい(図6Aに示すように)。さらなる例では、バンドルされた送信セット351のサブフレーム309の時間的配置及び/又は数は、異なる狭帯域NB-IoTキャリア311-1、311-2、311-3にわたって非対称的に分布していてもよい(図6Aには図示せず)。 Subsequent subframes 309 carrying the data packet 350 are distributed across different narrowband NB-IoT carriers 311-1 and 311-2. In some examples, the temporal arrangement and / or number of subframes 309 of the bundled transmit set 351 may be symmetrically distributed across different narrowband NB-IoT carriers 311-1 and 311-2. (As shown in FIG. 6A). In a further example, the temporal arrangement and / or number of subframes 309 of the bundled transmit set 351 is asymmetrically distributed across different narrowband NB-IoT carriers 311-1, 311-2, 311-3. It may be (not shown in FIG. 6A).

図6Aに示されているメッセージの特定の時間周波数配置は、一例にすぎない。他の例が考えられる。 The specific time frequency arrangement of the message shown in FIG. 6A is only an example. Other examples are possible.

図6Aでは、ペイロードメッセージが通信されるシナリオが示されているが、同様の技法は、他の種類及びタイプのメッセージ、例えば制御メッセージに容易に適用され得る。 Although FIG. 6A shows a scenario in which a payload message is communicated, similar techniques can be readily applied to other types and types of messages, such as control messages.

図6Bは、異なる冗長バージョン371~373に従ってデータパケット350を符号化する態様を示す。図6Bからわかるように、データパケット350は、一連のビットを含む。例えば、データパケット350は、MAC層サービスデータユニット(SDU)の少なくとも一部とすることができる。データパケット350は、RRCコマンド、又はACK、NACK、UL許可、若しくはDL割当てなど他の制御データに対応することも可能である。 FIG. 6B shows an embodiment of encoding the data packet 350 according to different redundant versions 371-373. As can be seen from FIG. 6B, the data packet 350 includes a series of bits. For example, the data packet 350 can be at least part of a MAC layer service data unit (SDU). The data packet 350 can also correspond to RRC commands or other control data such as ACK, NACK, UL authorization, or DL allocation.

データパケット350を符号化することは、データパケット350にチェックサム412を追加することに対応し得る。リードソロモン符号化、ターボ畳み込み符号化、畳み込み符号化など、様々な符号化の技法を使用することができる。チェックサム412の提供は、コーディング方式に係る対応するメッセージの破損したビットの再構成を容易にすることができる。典型的には、チェックサム412が長い(短い)ほど、ノイズ及びチャネルの不完全性に対する対応するメッセージの通信がより強固になり(より強固でなくなり)、したがって、データパケット350を正常に受信する確率は、チェックサムの長さによって調整することができる。代替又は追加として、データを符号化することは、データパケット350のビットがシャッフルされるインターリーブを適用することに対応し得る(図6Bには図示せず)。 Encoding the data packet 350 may correspond to adding a checksum 412 to the data packet 350. Various coding techniques can be used, such as Reed-Solomon coding, turbo convolutional coding, and convolutional coding. The provision of a checksum 412 can facilitate the reconstruction of corrupted bits in the corresponding message according to the coding scheme. Typically, the longer (shorter) the checksum 412, the stronger (less) the communication of the corresponding message for noise and channel imperfections, and thus the successful reception of the data packet 350. The probability can be adjusted by the length of the checksum. Encoding the data, as an alternative or addition, may correspond to applying an interleave in which the bits of the data packet 350 are shuffled (not shown in FIG. 6B).

典型的には、異なる冗長バージョン371~373は、異なる長さのチェックサム412に対応する(図6Bに図示されるように)。他の例では、異なる冗長バージョン371~373は同じ長さの、しかし、異なるコーディング方式に従って符号化されたチェックサム412を使用することも可能である。代替又は追加として、異なる冗長バージョンは、異なるインターリーブ方式を使用し得る。 Typically, the different redundant versions 371-373 correspond to checksums 412 of different lengths (as illustrated in FIG. 6B). In another example, the different redundant versions 371-373 can also use checksums 412 of the same length, but encoded according to different coding schemes. As an alternative or addition, different redundant versions may use different interleaving schemes.

以下では、異なる冗長バージョンを構築する例示的な実装形態が与えられる。 In the following, exemplary implementations are given to build different redundant versions.

異なる冗長バージョンを構築するステップ1:情報ビットのブロック、すなわち送信されるデータパケット350が符号化される。ここで、追加の冗長ビットが、すなわち、データパケット350に加えて、生成される。Nを情報ビット数とすると、例えば、E-UTRA RATの場合、符号化されたビットの総数(すなわち、情報ビット及び冗長ビットの合計)は3Nに達し得る。すべての3Nビットを受信するデコーダは、典型的には、BERが高いために受信ビットに多数のビットエラーが存在するとしても、情報ビットを復号することができる。 Step 1: Build a Different Redundant Version 1: A block of information bits, i.e., a data packet 350 to be transmitted, is encoded. Here, additional redundant bits are generated, i.e., in addition to the data packet 350. Assuming that N is the number of information bits, for example, in the case of E-UTRA RAT, the total number of encoded bits (that is, the total of information bits and redundant bits) can reach 3N. A decoder that receives all 3N bits can typically decode the information bits even if there are a large number of bit errors in the received bits due to the high BER.

異なる冗長バージョンを構築するステップ2:したがって、送信の過剰なオーバーヘッドを回避するために、冗長ビットの一部分のみが選択される。情報ビット及び選択された冗長ビットは、第1の冗長バージョン371を形成する。したがって、第1の冗長バージョンに係る符号化ビットの量は371、上記の例を使用すると、Nと3Nとの間のどこかである。一部分を選択することによって冗長ビットを取り除くプロセスは、時としてパンクチャリングと呼ばれることがある。この第1の冗長バージョン371は、次いで、受信機に送信され得る。 Step 2: Build a Different Redundant Version: Therefore, only a portion of the redundant bits is selected to avoid excessive transmission overhead. The information bits and the selected redundant bits form the first redundant version 371. Therefore, the amount of coding bits for the first redundant version is 371, somewhere between N and 3N using the above example. The process of removing redundant bits by selecting a portion is sometimes referred to as puncturing. This first redundant version 371 may then be transmitted to the receiver.

異なる冗長バージョンを構築するステップ3:HARQプロトコルに従って再送が要求される場合、新しい冗長バージョン372、373が送信される。より高次の冗長バージョン372、373は、ステップ2において予めパンクチャリングされたものからの追加の冗長ビットを含み、典型的には、この場合も同じ情報ビットを含む。このようにして、数回の反復の後、3Nビット全体が少なくとも1回送信されている。 Step 3: Build Different Redundant Versions: If retransmissions are requested according to the HARQ protocol, new redundant versions 372,373 are transmitted. Higher-order redundant versions 372, 373 include additional redundant bits from those pre-punctured in step 2, typically again containing the same information bits. In this way, after several iterations, the entire 3N bit is transmitted at least once.

ペイロードメッセージ及び制御メッセージについての所与の冗長バージョン371~373に従って符号化されたデータを含むメッセージの冗長送信又は反復を使用して、バンドルされた送信セット351を実装することが可能である。 It is possible to implement a bundled transmission set 351 using redundant transmissions or iterations of messages containing data encoded according to given redundant versions 371-373 for payload messages and control messages.

受信機がデータパケット350の複数の反復を受信する場合、復号は、複数の反復の受信信号の組み合わせに基づくことができる。それによって、復号の成功の可能性を高めることができる。送信の成功を容易にするために送信電力をブーストする代わりに、又はそれに加えて、複数の反復を実装することを実装することができる。 If the receiver receives multiple iterations of the data packet 350, decoding can be based on a combination of received signals from the multiple iterations. Thereby, the possibility of successful decryption can be increased. Instead of boosting the transmit power to facilitate successful transmission, or in addition, it can be implemented to implement multiple iterations.

図4~図6と図3との比較から、所与のデータパケットを通信するためのバンドルされた送信セット351の持続時間を大幅に短縮できることがわかる。したがって、レイテンシを短縮することができる。これは、データパケット350の同じ冗長バージョンを異なる狭帯域NB-IoTキャリア311-1、311-2、311-3上で通信することによって達成される。すなわち、所与の冗長バージョン371~373に従って符号化されたデータパケット350を含む第1のメッセージは、第1の狭帯域NB-IoTキャリア311-1、311-2、311-3上で通信され、同じ所与の冗長バージョン371~373に従って符号化されたデータパケット350を含む第2のメッセージは、第1の狭帯域NB-IoTキャリア311-1、311-2、311-3とは異なる第2の狭帯域NB-IoTキャリア311-1、311-2、311-3上で通信されることが可能である。すなわち、所与の冗長バージョン371、372、373に従って符号化されたデータパケット350の第1の複数の反復は、1次キャリア311-1上で通信され、同一の所与の冗長バージョン371、372、373に従って符号化されたデータパケットの第2の複数の反復は、2次キャリア311-2上で通信されることが可能である。 From the comparison between FIGS. 4 to 6 and FIG. 3, it can be seen that the duration of the bundled transmission set 351 for communicating a given data packet can be significantly reduced. Therefore, the latency can be shortened. This is achieved by communicating the same redundant version of the data packet 350 on different narrowband NB-IoT carriers 311-1, 311-2, 311-3. That is, the first message containing the data packet 350 encoded according to the given redundant versions 371-373 is communicated on the first narrowband NB-IoT carrier 311-1, 311-2, 311-3. , The second message containing the data packet 350 encoded according to the same given redundant version 371-373 is different from the first narrowband NB-IoT carrier 311-1, 311-2, 311-3. It is possible to communicate on the narrow band NB-IoT carrier 311-1, 311-2, 311-3 of 2. That is, the first plurality of iterations of the data packet 350 encoded according to a given redundant version 371, 372, 373 are communicated on the primary carrier 311-1 and the same given redundant version 371, 372. , A second plurality of iterations of the data packet encoded according to 373 can be communicated on the secondary carrier 311-2.

例えば、同じ所与の冗長バージョン371、372、373に従って符号化されたデータパケット350の第1及び第2の複数の反復は、サブフレーム309など、重複するTTIにおいて少なくとも部分的に通信されてもよい。第1及び第2の複数の反復は、少なくとも部分的に並行に通信されてもよい。 For example, even if the first and second iterations of the data packet 350 encoded according to the same given redundant versions 371, 372, 373 are at least partially communicated in overlapping TTIs, such as subframe 309. good. The first and second iterations may be communicated at least partially in parallel.

例えば、第1の複数の反復の数は、第2の複数の反復の数に等しくてもよい。また、第1の複数の反復の数と第2の複数の反復の数との間の非対称性が実装され得る。 For example, the number of first plurality of iterations may be equal to the number of second plurality of iterations. Also, an asymmetry between the number of first plurality of iterations and the number of second plurality of iterations can be implemented.

図4~図6の例では、データパケット350の様々な冗長バージョンは、例えば後続のサブフレーム309において、バンドルされた送信セット351の一部として、異なる狭帯域NB-IoTキャリア311-1、311-2、311-3を介して通信される。他の例では、同じ所与の冗長バージョン371~373に従って符号化されたデータパケット350の複数の反復は、不連続的に配置されたサブフレーム309において通信されてもよい。 In the example of FIGS. 4-6, the various redundant versions of the data packet 350 are different narrowband NB-IoT carriers 311-1, 311 as part of the bundled transmit set 351 for example in subsequent subframes 309. It is communicated via -2, 311-3. In another example, multiple iterations of the data packet 350 encoded according to the same given redundant versions 371-373 may be communicated in discontinuously arranged subframes 309.

図4~図6、図6A、図6Bの例では、NB-IoT RAT191に係る通信に利用可能な第1のスペクトル301の総帯域幅を増加させることによって、利用可能なデータレートの増加をすでに達成することができる。以下では、利用可能なデータレートをなお一層増加させることを可能にするさらなる同時配備シナリオが開示される。さらなるシナリオによって、利用可能なデータレートをさらに増加させることができ、これは、実装を単純化し、第1のスペクトル301の所与の利用可能な総帯域幅についての制御シグナリングオーバーヘッドを低減することによって達成され得る。さらなるシナリオは、複数の狭帯域キャリア311-1、311-2、311-3の間の制御メッセージ及び制御信号及び送信電力の少なくとも1つの非対称の分布に基づく。 In the examples of FIGS. 4-6, 6A, 6B, the increase in available data rates has already been made by increasing the total bandwidth of the first spectrum 301 available for communication according to NB-IoT RAT191. Can be achieved. Below are further disclosure scenarios that allow for even greater data rates available. Further scenarios can further increase the available data rate, which simplifies the implementation and reduces the control signaling overhead for a given available total bandwidth of the first spectrum 301. Can be achieved. Further scenarios are based on at least one asymmetric distribution of control messages and control signals and transmit power among multiple narrowband carriers 311-1, 311-2, 311-3.

図7は、複数の狭帯域キャリア311-1、311-2、311-3の間で制御メッセージ及び制御信号を非対称に分布させる態様を示す。図7を参照すると、3つの狭帯域キャリア311-1、311-2、311-3に依拠する例について、制御メッセージ及び制御シグナリングを非対称に分布させる概念が示されているが、それぞれの概念は、任意の数の狭帯域キャリアについて容易に適用され得る。 FIG. 7 shows an embodiment in which control messages and control signals are asymmetrically distributed among a plurality of narrowband carriers 311-1, 311-2, and 311-3. Referring to FIG. 7, for an example relying on three narrowband carriers 311-1, 311-2, 311-3, the concept of asymmetrically distributing control messages and control signaling is shown, but each concept is , Can be easily applied for any number of narrowband carriers.

図7の例では、1次キャリア311-1が定義されており、さらに、2つの2次キャリア311-2、311-3が定義される。1次キャリア311-1は、2次キャリア311-2、311-3に関して、制御機能をホストし得る。 In the example of FIG. 7, the primary carrier 311-1 is defined, and two secondary carriers 311-2 and 311-3 are further defined. The primary carrier 311-1 may host control functions with respect to the secondary carriers 311-2 and 311-3.

詳細には、制御メッセージ及び制御信号は、一方では1次キャリア311-1と他方では2次キャリア311-2、311-3との間で非対称に分布している。特に、非対称の分布は、制御シグナリングのオーバーヘッドが、2次キャリア311-2、311-3から1次キャリア311-1に移動され、2次キャリア311-2、311-3が、制御メッセージ及び/又は制御信号を含まないか、又はより少ない数の制御メッセージ及び/又は制御信号を含むようにする。これに関連して、1次チャネル311-1上で通信される制御メッセージ及び制御信号は、2次キャリア311-2、311-3を対象とする情報を含む可能性がある。このため、2次キャリア311-2、311-3は、ペイロードチャネル(図7には図示せず)のためのリソースをより多く提供することができ、「クリーンチャネル」と呼ばれ得る。オーバーヘッドを低減することができるので、NB-IoT RAT191に係る通信の全体的なデータレートをさらに増加させることができる。 Specifically, the control messages and signals are asymmetrically distributed between the primary carriers 311-1 on the one hand and the secondary carriers 311-2 and 311-3 on the other. In particular, in the asymmetric distribution, the control signaling overhead is transferred from the secondary carriers 311-2, 311-3 to the primary carriers 311-1, with the secondary carriers 311-2 and 311-3 controlling messages and /. Or do not include control signals, or include a smaller number of control messages and / or control signals. In this regard, the control messages and control signals communicated on the primary channel 311-1 may include information targeting the secondary carriers 311-2 and 311-3. For this reason, the secondary carriers 311-2 and 311-3 can provide more resources for the payload channel (not shown in FIG. 7) and may be referred to as a "clean channel". Since the overhead can be reduced, the overall data rate of the communication according to the NB-IoT RAT191 can be further increased.

詳細には、図7に示すように、1次キャリア311-1は、制御チャネル403を含み、2次キャリア311-2、311-3は、制御チャネル403を含まない。例えば、NB-IoT RAT191に係る制御チャネル403は、E-UTRA RAT192に係るPDCCH又はPUCCH又はPHICH(すべて図2には図示せず)に相当し得る。制御チャネル403は、1次キャリア311-1上、及び2次キャリア311-2、311-3上の両方での通信に関連付けられた制御メッセージを含むことができる。例えば、制御チャネル403上で通信される制御メッセージは、DL通信での第1のスペクトル301内のリソース308を識別するDLスケジューリング割当て、UL通信での第1のスペクトル301内のリソース308を識別するULスケジューリング許可、1次キャリア311-1又は2次キャリア311-2、311-3のうちの1つのペイロードチャネル上で通信されるペイロードメッセージの肯定応答メッセージ又は否定応答メッセージなどのARQ肯定応答メッセージ、及びRRC制御メッセージを含むグループから選択され得る。制御チャネル403は、ユニキャストチャネルであってもよく、すなわち、特に端末130-1を対象としてもよい。 Specifically, as shown in FIG. 7, the primary carrier 311-1 includes the control channel 403 and the secondary carriers 311-2 and 311-3 do not include the control channel 403. For example, the control channel 403 according to the NB-IoT RAT191 may correspond to the PDCCH or PUCCH or PHICH (all not shown in FIG. 2) according to the E-UTRA RAT192. The control channel 403 can include control messages associated with communication on both the primary carrier 311-1 and the secondary carriers 311-2 and 311-3. For example, the control message communicated on the control channel 403 identifies the DL scheduling allocation that identifies the resource 308 in the first spectrum 301 in DL communication, the resource 308 in the first spectrum 301 in UL communication. ARQ acknowledgment message, such as a positive response message or a negative response message, of a payload message communicated on one of the payload channels of the UL scheduling permission, primary carrier 311-1 or secondary carrier 311-2, 311-3. And may be selected from a group containing RRC control messages. The control channel 403 may be a unicast channel, i.e., specifically targeted at terminal 130-1.

さらに、図7に示すように、1次キャリア311-1は、特定の端末を対象としないブロードキャスト制御チャネル401を含み、2次キャリア311-2、311-3は、ブロードキャスト制御チャネル401を含まない。例えば、NB-IoT RAT191のブロードキャスト制御チャネル401は、E-UTRA RAT192(図2には図示せず)に係るPBCHに相当し得る。ブロードキャスト制御チャネル401は、1次キャリア311-1上、及び2次キャリア311-2、311-3上の両方での通信に関連付けられた制御メッセージを含むことができる。例えば、ブロードキャスト制御チャネル401上で通信される制御メッセージは、NB-IoT RAT191を介してセルラーネットワーク100にアクセスするためのキャリアアクセスシステム情報制御メッセージに対応し得る。そのような制御メッセージは、E-UTRA RAT MIB又はSIBに対応し得る。例示的な情報は、フレーム番号付け、キャリア固有の情報、及びランダムアクセスのためのスケジューリング割振りを含む。 Further, as shown in FIG. 7, the primary carrier 311-1 includes a broadcast control channel 401 that does not target a specific terminal, and the secondary carriers 311-2 and 311-3 do not include a broadcast control channel 401. .. For example, the broadcast control channel 401 of the NB-IoT RAT191 may correspond to the PBCH of the E-UTRA RAT192 (not shown in FIG. 2). The broadcast control channel 401 can include control messages associated with communication on both the primary carrier 311-1 and the secondary carriers 311-2 and 311-3. For example, the control message communicated on the broadcast control channel 401 may correspond to a carrier access system information control message for accessing the cellular network 100 via the NB-IoT RAT191. Such control messages may correspond to an E-UTRA RAT MIB or SIB. Illustrative information includes frame numbering, carrier-specific information, and scheduling allocation for random access.

制御チャネル401、403に関して上述したように、1次キャリア311-1上の制御チャネル401、403上で通信される所与の制御メッセージに含まれる情報は、2次キャリア311-2、311-3のうちの1つを対象とすることが可能である。すなわち、所与の制御メッセージは、複数の狭帯域NB-IoTキャリア311-1、311-2、311-3の1次キャリア311-1上で通信することと関連付けられてもよく、及び/又は2次キャリア311-2、311-3のうちの1つ以上での通信に関連付けられてもよい。制御チャネル401、403上で通信された所与の制御メッセージが向けられる特定のキャリア311-1、311-2、311-3の識別を容易にするために、それぞれのインジケータを使用することができる。受信機側では、この識別は、情報の処理のために使用され得る。例えば、制御メッセージは、1次キャリア311-1又は2次キャリア311-2、311-3のうちの1つを示すインジケータを含み得る。これらは明示的なインジケータ又は暗示的なインジケータであり得る。例えば、3ビット数が使用されてもよい。例えば、制御メッセージがE-UTRA RAT192 MIBに対応する場合、3GPP Technical Specification(TS)36.331 Rel.12,Section6.2.2に係る予約済みビットを、1次キャリア311-1又は2次キャリア311-2、311-3のうちの1つを示すために使用することができる。 As described above for control channels 401, 403, the information contained in a given control message communicated on control channels 401, 403 on primary carriers 311-1 is secondary carriers 311-2, 311-3. It is possible to target one of them. That is, a given control message may be associated with communicating on a plurality of narrowband NB-IoT carriers 311-1, 311-2, 311-1 primary carriers 311-1 and / or. It may be associated with communication with one or more of the secondary carriers 311-2 and 311-3. Each indicator can be used to facilitate identification of the particular carrier 311-1, 311-2, 311-3 to which a given control message communicated on control channels 401, 403 is directed. .. On the receiver side, this identification can be used for processing information. For example, the control message may include an indicator indicating one of the primary carriers 311-1 or the secondary carriers 311-2, 311-3. These can be explicit or implied indicators. For example, a number of 3 bits may be used. For example, if the control message corresponds to the E-UTRA RAT192 MIB, 3GPP Technical Specialization (TS) 36.331 Rel. 12, The reserved bit according to Section 6.2.2 can be used to indicate one of the primary carrier 311-1 or the secondary carrier 311-2, 311-3.

さらに、図7に示すように、基準信号402の時間密度(時間当たりの数)は、2次キャリア311-2と比較すると、1次キャリア311-1においてより大きい。同様に、基準信号402の時間密度は、2次キャリア311-3と比較すると、2次キャリア311-2においてより大きい。基準信号は、復調を容易にし(復調基準信号、DMRS)、及び/又は通信のための電力基準を提供する(サウンディング基準信号、SRS)、又はビームフォーミングのためのセル固有の情報を提供する、若しくはチャネル推定をサポートする(セル固有の基準信号、RS)ことができる。また、図7に示すように、同期信号404は、1次キャリア311-1上でのみ通信され、2次キャリア311-2、311-3上では通信されない。そのような同期信号404は、端末130-2によるeNB112、112-1、112-2のタイミング基準の一時的取得を容易にすることができる。 Further, as shown in FIG. 7, the time density (number per hour) of the reference signal 402 is larger in the primary carrier 311-1 as compared with the secondary carrier 311-2. Similarly, the time density of the reference signal 402 is greater in the secondary carrier 311-2 as compared to the secondary carrier 311-3. The reference signal facilitates demodulation (demodulation reference signal, DMRS) and / or provides a power reference for communication (sounding reference signal, SRS) or provides cell-specific information for beamforming. Alternatively, it can support channel estimation (cell-specific reference signal, RS). Further, as shown in FIG. 7, the synchronization signal 404 is communicated only on the primary carrier 311-1 and not on the secondary carriers 311-2 and 311-3. Such a synchronization signal 404 can facilitate the temporary acquisition of the timing reference of eNB 112, 112-1, 112-2 by the terminal 130-2.

したがって、概して、1次キャリア311-1は、時間当たりの第1の数の制御信号402、404に関連付けられ、2次キャリア311-2、311-3は、時間当たりの第2の数の制御信号402、404に関連付けられ得る。第1の数は、例えば、1.2倍、1.5倍、2倍、10倍、50倍、又はそれより大きい倍率だけ、第2の数よりも大きくてよい。いくつかのシナリオでは、制御信号402、404が1次キャリア311-1上でのみ通信されることさえ可能である。制御信号402、404に関する非対称を使用することによって、オーバーヘッドの量を低減することができる。これは、NB-IoT RAT191に係る通信に利用可能なデータレートを増加させる。 Therefore, in general, the primary carrier 311-1 is associated with the first number of control signals 402, 404 per hour, and the secondary carriers 311-2, 311-3 control the second number per hour. Can be associated with signals 402, 404. The first number may be larger than the second number by, for example, 1.2 times, 1.5 times, 2 times, 10 times, 50 times, or a larger magnification. In some scenarios, the control signals 402, 404 may even be communicated only on the primary carrier 311-1. By using the asymmetry with respect to the control signals 402, 404, the amount of overhead can be reduced. This increases the data rate available for communication according to the NB-IoT RAT191.

したがって、図7からわかるように、異なる例では、1次キャリア311-1と2次キャリア311-2、311-3との間の制御メッセージ及び/又は制御信号の非対称の分布の異なる実装が考えられる。送信電力の観点から、1次キャリア311-1と2次キャリア311-2、311-3との間のさらなる非対称性が実装されてもよい。 Therefore, as can be seen from FIG. 7, in different examples, different implementations of the asymmetric distribution of control messages and / or control signals between the primary carriers 311-1 and the secondary carriers 311-2, 311-3 are conceivable. Will be. Further asymmetry between the primary carriers 311-1 and the secondary carriers 311-2, 311-3 may be implemented in terms of transmit power.

図8Aは、送信電力870に関する態様を示す。例えば、図8Aの送信電力は、電力スペクトル密度(PSD)を示し得る。例えば、1次キャリア311-1は、2次キャリア311-2、311-3の第2の送信電力872と比較すると、例えば、少なくとも2dB、好ましくは少なくとも6dB、より好ましくは少なくとも10dBの係数875だけブーストされた第1の送信電力871を実装するように構成されることが可能である。 FIG. 8A shows an aspect relating to the transmission power 870. For example, the transmit power of FIG. 8A may indicate power spectral density (PSD). For example, the primary carrier 311-1 has a coefficient of at least 2 dB, preferably at least 6 dB, more preferably at least 10 dB only, as compared to the second transmit power 872 of the secondary carriers 311-2 and 311-3. It can be configured to implement a boosted first transmit power 871.

非対称の送信電力を実装することによって、1次キャリア311-1上で通信される制御メッセージ及び/又は制御信号の送信の成功の可能性を向上させることができ、それによって、1次キャリア311-1上で通信される制御メッセージ及び/又は制御信号が、2次キャリア311-2、311-3上でも通信することに関連する場合、すべてのキャリア311、311-1、311-2、311-3にわたるNB-IoT RAT191の全体的な通信信頼性が増加され得る。 By implementing asymmetric transmission power, the chances of successful transmission of control messages and / or control signals communicated on the primary carrier 311-1 can be increased, thereby the primary carrier 311-. If the control message and / or control signal communicated on 1 is also associated with communicating on the secondary carriers 311-2, 311-3, all carriers 311, 311-1, 311-2, 311-. The overall communication reliability of the NB-IoT RAT191 over three can be increased.

さらなる例では、1次キャリア311-1は、例えばNB-IoT RAT191及び/又はE-UTRA RAT192のすべてのリソース308の平均送信電力と比較すると、ブーストされた第1の送信電力871を実装するように構成されてもよい。 In a further example, the primary carrier 311-1 is such to implement a boosted first transmit power 871 compared to, for example, the average transmit power of all resources 308 of the NB-IoT RAT191 and / or the E-UTRA RAT192. It may be configured in.

上記では、送信電力、並びに制御メッセージ及び制御信号のうちの少なくとも1つに関する非対称性についての例が示されている。代替又は追加として実装され得るさらなる非対称性は、同じ冗長バージョンのデータの複数の反復を含むバンドルされた送信セット351に関連し得る。例えば、バンドルされた送信セット351のサブフレームの時間的配置及び/又は数は、異なる狭帯域NB-IoTキャリア311-1、311-2、311-3にわたって非対称的に分布されてもよい。例えば、1次キャリア311-1は、2次キャリア311-2、311-3(図6参照)と比較すると、バンドルされた送信セット351のより多くの反復を搬送することができる。例えば、1次キャリア311-1は、2次キャリア311-2、311-3(図6参照)と比較すると、バンドルされた送信セット351の反復の通信をより早期に開始し得る。 Above are examples of transmit power and asymmetry with respect to at least one of the control message and control signal. Further asymmetry, which may be implemented as an alternative or addition, may be associated with a bundled transmission set 351 containing multiple iterations of the same redundant version of the data. For example, the temporal arrangement and / or number of subframes of the bundled transmission set 351 may be asymmetrically distributed across different narrowband NB-IoT carriers 311-1, 311-2, 311-3. For example, the primary carrier 311-1 can carry more iterations of the bundled transmit set 351 when compared to the secondary carriers 311-2, 311-3 (see FIG. 6). For example, the primary carrier 311-1 may initiate iterative communication of the bundled transmit set 351 earlier than the secondary carrier 311-2, 311-3 (see FIG. 6).

例えば、送信電力、並びに/又は制御メッセージ及び/若しくは制御信号のうちの少なくとも1つ、並びに/又はバンドルされた送信セット351に関するそのような非対称性の実装は、NB-IoT RAT191の狭帯域NB-IoTキャリア301、301-1、301-2、301-3の第1のスペクトル301の比較的小さい総帯域幅によって、及び/又は狭帯域NB-IoTキャリア301、301-1、301-2、301-3の各々の比較的小さい帯域幅によって、容易にされ得る。例えば、1次キャリア311-1と2次キャリア311-2、311-3との間の周波数空間における距離が比較的小さい(各個々のキャリア311-1、311-2、311-3の小さい帯域幅のために可能である)場合、1次キャリア311-1上で通信される基準信号は、2次キャリア311-2、311-3にとって重要であり得る。これは、特に、帯域内連続配備シナリオに適用することができる(図4参照)。また、各個々のキャリア311-1、311-2、311-3の帯域幅が小さい場合、キャリア当たりに必要とされる基準信号の数は比較的少なくてもよい。さらに、個々の2次キャリア311-2、311-3が独立して、すなわち、付随する1次キャリア311-1なしに、動作することができない場合、1次キャリア311-1上でのみ同期制御信号404を通信することが可能であり、そのようなシナリオでは、例えばフレーム又はサブフレームなど、TTIが1次キャリア311-1と2次キャリア311-2、311-3との間で同期されることが可能である。1次キャリア311-1においてのみ制御メッセージをスケジューリングすることを含めて、制御チャネル403を使用することによって、クロスキャリアスケジューリングが容易になる。周波数ホッピングを使用することができる。 For example, an implementation of such asymmetry with respect to transmit power and / or at least one of the control message and / or control signal, and / or bundled transmit set 351 is the narrowband NB- of NB-IoT RAT191. Due to the relatively small total bandwidth of the first spectrum 301 of the IoT carriers 301, 301-1, 301-2, 301-3 and / or the narrow band NB-IoT carriers 301, 301-1, 301-2, 301 It can be facilitated by the relatively small bandwidth of each of -3. For example, the distance in the frequency space between the primary carriers 311-1 and the secondary carriers 311-2, 311-3 is relatively small (small bands of each individual carrier 311-1, 311-2, 311-3). The reference signal communicated on the primary carrier 311-1 can be important for the secondary carriers 311-2 and 311-3). This is particularly applicable to in-band continuous deployment scenarios (see Figure 4). Also, if the bandwidth of each individual carrier 311-1, 311-2, 311-3 is small, the number of reference signals required per carrier may be relatively small. Further, if the individual secondary carriers 311-2, 311-3 cannot operate independently, i.e., without the accompanying primary carrier 311-1, synchronous control only on the primary carrier 311-1. It is possible to communicate the signal 404, and in such scenarios the TTI is synchronized between the primary carrier 311-1 and the secondary carriers 311-2, 311-3, for example frame or subframe. It is possible. Cross-carrier scheduling is facilitated by using the control channel 403, including scheduling control messages only on the primary carrier 311-1. Frequency hopping can be used.

図8Bは、NB-IoT RAT191の通信プロトコルスタック800を示す。特に、図8Bは、CAシナリオの態様を示す。わかるように、図8BのCAシナリオでは、通信プロトコルスタック800の別個の物理層803が、複数の狭帯域NB-IoTキャリア311-1、311-2の各々について実装される。すなわち、より大きい(より小さい)数のNB-IoTキャリアが使用される場合、物理層803の、より大きい(より小さい)数の共存するインスタンスが実装される。 FIG. 8B shows the communication protocol stack 800 of the NB-IoT RAT191. In particular, FIG. 8B shows aspects of the CA scenario. As can be seen, in the CA scenario of FIG. 8B, a separate physical layer 803 of the communication protocol stack 800 is implemented for each of the plurality of narrowband NB-IoT carriers 311-1 and 311-2. That is, when a larger (smaller) number of NB-IoT carriers are used, a larger (smaller) number of coexisting instances of physical layer 803 are implemented.

各キャリア311-1、311-2のペイロードチャネル上で通信されるペイロードメッセージのアグリゲーションは、通信プロトコルスタック800のメディアアクセス層(MAC)802の上端に実装される。さらに上位層は、無線リンク制御(RLC)層、PDCP(Packet Data Convergence Protocol)層、及びRRC層を含む。 Aggregation of payload messages communicated on the payload channels of each carrier 311-1 and 311-2 is implemented at the top of the media access layer (MAC) 802 of the communication protocol stack 800. Further, the upper layer includes a radio link control (RLC) layer, a PDCP (Packet Data Convergence Protocol) layer, and an RRC layer.

他のCAシナリオでは、アグリゲーションは、例えば、物理層803内のどこか、又はMAC層802の下端の近くなど、通信プロトコルスタック800の他のレベルにおいて実装されてもよい。特に、図8Bのシナリオでは、ARQプロトコル機能及び前方誤り訂正(FEC)機能を含むハイブリッドARQ(HARQ)プロトコルは、各キャリア311-1、311-2について独立して各対応するサブレイヤ852-1、852-2によって実装され、他の例では、CAは、単一のHARQインスタンスのみを使用して実装されてもよい。 In other CA scenarios, aggregation may be implemented at other levels of the communication protocol stack 800, for example somewhere within physical layer 803 or near the bottom edge of MAC layer 802. In particular, in the scenario of FIG. 8B, the hybrid ARQ (HARQ) protocol, including the ARQ protocol function and the forward error correction (FEC) function, independently corresponds to each carrier 311-1 and 311-2, respectively. Implemented by 852-2, in other examples the CA may be implemented using only a single HARQ instance.

図8Bはさらに、物理層803のトランスポートブロック(TB)サブレイヤ853-1、853-2に関する態様を示す。TBサブレイヤ853-1、853-2は、上位層のデータパケット、例えば、MACパケットデータユニット(PDU)を、サブフレーム309にマッピングされたTBにアセンブルする。ここでは、MCSに応じて、各TB(ビットローディング)に異なる数のビットを含めることができる。 FIG. 8B further shows aspects of the physical layer 803 transport block (TB) sublayers 853-1, 853-2. The TB sublayers 853-1 and 853-2 assemble the data packet of the upper layer, for example, the MAC packet data unit (PDU) into the TB mapped to the subframe 309. Here, different numbers of bits can be included in each TB (bit loading) depending on the MCS.

いくつかの例では、2つのキャリア311-1、311-2のサブレイヤ853-1、853-2が互いに独立して動作することが可能である。次いで、各キャリア311-1、311-2のTBについて独立してビットローディングが選択され得る。 In some examples, the sublayers 853-1 and 853-2 of the two carriers 311-1 and 311-2 can operate independently of each other. Bit loading may then be independently selected for the TB of each carrier 311-1 and 311-2.

他の例(図8Bに水平の破線で示す)では、2つのキャリア311-1、311-2のサブレイヤ853-1、853-2の間に調整が存在する可能性がある。例えば、そのような調整は、異なるキャリア311-1、311-2の時間重複サブフレーム309について、異なるキャリア311-1、311-2において、同じサイズ、すなわち同じビット数を含むTBを使用することを実装することが可能である。例えば、異なるキャリア311-1、311-2のTTIが同期している場合、同じ瞬間に、異なるキャリア311-1、311-2にわたって同じサイズのTBが使用されてもよい。したがって、ビットローディングは、狭帯域NB-IoTキャリア311-1、311-2にわたって同期され得る。例えば、同じサイズのTBが使用される場合、HARQプロセス852-1、852-2(図8Bに水平の破線で示す)間の調整を追加で含むことが好ましい場合がある。いくつかの例では、同一のHARQプロセスがすべてのキャリア311-1、311-2に使用されてもよく、又はボンディングがHARQプロセスより下でもよい。 In another example (shown by a horizontal dashed line in FIG. 8B), there may be adjustments between the sublayers 853-1 and 853-2 of the two carriers 311-1 and 311-2. For example, such an adjustment may use TBs of different carriers 311-1 and 311-2 with the same size, ie, the same number of bits, for time-overlapping subframes 309 of different carriers 311-1 and 311-2. Can be implemented. For example, if the TTIs of different carriers 311-1 and 311-2 are synchronized, TBs of the same size may be used across different carriers 311-1 and 311-2 at the same moment. Therefore, bit loading can be synchronized across the narrowband NB-IoT carriers 311-1 and 311-2. For example, if TBs of the same size are used, it may be preferable to include additional adjustments between the HARQ processes 852-1, 852-2 (shown by the horizontal dashed line in FIG. 8B). In some examples, the same HARQ process may be used for all carriers 311-1 and 311-2, or the bonding may be below the HARQ process.

いくつかの例では、ビットローディングは、NB-IoT RAT191のすべてのキャリア311-1、311-2、311-3にわたって最適化されてもよい。さらなる例では、ビットローディングは、1次キャリア311-1に関して選択的に最適化されてもよい。特に、TBのビット数は、1次キャリア311-1上で前記通信する品質を示す周波数選択的な測定360(図4~図6参照)に基づくことが可能である。 In some examples, bit loading may be optimized across all carriers 311-1, 311-2, 311-3 of the NB-IoT RAT191. In a further example, bit loading may be selectively optimized for the primary carrier 311-1. In particular, the number of bits in the TB can be based on a frequency-selective measurement 360 (see FIGS. 4-6) indicating the quality of communication on the primary carrier 311-1.

そのような測定は、1次キャリア311-1上で通信されるペイロードメッセージに関連付けられたHARQプロトコルのいくつかの肯定応答メッセージ、1次キャリア311-1上で通信されるペイロードメッセージに関連付けられたHARQプロトコルのいくつかの否定応答メッセージ、1次キャリア311-1上の通信のチャネル品質インジケータ(CQI)などを含むグループから選択された要素を含み得る。 Such measurements have been associated with some acknowledgment messages of the HARQ protocol associated with payload messages communicated on primary carrier 311-1 and payload messages communicated over primary carrier 311-1. It may include some negative response messages of the HARQ protocol, elements selected from the group including the channel quality indicator (CQI) of communication on the primary carrier 311-1.

NB-IoT RAT191の第1のスペクトル301の全体的な帯域幅が小さいため、1次キャリア311-1について行われた測定360は、2次キャリア311-2、311-3上での通信にも重要であり得る。1次キャリア311-1について行われた測定360を2次キャリア311-2、311-3に再利用することによって、システムの複雑さを低減することができ、さらに、2次キャリア311-2、311-3上の、例えばCQI報告の、制御シグナリングの必要性が低減され得る。制御シグナリングオーバーヘッドが低減し、それによって、データレートが増加し得る。 Due to the small overall bandwidth of the first spectrum 301 of the NB-IoT RAT191, the measurements 360 made for the primary carrier 311-1 are also for communication on the secondary carriers 311-2 and 311-3. Can be important. By reusing the measurements 360 made for the primary carrier 311-1 for the secondary carriers 311-2 and 311-3, the complexity of the system can be reduced and further the secondary carriers 311-2, The need for control signaling on 311-3, eg CQI reporting, can be reduced. Control signaling overhead can be reduced, thereby increasing the data rate.

前述の図4~図8Bに関して、狭帯域NB-IoTキャリア311、311-1、311-2、311-3の第1のスペクトル301が広帯域LTEキャリア312の第2のスペクトル302と重複しない例が開示されている。したがって、第1のスペクトル301は、NB-IoTキャリア311、311-1、311-2、311-3に専用であり、第1のスペクトル301及び第2のスペクトル302は、共有スペクトルを含まない可能性がある。ここで、利用可能なデータレートの増加はむしろ、例えば、CAの実装に係る、複数の狭帯域NB-IoTキャリア311-1、311-2、311-3を使用することによって達成される。追加のリソース308は、狭帯域NB-IoTキャリア311-1、311-2、311-3に専用である。 Regarding FIGS. 4 to 8B described above, there is an example in which the first spectrum 301 of the narrowband NB-IoT carrier 311, 311-1, 311-2, 311-3 does not overlap with the second spectrum 302 of the broadband LTE carrier 312. It has been disclosed. Therefore, the first spectrum 301 may be dedicated to the NB-IoT carriers 311, 311-1, 311-2, 311-3, and the first spectrum 301 and the second spectrum 302 may not include the shared spectrum. There is sex. Here, the increase in available data rates is rather achieved, for example, by using a plurality of narrowband NB-IoT carriers 311-1, 311-2, 311-3 according to the implementation of CA. The additional resource 308 is dedicated to the narrowband NB-IoT carriers 311-1, 311-2, 311-3.

リソース308をそのように狭帯域NB-IoT RAT191に専用とすることは、比較的固定的であり得る。したがって、動作中、例えば短い時間スケールで、RAT191、192間のリソース308の分布を微調整することは、可能ではない、又は限られた程度にしか可能ではない可能性がある。そのような微調整は、例えば、NB-IoT RAT191に従って通信されるデータのトラフィックが変化する場合に望ましい。以下、RAT191、192間のリソース308の分布の微調整を可能にする技法が開示される。これらの技法は、共有スペクトルを利用することに依拠する。そのような技法は、複数の狭帯域NB-IoTキャリアに依拠して上記で開示した技法と組み合わせることができる。 Dedicating resource 308 to such a narrowband NB-IoT RAT191 can be relatively fixed. Therefore, it may not be possible, or only to a limited extent, possible to fine-tune the distribution of resources 308 between RAT191, 192 during operation, for example on a short time scale. Such fine-tuning is desirable, for example, when the traffic of data communicated according to NB-IoT RAT191 changes. Hereinafter, a technique that enables fine adjustment of the distribution of the resource 308 between RAT191 and 192 will be disclosed. These techniques rely on the use of shared spectra. Such techniques can be combined with the techniques disclosed above, relying on multiple narrowband NB-IoT carriers.

図9は、共有スペクトル305を使用することに関する態様を示す。図9からわかるように、狭帯域NB-IoTキャリア311の第1のスペクトル301と、広帯域LTEキャリア312の第2のスペクトル302の両方は、共有スペクトル305を含む。共有スペクトル305は、狭帯域NB-IoTキャリア311によってのみ占有される専用スペクトル306に隣接して配置される。 FIG. 9 shows an embodiment relating to the use of the shared spectrum 305. As can be seen from FIG. 9, both the first spectrum 301 of the narrowband NB-IoT carrier 311 and the second spectrum 302 of the wideband LTE carrier 312 include a shared spectrum 305. The shared spectrum 305 is located adjacent to the dedicated spectrum 306, which is occupied only by the narrowband NB-IoT carrier 311.

共有スペクトル305のリソース308は、必要に応じて、NB-IoT RAT192に係る通信、又はE-UTRA RAT312に係る通信のいずれかに割り振られる。例えば、図9からわかるように、共有スペクトル内の第1のリソース308は、狭帯域NB-IoTキャリア311に割り振られ、共有スペクトル305内の第2のリソース308は、広帯域LTEキャリア312に割り振られる。この割振りは、異なるキャリア311、312に割り振られた第1及び第2のリソース308が互いに直交するようにTDM方式で行われ、それによって、NB-IoT RAT191とE-UTRA RAT192との間の干渉を緩和することができる。 The resource 308 of the shared spectrum 305 is allocated to either the communication according to NB-IoT RAT192 or the communication according to E-UTRA RAT312, if necessary. For example, as can be seen in FIG. 9, the first resource 308 in the shared spectrum is allocated to the narrowband NB-IoT carrier 311 and the second resource 308 in the shared spectrum 305 is allocated to the broadband LTE carrier 312. .. This allocation is performed in a TDM manner such that the first and second resources 308 allocated to different carriers 311 and 312 are orthogonal to each other, thereby interfering between the NB-IoT RAT191 and the E-UTRA RAT192. Can be alleviated.

RAT191、192に共通の集中スケジューリングプロセスが実装されてもよい。集中スケジューリングプロセスは、TDMスケジューリングを実装することによって、共有スペクトル305における干渉緩和を容易にし得る。これは、非同一の場所に配置された(non-colocated)アクセスノード112-1、112-2(図1参照)間の制御シグナリングを含み得る。 A centralized scheduling process common to RAT191 and 192 may be implemented. The centralized scheduling process may facilitate interference mitigation in the shared spectrum 305 by implementing TDM scheduling. This may include control signaling between non-colocated access nodes 112-1 and 112-2 (see Figure 1).

第1のリソース308を示すインジケータを含むスケジューリング制御メッセージは、狭帯域NB-IoTキャリア311(図9には図示せず)の制御チャネル上で通信することができる。例えば、RRC制御シグナリングが使用され得る。これは、端末130-1に、共有スペクトル305上で使用することができるリソース308について通知する。第2のリソース308を示すインジケータを含むさらなるスケジューリング制御メッセージは、広帯域LTEキャリア312(図9には図示せず)の制御チャネル上で通信することができる。例えば、PDCCHを使用することができる。RRC制御シグナリングが使用され得る。これは、端末130-2に、共有スペクトル305上で使用することができるリソース308について通知する。 The scheduling control message including the indicator indicating the first resource 308 can be communicated on the control channel of the narrowband NB-IoT carrier 311 (not shown in FIG. 9). For example, RRC control signaling may be used. This informs terminal 130-1 about the resource 308 that can be used on the shared spectrum 305. Further scheduling control messages, including an indicator indicating a second resource 308, can be communicated over the control channel of the broadband LTE carrier 312 (not shown in FIG. 9). For example, PDCCH can be used. RRC control signaling can be used. This informs terminal 130-2 about the resource 308 that can be used on the shared spectrum 305.

共有スペクトル305は、第2のスペクトル302と共有されない第1のスペクトル301の専用スペクトル306を超えて拡張するので、第1の端末130-1は、より広い周波数帯域での通信をサポートする必要がある。第1の端末130-1が共有スペクトル305の周波数上で通信することができることを確実にするために、少なくとも1つのNB-IOTキャリア311の制御チャネル上でケイパビリティ制御メッセージを通信することができ、ケイパビリティ制御メッセージは、第1の端末130-1の共有スペクトル305における通信のケイパビリティを示すインジケータを含む(ケイパビリティ制御メッセージは図9には図示せず)。 Since the shared spectrum 305 extends beyond the dedicated spectrum 306 of the first spectrum 301, which is not shared with the second spectrum 302, the first terminal 130-1 needs to support communication in a wider frequency band. be. Capability control messages can be communicated on the control channel of at least one NB-IOT carrier 311 to ensure that the first terminal 130-1 can communicate on the frequency of the shared spectrum 305. The capability control message includes an indicator indicating the capability of communication in the shared spectrum 305 of the first terminal 130-1 (capability control message is not shown in FIG. 9).

図8Bに関して上記に開示したように、共有スペクトル305に位置するリソース308のMCSを決定するとき、専用スペクトル306内の狭帯域キャリア311上で通信する品質を示す測定360に依拠することが可能である。したがって、時間重複サブフレーム309における共有スペクトル305及び専用スペクトル306で通信されるTBはすべて、同じビット数を含み得る。図8Bの例について上記で開示された技法は、共有スペクトル305に依拠するシナリオにも適用することができる。 As disclosed above with respect to FIG. 8B, when determining the MCS of the resource 308 located in the shared spectrum 305, it is possible to rely on the measurement 360 indicating the quality of communication on the narrowband carrier 311 in the dedicated spectrum 306. be. Therefore, all TBs communicated in the shared spectrum 305 and the dedicated spectrum 306 in the time overlap subframe 309 may contain the same number of bits. The technique disclosed above for the example of FIG. 8B can also be applied to scenarios that rely on the shared spectrum 305.

NB-IoT RAT191及びE-UTRA RAT192の同時配備シナリオに関して上述したような概念を、他のRATを含む同時配備シナリオに代替的又は追加的に適用することが可能である。別のRATの例はMTC RATである。 The concepts described above for the co-deployment scenarios of NB-IoT RAT191 and E-UTRA RAT192 can be applied alternative or additionally to co-deployment scenarios involving other RATs. Another example of RAT is MTC RAT.

図10は、共有スペクトル305を使用することに関する態様を示す。ここで、共有スペクトル305は、狭帯域NB-IoTキャリア311の第1のスペクトル301の一部であり、広帯域LTEキャリア312の第2のスペクトル302のさらなる一部であり、広帯域MTCキャリア313の第3のスペクトル303のまたさらなる一部である。 FIG. 10 shows an embodiment relating to the use of the shared spectrum 305. Here, the shared spectrum 305 is a part of the first spectrum 301 of the narrowband NB-IoT carrier 311 and is a further part of the second spectrum 302 of the wideband LTE carrier 312 and is the second of the wideband MTC carrier 313. It is also a further part of spectrum 303 of 3.

図9及び図10に関して上記に示したような共有スペクトル305を使用するシナリオは、図4~図8Bに関して上記に示したように、複数の狭帯域NB-IoTキャリア311-1、311-2、311-3を使用するシナリオと容易に組み合わせることができる。 Scenarios using the shared spectrum 305 as shown above for FIGS. 9 and 10 include a plurality of narrowband NB-IoT carriers 311-1, 311-2, as shown above for FIGS. 4-8B. It can be easily combined with scenarios that use 311-3.

図11は、端末130-1、130-2、例えば、IoTデバイスを概略的に示す。端末は、プロセッサ131-1、例えばシングルコア又はマルチコアプロセッサを備える。分散処理が使用されてもよい。プロセッサ131-1は、メモリ131-2、例えば、不揮発性メモリに結合される。メモリ131-2は、プロセッサ131-1によって実行可能なプログラムコードを記憶し得る。プログラムコードを実行することによって、プロセッサ131-1は、例えば、1つ以上の狭帯域NB-IoTキャリア311、311-1、311-2、311-2及び/又は1つ以上の広帯域LTEキャリア312若しくは広帯域MTCキャリア313上で通信することに関する、本明細書に開示された技法を実行する。インターフェース131-3は、アナログフロントエンド及び/又はデジタルフロントエンドを含み得る。インターフェース131-3は、例えば、3GPP E-UTRA RAT191に係る、及び/又は3GPP NB-IoT RAT191に係る通信プロトコルスタック800を実装し得る。通信プロトコルスタック800は、物理層、MAC層などを含み得る。 FIG. 11 schematically shows terminals 130-1, 130-2, for example, an IoT device. The terminal comprises a processor 131-1 such as a single core or multi-core processor. Distributed processing may be used. Processor 131-1 is coupled to memory 131-2, for example, non-volatile memory. Memory 131-2 may store program code that can be executed by processor 131-1. By executing the program code, the processor 131-1 may, for example, have one or more narrowband NB-IoT carriers 311, 311-1, 311-2, 311-2 and / or one or more wideband LTE carriers 312. Alternatively, the techniques disclosed herein are performed with respect to communicating on a broadband MTC carrier 313. Interface 131-3 may include an analog front end and / or a digital front end. Interface 131-3 may implement, for example, the communication protocol stack 800 according to 3GPP E-UTRA RAT191 and / or 3GPP NB-IoT RAT191. The communication protocol stack 800 may include a physical layer, a MAC layer, and the like.

図12は、eNB112、112-1、112-2を概略的に示す。eNB112、112-1、112-2は、プロセッサ113-1、例えばシングルコア又はマルチコアプロセッサを含む。分散処理が使用されてもよい。プロセッサ113-1は、メモリ113-2、例えば、不揮発性メモリに結合される。メモリ113-2は、プロセッサ113-1によって実行可能なプログラムコードを記憶し得る。プログラムコードを実行することによって、プロセッサ113-1は、例えば、1つ以上の狭帯域NB-IoTキャリア311、311-1、311-2、311-2上で通信すること、及び/又は1つ以上の広帯域LTEキャリア312若しくは広帯域MTCキャリア313上で通信すること、共有スペクトル305内のリソースを狭帯域NB-IoTキャリア311、311-1、311-2、311-2、又は1つ以上の広帯域LTEキャリア312若しくは広帯域MTCキャリア313に割り振ることに関する、本明細書に開示された技法を実行することができる。eNB112、1112-1、112-2は、無線リンク101上で端末130-1、130-2と通信するように構成されたインターフェース113-3をも備える。インターフェース113-3は、アナログフロントエンド及び/又はデジタルフロントエンドを含み得る。インターフェース113-3は、例えば、3GPP E-UTRA RAT191に係る、及び/又は3GPP NB-IoT RAT191に係る通信プロトコルスタック800を実装し得る。通信プロトコルスタック800は、物理層、MAC層などを含み得る。 FIG. 12 schematically shows eNB 112, 112-1, 112-2. The eNB 112, 112-1, 112-2 include a processor 113-1 such as a single-core or multi-core processor. Distributed processing may be used. Processor 113-1 is coupled to memory 113-2, eg, non-volatile memory. Memory 113-2 may store program code that can be executed by processor 113-1. By executing the program code, the processor 113-1 communicates, for example, on one or more narrowband NB-IoT carriers 311, 311-1, 311-2, 311-2, and / or one. Communicating on the above wideband LTE carrier 312 or wideband MTC carrier 313, narrowband NB-IoT carriers 311, 311-1, 311-2, 311-2, or one or more widebands of resources in the shared spectrum 305. The techniques disclosed herein can be performed with respect to allocation to LTE carriers 312 or wideband MTC carriers 313. The eNB 112, 11121, 112-2 also include an interface 113-3 configured to communicate with terminals 130-1, 130-2 on the wireless link 101. Interface 113-3 may include an analog front end and / or a digital front end. Interface 113-3 may implement, for example, the communication protocol stack 800 according to 3GPP E-UTRA RAT191 and / or 3GPP NB-IoT RAT191. The communication protocol stack 800 may include a physical layer, a MAC layer, and the like.

図13は、様々な実施形態に係る方法のフローチャートである。まず、2001で、NB-IoTキャリア311、311-1、311-2、311-3のような少なくとも1つの狭帯域キャリア上での通信が実行される。例えば、2001は、端末130-1及び/又はアクセスノード112、112-1によって実行され得る。通信は、送信及び/又は受信を含み得る。 FIG. 13 is a flowchart of the method according to various embodiments. First, in 2001, communication is performed on at least one narrowband carrier such as NB-IoT carrier 311, 311-1, 311-2, 311-3. For example, 2001 may be executed by terminals 130-1 and / or access nodes 112, 112-1. Communication may include transmission and / or reception.

通信は、例えばCAを使用して、複数の狭帯域キャリア上で実行されてもよい。したがって、この方法は、MAC層802において複数の狭帯域キャリアのペイロードチャネル上で通信されるペイロードメッセージをアグリゲートすることをさらに含み得る。他の例では、アグリゲーションは、通信プロトコルスタック800内の異なる位置、例えば、物理層803の上端で行われ得る。前記アグリゲーションは、様々な狭帯域キャリアのボンディングに対応し得る。 Communication may be performed on multiple narrowband carriers, for example using CA. Therefore, this method may further include aggregating payload messages communicated on the payload channels of multiple narrowband carriers in MAC layer 802. In another example, aggregation may occur at different locations within the communication protocol stack 800, eg, at the top of physical layer 803. The aggregation may accommodate bonding of various narrowband carriers.

少なくとも1つの狭帯域キャリアは、第1のスペクトル301内のリソース308を含み、第1のRATに従って、例えばNB-IoT RAT191に従って動作する。第1のスペクトル301は、少なくとも部分的に第2のスペクトル302の範囲内に配置される。 The at least one narrowband carrier comprises the resource 308 in the first spectrum 301 and operates according to the first RAT, eg, NB-IoT RAT191. The first spectrum 301 is at least partially located within the range of the second spectrum 302.

随意に、2002で、広帯域LTEキャリア312及び/又は広帯域MTCキャリア313などの広帯域キャリア上での通信が実行される。広帯域キャリアは、第2のスペクトル302内のリソース308を含む。 Optionally, at 2002, communication is performed on a broadband carrier such as the broadband LTE carrier 312 and / or the broadband MTC carrier 313. Broadband carriers include resources 308 within the second spectrum 302.

いくつかの例では、第1及び第2のスペクトル301、302の両方が共有スペクトル305を含む。そのような場合、方法は、随意に、共有スペクトル305内の第1のリソース308を少なくとも1つの狭帯域キャリアに割り振ること、及び共有スペクトル305内の第2のリソース308を広帯域キャリアに割り振ることをさらに含むことが可能である。ここでは、狭帯域キャリア及び広帯域キャリアに関連付けられた両方のRATにわたる集中スケジューリングを実装することができる。それぞれのスケジューリング制御メッセージは、第1のリソース及び/又は第2のリソースを示す方法の一部として通信されてもよい。 In some examples, both the first and second spectra 301, 302 include a shared spectrum 305. In such cases, the method optionally allocates the first resource 308 in the shared spectrum 305 to at least one narrowband carrier and the second resource 308 in the shared spectrum 305 to the broadband carrier. Further inclusions are possible. Here, centralized scheduling can be implemented across both RATs associated with narrowband carriers and wideband carriers. Each scheduling control message may be communicated as part of a method of indicating a first resource and / or a second resource.

いくつかの例では、2001及び2002での通信は、調整されたやり方で、すなわち、同時配備のシナリオで行われてもよい。このために、それぞれのアクセスノード間の制御シグナリングを実装することができ、同時配備シナリオに係る調整が達成されるように、それぞれのアクセスノードが静的に構成されることも可能である。 In some examples, communication in 2001 and 2002 may be done in a coordinated manner, i.e. in a simultaneous deployment scenario. For this purpose, control signaling between each access node can be implemented, and each access node can be statically configured to achieve coordination for a concurrent deployment scenario.

要約すると、1つの狭帯域キャリア又は複数の狭帯域キャリア上で通信するときの柔軟なリソース割振りの上記の技法が例示されている。この技法は、複数の狭帯域キャリア上で通信すること、及び/又は少なくとも1つの狭帯域キャリアと1つ以上の広帯域キャリアとの間で共有される共有スペクトル上で通信することに依拠する。 In summary, the above techniques of flexible resource allocation when communicating on one narrowband carrier or multiple narrowband carriers are exemplified. This technique relies on communicating on multiple narrowband carriers and / or on a shared spectrum shared between at least one narrowband carrier and one or more broadband carriers.

上記で開示された技法によって、少なくとも1つの狭帯域キャリアに関連付けられたRATに係る通信のデータレートを柔軟に増加又は調整することが可能である。 The techniques disclosed above allow the flexibility to increase or adjust the data rate of communications associated with the RAT associated with at least one narrowband carrier.

さらに、上記で開示された技法によって、例えば、後続のTTIにおいて同じ冗長バージョンの符号化データを搬送するバンドルされた送信セットが使用されるシナリオにおいて、データ送信のレイテンシを低減することが可能である。 In addition, the techniques disclosed above can reduce the latency of data transmissions, for example, in scenarios where bundled transmission sets that carry the same redundant version of coded data are used in subsequent TTIs. ..

特に、いくつかの例では、本明細書に開示された技法は、NB-IoT RATに係る通信に適用され得る。NB-IoT RATによって達成可能なデータレートを柔軟に増加させることによって、MTC RATとNB-IoT技術との間のギャップを埋めることができる。NB-IoTの配備をターゲットとし、並びに、一方ではNB-IoT RATと、他方ではMTC RAT又はE-UTRA RATとの間の使用事例の柔軟性をサポートするオペレータにとって、柔軟なリソース割振りが可能になる。 In particular, in some examples, the techniques disclosed herein may be applied to communications relating to NB-IoT RAT. By flexibly increasing the data rate achievable by NB-IoT RAT, the gap between MTC RAT and NB-IoT technology can be closed. Allows flexible resource allocation for operators targeting NB-IoT deployments and supporting use case flexibility between NB-IoT RAT on the one hand and MTC RAT or E-UTRA RAT on the other. Become.

本発明は、いくつかの好ましい実施形態に関して図示され説明されているが、本明細書を読み、理解すると、当業者には均等物及び修正が心に浮かぶであろう。本発明は、そのような均等物及び修正のすべてを含み、添付の特許請求の範囲によってのみ限定される。 Although the present invention has been illustrated and described with respect to some preferred embodiments, reading and understanding herein will bring to those skilled in the art the equivalents and modifications. The present invention includes all such equivalents and modifications and is limited only by the appended claims.

例えば、上記で、主に、NB-IoT RAT及びE-UTRA RATの同時配備シナリオに関して例が与えられているが、他の例では、NB-IoT RAT及びMTC RATなど、他のRATを同時配備することができる。また、例えば、NB-IoT RAT、MTC RAT、及びE-UTRA RATなど、より多くの数のRATが同時に配備されてもよい。 For example, in the above, an example is mainly given regarding the simultaneous deployment scenario of NB-IoT RAT and E-UTRA RAT, but in another example, other RATs such as NB-IoT RAT and MTC RAT are simultaneously deployed. can do. Further, a larger number of RATs such as NB-IoT RAT, MTC RAT, and E-UTRA RAT may be deployed at the same time.

例えば、複数の狭帯域キャリア、又は共有スペクトルに依拠する上記の例が主に開示されているが、他の例では、複数の狭帯域キャリアを使用する概念は、共有スペクトルを使用する概念と容易に組み合わせることができる。 For example, the above examples relying primarily on multiple narrowband carriers or shared spectra are primarily disclosed, but in other examples the concept of using multiple narrowband carriers is easy with the concept of using shared spectra. Can be combined with.

例えば、第1のRATに従って少なくとも1つの狭帯域キャリア上で通信することに関して、上記の様々な例が主に与えられているが、他の例では、さらに、第2のRATに係る1つ以上の広帯域キャリア上の通信は、実施形態に従うことができる。 For example, the various examples described above are predominantly given with respect to communicating on at least one narrowband carrier according to the first RAT, but in other examples one or more of the second RATs. Communication on the bandwidth carrier can follow embodiments.

例えば、端末とセルラーネットワークとの間のDL通信に関して、上記の様々な例が与えられているが、他の例では、それぞれの技法をUL通信に容易に適用することができる。 For example, the various examples described above are given for DL communication between a terminal and a cellular network, but in other examples, each technique can be easily applied to UL communication.

例えば、所与の冗長バージョンに従って符号化されたデータパケットの複数の反復が少なくとも1つの狭帯域キャリア上で通信されるバンドルされた送信セットを使用する文脈で、上記の様々な例が開示されているが、他の例では、同じ冗長バージョンのそのような反復の通信は、少なくとも1つの狭帯域キャリア上で通信するために実装される必要はない。例えば、さらなる例では、複数の反復を通信する代わりに、送信電力を増加させることができる。 For example, the various examples described above are disclosed in the context of using a bundled transmit set in which multiple iterations of a data packet encoded according to a given redundant version are communicated over at least one narrowband carrier. However, in other examples, such iterative communication of the same redundant version does not need to be implemented to communicate on at least one narrowband carrier. For example, in a further example, the transmit power can be increased instead of communicating multiple iterations.

Claims (8)

少なくとも1つの狭帯域キャリア上で、ワイヤレスネットワーク(100)の少なくとも1つのアクセスノード(112、112-1、112-2)と前記ワイヤレスネットワーク(100)に接続された第1の端末(130-1)との間で通信すること
を含み、
前記少なくとも1つの狭帯域キャリアが、第1のスペクトル(301)内のリソース(308)を含み、第1の無線アクセス技術(191)に従って動作し、
前記第1のスペクトル(301)が、前記少なくとも1つのアクセスノード(112、112-1、112-2)と第2の端末(130-2)との間の通信が広帯域キャリア(312、313)上で実行される第2のスペクトル(302)の範囲内に少なくとも部分的に配置され、
前記広帯域キャリア(312、313)が前記第2のスペクトル(302)内のリソース(308)を含み、前記第1の無線アクセス技術(191)とは異なる第2の無線アクセス技術(192)に従って動作し、
前記第1のスペクトル(301)と前記第2のスペクトル(302)が両方、共有スペクトル(305)を含み、
前記共有スペクトル内のリソースは、前記第1の無線アクセス技術及び前記第2の無線アクセス技術にわたる集中スケジューリングを用いて、前記少なくとも1つの狭領域キャリア又は前記広帯域キャリアのいずれかに柔軟に割り振られる、
方法。
On at least one narrowband carrier, at least one access node (112, 112-1, 112-2) of the wireless network (100) and a first terminal (130-1) connected to the wireless network (100). ), Including communicating with
The at least one narrowband carrier comprises a resource (308) within the first spectrum (301) and operates according to the first radio access technique (191).
In the first spectrum (301), communication between the at least one access node (112, 112-1, 112-2) and the second terminal (130-2) is a broadband carrier (312, 313). At least partially located within the range of the second spectrum (302) performed above,
The broadband carrier (312, 313) includes a resource (308) in the second spectrum (302) and operates according to a second radio access technique (192) that is different from the first radio access technique (191). death,
Both the first spectrum (301) and the second spectrum (302) include a shared spectrum (305).
Resources within the shared spectrum are flexibly allocated to either the at least one narrow region carrier or the broadband carrier using centralized scheduling across the first radio access technique and the second radio access technique.
Method.
前記リソースの持続時間は、前記第1の無線アクセス技術及び前記第2の無線アクセス技術の送信時間間隔に対応する、
請求項に記載の方法。
The duration of the resource corresponds to the transmission time interval of the first radio access technique and the second radio access technique.
The method according to claim 1 .
前記集中スケジューリングは、前記少なくとも1つの狭帯域キャリアと前記広帯域キャリアとの間で、時分割多重化方式で、前記共有スペクトル内のリソースを割り振る、
請求項又はに記載の方法。
The centralized scheduling allocates resources in the shared spectrum between the at least one narrowband carrier and the wideband carrier in a time division multiplexing manner.
The method according to claim 1 or 2 .
前記共有スペクトル(305)内の第1のリソース(308)を前記少なくとも1つの狭帯域キャリアに割り振ることと、
前記共有スペクトル(305)内の第2のリソース(308)を前記広帯域キャリア(312、313)に割り振ることと
をさらに含み、前記第1のリソース(308)が前記第2のリソースに直交する
請求項1に記載の方法。
Allocating the first resource (308) in the shared spectrum (305) to the at least one narrowband carrier
Claiming that the first resource (308) is orthogonal to the second resource, further comprising allocating the second resource (308) in the shared spectrum (305) to the broadband carrier (312, 313). Item 1. The method according to Item 1.
前記少なくとも1つの狭帯域キャリアの制御チャネル(401、403)上でスケジューリング制御メッセージを通信すること
をさらに含み、
前記スケジューリング制御メッセージが、前記第1のリソース(308)を示すインジケータを含む
請求項に記載の方法。
Further comprising communicating scheduling control messages on the control channels (401, 403) of the at least one narrowband carrier.
The method of claim 4 , wherein the scheduling control message comprises an indicator indicating the first resource (308).
前記広帯域キャリアは、前記第2のリソースを示すインジケータを含むさらなるスケジューリング制御メッセージを通信するさらなる制御チャネルを含み、
前記さらなる制御チャネルは、前記少なくとも1つの狭帯域キャリアの制御チャネルとは異なる、
請求項に記載の方法。
The broadband carrier includes an additional control channel for communicating additional scheduling control messages, including an indicator indicating the second resource.
The additional control channel is different from the control channel of the at least one narrowband carrier.
The method according to claim 5 .
前記少なくとも1つの狭帯域キャリアの制御チャネル(401、403)上でケイパビリティ制御メッセージを通信すること
をさらに含み、
前記ケイパビリティ制御メッセージが、前記第1の端末(130-1)の前記共有スペクトル(305)での通信のケイパビリティを示すインジケータを含む
請求項1~のいずれか1項に記載の方法。
Further comprising communicating capability control messages over the control channels (401, 403) of the at least one narrowband carrier.
The method according to any one of claims 1 to 6 , wherein the capability control message includes an indicator indicating the capability of communication in the shared spectrum (305) of the first terminal (130-1).
ワイヤレスネットワーク(100)のアクセスノード(112、112-1、112-2)であって、
無線リンク上でワイヤレスに送受信するように構成されたインターフェースと、
少なくとも1つの狭帯域キャリア上で、前記ワイヤレスネットワーク(100)に接続された端末と、前記インターフェースを介して通信するように構成された少なくとも1つのプロセッサと
を含み、
前記少なくとも1つの狭帯域キャリアが、第1のスペクトル(301)内のリソース(308)を含み、第1の無線アクセス技術(191)に従って動作し、
前記第1のスペクトル(301)が、前記少なくとも1つのアクセスノード(112、112-1、112-2)と第2の端末(130-2)との間の通信が広帯域キャリア(312、313)上で実行される第2のスペクトル(302)の範囲内に少なくとも部分的に配置され、前記広帯域キャリア(312、313)が前記第2のスペクトル(302)内のリソース(308)を含み、前記第1の無線アクセス技術(191)とは異なる第2の無線アクセス技術(192)に従って動作し、
前記第1のスペクトル(301)と前記第2のスペクトル(302)が両方、共有スペクトル(305)を含み、
前記共有スペクトル内のリソースは、前記第1の無線アクセス技術及び前記第2の無線アクセス技術にわたる集中スケジューリングを用いて、前記少なくとも1つの狭領域キャリア又は前記広帯域キャリアのいずれかに柔軟に割り振られる、
アクセスノード(112、112-1、112-2)。
Access nodes (112, 112-1, 112-2) of the wireless network (100).
An interface configured to send and receive wirelessly over a wireless link,
Includes a terminal connected to the wireless network (100) on at least one narrowband carrier and at least one processor configured to communicate over the interface.
The at least one narrowband carrier comprises a resource (308) within the first spectrum (301) and operates according to the first radio access technique (191).
In the first spectrum (301), communication between the at least one access node (112, 112-1, 112-2) and the second terminal (130-2) is a broadband carrier (312, 313). The broadband carrier (312, 313) comprises a resource (308) within the second spectrum (302), at least partially located within the range of the second spectrum (302) performed above, said. It operates according to a second wireless access technique (192) that is different from the first wireless access technique (191).
Both the first spectrum (301) and the second spectrum (302) include a shared spectrum (305).
Resources within the shared spectrum are flexibly allocated to either the at least one narrow region carrier or the broadband carrier using centralized scheduling across the first radio access technique and the second radio access technique.
Access nodes (112, 112-1, 112-2).
JP2020123258A 2020-07-17 2020-07-17 Simultaneous deployment of narrowband carriers and wideband carriers Expired - Fee Related JP7079552B2 (en)

Priority Applications (1)

Application Number Priority Date Filing Date Title
JP2020123258A JP7079552B2 (en) 2020-07-17 2020-07-17 Simultaneous deployment of narrowband carriers and wideband carriers

Applications Claiming Priority (1)

Application Number Priority Date Filing Date Title
JP2020123258A JP7079552B2 (en) 2020-07-17 2020-07-17 Simultaneous deployment of narrowband carriers and wideband carriers

Related Parent Applications (1)

Application Number Title Priority Date Filing Date
JP2018533089A Division JP6738424B2 (en) 2015-12-22 2015-12-22 Simultaneous deployment of narrowband and wideband carriers

Publications (2)

Publication Number Publication Date
JP2020184794A JP2020184794A (en) 2020-11-12
JP7079552B2 true JP7079552B2 (en) 2022-06-02

Family

ID=73045246

Family Applications (1)

Application Number Title Priority Date Filing Date
JP2020123258A Expired - Fee Related JP7079552B2 (en) 2020-07-17 2020-07-17 Simultaneous deployment of narrowband carriers and wideband carriers

Country Status (1)

Country Link
JP (1) JP7079552B2 (en)

Families Citing this family (4)

* Cited by examiner, † Cited by third party
Publication number Priority date Publication date Assignee Title
CN115150814B (en) * 2021-03-30 2024-04-23 维沃移动通信有限公司 Spectrum allocation method and device
CN115150885B (en) * 2021-03-31 2025-05-09 中国移动通信有限公司研究院 Resource allocation method, base station and readable storage medium
CN113891330B (en) * 2021-10-20 2025-07-15 上海微波技术研究所(中国电子科技集团公司第五十研究所) Internet of Things service scheduling method and system based on 5G waveform system
US12250561B2 (en) 2021-12-22 2025-03-11 T-Mobile Usa, Inc. Visual refarming of telecommunications spectrum blocks

Citations (1)

* Cited by examiner, † Cited by third party
Publication number Priority date Publication date Assignee Title
US20150296514A1 (en) 2013-01-24 2015-10-15 Sony Corporation Mobile communication base station and method for allocating resources outside of a virtual carrier based on ue capabilities

Patent Citations (1)

* Cited by examiner, † Cited by third party
Publication number Priority date Publication date Assignee Title
US20150296514A1 (en) 2013-01-24 2015-10-15 Sony Corporation Mobile communication base station and method for allocating resources outside of a virtual carrier based on ue capabilities

Non-Patent Citations (1)

* Cited by examiner, † Cited by third party
Title
Huawei, HiSilicon,Multiple NB-IoT carrier deployment[online],3GPP TSG RAN WG1 Meeting #83 R1-156923,インターネット<URL:http://www.3gpp.org/ftp/tsg_ran/WG1_RL1/TSGR1_83/Docs>,2015年11月07日

Also Published As

Publication number Publication date
JP2020184794A (en) 2020-11-12

Similar Documents

Publication Publication Date Title
JP6738424B2 (en) Simultaneous deployment of narrowband and wideband carriers
JP7418625B2 (en) Media access protocol data unit assembly in wireless systems
US20240405936A1 (en) Method and apparatus for transmitting or receiving control channel in communication system
US20250253988A1 (en) Phy layer multiplexing of different types of traffic in 5g systems
KR102906467B1 (en) Method and apparatus for transmission and reception of sidelink signals in a wirelss cellular communication system
CN113632404B (en) Coding and resource mapping for multiplexing feedback codebooks
US11540254B2 (en) Apparatus and method for allocating resources in wireless communication system
US10498513B2 (en) Methods for dynamic management of reference signals
JP7079552B2 (en) Simultaneous deployment of narrowband carriers and wideband carriers
JP6745360B2 (en) Downlink transmission settings
WO2021147892A1 (en) Method and device in node used for wireless communication
CN115486049A (en) Apparatus and method for transmitting data in a wireless communication system
EP3831144B1 (en) Apparatus and method for allocating resources in wireless communication system
KR20220059909A (en) Method and apparatus for hybrid automatic repeat request feedback in communication system
WO2025098358A1 (en) Method and device used in node for wireless communication
WO2024161380A1 (en) Techniques for managing sidelink feedback resources on an unlicensed carrier
CN119696740A (en) A method and device in a node for wireless communication

Legal Events

Date Code Title Description
A521 Request for written amendment filed

Free format text: JAPANESE INTERMEDIATE CODE: A523

Effective date: 20200731

A621 Written request for application examination

Free format text: JAPANESE INTERMEDIATE CODE: A621

Effective date: 20200731

A131 Notification of reasons for refusal

Free format text: JAPANESE INTERMEDIATE CODE: A131

Effective date: 20210928

A521 Request for written amendment filed

Free format text: JAPANESE INTERMEDIATE CODE: A523

Effective date: 20211125

TRDD Decision of grant or rejection written
A01 Written decision to grant a patent or to grant a registration (utility model)

Free format text: JAPANESE INTERMEDIATE CODE: A01

Effective date: 20220419

A61 First payment of annual fees (during grant procedure)

Free format text: JAPANESE INTERMEDIATE CODE: A61

Effective date: 20220519

R150 Certificate of patent or registration of utility model

Ref document number: 7079552

Country of ref document: JP

Free format text: JAPANESE INTERMEDIATE CODE: R150

S111 Request for change of ownership or part of ownership

Free format text: JAPANESE INTERMEDIATE CODE: R313113

R350 Written notification of registration of transfer

Free format text: JAPANESE INTERMEDIATE CODE: R350

LAPS Cancellation because of no payment of annual fees