JP7058905B2 - チップの製造方法 - Google Patents

チップの製造方法 Download PDF

Info

Publication number
JP7058905B2
JP7058905B2 JP2017182990A JP2017182990A JP7058905B2 JP 7058905 B2 JP7058905 B2 JP 7058905B2 JP 2017182990 A JP2017182990 A JP 2017182990A JP 2017182990 A JP2017182990 A JP 2017182990A JP 7058905 B2 JP7058905 B2 JP 7058905B2
Authority
JP
Japan
Prior art keywords
glass substrate
workpiece
modified layer
division
chip
Prior art date
Legal status (The legal status is an assumption and is not a legal conclusion. Google has not performed a legal analysis and makes no representation as to the accuracy of the status listed.)
Active
Application number
JP2017182990A
Other languages
English (en)
Other versions
JP2019059628A (ja
Inventor
良彰 淀
金艶 趙
Current Assignee (The listed assignees may be inaccurate. Google has not performed a legal analysis and makes no representation or warranty as to the accuracy of the list.)
Disco Corp
Original Assignee
Disco Corp
Priority date (The priority date is an assumption and is not a legal conclusion. Google has not performed a legal analysis and makes no representation as to the accuracy of the date listed.)
Filing date
Publication date
Application filed by Disco Corp filed Critical Disco Corp
Priority to JP2017182990A priority Critical patent/JP7058905B2/ja
Publication of JP2019059628A publication Critical patent/JP2019059628A/ja
Application granted granted Critical
Publication of JP7058905B2 publication Critical patent/JP7058905B2/ja
Active legal-status Critical Current
Anticipated expiration legal-status Critical

Links

Images

Landscapes

  • Processing Of Stones Or Stones Resemblance Materials (AREA)
  • Laser Beam Processing (AREA)
  • Re-Forming, After-Treatment, Cutting And Transporting Of Glass Products (AREA)
  • Mechanical Treatment Of Semiconductor (AREA)
  • Dicing (AREA)

Description

本発明は、板状の被加工物を分割して複数のチップを製造するチップの製造方法に関する。
ウェーハに代表される板状の被加工物(ワーク)を複数のチップへと分割するために、透過性のあるレーザビームを被加工物の内部に集光させて、多光子吸収により改質された改質層(改質領域)を形成する方法が知られている(例えば、特許文献1参照)。改質層は、他の領域に比べて脆いので、分割予定ライン(ストリート)に沿って改質層を形成してから被加工物に力を加えることで、この改質層を起点に被加工物を複数のチップへと分割できる。
改質層が形成された被加工物に力を加える際には、例えば、伸張性のあるエキスパンドシート(エキスパンドテープ)を被加工物に貼って拡張する方法が採用される(例えば、特許文献2参照)。この方法では、通常、レーザビームを照射して被加工物に改質層を形成する前に、エキスパンドシートを被加工物に貼り、その後、改質層を形成してからエキスパンドシートを拡張して被加工物を複数のチップへと分割する。
特開2002-192370号公報 特開2010-206136号公報
ところが、上述のようなエキスパンドシートを拡張する方法では、使用後のエキスパンドシートを再び使用することができないので、チップの製造に要する費用も高くなり易い。特に、粘着材がチップに残留し難い高性能なエキスパンドシートは、価格も高いので、そのようなエキスパンドシートを用いると、チップの製造に要する費用も高くなる。
本発明はかかる問題点に鑑みてなされたものであり、その目的とするところは、エキスパンドシートを用いることなく板状の被加工物を分割して複数のチップを製造できるチップの製造方法を提供することである。
本発明の一態様によれば、交差する複数の分割予定ラインによってチップとなる複数の領域に区画されたチップ領域と、該チップ領域を囲む外周余剰領域と、を表面に有するガラス基板から複数の該チップを製造するチップの製造方法であって、該表面又は裏面が上方に露出するようにガラス基板を保持テーブルで直に保持する保持ステップと、該保持ステップを実施した後に、ガラス基板に対して透過性を有する波長のレーザビームの集光点を該保持テーブルに保持されたガラス基板の内部の第1深さの位置に位置づけるように該分割予定ラインに沿ってガラス基板の該チップ領域にのみ該レーザビームを照射し、該チップ領域の該分割予定ラインに沿って第1改質層を形成するとともに、該外周余剰領域を該第1改質層が形成されていない補強部とする第1レーザ加工ステップと、該保持ステップ及び該第1レーザ加工ステップを実施した後に、ガラス基板に対して透過性を有する波長のレーザビームの集光点を該保持テーブルに保持されたガラス基板の内部の該第1深さの位置より上方の第2深さの位置に位置づけるように該分割予定ラインに沿って該レーザビームを照射し、該第1改質層より長く該外周余剰領域に端部が重なる第2改質層を該分割予定ラインに沿って形成する第2レーザ加工ステップと、該第1レーザ加工ステップ及び該第2レーザ加工ステップを実施した後に、該保持テーブルからガラス基板を搬出する搬出ステップと、該搬出ステップを実施した後に、ガラス基板に力を付与してガラス基板を個々の該チップへと分割する分割ステップと、を備え、該分割ステップでは、加熱と冷却とにより該力を付与してガラス基板を個々の該チップへと分割するチップの製造方法が提供される。
本発明の一態様において、該分割ステップでは、該補強部を除去することなくガラス基板に力を付与してガラス基板を個々の該チップへと分割しても良い。また、本発明の一態様において、該第2レーザ加工ステップでは、ガラス基板の外周縁から端までの距離が2mm~3mmとなるように該第2改質層を形成しても良い。
本発明の一態様に係るチップの製造方法では、ガラス基板を保持テーブルで直に保持した状態で、集光点を第1深さの位置に位置付けるようにガラス基板のチップ領域にのみレーザビームを照射して、チップ領域の分割予定ラインに沿って第1改質層を形成し、また、集光点を第2深さの位置に位置づけるようにレーザビームを照射して、第1改質層より長く外周余剰領域に端部が重なる第2改質層を分割予定ラインに沿って形成した後、加熱と冷却とにより力を付与してガラス基板を個々のチップへと分割するので、ガラス基板に力を加えて個々のチップへと分割するためにエキスパンドシートを用いる必要がない。このように、本発明の一態様に係るチップの製造方法によれば、エキスパンドシートを用いることなく板状の被加工物であるガラス基板を分割して複数のチップを製造できる。
また、本発明の一態様に係るチップの製造方法では、ガラス基板のチップ領域にのみレーザビームを照射して分割予定ラインに沿う第1改質層を形成するとともに、外周余剰領域を第1改質層が形成されていない補強部とするので、この補強部によってチップ領域は補強される。よって、搬送等の際に加わる力によってガラス基板が個々のチップへと分割されてしまい、ガラス基板を適切に搬送できなくなることもない。
被加工物の構成例を模式的に示す斜視図である。 レーザ加工装置の構成例を模式的に示す斜視図である。 図3(A)は、保持ステップについて説明するための断面図であり、図3(B)は、第1レーザ加工ステップ及び第2レーザ加工ステップについて説明するための断面図である。 図4(A)は、全ての分割予定ラインに沿って改質層が形成された後の被加工物の状態を模式的に示す平面図であり、図4(B)は、各分割予定ラインに沿って形成された改質層の状態を模式的に示す断面図である。 図5(A)及び図5(B)は、補強部除去ステップについて説明するための断面図である。 分割ステップについて説明するための断面図である。 変形例に係る保持ステップについて説明するための断面図である。 図8(A)は、変形例に係る分割ステップについて説明するための断面図であり、図8(B)は、変形例に係る分割ステップの後の被加工物の状態を模式的に示す平面図である。
添付図面を参照して、本発明の一態様に係る実施形態について説明する。本実施形態に係るチップの製造方法は、保持ステップ(図3(A)参照)、第1レーザ加工ステップ(図3(B)、図4(A)及び図4(B)参照)、第2レーザ加工ステップ(図3(B)、図4(A)及び図4(B)参照)、搬出ステップ、補強部除去ステップ(図5(A)及び図5(B)参照)、及び分割ステップ(図6参照)を含む。
保持ステップでは、分割予定ラインによって複数の領域に区画されたチップ領域と、チップ領域を囲む外周余剰領域と、を有する被加工物(ワーク)をチャックテーブル(保持テーブル)で直に保持する。第1レーザ加工ステップでは、被加工物に対して透過性を有する波長のレーザビームを照射し、チップ領域の分割予定ラインに沿って第1改質層を形成するとともに、外周余剰領域を第1改質層が形成されていない補強部とする。
第2レーザ加工ステップでは、被加工物に対して透過性を有する波長のレーザビームを照射し、第1改質層より長く外周余剰領域に端部が重なる第2改質層を分割予定ラインに沿って形成する。搬出ステップでは、チャックテーブルから被加工物を搬出する。補強部除去ステップでは、被加工物から補強部を除去する。分割ステップでは、加熱と冷却とにより力を付与して被加工物を複数のチップへと分割する。以下、本実施形態に係るチップの製造方法について詳述する。
図1は、本実施形態で使用される被加工物(ワーク)11の構成例を模式的に示す斜視図である。図1に示すように、被加工物11は、例えば、シリコン(Si)、ヒ化ガリウム(GaAs)、リン化インジウム(InP)、窒化ガリウム(GaN)、シリコンカーバイド(SiC)等の半導体、サファイア(Al)、ソーダガラス、ホウケイ酸ガラス、石英ガラス等の誘電体(絶縁体)、又は、タンタル酸リチウム(LiTa)、ニオブ酸リチウム(LiNb)等の強誘電体(強誘電体結晶)でなる円盤状のウェーハ(基板)である。
被加工物11の表面11a側は、交差する複数の分割予定ライン(ストリート)13でチップとなる複数の領域15に区画されている。なお、以下では、チップとなる複数の領域15の全てを含む概ね円形の領域をチップ領域11cと呼び、チップ領域11cを囲む環状の領域を外周余剰領域11dと呼ぶ。
チップ領域11c内の各領域15には、必要に応じて、IC(Integrated Circuit)、MEMS(Micro Electro Mechanical Systems)、LED(Light Emitting Diode)、LD(Laser Diode)、フォトダイオード(Photodiode)、SAW(Surface Acoustic Wave)フィルタ、BAW(Bulk Acoustic Wave)フィルタ等のデバイスが形成されている。
この被加工物11を分割予定ライン13に沿って分割することで、複数のチップが得られる。具体的には、被加工物11がシリコンウェーハの場合には、例えば、メモリやセンサ等として機能するチップが得られる。被加工物11がヒ化ガリウム基板やリン化インジウム基板、窒化ガリウム基板の場合には、例えば、発光素子や受光素子等として機能するチップが得られる。
被加工物11がシリコンカーバイド基板の場合には、例えば、パワーデバイス等として機能するチップが得られる。被加工物11がサファイア基板の場合には、例えば、発光素子等として機能するチップが得られる。被加工物11がソーダガラスやホウケイ酸ガラス、石英ガラス等でなるガラス基板の場合には、例えば、光学部品やカバー部材(カバーガラス)として機能するチップが得られる。
被加工物11がタンタル酸リチウムや、ニオブ酸リチウム等の強誘電体でなる強誘電体基板(強誘電体結晶基板)の場合には、例えば、フィルタやアクチュエータ等として機能するチップが得られる。なお、被加工物11の材質、形状、構造、大きさ、厚み等に制限はない。同様に、チップとなる領域15に形成されるデバイスの種類、数量、形状、構造、大きさ、配置等にも制限はない。チップとなる領域15には、デバイスが形成されていなくても良い。
本実施形態に係るチップの製造方法では、被加工物11として円盤状のガラス基板を用い、複数のチップを製造する。具体的には、まず、この被加工物11をチャックテーブルで直に保持する保持ステップを行う。図2は、本実施形態で使用されるレーザ加工装置の構成例を模式的に示す斜視図である。
図2に示すように、レーザ加工装置2は、各構成要素が搭載される基台4を備えている。基台4の上面には、被加工物11を吸引、保持するためのチャックテーブル(保持テーブル)6をX軸方向(加工送り方向)及びY軸方向(割り出し送り方向)に移動させる水平移動機構8が設けられている。水平移動機構8は、基台4の上面に固定されX軸方向に概ね平行な一対のX軸ガイドレール10を備えている。
X軸ガイドレール10には、X軸移動テーブル12がスライド可能に取り付けられている。X軸移動テーブル12の裏面側(下面側)には、ナット部(不図示)が設けられており、このナット部には、X軸ガイドレール10に概ね平行なX軸ボールネジ14が螺合されている。
X軸ボールネジ14の一端部には、X軸パルスモータ16が連結されている。X軸パルスモータ16でX軸ボールネジ14を回転させることにより、X軸移動テーブル12はX軸ガイドレール10に沿ってX軸方向に移動する。X軸ガイドレール10に隣接する位置には、X軸方向においてX軸移動テーブル12の位置を検出するためのX軸スケール18が設置されている。
X軸移動テーブル12の表面(上面)には、Y軸方向に概ね平行な一対のY軸ガイドレール20が固定されている。Y軸ガイドレール20には、Y軸移動テーブル22がスライド可能に取り付けられている。Y軸移動テーブル22の裏面側(下面側)には、ナット部(不図示)が設けられており、このナット部には、Y軸ガイドレール20に概ね平行なY軸ボールネジ24が螺合されている。
Y軸ボールネジ24の一端部には、Y軸パルスモータ26が連結されている。Y軸パルスモータ26でY軸ボールネジ24を回転させることにより、Y軸移動テーブル22はY軸ガイドレール20に沿ってY軸方向に移動する。Y軸ガイドレール20に隣接する位置には、Y軸方向においてY軸移動テーブル22の位置を検出するためのY軸スケール28が設置されている。
Y軸移動テーブル22の表面側(上面側)には、支持台30が設けられており、この支持台30の上部には、チャックテーブル6が配置されている。チャックテーブル6の表面(上面)は、上述した被加工物11の裏面11b側(又は表面11a側)を吸引、保持する保持面6aになっている。保持面6aは、例えば、酸化アルミニウム等の硬度が高い多孔質材で構成されている。ただし、保持面6aは、ポリエチレンやエポキシ等の樹脂に代表される柔軟な材料で構成されていても良い。
この保持面6aは、チャックテーブル6の内部に形成された吸引路6b(図3(A)等参照)やバルブ32(図3(A)等参照)等を介して吸引源34(図3(A)等参照)に接続されている。チャックテーブル6の下方には、回転駆動源(不図示)が設けられており、チャックテーブル6は、この回転駆動源によってZ軸方向に概ね平行な回転軸の周りに回転する。
水平移動機構8の後方には、柱状の支持構造36が設けられている。支持構造36の上部には、Y軸方向に伸びる支持アーム38が固定されており、この支持アーム38の先端部には、被加工物11に対して透過性を有する波長(吸収され難い波長)のレーザビーム17(図3(B)参照)をパルス発振して、チャックテーブル6上の被加工物11に照射するレーザ照射ユニット40が設けられている。
レーザ照射ユニット40に隣接する位置には、被加工物11の表面11a側又は裏面11b側を撮像するカメラ42が設けられている。カメラ42で被加工物11等を撮像して形成された画像は、例えば、被加工物11とレーザ照射ユニット40との位置等を調整する際に使用される。
チャックテーブル6、水平移動機構8、レーザ照射ユニット40、カメラ42等の構成要素は、制御ユニット(不図示)に接続されている。制御ユニットは、被加工物11が適切に加工されるように各構成要素を制御する。
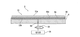
図3(A)は、保持ステップについて説明するための断面図である。なお、図3(A)では、一部の構成要素を機能ブロックで示している。保持ステップでは、図3(A)に示すように、例えば、被加工物11の裏面11bをチャックテーブル6の保持面6aに接触させる。そして、バルブ32を開いて吸引源34の負圧を保持面6aに作用させる。
これにより、被加工物11は、表面11a側が上方に露出した状態でチャックテーブル6に吸引、保持される。なお、本実施形態では、図3(A)に示すように、被加工物11の裏面11b側をチャックテーブル6で直に保持する。つまり、本実施形態では、被加工物11に対してエキスパンドシートを貼る必要がない。
保持ステップの後には、被加工物11に対して透過性を有する波長のレーザビーム17を照射し、分割予定ライン13に沿う改質層を形成する第1レーザ加工ステップ及び第2レーザ加工ステップを行う。なお、本実施形態では、第1レーザ加工ステップの後に第2レーザ加工ステップを行う場合について説明する。
図3(B)は、第1レーザ加工ステップ及び第2レーザ加工ステップについて説明するための断面図であり、図4(A)は、全ての分割予定ライン13に沿って改質層が形成された後の被加工物11の状態を模式的に示す平面図であり、図4(B)は、各分割予定ライン13に沿って形成された改質層を模式的に示す断面図である。なお、図3(B)では、一部の構成要素を機能ブロックで示している。
第1レーザ加工ステップでは、まず、チャックテーブル6を回転させて、例えば、対象となる分割予定ライン13の延びる方向をX軸方向に対して平行にする。次に、チャックテーブル6を移動させて、対象となる分割予定ライン13の延長線上にレーザ照射ユニット40の位置を合わせる。そして、図3(B)に示すように、X軸方向(すなわち、対象の分割予定ライン13の延びる方向)にチャックテーブル6を移動させる。
その後、対象となる分割予定ライン13上の2箇所に存在するチップ領域11cと外周余剰領域11dとの境界の一方の直上にレーザ照射ユニット40が到達したタイミングで、このレーザ照射ユニット40からレーザビーム17の照射を開始する。本実施形態では、図3(B)に示すように、被加工物11の上方に配置されたレーザ照射ユニット40から、被加工物11の表面11aに向けてレーザビーム17が照射される。
このレーザビーム17の照射は、レーザ照射ユニット40が、対象となる分割予定ライン13上の2箇所に存在するチップ領域11cと外周余剰領域11dとの境界の他方の直上に到達するまで続けられる。つまり、ここでは、対象の分割予定ライン13に沿ってチップ領域11c内にのみレーザビーム17を照射する。
また、このレーザビーム17は、被加工物11の内部の表面11a(又は裏面11b)から第1深さの位置に集光点を位置付けるように照射される。このように、被加工物11に対して透過性を有する波長のレーザビーム17を、被加工物11の内部に集光させることで、集光点及びその近傍で被加工物11の一部を多光子吸収により改質し、分割の起点となる改質層19(第1改質層19a)を形成できる(第1改質層形成ステップ)。
本実施形態の第1レーザ加工ステップでは、対象の分割予定ライン13に沿ってチップ領域11c内にのみレーザビーム17を照射するので、対象の分割予定ライン13に沿ってチップ領域11c内にのみ改質層19(第1改質層19a)が形成される。すなわち、図4(B)に示すように、第1レーザ加工ステップでは、外周余剰領域11dに改質層19(第1改質層19a)が形成されない。
上述した第1レーザ加工ステップの後には、同じ分割予定ライン13に沿って第1深さとは異なる深さの位置に改質層19を形成する第2レーザ加工ステップを行う。なお、第1レーザ加工ステップが終了した段階では、対象となる分割予定ライン13の延長線上にレーザ照射ユニット40が存在するので、このレーザ照射ユニット40の位置を分割予定ライン13に合わせて調整する必要はない。
第2レーザ加工ステップでは、まず、チャックテーブル6をX軸方向(対象の分割予定ライン13の延びる方向)に移動させる。次に、被加工物11の外周余剰領域11dに設定された照射開始点の直上にレーザ照射ユニット40が到達したタイミングで、このレーザ照射ユニット40からレーザビーム17の照射を開始する。
本実施形態では、第1レーザ加工ステップと同様に、被加工物11の上方に配置されたレーザ照射ユニット40から、被加工物11の表面11aに向けてレーザビーム17が照射される。このレーザビーム17の照射は、レーザ照射ユニット40が、被加工物11のチップ領域11c上を通過して外周余剰領域11dに設定された照射終了点の直上に到達するまで続けられる。
つまり、ここでは、対象の分割予定ライン13に沿って外周余剰領域11dの一部及びチップ領域11cにレーザビーム17を照射する。また、このレーザビーム17は、被加工物11の内部の表面11a(又は裏面11b)から第2深さ(第1深さとは異なる深さ)の位置に集光点を位置付けるように照射される。
これにより、第1レーザ加工ステップで形成される改質層19(第1改質層19a)より長く外周余剰領域11dに端部が重なる改質層19(第2改質層19b)を、分割予定ライン13に沿って第2深さの位置に形成できる(第2改質層形成ステップ)。第2深さの位置に改質層19(第2改質層19b)を形成した後には、同様の手順で第1深さ及び第2深さとは異なる第3深さの位置に改質層19(第3改質層19c)を形成する(第3改質層形成ステップ)。第3深さの位置に改質層19を形成する際には、照射開始点及び照射終了点の位置を変更して良い。
なお、本実施形態では、第1レーザ加工ステップで1つの分割予定ライン13に沿って1つの改質層19(第1改質層19a)を形成し、第2レーザ加工ステップで同じ1つの分割予定ライン13に沿って2つの改質層19(第2改質層19b及び第3改質層19c)を形成しているが、1つの分割予定ライン13に沿って形成される改質層19の数や位置等に特段の制限はない。
例えば、第1レーザ加工ステップで1つの分割予定ライン13に沿って形成される改質層19の数は2つ以上でも良い。また、第2レーザ加工ステップで同じ1つの分割予定ライン13に沿って形成される改質層19の数は1つ、又は3つ以上でも良い。すなわち、少なくとも、第1レーザ加工ステップで1つの分割予定ライン13に沿って1つ以上の改質層19を形成でき、第2レーザ加工ステップで1つの分割予定ライン13に沿って1つ以上の改質層19を形成できれば良い。
また、改質層19は、表面11a(又は裏面11b)にクラックが到達する条件で形成されることが望ましい。もちろん、表面11a及び裏面11bの両方にクラックが到達する条件で改質層19を形成しても良い。これにより、被加工物11をより適切に分割できるようになる。
被加工物11がシリコンウェーハの場合には、例えば、次のような条件で改質層19が形成される。
被加工物:シリコンウェーハ
レーザビームの波長:1340nm
レーザビームの繰り返し周波数:90kHz
レーザビームの出力:0.1W~2W
チャックテーブルの移動速度(加工送り速度):180mm/s~1000mm/s、代表的には、500mm/s
被加工物11がヒ化ガリウム基板やリン化インジウム基板の場合には、例えば、次のような条件で改質層19が形成される。
被加工物:ヒ化ガリウム基板、リン化インジウム基板
レーザビームの波長:1064nm
レーザビームの繰り返し周波数:20kHz
レーザビームの出力:0.1W~2W
チャックテーブルの移動速度(加工送り速度):100mm/s~400mm/s、代表的には、200mm/s
被加工物11がサファイア基板の場合には、例えば、次のような条件で改質層19が形成される。
被加工物:サファイア基板
レーザビームの波長:1045nm
レーザビームの繰り返し周波数:100kHz
レーザビームの出力:0.1W~2W
チャックテーブルの移動速度(加工送り速度):400mm/s~800mm/s、代表的には、500mm/s
被加工物11がタンタル酸リチウムやニオブ酸リチウム等の強誘電体でなる強誘電体基板の場合には、例えば、次のような条件で改質層19が形成される。
被加工物:タンタル酸リチウム基板、ニオブ酸リチウム基板
レーザビームの波長:532nm
レーザビームの繰り返し周波数:15kHz
レーザビームの出力:0.02W~0.2W
チャックテーブルの移動速度(加工送り速度):270mm/s~420mm/s、代表的には、300mm/s
被加工物11がソーダガラスやホウケイ酸ガラス、石英ガラス等でなるガラス基板の場合には、例えば、次のような条件で改質層19が形成される。
被加工物:ソーダガラス基板、ホウケイ酸ガラス基板、石英ガラス基板
レーザビームの波長:532nm
レーザビームの繰り返し周波数:50kHz
レーザビームの出力:0.1W~2W
チャックテーブルの移動速度(加工送り速度):300mm/s~600mm/s、代表的には、400mm/s
被加工物11が窒化ガリウム基板の場合には、例えば、次のような条件で改質層19が形成される。
被加工物:窒化ガリウム基板
レーザビームの波長:532nm
レーザビームの繰り返し周波数:25kHz
レーザビームの出力:0.02W~0.2W
チャックテーブルの移動速度(加工送り速度):90mm/s~600mm/s、代表的には、150mm/s
被加工物11がシリコンカーバイド基板の場合には、例えば、次のような条件で改質層19が形成される。
被加工物:シリコンカーバイド基板
レーザビームの波長:532nm
レーザビームの繰り返し周波数:25kHz
レーザビームの出力:0.02W~0.2W、代表的には、0.1W
チャックテーブルの移動速度(加工送り速度):90mm/s~600mm/s、代表的には、シリコンカーバイド基板の劈開方向で90mm/s、非劈開方向で400mm/s
対象の分割予定ライン13に沿って改質層19を形成した後には、残りの全ての分割予定ライン13に対して上述した第1レーザ加工ステップ及び第2レーザ加工ステップを繰り返す。これにより、図4(A)に示すように、全ての分割予定ライン13に沿って改質層19を形成できる。
本実施形態の第1レーザ加工ステップでは、分割予定ライン13に沿ってチップ領域11c内にのみ改質層19(第1改質層19a)を形成し、外周余剰領域11dには改質層19(第1改質層19a)を形成しないので、この外周余剰領域11dによって被加工物11の強度が保たれる。これにより、搬送等の際に加わる力によって被加工物11が個々のチップへと分割されてしまうことはない。このように、第1レーザ加工ステップの後の外周余剰領域11dは、チップ領域11を補強するための補強部として機能する。
また、本実施形態の第1レーザ加工ステップでは、外周余剰領域11dに改質層19(第1改質層19a)を形成しないので、例えば、改質層19から伸長するクラックが表面11a及び裏面11bの両方に到達し、被加工物11が完全に分割された状況でも、各チップが脱落、離散することはない。一般に、被加工物11に改質層19が形成されると、この改質層19の近傍で被加工物11は膨張する。本実施形態では、改質層19の形成によって発生する膨張の力を、補強部として機能するリング状の外周余剰領域11dで内向きに作用させることで、各チップを押さえつけ、脱落、離散を防止している。
第1レーザ加工ステップ及び第2レーザ加工ステップの後には、チャックテーブル6から被加工物11を搬出する搬出ステップを行う。具体的には、例えば、被加工物11の表面11a(又は、裏面11b)の全体を吸着、保持できる搬送ユニット(不図示)で被加工物11の表面11aの全体を吸着してから、バルブ32を閉じて吸引源34の負圧を遮断し、被加工物11を搬出する。なお、本実施形態では、上述のように、外周余剰領域11dが補強部として機能するので、搬送等の際に加わる力によって被加工物11が個々のチップへと分割されてしまい、被加工物11を適切に搬送できなくなることはない。
搬出ステップの後には、被加工物11から補強部を除去する補強部除去ステップを行う。図5(A)及び図5(B)は、補強部除去ステップについて説明するための断面図である。なお、図5(A)及び図5(B)では、一部の構成要素を機能ブロックで示している。補強部除去ステップは、例えば、図5(A)及び図5(B)に示す分割装置52を用いて行われる。
分割装置52は、被加工物11を吸引、保持するためのチャックテーブル(保持テーブル)54を備えている。このチャックテーブル54の上面の一部は、被加工物11のチップ領域11cを吸引、保持する保持面54aになっている。保持面54aは、チャックテーブル54の内部に形成された吸引路54bやバルブ56等を介して吸引源58に接続されている。また、この保持面54aの下方には、ヒータ(加熱ユニット)54cが配置されている。
チャックテーブル54の上面の別の一部には、被加工物11の外周余剰領域11d(すなわち、補強部)を吸引、保持するための吸引路54dの一端が開口している。吸引路54dの他端側は、バルブ60等を介して吸引源58に接続されている。このチャックテーブル54は、モータ等の回転駆動源(不図示)に連結されており、鉛直方向に概ね平行な回転軸の周りに回転する。
チャックテーブル54の上方には、切削ユニット62が配置されている。切削ユニット62は、保持面54aに対して概ね平行な回転軸となるスピンドル64を備えている。スピンドル64の一端側には、結合材に砥粒が分散されてなる環状の切削ブレード66が装着されている。
スピンドル64の他端側には、モータ等の回転駆動源(不図示)が連結されており、スピンドル64の一端側に装着された切削ブレード66は、この回転駆動源から伝わる力によって回転する。切削ユニット62は、例えば、昇降機構(不図示)に支持されており、切削ブレード66は、この昇降機構によって鉛直方向に移動する。
なお、チャックテーブル54の上面には、被加工物11のチップ領域11cと外周余剰領域11dとの境界に対応する位置に、切削ブレード66との接触を防ぐための切削ブレード用逃げ溝(不図示)が形成されている。
補強部除去ステップでは、まず、被加工物11の裏面11bをチャックテーブル54の保持面54aに接触させる。そして、バルブ56,60を開き、吸引源58の負圧を保持面54a等に作用させる。これにより、被加工物11は、表面11a側が上方に露出した状態でチャックテーブル54に吸引、保持される。なお、本実施形態では、図5(A)に示すように、被加工物11の裏面11b側をチャックテーブル54で直に保持する。つまり、ここでも、被加工物11に対してエキスパンドシートを貼る必要がない。
次に、切削ブレード66を回転させて、被加工物11のチップ領域11cと外周余剰領域11dとの境界に切り込ませる。併せて、図5(A)に示すように、チャックテーブル54を、鉛直方向に概ね平行な回転軸の周りに回転させる。これにより、チップ領域11cと外周余剰領域11dとの境界に沿って被加工物11を切断できる。
その後、バルブ60を閉じて、被加工物11の外周余剰領域11dに対する吸引源58の負圧を遮断する。そして、図5(B)に示すように、チャックテーブル54から外周余剰領域11dを除去する。これにより、チャックテーブル54上には、被加工物11のチップ領域11cのみが残る。
補強部除去ステップの後には、被加工物11を個々のチップへと分割する分割ステップを行う。具体的には、加熱及び冷却により応力を生じさせて被加工物11を分割する。図6は、分割ステップについて説明するための断面図である。なお、図6では、一部の構成要素を機能ブロックで示している。
分割ステップは、引き続き分割装置52を用いて行われる。図6に示すように、分割装置52は、チャックテーブル54の上方に配置されたノズル(冷却ユニット)68を更に備えている。本実施形態の分割ステップでは、チャックテーブル54に設けられたヒータ54cで被加工物11を加熱した後に、このノズル68から冷却用の流体21を供給して被加工物11を冷却することで、被加工物11の分割に必要な応力を生じさせる。
冷却用の流体21としては、例えば、水等の液体や、エア等の気体を用いることができる。流体21として液体を用いる場合には、この液体を凍結しない程度に低い温度(例えば、凝固点より0.1℃~10℃ほど高い温度)まで冷却しておいても良い。ただし、流体21の種類や流量、温度等に特段の制限はない。例えば、気化することによって更に熱を奪うことのできる液体窒素等の低温の液体を用いても良い。
ヒータ54cを作動させて被加工物11を加熱した後に、ノズル68から冷却用の流体21を供給して被加工物11を冷却すると、被加工物11の内部に発生する応力によって改質層19からクラック23が伸長する。これにより、被加工物11は分割予定ライン13に沿って複数のチップ25へと分割される。
加熱及び冷却の条件(温度、時間等)は、被加工物11の種類等に応じて設定される。また、ヒータ54cによる被加工物11の加熱と、ノズル68から供給される液体21による被加工物11の冷却とは、被加工物11が適切に分割されるまで繰り返されることが望ましい。
このように、本実施形態では、加熱及び冷却によって必要な力を付与することで、被加工物11を個々のチップ25へと分割できる。なお、本実施形態では、被加工物11を加熱した後に冷却しているが、被加工物11を冷却した後に加熱しても良い。加熱及び冷却の方法にも、特段の制限はない。
以上のように、本実施形態に係るチップの製造方法では、被加工物(ワーク)11をチャックテーブル(保持テーブル)6で直に保持した状態で、集光点を第1深さの位置に位置付けるように被加工物11のチップ領域11cにのみレーザビーム17を照射して、チップ領域11cの分割予定ライン13に沿って改質層19(第1改質層19a)を形成し、また、集光点を第2深さの位置及び第3深さの位置に位置づけるようにレーザビーム17を照射して、第1深さの位置に形成される改質層19より長く外周余剰領域11dに端部が重なる改質層19(第2改質層19b及び第3改質層19c)を分割予定ライン13に沿って形成した後、加熱と冷却とにより力を付与して被加工物11を個々のチップ25へと分割するので、被加工物11に力を加えて個々のチップ25へと分割するためにエキスパンドシートを用いる必要がない。このように、本実施形態に係るチップの製造方法によれば、エキスパンドシートを用いることなく板状の被加工物11であるガラス基板を分割して複数のチップ25を製造できる。
また、本実施形態に係るチップの製造方法では、被加工物11のチップ領域11cにのみレーザビーム17を照射して分割予定ライン13に沿う改質層19(第1改質層19a)を形成するとともに、外周余剰領域11dを改質層19が形成されていない補強部とするので、この補強部によってチップ領域11cは補強される。よって、搬送等の際に加わる力によって被加工物11が個々のチップ25へと分割されてしまい、被加工物11を適切に搬送できなくなることもない。
なお、本発明は、上記実施形態等の記載に制限されず種々変更して実施可能である。例えば、上記実施形態では、第1レーザ加工ステップの後に第2レーザ加工ステップを行っているが、第2レーザ加工ステップの後に第1レーザ加工ステップを行うようにしても良い。更に、第2改質層19bを形成する第2改質層形成ステップと、第3改質層19cを形成する第3改質層形成ステップとの順序を入れ替えても良い。
また、上記実施形態では、対象の1本の分割予定ライン13に対して第1レーザ加工ステップを行った後に、同じ1本の分割予定ライン13に対して第2レーザ加工ステップを行っているが、本発明は、この態様に制限されない。例えば、複数の分割予定ライン13に対して第1改質層19aを形成する第1レーザ加工ステップ(第1改質層形成ステップ)を行った後に、複数の分割予定ライン13に対して第2レーザ加工ステップを行うこともできる。
なお、この場合には、複数の分割予定ライン13に対して第2改質層19bを形成する第2レーザ加工ステップ(第2改質層形成ステップ)を行ってから、複数の分割予定ライン13に対して第3改質層19cを形成する第2レーザ加工ステップ(第3改質層形成ステップ)を行うと良い。
より具体的には、例えば、まず、第1方向に平行な全ての分割予定ライン13に対して第1改質層19aを形成する第1改質層形成ステップを行う。次に、第1方向に平行な全ての分割予定ライン13に対して第2改質層19bを形成する第2改質層形成ステップを行う。そして、第1方向に平行な全ての分割予定ライン13に対して第3改質層19cを形成する第3改質層形成ステップを行う。
その後、第1方向とは異なる第2方向に平行な全ての分割予定ライン13に対して第1改質層19aを形成する第1改質層形成ステップを行う。次に、第2方向に平行な全ての分割予定ライン13に対して第2改質層19bを形成する第2改質層形成ステップを行う。そして、第2方向に平行な全ての分割予定ライン13に対して第3改質層19cを形成する第3改質層形成ステップを行う。
なお、この場合にも、第2レーザ加工ステップ(第2改質層形成ステップ及び第3改質層形成ステップ)の後に第1レーザ加工ステップ(第1改質層形成ステップ)を行うことができる。同様に、第2改質層19bを形成する第2改質層形成ステップと、第3改質層19cを形成する第3改質層形成ステップとの順序を入れ替えても良い。
また、上記実施形態では、被加工物11の裏面11b側をチャックテーブル6で直に保持して、表面11a側からレーザビーム17を照射しているが、被加工物11の表面11a側をチャックテーブル6で直に保持して、裏面11b側からレーザビーム17を照射しても良い。
図7は、変形例に係る保持ステップについて説明するための断面図である。この変形例に係る保持ステップでは、図7に示すように、例えば、ポリエチレンやエポキシ等の樹脂に代表される柔軟な材料でなる多孔質状のシート(ポーラスシート)44によって上面が構成されたチャックテーブル(保持テーブル)6を用いると良い。
このチャックテーブル6では、シート44の上面44aで被加工物11の表面11a側を吸引、保持することになる。これにより、表面11a側に形成されているデバイス等の破損を防止できる。このシート44はチャックテーブル6の一部であり、チャックテーブル6の本体等とともに繰り返し使用される。
ただし、チャックテーブル6の上面は、上述した多孔質状のシート44によって構成されている必要はなく、少なくとも、被加工物11の表面11a側に形成されているデバイス等を傷つけない程度に柔軟な材料で構成されていれば良い。また、シート44は、チャックテーブル6の本体に対して着脱できるように構成され、破損した場合等に交換できることが望ましい。
また、上記実施形態では、搬出ステップの後、分割ステップの前に、補強部除去ステップを行っているが、例えば、第1レーザ加工ステップ及び第2レーザ加工ステップの後、搬出ステップの前に、補強部除去ステップを行っても良い。なお、搬出ステップの後、分割ステップの前に、補強部除去ステップを行う場合には、補強部除去ステップの後に被加工物11を搬送する必要がないので、被加工物11を適切に搬送できなくなる等の不具合を回避し易い。
また、補強部除去ステップを省略することもできる。上記実施形態の第2レーザ加工ステップでは、外周余剰領域11dに端部が重なる改質層19(第2改質層19b及び第3改質層19c)を、分割予定ライン13に沿って形成している。そのため、改質層19と外周余剰領域11dとが重ならない場合に比べて、外周余剰領域11dは分割され易い。よって、補強部除去ステップを行わなくとも、分割ステップでチップ領域11cを外周余剰領域11dとともに分割することが可能になる。
なお、この場合には、例えば、被加工物11の外周縁から改質層19の端までの距離が2mm~3mm程度になるように、第2レーザ加工ステップで改質層19を形成する範囲を調整すると良い。また、例えば、分割ステップでチップ領域11cを分割する前に、補強部に分割の起点となる溝を形成しても良い。図8(A)は、変形例に係る分割ステップについて説明するための断面図であり、図8(B)は、変形例に係る分割ステップの後の被加工物11の状態を模式的に示す平面図である。
変形例に係る分割ステップでは、図8(A)及び図8(B)に示すように、外周余剰領域11d(すなわち、補強部)に切削ブレード66を切り込ませて、分割の起点となる溝11eを形成する。この溝11eは、例えば、分割予定ライン13に沿って形成されることが望ましい。このような溝11eを形成することで、熱衝撃によって被加工物11を外周余剰領域11dごと分割できるようになる。なお、変形例に係る分割ステップでは、チャックテーブル54の吸引路54dやバルブ60等を省略できる。
その他、上記実施形態及び変形例に係る構造、方法等は、本発明の目的の範囲を逸脱しない限りにおいて適宜変更して実施できる。
11 被加工物(ワーク)
11a 表面
11b 裏面
11c チップ領域
11d 外周余剰領域
13 分割予定ライン(ストリート)
15 領域
17 レーザビーム
19 改質層
19a 第1改質層
19b 第2改質層
19c 第3改質層
21 流体
23 クラック
25 チップ
2 レーザ加工装置
4 基台
6 チャックテーブル(保持テーブル)
6a 保持面
6b 吸引路
8 水平移動機構
10 X軸ガイドレール
12 X軸移動テーブル
14 X軸ボールネジ
16 X軸パルスモータ
18 X軸スケール
20 Y軸ガイドレール
22 Y軸移動テーブル
24 Y軸ボールネジ
26 Y軸パルスモータ
28 Y軸スケール
30 支持台
32 バルブ
34 吸引源
36 支持構造
38 支持アーム
40 レーザ照射ユニット
42 カメラ
44 シート(ポーラスシート)
44a 上面
52 分割装置
54 チャックテーブル(保持テーブル)
54a 保持面
54b 吸引路
54c ヒータ(加熱ユニット)
54d 吸引路
56 バルブ
58 吸引源
60 バルブ
62 切削ユニット
64 スピンドル
66 切削ブレード
68 ノズル(冷却ユニット)

Claims (3)

  1. 交差する複数の分割予定ラインによってチップとなる複数の領域に区画されたチップ領域と、該チップ領域を囲む外周余剰領域と、を表面に有するガラス基板から複数の該チップを製造するチップの製造方法であって、
    該表面又は裏面が上方に露出するようにガラス基板を保持テーブルで直に保持する保持ステップと、
    該保持ステップを実施した後に、ガラス基板に対して透過性を有する波長のレーザビームの集光点を該保持テーブルに保持されたガラス基板の内部の第1深さの位置に位置づけるように該分割予定ラインに沿ってガラス基板の該チップ領域にのみ該レーザビームを照射し、該チップ領域の該分割予定ラインに沿って第1改質層を形成するとともに、該外周余剰領域を該第1改質層が形成されていない補強部とする第1レーザ加工ステップと、
    該保持ステップ及び該第1レーザ加工ステップを実施した後に、ガラス基板に対して透過性を有する波長のレーザビームの集光点を該保持テーブルに保持されたガラス基板の内部の該第1深さの位置より上方の第2深さの位置に位置づけるように該分割予定ラインに沿って該レーザビームを照射し、該第1改質層より長く該外周余剰領域に端部が重なる第2改質層を該分割予定ラインに沿って形成する第2レーザ加工ステップと、
    該第1レーザ加工ステップ及び該第2レーザ加工ステップを実施した後に、該保持テーブルからガラス基板を搬出する搬出ステップと、
    該搬出ステップを実施した後に、ガラス基板に力を付与してガラス基板を個々の該チップへと分割する分割ステップと、を備え、
    該分割ステップでは、加熱と冷却とにより該力を付与してガラス基板を個々の該チップへと分割することを特徴とするチップの製造方法。
  2. 該分割ステップでは、該補強部を除去することなくガラス基板に力を付与してガラス基板を個々の該チップへと分割することを特徴とする請求項1に記載のチップの製造方法。
  3. 該第2レーザ加工ステップでは、ガラス基板の外周縁から端までの距離が2mm~3mmとなるように該第2改質層を形成することを特徴とする請求項2に記載のチップの製造方法。
JP2017182990A 2017-09-22 2017-09-22 チップの製造方法 Active JP7058905B2 (ja)

Priority Applications (1)

Application Number Priority Date Filing Date Title
JP2017182990A JP7058905B2 (ja) 2017-09-22 2017-09-22 チップの製造方法

Applications Claiming Priority (1)

Application Number Priority Date Filing Date Title
JP2017182990A JP7058905B2 (ja) 2017-09-22 2017-09-22 チップの製造方法

Publications (2)

Publication Number Publication Date
JP2019059628A JP2019059628A (ja) 2019-04-18
JP7058905B2 true JP7058905B2 (ja) 2022-04-25

Family

ID=66177956

Family Applications (1)

Application Number Title Priority Date Filing Date
JP2017182990A Active JP7058905B2 (ja) 2017-09-22 2017-09-22 チップの製造方法

Country Status (1)

Country Link
JP (1) JP7058905B2 (ja)

Families Citing this family (1)

* Cited by examiner, † Cited by third party
Publication number Priority date Publication date Assignee Title
TWI733604B (zh) * 2020-06-10 2021-07-11 財團法人工業技術研究院 玻璃工件雷射處理系統及方法

Citations (6)

* Cited by examiner, † Cited by third party
Publication number Priority date Publication date Assignee Title
JP2005286218A (ja) 2004-03-30 2005-10-13 Hamamatsu Photonics Kk レーザ加工方法及び加工対象物
JP2008153420A (ja) 2006-12-18 2008-07-03 Seiko Epson Corp 基材の分割方法、液滴吐出ヘッドの製造方法、半導体装置の製造方法、基板の製造方法、及び電気光学装置の製造方法
JP2013152990A (ja) 2012-01-24 2013-08-08 Disco Abrasive Syst Ltd ウエーハの加工方法
JP2013229403A (ja) 2012-04-24 2013-11-07 Disco Abrasive Syst Ltd 加工装置のチャックテーブル機構
JP2013236001A (ja) 2012-05-10 2013-11-21 Disco Abrasive Syst Ltd 板状物の分割方法
US20130323469A1 (en) 2012-06-05 2013-12-05 Corning Incorporated Methods of cutting glass using a laser

Patent Citations (6)

* Cited by examiner, † Cited by third party
Publication number Priority date Publication date Assignee Title
JP2005286218A (ja) 2004-03-30 2005-10-13 Hamamatsu Photonics Kk レーザ加工方法及び加工対象物
JP2008153420A (ja) 2006-12-18 2008-07-03 Seiko Epson Corp 基材の分割方法、液滴吐出ヘッドの製造方法、半導体装置の製造方法、基板の製造方法、及び電気光学装置の製造方法
JP2013152990A (ja) 2012-01-24 2013-08-08 Disco Abrasive Syst Ltd ウエーハの加工方法
JP2013229403A (ja) 2012-04-24 2013-11-07 Disco Abrasive Syst Ltd 加工装置のチャックテーブル機構
JP2013236001A (ja) 2012-05-10 2013-11-21 Disco Abrasive Syst Ltd 板状物の分割方法
US20130323469A1 (en) 2012-06-05 2013-12-05 Corning Incorporated Methods of cutting glass using a laser

Also Published As

Publication number Publication date
JP2019059628A (ja) 2019-04-18

Similar Documents

Publication Publication Date Title
JP6855127B2 (ja) チップの製造方法
JP6925717B2 (ja) チップの製造方法
JP6896344B2 (ja) チップの製造方法
JP6925720B2 (ja) チップの製造方法
JP7058905B2 (ja) チップの製造方法
JP7031967B2 (ja) チップの製造方法
JP7031963B2 (ja) チップの製造方法
JP6925721B2 (ja) チップの製造方法
JP6851691B2 (ja) チップの製造方法
JP6851690B2 (ja) チップの製造方法
JP6918422B2 (ja) チップの製造方法
JP7031965B2 (ja) チップの製造方法
JP6918424B2 (ja) チップの製造方法
JP6903378B2 (ja) チップの製造方法
JP6903379B2 (ja) チップの製造方法
JP6918423B2 (ja) チップの製造方法
JP7031968B2 (ja) チップの製造方法
JP7031966B2 (ja) チップの製造方法
JP7031964B2 (ja) チップの製造方法
JP6925722B2 (ja) チップの製造方法
JP6851692B2 (ja) チップの製造方法
JP6830739B2 (ja) チップの製造方法
JP6925718B2 (ja) チップの製造方法
JP6925719B2 (ja) チップの製造方法
JP6821265B2 (ja) チップの製造方法

Legal Events

Date Code Title Description
A621 Written request for application examination

Free format text: JAPANESE INTERMEDIATE CODE: A621

Effective date: 20200703

A131 Notification of reasons for refusal

Free format text: JAPANESE INTERMEDIATE CODE: A131

Effective date: 20210518

A977 Report on retrieval

Free format text: JAPANESE INTERMEDIATE CODE: A971007

Effective date: 20210520

A521 Request for written amendment filed

Free format text: JAPANESE INTERMEDIATE CODE: A523

Effective date: 20210713

A131 Notification of reasons for refusal

Free format text: JAPANESE INTERMEDIATE CODE: A131

Effective date: 20211124

A521 Request for written amendment filed

Free format text: JAPANESE INTERMEDIATE CODE: A523

Effective date: 20211222

TRDD Decision of grant or rejection written
A01 Written decision to grant a patent or to grant a registration (utility model)

Free format text: JAPANESE INTERMEDIATE CODE: A01

Effective date: 20220412

A61 First payment of annual fees (during grant procedure)

Free format text: JAPANESE INTERMEDIATE CODE: A61

Effective date: 20220412

R150 Certificate of patent or registration of utility model

Ref document number: 7058905

Country of ref document: JP

Free format text: JAPANESE INTERMEDIATE CODE: R150

R250 Receipt of annual fees

Free format text: JAPANESE INTERMEDIATE CODE: R250