JP7016901B2 - 走行玩具及びゲームシステム - Google Patents

走行玩具及びゲームシステム Download PDF

Info

Publication number
JP7016901B2
JP7016901B2 JP2020050150A JP2020050150A JP7016901B2 JP 7016901 B2 JP7016901 B2 JP 7016901B2 JP 2020050150 A JP2020050150 A JP 2020050150A JP 2020050150 A JP2020050150 A JP 2020050150A JP 7016901 B2 JP7016901 B2 JP 7016901B2
Authority
JP
Japan
Prior art keywords
traveling toy
vehicle body
battery
wheels
main chassis
Prior art date
Legal status (The legal status is an assumption and is not a legal conclusion. Google has not performed a legal analysis and makes no representation as to the accuracy of the status listed.)
Active
Application number
JP2020050150A
Other languages
English (en)
Other versions
JP2021145982A (ja
Inventor
新治 廣瀬
皓佑 中村
紘樹 生田
正樹 天野
高基 藤野
Current Assignee (The listed assignees may be inaccurate. Google has not performed a legal analysis and makes no representation or warranty as to the accuracy of the list.)
Nintendo Co Ltd
Original Assignee
Nintendo Co Ltd
Priority date (The priority date is an assumption and is not a legal conclusion. Google has not performed a legal analysis and makes no representation as to the accuracy of the date listed.)
Filing date
Publication date
Application filed by Nintendo Co Ltd filed Critical Nintendo Co Ltd
Priority to JP2020050150A priority Critical patent/JP7016901B2/ja
Priority to US17/003,098 priority patent/US11291923B2/en
Priority to EP20193579.8A priority patent/EP3881916B1/en
Priority to CN202120362425.2U priority patent/CN214344425U/zh
Publication of JP2021145982A publication Critical patent/JP2021145982A/ja
Application granted granted Critical
Publication of JP7016901B2 publication Critical patent/JP7016901B2/ja
Active legal-status Critical Current
Anticipated expiration legal-status Critical

Links

Images

Classifications

    • AHUMAN NECESSITIES
    • A63SPORTS; GAMES; AMUSEMENTS
    • A63HTOYS, e.g. TOPS, DOLLS, HOOPS OR BUILDING BLOCKS
    • A63H17/00Toy vehicles, e.g. with self-drive; ; Cranes, winches or the like; Accessories therefor
    • AHUMAN NECESSITIES
    • A63SPORTS; GAMES; AMUSEMENTS
    • A63HTOYS, e.g. TOPS, DOLLS, HOOPS OR BUILDING BLOCKS
    • A63H30/00Remote-control arrangements specially adapted for toys, e.g. for toy vehicles
    • A63H30/02Electrical arrangements
    • A63H30/04Electrical arrangements using wireless transmission
    • AHUMAN NECESSITIES
    • A63SPORTS; GAMES; AMUSEMENTS
    • A63HTOYS, e.g. TOPS, DOLLS, HOOPS OR BUILDING BLOCKS
    • A63H17/00Toy vehicles, e.g. with self-drive; ; Cranes, winches or the like; Accessories therefor
    • A63H17/26Details; Accessories
    • AHUMAN NECESSITIES
    • A63SPORTS; GAMES; AMUSEMENTS
    • A63HTOYS, e.g. TOPS, DOLLS, HOOPS OR BUILDING BLOCKS
    • A63H17/00Toy vehicles, e.g. with self-drive; ; Cranes, winches or the like; Accessories therefor
    • A63H17/26Details; Accessories
    • A63H17/262Chassis; Wheel mountings; Wheels; Axles; Suspensions; Fitting body portions to chassis
    • AHUMAN NECESSITIES
    • A63SPORTS; GAMES; AMUSEMENTS
    • A63HTOYS, e.g. TOPS, DOLLS, HOOPS OR BUILDING BLOCKS
    • A63H17/00Toy vehicles, e.g. with self-drive; ; Cranes, winches or the like; Accessories therefor
    • A63H17/26Details; Accessories
    • A63H17/28Electric lighting systems
    • AHUMAN NECESSITIES
    • A63SPORTS; GAMES; AMUSEMENTS
    • A63HTOYS, e.g. TOPS, DOLLS, HOOPS OR BUILDING BLOCKS
    • A63H29/00Drive mechanisms for toys in general
    • A63H29/22Electric drives
    • AHUMAN NECESSITIES
    • A63SPORTS; GAMES; AMUSEMENTS
    • A63HTOYS, e.g. TOPS, DOLLS, HOOPS OR BUILDING BLOCKS
    • A63H30/00Remote-control arrangements specially adapted for toys, e.g. for toy vehicles
    • A63H30/02Electrical arrangements
    • HELECTRICITY
    • H04ELECTRIC COMMUNICATION TECHNIQUE
    • H04NPICTORIAL COMMUNICATION, e.g. TELEVISION
    • H04N7/00Television systems
    • H04N7/18Closed-circuit television [CCTV] systems, i.e. systems in which the video signal is not broadcast
    • AHUMAN NECESSITIES
    • A63SPORTS; GAMES; AMUSEMENTS
    • A63FCARD, BOARD, OR ROULETTE GAMES; INDOOR GAMES USING SMALL MOVING PLAYING BODIES; VIDEO GAMES; GAMES NOT OTHERWISE PROVIDED FOR
    • A63F9/00Games not otherwise provided for
    • A63F9/24Electric games; Games using electronic circuits not otherwise provided for
    • A63F2009/2401Detail of input, input devices
    • A63F2009/243Detail of input, input devices with other kinds of input
    • A63F2009/2435Detail of input, input devices with other kinds of input using a video camera

Landscapes

  • Engineering & Computer Science (AREA)
  • Multimedia (AREA)
  • Signal Processing (AREA)
  • Computer Networks & Wireless Communication (AREA)
  • Toys (AREA)

Description

本発明は走行玩具及びゲームシステムに関する。
従来、前方を撮影する撮像装置を含む走行玩具が知られている(例えば特許文献1)。
特開2004-298538号公報
斯かる走行玩具では、利便性、耐久性、走行性能等の観点からユーザビリティに改善の余地がある。
そこで、上記課題に鑑みて、本発明の目的は、利便性の向上、耐久性の向上、走行性能の向上等によって走行玩具のユーザビリティを向上させることにある。
本開示の要旨は以下のとおりである。
(1)走行玩具であって、車両本体と、前記車両本体に連結された車輪と、前記車両本体に設けられたバッテリと、前記バッテリに蓄えられた電力を用いて走行用の動力を出力するモータと、当該走行玩具の前方を撮影するように前記車両本体に連結された撮像装置と、前記撮像装置を作動させるためにユーザによって操作される操作部と、外部電源から前記バッテリに電力を供給する充電ポートとを含み、前記操作部は当該走行玩具の車幅中心線に対して一方側の前記車両本体の上部に設けられ、前記充電ポートは前記車幅中心線に対して前記操作部と同一側の前記車両本体の側部に設けられる、走行玩具。
(2)前記車輪は前輪及び後輪を含み、前記操作部及び前記充電ポートは前記前輪と前記後輪との間に配置される、上記(1)に記載の走行玩具。
(3)前記充電ポートは車幅方向において前記車輪の最外部よりも内側に配置される、上記(1)又は(2)に記載の走行玩具。
(4)前記充電ポートが設けられた前記車両本体の側部の最外部は車幅方向において前記車輪の最外部よりも外側に位置する、上記(3)に記載の走行玩具。
(5)前記車輪はタイヤ及びタイヤホイールから構成され、前記操作部は、下方に押圧されるボタンであり、前記車両本体及び前記車輪は、下向きの力によって前記タイヤが潰れるときに該車両本体の下面が走行面に接するように構成される、上記(1)から(4)のいずれか1つに記載の走行玩具。
(6)前記車輪は中空タイヤ及びタイヤホイールから構成され、前記操作部は、下方に押圧されるボタンであり、前記タイヤホイールの最下点が前記車両本体の下面よりも上方に位置し、該タイヤホイールの最下点と該車両本体の下面との間の上下方向の距離が前記中空タイヤの厚み以上である、上記(1)から(5)のいずれか1つに記載の走行玩具。
(7)複数の電子部品が実装された基板を更に含み、前記車両本体はメインシャシを含み、前記基板は前記メインシャシの上部に取り付けられ、前記バッテリは前記メインシャシの下部に取り付けられる、上記(1)から(6)のいずれか1つに記載の走行玩具。
(8)前記基板は、前後方向において前記バッテリと重なり且つ車幅方向において該バッテリよりも外側に延在する延在部を有し、該延在部の下面に前記複数の電子部品のうちの少なくとも一つの電子部品が実装される、上記(7)に記載の走行玩具。
(9)前記操作部によってオンオフされるスイッチが前記延在部の上面に実装される、上記(8)に記載の走行玩具。
(10)前記バッテリを収容する凹部が前記メインシャシの下部に形成され、該凹部の側壁に通過孔が形成され、前記延在部の下面にコネクタが実装され、前記バッテリの配線が前記通過孔を通して前記コネクタに接続される、上記(8)又は(9)に記載の走行玩具。
(11)前記モータはブラシ付きモータであり、前記延在部は前記モータよりも前方に位置し、無線通信用のアンテナが前記延在部の上面において前記スイッチよりも前方に実装される、上記(9)に記載の走行玩具。
(12)複数の電子部品が実装された基板を更に含み、前記車輪は前輪及び後輪を含み、前記車両本体はメインシャシを含み、前記基板は、前記メインシャシの上部に取り付けられ、前記前輪と前記後輪との間で車幅方向において前記前輪及び前記後輪の最内部よりも外側に延在する側方領域を有し、前記操作部によってオンオフされるスイッチが前記側方領域の上面に実装される、上記(1)から(6)のいずれか1つに記載の走行玩具。
(13)前記モータはブラシ付きモータであり、前記側方領域は前記モータよりも前方に位置し、無線通信用のアンテナが前記側方領域の上面において前記スイッチよりも前方に実装される、上記(12)に記載の走行玩具。
(14)前記車両本体は、メインシャシと、該メインシャシに取り付けられて該車両本体の底部を形成するボトムカバーとを含み、当該走行玩具は、前記ボトムカバーの上方に間隙が生じるように該ボトムカバーの上下方向の移動を規制する規制部材を更に含む、上記(1)から(13)のいずれか1つに記載の走行玩具。
(15)前記車両本体は、前記メインシャシと前記ボトムカバーとの間に配置されたスペーサ部材を更に含み、前記規制部材は、段付きネジであり、前記スペーサ部材が前記メインシャシに当接するように該スペーサ部材を該メインシャシに固定し、前記ボトムカバーと該スペーサ部材との間に間隙が生じるように該ボトムカバーの上下方向の移動を規制する、上記(14)に記載の走行玩具。
(16)前記車両本体から上方に延在して前記撮像装置を該車両本体に連結する支持アームと、外部から視認されるように前記支持アームに設けられた発光ダイオードとを更に含む、上記(1)から(15)のいずれか1つに記載の走行玩具。
(17)複数の電子部品が実装された基板を更に含み、前記車両本体は、人形が設けられた操縦席を含み、前記基板は前記操縦席の下方に配置され、前記操作部によってオンオフされるスイッチが、前後方向において前記操縦席と重なり且つ車幅方向において該操縦席よりも外側の前記基板に実装される、上記(1)から(16)のいずれか1つに記載の走行玩具。
(18)前記車両本体から上方に延在して前記撮像装置を該車両本体に連結する支持アームを更に含み、前記車両本体は、人形が設けられた操縦席を含み、前記モータは前記操縦席よりも後方に配置され、前記支持アームは前記モータの直上で前記車両本体に連結される、上記(1)から(17)のいずれか1つに記載の走行玩具。
(19)上記(1)から(18)のいずれか1つに記載の走行玩具と、前記走行玩具を遠隔制御可能な遠隔制御装置とを含む、ゲームシステム。
本発明によれば、利便性の向上、耐久性の向上、走行性能の向上等によって走行玩具のユーザビリティを向上させることができる。
図1は、本発明の第一実施形態に係る走行玩具の斜視図である。 図2は、本発明の第一実施形態に係る走行玩具の上面図である 図3は、走行玩具の撮像装置の分解斜視図である。 図4は、走行玩具の撮像装置の分解斜視図である。 図5は、車両本体の内部を示す走行玩具の斜視図である。 図6は、車両本体の内部を示す走行玩具の斜視図である。 図7は、車幅中心線に沿った走行玩具の左側面断面図である。 図8は、走行玩具の駆動部カバー及び後輪の分解斜視図である。 図9は、図8の駆動部カバー内の駆動部材を示す図である。 図10は、車両本体の内部を示す走行玩具の部分斜視図である。 図11は、走行玩具の車輪及び基板の下面図である。 図12は、走行玩具の下面図である。 図13は、バッテリを示す走行玩具の下面図である。 図14は、メインシャシの下部を示す走行玩具の斜視図である。 図15は、段付きネジの周囲を示す走行玩具の拡大側面断面図である。 図16は、走行面に水平に設置された走行玩具の右側面図である。 図17は、本発明の第二実施形態に係る走行玩具の斜視図である。 図18は、本発明の第二実施形態に係る走行玩具の上面図である。 図19は、車両本体の内部を示す走行玩具の斜視図である。 図20は、車幅中心線に沿った走行玩具の左側面断面図である。 図21は、本発明の第三実施形態に係るゲーム装置の概略的な構成図である。
以下、図面を参照して本発明の実施形態について詳細に説明する。なお、以下の説明では、同様な構成要素には同一の参照番号を付す。
<第一実施形態>
以下、図1~図16を参照して本発明の第一実施形態について説明する。
図1は、本発明の第一実施形態に係る走行玩具1の斜視図であり、図2は、本発明の第一実施形態に係る走行玩具1の上面図である。走行玩具1は車幅中心線CLに対して略対称な形状を有する。図1に示されるように、走行玩具1は、車両本体2と、車両本体2に連結された車輪(前輪3及び後輪4)と、車両本体2から上方に延在する支持アーム5と、支持アーム5によって支持された撮像装置6と、車両本体2に設けられた操作部7及び充電ポート8とを含む。
走行玩具1は、実際の車両を模した外観を有し、実際の車両よりも小さいサイズを有する。本実施形態では、走行玩具1は、自動車を模した外観を有し、地上を走行することができる。このため、走行玩具1は、車輪として、二つの前輪3(右前輪3a及び左前輪3b)及び二つの後輪4(右後輪4a及び左後輪4b)を含む。前輪3は前タイヤ31及び前タイヤホイール32から構成され、後輪4は後タイヤ41及び後タイヤホイール42から構成される。前タイヤ31及び前タイヤホイール32の直径はそれぞれ後タイヤ41及び後タイヤホイール42の直径と等しく、前輪3の直径は後輪4の直径と等しい。
また、前タイヤ31及び前タイヤホイール32の幅はそれぞれ後タイヤ41及び後タイヤホイール42の幅よりも短く、前輪3の幅は後輪4の幅よりも短い。本実施形態では、車幅方向において、後輪4の最内部の位置は前輪3の最内部の位置よりも内側に位置し、後輪4の最外部は前輪3の最外部よりも外側に位置する。
車両本体2は、走行玩具1を駆動するための部品と、走行玩具1を制御するための部品とを収容し、外部からの衝撃に対してこれら部品を保護する。
図2に示されるように、車両本体2は、前後方向において前輪3よりも前方から後輪4よりも後方まで延在し、車幅方向において前輪3及び後輪4よりも外側に延在する。このため、車両本体2は前後左右からの衝撃に対して前輪3及び後輪4を保護することができる。また、前輪3よりも前方に位置する車両本体2の前端部は、車幅方向において前輪3の最内部よりも外側に延在する。このことによって、車両本体2の前端部は、バンパーとして機能し、前方からの衝撃に対して走行玩具1を効果的に保護することができる。
図1及び図2に示されるように、車両本体2は、車両本体2の上部、前部、側部及び後部を形成するメインカバー21を含む。メインカバー21は、車両本体2に収容された部品が外部から見えないようにこれら部品を覆う。メインカバー21は、走行玩具1の外装として機能し、走行玩具1の外形を画定する。
また、車両本体2は、充電ポート8を覆う開閉蓋20を含む。開閉蓋20は開閉可能にメインカバー21に取り付けられる。開閉蓋20はメインカバー21と共に車両本体2の一方の側部(本実施形態では車両本体2の右側部)を形成する。図1には、開閉蓋20が開いているときの走行玩具1が示されている。開閉蓋20は、開いているときに充電ポート8を外部に露出させ、閉じているときに充電ポート8を外部から隠す。本実施形態では、開閉蓋20は上下にスライド式に開閉するように構成される。なお、開閉蓋20は他の開閉態様で開閉(例えばヒンジ式に開閉又は左右にスライド式に開閉)するように構成されていてもよい。
充電ポート8は、車両本体2に設けられたバッテリの充電のために用いられ、例えばUSBコネクタとして構成される。バッテリが充電されないときには充電ポート8を開閉蓋20で覆うことによって、充電ポート8への異物の混入を抑制することができる。また、開閉蓋20は外部からの衝撃に対して充電ポート8を保護することができる。なお、バッテリの詳細については後述する。
本実施形態では、図1から分かるように、充電ポート8は走行玩具1の車幅中心線CLに対して一方側の車両本体2の側部に設けられ、開閉蓋20は車幅中心線CLに対して充電ポート8と同一側の車両本体2の側部を形成する。このことによって、ユーザは走行玩具1の側方から開閉蓋20を介して充電ポート8に容易にアクセスすることができる。また、水平に設置された走行玩具1の充電ポート8を外部電源に接続するときに、充電ポート8を外部電源に接続する接続コードが車輪3、4等に絡まることを抑制することができる。なお、本実施形態では、充電ポート8が車両本体2の右側部に設けられているが、充電ポート8は車両本体2の左側部に設けられていてもよい。
以下、走行玩具1を用いて撮影を行うための構成について説明する。図1に示される撮像装置6は、例えばCMOS(相補型金属酸化膜半導体)カメラ又はCCD(電荷結合素子)カメラであり、走行玩具1の前方を撮影するように車両本体2に連結される。
本実施形態では、撮像装置6は支持アーム5を介して車両本体2に連結される。支持アーム5は、右後輪4aと左後輪4bとの間で車両本体2に連結され、前方に向かって斜め上方に延在する。撮像装置6は、支持アーム5内に収容され、支持アーム5の先端部に配置される。この結果、撮像装置6は、走行玩具1の最上部に位置し、後輪4よりも前方に位置する。支持アーム5の先端は閉じられ、撮像装置6は支持アーム5の透明又は半透明部分を通して前方を撮影する。
また、図2に示されるように、支持アーム5及び撮像装置6は車幅方向において中央近傍の領域(走行玩具1が車幅方向に三等分された領域のうち中央の領域)に配置される。このことによって、走行玩具1の左右の重量バランスの悪化を抑制することができ、ひいては走行玩具1の走行性能の低下を抑制することができる。
本実施形態では、支持アーム5及び撮像装置6は車幅中心線CL上に配置される。具体的には、支持アーム5及び撮像装置6は、撮像装置6の中心が車幅中心線CL上に位置するように配置される。また、支持アーム5及び撮像装置6は、走行玩具1が水平に設置されたときに撮像装置6の光軸が水平方向に対して下向き(例えば5°~15°)に傾くように配置される。これらの配置によって、本実施形態では、車両本体2の前部と、右前輪3aと、左前輪3bと、走行玩具1の前方とが撮像装置6の画角に収まり、撮像装置6はこれらを撮影する。
図3及び図4は、走行玩具1の撮像装置6の分解斜視図である。図3には撮像装置6の前部及び撮像装置6による撮影範囲が示され、図4には撮像装置6の後部が示される。図3及び図4に示されるように、撮像装置6にはカメラ用FPC61が接続される。カメラ用FPC61は、支持アーム5内に延在し、後述する基板に接続される。
また、図4に示されるように、走行玩具1は、青色に発光する第1発光ダイオード(LED)62と、赤色に発光する第2発光ダイオード(LED)63とを含む。第1LED62及び第2LED63は外部から視認されるように支持アーム5に設けられる。例えば、第1LED62は撮像装置6の作動時に点灯され、第2LED63はバッテリの充電時に点灯される。このことによって、ユーザは離れた位置から走行玩具1の状態を容易に把握することができる。
本実施形態では、第1LED62及び第2LED63はカメラ用FPC61に実装される。したがって、図2に示されるように、第1LED62及び第2LED63は、支持アーム5内に配置され、支持アーム5の透明又は半透明部分を介して走行玩具1の上方及び後方から視認される。上述したように、撮像装置6、第1LED62及び第2LED63は支持アーム5内に配置される。このことによって、ユーザが誤ってこれらに接触することを抑制することがき、ひいてはこれらの耐久性を向上させることができる。
なお、支持アーム5に設けられるLEDの構成及び機能は上記に限定されない。例えば、第1LED62及び第2LED63の発光色は異なる色であってもよい。また、第1LED62及び第2LED63の一方が省略され、又は第1LED62及び第2LED63が一体であってもよい。また、第1LED62及び第2LED63は、カメラ用FPC61とは異なる配線(FPC又はリード線)によって基板に接続されてもよい。また、LEDの数は三つ以上であってもよい。
ユーザによる撮像装置6の作動状態の切り替えは、図1及び図2に示される操作部7を用いて行われる。すなわち、操作部7は、撮像装置6を作動させるためにユーザによって操作される。例えば、撮像装置6が静止画を撮影するときには、ユーザは操作部7を操作してシャッタタイミングを決定する。また、撮像装置6が動画を撮影するときには、ユーザは操作部7を操作して撮像装置6を起動させる。この場合、操作部7の操作によって走行玩具1の電源がオンにされ、操作部7が操作されたときに又は操作部7が操作されてから所定時間(例えば数秒~数十秒)後に撮像装置6による撮影が開始される。また、操作部7の操作によって走行玩具1の電源がオンにされ、その後、外部機器からの指示で撮像装置6による撮影が開始されてもよい。すなわち、操作部7の操作は撮影開始条件の一つであってもよい。上記のように、操作部7は、撮像装置6を直接的又は間接的に作動させるためにユーザによって操作される。また、操作部7は、ユーザが走行玩具1の電源をオフにするときにもユーザによって操作されてもよい。
走行玩具1は、使用時には、基本的に床等の走行面に設置される。したがって、ユーザは走行玩具1の上部を目にすることが多い。そこで、本実施形態では、操作部7は車両本体2の上部に設けられる。このことによって、ユーザが操作部7を頻繁に視認するようになり、ひいてはユーザによる操作部7の位置の把握が容易となる。また、ユーザは車両本体2の上方から操作部7に容易にアクセスすることができる。
また、図1及び図2に示されるように、操作部7は車幅中心線CLに対して一方側の車両本体2の上部に設けられる。このことによって、ユーザが両手で走行玩具1を略水平に把持して走行玩具1の前方を撮影するときに、片手による操作部7の操作が容易となる。本実施形態では、操作部7は、車両本体2の右上部、具体的にはメインカバー21の右上部に設けられる。この場合、ユーザは、走行玩具1を用いて前方の物体を撮影するときには右手で操作部7を操作することができ、走行玩具1を用いてユーザ自身を撮影するときには左手で操作部7を操作することができる。なお、操作部7は車両本体2の左上部に設けられていてもよい。
操作部7は、例えば、下方に押圧される操作ボタンとして構成される。操作部7は、車両本体2の上面から下方に延在し、ユーザによる操作によって上下方向に移動する。また、操作部7は、操作部7の上面が、車両本体2の上面(本実施形態ではメインカバー21の上面)と面一になるように車両本体2に収容される。このことによって、操作部7の操作性を低下させることなく、走行玩具1が転倒又は衝突したときの操作部7の誤操作を低減することができる。
また、図1に示されるように、充電ポート8は車幅中心線CLに対して操作部7と同一側の車両本体2の側部に設けられる。このことによって、充電ポート8が車両本体2の側部に設けられている場合であっても、ユーザは操作部7を目印として充電ポート8の位置を容易に把握することができる。この利点は、本実施形態のように充電ポート8が開閉蓋20によって覆われている場合に特に顕著である。また、ユーザは、操作部7の操作によってバッテリの電力不足を認識した場合、例えば操作部7を操作したときに走行玩具1(具体的には撮像装置6等)が反応しない場合に、操作部7と同一側の充電ポート8に迅速にアクセスしてバッテリの充電を開始することができる。したがって、上述した操作部7及び充電ポート8の配置によって走行玩具1のユーザビリティを向上させることができる。
また、操作部7及び充電ポート8は前輪3と後輪4との間に配置される。このため、前輪3は前方からの衝撃に対して操作部7及び充電ポート8を保護することができ、後輪4は後方からの衝撃に対して操作部7及び充電ポート8を保護することができる。
図5は、車両本体2の内部を示す走行玩具1の斜視図である。図5には、メインカバー21が取り外されたときの走行玩具1が示されている。図5に示されるように、車両本体2はメインシャシ22を含む。メインシャシ22は、前後方向において前輪3よりも前方から後輪4よりも後方まで延在し、後述する走行玩具1の主要部品を保持する。
図5に示されるように、走行玩具1は、複数の電子部品が実装された基板9を含む。基板9はメインシャシ22の上部に取り付けられ、メインシャシ22は基板9を保持する。本実施形態では、基板9はネジ201によってメインシャシ22の上部に固定される。また、図5に示されるように、基板9は、前輪3と後輪4との間に延在し、車幅方向において右前輪3a及び右後輪4aから左前輪3b及び左後輪4bまで延在する。
上述した支持アーム5は基板9の後方においてメインシャシ22に連結される。具体的には、支持アーム5は右後輪4aと左後輪4bとの間でメインシャシ22に連結される。本実施形態では、支持アーム5は、メインカバー21内に配置された固定部51を有し、固定部51を介してネジ202によってメインシャシ22の上部に固定される。
図6は、車両本体2の内部を示す走行玩具1の斜視図である。図6には、図5の走行玩具1から更に支持アーム5が取り外されたときの走行玩具1が示されている。車両本体2は、後述する駆動部材を覆う駆動部カバー23と、後述する操舵部材を覆う操舵部カバー24とを含む。
駆動部カバー23は、上下方向において支持アーム5とメインシャシ22との間に配置され、基板9の後方においてメインシャシ22の上部に取り付けられる。具体的には、駆動部カバー23は右後輪4aと左後輪4bとの間でネジ203によってメインシャシ22の上部に固定される。操舵部カバー24は基板9の前方においてメインシャシ22の上部に取り付けられる。具体的には、操舵部カバー24は右前輪3aと左前輪3bとの間でネジ204によってメインシャシ22の上部に固定される。
図7は、車幅中心線CLに沿った走行玩具1の左側面断面図である。図7に示されるように、走行玩具1は、駆動部材10、操舵部材11及びバッテリ12を含む。駆動部材10、操舵部材11及びバッテリ12は車両本体2に設けられる。
駆動部材10は、バッテリ12に蓄えられた電力を用いて後輪4を駆動する。操舵部材11は、バッテリ12に蓄えられた電力を用いて前輪3を操舵する。バッテリ12は、外部電源によって充電可能な二次電池であり、例えばリチウムイオン電池、ニッケル水素電池等である。
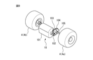
図8は走行玩具1の駆動部カバー23及び後輪4の分解斜視図であり、図9は図8の駆動部カバー23内の駆動部材10を示す図である。図9に示されるように、駆動部材10は、駆動用モータ101、ピニオンギア102、カウンターギア103、スパーギア104及び車軸105を含む。
駆動用モータ101は、バッテリ12に蓄えられた電力を用いて走行用の動力(駆動用の動力)を出力する。駆動用モータ101は、DCモータであり、例えばブラシ付きモータ又はブラシレスモータである。ピニオンギア102は駆動用モータ101に連結され、スパーギア104は車軸105に連結され、カウンターギア103はピニオンギア102とスパーギア104との間に配置される。ピニオンギア102、カウンターギア103及びスパーギア104は駆動用モータ101の回転を車軸105の回転に変換する。後輪4は、車軸105の両端に連結され、車軸105と一体的に回転する。したがって、駆動部材10は後輪4を駆動することができる。
図8及び図9から分かるように、駆動用モータ101、ピニオンギア102、カウンターギア103及びスパーギア104は駆動部カバー23に収容され、車軸105は駆動部カバー23に連結される。したがって、駆動部材10は、駆動部カバー23によって保持され、駆動部カバー23によって位置決めされる。すなわち、本実施形態では、一つの部品(駆動部カバー23)によって駆動部材10が位置決めされるため、駆動部材10の部品間の位置精度を高めることができる。
駆動部材10及び後輪4は駆動部カバー23を介してメインシャシ22に連結される。この結果、メインシャシ22は駆動部カバー23を介して駆動部材10及び後輪4を保持する。このとき、駆動用モータ101は車幅方向において中央近傍の領域に配置される。このことによって、走行玩具1の左右の重量バランスの悪化を抑制することができ、ひいては走行玩具1の走行性能の低下を抑制することができる。
図10は、車両本体2の内部を示す走行玩具1の部分斜視図である。図10には、メインカバー21及び操舵部カバー24が取り外されたときの走行玩具1の前部が示されている。図7及び図10に示されるように、操舵部材11は、操舵用モータ111、ピニオンギア112、クラウンギア113、セクターギア114、ポテンショメータ115、タイロッド116及びナックルアーム117を含む。
操舵用モータ111、ピニオンギア112、クラウンギア113、セクターギア114及びポテンショメータ115は、メインシャシ22に収容される。メインシャシ22によって保持される。また、タイロッド116、ナックルアーム117及び前輪3は、前輪3が左右に回動できるようにメインシャシ22に連結される。したがって、メインシャシ22は操舵部材11及び前輪3を保持する。
操舵用モータ111は、バッテリ12に蓄えられた電力を用いて操舵用の動力を出力する。操舵用モータ111は、DCモータであり、例えばブラシ付きモータ又はブラシレスモータである。図10に示されるように、操舵用モータ111は車幅方向において中央近傍の領域に配置される。特に、本実施形態では、操舵用モータ111は、その軸線が車幅中心線CLに一致するように配置される。このことによって、走行玩具1の左右の重量バランスの悪化を抑制することができ、ひいては走行玩具1の走行性能の低下を抑制することができる。
ピニオンギア112は操舵用モータ111に連結され、セクターギア114はタイロッド116に連結され、クラウンギア113はピニオンギア112とセクターギア114との間に配置される。ピニオンギア112、クラウンギア113及びセクターギア114は操舵用モータ111の回転をタイロッド116の直線運動に変換する。タイロッド116の直線運動によってナックルアーム117が揺動し、ナックルアーム117に連結された前輪3の向きが左右に変化する。したがって、操舵部材11は前輪3を操舵することができる。
図7に示されるように、ポテンショメータ115は、セクターギア114の下方に配置され、セクターギア114の回転角を検出する。操舵用モータ111は、ポテンショメータ115の出力に基づいて、前輪3の操舵角が目標値になるように制御される。なお、操舵用モータ111、ポテンショメータ115等の代わりに、サーボモータが用いられてもよい。
また、図7に示されるように、駆動用モータ101は、基板9及びバッテリ12の後方に配置され、具体的には右後輪4aと左後輪4bとの間に配置される。一方、操舵用モータ111は、基板9及びバッテリ12の前方に配置され、具体的には前輪3の前方に配置される。メインシャシ22に保持される部品(基板9、基板9の各部品、バッテリ12、駆動部材10の各部品及び操舵部材11の各部品)の中で、駆動用モータ101の上下方向の長さは最大であり、操舵用モータ111の上下方向の長さは二番目に長い。このため、駆動用モータ101及び操舵用モータ111を基板9及びバッテリ12の前後に配置することによって車両本体2の車高が高くなることを抑制することができる。
次に、基板9とバッテリ12との位置関係について詳細に説明する。図11は、走行玩具1の車輪3、4及び基板9の下面図である。図11には、走行玩具1を下から見たときの車輪3、4及び基板9が示され、基板9との位置関係を示すために、基板9の下方に位置するバッテリ12が破線によって示される。
本実施形態では、基板9及びバッテリ12は水平面(図11に示される平面)において少なくとも部分的に重なるように配置される。言い換えれば、基板9及びバッテリ12は走行玩具1の上面視及び下面視において少なくとも部分的に重なるように配置される。このことによって、基板9及びバッテリ12を同一平面上に並べて配置する場合に比べて、基板9及びバッテリ12の専有面積を小さくすることができる。
図11に示されるように、基板9の長手方向の長さはバッテリ12の短手方向の長さよりも長く、バッテリ12の長手方向の長さは基板9の短手方向の長さよりも長い。また、図11から分かるように、水平面において、基板9の面積はバッテリ12の面積よりも大きい。これらの条件の下、本実施形態では、基板9及びバッテリ12は水平面において直交するように配置される。この場合、バッテリ12が水平面において基板9内に収まるように基板9及びバッテリ12を配置する場合に比べて、基板9及びバッテリ12の専有面積が僅かに大きくなるが、バッテリ12の外側の基板9の面積を大きくすることができる。
さらに、本実施形態では、直交配置された基板9及びバッテリ12は、基板9の長手方向が車幅方向に一致するように配置される。図11から分かるように、基板9の長手方向の長さはバッテリ12の長手方向の長さよりも長い。このため、基板9の長手方向が前後方向に一致するように基板9及びバッテリ12を配置することに比べて、基板9及びバッテリ12の前後方向の長さを低減することができる。したがって、基板9及びバッテリ12の前後に駆動部材10及び操舵部材11を配置するような場合に、走行玩具1の前後方向の長さを低減することができ、ひいては走行玩具1の旋回性能を向上させることができる。
また、図11に示されるように、バッテリ12は車幅方向において中央近傍の領域に配置される。特に、本実施形態では、バッテリ12は、その中心線が車幅中心線CLに一致するように配置される。このことによって、走行玩具1の左右の重量バランスの悪化を抑制することができ、ひいては走行玩具1の走行性能の低下を抑制することができる。
以下、基板9に実装される主要な電子部品について説明する。最初に、図5及び図6を参照して、基板9の上面の電子部品について説明する。図5及び図6に示されるように、基板9の上面には、操作部7によってオンオフされるスイッチ91と、無線通信用の第1アンテナ92及び第2アンテナ93と、シールドによって覆われた無線通信用IC94と、カメラ用コネクタ95とが実装される。
図5及び図6に示されるように、基板9は、車幅方向において前輪3及び後輪4の最内部よりも外側に延在する二つの側方領域(右側方領域90a及び左側方領域90b)を有する。スイッチ91及び第1アンテナ92は基板9の一方の側方領域(本実施形態では右側方領域90a)の上面に実装され、第2アンテナ93及び無線用IC94は基板9の他方の側方領域(本実施形態では左側方領域90b)の上面に実装される。これら電子部品を基板9の側方領域に実装することによって前輪3と後輪4との間の空間を有効に活用することができる。
スイッチ91は、上述した操作部7の直下に配置され、操作部7によってオンオフされる。本実施形態では、スイッチ91は、操作部7が下方に移動してスイッチ91を押圧したときにオンオフされる。操作部7によってスイッチ91がオンにされると、上述したように撮像装置6が直接的又は間接的に作動される。
なお、本実施形態では、操作部7とスイッチ91とが別体であるが、操作部7及びスイッチ91が一体であってもよい。この場合、操作部7及びスイッチ91は、例えば、押ボタンスイッチ、スライドスイッチ、トグルスイッチ、ロッカースイッチ等として構成される。
無線通信用の第1アンテナ92及び第2アンテナ93は、同様の構成を有し、それぞれ電波を送受信する。第1アンテナ92、第2アンテナ93及び無線通信用IC94は、外部機器とデータを送受信するように構成される。例えば、第1アンテナ92、第2アンテナ93及び無線通信用IC94は、走行玩具1を制御するための制御信号を外部機器から受信し、撮像装置6によって撮影された画像を外部機器に送信する。
通常、走行中の走行玩具1は、走行玩具1の上方の外部機器に向かってデータを送信し、走行玩具1の上方の外部機器からデータを受信する。このため、上述したように第1アンテナ92及び第2アンテナ93を基板9の上面に実装することによって、通信強度を高めることができる。
また、本実施形態では、図6に示されるように、第1アンテナ92及び第2アンテナ93は、車幅方向において基板9の両端部に配置され、第1アンテナ92及び第2アンテナ93の長手方向軸線が直交するように実装される。このことによって、走行玩具1と外部機器との相対位置に応じて通信強度が低下することを抑制することができる。
また、第1アンテナ92及び第2アンテナ93は基板9の前端部に実装される。したがって、第1アンテナ92は基板9の右側方領域90aの上面においてスイッチ91よりも前方に実装され、第2アンテナ93は基板9の左側方領域90bの上面において無線通信用IC94よりも前方に実装される。このことによって、複数の電子部品を同一側の側方領域に配置しつつ、第1アンテナ92及び第2アンテナ93と、基板9の後方に配置された駆動用モータ101との距離を離すことができる。この結果、駆動用モータ101から発生するノイズが第1アンテナ92及び第2アンテナ93による無線通信に干渉することを抑制することができる。この利点は、駆動用モータ101が、ノイズが大きいブラシ付きモータである場合に特に顕著である。
図5に示されるように、カメラ用コネクタ95には、カメラ用FPC61が接続される。カメラ用FPC61は支持アーム5の内部から固定部51の上方に沿ってカメラ用コネクタ95に接続される。本実施形態では、カメラ用コネクタ95は、車幅方向において中央近傍の領域において基板9の後端部に実装され、車幅中心線CL上に位置する。撮像装置6、第1LED62及び第2LED63は、カメラ用FPC61を介して基板9に電気的に接続され、バッテリ12から電力が供給される。
また、図6に示されるように、基板9の上面の後端部には駆動用モータ101の配線301(二本のリード線)が接続され、基板9の上面の前端部には操舵用モータ111の配線302(二本のリード線)及びポテンショメータ115の配線303(三本のリード線)がそれぞれ接続される。駆動用モータ101、操舵用モータ111及びポテンショメータ115は各配線を介して基板9に電気的に接続され、バッテリ12から電力が供給される。
次に、図11を参照して、基板9の下面の電子部品について説明する。図11に示されるように、基板9の下面には、充電ポート8と、シールドによって覆われた制御装置96と、慣性計測装置(Inertial Measurement Unit(IMU))97と、バッテリ用コネクタ98とが実装される。
基板9は、前後方向においてバッテリ12と重なり且つ車幅方向においてバッテリ12よりも外側に延在する延在部(右延在部100a及び左延在部100b)を有する。充電ポート8及びバッテリ用コネクタ98は一方の延在部(本実施形態では右延在部100a)の下面に実装される。このことによって、バッテリ12の外側の空間を有効に活用することができる。
図11から分かるように、延在部100a、100bは、車幅方向において前輪3及び後輪4の最内部よりも外側に延在する側方領域90a、90bを包含しており、充電ポート8はこの側方領域90aに実装されている。同様に、図5及び図6に示される基板9の上面に配置されたスイッチ91、第1アンテナ92、第2アンテナ93及び無線用IC94も側方領域90a、90bに実装されている。本実施形態のように複数の電子部品を側方領域の上面及び下面に実装することによって前輪3と後輪4との間の空間をより効率的に活用することができる。
充電ポート8は、上述したようにバッテリ12の充電のために用いられ、外部電源からバッテリ12に電力を供給する。図11に示されるように、充電ポート8は、車幅方向において車輪の最外部(本実施形態では、後輪4の最外部)よりも内側に配置される。このことによって、車輪は側方からの衝撃に対して充電ポート8を保護することができる。また、本実施形態では、図2から分かるように、充電ポート8が設けられた車両本体2の側部の最外部(本実施形態では開閉蓋20及びメインカバー21)は車幅方向において車輪の最外部よりも外側に位置する。このため、車両本体2も側方からの衝撃に対して充電ポート8を保護することができる。なお、前輪3の最外部が後輪4の最外部よりも外側に配置され、充電ポート8は車幅方向において前輪3の最外部よりも内側に配置されてもよい。また、充電ポート8は車幅方向において前輪3の最外部及び後輪4の最外部よりも内側に配置されてもよい。
制御装置96は、CPU等を有し、走行玩具1の各種制御を実行する。制御装置96は、例えばSOC(System on Chip)として構成され、基板9の他の部品に電気的に接続される。図11に示されるように、制御装置96は、車幅方向において中央近傍の領域に配置され、具体的には車幅中心線CL上に配置される。このことによって、制御装置96において生じた熱を周囲の基板9に拡散することができ、走行玩具1の放熱性能を高めることができる。
IMU97は、3軸加速度センサ及び3軸ジャイロセンサ(角速度センサ)を含み、3軸方向の加速度及び3軸方向の角速度を検出する6軸センサとして機能する。例えば、制御装置96はIMU97の出力に基づいて走行玩具1の姿勢を制御する。図11に示されるように、IMU97は、車幅方向において中央近傍の領域に配置され、具体的には車幅中心線CL上に配置される。このことによって、走行玩具1の動作の左右差による影響を低減することができる。また、本実施形態では、IMU97は、充電ポート8、制御装置96及びバッテリ用コネクタ98よりも前方に配置される。
バッテリ用コネクタ98にはバッテリ12の配線(例えばリード線)が接続され、バッテリ12に蓄えられた電力はバッテリ用コネクタ98を介して基板9に供給される。図11に示されるように、バッテリ用コネクタ98は、充電ポート8及び制御装置96よりも前方に配置され、車幅方向において充電ポート8よりも内側に配置される。
また、バッテリ用コネクタ98は、基板9の下面に実装された電子部品の中で最大の高さ(厚み)を有する。したがって、本実施形態では、基板9の延在部100a、100bに実装された電子部品が、基板9の下面に実装された電子部品の中で最も下方に位置する。このため、本実施形態のように基板9がバッテリ12の上方に配置される場合に、電子部品が実装された基板9及びバッテリ12の上下方向の長さを低減することができる。なお、延在部100a、100bに配置された他の電子部品(例えば充電ポート8)が最大の高さを有していてもよい。
図12は、走行玩具1の下面図である。図12に示されるように、車両本体2はボトムカバー25を含む。本実施形態では、車両本体2は、開閉蓋20、メインカバー21、メインシャシ22、駆動部カバー23、操舵部カバー24及びボトムカバー25から構成される。
図13は、バッテリ12を示す走行玩具1の下面図である。図13には、ボトムカバー25が取り外されたときの走行玩具1が示されている。ボトムカバー25は、前後方向において前輪3よりも前方から後輪4まで延在し、バッテリ12が外部から見えないようにバッテリ12を覆う。ボトムカバー25はメインシャシ22に取り付けられ、ボトムカバー25及びメインシャシ22は車両本体2の下部(底部)を形成する。また、ボトムカバー25の平坦な下面が車両本体2の下面を形成する。
上述したように、基板9はメインシャシ22の上部に取り付けられ、図7および図13から分かるように、バッテリ12はメインシャシ22の下部に取り付けられる。このことによって、メインシャシ22の上下の空間を有効に活用することができる。また、最重量部品であるバッテリ12を車両本体2の下部付近に配置することによって、走行玩具1の重心を低くすることができ、ひいては走行玩具1の走行性能を向上させることができる。また、ユーザがボトムカバー25を外してバッテリ12に容易にアクセスすることができるため、バッテリ12の交換及び廃棄が容易となる。
図14は、メインシャシ22の下部を示す走行玩具1の斜視図である。図14には、ボトムカバー25及びバッテリ12が取り外されたときの走行玩具1が示されている。メインシャシ22の下部には第1凹部221が形成され、バッテリ12は第1凹部221に収容される。例えば、バッテリ12は、第1凹部221に設けられた粘着テープによってメインシャシ22の下部に固定される。
また、第1凹部221の側壁には通過孔222が形成され、第1凹部221の底壁には、通過孔222と連通する第2凹部223が形成される。通過孔222及び第2凹部223は基板9の下面のバッテリ用コネクタ98と隣接するように形成される。第2凹部223にはバッテリ12の配線が収容され、バッテリ12の配線は通過孔222を通ってバッテリ用コネクタ98に接続される。このことによって、メインシャシ22の外形を大きくすることなくボックス形状の第1凹部221によってバッテリ12の大部分を囲むことができ、バッテリ12周囲のメインシャシ22の強度を確保することができる。また、メインシャシ22の下方に配置されたバッテリ12と、メインシャシ22の上方に配置されたバッテリ用コネクタ98とを接続するバッテリ12の配線の長さを短くすることができる。また、バッテリ12の配線が上下方向に延在する長さを短くすることができる。
また、図13及び図14に示されるように、右後輪4aと左後輪4bとの間のメインシャシ22の下部には挿入孔224が形成される。ボトムカバー25の後端部は挿入孔224に挿入されてメインシャシ22と係合する。一方、ボトムカバー25の前端部は、図12に示されるように、ネジ205によってメインシャシ22の下部に固定される。
しかしながら、走行時のボトムカバー25の上下方向の振動を低減するためには、ボトムカバー25の前端部と後端部との間でボトムカバー25の上下方向の移動を規制する必要がある。例えば、前輪3と後輪4との間でネジ等によってボトムカバー25をメインシャシ22に固定することが考えられる。しかしながら、車両本体2を捻るような力が走行玩具1に加えられると、ボトムカバー25及びメインシャシ22に捻れが生じる。このとき、ボトムカバー25とメインシャシ22とが上下方向に強く固定されていると、これらの固定部の摩擦力等によって捻れが固定化され、この結果、四つの車輪3、4の接地バランスが崩れて走行玩具1の左右の旋回性能に差が生じるおそれがある。
そこで、本実施形態では、ボトムカバー25がメインシャシ22に強く固定されないように、ボトムカバー25の上下方向の移動が規制される。具体的には、走行玩具1は、ボトムカバー25の上方に間隙が生じるようにボトムカバー25の上下方向の移動を規制する規制部材を含む。このことによって、ボトムカバー25の上下方向の振動を低減しつつ、走行玩具1の走行性能が低下することを抑制することができる。
例えば、ボトムカバー25は、メインシャシ22とボトムカバー25との間に配置されたスペーサ部材を介してメインシャシ22に固定され、図12に示される段付きネジ13が規制部材として用いられる。本実施形態では、メインカバー21がスペーサ部材として機能し、ボトムカバー25及びメインカバー21は、前輪3と後輪4との間に配置された4本の段付きネジ13によってメインシャシ22に固定される。
図15は、段付きネジ13の周囲を示す走行玩具1の拡大側面断面図である。段付きネジ13は、頭部131、段部132及びネジ部133を有する。段部132の直径はネジ部133の直径よりも大きく、頭部131の直径は段部132の直径よりも大きい。
ボトムカバー25には、頭部131を収容する第1収容穴251と、段部132を通過させる第1通過孔252とが形成される。円形の第1収容穴251は、頭部131よりも大きな直径を有し、頭部131よりも長い軸線方向長さを有する。円形の第1通過孔252は、段部132よりも大きく且つ頭部131よりも小さな直径を有し、段部132よりも短い軸線方向長さを有する。第1通過孔252は第1収容穴251と連通する。
メインカバー21には、段部132を収容する第2収容穴211と、ネジ部133を通過させる第2通過孔212とが形成される。円形の第2収容穴211は、段部132よりも大きな直径を有し、段部132よりも短い軸線方向長さを有する。第2収容穴211の周囲は面取りされ、第2収容穴211に収容されたボトムカバー25と第2収容穴211の周壁との間には間隙が設けられる。円形の第2通過孔212は、ネジ部133よりも大きく且つ段部132よりも小さな直径を有し、ネジ部133よりも短い軸線方向長さを有する。第2収容穴211は第1通過孔252と連通し、第2通過孔212は第2収容穴211と連通する。
メインシャシ22には、ネジ部133が挿入されるネジ穴225が形成される。ネジ穴225は予めネジ切りされ又はネジ部133の挿入時にネジ切りされる。ネジ穴225は第2通過孔212と連通する。
段付きネジ13がメインシャシ22に挿入されると、軸線方向において、段部132はメインカバー21(具体的には第2収容穴211の底面)に当接し、頭部131はボトムカバー25(具体的には第1収容穴251の底面)から離間される。この結果、メインカバー21はメインシャシ22に当接し、ボトムカバー25はメインカバー21から離間される。
すなわち、段付きネジ13は、メインカバー21がメインシャシ22に当接するようにメインカバー21をメインシャシ22に固定し、ボトムカバー25とメインカバー21との間に間隙が生じるようにボトムカバー25の上下方向の移動を規制する。したがって、本実施形態では、一つの部品(段付きネジ13)を用いて、メインカバー21をメインシャシ22に強固に固定しつつ、ボトムカバー25の上下方向の移動を規制することができる。
なお、メインカバー21の第2収容穴211が省略され、段付きネジ13の段部132がメインカバー21の下面に当接してもよい。また、段部を有しない一般的なネジによってメインカバー21がメインシャシ22に固定され、規制部材としてフックのような係合部材が用いられてもよい。この場合、例えば、係合部材は、メインシャシ22又はメインカバー21から延在し、ボトムカバー25とメインカバー21との間に間隙が生じるようにボトムカバー25と係合する。また、メインカバー21のようなスペーサ部材が省略され、一般的なネジ、段付きネジ又は係合部材のような規制部材が、ボトムカバー25とメインシャシ22との間に間隙が生じるようにボトムカバー25の上下方向の移動を規制してもよい。
図16は、走行面RSに水平に設置された走行玩具1の右側面図である。図16には、操作部7の位置を示すために、操作部7の一部が破線で示されている。上述したように、ユーザは撮像装置6を直接的又は間接的に作動させるために操作部7を操作する。図16に示されるように走行玩具1が走行面RSに設置されているときに操作部7が強い力で操作されると、走行玩具1に下向きの過度な力が加えられるおそれがある。このことは、操作部7が下方に押圧されるボタンである場合に特に顕著である。また、走行面RSに設置された走行玩具1に落下物等が衝突し、走行玩具1に下向きの過度な力が加えられるおそれがある。
これに対して、本実施形態では、車両本体2及び車輪3、4は、下向きの力によってタイヤ31、41が潰れるときに車両本体2の下面が走行面RSに接するように構成される。このことによって、車輪4のタイヤホイール42を介して車軸105に過度な力が加えられる前に、車軸105よりも高強度の車両本体2で下向きの力を受けることができる。また、このとき、車両本体2の下面が走行面RSと面接触するため、車両本体2が受ける単位面積当たりの力を小さくすることができる。したがって、上記の構成によって、下向きの力が加えられたときの走行玩具1の耐久性を向上させることができる。
なお、下向きの力が解放されると、潰れていたタイヤ31、41は原型に復帰し、車両本体2は再び走行面RSから離間される。したがって、車両本体2は、定常状態において下向きの力が加えられたときにはその下面が走行面RSと接し、下向きの力が解放されたときには定常状態に復帰する。
本実施形態における車両本体2及び車輪3、4の具体的な構成は以下の通りである。車輪3、4のタイヤ31、41は、タイヤホイール42を連結する車軸105に永久歪みが生じる荷重よりも小さい荷重によって潰れるように構成される。具体的には、タイヤ31、41の各々は、一つのタイヤに加えられる荷重が、40N~60N、好ましくは50Nであるときに潰れるように構成される。例えば、タイヤ31、41は中空タイヤとして構成される。
また、車両本体2及び車輪3、4は、タイヤホイール32、42の最下点が車両本体2の下面よりも上方に位置し、タイヤホイール32、42の最下点と車両本体2の下面との間の上下方向の距離がタイヤ31、41の厚みよりも大きくなるように構成される。このことによって、タイヤ31、41が完全に潰れる前に車両本体2の下面が走行面RSに接することになり、下向きの力を車両本体2の下面で受けることができる。
また、所望の最低地上高を確保しつつ、下向きの力を車両本体2の下面で受けるためには、タイヤホイール32、42の最下点を高くする必要がある。さらに、タイヤ31、41の直径、すなわち車輪3、4の直径を過剰に大きくすることなくタイヤホイール32、42の最下点を高くするためには、タイヤホイール32、42の直径(リム径)、すなわちタイヤ31、41の内径に対するタイヤ31、41の外径の比率を高くする必要がある。
例えば、最低地上高、すなわち走行面RSと車両本体2の下面との間の距離は、5mm~10mmに設定され、好ましくは6mmに設定される。タイヤ31、41の内径に対するタイヤ31、41の外径の比率は、1:1.5~1:3、好ましくは1:2に設定される。このことによって、走行玩具1の耐久性の向上に加えて、走行玩具1の小型化を実現しつつ、走行玩具1が走行面RS上の小さな段差(カーペット等)を乗り越えることが可能となる。
なお、車両本体2及び車輪3、4が、下向きの力によってタイヤ31、41が潰れるときに車両本体2の下面が走行面RSに接するように構成されていれば、タイヤ31、41は空気入りタイヤ又は中実タイヤであってもよい。
<第二実施形態>
第二実施形態に係る走行玩具の構成及び制御は、以下に説明する点を除いて、基本的に第一実施形態に係る走行玩具の構成及び制御と同様である。このため、以下、本発明の第二実施形態について、第一実施形態と異なる部分を中心に説明する。
図17は、本発明の第二実施形態に係る走行玩具1’の斜視図であり、図18は、本発明の第二実施形態に係る走行玩具1’の上面図である。走行玩具1’は車幅中心線CLに対して略対称な形状を有する。
図17に示されるように、第一実施形態と同様に、走行玩具1’は、車両本体2’と、車両本体2’に連結された車輪(前輪3及び後輪4)と、車両本体2’から上方に延在する支持アーム5と、支持アーム5によって支持された撮像装置6と、車両本体2’に設けられた操作部7及び充電ポート8とを含む。
第二実施形態では、車両本体2’は、メインカバー21の代わりに、走行玩具1’の上部及び前部を形成するフロントカバー21aと、走行玩具1’の上部及び側部を形成する二つのサイドカバー(右サイドカバー21b及び左サイドカバー21c)と、走行玩具1’の上部及び後部を形成するリアカバー21dとを含む。走行玩具1’の上面視(図18)におけるこれらカバー21a、21b、21c、21dの外形は、図2に示されるメインカバー21の外形と略同一である。
また、車両本体2’は、人形261が設けられた操縦席26を含む。操縦席26は座面及び背もたれを有する。操縦席26の前後左右はカバー21a、21b、21c、21dに囲まれ、操縦席26の上方は開放されている。人形261は、手、足、胴及び頭を有し、操縦席26に着座する。
図18に示されるように、操縦席26は前後方向において前輪3と後輪4との間に配置される。また、操縦席26は、車幅方向において、前輪3及び後輪4の内側に配置され、中央近傍の領域に配置される。特に、本実施形態では、操縦席26は、その中心線及び人形261の正中面が車幅中心線CLに一致するように配置される。このことによって、走行玩具1の左右の重量バランスの悪化を抑制することができ、ひいては走行玩具1の走行性能の低下を抑制することができる。
図17及び図18に示されるように、支持アーム5は、撮像装置6が人形261の頭部の直上に配置されるように、操縦席26の後方から人形261の上方まで斜め上方に延在する。このことによって、操縦席26の後方の空間を活用して、支持アーム5で人形261の前方を遮ることなく走行玩具1’の前方を鮮明に撮影することができる。
図17に示されるように、第二実施形態では、操作部7は右サイドカバー21bの上部に設けられ、充電ポート8は右サイドカバー21bの側部に設けられ、開閉蓋20は右サイドカバー21bと共に車両本体2’の右側部を形成する。車両本体2’及び車輪3、4に対する支持アーム5、撮像装置6、操作部7及び充電ポート8の位置は第一実施形態と同様である。
図19は、車両本体2’の内部を示す走行玩具1’の斜視図である。図19には、フロントカバー21a、サイドカバー21b、21c、リアカバー21d及び操縦席26が取り外されたときの走行玩具1’が示されている。図19に示されるように、車両本体2’はミドルハウジング27を含む。第二実施形態では、車両本体2’は、開閉蓋20、フロントカバー21a、サイドカバー21b、21c、リアカバー21d、メインシャシ22、駆動部カバー23、操舵部カバー24、ボトムカバー25、操縦席26及びミドルハウジング27から構成される。
ミドルハウジング27は、メインシャシ22の上方に配置され、操縦席26を保持する。操縦席26は、ミドルハウジング27の上部に取り付けられ、本実施形態ではボルト206によってミドルハウジング27の上部に固定される。
ミドルハウジング27が取り外されたときの走行玩具1’は、第一実施形態における走行玩具1と同様であり、図5に示される。ミドルハウジング27は、図5に示される操舵部カバー24、基板9及びカメラ用FPC61を覆うようにメインシャシ22の上部に取り付けられる。本実施形態では、ミドルハウジング27はネジ207によってメインシャシ22の上部に固定される。
また、図17及び図18に示されるように、ミドルハウジング27には、ステアリングシャフト271及びステアリングホイール272から構成される把持部270が取り付けられる。ステアリングシャフト271はミドルハウジング27から延在する。ステアリングホイール272は、ステアリングシャフト271の先端に装着され、人形261によって把持される。なお、ミドルハウジング27が省略され、操縦席26はメインシャシ22の上部に取付けられてもよい。この場合、把持部270はメインシャシ22又は操縦席26に取り付けられる。
図20は、車幅中心線CLに沿った走行玩具1’の左側面断面図である。図20に示されるように、操縦席26は、上下方向においてバッテリ12及び基板9よりも上方に配置され、前後方向において駆動部材10よりも前方に配置され且つ操舵部材11よりも後方に配置される。このことによって、操縦席26の前後及び下方の空間を有効に活用することができる。
また、上述したように、メインシャシ22に保持される部品の中で、駆動用モータ101の上下方向の長さが最大であり、操舵用モータ111の上下方向の長さが二番目に長い。このため、駆動用モータ101及び操舵用モータ111を操縦席26の前後に配置することによって車両本体2の上下方向の長さが長くなることを抑制することができる。また、支持アーム5は駆動用モータ101の直上で車両本体2に連結される。このことによって、操縦席26の後方の空間を有効に活用することができ、走行玩具1’の全長を低減することができる。
また、図5及び図19から分かるように、スイッチ91、第1アンテナ92、第2アンテナ93及び無線通信用IC94は、前後方向において操縦席26と重なり且つ車幅方向において操縦席26よりも外側の基板9の上面に実装される。このことによって、操縦席26の外側の空間を有効に活用することができる。また、図5及び図20から分かるように、カメラ用FPC61は操縦席26の背もたれの直下に配置される。このように背もたれの下方のデッドスペースを利用することで、走行玩具1の全長を長くすることなく操縦席26の座面の位置を低くすることができる。
また、第一実施形態と同様に、ボトムカバー25は、メインシャシ22とボトムカバー25との間に配置されたスペーサ部材を介してメインシャシ22に固定され、図12に示される段付きネジ13が規制部材として用いられる。第二実施形態では、右サイドカバー21bがスペーサ部材として機能し、段付きネジ13は、右サイドカバー21bがメインシャシ22に当接するように右サイドカバー21bをメインシャシ22に固定し、ボトムカバー25と右サイドカバー21bとの間に間隙が生じるようにボトムカバー25の上下方向の移動を規制する。
<第三実施形態>
第三実施形態において用いられる走行玩具の構成及び制御は、以下に説明する点を除いて、基本的に第一実施形態に係る走行玩具の構成及び制御と同様である。このため、以下、本発明の第三実施形態について、第一実施形態と異なる部分を中心に説明する。
図21は、本発明の第三実施形態に係るゲーム装置300の概略的な構成図である。ゲーム装置300は走行玩具1及び遠隔制御装置400を含む。遠隔制御装置400は、走行玩具1とは別体であり、例えば、CPUのような制御部、メモリのような記憶部、ステアリングホイール又はスティックのような操作部、ディスプレイのような表示部等を含む。
走行玩具1及び遠隔制御装置400は、Wi-Fi(登録商標)、Bluetooth(登録商標)等の近距離無線通信によって互いに通信可能である。走行玩具1は、例えば、走行玩具1に設けられたセンサ(IMU97等)によって検出された走行玩具1の状態量と、撮像装置6によって撮影された画像とを遠隔制御装置400に送信する。一方、遠隔制御装置400は、例えば、走行玩具1を制御するための制御信号を走行玩具1に送信することによって走行玩具1を遠隔制御する。
<その他の実施形態>
以上、本発明に係る好適な実施形態を説明したが、本発明はこれら実施形態に限定されるものではなく、様々な修正及び変更を施すことができる。例えば、走行玩具1、1’の各部品の具体的な構成及び配置は上記と異なっていてもよい。
また、走行玩具1、1’は、二輪のバイク、三輪のバイク又は自動車、六輪以上の自動車等であってもよい。すなわち、走行玩具1、1’の車輪の数は4以外であってもよい。また、走行玩具1、1’は、車輪にベルトが掛けられた無限軌道、いわゆるキャタピラ(登録商標)であってもよい。また、車輪が省略され、走行玩具1、1’は水上を走行可能なモータボート等であってもよい。
また、操舵部材11が省略され、走行玩具1、1’は直進するように構成され又は走行コースに沿って走行するように構成されていてもよい。また、第1アンテナ92及び第2アンテナ93の一方は省略されてもよい。また、第1アンテナ92、第2アンテナ93及び無線通信用IC94は省略されてもよい。すなわち、走行玩具1、1’は無線通信機能を有さなくてもよい。この場合、例えば、撮像装置6によって撮影された画像は、走行玩具1、1’に設けられたメモリに記憶され、メモリを介して外部に取り出される。また、バッテリ12の代わりに一次電池が用いられ、充電ポート8が省略されてもよい。また、支持アーム5が省略され、撮像装置6は車両本体2、2’(例えばメインカバー21、フロントカバー21a等)に直接連結されてもよい。また、支持アーム5は車両本体2、2’(例えばメインカバー21、リアカバー21d等)と一体であってもよい。
また、上述した実施形態は、任意に組み合わせて実施可能である。例えば、第三実施形態において、第一実施形態の走行玩具1の代わりに第二実施形態の走行玩具1’が用いられてもよい。また、第二実施形態の走行玩具1’において、フロントカバー21a、サイドカバー21b、21c及びリアカバー21dの代わりにメインカバー21が用いられ、メインカバー21が操縦席26及び人形261を覆うように構成されていてもよい。この場合、メインカバー21は、人形261が外部から視認されるように少なくとも部分的に透明又は半透明であってもよい。
1、1’ 走行玩具
2、2’ 車両本体
3 前輪
4 後輪
5 支持アーム
6 撮像装置
7 操作部
8 充電ポート
9 基板
10 駆動部材
11 操舵部材
12 バッテリ
22 メインシャシ
25 ボトムカバー
26 操縦席
101 駆動用モータ
CL 車幅中心線

Claims (18)

  1. 走行玩具であって、
    車両本体と、
    前記車両本体に連結された車輪と、
    前記車両本体に設けられたバッテリと、
    前記バッテリに蓄えられた電力を用いて走行用の動力を出力するモータと、
    当該走行玩具の前方を撮影するように前記車両本体に連結された撮像装置と、
    前記撮像装置を作動させるためにユーザによって操作される操作部と、
    外部電源から前記バッテリに電力を供給する充電ポートと
    を含み、
    前記操作部は当該走行玩具の車幅中心線に対して一方側の前記車両本体の上部に設けられ、前記充電ポートは前記車幅中心線に対して前記操作部と同一側の前記車両本体の側部に設けられ
    前記車輪は前輪及び後輪を含み、
    前記操作部及び前記充電ポートは前記前輪と前記後輪との間に配置される、走行玩具。
  2. 前記充電ポートは車幅方向において前記車輪の最外部よりも内側に配置される、請求項1に記載の走行玩具。
  3. 前記充電ポートが設けられた前記車両本体の側部の最外部は車幅方向において前記車輪の最外部よりも外側に位置する、請求項に記載の走行玩具。
  4. 前記車輪はタイヤ及びタイヤホイールから構成され、
    前記操作部は、下方に押圧されるボタンであり、
    前記車両本体及び前記車輪は、下向きの力によって前記タイヤが潰れるときに該車両本体の下面が走行面に接するように構成される、請求項1からのいずれか1項に記載の走行玩具。
  5. 前記車輪は中空タイヤ及びタイヤホイールから構成され、
    前記操作部は、下方に押圧されるボタンであり、
    前記タイヤホイールの最下点が前記車両本体の下面よりも上方に位置し、該タイヤホイールの最下点と該車両本体の下面との間の上下方向の距離が前記中空タイヤの厚み以上である、請求項1からのいずれか1項に記載の走行玩具。
  6. 複数の電子部品が実装された基板を更に含み、
    前記車両本体はメインシャシを含み、
    前記基板は前記メインシャシの上部に取り付けられ、前記バッテリは前記メインシャシの下部に取り付けられる、請求項1からのいずれか1項に記載の走行玩具。
  7. 前記基板は、前後方向において前記バッテリと重なり且つ車幅方向において該バッテリよりも外側に延在する延在部を有し、該延在部の下面に前記複数の電子部品のうちの少なくとも一つの電子部品が実装される、請求項に記載の走行玩具。
  8. 前記操作部によってオンオフされるスイッチが前記延在部の上面に実装される、請求項に記載の走行玩具。
  9. 前記バッテリを収容する凹部が前記メインシャシの下部に形成され、該凹部の側壁に通過孔が形成され、
    前記延在部の下面にコネクタが実装され、前記バッテリの配線が前記通過孔を通して前記コネクタに接続される、請求項又はに記載の走行玩具。
  10. 前記モータはブラシ付きモータであり、
    前記延在部は前記モータよりも前方に位置し、無線通信用のアンテナが前記延在部の上面において前記スイッチよりも前方に実装される、請求項に記載の走行玩具。
  11. 複数の電子部品が実装された基板を更に含み、
    前記車輪は前輪及び後輪を含み、
    前記車両本体はメインシャシを含み、
    前記基板は、前記メインシャシの上部に取り付けられ、前記前輪と前記後輪との間で車幅方向において前記前輪及び前記後輪の最内部よりも外側に延在する側方領域を有し、
    前記操作部によってオンオフされるスイッチが前記側方領域の上面に実装される、請求項1からのいずれか1項に記載の走行玩具。
  12. 前記モータはブラシ付きモータであり、
    前記側方領域は前記モータよりも前方に位置し、無線通信用のアンテナが前記側方領域の上面において前記スイッチよりも前方に実装される、請求項11に記載の走行玩具。
  13. 前記車両本体は、メインシャシと、該メインシャシに取り付けられて該車両本体の底部を形成するボトムカバーとを含み、
    当該走行玩具は、前記ボトムカバーの上方に間隙が生じるように該ボトムカバーの上下方向の移動を規制する規制部材を更に含む、請求項1から12のいずれか1項に記載の走行玩具。
  14. 前記車両本体は、前記メインシャシと前記ボトムカバーとの間に配置されたスペーサ部材を更に含み、
    前記規制部材は、段付きネジであり、前記スペーサ部材が前記メインシャシに当接するように該スペーサ部材を該メインシャシに固定し、前記ボトムカバーと該スペーサ部材との間に間隙が生じるように該ボトムカバーの上下方向の移動を規制する、請求項13に記載の走行玩具。
  15. 前記車両本体から上方に延在して前記撮像装置を該車両本体に連結する支持アームと、
    外部から視認されるように前記支持アームに設けられた発光ダイオードと
    を更に含む、請求項1から14のいずれか1項に記載の走行玩具。
  16. 複数の電子部品が実装された基板を更に含み、
    前記車両本体は、人形が設けられた操縦席を含み、
    前記基板は前記操縦席の下方に配置され、前記操作部によってオンオフされるスイッチが、前後方向において前記操縦席と重なり且つ車幅方向において該操縦席よりも外側の前記基板に実装される、請求項1から15のいずれか1項に記載の走行玩具。
  17. 前記車両本体から上方に延在して前記撮像装置を該車両本体に連結する支持アームを更に含み、
    前記車両本体は、人形が設けられた操縦席を含み、
    前記モータは前記操縦席よりも後方に配置され、前記支持アームは前記モータの直上で前記車両本体に連結される、請求項1から16のいずれか1項に記載の走行玩具。
  18. 請求項1から17のいずれか1項に記載の走行玩具と、
    前記走行玩具を遠隔制御可能な遠隔制御装置と
    を含む、ゲームシステム。
JP2020050150A 2020-03-19 2020-03-19 走行玩具及びゲームシステム Active JP7016901B2 (ja)

Priority Applications (4)

Application Number Priority Date Filing Date Title
JP2020050150A JP7016901B2 (ja) 2020-03-19 2020-03-19 走行玩具及びゲームシステム
US17/003,098 US11291923B2 (en) 2020-03-19 2020-08-26 Self-propelled toy and game system
EP20193579.8A EP3881916B1 (en) 2020-03-19 2020-08-31 Self-propelled toy
CN202120362425.2U CN214344425U (zh) 2020-03-19 2021-02-07 行驶玩具和游戏系统

Applications Claiming Priority (1)

Application Number Priority Date Filing Date Title
JP2020050150A JP7016901B2 (ja) 2020-03-19 2020-03-19 走行玩具及びゲームシステム

Publications (2)

Publication Number Publication Date
JP2021145982A JP2021145982A (ja) 2021-09-27
JP7016901B2 true JP7016901B2 (ja) 2022-02-07

Family

ID=72292339

Family Applications (1)

Application Number Title Priority Date Filing Date
JP2020050150A Active JP7016901B2 (ja) 2020-03-19 2020-03-19 走行玩具及びゲームシステム

Country Status (4)

Country Link
US (1) US11291923B2 (ja)
EP (1) EP3881916B1 (ja)
JP (1) JP7016901B2 (ja)
CN (1) CN214344425U (ja)

Families Citing this family (3)

* Cited by examiner, † Cited by third party
Publication number Priority date Publication date Assignee Title
JP1693203S (ja) * 2020-08-24 2021-08-23
KR102689955B1 (ko) * 2021-11-29 2024-07-29 선우윤 자동차 경주시스템
GB2634498A (en) * 2023-10-04 2025-04-16 Golden Bear Products Ltd A toy

Citations (2)

* Cited by examiner, † Cited by third party
Publication number Priority date Publication date Assignee Title
US20120052767A1 (en) 2010-08-26 2012-03-01 Mattel, Inc. Image capturing toy
JP2019213804A (ja) 2018-06-14 2019-12-19 株式会社タカラトミー 自動車玩具

Family Cites Families (24)

* Cited by examiner, † Cited by third party
Publication number Priority date Publication date Assignee Title
CH335114A (de) * 1954-12-16 1958-12-31 Mueller Heinrich Fahrspielanlage mit Fahrspielzeug und Aufladestelle
US3169345A (en) * 1961-10-04 1965-02-16 Michael L Marmo Electrically propelled toy vehicles with removable magnetic elements bridging contacts
US3629680A (en) * 1970-04-17 1971-12-21 Mattel Inc Toy battery charger
US4636178A (en) * 1983-02-09 1987-01-13 Takara Co., Ltd. Rechargeable toy electric vehicle set
JPS6076995U (ja) * 1983-11-02 1985-05-29 株式会社ニツコー 充電可能な無線操縦玩具
US5352147A (en) * 1992-12-31 1994-10-04 Dietmar Nagel Toy vehicle and method of manufacture
US5334076A (en) * 1993-07-22 1994-08-02 Sawara Co., Ltd. Radio control car
US6011932A (en) * 1997-12-29 2000-01-04 Creative Camera Concepts, Inc. Specialty camera
US5908345A (en) * 1998-01-16 1999-06-01 Silverlit Toys (U.S.A.), Inc. Programmable toy
AU2001253345A1 (en) 2000-04-12 2001-10-30 T3D, Inc. Interactive video device and method of use
TW487593B (en) * 2001-02-09 2002-05-21 Sampo Technology Corp Remote-controlled toy car set with camera and rear view mirror
US20020132556A1 (en) * 2001-03-16 2002-09-19 May Cheong Toy Products Factory Limited. Toy vehicle remote controller
US20030040255A1 (en) * 2001-08-23 2003-02-27 The Step2 Company Charging system for easily recharging batteries for toys
JP2004298538A (ja) 2003-04-01 2004-10-28 Shomei Ryu リモコンカー玩具
US6746304B1 (en) * 2003-04-14 2004-06-08 Shu-Ming Liu Remote-control toy car set
US20060223637A1 (en) * 2005-03-31 2006-10-05 Outland Research, Llc Video game system combining gaming simulation with remote robot control and remote robot feedback
US20060293102A1 (en) * 2005-06-23 2006-12-28 Kelsey Jeremy J Wireless controller for a remote control toy with a hand-held game player function
US8506343B2 (en) * 2010-04-30 2013-08-13 Mattel, Inc. Interactive toy doll for image capture and display
US20120171924A1 (en) * 2010-10-26 2012-07-05 Kids Ii, Inc. Children's toy
US8764511B2 (en) * 2011-04-29 2014-07-01 Mattel, Inc. Toy vehicle
US20150174501A1 (en) * 2013-12-19 2015-06-25 Joshua Young Personal camera for a remote vehicle
CN204030689U (zh) 2014-09-01 2014-12-17 金荣乐 一种多功能数码宝
US10101739B2 (en) 2016-03-21 2018-10-16 Sphero, Inc. Multi-body self propelled device with induction interface power transfer
US10913149B2 (en) * 2018-09-29 2021-02-09 Dogness Group LLC Anti-sticking rotating device and a smart pet robot

Patent Citations (2)

* Cited by examiner, † Cited by third party
Publication number Priority date Publication date Assignee Title
US20120052767A1 (en) 2010-08-26 2012-03-01 Mattel, Inc. Image capturing toy
JP2019213804A (ja) 2018-06-14 2019-12-19 株式会社タカラトミー 自動車玩具

Also Published As

Publication number Publication date
CN214344425U (zh) 2021-10-08
JP2021145982A (ja) 2021-09-27
US20210291067A1 (en) 2021-09-23
EP3881916B1 (en) 2022-07-20
EP3881916A1 (en) 2021-09-22
US11291923B2 (en) 2022-04-05

Similar Documents

Publication Publication Date Title
JP7016901B2 (ja) 走行玩具及びゲームシステム
US8081428B2 (en) Hand-held information processing apparatus
JP6745307B2 (ja) 操作装置
JP5750544B2 (ja) 鞍乗り型車両における携帯情報端末の取り付け構造
US20110303475A1 (en) Hands-free electric scooter
JP2018023796A (ja) 支持装置、充電装置、および、操作システム
EP2345469A1 (en) Automobile toy
JP5840844B2 (ja) コントローラ支持装置、及びコントローラの充電システム
US20230264780A1 (en) User interface assembly of vehicle, drive system of vehicle, and electric assisted bicycle
CN117141559A (zh) 电动辅助台车
US20070132880A1 (en) Stand for digital camera
TWI712534B (zh) 跨坐型車輛
TWI869018B (zh) 自行車電組件
EP4527563A1 (en) Robot charging station and method for charging robot
TWM577400U (zh) 自行車握把
US20150146360A1 (en) Human machine interface of electric bicycle
JP5813318B2 (ja) 赤外線通信機能付き玩具自動車
TWI491518B (zh) 電動車輛
EP2546129B1 (en) Two-wheeled motor vehicle
JP7244222B2 (ja) 自動車玩具
KR102361737B1 (ko) 전동킥보드의 프레임 방식 모듈구조
JP5813319B2 (ja) 赤外線通信機能付き玩具自動車
US20230088480A1 (en) Integrated control apparatus for autonomous driving vehicle
JP2008285773A (ja) ヘルメット
US20250108876A1 (en) Handle component for electric bicycle

Legal Events

Date Code Title Description
A621 Written request for application examination

Free format text: JAPANESE INTERMEDIATE CODE: A621

Effective date: 20201015

A131 Notification of reasons for refusal

Free format text: JAPANESE INTERMEDIATE CODE: A131

Effective date: 20211102

A521 Request for written amendment filed

Free format text: JAPANESE INTERMEDIATE CODE: A523

Effective date: 20211118

TRDD Decision of grant or rejection written
A01 Written decision to grant a patent or to grant a registration (utility model)

Free format text: JAPANESE INTERMEDIATE CODE: A01

Effective date: 20220118

A61 First payment of annual fees (during grant procedure)

Free format text: JAPANESE INTERMEDIATE CODE: A61

Effective date: 20220126

R150 Certificate of patent or registration of utility model

Ref document number: 7016901

Country of ref document: JP

Free format text: JAPANESE INTERMEDIATE CODE: R150

R250 Receipt of annual fees

Free format text: JAPANESE INTERMEDIATE CODE: R250

R250 Receipt of annual fees

Free format text: JAPANESE INTERMEDIATE CODE: R250