JP6861411B2 - tool - Google Patents
tool Download PDFInfo
- Publication number
- JP6861411B2 JP6861411B2 JP2017017142A JP2017017142A JP6861411B2 JP 6861411 B2 JP6861411 B2 JP 6861411B2 JP 2017017142 A JP2017017142 A JP 2017017142A JP 2017017142 A JP2017017142 A JP 2017017142A JP 6861411 B2 JP6861411 B2 JP 6861411B2
- Authority
- JP
- Japan
- Prior art keywords
- tag
- reader
- core wire
- tool
- communication unit
- Prior art date
- Legal status (The legal status is an assumption and is not a legal conclusion. Google has not performed a legal analysis and makes no representation as to the accuracy of the status listed.)
- Active
Links
Images
Landscapes
- Near-Field Transmission Systems (AREA)
Description
本発明は、工具に関する。 The present invention relates to a tool.
さまざまな装置等を組み立てる、解体する、または、点検する現場においては、モンキーレンチ(モンキレンチと称される場合もある)、スパナ、ドライバー、ボックスレンチ等の多種にわたる工具を利用して、さまざまな種類や大きさのネジ・ボルト等を、対象の装置に取り付ける、または、対象の装置から取り外す作業が行われる。 At the site of assembling, disassembling, or inspecting various devices, various types of tools such as monkey wrenches (sometimes called monkey wrenches), spanners, screwdrivers, and box wrenches are used. The work of attaching or removing screws, bolts, etc. of the same size to or from the target device is performed.
このように、多種多様な工具のうちの適切なものを用いてネジ・ボルト等を、装置の正しい位置に装着することは必要不可欠であるが、ネジ・ボルト等の装着または取り外しの作業を行う場合の部品または工具の選定を目視による確認に頼ってしまうと、ヒューマンエラーを防止するのは非常に困難である。 In this way, it is indispensable to install screws, bolts, etc. in the correct position of the device using an appropriate tool among a wide variety of tools, but the work of installing or removing screws, bolts, etc. is performed. It is very difficult to prevent human error if we rely on visual confirmation to select the parts or tools in the case.
これに対して、従来のネジ・ボルト類や、それらを装着する装置にICタグを取り付けることにより、固体確認を確実にできるようにした技術がある(例えば、特許文献1)。ICタグには、ネジ・ボルト類や、それらを装着する装置を固体認識するために必要な情報や、保守管理等に必要な情報が記録されており、作業時にICタグリーダを用いて、ネジ・ボルト類、または、装置を確認することにより、多種多様な工具のうちの適切なものを用いてネジ・ボルト等を、装置の正しい位置に装着または取り外す場合のヒューマンエラーを防止することができるようになされている。 On the other hand, there is a technique that enables reliable solidarity confirmation by attaching an IC tag to conventional screws and bolts and a device for mounting them (for example, Patent Document 1). The IC tag records information necessary for individual recognition of screws and bolts and the device to which they are attached, information necessary for maintenance, etc., and screws and bolts are used during work using an IC tag reader. By checking the bolts or the device, it is possible to prevent human errors when installing or removing screws, bolts, etc. in the correct position of the device using the appropriate one of a wide variety of tools. Has been done.
しかしながら、ネジ・ボルト類や、それらを装着する装置にICタグを取り付け、作業時にICタグリーダを用いて、ネジ・ボルト類、または、装置を確認するようにした場合、作業者は、工具以外に、更にICタグリーダを保有する必要がある。また、さまざまな種類や大きさのネジ・ボルト等の取付け、または、取り外し作業中に、その都度、ICタグの読み取り操作を行うために、工具とICタグリーダを持ち替える必要がある。そのため、工数が増え、作業にかかる時間が増加してしまう。 However, if an IC tag is attached to screws / bolts or a device to which they are attached and an IC tag reader is used to check the screws / bolts or the device during work, the operator can check the screws / bolts or the device in addition to the tools. In addition, it is necessary to have an IC tag reader. In addition, it is necessary to change the tool and the IC tag reader in order to perform the IC tag reading operation each time during the installation or removal work of screws, bolts, etc. of various types and sizes. Therefore, the man-hours increase and the time required for the work increases.
例えば、工具と、ICタグの読み取りのためのアンテナおよびリーダ装置を一体化した装置を用いて、ネジ等を取り付けることができるようにした技術がある(例えば、特許文献2)。 For example, there is a technique in which a screw or the like can be attached by using a device in which a tool, an antenna for reading an IC tag, and a reader device are integrated (for example, Patent Document 2).
しかしながら、特許文献2に記載の技術では、ネジ・ボルト類を取り付けるための装置に、アンテナやリーダライタ端末が含まれてしまうため、装置が大型化してしまい、作業者が手に持って作業するための工具に適用することは困難である。あるいは、従来の電子回路や電源が内蔵されていない工具に、新たに電子回路や電源を内蔵すると、取り扱い上の制約が増え、コスト高になるだけでなく、従来の使い勝手が失われてしまう恐れがある。
However, in the technique described in
そこで、本発明は、上記課題を解決すること、すなわち、作業者が手に持って作業するための工具を、ICタグの読み取り時に持ち替える必要をなくすことにより、作業に必要な時間を大幅に増やすことなく、ICタグを読み取ることができる工具を提供することを目的とする。 Therefore, the present invention significantly increases the time required for the work by solving the above-mentioned problems, that is, eliminating the need to change the tool for the worker to hold and work when reading the IC tag. It is an object of the present invention to provide a tool capable of reading an IC tag without any problems.
上記課題を解決するために、本発明の工具の第1の側面は、ICタグを検出するICタグ検出部と、リーダ/ライタ端末と通信するリーダ/ライタ通信部と、ICタグ検出部とリーダ/ライタ通信部とを接続するタグ情報伝送部とを備え、タグ情報伝送部は、ICタグから読みこまれた、または、ICタグに書き込まれる情報を伝送するための芯線を含み、ICタグ検出部は、金属の一部が切り欠かれることにより構成される内部空間を含み、内部空間には、芯線の一部が露出し、当該芯線の内部空間における露出部分は直線状に形成されている、または内部空間を平面視したときに露出部分同士に重なり部分が形成されない状態の曲線状に露出部分が形成されていて、芯線の端部は、内部空間を構成する金属に電気的に接続されている。
In order to solve the above problems, the first aspect of the tool of the present invention is an IC tag detection unit that detects an IC tag, a reader / writer communication unit that communicates with a reader / writer terminal, and an IC tag detection unit and a reader. / A tag information transmission unit for connecting to a writer communication unit is provided, and the tag information transmission unit includes a core wire for transmitting information read from or written in the IC tag, and IC tag detection is provided. The portion includes an internal space formed by cutting out a part of metal, a part of the core wire is exposed in the internal space, and the exposed part in the internal space of the core wire is formed in a linear shape. Or, when the internal space is viewed in a plan view, the exposed portion is formed in a curved shape in a state where the exposed portion does not overlap with each other, and the end portion of the core wire is electrically connected to the metal constituting the internal space. Is .
本発明の工具の他の側面は、ICタグ検出部の前記芯線の少なくとも一部は、内部空間の中心部からオフセットされた位置に露出されることを特徴とする。 Another aspect of the tool of the present invention is characterized in that at least a part of the core wire of the IC tag detection unit is exposed at a position offset from the central portion of the internal space.
本発明の工具の他の側面は、ICタグ検出部の内部空間は、工具の端部を、側面を含んで上面と下面を貫通するように切り欠くことによって構成されることを特徴とする。 Another side surface of the tool of the present invention is characterized in that the internal space of the IC tag detection unit is formed by cutting out the end portion of the tool so as to penetrate the upper surface and the lower surface including the side surface.
本発明の工具の他の側面は、ICタグ検出部の内部空間は、工具の端部であって、ICタグの検出面を、当該工具の下面と側面の間の角部分を含み、かつ貫通しない形状で切り欠くことによって構成されることを特徴とする。 In another aspect of the tool of the present invention, the internal space of the IC tag detector is the end of the tool, including and penetrating the detection surface of the IC tag, including the corner between the lower surface and the side surface of the tool. It is characterized in that it is constructed by notching in a shape that does not.
本発明の工具の他の側面は、ICタグ検出部の内部空間は、工具の端部であって、ICタグの検出面を、当該工具の下面と側面の間の角部分を含み、かつ貫通しない形状で、角部分の稜線の延伸方向に対して斜めとなる方向に切り欠くことによって構成されることを特徴とする。 In another aspect of the tool of the present invention, the internal space of the IC tag detector is the end of the tool, including and penetrating the detection surface of the IC tag, including the corner between the lower surface and the side surface of the tool. It is characterized in that it is not shaped and is formed by notching in a direction diagonal to the extending direction of the ridgeline of the corner portion.
本発明の工具の他の側面は、ICタグ検出部の内部空間は、ICタグの検出面から、当該検出面とは反対となる面へ貫通するように切り欠くことによって構成されることを特徴とする。 Another aspect of the tool of the present invention is characterized in that the internal space of the IC tag detection unit is formed by cutting out from the detection surface of the IC tag so as to penetrate the surface opposite to the detection surface. And.
本発明の工具の他の側面は、ICタグ検出部の内部空間は、ICタグの検出面の一部をくり貫くことによって構成されることを特徴とする。 Another aspect of the tool of the present invention is characterized in that the internal space of the IC tag detection unit is formed by hollowing out a part of the detection surface of the IC tag.
本発明の工具の他の側面は、ICタグの検出面と反対となる面上であって、ICタグ検出部の内部空間に対応し、かつ、芯線とは異なる位置に設けられる目印をさらに含むことを特徴とする。 The other side surface of the tool of the present invention is on a surface opposite to the detection surface of the IC tag, and further includes a mark provided at a position different from the core wire and corresponding to the internal space of the IC tag detection unit. It is characterized by that.
本発明の工具の他の側面は、タグ情報伝送部は、工具の外周面に設けられた溝内に配置され、芯線は、絶縁物により、工具の金属部分から絶縁されていることを特徴とする。 Another aspect of the tool of the present invention is characterized in that the tag information transmission unit is arranged in a groove provided on the outer peripheral surface of the tool, and the core wire is insulated from the metal part of the tool by an insulator. To do.
本発明の工具の他の側面は、工具が2つ以上に分割可能である場合に、タグ情報伝送部は、工具の分割とともに、2つ以上に分割され、その接続点において静電誘導結合されることを特徴とする。 On the other side of the tool of the present invention, when the tool can be divided into two or more, the tag information transmission unit is divided into two or more together with the division of the tool, and is electrostatically induced and coupled at the connection point. It is characterized by that.
本発明の工具の他の側面は、リーダ/ライタ通信部は、工具の金属部分の一部に形成されたスリットと、スリットの端部に露出した芯線の一部により構成されたスリットアンテナであり、スリットに露出した芯線はスリット内の金属部分に電気的に接続されていることを特徴とする。 Another aspect of the tool of the present invention is that the reader / writer communication unit is a slit antenna composed of a slit formed in a part of a metal part of the tool and a part of a core wire exposed at the end of the slit. The core wire exposed in the slit is electrically connected to a metal portion in the slit.
本発明の工具の他の側面は、リーダ/ライタ通信部のスリットの内周を一巡する長さは、リーダ/ライタ端末との通信波長と同程度であることを特徴とする。 Another aspect of the tool of the present invention is characterized in that the length of the inner circumference of the slit of the reader / writer communication unit is about the same as the communication wavelength with the reader / writer terminal.
本発明の工具の他の側面は、リーダ/ライタ通信部のスリットには、媒質定数が1より高い充填材が充填されていることを特徴とする。 Another aspect of the tool of the present invention is characterized in that the slit of the reader / writer communication unit is filled with a filler having a medium constant higher than 1.
本発明の工具の他の側面は、リーダ/ライタ通信部のスリットの中央部を少なくとも覆い、電気伝導性を有さず、磁界を透過する材質により構成されたグリップをさらに備えることを特徴とする。 Another aspect of the tool of the present invention is characterized in that it covers at least the central portion of the slit of the reader / writer communication unit and further includes a grip made of a material that does not have electrical conductivity and transmits a magnetic field. ..
本発明の工具の他の側面は、電気伝導性を有せず、磁界を透過する素材により構成された紐状部を更に備え、リーダ/ライタ通信部は、紐状部の内部に設けられ、芯線に接続されたダイポールアンテナであることを特徴とする。 The other side of the tool of the present invention further comprises a string-like portion made of a material that does not have electrical conductivity and is transparent to a magnetic field, and a reader / writer communication unit is provided inside the string-like portion. It is characterized by being a dipole antenna connected to a core wire.
本発明の工具の他の側面は、電気伝導性を有せず、磁界を透過する素材により構成された紐状部を更に備え、リーダ/ライタ通信部は、紐状部の内部に設けられ、芯線に接続されたモノポールアンテナであることを特徴とする。 The other side of the tool of the present invention further comprises a string-like portion made of a material that does not have electrical conductivity and is transparent to a magnetic field, and a reader / writer communication unit is provided inside the string-like portion. It is characterized by being a monopole antenna connected to a core wire.
また、本発明の工具の第2の側面は、ICタグを検出するICタグ検出部と、リーダ/ライタ端末と通信するリーダ/ライタ通信部と、ICタグ検出部とリーダ/ライタ通信部とを接続するタグ情報伝送部とを備え、タグ情報伝送部は、ICタグから読みこまれた、または、ICタグに書き込まれる情報を伝送するための芯線を含み、リーダ/ライタ通信部は、工具の金属部分の一部に形成されたスリットと、スリットの端部に露出した芯線の一部により構成されたスリットアンテナであり、スリットに露出した芯線はスリット内の金属部分に電気的に接続されていることを特徴とする。 Further, the second aspect of the tool of the present invention includes an IC tag detection unit that detects an IC tag, a reader / writer communication unit that communicates with a reader / writer terminal, and an IC tag detection unit and a reader / writer communication unit. The tag information transmission unit is provided with a tag information transmission unit to be connected, the tag information transmission unit includes a core wire for transmitting information read from the IC tag or written in the IC tag, and the reader / writer communication unit is a tool. It is a slit antenna composed of a slit formed in a part of a metal part and a part of a core wire exposed at the end of the slit, and the core wire exposed in the slit is electrically connected to the metal part in the slit. It is characterized by being.
本発明の工具の他の側面は、リーダ/ライタ通信部のスリットの内周を一巡する長さは、リーダ/ライタ端末との通信波長と同程度であることを特徴とする。 Another aspect of the tool of the present invention is characterized in that the length of the inner circumference of the slit of the reader / writer communication unit is about the same as the communication wavelength with the reader / writer terminal.
本発明の工具の他の側面は、リーダ/ライタ通信部のスリットには、媒質定数が1より大きい充填材が充填されていることを特徴とする。 Another aspect of the tool of the present invention is characterized in that the slit of the reader / writer communication unit is filled with a filler having a medium constant greater than 1.
本発明の工具の他の側面は、リーダ/ライタ通信部のスリットの中央部を少なくとも覆い、電気伝導性を有さず、磁界を透過する材質により構成されたグリップをさらに備えることを特徴とする。 Another aspect of the tool of the present invention is characterized in that it covers at least the central portion of the slit of the reader / writer communication unit and further includes a grip made of a material that does not have electrical conductivity and transmits a magnetic field. ..
また、本発明の工具の第3の側面は、少なくとも一部が金属により構成され、作業者が把持することにより利用される工具において、ICタグを検出するICタグ検出部と、リーダ/ライタ端末と通信するリーダ/ライタ通信部と、ICタグ検出部とリーダ/ライタ通信部とを接続するタグ情報伝送部と、電気伝導性を有せず、磁界を透過する素材により構成された紐状部とを備え、リーダ/ライタ通信部は、紐状部の内部に設けられ、リーダ/ライタ通信部は、ICタグから読みこまれた、または、ICタグに書き込まれる情報を伝送する芯線の一部を含み、その芯線の一部はタグ情報伝送部に含まれる芯線の他の部分と連続していて、さらにリーダ/ライタ通信部は、芯線の一部に連続すると共に芯線の一部とは反対側に延伸する伝導体を含み、該伝導体は芯線の一部と共にダイポールアンテナを構成することを特徴とする。 Further, the third side surface of the tool of the present invention includes an IC tag detection unit for detecting an IC tag and a reader / writer terminal in a tool whose at least a part is made of metal and is used by being gripped by an operator. A reader / writer communication unit that communicates with, a tag information transmission unit that connects the IC tag detection unit and the reader / writer communication unit, and a string-shaped portion made of a material that does not have electrical conductivity and transmits a magnetic field. The reader / writer communication unit is provided inside the string-shaped portion, and the reader / writer communication unit is a part of a core wire that transmits information read from the IC tag or written to the IC tag. Is included, a part of the core wire is continuous with the other part of the core wire included in the tag information transmission unit, and the reader / writer communication unit is continuous with a part of the core wire and opposite to a part of the core wire. It comprises a conductor extending to the side, which is characterized by forming a dipole antenna together with a part of a core wire.
また、本発明の工具の第4の側面は、少なくとも一部が金属により構成され、作業者が把持することにより利用される工具において、ICタグを検出するICタグ検出部と、リーダ/ライタ端末と通信するリーダ/ライタ通信部と、ICタグ検出部とリーダ/ライタ通信部とを接続するタグ情報伝送部と、電気伝導性を有せず、磁界を透過する素材により構成された紐状部とを備え、リーダ/ライタ通信部は、紐状部の内部に設けられ、リーダ/ライタ通信部は、ICタグから読みこまれた、または、ICタグに書き込まれる情報を伝送する芯線の一部を含み、その芯線の一部はタグ情報伝送部に含まれる芯線の他の部分と連続していて、記芯線の一部はモノポールアンテナを構成することを特徴とする。
Further, the fourth side surface of the tool of the present invention includes an IC tag detection unit for detecting an IC tag and a reader / writer terminal in a tool whose at least a part is made of metal and is used by being gripped by an operator. A reader / writer communication unit that communicates with, a tag information transmission unit that connects the IC tag detection unit and the reader / writer communication unit, and a string-shaped portion made of a material that does not have electrical conductivity and transmits a magnetic field. The reader / writer communication unit is provided inside the string-shaped unit, and the reader / writer communication unit is a part of a core wire that transmits information read from the IC tag or written to the IC tag. A part of the core wire is continuous with another part of the core wire included in the tag information transmission unit, and a part of the core wire constitutes a monopole antenna .
本発明によれば、ICタグを読み取るときに、作業者が手に持って作業するための工具を持ち替える必要がなくなるので、作業に必要な時間の大幅な増加を防ぐことができる。 According to the present invention, when the IC tag is read, it is not necessary for the operator to change the tool for holding the work in his / her hand, so that it is possible to prevent a significant increase in the time required for the work.
以下、本発明の一実施の形態の情報送受信システムについて、図1〜図38を参照しながら説明する。 Hereinafter, the information transmission / reception system according to the embodiment of the present invention will be described with reference to FIGS. 1 to 38.
図1〜図34を参照して、本発明の工具の一例であるモンキーレンチ(モンキレンチと称される場合もある)について説明する。 A monkey wrench (sometimes referred to as a monkey wrench), which is an example of the tool of the present invention, will be described with reference to FIGS. 1 to 34.
図1のモンキーレンチ1は、ボルト2をつかむ部分の幅、すなわち、上アゴ(固定ジョーと称される場合もある)12と下アゴ(可動ジョーと称される場合もある)11との間の幅を、ウォームギヤによって、ボルト2の頭部分の大きさに合わせて変更可能なレンチである。すなわち、モンキーレンチ1は、さまざまな種類のボルト2や図示を省略するナットの取付けに利用可能な工具である。モンキーレンチ1は、その全体、または、少なくともその一部が金属製であり、ここでは、少なくとも上アゴ12および把持部13が金属製であるものとする。モンキーレンチ1は、工具に対応する。
The
ボルト2には、ICタグ3が取り付けられている。ICタグ3には、ボルト2の種類やボルト2を取り付ける装置または部品や取付け個所などの固有の情報が記録されている。ICタグ3についての詳細は、図2および図3を用いて後述する。
An IC tag 3 is attached to the
モンキーレンチ1は、ボルト2等の取付け作業を妨げない上アゴ12の先端部分(例えば、作業時にボルトに当たらない部分)に、ICタグ検出部21を有する。ICタグ検出部21は、ボルト2に取り付けられたICタグ3を検出し、ICチップ32に記憶されている情報を読み取る。モンキーレンチ1の上アゴ12の先端部分にICタグ検出部21が設けられていることにより、ICタグ検出部21をICタグ3に近接させて検出させる動作と、モンキーレンチ1によりボルト2を取り付ける、または、取り外す動作との移行距離が短くスムーズになり好適である。
The
ICタグ3とICタグ検出部21とのICタグ通信には、例えば、周波数920MHzの電波を用いることが可能である。図1においては、ICタグ検出部21の第1の例であるICタグ検出部21aが図示されている。ICタグ検出部21の詳細については、図4〜図18を用いて後述する。
For the IC tag communication between the IC tag 3 and the IC
ICタグ検出部21に読み取られた情報は、タグ情報伝送部22を介して、リーダ/ライタ通信部23に供給される。(図1においては、リーダ/ライタ通信部23の第1の例である、後述するリーダ/ライタ通信部23aが図示されている。)換言すれば、リーダ/ライタ端末4がICタグ3とモンキーレンチ1を介して情報を授受する場合、タグ情報伝送部22には、高周波(例えば920MHz)の電流や電圧が供給される(この詳細については、図26にてスロットアンテナの説明として後述する)。タグ情報伝送部22には、電気伝導性を有する芯線(詳細は後述する)が含まれ、高周波の電流は芯線を流れる。タグ情報伝送部22の詳細については、図19〜図23を用いて後述する。なお、リーダ/ライタ端末4は不図示の作業者が作業する腕などの近隣に所持するのが望ましい。
The information read by the IC
リーダ/ライタ通信部23は、リーダ/ライタ端末4と情報を授受するものである。リーダ/ライタ通信部23は、タグ情報伝送部22を介して供給された情報を、リーダ/ライタ端末4に送信する。リーダ/ライタ通信部23の詳細については、図24〜図34を用いて後述する。
The reader /
リーダ/ライタ端末4は、受信した情報を、ネットワーク5を介して、サーバ6に送信する。あるいは、リーダ/ライタ端末4がネットワーク5やサーバ6の役割を内蔵していてもよい。ここではそれぞれの役割が分離されている場合を代表として示している。サーバ6には、ボルト2に関する情報が記録され、工程に必要な管理に関する処理が実行される。これにより、モンキーレンチ1により所定の箇所に取り付けられたボルト2の固有情報が、サーバ6により管理可能となる。
The reader / writer terminal 4 transmits the received information to the
例えば、サーバ6に、ボルト2の在庫数が記録されていた場合、サーバ6は、受信された情報に基づいて、在庫数を把握することが可能であり、必要に応じて、ボルト2の発注処理を行うことが可能である。
For example, when the stock quantity of the
また、例えば、サーバ6には、ボルト2と、そのボルト2を取り付けるべき部品等の情報を記録するようにしてもよい。例えば、ボルト2を取り付けるべき部品(図示せず)等の所定の場所に、その部品の固有情報が記録されたICタグ3を取り付けておき、部品に取り付けられたICタグ3と、ボルト2に取り付けられたICタグ3とを連続してICタグ検出部21を用いて読み取り、タグ情報伝送部22およびリーダ/ライタ通信部23を介して、リーダ/ライタ端末4に送信し、サーバ6により管理することができるようにしてもよい。これにより、いずれの部品のいずれの箇所に特定のボルト2が取り付けられたかを、サーバ6により管理することが可能となる。
Further, for example, the
また、サーバ6は、誤ったボルト2が取り付けられた場合、エラーメッセージを送信し、ネットワーク5を介して、例えば、作業者が所持しているリーダ/ライタ端末4に送信するものとしてもよい。リーダ/ライタ端末4は、受信したエラーメッセージを出力し、作業者に、部品が誤っていることを通知することが可能である。これにより、部品の取り付けの不具合を防止することが可能となる。
Further, when the
また、必要に応じて、ICタグ3に記録したい情報を、サーバ6から送信し、ネットワーク5を介して、リーダ/ライタ端末4に送信するようにしてもよい。リーダ/ライタ通信部23は、リーダ/ライタ端末4から供給された情報を、タグ情報伝送部22を介して、ICタグ検出部21に供給する。ICタグ検出部21は、供給された情報を、ICタグ3に記録させることができる。
Further, if necessary, the information to be recorded in the IC tag 3 may be transmitted from the
次に、図2および図3を参照して、ICタグ3の例について説明する。 Next, an example of the IC tag 3 will be described with reference to FIGS. 2 and 3.
ICタグ3には、例えば、図2に示される小型のコイルアンテナ型のICタグ3aを用いることが可能である。ICタグ3aとしては、例えば、日立化成IM5−PK2525などの小型タグ(サイズ2.5mm×2.5mm×0.4mm)などを用いると好適である。ICタグ3aには、基板31上に、保守管理に必要な固有情報が記録されたICチップ32、および、外部と通信を行うためのコイルアンテナ33が搭載されている。
For the IC tag 3, for example, a small coil antenna
また、ICタグ3には、例えば、図3に示されるように、小型の放射アンテナ型のICタグ3bを用いることが可能である。ICタグ3bには、シール基板34上に、保守管理に必要な固有情報が記録されたICチップ32、および、外部と通信を行うための放射型のアンテナ35が搭載されている。アンテナ35は、コイルアンテナ部分と放射アンテナ部分とで構成されている事例を示している。
Further, as the IC tag 3, for example, as shown in FIG. 3, a small radiation antenna
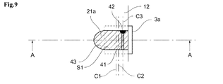
次に、図4〜図10を参照して、ICタグ検出部21の第1の例であるICタグ検出部21aについて説明する。
Next, the IC
図4は、図1における矢印Bの方向から見たICタグ検出部21aの拡大斜視図である。ICタグ検出部21aは、上アゴ12の端部を、側面を含んで上面と下面(ICタグ3の検出面)を貫通するように切り欠くことによって生成される空間に形成される。この切り欠きは、モンキーレンチ1の強度を損なうことのない、十分小さなものであり、例えば、切り欠きの幅を1.3mm程度、切り欠きの奥行きを4.0mm程度とすることができる。なお、ICタグ検出部21aは、図1に示す構成では、ボルト2が当たって損傷を受けないように、上アゴ12のうち、下アゴ11と対向する開口部側には位置しておらず、それとは反対の上アゴ12の外周側に位置している事例を示している。
FIG. 4 is an enlarged perspective view of the IC
これ以降、切り欠きにより生成される空間を内部空間S1、その外部の空間を外部空間と称する。内部空間S1には、タグ情報伝送部22の芯線41が突出し、接続点42によって、切り欠き内部の金属部分、すなわち、アースとして機能している部分に、例えば、ハンダ付けなどにより電気的に接続されている。内部空間S1に露出している芯線41は、図4のように直線状でなくてもよく、内部空間S1内で曲線状に湾曲していてもよいが、芯線41同士が延伸して内部空間S1内を1周以上してからアースに接続するような、芯線41を延ばして巻くループアンテナとする場合に生じる芯線41同士が交差してしまう部分を有さないことが望ましい。これは、ICタグ検出部21a内の内部構造が複雑であるほど工具に加わる衝撃に対して不利になるためである。換言すれば、芯線41は、直線状、または、平面視したとき(平面に投影したとき)に周方向における角度が同じ角度となるような重なり部分を有さない。すなわち、芯線41は、直線状、またはそれに近い形であり、ループアンテナの形状を有していない。
Hereinafter, the space created by the notch is referred to as an internal space S1, and the space outside the space is referred to as an external space. The
内部空間S1は、例えば、樹脂等の、電気伝導性を有さず、磁界を透過する充填材43により充填される。充填材43がその周辺の金属部分とは異なる色である場合、右利きの作業者が図1のモンキーレンチを用いて作業を行う状態で、作業者が、ICタグ検出部21aの位置を確認しやすいため、ICタグ3にICタグ検出部21aを容易に近接させることができる。
The internal space S1 is filled with a
なお、不透明な充填材43を内部空間S1に充填した場合、芯線41および接続点42は外部空間から見えなくなるが、その位置などを説明するため、各図面においては、充填材43を透過して芯線41および接続点42を図示し、説明するものとする。
When the
リーダ/ライタ端末4がモンキーレンチ1を介してICタグ3と通信する場合、タグ情報伝送部22には、高周波の電流や電圧が供給される。すなわち、ICタグ検出部21aの芯線41には、高周波の電流や電圧が供給される(この詳細については、図5〜8等を用いて後述する)。上アゴ12の金属部分はアースとして機能するため、電気伝導性を有する芯線41は、接続点42の地点でショートされた状態となり、芯線41には、短絡状態にみられる大きな電流が発生する。したがって、芯線41を流れる高周波電流により発生する磁界φは大きくなり、金属部分で囲まれた内部空間S1内の充填材43が充填された部分を透過して、外部空間にまで広がることが可能となる。
When the reader / writer terminal 4 communicates with the IC tag 3 via the
次に、図5〜図10を用いて、ICタグ検出部21aとICタグ3aとの情報の授受について説明する。
Next, the exchange of information between the IC
図5に、芯線41とICタグ3aのコイルアンテナ33との電磁誘導結合を示す等価回路を示す。
FIG. 5 shows an equivalent circuit showing an electromagnetic induction coupling between the
芯線41がICタグ検出部21aの内部空間S1に突出する点(内部空間S1において接続点42とは反対側の点)と接続点42を、それぞれP1およびQ1とすると、高周波電流が供給されたICタグ検出部21aの芯線41には大きな短絡電流i1が流れる。この電流i1により発生する磁界φの一部、つまり、磁界φ1が、コイルアンテナ33を貫通する(図中磁界φ2で示される漏れ磁界も存在する)ことにより、コイルアンテナ33に電流i2が流れ、ICチップ32が動作するために必要な電圧が発生する。この電磁誘導により、ICチップ32が動作する。
Assuming that the point where the
図6〜図8を参照し、この電磁誘導結合をトランス結合として説明する。 This electromagnetic induction coupling will be described as a transformer coupling with reference to FIGS. 6 to 8.
図6に、トランスモデルの等価回路を示す。トランスの1次側の両端P1およびQ1間の電圧をV1、巻き数をN1とし、トランスの2次側の負荷53の両端P2およびQ2間に発生する電圧をV2、巻き数をN2としたとき、結合係数をkとして、次の数式(1)が成り立つ。結合係数kは、主に芯線41とコイルアンテナ33との距離によって決まる0〜1の値である。
FIG. 6 shows an equivalent circuit of the transformer model. The voltage between both ends P1 and Q1 on the primary side of the transformer is V 1 , the number of turns is N 1 , the voltage generated between both ends P2 and Q2 of the
数式(1)
N1/N2=kV1/V2・・・(1)
Formula (1)
N 1 / N 2 = kV 1 / V 2 ... (1)
結合係数kは、主に芯線41とコイルアンテナ33との距離によって決まる0〜1の値である。すなわち、結合係数kは、一次側コイルに流れる電流i1により発生する磁界のうち、トランス結合の有効成分となる磁界φ1と、トランス結合に寄与しない漏れ成分φ2との割合で決まるものである。
The coupling coefficient k is a value of 0 to 1 mainly determined by the distance between the
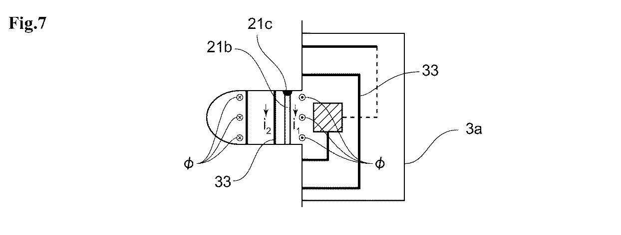
図7に、ICタグ検出部21aとICタグ3aとが接近した場合の電流の方向と発生する磁界φの概略図を示す。図7においては、丸の中に×の記号で、図の紙面の手前側から向こう側に向けて突き抜ける磁界φが、丸の中に黒点の記号で、図の紙面の向こう側から手前側に向けて突き抜ける磁界φが、それぞれ示されている。図6の一次側コイルは、図7のICタグ検出部21aの芯線41が対応し、図6の二次側コイルは、図7のICタグ3aのコイルアンテナ33が対応する。また、図6の負荷53は、図7のICチップ32が対応する。そして、一次側コイルに流れる電流i1には、芯線41が接続点42によりショートすることにより流れる短絡電流に対応する。すなわち、ICタグ検出部21aとICタグ3aとが接近した場合に発生するICチップ32が動作するための電圧は、式(1)を用いて求めることができる。
FIG. 7 shows a schematic view of the direction of the current and the generated magnetic field φ when the IC
図6の一次側コイルに対応する芯線41は、平面視したとき(平面に投影したとき)に芯線41同士が交差しない、すなわち、ループコイルを形成しないため、1回巻き以下で、かつ、短い伝導体である。そのため、図6の一次側のコイルに相当する巻き数N1を求める必要がある。そこで、コイルアンテナ33を正方形のコイルとした場合、トランス結合に加わる磁界φ1の発生区間が、正方形の四辺のどの区間を占めるか、その割合で置き換えて考えると、正方形の四辺のうちの一辺に対応している。すなわち、一次側コイルを1/4回巻きであるものとみなすことができる。
The
そして、ICタグ3aのコイルアンテナ33の巻き数を、例えば、2.5とし、トランス結合の有効成分となる磁界φ1と、トランス結合に寄与しない漏れ成分φ2との割合が同じ、すなわち、結合係数kを0.5とした場合、ICチップ32が動作するための電圧V2は、次の数式(2)で求められる。
Then, the number of turns of the
数式(2)
V2=0.5×V1×2.5/0.25=5V1・・・(2)
Formula (2)
V 2 = 0.5 x V 1 x 2.5 / 0.25 = 5 V 1 ... (2)
すなわち、図8に示されるように、芯線41が接続点42に接続されることによるショート電流i1により発生する磁界φの少なくとも一部がICタグ3aのコイルアンテナ33を貫通することにより、電磁誘導結合が発生し、コイルアンテナ33に電流が流れ、ICチップ32が動作するために必要な電圧が発生する。発生する電圧は、コイルアンテナ33の巻き数に比例する。このため、ICタグ検出部21aの芯線41が、平面視したとき(平面に投影したとき)に芯線41同士が交差していない、すなわち、コイルの形状のアンテナを有していないのにもかかわらず、ICチップ32が動作する。これにより、ICタグ検出部21aは、ある程度の大きさを必要とする1回巻き以上のコイルアンテナを含むことなく、ICタグ3を検出し、情報を授受することができる。これにより、モンキーレンチ1に、十分な強度が必要な場合や小型化が必要な場合においても、ICタグ検出部21aを微小なスペースに設けることが可能となる。
That is, as shown in FIG. 8, at least a part of the magnetic field generated by the short circuit current i 1 due to the
次に、図9に、図1を用いて説明したモンキーレンチ1のICタグ検出部21aを、作業者がICタグ3aに近接させた場合の拡大図を示す。図9に示される一点鎖線C1は、ICタグ検出部21aの切り欠き部分の長手方向における中心線(換言すれば、内部空間S1の長手方向の中心線)であり、一点鎖線C2は、ICタグ3aの中心線である。ICタグ検出部21aの充填材43が不透明であった場合、芯線41と接続点42は作業者から確認することはできず、また、充填材43に透明な材質を用いたとしても、作業者から確認が容易な内部空間S1を形成する切り欠き部分の体積に対して、芯線41と接続点42は非常に小さい。このため、図9に示すように、ICタグ検出部21aをICタグ3aに接近させる場合、作業者には、ICタグ3aの中心線C2に対して、ICタグ検出部21aの切り欠き部分の長手方向の中心線C1を合わせようとすると考えられる。
Next, FIG. 9 shows an enlarged view when the operator brings the IC
ここで、芯線41の位置が、ICタグ3aのICチップ32の真上に位置した場合、芯線41に流れる電流により発生する磁界φによりコイルアンテナ33に発生する電流が、ICチップ32を挟んだ両側において打ち消し合ってしまうため、ICタグ検出部21aはICタグ3aを検出することができない。これを防ぐため、芯線41の少なくとも一部は、ICタグ検出部21aの切り欠き部分の中心からオフセットされた位置(たとえば、図9に示されるように、切り欠き部分の長手方向の中心線C1から所定の距離だけオフセットされた位置C3)に配置されるようにすると好適である。なお、ICタグ検出部21aは、切り欠き部分の長手方向の中心からオフセットされた位置としても良いが、短手方向の中心からオフセットされた位置とすることもできる。また、内部空間S1のうち、芯線41が露出している部分が磁界の発生場所となり、芯線41から接続点42までの内部空間S1の距離が短くなると、磁界の発生が少なくなってしまう。しかしながら、芯線41から接続点42までの内部空間S1の距離が長いと、内部空間S1から外部空間に出て行く磁界が多くなり検出感度は高くなる一方、機械的強度が低下する。このため、芯線41が内部空間S1に突出する位置(内部空間S1において接続点42とは反対側の点)、および、接続点42の位置は、工具の所定強度を保ちつつ一定の検出感度を確保することができる所定の距離(長さ)を保つ(内部空間S1内で芯線41が所定以上の長さを有する)とともに、ICタグ3aの検出面に近くなるようにすると好適である。
Here, when the position of the
図10は、図9のA−A断面図である。芯線41の少なくとも一部をICタグ検出部21aの切り欠き部分の中心からオフセットされた位置に配置することにより、芯線41を流れるショート電流i1により発生する磁界φは、正方形のコイルアンテナ33の四辺のうちの一辺を貫通するので、コイルアンテナ33に発生する電流i2は打ち消し合うことなく、ICタグ3aが起動する。したがって、ICタグ検出部21aはICタグ3aを検出することが可能となる。
FIG. 10 is a cross-sectional view taken along the line AA of FIG. By placing at least a portion of which is offset from the center of the notch portion of the IC
次に、図11〜図14を参照して、ICタグ検出部21の他の構成例のうち、上述したICタグ検出部21aと同様に、上アゴ12の角部分を含む切り欠きにより形成された内部空間S1を有するICタグ検出部21bおよびICタグ検出部21cについて説明する。
Next, with reference to FIGS. 11 to 14, among the other configuration examples of the IC
図11は、他の構成例に係り、モンキーレンチ1を図1に示す状態とは反対の裏返しにし、かつ図1における矢印Bの方向から見たときのICタグ検出部21bの拡大斜視図である。
FIG. 11 is an enlarged perspective view of the IC
ICタグ検出部21bは、上アゴ12の端部の裏面(ICタグ3と近接対向する面;図1では上アゴ12の下面)を、上アゴ12のうち裏面と側面の間の角部分を含みつつ、表面には貫通させない形状で切り欠いて形成される内部空間S1に形成される。この切り欠きは、モンキーレンチ1の強度を損なうことのない、十分小さなものであり、例えば、ICタグ3aの一例として、UHF帯(860〜960MHz)で通信する、日立化成IM5−PK2525型を検出する場合、切り欠きの幅および高さ(検出面からの深さ)を2.5mm程度、切り欠きの奥行き(裏面に沿った長手方向の寸法)を5.0mm程度とすることができる。上述したICタグ検出部21aと同様に、ICタグ検出部21bの内部空間S1には、タグ情報伝送部22の芯線41が突出し、接続点42によって、切り欠き内部の金属部分に、例えば、ハンダ付けなどにより電気的に接続されている。内部空間S1は、例えば、樹脂等の、電気伝導性を有さず、磁界を透過する充填材43により充填される。
The IC
図12に、ICタグ検出部21bを備えたモンキーレンチ1の作業者が、ICタグ検出部21bをICタグ3aに近接させた場合のICタグ検出部21bおよびICタグ3aの拡大図を示す。上述したICタグ検出部21aと同様に、ICタグ検出部21bに位置する芯線41には、短絡状態にみられる大きな電流i1が発生する。したがって、芯線41を流れる高周波電流i1により発生する磁界φは、図12に示されるように、金属部分で囲まれた内部空間S1内の充填材43が充填された部分を透過して、外部空間に広がり、そのうちの少なくとも一部がコイルアンテナ33を貫通することにより、コイルアンテナ33に電流i2が流れる。これにより、ICチップ32が動作するために必要な誘導電圧が発生し、ICチップ32が動作する。したがって、ICタグ検出部21bは、ICタグ3を検出し、情報を授受することができる。また、内部空間S1のうち、芯線41が露出している部分が磁界の発生場所となり、芯線41から接続点42までの内部空間S1の距離が短くなると、磁界の発生が少なくなってしまう。しかしながら、芯線41から接続点42までの内部空間S1の距離が長いと、内部空間S1から外部空間に出て行く磁界が多くなり検出感度は高くなる一方、機械的強度が低下する。このため、芯線41が内部空間S1に突出する位置(内部空間S1において接続点42とは反対側の点)、および、接続点42の位置は、工具の所定強度を保ちつつ一定の検出感度を確保することができる所定の距離(長さ)を保つ(内部空間S1内で芯線41が所定以上の長さを有する)と共に、ICタグ3aの検出面に近くなるようにすると好適である。
FIG. 12 shows an enlarged view of the IC
また、ICタグ検出部21bを備えたモンキーレンチ1を右利きの作業者が使用している状態においては、作業者がICタグ検出部21bを目視することはできないため、作業者がICタグ検出部21bの位置を把握し、ICタグ3に正しく近接させることが困難となる。そこで、作業者が使用している状態で、ICタグ検出部21bの位置を把握することができるような目印をつけると好適である。図13は、ICタグ検出部21bを備えたモンキーレンチ1を右利きの作業者が使用している状態の、上アゴ12先端部分の拡大図である。図13に示されるように、目印61を、ICタグ検出部21bの芯線41の位置から少し離れた内部空間S1上に対応する位置に付ける。作業者が、目印61をICタグ3aの中央部分に合わせることにより、図10を用いて説明したように、芯線41を流れるショート電流i1により発生する磁界φは、正方形のコイルアンテナ33の四辺のうちの一辺を貫通する。したがって、コイルアンテナ33に発生する電流i2が打ち消し合うことを防ぐことができ、ICタグ3の検出を確実に行うことが可能となる。
Further, when a right-handed worker is using the
図14は、図1のモンキーレンチ1を裏返しにし、図1における矢印Bの方向から見たICタグ検出部21cの拡大斜視図である。
FIG. 14 is an enlarged perspective view of the IC
ICタグ検出部21cは、上アゴ12の端部の裏面(ICタグ3と近接対向する面;図1では上アゴ12の下面)を、上アゴ12のうち裏面と側面の間の角部分を含みつつ、表面には貫通させしない形状で、角部分の延伸方向に対して斜め方向に切り欠くことによって生成される内部空間S1に形成される。この切り欠きは、モンキーレンチ1の強度を損なうことのない、十分小さなものである。上述したICタグ検出部21aおよびICタグ検出部21bと同様に、ICタグ検出部21cの内部空間S1には、タグ情報伝送部22の芯線41が突出し、接続点42によって、切り欠き内部の金属部分に、例えば、ハンダ付けなどにより電気的に接続されている。内部空間S1は、例えば、樹脂等の、電気伝導性を有さず、磁界を透過する充填材43により充填される。ICタグ検出部21cの構造は、上アゴ12のうち裏面と側面の間の角部分の延伸方向に対して斜めに切り欠くことで、角部分の切り欠き残部が、芯線41を外部からの衝撃に対して保護する役割を果たすという特徴がある。
The IC
ICタグ検出部21cにおいても、上述したICタグ検出部21aおよびICタグ検出部21bと同様に、芯線41には、短絡状態にみられる大きな電流i1が発生する。したがって、芯線41を流れる高周波電流i1により発生する磁界φは、金属部分で囲まれた内部空間S1内の充填材43が充填された部分を透過して、外部空間に広がり、そのうちの少なくとも一部がコイルアンテナ33を貫通する。それにより、コイルアンテナ33に電流i2が流れる。これにより、ICチップ32が動作するために必要な誘導電圧が発生し、ICチップ32が動作する。したがって、ICタグ検出部21cは、ICタグ3を検出し、情報を授受することができる。また、内部空間S1のうち、芯線41が露出している部分が磁界の発生場所となり、芯線41から接続点42までの距離が短くなると、磁界の発生が少なくなってしまう。しかしながら、芯線41から接続点42までの内部空間S1の距離が長いと、内部空間S1から外部空間に出て行く磁界が多くなり検出感度は高くなる一方、機械的強度が低下する。このため、芯線41が内部空間S1に突出する位置(内部空間S1において接続点42とは反対側の点)、および、接続点42の位置は、工具の所定強度を保ちつつ一定の検出感度を確保することができる所定の距離(長さ)を保つ(内部空間S1内で芯線41が所定以上の長さを有する)とともに、ICタグ3aの検出面に近くなるようにすると好適である。
Also in the IC
また、ICタグ検出部21cを備えたモンキーレンチ1を右利きの作業者が使用している状態においても、作業者がICタグ検出部21cの位置を把握することは困難である。そこで、作業者が使用している状態で、ICタグ検出部21cの位置を把握することができるような目印をつけると好適である。ICタグ検出部21cにおいても、ICタグ検出部21bと同様に、目印61を、平面視したときに、ICタグ検出部21cの芯線41の位置から少し離れた位置に付ける。それにより、図10を用いて説明したように、芯線41を流れるショート電流i1により発生する磁界φは、正方形のコイルアンテナ33の四辺のうちの一辺を貫通する。したがって、コイルアンテナ33に発生する電流i2が打ち消し合うことを防ぐことができ、ICタグ3の検出を確実に行うことが可能となる。
Further, even when a right-handed worker is using the
ICタグ検出部21a〜21cにおいては、その内部空間S1の大きさおよび形状によって、通信感度が異なるとともに、モンキーレンチ1の対応する部分の強度も異なるものとなる。ICタグ検出部21a〜21cにおいて、その通信感度が最もよいのは、ICタグ検出部21cであり、次いで、ICタグ検出部21aの通信感度がよく、ICタグ検出部21bの通信感度が最も低い。しかしながら、モンキーレンチ1の対応する部分の強度は、ICタグ検出部21bを用いた場合が最も強く、次いで、ICタグ検出部21aを用いた場合が強く、ICタグ検出部21cを用いた場合が最も弱い。すなわち、ICタグ検出部21a〜cの内のいずれをモンキーレンチ1に設けるかは、必要とされる通信感度と強度により定められるものとすることができる。
In the IC
次に、図15〜図17を参照して、ICタグ検出部21の他の構成例のうち、上アゴ12の角部分を含まない、いずれかの平面に対する切り欠きにより形成された内部空間S1を有するICタグ検出部21d、および、ICタグ検出部21eについて説明する。
Next, with reference to FIGS. 15 to 17, among the other configuration examples of the IC
図15は、図1のモンキーレンチ1を裏返しにした(モンキーレンチ1を右利きの作業者が使用している状態において裏となる面を上面とした)場合のICタグ検出部21dの拡大斜視図である。
FIG. 15 shows an enlarged perspective view of the IC tag detection unit 21d when the
ICタグ検出部21dは、上アゴ12の一部がICタグ3の検出面を含んで貫通するよう(穴を形成するように)に円筒状に切り欠くことによって生成される内部空間S1に形成される。この切り欠きは、モンキーレンチ1の強度を損なうことのない、十分小さなものであり、例えば、切り欠きの円筒の径を5.0mm程度とすることができる。上述したICタグ検出部21a〜cと同様に、ICタグ検出部21dの内部空間S1には、タグ情報伝送部22の芯線41が突出し、接続点42によって、切り欠き内部の金属部分に、例えば、ハンダ付けなどにより電気的に接続されている。内部空間S1は、例えば、樹脂等の、電気伝導性を有さず、磁界を透過する充填材43により充填される。充填材43がその周辺の金属部分とは異なる色である場合、右利きの作業者が図1のモンキーレンチを用いて作業を行う状態で、作業者が、ICタグ検出部21dの位置を確認しやすいため、ICタグ3にICタグ検出部21dを容易に近接させることができる。
The IC tag detection unit 21d is formed in the internal space S1 created by cutting out a part of the
ICタグ検出部21dにおいても、ICタグ検出部21a〜21cと同様に、芯線41には、短絡状態にみられる大きな電流i1が発生する。したがって、芯線41を流れる高周波電流i1により発生する磁界φは、金属部分で囲まれた内部空間S1内の充填材43が充填された部分を透過して、外部空間に広がり、そのうちの少なくとも一部がコイルアンテナ33を貫通する。それにより、コイルアンテナ33に電流i2が流れ、ICチップ32が動作するために必要な誘導電圧が発生し、ICチップ32が動作する。したがって、ICタグ検出部21dは、ICタグ3を検出し、情報を授受することができる。
Also in the IC tag detecting section 21d, like the IC
また、ICタグ検出部21dの充填材43が不透明であった場合、芯線41と接続点42は作業者から確認することはできず、また、充填材43に透明な材質を用いたとしても、作業者から確認が容易な内部空間S1を形成する切り欠き部分の体積に対して、芯線41と接続点42は非常に小さい。このため、ICタグ検出部21dをICタグ3に接近させる場合、作業者には、ICタグ3の中心に対して、ICタグ検出部21dを平面視した場合の貫通孔部分の円中心を合わせようとすると考えられる。
Further, when the
ここで、芯線41の位置が、ICタグ3のICチップ32の真上に位置した場合、上述したように、磁界φによりコイルアンテナ33に発生する電流が、ICチップ32を挟んだ両側において打ち消し合ってしまうため、ICタグ検出部21dはICタグ3を検出することができない。これを防ぐため、芯線41の少なくとも一部は、上述した場合と同様に、ICタグ検出部21dの貫通孔を平面視した場合の円中心を通る中心線C1から所定の距離だけオフセットされた位置C3に配置されるようにすると好適である。
Here, when the position of the
また、内部空間S1を形成するための切り欠きは、円筒状でなくても構わなく、モンキーレンチ1の強度を損なうことのない大きさであれば、いずれの形状であってもよいことは言うまでもない。
Further, it goes without saying that the notch for forming the internal space S1 does not have to be cylindrical and may have any shape as long as it does not impair the strength of the
次に、図16は、図1のモンキーレンチ1を裏返しにした(モンキーレンチ1を右利きの作業者が使用している状態において裏となる面を上面とした)場合の、ICタグ検出部21eの拡大斜視図である。
Next, FIG. 16 shows an IC tag detection unit when the
ICタグ検出部21eは、上アゴ12のいずれかの平面(図16においては、図1のモンキーレンチ1を裏返しにした場合に上側になる平面)を、貫通させることなく、くり貫くように(へこみを形成するように)切り欠くことによって生成される内部空間S1に形成される。この切り欠きは、モンキーレンチ1の強度を損なうことのない、十分小さなものであり、例えば、切り欠きの径を5.0mm程度、高さ(検出面からの深さ)を3.0mm程度とすることができる。上述したICタグ検出部21a〜21dと同様に、ICタグ検出部21eの内部空間S1には、タグ情報伝送部22の芯線41が突出し、接続点42によって、切り欠き内部の金属部分に、例えば、ハンダ付けなどにより電気的に接続されている。内部空間S1は、例えば、樹脂等の、電気伝導性を有さず、磁界を透過する充填材43により充填される。なお、芯線41の少なくとも1部は、上述した場合と同様に、内部空間S1の中心線C1から所定の距離だけオフセットされた位置C3に配置されることが好適である。
The IC
ICタグ検出部21eにおいても、ICタグ検出部21a〜21dと同様に、芯線41には、短絡状態にみられる大きな電流i1が発生する。したがって、芯線41を流れる高周波電流i1により発生する磁界φは、図17に示されるように、金属部分で囲まれた内部空間S1内の充填材43が充填された部分を透過して、外部空間に広がる。図17に示されるように、ICタグ検出部21eの内部空間S1はモンキーレンチ1を貫通していない。そのため、くり貫かれた開口部分の方向にのみ、磁界φが広がる。そして、その磁界φのうちの少なくとも一部がコイルアンテナ33を貫通することにより、コイルアンテナ33に電流i2が流れ、ICチップ32が動作するために必要な誘導電圧が発生し、ICチップ32が動作する。したがって、ICタグ検出部21eは、ICタグ3を検出し、情報を授受することができる。
Also in the IC
また、ICタグ検出部21eを備えたモンキーレンチ1を右利きの作業者が使用している状態においては、作業者がICタグ検出部21eの位置を把握することは困難である。そこで、作業者が使用している状態で、ICタグ検出部21eの位置を把握することができるような目印をつけると好適である。図18に示されるように、ICタグ検出部21eにおいても、ICタグ検出部21bと同様に、目印61を、ICタグ検出部21cの芯線41の位置から少し離れた内部空間S1上に対応する位置に付けることにより、図10を用いて説明したように、ICタグ3の検出を確実に行うことが可能となる。
Further, when a right-handed worker is using the
ICタグ検出部21dとICタグ検出部21eにおいては、その内部空間S1の大きさおよび形状によって、通信感度が異なるとともに、モンキーレンチ1の対応する部分の強度も異なるものとなる。ICタグ検出部21dとICタグ検出部21eとを比較した場合、その通信感度は、ICタグ検出部21dの形状の方が優れている。しかしながら、モンキーレンチ1の対応する部分の強度は、ICタグ検出部21eの形状を用いた方が優れている。すなわち、ICタグ検出部21dとICタグ検出部21eのいずれをモンキーレンチ1に設けるかは、必要とされる通信感度と強度により定められるものとすることができる。
In the IC tag detection unit 21d and the IC
なお、ICタグ検出部21a〜21eは、モンキーレンチ1に複数備えられていてもよいことは言うまでもない。
Needless to say, a plurality of IC
次に、図19〜図23を参照して、タグ情報伝送部22について説明する。
Next, the tag
図19〜図21を参照して、タグ情報伝送部22の第1の例であるタグ情報伝送部22aについて説明する。
The tag
図19は、図1における矢印Aの方向から見たモンキーレンチ1の上アゴ12の拡大斜視図である。モンキーレンチ1の上アゴ12から把持部13にかけての側面には、芯線41よりも太い溝65が形成されている。タグ情報伝送部22aにおいて、芯線41は、溝65内部であり、かつ、溝65の金属部分に接触しないように、リーダ/ライタ通信部23(図1参照)まで伸びている。
FIG. 19 is an enlarged perspective view of the
タグ情報伝送部22aにおいては、図19に示されるように、工具の構造上、芯線41をICタグ検出部21の内部空間S1に突出させるために必要な部分のみ、金属内部をトンネル状に貫通して配線され、それ以外の多くの部分においては、モンキーレンチ1の上アゴ12から把持部13にかけての側面に沿って形成された溝65内部を配線されるように構成されている。モンキーレンチ1の側面に形成された溝65部分においては、図20に示されるように、芯線41が溝65の金属部分に接触しないように、樹脂等の絶縁物70が充填されている。(この構造を半同軸ケーブルと呼ぶこともある)また、その溝65の絶縁物がモンキーレンチ1の表面に露出している部分を、図21に示されるように、例えば、アルミなどの金属薄膜71で覆うことにより、すなわち、半同軸ケーブルを金属薄膜71で塞ぐことでよく知られた同軸ケーブルと同等の形状を形成することにより、タグ情報伝送部22aに対して外部からの電波雑音を遮断することができるようにすると好適である。
In the tag
次に、図22を参照して、タグ情報伝送部22の第2の例であるタグ情報伝送部22bについて説明する。
Next, the tag
タグ情報伝送部22bは、同軸ケーブルであり、芯線41が絶縁被覆81により覆われ、その外部が、外部導体82により覆われている。タグ情報伝送部22bがタグ情報伝送部22aと同様にモンキーレンチ1の側面に形成された溝65に配置される場合、溝65の金属部分に外部導体82が接することにより、アースを取ることが可能となるが、必要に応じて、外部導体82をモンキーレンチ1の金属部分のいずれかの位置に接続するようにしてもよい。
The tag
次に、図23を参照して、タグ情報伝送部22の第3の例であるタグ情報伝送部22cについて説明する。
Next, the tag
タグ情報伝送部22cは、導線を絶縁被覆で覆ったケーブルが2本縒り合されたツイストペアケーブルであり、その一方が、芯線41を絶縁被覆81で覆ったものであり、他方の導線83は、モンキーレンチ1の金属部分のいずれかの位置に接続される。タグ情報伝送部22cも、タグ情報伝送部22aおよびタグ情報伝送部22bと同様に、モンキーレンチ1の側面に形成された溝65に配置される。
The tag
なお、タグ情報伝送部22cには、上述した以外にも、例えば、ストリップ経路(ストリップラインとも称される)や、リボンケーブルなどの、各種平行ケーブルを利用することが可能である。
In addition to the above, various parallel cables such as a strip path (also referred to as a strip line) and a ribbon cable can be used for the tag
なお、ここでは、モンキーレンチ1の上アゴ12から把持部13にかけての側面には、芯線41よりも太い溝65が形成され、その溝65内に、タグ情報伝送部22の多くの部分が配線されるものとして説明した。しかしながら、溝65の位置は、側面でなくともよく、モンキーレンチ1のいずれかの外周面に設けられていればよい。また、タグ情報伝送部22は、その全体、または、多くの部分が、モンキーレンチ1の上アゴ12から把持部13にかけての金属部分内部に形成されたトンネル状の貫通孔内を配線されるものとしてもよいし、その全体または多くの部分が、モンキーレンチ1の上アゴ12から把持部13にかけての外部側面に沿って配線されるものとしてもよい。
Here, a
なお、モンキーレンチ1は、多くの場合、その全体が金属製である。金属製の工具は、鍛造プレス形成により製造されることが多く、その側面または外周面に溝65を形成することは容易である。したがって、モンキーレンチ1の上アゴ12から把持部13にかけての側面に芯線41よりも太い溝65を形成し、その溝65内にタグ情報伝送部22を配置する形状は、タグ情報伝送部22の一部または全体を、モンキーレンチ1の上アゴ12から把持部13にかけての金属部分内部を通る場合と比較して、容易に製造可能であり、また、モンキーレンチ1の上アゴ12から把持部13にかけての外部側面に沿って配置される場合と比較して、利用者の作業の妨げにならないため好適である。
In many cases, the
なお、ICタグ検出部21がモンキーレンチ1に複数備えられている場合、タグ情報伝送部22もICタグ検出部21と同数備えられることは言うまでもない。
When a plurality of IC
次に、図24〜図34を参照して、リーダ/ライタ通信部23の詳細について説明する。
Next, the details of the reader /
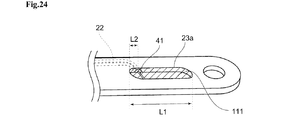
図24〜図27を参照して、リーダ/ライタ通信部23の第1の例であるリーダ/ライタ通信部23aについて説明する。
The reader /
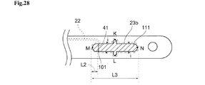
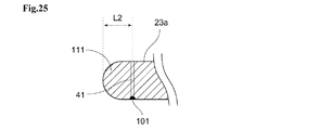
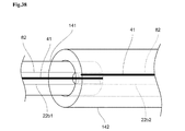
リーダ/ライタ通信部23aは、スロットアンテナ(スリットアンテナと称される場合もある)であり、モンキーレンチ1の金属製の把持部13に設けられた、通信波長の半波長の長さL1を有する細長いスリット状の貫通孔である。すなわち、この貫通孔は、スリットを形成する金属表面の内周を一巡する内周長が共振状態になるように形成されるのが好ましく、リーダ/ライタ通信部23aは、その内周長が通信波長とほぼ同じであるため、半波長共振する。リーダ/ライタ通信部23aにおいては、スリットのいずれかの端部から距離L2だけ離れた位置に、ICタグ検出部21およびタグ情報伝送部22の芯線41が突出し、芯線41の端部が、スリット内の金属部分の接続点101に、例えば、ハンダ付けなどにより電気的に接続されている。すなわち、芯線41の一端は接続点42に接続され、芯線41の他端は接続点101に接続されている。リーダ/ライタ端末4とリーダ/ライタ通信部23aとが通信するとき、リーダ/ライタ通信部23aのスリットは半波長共振するが、このとき、M点から距離L2だけ離れた芯線41とその接続点101は、スロットアンテナの給電部となる。そして、タグ情報伝送部22に高周波電流が供給されるとともに、スリット内周の金属部に高周波の電流が流れる。
The reader /
なお、リーダ/ライタ通信部23aのスリット長L1は通信波長のほぼ半波長と厳密に同じではなくても、同程度の長さであればよい。すなわち、リーダ/ライタ通信部23aのスリットの内周長も、通信波長と厳密に同じではなくても、同程度の長さであればよい。同程度の寸法には、多少の寸法的なばらつきが含まれるが、リーダ/ライタ通信部23aがスロットアンテナとして十分機能することができる範囲内であればよい。
The slit length L1 of the reader /
通信状態のリーダ/ライタ通信部23aにおいて、図26のM点およびN点では、半波長共振による定在波の電圧値は0である。そして、図26に示される方向で高周波電流iが流れている場合、K点の電圧値が最小(マイナスの値)となるときに、L点の電圧値は最大(プラスの値)となる。そして、高周波電流iの向きが逆転した時、K点の電圧値は最大(プラスの値)となり、L点の電圧値は最小(マイナスの値)となる。これにより磁界φが発生し、リーダ/ライタ端末4との情報の授受が可能となる。
In the reader /
リーダ/ライタ通信部23aとリーダ/ライタ端末4とは、例えば、UHF帯の周波数920MHzの電波を用いて無線で通信することが可能である。この場合、リーダ/ライタ通信部23aのスリット長L1は16cmとなる。また、スリット幅は、例えば、通信波長の1/10程度であると好適であるが、把持部13に求められる強度等によりこの限りではなく、スリット長L1より充分小さい値、例えば、5mm〜1cm程度で、十分狭いことが望ましい。しかしながら、スリット幅が極端に細い場合、磁界の発生量が減少するため、通信精度が劣化してしまう恐れがある。スリット幅は工具の設計事情で決めることが望ましい。
The reader /
また、図25の拡大図に示されるように、給電部となる芯線41とスリット端部との距離L2は、電磁気学的に、リーダ/ライタ端末4によるICタグ3の検出感度が最大となるように調整整合することが望ましい。L2は、例えば、スリット幅と同程度としてもよい。
Further, as shown in the enlarged view of FIG. 25, the distance L2 between the
また、リーダ/ライタ通信部23aのスリット部に、ゴミ等が入り込むと、最悪の場合、図26を用いて説明した、スリット内周を流れる高周波電流がショートしてしまい、それによって通信精度が劣化してしまう虞がある。かかるショートを防止するため、例えば、樹脂等の、電気伝導性を有さず、磁界を透過する材質による充填材111を充填すると好適である。
Further, if dust or the like enters the slit portion of the reader /
なお、不透明な充填材111を充填した場合、芯線41および接続点101は外部空間から見えなくなるが、その位置などを説明するため、各図面においては、充填材111を透過して芯線41および接続点101を図示し、説明するものとする。
When the
また、上述したように、リーダ/ライタ通信部23aにおいては、図26を用いて説明したK点およびL点における電圧の絶対値は最大となるので、モンキーレンチ1の把持部13の対応する部分を作業者が把持することによって、作業者の手により、スリット内周を流れる高周波電流がショートしてしまうことを防止することが望ましい。したがって、図27に示されるように、例えば、樹脂等の、電気伝導性を有さず、磁界を透過する材質により構成されたグリップ112を設けるようにすると、スロットアンテナの感度も高く、好適である。なお、グリップ112は、スリットの全体を覆うように構成することもできる。グリップ112の材質には、媒質定数が1に近い物質を選定すると好適である。このグリップ112は、リーダ/ライタ通信部23aのスリット部に、ゴミ等が入り込むことを防いで、スリット内周を流れる高周波電流がショートしてしまうことなどによって通信精度が劣化してしまうことを防止することができるとともに、把持部13の滑り止めにもなり、作業者の使用感の向上にもつながる。
Further, as described above, in the reader /
また、モンキーレンチ1の把持部13の大きさや必要とされる強度によっては、通信波長の半波長の長さL1を有するスリット状の貫通孔を設けることが困難な場合もある。以下に、そのような場合についての構成例を説明する。
Further, depending on the size of the
図28を参照して、リーダ/ライタ通信部23の第2の例であるリーダ/ライタ通信部23bについて説明する。また、図29を参照して、リーダ/ライタ通信部23の第3の例であるリーダ/ライタ通信部23cについて説明する。
The reader /
図28に示されるリーダ/ライタ通信部23b、および、図29に示されるリーダ/ライタ通信部23cは、リーダ/ライタ通信部23aと同様のスロットアンテナであるが、モンキーレンチ1の金属製の把持部13に設けられる貫通孔は直線状のスリットではなく、貫通孔の側面の少なくとも一部に凹凸を有する形状であって、そのスリットを形成する金属表面の内周を一巡する内周長が、通信波長の半波長の長さL1の2倍(換言すれば、通信波長)と同程度の長さを有するため、スロットアンテナと同様の半波長共振の条件を維持することが可能となる。
The reader /
図28に示されるリーダ/ライタ通信部23bは、把持部13に設けられる貫通孔を、十字型としている。この場合、図24を用いて説明したリーダ/ライタ通信部23aに対して、通信感度が劣ってしまうが、把持部13の長さ方向の端点Mと端点Nとの距離を、スリット長L1よりも短いL3とすることが可能である。リーダ/ライタ通信部23bは、いずれかの端部(長手方向の端部)から距離L2だけ離れた位置に、ICタグ検出部21およびタグ情報伝送部22の芯線41が突出し、芯線41の端部が、スリット内の金属部分の接続点101に、例えば、ハンダ付けなどにより電気的に接続されている。
The reader /
リーダ/ライタ端末4とリーダ/ライタ通信部23bとが通信するとき、芯線41は、スロットアンテナの給電部となり、タグ情報伝送部22に高周波電流が供給されるとともに、スリット内周の金属部に高周波の電流が流れる。通信状態のリーダ/ライタ通信部23bにおいて、図28のM点およびN点では、電圧値は0である。そして、図28に示される方向で高周波電流iが流れている場合、K点の電圧値が最小(マイナスの値)となるときに、L点の電圧値は最大(プラスの値)となる。そして、高周波電流iの向きが逆転した時、K点の電圧値は最大(プラスの値)となり、L点の電圧値は最小(マイナスの値)となる。
When the reader / writer terminal 4 and the reader /
リーダ/ライタ通信部23bとリーダ/ライタ端末4とは、例えば、周波数920MHzの電波を用いて無線で通信することが可能である。この場合、リーダ/ライタ通信部23bの十字型スリットの内周を一巡する長さは32cmとなり、リーダ/ライタ通信部23aのスリットの内周を一巡する長さと等しい。
The reader /
なお、リーダ/ライタ通信部23bのスリットの内周長は、通信波長と厳密に同じではなくても、同程度の長さであればよい。同程度の寸法には、多少の寸法的なばらつきが含まれるが、リーダ/ライタ通信部23bがスロットアンテナとして十分機能することができる範囲内であればよい。
The inner peripheral length of the slit of the reader /
また、リーダ/ライタ通信部23bにおいても、そのスリット部に、ゴミ等が入り込まないように、例えば、樹脂等の、電気伝導性を有さず、磁界を透過する充填材111により、スリット内部を充填すると好適である。さらに、モンキーレンチ1を作業者が把持することによって、作業者の手により高周波電流がショートしてしまうことがないように、図27を用いて説明した場合と同様のグリップ112を設けると好適である。
Further, also in the reader /
また、モンキーレンチ1の把持部13の大きさや必要とされる強度によっては、図28を用いて説明したリーダ/ライタ通信部23bよりも、更に、短いスリット長とすることを求められる場合もある。
Further, depending on the size of the
図29に示されるリーダ/ライタ通信部23cは、把持部13に設けられる貫通孔の凹部分を2か所としている(キの字型としている)。それにより、図28を用いて説明したリーダ/ライタ通信部23bに対して、さらに通信感度が劣ってしまうが、把持部13の長さ方向の端点Mと端点Nとの距離を、スリット長L3よりも更に短いL4とすることができる。図29に示されるリーダ/ライタ通信部23cは、M点またはN点のいずれかの端部(長手方向の端部)から距離L2だけ離れた位置に、ICタグ検出部21およびタグ情報伝送部22の芯線41が突出し、芯線41の端部が、スリット内の金属部分の接続点101に、例えば、ハンダ付けなどにより電気的に接続されている。
The reader /
リーダ/ライタ端末4とリーダ/ライタ通信部23とが通信するとき、M点から距離L2だけ離れた芯線41とその接続点101は、スロットアンテナの給電部となり、タグ情報伝送部22に高周波電流が供給されるとともに、スリット内周の金属部に高周波の電流が流れる。通信状態のリーダ/ライタ通信部23cにおいて、図29のM点およびN点では、電圧値は0である。そして、図29に示される方向で高周波電流iが流れている場合、K点の電圧値が最小(マイナスの値)となるときに、L点の電圧値は最大(プラスの値)となる。そして、高周波電流iの向きが逆転した時、K点の電圧値は最大(プラスの値)となり、L点の電圧値は最小(マイナスの値)となる。
When the reader / writer terminal 4 and the reader /
リーダ/ライタ通信部23cとリーダ/ライタ端末4とは、例えば、周波数920MHzの電波を用いて無線で通信することが可能である。この場合も、リーダ/ライタ通信部23cのスリットの内周を一巡する長さは32cmとなる。
The reader /
なお、リーダ/ライタ通信部23cのスリットの内周長は、通信波長と厳密に同じではなくても、同程度の長さであればよい。同程度の寸法には、多少の寸法的なばらつきが含まれるが、リーダ/ライタ通信部23cがスロットアンテナとして十分機能することができる範囲内であればよい。
The inner peripheral length of the slit of the reader /
また、リーダ/ライタ通信部23cにおいても、そのスリット部に、ゴミ等が入り込まないように、例えば、樹脂等の、電気伝導性を有さず、磁界を透過する充填材111により、スリット内部を充填すると好適である。さらに、モンキーレンチ1を作業者が把持することによって、作業者の手により高周波電流がショートしてしまうことがないように、図27を用いて説明した場合と同様のグリップ112を設けると好適である。
Further, also in the reader /
また、モンキーレンチ1の把持部13の大きさや必要とされる強度によっては、上述したリーダ/ライタ通信部23a〜cよりも、更に、短いスリット長とすることを求められる場合もある。
Further, depending on the size of the
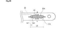
次に、図30を参照して、リーダ/ライタ通信部23の第4の例であるリーダ/ライタ通信部23dについて説明する。
Next, the reader /
図30に示されるリーダ/ライタ通信部23dは、図29を用いて説明したリーダ/ライタ通信部23cと同様に、把持部13に設けられる貫通孔の凹部分を2か所としている。これとともに、スリットの内部に、媒質定数が真空や空気と比較して高い値の絶縁物の充填材115を充填することにより、把持部13の長さ方向の端点Mと端点Nとの距離を、図29を用いて説明したリーダ/ライタ通信部23cのスリット長L4よりも更に短いL5としている。図30に示されるリーダ/ライタ通信部23dにおいても、いずれかの端部(長手方向の端部)から距離L2だけ離れた位置に、ICタグ検出部21およびタグ情報伝送部22の芯線41が突出し、芯線41の端部が、スリット内の金属部分の接続点101に、例えば、ハンダ付けなどにより電気的に接続されている。
The reader /
通信状態のリーダ/ライタ通信部23dにおいても、図30のM点およびN点では、電圧値は0である。そして、図30に示される方向で高周波電流iが流れている場合、K点の電圧値が最小(マイナスの値)となるときに、L点の電圧値は最大(プラスの値)となる。そして、高周波電流iの向きが逆転した時、K点の電圧値は最大(プラスの値)となり、L点の電圧値は最小(マイナスの値)となる。
Even in the reader /
媒質定数は、比誘電率と比透磁率との積で表される。真空中の比誘電率εは1.0であり、比透磁率μは1.0であるため、真空中の媒質定数は1.0となる。また、空気中の媒質定数も、ほぼ1.0である。充填材115の媒質定数は、その材質の比誘電率と比透磁率とが、真空に対してそれぞれ何倍であるかにより求められる。すなわち、充填材115の材質の比誘電率が真空のn倍であり、比透磁率が真空のm倍である場合、充填材115の媒質定数は、mnεμで表される。したがって、スリットの内部が充填材115で充填されている場合の波長には、次の数式(3)で示される値が積算される。
The medium constant is represented by the product of the relative permittivity and the relative magnetic permeability. Since the relative permittivity ε in vacuum is 1.0 and the relative permeability μ is 1.0, the medium constant in vacuum is 1.0. The medium constant in air is also approximately 1.0. The medium constant of the
数式(3)
充填材115の材質は、抵抗ロスなどによりアンテナ感度を下げることのない物質が望ましく、例えば、空気を多く含むウレタン材やフッ素樹脂などの他に、塩化樹脂や高分子樹脂などを用いることができる。これらの樹脂は、nが2〜5、mがほぼ1であり、例えば、m×nが4である物質を充填材115として用いた場合、スリットの内周を一巡する長さは、リーダ/ライタ通信部23a〜cの半分でよい。例えば、リーダ/ライタ通信部23dとリーダ/ライタ端末4とが、UHF帯の周波数920MHzの電波を用いて通信した場合、リーダ/ライタ通信部23dのスリットの内周を一巡する長さは、16cmとなる。
The material of the
なお、リーダ/ライタ通信部23aまたはリーダ/ライタ通信部23bと同様の形状のスリットに対して、スリット内を充填材115により充填することにより把持部13の長さ方向のスリット長を短くすることができるのは言うまでもない。リーダ/ライタ通信部23aと同様の形状のスリットに対して、スリット内を、m×nが4である物質の充填材115により充填した場合、そのスロット長は8cmとなり、リーダ/ライタ通信部23bと同様の形状のスリットに対して、スリット内を、m×nが4である物質の充填材115により充填した場合、そのスリットの内周を一巡する長さは、16cmとなる。
For a slit having the same shape as the reader /
また、リーダ/ライタ通信部23dにおいても、モンキーレンチ1を作業者が把持することによって、作業者の手により高周波電流がショートしてしまうことがないように、図27を用いて説明した場合と同様のグリップ112を設けると好適である。
Further, also in the reader /
以上説明したリーダ/ライタ通信部23a〜23dにおいては、スリットのいずれか一端に芯線41を突出させ、接続部101を用いてスリット壁面の金属部分に短絡させることにより給電部を一か所構成し、リーダ/ライタ端末4と通信するものとして説明した。しかしながら、リーダ/ライタ通信部23a〜23dは、そのスリットの両端(M点側とN点側)において、給電部を形成することが可能である。このような構成にした場合、一つのスリットで2つの給電部を構成することが可能となり、2つのICタグ検出部21を1つのリーダ/ライタ通信部23に集約して接続することが可能である。
In the reader /
次に、図31〜図33を参照して、リーダ/ライタ通信部23の第5の例であるリーダ/ライタ通信部23e、および、リーダ/ライタ通信部23の第6の例であるリーダ/ライタ通信部23fについて説明する。
Next, with reference to FIGS. 31 to 33, the reader /
モンキーレンチ1等の工具は、例えば、工具の落下防止や、工具を吊り下げて収納するためなどに、その一部に紐(ストラップ)がつけられる場合がある。そこで、図31に示されるように、モンキーレンチ1にあらかじめ紐121を備え付け、タグ情報伝送部22を、その紐121の内部まで伸ばし、リーダ/ライタ通信部23e、および、リーダ/ライタ通信部23fを、紐121内に設けるものとする。紐121は、電気伝導性を有さず、磁界を透過させることができる素材で構成される。
A string (strap) may be attached to a part of a tool such as a
図32を用いてリーダ/ライタ通信部23eについて説明する。リーダ/ライタ通信部23eは、ダイポールアンテナであり、紐121内のタグ情報伝送部22の、例えば、図22の芯線41および外部導体82、または、図23の芯線41および導線83の先端部分から、それぞれ連続的に、線状、または、細長い板状で、その長さがそれぞれ通信波長のλ/4となる伝導体を両方向に伸ばしたものである。
The reader /
図33を参照して、リーダ/ライタ通信部23fについて説明する。リーダ/ライタ通信部23fは、モノポールアンテナであり、紐121内のタグ情報伝送部22の先端部分の芯線41のみを、線状、または、細長い板状で、その長さが通信波長のλ/4となる伝導体を一方向に伸ばしたものである。
The reader /
このように、リーダ/ライタ通信部23がリーダ/ライタ端末4と無線で通信を行う場合、リーダ/ライタ端末4に対してモンキーレンチ1を独立して使用することができるため、作業性を向上させることが可能となる。
In this way, when the reader /
また、リーダ/ライタ通信部23は、有線による通信を行うものであってもよいことは言うまでもない。図34を用いて、リーダ/ライタ通信部23の第7の例であるリーダ/ライタ通信部23gについて説明する。図34に示されるように、タグ情報伝送部22の端部と、同軸ケーブルやツイストペアケーブル等のケーブルにより構成されるリーダライタ通信部23gの端部を電気的に接続し、リーダ/ライタ端末4の所定のポートに接続することにより、情報を授受するものとしてもよい。リーダ/ライタ通信部23gを用いて、有線でリーダ/ライタ端末4と通信を行う場合、無線で通信を行う場合と比較して、通信を安定して行うことが可能となる。
Needless to say, the reader /
なお、ICタグ検出部21およびタグ情報伝送部22がモンキーレンチ1に複数備えられている場合、リーダ/ライタ通信部23もICタグ検出部21と同数備えられることは言うまでもない。また、ICタグ検出部21およびタグ情報伝送部22がモンキーレンチ1に複数備えられている場合、少なくとも1つのリーダ/ライタ通信部23のスリットの両端(M点側とN点側)に給電部を形成することにより、2つのICタグ検出部21を1つのリーダ/ライタ通信部23に集約して接続する構成とすると好適である。
When a plurality of IC
このような構成を有すモンキーレンチ1を用いることにより、ICタグ3を検出する動作と、モンキーレンチ1によりボルト2を取り付ける、または、取り外す動作との間に、モンキーレンチ1とリーダ/ライタ端末4とを持ち替える必要がなくなるため、作業が煩雑になることなく、モンキーレンチ1により取り付けられるまたは取り外されるボルト2を管理することが可能となる。
By using the
以上の説明においては、モンキーレンチ1の上アゴ12が金属製であるものとして説明したが、例えば、他の部分が金属製であってもよく、その場合は、金属製である部分にICタグ検出部21を設けるものとする。また、以上の説明においては、モンキーレンチ1の把持部13が金属製であるものとして説明したが、例えば、他の部分が金属製であってもよく、その場合は、金属製である部分にリーダライタ通信部23を設けるものとする。
In the above description, the
また、以上においては、工具に対応するものとして、モンキーレンチを例として説明したが、本発明は、モンキーレンチ以外にも、例えば、メガネレンチ、トルクレンチ、ドライバー、ボックスドライバー、ペンチ、ニッパー、ワイヤーストリッパー、その他の、少なくとも一部に金属を有する工具に適用することができる。 Further, in the above, the monkey wrench has been described as an example as corresponding to the tool, but the present invention includes, for example, a box wrench, a torque wrench, a screwdriver, a box driver, pliers, a nipper, and a wire in addition to the monkey wrench. It can be applied to strippers and other tools that have metal at least in part.
例えば、ワイヤーハーネスの被覆の先端部分を削除するワイヤーストリッパーは、対象となるワイヤーハーネスの太さや被覆の材質によって、使用するものが異なる場合がある。このような場合に、ワイヤーハーネスが撒きつけられたリール等に、ワイヤーハーネスの長さや被覆の材質などを示す情報が記録されたICタグ3を取り付け、ワイヤーストリッパーに、上述したICタグ検出部21、タグ情報伝送部22、および、リーダ/ライタ通信部23を設ける。そして、作業前に、ICタグ3に記録された情報を読み取り、使用するワイヤーストリッパーの種類と適合しているか否かを判断することができるようにした場合、ワイヤーハーネスの太さや被覆の材質に合致しないワイヤーストリッパーで被覆を削除してしまい、被覆が削除しきれずに残ってしまったり、芯線部分を削ってしまうことを防止することが可能となる。
For example, the wire stripper that removes the tip portion of the coating of the wire harness may be used differently depending on the thickness of the target wire harness and the material of the coating. In such a case, an IC tag 3 in which information indicating the length of the wire harness and the material of the coating is recorded is attached to a reel or the like on which the wire harness is sprinkled, and the IC
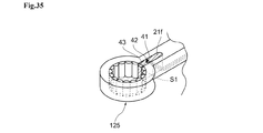
また、例えば、メガネレンチなど、工具の構成上、金属部分で囲まれた貫通孔をあらかじめ有している工具に対しては、その貫通孔の内側に対して、更に切り欠きを加えることにより、内部空間S1を形成するものとしてもよい。そこで、ICタグ検出部21を備える他の工具として、図35のメガネレンチ125について説明する。メガネレンチ125は工具に対応する。図35は、メガネレンチ125を裏返しにした(メガネレンチ125を右利きの作業者が使用している状態において裏となる面を上面とした)場合のICタグ検出部21fの拡大斜視図である。
Further, for a tool such as a box wrench that has a through hole surrounded by a metal portion in advance due to the structure of the tool, a notch is further added to the inside of the through hole. It may form the internal space S1. Therefore, as another tool including the IC
メガネレンチ125は、ボルト等を把持する部分として円筒に近い形状の貫通孔をあらかじめ有しており、その貫通孔とつながるように、更に細い切り欠き部分が内部空間S1として形成される。すなわち、メガネレンチ125には、全体として、鍵穴のような形状の貫通孔が形成される。そして、その内部空間S1を利用してICタグ検出部21fが形成される。内部空間S1を構成する切り欠きは、メガネレンチ125の強度を損なうことのない、十分小さなものである。上述したICタグ検出部21a〜eと同様に、ICタグ検出部21fの内部空間S1には、タグ情報伝送部22の芯線41が突出し、接続点42によって、切り欠き内部の金属部分に、例えば、ハンダ付けなどにより電気的に接続されている。内部空間S1は、例えば、樹脂等の、電気伝導性を有さず、磁界を透過する充填材43により充填される。充填材43がその周辺の金属部分とは異なる色である場合、右利きの作業者がメガネレンチ125を用いて作業を行う状態で、作業者が、ICタグ検出部21fの位置を確認しやすい。そのため、ICタグ3にICタグ検出部21fを容易に近接させることができる。
The
ICタグ検出部21fにおいても、ICタグ検出部21a〜21eと同様に、芯線41には、短絡状態にみられる大きな電流i1が発生する。したがって、芯線41を流れる高周波電流i1により発生する磁界φは、金属部分で囲まれた内部空間S1内の充填材43が充填された部分を透過して、外部空間に広がり、そのうちの少なくとも一部がコイルアンテナ33を貫通する。それにより、コイルアンテナ33に電流i2が流れ、ICチップ32が動作するために必要な誘導電圧が発生し、ICチップ32が動作する。したがって、ICタグ検出部21fは、ICタグ3を検出し、情報を授受することができる。
Also in the IC
また、ICタグ検出部21fにおいては、ボルト等を把持する部分が金属により構成されていた場合、内部空間S1に続いて、ループのように1周する金属部分が存在することになる。内部空間S1に続く金属ループに流れる電流により、ICタグ検出部21fの通信感度は助長される。この金属ループのループ長がICタグ3との通信に用いられる波長の1波長分となるとき、ICタグ検出部21fの感度は最大となるが、ループ長がこれとは異なる場合であっても、ICタグ検出部21fの通信感度は助長される。
Further, in the IC
また、内部空間S1のうち、芯線41が露出している部分が磁界の発生場所となり、芯線41から接続点42までの内部空間S1の距離が短くなると、磁界の発生が少なくなってしまう。しかしながら、芯線41から接続点42までの内部空間S1の距離が長いと、内部空間S1から外部空間に出て行く磁界が多くなり検出感度は高くなる一方、機械的強度が低下する。このため、芯線41が内部空間S1に突出する位置(内部空間S1において接続点42とは反対側の点)、および、接続点42の位置は、工具の所定強度を保ちつつ一定の検出感度を確保することができる所定の距離(長さ)を保つ(内部空間S1内で芯線41が所定以上の長さを有する)と共に、ICタグ3の検出面に近くなるようにすると好適である。
Further, in the internal space S1, the portion where the
また、ICタグ検出部21fの充填材43が不透明であった場合、芯線41と接続点42は作業者から確認することはできず、また、充填材43に透明な材質を用いたとしても、作業者から確認が容易な内部空間S1を形成する切り欠き部分の体積に対して、芯線41と接続点42は非常に小さい。そのため、ICタグ検出部21fをICタグ3に接近させる場合、作業者には、ICタグ3の中心に対して、ICタグ検出部21fの内部空間S1の中心を合わせようとすると考えられる。ここで、芯線41の位置が、ICタグ3のICチップ32の真上に位置した場合、上述したように、磁界φによりコイルアンテナ33に発生する電流が、ICチップ32を挟んだ両側において打ち消し合ってしまうため、ICタグ検出部21fはICタグ3を検出することができない。これを防ぐため、芯線41の少なくとも一部は、ICタグ検出部21fの内部空間1の中心からオフセットされた位置に配置されるようにすると好適である。
Further, when the
また、工具の中には、たとえばソケットレンチのように、その一部を把持部13から取り外して交換することができるものがある。その交換される部分にICタグ検出部21を設けたほうが、作業上、ICタグ3の検出と、ボルトやネジの取付けまたは取り外し作業などとの移行がスムーズに行えるような場合がある。
Further, some tools, such as a socket wrench, can be partially removed from the
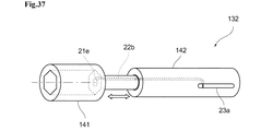
本発明を適用した例である六角穴付きのソケットレンチとして、図36に、ソケットレンチ131を、図37にソケットレンチ132を、それぞれ示す。ソケットレンチ131および132は、工具に対応する。
As an example of applying the present invention, a
図36のソケットレンチ131は、その先端部141が、把持部142から取り外しが可能なように、先端部141の一部が把持部142の内部に嵌め込まれ、着脱可能な構成を有している。ソケットレンチ131の先端部141の端部には、ICタグ検出部21のうちのいずれか(図36においては、ICタグ検出部21a)が設けられている。把持部142にはリーダ/ライタ通信部23(図36においては、リーダ/ライタ通信部23a)が設けられている。タグ情報伝送部22(図36においては、タグ情報伝送部22b)は、先端部141および把持部142にかけて設けられ、その一部が切り離し可能なようになされている。
The
また、図37のソケットレンチ132おいても、その先端部141が、把持部142から取り外しが可能なように、先端部141の一部が把持部142の内部に嵌め込まれ、着脱可能な構成を有している。ソケットレンチ132においては、ボルト2をソケットレンチ132に挿入した状態で、ボルト2の頭部中央に設けられたICタグ3を検出することが可能なように、先端部141内のボルト2の挿入穴の対応する位置に、ICタグ検出部21eが設けられている。
Further, also in the
図38は、先端部141と把持部142との接続部分の拡大図である。図38を参照して、先端部141と把持部142との接続部分のタグ情報伝送部22の構造について説明する。
FIG. 38 is an enlarged view of a connecting portion between the
先端部141側のタグ情報伝送部22bをタグ情報伝送部22b−1とし、把持部142側のタグ情報伝送部22bをタグ情報伝送部22b−2とする。タグ情報伝送部22b−1は、先端部141の内部に埋め込まれ、外部導体82は先端部141の金属部分と電気的に接続されている。また、先端部141側の把持部142との接続部分に対応するタグ情報伝送部22b−1の端部は、絶縁被覆81が取り除かれ、芯線41のみが露出した十分に小さい空洞となっている。また、タグ情報伝送部22b−2は、把持部142に埋め込まれ、外部導体82は把持部142の金属部分と電気的に接続されている。また、把持部142側の先端部141との接続部分に対応する空洞には、タグ情報伝送部22b−2端部が、絶縁被覆81が取り除かれ、芯線41のみが露出した状態となっている。タグ情報伝送部22b−2の芯線41の露出位置は、先端部141と把持部142とが接続された場合に、タグ情報伝送部22b−1端部の芯線41のみが露出した十分に小さい空洞内に挿入されるようになっている。
The tag
すなわち、先端部141と把持部142とが接続された場合、タグ情報伝送部22b−1端部の芯線41と、タグ情報伝送部22b−2端部の芯線41とは、接触、または静電誘導結合可能な距離に近接する。したがって、ICタグ検出部21とリーダ/ライタ通信部23とは、タグ情報伝送部22bにより電気的にも電磁気的にも接続された状態となる。
That is, when the
なお、先端部141と把持部142とが接続された状態において、タグ情報伝送部22b−1端部の芯線41と、タグ情報伝送部22b−2端部の芯線41とが必ず静電誘電結合可能な距離となる場合、絶縁被覆81は取り除かれていなくてもよい。
In the state where the
ここでは、先端部141と把持部142との2つに分割可能なソケットレンチ131を例に挙げて説明したが、2つ以上の複数に分割可能な工具においても、上述した技術を適用可能であることは言うまでもない。
Here, the
以上説明したモンキーレンチ1、メガネレンチ125、ソケットレンチ131、または、ソケットレンチ132を用いた場合、ICタグ3の読み取り時に、モンキーレンチ1、メガネレンチ125、ソケットレンチ131、または、ソケットレンチ132から、リーダ/ライタ端末4へ、道具を持ち替える必要がない。したがって、作業に必要な時間を大幅に増やすことなく、作業者が手に持って作業するための工具を利用してICタグを読み取ることができるので、ボルト2等を適切に管理したり、装置の正しい位置に装着または取り外す場合のヒューマンエラーを防止することができる。さらに、モンキーレンチ1、メガネレンチ125、ソケットレンチ131、または、ソケットレンチ132を用いた場合、これらの内部には、リーダ/ライタ端末4の内部にあるような電源や電子回路が一切無いため、これらに起因する故障原因がなく、従来の工具と同等な取り扱いを可能とすることができる。
When the
上述した技術は、モンキーレンチ、メガネレンチ、ソケットレンチ以外にも、例えば、トルクレンチ、ドライバー、ボックスドライバー、ペンチ、ニッパー、ワイヤーストリッパー、その他の、少なくとも一部に金属を有する工具に適用することができる。これにより、多種多様な工具のうちの適切なものを用いて、ネジ・ボルト等を、装置の正しい位置に装着または取り外す工程を適切に管理することができる。 In addition to monkey wrenches, box wrenches, and socket wrenches, the techniques described above can be applied to, for example, torque wrenches, screwdrivers, box drivers, pliers, nippers, wire strippers, and other tools that have at least a portion of metal. it can. This makes it possible to properly manage the process of mounting or removing screws, bolts, etc. at the correct position of the device by using an appropriate tool among a wide variety of tools.
また、本発明の実施の形態は、上述した実施の形態に限定されるものではなく、本発明の要旨を逸脱しない範囲において種々の変更が可能である。 Further, the embodiment of the present invention is not limited to the above-described embodiment, and various modifications can be made without departing from the gist of the present invention.
1…モンキーレンチ(工具に対応する)、 2…ボルト、 3、3a、3b…ICタグ、 4…リーダ/ライタ端末、 12…上アゴ(金属に対応する)、 13…把持部(金属に対応する)、 21、21a〜f…ICタグ検出部、 22、22a〜c…タグ情報伝送部、 23、23a〜g…リーダ/ライタ通信部、 32…ICチップ、 33…コイルアンテナ、 35…アンテナ、 41…芯線、 42…接続点、 43…充填材、 61…目印、 65…溝、 70…絶縁物、 81…絶縁被覆(絶縁物に対応する)、 101…接続点、 111…充填材、 112…グリップ、 115…充填材、 121…紐(紐状部に対応する)、 125 メガネレンチ(工具に対応する) 131,132…ソケットレンチ(工具に対応する) 1 ... Monkey wrench (corresponding to tools), 2 ... Bolt, 3, 3a, 3b ... IC tag, 4 ... Reader / writer terminal, 12 ... Upper jaw (corresponding to metal), 13 ... Gripping part (corresponding to metal) , 21, 21a to f ... IC tag detection unit, 22, 22a to c ... tag information transmission unit, 23, 23a to g ... reader / writer communication unit, 32 ... IC chip, 33 ... coil antenna, 35 ... antenna , 41 ... Core wire, 42 ... Connection point, 43 ... Filler, 61 ... Mark, 65 ... Groove, 70 ... Insulation, 81 ... Insulation coating (corresponding to insulation), 101 ... Connection point, 111 ... Filler, 112 ... Grip, 115 ... Filling material, 121 ... String (corresponding to string-shaped part), 125 Adjustable wrench (corresponding to tool) 131, 132 ... Socket wrench (corresponding to tool)
Claims (22)
ICタグを検出するICタグ検出部と、
リーダ/ライタ端末と通信するリーダ/ライタ通信部と、
前記ICタグ検出部と前記リーダ/ライタ通信部とを接続するタグ情報伝送部とを備え、
前記タグ情報伝送部は、前記ICタグから読みこまれた、または、前記ICタグに書き込まれる情報を伝送するための芯線を含み、
前記ICタグ検出部は、前記金属の一部が切り欠かれることにより構成される内部空間を含み、
前記内部空間には、前記芯線の一部が露出し、当該芯線の前記内部空間における露出部分は直線状に形成されている、または前記内部空間を平面視したときに前記露出部分同士に重なり部分が形成されない状態の曲線状に前記露出部分が形成されていて、
前記芯線の端部は、前記内部空間を構成する前記金属に電気的に接続されている
ことを特徴とする工具。 In tools that are at least partially made of metal and are used by the operator to grip
IC tag detector that detects IC tags and
A reader / writer communication unit that communicates with a reader / writer terminal,
A tag information transmission unit for connecting the IC tag detection unit and the reader / writer communication unit is provided.
The tag information transmission unit includes a core wire for transmitting information read from the IC tag or written to the IC tag.
The IC tag detection unit includes an internal space formed by cutting out a part of the metal.
A part of the core wire is exposed in the internal space, and the exposed portion of the core wire in the internal space is formed in a straight line, or a portion overlapping the exposed portions when the internal space is viewed in a plan view. The exposed portion is formed in a curved shape in a state where
A tool characterized in that the end portion of the core wire is electrically connected to the metal constituting the internal space.
前記ICタグ検出部の前記芯線の少なくとも一部は、前記内部空間の中心部からオフセットされた位置に露出される
ことを特徴とする工具。 In the tool according to claim 1,
A tool characterized in that at least a part of the core wire of the IC tag detection unit is exposed at a position offset from the central portion of the internal space.
前記ICタグ検出部の前記内部空間は、前記工具の端部を、側面を含んで上面と下面を貫通するように切り欠くことによって構成される
ことを特徴とする工具。 In the tool according to claim 1 or 2.
A tool characterized in that the internal space of the IC tag detection unit is formed by cutting out an end portion of the tool so as to penetrate the upper surface and the lower surface including the side surface.
前記ICタグ検出部の前記内部空間は、前記工具の端部であって、前記ICタグの検出面を、当該工具の下面と側面の間の角部分を含み、かつ貫通しない形状で切り欠くことによって構成される
ことを特徴とする工具。 In the tool according to claim 1 or 2.
The internal space of the IC tag detection unit is an end portion of the tool, and the detection surface of the IC tag is cut out in a shape that includes a corner portion between the lower surface and the side surface of the tool and does not penetrate. A tool characterized by being composed of.
前記ICタグ検出部の前記内部空間は、前記工具の端部であって、前記ICタグの検出面を、当該工具の下面と側面の間の角部分を含み、かつ貫通しない形状で、角部分の稜線の延伸方向に対して斜めとなる方向に切り欠くことによって構成される
ことを特徴とする工具。 In the tool according to claim 1 or 2.
The internal space of the IC tag detection unit is an end portion of the tool, and has a shape that includes a corner portion between the lower surface and the side surface of the tool and does not penetrate the detection surface of the IC tag. A tool characterized in that it is constructed by cutting out in a direction diagonal to the extending direction of the ridgeline of.
前記ICタグ検出部の前記内部空間は、前記ICタグの検出面から、当該検出面とは反対となる面へ貫通するように切り欠くことによって構成される
ことを特徴とする工具。 In the tool according to claim 1 or 2.
A tool characterized in that the internal space of the IC tag detection unit is formed by cutting out from the detection surface of the IC tag so as to penetrate to a surface opposite to the detection surface.
前記ICタグ検出部の前記内部空間は、前記ICタグの検出面の一部をくり貫くことによって構成される
ことを特徴とする工具。 In the tool according to claim 1 or 2.
A tool characterized in that the internal space of the IC tag detection unit is formed by hollowing out a part of the detection surface of the IC tag.
前記ICタグの検出面と反対となる面上であって、前記ICタグ検出部の前記内部空間に対応し、かつ、前記芯線とは異なる位置に設けられる目印をさらに含む
ことを特徴とする工具。 In tool according to any one of claims 4, 5 or 7,
A tool that is on a surface opposite to the detection surface of the IC tag, corresponds to the internal space of the IC tag detection unit, and further includes a mark provided at a position different from the core wire. ..
前記タグ情報伝送部は、前記工具の外周面に設けられた溝内に配置され、
前記芯線は、絶縁物により、前記工具の金属部分から絶縁されている
ことを特徴とする工具。 In tool according to any one of claims 1 to 8,
The tag information transmission unit is arranged in a groove provided on the outer peripheral surface of the tool.
A tool characterized in that the core wire is insulated from a metal portion of the tool by an insulating material.
前記工具は、2つ以上に分割可能であり、
前記タグ情報伝送部は、前記工具の分割とともに、2つ以上に分割され、その接続点において静電誘導結合される
ことを特徴とする工具。 In tool according to any one of claims 1-9,
The tool can be divided into two or more
A tool characterized in that the tag information transmission unit is divided into two or more at the same time as the tool is divided, and electrostatically inducedly coupled at the connection point thereof.
前記リーダ/ライタ通信部は、前記工具の金属部分の一部に形成されたスリットと、前記スリットの端部に露出した前記芯線の一部により構成されたスリットアンテナであり、
前記スリットに露出した前記芯線は前記スリット内の前記金属部分に電気的に接続されている
ことを特徴とする工具。 In tool according to any one of claims 1 to 10,
The reader / writer communication unit is a slit antenna composed of a slit formed in a part of a metal portion of the tool and a part of the core wire exposed at the end of the slit.
A tool characterized in that the core wire exposed in the slit is electrically connected to the metal portion in the slit.
前記リーダ/ライタ通信部の前記スリットの内周を一巡する長さは、前記リーダ/ライタ端末との通信波長と同程度である
ことを特徴とする工具。 The tool according to claim 11.
A tool characterized in that the length of the reader / writer communication unit that goes around the inner circumference of the slit is about the same as the communication wavelength with the reader / writer terminal.
前記リーダ/ライタ通信部の前記スリットには、媒質定数が1より大きい充填材が充填されている
ことを特徴とする工具。 The tool according to claim 11.
A tool characterized in that the slit of the reader / writer communication unit is filled with a filler having a medium constant greater than 1.
前記リーダ/ライタ通信部の前記スリットの中央部を少なくとも覆い、電気伝導性を有さず、磁界を透過する材質により構成されたグリップをさらに備える
ことを特徴とする工具。 The tool according to any one of claims 11 to 13.
A tool characterized in that it covers at least the central portion of the slit of the reader / writer communication unit, and further includes a grip made of a material that does not have electrical conductivity and transmits a magnetic field.
電気伝導性を有せず、磁界を透過する素材により構成された紐状部を更に備え、
前記リーダ/ライタ通信部は、前記紐状部の内部に設けられ、前記芯線に接続されたダイポールアンテナである
ことを特徴とする工具。 In tool according to any one of claims 1 to 10,
It also has a string-like part made of a material that does not have electrical conductivity and transmits a magnetic field.
The reader / writer communication unit is a tool provided inside the string-shaped portion and is a dipole antenna connected to the core wire.
電気伝導性を有せず、磁界を透過する素材により構成された紐状部を更に備え、
前記リーダ/ライタ通信部は、前記紐状部の内部に設けられ、前記芯線に接続されたモノポールアンテナである
ことを特徴とする工具。 In tool according to any one of claims 1 to 10,
It also has a string-like part made of a material that does not have electrical conductivity and transmits a magnetic field.
The reader / writer communication unit is a tool provided inside the string-shaped portion and is a monopole antenna connected to the core wire.
ICタグを検出するICタグ検出部と、
リーダ/ライタ端末と通信するリーダ/ライタ通信部と、
前記ICタグ検出部と前記リーダ/ライタ通信部とを接続するタグ情報伝送部とを備え、
前記タグ情報伝送部は、前記ICタグから読みこまれた、または、前記ICタグに書き込まれる情報を伝送するための芯線を含み、
前記リーダ/ライタ通信部は、前記工具の金属部分の一部に形成されたスリットと、前記スリットの端部に露出した前記芯線の一部により構成されたスリットアンテナであり、
前記スリットに露出した前記芯線は前記スリット内の前記金属部分に電気的に接続されている
ことを特徴とする工具。 In tools that are at least partially made of metal and are used by the operator to grip
IC tag detector that detects IC tags and
A reader / writer communication unit that communicates with a reader / writer terminal,
A tag information transmission unit for connecting the IC tag detection unit and the reader / writer communication unit is provided.
The tag information transmission unit includes a core wire for transmitting information read from the IC tag or written to the IC tag.
The reader / writer communication unit is a slit antenna composed of a slit formed in a part of a metal portion of the tool and a part of the core wire exposed at the end of the slit.
A tool characterized in that the core wire exposed in the slit is electrically connected to the metal portion in the slit.
前記リーダ/ライタ通信部の前記スリットの内周を一巡する長さは、前記リーダ/ライタ端末との通信波長と同程度である
ことを特徴とする工具。 The tool according to claim 17.
A tool characterized in that the length of the reader / writer communication unit that goes around the inner circumference of the slit is about the same as the communication wavelength with the reader / writer terminal.
前記リーダ/ライタ通信部の前記スリットには、媒質定数が1より大きい値の充填材が充填されている
ことを特徴とする工具。 The tool according to claim 17.
A tool characterized in that the slit of the reader / writer communication unit is filled with a filler having a medium constant of more than 1.
前記リーダ/ライタ通信部の前記スリットの中央部を少なくとも覆い、電気伝導性を有さず、磁界を透過する材質により構成されたグリップをさらに備える
ことを特徴とする工具。 The tool according to any one of claims 17 to 19.
A tool characterized in that it covers at least the central portion of the slit of the reader / writer communication unit, and further includes a grip made of a material that does not have electrical conductivity and transmits a magnetic field.
ICタグを検出するICタグ検出部と、
リーダ/ライタ端末と通信するリーダ/ライタ通信部と、
前記ICタグ検出部と前記リーダ/ライタ通信部とを接続するタグ情報伝送部と、
電気伝導性を有せず、磁界を透過する素材により構成された紐状部と
を備え、
前記リーダ/ライタ通信部は、前記紐状部の内部に設けられ、
前記リーダ/ライタ通信部は、前記ICタグから読みこまれた、または、前記ICタグに書き込まれる情報を伝送する芯線の一部を含み、その芯線の一部は前記タグ情報伝送部に含まれる芯線の他の部分と連続していて、
さらに前記リーダ/ライタ通信部は、前記芯線の一部に連続すると共に前記芯線の一部とは反対側に延伸する伝導体を含み、該伝導体は前記芯線の一部と共にダイポールアンテナを構成する
ことを特徴とする工具。 In tools that are at least partially made of metal and are used by the operator to grip
IC tag detector that detects IC tags and
A reader / writer communication unit that communicates with a reader / writer terminal,
A tag information transmission unit that connects the IC tag detection unit and the reader / writer communication unit,
It has a string-like part made of a material that does not have electrical conductivity and transmits a magnetic field.
The reader / writer communication unit is provided inside the string-shaped portion.
The reader / writer communication unit includes a part of a core wire for transmitting information read from the IC tag or written in the IC tag, and a part of the core wire is included in the tag information transmission unit. It is continuous with the other parts of the core wire
Further, the reader / writer communication unit includes a conductor that is continuous with a part of the core wire and extends to the side opposite to the part of the core wire, and the conductor constitutes a dipole antenna together with the part of the core wire. A tool characterized by that.
ICタグを検出するICタグ検出部と、
リーダ/ライタ端末と通信するリーダ/ライタ通信部と、
前記ICタグ検出部と前記リーダ/ライタ通信部とを接続するタグ情報伝送部と、
電気伝導性を有せず、磁界を透過する素材により構成された紐状部と
を備え、
前記リーダ/ライタ通信部は、前記紐状部の内部に設けられ、
前記リーダ/ライタ通信部は、前記ICタグから読みこまれた、または、前記ICタグに書き込まれる情報を伝送する芯線の一部を含み、その芯線の一部は前記タグ情報伝送部に含まれる芯線の他の部分と連続していて、
前記芯線の一部はモノポールアンテナを構成する
ことを特徴とする工具。 In tools that are at least partially made of metal and are used by the operator to grip
IC tag detector that detects IC tags and
A reader / writer communication unit that communicates with a reader / writer terminal,
A tag information transmission unit that connects the IC tag detection unit and the reader / writer communication unit,
It has a string-like part made of a material that does not have electrical conductivity and transmits a magnetic field.
The reader / writer communication unit is provided inside the string-shaped portion.
The reader / writer communication unit includes a part of a core wire for transmitting information read from the IC tag or written in the IC tag, and a part of the core wire is included in the tag information transmission unit. It is continuous with the other parts of the core wire
A tool characterized in that a part of the core wire constitutes a monopole antenna.
Priority Applications (1)
| Application Number | Priority Date | Filing Date | Title |
|---|---|---|---|
| JP2017017142A JP6861411B2 (en) | 2017-02-01 | 2017-02-01 | tool |
Applications Claiming Priority (1)
| Application Number | Priority Date | Filing Date | Title |
|---|---|---|---|
| JP2017017142A JP6861411B2 (en) | 2017-02-01 | 2017-02-01 | tool |
Publications (2)
| Publication Number | Publication Date |
|---|---|
| JP2018124840A JP2018124840A (en) | 2018-08-09 |
| JP6861411B2 true JP6861411B2 (en) | 2021-04-21 |
Family
ID=63110358
Family Applications (1)
| Application Number | Title | Priority Date | Filing Date |
|---|---|---|---|
| JP2017017142A Active JP6861411B2 (en) | 2017-02-01 | 2017-02-01 | tool |
Country Status (1)
| Country | Link |
|---|---|
| JP (1) | JP6861411B2 (en) |
Families Citing this family (1)
| Publication number | Priority date | Publication date | Assignee | Title |
|---|---|---|---|---|
| JP2021194765A (en) * | 2020-06-11 | 2021-12-27 | 東京エレクトロン株式会社 | Fastening control device and fastening control method |
Family Cites Families (5)
| Publication number | Priority date | Publication date | Assignee | Title |
|---|---|---|---|---|
| JP2916474B1 (en) * | 1998-06-03 | 1999-07-05 | 八木アンテナ株式会社 | Label writing head |
| JP2008123231A (en) * | 2006-11-10 | 2008-05-29 | Hitachi Ltd | RFID tag reading system and RFID tag reading method |
| JP6018462B2 (en) * | 2012-09-14 | 2016-11-02 | 株式会社リコー | Antenna and wireless communication device |
| JP6225004B2 (en) * | 2013-12-03 | 2017-11-01 | 株式会社Iro | Socket fitting for valve opening / closing, valve, valve switch, valve information reader |
| JP5909572B1 (en) * | 2015-03-17 | 2016-04-26 | 株式会社Iro | Detection instrument |
-
2017
- 2017-02-01 JP JP2017017142A patent/JP6861411B2/en active Active
Also Published As
| Publication number | Publication date |
|---|---|
| JP2018124840A (en) | 2018-08-09 |
Similar Documents
| Publication | Publication Date | Title |
|---|---|---|
| EP3051297B1 (en) | Electrical conductor testing device | |
| US8912888B2 (en) | Information storage medium, object of management and management system | |
| CN110165363B (en) | Omnidirectional Antenna for Cylindrical Body | |
| US9600759B2 (en) | RFID identification of metal interchangeable parts for machine tools | |
| CA2499832A1 (en) | Ruggedized multi-layer printed circuit board based downhole antenna | |
| KR20200108448A (en) | Metal fastener with embedded RFID tag and manufacturing method | |
| TW202025578A (en) | Presswerkzeug-netzwerk und verfahren zum verpressen eines werkstuecks | |
| US20130140371A1 (en) | Non-contact ic label and nameplate | |
| JP2016093873A (en) | Torque wrench and automatic recognition system | |
| JP6861411B2 (en) | tool | |
| US20180323499A1 (en) | An antenna device for hf and lf operation | |
| JP5261994B2 (en) | Identification tag and cable identification system | |
| CN105470648B (en) | Frequency characteristic alignment jig, antenna measurement apparatus and method and loop antenna | |
| JP6650641B2 (en) | Director | |
| US11616285B2 (en) | Measuring device with near field antenna | |
| JP5909572B1 (en) | Detection instrument | |
| JP2016095730A (en) | IC tag mounting structure | |
| TWI556505B (en) | Improve the communication chip and information memory media | |
| JP7178451B1 (en) | flexible antenna | |
| JP4542472B2 (en) | Cable tie with wireless IC tag | |
| US20070052609A1 (en) | Dual-band or single-band dipole antenna | |
| JP6576541B2 (en) | Detection device, rotary switch mechanism | |
| JP6793399B2 (en) | Torque measuring device | |
| TW202419225A (en) | tool | |
| JP6857462B2 (en) | Replacement socket adapter with rotary relay antenna, fixed relay antenna member, replacement socket adapter with bolt detection function with IC tag, and powered driver |
Legal Events
| Date | Code | Title | Description |
|---|---|---|---|
| A621 | Written request for application examination |
Free format text: JAPANESE INTERMEDIATE CODE: A621 Effective date: 20200130 |
|
| A977 | Report on retrieval |
Free format text: JAPANESE INTERMEDIATE CODE: A971007 Effective date: 20201130 |
|
| A131 | Notification of reasons for refusal |
Free format text: JAPANESE INTERMEDIATE CODE: A131 Effective date: 20201215 |
|
| A521 | Request for written amendment filed |
Free format text: JAPANESE INTERMEDIATE CODE: A523 Effective date: 20210215 |
|
| TRDD | Decision of grant or rejection written | ||
| A01 | Written decision to grant a patent or to grant a registration (utility model) |
Free format text: JAPANESE INTERMEDIATE CODE: A01 Effective date: 20210302 |
|
| A61 | First payment of annual fees (during grant procedure) |
Free format text: JAPANESE INTERMEDIATE CODE: A61 Effective date: 20210322 |
|
| R150 | Certificate of patent or registration of utility model |
Ref document number: 6861411 Country of ref document: JP Free format text: JAPANESE INTERMEDIATE CODE: R150 |
|
| R250 | Receipt of annual fees |
Free format text: JAPANESE INTERMEDIATE CODE: R250 |
|
| S111 | Request for change of ownership or part of ownership |
Free format text: JAPANESE INTERMEDIATE CODE: R313117 |
|
| R250 | Receipt of annual fees |
Free format text: JAPANESE INTERMEDIATE CODE: R250 |
|
| R350 | Written notification of registration of transfer |
Free format text: JAPANESE INTERMEDIATE CODE: R350 |
