JP6739070B2 - 組立治具 - Google Patents

組立治具 Download PDF

Info

Publication number
JP6739070B2
JP6739070B2 JP2019115557A JP2019115557A JP6739070B2 JP 6739070 B2 JP6739070 B2 JP 6739070B2 JP 2019115557 A JP2019115557 A JP 2019115557A JP 2019115557 A JP2019115557 A JP 2019115557A JP 6739070 B2 JP6739070 B2 JP 6739070B2
Authority
JP
Japan
Prior art keywords
module
base material
subject
image
image sensor
Prior art date
Legal status (The legal status is an assumption and is not a legal conclusion. Google has not performed a legal analysis and makes no representation as to the accuracy of the status listed.)
Expired - Fee Related
Application number
JP2019115557A
Other languages
English (en)
Other versions
JP2019174836A (ja
Inventor
廣瀬 裕
裕 廣瀬
加藤 剛久
剛久 加藤
浩征 森
浩征 森
太一 佐藤
太一 佐藤
好秀 澤田
好秀 澤田
田中 毅
毅 田中
Current Assignee (The listed assignees may be inaccurate. Google has not performed a legal analysis and makes no representation or warranty as to the accuracy of the list.)
Panasonic Intellectual Property Management Co Ltd
Original Assignee
Panasonic Intellectual Property Management Co Ltd
Priority date (The priority date is an assumption and is not a legal conclusion. Google has not performed a legal analysis and makes no representation as to the accuracy of the date listed.)
Filing date
Publication date
Application filed by Panasonic Intellectual Property Management Co Ltd filed Critical Panasonic Intellectual Property Management Co Ltd
Publication of JP2019174836A publication Critical patent/JP2019174836A/ja
Application granted granted Critical
Publication of JP6739070B2 publication Critical patent/JP6739070B2/ja
Expired - Fee Related legal-status Critical Current
Anticipated expiration legal-status Critical

Links

Images

Classifications

    • HELECTRICITY
    • H01ELECTRIC ELEMENTS
    • H01RELECTRICALLY-CONDUCTIVE CONNECTIONS; STRUCTURAL ASSOCIATIONS OF A PLURALITY OF MUTUALLY-INSULATED ELECTRICAL CONNECTING ELEMENTS; COUPLING DEVICES; CURRENT COLLECTORS
    • H01R13/00Details of coupling devices of the kinds covered by groups H01R12/70 or H01R24/00 - H01R33/00
    • H01R13/64Means for preventing incorrect coupling
    • GPHYSICS
    • G02OPTICS
    • G02BOPTICAL ELEMENTS, SYSTEMS OR APPARATUS
    • G02B21/00Microscopes
    • G02B21/34Microscope slides, e.g. mounting specimens on microscope slides
    • GPHYSICS
    • G02OPTICS
    • G02BOPTICAL ELEMENTS, SYSTEMS OR APPARATUS
    • G02B21/00Microscopes
    • G02B21/36Microscopes arranged for photographic purposes or projection purposes or digital imaging or video purposes including associated control and data processing arrangements
    • G02B21/361Optical details, e.g. image relay to the camera or image sensor
    • BPERFORMING OPERATIONS; TRANSPORTING
    • B01PHYSICAL OR CHEMICAL PROCESSES OR APPARATUS IN GENERAL
    • B01LCHEMICAL OR PHYSICAL LABORATORY APPARATUS FOR GENERAL USE
    • B01L9/00Supporting devices; Holding devices
    • B01L9/52Supports specially adapted for flat sample carriers, e.g. for plates, slides, chips
    • FMECHANICAL ENGINEERING; LIGHTING; HEATING; WEAPONS; BLASTING
    • F16ENGINEERING ELEMENTS AND UNITS; GENERAL MEASURES FOR PRODUCING AND MAINTAINING EFFECTIVE FUNCTIONING OF MACHINES OR INSTALLATIONS; THERMAL INSULATION IN GENERAL
    • F16MFRAMES, CASINGS OR BEDS OF ENGINES, MACHINES OR APPARATUS, NOT SPECIFIC TO ENGINES, MACHINES OR APPARATUS PROVIDED FOR ELSEWHERE; STANDS; SUPPORTS
    • F16M11/00Stands or trestles as supports for apparatus or articles placed thereon ; Stands for scientific apparatus such as gravitational force meters
    • F16M11/02Heads
    • F16M11/04Means for attachment of apparatus; Means allowing adjustment of the apparatus relatively to the stand
    • F16M11/043Allowing translations
    • F16M11/046Allowing translations adapted to upward-downward translation movement
    • FMECHANICAL ENGINEERING; LIGHTING; HEATING; WEAPONS; BLASTING
    • F16ENGINEERING ELEMENTS AND UNITS; GENERAL MEASURES FOR PRODUCING AND MAINTAINING EFFECTIVE FUNCTIONING OF MACHINES OR INSTALLATIONS; THERMAL INSULATION IN GENERAL
    • F16MFRAMES, CASINGS OR BEDS OF ENGINES, MACHINES OR APPARATUS, NOT SPECIFIC TO ENGINES, MACHINES OR APPARATUS PROVIDED FOR ELSEWHERE; STANDS; SUPPORTS
    • F16M11/00Stands or trestles as supports for apparatus or articles placed thereon ; Stands for scientific apparatus such as gravitational force meters
    • F16M11/02Heads
    • F16M11/04Means for attachment of apparatus; Means allowing adjustment of the apparatus relatively to the stand
    • F16M11/06Means for attachment of apparatus; Means allowing adjustment of the apparatus relatively to the stand allowing pivoting
    • F16M11/10Means for attachment of apparatus; Means allowing adjustment of the apparatus relatively to the stand allowing pivoting around a horizontal axis
    • GPHYSICS
    • G02OPTICS
    • G02BOPTICAL ELEMENTS, SYSTEMS OR APPARATUS
    • G02B21/00Microscopes
    • G02B21/0004Microscopes specially adapted for specific applications
    • G02B21/0008Microscopes having a simple construction, e.g. portable microscopes
    • HELECTRICITY
    • H01ELECTRIC ELEMENTS
    • H01RELECTRICALLY-CONDUCTIVE CONNECTIONS; STRUCTURAL ASSOCIATIONS OF A PLURALITY OF MUTUALLY-INSULATED ELECTRICAL CONNECTING ELEMENTS; COUPLING DEVICES; CURRENT COLLECTORS
    • H01R13/00Details of coupling devices of the kinds covered by groups H01R12/70 or H01R24/00 - H01R33/00
    • H01R13/62Means for facilitating engagement or disengagement of coupling parts or for holding them in engagement
    • H01R13/639Additional means for holding or locking coupling parts together, after engagement, e.g. separate keylock, retainer strap
    • HELECTRICITY
    • H01ELECTRIC ELEMENTS
    • H01RELECTRICALLY-CONDUCTIVE CONNECTIONS; STRUCTURAL ASSOCIATIONS OF A PLURALITY OF MUTUALLY-INSULATED ELECTRICAL CONNECTING ELEMENTS; COUPLING DEVICES; CURRENT COLLECTORS
    • H01R13/00Details of coupling devices of the kinds covered by groups H01R12/70 or H01R24/00 - H01R33/00
    • H01R13/73Means for mounting coupling parts to apparatus or structures, e.g. to a wall
    • HELECTRICITY
    • H04ELECTRIC COMMUNICATION TECHNIQUE
    • H04NPICTORIAL COMMUNICATION, e.g. TELEVISION
    • H04N1/00Scanning, transmission or reproduction of documents or the like, e.g. facsimile transmission; Details thereof
    • H04N1/024Details of scanning heads ; Means for illuminating the original
    • H04N1/028Details of scanning heads ; Means for illuminating the original for picture information pick-up
    • H04N1/03Details of scanning heads ; Means for illuminating the original for picture information pick-up with photodetectors arranged in a substantially linear array
    • H04N1/031Details of scanning heads ; Means for illuminating the original for picture information pick-up with photodetectors arranged in a substantially linear array the photodetectors having a one-to-one and optically positive correspondence with the scanned picture elements, e.g. linear contact sensors
    • H04N1/0315Details of scanning heads ; Means for illuminating the original for picture information pick-up with photodetectors arranged in a substantially linear array the photodetectors having a one-to-one and optically positive correspondence with the scanned picture elements, e.g. linear contact sensors using photodetectors and illumination means mounted on separate supports or substrates or mounted in different planes
    • HELECTRICITY
    • H04ELECTRIC COMMUNICATION TECHNIQUE
    • H04NPICTORIAL COMMUNICATION, e.g. TELEVISION
    • H04N1/00Scanning, transmission or reproduction of documents or the like, e.g. facsimile transmission; Details thereof
    • H04N1/024Details of scanning heads ; Means for illuminating the original
    • H04N1/028Details of scanning heads ; Means for illuminating the original for picture information pick-up
    • H04N1/03Details of scanning heads ; Means for illuminating the original for picture information pick-up with photodetectors arranged in a substantially linear array
    • H04N1/031Details of scanning heads ; Means for illuminating the original for picture information pick-up with photodetectors arranged in a substantially linear array the photodetectors having a one-to-one and optically positive correspondence with the scanned picture elements, e.g. linear contact sensors
    • H04N1/0318Integral pick-up heads, i.e. self-contained heads whose basic elements are a light-source, a lens array and a photodetector array which are supported by a single-piece frame
    • HELECTRICITY
    • H04ELECTRIC COMMUNICATION TECHNIQUE
    • H04NPICTORIAL COMMUNICATION, e.g. TELEVISION
    • H04N23/00Cameras or camera modules comprising electronic image sensors; Control thereof
    • H04N23/57Mechanical or electrical details of cameras or camera modules specially adapted for being embedded in other devices
    • HELECTRICITY
    • H04ELECTRIC COMMUNICATION TECHNIQUE
    • H04NPICTORIAL COMMUNICATION, e.g. TELEVISION
    • H04N25/00Circuitry of solid-state image sensors [SSIS]; Control thereof
    • H04N25/70SSIS architectures; Circuits associated therewith
    • H04N25/71Charge-coupled device [CCD] sensors; Charge-transfer registers specially adapted for CCD sensors
    • HELECTRICITY
    • H10SEMICONDUCTOR DEVICES; ELECTRIC SOLID-STATE DEVICES NOT OTHERWISE PROVIDED FOR
    • H10FINORGANIC SEMICONDUCTOR DEVICES SENSITIVE TO INFRARED RADIATION, LIGHT, ELECTROMAGNETIC RADIATION OF SHORTER WAVELENGTH OR CORPUSCULAR RADIATION
    • H10F39/00Integrated devices, or assemblies of multiple devices, comprising at least one element covered by group H10F30/00, e.g. radiation detectors comprising photodiode arrays
    • H10F39/10Integrated devices
    • H10F39/12Image sensors
    • H10F39/15Charge-coupled device [CCD] image sensors
    • H10F39/151Geometry or disposition of pixel elements, address lines or gate electrodes
    • H10F39/1515Optical shielding
    • HELECTRICITY
    • H10SEMICONDUCTOR DEVICES; ELECTRIC SOLID-STATE DEVICES NOT OTHERWISE PROVIDED FOR
    • H10FINORGANIC SEMICONDUCTOR DEVICES SENSITIVE TO INFRARED RADIATION, LIGHT, ELECTROMAGNETIC RADIATION OF SHORTER WAVELENGTH OR CORPUSCULAR RADIATION
    • H10F39/00Integrated devices, or assemblies of multiple devices, comprising at least one element covered by group H10F30/00, e.g. radiation detectors comprising photodiode arrays
    • H10F39/80Constructional details of image sensors
    • H10F39/805Coatings
    • H10F39/8057Optical shielding
    • BPERFORMING OPERATIONS; TRANSPORTING
    • B01PHYSICAL OR CHEMICAL PROCESSES OR APPARATUS IN GENERAL
    • B01LCHEMICAL OR PHYSICAL LABORATORY APPARATUS FOR GENERAL USE
    • B01L2300/00Additional constructional details
    • B01L2300/06Auxiliary integrated devices, integrated components
    • B01L2300/0627Sensor or part of a sensor is integrated
    • B01L2300/0645Electrodes
    • BPERFORMING OPERATIONS; TRANSPORTING
    • B01PHYSICAL OR CHEMICAL PROCESSES OR APPARATUS IN GENERAL
    • B01LCHEMICAL OR PHYSICAL LABORATORY APPARATUS FOR GENERAL USE
    • B01L2300/00Additional constructional details
    • B01L2300/06Auxiliary integrated devices, integrated components
    • B01L2300/0627Sensor or part of a sensor is integrated
    • B01L2300/0654Lenses; Optical fibres
    • BPERFORMING OPERATIONS; TRANSPORTING
    • B01PHYSICAL OR CHEMICAL PROCESSES OR APPARATUS IN GENERAL
    • B01LCHEMICAL OR PHYSICAL LABORATORY APPARATUS FOR GENERAL USE
    • B01L2300/00Additional constructional details
    • B01L2300/08Geometry, shape and general structure
    • B01L2300/0809Geometry, shape and general structure rectangular shaped
    • B01L2300/0822Slides

Landscapes

  • Engineering & Computer Science (AREA)
  • Physics & Mathematics (AREA)
  • Multimedia (AREA)
  • Chemical & Material Sciences (AREA)
  • Signal Processing (AREA)
  • Analytical Chemistry (AREA)
  • General Physics & Mathematics (AREA)
  • Optics & Photonics (AREA)
  • General Engineering & Computer Science (AREA)
  • Mechanical Engineering (AREA)
  • Chemical Kinetics & Catalysis (AREA)
  • Clinical Laboratory Science (AREA)
  • Health & Medical Sciences (AREA)
  • Solid State Image Pick-Up Elements (AREA)
  • Studio Devices (AREA)
  • Microscoopes, Condenser (AREA)

Description

本開示は、ソケット、アダプタ、および組立治具に関する。
従来、生体組織などにおけるミクロ構造を観察するために光学顕微鏡が用いられてきた。光学顕微鏡は、観察対象を透過した光、あるいは反射した光を利用する。観察者は、レンズによって拡大された像を観察する。顕微鏡のレンズで拡大された像を撮影してディスプレイ上に表示するデジタル顕微鏡も知られている。デジタル顕微鏡を利用することにより、複数人での同時観察、遠隔地での観察などが可能である。
近年、CIS(Contact Image Sensing)方式によってミクロ構造を観察する技術が注
目されている。CIS方式による場合、観察対象は、イメージセンサの撮像面に近接して配置される。イメージセンサとしては、一般に、多数の光電変換部が撮像面内に行および列状に配列された2次元イメージセンサが用いられる。光電変換部は、典型的には、半導体層または半導体基板に形成されたフォトダイオードであり、入射光を受けて電荷を生成する。
イメージセンサによって取得される画像は、多数の画素によって規定される。各画素は、1つの光電変換部を含む単位領域によって区画されている。したがって、2次元イメージセンサにおける分解能(解像度)は、通常、撮像面上における光電変換部の配列ピッチまたは配列密度に依存する。本明細書では、光電変換部の配列ピッチによって決まる分解能を、イメージセンサの「固有分解能」と呼ぶことがある。個々の光電変換部の配列ピッチは、可視光の波長程度まで短くなっているので、固有分解能をさらに向上させることは困難である。
イメージセンサの固有分解能を超える分解能を実現する技術が提案されている。特許文献1は、被写体の結像位置をシフトさせて得られる複数の画像を用いて当該被写体の画像を形成する技術を開示している。
特開昭62−137037号公報
本開示は、イメージセンサの固有分解能を超える分解能を実現する画像形成システムのより柔軟な運用を可能にするソケット、アダプタ、組立治具を提供する。
本開示の非限定的で例示的な一態様は、イメージセンサの固有分解能を超える分解能を実現する高分解能化技術の実用性を向上させ得る。本開示の一態様の付加的な恩恵及び有利な点は本明細書及び図面から明らかとなる。この恩恵及び/又は有利な点は、本明細書及び図面に開示した様々な態様及び特徴により個別に提供され得るものであり、その1以上を得るために全てが必要ではない。
本開示の一態様に係るソケットは、撮像素子および被写体が一体化されたモジュールを画像取得装置に着脱可能に接続するためのソケットであって、前記モジュールを載せるよ
うに構成されたモジュール設置部、および、前記モジュール設置部に載せられた状態にある前記モジュールの前記撮像素子を前記画像取得装置に電気的に接続する電気接続部を有する第1基材と、前記モジュールが前記第1基材の前記モジュール設置部に載せられているときに前記モジュールに対向する第2基材であって、前記被写体に光を入射させるように構成された開口部を有する第2基材と、前記第1基材と前記第2基材との間に前記モジュールを保持するように前記第2基材を前記第1基材に固定する係合部とを備える。なお、これらの包括的または具体的な態様は、システム、方法で実現されてもよく、装置、システム、方法の任意な組み合わせで実現されてもよい。
本開示によれば、イメージセンサの固有分解能を超える分解能を実現する高分解能化技術の実用性が向上する。
被写体2の一部を模式的に示す平面図である。 図1Aに示されている領域の撮像に関わるフォトダイオードを抽出して模式的に示す平面図である。 被写体2を透過してフォトダイオード4pに入射する光線の方向を模式的に示す断面図である。 着目する6個のフォトダイオード4pの配列例を模式的に示す平面図である。 6個のフォトダイオード4pによって取得される6個の画素Paを模式的に示す図である。 第1の方向とは異なる第2の方向から光線を入射させた状態を模式的に示す断面図である。 着目する6個のフォトダイオード4pの配列を模式的に示す平面図である。 6個のフォトダイオード4pによって取得される6個の画素Pbを模式的に示す図である。 第1の方向および第2の方向とは異なる第3の方向から光線を入射させた状態を模式的に示す断面図である。 着目する6個のフォトダイオード4pの配列を模式的に示す平面図である。 6個のフォトダイオード4pによって取得される6個の画素Pcを模式的に示す図である。 第1の方向、第2の方向および第3の方向とは異なる第4の方向から光線を入射させた状態を模式的に示す断面図である。 着目する6個のフォトダイオード4pの配列を模式的に示す平面図である。 6個のフォトダイオード4pによって取得される6個の画素Pdを模式的に示す図である。 4枚のサブ画像Sa、Sb、ScおよびSdから合成される高分解能画像HRを示す図である。 被写体2の隣接する2つの領域を通過した光線がそれぞれ異なるフォトダイオードに入射するように調整された照射方向を模式的に示す断面図である。 モジュールの断面構造の一例を模式的に示す図である。 図8Aに示すモジュールMをイメージセンサ4側から見たときの外観の一例を示す平面図である。 モジュールの作製方法の一例を説明するための図である。 サブ画像の取得時における照射角度の例を示す断面図である。 図10Aに示す照射角度とは異なる照射角度で被写体を照射する方法の例を示す断面図である。 画像取得装置を使用した撮像の一例を示す図である。 基準面に対してステージ320を角度θ傾斜させたときの、被写体に入射する光線の方向の変化を模式的に示す図である。 本開示の実施形態によるソケットの一例を示す斜視図である。 図13Aに示すソケット100aの側面図である。 第1基材110と第2基材150との間にモジュールMを保持した状態のソケット100aを示す上面図である。 画像取得装置300のステージ320に対する被写体ユニット100uの装填方法を説明するための図である。 図13Aに示すソケット100aの底面図である。 画像取得装置300の例示的な外観を示す斜視図である。 図16Aに示す画像取得装置300において蓋部326を閉じた状態を示す斜視図である。 ソケット100aの模式的な断面図である。 図13CにおけるA−A線断面図である。 弾性部材117に接続された上面電極136を有するソケット100fの模式的な断面図である。 図17Cに示すソケット100fを用いて、第1基材110と第2基材150との間にモジュールMを保持した状態を示す断面図である。 モジュールMの正しい設置方向を示すマーカーが形成されたモジュール設置部の例を示す平面図である。 撮像素子7の裏面電極5B側の表面において、モジュール設置部112のマーカーに対応する位置にマーカーが形成されたモジュールMmの平面図である。 透明プレート8の向きに対して斜めにパッケージ5が配置されたモジュールの例を示す平面図である。 第1基材110と第2基材150との間に保持された状態のモジュールMとモジュール設置部112とをモジュール設置部112の平坦部114に垂直な方向から見た平面図である。 第1基材110bの底面110Bに突出部124を有するソケット100bの側面図である。 図20Aに示すソケット100bの底面図である。 図20Aおよび図20Bに示すソケット100bが着脱可能に構成されたステージ320bの構成の例を示す斜視図である。 第1基材110cの底面110Bに脚部126を有するソケット100cの側面図である。 図21Aに示すソケット100cの底面図である。 第2基材150dにフィルタ取付部158を有するソケット100dを示す平面図である。 本開示の実施形態による画像形成システムの構成例を示す概略図である。 本開示の実施形態によるアダプタと、アダプタが取り付けられた状態のソケットを示す斜視図である。 被写体ユニット200uとソケット100eとを分離して示す斜視図である。 図25に示す抑え具250を支持プレート210から分離して示す平面図である。 図26AにおけるB−B線断面図である。 支持プレート210においてモジュールMが載せられる側の支持面212sを模式的に示す平面図である。 図27Aに示す支持プレート210の模式的な側面図である。 図27Aに示す支持プレート210の支持面212sとは反対側の面(裏面)212bを模式的に示す平面図である。 図27Aに示す支持プレート210から上部プレート216を取り除いた状態を示す平面図である。 図27AにおけるC−C線断面図である。 被写体ユニット200uをモジュール設置部112eに装着して、第2基材150eを第1基材110eに固定した状態を示す断面図である。 組立治具の一例の外観を示す斜視図である。 組立治具500の使用方法を説明するための斜視図である。 組立治具500の使用方法を説明するための斜視図である。 組立治具500の使用方法を説明するための斜視図である。 フラップ550が回転されている状態を示す側面図である。 フラップ550が反転された状態を示す側面図である。 組立治具500の使用方法を説明するための斜視図である。 モジュールの配置の方向を規制するガイド構造をプレート設置部512gの上面に有する組立治具500gを示す斜視図である。 透明プレート8の裏面8bに2本の溝部8gを有するモジュールMgを示す平面図である。 透明プレート8の溝部8gにプレート設置部512gの突出部513が嵌めこまれるようにして、モジュールMgがプレート設置部512gに置かれた状態を示す斜視図である。 CCDイメージセンサの断面構造と、被写体の相対的な透過率Tdの分布の例とを示す図である。 裏面照射型CMOSイメージセンサの断面構造と、被写体の相対的な透過率Tdの分布の例とを示す図である。 裏面照射型CMOSイメージセンサの断面構造と、被写体の相対的な透過率Tdの分布の例とを示す図である。 光電変換膜積層型イメージセンサの断面構造と、被写体の相対的な透過率Tdの分布の例とを示す図である。
まず、図1A〜図6を参照して、本開示の実施形態における撮像の原理を説明する。本開示の実施形態では、照明光の照射角度を変えて複数回の撮影を実行することにより得られる複数の画像を用いて、それら複数の画像の各々よりも分解能の高い画像(以下、「高分解能画像」と呼ぶ。)を形成する。ここでは、CCD(Charge Coupled Device)イメ
ージセンサを例示して説明を行う。なお、以下の説明において、実質的に同じ機能を有する構成要素は共通の参照符号で示し、説明を省略することがある。
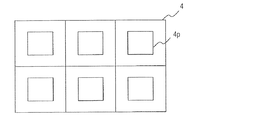
図1Aおよび図1Bを参照する。図1Aは、被写体2の一部を模式的に示す平面図であり、図1Bは、イメージセンサ4のフォトダイオード4pのうち、図1Aに示されている領域の撮像に関わるフォトダイオードを抽出して模式的に示す平面図である。ここで説明する例では、図1Bにおいて6個のフォトダイオード4pが示されている。なお、参考のために、図1Bでは、互いに直交するx方向、y方向およびz方向を示す矢印が図示されている。z方向は、撮像面の法線方向を示している。図1Bでは、xy面内においてx軸からy軸に向かって45°回転した方向であるu方向を示す矢印も図示されている。他の図面においても、x方向、y方向、z方向またはu方向を示す矢印を図示することがある。
イメージセンサ4におけるフォトダイオード4p以外の構成要素は、遮光層によって覆
われている。図1B中、ハッチングされた領域は、遮光層によって覆われている領域を示している。CCDイメージセンサの撮像面上における1つのフォトダイオードの受光面の面積(S2)は、そのフォトダイオードを含む単位領域の面積(S1)よりも小さい。画素の面積S1に対する受光面積S2の比率(S2/S1)は、「開口率」と呼ばれている。ここでは、開口率が25%であるとして説明を行う。
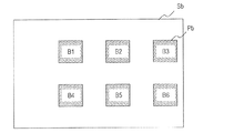
図2Aは、被写体2を透過してフォトダイオード4pに入射する光線の方向を模式的に示す。図2Aは、撮像面に対して垂直な方向(第1の方向)から光線を入射させた状態を示している。図2Bは、着目する6個のフォトダイオード4pの配列例を模式的に示す平面図であり、図2Cは、6個のフォトダイオード4pによって取得される6個の画素Paを模式的に示す図である。複数の画素Paの各々は、個々のフォトダイオード4pに入射した光の量を示す値(画素値)を持つ。この例では、図2Cの画素Paから画像Sa(第1のサブ画像Sa)が構成される。第1のサブ画像Saは、被写体2の全体のうち、例えば、図2Bに示す6個のフォトダイオード4pの直上に位置する領域A1、A2、A3、A4、A5およびA6(図1A参照)の情報を有する。
図2Aからわかるように、ここでは、被写体2の画像は、被写体2を透過する実質的に平行な光線を用いて取得される。被写体2とイメージセンサ4との間に結像のためのレンズは配置されない。イメージセンサ4の撮像面から被写体2までの距離は、典型的には1mm以下であり、例えば1μm程度に設定され得る。
図3Aは、図2Aに示す第1の方向とは異なる第2の方向から光線を入射させた状態を示している。図3Bは、着目する6個のフォトダイオード4pの配列を模式的に示し、図3Cは、6個のフォトダイオード4pによって取得される6個の画素Pbを模式的に示す。図3Cの画素Pbから画像Sb(第2のサブ画像Sb)が構成される。第2のサブ画像Sbは、被写体2の全体のうち、領域A1、A2、A3、A4、A5およびA6とは異なる領域B1、B2、B3、B4、B5およびB6(図1A参照)の情報を有する。図1Aに示すように、領域B1は、例えば領域A1の右側に隣接する領域である。
図2Aと図3Aとを比較することによって理解されるように、被写体2に対する光線の照射方向を適切に設定することにより、被写体2の異なる領域を透過した光線をフォトダイオード4pに入射させることができる。その結果、第1のサブ画像Saと第2のサブ画像Sbは、被写体2において異なる位置に対応する画素情報を含むことができる。
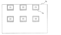
図4Aは、図2Aに示す第1の方向および図3Aに示す第2の方向とは異なる第3の方向から光線を入射させた状態を示している。図4Aに示す光線は、z方向に対してy方向に傾斜している。図4Bは、着目する6個のフォトダイオード4pの配列を模式的に示し、図4Cは、6個のフォトダイオード4pによって取得される6個の画素Pcを模式的に示す。図4Cの画素Pcから画像Sc(第3のサブ画像Sc)が構成される。図示するように、第3のサブ画像Scは、被写体2の全体のうち、図1Aに示す領域C1、C2、C3、C4、C5およびC6の情報を有する。図1Aに示すように、ここでは、領域C1は、例えば領域A1の上側に隣接する領域である。
図5Aは、図2Aに示す第1の方向、図3Aに示す第2の方向、および図4Aに示す第3の方向とは異なる第4の方向から光線を入射させた状態を示している。図5Aに示す光線は、z方向に対して、xy面内においてx軸と45°の角をなす方向に傾斜している。図5Bは、着目する6個のフォトダイオード4pの配列を模式的に示し、図5Cは、6個のフォトダイオード4pによって取得される6個の画素Pdを模式的に示す。図5Cの画素Pdから画像Sd(第4のサブ画像Sd)が構成される。第4のサブ画像Sdは、被写体2の全体のうち、図1Aに示す領域D1、D2、D3、D4、D5およびD6の情報を
有している。図1Aに示すように、ここでは、領域D1は、例えば領域C1の右側に隣接する領域である。
図6は、4枚のサブ画像Sa、Sb、ScおよびSdから合成される高分解能画像HRを示している。図6に示すように、高分解能画像HRの画素数または画素密度は、4枚のサブ画像Sa、Sb、ScおよびSdの各々の画素数または画素密度の4倍である。
例えば、被写体2における、図1Aに示す領域A1、B1、C1およびD1のブロックに着目する。これまでの説明からわかるように、図6に示すサブ画像Saの画素Pa1は、上述のブロック全体ではなく、領域A1の情報を有している。したがって、サブ画像Saは、領域B1、C1およびD1の情報が欠落した画像であるということができる。個々のサブ画像の分解能は、イメージセンサ4の固有分解能に等しい。
しかしながら、被写体2において異なる位置に対応する画素情報を有するサブ画像Sb、ScおよびSdを用いることにより、図6に示すように、サブ画像Saにおいて欠落した情報を補完し、ブロック全体の情報を有する高分解能画像HRを形成することが可能である。この例では、イメージセンサ4の固有分解能の4倍の分解能が得られている。高分解能化(超解像)の程度は、イメージセンサの開口率に依存する。この例では、イメージセンサ4の開口率が25%であるため、異なる4方向からの光照射によって最大4倍の高分解能化が可能になる。Nを2以上の整数するとき、イメージセンサ4の開口率が近似的に1/Nに等しければ、最大N倍の高分解能化が可能になる。
このように、被写体を基準にして複数の異なる照射方向から、順次、平行光を照射して被写体の撮像を行うことにより、被写体から「空間的」にサンプリングされる画素情報を増加させることができる。得られた複数のサブ画像を合成することにより、複数のサブ画像の各々よりも分解能の高い高分解能画像を形成することが可能である。なお、上記の例において、図6に示すサブ画像Sa、Sb、ScおよびSdは、被写体2における互いに異なる領域の画素情報を有しており、重なりを有していない。しかしながら、異なるサブ画像間において重なりを有していてもよい。
また、上記の例では、被写体2において隣接する2つの領域を通過した光線は、いずれも、同一のフォトダイオードに入射している。しかしながら、照射方向の設定はこの例に限定されない。例えば、図7に示すように、被写体2の隣接する2つの領域を通過した光線が、それぞれ、異なるフォトダイオードに入射するように照射方向が調整されていてもよい。被写体において光線の通過する領域と、透過光線の入射するフォトダイオードとの間の相対的な配置がわかっていれば、高分解能画像の形成は可能である。照射方向は、図2A〜図5Aを参照して説明した第1〜第4の方向に限定されない。
次に、本開示の実施形態において用いられるモジュールの構成を説明する。本開示の実施形態では、被写体およびイメージセンサが一体化された構造を有するモジュールが用いられる。
図8Aは、モジュールの断面構造の一例を模式的に示す。図8Aに示すモジュールMでは、イメージセンサ4の撮像面4A側に被写体2が配置されている。図8Aに例示する構成では、封入剤6によって覆われた被写体2が、イメージセンサ4と透明プレート(典型的にはガラス板)8との間に挟まれている。透明プレート8として、例えば、一般的なスライドガラスを使用することができる。なお、参照する図においては各要素が模式的に表されており、各要素における実際の大きさおよび形状は、図中に現された大きさおよび形状と必ずしも一致しない。以下において参照する図面においても同様である。
また、図8Aに例示する構成では、イメージセンサ4は、パッケージ5に固定されている。図8Bは、図8Aに示すモジュールMをイメージセンサ4側から見たときの外観の一例を示す。図8Bに示すように、パッケージ5の形状は、典型的には長方形(あるいは正方形)である。図8Aおよび図8Bに示すように、パッケージ5は、透明プレート8とは反対側の面に裏面電極5Bを有している。裏面電極5Bは、パッケージ5に形成された不図示の配線パターンを介してイメージセンサ4と電気的に接続されている。すなわち、裏面電極5Bを介して、イメージセンサ4の出力を取り出すことができる。本明細書では、パッケージとイメージセンサとが一体化された構造物を「撮像素子」と呼ぶ。
被写体2は、生物組織の薄片(典型的には、数十μm以下の厚さを有する。)であり得る。生物組織の薄片を被写体2として有するモジュールは、病理診断に利用され得る。図8Aに示すように、モジュールMは、光学顕微鏡による観察において被写体(典型的には生物組織の薄片)を支持するプレパラートとは異なり、被写体の画像を取得するイメージセンサを備えている。このようなモジュールを「電子プレパラート」と呼んでもよい。図8Aに示すように被写体2および撮像素子7が一体化された構造を有するモジュールMを用いることにより、被写体2とイメージセンサ4との間の配置を固定できるという利点が得られる。
図9を参照して、図8Aおよび図8Bに示すような構造を有するモジュールの作製方法の一例を説明する。ここでは、被写体2として生物組織の薄片(組織切片)を例示する。
まず、図9に示すように、組織切片A02を透明プレート8に載せる。透明プレート8は、光学顕微鏡による試料の観察に用いられるスライドガラスであり得る。以下では、透明プレート8としてスライドガラスを例示する。スライドガラスは、典型的には、厚さが1mm、長辺方向の長さが76mm、短辺方向の長さが26mmのサイズを有する。次に、組織切片A02を透明プレート8ごと染色液Ssに漬けることにより、組織切片A02を染色する。次に、透明プレート8上に封入剤6を付与することにより、組織切片A02を染色することによって得られた被写体2を封入剤6によって覆う。封入剤6は、被写体2を保護する機能を有する。次に、撮像素子7を、イメージセンサ4の撮像面が被写体2に対向するようにして被写体2上に配置する。このようにして、モジュールMが得られる。モジュールMは、撮像の対象ごとに作製される。例えば、10枚の組織切片の観察を行うのであれば、10個のモジュールMが用意される。
モジュールMを用いて被写体2の画像の取得を実行するとき、透明プレート8を介して被写体2に照明光を照射する。被写体2を透過した照明光がイメージセンサ4に入射する。これにより、被写体2の画像が得られる。光源と被写体との相対的な配置を変えながら、順次、撮像を実行することにより、照射時において角度を変えて複数の異なる画像を取得することができる。例えば、図10Aに示すように、イメージセンサ4の直上に光源310を配置する。そして、コリメートされた光CLをイメージセンサ4の撮像面4Aの法線方向から被写体2に照射した状態で撮像を行えば、図2Cに示すサブ画像Saと同様のサブ画像が得られる。また、図10Bに示すように、モジュールMを傾けた状態でコリメートされた光CLを被写体2に照射して撮像を行えば、図3Cに示すサブ画像Sb(あるいは図4Cに示すサブ画像Sc)と同様のサブ画像が得られる。このように、光源に対するモジュールMの姿勢を変化させながら、順次、撮像を実行することにより、図1A〜図6を参照して説明した原理を適用して高分解能画像を得ることが可能である。
本開示の実施形態では、光源および可動ステージを有する画像取得装置(デジタイザ)を使用して、被写体の撮像を行う。図11は、画像取得装置を使用した撮像の一例を示す。図11に示す例では、画像取得装置300のステージ320にソケット100aが取り付けられており、このソケット100aによってモジュールMが保持されている。ソケッ
ト100aは、画像取得装置300に用いられるソケットの一例である。ソケット100aの構造の詳細は後述する。ソケット100aに保持されたモジュールMに、光源310から出射された照明光が照射される。光源310から出射される光は、典型的には、コリメートされた光である。ただし、被写体に入射する光が実質的に平行光であるとみなせる場合には、光源310から出射される光はコリメートされた光でなくてもよい。後に詳しく説明するように、本開示の実施形態では、画像取得装置は、ソケットを介してイメージセンサの出力を受け取る。
画像取得装置300のステージ320は、ステージ320の姿勢を変化させるステージ駆動機構330に連結されている。ステージ駆動機構330は、例えばゴニオ機構、回転機構などを含み、画像取得装置本体300Bに対するステージ320の傾斜および/またはステージ320の中心を通る軸に関する回転角を変化させる。図11に例示する構成では、ステージ320は、円盤状である。図示する例において、ステージ320に取り付けられたソケット100aにモジュールMが保持されているので、ステージ320の姿勢の変化に伴ってモジュールMの姿勢も変化する。したがって、ステージ320の姿勢を変化させることにより、被写体に対する照射方向を変化させることができる。例えば、ステージ320が基準面に対して傾斜していない時における照明光の入射方向がイメージセンサの撮像面の法線方向であるとする。図12に示すように、基準面(典型的には水平面)に対してステージ320を角度θ傾斜させたとする。このとき、基準面に対するステージ320の傾斜と基準面に対するモジュールMの傾斜(透明プレート8の傾斜といってもよい。)との間の関係(例えば、平行)がステージ320の姿勢の変化の前後において一定に保たれていれば、被写体に入射する光線の方向も角度θ傾斜するということができる。なお、図12中、破線Nは、イメージセンサの撮像面の法線を示している。
このように、画像取得装置300のステージ320とともにモジュールMの姿勢を変化させることにより、被写体を基準として複数の異なる照射方向から、順次、照明光を被写体に照射することが可能である。被写体を基準とする照射方向は、例えば、イメージセンサの撮像面の法線と被写体への入射光線とがなす角(天頂角)、および撮像面上に設定した基準方位と入射光線の撮像面への射影とがなす角(方位角)の組によって表される。
以下、本開示の実施形態の概要を説明し、続けて本開示の実施形態を詳細に説明する。
本開示の一態様であるソケットは、撮像素子と被写体を含むモジュールが載せられるモジュール設置部および前記撮像素子と外部装置とを電気的に接続する電気接続部を含む第1基材と、開口部を含む第2基材と、前記第1基材と前記第2基材とが前記モジュール設置部に載せられた前記モジュールを挟んだ条件で、前記第1基材と前記第2基材とを係合する係合部とを備え、前記第1基材と前記第2基材とが前記モジュール設置部に載せられた前記モジュールを挟んだ条件で、前記係合部が前記第1基材と前記第2基材とを係合したとき、前記電気接続部は前記撮像素子と電気的に接続され、前記被写体は前記開口部を通過した光源からの照明光を受光する。
前記第1基材および前記第2基材はポリエーテルイミドまたはポリカーボネートを用いられる領域を含み、前記領域は前記モジュールに接してもよい。
前記電気接続部は、前記第1基材のモジュール設置部が設けられた面と反対の面に複数の底面電極を有してもよい。
前記モジュール設置部は、前記撮像素子を受け入れる凹部を有してもよい。
前記モジュール設置部は、前記モジュールの設置方向を示すマーカーを含んでもよい。
前記モジュール設置部は、前記第1基材から着脱可能であってもよい。
前記開口部の前記第2基材の第1面上の面積は、前記開口部の前記第1面と反対の面である第2面上の面積より小さく、前記第1基材と前記第2基材とが前記モジュール設置部に載せられた前記モジュールを挟んだ条件で、前記係合部が前記第1基材と前記第2基材とを係合したとき、前記第1面と前記モジュールとの間の距離は、前記第2面と前記モジュールとの間の距離より小さくてもよい。
前記モジュールは透明プレートをさらに有し、前記被写体は前記撮像素子と前記透明プレートとの間に位置してもよい。
前記モジュール設置部は、前記第1基材と前記第2基材とが前記モジュール設置部に載せられた前記モジュールを挟んだ条件で、前記係合部が前記第1基材と前記第2基材とを係合したとき、前記透明プレートに接する平坦部を有してもよい。
前記ソケットは、第1押圧部と、前記第2基材に設けられた第2押圧部とをさらに含み、前記第1基材と前記第2基材とが前記モジュール設置部に載せられた前記モジュールを挟んだ条件で、前記係合部が前記第1基材と前記第2基材とを係合したとき、前記第1押圧部は前記透明プレートの第1面を押圧し、前記第2押圧部は前記第1面と反対の面を押圧し、前記第2押圧部の押圧力は、前記第1押圧部の押圧力よりも大きくてもよい。
前記第1押圧部の押圧力および前記第2押圧部の押圧力は、前記透明プレートと前記撮像素子との間隔が所定の間隔よりも大きくならない押圧力であってもよい。
本開示の一態様であるアダプタは、撮像素子と被写体とを含むモジュールを載せる支持面を含む支持プレートと、前記モジュールが前記支持プレートに載せられた条件で、前記モジュールと前記支持プレートとを挟み込む抑え具とを備える。
前記アダプタは、前記モジュールを載せるモジュール設置部を含む第1基材と、開口部を含む第2基材とを含むソケットに取り付けられ、前記第1基材と前記第2基材とが、前記モジュール設置部に載せられた前記モジュールを挟んだ条件で、前記係合部が前記第1基材と前記第2基材とを係合したとき、前記抑え具は前記開口部に収容されてもよい。
本開示の一態様である組立治具は、支持プレートを載せる第1保持部を有する底板と、前記底板から上方に垂直に延びる壁部と、前記壁部に垂直な回転軸を有し、かつ前記底板に対して垂直な方向にスライド可能に連結された可動部であって、抑え具が挿入可能である第2保持部を有する可動部と、を備える組立治具であって、前記組立治具は、前記底板と前記可動部とが平行な第1状態、および前記回転軸に関して前記可動部が前記第1状態から90°以上180°以下の角度で回転させられた第2状態を有し、前記可動部は、前記第1状態および前記第2状態のいずれかにおいて、前記第1保持部と前記第2保持部とが重なる配置を有する。
本開示の一態様であるソケットは、撮像素子および被写体が一体化されたモジュールを画像取得装置に着脱可能に接続する。ソケットは、第1基材と、第2基材と、係合部とを備える。第1基材は、モジュールを載せるように構成されたモジュール設置部、および、モジュール設置部に載せられた状態にあるモジュールの撮像素子を画像取得装置に電気的に接続する電気接続部を有する。第2基材は、モジュールが第1基材のモジュール設置部に載せられているときにモジュールに対向する。第2基材は、被写体に光を入射させるように構成された開口部を有する。係合部は、第1基材と第2基材との間にモジュールを保
持するように第2基材を第1基材に固定する。
ある態様では、第1基材および第2基材においてモジュールに接する領域は、ポリエーテルイミドまたはポリカーボネートから形成されている。
ある態様において、電気接続部は、第1基材の底面に複数の底面電極を有している。
複数の底面電極の各々は、ピン電極であってもよい。
ある態様において、第1基材の底面は、突出部を有する。底面電極は、突出部の側面に配置されていてもよい。
ある態様において、第1基材の底面は、底面から延び、かつ、底面電極よりも長い複数の脚部を有している。
ある態様において、モジュール設置部は、モジュールの撮像素子を受け入れる凹部を有する。凹部は、モジュールの撮像素子に整合する形状を有していてもよい。
ある態様において、モジュール設置部には、モジュールの設置方向を示すマーカーが形成されている。
ある態様において、モジュール設置部は、第1基材の本体に対して着脱可能である。
ある態様において、第2基材の開口部の側面は、テーパー形状を有する。第2基材の開口部の開口面積は、モジュールに対向する側に向かって第2基材の厚さ方向に沿って小さくなってもよい。
ある態様において、モジュールは、透明プレートを有し、かつ、撮像素子の撮像面上に被写体および透明プレートがこの順に積層された積層構造を有する。
ある態様において、モジュール設置部は、モジュールの透明プレートに接するように構成された平坦部を有している。
ある態様では、第1基材と第2基材との間にモジュールが保持されている状態でモジュール設置部の平坦部に垂直な方向から見たとき、透明プレートの形状は、長方形であり、かつ、平坦部における、透明プレートの短辺方向に沿った長さは、透明プレートの短辺の長さよりも大きい。
ある態様において、モジュール設置部は、第1基材と第2基材との間に保持された状態にあるモジュールの透明プレートの第1基材側の主面を押圧する第1押圧部を有し、第2基材は、第1基材と第2基材との間に保持された状態にあるモジュールの透明プレートの第2基材側の主面を押圧する第2押圧部を有する。第2押圧部の押圧力は、第1押圧部の押圧力よりも大きくてもよい。
ある態様において、第1押圧部の押圧力および第2押圧部の押圧力は、透明プレートと撮像素子との間隔が所定の間隔よりも大きくならないように調節されている。
本開示の他の一態様であるアダプタは、上記のいずれかのソケットに用いられるモジュールのためのアダプタである。アダプタは、支持プレートと、抑え具とを備える。支持プレートは、モジュールを載せるように構成された支持面、および、モジュールの撮像素子
をソケットの電気接続部に電気的に接続するように構成された孔または電極を有する。抑え具は、支持プレートに結合されて使用され、支持プレートとともにモジュールを挟持する抑え具である。抑え具は、支持プレートに結合されたときに支持プレートの支持面に対向する対向面を有し、支持面と対向面との間隔が所定の範囲内に規制された状態でモジュールを支持プレートに固定する。
ある態様において、抑え具は、支持プレートとともにモジュールを挟持した状態において撮像素子の上に位置する開口部を有する。抑え具の開口部の側面がテーパー形状を有し、抑え具の開口部の開口面積がモジュールに対向する側に向かって抑え具の厚さ方向に沿って小さくなっていてもよい。
ある態様において、抑え具は、第1基材と第2基材との間にモジュールが保持された状態において第2基材の開口部内に位置する。
ある態様では、支持プレートおよび抑え具においてモジュールに接する領域は、ポリエーテルイミドまたはポリカーボネートから形成されている。
ある態様において、支持プレートは、モジュールの撮像素子を受け入れる凹部を有する。凹部は、モジュールの撮像素子に整合する形状を有していてもよい。
ある態様において、支持プレートには、モジュールの設置方向を示すマーカーが形成されている。
ある態様において、支持プレートは、支持面から突出する方向に弾性力が付与された押圧部を支持面に有する。
ある態様において、モジュールは、透明プレートを有し、かつ、撮像素子の撮像面上に被写体および透明プレートがこの順に積層された積層構造を有する。
ある態様において、支持プレートは、モジュールの透明プレートに接するように構成された平坦部を有する。
ある態様では、第1基材と第2基材との間にモジュールが保持されている状態で支持プレートの平坦部に垂直な方向から見たとき、透明プレートの形状は、長方形であり、かつ、平坦部における、透明プレートの短辺方向に沿った長さは、透明プレートの短辺の長さよりも大きい。
本開示のさらに他の一態様である被写体ユニットは、上記のいずれかに記載のソケットと、透明プレートとソケットの第2基材とが対向するようにしてソケットの第1基材と第2基材との間に保持された積層体とを備える。積層体は、撮像素子、被写体および透明プレートを有し、かつ、撮像素子の撮像面上に被写体および透明プレートがこの順に積層された積層体である。
本開示のさらに他の一態様である被写体ユニットは、上記のいずれかに記載のアダプタと、透明プレートと抑え具とが対向するようにして支持プレートと抑え具との間に固定された積層体とを備える。積層体は、撮像素子、被写体および透明プレートを有し、かつ、撮像素子の撮像面上に被写体および透明プレートがこの順に積層された積層体である。
本開示のさらに他の一態様である画像形成システムは、上記のいずれかに記載の被写体ユニットと、画像取得装置と、画像処理装置とを備える。画像取得装置は、被写体ユニッ
トが着脱可能に接続するように構成されたステージ、ステージの姿勢を変化させるステージ駆動機構、および光源を有する。画像取得装置は、被写体を基準にして複数の異なる照射方向から、順次、光源から出射される照明光を被写体に照射する。画像処理装置は、照明光の照射方向を変えて取得した複数の画像を合成することにより、複数の画像の各々よりも分解能の高い被写体の高分解能画像を形成する。
本開示のさらに他の一態様である組立治具は、上記のいずれかに記載のアダプタの組み立てに用いられる組立治具である。組立治具は、支持プレートを載せるように構成された第1保持部を有する底板と、底板から上方に垂直に延びる壁部と、壁部に垂直な回転軸を有し、かつ底板に対して垂直な方向にスライド可能に連結された可動部であって、抑え具が挿入可能に構成された第2保持部を有する可動部とを備える。組立治具は、底板と可動部とが平行な第1状態、および回転軸に関して可動部が第1状態から90°以上180°以下の角度で回転させられた第2状態を有する。可動部は、第1状態および第2状態のいずれかにおいて、第1保持部と第2保持部とが重なる配置を有する。
本開示のさらに他の一態様であるモジュールは、上記のいずれかに記載のソケットに保持されるモジュールであって、撮像素子、被写体および透明プレートを有し、かつ、撮像素子の撮像面上に被写体および透明プレートがこの順に積層されている。
ある態様において、撮像素子には、モジュール設置部に対するモジュールの設置方向を示すマーカーが形成されている。
本開示のさらに他の一態様であるモジュールは、上記のいずれかに記載のアダプタに固定されるモジュールであって、撮像素子、被写体および透明プレートを有し、かつ、撮像素子の撮像面上に被写体および透明プレートがこの順に積層されている。
ある態様において、撮像素子には、支持プレートに対するモジュールの設置方向を示すマーカーが形成されている。
以下、図面を参照しながら、本開示の実施形態を詳細に説明する。なお、図面に現された各部の形状はあくまでも例示であり、各種の変形が可能である。
<ソケットおよび被写体ユニット>
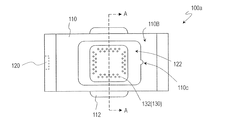
図13Aは、本開示の実施形態によるソケットの一例を示す。図13Bは、図13Aに示すソケット100aの側面図である。図13Aに示すように、ソケット100aは、概略的には、モジュールが載せられるモジュール設置部112が設けられた第1基材110と、第1基材110に結合可能に構成された第2基材150と、第2基材150を第1基材110に固定する係合部とを有している。
図13Aに例示する構成において、モジュール設置部112は、平坦部114と、突出部116とを有している。後述するように、ここでは、突出部116は、平坦部114の上面114sから突出する方向に弾性力が付与されている。なお、本明細書における「上面」の用語は、構造物における特定の面を指定するために用いられており、その用語の使用によって構造物の向きを限定する意図で用いられているわけではない。以下において、「表面」、「裏面」および「底面」などの用語についても同様である。図示する例において、突出部116には、凹部118が形成されている。後に詳しく説明するように、モジュールは、撮像素子が凹部118内に位置するようにしてモジュール設置部112に載せられる。
第1基材110は、モジュール設置部112に載せられた状態にあるモジュールの撮像
素子を画像取得装置に電気的に接続する電気接続部130を有する。本開示の実施形態では、画像取得装置は、第1基材110が有する電気接続部130を介してイメージセンサの出力を受け取る。第1基材110の電気接続部130とモジュールとの間の電気的な接続方法は後述する。ここでは、電気接続部130の一部を構成する孔131が凹部118の内側に形成されている。また、電気接続部130の一部を構成する底面電極132が、第1基材110の底面110Bに設けられている。図13Bに例示する構成では、底面電極132は、ピン電極である。
図13Aに例示する構成において、第2基材150には、第2基材150の表面150fと裏面150bとを結ぶ開口部152が形成されている。開口部152は、第2基材150が第1基材110に対向したときに、モジュール設置部112の凹部118と対向する位置に形成される。また、図13Aに例示する構成では、第2基材150の裏面150b側に、裏面150bから突出する押圧部156が設けられている。ここでは、押圧部156は、3つのバネを含んでおり、各ばねの端部が裏面150bから突出している。図示する例では、開口部152を挟むようにして2つの押圧部156が設けられている。
図示する例では、係合部として、爪190が第2基材150に接続されている。ここでは、爪190は、第2基材150に対し、回転軸RS2に関して回転可能に連結されている。また、図示する例では、第2基材150は、ヒンジ192によって第1基材110に対して回転可能に連結されている。第2基材150を回転軸RS1に関して回転させることにより、第1基材110に設けられた穴部120に爪190の先端がはめ込まれる(図13B参照)。モジュール設置部112に前述のモジュールMを載せた状態で第2基材150を回転軸RS1に関して回転させて穴部120に爪190の先端をはめ込めば、モジュールMを第1基材110と第2基材150との間に保持した状態で第1基材110と第2基材150とを固定することができる。
図13Cは、第1基材110と第2基材150との間にモジュールMを保持した状態のソケット100aを示す上面図である。以下では、モジュールが第1基材110と第2基材150との間に保持されることによってモジュールとソケットとが一体化された構造物を「被写体ユニット」と呼ぶことがある。例えば、被写体の数に応じて被写体ユニット100uを準備しておけば、画像取得装置300からモジュールMをソケット100aごと取り換えることにより、撮像の対象を変更することが可能である。ソケット100aが画像取得装置300のステージ320に固定された状態でモジュールMの交換を行ってもよい。
図9を参照して説明したように、組織切片A02を観察の対象とするとき、典型的には、モジュールMの作製において封入剤6が使用される。一般に封入剤6の乾燥には長時間(60分以上)を要する。封入剤6が乾燥するまでは、透明プレート8と撮像素子7の撮像面との間の距離が変化しやすい。
本開示の実施形態によれば、封入剤6が未乾燥の状態にあるモジュールMを、第1基材110と第2基材150との間に挟んでおくことができる。したがって、モジュールMが第1基材110と第2基材150との間に挟まれた状態で封入剤6を乾燥させることができる。すなわち、透明プレート8と撮像素子7の撮像面との間の距離が規制された状態で封入剤6を乾燥させることができ、透明プレート8と撮像素子7の撮像面との間の距離の変化を抑制することができる。また、モジュールMが第1基材110と第2基材150との間に保持されているので、封入剤6が未乾燥であっても、モジュールMを被写体ユニット100uの形で机の上などに置くことが可能である。したがって、モジュールMの管理が容易になる。
また、透明プレート8と撮像素子7の撮像面との間の距離が規制された状態であるので、被写体ユニット100uを傾けても、透明プレート8と撮像素子7の撮像面との間の距離の変化は小さい。したがって、本開示の実施形態によれば、封入剤6が未乾燥であっても撮像を実行することが可能である。
モジュールMを第1基材110と第2基材150との間に挟み込んだ状態で第2基材150を第1基材110に固定することにより、第1基材110と第2基材150との間におけるモジュールMの移動を抑制してモジュールMの確実な保持を実現し得る。特に、モジュールMの作製において封入剤6(図9参照)を使用した場合、未乾燥の封入剤6がモジュールMに付着していると、第1基材110と第2基材150との間でモジュールMが滑り、モジュールMが動いてしまうおそれがある。モジュールMの姿勢の変化の前後においてモジュールMが動いてしまうと、所望の領域を撮像できず、高分解能画像が得られないおそれがある。本開示の実施形態によれば、そのような不具合の発生を抑制することが可能である。
第1基材110および第2基材150は、例えば樹脂材料から形成することができる。なお、封入剤6(図9参照)として、キシレンを含有する封入剤が用いられることがある。このような封入剤を使用したとき、封入剤の付着により、ソケットを構成する材料によっては、ソケットの変色および/または溶解といった不具合が発生するおそれがある。第1基材110および第2基材150のうち、少なくとも、モジュールMに接する領域が、ポリエーテルイミド(一例としてウルテム(登録商標))から形成されていると、このような不具合を抑制でき、有益である。なお、本発明者の行った実験によると、ポリカーボネートから形成された第1基材110および第2基材150を用いた場合、封入剤の付着に起因する変色および/または溶解といった不具合は確認されなかった。したがって、第1基材110および第2基材150の材料として、ポリカーボネートを使用することも可能である。第1基材110および第2基材150の材料としてポリエーテルイミドまたはポリカーボネートを用いると、画像取得装置300との接続側である第1基材110に必要な耐熱性も確保でき、有益である。モジュールMに接する領域は、平坦部114と突出部116を含むモジュール設置部112、および、第2基材150の裏面150bであってもよい。
図13Cに示す被写体ユニット100uにおいて、第2基材150は、モジュールMと対向している。このとき、開口部152は、モジュールMのイメージセンサ4上に位置する。また、図8Aを参照して説明したように、モジュールMでは、撮像素子7の撮像面4A上に被写体2および透明プレート8がこの順に積層されている。したがって、開口部152、および、モジュールMの透明プレート8を介して、被写体に照明光を照射することができる。
図示する例では、開口部152の側面は、テーパー形状を有しており、開口部152の開口面積は、第2基材150の裏面150b側に向かって第2基材150の厚さ方向に沿って小さくなっている。つまり、図示する例では、第2基材150の表面150f側の開口面積AP1は、裏面150b側の開口面積AP2よりも大きい(図13B参照)。そのため、画像取得装置300のステージ320を傾けることによって、ソケット100aに保持されたモジュールMの姿勢を変化させた場合であっても、被写体への照射を確実に行い得る(図11参照)。なお、開口部152の側面の形状はテーパー形状に限定されない。例えば、開口面積が十分な大きさを有しているのであれば、開口部152の側面は、第2基材150の表面150fおよび裏面150bに垂直(AP1=AP2)であってもよい。ただし、開口部152の側面をテーパー形状として、裏面150b側の開口面積AP2をイメージセンサ4の撮像面の面積に近づけることにより、イメージセンサ4の撮像面の外側の部分への照明光の入射を抑制し得る。これにより、開口部152の側面を第2基
材150の表面150fおよび裏面150bに垂直とした場合と比較して迷光の発生を抑制し、サブ画像の画質の劣化を抑制し得る。開口部152は、貫通孔に限定されず、光透過性の材料(例えば透明樹脂)によって充填されていてもよい。
図14を参照して、画像取得装置300のステージ320に対する被写体ユニット100uの装填方法を説明する。図14に示すように、被写体ユニット100uは、画像取得装置300のステージ320に設けられた取付部324に装填される。このとき、被写体ユニット100uは、取付部324に設けられたジャック322にソケット100aの底面電極132が挿入されるようにしてステージ320に装填される。ジャック322に底面電極132が挿入されることにより、ソケット100aに保持されたモジュールM中の撮像素子と画像取得装置300との間の電気的接続が確立される。したがって、画像取得装置300は、被写体ユニット100uを仲立ちとして被写体の画像を示す情報(画像信号あるいは画像データ)を取得することができる。
また、被写体ユニット100uがステージ320の取付部324に装填されることにより、ソケット100aの底面110B(図14において不図示)と、取付部324の上面とを密着させ得る。これにより、ステージ320に対するソケット100aの配置が固定され、ステージ320とソケット100aとの配置をステージ320の姿勢の変化の前後において一定に保つことができる。典型的には、モジュール設置部112の平坦部114がステージ320とほぼ平行とされる(図13B参照)。
図15は、図13Aに示すソケット100aの底面を示す。図示する例では、第1基材110の底面110Bに形成された凹部122の内側に、底面電極132が配置されている。なお、底面電極132の大きさ、本数および配置はあくまで例示である。図示する例では、四角形の4辺に沿うように底面電極132が配置されている。しかしながら、底面電極132の配置はこの例に限定されず、例えば、四角形の4辺のうち、対向する2辺に沿うように底面電極132を配置してもよい。また、例えば底面電極132を非対称に配置してもよい。底面電極132を非対称に配置することにより、画像取得装置300のステージ320に対するソケット100aの装填方向を所定の方向に規制できる。つまり、予め決められた正しい方向にソケット100aが向けられているときにソケット100aの装填が可能であるようにできる。なお、図15に例示するように、第1基材110の底面に切り欠き110cを設けるとともに、切り欠き110cに対応して位置決めピンをステージ320の取付部324(図14参照)に設けておくことにより、ソケット100aの装填方向を所定の方向に規制してもよい。
図16Aは、画像取得装置300の例示的な外観を示す。図16Aは、ステージ320にソケット100aが装填された状態を示している。図14を参照して説明したように、ステージ320は、取付部324を有し、ソケットが着脱可能に接続するように構成されている。図11を参照して説明したように、画像取得装置300は、ステージ駆動機構330(図16Aにおいて不図示)を有し、ステージ320の姿勢を変化させることができる。ソケットに保持されたモジュールをステージ320に装填すれば、ステージ320とともにモジュールの姿勢を変化させることができる。したがって、画像取得装置300は、ステージ320の姿勢を変化させることによって、複数の異なる照射方向から被写体を照射することが可能である。なお、光源310を画像取得装置300内において移動させたり、複数の光源を順次に点灯させたりすることによっても、複数の異なる照射方向から被写体を照射することが可能である。例えば、ステージ320の姿勢の変化と光源310の移動とを組み合わせることによって照射方向を変化させてもよい。
図16Aに例示する構成では、画像取得装置本体300Bは、開閉可能な蓋部326を有している。蓋部326を閉じることにより、画像取得装置300の内部に暗室を形成す
ることができる(図16B参照)。
ここで、図17Aおよび図17Bを参照して、第1基材110の電気接続部130とモジュールMとの間の電気的な接続方法の例を説明する。
図17Aおよび図17Bは、ソケット100aの断面を模式的に示す。図17Aおよび図17Bは、図13CにおけるA−A線断面図である。ただし、図17Aにおいては、モジュールMが第1基材110と第2基材150との間に保持されていない状態の第1基材110および第2基材150を分離して示している。
図17Aに例示する構成では、モジュール設置部112の突出部116は、第1基材110に形成された空洞(凹部)123内に配置された弾性部材117に接続されている。これにより、突出部116には、図の上方に向かう弾性力が付与されている。ここでは、弾性部材117としてバネが用いられている。弾性部材117の構成はこの例に限定されない。図示するように、モジュール設置部112にモジュールMが載せられていない状態では、突出部116の頂部116tは、平坦部114の上面114sから図の上方に向けて突出している。
また、図17Aに例示する構成では、第1基材110の空洞123内に上面電極136が配置されている。この上面電極136は、電気接続部130の一部を構成する。上面電極136は、突出部116の凹部118に形成された孔131内に配置されている。上面電極136は、底面電極132との間の電気的接続を有する。モジュール設置部112にモジュールMが載せられていない状態では、上面電極136の先端は、凹部118の表面からは突出していない。
図17Bを参照する。図示するように、モジュールMは、透明プレート8の主面のうち、撮像素子7が固定された側の主面8b(以下、「透明プレート8の裏面8b」ということがある。)が平坦部114の上面114sに対向するようにして、モジュール設置部112に載せられる。なお、透明プレート8の面のうち、検体と接触する面およびその裏側の面を主面、他を側面と呼ぶ。このとき、図示するように、撮像素子7は、突出部116の凹部118内に配置される。凹部118は、典型的には、撮像素子7に整合する形状を有する。例えば、撮像素子7のパッケージの外形が正方形である場合、モジュール設置部112の平坦部114の法線方向から見たときの凹部118の形状は、典型的には、正方形である。ここで、「撮像素子7に整合する形状」とは、撮像素子7のパッケージを収容でき、かつ、パッケージが収容されることによりモジュールの設置方向が定まるような形状を意味する。設置方向が定まるような形状とは、例えば撮像素子7のパッケージと、凹部118の底面とが接触した状態において、パッケージと底面との接触を維持したままでパッケージにおける回転移動、並行移動等の同一平面での移動を拘束する形状をいう。言い換えれば、パッケージの側面と凹部118の側壁118wとが平行である必要はなく、かつ、これらが互いに密着している必要はない。凹部118の形状がパッケージの外形と相似な形である必要もない。パッケージの側面と凹部118の側壁118wとの間に隙間が形成されていてもよい。突出部116の頂部116t(図17A参照)は、撮像素子7の外側に位置し、透明プレートの裏面8bに対向する。
図17Bに示すように、第1基材110に第2基材150が固定された状態においては、透明プレート8の主面のうち、撮像素子7が固定されていない側の主面8f(以下、「透明プレート8の表面8f」ということがある。)と、第2基材150の押圧部156とが接触する。これにより、押圧部156が透明プレート8を図の下方に向けて押圧し、透明プレート8の裏面8bが平坦部114に押し付けられる。また、突出部116の頂部116tが透明プレート8の裏面8bに接触することにより、突出部116が図の下方に向
けて押し下げられる。このとき、上面電極136の先端が凹部118の表面から突出して撮像素子7の裏面電極5Bに接触する。これにより、モジュールMの撮像素子7と第1基材110の電気接続部130とが電気的に接続される。
このように、第2基材150側から透明プレート8の表面8fを押圧することにより、透明プレート8の裏面8bを確実に平坦部114に接触させ得る。すなわち、第1基材110に対する透明プレート8の配置を固定して、ソケット100aとモジュールMとの配置をソケット100aの姿勢の変化の前後において一定に保つことができる。これは、被写体ユニット100uをステージ320に装填してステージ320の姿勢を変化させたときに、ステージ320の姿勢の変化の前後において、基準面に対するステージ320の傾斜と基準面に対するモジュールMの傾斜との間の関係(例えば、平行)を一定に保つことができることを意味する。したがって、例えばステージ320の傾斜角度を所望の角度に制御することにより、所望の照射方向を実現することが可能である。
また、第2基材150側から透明プレート8の表面8fを押圧することにより、モジュール設置部112上における透明プレート8の移動および/または透明プレート8と撮像素子7の撮像面との間の距離の変化を抑制し得る。
上述したように、組織切片A02を観察の対象とするとき、典型的には、封入剤6が使用される。未乾燥の封入剤6がモジュールに付着していると、第1基材110と第2基材150との間でモジュールが滑り、モジュールが動いてしまうおそれがある。モジュールの姿勢の変化の前後においてモジュールが滑ると、撮像素子7の裏面電極5Bと上面電極136の先端とが離れ、撮像素子7と第1基材110の電気接続部との間の電気的接続が失われるおそれがある。また、封入剤6が未乾燥であると、モジュールを傾けた時に透明プレート8と撮像素子7の撮像面との間の距離が変化することがある。モジュールの姿勢の変化の前後において透明プレート8と撮像素子7の撮像面との間の距離が変化すると、複数のサブ画像間において画質に差が生じ、鮮明な高分解能画像が得られないおそれがある。
モジュールの透明プレート8をモジュール設置部112の平坦部114に押し付けることにより、このような不具合の発生を抑制し得る。例えば、撮像素子7と電気接続部130との間の接続不良の発生が抑制される。
さらに、第2基材150側から透明プレート8の表面8fを押圧することにより、透明プレート8と撮像素子7との間に挟まれた被写体を適度に押しつぶして被写体の厚さをほぼ均一にすることができる。図17Bに示すように、第1基材110と第2基材150との間にモジュールMが保持された状態においては、撮像素子7は、上面電極136によって支持されている。したがって、撮像素子7が上面電極136によって支持された状態で透明プレート8の表面8fを押圧することにより、透明プレート8と撮像素子7の撮像面との間の距離を小さくすることができる。これにより、被写体を適度に押しつぶして被写体の厚さをほぼ均一にし得、被写体内の厚さばらつきに起因する、焦点外れによるぼやけが抑制される。透明プレート8と撮像素子7の撮像面との間の距離を小さくすることにより、モジュールMの作製時に封入剤6(図9参照)に混入した気泡を追い出す効果も得られる。封入剤6中への気泡の混入を抑制することにより、被写体(検体)の乾燥を抑制でき、したがって被写体(検体)の劣化を防止し得る。なお、図17Bから明らかなように、透明プレート8の裏面8bが平坦部114に接触すれば、透明プレート8はそれ以上移動しないので、被写体が完全に押しつぶされることはない。
なお、第2基材150に押圧部156を設けることは必須ではない。第2基材150の裏面150bが透明プレート8の表面8fを適度に押圧することができれば、上述した効
果が得られる。
弾性力が付与された押圧部(ここでは突出部116)を第1基材110に設け、かつ、弾性力が付与された押圧部(ここでは押圧部156)を第2基材150に設けた場合には、第1基材110側の押圧力と第2基材150側の押圧力とは、適切な大小関係に調整される。例えば、透明プレート8と撮像素子7との間隔が所定の間隔よりも大きくならないように第1基材110側の押圧力と第2基材150側の押圧力とを調整することにより、被写体内の厚さばらつきを低減し得る。
押圧部156の押圧力が突出部116の押圧力よりも大きくなるように設定されてもよい。押圧部156による押圧力に比べて、透明プレート8の裏面8bを押圧する突出部116の押圧力が極端に大きいと、透明プレート8の裏面8bと平坦部114とが離れ、透明プレート8と撮像素子7の撮像面との間の距離を近づけられないことがある。あるいは、撮像素子7の裏面電極5Bと上面電極136の先端とが離れ、撮像素子7と第1基材110の電気接続部との間の電気的接続が失われるおそれがある。押圧部156の押圧力を突出部116の押圧力よりも大きくすることにより、このような不具合の発生を抑制し得る。
電気接続部130が、弾性力が付与された移動可能な電極を含んでいてもよい。図17Cに例示するソケット100fでは、上面電極136が、第1基材110に支持された弾性部材117e(例えばバネ)に接続されている。すなわち、図示する例では、図の上方に向かう弾性力が上面電極136に付与されている。
図17Dは、図17Cに示すソケット100fを用いて、第1基材110と第2基材150との間にモジュールMを保持した状態を示す。撮像素子7の裏面電極5Bに向かう方向の弾性力を上面電極136に付与することにより、撮像素子7と電気接続部130との間の確実な電気的接続を実現し得る。
このとき、第2基材150において第1基材110に向かう方向に加えられる力の大きさをP1、押圧部156の弾性力の大きさをP2、弾性部材117eの弾性力の大きさをP3とすれば、これらの和が、被写体(検体)に破壊が生じる力の大きさP4を超えないことが有益である。すなわち、P4>P1+P2+P3が成立すると有益である。また、P2とP3の和がP1を超えると第1基材110に対する第2基材150の固定が解除されてしまうので、P1>P2+P3が成立すると有益である。
上述したように、モジュールMは、撮像素子7が突出部116の凹部118内に配置されるようにしてモジュール設置部112に載せられる。このとき、モジュールMを誤った設置方向でモジュール設置部112に載せてしまうと、撮像素子7の裏面電極5Bの配置の設定によっては、撮像素子7と第1基材110の電気接続部130とを接続できない(図17B参照)。あるいは、モジュールMを誤った設置方向でモジュール設置部112に載せた状態において撮像素子7と電気接続部130とが接続されると、意図しない電気的短絡が生じて撮像素子7を損傷させてしまうおそれがある。
そこで、図18Aに示すように、例えばモジュール設置部112に、モジュールMの正しい設置方向を示すマーカーを形成しておくと、撮像素子7の損傷を防止し得るので有益である。図18Aに示す例では、モジュール設置部112の突出部116に、モジュールMの正しい設置方向を示すマーカー112mが形成されている。マーカー112mは、例えば凹部を形成することによって設けられてもよい。マーカーの形態はこの例に限定されず、印刷、印字、彩色、凸部の形成、またはこれらの組み合わせなど、任意に設定可能である。
モジュール設置部112へのマーカーの形成とともに、モジュール設置部112のマーカーに対応するマーカーをモジュールMに形成すると有益である。図18Bに示すモジュールMmでは、撮像素子7の裏面電極5B側の表面においてモジュール設置部112のマーカーに対応する位置に、円形の彩色5mが施されている。この例では、モジュールMmを図18Bに示す状態から裏返し、彩色5mとモジュール設置部112のマーカー112mとが重なるようにしてモジュールMmをモジュール設置部112に載せれば、モジュールMmを正しい設置方向でモジュール設置部112に載せることができる。
画像取得装置300にモジュールの設置方向を検出させ、誤った設置方向が検出された場合に、画像取得装置300のユーザーにエラーを通知してもよい。また、電気接続部130が短絡防止回路を含んでいてもよい。
図18Bに示すように、透明プレート8に方向表示部9を設けておいてもよい。方向表示部9は、透明プレート8に色つきの識別テープを貼りつけたり、印字可能な部分を設けたりすることによって形成できる。例えば、ソケットの基準方向をあらかじめ決めておき、透明プレート8における方向表示部9がソケットの左側に位置するようにしてモジュールMmをモジュール設置部112に載せるとのルールを設定しておけばよい。
図9を参照して説明したように、モジュールMの作製においては、封入剤6によって覆われた被写体2上に撮像素子7を配置する。撮像素子7を配置する時、特に、手作業でこの工程を行う場合、図19Aに示すように、透明プレート8の向きに対してパッケージ5の向きが斜めになりやすい。言い換えれば、透明プレート8の主面の法線方向から見たとき、透明プレート8の長辺と、パッケージ5(例えば正方形)の辺のうち、その長辺に最も近い辺とが平行でないことが多い。
そこで、図19Bに示すように、モジュール設置部112の平坦部114に垂直な方向から見たときにおける、透明プレート8(ここでは長方形)の短辺方向に沿って測った平坦部114の長さ(図19B中、矢印W1で示す長さ)が透明プレート8の短辺の長さ(図19B中、矢印W2で示す長さ)よりも大きいことが有益である。ここで、「平坦部114における、透明プレート8の短辺方向に沿った長さ」は、平坦部114に垂直な方向に見たときにおける平坦部114の辺のうち、第1基材110と第2基材150との間に保持された状態にあるモジュールMの透明プレート8の長辺となす角(図19Bに示す角δ(δ<90°))が最も小さい辺とその辺に対向する辺との間の距離を意味する。W1>W2の関係が満足されていると、透明プレート8の向きに対してパッケージ5の向きが斜めであってもモジュール設置部112上にモジュールMを斜めにして設置することができ、これにより、モジュールMとソケットの電気接続部とを適切に接続することができる。
<ソケットの変形例>
図20A〜図22を参照して、ソケットの変形例を説明する。
図20Aおよび図20Bは、第1基材110bの底面110Bに突出部124が設けられたソケット100bを示す。図20Cは、図20Aおよび図20Bに示すソケット100bが着脱可能に構成されたステージ320bの例示的な構成を示す。図20Aおよび図20Bに例示する構成では、底面電極134が突出部124の側面に配置されている。また、図20Cに例示する構成では、ソケット100bが装填されるステージ320bの取付部324には、ステージ側ソケット328が設けられている。図示するように、ステージ側ソケット328の内側には、ソケット100bの底面電極134に対応した位置にステージ側電極328tが配置されている。ステージ側ソケット328に第1基材110b
の突出部124を挿入するようにしてソケット100bをステージ320bに装填することにより、ステージ320bに対するソケット100bの固定、および、底面電極134とステージ側電極328tとの間の電気的接続が達成される。
第1基材110bの底面110Bに突出部124を形成し、電気接続部130の一部を構成する底面電極134を突出部124の側面に配置することにより、ステージに対するソケットの着脱がより容易になる。また、この例では底面電極134が突出部124に支持されているので、ピン電極をジャックに挿入する場合と比較して、ソケットの着脱に伴う電極の損傷(折れ、曲りなど)を低減し得る。
図21Aおよび図21Bは、第1基材110cの底面110Bに脚部126が設けられたソケット100cを示す。図21Aおよび図21Bに例示する構成では、第1基材110cの底面110Bに、底面110Bから垂直に延びる脚部126が形成されている。図21Bに示すように、ここでは、突出部124cを囲むようにして板状の4つの脚部126が底面110Bに形成されている。
第1基材110cの底面110Bに脚部126を設けることにより、ステージに装填されたソケットの姿勢をより安定させることができる。また、例えば机の上などにソケットを安定して置くことが容易になる。底面電極134の損傷を抑制する観点から、脚部126の高さ(図21A中、矢印H2で示す長さ)を底面電極134の長さまたは突出部の突出量(図21A中、矢印H1で示す長さ)よりも大きくすることが有益である。脚部126の形状は板状に限定されず、例えば棒状であってもよい。
図21Bに例示する構成では、底面110Bに垂直な方向から見たときの突出部124cの形状は、五角形である。このように、底面110Bに垂直な方向から見たときの突出部の形状を長方形よりも対称性の低い形状とすることにより、ステージに対するソケットの装填方向を規制することが可能である。このような構成によれば、誤った装填方向でソケットがステージに装填されてしまうことを防止できる。
図22は、フィルタ取付部158が第2基材150dに設けられたソケット100dを示す。図22に例示する構成では、フィルタ取付部158として、円形の輪郭を有する凹部が第2基材150dの表面150fに形成されている。図示するように、その凹部の中心部に開口部152が形成されている。このようなフィルタ取付部158を設けておくことにより、ND(Neutral Density)フィルタ、カラーフィルタなどの光学フィルタをソ
ケットに取り付けることが可能になる。このような構成によれば、被写体に近い位置に光学フィルタを配置でき、広がりの小さい光を撮像に利用できる。
上記以外にも、種々の改変が可能である。例えば、第2基材150に爪を設けることに代えて、第1基材110に爪を設け、第1基材110に設けられた爪に対応した穴部を第2基材150に設けてもよい。第1基材110と第2基材150とを分離可能としてもよい。
<画像形成システム>
図23を参照して、本開示の実施形態による画像形成システムの構成例および動作を説明する。
図23は、本開示の実施形態による画像形成システムの構成例の概略を示す。図23に示す画像形成システム1000は、上述の被写体ユニット100uおよび画像取得装置300と、画像処理装置400とを有している。なお、図23においては、複雑さを避けるために、被写体ユニット100uおよび画像取得装置300における一部の要素の図示を
省略している。
画像形成システム1000における画像処理装置400は、汎用または専用のコンピュータによって実現され得る。画像処理装置400は、有線または無線の方式により、画像取得装置300に接続されている。画像処理装置400は、例えば、インターネットなどのネットワークを介して画像取得装置300と接続されてもよい。画像取得装置300とは別の場所に設置された画像処理装置400が、ネットワークを介して画像取得装置300からサブ画像のデータを受け取り、高分解能画像の形成を実行するような構成であってもよい。画像処理装置400は、画像取得装置300と別個の装置であってもよいし、画像取得装置300に搭載されていてもよい。画像処理装置400は、画像取得装置300の各部の動作を制御するための各種のコマンドを供給する制御装置としての機能を備える装置であり得る。
図23を参照して、画像形成システム1000の動作を説明する。画像取得装置300は、ステージ駆動機構330を動作させてステージ320の姿勢を変化させることにより、ステージ320に装填された被写体ユニット100uの姿勢を変化させる。また、光源310からの照明光を被写体ユニット100uの被写体2に照射する。被写体2を透過した光が撮像素子7のイメージセンサに入射する。これにより、所望の方向から照明光で照射された状態の被写体の画像を撮像素子7によって取得することができる。撮像素子7によって取得された、被写体の画像を示す情報は、ソケット100aの第1基材110が備える電気接続部130を介してステージ320に送られる。電気接続部130は、電極、回路素子などを含む。被写体の画像を示す情報を受け取った画像取得装置300は、被写体の画像データ(サブ画像のデータ)を画像処理装置400に送る。その後、上述の手順が繰り返し実行される。すなわち、画像取得装置300がステージ320の姿勢を再度変化させた後、被写体の画像の取得が実行される。このときに得られたサブ画像のデータは、画像取得装置300から画像処理装置400に送られる。このようにして、照射時において照射角度を変えて取得された異なる複数の画像データ(サブ画像のデータ)が画像処理装置400に送られる。
画像処理装置400は、画像取得装置300によって取得された複数のサブ画像のデータを受け取り、高解像度化の処理を実行する。詳細には、画像処理装置400は、図1A〜図6を参照して説明した原理を用いて、複数のサブ画像を合成して、サブ画像の各々よりも分解能の高い、被写体の高分解能画像を形成する。
<アダプタ>
これまでの説明では、モジュール設置部に直接載せられたモジュールを第1基材と第2基材とで挟むことによりモジュールが固定される構成を例示した。しかしながら、以下に説明するように、モジュールMを載せる部分が第1基材から取り外し可能であってもよい。
図24は、本開示の実施形態によるアダプタと、アダプタが取り付けられた状態のソケットを示す。図24に示すアダプタ200は、支持プレート210および抑え具250を有している。図24に示すように、モジュールMは、アダプタ200に保持された状態で、ソケット100eに取り付けられている。以下では、モジュールとアダプタとが一体化された構造物を、モジュールとソケットとが一体化された構造物と同様に「被写体ユニット」と呼ぶことがある。
図24に示すソケット100eは、これまでに説明したソケットと同様に、第1基材110eと、第2基材150eと、係合部としての爪190を有している。ここでは、第2基材150eの開口部152eの側面は、第2基材150eの表面150fおよび裏面1
50bに垂直である。図示する状態から回転軸RS1に関して第2基材150eを回転させ、爪190を第1基材110eの穴部120に嵌めることにより、第2基材150eを第1基材110eに固定することができる。第2基材150eを第1基材110eに固定することにより、第1基材110eのモジュール設置部(図24において不図示)に載せられた被写体ユニット200uが、第1基材110eと第2基材150eとの間において固定される。すなわち、第1基材110eと第2基材150eとの間でモジュールMが保持される。第2基材150eがモジュールMに対向する状態においては、抑え具250は、第2基材150eの開口部152e内に位置する。第1基材110eと第2基材150eとの間にモジュールMが保持された状態の被写体ユニット200uおよびソケット100eを第2基材150eの表面150fに垂直な方向から見たときの外観は、図13Cに示す外観とほぼ同様である。したがって、ここでは、第1基材110eと第2基材150eとの間にモジュールMが保持された状態の被写体ユニット200uおよびソケット100eの外観の図示を省略する。
図25は、被写体ユニット200uとソケット100eとを分離して示す。図25に例示する構成では、第1基材110eのモジュール設置部112eには、突出部113が形成されており、突出部113の周囲に4つのピン115が設けられている。図示するように、突出部113の上面には、電気接続部130の一部を構成する上面電極136が配置されている。ここでは、上面電極136はピン電極である。後述するように、上面電極136の先端が、モジュールMの撮像素子7が有する裏面電極に接触することにより、撮像素子7と電気接続部130とが電気的に接続する。なお、ピン115は、第1基材110eに対する被写体ユニット200uの位置決めのために設けられている。第1基材110eに対する被写体ユニット200uの位置決めの方法は、この例に限定されない。ピン115の形状、配置および数も図示する例に限定されない。
後に詳しく説明するように、被写体ユニット200uにおけるアダプタ200は、支持プレート210に載せられたモジュールMに抑え具250が結合されることにより、支持プレート210と抑え具250との間でモジュールMを保持する。図示する例では、抑え具250に2つの爪290が形成されており、これらの爪290によって抑え具250が支持プレート210に結合されている。図示するように、抑え具250には、モジュールMが保持された状態において、撮像素子7のイメージセンサ4上に位置する開口部252が形成されている。したがって、開口部252を介して被写体に照明光を照射し、被写体を透過した光を利用して撮像素子7によって被写体の画像を取得することが可能である。
以下、図26A〜図28Cを参照して、アダプタ200の構造の詳細を説明する。
図26Aは、図25に示す抑え具250を支持プレート210から分離して示す。図26Aは、抑え具250と支持プレート210との間にモジュールMが保持された状態においてモジュールMと対向しない側の面に垂直な方向から見たときの、抑え具250の表面250fを示している。図示する例では、抑え具250は、概ね長方形状である。
図26Bは、図26AにおけるB−B線断面図である。図示するように、ここでは、開口部252の側面はテーパー形状であり、開口部252の開口面積は、抑え具250の表面250fから抑え具250の裏面250bに向かって抑え具250の厚さ方向に小さくなっている。すなわち、ここではAP1>AP2の関係が満たされている。これにより、画像取得装置300内において被写体ユニット200uの姿勢を変化させても、モジュールにおける被写体に確実に光照射を行い得る。また、迷光の発生を抑制し得る。開口部252は、貫通孔に限定されず、光透過性の材料(例えば透明樹脂)によって充填されていてもよい。
図示するように、爪290は、抑え具250の表面250fから抑え具250の裏面250bに向かう方向に沿って延びている。爪290を支持プレート210を嵌めこむことにより、抑え具250と支持プレート210との間にモジュールMを挟んだ状態で抑え具250を支持プレート210に固定することができる。なお、抑え具250が支持プレート210から分離可能であることは必須ではない。例えば、ソケット100eにおいて第1基材110eと第2基材150eとがヒンジによって連結されているように、ヒンジによって抑え具250を支持プレート210に連結してもよい。
抑え具250と支持プレート210との間にモジュールMが保持された状態においては、抑え具250の裏面250bがモジュールMに対向する。言い換えれば、抑え具250と支持プレート210との間にモジュールMが保持された状態において、抑え具250の裏面250bはモジュールMの透明プレート8の表面8fに接している。この例では、抑え具250の裏面250bと支持プレート210の支持面212s(後述する図27A参照)との間隔は、爪290の長さによって決まる。したがって、アダプタ200は、抑え具250の裏面250bと支持プレート210の支持面212sとの間隔が所定の範囲内に規制された状態でモジュールMを保持することができる。言い換えれば、撮像素子7の撮像面と被写体との間隔と、被写体の厚さとの和を所定の範囲内とし得る。このように、アダプタ200は、モジュールMの保持に加えて、被写体とイメージセンサとの関係を規制する機能を有する。アダプタ200を用いることにより、被写体を適度に押しつぶして被写体の厚さをほぼ均一にする効果が得られ、被写体内の厚さばらつきに起因する、焦点外れによるぼやけが抑制される。また、モジュールMの作製時に封入剤6(図9参照)に混入した気泡を追い出す効果も得られる。
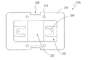
図27Aは、支持プレート210においてモジュールMが載せられる側の支持面212sを模式的に示す。図27Aに例示する構成において、支持プレート210は、平坦部214が形成された下部プレート210bと上部プレート216とを含んでいる。図27Aに示すように、ここでは、下部プレート210bは、概ね長方形状であり、長方形の4つの辺のうちの対向する2辺に、抑え具250の爪290を受ける切り欠き220が形成されている。また、図示する例では、下部プレート210bに位置決め穴215が形成されている。位置決め穴215は、下部プレート210bにおいて、第1基材110eのモジュール設置部112eのピン115(図25参照)に対応した位置に形成されている。第1基材110eのモジュール設置部112eへの被写体ユニット200uの設置時、下部プレート210bの位置決め穴215にモジュール設置部112eのピン115が挿入される。これにより、モジュール設置部112eの所定の位置に被写体ユニット200uが装着される。ピン115および位置決め穴215の配置を非対称とすることにより、モジュール設置部112eに対する被写体ユニット200uの装着方向を規制することができ、誤った装着方向で被写体ユニット200uが装着されることを防止できる。
後述するように、下部プレート210bの平坦部214は、支持プレート210と抑え具250との間にモジュールMが保持された状態において、モジュールMの透明プレート8の裏面8bと接する。なお、図27Aに模式的に示すように、平坦部214に垂直な方向から見たときにおける、透明プレート8(ここでは長方形)の短辺方向に沿って測った平坦部214の長さ(図27A中、矢印W3で示す長さ)は、典型的には、透明プレート8の短辺の長さ(図27A中、矢印W2で示す長さ)よりも大きい。この例のようにW3>W2の関係が満足されていると、図19Bを参照して説明した理由と同様の理由から有益である。すなわち、透明プレート8の向きに対してパッケージ5の向きが斜めであっても、支持プレート210上にモジュールMを斜めにして設置することができる。
図27Bは、図27Aに示す支持プレート210の側面を模式的に示す。図27Bに示すように、支持面212sにモジュールMが載せられていない状態では、上部プレート2
16の上面は、平坦部214の上面から突出している。後述するように、上部プレート216には、支持面212sから突出する方向(図27Bにおける上方向)に弾性力が付与されており、図27Bにおける上下方向に沿って移動可能に下部プレート210bに支持されている。なお、本明細書における「下部」および「上部」の用語は、構造物の向きを限定する意図で用いられているわけではない。
図27Aに示すように、この例では、モジュールMを受け入れる凹部218が上部プレート216の中央部に形成されている。また、凹部218の内側には、孔138が設けられている。後に詳しく説明するように、孔138は、図25に示す上面電極136に対応して設けられており、上面電極136とともに電気接続部130の一部を構成する。
上部プレート216の凹部218は、典型的には、撮像素子7に整合する形状を有し、支持面212sへのモジュールMの設置時、撮像素子7が上部プレート216の凹部218内に配置されるようにして支持プレート210にモジュールMが載せられる。支持プレート210に、モジュールMの正しい設置方向を示すマーカーを形成しておいてもよい。図示する例では、上部プレート216の凹部218の内側に、マーカー212mが形成されている。これにより、モジュールMを誤った設置方向で支持プレート210に載せた状態でモジュールMと画像取得装置300とが電気的に接続されることに起因する撮像素子7の損傷の発生を抑制し得る。マーカー212mを形成する位置は、上部プレート216の凹部218の内側に限定されない。例えば、上部プレート216の凹部218の外側にマーカー212mを形成してもよい。モジュール設置部112eに対する被写体ユニット200uの装着方向を示すマーカーを支持プレート210に形成してもよい。撮像素子7に、支持プレート210に対するモジュールMの設置方向を示すマーカーを形成しておいてもよい(図18B参照)。
図27Cは、図27Aに示すモジュール支持部212の支持面212sとは反対側の面(裏面)212bを模式的に示す。図27Cに例示する構成では、下部プレート210bに、上部プレート216を露出する開口部222が形成されている。図示するように、上部プレート216には、凹部219が形成されており、孔138は、この凹部219の内側に位置している。被写体ユニット200uがモジュール設置部112eに載せられた状態においては、凹部219内に、モジュール設置部112eの突出部113(図25参照)が位置する。
図28Aは、図27Aに示す支持プレート210から上部プレート216を取り除いた状態を示す。図28Bは、図27AにおけるC−C線断面図である。
ここで説明する例では、図28Bに示すように、下部プレート210bは、上部プレート216を受け入れる凹部223を有し、凹部223の内側に、カンチレバー224が形成されている。図28Bに示すように、下部プレート210bの凹部223に上部プレート216が挿入された状態においては、上部プレート216は、下部プレート210bのカンチレバー224によって支持される。これにより、上部プレート216に、抑え具250の裏面250b(図26B参照)に向かう方向の弾性力が付与される。支持プレート210と抑え具250との間にモジュールMが保持された状態において、弾性力が付与された上部プレート216により、抑え具250の裏面250bにモジュールMを押圧することにより、モジュールMをより安定して保持することが可能になる。
上述したように、支持面212sへのモジュールMの設置時、撮像素子7が上部プレート216の凹部218内に配置されるようにして支持プレート210にモジュールMが載せられる。支持プレート210に抑え具250が結合されて支持プレート210と抑え具250との間にモジュールMが保持された状態においては、モジュールMの透明プレート
8の裏面8bが上部プレート216を押圧する。これにより、カンチレバー224が変形し、上部プレート216が押し下げられる。透明プレート8に押し下げられた上部プレート216の上面の高さと平坦部214の高さとが揃うと、モジュールMの透明プレート8の裏面8bと平坦部214とが接する。
さらに、被写体ユニット200uをモジュール設置部112eに装着して第2基材150eを第1基材110eに固定すると、図28Cに示すように、第2基材150eがモジュールMの透明プレート8を第1基材110eに向けて押圧する。これにより、モジュールMの透明プレート8の裏面8bが平坦部214に押し付けられ、平坦部214に対する透明プレート8のより確実な接触が実現する。したがって、ソケット100eとモジュールMとの配置をソケット100eの姿勢の変化の前後において一定に保つことができる。すなわち、被写体ユニット200uを保持するソケット100eを画像取得装置300のステージ320に装填してステージ320の姿勢を変化させたときに、ステージ320の姿勢の変化の前後において、基準面に対するステージ320の傾斜と基準面に対するモジュールMの傾斜との間の関係(例えば、平行)を一定に保つことができる。第2基材150eが、弾性力が付与された押圧部(ここでは押圧部156)を有する場合には、上部プレート216による押圧力と、第2基材150e側の押圧力とが適切な大小関係に調整される。
また、第2基材150eがモジュールMの透明プレート8を第1基材110eに向けて押圧している状態では、被写体ユニット200uにおける支持プレート210の上部プレート216に設けられた孔138から、第1基材110eの上面電極136の先端が突出する。これにより、上面電極136の先端がモジュールMの撮像素子7の裏面電極5Bに接触し、撮像素子7と第1基材110eの電気接続部130との間の電気的な接続が確立される。なお、孔138に代えて貫通電極を上部プレート216の凹部218に形成した場合にも、上記と同様の効果を得られる。孔138は、上面電極136と同数形成しておく必要はなく、例えば、上面電極136が配置された部分の全体の面積よりも大きな開口面積を有する単一の孔を上部プレート216の凹部218に形成しておいてもよい。
このように、モジュールMを載せる部分を第1基材から取り外し可能としてもよい。上述の例のように、ソケット100eに対して着脱可能なアダプタ200によってモジュールMを保持するような形態であっても、基準面に対するステージ320の傾斜と基準面に対するモジュールMの傾斜との間の関係(例えば、平行)を一定に保つことができる。また、アダプタ200によってモジュールMを保持することにより、モジュールMの取り扱いが容易になる。
上述したように、モジュールMの作製において封入剤6を使用することがあり、封入剤6が乾燥するまでは、透明プレート8と撮像素子7の撮像面との間の距離が変化しやすい。また、モジュールMを傾けた時に透明プレート8と撮像素子7の撮像面との間の距離が変化することがあるので、封入剤6が未乾燥のモジュールはサブ画像の撮像に不適当である。
モジュールMを支持プレート210と抑え具250との間に挟んで抑え具250を支持プレート210に結合することにより、抑え具250と支持プレート210との間の空間を規制することができる。したがって、モジュールMにアダプタ200を装着することにより、透明プレート8と撮像素子7の撮像面との間の距離を規制しながら、封入剤6を乾燥させることができる。また、透明プレート8と撮像素子7の撮像面との間の距離が規制されているので、封入剤6が未乾燥であっても、サブ画像の撮像を実行することが可能であり、撮像後に撮像素子7が透明プレート8から剥離するおそれがない。さらに、封入剤6が乾燥するまでの間、専用のスタンドなどを使用することなく、画像取得装置300の
外側に被写体ユニット200uを置いておくことができる。なお、封入剤6の付着に起因する変色および/または溶解といった不具合を抑制する観点から、支持プレート210および抑え具250のうち、少なくとも、モジュールMに接する領域がポリエーテルイミド(例えばウルテム(登録商標))、または、ポリカーボネートから形成されていると有益である。
複数の被写体について撮像を行う場合には、被写体の数に対応した被写体ユニット200uを用意する。このとき、ソケットを画像取得装置300のステージ320に取り付けておき、被写体ユニット200uを交換すればよい。これまでの説明から明らかなように、モジュールとソケットとが一体化された被写体ユニットを換装する場合と比較して、モジュールとアダプタとが一体化された被写体ユニットを換装する方がより容易である。したがって、スムースに撮像を実行でき、作業の効率が向上する。なお、モジュールMの仕様は、使用されるイメージセンサの仕様に応じて異なり得る。そこで、アダプタ200における支持プレート210の支持面212sの形状をモジュールMの仕様に対応した形状とし、反対側の面の形状を共通としてもよい。このようにすれば、共通のソケットを使用して、仕様の異なる複数種類のモジュールを利用することができる。
<組立治具>
次に、図29〜図36を参照して、上述のアダプタ200の組み立てに適用可能な組立治具の構成と動作の一例を説明する。
図29は、組立治具の一例の外観を示す。図29に示す組立治具500は、概略的には、底板510と、底板510に対して移動可能に取り付けられた概ね板状のフラップ550とを有している。図示する状態において、底板510とフラップ550とは平行である。底板510の上面には、上面から突出する2つのプレート設置部512が設けられており、これらの間に支持プレート保持部514が形成されている。支持プレート保持部514には、支持プレート210の位置決め穴215に対応するようにして、ピン516が設けられている。
図29に例示する構成において、フラップ550には、抑え具250を挿入可能な開口部552が形成されている。フラップ550の内部には、ボールプランジャ554が埋め込まれており、その先端が開口部552の側面から開口部552の内側に突出している。
図示する例では、底板510には、底板510から上方に向かって延びる2つの壁部518が取付られている。2つの壁部518において、互いに対向する面には、ガイドレール520が設けられている。また、フラップ550には、フラップ550の主面と垂直に延びる2つのアーム558が形成されている。アーム558のそれぞれからは不図示のシャフトが突出しており、これらの先端は壁部518のガイドレール520に嵌めこまれている。これにより、フラップ550は、軸RS4に関して回転可能に壁部518に連結されている。アーム558のそれぞれには、2つのボールプランジャ560aおよび560bが埋め込まれており、これらの先端は突出している。なお、アーム558のそれぞれにおいて、上述のシャフト、ボールプランジャ560aおよびボールプランジャ560bは、直線的に配置されている。
以下、組立治具500の使用方法を説明する。
まず、図30に示すように、支持プレート210を、支持面212sを上方に向けて支持プレート保持部514に置く。このとき、支持プレート保持部514のピン516が支持プレート210の位置決め穴215に挿入されることにより、支持プレート210の位置が固定される。また、抑え具250を、抑え具250の裏面250bを上方に向けた状
態でフラップ550の開口部552に挿入する。このとき、ボールプランジャ554の先端が抑え具250の側面を押圧し、抑え具250の抜け落ちが防止される。
次に、図31に示すように、支持プレート210上にモジュールMを配置する。このとき、プレート設置部512によってモジュールMの透明プレート8が支持される。
次に、図32および図33Aに示すように、フラップ550を軸RS4に関して回転させる。この例では、フラップ550が軸RS4に関して180°反転される。これにより、図33Bに示すように、ボールプランジャ560aおよび560bが順に壁部518のガイドレール520に嵌りこむ。フラップ550を軸RS4に関して180°反転させた状態においては、抑え具250の爪290がモジュールMに向けられている。このとき、底板510の支持プレート保持部514とフラップ550の開口部552とは対向している。なお、底板510の支持プレート保持部514とフラップ550の開口部552とを対向させるためのフラップ550の回転角度の範囲が90°以上180°以下に設定されていると、作業を行いやすい。
フラップの回転角度が180°の状態においては、抑え具250と支持プレート210とを結合する作業が容易である。抑え具250を上から下に移動させて、抑え具250と支持プレート210を結合できるからである。フラップの回転角度が90°の状態においては、抑え具250をフラップ550の開口部552に挿入する作業が容易である。抑え具250を手前から奥に向けて移動させて、開口部552に抑え具250を挿入できるからである。フラップ550の回転角度が0°の状態においては、抑え具250をフラップ550の開口部552に挿入する作業が容易である。抑え具250の裏面250bを上方に向けた状態で、フラップ550の開口部552に抑え具250を挿入できるからである。
その後、図33Bおよび図34に示すように、フラップ550をモジュールMに向けて下降させる。アーム558のシャフト、ボールプランジャ560aおよびボールプランジャ560bが直線的に配置されているので、ガイドレール520に沿ってフラップ550を垂直に押し下げることができる。これにより、抑え具250の爪290が支持プレート210の切り欠き220に嵌めこまれ、支持プレート210と抑え具250とが結合される。フラップ550を持ち上げると、フラップ550の開口部552から抑え具250が分離し、図25に示す被写体ユニット200uが得られる。
上述したような構成を備える組立治具500を用いることにより、より容易に支持プレート210と抑え具250との間にモジュールMを固定することが可能である。また、支持プレート210の支持面212sに対して垂直に抑え具250を近づけて支持プレート210に抑え具250を結合できるので、支持プレート210と抑え具250との結合の際に被写体にせん断応力が加わることを抑制できる。すなわち、被写体が撮像素子7に斜め方向から押さえつけられることがないので、封入剤6への気泡の混入および/または透明プレート8と撮像素子7の撮像面との間の距離のばらつきを抑制することが可能である。
なお、プレート設置部の上面に、モジュールの配置の方向を規制するガイド構造を形成しておいてもよい。図35Aに例示する組立治具500gでは、2つのプレート設置部512gの上面に、直方体状の突出部513が2つずつ形成されている。このとき、突出部513に対応する凹部が形成された透明プレートを有するモジュールを用いることができる。図35Bに例示するモジュールMgでは、透明プレート8の裏面8bに、2本の溝部8gが形成されている。図示する例では、溝部8gは、長方形状の透明プレート8の長辺に沿って形成されている。
図36に示すように、透明プレート8の溝部8gにプレート設置部512gの突出部513が嵌めこまれるようにしてモジュールMgをプレート設置部512gに置くことにより、モジュールMgを所定の方向で支持プレート210上に配置することができる。言い換えれば、支持プレート210の向きに対してモジュールMgの向きが斜めになることを防止することが可能である。したがって、支持プレート210と抑え具250との結合時において爪290が透明プレートにぶつかることによる抑え具250の破損を防止できる。また、透明プレート8の短辺方向に沿って測った平坦部214の長さW3(図27A参照)が透明プレート8の短辺の長さW2にほぼ等しい場合でも、支持プレート210の向きに対してモジュールMgの向きが斜めにならないので、被写体ユニット200uを確実に第1基材110eに取り付けることができる。もちろん、突出部513の形状、数および配置は、図35Aに示す例に限定されない。突出部に代えて、例えば透明プレート8の外形に対応した形状の凹部を設けておいてもよい。また、透明プレート8の裏面8bに形成される構造は、プレート設置部のガイド構造に対応した形状であればよく、溝部に限定されない。
図35A〜図36を参照して説明した構成では、支持プレート210の向きに対してモジュールMgの向きが規制されている。したがって、プレート設置部512g上に透明プレート8を載せれば、支持プレート210の向きに対する撮像素子7の向きも決まる。このとき、モジュールMgにおいて透明プレート8の向きに対してパッケージ5の向きが斜めであったとしても、支持プレート210における、モジュールMを受け入れる凹部218(図27A参照)が十分に大きければ、凹部218内に撮像素子7を配置できる。
<モジュールにおけるイメージセンサ>
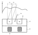
イメージセンサ4は、CCDイメージセンサに限定されず、CMOS(Complementary Metal-Oxide Semiconductor)イメージセンサ、または、その他のイメージセンサ(一例
として、後述する光電変換膜積層型イメージセンサ)であってもよい。CCDイメージセンサおよびCMOSイメージセンサは、表面照射型または裏面照射型のいずれであってもよい。以下、イメージセンサの素子構造と、イメージセンサのフォトダイオードに入射する光の関係を説明する。
図37は、CCDイメージセンサの断面構造と、被写体の相対的な透過率Tdの分布の例とを示す。図37に示すように、CCDイメージセンサは、概略的には、基板80と、基板80上の絶縁層82と、絶縁層82内に配置された配線84とを有している。基板80には、複数のフォトダイオード88が形成されている。配線84上には、遮光層(図37において不図示)が形成される。ここでは、トランジスタなどの図示は省略している。以下の図面においてもトランジスタなどの図示を省略する。なお、概略的には、表面照射型CMOSイメージセンサにおけるフォトダイオード近傍の断面構造は、CCDイメージセンサにおけるフォトダイオード近傍の断面構造とほぼ同様である。そのため、ここでは、表面照射型CMOSイメージセンサの断面構造の図示および説明を省略する。
図37に示すように、照明光が撮像面の法線方向から入射する場合、被写体のうち、フォトダイオード88の直上にある領域R1を透過した照射光は、フォトダイオード88に入射する。一方、被写体のうち、配線84上の遮光層の直上にある領域R2を透過した照射光は、イメージセンサの遮光領域(遮光膜が形成された領域)に入射する。したがって、撮像面の法線方向から照射した場合には、被写体のうち、フォトダイオード88の直上にある領域R1を示す画像が得られる。
遮光膜の直上にある領域を示す画像を取得するためには、領域R2を透過した光がフォトダイオード88に入射するように、撮像面の法線方向に対して傾いた方向から照射を行
えばよい。このとき、照射方向によっては、領域R2を透過した光のうちの一部が、配線84によって遮られることがある。図示する例では、ハッチングによって示す部分を通る光線はフォトダイオード88には届かない。そのため、斜め入射においては、画素値が幾分低下することがある。しかしながら、透過光の全てが遮られるわけではないので、このときに得られたサブ画像を用いた高分解能画像の形成は可能である。
図38Aおよび図38Bは、裏面照射型CMOSイメージセンサの断面構造と、被写体の相対的な透過率Tdの分布の例とを示す。図38Aに示すように、裏面照射型CMOSイメージセンサでは、斜め入射の場合であっても透過光が配線84によって遮られることがない。ただし、被写体のうち、撮像を行いたい領域とは異なる他の領域を透過した光(図38Aおよび後述する図38B中、太い矢印BAで模式的に示す光)が基板80に入射することによってノイズが発生し、サブ画像の品質が劣化するおそれがある。このような劣化は、図38Bに示すように、基板においてフォトダイオードが形成された領域以外の領域上に遮光層90を形成することにより低減することが可能である。
図39は、有機材料または無機材料で形成した光電変換膜を備えるイメージセンサ(以下、「光電変換膜積層型イメージセンサ」と呼ぶ。)の断面構造と、被写体の相対的な透過率Tdの分布の例とを示す。図39に示すように、光電変換膜積層型イメージセンサは、概略的には、基板80と、複数の画素電極が設けられた絶縁層82と、絶縁層82上の光電変換膜94と、光電変換膜94上の透明電極96とを有している。図示するように、光電変換膜積層型イメージセンサでは、半導体基板に形成されるフォトダイオードの代わりに、光電変換を行う光電変換膜94が基板80(例えば半導体基板)上に形成されている。光電変換膜94および透明電極96は、典型的には、撮像面の全体にわたって形成される。ここでは、光電変換膜94を保護する保護膜の図示を省略している。
光電変換膜積層型イメージセンサでは、光電変換膜94における入射光の光電変換によって発生した電荷(電子または正孔)が画素電極92によって集められる。これにより、光電変換膜94に入射した光の量を示す値が得られる。したがって、光電変換膜積層型イメージセンサでは、撮像面において、1つの画素電極92を含む単位領域が1つの画素に相当するといえる。光電変換膜積層型イメージセンサでは、裏面照射型CMOSイメージセンサと同様に斜め入射の場合であっても透過光が配線によって遮られることがない。
図1A〜図6を参照して説明したように、高分解能画像の形成においては、被写体の異なる部分から構成される像を示す複数のサブ画像が用いられる。ところが、典型的な光電変換膜積層型イメージセンサでは、撮像面の全体にわたって光電変換膜94が形成されているので、例えば垂直入射の場合であっても、被写体の所望の領域以外の領域を透過した光によっても光電変換膜94において光電変換が生じ得る。このときに発生した余分な電子または正孔が画素電極92に引き込まれると、適切なサブ画像が得られないおそれがある。したがって、画素電極92と透明電極96とが重なる領域(図39において網掛けされた領域)において発生した電荷を画素電極92に選択的に引き込むことが有益である。
図39に例示する構成では、画素電極92のそれぞれと対応して、画素内にダミー電極98が設けられている。被写体の像の取得時、画素電極92とダミー電極98との間には、適切な電位差が与えられる。これにより、画素電極92と透明電極96とが重なる領域以外の領域で発生した電荷をダミー電極98に引き込み、画素電極92と透明電極96とが重なる領域で発生した電荷を選択的に画素電極92に引き込むことができる。なお、透明電極96または光電変換膜94のパターニングによっても、同様の効果を得ることが可能である。このような構成においては、画素の面積S1に対する画素電極92の面積S3の比率(S3/S1)が、「開口率」に相当するということができる。
既に説明したように、Nを2以上の整数するとき、イメージセンサ4の開口率が近似的に1/Nに等しければ、最大N倍の高分解能化が可能になる。言い換えれば、開口率が小さい方が高分解能化には有利である。光電変換膜積層型イメージセンサでは、画素電極92の面積S3を調整することによって、開口率に相当する比率(S3/S1)を調整することが可能である。この比率(S3/S1)は、例えば10%〜50%の範囲に設定される。比率(S3/S1)が上記の範囲内にある光電変換膜積層型イメージセンサは、超解像に用いられ得る。
なお、図37および図38Bからわかるように、CCDイメージセンサおよび表面照射型CMOSイメージセンサにおいて被写体と対向する表面は平坦ではない。例えば、CCDイメージセンサでは、その表面に段差が存在する。また、裏面照射型CMOSイメージセンサでは、高分解能画像を形成するためのサブ画像を取得するには、パターニングされた遮光層を撮像面上に設けることが必要であり、被写体と対向する表面は平坦ではない。
これに対し、光電変換膜積層型イメージセンサの撮像面は、図39からわかるように、ほぼ平坦な面である。したがって、撮像面上に被写体を配置した場合であっても、撮像面の形状に起因する被写体の変形がほとんど生じない。言い換えれば、光電変換膜積層型イメージセンサを用いてサブ画像を取得することによって、被写体のより詳細な構造を観察し得る。
本明細書において説明される上述の種々の態様は、矛盾が生じない限り互いに組み合わせることが可能である。
本開示の実施形態によるソケット、アダプタおよび被写体ユニットは、イメージセンサの画素サイズによって決まる分解能を超える分解能を実現する高分解能化技術を利用した画像形成システムに適用できる。高分解能画像は、例えば病理診断の場面において有益な情報を提供する。
100a、100b、100c、100d、100e、100f ソケット
100u 被写体ユニット
110、110b、110c、110e 第1基材
112、112e モジュール設置部
113 突出部 114 平坦部
116 突出部
124、124c 突出部
130 電気接続部
150、150d、150e 第2基材
152、152e 開口部
156 押圧部
190 爪
200 アダプタ
200u 被写体ユニット
210 支持プレート
212s 支持面
214 平坦部
216 上部プレート
222 開口部
250 抑え具
252 開口部
250f 抑え具250の表面
250b 抑え具250の裏面
290 爪
300 画像取得装置
310 光源
320、320b ステージ
330 ステージ駆動機構
400 画像処理装置
500 組立治具
510 底板
513 突出部
514 支持プレート保持部
518 壁部
550 フラップ
552 開口部
1000 画像形成システム

Claims (2)

  1. 支持プレートを載せる第1保持部を有する底板と、
    前記底板から上方に垂直に延びる壁部と、
    前記壁部に垂直な回転軸を有し、かつ前記底板に対して垂直な方向にスライド可能に連結された可動部であって、抑え具が挿入可能である第2保持部を有する可動部と、
    を備える組立治具であって、
    前記組立治具は、前記底板と前記可動部とが平行な第1状態、および前記回転軸に関して前記可動部が前記第1状態から90°以上180°以下の角度で回転させられた第2状態を有し、
    前記可動部は、前記第1状態および前記第2状態のいずれかにおいて、前記第1保持部と前記第2保持部とが重なる配置を有する、
    組立治具。
  2. 前記底板の上面に設けられた、第1プレート設置部および第2プレート設置部をさらに有し、
    前記第1保持部は、前記第1プレート設置部および前記第2プレート設置部の間に形成されており、
    前記第1プレート設置部および前記第2プレート設置部の各々の上面には、第1突出部、および前記第1突出部と略平行な第2突出部が設けられている、
    請求項1に記載の組立治具。
JP2019115557A 2014-08-22 2019-06-21 組立治具 Expired - Fee Related JP6739070B2 (ja)

Applications Claiming Priority (2)

Application Number Priority Date Filing Date Title
JP2014169405 2014-08-22
JP2014169405 2014-08-22

Related Parent Applications (1)

Application Number Title Priority Date Filing Date
JP2015125970A Division JP6551835B2 (ja) 2014-08-22 2015-06-23 ソケット、アダプタ、および組立治具

Publications (2)

Publication Number Publication Date
JP2019174836A JP2019174836A (ja) 2019-10-10
JP6739070B2 true JP6739070B2 (ja) 2020-08-12

Family

ID=53800905

Family Applications (3)

Application Number Title Priority Date Filing Date
JP2015125970A Expired - Fee Related JP6551835B2 (ja) 2014-08-22 2015-06-23 ソケット、アダプタ、および組立治具
JP2019060210A Pending JP2019144564A (ja) 2014-08-22 2019-03-27 ソケット
JP2019115557A Expired - Fee Related JP6739070B2 (ja) 2014-08-22 2019-06-21 組立治具

Family Applications Before (2)

Application Number Title Priority Date Filing Date
JP2015125970A Expired - Fee Related JP6551835B2 (ja) 2014-08-22 2015-06-23 ソケット、アダプタ、および組立治具
JP2019060210A Pending JP2019144564A (ja) 2014-08-22 2019-03-27 ソケット

Country Status (4)

Country Link
US (2) US9799992B2 (ja)
EP (1) EP2988156A3 (ja)
JP (3) JP6551835B2 (ja)
CN (1) CN105388606B (ja)

Families Citing this family (20)

* Cited by examiner, † Cited by third party
Publication number Priority date Publication date Assignee Title
US10055062B2 (en) * 2016-03-29 2018-08-21 Microsoft Technology Licensing, Llc Pressure sensing display
CA3056540C (en) * 2016-04-08 2021-05-04 Alentic Microscience Inc. Sample processing for microscopy
CN107443465B (zh) * 2017-09-12 2018-11-09 浙江中建路桥设备有限公司 一种桥梁建筑设备
CN107425390B (zh) * 2017-09-20 2023-10-10 黄山市振亿电子有限公司 整流桥电极与接线端子的装配夹具及其装配方法
EP3894590B1 (en) 2018-12-10 2025-10-22 10X Genomics, Inc. Methods of using master / copy arrays for spatial detection
US12529094B2 (en) 2018-12-10 2026-01-20 10X Genomics, Inc. Imaging system hardware
US12405264B2 (en) 2020-01-17 2025-09-02 10X Genomics, Inc. Electrophoretic system and method for analyte capture
AU2021224860A1 (en) * 2020-02-21 2022-09-15 10X Genomics, Inc. Compositions, methods and systems for sample processing
CA3174596A1 (en) 2020-03-06 2021-09-10 Alentic Microscience Inc. Portable imaging device
CN116134308B (zh) 2020-05-19 2025-05-27 10X基因组学有限公司 电泳盒和仪器
CN116472116A (zh) * 2020-06-10 2023-07-21 10X基因组学有限公司 流体输送方法
WO2021252747A1 (en) 2020-06-10 2021-12-16 1Ox Genomics, Inc. Fluid delivery methods
KR102844432B1 (ko) * 2020-08-24 2025-08-11 삼성디스플레이 주식회사 표시 패널 검사용 지그
CN112268181B (zh) * 2020-10-28 2022-08-16 广东嘀嗒酷显柔性显示技术股份有限公司 一种可升降摄像模块及显示装置
WO2022178267A2 (en) 2021-02-19 2022-08-25 10X Genomics, Inc. Modular assay support devices
US12553805B2 (en) 2021-08-02 2026-02-17 10X Genomics, Inc. Methods of preserving a biological sample
USD1064308S1 (en) 2021-09-17 2025-02-25 10X Genomics, Inc. Sample handling device
CN114589657A (zh) * 2022-05-09 2022-06-07 立臻精密智造(昆山)有限公司 一种拆装装置
EP4532111A2 (en) * 2022-06-03 2025-04-09 10X Genomics, Inc. Methods, systems, and devices for sample interface
CN117564979B (zh) * 2024-01-17 2024-04-19 吉林省众汇净化工程有限公司 一种净化彩钢板的拆装定位夹具

Family Cites Families (18)

* Cited by examiner, † Cited by third party
Publication number Priority date Publication date Assignee Title
JPS5422471U (ja) * 1977-07-15 1979-02-14
JPS62137037A (ja) 1985-12-11 1987-06-19 株式会社東芝 X線撮影装置
JP3120340B2 (ja) * 1990-12-17 2000-12-25 株式会社パイオラックス 蓋の開閉装置
US5414556A (en) * 1993-03-29 1995-05-09 Focht; Daniel C. Securing and locking assembly for live cell chambers
WO2000063670A1 (en) 1999-04-20 2000-10-26 Cytologix Corporation Fluid exchange in a chamber on a microscope slide
DE60214827T2 (de) * 2001-02-12 2007-03-29 Immunivest Corp., Wilmington Kassette als behälter eines probenexemplars für die optische analyse
JP3805649B2 (ja) * 2001-06-14 2006-08-02 シャープ株式会社 半導体検査装置
JP4038070B2 (ja) * 2002-04-24 2008-01-23 富士フイルム株式会社 固体撮像素子とその製造方法及び固定方法、及び撮像装置
AU2003233449B2 (en) * 2002-08-06 2009-07-02 The Regents Of The University Of California Tear film osmometry
US7106526B2 (en) * 2004-04-21 2006-09-12 Matsushita Electric Industrial Co., Ltd. Thin imaging apparatus, a thin camera, and an imaging method
JP2006337119A (ja) * 2005-05-31 2006-12-14 Seiko Epson Corp 電子部品検査用治具
US7262615B2 (en) * 2005-10-31 2007-08-28 Freescale Semiconductor, Inc. Method and apparatus for testing a semiconductor structure having top-side and bottom-side connections
EP2245467B1 (en) * 2008-02-05 2022-04-06 Pocared Diagnostics Ltd. System for conducting the identification of bacteria in biological samples
TWI338601B (en) 2008-11-24 2011-03-11 Inventec Appliances Corp Automatic assembly fixture
CN102713720B (zh) 2009-10-28 2016-05-11 阿兰蒂克微科学股份有限公司 显微成像装置和显微成像方法
JP2011108788A (ja) * 2009-11-16 2011-06-02 Yamaha Corp 固体撮像素子検査用ソケット
JP2012229923A (ja) * 2011-04-25 2012-11-22 Micronics Japan Co Ltd 電気的接続装置
CN102857680B (zh) * 2012-08-29 2016-02-24 惠州Tcl移动通信有限公司 摄像组件及配备有该摄像组件的电子设备

Also Published As

Publication number Publication date
US10256572B2 (en) 2019-04-09
CN105388606B (zh) 2020-07-17
US20160056577A1 (en) 2016-02-25
CN105388606A (zh) 2016-03-09
EP2988156A2 (en) 2016-02-24
JP6551835B2 (ja) 2019-07-31
US9799992B2 (en) 2017-10-24
JP2019144564A (ja) 2019-08-29
EP2988156A3 (en) 2016-03-23
JP2016045489A (ja) 2016-04-04
US20180019546A1 (en) 2018-01-18
JP2019174836A (ja) 2019-10-10

Similar Documents

Publication Publication Date Title
JP6739070B2 (ja) 組立治具
DE112010005629B4 (de) Kameramodul und Verfahren zum optischen Ausrichten eines Bildgebers mit einem Objektiv eines Kameramoduls
US20100085474A1 (en) Camera module
US10805596B2 (en) Stereoscopic imaging sensor apparatus and method for fabricating pairs of image sensors used in stereoscopic imaging
WO2016067508A1 (ja) 画像形成システム、画像形成方法、撮像素子、およびプログラム
US11592655B2 (en) Microscope made with CMOS camera(s)
EP2094000A2 (de) Bilderfassungsvorrichtung einer Kamera
WO2015016016A1 (ja) 高さ測定装置
US10962757B2 (en) System for the simultaneous videographic or photographic acquisition of multiple images
JP6004245B1 (ja) 画像取得装置、画像形成システムおよび画像形成方法
CN106254731A (zh) 摄像模块
US11960138B2 (en) Active alignment machine
US20170146790A1 (en) Image acquisition device and image formation system
CN106483338A (zh) 图像输出装置、图像发送装置、图像接收装置、图像输出方法
KR20210148026A (ko) 카메라 모듈 검사장치
WO2016084309A1 (ja) 電子プレパラート、固体撮像素子、電子プレパラート組み立てセット、および電子プレパラートの組み立て方法
CN221748501U (zh) 图像获取装置
TWI471680B (zh) 調整平行度的方法及影像擷取裝置
CN116698238A (zh) 检查装置
WO2021039952A1 (ja) 皮膚検査装置

Legal Events

Date Code Title Description
A621 Written request for application examination

Free format text: JAPANESE INTERMEDIATE CODE: A621

Effective date: 20190621

A977 Report on retrieval

Free format text: JAPANESE INTERMEDIATE CODE: A971007

Effective date: 20200622

TRDD Decision of grant or rejection written
A01 Written decision to grant a patent or to grant a registration (utility model)

Free format text: JAPANESE INTERMEDIATE CODE: A01

Effective date: 20200630

A61 First payment of annual fees (during grant procedure)

Free format text: JAPANESE INTERMEDIATE CODE: A61

Effective date: 20200706

R151 Written notification of patent or utility model registration

Ref document number: 6739070

Country of ref document: JP

Free format text: JAPANESE INTERMEDIATE CODE: R151

LAPS Cancellation because of no payment of annual fees