JP6431270B2 - Solid fuel - Google Patents
Solid fuel Download PDFInfo
- Publication number
- JP6431270B2 JP6431270B2 JP2014068793A JP2014068793A JP6431270B2 JP 6431270 B2 JP6431270 B2 JP 6431270B2 JP 2014068793 A JP2014068793 A JP 2014068793A JP 2014068793 A JP2014068793 A JP 2014068793A JP 6431270 B2 JP6431270 B2 JP 6431270B2
- Authority
- JP
- Japan
- Prior art keywords
- solid fuel
- cross
- peripheral side
- main body
- height
- Prior art date
- Legal status (The legal status is an assumption and is not a legal conclusion. Google has not performed a legal analysis and makes no representation as to the accuracy of the status listed.)
- Active
Links
Images
Landscapes
- Solid Fuels And Fuel-Associated Substances (AREA)
Description
本発明は、固形燃料に関する。 The present invention relates to a solid fuel.
調理済み料理等の加熱用燃料として、円柱形状又は角柱形状の樹脂フィルムで密封された固形燃料本体が外装材により包装された固形燃料が知られている。 As a fuel for heating cooked dishes and the like, a solid fuel in which a solid fuel main body sealed with a cylindrical or prismatic resin film is packaged with an exterior material is known.
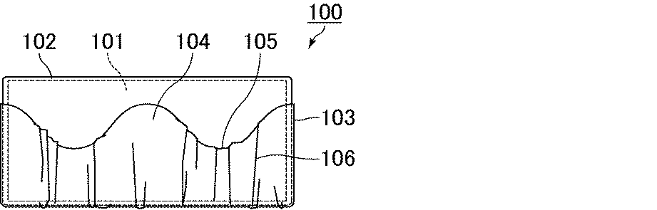
図4は、特許文献1に記載された固形燃料を模式的に示す側面図である。
図4に示す固形燃料100は、アルコールを主成分とした固形燃料成形体より分断した細切れ状の固形燃料本体101と、その全体をほぼ密封包装した樹脂フィルム102と、内面に熱接着剤層を設け、これが樹脂フィルム102と接合して熱接着するように、絞りしわ106を形成することにより絞って包み込み、上部が開口している外装用アルミ箔103とからなり、固形燃料本体101を包装した樹脂フィルム102の全周側面部において、外装用アルミ箔103が山部104と谷部105との縁部を有して接着され、空気接触面が大きくなるように構成されている。
FIG. 4 is a side view schematically showing the solid fuel described in Patent Document 1. As shown in FIG.
A
特許文献1に記載の固形燃料100では、周囲に配設された外装用アルミ箔103が山部104と谷部105との縁部を有して接着され、空気接触面が大きくなるように構成されている。しかしながら、全周側面部の表面積に対して外装用アルミ箔103が覆っている表面積の割合は大きく、軽重量の固形燃料の場合、小さい体積に対してその周囲を固形燃料が覆っているので、燃焼面積が狭く可燃成分が供給されにくく、特に山部104では、全周側面部の表面積に対して外装用アルミ箔が覆っている割合が大きいため、初期に強い火力が必要とされている場合に、その要求を充分に満たすことが難しいという問題があった。
The
本発明は、上述した従来の固形燃料が有する問題点を解決するためにされたものであり、初期の火力を強くすることができ、調理、保温等、所定の目的を達成するのに必要な固形燃料の量を少なくすることが可能な固形燃料を提供することを目的とする。 The present invention has been made to solve the above-mentioned problems of the conventional solid fuel, can increase the initial heating power, and is necessary for achieving predetermined purposes such as cooking and heat retention. An object of the present invention is to provide a solid fuel capable of reducing the amount of the solid fuel.
上記目的を達成するために本発明の固形燃料は、アルコールを主成分とした固形物を含む柱形状の固形燃料本体と、上記固形燃料本体の周側面の一部及び底面を覆うように上記固形燃料本体を包装した難燃性の外装材とを備える固形燃料であって、上記固形燃料は、その底面に平行な断面における断面積が5〜30cm2であり、上記固形燃料の全周側面に、同じ高さの上記外装材が設けられており、上記固形燃料の高さに対する上記外装材の高さの割合が25〜75%であることを特徴とする。 In order to achieve the above object, the solid fuel of the present invention includes a solid fuel body having a columnar shape containing a solid substance mainly composed of alcohol, and a solid fuel body so as to cover a part of the peripheral side surface and the bottom surface of the solid fuel body. A solid fuel comprising a flame retardant outer packaging material in which a fuel body is packaged, wherein the solid fuel has a cross-sectional area of 5 to 30 cm 2 in a cross section parallel to the bottom surface thereof, The exterior material having the same height is provided, and the ratio of the height of the exterior material to the height of the solid fuel is 25 to 75%.
本発明の固形燃料は、上記のように構成されており、固形燃料が空気中に露出している表面積の割合が大きいので、底面に平行な断面における断面積が5〜30cm2と断面積の値が小さく、軽量の固形燃料であっても、初期火力が強くなる。
底面に平行な断面における断面積が5cm2未満であると、所定の重量を確保するためには、その高さを高くしなければならず、設置した際に不安定となり、一方、通常の高さとすると、軽量すぎるために燃焼時間が短く、調理、保温等、所定の目的を達成するのが難しくなる。一方、底面に平行な断面における断面積が30cm2を超えると、固形燃料を通常の高さにした際、重量が重すぎるため、燃焼時間が長くなりすぎる。一方、高さを低くすると、平べったい形状となり、固形燃料として使用しにくくなる。
The solid fuel of the present invention is configured as described above, and since the ratio of the surface area where the solid fuel is exposed to the air is large, the cross-sectional area in a cross section parallel to the bottom surface is 5 to 30 cm 2 . Even if the value is small and light solid fuel, the initial thermal power becomes strong.
If the cross-sectional area in the cross section parallel to the bottom surface is less than 5 cm 2 , the height must be increased in order to ensure a predetermined weight, which becomes unstable when installed. Then, since it is too lightweight, combustion time is short and it becomes difficult to achieve predetermined purposes, such as cooking and heat retention. On the other hand, if the cross-sectional area in the cross section parallel to the bottom surface exceeds 30 cm 2 , the combustion time becomes too long because the weight is too heavy when the solid fuel is brought to a normal height. On the other hand, when the height is lowered, the shape becomes flat and difficult to use as a solid fuel.
固形燃料の高さに対する外装材の高さの割合が25%未満であると、外装材の高さが低すぎるため、外装材を固形燃料の周側面に接着しにくくなり、外装材が剥れ易くなる。一方、固形燃料の高さに対する外装材の高さの割合が75%を超えると、全周側面の表面積に対して外装用アルミ箔が覆っている割合が大きすぎるため、燃焼の際に燃料燃焼面積が狭くなり、充分に可燃成分が供給されにくく、初期火力が弱くなってしまう。 If the ratio of the height of the outer packaging material to the height of the solid fuel is less than 25%, the height of the outer packaging material is too low, and it becomes difficult to adhere the outer packaging material to the peripheral side surface of the solid fuel, and the outer packaging material peels off. It becomes easy. On the other hand, if the ratio of the height of the outer packaging material to the height of the solid fuel exceeds 75%, the ratio of the aluminum foil for the outer sheath covering the surface area of the entire peripheral surface is too large. The area becomes narrow, the combustible component is not sufficiently supplied, and the initial thermal power is weakened.
本発明の固形燃料において、上記固形燃料の底面に平行な断面における断面形状は、円形、楕円形、レーストラック形状、又は、多角形であることが望ましい。
上記断面形状が、円形、楕円形、レーストラック形状、又は、多角形であると、形状が比較的単純であり、比較的容易に製造することができ、量産可能だからである。
In the solid fuel of the present invention, the cross-sectional shape in a cross section parallel to the bottom surface of the solid fuel is preferably a circle, an ellipse, a racetrack shape, or a polygon.
This is because when the cross-sectional shape is a circle, an ellipse, a racetrack shape, or a polygon, the shape is relatively simple, can be manufactured relatively easily, and can be mass-produced.
本発明の固形燃料において、固形燃料の重量は、3〜50gであることが望ましい。
本発明の固形燃料は、上記範囲の重量のものを用いると、初期火力が強いという効果を発揮することができるからである。
固形燃料の量が少なく、しかも初期火力を強くするという観点から、固形燃料の重量は、3〜40gであることがより望ましく、5〜30gであることがさらに望ましい。
In the solid fuel of the present invention, the weight of the solid fuel is preferably 3 to 50 g.
This is because the solid fuel of the present invention can exert an effect that the initial heating power is strong when the weight within the above range is used.
From the viewpoint of reducing the amount of solid fuel and increasing the initial heating power, the weight of the solid fuel is more preferably 3 to 40 g, and further preferably 5 to 30 g.
本発明の固形燃料では、固形燃料が空気中に露出している面積が大きいので、底面に平行な断面における断面積が5〜30cm2と断面積が小さく、軽量の固形燃料であっても、初期火力が強くなる。 In the solid fuel of the present invention, since the area where the solid fuel is exposed in the air is large, the cross-sectional area in the cross section parallel to the bottom surface is 5 to 30 cm 2 and the cross-sectional area is small, even if it is a lightweight solid fuel, Increases initial firepower.
以下、本発明の固形燃料及びその製造方法について、具体的な実施形態を示しながら説明するが、本発明はこれらの実施形態だけに限定されるものではない。 Hereinafter, the solid fuel and the manufacturing method thereof according to the present invention will be described with reference to specific embodiments, but the present invention is not limited to these embodiments.
本発明の固形燃料は、アルコールを主成分とした固形物を含む柱体の固形燃料本体と、
上記固形燃料本体の周側面の一部及び底面を覆うように上記固形燃料本体を包装した難燃性の外装材とを備える固形燃料であって、上記固形燃料は、その底面に平行な断面における断面積が5〜30cm2であり、上記固形燃料の全周側面に、同じ高さの上記外装材が設けられており、上記固形燃料の高さに対する上記外装材の高さの割合が25〜75%であることを特徴とする。
The solid fuel of the present invention includes a solid fuel main body of a columnar body containing a solid mainly composed of alcohol,
A solid fuel comprising a flame retardant exterior material that covers the solid fuel body so as to cover a part of the peripheral side surface and the bottom surface of the solid fuel body, and the solid fuel is in a cross section parallel to the bottom surface. The cross-sectional area is 5 to 30 cm 2 , the exterior material having the same height is provided on the entire circumferential side surface of the solid fuel, and the ratio of the height of the exterior material to the height of the solid fuel is 25 to 25 cm 2. 75%.
(第1実施形態)
図1は、第1実施形態に係る円柱形状の固形燃料の一例を模式的に示す斜視図である。
図1に示す固形燃料10を構成する固形燃料本体11は円柱形状であり、固形燃料本体11の周側面11aの一部及び底面11bを覆うように固形燃料本体11を包装した難燃性の外装材(アルミ箔)12を備えている。
(First embodiment)
FIG. 1 is a perspective view schematically showing an example of a columnar solid fuel according to the first embodiment.
The solid fuel
固形燃料本体11の周側面11aを覆う外装材12の高さH12は一定であり、固形燃料本体11の高さH11に対する外装材12の高さH12の割合の百分率(以下、周側面被覆割合という)は、下記の(1)式で表される。
周側面被覆割合R1(%)=(H12/H11)×100・・・(1)
The height H 12 of the
Peripheral side surface covering ratio R 1 (%) = (H 12 / H 11 ) × 100 (1)
上記周側面被覆割合R1は、25〜75%であることが望ましく、さらには、35〜70%であることがより望ましい。
上記周側面被覆割合R1が上記の範囲であるので、燃焼の際に、可燃成分は充分に供給され、初期火力が強くなる。
The peripheral side surface covering ratio R 1 is desirably 25 to 75%, more, and more desirably 35 to 70%.
Since the peripheral side surface covering ratio R 1 is in the above range, on combustion, the combustible component is sufficiently supplied, the initial heating power becomes stronger.
上記周側面被覆割合R1が25%未満であると、外装材12の高さが低すぎるため、周側面に外装材を接着しにくくなり、取扱い中に外装材12が剥れ易くなる。一方、上記周側面被覆割合R1が75%を超えると、全周側面の表面積に対して外装材12が覆っている割合が大きいすぎるため、初期火力が弱くなってしまう。
When the peripheral side surface covering ratio R 1 is less than 25%, since the height of the
固形燃料本体11の底面11bに平行な断面における断面積S1(以下、単に断面積という)は、断面を構成する円の半径がD1であるので、下記の(2)式となる。
断面積S1(cm2)=πD1 2・・・(2)
A cross-sectional area S 1 (hereinafter simply referred to as a cross-sectional area) in a cross section parallel to the
Cross-sectional area S 1 (cm 2 ) = πD 1 2 (2)
(2)式で表される断面積S1は、5〜30cm2であり、このような断面積を有する固形燃料本体11は、軽量であるが、初期火力が強い。
このような固形燃料では、高さは、7〜40mmが望ましい。
The cross-sectional area S 1 represented by the formula (2) is 5 to 30 cm 2 , and the
In such a solid fuel, the height is desirably 7 to 40 mm.
以下、本実施形態の固形燃料10を構成する部材等について説明する。
固形燃料10を構成する固形燃料本体11は、樹脂フィルム(図示せず)によって密封されていることが望ましい。固形燃料本体11が樹脂フィルムで密封されていると、固形燃料本体11の燃料成分の蒸発を防ぐことができる。
Hereinafter, members and the like constituting the
The
樹脂フィルムの種類は、可燃性で通気性の無い素材からなるフィルムであれば、特に限定されない。ただし、燃焼後に燃焼残渣が残らない素材であることが好ましい。上記フィルムの素材としては、例えば、ポリプロピレン、ポリエチレンなどが挙げられる。 The type of the resin film is not particularly limited as long as it is a film made of a combustible and non-breathable material. However, it is preferable that the material does not leave a combustion residue after combustion. Examples of the material for the film include polypropylene and polyethylene.
固形燃料本体11の重量は、特に限定されるものではなく、使用目的等にあわせて適宜設定すればよい。調理済み食品の保温、加温用途に用いるのであれば、3〜50gであることが望ましく、3〜40gであることがより望ましく、5〜30gであることがさらに望ましい。
固形燃料本体11の量をできるだけ少なくし、かつ、初期火力を強く保つためには、上記した重量が望ましいのである。
The weight of the
In order to reduce the amount of the
固形燃料本体11は、アルコールを主成分として含む固形物であるが、通常、液体であるアルコールを固体にするため、石鹸(せっけん)類あるいは酢酸セルロース等にアルコールを含ませてゲル状の固形体とする。従って、固形燃料本体11の成分構成は、アルコール以外に、石鹸(せっけん)類あるいは酢酸セルロース等の成分を含んでいてもよく、その他、各種添加剤成分を含んでいてもよい。
The solid fuel
難燃性の外装材は、難燃材からなるシート材料である。
難燃性の外装材としては、耐火性、加工性、形状保持性等の観点から、銅、ステンレス、アルミニウム等の金属箔であることが好ましく、アルミ箔であることがより好ましい。また、難燃材として、難燃性の樹脂フィルムや難燃紙を用いてもよい。本実施の形態では、アルミ箔を用いている。
The flame retardant exterior material is a sheet material made of a flame retardant material.
The flame retardant exterior material is preferably a metal foil such as copper, stainless steel, and aluminum, more preferably an aluminum foil, from the viewpoint of fire resistance, workability, shape retention, and the like. Moreover, you may use a flame retardant resin film and a flame retardant paper as a flame retardant. In this embodiment, aluminum foil is used.
この固形燃料10を燃焼させる際には、受け皿の内部に固形燃料10を設置し、着火して燃焼させる。このような形状の固形燃料は、既に料理等が終了した鍋料理等の保温に適している。
When this
以下、本実施形態の固形燃料の製造方法について説明する。
固形燃料10は、固形燃料本体11を樹脂フィルム(図示せず)で密封することで得られる。
Hereinafter, the manufacturing method of the solid fuel of this embodiment is demonstrated.
The
固形燃料本体11は、塊状の固形燃料成形体を切断等により所定形状(円柱形状)に成形することによって作製される。
次に、固形燃料本体11を、樹脂フィルムで密封する。固形燃料本体11を樹脂フィルムで密封する方法は特に限定されないが、例えば、固形燃料本体11を樹脂フィルムで包装したあと、樹脂フィルムの周端部を隙間ができないように熱融着することで、密封することができる。
The solid fuel
Next, the
続いて、外装材12を作製する。
外装材は、難燃性材からなるシート材料である難燃性シートを打ち抜き加工等により切り出して作成する。本実施形態では、固形燃料は円柱形状であり、外装材12の形状は、円形であるが、固形燃料の底面に平行な断面における断面形状がレーストラック形状である場合には、レーストラック形状の打ち抜き刃を用いてレーストラック形状に打ち抜いてもよく、円形の打ち抜き刃で打ち抜いた後、カッターやハサミを用いて直線部分を2箇所切断してレーストラック形状としてもよい。
Subsequently, the
The exterior material is created by cutting out a flame retardant sheet, which is a sheet material made of a flame retardant material, by punching or the like. In the present embodiment, the solid fuel has a cylindrical shape, and the shape of the
このようにして得た外装材12の上に樹脂フィルムで包装された固形燃料本体11を載置し、外装材12を固形燃料本体11の底面11bより絞って固形燃料本体11を包み込むことによって、固形燃料本体11の周側面11aの一部及び底面11bを覆うように外装材12で包装し、周側面11aを覆う外装材12に接着剤を塗布し、外装材12を周側面11a(周側面の樹脂フィルム)に接着することにより固形燃料10が得られる。接着剤としては、ホットメルト接着剤を使用することができる。
By placing the
以下に本発明をより具体的に説明する実施例を示すが、本発明はこれらの実施例だけに限定されるものではない。 Examples that more specifically describe the present invention are shown below, but the present invention is not limited to these examples.
(実施例1)
まず、塊状の固形燃料成形体を切断等により所定形状(円柱形状)に成形することによって固形燃料本体11を作製した。
次に、固形燃料本体11を、樹脂フィルムで包装したあと、樹脂フィルムの周端部を隙間ができないように熱融着することで、密封した。
(Example 1)
First, the solid fuel
Next, after the solid fuel
続いて、アルミ箔を打ち抜き加工することにより外装材として円形のアルミ箔12を得、このアルミ箔12の上に固形燃料本体11を載置し、アルミ箔12を固形燃料本体11の底面11bより絞って固形燃料本体11を包み込むことによって、固形燃料本体11の周側面11aの一部及び底面11bを覆うようにアルミ箔12で包装し、周側面11aを覆うアルミ箔12にホットメルト接着剤を塗布し、外装材12を周側面11a(周側面の樹脂フィルム)に接着することにより固形燃料10を製造した。
この固形燃料本体11の重量(g)、外径(2D1)、高さ(H11)、周側面被覆割合R1(H12/H11(%))、断面積S1(cm2)を表1、表2及び表3に示す。
Subsequently, a
Weight (g), outer diameter (2D 1 ), height (H 11 ), peripheral side surface covering ratio R 1 (H 12 / H 11 (%)), cross-sectional area S 1 (cm 2 ) of the
次に、得られた固形燃料10をコンロに入れ、着火して燃焼時間(T:秒)を測定した。同時に燃焼による重量減少を1分毎に測定し、着火後1分から3分の重量減少量(Wt:g)を初期火力として測定した。その結果を同じく表1、表2及び表3に示す。
Next, the obtained
なお、表1、表2及び表3において、燃焼時間比とは、それぞれ表1〜3に記載の比較例1〜3の燃焼時間を100%とした際の実施例の割合(%)であり、初期火力比とは、同様に、それぞれ表1〜3に記載の比較例1〜3の初期火力を100%とした際の実施例の割合(%)である。 In Tables 1, 2 and 3, the combustion time ratio is the ratio (%) of the examples when the combustion time of Comparative Examples 1 to 3 described in Tables 1 to 3 is 100%. Similarly, the initial thermal power ratio is the ratio (%) of the examples when the initial thermal power of Comparative Examples 1 to 3 described in Tables 1 to 3 is 100%.
(実施例2〜9)
固形燃料本体11の重量(g)、外径(2D1)、高さ(H11)、周側面被覆割合R1(H12/H11(%))、断面積S1(cm2)を表1〜3に示す値に変えたほかは、実施例1と同様にして、固形燃料10を製造し、燃焼時間(T:秒)、初期火力(Wt:g)を測定した。
(Examples 2-9)
Weight (g), outer diameter (2D 1 ), height (H 11 ), peripheral side surface covering ratio R 1 (H 12 / H 11 (%)), and cross-sectional area S 1 (cm 2 ) of the solid fuel
(比較例1〜3)
固形燃料本体11の重量(g)、外径(2D1)、高さ(H1)、周側面被覆割合R1(H12/H11(%))、断面積S1(cm2)を表1〜3に示す値に変えたほかは、実施例1と同様にして、固形燃料10を製造し、燃焼時間(T:秒)、初期火力(Wt:g)を測定した。
(Comparative Examples 1-3)
Weight (g), outer diameter (2D 1 ), height (H 1 ), peripheral side surface covering ratio R 1 (H 12 / H 11 (%)), and cross-sectional area S 1 (cm 2 ) of the
表1(固形燃料7g)では、周側面被覆割合に関し、比較例1を96%としたのに対し、実施例1〜3で、それぞれ74%、50%、31%に変化させた。そのときに、燃焼時間比は、実施例1〜3で、それぞれ86%、72%、65%となり、その逆数は116%、139%、153%となっている。また、初期火力比は、114%、132%、139%となり、燃焼時間比の逆数と比例関係に近い。以上の結果より、周側面被覆割合が25〜75%の範囲内である実施例1〜3では、比較例1と比べて、初期火力を10%以上、上げることできることが判明した。
表2(固形燃料約25g)、及び、表3(固形燃料約40g)においても、上記と同様の効果を確認することができた。
In Table 1 (solid fuel 7 g), with respect to the peripheral side surface coating ratio, Comparative Example 1 was set to 96%, while Examples 1 to 3 were changed to 74%, 50%, and 31%, respectively. At that time, the combustion time ratio is 86%, 72%, and 65% in Examples 1 to 3, respectively, and the reciprocals thereof are 116%, 139%, and 153%. Further, the initial thermal power ratio is 114%, 132%, and 139%, which is close to a proportional relationship with the reciprocal of the combustion time ratio. From the above results, it was found that in Examples 1 to 3 in which the peripheral side surface covering ratio is in the range of 25 to 75%, the initial heating power can be increased by 10% or more compared to Comparative Example 1.
In Table 2 (solid fuel about 25 g) and Table 3 (solid fuel about 40 g), the same effect as above could be confirmed.
(第二実施形態)
第一実施形態では、固形燃料本体の断面の形状が円の場合について説明したが、固形燃料本体の断面形状は、第一実施形態で説明した形状に限られず、楕円形、多角形であってもよい。以下、このような第一実施形態に係る固形燃料と異なる形状の固形燃料について説明する。
(Second embodiment)
In the first embodiment, the case where the cross-sectional shape of the solid fuel main body is a circle has been described. However, the cross-sectional shape of the solid fuel main body is not limited to the shape described in the first embodiment, and is an ellipse or a polygon. Also good. Hereinafter, a solid fuel having a shape different from that of the solid fuel according to the first embodiment will be described.
図2は、第二実施形態に係る固形燃料を構成する固形燃料本体を示す斜視図である。 FIG. 2 is a perspective view showing a solid fuel main body constituting the solid fuel according to the second embodiment.
第二実施形態に係る固形燃料は、図2に示すような断面形状が楕円形の固形燃料本体21からなる固形燃料20であってもよい。
図2に示す固形燃料20を構成する固形燃料本体21は楕円柱形状であり、固形燃料本体21の周側面21aの一部及び底面21bを覆うように固形燃料本体11を包装した難燃性の外装材(アルミ箔)22を備えている。
The solid fuel according to the second embodiment may be a
The solid fuel
固形燃料本体21の周側面21aを覆う外装材22の高さH22は一定であり、固形燃料本体11の高さH21に対する外装材12の高さH22の割合の百分率(周側面被覆割合R2)は、下記の(3)式で表される。
周側面被覆割合R2(%)=(H22/H21)×100・・・(3)
周側面被覆割合R2は、25〜75%である。
The height H 22 of the
Peripheral side surface covering ratio R 2 (%) = (H 22 / H 21 ) × 100 (3)
Peripheral side surface covering ratio R 2 is 25 to 75%.
固形燃料本体21の底面21bに平行な断面における断面積S2(以下、単に断面積という)は、断面を構成する楕円の長軸がD21、短軸がD22であるので、下記の(4)式となる。
断面積S2(cm2)=πD21×D22・・・(4)
(4)式で表される断面積S2は、5〜30cm2であり、このような断面積及び周側面被覆割合R2を有する固形燃料本体21は、軽量であるが、初期火力が強い。
The cross-sectional area S 2 (hereinafter, simply referred to as a cross-sectional area) in a cross section parallel to the
Cross-sectional area S 2 (cm 2 ) = πD 21 × D 22 (4)
The cross-sectional area S 2 represented by the formula (4) is 5 to 30 cm 2 , and the
第二実施形態に係る固形燃料を構成する部材(樹脂フィルム、固形燃料本体、外装材等)の特性は、第一実施形態と同様であるので、ここでは、その説明を省略する。 Since the characteristics of the members (resin film, solid fuel body, exterior material, etc.) constituting the solid fuel according to the second embodiment are the same as those of the first embodiment, the description thereof is omitted here.
第二実施形態に係る固形燃料は、断面形状がレーストラック形状であってもよく、その他の楕円形に似た別の形状であってもよい。 The solid fuel according to the second embodiment may have a racetrack shape in cross section or another shape similar to another ellipse.
(第三実施形態)
図3は、第三実施形態に係る固形燃料を構成する固形燃料本体を示す斜視図である。
(Third embodiment)
FIG. 3 is a perspective view showing a solid fuel main body constituting the solid fuel according to the third embodiment.
第三実施形態に係る固形燃料は、図3に示すような断面形状が正方形の固形燃料本体31からなる固形燃料30であってもよい。
図3に示す固形燃料30を構成する固形燃料本体31は四角柱形状であり、固形燃料本体31の周側面31aの一部及び底面31bを覆うように固形燃料本体31を包装した難燃性の外装材(アルミ箔)32を備えている。
The solid fuel according to the third embodiment may be a
The solid fuel
固形燃料本体31の周側面31aを覆う外装材32の高さH32は一定であり、固形燃料本体11の高さH31に対する外装材32の高さH32の割合の百分率は、下記の(5)式で表される。
周側面被覆割合R3(%)=(H32/H31)×100・・・(5)
周側面被覆割合R3は、25〜75%である。
The height H 32 of the
Peripheral side surface covering ratio R 3 (%) = (H 32 / H 31 ) × 100 (5)
Peripheral side surface covering ratio R 3 is 25 to 75%.
固形燃料本体31の底面31bに平行な断面における断面積S3は、断面を構成する正方形の一辺の長さがD3であるので、下記の(6)式となる。
断面積S3(cm2)=D3 2・・・(6)
(6)式で表される断面積S3は、5〜30cm2であり、このような断面積及び周側面被覆割合R3を有する固形燃料本体31は、軽量であるが、初期火力が強い。
Sectional area S 3 in the cross section parallel to the
Cross-sectional area S 3 (cm 2 ) = D 3 2 (6)
The cross-sectional area S 3 represented by the formula (6) is 5 to 30 cm 2 , and the solid fuel
第三実施形態に係る固形燃料は、断面形状が長方形であってもよく、平行四辺形や五角形や六角形であってもよい。 The solid fuel according to the third embodiment may have a rectangular cross-sectional shape, or may be a parallelogram, pentagon, or hexagon.
10、20、30 固形燃料
11、21、31 固形燃料本体
11a、21a、31a 周側面
11b、21b、31b 底面
12、22、32 外装材
10, 20, 30
Claims (2)
前記固形燃料本体の周側面の一部及び底面を覆うように前記固形燃料本体を包装した金属箔からなる外装材とを備える固形燃料であって、
前記固形燃料は、その底面に平行な断面における断面積が5〜30cm2であり、
前記固形燃料の全周側面に、同じ高さの前記外装材が設けられており、
前記固形燃料の高さに対する前記外装材の高さの割合が25〜75%であり、
前記固形燃料の底面に平行な断面における断面形状は、楕円形、又は、レーストラック形状であることを特徴とする固形燃料。 A solid fuel body in a columnar shape containing solids mainly composed of alcohol;
A solid fuel comprising an exterior material made of a metal foil that wraps the solid fuel main body so as to cover a part of the peripheral side surface and the bottom surface of the solid fuel main body,
The solid fuel has a cross-sectional area of 5 to 30 cm 2 in a cross section parallel to the bottom surface thereof,
The exterior material of the same height is provided on the entire circumferential side surface of the solid fuel,
Wherein the ratio of the height of the outer member to the height of the solid fuel is Ri 25-75% der,
A solid fuel characterized in that a cross-sectional shape in a cross section parallel to the bottom surface of the solid fuel is an ellipse or a racetrack shape .
Priority Applications (1)
| Application Number | Priority Date | Filing Date | Title |
|---|---|---|---|
| JP2014068793A JP6431270B2 (en) | 2014-03-28 | 2014-03-28 | Solid fuel |
Applications Claiming Priority (1)
| Application Number | Priority Date | Filing Date | Title |
|---|---|---|---|
| JP2014068793A JP6431270B2 (en) | 2014-03-28 | 2014-03-28 | Solid fuel |
Publications (2)
| Publication Number | Publication Date |
|---|---|
| JP2015189876A JP2015189876A (en) | 2015-11-02 |
| JP6431270B2 true JP6431270B2 (en) | 2018-11-28 |
Family
ID=54424671
Family Applications (1)
| Application Number | Title | Priority Date | Filing Date |
|---|---|---|---|
| JP2014068793A Active JP6431270B2 (en) | 2014-03-28 | 2014-03-28 | Solid fuel |
Country Status (1)
| Country | Link |
|---|---|
| JP (1) | JP6431270B2 (en) |
Family Cites Families (7)
| Publication number | Priority date | Publication date | Assignee | Title |
|---|---|---|---|---|
| JPS6052949U (en) * | 1983-09-16 | 1985-04-13 | 新高化学工業株式会社 | mobile fuel |
| JPS6086543U (en) * | 1983-11-21 | 1985-06-14 | 新高化学工業株式会社 | Solid fuel with container-shaped aluminum foil |
| JPS60161152U (en) * | 1984-04-03 | 1985-10-26 | 渡辺化学工業株式会社 | Solid or pasty fuel wrapped in a non-flammable or flame-retardant breathable film |
| JPS637152U (en) * | 1986-07-01 | 1988-01-18 | ||
| JPS63158955U (en) * | 1986-11-12 | 1988-10-18 | ||
| JP3934208B2 (en) * | 1997-05-29 | 2007-06-20 | 株式会社ニイタカ | Solid fuel with anti-odour performance |
| JP6220181B2 (en) * | 2013-08-02 | 2017-10-25 | 株式会社ニイタカ | Solid fuel |
-
2014
- 2014-03-28 JP JP2014068793A patent/JP6431270B2/en active Active
Also Published As
| Publication number | Publication date |
|---|---|
| JP2015189876A (en) | 2015-11-02 |
Similar Documents
| Publication | Publication Date | Title |
|---|---|---|
| US3353527A (en) | Grilling apparatus | |
| JP6114947B2 (en) | Packaging for microwave oven cooking | |
| HRP20050232A2 (en) | Fuel tin | |
| KR101923370B1 (en) | Solid fuel tin | |
| US3491743A (en) | Throw-away grill and cardboard packing to be used together with this grill | |
| JP6431270B2 (en) | Solid fuel | |
| JP2024116378A (en) | Microwave pouch | |
| JP2017124860A (en) | Packaging container | |
| KR101420975B1 (en) | The Envelope type paper re-foil manufacturing methods | |
| JP6399773B2 (en) | Food in containers | |
| JP5534083B2 (en) | Packaging container sheet lid | |
| JP6220181B2 (en) | Solid fuel | |
| JP2016043948A (en) | Packaging for microwave oven heating | |
| JP6586784B2 (en) | Range pouch storage box | |
| CN105658118B (en) | Induction heating body and induction heating vessel | |
| JP6428099B2 (en) | Range pouch storage box | |
| JP6428100B2 (en) | Range pouch storage box | |
| JP2017131549A (en) | Packaging container for microwave heating | |
| JP4256030B2 (en) | Solid fuel for quick cooking | |
| JP3207255U (en) | Paper pot | |
| JP6031796B2 (en) | Lid with vapor venting function | |
| JPH01171513A (en) | High frequency heating/cooking container | |
| JP6476456B2 (en) | Microwave shield | |
| JPS62220592A (en) | Packed simple fuel | |
| JPH0235794Y2 (en) |
Legal Events
| Date | Code | Title | Description |
|---|---|---|---|
| A621 | Written request for application examination |
Free format text: JAPANESE INTERMEDIATE CODE: A621 Effective date: 20170302 |
|
| A131 | Notification of reasons for refusal |
Free format text: JAPANESE INTERMEDIATE CODE: A131 Effective date: 20180424 |
|
| A521 | Request for written amendment filed |
Free format text: JAPANESE INTERMEDIATE CODE: A523 Effective date: 20180611 |
|
| A02 | Decision of refusal |
Free format text: JAPANESE INTERMEDIATE CODE: A02 Effective date: 20180626 |
|
| A521 | Request for written amendment filed |
Free format text: JAPANESE INTERMEDIATE CODE: A523 Effective date: 20180925 |
|
| A911 | Transfer to examiner for re-examination before appeal (zenchi) |
Free format text: JAPANESE INTERMEDIATE CODE: A911 Effective date: 20181003 |
|
| TRDD | Decision of grant or rejection written | ||
| A01 | Written decision to grant a patent or to grant a registration (utility model) |
Free format text: JAPANESE INTERMEDIATE CODE: A01 Effective date: 20181030 |
|
| A61 | First payment of annual fees (during grant procedure) |
Free format text: JAPANESE INTERMEDIATE CODE: A61 Effective date: 20181102 |
|
| R150 | Certificate of patent or registration of utility model |
Ref document number: 6431270 Country of ref document: JP Free format text: JAPANESE INTERMEDIATE CODE: R150 |
|
| R250 | Receipt of annual fees |
Free format text: JAPANESE INTERMEDIATE CODE: R250 |
|
| R250 | Receipt of annual fees |
Free format text: JAPANESE INTERMEDIATE CODE: R250 |
|
| R250 | Receipt of annual fees |
Free format text: JAPANESE INTERMEDIATE CODE: R250 |
|
| R250 | Receipt of annual fees |
Free format text: JAPANESE INTERMEDIATE CODE: R250 |
|
| R250 | Receipt of annual fees |
Free format text: JAPANESE INTERMEDIATE CODE: R250 |
