JP6348202B2 - 一般的な試料調製 - Google Patents

一般的な試料調製 Download PDF

Info

Publication number
JP6348202B2
JP6348202B2 JP2017086559A JP2017086559A JP6348202B2 JP 6348202 B2 JP6348202 B2 JP 6348202B2 JP 2017086559 A JP2017086559 A JP 2017086559A JP 2017086559 A JP2017086559 A JP 2017086559A JP 6348202 B2 JP6348202 B2 JP 6348202B2
Authority
JP
Japan
Prior art keywords
nucleic acid
target nucleic
amplification
nucleic acids
present
Prior art date
Legal status (The legal status is an assumption and is not a legal conclusion. Google has not performed a legal analysis and makes no representation as to the accuracy of the status listed.)
Active
Application number
JP2017086559A
Other languages
English (en)
Other versions
JP2017123878A (ja
Inventor
アイクホフ,マイケ
ルスマン,エーベルハルト
ツィンマーマン,ディルク
ヴェルフェルシュナイデル,アンドレーアス
ニューハウス,クリストファー
エス. スミス,エドワード
エス. スミス,エドワード
エフ. ボイル,ショーン
エフ. ボイル,ショーン
Current Assignee (The listed assignees may be inaccurate. Google has not performed a legal analysis and makes no representation or warranty as to the accuracy of the list.)
F Hoffmann La Roche AG
Original Assignee
F Hoffmann La Roche AG
Priority date (The priority date is an assumption and is not a legal conclusion. Google has not performed a legal analysis and makes no representation as to the accuracy of the date listed.)
Filing date
Publication date
Application filed by F Hoffmann La Roche AG filed Critical F Hoffmann La Roche AG
Publication of JP2017123878A publication Critical patent/JP2017123878A/ja
Application granted granted Critical
Publication of JP6348202B2 publication Critical patent/JP6348202B2/ja
Active legal-status Critical Current
Anticipated expiration legal-status Critical

Links

Images

Landscapes

  • Measuring Or Testing Involving Enzymes Or Micro-Organisms (AREA)

Description

発明の分野
本発明は、インビトロ診断の分野に属する。この分野において、本発明は、特に、診断目的の核酸の試料調製に関する。より正確に、本発明は、複数の異なる種類の液体(fluid)試料から少なくとも第1および第2の標的核酸を同時に単離する方法を提供する。
発明の背景
核酸またはタンパク質などの生物学的物質の、例えば臨床試料などの複雑な生物学的混合物からの単離は、特に診断目的のためにかなり重要となっている。
核酸試料調製の診断適用の例は、ヒトパピローマウイルス(HPV)、西ナイルウイルス(WNV)などのウイルスの調製およびその後の検出、あるいはヒト免疫不全ウイルス(HIV)、B型肝炎ウイルス(HBV)および/またはC型肝炎ウイルス(HCV)の存在についての献血の常套的なスクリーニングを含む。さらに、前記増幅技術は、マイコバクテリアもしくはクラミジアトラコマチス(Chlamydia tracomatis)および淋菌などの細菌標的または癌マーカーの分析に適している。
当該技術分野では、多くの種々の方法、例えば試料中の望ましくない成分の変性、沈殿および除去、加えて、その後の対象の分析物の沈殿および単離(例えば核酸のアルコール系沈殿)が開発されている。別のアプローチは、それぞれの生物学的物質の例えばクロマトグラフィーカラムの形態で提供され得る固体支持体物質への結合である。診断目的のために、特にその後ミディアムスループットまたはハイスループット分析に供される生物学的物質の自動化された単離のために、しばしば結合粒子が使用される。かかる粒子は、官能基化表面を有し、すなわち、所望の分析物を結合するためにしばしば抗体、核酸捕捉プローブ等で被覆される。代替的に、該粒子は、特に核酸の単離のために、ガラス表面などの修飾されていない表面を有し得る。
しかしながら、診断目的のための分析対象の標的核酸は、多様な種々の供給物中に存在し得る。実際、異なる供給源中の核酸の試料調製手順は、通常
1. 液体試料の種類
2. 核酸の種類
に適合される。
種々の供給物から種々の核酸を単離する場合は、他の基準も考慮される必要があり得る。先行技術は、前記異なる種類の試料のための種々の調製方法を提供することにより、この多様性に取り組んでいる。
複数の異なる種類の液体試料から少なくとも第1および第2の標的核酸を単離するための改善された方法が、本発明により提供される。
J Clin Microbiol. 28 (1990), 495-503
本発明の課題は、複数の異なる種類の液体試料から少なくとも第1および第2の標的核酸を単離するための改善された方法を提供することである。
即ち、本発明の要旨は、
〔1〕複数の異なる種類の液体試料から、細菌、DNAウイルスおよびRNAウイルスから選択される少なくとも第1および第2の標的核酸を同時に単離しかつそれらの存在、非存在および/または量を決定するための方法であって、前記方法が、
a. 5.5〜6.5のpHを有しかつカオトロピック剤、バッファ物質、アルコールおよび還元剤を含む同一の溶解バッファを、前記複数の異なる種類の液体試料の構成メンバーに添加し、それにより複数の異なる種類の液体試料中に潜在的に存在する細胞および/またはウイルスカプシドを溶解することにより、核酸の細胞環境および/またはウイルス環境から核酸を放出し、かつ磁性粒子と前記複数の異なる種類の液体試料を、液体試料の数に対応する数の容器中で、標的核酸を含む核酸が磁性粒子に固定化されるのに充分な時間および条件下で一緒に合わせる工程、
b. 1つ以上の磁石を含む分離ステーションにおいて、液体試料中に存在する他の物質から磁性粒子を単離する工程、
c. 分離ステーションにおいて、磁性粒子から液体試料を分離し、磁性粒子を洗浄バッファで1回以上洗浄することにより、核酸を精製する工程、ここで前記洗浄は、ピペットを使用して洗浄バッファおよび磁性粒子を含む懸濁液を1回以上吸引し分配することにより行われる、
d. 磁性粒子から溶出バッファにより核酸を溶出する工程、
e. 精製された核酸および任意に前記磁性粒子を、複数の反応容器に移す工程、ならびに
f. 標的核酸を増幅する工程
の自動化工程を含み、物理的条件および前記時間が、前記複数の異なる種類の液体試料の構成メンバーについて同じであり、第1および第2の標的核酸が細菌の核酸である、方法、
〔2〕容器が同じ一体化した配列中で合わされる、〔1〕記載の方法、
〔3〕第1の標的核酸がRNAを含み、第2の標的核酸がDNAを含む、〔1〕または〔2〕記載の方法、
〔4〕第1の標的核酸および第2の標的核酸が異なる生物由来である、〔1〕〜〔3〕いずれか記載の方法、
〔5〕工程aが50℃までの温度で実施される、〔1〕〜〔4〕いずれか記載の方法、
〔6〕工程dが、70℃〜90℃の温度で実施される、〔1〕記載の方法、
〔7〕工程fが、以下:
i. 精製された核酸と、逆転写酵素活性を有するポリメラーゼを含む1つ以上の増幅試薬を、少なくとも2つの反応容器中で接触させる工程、ここで少なくとも第1の反応容器は少なくとも前記第1の標的核酸を含み、少なくとも第2の反応容器は少なくとも前記第2の標的核酸を含み、第2の標的核酸は第1の反応容器中には存在しない;
ii. 前記反応容器中で、前記精製された核酸と、前記1つ以上の増幅試薬を、前記逆転写酵素活性を有するポリメラーゼによるRNAの逆転写が起こるのに適した時間および条件下でインキュベートする工程;
iii. 前記反応容器中で、前記精製された核酸と、前記1つ以上の増幅試薬を、前記第1および第2の標的核酸の存在または非存在を示す増幅反応が起こるのに充分な時間および条件下でインキュベートする工程
を含み、工程i〜iiiにおける逆転写および増幅の条件が、少なくとも第1および第2の標的核酸について同じである、〔1〕記載の方法
に関する。
本発明により、複数の異なる種類の液体試料から少なくとも第1および第2の標的核酸を単離するための改善された方法が提供され得る。
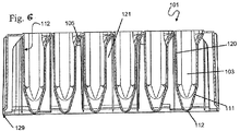
図1は、本発明の態様において使用される試料調製ワークフローの模式的な描写である。下をさす矢印は、上述のディープウェルプレートの各それぞれのウェルへの成分または試薬の添加を示し、上をさす矢印は、それらのそれぞれの除去を示す。これらの動作は、工程2、3、4、21および22においては手動でなされ、工程10、14、16、18および24では装置のプロセスヘッドでなされ、工程5、6、7、11、15および19では装置の試薬ヘッドでなされた。使用される容量は、本発明の精神の範囲内で柔軟に、好ましくは開示される値の少なくとも約30%までで調整され得ることが理解される必要がある。特に、工程2の場合、試料の容量は、当業者に公知なように、適切な結果を得るためにより多少の開始物質を必要とし得る異なる種類の液体試料を考慮するために、好ましくは可変的である。好ましくは、該範囲は、約100ul〜約850ulである。より好ましくは、該容量は約100ul、約500ulまたは約850ulである。好ましくは、それぞれの容器内の容量は、工程3における希釈により全容量と同じに調整される。好ましくは、図1に示される模式図のように、全容量は、約850ulまで添加される。 図2は、実施例1に記載されるLightCycler480(Roche Diagnostics GmbH, Mannheim, DE)で実施された、HIV、HBVおよびCT由来の標的核酸の増幅の増加曲線である。y軸上に示された「シグナル」は、標準化された蛍光シグナルである。x軸は、それぞれのPCRサイクルの数を示す。HIVおよびHBVの増加曲線は、対応する内部対照核酸の増加曲線と共に示される。それぞれの標的核酸の曲線は実線で示され、対照核酸の曲線は点線で示される。図2aは、標的プローブの検出のためのチャネルにおいて測定された定性的HIVアッセイである。 図2bは、対照プローブの検出のためのチャネルにおいて測定された定性的HIVアッセイである。 図2cは、標的プローブの検出のためのチャネルにおいて測定された定量的HIVアッセイである。 図2dは、対照プローブの検出のためのチャネルにおいて測定された定量的HIVアッセイである。 図2eは、標的プローブの検出のためのチャネルにおいて測定された定量的HBVアッセイである。 図2fは、対照プローブの検出のためのチャネルにおいて測定された定量的HBVアッセイである。 図2gは、標的プローブの検出のためのチャネルにおいて測定されたCTアッセイである。 図3は、処理プレートの透視図である。 図4は、反対の角度からの処理プレートの透視図である。 図5は、処理プレートの上面図である。 図6は、処理プレートの長側面に沿った断面図である。 図7は、断面図の部分図である。 図8は、処理プレートの長側面の透視図である。 図9a)〜d)は、磁性分離ステーションの第2の態様の異なる図を示す。 図10(a)〜(c)は、最上位のZ位置に第1の型の磁石を有し、最下位のZ位置に第2の型の磁石を有する処理プレートを保持する磁性分離ステーションの第1の態様の図を示す。 図11は、種々のステーション、モジュールまたはセルを含む分析器の模式図である。 図12は、本発明の分析システムを示す。 図13は、実施例2のデータに従ったEDTA血漿中の定量的HBVアッセイの直線性である。 図14は、実施例2のデータに従った血清中の定量的HBVアッセイの直線性である。 図15は、実施例2のデータに従ったEDTA血漿中の定量的HCVアッセイの直線性である。 図16は、実施例2のデータに従った血清中の定量的HCVアッセイの直線性である。 図17は、実施例2のデータに従ったEDTA血漿中の定量的HIVアッセイの直線性である。
発明の説明
本発明は、複数の異なる種類の液体試料から少なくとも第1および第2の標的核酸を同時に単離するための方法を提供する。
第一の局面において、本発明は、複数の異なる種類の液体試料から少なくとも第1および第2の標的核酸を同時に単離する方法に関し、前記方法は、
a. 固体支持体物質と、前記複数の異なる種類の液体試料を、液体試料の数に対応する数の(a number of)容器中で、標的核酸を含む核酸が、固体支持体物質に固定化されるのに充分な時間および条件下で一緒に合わせる工程、
b. 分離ステーションにおいて、液体試料中に存在する他の物質から固体支持体物質を単離する工程、
c. 分離ステーションにおいて、固体支持体物質から液体試料を分離して、固体支持体物質を洗浄バッファで一回以上洗浄することにより、核酸を精製する工程
の自動化工程を含み、物理的条件および前記時間は、前記複数の異なる種類の液体試料のメンバーについて同じである。
特に、高い試料スループットを有する臨床実験室のためだけではないが、複数の異なる種類の液体試料からの多数の標的核酸の迅速、簡便および信頼性の高い同時単離のためのかかる改善された方法を提供することが非常に好ましい。
上述の自動化工程を含む方法は、種々の利点を示す。
第1に、本発明の試料調製手順と、例えば自動化された様式でのRNAの逆転写および標的核酸の増幅の組合せは、手動の介入の必要性を有意に低減させ、それにより起こり得る汚染のリスクを有意に低減させる。
さらに、種々の異なる試料、すなわち核酸の異なる供給源において単一のプロセスを提供することの可能性は、核酸診断の全体の複雑さの低減に有意に寄与する。例えば、先行技術においてあてはまるように、全ての種類の液体試料に異なる方法を適用する必要がある場合、試料調製は非常に複雑で、時間がかかり、資源集約的になる。たいていは、種々の試薬を利用する必要があり、費用の増加がもたらされ、迅速かつ複雑でない自動化された解決法の開発が阻害される。
本発明の試料調製は、例えばDNAおよびRNAなどの異なる種類の核酸を含む多数の異なる試料の種類を取り扱うための適切な柔軟性およびワークフローを示す。
種々の供給源、すなわち試料の種類は、とりわけ、例えば血液、痰、鼻スワブ、尿、汗またはその他などの全ての種類のヒト体液を含む。
本発明の方法は、かなり短い操作時間を必要とし、試験は、先行技術で使用される試料調製方法よりも行なうのがかなり簡単である。本発明の方法は、並行した実験でのいくつかのウイルスの並行した試料調製および下流の、好ましくは増幅を可能にするので、例えば臨床ウイルス学の分野において、大きな利点をもたらす。該方法は、特に、頻繁なウイルスモニタリングを必要とする移植後の患者の管理に有用である。それにより、本発明の方法は、経済的な診断を容易にし、抗ウイルス剤の使用およびウイルス合併症ならびに入院の減少に寄与する。これは臨床微生物学の分野に同等に適用される。一般的に、より早い所要時間および改善された試験柔軟性において効率が上がる。結果的に、このことにより、診断を行なうために患者に求められる試験の数が減少し、潜在的に入院日数が短くなる(例えば、診断がより早く提供され得る場合、抗微生物療法を必要とする患者は、該療法をより早く受け、より早く回復する)。また、患者はより低い罹病率を示すので、補助療法(例えば敗血症の診断の遅れに関する集中治療)に関する費用がより少なくなる。陰性結果をより早く提供することは、抗生物質の過剰処方に重要な関係を有し得る。例えば、本発明による方法を使用して得られた試験結果が、例えば、リアルタイムPCRが続く標準的な試料調製法よりも早く病原体を除外し得る場合、臨床医は、経験的な抗生物質の使用を強制されない。あるいは、経験的な抗生物質が使用される場合、それぞれの治療の持続時間が短くなり得る。
本発明の方法による試料調製を含むアッセイを設計することに関して、当業者は特に、限定されないが、以下の利点:
・ソフトウェアの複雑さの低減(プログラミングエラーのリスクの低下をもたらす)
・アッセイの開発の努力を、化学および装置制御パラメーターの代わりに化学の最適化に集中すること
・常に単一のプロセスが使用され、このプロトコルを実行するためにハードウェアが最適に設計され得るので、システムの信頼性がかなり高くなる
・本発明の方法を実行する当業者は、多数の異なる単離を、同一の方法の一部として、並行して行なうための柔軟さを提供される
・費用低減
の利益を受ける。
本発明の意味において、核酸の「精製」、「単離」または「抽出」は、以下のことに関する:診断アッセイにおいて例えば増幅により核酸を分析し得る前に、典型的に、核酸は、種々の成分の複雑な混合物を含む生物学的試料から精製、単離または抽出する必要がある。第1の工程について、核酸の濃縮を可能にするプロセスが使用され得る。
しばしば、分析対象の核酸は対象の液体試料中では溶液中に遊離しておらず、例えば細胞またはウイルスなどの閉じた構造内に位置する。診断アッセイにおいて、しばしば臨床試料などの液体試料中の特に病原性の細胞またはウイルスを同定することが目的である。例えばかかる病原体は、例えばヒト免疫不全ウイルス(HIV)、C型肝炎ウイルス(HCV)、西ナイルウイルス(WNV)、ヒトパピローマウイルス(HPV)、日本脳炎ウイルス(JEV)、セントルイス脳炎ウイルス(SLEV)およびその他などのRNAウイルス、または例えばB型肝炎ウイルス(HBC)、サイトメガロウイルス(CMV)およびその他などのDNAウイルス、または例えばクラミジアトラコマチス(CT)、淋菌(NG)およびその他などの細菌を含み得る。本発明の方法は、上述の生物および他の生物からの核酸の抽出に有用である。
そのため、本発明の好ましい局面は、工程aが、複数の異なる液体試料中に潜在的に存在する細胞および/またはウイルスカプシドを溶解することにより、細胞環境および/またはウイルス環境から核酸を放出する工程をさらに含む、上述の方法である。
細胞またはウイルス粒子の内容物を放出するために、それらを酵素または化学物質で処理して、細胞壁またはウイルス粒子を溶解(dissolve)、分解または変性させる。このプロセスは、一般的に、溶解(lysis)と称される。かかる溶解された物質を含む得られた溶液は、溶解液と称される。
細胞および/またはウイルスカプシドまたは同様の構造を溶解するために適した薬剤は、一般的に溶解バッファ中に提供される。そのため、本発明の好ましい態様において、上述の方法は、さらに、工程aにおいて、複数の異なる液体試料への溶解バッファの添加を含む。
本発明の方法は、高いスループット、効率および並行化に関して特に有利であるので、本発明の好ましい局面は、前記溶解バッファが、前記複数の異なる種類の液体試料のメンバーについて同じである上述の方法である。
このように、異なる溶解試薬を処理対照の異なる試料に対して個々に提供する必要がないので、試料調製手順の複雑さはさらに低減される。さらに、該手法は、単一の溶解バッファを用いて作業される場合、より容易に制御され得る。溶解バッファは、例えば、単一の容器からマルチピペッターで抜き取られ、その後異なる試料中へと同時に分配され得る。
本発明の好ましい態様において、上述の方法の溶解バッファは、
・カオトロピック剤
・バッファ物質
・アルコール
・還元剤
の群から選択される1つ以上の成分を含む。
一般的に、溶液中の水分子の整列した構造ならびに分子中および分子間の非共有結合力を破壊するカオトロピック剤は、試料調製の手順にいくつかの寄与をし得る。特に、限定されないが、カオトロピック剤は、ヌクレアーゼの三次元構造を破壊することにより、RNaseインヒビターとして適用され得る。通常、溶解バッファにさらなるRNaseインヒビターを適用する必要はない。それに加えて、カオトロピック剤は、細胞膜またはもし存在する場合は細胞小器官の膜などの生物膜の破壊に寄与する。また、カオトロピック剤は、核酸とガラスなどの表面の付着性結合(上記参照)において重要な役割を担い得る。本発明の文脈における好ましいカオトロピック剤は、グアニジニウムチオシアネートまたは塩酸グアニジニウムまたは塩化グアニジニウムまたはグアニジニウムイソチオシアネートなどのグアニジニウム塩、尿素、例えば過塩素酸カリウムなどの過塩素酸塩、他のチオシアネートまたはヨウ化カリウムである。グアニジニウムチオシアネートが特に好ましい。しかしながら、他のカオトロピック剤も本発明の範囲において使用し得る。
一般的に、バッファ物質は、溶液中の特定のpH値またはpH範囲を維持するために重要である。これは、ほとんどの生物系について必須であり、インビトロ反応についてもたいてい望ましい。バッファ物質は、本発明の方法にも有利であり得る。本発明の文脈における好ましいバッファは、クエン酸ナトリウムなどのクエン酸バッファであるが、Tris HClなどのTris (トリス-(ヒドロキシメチル)-アミノメタン)バッファ、リン酸塩、N-(2-ヒドロキシエチル)-ピペラジン-N'-(2-エタンスルホン酸)(HEPES)、酢酸バッファ、さらに他のバッファも本発明の文脈において使用され得る。
核酸調製のための溶解バッファ中のアルコールの使用も、当該者に公知なように有利であり得る。ポリドカノール(polidocanol)の使用は本発明の文脈において特に好ましいが、他のアルコールも上述の溶解バッファ中で使用され得る。核酸の調製のためのポリドカノールの使用は、例えばEP 1 932 913に開示されている。
還元剤も、上述のRNase Aなどの所望でない成分の変性に寄与し得る。特に、当該技術分野で広く知られるように、還元剤は、多くのタンパク質の三次元構造に特に重要な分子間および分子内のジスルフィド結合を切断する。ジチオトレイトール(DTT)などの還元剤が本発明の文脈において好ましいが、例えば2-メルカプトエタノールなどの当該技術分野で公知の他の還元剤も本発明の文脈において有利に使用され得る。
上記を鑑みると本発明の好ましい局面は、前記溶解バッファが、以下の成分:
・グアニジニウムチオシアネート、
・クエン酸Na、
・ポリドカノール、
・DTT
を含む、上述の方法である。
本発明のより好ましい態様において、溶解バッファの上述の成分の濃度は以下の通りである
・グアニジニウムチオシアネート:4M
・クエン酸Na:50mM
・ポリドカノール:5% w/v
・DTT:2% w/v。
上述の溶解バッファのpHは、特定のpH値に限定されない。しかしながら、好ましい態様において、前記溶解バッファは酸性pH、より好ましくは5.5〜6.5のpH、最も好ましくは約5.8を有する。
しばしば溶解の際に起こる問題は、目的の成分を分解する他の酵素、例えば上述のRNaseなどの核酸を分解するデオキシリボヌクレアーゼまたはリボヌクレアーゼが、溶解手順の間に目的の成分と接触することである。これらの分解酵素は、細胞の外側にも存在し得るか、または溶解前に異なる細胞区画に空間的に隔離され得る。溶解が起こる際に、目的の成分は前記分解酵素に曝される。このプロセス中に放出される他の成分は、例えば細胞に毒性であるリポ多糖のファミリーに属するエンドトキシンであり得、ヒトまたは動物の治療において使用を意図される産物に問題を生じさせ得る。
上述の課題に取り組むために様々な手段がある。核酸を遊離することが意図される場合に、カオトロピック剤(上記のような)またはアニオン性、カチオン性、両イオン性もしくは非イオン性の界面活性剤を使用することが一般的である。
前述の酵素または望ましくないタンパク質を迅速に分解するプロテアーゼを使用することも利点である。しかしながら、これは、前記物質または酵素が、その後の工程において試薬または成分に干渉し得るという別の問題を生じ得る。
かかる溶解または上述の試料調製プロセスに好適に使用される酵素は、タンパク質物質のアミド結合を切断し、プロテアーゼまたは(互換的に)ペプチダーゼとして分類される酵素である(Walsh, 1979, Enzymatic Reaction Mechanisms. W. H. Freeman and Company, San Francisco, Chapter 3参照)。先行技術で使用されるプロテアーゼは、アルカリ性プロテアーゼ(WO 98/04730)または酸性プロテアーゼ(US 5,386,024)を含む。先行技術における核酸の単離において試料調製に広く使用されるプロテアーゼは、中性pH付近で活性であり、ズブチリシンとして当業者に公知のプロテアーゼのファミリーに属するトリチラチウムアルブム(Tritirachium album)由来のプロテイナーゼKである(例えば、Sambrook J. et al., Molecular Cloning: A Laboratory Manual, Cold Spring HarborLaboratory Press, Cold Spring Harbor, New York, 1989参照)。高アルカリ性および高温の両方でその活性を維持する強力なプロテアーゼである酵素エスペラーゼ(esperase)(EP 1 201 753)が、上述の溶解または試料調製のプロセスにおける使用に特に有利である。
溶解工程後の試料調製工程において、目的の成分をさらに濃縮する。目的の非タンパク質成分が例えば核酸である場合、該成分は、通常プローブベースアッセイに使用される前に複雑な溶解混合物から抽出される。
核酸の精製にはいくつかの方法:
- 配列依存的または生物特異的方法、例えば:
・親和性クロマトグラフィー
・固定化プローブへのハイブリダイゼーション
- 配列非依存的または物理化学的方法、例えば:
・例えばフェノール-クロロホルムを用いた液体-液体抽出
・例えば純アルコールを用いた沈殿
・ろ紙を用いた抽出
・セチルトリメチルアンモニウムブロミドなどのミセル形成剤を用いた抽出
・固定化されたインターカレーション色素、例えばアクリジン誘導体への結合
・シリカゲルまたはケイソウ土への吸着
・カオトロピック条件下での磁性ガラス粒子(MGP)またはオルガノ-シラン粒子への吸着
がある。
他の表面が可能であるが、核酸のガラス表面への吸着は、精製目的のために特に興味深い。核酸のガラス表面への結合挙動の使用による、天然環境から核酸を単離するための多くの手法が近年提唱されている。非修飾核酸が標的である場合、とりわけ核酸は改変される必要がなく、天然の核酸であっても結合し得るので、シリカ表面を有する物質への核酸の直接結合が好ましい。これらの方法は、様々な文書に詳細に記載される。Vogelstein B. et al., Proc. Natl. Acad. USA 76 (1979) 615-9には、例えば、ヨウ化ナトリウムの存在下で、アガロースゲルからグラウンドフリントガラス(ground flint glass)への核酸の結合の手順が提唱される。過塩素酸ナトリウムの存在下でのガラス粉(dust)上の細菌からのプラスミドDNAの精製が、Marko M. A. et al., Anal. Biochem. 121 (1982) 382-387に記載される。DE-A 37 34 442には、酢酸を使用したファージ粒子の沈殿によるガラス繊維フィルター上の一本鎖M13ファージDNAの単離および過塩素酸塩を用いたファージ粒子の溶解が記載される。ガラス繊維フィルターに結合した核酸を洗浄して、次いでメタノール含有Tris/EDTAバッファで溶出する。λファージからのDNAの精製のための同様の手順がJakobi R. et al., Anal. Biochem. 175 (1988) 196-201に記載される。該手法は、カオトロピック塩溶液中の核酸のガラス表面への選択的結合およびアガロース、タンパク質または細胞残渣などの夾雑物からの核酸の分離を必要とする。夾雑物からガラス粒子を分離するために、粒子を遠心分離し得るか、またはガラス繊維フィルターにより液体を抜き取り得る。しかし、これは、大量の試料を処理するために該手法を使用することを妨げる限定的な工程である。塩およびエタノールの添加による沈殿後に核酸を固定化するための磁性粒子の使用は、より有利であり、例えばAlderton R. P. et al., S., Anal. Biochem. 201 (1992) 166-169およびPCT GB 91/00212に記載される。この手法において、核酸は磁性粒子と一緒に凝集する。磁場をかけることおよび洗浄工程を行なうことによって凝集物を元の溶媒から分離する。一回の洗浄工程後、核酸をTrisバッファに溶解する。しかしながらこの手法は、沈殿が核酸に選択的ではないという欠点を有する。むしろ、種々の固体および溶解した物質も凝集する。結果的に、この手法は、存在し得る特定の酵素反応の有意な量の任意のインヒビターを除去するために使用できない。多孔性かつ特定のガラスマトリックス中に磁性粒子を含み、生物学的物質を含む層で被覆される磁性の多孔性ガラスは、市販もされている。この製品は、ストレプトアビジンが複雑な調製工程においてビオチンに共有結合するように修飾される場合に、生物学的物質、例えばタンパク質または核酸を単離するために使用され得る。磁化可能な特
定の吸着体は、自動化試料調製に非常に有効でかつ適していることが判明した。フェリ磁性および強磁性ならびに超常磁性の色素がこの目的に使用される。最も好ましい磁性ガラス粒子およびそれらを使用する方法はWO 01/37291に記載されるものである。本発明の文脈において、R. Boomら(J Clin Microbiol. 28 (1990), 495-503)による方法が、核酸の単離に特に有用である。
本発明の方法の柔軟性は、該方法に使用されるそれぞれの液体試料の容積を適合することによりさらに向上され得る。この態様は、異なる種類の液体試料ならびに液体試料中に存在する生物および核酸のあり得る種類の多様性に焦点を当てる。例えば、全血試料中の特定のウイルスは、通常これらの特定の症例においてわずか低コピー数のみが存在することが知られている場合は、他の試料よりも多くの開始物質を必要とし得る。
したがって、本発明の好ましい局面は、前記複数の異なる液体試料の少なくとも1つの液体試料が、他の液体試料とは異なる容積を有する上述の方法である。
代替的に、または追加的に、異なる容積の溶解バッファを前記複数の異なる液体試料に添加することも好ましい。
さらに好ましい態様において、前記複数の異なる液体試料の少なくとも1つの液体試料が他の液体試料とは異なる容積を有する場合、溶解バッファは、全ての試料が添加後に同じ容積を有するよう試料に添加される。
この態様において、異なる試料に対して自動化プロセスを同時に行なうことがさらに都合がよい。試料の種類に依存して適切な開始容積を選択し得ること、ならびに単離および任意に、例えば増幅および検出を実施するために同じ容積を有することの利点がこのアプローチにおいて組み合わされる。
用語「固体支持体物質」は、核酸の固定に関して、上述の固体物質、例えば磁性ガラス粒子、ガラス繊維、ガラス繊維フィルター、ろ紙等のいずれかを含むが、該固体支持体物質はこれらの物質に限定されない。
本発明の好ましい局面は、固体支持体物質が、核酸結合粒子、好ましくはシリカ、金属、金属酸化物、プラスチック、ポリマーおよび核酸から選択される物質の1つ以上を含む、上述の方法である。本発明の非常に好ましい態様において、固体支持体物質は、磁性ガラス粒子である。
本発明の文脈において、「固定」は、例えば核酸などの目的物を可逆的または不可逆的な様式で捕捉することを意味する。特に、「固体支持体物質上に固定される」は、1つまたは複数の目的物を任意の周囲媒体から分離するために、該目的物を固体支持体物質に結合させ、その後の時点で、固体支持体物質から例えば分離により回収され得ることを意味する。この文脈において、「固定」は、例えば核酸の、上述のような固体物質のガラス表面または他の適切な表面への吸着を含み得る。さらに、捕捉プローブへの結合により、核酸は特異的に「固定」され得、ここで核酸は、塩基対形成により、固体支持体に結合した本質的に相補的な核酸に結合される。後者の場合において、かかる特異的な固定により、標的核酸の優勢な結合が生じる。
本発明の意味において、「同時」は、2つの動作、例えば第1および第2またはそれ以上の核酸を増幅することが、一度に同じ物理的条件下で行なわれることを意味する。一態様において、少なくとも第1および第2の標的核酸の同時増幅は、1つの容器内で行なわれる。別の態様において、同時増幅は、1つの容器内の少なくとも1つの核酸を用いて、および第2の容器内の少なくとも第2の核酸を用いて同時に、特に温度およびインキュベーション時間に関して同じ物理的条件下で行なわれる。
「第1の標的核酸」および「第2の標的核酸」は、異なる核酸である。
「液体(fluid)試料」は、核酸を標的とする診断アッセイに供することができる任意の液体物質であり、好ましくは生物学的供給源由来である。また、好ましくは、前記液体試料は、ヒト由来であり、体液である。本発明の好ましい態様において、液体試料は、ヒトの血液、尿、痰、汗、スワブ、ピペット可能な糞便または脊髄液である。最も好ましくは、液体試料はヒトの血液である。
用語「反応容器」は、限定されないが、その中で例えば逆転写反応またはポリメラーゼ連鎖反応などの液体試料の分析のための反応が起こるチューブ、またはマイクロウェル、ディープウェルもしくは他の種類のマルチウェルプレートなどのプレートのウェルを含む。かかる容器の外側の境界または壁は、その中で起こっている分析反応と干渉しないように化学的に不活性である。好ましくは、上述の核酸の単離は、マルチウェルプレート中でも行なわれる。
この文脈において、分析システムにおけるマルチウェルプレートは、多数の試料の並行分離および分析または貯蔵を可能にする。マルチウェルプレートは、最大液体取り込みまたは最大熱伝達について最適化され得る。本発明の文脈における使用のための好ましいマルチウェルプレートは、自動分析器中の分析物のインキュベーションまたは分離のために最適化される。好ましくは、マルチウェルプレートは、磁性デバイスおよび/または加熱デバイスを接触するように構築および配列される。
本発明の文脈において「処理プレート」と互換的に称される前記好ましいマルチウェルプレートは:
- 列をなして配列される上部に開口を有する多数の容器を含む上部表面を含む。該容器は、上部パート、中央パートおよび底部パートを含む。上部パートは、マルチウェルプレートの上部表面に連結され、2つの長側面および2つの短側面を含む。中央パートは、2つの長側面および2つの短側面を有する実質的に長方形の断面、
- 2つの対向する短側面壁および2つの対向する長側面壁、ならびに
- 基部を有し、前記基部は、前記磁性デバイスおよび/または加熱デバイスと接触してマルチウェルプレートを配置するように構築および配列された開口を含む。
マルチウェルプレートの好ましい態様において、一列内の隣り合う容器は、前記ほぼ長方形状の長側面上で連結される。
好ましくは、マルチウェルプレートは、容器の隣接する列の間に配置された連続する空間を含む。前記連続する空間は、プレート型の磁性デバイスを収容するように構築および配列される。好ましい態様において、該容器の底部パートは、球状の底部を含む。より好ましい態様において、前記容器の底部パートは、前記中央パートと球状底部の間に位置する円錐形パートを含む。
好ましい態様において、上部表面はリブを含み、ここで、前記リブは、容器の開口部を囲っている。好ましくは、該容器の前記上部パートの1つの短側面は、陥凹を含み、前記陥凹は、リブから容器の内側まで伸びる湾曲表面を含む。
さらに、好ましい態様において、該容器は、丸い内側形状を含む。
処理ステーションまたはインキュベーションステーションへの固定のために、基部は、好ましくは陥凹を含むリムを含む。分析器のステーション上のラッチクリップは、ステーション上のプレートを固定するために前記陥凹とかみ合い得る。
好ましい態様において、容器は、本質的に一定の壁厚を含む。
本発明の文脈における好ましい処理プレート(101)は、1成分プレートである。その上部表面(110)は、多数の容器(103)を含む(図5、図6)。それぞれの容器は、上部に開口部(108)を有し、底部端(112)で閉じている。上部表面(110)は、好ましくは上部表面(110)に対して高くなっており、容器(103)の開口部(108)を囲っているリブ(104)を含む。これは、プレート(101)の上部表面(110)に落ちることがある液滴による容器(103)の内容物の汚染を防ぐ。好ましい処理プレートの図を図3〜8に示す。
処理プレート(101)の設置面(footprint)は、好ましくはANSI SBS設置面形式に対応する基部の長さおよび幅を含む。より好ましくは、長さは、127.76mm+/-0.25mmであり、幅は85.48mm+/-0.25mmである。したがって、プレート(101)は、2つの対向する短側壁(109)および2つの対向する長側壁(118)を有する。処理プレート(101)は、操縦器(500、図12)と相互作用するための形態固定要素(106)を含む。処理プレート(101)は、正確な方向および位置を維持しながら、素早く安全に高速でつかみ、移動させ、配置することができる。好ましくは、つかむための形態固定要素(106)は、上部中央パート、好ましくは処理プレート(101)の上部中央1/3内に配置される。これは起こり得る処理プレート(101)のゆがみが形態固定要素(106)にわずかな影響のみを及ぼす、およびプレート(101)の取り扱いがより確固たるものになるという利点を有する。
好ましくは、処理プレート(101)は、ハードウェア識別子(102)および(115)を含む。ハードウェア識別子(102)および(115)は、処理プレート(101)に特有であり、同一システムで使用される他の消耗品のハードウェア識別子とは異なる。ハードウェア識別子(102、115)は、好ましくは消耗品の側壁に隆起(119)および/または陥凹(125)を含み、ここで、前記隆起(119)および/または陥凹(125)のパターンは、特定の型の消耗品、好ましくは処理プレート(101)に特有である。この特有のパターンはまた、本明細書において特有の「表面幾何構造」と称される。ハードウェア識別子(102、115)は、ユーザーが、処理プレート(101)のみを、適切な方向で分析装置の適切なスタッカー(stacker)位置に負荷し得ることを確実にする。処理プレート(101)の側面に、誘導要素(116)および(117)が含まれる(図3、図4)。それらは、処理プレート(101)の傾斜を防ぐ。誘導要素(116、117)は、ユーザーが、スタックとして誘導要素(116、117)を用いて処理プレート(101)を分析装置に負荷し、その後プレートを傾けることなく装置中でスタッカーにおいてプレートを垂直に移動させることを可能にする。
容器(103)の中央パート(120)は、ほぼ長方形の断面を有する(図6、図7)。それらは、共通の壁(113)により、ほぼ長方形状の長側面(118)に沿って分離される(図3)。それによって形成される容器(103)の列は、利用可能な空間が限定される代わりに、好ましくは4mlの大きな容積を有するという利点を有する。別の利点は、本質的に一定の壁厚さのために、製造が非常に経済的であるということである。さらなる利点は、容器(103)が互いに補強されるので、形状の高い安定性を得ることができるということである。
容器(103)の列の間に、連続した空間(121)が位置する(図6、図7)。該空間(121)は、磁石(202、203)または加熱デバイス(128)を収容し得る(図11)。これらの磁石(202、203)および加熱デバイス(128)は、好ましくは中実デバイスである。したがって、容器(103)中に保持され得る液体(215)中に含まれる磁性粒子(216)は、磁石(202、203)を容器(103)の近位に持っていく際に、容器(103)に磁場をかかることによって液体(215)から分離され得る。または、処理プレート(101)を加熱デバイス(128)上に置いた場合に、容器(103)の内容物を、制御された高い温度でインキュベートし得る。磁石(202、203)または加熱デバイス(128)は中実であり得るので、高いエネルギー密度が達成され得る。容器(103)の中央パート(120)のほぼ長方形状(図10)はまた、容器(103)と磁石(202)または加熱デバイス(128)の間の接触表面を最適化することにより、容器の壁(109)と平坦な形状の磁石(202)または加熱デバイス(128)の間の接触が最適化されるので、容器(103)へのエネルギー伝達が高められる。
容器の円錐形底部(111)の領域において、空間(121)は、かなりより明確であり、さらなる磁石(203)を収容し得る。容器の上部領域中の大きな磁石(202)と円錐形領域中の小さな磁石(203)の組合せにより、大量または少量の液体(215)中での磁性粒子(216)の分離が可能になる。したがって、小さな磁石(203)は、溶出液のピペッティングの際に磁性粒子(216)を隔離することをより簡単にする。これは、磁性粒子(216)ペレットの死容量を低下させることで、最小の損失で溶出液をピペッティングすることを可能にする。さらに、移動される溶出液中の磁性粒子(216)の存在が最小になる。
容器(103)の上端で、容器(103)の短側壁(109)の1つは、周囲リブ(104)へと伸びる試薬流入チャネル(105)を含む(図3、4、7)。試薬を、ピペッティングにより試薬流入チャネル(105)に入れ、該チャネル(105)から容器(103)へと流入する。したがって、ピペットニードルまたはチップ(3、4)と容器中に含まれる液体の間の接触が防がれる。さらに、ピペットニードルもしくはチップ(3、4)または隣り合う容器(103)の汚染を引き起こし得る、容器(103)に含まれる別の液体(215)へと直接分配される液体により生じる跳ね返りが防がれる。少量の試薬の後に試薬流入チャネル(105)に最大量の別の試薬を連続ピペッティングすることにより、少量で添加されるのみの試薬が容器(103)中に完全に流入することが確実となる。したがって、実施される試験の正確性を損なうことなく、少量の試薬のピペッティングが可能である。
内側の、容器の底部(111、112)で、形状は、円錐形(111)になり、末端は球状の底部(112)を有する(図6、図7)。長方形中央パート(120)を含む容器の内部形状(114)は丸い。容器(103)の球状底部(112)、丸い内側形状(114)、円錐形パート(111)および微細な表面の組合せは、処理プレート(101)中の分析物の効果的な分離および精製を容易にする好ましい流体工学を引き起こす。球状底部(112)は、分離された溶出物の本質的に完全な使用および試薬の持ち越し(carryover)または試料の交差汚染を低減する死容量の低減を可能にする。
処理プレート(101)の基部(129)のリムは、処理ステーション(201)または加熱デバイス(128)または分析装置(126)上のラッチクリップ(124)との連結のための陥凹(107)を含む(図5、図9)。ラッチクリップ(124)と陥凹(107)のかみ合いにより、処理ステーション(201)上の処理プレート(101)の設置および固定が可能になる。陥凹(107)の存在により、基部(129)に対してほぼ垂直なラッチ力が処理プレート(101)に働く。したがって、横向きにかかる小さな力だけが生じ得る。これにより、ひずみの発生が低減されるので、処理プレート(101)の変形が低減される。垂直のラッチ力はまた、処理プレート(101)の任意の変形を無効にして、処理ステーション(201)中の球状底部(111)のより正確な配置をもたらし得る。一般的に、処理プレート(101)と処理ステーション(201)または分析器中の加熱デバイス(128)の間の正確な中間面は、死容量を低減し、さらに試料の交差汚染のリスクを低減する。
「分離ステーション」は、液体試料中に存在する他の物質からの固体支持体物質の単離を可能にする分析システムのデバイスまたは構成物である。かかる分離ステーションは、限定されないが、例えば遠心分離、フィルターチューブを有するラック、磁石または他の適切な構成物を含み得る。本発明の好ましい態様において、分離ステーションは1つ以上の磁石を含む。好ましくは、1つ以上の磁石は、固体支持体としての磁性粒子、好ましくは磁性ガラス粒子の分離のために使用される。例えば、液体試料および固体支持体物質がマルチウェルプレートのウェル中で一緒に合わされる場合、分離ステーションに含まれる1つ以上の磁石は、例えば磁石をウェル中に導入することで液体試料自体と接触し得るか、または前記1つ以上の磁石は、磁性粒子をひきつけその後磁性粒子と周囲の液体を分離するためにウェルの外壁に近づけられ得る。
好ましい態様において、分離ステーションは、マルチウェルプレートの上部表面に開口部および閉じた底部を有する容器を含むマルチウェルプレートを含むデバイスである。該容器は、上部パート、中央パートおよび底部パートを含み、上部パートはマルチウェルプレートの上部表面に連結され、好ましくは2つの長側面および2つの短側面を含む。中央パートは、2つの長側面を有する実質的に長方形の断面を有し、ここで、前記容器は、列をなして配置される。2つの隣接する列の間には、少なくとも2つのZ位置で、固定具上に載せられた少なくとも1つの磁石と側壁を選択的に接触させるための連続した空間が位置する。該デバイスはさらに、少なくとも1つの固定具を含む磁性分離ステーションを含む。該固定具は、磁場を生じる少なくとも1つの磁石を含む。マルチウェルプレートの容器に関する第1および第2の位置の少なくとも間に少なくとも1つの磁石を含む少なくとも1つの前記固定具を垂直に動かす移動機構が存在する。好ましくは、容器の前記少なくとも2つのZ位置は、前記容器の側壁および底部パートを含む。前記少なくとも1つの磁石の磁場は、好ましくは、前記少なくとも1つの磁石が前記第1の位置にある場合に、磁性粒子を、前記少なくとも1つの磁石に隣接する容器の内表面に引きつける。前記磁場の効果は、前記少なくとも1つの磁石が前記第2の位置にある場合には、前記少なくとも1つの磁石が前記第1の位置にある場合よりも小さい。好ましくは、前記少なくとも1つの磁石を含む固定具は、フレームを含む。容器は、マルチウェルプレート/処理プレートの文脈において上述されるような好ましい特徴を有する。かかる1つの好ましい特徴は、前記容器の少なくとも一部が、前記容器の軸に直交する実質的に長方形の断面を有することである。
前記第1の位置において、前記少なくとも1つの磁石は、前記容器の前記パートに隣接する。隣接は、容器の内容物に磁場を発揮するなどの近位にあるかまたは容器と物理的に接触しているかのいずれかであることを意味すると理解される。
分離ステーションは、マルチウェルプレートを受けるためのフレーム、およびマルチウェルプレートを取り付けるためのラッチクリップを含む。好ましくは、分離ステーションは、2種類の磁石を含む。この好ましい態様は、さらに以下に記載される。
磁石がマルチウェルプレートの容器に押し付けられるように、磁石を含むフレームに圧力をかけるバネを含む、第2の好ましい態様が以下に記載される。
好ましくは、第1の磁石は、前記容器中に保持される磁性粒子を含む大量の液体に磁場をかけるために、マルチウェルプレートの容器と相互作用するように構築および配列される。前記第2の磁石は、好ましくは、前記容器中に保持される磁性粒子を含む少量の液体に磁場をかけるために、マルチウェルプレートの容器と相互作用するように構築および配列される。前記第1の磁石および第2の磁石は、異なるZ位置へと移動され得る。
前記分離ステーションは、核酸を単離および精製するさらなる方法であり、本発明の文脈において有用である。該方法は、核酸を、マルチウェルプレートの容器中の磁性粒子に結合させる工程を含む。該容器は、上部開口部、中央パートおよび底部パートを含む。次いで、容器の円錐形パートが長方形状を有する中央パートと入れ替わる部分よりも上に、液体の大部分が位置する場合、磁石を第2の位置から第1の位置へと移動させること、および前記第1の位置で、中央パートに磁場をかけること、および任意に、前記容器の底部パートにさらに磁場をかけることにより、結合した物質は、液体に含まれる非結合物質から分離される。磁性粒子は洗浄溶液で任意に洗浄され得る。容器の円錐形パートが長方形状を有する中央パートと入れ替わる部分よりも下に、液体の大部分が位置する場合、少量の液体は、前記容器の底部パートに磁場を選択的にかけることにより、前記磁性粒子から分離される。
磁性粒子に結合した核酸を分離するための磁性分離ステーションも本発明の文脈において有用であり、前記分離ステーションは、前記容器中に保持された磁性粒子を含む大量の液体に磁場をかけるためにマルチウェルプレートの容器と相互作用するように構築および配列される第1の磁石、ならびに前記容器中に保持される磁性粒子を含む少量の液体に磁場をかけるためにマルチウェルプレートの容器と相互作用するように構築および配列される第2の磁石を含み、前記第1および第2の磁石は、異なるZ位置に移動され得る。磁性分離ステーションの好ましい態様を本明細書に記載する。
本発明に有用な分離ステーション(201)の第1の好ましい態様を以下に記載する。前記分離ステーション(201)の第1の好ましい態様は、少なくとも2種類の磁石(202、203)を含む。第1の長い型の磁石(202)は、処理プレート(101)の空間(121)に適合するように構築および配列される。したがって、磁石(202)は、容器の壁の内側の磁性粒子(216)を隔離するために、容器(103)内の液体(215)に磁場をかける。これにより、大量の液体(215)が存在する場合、容器(103)内部の磁性粒子(216)およびそれに結合した任意の物質と液体(215)の分離が可能になる。磁石(202)は、細長い構造を有し、容器の実質的に長方形の中央パート(120)と相互作用するように構築および配列される。したがって、容器(103)の円錐形パート(111)が長方形状を有する中央パート(120)と入れ替わる部分よりも上に、液体(215)の大部分が位置する場合に、磁石(202)は使用される。図40に示すように、磁石(202)の好ましい構築は、処理プレート(101)中の容器(103)の列の間の空間(121)に適合する磁石(202)を含む固定具(204、204a)を含む。磁石(202)の別の好ましい態様は、固定具(204、204a)上に配列された磁石(202)を含む。好ましい分離ステーション(201)の磁石(203)はより小さく、容器(103)の円錐形パート(111)と相互作用し得る。これを図10に示す。好ましくは、磁石(203)は、基部(205)上に配列され、処理プレート(101)の空間(121)に移動され得る。それぞれの磁石(202、203)は、好ましくは2つの隣接する列内の2つの容器(103)と相互作用するように構築される。好ましい態様において、処理プレート(101)は8個の容器(103)を6列有する。好ましい処理プレート(101)と相互作用し得る分離ステーション(201)は、磁石(202)を含む3個の固定具(204、204a)および磁石(203)を含む4個の基部(205)を有する。分離ステーションが、磁石(202)を含む4個の磁性固定具(204、204a)および磁石(203)を含む3個の磁性基部(205)を有する態様も含まれる。
磁石(202、203)は移動可能である。分離ステーション(201)は、固定具(204、204a)および基部(205)を移動させる機構を含む。全ての固定具(204、204a)は、基部(217)により相互に連結されるので、協調して移動する。全ての磁石(203)は、1つの基部(218)に連結されるので、協調して移動する。磁性プレート(202)および(203)を動かす機構は、2種類の磁性プレート(202、203)を合計4個の末端位置に移動させるように構築および配列される。
図40a〜cにおいて、磁石(203)は、処理プレート(101)の容器(103)の円錐形パートの近位に配置される。これは、磁石(203)の最も高い位置であり、分離位置である。この図において、磁石(202)は、最も低い位置に配置される。これらがこの位置にある場合に、磁石は分離に関与しない。
図10に示される好ましい態様において、磁石(202)の基部(217)は、ポジショニングホイール(206)に連結される。基部(217)は、移動要素(209)により連結要素(208)と柔軟に接触する底部末端(207)を含む。前記移動要素は、連結要素(208)を、レール(212)に沿って、一方の側から他方へと移動させるように構築および配列される。前記移動要素(209)は、ピン(220)で連結要素(208)に固定される。前記連結要素(208)は、ネジ(210)でポジショニングホイール(206)に固定される。連結要素(208)はまた、軸(211)に連結される。前記連結要素(208)は、好ましくは長方形のプレートである。ポジショニングホイール(206)は、軸(211)の周りを偏心的に移動するので、ネジ(210)は、偏心的な軸より上の点から偏心的な軸より下の点へと移動し、移動要素(209)および磁石(202)が取り付けられた基部(204)の底部末端(207)は、最も高い位置から最も低い位置へと移動される。基部(218)は、底部パート(219)に載せられ、その低い末端でピン(213)により移動要素(214)、好ましくはホイールに連結され、ポジショニングホイール(206)と相互作用する。ポジショニングホイール(206)が軸(211)の周りを回転する場合、ホイール(214)は、ポジショニングホイール(206)に沿って移動する。ホイール(214)が、ポジショニングホイール(206)と軸(211)との距離が短い部分に位置する場合、磁石(203)は、その最も低い位置にある。ホイール(214)が、ポジショニングホイール(206)と軸(211)との距離が最大である部分に位置する場合、磁石(203)は、その最も高い位置にある。したがって、分離ステーションの第1の態様の好ましい態様において、磁石(203)の位置は、ポジショニングホイール(206)の形状により制御される。移動要素(209)がレール(212)の中央の丸い上部または下部パート(212a)に沿って移動する場合、小さい型の磁石(203)は上下動する。移動要素(209)が底部末端(207)の側面(212b)に位置し、上下動する場合、磁石(202)は、上方または下方に移動する。このポジショニングホイールは、任意のモーター(224)により回転され得る。
好ましい態様において、磁石(203)が下方に移動する際の磁石の最も低い位置への移動を確実にするために、分離ステーションの基部(222)および磁石(203)の基部(218)にバネ(225)が取り付けられる。
本明細書で使用する場合、用語「ピン」は、ネジまたはピンを含む任意の固定要素に関連する。
第2の好ましい態様において、分離ステーション(230)は、少なくとも1つの磁石(232)、好ましくは列(123)中の容器(103)の数と同じ数の多数の磁石を含む少なくとも1つの固定具(231)を含む。好ましくは、分離ステーション(230)は、前述のマルチウェルプレート(101)の列(123)の数と同じ数の多数の固定具(231)を含む。より好ましくは、6個の固定具(231)が分離ステーション(230)上に載せられる。少なくとも1つの磁石(232)が1つの固定具(231)上に載せられる。好ましくは、磁石(232)の数は、1つの列(123)中の容器(103)の数と同じである。最も好ましくは、8個の磁石(232)が1つの固定具(231)上に載せられる。好ましくは、1種類の磁石(232)が前記固定具(231)に含まれる。より好ましくは、磁石(232)は、磁石と相互作用する容器に向かって1つの側面上に載せられる。
固定具(231)は、基部(233)上に載せられる。好ましくは、前記積載は柔軟である。基部(233)は、その上に載せられたバネ(234)を含む。バネ(234)の数は、前記基部(233)上に載せられた固定具(231)1つあたり少なくとも1個である。基部はさらに、バネの移動を制限し、結果的に磁石(232)を含む固定具(231)の移動を制限する丸溝(236)を含む。好ましくは、前記バネ(234)のいずれか1つは、固定具(231)と相互作用するように構築および配列される。より好ましくは、前記バネ(234)は、ヨークバネ(yoke spring)である。前記相互作用により、固定具(231)の水平移動が制御される。さらに、分離ステーション(230)は、フレーム(235)を含む。固定具(231)を有する基部(233)は、第1の態様の磁石(232)についての前述の移動機構によって、フレーム(235)に連結される。
好ましくは、前記基部(233)および固定具(231)は、垂直に(Z方向に)移動するように構築および配列される。
上述のマルチウェルプレート(101)は、分離ステーション(230)に挿入される。磁石(232)を含む固定具(231)は垂直に移動される。したがって固定具(232)のいずれか1つは、容器(103)の2つの列(123)の間の空間(121)に移動する。垂直移動により、固定具(231)上に載せられた磁石(232)が容器(103)と接触するようになる。Z位置は、容器(103)内の液体(215)の容量に依存して選択される。大量では、磁石(232)は、容器(103)がほぼ長方形状である中央位置(120)で、容器(103)と接触する。液体(215)の大部分が容器(103)の中央パート(120)より下に位置する少量の液体(215)では、磁石(232)は、好ましくは容器(103)の円錐形パート(111)と接触する。
いずれか1つのフレーム(231)の基部(233)にバネが取り付けられる(図9a)、b))。バネは、容器(103)に対して磁石(232)を押し付ける。これにより、磁性分離の際の磁石(232)と容器(103)の間の接触が確実になる。好ましくは、磁石(232)は、流入口(105)の下に位置する側壁(109)で容器(103)と接触する。これは、ピペッティングにより添加された液体が隔離された磁性粒子上を流れるという利点を有し、粒子が再懸濁されることおよび全容器中の全ての試料が同一に処理されることを確実にする。
この態様は、前記マルチウェルプレート(101)の容器(103)中に異なるレベルの液体(215)が含まれる場合に、上述のマルチウェルプレート(101)に含まれる液体(215)と磁性粒子(216)の分離に特に適する。
「洗浄バッファ」は、特に精製手順における望ましくない成分を除去するように設計された液体である。かかるバッファは当該技術分野で周知である。核酸の精製の文脈において、洗浄バッファは、固定化された核酸と任意の望ましくない成分を分離するために固体支持体物質を洗浄することに適する。例えば、洗浄バッファは、緩衝化溶液中にエタノールおよび/またはカオトロピック剤を含み得るか、あるいは上述のエタノールおよび/またはカオトロピック剤なしで、酸性pHの溶液を含み得る。しばしば洗浄溶液または他の溶液は、使用前に希釈する必要があるストック溶液として提供される。
本発明の方法における洗浄は、固体支持体物質およびそれに固定された核酸と洗浄バッファとの、いくぶん強い接触を必要とする。例えば1つまたは複数のそれぞれの容器中でまたはそれと一緒に洗浄バッファと固体支持体物質を振盪するなど、種々の方法でこれを達成することができる。別の有利な方法は、洗浄バッファおよび固体支持体物質を含む懸濁液を1回以上吸引および分配することである。この方法は、好ましくはピペットを用いて行なわれ、ここで、前記ピペットは、好ましくは前記懸濁液を吸引し、再度分配する使い捨てピペットチップを含む。かかるピペットチップは、廃棄および取り替え前に数回使用できる。本発明に有用な使い捨てピペットチップは、好ましくは少なくとも10μl、より好ましくは少なくとも15μl、より好ましくは少なくとも100μl、より好ましくは少なくとも500μl、より好ましくは少なくとも1ml、さらに好ましくは約1mlの容量を有する。本発明の文脈において使用されるピペットは、ピペッティングニードルでもあり得る。
したがって、本発明の好ましい局面は、工程cにおける前記洗浄が、固体支持体物質を含む洗浄バッファの吸引および分配を含む上述の方法である。
取り扱いの容易さのためおよび自動化を容易にするために、上述の反応容器を一体化した列に合わせて、それらを一緒に操作し得ることが好ましい。
結果的に、本発明の好ましい局面は、容器を一体化した配列に合わせる上述の方法である。
一体化した配列は、例えば可逆的または不可逆的に互いに取り付けられるかまたはラック中で配列されるバイアルもしくはチューブであり得る。好ましくは、一体化した配列はマルチウェルプレートである。より好ましくは、マルチウェルプレートはディープウェルプレートである。
1つのワークフローおよび同じ試薬を提供することによりDNAおよびRNAなどの異なる種類の核酸を、異なる種類の核酸の異なる特性のために、個々の様式において単離する必要性がなくなるので、本発明の方法は特に、異なる種類の核酸が調製される場合に有用である。
したがって、本発明の好ましい局面は、第1の標的核酸がRNAを含み、第2の標的核酸がDNAを含む上述の方法である。
さらに、多数の異なる液体試料は、異なる生物を含み得るかまたは異なる生物由来であり得る。また、それぞれの核酸を、同じワークフローおよび試薬で同時に生成することが有利である。本発明は、例えばそれらの異なる構造および特性にかかわらず、細菌、DNAウイルスおよびRNAウイルスの核酸のかかる同時調製を可能にする。
そのため、本発明の好ましい局面は、第1の標的核酸および第2の標的核酸が異なる生物由来である上述の方法である。
本発明のさらに好ましい局面は、第1および/または第2の核酸が非ウイルス核酸である上述の方法である。
また、本発明の好ましい局面は、第1および/または第2の標的核酸が細菌核酸である上述の方法である。
本明細書で使用する場合、「生物」は、任意の生きた単細胞または多細胞の生命形態を意味する。本発明の文脈において、ウイルスは生物である。
本発明は、異なる核酸が複数の異なる種類の液体試料由来である場合にも有用である。したがって、異なる核酸は、同じ物理的条件下で並行した同時抽出において単離され得、例えば異なる容器中でさらに分析処理され得る。
したがって、本発明の好ましい局面は、第1の核酸が第1の液体試料中に存在し、第2の核酸が第2の液体試料中に存在する上述の方法である。
かかる態様は、前記異なる核酸が互いに接触せず、別々に処理され得る場合に特に有用である。そのため、本発明の好ましい局面は、第2の標的核酸が第1の液体試料中に存在しない上述の方法である。
しかしながら、異なる核酸は、同じ試料中に存在してもよいが、必ずしも全ての核酸が単離後にさらに処理される必要はない。本発明はまた、これらの場合にも有用である。
そのため、本発明の好ましい局面は、第2の核酸が第1の液体試料中にも存在する上述の態様である。
以降(downstream)の処理の場合、特に核酸増幅法などの診断技術を使用する場合、しばしば、1つ以上の対照核酸を含むことが望ましいかまたはさらに必要とされる。このように、分析反応は、精製された核酸に対照を添加した場合に対照をとられ得るか、または核酸抽出の前もしくは最中に対照を添加した場合に試料調製がモニタリングされ得るかのいずれかである。両方の種類の対照を含むことも一般的であり、好ましくある。
この局面において、本発明の好ましい局面は、いずれかの工程で、液体試料および/または精製された核酸に対照核酸が添加される上述の方法である。
核酸を固体支持体物質に結合させるために、および適切な場合は、細胞およびウイルスの溶解のために、50℃までの温度でインキュベートすることが有利であることが判明した。
したがって、本発明の好ましい局面は、工程aが50℃までの温度、好ましくは35℃〜45℃の温度、より好ましくは40℃の温度で実施される上述の方法である。
単離された核酸の以降の処理のために、例えばそれらを増幅に供する前に固体支持体物質から分離することが有利であり得る。
そのため、本発明の好ましい局面は、前記方法が、工程cの後に、以下:
d. 核酸を固体支持体物質から溶出バッファにより溶出する工程
をさらに含む、上述の方法である。
本発明の文脈における「溶出バッファ」は、固体支持体から核酸を分離するために適した液体である。かかる液体は、例えば滅菌水、または例えばTris HClなどのTrisバッファもしくはHEPES、または当業者に公知の他の適切なバッファ等の水性塩溶液であり得る。かかる溶出バッファのpH値は、好ましくはアルカリ性または中性である。前記溶出バッファは、例えば分解酵素の不活性化により単離された核酸を安定化するEDTAなどのキレート剤などのさらなる成分を含み得る。
好ましくは、溶出は高温で行われるので、本発明の好ましい態様は、工程dが70℃〜90℃の温度、より好ましくは80℃の温度で行なわれる上述の方法である。
上述のように、しばしば、上述の方法により単離された核酸を分析することが望ましい。このために、分析のために開始物質の量を増加させることが有利であり得る。
そのため、本発明の好ましい局面は、前記方法が、工程cの後または工程dの後に、以下:
e. 精製された核酸および任意に前記固体支持体物質を複数の反応容器に移す工程
f. 標的核酸を増幅する工程
をさらに含む上述の方法である。
この文脈において、2つ以上の反応容器中、同一の物理的条件下で、同じ試薬を使用する、多数の異なる核酸の同時増幅および検出を可能にする、増幅および検出方法を使用することが特に有利である。かかる技術と、上述の迅速かつ効果的な試料調製の組合せは、例えば異なる核酸を含む複数の異なる種類の試料に対して同じワークフローが実施される一体化した自動化溶液を提供するために非常に有利であり得る。これらの試料は並行して処理され得、それらが含む異なる核酸は同時に単離され、前記単離された異なる核酸の分析は、次いで同時の様式で実施され得る。これらのアプローチの組合せは、かかる実験の複雑さおよび結果にかかる時間を有意に低減し、特に臨床設定における診断実験室についてかなり有利である。
したがって、本発明の好ましい局面は、工程fが、以下:
i. 精製された核酸と、逆転写酵素活性を有するポリメラーゼを含む1つ以上の増幅試薬を、少なくとも2つの反応容器中で接触させる工程、ここで少なくとも第1の反応容器は少なくとも前記第1の標的核酸を含み、少なくとも第2の反応容器は少なくとも前記第2の標的核酸を含み、第2の標的核酸は第1の反応容器中には存在しない;
ii. 前記反応容器中で、前記精製された核酸と、前記1つ以上の増幅試薬を、前記逆転写酵素活性を有するポリメラーゼによるRNAの転写が起こるのに適した時間および条件下でインキュベートする工程;
iii. 前記反応容器中で、前記精製された核酸と、前記1つ以上の増幅試薬を、前記第1および第2の標的核酸の存在または非存在を示す増幅反応が起こるのに充分な時間および条件下でインキュベートする工程
を含む、上述の方法であって、工程i〜iiiにおける転写および増幅の条件は、少なくとも第1および第2の標的核酸について同じである。
増幅手順に関して、先行技術では、単一の反応容器中で行なわれるマルチプレックス(multiplex)アッセイにおいて、異なる標的核酸の数が、適切な標識の数により制限されることは難題であった。例えば、リアルタイムPCRアッセイにおいて、蛍光色素スペクトルの起こり得る重複は、アッセイの性能に大きな影響(偽陽性結果、低い精度などのリスク)を有する。そのため、それぞれのフルオロフォアを、注意深く選択して、診断試験の所望の性能を確実にするために、スペクトル的に充分に離す必要がある。典型的に、異なる使用可能なフルオロフォアの数は、PCR装置の蛍光チャネルの一桁の数に対応する。
対照的に、上述の方法では、少なくとも第1および第2の標的核酸の増幅は、少なくとも2つの異なる反応容器中で起こり、異なる反応容器中のシグナルは互いに独立して検出され得るので、多数の異なる標的核酸の同時増幅が可能になる。さらに、1つ以上の多数の反応容器中でマルチプレックス(multiplex)反応が行なわれ、それにより同時に同一の条件下で増幅され得る標的の数が増大する態様は、本発明の範囲内にある。
本発明の文脈における「増幅試薬」は、核酸の増幅を可能にする化学的または生化学的成分である。かかる試薬は、限定されないが、核酸ポリメラーゼ、バッファ、ヌクレオシド三リン酸などのモノヌクレオチド、例えばオリゴヌクレオチドプライマーなどのオリゴヌクレオチド、塩およびそれらのそれぞれの溶液、検出プローブ、色素などを含む。
当該技術分野で公知のように、「ヌクレオシド」は、塩基と糖の組み合わせである。ヌクレオシドの塩基部分は通常複素環式塩基である。2つの最も一般的な部類のかかる複素環式塩基はプリンおよびピリミジンである。
「ヌクレオチド」は、ヌクレオシドの糖部分に共有結合したリン酸基をさらに含むヌクレオシドである。ペントフラノシル糖を含むこれらのヌクレオシドについて、リン酸基は、糖の2'-、3'-または5'-ヒドロキシル部分のいずれかに結合し得る。ヌクレオチドは、より一般的に「オリゴマー化合物」または「ポリヌクレオチド」と記され、より一般的に「ポリマー化合物」と記され得る「オリゴヌクレオチド」のモノマー単位である。上述について別の一般的な表現は、デオキシリボ核酸(DNA)およびリボ核酸(RNA)である。
本発明によると、「オリゴマー化合物」は、ヌクレオチド単独であっても非天然化合物(下記参照)であってもよく、より具体的には改変ヌクレオチド(またはヌクレオチドアナログ)または非ヌクレオチド化合物の単独またはそれらの組合せであってもよい「モノマー単位」からなる化合物である。
「オリゴヌクレオチド」および「改変(modified)オリゴヌクレオチド」(または「オリゴヌクレオチドアナログ」)は、オリゴマー化合物のサブグループである。本発明の文脈において、用語「オリゴヌクレオチド」は、そのモノマー単位として複数のヌクレオチドで形成される成分のことをいう。リン酸基は、一般的にオリゴヌクレオチドのヌクレオシド間主鎖(backbone)を形成するものをいう。RNAおよびDNAの通常の結合または主鎖は、3'-5'ホスホジエステル結合である。本発明に有用なオリゴヌクレオチドおよび改変オリゴヌクレオチド(下記参照)は、技術分野で主に記載され、当業者に公知のように合成され得る。特異的な配列のオリゴマー化合物を調製する方法は当該技術分野で公知であり、例えば、クローニングおよび適切な配列の制限ならびに直接化学合成が挙げられる。化学合成法としては、例えばNarang S. A. et al., Methods in Enzymology 68 (1979) 90-98に記載されるホスホトリエステル法、Brown E. L., et al., Methods in Enzymology 68 (1979) 109-151に開示されるホスホジエステル法、Beaucage et al., Tetrahedron Letters 22 (1981) 1859に開示されるホスホロアミダイト法、Garegg et al., Chem. Scr. 25 (1985) 280-282に開示されるH-ホスホネート法およびUS 4,458,066に開示される固体支持体法が挙げられ得る。
本発明の方法において、オリゴヌクレオチドは化学的に改変され得、すなわちプライマーおよび/またはプローブは、改変ヌクレオチドまたは非ヌクレオチド化合物を含む。次いで、プローブまたはプライマーは、改変オリゴヌクレオチドである。
「改変ヌクレオチド」(または「ヌクレオチドアナログ」)は、いくつかの改変により天然のヌクレオチドとは異なるが、それでも塩基、ペントフラノシル糖、リン酸部分、塩基様部分、ペントフラノシル糖様部分およびリン酸様部分またはそれらの組合せからなる。例えば、標識がヌクレオチドの塩基部分に結合され得、それにより改変ヌクレオチドが得られる。ヌクレオチド中の天然の塩基はまた、例えば7-デアザプリンにより置き換えられ得、それにより、同様に改変ヌクレオチドが得られる。
オリゴマー化合物の別の特定のサブグループに属する「改変オリゴヌクレオチド」(または「オリゴヌクレオチドアナログ」)は、1つ以上のヌクレオチドおよび1つ以上の改変ヌクレオチドをモノマー単位として有する。したがって、用語「改変オリゴヌクレオチド」(または「オリゴヌクレオチドアナログ」)は、オリゴヌクレオチドと実質的に同様に機能する構造のことをいい、本発明の文脈において互換的に使用され得る。合成の観点から、改変オリゴヌクレオチド(またはオリゴヌクレオチドアナログ)は、例えばリン酸主鎖、リボース単位またはヌクレオチド塩基の適切な改変によるオリゴヌクレオチドの化学改変により作製され得る(Uhlmann and Peyman, Chemical Reviews 90 (1990) 543; Verma S., and Eckstein F., Annu. Rev. Biochem. 67 (1998) 99-134)。代表的な改変としては、ホスホジエステルヌクレオシド間結合の代わりのホスホロチオエート、ホスホロジチオエート、メチルホスホネート、ホスホトリエステルまたはホスホルアミデートヌクレオシド間結合;天然のプリンおよびピリミジン塩基の代わりのデアザ-またはアザプリンおよび-ピリミジン、5または6位に置換基を有するピリミジン塩基;2、6もしくは8位にまたは7-デアザプリンとして7位に改変された置換基を有するプリン塩基;アルキル-、アルケニル-、アルキニル-またはアリール部分、例えばメチル、エチル、プロピル、ブチル、tert-ブチル、ペンチル、ヘキシル、ヘプチル、オクチル、ノニル、デシルもしくは低級アルキル基、もしくはフェニル、ベンジル、ナフチル等のアリール基を有する塩基;例えばその2'位に置換基を有する糖;あるいは炭素環または非環式糖アナログが挙げられる。本発明の精神に一致する他の改変は当業者に公知である。かかる改変オリゴヌクレオチド(またはオリゴヌクレオチドアナログ)は、天然のオリゴヌクレオチドと機能的に交換可能であるが構造的には異なることが最も良く記載される。より詳細には、例示的な改変はVerma S., and Eckstein F., Annu. Rev. Biochem. 67 (1998) 99-134またはWO 02/12263に開示される。また、ヌクレオシド間リン酸結合または糖リン酸結合の代わりである基を介してヌクレオシド単位を連結する改変がなされ得る。かかる結合としては、Verma S., and Eckstein F., Annu. Rev. Biochem. 67 (1998) 99-134に開示されるものが挙げられる。リン酸結合以外を利用してヌクレオシド単位を結合する場合、かかる構造も「オリゴヌクレオシド」として記載されている。
「核酸」および「標的核酸」は、当業者に公知のヌクレオチドのポリマー化合物である。「標的核酸」は、本明細書において、分析すべき、すなわち、試料中の存在、非存在および/または試料中のその量を決定すべき試料中の核酸を示すために使用される。
用語「プライマー」は、当業者に公知のように本明細書中で使用され、オリゴマー化合物、主にオリゴヌクレオチドのことをいうが、鋳型依存的DNAポリメラーゼによるDNA合成を誘導し得る、すなわち、例えばプライマーの3'末端が遊離3'-OH基を提供し、そこにさらなるヌクレオチドが、3'-〜5'-ホスホジエステル結合を確立する鋳型依存的DNAポリメラーゼにより結合し得、それによりデオキシヌクレオシド三リン酸が使用されてピロリン酸が放出される、改変オリゴヌクレオチドのこともいう。
「プローブ」はまた、天然または改変オリゴヌクレオチドのことを示す。当該技術分野で公知なように、プローブは、分析物または増幅物を検出する目的で作用する。本発明の方法の場合において、プローブは、標的核酸の増幅物を検出するために使用され得る。この目的で、プローブは、典型的に標識を有する。
しばしば「レポーター基」と称される「標識」は、一般に、核酸、特にオリゴヌクレオチドまたは改変オリゴヌクレオチド、ならびにそれに結合した任意の核酸を、試料の残りと区別されるようにする基である(標識が結合した核酸はまた、標識核酸結合化合物、標識プローブまたは単にプローブと称され得る)。本発明の好ましい標識は、例えばフルオロセイン色素、ローダミン色素、シアニン色素およびクマリン色素などの蛍光色素である蛍光標識である。本発明の好ましい蛍光色素は、FAM、HEX、JA270、CAL635、クマリン343、Quasar705、シアン500、CY5.5、LC-Red 640、LC-Red 705である。
本発明の文脈において、任意のプライマーおよび/またはプローブは、化学的に改変され得、すなわちプライマーおよび/またはプローブは、改変ヌクレオチドまたは非ヌクレオチド化合物を含む。次いで、プローブまたはプライマーは、改変オリゴヌクレオチドである。
核酸増幅の好ましい方法は、他の参照文献の中でも、米国特許番号第4,683,202号、第4,683,195号、第4,800,159号および第4,965,188号に開示されるポリメラーゼ連鎖反応(PCR)である。PCRは典型的に、選択された核酸鋳型(例えばDNAまたはRNA)に結合する2つ以上のオリゴヌクレオチドプライマーを使用する。核酸分析に有用なプライマーとしては、標的核酸の核酸配列中で核酸合成の開始点として作用し得るオリゴヌクレオチドが挙げられる。プライマーは、従来の方法により制限消化から精製され得るか、または合成により作製され得る。好ましくは、プライマーは、増幅の最大効率のために一本鎖であるが、プライマーは二本鎖であり得る。二本鎖プライマーは最初に変性され、すなわち鎖を分離するために処理される。二本鎖核酸の変性方法の1つは加熱による。「熱安定性ポリメラーゼ」は、熱安定性のポリメラーゼ酵素であり、すなわち鋳型に相補的なプライマー伸長生成物の形成を触媒し、二本鎖鋳型核酸の変性を起こすのに必要な時間、高温にかけられた場合に不可逆的に変性しない酵素である。一般的に、合成は、各プライマーの3'末端で開始され、鋳型鎖に沿って5'-3'方向に進む。熱安定性ポリメラーゼは、例えばサーマスフラバス、T.ルーバー(T. ruber)、T.サーモフィラス、T.アクアチカス、T.ラクテウス、T.ルーベンス、バチルスステアロサーモフィラスおよびメタノサーマスフェルビダス(Methanothermus fervidus)から単離された。しかし、熱安定性でないポリメラーゼも、酵素を補充する場合、PCRアッセイに使用できる。
鋳型核酸が二本鎖である場合、PCRにおいて鋳型として使用し得る前に2つの鎖を分離する必要がある。鎖分離は、物理的、化学的または酵素的な手段などの任意の適切な変性方法により達成され得る。核酸鎖を分離する1つの方法は、核酸が大部分変性される(例えば、50%、60%、70%、80%、90%または95%より多く変性される)まで核酸を加熱することを含む。鋳型核酸の変性に必要な加熱条件は、例えば、バッファ塩濃度ならびに変性される核酸の長さおよびヌクレオチド組成に依存するが、典型的に温度および核酸長などの反応の特徴に依存した時間、約90℃〜約105℃の範囲である。変性は、典型的に約5秒から9分行なわれる。例えばZ05 DNAポリメラーゼ等のそれぞれのポリメラーゼを、かなりの高温に長時間曝して機能的酵素を消失しないようにするために、短い変性工程を使用することが好ましい。
本発明の好ましい態様において、変性工程は30秒まで、さらに好ましくは20秒まで、さらに好ましくは10秒まで、さらに好ましくは5秒まで、最も好ましくは約5秒である。
二本鎖鋳型核酸が加熱により変性される場合、各プライマーと標的核酸上のその標的配列とのアニーリングを促進する温度まで反応混合物を冷却させる。
アニーリングのための温度は、好ましくは約35℃〜約70℃、さらに好ましくは約45℃〜約65℃、さらに好ましくは約50℃〜約60℃、さらに好ましくは約55℃〜約58℃である。アニーリング時間は、約10秒〜約1分(例えば、約20秒〜約50秒、約30秒〜約40秒)であり得る。この文脈において、それぞれのアッセイの包括性を高めるために異なるアニーリング温度を使用することが有利であり得る。簡潔に、これは、比較的低いアニーリング温度では、プライマーは1つのミスマッチを有する標的にも結合し得るので、特定の配列のバリアントも増幅され得ることを意味する。これは、例えば、特定の生物が、検出もされるべき既知または未知の遺伝的バリアントを有する場合に望ましくあり得る。一方で、比較的高いアニーリング温度は、より高い温度に対してプライマーが正確に一致していない標的配列に結合する可能性を継続的に低下させるので、より高い特異性をもたらすという利点を有する。両方の現象の利益を享受するために、本発明のいくつかの態様において、上述の方法が、異なる温度、好ましくはより低温で第1の、次いでより高温でのアニーリングを含むことが好ましい。例えば、第1のインキュベーションが55℃で約5サイクル行なわれる場合、正確に一致しない標的配列が(先に)増幅され得る。この後、例えば58℃で約45サイクルが続けられ得、実験の主要部分全体にわたってより高い特異性がもたらされる。この方法では潜在的に重要な遺伝的バリアントは失われずに、特異性は比較的高く維持される。
次いで反応混合物を、ポリメラーゼの活性が促進または最適化される温度、すなわちアニーリングしたプライマーからの伸長を引き起こし、分析対象の核酸に相補的な生成物を生じるのに充分な温度に調整する。該温度は、核酸鋳型にアニーリングした各プライマーから伸長産物を合成するのに充分であるべきであるが、相補的な鋳型由来の伸長産物を変性させるほどに高くあるべきではない(例えば、伸長のための温度は一般的に約40℃〜80℃の範囲(例えば、約50℃〜約70℃;約60℃)である。伸長時間は約10秒〜約5分、好ましくは約15秒〜2分、さらに好ましくは約20秒〜約1分、さらに好ましくは約25秒〜約35秒であり得る。新たに合成された鎖は、反応の次の工程に使用され得る二本鎖分子を形成する。鎖分離、アニーリングおよび伸長の工程は、必要に応じて頻繁に繰り返され得、標的核酸に対応する所望の量の増幅産物が生成される。反応の制限因子は、反応中に存在するプライマー、熱安定性酵素およびヌクレオシド三リン酸の量である。サイクル工程(すなわち、変性、アニーリングおよび伸長)は、好ましくは少なくとも1回反復される。検出における使用について、サイクル工程の回数は、例えば試料の性質に依存する。試料が核酸の複雑な混合物である場合、検出に充分な標的配列を増幅するためにはより多くのサイクル工程が必要である。一般的に、サイクル工程は、少なくとも約20回繰り返されるが、40、60または100回さえ繰り返されてもよい。
本発明の範囲において、PCRは、アニーリングおよび伸長の工程が同一の工程で行なわれ得る(ワンステップPCR)か、または上述のように別個の工程(ツーステップPCR)で行なわれ得る。アニーリングと伸長を一緒に、同一の物理化学的条件下で、例えばZ05 DNAポリメラーゼなどの適切な酵素を用いて行なうことは、各サイクルにおいて、さらなる工程のための時間を節約し、さらにアニーリングと伸長の間のさらなる温度調整の必要性をなくすという利点を有する。したがって、ワンステップPCRは、それぞれのアッセイの全体の複雑さを低減する。
一般的に、結果までの時間が低減され、より早い診断を可能にするので、増幅全体についてより短い時間が好ましい。
本発明の文脈において使用される他の好ましい核酸増幅方法は、リガーゼ連鎖反応(LCR; Wu D. Y. and Wallace R. B., Genomics 4 (1989) 560-69; and Barany F., Proc. Natl. Acad. Sci. USA 88 (1991)189-193);ポリメラーゼリガーゼ連鎖反応(Barany F., PCR Methods and Applic. 1 (1991) 5-16);Gap-LCR(WO 90/01069);修復連鎖反応(EP 0439182 A2)、3SR(Kwoh D.Y. et al., Proc. Natl. Acad. Sci. USA 86 (1989) 1173-1177; Guatelli J.C., et al., Proc. Natl. Acad. Sci. USA 87 (1990) 1874-1878; WO 92/08808)およびNASBA(US 5,130,238)を含む。さらに、鎖置換増幅(SDA)、転写媒介増幅(TMA)、およびQb増幅がある(概要について、例えばWhelen A. C. and Persing D. H., Annu. Rev. Microbiol. 50 (1996) 349-373; Abramson R. D. and Myers T. W., Curr Opin Biotechnol 4 (1993) 41-47参照)。
「逆転写酵素活性を有するポリメラーゼ」は、RNA鋳型に基づいてDNAを合成し得る核酸ポリメラーゼである。これは、また一旦RNAが一本鎖cDNに逆転写されると、二本鎖DNAを形成し得る。本発明の好ましい態様において、逆転写酵素活性を有するポリメラーゼは熱安定性である。
好ましい態様において、本発明による方法は、RNA鋳型を含む試料を、前記RNA鋳型にハイブリダイズするのに充分に相補的なオリゴヌクレオチドプライマー、および好ましくは熱安定性DNAポリメラーゼと、少なくとも全部で4種類の天然または改変デオキシリボヌクレオシド三リン酸の存在下で、好ましい態様においてpHおよび金属イオン濃度の両方を緩衝化する金属イオンバッファを含む適切なバッファ中でインキュベートする工程を含む。このインキュベーションは、前記プライマーが前記RNA鋳型にハイブリダイズし、前記DNAポリメラーゼが、前記デオキシリボヌクレオチド三リン酸重合し、前記RNA鋳型の配列に相補的なcDNA配列を形成するのを触媒するのに充分な温度で行なわれる。
本明細書で使用する場合、用語「cDNA」は、鋳型としてリボ核酸鎖(RNA)を使用して合成される相補的DNA分子のことをいう。RNAは、例えばmRNA、tRNA、rRNA、またはウイルスRNAなどの別の形態のRNAであり得る。cDNAは、一本鎖、二本鎖であり得るか、またはRNA/cDNAハイブリッド中にある場合相補的なRNA分子に水素結合し得る。
RNA鋳型へのアニーリングに適切なプライマーは、PCRによる増幅にも適切であり得る。PCRについて、逆転写されたcDNA鎖に相補的な第2のプライマーは、伸長産物の合成のための開始部位を提供する。
DNAポリメラーゼによるRNA分子の増幅において、第1の伸長反応は、RNA鋳型を使用した逆転写であり、DNA鎖が生成される。DNA鋳型を使用した第2の伸長反応は、二本鎖DNA分子を生成する。したがって、DNAポリメラーゼによるRNA鋳型からの相補的DNA鎖の合成は、増幅のための開始物質を提供する。
合わされた1酵素逆転写/増幅反応において熱安定DNAポリメラーゼが使用され得る。用語「同質(homogenous)」は、この文脈において、RNA標的の逆転写および増幅についての2工程単一付加反応のことをいう。同質は、逆転写(RT)工程後に、反応容器を開ける必要がないか、そうでなければ増幅工程前に反応成分を調整する必要がないことを意味する。非同質RT/PCR反応において、逆転写後かつ増幅の前に、増幅試薬などの反応成分の1つ以上が、例えば調整、添加または希釈され、そのために、反応容器を開ける必要があるかまたは少なくともその成分を操作する必要がある。同質および非同質の両方の態様が本発明の範囲に含まれるが、RT/PCRについて同質形式が好ましい。
逆転写は、RT/PCRにおいて重要な工程である。例えば、当該技術分野において、RNA鋳型は、プライマー結合および/またはそれぞれの逆転写酵素によるcDNA鎖の伸長を障害し得る二次構造を形成する傾向(tendency)を示すことが公知である。したがって、RT反応について、転写の効率に関して比較的高い温度が有利である。一方、インキュベーション温度の上昇はより高い特異性も意味し、すなわちRTプライマーは、予想される1つまたは複数の配列に対してミスマッチを示す配列にアニーリングしない。特に、多数の異なる標的RNAの場合において、例えば液体試料中に未知または稀な亜系統(substrain)または亜種の生物が存在し得る場合、単一のミスマッチを有する配列を転写、およびその後増幅し、検出することも望ましくあり得る。
上述の両方の利点、すなわち二次構造の低下およびミスマッチを有する鋳型の逆転写の利益を得るために、1つより多くの異なる温度でRTインキュベーションを行うことが本発明の1つの局面である。
そのため、本発明の好ましい局面は、工程iiにおいて、逆転写酵素活性を有するポリメラーゼのインキュベーションを、30℃〜75℃、好ましくは45℃〜70℃、さらに好ましくは55℃〜65℃の異なる温度で行なう上述の方法である。
逆転写のさらに重要な局面として、長いRT工程は、液体試料中に存在し得るDNA鋳型を損傷し得る。液体試料が、RNA種およびDNA種の両方を含む場合、RT工程の持続時間を可能な限り短く維持するが、同時に、その後の増幅および増幅物の任意の検出のための充分な量のcDNAの合成を確実にすることが好ましい。
したがって、本発明の好ましい局面は、工程iiにおいて、時間が30分まで、20分、15分、12.5分、10分、5分または1分である上述の方法である。
本発明のさらに好ましい局面は、逆転写酵素活性を有し、変異を含むポリメラーゼが、
a. CS5 DNAポリメラーゼ
b. CS6 DNAポリメラーゼ
c. サーモトガマリティマDNAポリメラーゼ
d. サーマスアクアチカスDNAポリメラーゼ
e. サーマスサーモフィラスDNAポリメラーゼ
f. サーマスフラバスDNAポリメラーゼ
g. サーマスフィリホルミス(Thermus filiformis)DNAポリメラーゼ
h. サーマス種(sp.)sps17 DNAポリメラーゼ
i. サーマス種(sp.)Z05 DNAポリメラーゼ
j. サーモトガネアポリタナDNAポリメラーゼ
k. サーモシフォアフリカヌスDNAポリメラーゼ
l. サーマスカルドフィラス(Thermus caldophilus)DNAポリメラーゼ
からなる群より選択される上述の方法である。
より早い伸長速度に関して逆転写効率を高める変異をポリメラーゼドメイン中に有する酵素がこれらの要件に特に適している。
そのため、本発明の好ましい局面は、逆転写酵素活性を有するポリメラーゼが、それぞれの野生型ポリメラーゼと比較して核酸伸長速度の向上および/または逆転写酵素活性の向上を付与する変異を含むポリメラーゼである上述の方法である。
より好ましい態様において、上述の方法において、逆転写酵素活性を有するポリメラーゼは、それぞれの野生型ポリメラーゼと比較して向上した逆転写酵素活性を付与する変異を含むポリメラーゼである。
ポリメラーゼを本発明の文脈において特に有用なものとする点変異を有するポリメラーゼはWO 2008/046612に開示される。特に、本発明の文脈において使用される好ましいポリメラーゼは、ポリメラーゼドメイン中に少なくとも以下のモチーフ:
T-G-R-L-S-S-Xb7-Xb8-P-N-L-Q-Nを含む変異DNAポリメラーゼであり、式中、Xb7は、SまたはTから選択されるアミノ酸であり、Xb8は、G、T、R、KまたはLから選択されるアミノ酸であり、ここで、該ポリメラーゼは、3'-5'エキソヌクレアーゼ活性を含み、野生型DNAポリメラーゼと比較して向上された核酸伸長速度および/または向上された逆転写効率を有し、前記野生型DNAポリメラーゼにおいて、Xb8は、D、EまたはNから選択されるアミノ酸である。
1つの特に好ましい例は、サーマス種Z05由来の熱安定性DNAポリメラーゼの変異体(例えばUS 5,455,170に記載)であり、前記変形は、それぞれの野生型酵素Z05と比較して、ポリメラーゼドメイン中に変異を含む。580位のアミノ酸がG、T、R、KおよびLからなる群より選択される変異Z05 DNAポリメラーゼが、本発明の方法に特に好ましい。
熱安定性ポリメラーゼを使用した逆転写について、Mn2+は、二価のカチオンとして好ましく、典型的に、塩、例えば塩化マンガン(MnCl2)、酢酸マンガン(Mn(OAc)2)または硫酸マンガン(MnSO4)として含まれる。MnCl2が、50mMトリシンバッファを含む反応中に含まれ、例えばMnCl2は、一般的に0.5〜7.0mMの濃度で存在し、それぞれ200mMのdGTP、dATP、dUTPおよびdCTPが使用される場合、0.8〜1.4mMが好ましく、2.5〜3.5mMのMnCl2が最も好ましい。さらに、逆転写のための二価のカチオンとしてのMg2+の使用も、本発明の文脈において好ましい。
DNA標的核酸を保存しながらRNA標的核酸をcDNAに逆転写し、cDNAおよびDNAの両方をその後の増幅に使用し得ることは本発明の範囲内にあるので、本発明の方法は、RNAゲノムを有する生物またはDNAゲノムを有する生物の両方由来の標的核酸の同時増幅に特に有用である。この利点は、同一の物理的条件下で分析され得る異なる生物、特に病原体のスペクトルをかなり増大する。
そのため、本発明の好ましい局面は、少なくとも2つの標的核酸がRNAおよびDNAを含む上述の方法である。
特に適切な温度最適条件のために、Tthポリメラーゼまたは好ましくは上述の変異Z05 DNAポリメラーゼなどの酵素が、標的核酸の後の増幅の工程を実施するために適している。液体試料はRTおよび増幅工程の間で操作される必要がないために、逆転写、増幅の両方に同一の酵素を利用することは、方法の実施の簡易さに寄与し、その自動化を容易にする。
そのため、好ましい態様において、上述の方法で、逆転写酵素活性を有する同一のポリメラーゼを工程iiおよび工程iiiで使用する。好ましくは、該酵素は上述の変異Z05 DNAポリメラーゼである。
本発明の文脈において使用されるポリメラーゼまたは反応混合物の他の成分を必要より長い時間高温に曝さないために、好ましい態様において、90℃より高い工程は20秒まで、好ましくは15秒まで、より好ましくは10秒まで、より好ましくは5秒まで、最も好ましくは5秒である。これはまた、結果までにかかる時間を低減し、アッセイの全必要時間を削減する。
かかる同質の設定において、RTおよび増幅の開始前に反応容器を密封し、それにより、汚染のリスクを低減することはかなり有利であり得る。密封は、例えば好ましくは透明なホイル、キャップを付することにより、または反応容器に油を添加して液体の上部で密封層として脂肪親和性の相を形成することにより達成され得る。
したがって、本発明の好ましい局面は、工程iおよび工程iiの間に少なくとも2つの反応容器を密封する工程をさらに含む上述の方法である。
増幅工程の標的は、RNA/DNAハイブリッド分子であり得る。標的は一本鎖または二本鎖の核酸であり得る。最も広く使用されるPCR手法は二本鎖標的を使用するが、このことは必要不可欠ではない。一本鎖DNA標的の第1の増幅サイクルの後、反応混合物は、一本鎖標的および新たに合成された相補鎖からなる二本鎖DNA分子を含む。同様に、RNA/cDNA標的の第1の増幅サイクル後、反応混合物は二本鎖cDNA分子を含む。この時点で、増幅の連続サイクルは、上述のように進む。
核酸増幅は、特にPCRの場合だけではないが、サイクル反応として実施する場合に非常に効果的であるので、本発明の好ましい局面は、工程iiiの増幅反応が多重サイクル工程からなる上述の方法である。
適切な核酸検出法は、当業者に公知であり、Sambrook J. et al., Molecular Cloning: A Laboratory Manual, Cold Spring Harbor Laboratory Press, Cold Spring Harbor, New York, 1989およびAusubel F. et al.: Current Protocols in Molecular Biology 1987, J. Wiley and Sons, NYなどの標準的な教科書に記載されている。核酸検出工程を行う前に、例えば沈殿工程等のさらなる精製工程も存在し得る。検出方法としては限定されないが、二本鎖DNA中にインターカレートし、その後その蛍光を変化させるエチジウムブロマイドなどの特異的色素の結合またはインターカレートが挙げられ得る。精製された核酸はまた、制限消化後に任意に電気泳動法により分離され得、その後可視化され得る。特異的配列へのオリゴヌクレオチドハイブリダイゼーションおよびその後のハイブリッドの検出を利用するプローブ系アッセイもある。
分析の結果を評価するために、増幅反応中または増幅反応後に増幅された標的核酸を検出することが好ましい。特にリアルタイムでの検出のために、核酸プローブを使用することが有利である。
したがって、本発明の好ましい局面は、サイクル工程が、増幅工程およびハイブリダイゼーション工程を含み、前記ハイブリダイゼーション工程が、増幅された核酸とプローブをハイブリダイズさせることを含む、上述の方法である。
増幅反応をリアルタイムでモニタリングすること、すなわちその増幅自体の間に標的核酸および/または増幅産物を検出することが好ましくあり得る。
そのため、本発明の好ましい局面は、プローブをドナー蛍光部分および対応するアクセプター蛍光部分で標識する上述の方法である。
上述の方法は、好ましくは、ドナー蛍光部分とアクセプター蛍光部分の間の蛍光共鳴エネルギー転移(FRET)に基づく。代表的なドナー蛍光部分は、フルオレセインであり、代表的な対応するアクセプター蛍光部分としては、LC-Red 640、LC-Red 705、Cy5およびCy5.5が挙げられる。典型的に、検出は、ドナー蛍光部分により吸光される波長での試料の励起、ならびに対応するアクセプター蛍光部分により発光される波長の可視化および/または測定を含む。本発明の方法において、検出の後に、好ましくはFRETの定量が続く。好ましくは、検出は、それぞれのサイクル工程後に行なわれる。最も好ましくは、検出は、リアルタイムで行なわれる。市販のリアルタイムPCR装置(例えば、LightCyclerTMまたはTaqMan(登録商標))を使用することで、PCR増幅および増幅産物の検出を、サイクル時間を劇的に低減して、単一の閉鎖キュベット中で合わせることができる。検出と増幅が同時に起こるので、リアルタイムPCR法は、増幅産物の操作の必要性を回避し、増幅産物間の交差汚染のリスクが低減される。リアルタイムPCRにより、所要時間が大きく低減され、臨床実験室における従来のPCR技術の魅力的な代替法となる。
以下の特許出願には、LightCyclerTM技術において使用されるリアルタイムPCRが記載される:WO 97/46707、WO 97/46714およびWO 97/46712。LightCyclerTM装置は、高品質光学機器を使用した、微小容量蛍光測定器と組み合わされた迅速な熱サイクラーである。この迅速な熱サイクリング技術では、反応容器として薄いガラスキュベットが使用される。反応チャンバーの加熱および冷却は、加熱された空気と周囲空気を交換することにより制御される。低い質量の空気およびキュベットの容量に対する高い表面積の割合のために、熱チャンバー中で非常に早い温度交換速度が達成され得る。
TaqMan(登録商標)技術では、2つの蛍光部分で標識された一本鎖ハイブリダイゼーションプローブが用いられる。第1の蛍光部分を適切な波長の光で励起する場合、吸収されたエネルギーは、FRETの原理に従って第2の蛍光部分に転移される。第2の蛍光部分は、一般的にクエンチ分子である。この形式に使用される典型的な蛍光色素は、例えば、とりわけFAM、HEX、CY5、JA270、CyanおよびCY5.5である。PCR反応のアニーリング工程の間に、標識されたハイブリダイゼーションプローブは、標的核酸(すなわち増幅産物)に結合し、その後の伸長期の間にTaqまたは好ましい変異Z05ポリメラーゼ等の当業者に公知の別の適切なポリメラーゼの5'-3'エキソヌクレアーゼ活性により分解される。結果として、励起した蛍光部分およびクエンチ部分は、互いに空間的に分離される。結果として、クエンチャーの非存在下での第1の蛍光部分の励起時に、第1の蛍光部分からの蛍光発光が検出され得る。
上述の両方の検出形式において、発光シグナルの強度は、元の標的核酸分子の数と相関され得る。
FRETの代替として、増幅産物は、蛍光DNA結合色素(例えば、SYBRGREEN I(登録商標)またはSYBRGOLD(登録商標) (Molecular Probes))などの二本鎖DNA結合色素を使用して検出され得る。二本鎖核酸とのインターカレーションの際に、かかる蛍光DNA結合色素は、適切な波長での光による励起後に蛍光シグナルを発する。核酸インターカレート色素などの二本鎖DNA結合色素も使用され得る。二本鎖DNA結合色素が使用される場合、増幅産物の存在の確認のために、通常、融解曲線分析が実施される。
本発明のリアルタイムPCR法を使用した増幅産物の存在の検出のために、FRETと組み合わせた分子ビーコンも使用され得る。分子ビーコン技術には、第1の蛍光部分および第2の蛍光部分で標識されたハイブリダイゼーションプローブが使用される。第2の蛍光部分は、一般的に、クエンチャーであり、蛍光標識は、典型的にプローブの各末端に配置される。分子ビーコン技術には、二次構造形成(例えばヘアピン)を可能にする配列を有するプローブオリゴヌクレオチドが使用される。プローブ内の二次構造の形成の結果として、プローブが溶液中にある場合、両方の蛍光部分は空間的に近位になる。増幅産物へのハイブリダイゼーション後、プローブの二次構造は壊され、蛍光部分は、互いに分離され、その結果、適切な波長の光での励起後に第1の蛍光部分の発光が検出され得る。
したがって、本発明の好ましい方法は、前記プローブが二次構造形成を可能にする核酸配列を含み、前記二次構造形成が、前記第1および第2の蛍光部分の間の空間的な近接をもたらす、FRETを使用した上述の方法である。
効率的なFRETは、蛍光部分が直接近位にある場合、およびドナー蛍光部分の発光スペクトルがアクセプター蛍光部分の吸光スペクトルと重なる場合にのみ起こり得る。
したがって、本発明の好ましい態様において、前記ドナーおよびアクセプター蛍光部分は、前記プローブ上で互いに5ヌクレオチド以内にある。
さらに好ましい態様において、前記アクセプター蛍光部分はクエンチャーである。
上述のように、TaqMan形式において、PCR反応のアニーリング工程の間、標識されたハイブリダイゼーションプローブは、標的核酸(すなわち増幅産物)に結合し、その後の伸長期にTaqまたは好ましい変異Z05ポリメラーゼなどの当業者に公知の別の適切なポリメラーゼの5'-3'エキソヌクレアーゼ活性により分解される。
したがって、好ましい態様において、本発明の方法中、増幅は、5'-3'エキソヌクレアーゼ活性を有するポリメラーゼ酵素を使用する。
上述の方法の結果として生じるアンプリコンの長さを注意深く選択することがさらに有利である。一般的に、比較的短いアンプリコンは、増幅反応の効率を増加させる。したがって、本発明の好ましい局面は、増幅された断片が、450塩基まで、好ましくは300塩基まで、さらに好ましくは200塩基まで、さらに好ましくは150塩基までを含む上述の方法である。
本発明によると、対照核酸を使用することがさらに有利であり得る。当該技術分野において、定性的対照および定量的対照の両方が、特に診断環境においてかなり重要であることが公知である。
この文脈において、「定量的標準核酸」として働く対照核酸は、定量、すなわち標的核酸の量を決定するための参照となり得、かつ使用され得る。この目的のために、1つ以上の定量的標準核酸は、標的核酸と共に、全ての起こり得る試料調製工程に供される。さらに、定量的標準核酸は、同じ反応混合物内で方法の全体にわたって処理される。これは、直接または間接的に、標的核酸の存在下または非存在下の両方で検出可能なシグナルを生じなければならない。この目的のために、定量的標準核酸の濃度は、感度を損なわないためであるが、例えば非常に高い標的濃度でも検出可能なシグナルを生じるために各試験において注意深く最適化される必要がある。それぞれのアッセイの検出限界(LOD、下記参照)について、「定量的標準核酸」の濃度範囲は、好ましくは20〜5000x LOD、より好ましくは20〜1000x LOD、最も好ましくは20〜5000x LODである。反応混合物中の定量的標準核酸の終濃度は、達成される定量的測定範囲に依存する。定量的標準核酸は、例えばDNA、RNAまたはPNA、外装(armored)DNAまたはRNAおよびそれらの改変形態であり得る。
「検出限界」または「LOD」は、試料中の核酸の最低検出可能量または濃度を意味する。低い「LOD」は高感度に対応し、高い「LOD」は低感度に対応する。通常「LOD」は、「cp/ml」の単位、特に核酸がウイルス核酸である場合はIU/mlのいずれかで表される。「cp/ml」は、「ミリリットル当たりのコピー」を意味し、「コピー」は、それぞれの核酸の数(copy)である。IU/mlは、「国際単位/ml」を表し、WHO標準のことをいう。
LODを計算するために広く使用される方法は、刺激(用量)と非連続(全か無)応答の関係を分析する方法である「プロビット解析」である。典型的な非連続応答実験において、動物の群に異なる用量の薬物が与えられる。それぞれの用量レベルでの死亡率が記録される。次いでこれらのデータは、プロビット解析を使用して解析され得る。プロビットモデルは、応答パーセントが累積標準分布(normal distribution)として対数用量に関連すると仮定する。すなわち、対数用量は、累積標準から死亡率を読むための変数として使用され得る。他の確率分布よりもむしろ標準分布を使用することは、起こり得る用量の高い末端および低い末端での推定応答率に影響するが、中央付近ではほとんど影響を及ぼさない。
プロビット解析は、別個の「ヒット率(hitrate)」で適用され得る。当該技術分野で公知のように、「ヒット率」は、一般的にパーセント[%]で表され、分析物の特定の濃度での陽性結果の百分率を示す。したがって、例えばLODは、95%ヒット率で決定され得ると、95%の確かな結果が陽性である設定についてLODが計算されることが意味される。
好ましい態様において、上述の方法は、1〜100cp/mlまたは0.5〜50IU/ml、より好ましくは1〜75cp/mlまたは0.5〜30IU/ml、より好ましくは1〜25cp/mlまたは1〜20IU/mlのLODを提供する。
特定のウイルスからのあり得る標的核酸のいくつかの例に関して、本発明の方法は、好ましくは以下のLODを提供する:
・HIV:60cp/mlまで、より好ましくは50cp/mlまで、より好ましくは40cp/mlまで、より好ましくは30cp/mlまで、より好ましくは20cp/mlまで、より好ましくは15cp/mlまで
・HBV:10IU/mlまで、より好ましくは7.5IU/mlまで、より好ましくは5IU/mlまで
・HCV:10IU/mlまで、より好ましくは7.5IU/mlまで、より好ましくは5IU/mlまで
・WNVI:20cp/mlまで、より好ましくは15cp/mlまで、より好ましくは10cp/mlまで
・WNVII:20cp/mlまで、より好ましくは15cp/mlまで、より好ましくは10cp/mlまで、より好ましくは5cp/mlまで
・JEV:100cp/mlまで、より好ましくは75cp/mlまで、より好ましくは50cp/mlまで、より好ましくは30cp/mlまで
・SLEV:100cp/mlまで、より好ましくは75cp/mlまで、より好ましくは50cp/mlまで、より好ましくは25cp/mlまで、より好ましくは10cp/mlまで。
定量的標準核酸に基づくTaqMan形式において定量的結果の計算をどのように行なうかの例は以下に記載される:全PCRラン(run)からの装置補正蛍光値のインプットデータから力価を計算する。標的核酸および定量的標準核酸として機能する対照核酸を含む試料の組を、特定の温度プロフィールを使用した熱サイクラーでのPCRに供する。PCRプロフィール中の選択された温度および時間で、フィルターされた光で試料を照射して、フィルターされた蛍光データを、標的核酸および定量的標準核酸について、それぞれの試料に関して収集する。PCRランの完了後、蛍光読み取り値を処理して、定量的標準核酸についての一組の色素濃度データおよび標的核酸についての一組の色素濃度データを生じる。それぞれの組の色素濃度データを同様の方法で処理する。数回のもっともらしさチェックの後、定量的標準核酸および標的核酸について、エルボー(elbow)値(CT)を計算する。標的核酸または定量的標準核酸の蛍光が、所定の閾値(蛍光濃度)と交差する点をエルボー値として定義する。力価の決定は、標的核酸と定量的標準核酸が同じ効率で増幅されることおよび計算されたエルボー値で標的核酸および定量的標準核酸のアンプリコンコピーと等しい量が増幅され、検出されることの仮定に基づく。そのため、(CTQS-CT標的)は、log(標的濃度/QS濃度)に対して線形であり、式中「QS」は、内部定量的標準核酸を示す。次いで力価Tは、例えば以下の等式:
T'=10(a(CTQS-CT標的)2+b(CTQS-CT標的)+c)
のような多項較正式を使用して計算され得る。
該多項式の定数および定量的標準核酸の濃度は既知であるので、等式中の変数のみが相違点である(CTQS-CT標的)。
液体試料中の標的核酸の有無の単なる検出に加えて、前記核酸の量を決定することがしばしば重要である。例として、ウイルス疾患の病期および重症度がウイルス負荷に基づいて評価され得る。さらに、任意の治療のモニタリングは、治療の成功を評価するために、個体中に存在する病原体の量に関する情報を必要とする。
上述のことを鑑みるに、本発明の好ましい局面は、工程iiiの後に標的核酸の量を決定する工程をさらに含む、上述の方法である。
さらに、本発明の意味において、1つ以上の対照核酸は、「定性的内部対照核酸」として機能し得る。生物学的試料中の核酸の定性的検出は、例えば個体の感染の認識において重要である。それにより、微生物感染の検出のためのアッセイについての1つの重要な要件は、偽陰性または偽陽性の結果は、ほとんど必然的にそれぞれの患者の治療に関して重大な結果をもたらすので、かかる結果は回避されるものであるということである。したがって、特にPCRに基づく方法において、検出混合物に定性的内部対照核酸が添加される。前記対照は、試験結果の妥当性を確認するために特に重要である。少なくともそれぞれの標的核酸に関する陰性結果の場合において、定性的内部対照反応は、所定の設定において反応性である必要があり、すなわち、定性的内部対照が検出されなければならず、そうでなければ試験自体が作用していないと見なされる。しかしながら、定性的設定において、前記定性的内部対照は、陽性結果の場合には必ずしも検出される必要はない。定性的試験のためには、反応の感度が保証され、そのために厳密に制御されることが特に重要である。結果として、定性的内部対照の濃度は比較的低くなければならず、例えばわずかな阻害の場合においても定性的内部対照が検出されないために試験が無効になる。定性的内部対照は、それぞれのアッセイおよびその感度について注意深く適合される必要がある。好ましくは、定性的内部核酸、すなわち第2の対照核酸の濃度範囲は、1反応あたり1コピー〜1反応あたり1000コピーの範囲を含む。反応性アッセイの検出限界(LOD)に関して、その濃度は、好ましくはアッセイのLODとLODの25倍の値の間、より好ましくはLOD〜10x LODである。より好ましくは、これは2x〜10x LODである。さらにより好ましくは、これは5x〜10x LODである。最も好ましくは、これは5xまたは10x LODである。
したがって、本発明の好ましい局面は、前記内部対照核酸の増幅産物の存在がが、1つ以上の前記標的核酸について増幅産物が非存在であっても反応混合物中で増幅が起こったことを示す上述の方法である。
本発明は、異なるパラメーターおよび/または核酸の種類について同一の内部対照核酸配列を使用しながら、複数のパラメーターおよび/または核酸の種類についての同時アッセイの開発に特に有用である。そのため、本発明は、種々のレベルで対応する実験の全体の複雑さの低減に寄与する。例えば、1つの内部対照核酸の配列を設計し、それぞれの増幅混合物に添加することだけが必要であるので、多数の対照核酸配列を設計および合成するまたは購入する時間および費用が節約される。1つまたは複数のアッセイを合理化でき、取り扱いのエラーのリスクが低減される。また、より多くの異なる対照核酸配列が、同時に、同一条件下で実施される1つのアッセイまたは並行したアッセイで使用されると、それぞれの条件の調節がより複雑になり得る。さらに、複数の核酸に適した1つの対照を用いると、前記対照は、1つの供給源から、例えば前記異なる標的核酸を含む異なる容器へと分配され得る。本発明の範囲内で、1つの対照核酸配列は、定性的対照および定量的対照としても機能し得る。
したがって、本発明の好ましい局面は、1つ以上の液体試料中に存在し得る少なくとも第1および第2の標的核酸を単離および同時増幅する方法であり、前記方法は、
a. 前記液体試料のそれぞれに内部対照核酸を添加する工程
b. 固体支持体物質と、前記1つ以上の液体試料を、1つ以上の容器中で、標的核酸を含む核酸および内部対照核酸が、固体支持体物質に固定化されるのに充分な時間および条件下で一緒に合わせる工程
c. 分離ステーションにおいて、液体試料中に存在する他の物質から固体支持体物質を単離する工程
d. 前記分離ステーションにおいて核酸を精製し、固体支持体物質を1回以上洗浄バッファで洗浄する工程
e. 精製された標的核酸および精製された内部対照核酸と、前記標的核酸のそれぞれおよび前記内部対照核酸についての少なくとも1つの異なる組のプライマーを含む1つ以上の増幅試薬を、少なくとも2つの反応容器中で接触させる工程、ここで少なくとも第1の反応容器は少なくとも前記第1の標的核酸を含み、少なくとも第2の反応容器は少なくとも前記第2の標的核酸を含み、第2の標的核酸は第1の反応容器には存在しない
f. 前記反応容器中で、前記精製された標的核酸および前記精製された内部対照核酸と、前記1つ以上の増幅試薬を、前記標的核酸の存在または非存在を示す増幅反応が起こるのに充分な時間および条件下でインキュベートする工程
g. 前記標的核酸の増幅産物により生成され、前記標的核酸の濃度に比例するシグナルを検出および測定する工程、ならびに前記内部対照核酸により生成されたシグナルを検出および測定する工程
の自動化工程を含み、工程d〜gにおける増幅および検出のための条件は、前記少なくとも第1および第2の精製された標的核酸および前記内部対照核酸について同じであり、前記内部対照核酸の配列は、前記少なくとも第1および第2の精製された標的核酸について同じである。
上述の方法のさらなる利点として、本発明に使用される対照は種々の核酸の増幅の対照となるために使用され得るので、起こり得るその後の実験において他の核酸についての特定の生物学的試料の試験は、異なる内部対照核酸の添加を伴う別の試料調製手順を含む必要がない。したがって、内部対照核酸を一度添加すると、同一試料中、同一条件下で他のパラメーターが試験され得る。
内部対照核酸は、競合的、非競合的または部分競合的であり得る。
競合的内部対照核酸は、標的と本質的に同じプライマー結合部位を保有するので、同じプライマーに対して標的と競合する。この原則は、それぞれの標的核酸が同様の構造であるために、それぞれの標的核酸の良好な模倣を可能にし、1つまたは複数の標的核酸に関して増幅効率を低下させ得るので、より低い感度のアッセイをもたらす。
非競合的内部対照核酸は、標的とは異なるプライマー結合部位を有するので、異なるプライマーに結合する。かかる設定の利点は、とりわけ、反応混合物中で異なる核酸の1つの増幅事象が何の競合効果も生じることなく互いに独立して起こり得るという事実を含む。したがって、競合設定の場合に起こり得るような、アッセイの検出限界に関する悪影響は生じない。
最後に、部分競合設定を使用した増幅において、それぞれの対照核酸および少なくとも1つの標的核酸が同じプライマーに対して競合し、少なくとも1つの他の標的核酸は異なるプライマーに結合する。
上述の方法が、前記標的核酸のそれぞれおよび前記内部対照核酸について異なるプライマーの組を含むという事実は、該方法をかなり柔軟にする。この非競合設定において、標的特異的結合部位を、競合設定の場合と同じように対照核酸中に導入する必要はなく、上述の競合設定の欠点が回避される。非競合設定において、内部対照核酸は、それらのプライマーおよび/またはプローブと競合しないために、いずれの標的配列とも異なる配列を有する。好ましくは、内部対照核酸の配列は、液体試料中の他の核酸配列とは異なる。例として、液体試料がヒト由来である場合、内部対照核酸は、好ましくはヒトにおいても内在的に存在する配列を有さない。したがって、配列の相違は、ストリンジェントな条件下でそれぞれの1つまたは複数の内在性核酸にプライマーおよび/またはプローブが結合せずに、設定が競合的にならないように少なくとも充分に有意であるべきである。かかる干渉を回避するために、本発明で使用される内部対照核酸の配列は、好ましくは、液体試料の起源とは異なる供給源由来である。好ましくは、該配列は天然に存在するゲノム由来、好ましくは植物ゲノム、さらに好ましくはブドウゲノム由来である。非常に好ましい態様において、天然に存在するゲノム由来の核酸は混ぜ合わされる(scrambled)。当該技術分野で公知のように、「混ぜ合わせる(scrambling)」は、配列にある程度の塩基の変異を導入することを意味する。好ましくは、本発明に使用される内部対照核酸の配列は、それが由来する天然に存在する遺伝子に関して実質的に改変される。
本発明の文脈において、「配列」は、核酸の主要な構造、すなわちそれぞれの核酸が構成される単一の核酸塩基の特異的な配列である。用語「配列」は、RNAまたはDNAなどの特定の種類の核酸を指定しないが、両方および例えばPNAまたはその他などの他の種類の核酸に適用されることを理解される必要がある。核酸塩基が互いに対応する場合、特にウラシル(RNA中に存在)およびチミン(DNA中に存在)の場合において、これらの塩基は、関係のある技術分野で周知なようにRNAとDNAの配列間で同等とみなされ得る。
例えば、臨床的に関連のある核酸はしばしば、例えばB型肝炎ウイルス(HBV)、サイトメガロウイルス(CMV)およびその他等のDNAウイルスまたは例えばクラミジアトラコマチス(CT)、淋菌(NG)およびその他等の細菌由来であり得るDNAである。このような場合、標的核酸の性質を反映するためにDNAからなる内部対照核酸を使用することが有利であり得る。
そのため、本発明の好ましい局面は、前記内部対照核酸がDNAである上述の方法である。
一方、臨床診断に関連のある多数の核酸は、例えばヒト免疫不全ウイルス(HIV)、C型肝炎ウイルス(HCV)、西ナイルウイルス(WNV)、ヒトパピローマウイルス(HPV)、日本脳炎ウイルス(JEV)、セントルイス脳炎ウイルス(SLEV)およびその他などの例えば、RNAウイルス由来の核酸などのリボ核酸である。本発明は、かかる核酸に容易に適用され得る。この場合、標的核酸の性質を反映するために、RNAからなる内部対照核酸を使用することが有利であり得る。RNAおよびDNAの両方が上述の方法において分析される場合、内部対照核酸は、好ましくは多数の標的を含むアッセイの最も感度の高い標的を模倣し、RNA標的は通常、より厳密に対照を取る必要があるので、内部対照核酸はRNAであることが好ましい。
したがって、本発明の好ましい局面は、前記内部対照核酸がRNAである上述の方法である。
RNAは、アルカリ性pH、リボヌクレアーゼなどの影響のためにDNAよりも分解し易いので、RNAから作製される内部対照核酸は、好ましくは外装(armored)粒子として提供される。特に外装RNAなどの外装粒子は、例えばEP910643に記載される。簡潔に、化学的に、または好ましくは例えば大腸菌などの例えば細菌により異種由来で生成され得るRNAは、少なくとも部分的に、ウイルス被覆タンパク質に包まれる。後者は、外部影響、特にリボヌクレアーゼに対してRNAに耐性を付与する。内部対照DNAも外装粒子として提供され得ることが理解されなければならない。外装RNAおよび外装DNAの両方が、本発明の文脈における内部対照核酸として有用である。好ましい態様において、RNA対照核酸は、大腸菌において、MS2被覆タンパク質により外装される。さらに好ましい態様において、DNA対照核酸はλファージGT11を使用して外装される。
そのため、本発明の好ましい局面は、前記内部対照核酸が外装核酸である上述の方法である。
上述のアッセイの結果は質を落としたものであってもよく、例えば液体試料以外の供給源由来の核酸との交差汚染の場合においては偽陽性を含み得る。特に、先の実験の増幅物は、かかる望ましくない効果に寄与する。核酸増幅の交差汚染の影響を最小化するためのある特定の方法は、米国特許第5,035,996号に記載される。該方法は、増幅産物中へのdUTPなどの通常ないヌクレオチド塩基の導入、ならびに産物DNAがその後の増幅の鋳型として機能できないようにするための持ち越し産物の酵素および/または物理化学的処理への曝露を含む。かかる処理のための酵素は当該技術分野で公知である。例えば、ウラシル-N-グリコシラーゼまたはUNGとしても公知のウラシル-DNAグリコシラーゼは、ウラシルを含むPCR産物からウラシル残基を除去する。酵素処理は、汚染持ち越しPCR産物の分解をもたらし、その増幅反応を「無効化(sterilize)」するために機能する。
したがって、本発明の好ましい局面は、工程iと工程iiの間に、
・液体試料を、他の試料由来の交差汚染核酸の増幅由来の産物が酵素分解される条件下で、酵素により処理する工程;
・前記酵素を不活性化する工程
をさらに含む上述の方法である。
好ましくは、該酵素はウラシル-N-グリコシラーゼである。
上述の方法において、全ての工程が自動化されることが好ましい。「自動化」は、方法の工程が、外的な制御もしくはヒトによる影響がほとんどまたは全くなく作動し得る装置または機械により実施されるのに適していることを意味する。該方法の調製工程のみは、人手で行う必要があり得、例えば保存容器は充填され、所定の場所に設置される必要があり、試料の選択はヒトによりなされる必要があり、当業者に公知のさらなる工程、例えば制御コンピューターの操作はヒトによりなされる必要がある。装置または機械は、例えば自動で液体を添加し得、試料を混合し得、または特定の温度でインキュベーション工程を実施し得る。典型的に、かかる機械または装置は、1つの工程群およびコマンド群が特定されるプログラムを実行するコンピューターによりロボット制御される。
本発明のさらなる局面は、液体試料中に存在し得る少なくとも2つの標的核酸を単離および同時に増幅するための分析システム(440)であり、前記分析システムは、以下のモジュール:
・固体支持体物質を含む分離ステーション(230)、前記分離ステーションは、液体試料中に含まれる標的核酸を分離および精製するように構築および配列される、
・少なくとも2つの反応容器を含む増幅ステーション(405)、前記反応容器は、増幅試薬、少なくとも第1の反応容器中の少なくとも第1の精製された標的核酸および少なくとも第2の反応容器中の少なくとも第2の精製された標的核酸、ならびに逆転写酵素活性を有するポリメラーゼを含み、該第2核酸は、第1の反応容器中には非存在であり、前記ポリメラーゼは、それぞれの野生型ポリメラーゼと比較して核酸伸長速度の向上および/または逆転写酵素活性の向上を付与する変異をさらに含む、
を含む。
「分析システム」は、所定の試料を分析する最終的な目的で互いに相互作用する装置などの構成物の配列である。
本発明の分析システム(440、図11)は、分析物を単離および/または精製するためのモジュール(401)を含むシステム(440)である。さらに、該システム(440)は、前記分析物を分析して、検出可能なシグナルを得るためのモジュール(403)をさらに含む。検出可能なシグナルは、同一モジュール(401、402、403)中で検出され得るか、または代替的に別々のモジュール中で検出され得る。用語「モジュール」は、本明細書で使用する場合、分析器(400)中の任意の空間的に画定された位置に関する。2つのモジュール(401、403)は、壁で分離され得るかまたは開放された関係にあり得る。いずれか1つのモジュール(401、402、403)は、自律的に制御され得るか、またはモジュール(401、402、403)の制御は、他のモジュールと共有され得る。好ましくは、全てのモジュールは、中枢的に制御される。モジュール(401、402、403)間の移送は手動であり得るが、好ましくは自動化される。したがって、自動化分析器(400)の多くの異なる態様が本発明に包含される。
「分離ステーション」は上述される。
「増幅ステーション」は、少なくとも2つの反応容器の内容物をインキュベートするための温度制御されたインキュベーターを含む。これはさらに、PCRなどの試料の分析のための反応が起こるチューブまたはプレートのような種々の反応容器を含む。かかる容器の外側境界または壁は、その中で起こる増幅反応に干渉しないように化学的に不活性である。取り扱いの簡易さのためおよび自動化を容易にするために、少なくとも2つの反応容器を一体化した配列中に組み合わせて、それらを一緒に操作し得ることが好ましい。
結果的に、本発明の好ましい局面は、少なくとも2つの反応容器が一体化した配列中で合わされた上述の分析システムである。
一体化した配列は、例えば、互いに可逆的もしくは不可逆的に取り付けられるかまたはラック中に配列されたバイアルまたはチューブであり得る。好ましくは、一体化した配列はマルチウェルプレートである。
好ましくは、前記マルチウェルプレートは、保持ステーション中に保持される。より好ましい態様において、1つの操縦器は、マルチウェル容器を、保持ステーションからエアロック(460)へと移し、第2の操縦器は、前記マルチウェルプレートを前記エアロックから前記増幅ステーションに移し、両方の操縦器は、形態固定相互作用により前記マルチウェルプレートと相互作用する。
好ましい態様において、分析システムは完全に自動化される。
一態様において、一体化した配列中で合わされた少なくとも2つの反応容器は、該システムのステーション間を移送される。
第2の態様において、精製された標的核酸は、前記分離ステーションから前記増幅ステーションへと移送される。好ましくは、ピペットチップが取り付けられたピペットを含むピペッターにより、精製された核酸を含む液体が移送される。
第3の態様において、精製された核酸は、前記分離ステーションから保持ステーション中に保持された一体化した配列中の反応容器へと移送される。好ましくは、一体化した配列中の前記反応容器は、次いで前記保持ステーションから前記増幅ステーションへと移送される。
本発明の分析システムは、好ましくはさらに、ピペッティングユニットを含む。前記ピペッティングユニットは、少なくとも1つのピペット、好ましくは多数のピペットを含む。好ましい態様において、前記多数のピペットは、1つ以上の一体化した配列中で合わされ、その中で、ピペットは、好ましくは個々に操作され得る。本発明の文脈において使用されるピペットは、好ましくは上述のピペットチップを含むピペットである。別の好ましい態様において、ピペットは、ピペッティングニードルである。
代替的に、分離ステーション中で試料調製に使用され、精製された標的核酸を含む液体を含む反応容器または反応容器の配列は、分離ステーションから増幅ステーションに移送され得る。
この目的のために、本発明の分析システムは、好ましくは、移送ユニットをさらに含み、前記移送ユニットは、好ましくはロボットデバイスを含み、前記デバイスは、好ましくは操縦器を含む。
本発明の方法の文脈中の上述の理由のために、以下は本発明のさらに好ましい局面である:
・少なくとも1つの反応容器がRNA標的核酸およびDNA標的核酸を含む上述の分析システム(440)。
・少なくとも1つの反応容器がRNA標的核酸を含み、少なくとも1つの他の反応容器がDNA標的核酸を含む上述の分析システム(440)。
好ましくは、上述の分析システム(440)は:
・分析物により誘起されたシグナルを検出するための検出モジュール(403)
・シーラー(410)
・試薬および/または使い捨て品のための保存モジュール(1008)
・システムの構成物を制御するための制御ユニット(1006)
からなる群より選択される1つ以上の要素をさらに含む。
「検出モジュール」(403)は、例えば増幅手順の結果または効果を検出するための光学検出ユニットであり得る。光学検出ユニットは、光源、例えばキセノンランプ、ミラー、レンズ、光学フィルター、光を誘導し、フィルターするための光ファイバー、1つ以上の参照チャネル、またはCCDカメラもしくは異なるカメラなどの光学部品(optics)を含み得る。
「シーラー」(410)は、本発明の分析システムと関連して使用される任意の容器を密封するために構築および配列される。かかるシーラーは、例えばチューブを適切なキャップで密封し得るか、マルチウェルプレートをホイルもしくは他の適切な密封物質で密封し得る。
「保存モジュール」(1008)は、液体試料の分析に重要な化学的または生物学的反応を引き起こすために必要な試薬を保存する。これは、本発明の方法に有用なさらなる構成物、例えばピペットチップあるいは分離ステーションおよび/または増幅ステーション中で反応容器として使用される容器などの使い捨て品も含み得る。
好ましくは、本発明の分析システムはさらに、システム構成物を制御するための制御ユニットを含む。
かかる「制御ユニット」(1006)は、前記分析システムの異なる構成物が正確にかつ正確なタイミングで作動し、相互作用する、例えば協調した様式でピペットなどの構成物を移動および操作することを確実にするためのソフトウェアを含み得る。該制御ユニットは、リアルタイム適用が意図されたマルチタスクオペレーティングシステムである、リアルタイムオペレーティングシステム(RTOS)を作動させるプロセッサも含み得る。言い換えると、該システムプロセッサは、リアルタイムの強制、すなわちシステム負荷に関係なく事象からシステム応答への作動期限を管理し得る。これは、該システム中の異なるユニットが所定の指示に従って正確に作動および応答することをリアルタイムで制御する。
好ましい態様において、本発明は、
a. 液体試料(1010)を含む直線配列の第1のレセプタクル(1001)、液体試料(1011)を保持するためのnxm配列のレセプタクル(103)を含む処理プレート(101)、直線配列中に少なくとも2つのピペッティングユニット(702)を含む第1のピペッティングデバイス(700)、およびax(nxm)配列中にピペットチップ(3、4)を含むチップラック(70)を含む第1の位置、ここで前記ピペッティングユニット(702)は、ピペットチップ(3、4)に連結される;
b. 前記処理プレート(101)のためのホルダー(201、128)、マルチウェルプレートのためのホルダー(330)、前記チップラック(70)のためのホルダー(470)および第2のピペッティングデバイス(35)を含む第2の位置、前記第2のピペッティングデバイス(35)は、ピペットチップ(3、4)を連結するためのnxm配列中のピペッティングユニット(702)を含む
を含む、分析物を処理するための分析システム(440)に関する(図12)。本明細書で使用する場合、用語「ホルダー」は、ラックまたは処理プレートを受け得る任意の配列に関する。
本発明の分析システム(440)の利点は、本発明の方法について上述されたとおりである。
好ましくは、第1のピペッティングデバイス(700)の前記ピペッティングユニット(702)の位置は可変的である。前記第1のピペッティングデバイス(700)の好ましい態様は、本明細書に後述される。
一態様において、チップラック(70)は、ax(nxm)配列中にピペットチップ(3、4)を含む。好ましくは、ピペットチップの第1の型(4)および第2の型(3)は、チップラック(70)に含まれる。この態様において、第1の型のピペットチップ(4)は、nxm配列中に配列され、第2の型のピペットチップ(3)は、nxm配列中に配列される。この文脈において、「n」は横列の数を示し、mは縦列の数を示し、ここで、nは、好ましくは6であり、mは、好ましくは8である。より好ましくは、第1の型のピペットチップ(4)は、第2の型のピペットチップ(3)とは異なる容積を有し、最も好ましくは、第1の型のピペットチップ(4)の容積は、500ulより大きく、第2の型のピペットチップ(3)の容積は、500ulより小さい。この態様においてはa=2である。しかしながら、2種類より多くの型のピペットチップ、従ってa>2の本発明の態様も本発明に含まれる。
一局面において、本発明の分析システム(440)は、前記処理プレート(101)の個々の位置に対して試料の種類および個々の試験を指定するための制御ユニット(1006)を含む。好ましくは、前記位置は別々のセル(401、402)である。
本発明の一局面において、該システムはさらに、前記処理プレート(101)および前記ラック(70)を、第1(402)および第2(401)の位置の間で移送するための移送システム(480)を含む。前記移送システム(480)の好ましい態様は、コンベアーのベルト、またはより好ましくは1つ以上の操縦器である。
さらに、好ましくは前記第2のピペッティングデバイス(35)の前記ピペットユニットは、第1の位置(402)で使用されたピペットチップ(3、4)に連結される。
本発明のシステム(440)の好ましい態様は、さらに、前記分析物と、検出可能なシグナルを得るために必要な試薬をインキュベートするための温度制御されたインキュベーターを含む第3のステーション(403)を含む。このシステムのさらに好ましい態様は、本明細書に後述される。
試料および試験をnxm配列に割り当てるより適切な制御は、前記第1の位置(402)中に含まれる第1のプロセッサ(1004)および前記第2の位置(401)中に含まれる第2のプロセッサ(1005)により達成され、前記第1のプロセッサ(1004)には、試料の種類および個々の試験を処理プレート(101)の容器(103)のnxm配列中の特定の位置に割り当てるための指示が前記制御ユニット(1006)により移送され、前記第2のプロセッサ(1005)には、試料の種類および個々の試験を処理プレートの容器(103)のnxm配列中の特定の位置に割り当てるための指示が前記制御ユニット(1006)により移送される。
好ましくは、前記システムはさらに、前記第1の位置に配置される第1のプロセッサおよび前記第2の位置に配置される第2のプロセッサを含む。
より好ましくは、前記第1のプロセッサ(1004)は前記第1のピペッティングデバイス(700)を制御し、前記第2のプロセッサ(1005)は前記第2のピペッティングデバイス(35)を制御する。
本発明の分析システムの態様の全ての他の好ましい態様および特定の説明は、本発明の方法について述べられたものである。
実施例
以下の実施例には、本発明が実行され得る態様を記載する。これらの実施例は限定されず、本発明の精神を逸脱することなく改変され得ることが当業者には明らかである。
実施例1
この実施例には、単一の一般的な内部対照核酸を使用した、少なくとも第1および第2の標的核酸を単離および同時増幅するための方法が記載される。
簡潔に、示される態様において、リアルタイムPCRは、細菌(クラミジアトラコマチス、CT)、ならびにDNAウイルス(HBV)およびRNAウイルス(HIV)を含む数種の異なる標的のパネルに対して同時にかつ同一の条件下で行われる。全ての試料は、同じ実験、すなわち同一のディープウェルプレート(試料調製について)またはマルチウェルプレート(増幅および検出について)のそれぞれで処理され、分析された。
以下の試料を調製して、続いて分析した:
Figure 0006348202
適切な標準または他の種類の標的が当業者には利用可能である。
以下の表に列挙する装置は、それぞれの製造業者の指示書に従って使用した:
Figure 0006348202
試料調製のために、希釈液として以下の試薬を使用した:
Figure 0006348202
以下の希釈物は、予め調製して一晩保存した(血漿希釈物は-60〜-90℃、PreservCyt希釈物は2〜8℃):
Figure 0006348202
各それぞれの試料(500ul)および各それぞれの検体希釈物(350ul)を、手動でディープウェルプレートにピペットで移し、それぞれの試料は、三重の分析のために3つの異なるウェルに添加した。HIVまたはHBV試料を含むそれぞれのウェルに、50ulの内部対照核酸を手動で添加した。定性的HIVアッセイのために、定性対照として働くRNAを添加した(100外装粒子/試料)。定量的HIVアッセイのために、定量標準として働くRNAを添加した(500外装粒子/試料)。定量的HBVアッセイのために、定量標準として働くDNAを添加した(1E4コピー/試料)。前記対照核酸の配列は、全ての場合で同一であり、配列番号:45〜48の群から選択した。
それぞれの対照核酸は以下のバッファ中に保存した:
Figure 0006348202
試料調製は、図1に示す模式図によるワークフローに従い、以下の試薬を使用して、Hamilton Star(Hamilton, Bonaduz, CH)上で行なった:
Figure 0006348202
Figure 0006348202
Figure 0006348202
Figure 0006348202
Figure 0006348202
最終工程後、Hamilton Star装置のプロセスヘッドにより増幅試薬を含むそれぞれのマスターミックス(Mmx)を、それぞれのウェルに添加し、単離された核酸を含む液体とMmxを混合し、それぞれの得られた混合物を、増幅を実施したマイクロウェルプレートの対応するウェルに移した。
以下のマスターミックス(それぞれ2種類の試薬R1およびR2からなる)を使用した:
Figure 0006348202
Figure 0006348202
Figure 0006348202
増幅および検出のために、マイクロウェルプレートを自動プレートシーラー(上記参照)で密封して、プレートをLightCycler 480(上記参照)に移した。
以下のPCRプロフィールを使用した:
Figure 0006348202
Figure 0006348202
プレPCRプログラムは、RNA鋳型の逆転写のための55、60および65℃での最初の変性およびインキュベーションを含む。3種類の温度でインキュベートすることは、低い温度でわずかにミスマッチした標的配列(生物の遺伝的バリアントなど)が転写され、高い温度でRNA二次構造の形成が抑制され、より効果的な転写がもたらされるという有利な効果を合わせる。
PCRサイクルを2つの測定に分け、両方の測定は、ワンステップ設定が適用される(アニーリングと伸長が合わされる)。55℃での最初の5サイクルにより、わずかにミスマッチした標的配列を予め増幅することにより包括性(inclusivity)の増加が可能になり、第2の測定の45サイクルで、58℃のアニーリング/伸長温度を使用することにより特異性の増加がもたらされる。
上述のマイクロウェルプレートに含まれる全ての試料に対してこのプロフィールを使用して、図2に示されるように全ての試料で増幅および検出を達成した。これは、増幅前の試料調製も成功裡に行われたことを示す。
定性的および定量的HIV内部対照ならびに定量的HBV内部対照についての結果は、明確さの目的で図2において別々に示される。対照も全ての場合で成功裡に増幅されたことが見られ得る。定量的設定におけるHIVおよびHBV標的の量は、定量標準として働く内部対照核酸との比較により計算した。
実施例2
上述の一般的な増幅プロセスは、同一条件下であるが、別々の実験において種々の異なる標的核酸に対して行われた。それぞれの核酸の単離は、実施例1に記載されるように行なった。
それぞれの一般的な内部対照核酸は、配列番号:45〜49から選択され、RNA標的について外装RNAおよびDNA標的についてλパッケージ化DNAであった。定性的RNAアッセイのために1試料あたり300粒子を添加し、定量的RNAアッセイのために3000および全DNAアッセイについて500を添加した。
全ての標的に対して以下のPCRプロフィールを使用した:
Figure 0006348202
Figure 0006348202
詳細に、以下の実験を行った:
1. HBV、HCVおよびHIVの定性的マルチプレックス分析
a. マスターミックス
Figure 0006348202
Figure 0006348202
分析感度/LOD
それぞれの検出されたウイルスについて(HIV-1グループM、HIV-1グループO、HIV-2、HBVおよびHCV)、EDTA血漿について予想されるLODおよびその周囲で、いくつかの濃度/レベル。1つのウイルスおよび1つの濃度あたり1パネルを、1つの濃度あたり少なくとも20回の妥当な反復実験で試験した。プロビット解析によりLODを決定した(表1〜5参照)。
HIV
Figure 0006348202
HIV-1グループMについてのWHO標準の力価をIU/mLに変換した。
Figure 0006348202
従って、IU/mLのHIV-1グループM LODは、
プロビット解析によるLOD(95%ヒット率): 6.77IU/mL
プロビット解析によるLODについての95%信頼区間: 4.75〜15.4IU/mL
Figure 0006348202
HIV-1グループOについての一次標準の力価を、CBER HIV-1グループOパネルに対して再指定した;計算因子は0.586である。
従って、HIV-1グループO LODは、
プロビット解析によるLOD(95%ヒット率): 8.8cp/mL
プロビット解析によるLODについての95%信頼区間: 6.4〜18.5cp/mL
Figure 0006348202
HIV-2についての一次標準の力価をCBER HIV-2パネルに対して再指定した;計算因子は26.7である。
従って、HIV-2 LODは、
プロビット解析によるLOD(95%ヒット率): 34.44cp/mL
プロビット解析によるLODについての95%信頼区間: 21.89〜83.04cp/mL
HBV
Figure 0006348202
HCV
Figure 0006348202
2. WNVの定性的分析
マスターミックス
Figure 0006348202
Figure 0006348202
分析感度/LOD
ウイルス(WNV、SLEVおよびJEV)について、予想されるLODおよびその周辺でいくつかの濃度/レベルを含むそれぞれの標準の連続希釈として独立パネルを調製した。1つのウイルスおよび1つの濃度あたり1つのパネルを、1つの濃度あたり少なくとも20回の妥当な反復実験により試験した。プロビット解析によりLODを決定した。
Figure 0006348202
Figure 0006348202
Figure 0006348202
3. HBVの定量的分析
マスターミックス
Figure 0006348202
Figure 0006348202
分析感度/LOD
HBV二次標準(遺伝子型Aを示す)を有する4つの希釈パネル、すなわち2つは、200μLおよび500μLの試料インプット容積についてHBV陰性血清中のもの、ならびに2つは、200μLおよび500μLの試料インプット容積についてHBV陰性EDTA血漿中のものを調製した。それぞれのパネルは、予想されるLODおよびその周辺で7個の濃度レベルを含んだ。1マトリックス当たりの1つのパネルは、1つの濃度レベルあたり≧21回の反復実験で試験した。少なくとも20回の反復実験が妥当である必要があった。95%ヒット率でのプロビット解析および≧95%ヒット率分析によりLODを決定した。
Figure 0006348202
Figure 0006348202
Figure 0006348202
Figure 0006348202
LOD概要:
EDTA血漿:95%ヒット率でのプロビット解析により、EDTA血漿に関して200μL試料インプット容積につい8.2IU/mLのLODおよび500μL試料インプット容積について2.3IU/mLのLODが生じた。
これらの濃度についての95%信頼区間範囲は、200μL試料インプット容積について4.8〜26.0IU/mLおよび500μL試料インプット容積について1.6〜4.2IU/mLであった。
血清:95%ヒット率でのプロビット解析により、血清に関して、200μL試料インプット容積について9.02IU/mLおよび500μL試料インプット容積について4.1IU/mLのLODが生じた。
これらの濃度についての95%信頼区間範囲は、200μL試料インプット容積について6.2〜19.0IU/mLおよび500μL試料インプット容積について2.4〜10.0IU/mLであった。
直線性
1つのEDTA血漿パネルおよび1つの血清パネルをHBV遺伝子型A(RMD Research Pleasantonにより提供、線状化プラスミド、pHBV-PC_ADW2)を使用して調製した。アッセイの予想されるダイナミックレンジ(4 - 2E+09IU/mL)の決定のために、12個の濃度レベルでそれぞれのパネルを分析した。全ての濃度レベル/パネルメンバー(PM)を21回の反復実験で試験した。
この試験は、500μLの試料インプット容積で行なった。濃度レベルは以下のように選択した:予想される定量の下限(LLOQ)未満で1つのレベル、予想されるLLOQで1つ、予想されるLLOQより上で1つ、中間レベルでいくつかの濃度、予想される定量の上限(ULOQ)、および予想されるULOQより上で1つ。
PM12 - 2.0E+09IU/mL - 予想されるULOQより上
PM11 - 1.0E+09IU/mL - 予想されるULOQ
PM10 - 1.0E+08IU/mL - 予想されるULOQ未満
PM9 - 1.0E+07IU/mL - 中間濃度レベル
PM8 - 1.0E+06IU/mL - 中間濃度レベル
PM7 - 1.0E+05IU/mL - 中間濃度レベル
PM6 - 1.0E+04IU/mL - 中間濃度レベル
PM5 - 1.0E+03IU/mL - 中間濃度レベル
PM6a - 2.0E+02IU/mL - 中間濃度レベル(PM6を2.0E+02IU/mLまで希釈、血清パネルの力価指定に使用)
PM4 - 1.0E+02IU/mL - 中間濃度レベル(これも血漿パネルの力価指定に使用)
PM3 - 5.0E+01IU/mL - 予想されるLLOQより上
PM2 - 1.0E+01IU/mL - 予想されるLLOQ
PM1 - 4.0E+00IU/mL 予想されるLLOQ未満
直線性パネルの全ての妥当な試料について、観測されたHBV DNA力価をlog10力価に変換し、濃度レベル当たりの平均log10力価を計算した。
Figure 0006348202
この結果のグラフ表示を図13に示す。
Figure 0006348202
この結果のグラフ表示を図14に示す。
直線性概要:
平均log10観測力価のlog10偏差がlog10名目力価の±0.3内にある濃度範囲として画定される直線範囲はEDTA血漿について3.5E+00IU/mL〜1.7E+09IU/mLおよび血清について3.3E+00IU/mL〜1.7E+09IU/mLと決定された。定量の下限はEDTA血漿および血清について4.0E+00IU/mLであることが見出された。
4. HCVの定量的分析
マスターミックス
Figure 0006348202
Figure 0006348202
分析感度/LOD
200μLおよび500μLの試料インプット容積を使用して、HCV陰性EDTA血漿および血清中にRoche HCV二次標準を有する希釈パネルを調製した。それぞれの濃度レベルは21回の反復実験で試験した。少なくとも≧20回の反復実験が妥当である必要がある。95%ヒット率でのプロビット解析および≧95%ヒット率解析によりLODを決定した。
Figure 0006348202
Figure 0006348202
Figure 0006348202
Figure 0006348202
LOD概要:
1. 95%ヒット率でのプロビット解析により、EDTA血漿に関して、200μLの試料処理インプット容積について17.4IU/mLおよび500μL試料処理インプット容積について9.0IU/mLのLODが生じた。これらの濃度についての95%信頼区間は、200μL試料処理インプット容積について12.1〜34.3IU/mLおよび500μL試料処理インプット容積について5.5〜25.4IU/mLである。
2. 95%ヒット率でのプロビット解析の値は、血清に対して、200μL試料処理インプット容積について20.2IU/mLおよび500μL試料処理インプット容積について8.2IU/mLである。これらの濃度についての95%信頼区間は、200μL試料処理インプット容積について14.0〜39.3IU/mLおよび500μL試料処理インプット容積について5.8〜15.0IU/mLである。
直線性
HCV WHO標準に対して追跡可能(traceable)なHCV aRNAのEDTA血漿パネルの1つの調製物および血清パネルの1つの調製物を分析した。連続希釈により直線性パネルを調製し、10個の異なる濃度で分析した。500μL試料処理インプット容積で試験を行った。濃度は以下のように選択した:予想される定量の下限(LLoQ)未満で1つのレベル、LLoQで1つ、LLOQより上で1つ、中間レベルでいくつかの濃度、予想される定量の上限(ULoQ)でいくつかの濃度およびULoQまたはそれより上で1つ。全ての濃度について、21回の反復実験を試験した。
PM1 - 2.0E+08IU/mL - 予想されるULoQより上
PM2 - 1.0E+08IU/mL - 予想されるULoQ
PM3 - 1.0E+07IU/mL - 予想されるULoQ未満
PM4 - 1.0E+06IU/mL - 中間濃度レベル
PM5 1.0E+05IU/mL - 中間濃度レベル
PM6 - 1.0E+04IU/mL - 力価指定のための中間濃度レベル
PM7 - 1.0E+03IU/mL - 中間濃度レベル
PM8 - 1.0E+02IU/mL - 予想されるLLoQより上
PM9 - 1.0E+01IU/mL - 予想されるLLoQ
PM10 - 8.0E+00IU/mL - 予想されるLLoQ未満
Figure 0006348202
この結果のグラフ表示を図15に示す。
Figure 0006348202
この結果のグラフ表示を図16に示す。
直線性概要:
平均log10観測力価のlog10偏差がlog10名目力価の±0.3以内である濃度範囲として画定した直線範囲はEDTA血漿について4.87E+00IU/mL〜1.22E+08IU/mLおよび血清について3.90E+00IU/mL〜9.92E+07IU/mLと決定された。
5. HIVの定量的分析
マスターミックス
Figure 0006348202
Figure 0006348202
分析感度/LOD
200μLおよび500μLの試料インプット容積についてHIV-1陰性EDTA血漿中にHIV-1M二次標準を有する希釈パネルを調製した。それぞれの濃度レベルは21回の反復実験で試験した。少なくとも≧20回の反復実験が妥当である必要がある。95%ヒット率でのプロビット解析および≧95%ヒット率解析によりLODを決定した。
Figure 0006348202
Figure 0006348202
LOD概要
1. 95%ヒット率でのプロビット解析により、200μLインプット容積について41.8cp/mLおよび500μLインプット容積について18.9cp/mLのLODが生じた。
2. これらの濃度についての95%信頼区間範囲は、200μLインプット容積について30.9〜74.9cp/mLおよび500μLインプット容積について14.9〜29.4cp/mLであった。
直線性
直線性/ダイナミックレンジ/正確性試験に使用された試料は、HIV-1細胞培養上清物質、HIV-1グループMサブタイプBの希釈パネルからなった。
連続希釈により直線性パネルを調製した。このパネルを10個の濃度レベルで分析した。
濃度は以下のように選択した:予想される定量の下限(LLoQ)未満で1つのレベル、LLoQで1つ、LLoQより上で1つ、中間レベルでいくつかの濃度、予想される定量の上限(ULoQ)でいくつかの濃度およびULoQより上で1つ。全ての濃度について、21回の反復実験を試験した。この直線性試験は、500μLインプット容積で行った:
PM1 - 2.0E+07cp/mL - 予想されるULoQより上
PM2 - 1.0E+07cp/mL - 予想されるULoQ
PM3 - 1.0E+06cp/mL - 予想されるULoQ未満
PM4 - 1.0E+05cp/mL - 中間濃度レベル
PM5 3.0E+04cp/mL - 力価指定のための中間濃度レベル
PM6 - 1.0E+04cp/mL - 中間濃度レベル
PM7 - 1.0E+03cp/mL - 中間濃度レベル
PM8 - 1.0E+02cp/mL - 中間濃度レベル
PM9 - 5.0E+01cp/mL - 予想されるLLoQより上
PM10 - 2.0E+01cp/mL - 予想されるLLoQ
PM11 - 1.5E+01cp/mL - 予想されるLLoQ未満
Figure 0006348202
この結果のグラフ表示を図17に示す。
直線性概要
平均log10観測力価のlog10偏差がlog10名目力価の±0.3以内にある濃度範囲として画定した直線範囲は、1.5E+01cp/mL〜2.0E+07cp/mLと決定された。
本発明の態様として、以下のものが挙げられる。
[1]複数の異なる種類の液体試料から少なくとも第1および第2の標的核酸を同時に単離するための方法であって、前記方法が、
a. 固体支持体物質と、前記複数の異なる種類の液体試料を、液体試料の数に対応する数の容器中で、標的核酸を含む核酸が固体支持体物質に固定化されるのに充分な時間および条件下で一緒に合わせる工程、
b. 分離ステーションにおいて、液体試料中に存在する他の物質から固体支持体物質を単離する工程、
c. 分離ステーションにおいて、固体支持体物質から液体試料を分離し、固体支持体物質を洗浄バッファで1回以上洗浄することにより、核酸を精製する工程
の自動化工程を含み、物理的条件および前記時間が、前記複数の異なる種類の液体試料のメンバーについて同じである、方法。
[2]工程aが、複数の異なる液体試料中に潜在的に存在する細胞および/またはウイルスカプシドを溶解することにより、核酸の細胞環境および/またはウイルス環境から核酸を放出することをさらに含む、[1]記載の方法。
[3]工程aが、複数の異なる液体試料への溶解バッファの添加をさらに含む、[2]記載の方法。
[4]前記溶解バッファが、前記複数の異なる種類の液体試料のメンバーについて同じである、[3]記載の方法。
[5]前記溶解バッファが、
・カオトロピック剤
・バッファ物質
・アルコール
・還元剤
の群から選択される1つ以上の成分を含む、[4]記載の方法。
[6]前記溶解バッファが酸性pHを有する、[3]〜[5]いずれか記載の方法。
[7]前記複数の異なる液体試料の少なくとも1つの液体試料が、他の液体試料とは異なる容積を有する、前記いずれか記載の方法。
[8]容器が同じ一体化した配列中で合わされる、前記いずれか記載の方法。
[9]第1の標的核酸がRNAを含み、第2の標的核酸がDNAを含む、前記いずれか記載の方法。
[10]第1の標的核酸および第2の標的核酸が異なる生物由来である、前記いずれか記載の方法。
[11]工程aが50℃までの温度で実施される、前記いずれか記載の方法。
[12]前記方法が、工程cの後に、以下:
d. 固体支持体物質から溶出バッファにより核酸を溶出する工程
をさらに含む、前記いずれか記載の方法。
[13]工程dが、70℃〜90℃の温度で実施される、[12]記載の方法。
[14]前記方法が、工程cの後または工程dの後に、以下:
e. 精製された核酸および任意に前記固体支持体物質を、複数の反応容器に移す工程
f. 標的核酸を増幅する工程
をさらに含む、前記いずれか記載の方法。
[15]工程fが、以下:
i. 精製された核酸と、逆転写酵素活性を有するポリメラーゼを含む1つ以上の増幅試薬を、少なくとも2つの反応容器中で接触させる工程、ここで少なくとも第1の反応容器は少なくとも前記第1の標的核酸を含み、少なくとも第2の反応容器は少なくとも前記第2の標的核酸を含み、第2の標的核酸は第1の反応容器中には存在しない;
ii. 前記反応容器中で、前記精製された核酸と、前記1つ以上の増幅試薬を、前記逆転写酵素活性を有するポリメラーゼによるRNAの転写が起こるのに適した時間および条件下でインキュベートする工程;
iii. 前記反応容器中で、前記精製された核酸と、前記1つ以上の増幅試薬を、前記第1および第2の標的核酸の存在または非存在を示す増幅反応が起こるのに充分な時間および条件下でインキュベートする工程
を含み、工程i〜iiiにおける転写および増幅の条件が、少なくとも第1および第2の標的核酸について同じである、[14]記載の方法。
[16]前記固体支持体が核酸結合粒子を含む、前記いずれか記載の方法。

Claims (7)

  1. 複数の異なる種類の液体試料から、細菌、DNAウイルスおよびRNAウイルスから選択される少なくとも第1および第2の標的核酸を同時に単離しかつそれらの存在、非存在および/または量を決定するための方法であって、前記方法が、
    a. 5.5〜6.5のpHを有しかつカオトロピック剤、バッファ物質、アルコールおよび還元剤を含む同一の溶解バッファを、前記複数の異なる種類の液体試料の構成メンバーに添加し、それにより複数の異なる種類の液体試料中に潜在的に存在する細胞および/またはウイルスカプシドを溶解することにより、核酸の細胞環境および/またはウイルス環境から核酸を放出し、かつ磁性粒子と前記複数の異なる種類の液体試料を、液体試料の数に対応する数の容器中で、標的核酸を含む核酸が磁性粒子に固定化されるのに充分な時間および条件下で一緒に合わせる工程、
    b. 1つ以上の磁石を含む分離ステーションにおいて、液体試料中に存在する他の物質から磁性粒子を単離する工程、
    c. 分離ステーションにおいて、磁性粒子から液体試料を分離し、磁性粒子を洗浄バッファで1回以上洗浄することにより、核酸を精製する工程、ここで前記洗浄は、ピペットを使用して洗浄バッファおよび磁性粒子を含む懸濁液を1回以上吸引し分配することにより行われる、
    d. 磁性粒子から溶出バッファにより核酸を溶出する工程、
    e. 精製された核酸および任意に前記磁性粒子を、複数の反応容器に移す工程、ならびに
    f. 標的核酸を増幅する工程
    の自動化工程を含み、物理的条件および前記時間が、前記複数の異なる種類の液体試料の構成メンバーについて同じであり、第1および第2の標的核酸が細菌の核酸である、方法。
  2. 容器が同じ一体化した配列中で合わされる、請求項1記載の方法。
  3. 第1の標的核酸がRNAを含み、第2の標的核酸がDNAを含む、請求項1または2記載の方法。
  4. 第1の標的核酸および第2の標的核酸が異なる生物由来である、請求項1〜3いずれか記載の方法。
  5. 工程aが50℃までの温度で実施される、請求項1〜4いずれか記載の方法。
  6. 工程dが、70℃〜90℃の温度で実施される、請求項1記載の方法。
  7. 工程fが、以下:
    i. 精製された核酸と、逆転写酵素活性を有するポリメラーゼを含む1つ以上の増幅試薬を、少なくとも2つの反応容器中で接触させる工程、ここで少なくとも第1の反応容器は少なくとも前記第1の標的核酸を含み、少なくとも第2の反応容器は少なくとも前記第2の標的核酸を含み、第2の標的核酸は第1の反応容器中には存在しない;
    ii. 前記反応容器中で、前記精製された核酸と、前記1つ以上の増幅試薬を、前記逆転写酵素活性を有するポリメラーゼによるRNAの逆転写が起こるのに適した時間および条件下でインキュベートする工程;
    iii. 前記反応容器中で、前記精製された核酸と、前記1つ以上の増幅試薬を、前記第1および第2の標的核酸の存在または非存在を示す増幅反応が起こるのに充分な時間および条件下でインキュベートする工程
    を含み、工程i〜iiiにおける逆転写および増幅の条件が、少なくとも第1および第2の標的核酸について同じである、請求項1記載の方法。
JP2017086559A 2010-07-29 2017-04-25 一般的な試料調製 Active JP6348202B2 (ja)

Applications Claiming Priority (4)

Application Number Priority Date Filing Date Title
US36897010P 2010-07-29 2010-07-29
US61/368,970 2010-07-29
EP10175533.8 2010-09-07
EP10175533 2010-09-07

Related Parent Applications (1)

Application Number Title Priority Date Filing Date
JP2013521143A Division JP6169489B2 (ja) 2010-07-29 2011-07-27 一般的な試料調製

Publications (2)

Publication Number Publication Date
JP2017123878A JP2017123878A (ja) 2017-07-20
JP6348202B2 true JP6348202B2 (ja) 2018-06-27

Family

ID=59363530

Family Applications (1)

Application Number Title Priority Date Filing Date
JP2017086559A Active JP6348202B2 (ja) 2010-07-29 2017-04-25 一般的な試料調製

Country Status (1)

Country Link
JP (1) JP6348202B2 (ja)

Family Cites Families (6)

* Cited by examiner, † Cited by third party
Publication number Priority date Publication date Assignee Title
DE19743518A1 (de) * 1997-10-01 1999-04-15 Roche Diagnostics Gmbh Automatisierbare universell anwendbare Probenvorbereitungsmethode
JP3812696B2 (ja) * 1997-11-17 2006-08-23 東洋紡績株式会社 リボ核酸の抽出方法
JP2003235555A (ja) * 2002-02-08 2003-08-26 Jsr Corp 一本鎖核酸および/または二本鎖核酸の単離方法
CN1223680C (zh) * 2002-12-10 2005-10-19 清华大学 扩增靶细胞或病毒的核酸的方法
CA2614069C (en) * 2006-12-11 2016-05-03 F. Hoffmann-La Roche Ag Nucleic acid isolation using polidocanol and derivatives
EP2108699B1 (en) * 2008-04-08 2014-06-25 F.Hoffmann-La Roche Ag Analytical processing and detection device

Also Published As

Publication number Publication date
JP2017123878A (ja) 2017-07-20

Similar Documents

Publication Publication Date Title
US11993804B2 (en) Generic sample preparation
JP6169489B2 (ja) 一般的な試料調製
JP5871600B2 (ja) 対照核酸用一般マトリックス
JP6606138B2 (ja) 多数のパラメーターのための対照核酸
JP5972265B2 (ja) ジェネリックpcr
JP2019500017A (ja) ウイルスDNAの選択的増幅のためのRNase Hの使用
JP6348202B2 (ja) 一般的な試料調製
JP6754874B2 (ja) 多数のパラメーターのための対照核酸

Legal Events

Date Code Title Description
A621 Written request for application examination

Free format text: JAPANESE INTERMEDIATE CODE: A621

Effective date: 20170428

TRDD Decision of grant or rejection written
A01 Written decision to grant a patent or to grant a registration (utility model)

Free format text: JAPANESE INTERMEDIATE CODE: A01

Effective date: 20180528

A61 First payment of annual fees (during grant procedure)

Free format text: JAPANESE INTERMEDIATE CODE: A61

Effective date: 20180530

R150 Certificate of patent or registration of utility model

Ref document number: 6348202

Country of ref document: JP

Free format text: JAPANESE INTERMEDIATE CODE: R150

R250 Receipt of annual fees

Free format text: JAPANESE INTERMEDIATE CODE: R250

R250 Receipt of annual fees

Free format text: JAPANESE INTERMEDIATE CODE: R250

R250 Receipt of annual fees

Free format text: JAPANESE INTERMEDIATE CODE: R250

R250 Receipt of annual fees

Free format text: JAPANESE INTERMEDIATE CODE: R250

R250 Receipt of annual fees

Free format text: JAPANESE INTERMEDIATE CODE: R250